Группа изобретений относится к области гидроэнергетики, в частности к устройствам для выработки электроэнергии, и может применяться для энергообеспечения гидроэлектростанций (далее ГЭС) за счет использования энергии технической воды гидроагрегатов.
Система технического водоснабжения (далее ТВС) гидроагрегатов состоит из источника водоснабжения и распределительной сети для подачи воды системам и механизмам гидроагрегата для их охлаждения и смазки (п.5.1.1 СТО 17330282.27.140.014-2008).
Как правило, конструкция системы ТВС включает водозабор, фильтр, трубопровод, задвижки, воздухоохладители, маслоохладители и т.д.
Потребителями технической воды являются:
- воздухоохладители гидрогенераторов с воздушным охлаждением;
- маслоохладители подпятника и подшипников гидрогенераторов.
Воздухоохладители предназначаются для охлаждения воздуха, циркулирующего в замкнутых системах охлаждения генератора. Действие воздухоохладителя основано на принципе теплопередачи между охлаждающей водой, протекающей по трубкам, и горячим воздухом, их обдувающим.
Маслоохладители предназначаются для охлаждения масла подпятника и подшипников и располагаются, как правило, непосредственно в их масляных ваннах, в зоне циркуляции масла.
Известна система технического водоснабжения гидроэлектростанций (см. SU 720185 A1, 05.03.2080, F03B 13/00) с забором воды из верхнего бьефа, содержащая магистраль водопотребления, гидротурбину с генератором и с направляющим аппаратом, подводящим и отводящим патрубками и регулятор расхода, соединенный с направляющим аппаратом.
Система содержит гидротурбину с подводящим и отводящим патрубками. К отводящему патрубку непосредственно подсоединена магистраль водопотребления системы технического водоснабжения ГЭС. Гидротурбина соединена общим валом с гидрогенератором, выдающим электроэнергию в энергосистему или на собственные нужды ГЭС.
Постоянство напора в магистрали водопотребления системы технического водоснабжения ГЭС достигается с помощью регулятора, выполненного в виде силового цилиндра с поршнем, штоком и упругим элементом (пружиной).
При повышении давления в магистрали водопотребления вода по импульсной трубке из магистрали водопотребления поступает в полость силового цилиндра и, преодолевая усилие упругого элемента, перемещает поршень со штоком, закрывая направляющий аппарат гидротурбины, что приводит к снижению напора в магистрали водопотребления системы технического водоснабжения ГЭС. При понижении давления упругий элемент перемещает поршень со штоком, отрывая направляющий аппарат гидротурбины, что приводит к повышению давления в магистрали водопотребления.
Представленная система позволяет выработать электроэнергию и регулировать расход воды, подаваемый в систему ТВС.
Недостатком системы ТВС является значительная сложность конструкции, обусловленная большим количеством деталей (регулятор расхода, выполненный в виде силового цилиндра с поршнем, штоком и упругим элементом, направляющий аппарат гидротурбины и т.д.), которую, в свою очередь, необходимо обслуживать, что приводит к дополнительным затратам, а также тем, что гидротурбина устанавливается перед магистралью водопотребления системы ТВС, это приводит к снижению напора.
Известно, что на ГЭС при напоре выше 10 м применяются самотечная система технического водоснабжения.
Недостатком системы ТВС является то, что при проходе воды через маслоохладители и воздухоохладители происходит только отбор тепла, а кинетическая энергия воды не используется.
Гидроэнергетика основывается на использовании энергии массы воды. Для получения электроэнергии необходим естественный водный поток, а поток воды в трубах ТВС при работе гидроагрегата всегда присутствует. Энергию воды после охлаждения агрегатов возможно использовать как дополнительный источник энергии для выработки электроэнергии.
Задачей, на решение которой направлена группа изобретений, является использование энергетического потенциала существующих напорных гидроузлов, а также обеспечение более рационального использования воды в системе технического водоснабжения, подаваемой на охлаждение оборудования гидроагрегатов ГЭС.
Для более эффективного использования энергии воды предлагается дооборудовать систему ТВС таким образом, чтобы напор воды на приеме гидротурбины был максимальным.
Поставленная задача решается тем, что в устройство для получения дополнительной электроэнергии на собственные нужды гидроэлектростанции, содержащее систему технического водоснабжения со сливным трубопроводом и водозабором, фильтром, маслоохладителями и воздухоохладителями, согласно изобретению устройство снабжено байпасным трубопроводом, запасным байпасным трубопроводом, задвижками, микро-ГЭС, состоящей из гидротурбины и генератора при этом байпасный трубопровод с задвижкой и микро-ГЭС врезаны в сливной трубопровод системы технического водоснабжения, а запасной байпасный трубопровод с задвижкой врезан в систему технического водоснабжения после фильтра и подключен к микро-ГЭС для сохранения напора воды со стороны верхнего бьефа в аварийных случаях.
Поставленная задача решается также тем, что в способе получения дополнительной электроэнергии на собственные нужды гидроэлектростанции, заключающимся в том, что подают воду из верхнего бьефа через водозабор в систему технического водоснабжения, сливают воду в нижний бьеф из маслоохладителей и воздухоохладителей по сливному трубопроводу, согласно изобретению, в сливной трубопровод системы технического водоснабжения врезают байпасный трубопровод, в котором размещают задвижки и микро-ГЭС, а после фильтра системы технического водоснабжения врезают запасной байпасный трубопровод, в котором размещают задвижку и подключают его к микро-ГЭС для сохранения напора воды со стороны верхнего бьефа в аварийных случаях.
Группа изобретений поясняется чертежами.
На фиг.1 представлена схема работы системы технического водоснабжения гидроагрегата ГЭС;
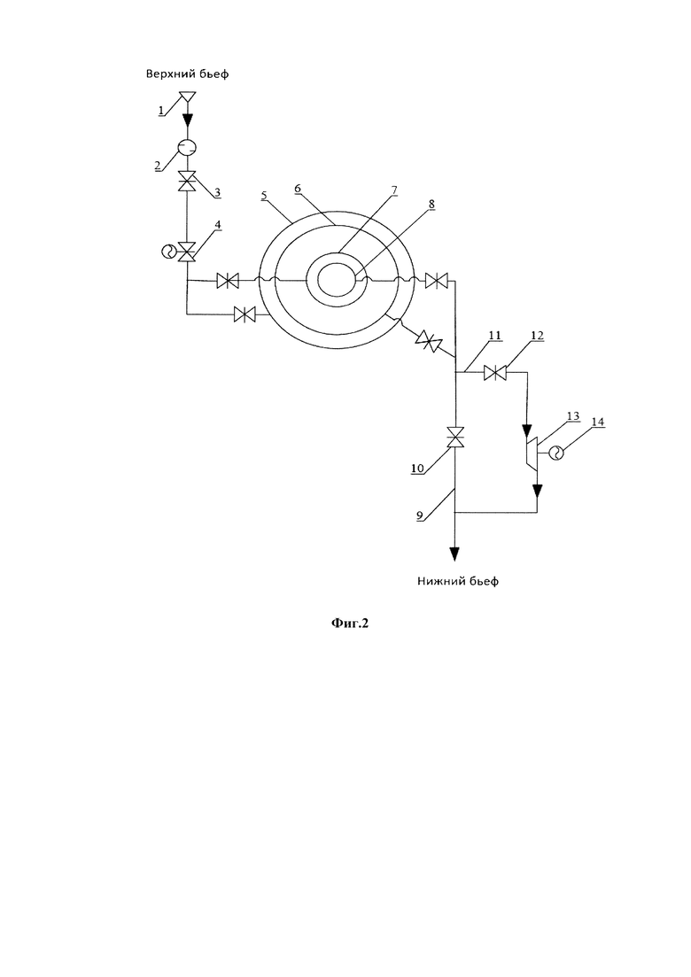
На фиг.2 представлена схема подключения микро-ГЭС к системе ТВС гидроагрегатов;
На фиг.3 представлена схема подключения микро-ГЭС к системе ТВС гидроагрегата через запасной байпасный трубопровод.
1 - водозабор из верхнего бъефа;
2 - фильтр;
3, 10, 12 - задвижка;
4 - электрозадвижка;
5 - напорный трубопровод воздухоохладителей;
6 - сливной трубопровод воздухоохладителей;
7 - маслоохладители генератора;
8 - сливной трубопровод маслоохладителей;
9 - сливной трубопровод системы ТВС;
11 - байпасный трубопровод;
13 - гидротурбина;
14 - генератор;
15 - задвижка байпасного трубопровода;
16 - запасной байпасный трубопровод.
В сливной трубопровод системы ТВС 9 устанавливается задвижка 10, байпасный трубопровод 11, задвижка 12, микро-ГЭС, приводом которой служила бы кинетическая энергия воды, используемой в системе ТВС. Микро-ГЭС состоит из турбины 13 и генератора 14. На фиг.2 представлена схема подключения микро-ГЭС к системе ТВС гидроагрегатов. Перед пуском гидроагрегата задвижка 10 закрывается, а задвижка 12 открывается, то есть поток воды перенаправляется по байпасному трубопроводу 11. Вода из верхнего бьефа через водозабор 1 самотеком по трубопроводу поступает в 7 систему ТВС. При пуске гидроагрегата открывается задвижка 3 и электрозадвижка 4, далее вода, пройдя через фильтр 2, поступает на воздухоохладители 5 и на маслоохладители генератора 7. Нагретая вода в воздухоохладителях 5 сливается в сливной трубопровод воздухоохладителей 6, а нагретая вода в маслоохладителях 7 сливается в сливной трубопровод маслоохладителей 8. Далее вода поступает в байпасный трубопровод 11, и поток воды попадает на лопасти турбины 13 и начинает ее вращать, одновременно через вал турбина приводит к вращению ротор генератора 14. Далее вода сливается в нижний бьеф по сливному трубопроводу 9.
Система работает следующим образом. Вода из верхнего бьефа через водозабор 1 самотеком по трубопроводу поступает в систему ТВС. При пуске гидроагрегата открывается задвижка 3 и электрозадвижка 4, далее вода, пройдя через фильтр 2, поступает на воздухоохладители 5 и на маслоохладители генератора 7. Нагретая вода в воздухоохладителях 5 сливается в сливной трубопровод воздухоохладителей 6, а нагретая вода в маслоохладителях 7 сливается в сливной трубопровод маслоохладителей 8. Далее вода поступает в сливной трубопровод 9 и сливается в нижний бьеф. Расход воды в системе технического водоснабжения крупной ГЭС может достигать 3-4 м3/с.
Технические параметры микро-ГЭС зависят от гидротехнических условий, таких как расход воды - объем воды (в литрах или метрах кубических), проходящей через турбину за 1 секунду, напор воды - расстояние от верхней точки падения воды на турбину до нижней. Необходимый напор достигается за счет естественных природных условий большого уклона русла реки или за счет строительства гидротехнических сооружений.
Недостатком известных микро-ГЭС является необходимость в строительстве плотин, для создания условий функционирования оборудования микро-ГЭС. Поскольку наличие естественного русла с большим уклоном и необходимыми скоростными характеристиками потока маловероятно, потребуется строительство плотины на пути речки или ручья для создания необходимого напора и регулирование расхода и режима воды. Гидротехнические работы при возведении плотин значительны по объему и дорогостоящи, кроме того, требуют значительного периода времени строительства.
В данном случае турбина с генератором не требуют возведения сложных гидротехнических сооружений - плотин, так как микро-ГЭС предлагается установить в сливном трубопроводе 8 существующих гидроэлектростанций.
Выработанная электроэнергия может быть использована на повышение энергетической эффективности путем выработки дополнительной электроэнергии. Цель внедрения микро-ГЭС не только в выработке дополнительной электроэнергии, но и в обеспечении надежности электроснабжения ГЭС и в целом энергосистемы.
В аварийных случаях, связанных с потерей электроэнергии собственных нужд ГЭС, выработанная электроэнергия может быть использована в качестве резервного источника питания.
При аварийных случаях с потерей питания собственных нужд для сохранения напора воды со стороны верхнего бьефа вода на микро-ГЭС подается не через воздухоохладители и маслоохладители, а напрямую через запасный байпасный трубопровод 16, так как при прохождении воды через воздухоохладители и маслоохладители теряется напор и дополнительно охлаждается масло, который в свою очередь отрицательно влияет на работу оборудования гидроагрегата. Схема подключения микро-ГЭС к системе ТВС гидроагрегата показана на фиг.3. Электрозадвижка 4 закрывается, а задвижка 15 открывается. При открытии задвижки 15 вода из верхнего бьефа через водозабор 1 самотеком по трубопроводу поступает в систему ТВС и, пройдя через фильтр 2, поступает в запасный байпасный трубопровод 16. Поток воды по запасному байпасному трубопроводу 16 попадает на лопасти турбины 13, вращает ее и через вал турбина вращает ротор генератора 14. Далее вода сливается в нижний бьеф по сливному трубопроводу 9.
На гидроэлектростанциях, при отсутствии резервного источника питания собственных нужд, запуск гидроагрегата становится затруднительным. Для пуска и останова гидроагрегата требуется восстановить объем и давление масла в гидроаккумуляторе маслонапорной установки высокого и низкого давления (далее МНУ ВД, НД). МНУ ВД, НД предназначена для питания маслом под давлением системы регулирования гидротурбин. За счет давления в системе регулирования электрогидравлический регулятор регулирует частоту вращения и активной мощности гидроагрегата. Восстановление объема и давления масла в гидроаккумуляторе МНУ производится с помощью масловинтового насоса. Привод масловинтового насоса осуществляется от электродвигателя.
Таким образом, при аварийных случаях с потерей электроэнергии, микро-ГЭС может выработать электроэнергию для питания собственных нужд станции для безопасного завершения технологического процесса.
Устройство позволит максимально использовать энергию водных ресурсов, дополнительно выработать электроэнергию, а также обеспечит ГЭС резервным источником питания, что повысит надежность электроснабжения ГЭС.
| название | год | авторы | номер документа |
|---|---|---|---|
| КОНДЕНСАЦИОННАЯ УСТАНОВКА ТЕПЛОВОЙ ЭЛЕКТРИЧЕСКОЙ СТАНЦИИ | 1990 |
|
RU2006595C1 |
| ДЕРИВАЦИОННАЯ СКВАЖИННАЯ ГИДРОЭЛЕКТРОСТАНЦИЯ | 2010 |
|
RU2431015C1 |
| ГИДРОЭНЕРГОСТАНЦИЯ | 2004 |
|
RU2290531C2 |
| УСТРОЙСТВО ПРЕОБРАЗОВАНИЯ ЭЛЕКТРИЧЕСКОЙ ЭНЕРГИИ | 2009 |
|
RU2408126C1 |
| ГЭС НА КОЛЬЦЕВОМ ПОТОКЕ ВОДЫ | 2009 |
|
RU2396392C1 |
| ДЕРИВАЦИОННАЯ БЕСПЛОТИННАЯ ГИДРОЭЛЕКТРОСТАНЦИЯ С НАПОРНЫМ ВОДОВОДОМ | 2012 |
|
RU2469148C1 |
| СПОСОБ СТРОИТЕЛЬСТВА СЕЙСМОБЕЗОПАСНЫХ, СБЕРЕГАЮЩИХ РЕКИ И ЭКОЛОГИЮ, ГИДРОЭЛЕКТРОСТАНЦИЙ | 2012 |
|
RU2514640C1 |
| Способ пропуска паводковых вод через гидроузел | 1989 |
|
SU1636510A1 |
| ЭЛЕКТРОГИДРАВЛИЧЕСКАЯ СИСТЕМА АВТОМАТИЧЕСКОЙ СТАБИЛИЗАЦИИ УГЛОВОЙ СКОРОСТИ ВРАЩЕНИЯ ГИДРОАГРЕГАТА | 1993 |
|
RU2091608C1 |
| Устройство для осушения дренажного колодца гидроэлектростанции | 1990 |
|
SU1794980A1 |
Группа изобретений относится к области гидроэнергетики, в частности к устройствам для выработки электроэнергии, и может применяться для энергообеспечения гидроэлектростанций (ГЭС) за счет использования энергии технической воды гидроагрегатов, в том числе и при аварийных ситуациях. Устройство для получения дополнительной электроэнергии на собственные нужды гидроэлектростанции содержит систему технического водоснабжения со сливным трубопроводом 9 и водозабором 1, фильтром 2, маслоохладителями 7 и воздухоохладителями 5. Устройство снабжено байпасным трубопроводом 11, запасным байпасным трубопроводом 16, задвижками 3, 10, 12, микро-ГЭС, состоящей из гидротурбины 13 и генератора 14. Трубопровод 11 с задвижкой 12 и микро-ГЭС врезаны в трубопровод 9 системы технического водоснабжения. Трубопровод 16 с задвижкой 15 врезан в систему технического водоснабжения после фильтра 2 и подключен к микро-ГЭС для сохранения напора воды со стороны верхнего бьефа в аварийных случаях. Группа изобретений направлена на использование энергетического потенциала существующих напорных гидроузлов, а также обеспечение более рационального использования воды в системе технического водоснабжения, подаваемой на охлаждение оборудования гидроагрегатов ГЭС. 2 н.п. ф-лы, 3 ил.
1. Устройство для получения дополнительной электроэнергии на собственные нужды гидроэлектростанции, содержащее систему технического водоснабжения со сливным трубопроводом и водозабором, фильтром, маслоохладителями и воздухоохладителями, отличающееся тем, что снабжено байпасным трубопроводом, запасным байпасным трубопроводом, задвижками, микро-ГЭС, состоящей из гидротурбины и генератора, при этом байпасный трубопровод с задвижкой и микро-ГЭС врезаны в сливной трубопровод системы технического водоснабжения, а запасной байпасный трубопровод с задвижкой врезан в систему технического водоснабжения после фильтра и подключен к микро-ГЭС для сохранения напора воды со стороны верхнего бьефа в аварийных случаях.
2. Способ получения дополнительной электроэнергии на собственные нужды гидроэлектростанции, заключающийся в том, что подают воду из верхнего бьефа через водозабор в систему технического водоснабжения, сливают воду в нижний бьеф из маслоохладителей и воздухоохладителей по сливному трубопроводу, отличающийся тем, что в сливной трубопровод системы технического водоснабжения врезают байпасный трубопровод, в котором размещают задвижки и микро-ГЭС, а после фильтра системы технического водоснабжения врезают запасной байпасный трубопровод, в котором размещают задвижку и подключают его к микро-ГЭС для сохранения напора воды со стороны верхнего бьефа в аварийных случаях.
| Система технического водоснабжения гидроэлектростанций | 1975 |
|
SU720185A1 |
| Стандарт организации 17330282.27.140.014-2008, Технические системы гидроэлектростанций | |||
| Условия создания | |||
| Нормы и требования, Москва, 2008, п.5.1.1, п.5.2.1, п.5.3.8 | |||
| US 2015354526 A1, 10.12.2015 | |||
| Самотечно-сифонная система технического водоснабжения гидроагрегатов | 1979 |
|
SU901424A1 |
| KR 20190095052 A, 14.08.2019. | |||
Авторы
Даты
2025-04-30—Публикация
2023-09-05—Подача