БАРАБАН С ПОВЫШЕННОЙ ПЛОТНОСТЬЮ РАСПОЛОЖЕНИЯ ДЛЯ ХРАНЕНИЯ, ВСТРЯХИВАНИЯ И СЧИТЫВАНИЯ ГЕМОКУЛЬТУРАЛЬНЫХ ФЛАКОНОВ И СПОСОБЫ ХРАНЕНИЯ Российский патент 2025 года по МПК A61B5/15 C12M1/34 C12M1/36 C12M3/04 

Описание патента на изобретение RU2839581C2

Перекрестная ссылка на родственные заявки

[0001] Настоящая заявка испрашивает выгоду от приоритета предварительной заявки на патент США №62/883,796, поданной 07 августа 2019 года, которая включена посредством ссылки в настоящий документ.

Область техники настоящего изобретения

[0002] Настоящее изобретение относится к неинвазивному устройству для обнаружения биологической активности в образце, таком как кровь, при этом ряд образцов с культуральной средой вводят в многочисленные герметизируемые контейнеры, на которые воздействуют условия, обеспечивающие разнообразные метаболические, физические и химические изменения, которые происходят в присутствии микроорганизмов в образце. Указанные изменения затем наблюдают с применением колориметрических или флуоресцентных химических сенсоров, расположенных внутри на дне каждого гемокультурального флакона, в процессе вращения флаконов во вращающемся барабане. После завершения наблюдения устройство осуществляет автоматическую выгрузку и сортировку конечных отрицательных и конечных положительных флаконов.

Уровень техники настоящего изобретения

[0003] Присутствие биологически активных агентов, таких как бактерии, в текучих средах организма пациента, в частности, в крови, как правило, определяют с применением гемокультуральных флаконов. Небольшое количество крови впрыскивают через герметизирующую резиновую прокладку в стерильный флакон, содержащий культуральную среду, а затем флакон инкубируют при температуре, составляющей приблизительно 35°С, и наблюдают рост микроорганизмов.

[0004] Поскольку является чрезвычайно важным определение того, имеет ли пациент бактериальную инфекцию, в больницах и лабораториях содержат автоматические устройства, которые способны одновременно обрабатывать множество гемокультуральных флаконов. Один пример такого устройства представляет собой система BD ВАСТЕС™, которую производит и продает компания Becton, Dickinson and Со. В патенте США №5,817,508 (Berndt и др.) описано гемокультуральное устройство предшествующего уровня техники, и данное описание включено посредством ссылки в настоящий документ. Кроме того, описания гемокультурального устройства представлены в патенте США №5,516,692 («Компактное гемокультуральное устройство») и в патенте США №5,498,543 («Субкомпактное гемокультуральное устройство»), причем оба описания включены посредством ссылки в настоящий документ.

[0005] Как проиллюстрировано на фиг. 1, смесь 22 культуральной среды и образца крови вводят в герметизируемые стеклянные флаконы 1, которые содержат оптическое химическое сенсорное устройство 20 на своей внутренней донной поверхности 21. Оптическое химическое сенсорное устройство 20 излучает свет различной интенсивности в зависимости от количества газа во флаконе 1. Например, газ, который обнаруживает оптическое сенсорное устройство 20, может представлять собой диоксид углерода, кислород или любой газ, количество которого увеличивается или уменьшается в зависимости от присутствия или отсутствия роста микроорганизмов во флаконе 1.

[0006] Как проиллюстрировано на фиг. 1 и 2, множество таких флаконов 1 расположено радиально на вращающемся колоколообразном барабане 2 внутри инкубатора 5 таким образом, что донья флаконов 1 ориентированы к оси 28 барабана. Ко л около образный барабан 2 является полым, и его поддерживает вал 24, который опирается с возможностью вращения на один конец посредством двух больших шарикоподшипников 3 и 4, установленных на первой стороне 51 основной рамы 50 прибора. Для считывания информации, которая поступает от каждого оптического химического сенсорного устройства 20 внутри флаконов 1, на второй стороне 52 основной рамы 50 прибора установлена линейный массив 12 для сенсорных датчиков внутри вращающегося колоколообразного барабана 2, при этом данный массив установлен на таком расстоянии внутри колоколообразного барабана 2, что во время вращения барабана 2 индивидуальные флаконы 1 проходят мимо соответствующих сенсорных датчиков 15 в массиве 12. Каждый сенсорный датчик 15 линейного массива 12 из сенсорных датчиков содержит источник 11 возбуждающего света и сборный конец оптического волокна 14.

[0007] Как проиллюстрировано на фиг. 2, ось 28 колоколообразного барабана 2 ориентирована горизонтально и параллельно по отношению к дверце 13, расположенной на передней поверхности инкубатора 5. Горизонтальная ориентация оси 28 обеспечивает максимальной встряхивание смеси 22 жидкой культуральной среды и образца с газом внутри каждого флакона 1. В течение операции загрузки или выгрузки дверца 13 открывается, что обеспечивает одновременный доступ приблизительно к одной трети от числа всех флаконов 1. После этого барабан 2 поворачивается до тех пор, пока не становится доступной следующая треть из числа флаконов 1. На трех стадиях по очереди становятся доступными все флаконы 1.

[0008] В качестве альтернативы, ось 28 колоколообразного барабана 2 ориентирована вертикально с небольшим наклоном, составляющим приблизительно 20 градусов от дверцы 13. Посредством регулирования угла наклона степень встряхивания может быть изменена, если это требуется, в целях поддержания оптимальных условий роста.

[0009] В процессе эксплуатации колоколообразный барабан 2 поворачивается под действием двигателя 6 и ремня 7. Круглый элемент 8 и сенсор 9 образуют угловое кодировочное устройство, которое предоставляет информацию о том, какой ряд флаконов 1 проходит мимо массива 12 сенсорных датчиков. Предпочтительно двигатель 6 представляет собой шаговый двигатель, который позволяет барабану 2 поворачиваться в непрерывном режиме или останавливать барабан 2 под соответствующими углами для считывания данных от сенсорных устройств 20 внутри флаконов 1 в стационарном режиме. Всей системой управляет система 10 управления, которая расположена внутри вращающегося барабана 2. Выходящие концы всех оптических волокон 14 линейного массива 12 сенсорных датчиков поступают в один общий фотодетектор (не показан) в системе 10 управления, таким образом, что только один источник 11 возбуждающего света должен поворачиваться в данный момент времени. Таким образом, системе управления «известно», от какого сенсорного датчика 15 собирается свет и, таким образом, известно из какого флакона 1 собирается сенсорный свет.

[0010] Устройство, проиллюстрированное на фиг. 1 и 2, содержит десять сегментов гемокультуральных флаконов 1 по тридцать шесть флаконов 1 на сегмент. Следовательно, полная емкость составляет 360 флаконов. Расположение флаконов 1 в барабане 2 обеспечивает относительно высокую компактность (плотность расположения) в самом устройстве, но при этом все же требуется повышение такой компактности.

Краткое раскрытие настоящего изобретения

[0011] В настоящем документе описано устройство для хранения и наблюдения гемокультуральных флаконов. Устройство имеет подвижный держатель, сконфигурированный как барабан, в котором находится множество гнезд для содержания гемокультуральных флаконов. Барабан расположен в корпусе. Корпус содержит нагреватель и вентилятор для инкубации гемокультуральных флаконов при повышенных температурах. Опционально, устройство может содержать множество барабанов, каждый из которых имеет множество гнезд для содержания гемокультуральных флаконов.

[0012] Гемокультуральные флаконы, как правило, имеют донную часть, которая по объему занимает большую часть флакона, и горловинную часть, которая представляет собой суженную верхнюю часть флакона. Гнезда в барабане могут быть выполнены с возможностью содержания гемокультуральных флаконов в ориентации дном внутрь или в ориентации горловиной внутрь. В конфигурации с ориентацией дном внутрь гнезда, как правило, направлены под углом вниз таким образом, что культуральные флаконы содержатся под углом 20° вверх от горизонтали. Однако культуральные флаконы могут содержаться горизонтально (т.е. горловинная часть на направлена под углом вверх или вниз по отношению к донной части), и могут быть получены точные измерения содержимого гемокультурального флакона для определения того, является ли содержимое положительным для роста микроорганизмов. Для получения высокой плотности расположения флаконов барабаны выполнены с возможностью вращения вокруг оси с круглым барабанным держателем, расположенным коаксиально с осью вращения. Электронные устройства для наблюдения гемокультуральных флаконов расположены внутри барабана, если культуральные флаконы находятся на донной стороне барабана. Если флаконы сначала находятся на горловинной стороне барабана, то некоторые измерительные электронные устройства расположены на внешней поверхности барабана.

[0013] Барабаны изготовлены модульным образом. Барабаны содержат множество рядов гнезд и множество столбцов гнезд. В одной конфигурации ряд гнезд изготавливают посредством получения формованных изделий, которые представляют собой верхние и нижние части ряда. Формованные изделия собирают с образованием одного ряда барабанов, и множество рядов собирают друг с другом с образованием барабана. Опционально гнезда могут быть ориентированы вертикально в собранном барабане. Опционально гнезда в собранном барабане могут быть расположены в шахматном порядке, что обеспечивает повышенную плотность расположения флаконов в барабане.

[0014] Барабан имеет как внешний периметр, так и внутренний периметр. В гнездах содержатся культуральные флаконы, и гнезда проходят от первого периметра до второго периметра. Гнезда распределены равномерно в рядах, которые проходят вдоль периметра барабана.

[0015] Согласно тем вариантам осуществления, где барабанные гнезда содержат флаконы в ориентации горловиной внутрь, гнездо содержит механизм для удерживания флакона в гнезде. Этот механизм может представлять собой зажимную пружину, зажимную крышку, плоскую пружину или ограничитель. Такие механизмы обеспечивают фиксированное удерживание в барабане в течение эксплуатации барабана.

[0016] В настоящем документе описано устройство для хранения и наблюдения гемокультуральных флаконов. Устройство имеет корпус, в котором содержится барабан. Барабан имеет внешний периметр и внутренний периметр. Внешний периметр имеет диаметр, превышающий диаметр внутреннего периметра. Барабан имеет множество гнезд, причем гнезда имеют ближний конец на внешнем периметре и дальний конец на внутреннем периметре, причем каждое гнездо выполнено с возможностью содержания гемокультурального флакона. Гемокультуральный флакон имеет донную часть и горловинную часть, причем флакон может содержаться в гнезде таким образом, что донная часть находится в дальнем конце гнезда, или горловинная часть находится в дальнем конце гнезда.

[0017] Периметры барабанов расположены вокруг оси вращения барабана. Множество гнезд расположено в барабане как массив гнезд, причем указанный массив содержит гнезда, расположенные как по вертикали, так и по горизонтали. Устройство также содержит сенсоры и детекторы для исследования гемокультуральных флаконов в целях определения того, являются ли гемокультуральные флаконы положительными или отрицательными для роста микроорганизмов. Барабан определяет внутреннее пространство в пределах внутреннего периметра, причем по меньшей мере некоторые из электронных устройств барабана, которые находятся в сообщении с сенсорами и детекторами для исследования гемокультуральных флаконов, расположены в пределах внутреннего периметра барабана.

[0018] Опционально, каждое из множества гнезд может иметь соответствующий эластомерный вкладыш для содержания культурального флакона. Опционально в каждом из множества гнезд может содержаться горловинная часть культурального флакона в дальнем конце, и каждое гнездо может содержать флаконный ограничитель и наклонную спиральную пружину, расположенную на расстоянии от флаконного ограничителя. Наклонная спиральная пружина выполнена таким образом, чтобы позволить крышке, расположенной на горловинной части флакона, проходить мимо наклонной спиральной пружины и устанавливаться до упора во флаконный ограничитель, в результате чего наклонная спиральная пружина ослабляет напряжение и фиксирует культуральный флакон в гнезде.

[0019] Опционально в каждом из множества гнезд может содержаться горловинная часть культурального флакона в дальнем конце, и каждое гнездо может содержать флаконный ограничитель и уплотнительное кольцо, расположенное на расстоянии от флаконного ограничителя. Уплотнительное кольцо является достаточно упругим, чтобы позволить крышке, расположенной на горловинной части флакона, проходить под действием уплотнительного кольца и устанавливаться до упора во флаконный ограничитель. Уплотнительное кольцо затем ослабляет напряжение и фиксирует культуральный флакон в гнезде.

[0020] Опционально, в каждом из множества гнезд может содержаться горловинная часть культурального флакона в дальнем конце, и каждое гнездо может содержать флаконный ограничитель и шариковый фиксатор, расположенный на расстоянии от флаконного ограничителя. Шариковый фиксатор выполнен таким образом, чтобы позволить крышке, расположенной на горловинной части флакона, проходить под действием шарикового фиксатора и устанавливаться до упора во флаконный ограничитель. Шариковый фиксатор затем ослабляет напряжение и фиксирует культуральный флакон в гнезде.

[0021] Опционально в каждом из множества гнезд может содержаться горловинная часть культурального флакона в дальнем конце, и каждое гнездо может содержать флаконный ограничитель и сегментированную удерживающую часть, расположенную на расстоянии от флаконного ограничителя. Сегментированная удерживающая часть выполнена с возможностью позволить крышке, расположенной на горловинной части флакона, проходить в сегментированную удерживающую часть и устанавливаться до упора во флаконный ограничитель. Сегментированная удерживающая часть ослабляет напряжение и фиксирует культуральный флакон в гнезде. Опционально сегментированные удерживающие части могут быть прижаты друг к другу под действием наклонной спиральной пружины, или сегментированные удерживающие части могут представлять собой эластичные сегменты.

Опционально в каждом из множества гнезд может содержаться горловинная часть в дальнем конце, и каждое гнездо может содержать флаконный ограничитель и множество эластичных выступов, проходящих от флаконного ограничителя. Выступы выполнены с возможностью позволить крышке, расположенной на горловинной части флакона, проходить мимо фланцевой части выступов и устанавливаться до упора во флаконный ограничитель. Выступы ослабляют напряжение, а фланцевая часть фиксирует культуральный флакон в гнезде. Опционально, каждое из гнезд с эластичными выступами может содержать шариковый фиксатор. Флаконный ограничитель содержит паз. Когда культуральный флакон проходит во флаконный ограничитель, флаконный ограничитель проходит дальше в гнездо до тех пор, пока шариковый фиксатор не совмещается с пазом, в результате чего флаконный ограничитель фиксируется в гнезде.

[0022] Опционально множество гнезд может содержать паз, и флаконный ограничитель содержит шариковый фиксатор. Когда культуральный флакон проходит во флаконный ограничитель, флаконный ограничитель проходит дальше в гнездо до тех пор, пока шариковый фиксатор не совмещается с пазом, который фиксирует флаконный ограничитель в гнезде.

[0023] Опционально множество гнезд может содержать лотковую часть, в которой находится культуральный флакон. Лотковая часть содержит упор для фиксации дна культурального флакона в лотке. Гнездо также содержит ограничительную часть. Ограничительная часть удерживает культуральный флакон в заданном фиксированном положении внутри гнезда. В качестве ограничительной части может присутствовать один элемент, представляющий собой листовую пружину, деформируемый материал и/или поворотный рычаг, который поворачивается в ответ на продвижение культурального флакона в гнездо, и в результате этого культуральный флакон фиксируется в гнезде. Ограничительная часть может быть изготовлена из эластичного материала, в качестве которого выбирают один материал из эластомерной гибкой трубки, эластомерных материалов и пеноматериалов.

[0024] Опционально лотковая часть гнезда может образовать световод, который передает световой сигнал от светодиодных индикаторов, расположенных в пределах внутреннего периметра барабана, чтобы он становился видимым снаружи барабана. Флаконный ограничитель также может представлять собой скважинный элемент. Опционально внешний периметр барабана и внутренний периметр барабана могут быть круглыми.

[0025] В настоящем документе описан способ эксплуатации инкубатора для множества гемокультуральных флаконов. Согласно этому способу, оператор вводит, через управляющий интерфейс, заданный сектор гемокультурального барабана. Гемокультуральный барабан представляет собой держатель, который определяет по существу круглый внутренний периметр и по существу круглый внешний периметр. Гемокультуральный барабан является вращающимся. Дверцу корпуса для гемокультурального барабана открывает оператор, и барабан останавливается, как правило, посредством уменьшения мощности двигателя, используемого для вращения барабана таким образом, что заданный сектор оказывается доступным через открытую дверцу корпуса. Гемокультуральный барабан содержит множество гнезд, причем каждое гнездо из множества гнезд выполнено с возможностью размещения и удерживания гемокультурального флакона. Каждое гнездо из множества гнезд содержит индикатор в своем ближнем конце. Индикатор обеспечивает показание того, что культуральный флакон в гнезде является положительным или отрицательным для роста микроорганизмов. Гемокультуральные флаконы устанавливают в пустое гнездо из множества гнезд, извлекают из гнезда из множества гнезд, или извлекают из одного гнезда из множества гнезд, после чего другой гемокультуральный флакон устанавливают на его место. Гемокультуральные флаконы извлекают на основании их показанного статуса.

[0026] Опционально каждое из гнезд может содержать световод, проходящий от ближнего конца гнезда до дальнего конца гнезда. Опционально управляющий интерфейс может находиться в сообщении с кодировочным устройством, таким образом, что управляющий интерфейс отслеживает расположение каждого гемокультурального флакона в держателе. Опционально инкубатор может дополнительно содержать считывающее устройство, причем считывающее устройство определяет статус гемокультурального флакона, когда флаконный барабан поворачивает гнезда, содержащие гемокультуральные флаконы, мимо считывающего устройства. Опционально светодиодные индикаторы могут быть расположены в дальнем конце по меньшей мере некоторых из гнезд во флаконном барабане. Как отмечено в других разделах настоящего документа, культуральные флаконы содержатся в каждом из множества гнезд в ориентации горловиной внутрь или в ориентации дном внутрь. По существу, гнезда выполнены с возможностью содержания культуральных флаконы в ориентации горловиной внутрь или в ориентации дном внутрь.

Краткое описание фигур

[0027] На фиг. 1 проиллюстрировано изображение спереди внутреннего пространства гемокультурального устройства для обнаружения микроорганизмов предшествующего уровня техники;

[0028] на фиг. 2 проиллюстрировано изображение сбоку внутреннего пространства гемокультурального устройства предшествующего уровня техники;

[0029] на фиг. 3А и 3В проиллюстрированы перспективные изображения корпуса гемокультурального устройства для модуля, описанного в настоящем документе;

[0030] на фиг. 4 проиллюстрировано изображение сверху инкубационно-измерительного модуля согласно одному варианту осуществления настоящего изобретения;

[0031] на фиг. 5А-5В проиллюстрированы поперечные сечения барабана инкубационно-измерительного модуля;

[0032] на фиг. 6А-В проиллюстрирован пример исполнительного механизма для инкубационно-измерительного модуля;

[0033] на фиг. 7 схематически проиллюстрированы культуральные флаконы, расположенные в ориентации дном внутрь и плотно расположенные в высокоплотном барабане, который в свою очередь описан в настоящем документе;

[0034] на фиг. 8 проиллюстрировано поперечное сечение одного варианта осуществления барабана, описанного в настоящем документе, с культуральными флаконами, расположенными в ориентации дном внутрь;

[0035] на фиг. 9 проиллюстрированы три установленных друг на друга барабана;

[0036] на фиг. 10 проиллюстрирована другая конструкция барабана с культуральный флаконом, расположенным в ориентации горловиной внутрь;

[0037] на фиг. 11 проиллюстрировано поперечное сечение барабана в ориентации горловиной внутрь вариант осуществления, проиллюстрированного на фиг. 10;

[0038] на фиг. 12 проиллюстрированы установленные друг на друга барабаны, проиллюстрированные на фиг. 11;

[0039] на фиг. 13 проиллюстрированы флаконный барабан согласно настоящему изобретению и покомпонентное изображение одного яруса флаконного барабана;

[0040] на фиг. 14 проиллюстрированы флаконный барабан согласно другому варианту осуществления настоящему изобретению и покомпонентное изображение одного яруса конфигурации флаконного барабана;

[0041] на фиг. 15А-В проиллюстрирован вариант выполнения барабана в ориентации горловиной внутрь, собранного с применение вертикальных секций;

[0042] на фиг. 16А-В проиллюстрирован альтернативный вариант осуществления конфигурации барабана в ориентации горловиной внутрь, собранного из вертикальных секций;

[0043] на фиг. 17A-G проиллюстрированы удерживающие флаконы механизмы для конфигурации барабана в ориентации горловиной внутрь;

[0044] на фиг. 18А-С проиллюстрирован удерживающий флакон механизм согласно альтернативному варианту осуществления;

[0045] на фиг. 19A-Q проиллюстрированы удерживающие флаконы механизмы согласно различным вариантам осуществления;

[0046] на фиг. 20А-Н проиллюстрирован удерживающий флакон механизм, интегрированный со световодом;

[0047] на фиг. 21 проиллюстрировано подробное изображение механизма, проиллюстрированного на фиг. 20А-С;

[0048] на фиг. 22 проиллюстрирован не размещенный в гнезде флакон в барабане;

[0049] на фиг. 23 проиллюстрирована альтернативная конфигурация барабана;

[0050] на фиг. 24 проиллюстрирована кривая отклика ВСР, полученная для устройства согласно варианту осуществления, описанному в настоящем документе;

[0051] на фиг. 25 проиллюстрирован один пример кольцевого подшипника;

[0052] на фиг. 26 проиллюстрирован другой удерживающий флакон механизм;

[0053] на фиг. 27 проиллюстрирована крышка культурального флакона, которая содержит информацию о статусе культурального флакона для применения оператором или пользователем;

[0054] на фиг. 28А-В проиллюстрирован барабан, образованный из гнезд, проиллюстрированных на фиг. 20А-С; и

[0055] на фиг. 29 проиллюстрирован один ряд барабана, образованного из гнезд, проиллюстрированных на фиг. 17А-С.

Подробное раскрытие настоящего изобретения

[0056] В настоящем документе описано гемокультуральное устройство, выполненное как инкубационно-измерительный модуль, с которым опционально может быть интегрировано более крупное комплексное решение для обработки биологических образцов в целях определения того, что содержимое таких образцов загрязнено или инфицировано микроорганизмами. Модуль, описанный в настоящем документе, может быть размещен в стеллаже, таком как стеллаж, проиллюстрированный на фиг. 3А и 3В. Стеллаж 200 может обеспечивать энергию для модуля, обеспечивать регулируемые тепловые условия для модуля и канал связи с модулем. На фиг. 3А проиллюстрирован стеллаж 200, содержащий две трехдверные панели 201, которые обеспечивают доступ к трем флаконным барабанам на каждой стороне центральной панели 202. Центральная панель 202 имеет сенсорный экран 203 для ввода данных и пользовательского управления. Центральная панель 202 также содержит центральную установку 204 для впуска/выпуска культуральных флаконов. На фиг. 3В проиллюстрирован стеллаж, содержащий только одну трехдверную панель 201.

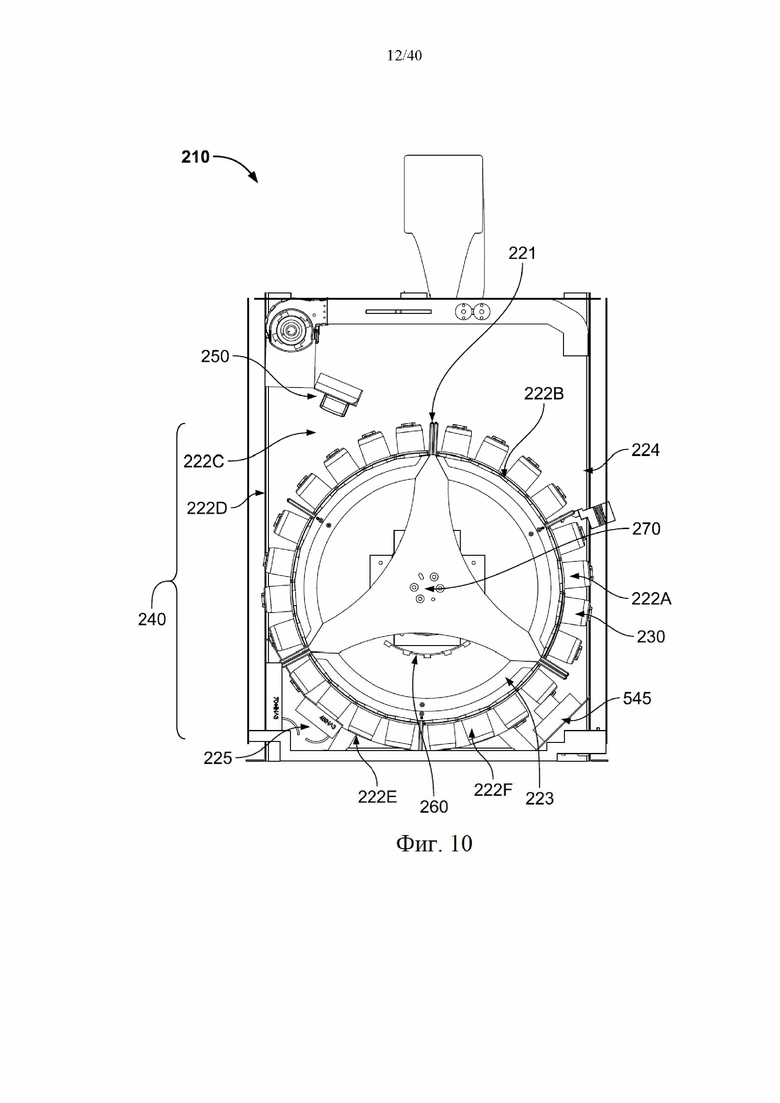
[0057] Модуль содержит высокоплотный флаконный барабан. Термин «высокоплотный» при использовании в настоящем документе представляет собой описание вариантов выполнения барабана, которые позволяют располагать культуральные флаконы ближе друг к другу, чтобы обеспечить увеличение числа флаконов, которые могут быть установлены в барабан, по сравнению с предшествующим уровнем техники. Модуль выполнен с возможностью ориентации флаконов с ограниченным числом считывающих устройств. Таким образом, число считывающих устройств составляет менее чем число флаконных гнезд в барабане. Опционально барабан приводит в действие непосредственный приводной двигатель, который может приводить барабан в ускоренное и замедленное движение (т.е. колебательное движение, периодическое вращение и т.д.). В корпусе барабана присутствуют нагреватель и вентилятор. Нагреватель и вентилятор обеспечивают циркуляцию теплого воздуха вокруг барабана. Опционально нагреватель и вентилятор могут быть выполнены с возможностью поддержания температуры содержимого всех культуральных флаконов в барабане в пределах заданного узкого диапазона конкретной целевой температуры. Заданный узкий диапазон составляет ±1,5°С от целевой температуры. Конкретная целевая температура находится в диапазоне от 30°С до 40°С. Опционально целевая температура составляет 35°С. Более высокая однородность температуры будет допускать увеличение установленной точки, поскольку при этом уменьшается риск чрезмерного нагревания образцов. Более высокая однородность температуры при повышенной температуре будет, таким образом, способствовать сокращению продолжительности обнаружения. Двигатель позволяет расположить барабан таким образом, что пользователь или автоматическое устройство может получить доступ к любому флакону, содержащемуся в барабане. Когда образец во флаконе определяется как положительный для роста микроорганизмов, приводится в действие технологический поток по извлечению указанного культурального флакона из модуля. Модуль выполнен с возможностью взаимодействия с данным технологическим потоком.

[0058] Модуль выполнен с возможностью содержания светодиодов и световодов для демонстрации/индикации пользователю положительных культуральных флаконов. На фиг. 4 показано изображение при наблюдении сверху опционального варианта модуля, описанного в настоящем документе. Модуль 210 содержит корпус 224, вентилятор и нагреватель 225 для сохранения флаконов 230 теплыми, а также барабан 240 с гнездами, в которых содержатся культуральные флаконы. Внутри барабана расположены измерительные электронные устройства 250 и индикаторные электронные устройства 260 для обнаружения культурального флакона. Приводной двигатель 270 обеспечивает вращение барабана 240. Корпус 224 барабана 240 содержит шесть панелей 221, которые определяют шесть барабанных секторов (222A-222F). Как здесь проиллюстрировано, приблизительно одна шестая часть содержимого барабана (в предположении полного барабана) является открытой для доступа в любое время, поскольку интервал одного сектора является приблизительно таким же, как интервал отверстия в корпусе, через которое флаконы вводят/устанавливают в барабан 240 или удаляют/вынимают из него. На фиг. 5А проиллюстрировано в разрезе изображение сбоку барабана, проиллюстрированного на фиг. 4. Культуральные флаконы 230 расположены в ориентации горловиной внутрь в гнездах 220 в барабане 240. Двигатель 270 представляет собой прямой приводной двигатель, который обеспечивает высокий крутящий момент, малый или нулевой гистерезис, низкий шум, надежность и простоту.

[0059] На фиг. 5В проиллюстрировано поперечное сечение барабана инкубационно-измерительного модуля с шаговым двигателем и коробкой передач. В качестве альтернативы, если правильные размеры и расстояния между внутренними подшипниками коробки передач не могут быть достигнуты в ограниченном пространстве с учетом ограничений внутри барабана, дополнительный набор подшипников может быть установлен в направлении дна кольца барабана.

[0060] Как проиллюстрировано на фиг. 5А, двигатель аксиально приводит барабан во вращение. Подшипники внутри коробки передач двигателя 270 обеспечивают не только аксиальную ориентацию барабана 240, но также требуемую опору для аксиальной нагрузки, которая необходима, чтобы перемещать барабан, содержащий значительное число флаконов 230. В качестве альтернативы, если правильные размеры и расстояния между внутренними подшипниками коробки передач не могут быть достигнуты в ограниченном пространстве, которое присутствует внутри периметра барабана, дополнительный набор подшипников может быть установлен в направлении дна кольца барабана. Механизмы, которые могут поворачивать барабан 240 вокруг оси, хорошо известны специалисту в данной области техники, и они не описаны подробно в настоящем документе. Данная конструкция и варианты выполнения подшипника могут быть адаптированы к другим вариантам барабана (включая, например, барабан, который содержит культуральные флаконы в ориентации горловиной наружу вместо ориентации горловиной внутрь; барабан, в котором гнезда ориентированы под углом вверх и т.д.). Все измерительные электронные устройства, индикатор статуса и электронные устройства для обнаружения флаконов может поддерживать единственный вал 285.

[0061] На фиг. 5А вращательный исполнительный механизм, полый вращательный исполнительный механизм или шаговый двигатель с коробкой передач используется для объединения функций подшипников и двигателя в одном компоненте. Примеры таких подходящих исполнительных механизмов двигателей проиллюстрированы на фиг. 6. На фиг. 6А проиллюстрирован полый вращательный исполнительный механизм 294, содержащий двигатель 296, который приводит в действие ведущую шестерню 297. Вращение ведущей шестерни 297 заставляет барабанную шестерню 298 поворачивать выходной столик 239, и в результате этого вращается барабан 240 (не проиллюстрированный). На фиг. 6 В проиллюстрирован вращательный исполнительный механизм 299, который непосредственно заставляет вращаться барабан 240 (не проиллюстрированный). Предусмотрены и другие примеры подходящих двигателей с коробкой передач. Такие двигатели могут быть непосредственно присоединены к коробке передач (обычно на заводе). Такая коробка передач может уменьшать скорость двигателя, увеличивая при этом крутящий момент на выходном валу. Выходной вал может быть механически прикреплен к круглому промежуточному блоку, который содержит точки соединения, подходящие для взаимодействия с точками соединения барабана.

[0062] На фиг. 5В проиллюстрирован культуральный флакон 230, расположенный в барабане 240 под углом 20° над горизонтальной плоскостью. Специалисту в данной области техники известно, что сенсор (не проиллюстрированный) в культуральном флаконе должен быть полностью покрыт средой в течение считывания. Предусмотрены и другие углы, которые удовлетворяют указанным критериям, но угол флакона должен также соответствовать высокоплотной конструкции барабана.

Согласно одному варианту осуществления могут быть предусмотрены верхний подшипник 290 вблизи верха барабана (240) и второй подшипник 290 у дна барабана 240. Опционально первый (верхний) подшипник может представлять собой упорный шарикоподшипник, и второй (нижний) подшипник может представлять собой сферический подшипник для предотвращения любого некоаксиального взаимодействия между первым и вторым подшипниками. Указанные конструкция и конфигурация подшипников могут быть адаптированы и к другим вариантам выполнения барабана (включая, например, барабан, который содержит культуральные флаконы в ориентации горловиной внутрь вместо ориентации горловиной наружу). Двигатель 270 представляет собой прямой приводной двигатель, который обеспечивает высокий крутящий момент, малый или нулевой гистерезис, низкий шум, надежность и простоту. Как проиллюстрировано на фиг. 5В единственный вал 285 является опорой и поддерживает флаконный барабан 240 и приводной двигатель 270. Два подшипника 290, расположенные между валом 285 и барабаном 240, аналогичны двум подшипникам, которые поддерживают ротор в устройствах предшествующего уровня техники. Расстояние между двумя подшипниками может быть увеличено в целях сокращения до минимума движения внутренней поверхности флаконного барабана по отношению к валу. Указанные конструкция и варианты выполнения подшипников могут быть адаптированы и к другим конфигурациям барабана (включая, например, барабан, который содержит культуральные флаконы в ориентации горловиной внутрь вместо ориентации горловиной наружу). Опционально все измерительные электронные устройства, индикатор статуса и электронные устройства для обнаружения флаконов могут быть расположены на единственном валу 285.

[0063] Согласно альтернативному варианту осуществления предусмотрен установленный сверху кольцевой подшипник, который является меньше, чем кольцевые подшипники в системах предшествующего уровня техники для направления вращения барабана. Кольцевой подшипник 700 проиллюстрирован на фиг. 25. Установленный на дне кольцевой подшипник 600 проиллюстрирован на фиг. 23. Средний специалист в данной области техники может заменить подшипники 290 кольцевым подшипником, который поддерживает барабан сверху и прикреплен к корпусу 224 модуля.

[0064] Как проиллюстрировано на фиг. 7, флаконный барабан 240 имеет конструкцию, которая удерживает плотно-расположенное множество культуральных флаконов 230 в ориентации горловиной наружу. Культуральные флаконы 230 расположены в шахматном порядке в рядах 241, 242 (фиг. 8), причем их горловины ориентированы в направлении из барабана 240 для достижения их плотной упаковки. На фиг. 9 проиллюстрировано перспективное изображение упакованного в шахматном порядке барабана, который проиллюстрирован на фиг. 8 в раме, выполненного для трехдверного стеллажа, проиллюстрированного на фиг. 3А и 3В. Расположение в шахматном порядке культуральных флаконов также создает пространство над каждым культуральный флаконом для маркировки культуральных флаконных гнезд 220 и регистрацию сигнала от световодных индикаторов 295 (фиг. 5В). Каждое флаконное гнездо 220 имеет номер, показывающий его горизонтальное положение в барабане, и индикатор статуса, чтобы отображать для пользователя ход технологического потока в ручном режиме.

[0065] Как проиллюстрировано на фиг. 10, флаконы 230 (ориентированные внутрь) в барабане 240 расположены в одном из шести секторов (222A-222F) в модуле 210. Сектора разделены вертикальными панелями 221, которые проходят наружу из барабана 240. Интервал между соседними панелями приблизительно равняется интервалу между дверцами, ведущими в корпус 224, чтобы полностью защитить пользователя от внутреннего пространства модуля, когда секция культуральных флаконов становится доступной для пользователя. Модуль 210 также содержит вентилятор и нагреватель 225 для сохранения флаконов 230 теплыми. Во внутреннем пространстве барабана расположены измерительные электронные устройства 525 и электронные устройства 260 для обнаружения культуральных флаконов. Приводной двигатель 270 обеспечивает вращение барабана 240.

[0066] Как проиллюстрировано на фиг. 11, флаконный барабан 240 содержит гнезда 220 для содержания культуральных флаконов, расположенных в ориентации горловиной внутрь в рядах, как описано выше. Гнездо 220 содержит световод, образованный в донной части гнезда, которая также определяет нижний край гнезда. Указанные признаки описаны и в других разделах настоящего документа. На фиг. 12 один флаконный барабан удален из трехдверного стеллажа 200, проиллюстрированного на фиг. 3. Как проиллюстрировано на фиг. 11, здесь присутствуют двадцать четыре гнезда 220 для содержания двадцати четырех флаконов 230 в ряде 231, причем присутствуют восемь рядов 231 в барабане 240 и три барабана 240, суммарная емкость которых составляет приблизительно 576 флаконов. Опционально модуль может содержать гнезда, предназначенные для содержания флаконов в ориентации горловиной наружу. Согласно одному варианту осуществления барабаны могут содержать по тридцать гнезд в одном ряду, причем всего в барабане может быть восемь таких рядов, а общее количество таких барабанов может достигать трех штук, таким образом, суммарная емкость такого варианта выполнения составит приблизительно 720 флаконов.

На фиг. 13 проиллюстрирован барабан, который составляют изготовленные инжекционным формованием (литьем под давлением) ряды 300А и 300В. Когда изготовленные инжекционным формованием ряды собраны вместе, они составляют единый ряд 310 барабана 240. Опционально изготовленные инжекционным формованием ряды в процессе формования приобретают отдельные углубления, полости или другие признаки, которые способствуют упрощению приема, удерживания и высвобождения культуральных флаконов, содержащихся в гнездах. Формование гнезда с такими признаками уменьшает число отдельных деталей и упрощает производственный процесс. Вместо круглой геометрической формы, которая проиллюстрирована на фиг. 13, барабанная секция может иметь многогранную внутреннюю и внешнюю периферию по производственным причинам или по эстетическим соображениям пользователя. Такой многогранный барабан проиллюстрирован на фиг. 15А.

[0067] На фиг. 14 проиллюстрирован барабан, который составляют изготовленные инжекционным формованием ряды 320А и 320В. Когда изготовленные инжекционным формованием ряды собраны вместе, они составляют единый ряд 330 барабана 240. Согласно варианту осуществления, проиллюстрированному на фиг. 14, когда формованные ряды 320А и 320В собраны вместе, они образуют сотовую укладку гнезд 220, которая обеспечивает повышение приблизительно на двадцать один процент плотность расположения флаконов в барабане 240. Опционально изготовленные инжекционным формованием ряды в процессе формования приобретают отдельные углубления, полости или другие признаки, которые способствуют упрощению приема, удерживания и высвобождения культуральных флаконов, содержащихся в гнездах. Формование гнезда с такими признаками уменьшает число отдельных деталей и упрощает производственный процесс.

[0068] Кроме того, барабаны могут быть собраны с вертикальными секциями. Как проиллюстрировано на фиг. 15А, флаконный барабан 240 (аналогичный по внешнему виду барабану, проиллюстрированному на фиг. 13) собран с вертикальными секциями 248 флаконных гнезд. Вертикальная секция 248 образует линейные ряды и столбцы флаконных гнезд 220, причем флаконы 230 вставлены в ориентации горловиной внутрь. Как проиллюстрировано на фиг. 15В, барабан 240 (аналогичный по внешнему виду барабану, проиллюстрированному на фиг. 14) собран с вертикальными секциями 249. Вертикальная секция 249 образует линейные столбцы флаконных гнезд 220, но расположенные в шахматном порядке ряды, которые обеспечивают повышенную емкость барабана 240. Вертикальные секции могут быть изготовлены посредством инжекционного формования. Вертикальные секции взаимно соединены друг с другом или прикреплены к центральному кольцу. Опционально изготовленные инжекционным формованием ряды в процессе формования приобретают отдельные углубления, полости или другие признаки, которые способствуют упрощению приема, удерживания и высвобождения культуральных флаконов, содержащихся в гнездах. Формование гнезда с такими признаками уменьшает число отдельных деталей и упрощает производственный процесс.

[0069] В вариантах с ориентацией горловиной внутрь барабана для культуральных флаконных гнезд требуются механизмы в целях удерживания и высвобождения культуральных флаконов. На фиг. 16А и 16 проиллюстрирован барабан 800, который собран с вертикальными сегментами 805 вместо горизонтальных сегментов, как проиллюстрировано на фиг. 13. Как отмечено выше, вертикальные сегменты 805 содержат по меньшей мере одно флаконное гнездо 810 в каждом ряду. Однако, как проиллюстрировано на фиг. 16А и 16В, вертикальные сегменты 805 могут содержать множество флаконных гнезд 810 в каждом ряду. Флаконные гнезда 810 выполнены с возможностью содержания флакона 830, имеющего узкую горловинную часть 835 и более широкую флаконную часть 840. Таким образом, как здесь проиллюстрировано, флаконные гнезда 810 имеют наружную часть 845, которая имеет достаточный диаметр для содержания флаконной части 840 флакона, и менее широкую внутреннюю часть 850, которая имеет достаточный диаметр для содержания горловинной части 835. Как описано в других разделах настоящего документа, существуют многочисленные удерживающие флаконы механизмы, предусмотренные в настоящем документе. На фиг. 16А и 16В проиллюстрированы флаконные гнезда 810, которые содержат эластомерную внутреннюю оболочку 855 во флаконных гнездах 810. Эластомерная внутренняя оболочка 855 имеет первый фланец 860, который удерживает эластомерный вкладыш 855 во флаконных гнездах 810. Эластомерная внутренняя оболочка 855 содержит второй фланец 865, расположенный в менее широкой внутренней части 850, таким образом, что, когда флакон 830 вставлен в гнездо 810, второй фланец 865 будет плотно удерживаться в гнезде между крышкой 870, находящейся на флаконе 830, и горловинной частью 835 флакона 830. Второй фланец 865 удерживает флакон 830 в гнезде 810, но усилие, посредством которого второй фланец 865 удерживает флакон 830 в гнезде 810, может быть легко преодолено, когда флакон 830 должен быть извлечен из флаконного гнезда 810 барабана 800.

[0070] Как проиллюстрировано на фиг. 17А-С, наклонная спиральная пружина 400, которая имеет такие размеры, чтобы захватывать обжимную кольцевую крышку 410 культурального флакона 230, расположена в дальнем конце 415 флаконного гнезда 220. Пользователь толкает культуральный флакон 230 во флаконное гнездо 220, и в результате этого проталкивает буртик крышки 410 культурального флакона сквозь наклонную спиральную пружину 400, которая удерживает культуральный флакон 230 во флаконном гнезде 220. Дно 416 культурального флакона 230 проходит от ближнего конца 420 флаконного гнезда 220 таким образом, что дно 416 культурального флакона может быть взято рукой пользователя или захвачено роботом для последующего извлечения. На фиг. 17А-С проиллюстрированы различные изображения одного и того же механизма. Все они представлены в одном и том же поперечном сечении. На фиг. 17А проиллюстрировано в целом флаконное гнездо 220, в котором находится культуральный флакон 230. На фиг. 17В проиллюстрировано подробное изображение сверху дальнего конца 415 флаконного гнезда 220, и на фиг. 17С проиллюстрировано подробное перспективное изображение дальнего конца 415 гнезда 220. На фиг. 29 проиллюстрирован один ряд барабана, который образуют гнезда, проиллюстрированные на фиг. 17А-С. Барабан, который образуют такие гнезда, является барабаном с гранями - многогранным, а не круглым.

[0071] Опционально, обжимная крышка 410 может представлять собой деформируемую металлическую (например, алюминиевую) крышку с прокладкой в центре. Как проиллюстрировано на фиг. 27 на изображение сверху, крышка имеет металлический обжимной уплотнительный периметр 411 с металлическим буртиком 412, который слегка углублен в металлическом обжимном периметре 411. Обжимная крышка 410 может содержать маркировку 413, которая предоставляет информацию о статусе культурального флакона (т.е. является ли он положительным или отрицательным для роста микроорганизмов), при этом информацию помещает оператор или пользователь. Чтобы нанести на обжимную крышку маркировку, показывающую статус, гемокультуральный флакон вдавливают в полость, на дне которой находится выпуклый символ, согласно проиллюстрированному варианту осуществления выполнен знак плюс, который показывает, что система определила, что культуральный флакон является положительным для роста микроорганизмов. Как здесь проиллюстрировано, маркировка 413 совмещена с металлической плоской частью обжимного уплотнения. Когда крышка надавливается на выпуклый символ, оттиск маркировки 413 остается на обжимном уплотнении.

[0072] На фиг. 29 проиллюстрирован ряд барабана 240 с гнездами, проиллюстрированными на фиг. 17А-С. Барабан, проиллюстрированный на фиг. 29, имеет граненые внешний и внутренний периметры вследствие способа, которым гнезда образованы друг с другом. Гнезда со спиральной пружиной могут быть плотно расположены в вертикальном направлении. Изготовление барабана с указанными гнездами может обеспечивать значительную экономию по высоте (например, приблизительно 50 мм). Согласно вариантам осуществления, в которых множество барабанов расположено в едином стеллаже, стеллаж может иметь более компактные размеры и может быть более легкодоступным для пользователей. Уменьшение высоты барабана также обеспечивает размещение большего числа электронных устройств в верхней и нижней частях инкубационно-измерительного стеллажа. На фиг. 29 проиллюстрирован один ряд гнезд 220. Как описано в настоящем документе, барабан изготовлен из множества рядов, соединенных друг с другом и образующих барабан 240.

[0073] Поскольку дно 416 культурального флакона (фиг. 17А) проходит от гнезда 220, культуральный флакон может заслонять индикаторы, установленные на ближней поверхности 463 гнезд 220 при наблюдении от или снизу флаконного гнезда. Для решения этой потенциальной проблемы световоды установленных индикаторов (не проиллюстрированные) проходят от дальнего конца 415 гнезда до ближнего конца 463 гнезда. Кроме того, опционально флаконные гнезда 220 могут иметь такие размеры, что культуральный флакон полностью и плотно входит в них, но при этом ближний конец гнезда имеет расширение или имеет вырезы вблизи дна культуральных флаконов, чтобы обеспечить доступ для захвата пользователем или роботом.

[0074] Другая проблема представляет собой критический характер положения дна флакона по отношению к соответствующим измерительным оптическим и электронным устройствам. Наклонная спиральная пружина должна удерживать флакон до жесткого упора таким образом, чтобы основание флакона не могло двигаться в любом направлении в процессе вращения флаконного барабана или прикосновения до флакона пользователем в ходе технологического процесса в ручном режиме.

[0075] На фиг. 17D-F проиллюстрирован альтернативный удерживающий механизм, который содержит шариковый фиксатор 474, расположенный в суженной части 850 флаконного гнезда 220. Как проиллюстрировано на фиг. 17D, шариковый фиксатор 474 содержит шарики 471, смещенные наружу пружинным рычагом 476 и проходящие в суженную часть 850 флаконного гнезда 220. На фиг. 17D проиллюстрирован шариковый фиксатор 474 от дальнего конца флаконного гнезда 220, который представляет собой дальний конец суженной части 850 флаконного гнезда 220. Как проиллюстрировано на фиг. 17Е, когда культуральный флакон 230 продвигается в суженную часть 850 флаконного гнезда 220, видно, что шарики 471 выступают наружу в суженную часть 850 флаконного гнезда 220. Как проиллюстрировано на фиг. 17F, когда культуральный флакон 230 продвигается дальше, обжимная кольцевая крышка 410 культурального флакона 230 заталкивает шарики 471 обратно в проходы 472, образованные в суженной части 850 флаконного гнезда 220. После того, как обжимная кольцевая крышка 410 культурального флакона 230 продвигается над шариками 471 шарикового фиксатора 470, смещающее усилие, приложенное к шарикам 471, заставляет их продвигаться в пространство 472, образованное между обжимной кольцевой крышкой 410 культурального флакона 230 и горловиной 835 культурального флакона 230. Это смещающее усилие фиксирует культуральный флакон 230 во флаконном гнезде 220. Когда культуральный флакон 230 извлекают из флаконного гнезда, смещающее усилие шарикового фиксатора 474 преодолевается, позволяя обжимной крышке 410 культурального флакона 230 проходить над шариковым фиксатором 474 и тем самым вынимать из гнезда флакон 230.

[0076] На фиг. 17G проиллюстрировано альтернативное гнездо 220, в котором уплотнительное кольцо 461 зацепляет фиксатор 462 под крышкой 410 культурального флакона 230. Предусмотрены традиционные уплотнительные кольца, которые могут быть изготовлены из таких материалов, как Viton™, например: кремний-органические или другие традиционные эластомерные материалы. Такие материалы хорошо известны специалисту в данной области техники и не будут подробно описаны в настоящем документе. Как проиллюстрировано на фиг. 17G, гнездо 220 содержит только часть культурального флакона 230 и заканчивается на уровне 463 (около перехода из горловины 435 культурального флакона в донную часть 416 культурального флакона 230). В результате этого можно легко заметить, когда культуральный флакон не занимает правильное положение в гнезде, потому что культуральный флакон в этом случае будет смещен из его требуемого положения.

[0077] На фиг. 18А-С проиллюстрировано видоизменение наклонной спиральной пружины, проиллюстрированной на фиг. 17. На фиг. 18А проиллюстрировано перспективное изображение удерживающей крышки на флаконе. На фиг. 18В проиллюстрировано изображение в разрезе крышки, проиллюстрированной на фиг. 18А. На фиг. 18С проиллюстрировано перевернутое перспективное изображение сегментированного удерживающего механизма, проиллюстрированного на фиг. 18А. Как проиллюстрировано на фиг. 18А, удерживающий механизм 431 имеет множество клиньев 430А-С, которые проходят радиально и охватывают горловину 435 и обжимную кольцевую крышку 410 (фиг. 18В) флакона 230. Здесь проиллюстрированы три клиновые секции 430А-С, но может быть предусмотрено и другое число клиньев, состоящее из различного числа секций. Клиновые секции 430А-С расположены в дальнем конце суженной части 850 культурального флакона гнездо 220 в барабане. Обжимная кольцевая крышка 410, прикрепленная к горловине 435 флакона 230 входит в расширенный ближний конец 440 удерживающего механизма 431. Ближний конец 440 удерживающего механизма 431 расширен для возможности размещения обжимной кольцевой крышки 410 флакона. Удерживающий механизм 431 имеет ограничительный фланец 432, таким образом, флаконная горловина 435 может продвигаться только на определенное расстояние в удерживающим механизме 431. Удерживающий механизм содержит кольцевую пружину 433, которая позволяет клиньям 430А-С двигаться в радиальном направлении в ответ на вставляемое в них горлышко флакона, но прилагает напряжение для обеспечения того, чтобы обжимная кольцевая крышка 410 плотно удерживалась в удерживающем механизме.

[0078] На фиг. 19А-С проиллюстрировано видоизменение наклонной спиральной пружины, проиллюстрированной на фиг. 17. Согласно этому варианту осуществления секционный удерживающий механизм 450 содержит захватные секции 460 А-Е, разделенные пространствами 465. Захватные секции 460 А-Е являются эластичными, и пространства 465 позволяют захватным секциям расширяться и в то же время прилагать захватное усилие к обжимной кольцевой крышке 410 и к вставленной в нее флаконной горловине 435. Аналогично варианту осуществления, проиллюстрированному на фиг. 18А-С, ближний конец 470 удерживающего механизма 450 расширен таким образом, что в нем располагаются обжимная кольцевая крышка 410 и флаконная горловина 435. В качестве одного из примеров, эластичные захватные секции 460 А-Е могут быть изготовлены из пластмассы на основе сополимера акрилонитрила, бутадиена и стирола (ABS). Каждая секция 460 А-Е изгибается в радиальном направлении, чтобы захватить обжимную кольцевую крышку 410 и флаконную горловину 435. Хотя на фиг. 19А-С проиллюстрированы пять секций, это представляет собой всего лишь иллюстративный пример. Предусмотрены удерживающие механизмы, содержащие различное число секций.

[0079] На фиг. 19D-Q проиллюстрированы другие альтернативные удерживающие механизмы. На фиг. 19D проиллюстрирована щелевая крышка 451, содержащая щель 481, которая взаимодействует с шариковым фиксатором 474 в целях блокирования щелевой крышки 451 во флаконном гнезде 220. Выступы 482 находятся в напряженном состоянии и также содержат фланцы 483, которые функционируют в значительной степени подобно вторым фланцам 865, проиллюстрированным на фиг. 16 В. Как проиллюстрировано на фиг. 19Е, когда культуральный флакон 230 продвигается вперед во флаконном гнезде 220, выступы 482 смещаются наружу и охватывают горловинную часть 835 культурального флакона 230. В этот момент щель 481 щелевой крышки 451 не совмещается с шариковым фиксатором 474. Как проиллюстрировано на фиг. 19F, когда культуральный флакон 230 дополнительно продвигается к дальнему концу флаконного гнезда 220, где внутренняя часть 850 флаконного гнезда 220 имеет сужение, то выступы 482 втягиваются таким образом, что фланцы 483 плотно входят в пространство между обжимной крышкой 410 и горловиной 835 культурального флакона 230. Кроме того, щелевая крышка 451 продвигается таким образом, что щель 481 совмещаются с шариками 471 шарикового фиксатора, блокируя щелевую крышку на месте во флаконном гнезде. Для удаления культурального флакона смещающее усилие шарикового фиксатора 474 необходимо преодолеть, позволяя обжимной крышке 410 проходить над шариковым фиксатором 474 таким образом, что флакон может быть извлечен. Поскольку выступы 482 щелевой крышки 451 смещены наружу, фланцы 483 выходят из зацепления с культуральный флаконом 230, когда культуральный флакон продвигается наружу из гнезда 220.

[0080] На фиг. 19G-I проиллюстрирована крышка 452 шарикового фиксатора, которая содержит изготовленный в ней шариковый фиксатор 474. Крышка 452 шарикового фиксатора взаимодействует со щелями 487А и 487В во флаконном гнезде 220, чтобы блокировать крышку 452 шарикового фиксатора во флаконном гнезде 220, когда крышка 452 шарикового фиксатора находится в первом неблокированном положении и во втором блокированном положении. Выступы 482 находятся в напряженном состоянии и содержат фланцы 483, которые функционируют подобно вторым фланцам 865, проиллюстрированным на фиг. 16В. Как проиллюстрировано на фиг. 19Н, крышка 452 находится в первом неблокированном положении, и шариковый фиксатор 474 совмещается со щелью 487А. Когда культуральный флакон 230 продвигается вперед во флаконном гнезде 220, выступы 482 смещаются наружу и охватывают горловинную часть 835 культурального флакона 230. В этот момент щель 487 В флаконного гнезда 220 не совмещается с шариковым фиксатором 474. Как проиллюстрировано на фиг. 19F, когда культуральный флакон 230 дополнительно продвигается к дальнему концу флаконного гнезда 220, а внутренняя часть 850 флаконного гнезда 220 далее имеет сужение, то выступы 482 втягиваются внутрь, таким образом, что фланцы 483 плотно охватывают пространство между обжимной крышкой 410 и горловиной 835 культурального флакона 230. Кроме того, крышка 452 шарикового фиксатора продвигается таким образом, что щель 487А совмещается с шариками 471 шарикового фиксатора, и в результате этого крышка 452 шарикового фиксатора блокируется в данной позиции во флаконном гнезде. Чтобы извлечь культуральный флакон 230, смещающее усилие шарикового фиксатора 474 необходимо преодолеть, позволяя системе культурального флакона 230 и крышке 452 шарикового фиксатора продвигаться в первое положение, когда фланцы 483 снова смещаются наружу и высвобождают культуральный флакон 220. В первом положении щель 487А флаконного гнезда 220 снова совмещается с шариковым фиксатором 474 крышки 452 шарикового фиксатора, и в результате этого крышка 452 шарикового фиксатора удерживается во флаконном гнезде, когда флакон извлекается из культурального флаконного гнезда.

[0081] На фиг. 19J и 19K проиллюстрировано, как флаконное гнездо 220, проиллюстрированное на фиг. 19G-I, плотно входит в барабан 240. На фиг. 19J флаконное гнездо 220 содержит щель 838, которая расположена в совмещении с дорожкой 839 в отверстии барабана, и продвигается в отверстие с этим совмещением до тех пор, пока флаконное гнездо 220 не окажется полностью расположенным в отверстии барабана 24. Как проиллюстрировано на фиг. 19K, флаконное гнездо 220 затем поворачивается, чтобы блокировать флаконное гнездо 220 в барабане 240.

[0082] На фиг. 19L-19Q проиллюстрированы флаконные гнезда, альтернативные по отношению к тем, которые проиллюстрированный на фиг. 18А-С и фиг. 19А-С. Как проиллюстрировано на фиг. 19L, флаконный держатель 453, который выполнен с возможностью расположения во флаконном гнезде, содержит выступы 841 и наклонную спиральную пружину 842. Кроме того, предусмотрены и другие подобные пружинам элементы, такие как эластомерное уплотнительное кольцо или кольцевая пружина. Выступы 841 могут раздвигаться, преодолевая смещение наклонной спиральной пружины 842, как проиллюстрировано на фиг. 19М, когда горловина 835 культурального флакона продвигается во флаконный держатель 453. Когда раздвинутые выступы 841 содержат паз 491, то этот паз 491 перемещается вдоль дорожки 492. Флаконный держатель 453 содержит фланцы 483. Когда обжимная крышка 410 культурального флакона 230 продвигается мимо фланцев 483, смещающее усилие наклонной спиральной пружины 842 обратно сдвигает выступы друг с другом, и фланцы помещаются на основании обжимной крышки 410, фиксируя культуральный флакон во гнезде, как проиллюстрировано на фиг. 19N. Опять же паз 491 в выступах 841 позволяет выступам 841 перемещаться обратно в свое закрытие положение вдоль дорожки 492. Наклонная спиральная пружина не проиллюстрирована на фиг. 19М и 19N, и, таким образом, можно четко видеть перемещение выступов из открытого усилием положения на фиг. 19М в закрытое положение на фиг. 19N.

[0083] На фиг. 190-Q проиллюстрирован флаконный держатель 454, который представляет собой видоизменение флаконного держателя, описанного на фиг. 19L-N. Как проиллюстрировано на фиг. 19O, флаконный держатель 454, выполненный с возможностью расположения во флаконном гнезде, содержит выступы 841 и кольцевую пружину 842. Выступы 841 могут раздвигаться, преодолевая смещение кольцевой пружины 842, как проиллюстрировано на фиг. 19Р, когда горловина 835 культурального флакона продвигается во флаконный держатель 454. Когда раздвинутые выступы 841 содержат паз 491, то этот паз 491 перемещается вдоль дорожки 492. Флаконный держатель 454 содержит фланцы 483. Когда обжимная крышка 410 культурального флакона продвигается мимо фланцев 483, смещающее усилие кольцевой пружины 842 обратно сдвигает выступы друг с другом, и фланцы помещаются на основании обжимной крышки 410, удерживая и фиксируя культуральный флакон во флаконном гнезде, как проиллюстрировано на фиг. 19Q. Опять же паз 491 в выступах 841 позволяет выступам 841 перемещаться обратно в свое закрытое положение вдоль дорожки 492. Кольцевая пружина не проиллюстрирована на фиг. 19Р, и, таким образом, можно четко видеть перемещение выступов в открытое усилием положение.

[0084] На фиг. 20А-С проиллюстрирован альтернативный механизм 500 для удерживания флакона в барабане. В механизме 500 использована плоская пружина 510 для удержания и фиксации культурального флакона 230 в гнезде 220. В этой конфигурации дно 416 культурального флакона фиксируется в гнезде упором 417. Держатель 220 имеет отверстие 418, таким образом, что культуральный флакон 230 может быть вставлен и извлечен из держателя 220 в ручном режиме или посредством захвата роботом. Это обеспечивает доступ к культуральному флакону 230, зафиксированному в гнезде 220 барабана. Пользователь или робот толкает флакон в гнездо 220 до тех пор, пока плоская пружина 510 не нажимает на флакон, и дно 416 флакона не упирается перед упором 417. Плоская пружина 510 удерживает флакон напротив ограничителя 417. Чтобы извлечь культуральный флакон 230, пользователь или робот вынимает культуральный флакон 230 от упора 417, что позволяет извлечь флакон 230 из гнезда 220. Когда культуральный флакон 230 не зафиксирован упором 417, плоская пружина 510 также выталкивает культуральный флакон 230 к ближнему концу 420 гнезда 220 для простоты извлечения.

[0085] Как проиллюстрировано на фиг. 21, гнездо также содержит световод 515 для передачи света от светодиодных индикаторов 520 из дальнего конца 525 гнезда (т.е. внутри барабана 240, в котором расположено гнездо). Световод 515, если он присутствует, крепится за флакон 230 и проходит от ближнего конца 420 гнезда (т.е. наружной поверхности барабана 240). Плоская пружина 510 со свободным концом 535 прижимает верхний уступ 530 культурального флакона 230, для того чтобы удерживать культуральный флакон 230 напротив упора 417. Гнездо 220 расположено рядом с флаконным детектором 536 в дальнем конце 525 гнезда 220. Дальний конец флакона 230 в гнезде 220 обнаруживается (детектируется) флаконным детектором 536. Флаконный детектор 536 содержит стационарную детекторную плату 540. Как проиллюстрировано на фиг. 20В и 20С, пружина образована формованием во флаконном держателе 220.

[0086] Модуль содержит измерительные электронные устройства 545 для каждого ряда флаконов 230 в каждом барабане 240. Как проиллюстрировано на фиг. 20А, измерительные электронные устройства 545 расположены снаружи барабана 240 в переднем правом углу модуля 210 (см. фиг. 4 и 10).

[0087] Световод 515 (фиг. 21) расположен на одной линии со светодиодными индикаторами 520 на плате 540. Поверхность конца световода 515 снаружи флаконного барабана 240 является текстурированной таким образом, чтобы рассеивать свет от светодиодных индикаторов 520. Обжимная крышка 410 флакона прерывает флаконный детектор 536 (например, оптический переключатель или сенсор приближения), когда он расположен в гнезде 220. Светодиодные индикаторы 520 и флаконный детектор 536 расположены на платах 540, которые занимают внутри барабана 240 положения, соответствующие каждому флакону 230 в барабане 240, который является доступным для пользователя. Флаконные детекторы 536 могут быть доступны для пользователя/робота, когда дверца модуля открыта, чтобы обнаруживать в режиме реального времени, когда флакон 230 расположен в гнезде или извлечен из гнезда.

[0088] Как проиллюстрировано на фиг. 20А. пользователь помещает флакон 230 в гнездо 220, сначала вставляя горловину флакона 230 до тех пор, пока она не вступает в контакт с плоской пружиной 510, затем толкая флакон 230 на пружину 510 до тех пор, пока по дну 416 культурального флакона не пройдет упор 417, который удерживает флакон 230 в гнезде 220. Плоская пружина 510 зацепляет культуральный флакон 230 таким образом, что, если пользователь не полностью вводит культуральный флакон 230 в гнездо 220, плоская пружина 510 будет препятствовать культуральному флакону 230 полностью располагаться в гнезде 220. В результате этого культуральный флакон 230 будет проходить достаточно далеко от установки, таким образом, барабан 240 не сможет продвигать культуральный флакон 230 мимо корпуса 224 модуля. Это позволит модулю 210 обнаруживать не размещенные в гнезде флаконы 230, когда пользователь закрывает дверцу модуля. Чтобы извлечь/удалить флакон 230 из гнезда 220, пользователь просто поднимает дно 415 культурального флакона над упором 417 и вытягивает культуральный флакон 230 из гнезда 220. Согласно тем вариантам осуществления, где установка/размещение и извлечение культуральных флаконов происходит автоматически, такие же движения осуществляет автоматическое устройство.

[0089] Как проиллюстрировано на фиг. 20С, гнездо 220 представлено более подробно с некоторыми модификациями. Гнездо 220 изготовлено из прозрачного материала, таким образом, оно может быть использовано в качестве световода для передачи света от светодиодных индикаторов 520 статуса гнезда внутри барабана 240 к ближнему концу 420 гнезда 220 снаружи флаконного барабана 240.

[0090] Плоская пружина 510, которая прикреплена к верху гнезда 220, изгибается из положения, проиллюстрированного на фиг. 20С, в положение, проиллюстрированного на фиг. 20А, после того, как культуральный флакон 230 помещается в гнездо 220. Когда свободный конец 555 плоской пружины 510 вступает в контакт с верхом гнезда 220, пружина 510 превращается в жесткий ограничитель и препятствует культуральному флакону 230 в дальнейшем движении в гнездо 220. Когда культуральный флакон 230 высвобождается после установки/расположения, плоская пружина 510 толкает культуральный флакон 230 на упор 417 гнезда 220, который отходит от наружной поверхности барабана 240. Культуральный флакон 230 вынимают из гнезда 220, поднимая дно 416 культурального флакона 230 вверх через ближний конец 420 гнезда 220 в ручном режиме или с применением робота.

На фиг. 28А проиллюстрирован барабан 240 с гнездами, проиллюстрированными на фиг. 20А-С и 28В. Гнезда 220 с плоской пружиной присутствуют в форме столбца, и барабан 240 образован посредством соединения столбцов друг с другом. Получаемая в результате конструкция представляет собой круглый барабан 240 (фиг. 29А) с круглыми внешним и внутренним периметрами вследствие способа, которым ряды составлены друг с другом.

[0091] На фиг. 20D проиллюстрирована часть барабана 240 с множеством вертикальных рядов гнезд 220, которые проиллюстрированы на фиг. 20А-С. Барабан проиллюстрирован на изображении в разрезе, где присутствует культуральный флакон 230 на опоре в гнезде 220. Верхнее гнездо 220 является пустым. Согласно варианту осуществления, который проиллюстрирован на фиг. 20D, присутствует поворотный рычаг 551, для того чтобы удерживать культуральный флакон 230 в гнезде 220, вместо пластинчатой пружины 550, которая описана выше. Когда флакон 230 продвигается в гнездо 230, поворотный рычаг 551 поворачивается в направлении по часовой стрелке, чтобы удерживать культуральный флакон 230 в гнезде. Сопротивление поворотному рычагу 551 обеспечивает спиральная пружина 552, которая закреплена в гнезде с помощью штифта 556.

[0092] На фиг. 20Е-Н проиллюстрирована альтернатива гнезду, которое проиллюстрировано на фиг. 20D. Как проиллюстрировано на фиг. 20Е, поворотный рычаг 551, проиллюстрированный на фиг. 20D, заменен деформируемым материалом 553. В качестве одного примера, деформируемый материал 553 представляет собой перистальтическую трубку, но предусмотрены и другие традиционные деформируемые материалы. Основное преимущество деформируемого материала представляет его упругость в связи с чем его недеформированная форма восстанавливается после каждого события деформации посредством вставки культуральных флаконов в гнездо. Донная часть гнезда 220 представляет собой световод 515.

[0093] Деформируемый материал 553 расположен в конической части 554 гнезда 220. Как проиллюстрировано на фиг. 20F на торцевом изображении гнезда (220), деформируемый материал 553 находится в верхней части гнезда (вдоль конической части 554 гнезда). Подходящие деформируемые материалы представляют собой, помимо эластомерной перистальтической трубки, которая описана выше, эластомерные материалы и пеноматериалы.

[0094] На фиг. 20G проиллюстрировано перспективное изображение одного гнезда 220 с частью второго гнезда, которое находится выше. Культуральный флакон удерживается в гнезде, как описано выше. Упор 417 обеспечивает фиксированное удерживание культурального флакона 230 в гнезде 220. В качестве деформируемого материала могут быть предусмотрены другие материалы, которые имеют достаточные фрикционные свойства в случае применения в контакте с флаконом 230. Такое трение предотвращает вращение флакона 230 и, таким образом, позволяет измерительной системе получать высокое качество сигналов с уменьшением шума, вызываемого вращательным колебанием и вращением флакона.

[0095] Как проиллюстрировано на фиг. 22, если флакон не вставлен полностью в гнездо 220, плоская пружина 510 будет удерживать флакон в перекрывающем положении 570. Таким образом, культуральный флакон 230 не может оказаться соответственно расположенным в гнезде 220, когда он не вставлен полностью. Когда культуральный флакон 230 находится в гнезде, но не вставлен в него полностью, дно 416 культурального флакона не позволит флаконному барабану 240 вращаться под действием модуля. Модуль обнаруживает не размещенный в гнезде флакон 570 посредством обнаружения застопоренного флаконного барабана 240 и направляет сигнал в систему. Пользователь будет информирован об устранении помехи посредством извлечения такого флакона или посредством полной вставки такого флакона 230 в гнездо.

[0096] Ориентация горловиной внутрь культуральных флаконов обеспечивает некоторые улучшения по сравнению с ориентацией горловиной наружу предшествующего уровня техники. Барабаны предшествующего уровня техники удерживают культуральные флаконы под углом 20° над горизонталью во время считывания. Когда флаконные горловины ориентированы внутрь, вращающийся флаконный барабан направляет культуральную среду/ ионообменную смолу во флаконах на дно флакона. Таким образом, в конфигурации с ориентацией горловиной внутрь культуральный флакон может удерживаться в барабане в горизонтальном положении. В течение оптического исследования флакона барабан вращается с такой скоростью, которая направляет культуральную среду/смолу в культуральных флаконах под стандартным углом 20° по отношению к боковой стороне культурального флакона для барабана, в котором расположены донья флаконов с диаметром 22 дюйма. Диаметр барабана измеряют от дна флакона на одной стороне барабана до дна культурального флакона на противоположной стороне барабана. Скорость вращения барабана, составляющая приблизительно 37 об/мин, индуцирует угол 20° для культуральной среды/ ионообменной смолы в направлении дна флаконов. В качестве сравнения, ротор в устройстве предшествующего уровня техники вращается со скоростью, составляющей приблизительно 30 об/мин, как для считывания культуральных флаконов, так и для встряхивания. Опционально скорость вращения барабана может быть выбрана таким образом, чтобы заставить барабан функционировать в качестве центрифуги, обеспечивая дополнительное отделение твердых компонентов образца, представляющих собой культуральную среду и смолу, от жидких компонентов образца.

[0097] На фиг. 26 проиллюстрирован флаконный ограничитель 1000, который может быть размещен в конце флаконного гнезда 220. Флаконный ограничитель 1000 представляет собой простую замочную скважинную 1010, которая имеет верхнее отверстие 1015 с периметром, достаточным для того, чтобы через него проходила обжимная крышка культурального флакона. Когда культуральный флакон располагается в гнезде 220, горловина культурального флакона входит в зауженное отверстие 1020 замочной скважины 1010, которое не является достаточно широким для того, чтобы через него проходила обжимная крышка культурального флакона. Следовательно, замочная скважина 1010 удерживает культуральный флакон на месте во флаконном гнезде до тех пор, пока культуральный флакон не будет удален из него в ручном режиме или с применением автоматического устройства (например, робота).

[0098] Для ориентации культуральных флаконов с их горловинами требуются измерительные электронные устройства, которые должны быть расположены по периметру флаконного барабана. Как проиллюстрировано в настоящем документе, указанные электронные устройства расположены в переднем правом углу. Донья культуральных флаконов расположены на большем расстоянии друг друга в конфигурации с ориентацией горловиной внутрь, чем в конфигурации с ориентацией горловиной наружу. Это уменьшает любые возможные перекрестные помехи для измерительной системы (например, сокращаются или исключаются перекрестные помехи от испускания флуоресценции из флакона, расположенного рядом с измеряемым флаконом).

[0099] Как разъясняется в настоящем документе, модуль поворачивает барабан в целях расположения флаконов для доступа пользователя, а также в целях доступа в автоматическом режиме. Модуль также поворачивает культуральные флаконы для их встряхивания.

[0100] Опционально система движения барабана может содержать прямой приводной двигатель, присоединенный к валу, на котором установлены подшипники барабана, и барабан может поворачиваться вокруг вала. Для прямых приводных двигателей не требуются дополнительные детали, которые потребовались бы в случае двигателей с ременным приводом или с фрикционным приводом по периферии диска. Прямые приводные двигатели представляют собой более надежное решение и производят меньше шума, чем другие традиционные двигатели.

[0101] Для встряхивания флаконов в барабане, в котором флаконы содержатся в ориентации горловиной наружу, барабан ускоряют, чтобы ввести культуральную среду/смолу в горловину флакона под действием центробежной силы. После этого барабан замедляют, чтобы позволить культуральной среде/смоле вытекать обратно на дно культурального флакона. Опционально этот режим движения повторяется приблизительно через каждые две секунды для создания движения культуральной среды/смолы во флаконах, что имитирует движение культуральной среды/смолы, когда культуральные флаконы совершают колебательное движение в устройстве предшествующего уровня техники.

[0102] Горизонтальное ускорение флакона, которое происходит в течение процесса углового ускорения при встряхивании, которое описано выше, не происходит в устройство предшествующего уровня техники, и встряхивание, которое происходит в результате этого, представляет собой преимущество. Опционально барабан может работать таким образом, чтобы обеспечивать низкочастотное ускорение и замедление посредством большого угла барабана. Такое движение будет перемещать жидкость (т.е. культуральную среду/смолу/образец) в культуральной флаконе от основания культурального флакона к его горловине и обратно.

[0103] Опционально барабан может работать таким образом, чтобы обеспечивать низкочастотное ускорение и замедление посредством малого угла барабана. Такое движение будет перемещать жидкость (т.е. культуральную среду/смолу/образец) в культуральном флаконе от одной стороны к другой стороне флакона. Это движение является аналогичным движению, в которое приводится жидкость в культуральном флаконе под действием устройства предшествующего уровня техники.

[0104] Опционально предусмотрены видоизменения и сочетания описанных выше режимов движения, в которых барабан совершает возвратно-поступательное движение или движется в одном направлении.

[0105] Опционально барабан своим действием может осуществлять периодическое резкое замедление, чтобы переместить кровь, смолу и бактерии, которые могут осаждаться во флаконе. Некоторые бактерии могут получать повреждения в процессе такого непрерывного интенсивного встряхивания. Такое движение не является частым в течение эксплуатации прибора (осуществляется, например, один раз в час или один раз в конце каждого измерительного цикла).

[0106] Предусмотрены и другие механизмы для движения барабана вместо прямого приводного двигателя и подшипников на твердом валу, как описано выше. Такие альтернативные механизмы решают следующие задачи: (i) сокращение до минимума вертикального пространства между флаконными барабанами; (ii) сокращение до минимума пространства между барабанами для увеличения плотности расположения флаконов в стеллаже; и (iii) обеспечение более однородного столбца флаконов для пользователя в ходе технологического потока в ручном режиме.

[0107] Один пример представляет собой карусель, установленную на зубчатое переходное кольцо (GAR), которое вращается на кольцевом подшипнике, и его приводят в действие двигатель и зубчатый ремень. Флаконный барабан в модуле может быть аналогичным образом установлен на зубчатое переходное кольцо, и его может приводить в действие зубчатый ремень. Флаконный барабан может быть открыт сверху и все соединения с электронными устройствами внутри барабана могут быть распределены над барабаном.

[0108] На фиг. 23 проиллюстрирован такой барабан 240, который поворачивается на кольцевом подшипнике 600 большого диаметра. Кривизна барабана 240 является очевидной из вариантов расстояния и угла флаконных гнезд 220. Флаконы 220 находятся в ориентации горловиной внутрь, и это означает, что измерительная система (не проиллюстрированная) находится снаружи системы барабана. Согласно проиллюстрированному варианту осуществления предусмотрено, что основание приводится в действие ременной передачей от двигателя, расположенного снаружи барабана. Опционально прямой приводной двигатель может быть расположен в центре основания, и может быть использован кольцевой подшипник. Измерительные системы в модулях, которые описаны в настоящем документе, обладают не более высокой чувствительности к скорости флаконного барабана, чем чувствительность измерительных систем к скорости ротора в устройствах предшествующего уровня техники.

[0109] Как проиллюстрировано на фиг. 24, устройство, описанное в настоящем документе, опционально содержит светодиоды, имеющие первый цвет (например, зеленый) или второй цвет (например, синий) для освещения источника. Дополнительный светодиод получает эталонный результат считывания. Как видно на фиг. 24, свет, показывающий эталонный результат считывания, активируется, когда индикаторный краситель, представляющий собой бромкрезоловый пурпурный (ВСР), в положительном состоянии имеет такое же процентное значение пропускания, как ВСР в отрицательном состоянии. Положительный показатель получается, когда процентное значение пропускания для положительного состояния составляет более чем процентное значение пропускания для отрицательного состояния. Длина волны синего светодиода находится в такой точке на кривой отклика, на которую не влияет уровень рН гемокультуры в культуральном флаконе. Соотношение результата считывания, полученного от флакона с применением синего возбуждающего света, и результата считывания, полученного с применением зеленого возбуждающего света, должно быть пропорциональным наклону кривой отклика ВСР, который является пропорциональным уровню рН ВСР. Значение рН для флаконов ВАСТЕС представляет собой улучшенный показатель биологического роста во флаконе.

[ОНО] Устройство, описанное в настоящем документе, обеспечивает следующие преимущества: (1) уменьшение шума (т.е. на соотношение сигнала роста и эталонного сигнала не должны воздействовать положение флакона, температура и изменчивость сенсора); (2) обнаружение роста во флаконе, который испытывает задержку при введении в систему (т.е. двойные измерения, которые описаны выше, обеспечивают эталон, таким образом, что отсутствует необходимость непрерывного отбора проб из содержимого флакона в течение роста для подтверждения положительного статуса посредством обнаружения ускорения роста); и (3) показатель качества сигнала (т.е. эталонный сигнал представляет собой независимый показатель исправности аппаратного обеспечения системы).

[0111] Кроме того, в настоящем документе описан способ эксплуатации устройства, описанного в настоящем документе. Согласно этому способу движение флаконного барабана регулируется для поддержки технологического потока пользователя. Пользователю требуется, чтобы дверца модуля была открыта для доступа к флаконному барабану, содержащему гемокультуральные флаконы, как проиллюстрировано в настоящем документе. Флаконный барабан останавливается приводным двигателем флаконного барабана в определенном положении перед открытием дверцы. Как описано выше, сектор флаконного барабана становится доступным для пользователя только тогда, когда дверца модуля открывается. Пользователь может показать системе управления сектор барабана, к которому пользователь желает получить доступ.

[0112] Когда дверца открыта, блокировочный переключатель дверцы уменьшит максимальную мощность, которая подается в двигатель флаконного барабана. В результате этого двигатель флаконного барабана приводит в действие флаконный барабан при низкой мощности и низкой скорости. Статус флаконов во флаконном барабане указывают лампы, расположенные вблизи каждого культурального флаконного гнезда во флаконном барабане. Как описано в настоящем документе, источники света и сенсоры занимают фиксированные положения внутри модуля флаконного барабана. Источники света освещают световод для устройства во флаконном барабане, когда это устройство совмещается с источником света.

[0113] Пользователь получает доступ во флаконный барабан, чтобы вставлять культуральные флаконы в доступные устройства (также упоминаемые в настоящем документе как флаконные гнезда) или извлекать/удалять отрицательные и положительные флаконы из устройств. Пользователь извлекает культуральные флаконы, которые имеют целевой статус (т.е. положительный или отрицательный). Например, положительные флаконы являются доступными для пользователя в целях последующей обработки; отрицательные флаконы пользователь собирает для утилизации. Когда завершается доступ пользователя к доступной секции барабана, пользователю разрешается в ручном режиме перемещать барабан налево или направо, преодолевая небольшое сопротивление вращению, которое производит двигатель. Изменение положения барабана обнаруживает система управления, а усилие, прилагаемое двигателем, эффективно устраняется, что позволяет барабану вращаться относительно свободно. Когда система управления высвобождает барабан от сопротивления двигателя вращению в ручном режиме, управляющий компьютер определяет следующее положение флаконного барабана, которое будет предоставлять пользователю доступ к интересующим его культуральным флаконам. Когда интересующие пользователя культуральные флаконы становятся доступными для него, система управления направляет сигнал двигателю флаконного барабана в целях остановки флаконного барабана в данном положении.

[0114] Когда флаконный барабан поворачивается, источники света индикатора статуса флакона светят таким образом, что статус культурального флакона правильно показывается через световод, совмещенный с флаконным гнездом/устройством. Система управления флаконного барабана содержит кодировочное устройство, которое находится в сообщении с системой управления флаконного барабана, таким образом, что системе управления в любое время известно положение флаконного барабана (и, следовательно, в любое время известно положение каждого гнезда/устройства). Система управления освещает каждое устройство/гнездо, когда флаконный барабан перемещает флаконное гнездо/устройство из одного положения в следующее положение.

[0115] В способах, которые описаны выше, для пользователя может оказаться нежелательным перемещение барабана или карусели в ручном режиме. В настоящем документе предусмотрены системы со средствами управления, которые позволяют пользователю осуществлять вращение барабана для получения доступа к следующим флаконам. Такие средства управления могут представлять собой просто кнопки или символы на сенсорной панели, которые позволяют пользователю перемещать барабан в направлении по часовой стрелке или в направлении против часовой стрелки. Если система, которая описана в настоящем документе, оборудована такими средствами управления, предотвращено перекрытие пользователем этих средств управления и перемещение барабана в ручном режиме. Такие средства управления могут быть использованы для перемещения барабана или карусели с определенным шагом (т.е. посредством периодического приведения в действие) или в непрерывном режиме (посредством постоянного приведения в действие).

[0116] В настоящем описании, термин «содержащий» следует понимать в его неограничительном смысле, то есть в смысле присутствия, и, таким образом, не в ограничительном смысле, то есть в смысле присутствия только данного объекта. Такое же значение имеют и соответствующие грамматические формы «содержат», «содержащийся» и «содержит» в случае их присутствия.

[0117] Несмотря на описание конкретных вариантов осуществления настоящего изобретения, для специалистов в данной области техники является очевидным, что настоящее изобретение может быть осуществлено и в других конкретных формах без отклонения от его существенных характеристик. Таким образом, представленные варианты осуществления и примеры следует рассматривать во всех отношениях в качестве иллюстративных, но не ограничительных.

[0118] Кроме того, следует понимать, что любая ссылка в настоящем документе на объект, известный в данной области техники, если отсутствует противоречащее утверждение, не представляет собой допущение того, что такой объект является общеизвестным для специалистов в данной области техники, к которой относится настоящее изобретение.

Похожие патенты RU2839581C2

название год авторы номер документа
УСОВЕРШЕНСТВОВАННЫЙ ТОСТЕР ДЛЯ ТОРТИЛИЙ 2014
  • Бенитес Эллиот
RU2668069C2
УСТРОЙСТВО ДЛЯ ХРАНЕНИЯ КОМПАКТ-ДИСКОВ 2008
  • Косенко Михаил Юрьевич
RU2404697C2
МНОГОУРОВНЕВАЯ СИСТЕМА ХРАНЕНИЯ ДЛЯ ТРАНСПОРТНОГО СРЕДСТВА 2014
  • Уэлч Райан
  • Хюбнер Аннетт Линн
  • Сакарян Артур
  • Хеллман Кристин Энн
  • Грейнер Джош
RU2564275C1
УКЛАДОЧНОЕ УСТРОЙСТВО И СПОСОБ УКЛАДКИ 2012
  • Юхара Хироси
  • Янаги Такахиро
  • Ямасита Манабу
RU2539264C1
ПОТРЕБИТЕЛЬСКАЯ УПАКОВКА 2010
  • Тох Киат-Чеонг
  • Дэймон Джонас
  • Пасис-Санчес Даниэль Антонио
  • Коннер Эллисон Стейси
RU2526015C1
УСТРОЙСТВО ДЛЯ ХРАНЕНИЯ ОТХОДОВ 2004
  • Уэбб Ян Александер
  • Армстронг Марк
RU2374160C2
КОНТЕЙНЕРЫ И СПОСОБЫ ИЗОЛИРОВАНИЯ ЖИДКОСТЕЙ ПЕРЕД ДОЗИРОВАНИЕМ 2013
  • Де Клер Пиарас Валдис
RU2662385C2
СТОПОРНОЕ ОБЖИМНОЕ КОЛЬЦО 2010
  • Шутте Джозеф П.
  • Турнау Iii Уильям Франклин
  • Сэнзоун Брайан Д.
  • Дерри
RU2536412C2
СИСТЕМА УХОДА ЗА ПОЛОСТЬЮ РТА 2009
  • Хименес Эдуардо
  • Кеннеди Шэрон
  • Москович Роберт
  • Гатземейер Джон
  • Шторц Иоахим
  • Клаусеггер Раймунд
RU2504316C1
КОНТЕЙНЕРЫ И СПОСОБЫ ИЗОЛИРОВАНИЯ ЖИДКОСТЕЙ ПЕРЕД ДОЗИРОВАНИЕМ 2013
  • Де Клер Пиарас Валдис
RU2753016C2

Иллюстрации к изобретению RU 2 839 581 C2

Реферат патента 2025 года БАРАБАН С ПОВЫШЕННОЙ ПЛОТНОСТЬЮ РАСПОЛОЖЕНИЯ ДЛЯ ХРАНЕНИЯ, ВСТРЯХИВАНИЯ И СЧИТЫВАНИЯ ГЕМОКУЛЬТУРАЛЬНЫХ ФЛАКОНОВ И СПОСОБЫ ХРАНЕНИЯ

Группа изобретений относится к медицинской технике, а именно к устройству для хранения и наблюдения гемокультуральных флаконов и способу эксплуатации инкубатора для гемокультуральных флаконов. Устройство содержит барабан, имеющий внешний периметр и внутренний периметр. Внешний периметр имеет диаметр, превышающий диаметр внутреннего периметра. Барабан содержит гнезда. Гнезда имеют ближний конец на внешнем периметре и дальний конец на внутреннем периметре. Каждое гнездо выполнено с возможностью размещения гемокультурального флакона. Гемокультуральный флакон содержит донную часть и горловинную часть. Гемокультуральный флакон выполнен с возможностью содержаться в гнезде таким образом, что донная часть находится в дальнем конце гнезда или горловинная часть находится в дальнем конце гнезда. Периметр барабана расположен вокруг оси вращения барабана, причем ось вращения определена вертикальным валом. Гнезда находятся в барабане как массив гнезд. Массив содержит гнезда, расположенные по вертикали и по горизонтали. Устройство имеет сенсоры и детекторы для исследования гемокультуральных флаконов для определения того, являются ли гемокультуральные флаконы положительными или отрицательными для роста микроорганизмов. Барабан имеет внутреннее пространство в пределах внутреннего периметра. Часть электронных устройств барабана находится в сообщении с сенсорами и детекторами для исследования гемокультуральных флаконов, расположенными в пределах внутреннего периметра барабана. Способ включает ввод, через управляющий интерфейс, гемокультуральных флаконов в заданный сектор гемокультурального барабана, причем гемокультуральный барабан вращается вокруг вертикального вала и содержит держатель, который характеризуется круглым внутренним периметром и круглым внешним периметром. Способ включает открытие дверцы корпуса для гемокультурального барабана. Способ включает остановку барабана посредством уменьшения мощности двигателя, используемого для вращения барабана, таким образом, что заданный сектор оказывается доступным посредством открытой дверцы корпуса. Способ включает операции представляющих собой установку гемокультурального флакона в пустое гнездо, извлечение гемокультурального флакона из гнезда или извлечение гемокультурального флакона из одного гнезда и установку на его место другого гемокультурального флакона. Извлечение гемокультурального флакона производят на основании его статуса, показанного индикатором. Техническим результатом является повышение компактности расположения флаконов в барабане. 2 н. и 40 з.п. ф-лы, 29 ил.

Формула изобретения RU 2 839 581 C2

1. Устройство для хранения и наблюдения гемокультуральных флаконов, причем устройство содержит:

барабан, имеющий внешний периметр и внутренний периметр, причем внешний периметр имеет диаметр, превышающий диаметр внутреннего периметра, при этом барабан содержит гнезда, причем гнезда имеют ближний конец на внешнем периметре и дальний конец на внутреннем периметре, при этом каждое гнездо выполнено с возможностью размещения гемокультурального флакона, причем гемокультуральный флакон содержит донную часть и горловинную часть, при этом гемокультуральный флакон выполнен с возможностью содержаться в гнезде таким образом, что донная часть находится в дальнем конце гнезда или горловинная часть находится в дальнем конце гнезда;

причем периметр барабана расположен вокруг оси вращения барабана, причем ось вращения определена вертикальным валом;

причем гнезда находятся в барабане как массив гнезд, при этом указанный массив содержит гнезда, расположенные по вертикали и по горизонтали;

сенсоры и детекторы для исследования гемокультуральных флаконов для определения того, являются ли гемокультуральные флаконы положительными или отрицательными для роста микроорганизмов; и

при этом барабан имеет внутреннее пространство в пределах внутреннего периметра, причем по меньшей мере часть электронных устройств барабана находится в сообщении с сенсорами и детекторами для исследования гемокультуральных флаконов, расположенными в пределах внутреннего периметра барабана.

2. Устройство по п. 1, в котором барабаны расположены в корпусе.

3. Устройство по п. 2, в котором корпус имеет дверцу для доступа к каждому барабану, расположенному в корпусе.

4. Устройство по любому из пп. 2 и 3, в котором корпус имеет сенсорный экран.

5. Устройство по п. 2, в котором корпус дополнительно содержит держатель для содержания гемокультуральных флаконов, помещаемых в устройство или извлекаемых из него.

6. Устройство по п. 3, в котором барабан содержит панели, которые определяют вертикальные барабанные секторы.

7. Устройство по п. 6, в котором каждый вертикальный барабанный сектор имеет равный горизонтальный интервал, и каждый интервал является таким, что горизонтальный интервал одного сектора является таким же, как горизонтальный интервал корпуса дверцы.

8. Устройство по п. 1, причем устройство дополнительно содержит приводной двигатель для вращения барабана, расположенного в корпусе.

9. Устройство по п. 1, в котором измерительные электронные устройства расположены в пределах пространства, определенного внутренним периметром барабана.

10. Устройство по п. 1, в котором индикаторные электронные устройства гемокультурального флакона расположены в пределах пространства, определенного внутренним периметром барабана.

11. Устройство по п. 2, дополнительно содержащее нагреватель, расположенный в корпусе снаружи внешнего периметра барабана.

12. Устройство по п. 2, дополнительно содержащее вентилятор, расположенный в корпусе снаружи внешнего периметра барабана.

13. Устройство по п. 8, содержащее вал, который определяет ось вращения, и при этом по меньшей мере один подшипник расположен коаксиально с валом и барабаном, для вращения барабана вокруг вала.

14. Устройство по п. 13, в котором подшипник представляет собой кольцевой подшипник.

15. Устройство по п. 1, в котором барабан состоит из рядов, причем каждый ряд составляет по меньшей мере часть всего ряда гнезд, и при этом каждый ряд имеет внутренний периметр и внешний периметр.

16. Устройство по п. 1, в котором барабан собран из столбчатых сегментов, причем каждый столбчатый сегмент определяет только часть внутреннего периметра и внешнего периметра барабана.

17. Устройство по п. 1, в котором каждое из гнезда имеют эластомерный вкладыш для содержания гемокультурального флакона.

18. Устройство по п. 1, в котором каждое из гнезд содержит горловинную часть культурального флакона в дальнем конце, и каждое гнездо содержит флаконный ограничитель и наклонную спиральную пружину, расположенную на расстоянии от флаконного ограничителя, причем наклонная спиральная пружина выполнена с возможностью сжиматься, для обеспечения крышке, расположенной на горловинной части гемокультурального флакона, возможности проходить под действием наклонной спиральной пружины и устанавливаться до упора во флаконный ограничитель, в результате чего наклонная спиральная пружина ослабляет свое натяжение и фиксирует гемокультуральный флакон в гнезде.

19. Устройство по п. 1, в котором каждое из гнезд содержит горловинную часть гемокультурального флакона в дальнем конце, и каждое гнездо содержит флаконный ограничитель и уплотнительное кольцо, расположенное на расстоянии от флаконного ограничителя, причем уплотнительное кольцо является достаточно упругим, чтобы позволить крышке, расположенной на горловинной части гемокультурального флакона, проходить под действием уплотнительного кольца и устанавливаться до упора во флаконный ограничитель, в результате чего уплотнительное кольцо затем ослабляет напряжение и фиксирует гемокультуральный флакон в гнезде.

20. Устройство по п. 1, в котором каждое из гнезд содержит горловинную часть гемокультурального флакона в дальнем конце и каждое гнездо содержит флаконный ограничитель и шариковый фиксатор, расположенный на расстоянии от флаконного ограничителя, причем шариковый фиксатор выполнен таким образом, чтобы позволить крышке, расположенной на горловинной части гемокультурального флакона, проходить под действием шарикового фиксатора и устанавливаться до упора во флаконный ограничитель, в результате чего шариковый фиксатор ослабляет напряжение и фиксирует гемокультуральный флакон в гнезде.

21. Устройство по п. 1, в котором каждое из гнезд содержит горловинную часть гемокультурального флакона в дальнем конце, и каждое гнездо содержит флаконный ограничитель и сегментированную удерживающую часть, расположенную на расстоянии от флаконного ограничителя, причем сегментированная удерживающая часть выполнена таким образом, чтобы позволить крышке, расположенной на горловинной части гемокультурального флакона, проходить в сегментированную удерживающую часть и устанавливаться до упора во флаконный ограничитель, в результате чего сегментированная удерживающая часть ослабляет напряжение и фиксирует культуральный флакон в гнезде.

22. Устройство по п. 21, в котором сегментированные удерживающие части прижаты друг к другу под действием наклонной спиральной пружины.

23. Устройство по п. 21, в котором сегментированные удерживающие части представляют собой эластичные сегменты.

24. Устройство по п. 1, в котором каждое из гнезд содержит горловинную часть гемокультурального флакона в дальнем конце, и каждое гнездо содержит флаконный ограничитель и эластичные выступы, проходящие от флаконного ограничителя, причем выступы выполнены таким образом, чтобы позволить крышке, расположенной на горловинной части гемокультурального флакона, проходить мимо фланцевой части выступов и устанавливаться до упора во флаконный ограничитель, в результате чего выступы ослабляют напряжение, и фланцевая часть фиксирует гемокультуральный флакон в гнезде.

25. Устройство по п. 24, в котором каждое из гнезд дополнительно содержит шариковый фиксатор, а флаконный ограничитель содержит паз, причем, когда гемокультуральный флакон проходит во флаконный ограничитель, флаконный ограничитель проходит дальше в гнездо до тех пор, пока шариковый фиксатор не совмещается с пазом, в результате чего флаконный ограничитель фиксируется в гнезде.

26. Устройство по п. 24, в котором каждое из гнезд дополнительно содержит паз, а флаконный ограничитель содержит шариковый фиксатор, в котором, когда гемокультуральный флакон проходит во флаконный ограничитель, флаконный ограничитель проходит дальше в гнездо до тех пор, пока шариковый фиксатор не совмещается с пазом, в результате чего флаконный ограничитель фиксируется в гнезде.

27. Устройство по п. 1, в котором каждое из гнезд дополнительно содержит лотковую часть, на которой находится гемокультуральный флакон, причем лотковая часть содержит упор для фиксации дна гемокультурального флакона в лотке, причем гнездо дополнительно содержит ограничительную часть, при этом на ограничительной части устанавлен гемокультуральный флакон в заданном фиксированном положении внутри гнезда.

28. Устройство по п. 27, в котором ограничительная часть содержит листовую пружину.

29. Устройство по п. 27, в котором ограничительная часть содержит деформируемый материал.

30. Устройство по п. 29, в котором ограничительная часть дополнительно содержит поворотный рычаг, выполненный с возможностью поворота в ответ на продвижение гемокультурального флакона в гнездо, и в результате этого культуральный флакон фиксируется в гнезде.

31. Устройство по п. 27, в котором ограничительная часть содержит эластичный материал, в качестве которого выбран один материал из эластомерной гибкой трубки, эластомерных материалов и пеноматерналов.

32. Устройство по п. 27, в котором лотковая часть дополнительно содержит световод для передачи светового сигнала от светодиодных индикаторов, расположенных в пределах внутреннего периметра барабана, в световой детектор, расположенный на внешней поверхности барабана.

33. Устройство по п. 27, в котором флаконный ограничитель содержит элемент замочной скважины.

34. Устройство по п. 1, в котором внешний периметр барабана и внутренний периметр барабана являются круглыми.

35. Устройство по п. 1, в котором внешний периметр барабана и внутренний барабана имеют грани.

36. Способ эксплуатации инкубатора для гемокультуральных флаконов, причем способ включает:

ввод, через управляющий интерфейс, гемокультуральных флаконов в заданный сектор гемокультурального барабана, причем гемокультуральный барабан вращается вокруг вертикального вала и содержит держатель, который характеризуется круглым внутренним периметром и круглым внешним периметром, и при этом гемокультуральный барабан представляет собой вращающийся барабан;

открытие дверцы корпуса для гемокультурального барабана;

остановку барабана посредством уменьшения мощности двигателя, используемого для вращения барабана, таким образом, что заданный сектор оказывается доступным посредством открытой дверцы корпуса;

при этом гемокультуральный барабан содержит гнезда, причем каждое гнездо выполнено с возможностью размещения и удерживания гемокультурального флакона, при этом каждое гнездо имеет индикатор в своем ближнем конце, причем индикатор обеспечивает показание того, что гемокультуральный флакон в гнезде является положительным или отрицательным для роста микроорганизмов; и

по меньшей мере одну из операций, представляющих собой установку гемокультурального флакона в пустое гнездо, извлечение гемокультурального флакона из гнезда или извлечение гемокультурального флакона из одного гнезда и установку на его место другого гемокультурального флакона, при этом извлечение гемокультурального флакона производят на основании его статуса, показанного индикатором.

37. Способ по п. 36, в котором каждое из гнезд дополнительно содержит световод, проходящий от ближнего конца гнезда до дальнего конца гнезда.

38. Способ по п. 36, в котором управляющий интерфейс находится в сообщении с кодировочным устройством таким образом, что управляющий интерфейс отслеживает расположение каждого гемокультурального флакона в держателе.

39. Способ по п. 37, в котором инкубатор дополнительно содержит считывающее устройство, при этом считывающее устройство определяет статус гемокультурального флакона во время вращения барабаном гнезд, содержащих гемокультуральные флаконы, которые проходят через считывающее устройство.

40. Способ по п. 39, в котором инкубатор дополнительно содержит светодиодные индикаторы, расположенные в дальнем конце по меньшей мере части гнезда во флаконном барабане.

41. Способ по п. 36, в котором гемокультуральные флаконы содержатся в каждом из гнезд в ориентации горловиной внутрь.

42. Способ по п. 36, в котором гемокультуральные флаконы содержатся в каждом из гнезд в ориентации дном внутрь.

Документы, цитированные в отчете о поиске Патент 2025 года RU2839581C2

US 5817507 A, 06.10.1998
US 5498543 A, 12.03.1996
US 2010311108 A1, 09.12.2010
US 2012021452 A1, 26.01.2012
US 5516692 A, 14.05.1996
СПОСОБ И УСТРОЙСТВО ДЛЯ ОБНАРУЖЕНИЯ БАКТЕРИЙ 2016
  • Мидль Вальтер
  • Фридрих Оливер
  • Гильберт Даниэль
RU2704245C1

RU 2 839 581 C2

Авторы

Армстронг, Роберт, Эдвард

Пол, Брент, Рональд

Ленц, Аммон, Дэвид

Зервек, Джейсон

Мюррей, Кристофер

Лохан, Дэниел, Джастин

Венгер, Кевин

Даты

2025-05-06Публикация

2020-08-05Подача