Изобретение относится к области струйной техники, включая струйные насосы и компрессоры, струйные системы управления и струйные реактивные движители для систем динамического позиционирования с управлением вектором тяги. В частности, заявляемое техническое решение может быть использовано при распределении энергии в нефтяной и газовой промышленности, для повышения эффективности технологий при добыче и переработке углеводородов, в том числе в условиях разработки морских месторождений, с учетом особенностей решаемой технической задачи и с учетом количества потребителей распределяемой энергии. Заявляемое техническое решение также может быть использовано при создании струйных систем управления для беспилотных аппаратов различного назначения.
Известен струйный аппарат, содержащий, по меньшей мере, две рабочие камеры, сопло с входным и выходным каналами и размещенную между входным и выходным каналами сопла диафрагму, на которой установлен шток с возможностью возвратно-поступательного или углового перемещения диафрагмы относительно выходного канала сопла с обеспечением регулируемого направления потока рабочей среды в одну из рабочих камер (RU 2802351, 2022).
Недостатком известного технического решения является относительно узкий диапазон регулирования рабочих параметров потока на выходе сопла, поскольку установлена жесткая гидравлическая связь между входным каналом сопла и рабочими камерами.
Из известных технических решений наиболее близким к предлагаемому решению является струйный аппарат, содержащий, по меньшей мере, две рабочие камеры, сопло с входным и выходным каналами и размещенную в полости сопла между входным и выходным каналами сопла диафрагму, установленную на конце шарнирно закрепленного штока, с возможностью возвратно-поступательного или углового перемещения диафрагмы относительно выходного канала сопла, при этом диафрагма имеет поперечное сечение в виде круга или многоугольника, а выходной канал сопла, соответственно, имеет круглое или многоугольное поперечное сечение с обеспечением перемещения диафрагмы через выходной канал сопла, полного перекрытия выходного канала сопла или одной из рабочих камер и регулируемого направления потока рабочей среды в одну из рабочих камер или одновременно в несколько рабочих камер (RU 2819487, 2023 г.).
Недостатком известного решения является относительно узкий диапазон регулирования рабочих параметров потока на выходе сопла, что ограничивает число потребителей и область применения струйного аппарата при создании энергосберегающих безопасных технологий.
Указанное ограничение обусловлено узким диапазоном регулирования площади выходного канала сопла.
Ограничение диапазона связано с тем, что известное решение обеспечивает распределение рабочей среды в пределах одного выходного канала сопла и по рабочим камерам, сгруппированным в одну секцию.
Технической проблемой, на решение которой направлено предлагаемое изобретение, является расширение диапазона рабочих параметров потока на выходе сопла, увеличение количества рабочих камер и, соответственно, числа потребителей.
Указанная проблема решается тем, что струйный аппарат содержит, по меньшей мере, два источника рабочей среды, рабочие камеры, сопло с входными каналами и выходными каналами, размещенные в полости сопла между входными и выходными каналами диафрагмы, установленные на штоках, с возможностью возвратно-поступательного перемещения каждой диафрагмы относительно выходного канала сопла, при этом каждая пара из диафрагмы и штока имеет поперечное сечение в виде круга или многоугольника, а выходной канал сопла, соответственно, имеет круглое или многоугольное поперечное сечение с обеспечением перемещения диафрагмы и штока через выходной канал сопла, полного перекрытия одного или нескольких выходных каналов сопла и регулируемого направления потока рабочей среды в одну из рабочих камер или одновременно в несколько рабочих камер, причем источники рабочей среды через запорно-регулирующие устройства подсоединены к входным каналам сопла с обеспечением возможности одновременной подачи рабочей среды от нескольких источников рабочей среды во входные каналы сопла либо с возможностью последовательного во времени подключения источников рабочей среды к одному входному каналу сопла.
Достигаемый технический результат заключается в обеспечении контролируемого перераспределения энергии потока по нескольким направлениям из сопла за счет оптимальной организации размещения выходных каналов сопла и, соответственно, гибкого регулирования гидравлической связи между источниками рабочей среды, входными каналами сопла и выходными каналами сопла, включая варианты с полным отключением отдельного выходного канала сопла.
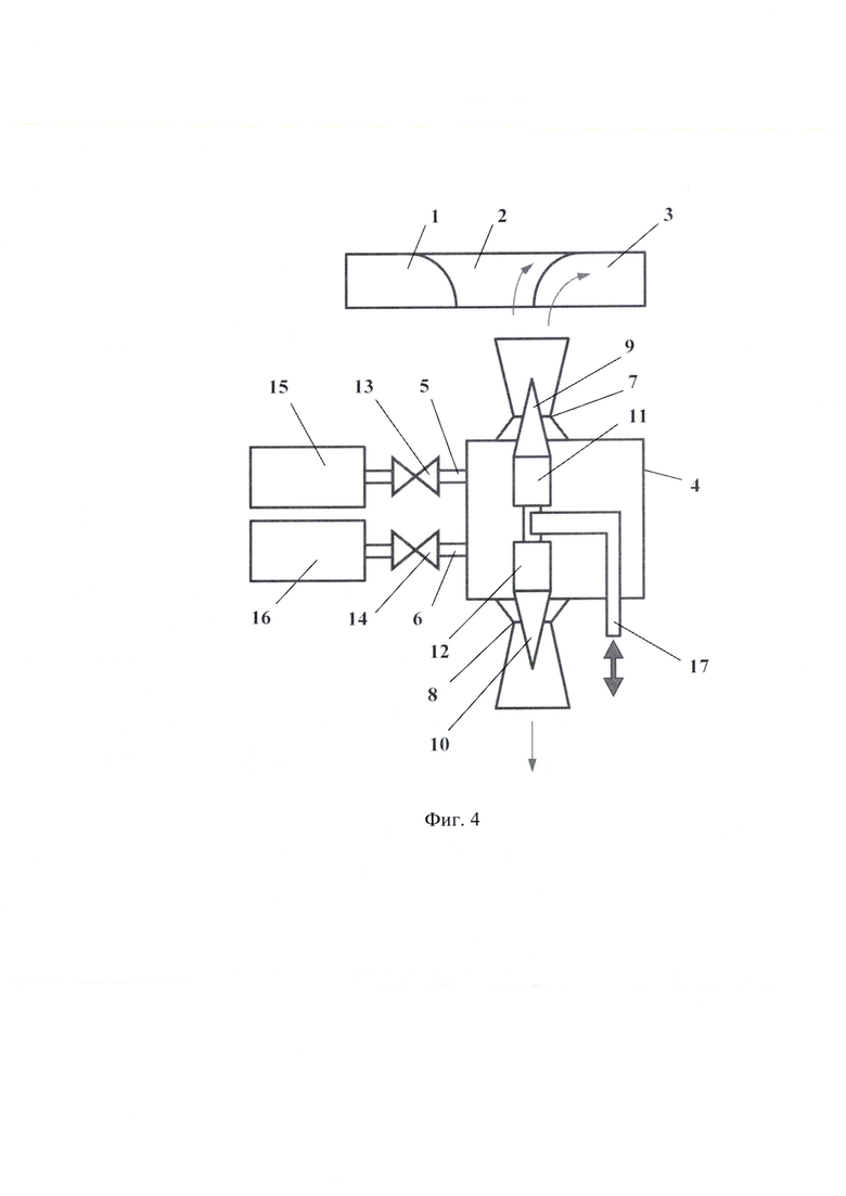
Сущность описываемого изобретения поясняется чертежами: на фиг. 1 показана принципиальная схема струйного аппарата; на фиг. 2 представлен вариант исполнения клинообразной диафрагмы 9 с квадратным штоком 11; на фиг. 3 показано сечение выходного канала 7 (вариант); на фиг. 4 показана схема струйного аппарата после смещения рабочих камер (1-3) влево, относительно сопла 4; на фиг. 5 показана схема струйного аппарата, оснащенного рабочими камерами (1-3) сверху и рабочими камерами (18-20) снизу, в варианте исполнения с гидравлическим приводом.
Предлагаемый струйный аппарат содержит, по меньшей мере, две рабочие камеры (в примере на фиг. 1 показаны три рабочие камеры 1-3), сопло 4 с входными каналами 5, 6 и с двумя (или более) выходными каналами 7, 8, размещенные в полости сопла 4 между входными 5, 6 и выходным каналами 7, 8 сопла 4 две (или более) диафрагмы 9, 10, установленные на штоках 11, 12, с возможностью возвратно-поступательного перемещения каждой диафрагмы (9, 10) относительно выходного канала (7, 8) сопла 4, при этом каждая пара из диафрагмы и штока (пара 9, 11; или пара 10, 12) имеет поперечное сечение в виде круга или многоугольника, а выходной канал (7 или 8) сопла 4, соответственно, имеет круглое или многоугольное поперечное сечение с обеспечением перемещения диафрагмы и штока через выходной канал сопла, полного перекрытия одного или нескольких выходных каналов (7, 8) сопла 4 и регулируемого направления потока рабочей среды в одну из рабочих камер (1-3) или одновременно в несколько рабочих камер 1-3), при этом входной канал 5, 6 сопла 4 через запорные-регулирующие устройства (13, 14) гидравлически связан с источниками рабочей среды (15, 16), с возможностью одновременной подачи рабочей среды от нескольких источников рабочей среды (15, 16) во входной канал 5, 6 сопла 4, либо с возможностью последовательного во времени подключения источников рабочей среды (15, 16) к входному каналу 5, 6 сопла 4.
Штоки 11 и 12 могут быть жестко соединены друг с другом и с рычагом 17 для соединения с приводом, чтобы обеспечить совместное линейное перемещение вверх или вниз, как показано стрелками. Для линейного смещения диафрагмы (9, 10), штока (11, 12) могут быть использованы различные известные системы регулируемого привода, например регулируемый электромагнитный привод, или регулируемый гидравлический привод.
В примере на фиг. 5 показана схема струйного аппарата, оснащенного рабочими камерами (1-3) сверху и рабочими камерами (18-20) снизу, в варианте исполнения с гидравлическим приводом, включающим гидроцилиндр 21 и поршень 22, соединенный с рычагом 17.
Выходной канал (7, 8) сопла 4 гидравлически связан с рабочей камерой 1 или с рабочими камерами 2, 3. Количество рабочих камер и выходных каналов сопла может быть увеличено.
Диафрагма 9, 10 может быть размещена между входным 5, 6 и выходным (7, 8) каналами сопла 4 с возможностью линейного смещения относительно выходного канала (7, 8) сопла 4 для контролируемого изменения направления потока в выходном канале 7, 8 сопла 4 (фиг. 1).
Диафрагма (9, 10), шток (11, 12) и выходной канал (7, 8) сопла 4 могут иметь различные исполнения и формы. К примеру, диафрагма (9, 10), шток (11, 12) имеют поперечное сечение в виде круга или многоугольника, а выходной канал (7, 8) сопла 4, соответственно, имеет круглое или многоугольное поперечное сечение с обеспечением перемещения диафрагмы (9, 10) и штока (11, 12) через выходной канал (7, 8) сопла 4, с возможностью для полного перекрытия выходного канала (7, 8) сопла 4, и с обеспечением регулируемого направления потока рабочей среды в одну из рабочих камер (1-3) или одновременно в несколько рабочих камер (1-3). Дополнительные рабочие камеры могут быть установлены под выходным каналом 8, так в примере на фиг. 5 показана схема струйного аппарата, оснащенного рабочими камерами (1-3) сверху и дополнительными рабочими камерами (18-20) снизу.
Рабочие камеры (1-3, 18-20) могут смещаться относительно сопла 4 при использовании привода, известного из уровня техники (привод на фигурах не показан).
В примере по фиг. 2 и 3диафрагма (9, 10), шток (11, 12) и выходной канал (7, 8) сопла 4 имеют поперечное сечение в виде квадрата. Возможно использование и других геометрических форм для выполнения диафрагмы (9, 10), штока (11, 12) и выходного канала (7, 8), включая различные варианты с кругами и многоугольниками (квадрат, прямоугольник, ромб, пятиугольник или другие формы, включая варианты с изменяемой геометрией - так называемый «морфинг»). Так, для примера, критическое сечение выходного канала (7) может быть квадратным, а далее по потоку площадь сечения выходного канала может увеличиваться (по подобию с соплом Лаваля), при этом форма сечения канала может меняться в форму круга, или в форму прямоугольника, или в иную форму (что может быть обеспечено, как известно, за счет применения трехмерной печати при формировании твердых стенок канала сложной формы, в рамках аддитивных технологий).
Струйный аппарат работает следующим образом.
Из источника рабочей среды (15, 16) в сопло 4 подается рабочая среда (жидкость, газ или газожидкостная смесь), через запорные-регулирующие устройства (13, 14) и входной канал 5,6.
Поток рабочей среды проходит через выходной канал (7, 8) сопла 4. Из сопла 4 поток рабочей среды направляется в рабочую камеру (1-3) (фиг. 1). Направления потоков на фигурах показаны стрелками. В рабочей камере (1-3) может осуществляться перемешивание рабочей среды с перекачиваемой средой и реализуется эжекционный рабочий процесс, при котором часть энергии от потока рабочей среды передается потоку перекачиваемой среды. После прохода через рабочую камеру (1-3), смесь рабочей и перекачиваемой среды направляется далее в технологическую систему, которая на фигурах не показана.
Диафрагма (9, 10) может быть размещена между входным 5, 6 и выходным (7, 8) каналами сопла 4 с возможностью линейного смещения относительно выходного канала (7, 8) сопла 4 для контролируемого изменения направления потока в выходном канале (7, 8) сопла 4. Рабочие камеры (1-3) могут смещаться относительно сопла 4, как известно из уровня техники (например, по аналогии с выбранным прототипом), при этом поток рабочей среды может быть направлен в рабочую камеру 1 или 2, или 3, в зависимости от решаемой технологической задачи. Распределение рабочей среды по рабочим камерам 1, 2, 3 может быть равномерным или неравномерным, в зависимости от решаемой технологической задачи.
С помощью диафрагмы (9, 10) и штока (11, 12), при использовании привода через рычаг 17обеспечивается возможность для полного перекрытия выходного канала (7, 8) в наиболее узком сечении (в критическом сечении) (фиг. 1-4). В случаях, когда диафрагма (9, 10) выходит за пределы критического сечения выходного канала (7, 8), шток (11, 12) может полностью перекрывать выходной канал (7, 8), поскольку форма и размеры поперечного сечения штока (11, 12) могут совпадать с формой и размерами выходного канала (7, 8), соответственно.
Для примера, при движении рычага 17 вверх, обеспечивается движение диафрагмы 9 вверх. При этом уменьшается площадь сечения выходного канала 7. При таком движении рычага 17 вверх, обеспечивается движение диафрагмы 10 вверх (поскольку диафрагмы (9, 10) и штоки (11, 12) соединены жестко с рычагом 17). При этом движении диафрагмы 10 вверх увеличивается площадь сечения выходного канала 8. Движение рычага 17 вверх может быть обеспечено за счет гидравлического привода (как в примере на фиг. 5). При этом в гидроцилиндр 21 под поршень 22 подают масло из гидросистемы (гидросистема на фигуре не показана), поршень 22 движется вверх, заставляя двигаться вверх и рычаг 17, вытесняя масло из верхней полости гидроцилиндра 21, как в известных системах с гидравлическим приводом.
В следующем примере, при движении рычага 17 вниз, обеспечивается движение диафрагмы 9 вниз. При этом увеличивается площадь сечения выходного канала 7. При таком движении рычага 17 вниз, обеспечивается движение диафрагмы 10 вниз (поскольку диафрагмы (9, 10) и штоки (11, 12) соединены жестко с рычагом 17). При этом движении диафрагмы 10 вниз уменьшается площадь сечения выходного канала 8.Движение рычага 17 вниз может быть обеспечено за счет гидравлического привода (как в примере на фиг. 5). При этом в гидроцилиндр 21 над поршнем 22 подают масло из гидросистемы (гидросистема на фигуре не показана), поршень 22 движется вниз, заставляя двигаться вниз и рычаг 17, вытесняя масло из нижней полости гидроцилиндра 21, как в известных системах с гидравлическим приводом.
Рабочие камеры 1, 2 и 3 могут быть выполнены в виде разнонаправленных каналов, сгруппированных в едином блоке с возможностью смещения разнонаправленных каналов относительно выходного канала (7, 8) сопла 4 (фиг. 4). В примере на фиг. 5 показана схема струйного аппарата, оснащенного рабочими камерами (1-3) сверху и рабочими камерами (18-20) снизу. В подобных случаях открываются новые возможности для распределения кинетической энергии, и для управления вектором тяги в пределах полной геометрической сферы. Для линейного смещения блока из рабочих камер 1, 2 и 3 могут быть использованы различные известные системы привода, например электромагнитный привод, или гидравлический привод (как на фиг. 5). Предусматривается возможность для линейного смещения только блока из рабочих камер (1-3), или только блока из рабочих камер (18-20). Вместе с тем предусматривается возможность для одновременного смещения и блока из рабочих камер (1-3), и блока из рабочих камер (18-20), что может быть обеспечено за счет использования раздельного привода для каждого блока из рабочих камер: (1-3) и (18-20), в зависимости от решаемой технической задачи и с учетом количества потребителей распределяемой энергии. При этом обеспечивается возможность для контролируемого изменения площади сечения каждого выходного канала (7, 8) сопла 4. Также предусматривается возможность для поддержания неизменного значения суммарной площади сечения выходных каналов (7, 8) при любом смещении диафрагм (9, 10). При таком условии, в ряде случаев, можно поддерживать постоянное давление внутри сопла 4 и внутри включенных источников рабочей среды (15, 16), при этом сохраняются возможности и для управления вектором тяги по модулю (от нулевого значения до максимального), и для управления вектором тяги по направлению (в пределах полной геометрической сферы).
В частных конкретных случаях реализации изобретения возможны следующие исполнения:
• шток (11, 12) оснащен гидравлическим приводом;
• шток (11, 12) оснащен механическим приводом;
• шток (11, 12) оснащен электромагнитным приводом;
• шток (11, 12) оснащен электрическим приводом;
• шток (11, 12) оснащен комбинированным приводом, с использованием сочетаний из вышеперечисленных вариантов исполнения привода.
Для повышения надежности (например, в авиационной технике) возможно дублирование, с использованием двух приводов для решения одной технической задачи.
Таким образом, обеспечивается регулирование параметров «количества движения» потоков в поперечном сечении на выходах сопла и отдельных рабочих камер, определяемое как произведение массового расхода на скорость течения.
Входной канал 5, 6 сопла 4 через запорные-регулирующие устройства (13, 14) гидравлически связан с источниками рабочей среды (15, 16), с возможностью одновременной подачи рабочей среды от нескольких источников рабочей среды (15, 16) во входной канал 5, 6 сопла 4. В этом случае одновременно открыто запорное-регулирующие устройство (13) и запорное-регулирующие устройство (14).
Предусмотрена возможность для последовательного во времени подключения источников рабочей среды (15, 16) к входному каналу 5, 6 сопла 4. В этом случае, к примеру, вначале открывают запорное-регулирующие устройство (13). После отработки источника рабочей среды (15) в течение заданного отрезка времени, закрывают запорное-регулирующие устройство (13) и открывают запорное-регулирующие устройство (14). При этом следующий источник рабочей среды (16) подает рабочую среду к входному каналу 6 сопла 4. Источников рабочей среды может быть и больше двух, в зависимости от решаемой технической (технологической) задачи. При разработке месторождений углеводородов, для примера, в качестве отдельного источника рабочей среды может рассматриваться газовая (или нефтяная) скважина. При разработке транспортных систем различного назначения, для примера, в качестве отдельного источника рабочей среды может рассматриваться газогенератор (или воздушно-реактивный двигатель, или ракетный двигатель определенного типа).
Таким образом, предлагаемое изобретение решает проблему по расширению диапазона рабочих параметров потока на выходе сопла, увеличению количества рабочих камер и, соответственно, числа потребителей.
| название | год | авторы | номер документа |
|---|---|---|---|
| СТРУЙНЫЙ АППАРАТ | 2023 |
|
RU2819487C1 |
| СТРУЙНЫЙ АППАРАТ | 2022 |
|
RU2802351C1 |
| СТРУЙНАЯ НАСОСНАЯ УСТАНОВКА | 2021 |
|
RU2778961C1 |
| СТРУЙНАЯ УСТАНОВКА | 2023 |
|
RU2813562C1 |
| СТРУЙНАЯ НАСОСНАЯ УСТАНОВКА | 2021 |
|
RU2781455C1 |
| СТРУЙНАЯ НАСОСНАЯ УСТАНОВКА | 1998 |
|
RU2153103C1 |
| Центробежный насос | 2018 |
|
RU2683062C1 |
| СТРУЙНЫЙ НАСОС | 1998 |
|
RU2136977C1 |
| УНИВЕРСАЛЬНЫЙ РЕГУЛИРУЮЩИЙ КЛАПАН | 1990 |
|
RU2054137C1 |
| ГИДРОДИНАМИЧЕСКИЙ КАВИТАТОР | 2015 |
|
RU2603306C1 |
Изобретение относится к области струйной техники, включая струйные насосы и компрессоры, струйные системы управления и струйные реактивные движители для систем динамического позиционирования с управлением вектором тяги. Технической проблемой, на решение которой направлено предлагаемое изобретение, является расширение диапазона рабочих параметров потока на выходе сопла, увеличение количества рабочих камер и, соответственно, числа потребителей. Указанная проблема решается тем, что струйный аппарат содержит, по меньшей мере, два источника рабочей среды, рабочие камеры, сопло с входными каналами и выходными каналами, размещенные в полости сопла между входными и выходными каналами диафрагмы, установленные на штоках, с возможностью возвратно-поступательного перемещения каждой диафрагмы относительно выходного канала сопла, при этом каждая пара из диафрагмы и штока имеет поперечное сечение в виде круга или многоугольника, а выходной канал сопла, соответственно, имеет круглое или многоугольное поперечное сечение с обеспечением перемещения диафрагмы и штока через выходной канал сопла, полного перекрытия одного или нескольких выходных каналов сопла и регулируемого направления потока рабочей среды в одну из рабочих камер или одновременно в несколько рабочих камер, причем источники рабочей среды через запорно-регулирующие устройства подсоединены к входным каналам сопла с обеспечением возможности одновременной подачи рабочей среды от нескольких источников рабочей среды во входные каналы сопла либо с возможностью последовательного во времени подключения источников рабочей среды к одному входному каналу сопла. Достигаемый технический результат заключается в обеспечении контролируемого перераспределения энергии потока по нескольким направлениям из сопла за счет оптимальной организации размещения выходных каналов сопла и, соответственно, гибкого регулирования гидравлической связи между источниками рабочей среды, входными каналами сопла и выходными каналами сопла, включая варианты с полным отключением отдельного выходного канала сопла. 5 ил.
Струйный аппарат, характеризующийся тем, что он содержит по меньшей мере два источника рабочей среды, рабочие камеры, сопло с входными каналами и выходными каналами, размещенные в полости сопла между входными и выходными каналами диафрагмы, установленные на штоках, с возможностью возвратно-поступательного перемещения каждой диафрагмы относительно выходного канала сопла, при этом каждая пара из диафрагмы и штока имеет поперечное сечение в виде круга или многоугольника, а выходной канал сопла, соответственно, имеет круглое или многоугольное поперечное сечение с обеспечением перемещения диафрагмы и штока через выходной канал сопла, полного перекрытия одного или нескольких выходных каналов сопла и регулируемого направления потока рабочей среды в одну из рабочих камер или одновременно в несколько рабочих камер, причем источники рабочей среды через запорно-регулирующие устройства подсоединены к входным каналам сопла с обеспечением возможности одновременной подачи рабочей среды от нескольких источников рабочей среды во входные каналы сопла либо с возможностью последовательного во времени подключения источников рабочей среды к одному входному каналу сопла.
| СТРУЙНАЯ НАСОСНАЯ УСТАНОВКА | 2021 |
|
RU2778961C1 |
| УСТРОЙСТВО ДЛЯ КОНТРОЛЯ И РЕГУЛИРОВАНИЯ РАБОТЫ ПРОТОЧНОГО ВОДОНАГРЕВАТЕЛЯ | 1966 |
|
SU214452A1 |
| СТРУЙНЫЙ АППАРАТ | 2023 |
|
RU2819487C1 |
| СТРУЙНЫЙ АППАРАТ | 2022 |
|
RU2802351C1 |
| US 5931643 A1, 03.08.1999. | |||
Авторы
Даты
2025-05-13—Публикация
2024-10-01—Подача