Изобретение относится к области обнаружения и распознавания веществ методом ядерного квадрупольного резонанса (ЯКР) и может быть использовано при решении проблемы поиска и определения взрывчатых веществ, наркотиков и биологических агентов, расположенных в различных средах. Устройство содержит генератор качающейся частоты, генератор тактовых импульсов, формирователь, передающую и приемную антенные системы, блок фильтров, блок анализа спектра излучения, блок исследования спектра вторичного излучения. Технический результат заключается в автоматизации анализа частотных свойств поля вторичного излучения, исследуемых объектов и контроля их уровней, снижения массогабаритных характеристик устройства, а также исследование ЯКР выполняется в экранированной камере для массогабаритных носителей, а также излучения и приема этого возбуждения, выполненных на основе переносных кабелей.
Известен «Способ обнаружения движущихся электропроводящих объектов», патент 2303290 RU G08B 13/24 от 20.07.2007. Изобретение относится к области обеспечения безопасности и предназначено для обнаружения движущихся электропроводящих объектов. Состоит из генератора возбуждающего излучение электромагнитного поля с помощью антенной системы. Для регистрации возбужденных токов в движущихся электропроводящих объектах применяется приемные антенные системы, подключенные к регистрирующей аппаратуре. Однако не может быть использовано для не движущихся объектов и непроводящих сред, а также определить параметры вторичного излучения, например, частоту вторичного излучателя, поляризацию вектора и уровень поля.
Известен «Устройство для одновременного обнаружения нескольких взрывчатых веществ и наркотиков в багаже», патент 2128832 RU G01N 24/00, G01R 33/20 от 10.04.1999. Устройство содержит блок опорной частоты, приемник и накопитель, блок синтезаторов частот ядерного квадрупольного резонанса и регулируемый ключ. Однако не может быть использовано для определения параметров вторичного излучения, например, частоту вторичного излучателя, поляризацию вектора и уровень поля.
Известны патенты 2165105 RU, 2010102971 RU, 2157002 RU, 98107128 RU, 2205386 RU, 2303290 RU, 2128832 RU, 2595797 RU, 2697023 RU от 08.08.2019 г., №2757363 от 14.10.2021 г., №2791148 от 13.01.2023 г. RU, G01N 24/00, G01R 33/20, G01R 29/08. Устройства содержит блоки определения частот ядерного квадрупольного резонанса. Однако не может быть использовано для определения параметров вторичного излучения, например, при расположении взрывчатых веществ или наркотиков в транспортных средствах, упакованных синтетическими средствами. Например, взрыв автомобиля на крымском мосту.
Базовым объектом может служить «Устройство обнаружения сигналов ядерного квадрупольного резонанса» - патент №2825221 от 22.08.2024 по заявке №2023110631 от 24.04.2023:
- Устройство обнаружения сигналов ядерного квадрупольного резонанса содержит: генератор качающей частоты, усилитель мощности и согласующее устройство, формирователь импульсов частотных, формирователь импульсов временных, многочастотная синфазная приемная антенная система, многочастотная синфазная передающая антенная система, формирователь информации приемной системы, блок фильтров, блок анализа спектра ядерного квадрупольного резонанса излучения, блок исследования спектра ядерного квадрупольного резонанса (ЯКР) излучения, в наличии изолированная экранированная камера для анализа технических средств (автомобилей, спецтехники, железнодорожных вагонов), как вероятных перевозчиков взрывчатых устройств и наркотиков; а так же изолированная экранированная камера для анализа переносимых предметов для исследования, как вероятных укрывателей взрывчатых устройств и наркотиков, а также в наличии переносные элементы радиоизлучения, для возбуждения спектра ядерного квадрупольного резонанса излучения, и приема этого возбуждения, выполненных на основе переносных кабелей.
Базовый объект имеет следующие недостатки:
- отсутствует в изолированной экранированной камере осушительная система и при высокой влажности невозможен анализ технических средств (автомобилей, спецтехники, железнодорожных вагонов), как вероятных перевозчиков взрывчатых устройств и наркотиков;
- отсутствует в изолированной экранированной камере осушительная система, ибо повышенная влажность не позволит провести анализ переносимых предметов для исследования, как вероятных укрывателей взрывчатых устройств и наркотиков;
- невозможность исследований ЯКР в экранированных объектах при грузоперевозках из-за отсутствия в переносных элементах радиоизлучения, выполненных на основе переносных кабелей без осушительных элементов.
Целью настоящего изобретения является:
- разработка осушительных элементов в экранированной камере для анализа перевозимых грузов с использованием автомобилей и железнодорожных платформ для непереносимых грузов;
- разработка осушительных элементов в экранированной камере для анализа переносимых грузов;
- разработка осушительных элементов в переносимых излучающих кабелях для возбуждения спектра ядерного квадрупольного резонанса в грузовых отсеках;
- разработка осушительных элементов в переносимых принимающих кабелях для фиксации спектра ядерного квадрупольного резонанса в грузовых отсеках.
Таким образом, для подавления высокой влажностью источника электромагнитного поля представляется распределенным как в экранированной камере для возбуждения электромагнитного поля замкнутого объема с размещенным в нем крупногабаритными транспортными средствами, например, автомобилями, железнодорожными вагонами и спецтехникой; так и в экранированной камере с возможностью исследований переносных грузов на предмет возбуждения в них ЯКР и получения обратной связи, за счет которой установлены частоты ЯКР необходимы системы вентиляции и осушения; кроме того, необходима разработка системы вентиляции и осушения в переносных кабелях возбуждения частот ЯКР в экранированных транспортных средствах и кабелях приема возбужденных частот ЯКР в этих объемах.
В настоящее время широко используются измерители влажности для контроля, так и для технических решений большого круга задач. В основе работы любого датчика влажности лежит перевод физического количества влаги в электрический сигнал. По способу определения количества воды датчики влажности могут использовать прямой или косвенный метод измерения. В зависимости от принципа действия все устройства условно подразделяются на шесть типов.
1. Резистивный. Представляет собой один из наиболее дешевых типов датчиков влажности. В основе его работы лежит свойство некоторых проводящих материалов впитывать влагу, за счет чего изменяется омическое сопротивление элемента. В качестве таких материалов применяются порошковые пористые структуры, чаще всего, оксид алюминия. Порошок наносят на плату между двумя электродами, выполненными в виде дорожек, и запекают до состояния пленки. Наличие пленочной поверхности предотвращает последующее растворение керамического порошка и образование конденсата в его структуре. Однако при взаимодействии с молекулами воды, содержащимися в воздухе, пленка меняет физические свойства. Так, в относительно сухом состоянии проводимость датчика влажности характеризуется номинальной величиной. Но, по мере накопления влаги на поверхности пленки сопротивление такого резистора пропорционально уменьшиться, проводимость возрастет, как и величина протекающего в цепи тока. За счет измерения тока или падения напряжения на резистивном элементе осуществляется контроль влажности. Например: Патент №2788822 от 24.01.2023 г., МПК G01N 27|00 Резисторный датчик влажности воздуха.
2. Емкостной. Функционирует по принципу классического конденсатора, обкладки которого взаимодействуют с воздухом окружающего пространства. Всего выделяют три основных вида емкостных сенсоров, отличающихся конструктивными особенностями:
Первый тип представляет собой две пластины, между которыми находится воздушное пространство. В сухом состоянии воздух является диэлектриком, поэтому емкость конденсатора максимальная. По мере насыщения воздуха влагой повысятся его проводящие свойства и емкость пропорционально уменьшиться.
Второй тип - представляет собой тот же конденсатор, между пластинами которого находится чувствительный диэлектрик, активно реагирующий на влагу. К выводам конденсатора подаются импульсы установленной частоты, что позволяет точнее вычислять степень влажности.
Третий тип - представляет собой пластины на плате, изготовленные в форме гребенки. Такие модели требуют дополнительной температурной компенсации в ходе измерений.
3. Термисторный. В основе работы такого датчика влажности лежит термистор -нелинейный резистор, чье сопротивление напрямую зависит от температуры окружающей среды. Термистор обладает нелинейной вольтамперной характеристикой, при малейшем изменении температуры элемента омическое сопротивление также меняется. Принцип действия термисторного датчика влажности основывается на сравнении показаний двух термисторов. Один из них размещается в герметичной капсуле с сухим воздухом и является базисным параметром. Второй термистор устанавливается в перфорированную капсулу, которая взаимодействует с воздушными массами. Оба термистора располагаются в плечах измерительного моста для сравнения показаний. При увлажнении воздушного пространства термистор в перфорированной капсуле покрывается влагой. Слой жидкости начинает испаряться с поверхности резистора, благодаря чему он быстрее остывает, в результате чего меняются характеристики устройства. В виду наличия разницы сопротивления двух термисторов мост выйдет из состояния равновесия. Чем больше влажность, тем сильнее изменится электрическая величина, по мере изменения тока или напряжения будет определяться степень влажности.
Например: Патент №2632997, От 11.10.2017 г., МПК G01N 25|56 Пьезорезисторный датчик для определения относительной влажности воздуха. Или Патент №2806626 от 02.11.2023 г. МПК G01N 27|12 и G01N 27|125. Датчик относительной влажности воздуха на основе тонкой пленки полианилена.
4. Оптический. Работает по принципу определения точки росы - состояния среды, при котором парообразная влага из воздуха оседает в виде капель на поверхности. Принцип действия такого устройства основан на такой последовательности операций:
С одной стороны зеркало нагревается или охлаждается для получения точки росы на его поверхности. С другой стороны на него подается луч света, излучаемый, как правило, отдельно установленным светодиодом. Свет отражается от зеркала и попадает на фотодиод или другой светочувствительный элемент, реагирующий на интенсивность светового потока. При появлении капель на поверхности зеркала свет будет преломляться, интенсивность потока снизится и величина тока, пропускаемом фотодиодом изменится.
Оптический датчик влажности считается наиболее точным, но и наиболее дорогим. Основной сложностью в эксплуатации такого устройства является необходимость содержания поверхности в чистоте, иначе точность измерений существенно снизится.
5. Электронный
В основу работы заложен принцип изменения состояния электролита, в зависимости от фактора влажности. Такое устройство оснащается зондом, как правило, с двумя разнесенными электродами. Электроды помещаются в контролируемое пространство и при подаче напряжения начинают проводить электрический ток. По мере увлажнения промежутка между электродами проводимость увеличится и возрастет сила тока. Такие модели отлично подходят для электронных систем в качестве измерительного органа, анализирующего уровень влажности. Они могут подключаться к простейшим микроконтроллерам или реле.
6. Механический
Осуществляют измерение влажности посредством механических перемещений. Наиболее популярными являются весоизмерительные и волосные.
Методы измерения влажности воздуха даны в литературе:
1. Берлинер М.А.. Измерение влажности. М: Мир 1973,с.294.
2. Кочетова Ж.Ю., Базарский О.В., Кучменко Т.А. и др. Определение влажности воздуха в широком диапазоне температур и концентрации. Аналитика и контроль. 2012 г. Т.16№1.С.56-63.
3. Агеев О.А., Маминкова В.М., Петров В.В. Микроэлектронные преобразователи неэлектрических величин. Таганрог. ТРТУ. 2000, 153 с.
Для достижения поставленной цели в устройство, представляющее собой экранированную камеру, содержащую генератор качающей частоты -1, формирователи импульсов частотных - 2 и временных - 3 с циклической их работой, блок выбора режима работы - 4, усилитель мощности - 5.1, согласующее устройство - 5.2, объект исследования с размещенным в нем крупногабаритными транспортными средствами - 8, формирователь информации приемной системы - 9, блок фильтров - 10, блок анализа спектра излучения сигналов - 11 и блок исследования спектра излучения сигналов квадрупольного резонанса - 12.1, индикатор ЯКР - 12.2, многочастотная синфазная приемная антенная система с приемом нормально и параллельно поляризованных электромагнитных волн с равномерной энергетикой в диапазоне от 10 кГц. до 10 МГц. - 6NN, многочастотная синфазная передающая антенная система - 7NN с излучением нормально поляризованной волны с равномерной энергетикой в диапазоне от 10кГц. до 10МГц, колебательные системы - с 11.1 по 11.10 с высокими массогабаритными характеристиками, аналитический блок -13 слабых сигналов ЯКР, блок контроля температуры окружающей среды -14, распределитель энергии 5.3 генератора качающей частоты 1 для питания излучателей вне экранированной камеры, внешний приемоизлучающий кабель -5.3.1, внешний излучающий кабель - 5.3.2, внешний приемный кабель - 5.3.3, внешняя экранированная камера с возможностью исследования переносимых грузов - 5.4.1, блок согласования для внешних приемных кабелей -5.5, включатель Вк.4 для выполнения внутри и вне замкнутой камеры исследований ЯКР. дополнительно введены: источник переменного тока напряжением 220 В. частотой 50 Гц - 1.1 для питания кубов или n блоков контроля влажности и вентиляции Дn контроллер источника переменного тока - 1.2, пространство для вентиляции экранированной камеры с размещенными с ней n блоков контроля влажности и вентиляции Дn соединенных последовательно и подключенных через включатель Вк.10 к клемме «а» на выходе контроллера источника переменного тока - 1.2, кроме того клемма «а» на выходе контроллера источника переменного тока - 1.2 соединена через клемму «7», через включатель Вк.5 со вторым входом внешнего приемоизлучающего кабеля -5.3.1, параллельно клемма «а» на выходе контроллера источника переменного тока -1.2 соединена через клемму «8», через включатель Вк.6 со вторым входом внешнего излучающего кабеля - 5.3.2, параллельно клемма «а» на выходе контроллера источника переменного тока -1.2 соединена через клемму «9», через включатель Вк.7 со вторым входом внешнего приемного кабеля - 5.3.3, параллельно клемма «а» на выходе контроллера источника переменного тока - 1.2 соединена через клемму «10», через включатель Вк.8 со вторым входом внешней экранированной камеры с возможностью исследования переносимых грузов - 5.4.1.
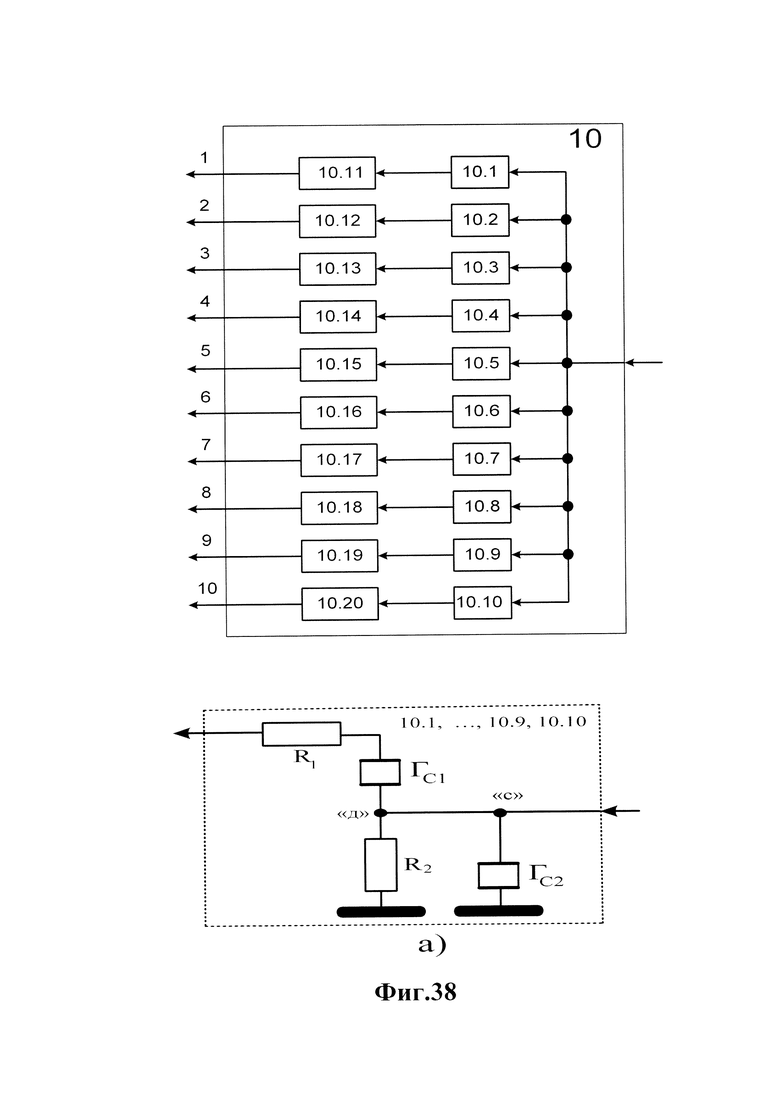
Гиратор как преобразователь импеданса используется для замены имеющих высокие параметры массогабаритных характеристик емкости «С» и индуктивности «L». Так емкость «С» подключенная в качестве нагрузки микросхемы на входе последней создаетсяиндуктивное сопротивление «L» и определяется как «ГL». И на оборот при подключении в качестве нагрузки для микросхемы индуктивность «L» на входе последней создается емкостное сопротивление «С» и определяется как «ГC». Принцип работы преобразователя импеданса (гиратора) представлен в литературе авторов У. Титце, К. Шенк «Полупроводниковая схемотехника», -М: изд. Мир, 1983 г., раздел 12.6, стр. 180-183. Принцип управления изменением индуктивного сопротивления на выходе гиратора, показан в журнале «Радио» №11, за 1996 г., автором Петин Г.П. «Применение гиратора в резонансных усилителях и генераторах».
На Фиг. 1. Устройство обнаружения сигналов ядерного квадрупольного резонанса, содержащее экранированную камеру и вне экранированной камеры элементы обнаружения ЯКР; внутри экранированной камеры: генератор качающей частоты 1 на диапазон частот от 10 кГц до 10 МГц, формирователь импульсов частотных 2, формирователь импульсов временных 3, блок выбора режима работы 4, усилитель мощности 5.1, согласующее устройство передающей антенной системы 5.2; синфазную приемную антенную систему с приемом нормально и параллельно поляризованных электромагнитных волн 6, в которой N синфазных приемных линеек от 61N до 6NN, каждая из N синфазных приемных линеек содержит N приемных антенн (например, первая синфазная приемная линейка содержит с первой 611 по N антенну 61N); передающую синфазную антенную систему с излучением нормально поляризованной волны 7, в которой N излучателей от 71 до 7N; формирователь информации приемной антенной системы 9, блок фильтров 10, блок анализа спектра ядерного квадрупольного резонанса излучения 11, блок исследования спектра излучения сигналов ядерного квадрупольного резонанса 12.1, индикатор ЯКР 12.2, аналитический блок слабых сигналов ЯКР 13, блок контроля температуры окружающей среды 14, внутри экранированной камеры: распределитель энергии генератора качающей частоты для питания излучателей вне экранированной камеры 5.3, блок согласования для внешних приемных кабелей 5.5, включатель Вк.4 для выполнения внутри и вне экранированной камеры исследований ЯКР; а вне экранированной камеры элементы: внешний приемоизлучающий кабель 5.3.1, внешний излучающий кабель 5.3.2, внешний приемный кабель 5.3.3, внешняя экранированная камера с возможностью исследования переносимых грузов 5.4.1, при этом выход генератора качающей частоты 1 соединен с первым входом блока выбора режима работы 4 через формирователь импульсов частотных 2, через клеммы «в» и «г» первого включателя Вк.1, а со вторым входом блока выбора режима работы 4 выход генератора качающей частоты соединен через формирователь временных импульсов 3, через клеммы «а» и «б», второго включателя Вк.2, а третий вход блока выбора режима работы 4 соединен непосредственно с выходом аналитического блока слабых сигналов ЯКР 13, а через клеммы «д» и «е» третьего включателя Вк.3 с выходом блока исследования спектра излучения сигналов ядерного квадрупольного резонанса 12.1; выход блока выбора режима работы 4 соединен с входом усилителя мощности 5.1; выход усилителя мощности 5.1 соединен параллельно непосредственно через «n1» вход с формирователем информации приемной системы 9, также с входом согласующего устройства передающей антенной системы 5.2 через клеммы «и» и «т» четвертого включателя Вк.4, а также через клеммы «з» и «л» четвертого включателя Вк.4 с входом распределителя энергии генератора качающей частоты для питания излучателей вне экранированной камеры 5.3; «n» выходов согласующего устройства передающей антенной системы 5.2 соединены с каждым из «n» в системе излучателей 7 через клемму «ж», начиная с 71 до 7N; «n» входов формирователя информации приемной антенной системы 9 соединены с N синфазными линейками 6, например, «n» входов формирователя информации приемной антенной системы 9 соединены с первой синфазной приемной линейкой от первой антенны 611 до «n» антенны 61N; выход формирователя информации приемной антенной системы 9 соединен с блоком исследования спектра излучения сигналов ядерного квадрупольного резонанса 12.1 через блок фильтров 10 и через блок анализа спектра излучения сигналов ядерного квадрупольного резонанса 11; выход блока исследования спектра излучения сигналов ядерного квадрупольного резонанса 12.1 соединен параллельно с клеммой «е» третьего включателя Вк.3 и параллельно с входом индикатора ЯКР 12.2; блок фильтров 10 параллельно соединен с первым входом аналитического блока слабых сигналов ЯКР 13, а второй вход аналитического блока слабых сигналов ЯКР 13 соединен с выходом блока контроля температуры окружающей среды 14; излучающая часть устройства, или антенны с 71 до 7N, для возбуждения ядерного квадрупольного резонанса в экранированной камере размещены между двух экранирующих плоскостей, выполненных в виде усеченных цилиндрических плоскостей; выход распределителя энергии генератора качающей частоты 5.3 для питания излучателей вне экранированной камеры соединен параллельно через клемму «1» с входом внешнего приемоизлучающего кабеля 5.3.1, также через клемму «2» с внешним излучающим кабелем 5.3.2, и через клемму «3» с внешней экранированной камерой с возможностью исследования переносимых грузов 5.4.1; выход внешнего приемоизлучающего кабеля 5.3.1 соединен через клемму «4» с входом блока согласования для внешних приемных кабелей 5.5, выход внешнего приемного кабеля 5.3.3 соединен через клемму «5» с входом блока согласования для внешних приемных кабелей 5.5, и выход внешней экранированной камеры с возможностью исследования переносимых грузов 5.4.1 соединен через клемму «6» с входом блока согласования для внешних приемных кабелей 5.5; выход блока согласования для внешних приемных кабелей 5.5 соединен через вход ««2» с формирователем информации приемной антенной системы 9, отличающееся тем, что дополнительно введены: источник переменного тока напряжением 220 В. частотой 50 Гц - 1.1 для питания «n» блоков контроля влажности и вентиляции Дn, контроллер источника переменного тока - 1.2, пространство для вентиляции в нижней части внутри экранированной камеры с размещенными в ней «n» блоков контроля влажности и вентиляции Дn соединенных последовательно и подключенных через включатель Вк.10 к клемме «а» на выходе контроллера источника переменного тока - 1.2; кроме того, вне экранированной камеры, клемма «а» на выходе контроллера источника переменного тока - 1.2 соединена через клемму «7», через включатель Вк.5 со вторым входом внешнего приемоизлучающего кабеля -5.3.1; параллельно клемма «а» на выходе контроллера источника переменного тока - 1.2 соединена через клемму «8», через включатель Вк.6 со вторым входом внешнего излучающего кабеля - 5.3.2; параллельно клемма «а» на выходе контроллера источника переменного тока - 1.2 соединена через клемму «9», через включатель Вк.7 со вторым входом внешнего приемного кабеля - 5.3.3; параллельно клемма «а» на выходе контроллера источника переменного тока - 1.2 соединена через клемму «10», через включатель Вк.8 со вторым входом внешней экранированной камеры с возможностью исследования переносимых грузов - 5.4.1.
На Фиг. 2 представлен один из идентичных излучателей 71 передающей синфазной антенной системы, возбуждающий нормально поляризованную электромагнитную волну с векторами Ег и Нг вблизи границы раздела воздух-поверхность исследуемой среды как с обычными, так и с магнитными свойствами 7, содержащий Ф1 и Ф2 - два ферритовых сердечника цилиндрической формы, расположенные горизонтально и образующие единый излучатель нормально поляризованной волны, К1 и К2 - две рамочные передающие антенны с равномерными частотными свойствами входного сопротивления в диапазоне частот от 10кГц до 10МГц, размещенные на ферритовых сердечниках Ф1 и Ф2, и возбуждающие магнитный поток в феррите; согласующий трансформатор Тр.1 с одной первичной 1 и двумя вторичными обмотками 2.1 и 2.2, согласующее устройства передающей системы 5.2, при этом согласующий трансформатор Тр.1 первичной обмоткой соединен с одним из выходом согласующего устройства передающей системы 5.2; а вторичная обмотка трансформатора Тр.1 двухсекционная: первая секция 2.1 соединена клеммой «а» к клемме «ж1» первой рамочной передающей антенны К1, а клеммой «б» первая секция 2.1 соединена к клемме «ж2» первой рамочной передающей антенны К1; вторая секция 2.2 трансформатора Тр.1 соединена клеммой «г» к клемме «ж3» второй рамочной передающей антенны К2, а клеммой «в» вторая секция 2.2 соединена к клемме «ж4» второй рамочной передающей антенны К2.
На Фиг. 3 представлена структура излучателя Ф1 (Ф2), как одного из элементов в составе каждого из N излучателей, содержащего три ферритовых сердечника, каждый диаметром d=4 мм, выполненные по технологии из трех компонентной структуры с магнитной проницаемостью μ=Т000, μ=100 и μ=10; поверх трех ферритовых сердечников размещаются витки проводников трех обмоток Oб.1, Oб.2 и Oб.3 рамочной антенны, сечением проводников 0,5 мм, на каждом сердечнике длиной l=3 см располагается по 35 витков, причем все три рамочные антенны включены последовательно и образуют единую цепь с током пространственно однонаправленным i, протекающим между клеммами «ж1» и «ж2»; причем все три рамочные антенны с ферритовыми сердечниками образуют единый излучатель, представленный на фиг. 2 как Ф1 или Ф2.
На Фиг. 4 представлены графики входного сопротивления излучателя Ф1 (Ф2), причем кривой 1 отображено изменение входного сопротивления в диапазоне частот от 10кГц до 10МГц для трех ферритовых сердечников, каждый диаметром в сечении d=4 мм, выполненные по технологии из трех компонентной структуры с магнитной проницаемостью μ=1000, μ=100 и μ=10, поверх трех ферритовых сердечников размещаются витки проводников трех обмоток Oб.1, Oб.2 и Об.3 рамочной антенны, сечением проводников 0,5 мм, на каждом сердечнике длиной l=3 см располагается по 35 витков, причем все три рамочные антенны включены последовательно и образуют единую цепь с током пространственно однонаправленным i, протекающим между клеммами «ж1» и «ж2», изменение входного сопротивления в диапазоне частот допустимо; а кривой 2 отображено изменение входного сопротивления в диапазоне частот от 10 кГц до 10 МГц для трех ферритовых сердечника, каждый диаметром сечения d=4MM, выполненные по технологии из трех компонентной структуры с магнитной проницаемостью μ=1000, μ=100 и μ=10, поверх трех ферритовых сердечников размещаются витки проводников трех обмоток Oб.1, Oб.2 и Об.3 рамочной антенны, сечением проводников 0,5 мм, на каждом сердечнике длиной l=3 см располагается по 100 витков, данный вариант изменения входного сопротивления в диапазоне частот недопустим.
На Фиг. 5 представлен элемент приемной антенны, содержащий три рамочных антенны с ферритовыми сердечниками причем все три рамочные антенны включены последовательно и образуют единую цепь с наведенным током в них, пространственно однонаправленным l, протекающим между клеммами «П1» и «П2»; три ферритовых сердечника, каждый диаметром d=4 мм, выполненные по технологии из трех компонентной структуры с магнитной проницаемостью μ=1000, μ=100 и μ=10; поверх трех ферритовых сердечников размещаются витки проводников трех обмоток рамочной антенны, сечением проводников 0,5 мм, на каждом сердечнике длиной l=3 см располагается по 35 витков, причем все три рамочные антенны включены последовательно и размещены в вертикальной плоскости с углом разноса 60° между рамочными антеннами с ферритовыми сердечниками.
На Фиг. 6 представлена приемная антенна круговой поляризации 611, содержащая два элемента приемной антенны 611 1 и 611.2, как элементы системы, состоящей из N приемных антенн в каждой линейке с первой 611 по 6 11 и N линеек в системе с первой 61N по 6NN, при этом в каждый элемент, например, 611.1 имеет три рамочные антенны с ферритовыми сердечниками, причем три рамочные антенны A1, А2 и A3 включены последовательно и образуют единую цепь с наведенным током в них, пространственно однонаправленным i, протекающим между клеммами «П1» и «П2», а в элементе 611.2 три рамочные антенны А4, А5 и А6 включены последовательно и образуют единую цепь с наведенным током в них, пространственно однонаправленным i, протекающим между клеммами «П3» и «П4»; шесть рамочных антенн с ферритовыми сердечниками A1, А2, A3, А4, А5 и А6 расположены в вертикальной плоскости и образуют прием круговой поляризации, включающий прием как нормально поляризованной волны на рамочные антенны А2 и А5, так и параллельно поляризованной волны на рамочные антенны А1, A3, А4 и А6; причем радиоприем осуществляется одновременно элементами 611.1 и 611.2 на основе работы суммирующего трансформатора Тр.1 содержащего одну первичную обмотку 1 и две вторичные, при этом первичная обмотка соединена к входным клеммам формирователя информации приемной системы 9, одновременно первая вторичная обмотка 21 трансформатора Тр.1 клеммой «а» соединена с клеммой «П1», а клеммой «б» к клемме «П2» элемента 611.1, вторая вторичная обмотка 21 трансформатора Тр.1 клеммой «с» соединена с клеммой «П4», а клеммой «д» к клемме «П3» элемента 611.2.
На Фиг. 7 представлена приемопередающая антенная система, где 6 - элементы приемной антенной системы, состоящей из N приемных антенн в каждой линейке с первой 611 по 61N и N линеек в системе с первой 61N по 6NN; кроме того, 7 - элементы передающей антенной системы, содержащей N излучателей с первого 71 по «N» - 7N.
На Фиг. 8 представлен внешний приемоизлучающий кабель 5.3.1 содержащий кабель питания передающих и приемных антенн длиной 10 метров, по длине которого через каждый метр размещен объемный куб размером 20×20×20 см3 с первого по «n»; внешняя поверхность каждого куба образована четырьмя поверхностями: первой 1.1, второй 1.2, третьей 1.3 и четвертой 1.4; две боковые поверхности 1.5 и 1.6 каждого куба связаны с проходящим через них кабелем питания; внешняя поверхность из «n» каждого куба имеет одинаковое конструктивное решение по размещению приемной антенны и излучателей; приемная антенна круговой поляризации выполнена конструктивно по типу 611 (фиг. 6) и размещается в экране круглой формы диаметром 10 см и в центре каждой внешней поверхности куба; остальная внешняя поверхность каждого куба используется для размещения N излучателей, размещенных на экранированной поверхности и выполненных конструктивно по типу 71 (фиг. 3), как облучатель 1, облучатель 2 и облучатель 3; кабель питания с экранированной поверхностью внутри содержит два коаксиальны кабеля; один коаксиальный кабель соединен с одной стороны через клемму «1» с выходом распределителя энергии 5.3 а с другой стороны с входом внешнего приемоизлучающего кабеля 5.3.1, этот вход соединен параллельно с каждым из N излучателей на каждой внешней стороне из «n» каждого куба, обеспечивая питание излучателей током генератор качающей частоты 1 на диапазон частот от 10 кГц до 10 МГц (фиг. 1); второй коаксиальный кабель внутри кабеля питания соединен с одной стороны через выход приемоизлучающего кабеля 5.3.1, через клемму «4» с входом блока согласования для внешних приемных кабелей 5.5, а с другой стороны соединен параллельно с каждой приемной антенной круговой поляризации на каждой внешней стороне из «n» каждого куба; одновременно по длине приемопередающего кабеля, между соседними из «n» кубов приемопередающих включены «n» кубов вентиляции и осушения с первого Д1 по «n» куб Дn, при этом энергоснабжение для работы «n» кубов вентиляции и осушения осуществляется дополнительным кабелем через включатель Вк.5, через клемму «7» соединенную с клеммой «а» на выходе контроллера источника переменного тока - 1.2. (фиг. 1).
На Фиг. 9 представлен внешний излучающий кабель 5.3.2 содержащий кабель питания длиной 10 метров, по длине которого через каждый метр размещен объемный куб размером 20×20×20 см3 с первого по «n»; внешняя поверхность каждого куба образована четырьмя поверхностями: первой 1.1, второй 1.2, третьей 1.3 и четвертой 1.4; боковые поверхности 1.5 и 1.6 каждого куба связаны с проходящим через них кабелем питания; внешняя поверхность из «n» каждого куба имеет одинаковое конструктивное решение по размещению излучателей; внешняя поверхность каждого куба используется для размещения N излучателей, размещенных на экранированной поверхности и выполненных конструктивно по типу 71 (фиг. 3), как облучатель 1, облучатель 2 и облучатель 3; кабель питания с экранированной поверхностью внутри содержит коаксиальный кабель; этот коаксиальный кабель соединен с одной стороны через клемму «2» с выходом распределителя энергии 5.3 а с другой стороны с входом внешнего излучающего кабеля 5.3.2, этот вход соединен параллельно с каждым из N излучателей на каждой внешней стороне из «n» каждого куба, обеспечивая питание излучателей током генератор качающей частоты 1 на диапазон частот от 10 кГц до 10 МГц; одновременно по длине внешнего излучающего кабеля, между соседними из «n» кубов передающих включены «n» кубов вентиляции и осушения с первого Д1 по «n» куб Дn, при этом энергоснабжение для работы «n» кубов вентиляции и осушения осуществляется дополнительным кабелем через включатель Вк.6, через клемму «8» соединенную с клеммой «а» на выходе контроллера источника переменного тока -1.2. (фиг. 1).
На Фиг. 10 представлен внешний приемный кабель 5.3.3, содержащий кабель питания длиной 10 метров, по длине которого через каждый метр размещен объемный куб размером 20×20×20 см3 с первого по «n»; внешняя поверхность каждого куба образована четырьмя поверхностями: первой 1.1, второй 1.2, третьей 1.3 и четвертой 1.4; боковые поверхности 1.5 и 1.6 каждого куба связаны с проходящим через них кабелем питания; при этом выход внешнего приемного кабеля 5.3.3 соединен через клемму «5» с входом блока согласования для внешних приемных кабелей 5.5, внешняя поверхность из «n» каждого куба имеет одинаковое конструктивное решение по размещению четырех приемных антенн круговой поляризации, выполненных конструктивно по типу 611 (фиг. 6) и размещается в экране круглой формы диаметром 10 см каждой на внешней поверхности куба; кабель питания с экранированной поверхностью внутри содержит коаксиальный кабель; этот коаксиальный кабель соединен с одной стороны через клемму «5» с входом блока согласования для внешних приемных кабелей 5.5(фиг. 1), а с другой стороны с входом внешнего приемного кабеля 5.3.3, этот кабель соединен параллельно с каждым из четырех приемных антенн круговой поляризации на каждой внешней стороне из «n» каждого куба; одновременно по длине внешнего приемного кабеля, между соседними из «n» кубов приемных включены «n» кубов вентиляции и осушения с первого Д1 по «n» куб Дn, при этом энергоснабжение для работы «n» кубов вентиляции и осушения осуществляется дополнительным кабелем через включатель Вк.7, через клемму «9» соединенную с клеммой «а» на выходе контроллера источника переменного тока - 1.2. (фиг. 1).
На Фиг. 11 представлена внешняя экранированная камера с возможностью исследования переносимых грузов 5.4.1 содержащая экранированную камеру размером 3м на 3м, в верхней части камеры размещается «N» приемных антенных система (фиг. 6) круговой поляризации от 611 до 6 м экранированных от излучателей; приемная антенная система круговой поляризации от 611 до 6 м внешней экранированной камеры с возможностью исследования переносимых грузов 5.4.1 соединена через клемму «6» с входом блока согласования для внешних приемных кабелей 5.5 (фиг. 1); в экранированной части пространства внешней экранированной камеры с возможностью исследования переносимых грузов 5.4.1 размещается элементы передающей антенной системы, содержащей «N» излучателей с первого 71 по «N» - 7N (фиг. 3, фиг.4), при этом элементы передающей антенной системы из «N» излучателей с первого 71 по «N» - 7N соединены через клемму «3» с выходом распределителя энергии 5.3 генератора качающей частоты 1; объекты исследования располагаются в центре нижней части экранированной камеры 5.4.1 на решетки с поглощающими свойствами электромагнитных полей, возбуждаемых излучателями с первого 71 по «N» - 7N; кроме того, внешняя экранированная камера с возможностью исследования переносимых грузов 5.4.1 содержит пространство для вентиляции в нижней части внутри экранированной камеры с размещенными в ней «n» блоков контроля влажности и вентиляции «n» куб Дn, соединенных последовательно и подключенных через включатель Вк.8, через клемму «10» к клемме «а» на выходе контроллера источника переменного тока - 1.2 (фиг. 1).
На Фиг. 12 представлены блоки контроля влажности и вентиляции с первого Д1 по «n» Дn для трех видов внешних кабелей: внешнего приемопередающего кабеля 5.3.1, внешнего передающего кабеля 5.3.2 и внешнего приемного кабеля 5.3.3; каждый корпус выполнен из нержавеющего металла и имеет вентиляционные отверстия по всем шести плоскостям объема каждого из трех вариантов для блока контроля с первой плоскости - 1.1, второй - 1.2, третьей - 1.3, четвертой - 1.4, пятой - 1.5, и шестой - 1.6; в центральной части плоскостей пятой -1.5 и шестой - 1.6 определены отверстия для проходящих кабелей: например, для блоков контроля влажности и вентиляции с первого Д1 по «n» куб Дn внешнего приемопередающего кабеля 5.3.1 прокладывается три кабеля: первый коаксиальный кабель для питания передающих элементов или объемных кубов, соединенный с кабелем питания через клемму «1» с выходом блока распределителя энергии 5.3(фиг. 1); второй коаксиальный кабель для приемных элементов или объемных кубов, соединенный с приемным блоком 5.5 через клемму «4» (фиг. 1); третий кабель для питания блоков или объемных кубов, контроля влажности и вентиляции с первого Д1 по «n» Дn соединенный с кабелем питания через Вк.5 и клемму «7» к клемме «а» на выходе контроллера источника переменного тока - 1.2 (фиг. 1); для блоков контроля влажности и вентиляции с первого Д1 по «n» куб Дn внешнего передающего кабеля 5.3.2 прокладывается два кабеля: первый коаксиальный кабель для питания передающих элементов, объемных кубов, соединенный с кабелем питания через клемму «1» с выходом блока распределителя энергии 5.3 (фиг. 1); второй кабель для питания блоков контроля влажности и вентиляции, объемных кубов, с первого Д1 по «n» Дn соединенный с кабелем питания через Вк.6 и клемму «8» к клемме «а» на выходе контроллера источника переменного тока -1.2 (фиг. 1); для блоков контроля влажности и вентиляции с первого Д1 по «n» куб Дn внешнего приемного кабеля 5.3.2 прокладывается два кабеля: первый коаксиальный кабель для приемных элементов, объемных кубов, соединенный с приемным блоком 5.5 через клемму «5» (фиг. 1); второй кабель для питания блоков контроля влажности и вентиляции, объемных кубов, с первого Д1 по «n» куб Дn соединенный с кабелем питания через Вк.7 и клемму «9» к клемме «а» на выходе контроллера источника переменного тока - 1.2 (фиг. 1); при этом каждый блок контроля влажности и вентиляции или объемный куб с первого Д1 по «n» Дn (фиг. 12.1) содержит блок контроля влажности воздуха изолированный, блок контроля влажности воздуха в среде и блок анализа; напряжение 220 Вольт частотой 50 Гц через клемму «а» на выходе контроллера источника переменного тока - 1.2 (Фиг. 1) поступает на клемму «р» на входе каждого из объемных кубов, представленного конструкцией куба (фиг. 12.1); клемма «р» соединена параллельно с клеммой «н» блока контроля влажности воздуха изолированного и с клеммой «б» блока анализа, блок контроля влажности воздуха изолированного клеммой «м» соединен с клеммой «n» блока контроля влажности воздуха в среде, кроме того, блок контроля влажности воздуха изолированного клеммой «к» соединен с клеммой «а» блока анализа; а клеммой «з» блок контроля влажности воздуха в среде соединен с клеммой «с» блока анализа; при этом блок контроля влажности воздуха изолированный содержит высокочастотный генератор питаемый напряжением 220 В частотой 50 Гц. через клемму «н», выход высокочастотного генератора соединен с одной обкладкой емкости (или резистивного элемента) расположенного внутри блока контроля влажности воздуха изолированного вторая обкладка конденсатора (или резистивного элемента) соединена через клемму «к» блока контроля влажности воздуха изолированного через клемму «а» блока анализа соединена с клеммой «в» вторичной обмотка трансформатора Тр. в блоке анализа (фиг. 12.2), клемма «д» вторичной обмотка трансформатора Тр в блоке анализа заземлена; параллельно выход высокочастотного генератора соединен через клемму «м» блока контроля влажности воздуха изолированного, через клемму «n» блока контроля влажности воздуха в среде соединен с одной обкладкой емкости (или резистивного элемента) расположенного внутри блока контроля влажности воздуха в среде, вторая обкладка емкости (или резистивного элемента) расположенного внутри блока контроля влажности воздуха в среде через клемму «з» этого блока, через клемму «с» блока анализа соединена с клеммой «ж» первичной обмотки трансформатора Тр, (фиг. 12.2), клемма «у» первичной обмотки трансформатора Тр. заземлена; разностный ток возникает из-за работы конденсаторов (или резистивных элементов) в изолированной камере и камере в среде фиксируется третьей обмоткой трансформатора Тр., выход третьей обмотки трансформатора соединен со вторым входом управляющего блока 1.2, на первый вход которого поступает через клемму «б» электрическая энергия частотой 50 Гц и напряжением 220 В., управляющий блок 1.2 подключает энергию источника через первый выход для работы вентилятора в избранных объемных кубах и через второй выход подключение батареи для повышения температуры объемных кубов (фиг. 12.2).
На Фиг. 13 представлен блок согласования для внешних приемных кабелей 5.5, содержащий два согласующих трансформатора Тр.1 и Тр.2, при этом первый трансформатор Тр.1 имеет три первичные обмотки и шесть вторичный обмоток, а второй трансформатор Тр.2 имеет шесть первичных обмоток и одну вторичную обмотку; первый вход блок согласования для внешних приемных кабелей -5.5 с внешней стороны соединен через клемму «4» с выходом внешнего приемоизлучающего кабеля 5.3.1 (фиг. 1), а внутри блока согласования для внешних приемных кабелей 5.5 первый вход соединен с клеммой «а» первой первичной обмоткой трансформатора Тр.1, при этом клемма «б» первой первичной обмотки трансформатора Тр.1 заземлена; второй вход блок согласования для внешних приемных кабелей 5.5 с внешней стороны соединен через клемму «5» с выходом внешнего приемного кабеля 5.3.3 (фиг. 1), а внутри блока согласования для внешних приемных кабелей 5.5 второй вход соединен с клеммой «а» второй первичной обмоткой трансформатора Тр.1, при этом клемма «б» второй первичной обмотки трансформатора Тр.1 заземлена; третий вход блок согласования для внешних приемных кабелей 5.5 с внешней стороны соединен через клемму «6» с выходом внешней экранированной камерой с возможностью исследования переносимых грузов 5.4.1 (фиг. 1), а внутри блока согласования для внешних приемных кабелей 5.5 третий вход соединен с клеммой «а» третьей первичной обмоткой трансформатора Тр.1, при этом клемма «б» третьей первичной обмотки трансформатора Тр.1 заземлена; первая обмотка «1» из шести вторичных обмоток первого трансформатора Тр.1 соединена через усилитель «А», через полосовой фильтр «П», с полосой пропускания от 10кГц до 20кГц, с клеммами «а» и «б» первой первичной обмоткой второго трансформатора Тр.2; вторая обмотка «2» из шести вторичных обмоток первого трансформатора Тр.1 соединена через усилитель «В», через полосовой фильтр «М», с полосой пропускания от 20кГц до 50кГц, с клеммами «а» и «б» второй первичной обмоткой второго трансформатора Тр.2; третья обмотка «3» из шести вторичных обмоток первого трансформатора Тр.1 соединена через усилитель «С», через полосовой фильтр «Н», с полосой пропускания от 50кГц до 100кГц, с клеммами «а» и «б» третьей первичной обмоткой второго трансформатора Тр.2; четвертая обмотка «4» из шести вторичных обмоток первого трансформатора Тр.1 соединена через усилитель «Д», через полосовой фильтр «Р», с полосой пропускания от 100кГц до 500кГц, с клеммами «а» и «б» четвертой первичной обмоткой второго трансформатора Тр.2; пятая обмотка «5» из шести вторичных обмоток первого трансформатора Тр.1 соединена через усилитель «Е», через полосовой фильтр «О», с полосой пропускания от 500кГц до 1000кГц, с клеммами «а» и «б» пятой первичной обмоткой второго трансформатора Тр.2;
шестая обмотка «6» из шести вторичных обмоток первого трансформатора Тр.1 соединена через усилитель «К», через полосовой фильтр «Л», с полосой пропускания от 1000 кГц до 10000 кГц, с клеммами «а» и «б» шестой первичной обмоткой второго трансформатора Тр.2; вторичная обмотка второго трансформатора Тр.2 клеммами «с» и «д» соединена с выходом блока согласования для внешних приемных кабелей 5.5.
На Фиг. 14 представлен формирователь импульсов частотных 2, где первый формирователь групп одно миллисекундных частотных импульсов 2.1, второй формирователь групп двух миллисекундных частотных импульсов 2.2, третий формирователь групп трех миллисекундных частотных импульсов 2.3, четвертый формирователь групп четырех миллисекундных частотных импульсов 2.4, генератор одно миллисекундных импульсов 2.5, четыре четырех контактных включателя: Вк.1, Вк.2, Вк.3 и Вк.4; четыре элемента И: первый 2.6, второй 2.7, третий 2.8 и четвертый 2.9; четыре кнопки одноразового запуска работы четырех формирователей: Кн.1, Кн.2, Кн.3 и Кн.4; при этом выход генератора одно миллисекундных импульсов 2.5 соединен параллельно непосредственно с первым входом первого элемента И 2.6 и со вторым входом первого элемента И 2.6 через первую кнопку Кн.1 для одноразового запуска работы первого формирователя, выход первого элемента И 2.6 соединен с первым входом первого формирователя групп одно миллисекундных частотных импульсов 2.1, первый выход первого формирователя групп одно миллисекундных частотных импульсов 2.1 соединен с выходом формирователя импульсов частотных 2 через клеммы «с» и «д» первого четырех контактного включателя Вк. 1, второй выход первого формирователя групп одно миллисекундных частотных импульсов 2.1 соединен со вторым входом первого элемента И 2.6 через клеммы «а» и «б» первого четырех контактного включателя Вк.1 для циклической работы первого формирователя; выход генератора одно миллисекундных импульсов 2.5 соединен параллельно непосредственно с первым входом второго элемента И 2.7 и со вторым входом второго элемента И 2.7 через вторую кнопку Кн.2 для одноразового запуска работы второго формирователя, выход второго элемента И 2.7 соединен с первым входом второго формирователя групп двух миллисекундных частотных импульсов 2.2, первый выход второго формирователя групп двух миллисекундных частотных импульсов 2.2 соединен с выходом формирователя импульсов частотных 2 через клеммы «с» и «д» второго четырех контактного включателя Вк.2, второй выход второго формирователя групп двух миллисекундных частотных импульсов 2.2 соединен со вторым входом второго элемента И 2.7 через клеммы «а» и «б» второго четырех контактного включателя Вк.2 для циклической работы второго формирователя; выход генератора одно миллисекундных импульсов 2.5 соединен параллельно непосредственно с первым входом третьего элемента И 2.8 и со вторым входом третьего элемента И 2.8 через третью кнопку Кн.3 для одноразового запуска работы третьего формирователя, выход третьего элемента И 2.8 соединен с первым входом третьего формирователя групп трех миллисекундных частотных импульсов 2.3, первый выход третьего формирователя групп трех миллисекундных частотных импульсов 2.3 соединен с выходом формирователя импульсов частотных 2 через клеммы «с» и «д» третьего четырех контактного включателя Вк.3, второй выход третьего формирователя групп трех миллисекундных частотных импульсов 2.3 соединен со вторым входом третьего элемента И 2.8 через клеммы «а» и «б» третьего четырех контактного включателя Вк.3 для циклической работы третьего формирователя; выход генератора одно миллисекундных импульсов 2.5 соединен параллельно непосредственно с первым входом четвертого элемента И 2.9 и со вторым входом четвертого элемента И 2.9 через четвертую кнопку Кн.4 для одноразового запуска работы четвертого формирователя, выход четвертого элемента И 2.9 соединен с первым входом четвертого формирователя групп четырех миллисекундных частотных импульсов 2.4, первый выход четвертого формирователя групп четырех миллисекундных частотных импульсов 2.4 соединен с выходом формирователя импульсов частотных 2 через клеммы «с» и «д» четвертого четырех контактного включателя Вк.4, второй выход четвертого формирователя групп четырех миллисекундных частотных импульсов 2.4 соединен со вторым входом четвертого элемента И 2.9 через клеммы «а» и «б» четвертого четырех контактного включателя Вк.4 для циклической работы четвертого формирователя; вход формирователя импульсов частотных 2 соединен параллельно со вторым входом первого формирователя групп одно миллисекундных частотных импульсов 2.1, со вторым входом второго формирователя групп двух миллисекундных частотных импульсов 2.2, со вторым входом третьего формирователя групп трех миллисекундных частотных импульсов 2.3 и со вторым входом четвертого формирователя групп четырех миллисекундных частотных импульсов 2.4.
На Фиг. 15 представлен первый формирователь групп одно миллисекундных частотных импульсов 2.1, где первый вентиль В.1, второй вентиль В.2, третий вентиль В.3, четвертый вентиль В.4, пятый вентиль В.5, шестой вентиль В.6, седьмой вентиль В.7, восьмой вентиль В.8, девятый вентиль В.9, десятый вентиль В. 10, первая линия задержки на 2 мс 15.1, вторая линия задержки на 2 мс 15.2, третья линия задержки на 4 мс 16, четвертая линия задержки на 2 мс 15.3, пятая линия задержки на 4 мс 17, триггер одно миллисекундный 18, шестая линия задержки на 8 мс 19, седьмая линия задержки на 10 мс 20, первый элемент И 21.1, второй элемент И 21.2, умножитель частоты на два 22, при этом первой кнопкой Кн.1 (фиг. 14), для запуска триггера одно миллисекундного 18, на короткое время генератор одно миллисекундных импульсов 2.5 формирователя импульсов частотных 2 подключается к первому входу первого формирователя групп одно миллисекундных частотных импульсов 2.1, первый вход соединен с входом триггера одно миллисекундного 18; выход триггера одно миллисекундного 18 соединен параллельно с входом шестой линии задержки на 8 мс 19, а через первый вентиль В.1, через первую линию задержки на 2 мс 15.1 со вторым входом первого элемента И 21.1, также через второй вентиль В.2 со вторым входом первого элемента И 21.1; выход шестой линии задержки на 8 мс 19 соединен параллельно с входом седьмой линии задержки на 10 мс 20, а через третий вентиль В.3 и через вторую линию задержки на 2 мс 15.2 со вторым входом второго элемента И 21.2, также через четвертый вентиль В.4 и через третью линию задержки на 4 мс 16 со вторым входом первого элемента И 21.1, а также через пятый вентиль В.5 со вторым входом первого элемента И 21.1; выход седьмой линии задержки на 10 мс 20 соединен параллельно через шестой вентиль В.6 через четвертую линию задержки на 2 мс 15.3 со вторым входом первого элемента И 21.1, а через седьмой вентиль В.7 и через пятую линию задержки на 4 мс 17 параллельно через девятый вентиль В.9 со вторым входом второго элемента И 21.2, а через десятый вентиль В. 10 со вторым выходом первого формирователя групп одно миллисекундных частотных импульсов 2.1, кроме того, выход седьмой линии задержки на 10мс 20 соединен через восьмой вентиль В.8 со вторым входом второго элемента И 21.2; выход второго элемента И 21.2 соединен с первым выходом первого формирователя групп одно миллисекундных частотных импульсов 2.1; второй вход первого формирователя групп одно миллисекундных частотных импульсов 2.1 соединен параллельно с первым входом первого элемента И 21.1 и через умножитель частоты на два 22 с первым входом второго элемента И 21.2; выход первого элемента И 21.1 соединен с первым выходом первого формирователя групп одно миллисекундных частотных импульсов 2.1.
На Фиг. 16 представлено распределение импульсов и их длительность, которые формирует первый формирователь групп одно миллисекундных частотных импульсов 2.1, где длительность всех импульсов, создаваемых первым формирователем групп одно миллисекундные с частотным заполнением импульсов, соответствует τ=1 мс, причем образовано три группы импульсов: первая группа два импульса, вторая - три и третья - три; расстояние между импульсами в каждой группе равно 1 мс и расстояние между группами 5 мс; заполнение (модуляция) импульсов обоснованной, рабочей частотой f1 генератора качающей частоты 1 (фиг. 1) в диапазоне частот от 10кГц до 10МГц; причем второй импульс во второй группе, а также первый и третий импульсы в третьей группе заполнены удвоенной частотой 2f1.
На Фиг. 17 представлен второй формирователь групп двух миллисекундных частотных импульсов 2.2, где одиннадцатый вентиль В.11, двенадцатый вентиль В.12, тринадцатый вентиль В.13, четырнадцатый вентиль В.14, пятнадцатый вентиль В. 15, шестнадцатый вентиль В. 16, семнадцатый вентиль В. 17, восемнадцатый вентиль В. 18, девятнадцатый вентиль 19, двадцатый вентиль В.20, первая линия задержки на 3 мс 23, вторая линия задержки на 3 мс 24, третья линия задержки на 6мс 25, четвертая линия задержки на 3 мс 26, пятая линия задержки на 6мс 27, триггер двух миллисекундный 28, шестая линия задержки на 10 мс 29, седьмая линия задержки на 13 мс 30, первый элемент И 31.1, второй элемент И 31.2, умножитель частоты на два 32, при этом второй кнопкой Кн.2 (фиг. 14) запуска триггера двух миллисекундного 28 на короткое время генератор 2.5 подключается к первому входу второго формирователя групп двух миллисекундных частотных импульсов 2.2, первый вход второго формирователя групп двух миллисекундных частотных импульсов 2.2 соединен с входом триггера двух миллисекундного 28; выход триггера двух миллисекундного 28 соединен параллельно с входом шестой линии задержки на 10мс 29, а через одиннадцатый вентиль В. 11 и через первую линию задержки на 3мс 23 со вторым входом первого элемента И 31.1, также выход триггера двух миллисекундного 28 соединен через двенадцатый вентиль В. 12 со вторым входом первого элемента И 31.1; выход шестой линии задержки на 10мс 29 соединен параллельно с входом седьмой линии задержки на 13 мс 30, а через тринадцатый вентиль В. 13 и через вторую линию задержки на 3мс 24 со вторым входом второго элемента И 31.2; также выход шестой линии задержки на 10мс 29 соединен через четырнадцатый вентиль В. 14 и через третью линию задержки на 6 мс 25 со вторым входом первого элемента И 31.1, а также выход шестой линии задержки на 10мс 29 соединен через пятнадцатый вентиль В. 15 со вторым входом первого элемента И 31.1; выход седьмой линии задержки на 13 мс 30 соединен параллельно через шестнадцатый вентиль В. 16 и через четвертую линию задержки на 3мс 26 со вторым входом первого элемента И 31.1, также выход седьмой линии задержки на 13 мс 30 через восемнадцатый вентиль В. 18 соединен со вторым входом второго элемента И 31.2, а выход седьмой линии задержки на 13 мс 30 соединен через семнадцатый вентиль В. 17 и через пятую линию задержки на 6мс 27 параллельно: через девятнадцатый вентиль В. 19 со вторым входом второго элемента И 31.2, а через двадцатый вентиль 20 со вторым выходом второго формирователя групп двух миллисекундных частотных импульсов 2.2; выход второго элемента И 31.2 соединен с первым выходом второго формирователя групп двух миллисекундных частотных импульсов 2.2; второй вход второго формирователя групп двух миллисекундных частотных импульсов 2.2 соединен параллельно с первым входом первого элемента И 31.1 и также через умножитель частоты на два 32 с первым входом второго элемента И 31.2; выход первого элемента И 31.1 соединен с первым выходом второго формирователя групп двух миллисекундных частотных импульсов 2.2.
На Фиг. 18 представлено временное распределение импульсов и их длительность, которые формирует второй формирователь групп двух миллисекундных частотных импульсов 2.2, где длительность всех импульсов, создаваемых вторым формирователем групп двух миллисекундные с частотным заполнением импульсов, т.е. соответствует τ=2 мс, причем образовано три группы импульсов: первая группа два импульса, вторая - три и третья - три; расстояние между импульсами в каждой группе равно 1 мс и расстояние между группами 5 мс; заполнение (модуляция) импульсов обоснованной, рабочей частотой f1 генератора качающей частоты 1 (фиг. 1) в диапазоне частот от 10кГц до 10МГц; причем второй импульс во второй группе, а также первый и третий импульсы в третьей группе заполнены удвоенной частотой 2f1.
На Фиг. 19 представлен третий формирователь групп трех миллисекундных частотных импульсов 2.3, где двадцать первый вентиль В.21, двадцать второй вентиль В.22, двадцать третий вентиль В.23, двадцать четвертый вентиль В.24, двадцать пятый вентиль В.25, двадцать шестой вентиль В.26, двадцать седьмой вентиль В.27, двадцать восьмой вентиль В.28, двадцать девятый вентиль В.29, тридцатый вентиль 30, первая линия задержки на 4 мс 33, вторая линия задержки на 4 мс 34, третья линия задержки на 8 мс 35, четвертая линия задержки на 4 мс 36, пятая линия задержки на 8 мс 37, шестая линия задержки на 12 мс 39, седьмая линия задержки на 16 мс 40, триггер трех миллисекундный 38, первый элемент И 41.1, второй элемент И 41.2, умножитель частоты на два 42, при этом третьей кнопкой Кн.3 (фиг. 14) запуска триггера трех миллисекундного 38 на короткое время генератор одно миллисекундных импульсов 2.5 формирователя 2 подключается к первому входу третьего формирователя групп трех миллисекундных частотных импульсов 2.3, первый вход третьего формирователя групп трех миллисекундных частотных импульсов 2.3 соединен с входом триггера трех миллисекундного 38; выход триггера трех миллисекундного 38 соединен параллельно с входом шестой линии задержки на 12 мс 39, а через двадцать первый вентиль В.21 и через первую линию задержки на 4 мс 33 со вторым входом первого элемента И 41.1; параллельно выход триггера трех миллисекундного 38 соединен через двадцать второй вентиль В.22 со вторым входом первого элемента И 41.1; выход шестой линии задержки на 12 мс 39 соединен параллельно с входом седьмой линии задержки на 16 мс 40, параллельно выход шестой линии задержки на 12 мс 39 через двадцать третий вентиль В.23 и через вторую линию задержки на 4 мс 34 соединен со вторым входом второго элемента И 41.2, также выход шестой линии задержки на 12 мс 39 соединен через двадцать четвертый вентиль В.24 и через третью линию задержки на 8 мс 35 со вторым входом первого элемента И 41.1, а также выход шестой линии задержки на 12 мс 39 соединен через двадцать пятый вентиль В.25 со вторым входом первого элемента И 41.1; выход седьмой линии задержки на 16 мс 40 соединен параллельно через двадцать шестой вентиль В.26 и через четвертую линию задержки на 4 мс 36 со вторым входом первого элемента И 41.1, а выход седьмой линии задержки на 16 мс 40 соединен через двадцать седьмой вентиль В.27, через пятую линию задержки на 8 мс 37 параллельно: через двадцать девятый вентиль В.29 со вторым входом второго элемента И 41.2, а через тридцатый вентиль 30 со вторым выходом третьего формирователя групп трех миллисекундных частотных импульсов 2.3; кроме того, выход седьмой линии задержки на 16 мс 40 соединен через двадцать восьмой вентиль В.28 со вторым входом второго элемента И 41.2; выход второго элемента И 41.2 соединен с первым выходом третьего формирователя групп трех миллисекундных частотных импульсов 2.3; второй вход третьего формирователя групп трех миллисекундных частотных импульсов 2.3 соединен параллельно с первым входом первого элемента И 41.1 и также через умножитель частоты на два 42 с первым входом второго элемента И 41.2; выход первого элемента И 41.1 соединен с первым выходом третьего формирователя групп трех миллисекундных частотных импульсов 2.3.
На Фиг. 20 представлено временное распределение импульсов и их длительность, которые формирует третий формирователь групп трех миллисекундных частотных импульсов 2.3, где длительность всех импульсов, создаваемых третьим формирователем групп трех миллисекундные с частотным заполнением импульсов, т.е. соответствует τ=3 мс, причем образовано три группы импульсов: первая группа два импульса, вторая - три и третья - три; расстояние между импульсами в каждой группе равно 1 мс и расстояние между группами 5 мс; заполнение (модуляция) импульсов обоснованной, рабочей частотой f1 генератора качающей частоты 1 (фиг. 1) в диапазоне частот от 10кГц до 10МГц; причем второй импульс во второй группе, а также первый и третий импульсы в третьей группе заполнены удвоенной частотой 2f1.
На Фиг. 21 представлен четвертый формирователь групп четырех миллисекундных частотных импульсов 2.4, где тридцать первый вентиль В.31, тридцать второй вентиль В.32, тридцать третий вентиль В.33, тридцать четвертый вентиль В.34, тридцать пятый вентиль В.35, тридцать шестой вентиль В.36, тридцать седьмой вентиль В.37, тридцать восьмой вентиль В.38, тридцать девятый вентиль В.39, сороковой вентиль В.40 первая линия задержки на 5 мс 43, вторая линия задержки на 5 мс 44, третья линия задержки на 10мс 45, четвертая линия задержки на 5 мс 46, пятая линия задержки на 10мс 47, триггер четырех миллисекундный 48, шестая линия задержки на 14 мс 49, седьмая линия задержки на 19 мс 50, первый элемент И 51.1, второй элемент И 51.2, умножитель частоты на два 52, при этом четвертой кнопкой Кн.4 (фиг. 14) запуска триггера четырех миллисекундного 48 на короткое время генератор одно миллисекундных импульсов 2.5 формирователя 2 подключается к первому входу четвертого формирователя групп четырех миллисекундных частотных импульсов 2.4, первый вход четвертого формирователя групп четырех миллисекундных частотных импульсов 2.4 соединен с входом триггера четырех миллисекундного 48; выход триггера четырех миллисекундного 48 соединен параллельно с входом шестой линии задержки на 14 мс 49, а через тридцать первый вентиль В.31 и через первую линию задержки на 5 мс 43 со вторым входом первого элемента И 51.1, также выход триггера четырех миллисекундного 48 соединен через тридцать второй вентиль В.32 со вторым входом первого элемента И 51.1; выход шестой линии задержки на 14 мс 49 соединен параллельно с входом седьмой линии задержки на 19 мс 50, а также выход шестой линии задержки на 14 мс 49 через тридцать третий вентиль В.3З и через вторую линию задержки на 5 мс 44 соединен со вторым входом второго элемента И 51.2; также выход шестой линии задержки на 14 мс 49 соединен через тридцать четвертый вентиль В.34 и через третью линию задержки на 10мс 45 со вторым входом первого элемента И 51.1; а также выход шестой линии задержки на 14 мс 49 соединен через тридцать пятый вентиль В.35 со вторым входом первого элемента И 51.1; выход седьмой линии задержки на 19 мс 50 соединен параллельно через тридцать шестой вентиль В.36 и через четвертую линию задержки на 5 мс 46 со вторым входом первого элемента И 51.1, а выход седьмой линии задержки на 19 мс 50 соединен через тридцать седьмой вентиль В.37 и через четвертую линию задержки на 10мс 47 параллельно: через тридцать девятый вентиль В.39 со вторым выходом второго элемента И 51.2, а через сороковой вентиль В.40 со вторым выходом четвертого формирователя групп четырех миллисекундных частотных импульсов 2.4; кроме того выход седьмой линии задержки на 19 мс 50 соединен через тридцать восьмой вентиль В.38 со вторым входом второго элемента И 51.2; выход второго элемента И 51.2 соединен с выходом четвертого формирователя групп четырех миллисекундных частотных импульсов 2.4; второй вход четвертого формирователя групп четырех миллисекундных частотных импульсов 2.4 соединен параллельно с первым входом первого элемента И 51.1 и также через умножитель частоты на два 52 с первым входом второго элемента И 51.2; выход первого элемента И 51.1 соединен с первым выходом четвертого формирователя групп четырех миллисекундных частотных импульсов 2.4.
На Фиг. 22 представлено временное распределение импульсов и их длительность, которые формирует четвертый формирователь групп четырех миллисекундных частотных импульсов 2.4, где длительность всех импульсов, создаваемых третьим формирователем групп четырех миллисекундные с частотным заполнением импульсов, т.е. соответствует τ=4 мс, причем образовано три группы импульсов: первая группа два импульса, вторая - три и третья - три; расстояние между импульсами в каждой группе равно 1 мс и расстояние между группами 5 мс; заполнение (модуляция) импульсов обоснованной, рабочей частотой f1 генератора качающей частоты 1 (фиг. 1) в диапазоне частот от 10 Гц до 10МГц; причем второй импульс во второй группе, а также первый и третий импульсы в третьей группе заполнены удвоенной частотой 2f1.
На Фиг. 23 представлен формирователь импульсов временных 3, где первый формирователь групп одно и двух миллисекундных импульсов 3.1, второй формирователь групп двух и четырех миллисекундных импульсов 3.2, третий формирователь групп трех и шести миллисекундных импульсов 3.3, четвертый формирователь групп четырех и восьми миллисекундных импульсов 3.4, генератор одно миллисекундных импульсов 3.5, четыре четырех контактных включателя: Вк.1, Вк.2, Вк.3 и Вк.4; четыре элемента И: первый 3.6, второй 3.7, третий 3.8 и четвертый 3.9; четыре кнопки одноразового запуска работы четырех формирователей: Кн.1, Кн.2, Кн.3 и Кн.4; при этом выход генератора одно миллисекундных импульсов 3.5 соединен с первым входом первого формирователя групп одно и двух миллисекундных импульсов 3.1 через первый вход первого элемента И 3.6, параллельно выход генератора одно миллисекундных импульсов 3.5 соединен со вторым входом первого элемента И 3.6 через первую кнопку Кн.1 для одноразового запуска работы первого формирователя 3.1, первый выход первого формирователя групп одно и двух миллисекундных импульсов 3.1 соединен с выходом формирователя импульсов временных 3 через клеммы «с» и «д» первого четырех контактного включателя Вк.1, а второй выход первого формирователя групп одно и двух миллисекундных импульсов 3.1 соединен со вторым входом первого элемента И 3.6 через клеммы «а» и «б» первого четырех контактного включателя Вк. 1 для циклической работы первого формирователя групп одно и двух миллисекундных импульсов 3.1; выход генератора одно миллисекундных импульсов 3.5 соединен с первым входом второго формирователя групп двух и четырех миллисекундных импульсов 3.2 через первый вход второго элемента И 3.7, а также параллельно выход генератора одно миллисекундных импульсов 3.5 соединен со вторым входом второго элемента И 3.7 через вторую кнопку Кн.2 для одноразового запуска работы второго формирователя 3.2, первый выход второго формирователя групп двух и четырех миллисекундных импульсов 3.2 соединен с выходом формирователя импульсов временных 3 через клеммы «с» и «д» второго четырех контактного включателя Вк.2, а второй выход второго формирователя групп двух и четырех миллисекундных импульсов 3.2 соединен со вторым входом второго элемента И 3.7 через клеммы «а» и «б» второго четырех контактного включателя Вк.2 для циклической работы второго формирователя групп двух и четырех миллисекундных импульсов 3.2; выход генератора одно миллисекундных импульсов 3.5 соединен с первым входом третьего формирователя групп трех и шести миллисекундных импульсов 3.3 через первый вход третьего элемента И 3.8, параллельно выход генератора одно миллисекундных импульсов 3.5 соединен со вторым входом третьего элемента И 3.8 через третью кнопку Кн.3 для одноразового запуска работы третьего формирователя 3.3, первый выход третьего формирователя групп трех и шести миллисекундных импульсов 3.3 соединен с выходом формирователя импульсов временных 3 через клеммы «с» и «д» третьего четырех контактного включателя Вк.3, а второй выход третьего формирователя групп трех и шести миллисекундных импульсов 3.3 соединен со вторым входом третьего элемента И 3.8 через клеммы «а» и «б» третьего четырех контактного включателя Вк.3 для циклической работы третьего формирователя групп трех и шести миллисекундных импульсов 3.2; выход генератора одно миллисекундных импульсов 3.5 соединен с первым входом четвертого формирователя групп четырех и восьми миллисекундных импульсов 3.4 через первый вход четвертого элемента И 3.9, параллельно выход генератора одно миллисекундных импульсов 3.5 соединен со вторым входом четвертого элемента И 3.9 через четвертую кнопку Кн.4 одноразового запуска работы четвертого формирователя 3.4, первый выход четвертого формирователя групп четырех и восьми миллисекундных импульсов 3.4 соединен с выходом формирователь импульсов временных 3 через клеммы «с» и «д» четвертого четырех контактного включателя Вк.4, а второй выход четвертого формирователя групп четырех и восьми миллисекундных импульсов 3.4 соединен со вторым входом четвертого элемента И 3.9 через клеммы «а» и «б» четвертого четырех контактного включателя Вк.4 для циклической работы четвертого формирователя групп четырех и восьми миллисекундных импульсов 3.4.; вход формирователя импульсов временных 3 соединен параллельно со вторым входом первого формирователя групп одно и двух миллисекундных импульсов 3.1, со вторым входом второго формирователя групп двух и четырех миллисекундных импульсов 3.2, со вторым входом третьего формирователя групп трех и шести миллисекундных импульсов 3.3 и со вторым входом четвертого формирователя групп четырех и восьми миллисекундных импульсов 3.4.
На Фиг. 24 представлен первый формирователь групп одно и двух миллисекундных импульсов 3.1, где первый вентиль В.41, второй вентиль В.42, третий вентиль В.43, четвертый вентиль В.44, пятый вентиль В.45, шестой вентиль В.46, седьмой вентиль В.47, восьмой вентиль В.48, девятый вентиль В.49, первая линия задержки на 2 мс.53, вторая линия задержки на 8 мс 54, третья линия задержки на 13 мс 55, четвертая линия задержки на 22 мс 56, пятая линия задержки на 10мс 57, шестая линия задержки на 19 мс 58, седьмая линия задержки на 10мс 60, первый триггер на 1 мс 59, второй триггер на 2 мс 61, элемент И 62; при этом первой кнопкой Кн.1 (фиг. 23) для запуска первого триггера одно миллисекундного 1 мс 59 на короткое время генератор одно миллисекундных импульсов 3.5 формирователя 3 подключается к первому входу первого формирователя групп одно и двух миллисекундных импульсов 3.1; первый вход первого формирователя групп одно и двух миллисекундных импульсов 3.1 подключен к входу первого триггера одно миллисекундного 1 мс 59; выход первого триггера одно миллисекундного 1 мс 59 соединен параллельно по пяти линиям со вторым входом элемента И 62: по первой линии - через первый вентиль В.41; по второй линии - через первую линию задержки на 2 мс 53 и через второй вентиль В.42; по третьей линии - через седьмую линию задержки на 10мс 60 и через третий вентиль В.43; по четвертой линии через седьмую линию задержки на 10мс 60, вторую линию задержки на 8 мс 54 и через четвертый вентиль В.44; по пятой линии -через седьмую линию задержки на 10мс 60, через третью линию задержки на 13 мс 55 и через пятый вентиль 45; выход седьмой линии задержки на 10мс 60 соединен со вторым триггером на 2 мс 61; выход второго триггера на 2 мс 61 соединен по трем линиям со вторым входом элемента И 62: по первой линии - через четвертую линию задержки на 22 мс 56 и через шестой вентиль В.46; по второй линии - через пятую линию задержки на 10мс 57 и через седьмой вентиль В.47; по третьей линии - через шестую линию задержки на 19 мс 58, через восьмой вентиль В.48 и через девятый вентиль В.49; одновременно выход восьмого вентиля В.48 соединен со вторым выходом первого формирователя групп одно и двух миллисекундных импульсов 3.1; второй вход первого формирователя групп одно и двух миллисекундных импульсов 3.1 соединен с первым входом элемента И 62; выход элемента И 62 соединен с первым выходом первого формирователя групп одно и двух миллисекундных импульсов 3.1.
На Фиг. 25 представлено временное распределение импульсов и их длительность, которые формирует первый формирователь групп одно и двух миллисекундных импульсов 3.1, где длительность импульсов, создаваемых первым формирователем групп одно и двух миллисекундных импульсов с одинаковым частотным заполнением импульсов, т.е. соответствует τ=1 мс, и τ=2 мс, причем образовано три группы импульсов: первая группа два импульса, вторая - три и третья - три; расстояние между импульсами в каждой группе равно 1 мс и расстояние между группами 5 мс; заполнение (модуляция) импульсов обоснованной, рабочей частотой f1 генератора качающей частоты 1 (фиг. 1) в диапазоне частот от 10кГц до 10МГц; причем длительность первой группы из двух импульсов одинаковая и равна по 1 мс; два импульса первый и третий второй группы длительностью по 1 мс, а второй импульс в группе 2 мс; в третьей группе первый и третий длительностью по 2 мс, а второй импульс 1 мс.
На Фиг. 26 представлен второй формирователь групп двух и четырех миллисекундных импульсов 3.2, где первый вентиль В.50, второй вентиль В.51, третий вентиль В.52, четвертый вентиль В.53, пятый вентиль В.54, шестой вентиль В.55, седьмой вентиль В.56, восьмой вентиль В.57, девятый вентиль В.58, первая линия задержки на 3мс.63, вторая линия задержки на 10мс 64, третья линия задержки на 18 мс 65, четвертая линия задержки на 30мс 66, пятая линия задержки на 13 мс 67, шестая линия задержки на 25 мс 68, седьмая линия задержки на 10мс 70, первый триггер на 2 мс 69, второй триггер на 4 мс 71, элемент И 72, при этом второй кнопкой Кн.2 (фиг. 23) для запуска первого триггера двух миллисекундного 2 мс 69 на короткое время генератор одно миллисекундных импульсов 3.5 формирователя 3 подключается к первому входу второго формирователя групп двух и четырех миллисекундных импульсов 3.2; первый вход второго формирователя групп двух и четырех миллисекундных импульсов 3.2 соединен со входом первого триггера на 2 мс 69; выход первого триггера на 2 мс 69 соединен параллельно по пяти линиям со вторым входом элемента И 72: по первой линии - через первый вентиль В.50; по второй линии - через первую линию задержки на 3мс 63 и через второй вентиль В.51; по третьей линии -через седьмую линию задержки на 10мс 70 и через третий вентиль В.52; по четвертой линии - через седьмую линию задержки на 10мс 70, через вторую линию задержки на 10мс 64 и через четвертый вентиль В.53; по пятой линии - через седьмую линию задержки на 10мс 70, через третью линию задержки на 18 мс 65 и через пятый вентиль В.54; кроме того, выход первого триггера на 2 мс 69 соединен с входом второго триггера на 4 мс 71 через седьмую линию задержки на 10мс 70; выход второго триггера на 4 мс 71 соединен по трем линиям со вторым входом элемента И 72: по первой линии -через четвертую линию задержки на 30мс 66 и через шестой вентиль В.55; по второй линии - через пятую линию задержки на 13 мс 67 и через седьмой вентиль В.56; по третьей линии - через шестую линию задержки на 25 мс 68, через восьмой вентиль В.57 и через девятый вентиль В.58; одновременно выход восьмого вентиля 58 соединен со вторым выходом второго формирователя групп двух и четырех миллисекундных импульсов 3.2; второй вход второго формирователя групп двух и четырех миллисекундных импульсов 3.2 соединен с первым входом элемента И72; выход элемента И 72 соединен с первым выходом второго формирователя групп двух и четырех миллисекундных импульсов 3.2.
На Фиг. 27 представлено временное распределение импульсов и их длительность, которые формирует второй формирователь групп двух и четырех миллисекундных импульсов 3.2, где длительность импульсов, создаваемых вторым формирователем групп двух и четырех миллисекундных импульсов с одинаковым частотным заполнением импульсов, т.е. соответствует τ=2 мс, и τ=4 мс, причем образовано три группы импульсов: первая группа два импульса, вторая группа - три и третья группа -три; расстояние между импульсами в каждой группе равно 1 мс и расстояние между группами 5 мс; заполнение (модуляция) импульсов обоснованной, рабочей частотой f1 генератора качающей частоты 1 (фиг. 1) в диапазоне частот от 10кГц до 10МГц; причем длительность первой группы из двух импульсов одинаковая и равна по 2 мс; два импульса первый и третий второй группы длительностью по 2 мс, а второй импульс во второй группе 4 мс; в третьей группе первый и третий длительностью по 4 мс, а второй импульс 2 мс.
На Фиг. 28 представлен третий формирователь групп трех и шести миллисекундных импульсов 3.3, где первый вентиль В.59, второй вентиль В.60, третий вентиль В.61, четвертый вентиль В.62, пятый вентиль В.63, шестой вентиль В.64, седьмой вентиль В.65, восьмой вентиль В.66, девятый вентиль В.67, первая линия задержки на 4 мс.73, вторая линия задержки на 23 мс 74, третья линия задержки на 37 мс 75, четвертая линия задержки на 15 мс 76, пятая линия задержки на 11мс 77, шестая линия задержки на 4 мс 78, седьмая линия задержки на 12 мс 80, первый триггер на 3мс 79, второй триггер на 6мс 81, элемент И 82, при этом третьей кнопкой Кн.3 (фиг. 23) для запуска первого триггера трех миллисекундного 3мс 79 на короткое время генератор одно миллисекундных импульсов 3.5 формирователя 3 подключается к первому входу третьего формирователя групп трех и шести миллисекундных импульсов 3.3; первый вход третьего формирователя групп трех и шести миллисекундных импульсов 3.3 соединен со входом первого триггера на 3мс 79; выход первого триггера на 3 мс 79 соединен параллельно по пяти линиям со вторым входом элемента И 82: по первой линии - через первой вентиль В.59; по второй линии - через первую линию задержки на 4 мс 73 и через второй вентиль В.60; по третьей линии - через седьмую линию задержки на 12 мс 80 и через третий вентиль В.61; по четвертой линии -через седьмую линию задержки на 12 мс 80, через вторую линию задержки на 23 мс 74, и через четвертый вентиль В.62; по пятой линии - через седьмую линию задержки на 12 мс 80, через третью линию задержки на 37 мс 75, и через пятый вентиль В.63; кроме того, выход седьмой линии задержки на 12 мс 80 соединен с входом второго триггера на 6 мс 81; выход второго триггера на 6 мс 81 соединен по трем линиям со вторым входом элемента И 82: по первой линии - через четвертую линию задержки на 15 мс 76 и через шестой вентиль В.64; по второй линии - через пятой линию задержки на 11мс 77 и через седьмой вентиль В.65; по третьей линии - через седьмую линию задержки на 4 мс 78, через восьмой вентиль В.66 и через девятый вентиль В.67; одновременно выход восьмого вентиля В.66 соединен со вторым выходом третьего формирователя групп трех и шести миллисекундных импульсов 3.3; второй вход третьего формирователя групп трех и шести миллисекундных импульсов 3.3 соединен с первым входом элемента И 82; выход элемента И 82 соединен с первым выходом третьего формирователя групп трех и шести миллисекундных импульсов 3.3.
На Фиг. 29 представлено временное распределение импульсов и их длительность, которые формирует третий формирователь групп трех и шести миллисекундных импульсов 3.3, где длительность импульсов, создаваемых третьим формирователем групп трех и шести миллисекундных импульсов с одинаковым частотным заполнением импульсов, т.е. соответствует τ=3 мс, и τ=6 мс, причем образовано три группы импульсов: первая группа два импульса, вторая группа - три и третья группа - три; расстояние между импульсами в каждой группе равно 1 мс и расстояние между группами 5 мс; заполнение (модуляция) импульсов обоснованной, рабочей частотой f1 генератора качающей частоты 1 (фиг. 1) в диапазоне частот от 10кГц до 10МГц; причем длительность первой группы из двух импульсов одинаковая и равна по 3мс; два импульса первый и третий второй группы длительностью по 3мс, а второй импульс во второй группе 6мс; в третьей группе первый и третий длительностью по 6мс, а второй импульс 3мс.
На Фиг. 30 представлен четвертый формирователь групп четырех и восьми миллисекундных импульсов 3.4, где первый вентиль В.68, второй вентиль В.69, третий вентиль В.70, четвертый вентиль В.71, пятый вентиль В.72, шестой вентиль В.73, седьмой вентиль В.74, восьмой вентиль В.75, девятый вентиль В.76, первая линия задержки на 5 мс.83, вторая линия задержки на 14 мс 84, третья линия задержки на 32 мс 85, четвертая линия задержки на 5 мс 86, пятая линия задержки на 23 мс 87, шестая линия задержки на 37 мс 88, седьмая линия задержки на 14 мс 90, первый триггер на 4 мс 89, второй триггер на 8 мс 91, элемент И 92, при этом четвертой кнопкой Кн.4 (фиг. 23) для запуска первого триггера четырех миллисекундного 4 мс 89 на короткое время генератор одно миллисекундных импульсов 3.5 формирователя 3 подключается к первому входу четвертого формирователя групп четырех и восьми миллисекундных импульсов 3.4; первый вход четвертого формирователя групп четырех и восьми миллисекундных импульсов 3.4 соединен со входом первого триггера на 4 мс 89; выход первого триггера на 4 мс 89 соединен параллельно по пяти линиям со вторым входом элемента И 92: по первой линии - через первой вентиль В.68; по второй линии - через первую линию задержки на 5 мс 83 и через второй вентиль В.69; по третьей линии - через седьмую линию задержки на 14 мс 90 и через третий вентиль В.70; по четвертой линии - через седьмую линию задержки на 14 мс 90, через вторую линии задержки на 14 мс 84 и через четвертый вентиль В.71; по пятой линии - через седьмую линию задержки на 14 мс 90, через третью линию задержки на 32 мс 85 и через пятый вентиль В.72; кроме того, выход седьмой линии задержки на 14 мс 90 соединен с входом второго триггера на 8 мс 91; выход второго триггера на 8 мс 91 соединен по трем линиям со вторым входом элемента И 92: по первой линии - через четвертую линию задержки на 5 мс 86 и через шестой вентиль В.73; по второй линии - через пятую линию задержки на 23 мс 87 и через седьмой вентиль В.74; по третьей линии - через шестую линию задержки на 37 мс 88, через восьмой вентиль В.75 и через девятый вентиль В.76; одновременно выход восьмого вентиля В.75 параллельно соединен со вторым выходом четвертого формирователя групп четырех и восьми миллисекундных импульсов 3.4; второй вход четвертого формирователя групп четырех и восьми миллисекундных импульсов 3.4 соединен с первым входом элемента И 92; выход элемента И 92 соединен с первым выходом четвертого формирователя групп четырех и восьми миллисекундных импульсов 3.4.
На Фиг. 31 представлено временное распределение импульсов и их длительность, которые формирует четвертый формирователь групп четырех и восьми миллисекундных импульсов 3.4, где длительность импульсов, создаваемых четвертым формирователем групп четырех и восьми миллисекундных импульсов с одинаковым частотным заполнением импульсов, т.е. соответствует τ=4 мс, и τ=8 мс, причем образовано три группы импульсов: первая группа два импульса, вторая группа - три и третья группа - три; расстояние между импульсами в каждой группе равно 1 мс и расстояние между группами 5 мс; заполнение (модуляция) импульсов обоснованной, рабочей частотой f1 генератора качающей частоты 1(фиг. 1) в диапазоне частот от 10кГц до 10МГц; причем длительность первой группы из двух импульсов одинаковая и равна по 4 мс; два импульса первый и третий второй группы длительностью по 4 мс, а второй импульс во второй группе 8 мс; в третьей группе первый и третий длительностью по 8 мс, а второй импульс 4 мс.
На Фиг. 32 представлен блок выбора режима работы 4, где трансформатор Тр.1 с тремя первичными обмотками и одной вторичной обмоткой, при этом первый вход блока выбора режима работы 4 соединен с клеммой «б1» первой первичной обмотки трансформатора Тр.1, а клеммой первая первичная обмотка трансформатора Тр.1 заземлена; второй вход блока выбора режима работы 4 соединен с клеммой «б2» второй первичной обмотки трансформатора Тр.1, а клеммой «a2» вторая первичная обмотка мотка трансформатора Тр.1 заземлена; третий вход блока выбора режима работы 4 соединен с клеммой «63» третьей первичной обмотки трансформатора Тр.1, а клеммой «а3» третья первичная обмотка трансформатора Тр.1 заземлена; вторичная обмотка трансформатора Тр.1 клеммой «д» соединена с выходом блока выбора режима работы 4, а клеммой «с» вторичная обмотка трансформатора Тр.1 заземлена.
На Фиг. 33 представлено согласующее устройство передающей системы 5.2, где трансформатор Тр. 1 с первичной обмоткой 1 и N вторичными обмотками, при этом вход согласующего устройства передающей системы 5.2 соединен с клеммой «С» первичной обмотки 1 трансформатора Тр.1, клемма «Д» этой первичной обмотки трансформатора Тр.1 заземлена; выход 71 согласующего устройства передающей системы 5.2 соединен с клеммой «a1» первой вторичной обмотки 1 трансформатора Тр.1, а клемма «b1» этой первой вторичной обмотки - заземлена; выход 1 г согласующего устройства передающей системы 5.2 соединен с клеммой «а2» второй вторичной обмотки 2 трансформатора Тр.1, а клемма «в2» этой второй вторичной обмотки - заземлена; выход 73 согласующего устройства передающей системы 5.2 соединен с клеммой «а3» третьей вторичной обмотки 3 трансформатора Тр.1, а клемма «в3» этой третьей вторичной обмотки - заземлена; выход 7N-1 согласующего устройства передающей системы 5.2 соединен с клеммой «aN-1» N-1 вторичной обмотки трансформатора Тр.1, а клемма «bN-1» этой N-1 вторичной обмотки - заземлена; выход 7N согласующего устройства передающей системы 5.2 соединен с клеммой «aN» N вторичной обмотки трансформатора Тр.1, а клемма «вN» этой N вторичной обмотки -заземлена.
На Фиг. 34 представлен формирователь информации приемной системы 9, где 9.1 - согласующее устройство первой синфазной приемной антенной линейки, содержащей информацию от первой линейки от 611 по N антенну 61N; 9.2 - согласующее устройство второй синфазной приемной антенной линейки, содержащей информацию от второй антенной линейки от 621 по N антенну 621 ч; 9.3 - согласующее устройство третьей синфазной приемной антенной линейки, содержащей информацию от третьей антенной линейки от 631 по N антенну 63N; 9.N-1 - согласующее устройство N-1 синфазной приемной антенной линейки, содержащей информацию от N-1 антенной линейки от 6N-1.1 по N антенну 6N-1.N; 9.N - согласующее устройство N синфазной приемной антенной линейки, содержащей информацию от N антенной линейки от 6N1 по N антенну 6NN; 9.0 - усилитель в каждой из N приемных линеек; 9.00 - согласующее устройство приемной антенной системы; при этом первый вход формирователя информации приемной системы 9 соединен через первый вход согласующего устройства первой синфазной приемной антенной линейки 9.1, через усилитель 9.0 с первым входом согласующего устройства приемной антенной системы 9.00; второй вход формирователя информации приемной системы 9 соединен через первый вход согласующего устройства второй синфазной приемной антенной линейки 9.2, через усилитель 9.0 со вторым входом согласующего устройства приемной антенной системы 9.00; третий вход формирователя информации приемной системы 9 соединен через первый вход согласующего устройства третьей синфазной приемной антенной линейки 9.3, через усилитель 9.0 с третьим входом согласующего устройства приемной антенной системы 9.00; n-1 вход формирователя информации приемной системы 9 соединен через первый вход согласующего устройства N-1 синфазной приемной антенной линейки 9.N-1, через усилитель 9.0 с n-1 входом согласующего устройства приемной антенной системы 9.00; n вход формирователя информации приемной системы 9 соединен через первый вход согласующего устройства N синфазной приемной антенной линейки 9.N, через усилитель 9.0 с n входом согласующего устройства приемной антенной системы 9.00; n-1 вход формирователя информации приемной системы 9 соединен параллельно со вторым входом согласующего устройства первой синфазной приемной антенной линейки 9.1, со вторым входом согласующего устройства второй синфазной приемной антенной линейки 9.2, со вторым входом согласующего устройства третьей синфазной приемной антенной линейки 9.3, со вторым входом согласующего устройства N-1 синфазной приемной антенной линейки 9.N-1, со вторым входом согласующего устройства N синфазной приемной антенной линейки 9.N; выход согласующего устройства приемной антенной системы 9.00 соединен с выходом формирователя информации приемной системы 9; П2 вход формирователя информации приемной системы 9 соединен параллельно с (n+1) входом согласующего устройства приемной антенной системы 9.00, обеспечивая анализ информации от внешних приемных кабелей для блоков: 5.3.1, 5.3.3 и 5.4.1.
На Фиг. 35 представлено согласующее устройство для антенн первой синфазной приемной антенной линейки 9.1 (идентично для второй 9.2; третьей 9.3;…; 9.N-1; 9.N), где блок коммутации 9.а, трансформатор Тр.1 с одной вторичной обмоткой и N первичными обмотками, при этом вход один-один 1.1 согласующего устройства 9.1, как выход первой антенны 611 из первой синфазной приемной антенной линейке 611-61N, соединен через первый вход блока коммутации 9.а с клеммой «а1» первой первичной обмотки трансформатора Тр.1, а клемма «в1» первой первичной обмотки заземлена; вход один-два 1.2 согласующего устройства 9.1, как выход второй антенны 621 из первой синфазной приемной антенной линейки 611-61N, соединен через первый вход блока коммутации 9.а с клеммой «а2 » второй первичной обмотки воздушного трансформатора Тр.1, а клемма « в2» второй первичной обмотки заземлена; вход один-три 1.3 согласующего устройства 9.1, как выход третьей антенны 631 из первой синфазной приемной антенной линейки 611-61N, соединен через первый вход блока коммутации 9.а с клеммой «а3» третьей первичной обмотки трансформатора Тр.1, клемма «в3» третьей первичной обмотки заземлена; вход 1.n-1 согласующего устройства 9.1, как выход N-1 антенны 6N-1.1 из первой синфазной приемной антенной линейки 611-61N, соединен через первый вход блока коммутации 9.а с клеммой «aN-1» N-1 первичной обмотки трансформатора Тр.1, а клемма «вN-1» N-1 первичной обмотки заземлена; вход один-n 1.n согласующего устройства 9.1, как выход N приемной антенны 6 N1 из первой синфазной приемной антенной линейки 611-6N-1, соединен через первый вход блока коммутации 9.а с клеммой « aN » N первичной обмотки трансформатора Тр.1, а клемма « вN » N первичной обмотки заземлена; второй вход 2 согласующего устройства 9.1 соединен параллельно со вторыми входами всех N блоков коммутации 9.а; клемма «K» вторичной обмотки трансформатора Тр. 1 соединена с выходом согласующего устройства 9.1, а клемма «М» вторичной обмотки трансформатора Тр.1 заземлена.
На Фиг. 36 представлен блок коммутации 9.а, где 9.а.1 - элемент И, 9.а.2 - элемент НЕ, при этом первый вход блока коммутации 9.а соединен с первым входом элемента И, а второй вход блока коммутации 9.а через элемент НЕ 9.а.2 соединен со вторым входом элемента И 9.а.1; выход элемента И 9.а.1 соединен с выходом блока коммутации 9.а.
На Фиг. 37 представлено согласующее устройство приемной антенной системы 9.00, где трансформатор Тр.1 с «n+1» первичными обмотками и одной вторичной обмоткой, при этом первый вход 1 согласующего устройства приемной антенной системы 9.00, как выход первой синфазной приемной антенной линейки 611-61N, соединен клеммой «a1» первой первичной обмотки трансформатора Тр.1, а клемма «в1» первой первичной обмотки трансформатора Тр.1 заземлена; второй вход 2 согласующего устройства приемной антенной системы 9.00, как выход второй синфазной приемной антенной линейки 621-62N, соединен с клеммой «а2» второй первичной обмотки трансформатора Тр.1, а клемма «в2» второй первичной обмотки трансформатора Тр.1 заземлена; третий вход согласующего устройства приемной антенной системы 9.00, как выход третьей синфазной приемной антенной линейки 631-63N, соединен с клеммой «a3» третьей первичной обмотки трансформатора Тр.1, а клемма «в3» третьей первичной обмотки трансформатора Тр.1 заземлена «n-1» вход согласующего устройства приемной антенной системы 9.00, как выход N-1 синфазной приемной антенной линейки 6(N-1)1-6(N-1)N, соединен с клеммой «aN-1» N-1 первичной обмотки трансформатора Тр.1, а клемма «вN-1» N-1 первичной обмотки трансформатора Тр.1 заземлена; «n» вход согласующего устройства приемной антенной системы 9.00, как выход N синфазной приемной антенной линейки 6N1-6NN, соединен с клеммой «aN» N первичной обмотки трансформатора Тр. 1, а клемма «вN» N первичной обмотки трансформатора Тр.1 заземлена; «n+1» вход согласующего устройства приемной антенной системы 9.00 соединен через клемму «К2» «n+1» первичной обмоткой трансформатора Тр.1, а клемма «K1» этой «n+1» первичной обмотки трансформатора Тр.1 заземлена; «n+1» вход обеспечивает прием информации ЯКР с выхода блок согласования для внешних приемных кабелей 5.5, полученного от внешних приемных элементов: внешнего приемоизлучающего кабель 5.3.1, внешнего приемного кабеля - 5.3.3, внешней экранированной камеры с возможностью исследования переносимых грузов -5.4.1; клемма «С» вторичной обмотки трансформатора Тр.1 соединена с выходом согласующего устройства приемной антенной системы 9.00, а клемма «Д» вторичной обмотки трансформатора Тр. 1 заземлена.
На фиг. 38 представлен блок фильтров 10 на десять каналов, где 10.1 - первый полосовой фильтр на частоты 1-10кГц, 10.2 - второй полосовой фильтр на частоты 10-50кГц, 10.3 - третий полосовой фильтр на частоты 50-100кГц, 10.4 - четвертый полосовой фильтр на частоты 100-200кГц, 10.5 - пятый полосовой фильтр на частоты 200-400кГц, 10.6 - шестой полосовой фильтр на частоты 400-800кГц, 10.7 - седьмой полосовой фильтр на частоты 800-1000кГц, 10.8 - восьмой полосовой фильтр на частоты 1-10МГц, 10.9 - девятый полосовой фильтр на частоты 10-20МГц, 10-10 - десятый полосовой фильтр на частоты 20-40МГц; 10.11 - первый узкополосный усилитель на полосу частот 1-10кГц., 10.12 - второй узкополосный усилитель на полосу частот 10-50кГц, 10.13 - третий узкополосный усилитель на полосу частот 50-100кГц, 10.14 -четвертый узкополосный усилитель на полосу частот 100-200кГц, 10.15 - пятый узкополосный усилитель на полосу частот 200-400кГц, 10.16 - шестой узкополосный усилитель на полосу частот 400-800кГц, 10.17 - седьмой узкополосный усилитель на полосу частот 800-1000кГц, 10.18 - восьмой узкополосный усилитель на полосу частот 1-10МГц, 10.19 - девятый узкополосный усилитель на полосу частот 10-20МГц, 10.20 - десятый узкополосный усилитель на полосу частот 20-40МГц; каждый из десяти полосовых фильтров, с первого 10.1 по десятый 10.10, содержит два резистора R1 и R2 и два гиратора емкостных ГC1 и ГC2, при этом вход блока фильтров на десять каналов 10 соединен параллельно с десятью входами десяти полосовых фильтров с первого 10.1 по десятый 10.10; выходы десяти полосовых фильтров через десять узкополосных усилителей образуют десять выходов блока фильтров на десять каналов 10; вход блока фильтров на десять каналов 10 через выход первого полосного фильтра 10.1 с полосой пропускания от 1кГц до 10кГц соединен с первым выходом блока фильтров через первый узкополосный усилитель 10.11; вход блока фильтров на десять каналов 10 через выход второго полосового фильтра 10.2 с полосой пропускания от 10 кГц до 50кГц соединен со вторым выходом блока фильтров 10 через второй узкополосный усилитель 10.12; вход блока фильтров на десять каналов 10 через выход третьего полосового фильтра 10.3 с полосой пропускания от 50кГц до 100кГц соединен с третьим выходом блока фильтров 10 через третий узкополосный усилитель 10.13; вход блока фильтров на десять каналов 10 через выход четвертого полосового фильтра 10.4 с полосой пропускания от 100кГц до 200кГц соединен с четвертым выходом блока фильтров 10 через четвертый узкополосный усилитель 10.14; вход блока фильтров на десять каналов 10 через выход пятого полосового фильтра 10.5 с полосой пропускания от 200кГц до 400кГц соединен с пятым выходом блока фильтров 10 через пятый узкополосный усилитель 10.15; вход блока фильтров на десять каналов 10 через выход шестого полосового фильтра 10.6 с полосой пропускания от 400кГц до 800кГц соединен с шестым выходом блока фильтров 10 через шестой узкополосный усилитель 10.16; вход блока фильтров на десять каналов 10 через выход седьмого полосового фильтра 10.7 с полосой пропускания от 800 кГц до 1000кГц соединен с седьмым выходом блока фильтров 10 через седьмой узкополосный усилитель 10.17; вход блока фильтров на десять каналов 10 через выход восьмого полосового фильтра 10.8 с полосой пропускания от 1.0 до 10 МГц соединен с восьмым выходом блока фильтров 10 через восьмой узкополосный усилитель 10.18; вход блока фильтров на десять каналов 10 через выход девятого полосового фильтра 10.9 с полосой пропускания от 10 до 20МГц соединен с девятым выходом блока фильтров 10 через девятый узкополосный усилитель 10.19; вход блока фильтров на десять каналов 10 через выход десятого полосового фильтра 10.10 с полосой пропускания от 20 до 40МГц соединен с десятым выходом блока фильтров 10 через десятый узкополосный усилитель 10.20; вход каждого из десяти полосовых фильтров, с первого 10.1 по десятый 10.10, соединен через клемму «с» с клеммой «д», клемма «д» соединена через первый емкостной гиратор ГC1 и через первый резистор R1 с выходом полосового фильтра, а через второй резистор R2 клемма «д» заземлена, при этом клемма «с» через второй емкостной гиратор ГC2 заземлена(фиг. 38, (а)).
На Фиг. 39 представлен блок анализа спектра ядерного квадрупольного резонанса излучения 11, содержащий десять колебательных систем с первой 11.1 по десятую 11.10 и десять групп по пять индикаторов в каждой группе, или пятьдесят индикаторов (светодиодов) от И. 1-1 до И. 10-5, по пять индикаторов для каждой колебательной системы, а также десять групп по пять фиксаторов резонанса в каждой группе или пятьдесят фиксаторов резонанса 1 (фотодиодов 1), кроме того, десять индикаторов обоснования частоты резонанса с первого индикатора И. 1-6 по десятый И. 10-6; при этом первый вход блока анализа спектра ядерного квадрупольного резонанса 11 соединен с входом первой колебательной системы 11.1 на частотах 1-10кГц, первый выход первой колебательной системы 11.1 соединен с первыми входами первой группы из пяти индикаторов с И. 1-1 по И. 1-5, а второй выход первой колебательной системы 11.1 соединен со вторыми входами первой группы из пяти индикаторов с И. 1-1 по И. 1-5, третий выход первой колебательной системы соединен с первым выходом блока анализа спектра ядерного квадрупольного резонанса 11, четвертый выход первой колебательной системы 11.1 соединен параллельно с первым, вторым, четвертым, пятым, седьмым, восьмым, десятым, одиннадцатым, тринадцатым, и четырнадцатым входами первого индикатора обоснования частоты И. 1-6; выход фиксатора резонанса 1 (фотодиода 1) первого индикатора определенного светодиодом в первой группе И. 1-1 соединен с третьим входом первого индикатора обоснования частоты резонанса И. 1-6; выход фиксатора резонанса 1 (фотодиода 1) второго индикатора определенного светодиодом в первой группе И. 1-2 соединен с шестым входом первого индикатора обоснования частоты резонанса И. 1-6; выход фиксатора резонанса 1 (фотодиода 1) третьего индикатора определенного светодиодом в первой группе И. 1-3 соединен с девятым входом первого индикатора обоснования частоты резонанса И. 1-6; выход фиксатора резонанса 1 (фотодиода 1) четвертого индикатора определенного светодиодом в первой группе И. 1-4 соединен с двенадцатым входом первого индикатора обоснования частоты резонанса И. 1-6; выход фиксатора резонанса 1 (фотодиода 1) пятого индикатора определенного светодиодом в первой группе И. 1-5 соединен с пятнадцатым входом первого индикатора обоснования частоты резонанса И. 1-6; выход первого индикатора обоснования частоты И. 1-6 соединен с первым условным выходом 1.1 блока анализа спектра ядерного квадрупольного резонанса излучения 11; второй вход блока анализа ядерного квадрупольного резонанса 11 соединен с входом второй колебательной системы 11.2 на частотах 10-50кГц, первый выход второй колебательной системы 11.2 соединен с первыми входами второй группы из пяти индикаторов с И.2-1 по И.2-5, а второй выход второй колебательной системы 11.2 соединен со вторыми входами второй группы из пяти индикаторов с И.2-1 по И.2-5, третий выход второй колебательной системы 11.2 соединен со вторым выходом блока анализа спектра ядерного квадрупольного резонанса 11; четвертый выход второй колебательной системы 11.2 соединен параллельно с первым, вторым, четвертым, пятым, седьмым, восьмым, десятым, одиннадцатым, тринадцатым, и четырнадцатым входами второго индикатора обоснования частоты И.2-6; выход фиксатора резонанса 1 (фотодиода 1) первого индикатора определенного светодиодом во второй группе И.2-1 соединен с третьим входом второго индикатора обоснования частоты резонанса И.2-6; выход фиксатора резонанса 1 (фотодиода 1) второго индикатора определенного светодиодом во второй группе И.2-2 соединен с шестым входом второго индикатора обоснования частоты резонанса И.2-6; выход фиксатора резонанса 1 (фотодиода 1) третьего индикатора определенного светодиодом во второй группе И.2-3 соединен с девятым входом второго индикатора обоснования частоты резонанса И.2-6; выход фиксатора резонанса 1 (фотодиода 1) четвертого индикатора определенного светодиодом во второй группе И.2-4 соединен с двенадцатым входом второго индикатора обоснования частоты резонанса И.2-6; выход фиксатора резонанса 1 (фотодиода 1) пятого индикатора определенного светодиодом во второй группе И.2-5 соединен с пятнадцатым входом второго индикатора обоснования частоты резонанса И.2-6; выход второго индикатора обоснования частоты И.2-6 соединен со вторым условным выходом 2.1 блока анализа спектра ядерного квадрупольного резонанса излучения 11; третий вход блока анализа ядерного квадрупольного резонанса 11 соединен с входом третьей колебательной системы 11.3 на частотах 50-100кГц, первый выход третьей колебательной системы 11.3 соединен с первыми входами третьей группы из пяти индикаторов с И.3-1 по И.3-5, а второй выход третьей колебательной системы 11.3 соединен со вторыми входами третьей группы из пяти индикаторов с И.3-1 по И.3-5, третий выход третьей колебательной системы 11.3 соединен с третьим выходом блока анализа спектра ядерного квадрупольного резонанса 11; четвертый выход третьей колебательной системы 11.3 соединен параллельно с первым, вторым, четвертым, пятым, седьмым, восьмым, десятым, одиннадцатым, тринадцатым, и четырнадцатым входами третьего индикатора обоснования частоты И.3-6; выход фиксатора резонанса 1 (фотодиода 1) первого индикатора определенного светодиодом в третьей группе И.3-1 соединен с третьим входом третьего индикатора обоснования частоты резонанса И.3-6; выход фиксатора резонанса 1 (фотодиода 1) второго индикатора определенного светодиодом в третьей группе И.3-2 соединен с шестым входом третьего индикатора обоснования частоты резонанса И.3-6; выход фиксатора резонанса 1 (фотодиода 1) третьего индикатора определенного светодиодом в третьей группе И.3-3 соединен с девятым входом третьего индикатора обоснования частоты резонанса И.3-6; выход фиксатора резонанса 1 (фотодиода 1) четвертого индикатора определенного светодиодом в третьей группе И.3-4 соединен с двенадцатым входом третьего индикатора обоснования частоты резонанса И.3-6; выход фиксатора резонанса 1 (фотодиода 1) пятого индикатора определенного светодиодом в третьей группе И.3-5 соединен с пятнадцатым входом третьего индикатора обоснования частоты резонанса И.3-6; выход третьего индикатора обоснования частоты И.3-6 соединен с третьим условным выходом 3.1 блока анализа спектра ядерного квадрупольного резонанса излучения 11; четвертый вход блока анализа ядерного квадрупольного резонанса 11 соединен с входом четвертой колебательной системы 11.4 на частотах 100-200кГц, первый выход четвертой колебательной системы 11.4 соединен с первыми входами четвертой группы из пяти индикаторов с И.4-1 по И.4-5, а второй выход четвертой колебательной системы 11.4 соединен со вторыми входами четвертой группы из пяти индикаторов с И.4-1 по И.4-5, третий выход четвертой колебательной системы 11.4 соединен с четвертым выходом блока анализа спектра ядерного квадрупольного резонанса 11; четвертый выход четвертой колебательной системы 11.4 соединен параллельно с первым, вторым, четвертым, пятым, седьмым, восьмым, десятым, одиннадцатым, тринадцатым, и четырнадцатым входами четвертого индикатора обоснования частоты И.4-6; выход фиксатора резонанса 1 (фотодиода 1) первого индикатора определенного светодиодом в четвертой группе И.4-1 соединен с третьим входом четвертого индикатора обоснования частоты резонанса И.4-6; выход фиксатора резонанса 1 (фотодиода 1) второго индикатора определенного светодиодом в четвертой группе И.4-2 соединен с шестым входом четвертого индикатора обоснования частоты резонанса И.4-6; выход фиксатора резонанса 1 (фотодиода 1) третьего индикатора определенного светодиодом в четвертой группе И.4-3 соединен с девятым входом четвертого индикатора обоснования частоты резонанса И.4-6; выход фиксатора резонанса 1 (фотодиода 1) четвертого индикатора определенного светодиодом в четвертой группе И.4-4 соединен с двенадцатым входом четвертого индикатора обоснования частоты резонанса И.4-6; выход фиксатора резонанса 1 (фотодиода 1) пятого индикатора определенного светодиодом в четвертой группе И.4-5 соединен с пятнадцатым входом четвертого индикатора обоснования частоты резонанса И.4-6; выход четвертого индикатора обоснования частоты И.4-6 соединен с четвертым условным выходом 4.1 блока анализа спектра ядерного квадрупольного резонанса излучения 11; пятый вход блока анализа ядерного квадрупольного резонанса 11 соединен с входом пятой колебательной системы 11.5 на частотах 200-400кГц, первый выход пятой колебательной системы 11.5 соединен с первыми входами пятой группы из пяти индикаторов с И.5-1 по И.5-5, а второй выход пятой колебательной системы 11.5 соединен со вторыми входами пятой группы из пяти индикаторов с И.5-1 по И.5-5, третий выход пятой колебательной системы 11.5 соединен с пятым выходом блока анализа спектра ядерного квадрупольного резонанса 11; четвертый выход пятой колебательной системы 11.5 соединен параллельно с первым, вторым, четвертым, пятым, седьмым, восьмым, десятым, одиннадцатым, тринадцатым, и четырнадцатым входами пятого индикатора обоснования частоты И.5-6; выход фиксатора резонанса 1 (фотодиода 1) первого индикатора определенного светодиодом в пятой группе И.5-1 соединен с третьим входом пятого индикатора обоснования частоты резонанса И.5-6; выход фиксатора резонанса 1 (фотодиода 1) второго индикатора определенного светодиодом в пятой группе И.5-2 соединен с шестым входом пятого индикатора обоснования частоты резонанса И.5-6; выход фиксатора резонанса 1 (фотодиода 1) третьего индикатора определенного светодиодом в пятой группе И.5-3 соединен с девятым входом пятого индикатора обоснования частоты резонанса И.5-6; выход фиксатора резонанса 1 (фотодиода 1) четвертого индикатора определенного светодиодом в пятой группе И.5-4 соединен с двенадцатым входом пятого индикатора обоснования частоты резонанса И.5-6; выход фиксатора резонанса 1 (фотодиода 1) пятого индикатора определенного светодиодом в пятой группе И.5-5 соединен с пятнадцатым входом пятого индикатора обоснования частоты резонанса И.5-6; выход пятого индикатора обоснования частоты И.5-6 соединен с пятым условным выходом 5.1 блока анализа спектра ядерного квадрупольного резонанса излучения 11; шестой вход блока анализа ядерного квадрупольного резонанса 11 соединен с входом шестой колебательной системы 11.6 на частотах 400-800кГц, первый выход шестой колебательной системы 11.6 соединен с первыми входами шестой группы из пяти индикаторов с И.6-1 по И.6-5, а второй выход шестой колебательной системы соединен со вторыми входами шестой группы из пяти индикаторов с И.6-1 по И.6-5, третий выход шестой колебательной системы 11.6 соединен с шестым выходом блока анализа спектра ядерного квадрупольного резонанса 11; четвертый выход шестой колебательной системы 11.6 соединен параллельно с первым, вторым, четвертым, пятым, седьмым, восьмым, десятым, одиннадцатым, тринадцатым, и четырнадцатым входами шестого индикатора обоснования частоты И.6-6; выход фиксатора резонанса 1 (фотодиода 1) первого индикатора определенного светодиодом в шестой группе И.6-1 соединен с третьим входом шестого индикатора обоснования частоты резонанса И.6-6; выход фиксатора резонанса 1 (фотодиода 1) второго индикатора определенного светодиодом в шестой группе И.6-2 соединен с шестым входом шестого индикатора обоснования частоты резонанса И.6-6; выход фиксатора резонанса 1 (фотодиода 1) третьего индикатора определенного светодиодом в шестой группе И.6-3 соединен с девятым входом шестого индикатора обоснования частоты резонанса И.6-6; выход фиксатора резонанса 1 (фотодиода 1) четвертого индикатора определенного светодиодом в шестой группе И.6-4 соединен с двенадцатым входом шестого индикатора обоснования частоты резонанса И.6-6; выход фиксатора резонанса 1 (фотодиода 1) пятого индикатора определенного светодиодом в шестой группе И. 6-5 соединен с пятнадцатым входом шестого индикатора обоснования частоты резонанса И.6-6; выход шестого индикатора обоснования частоты И.6-6 соединен с шестым условным выходом 6.1 блока анализа спектра ядерного квадрупольного резонанса излучения 11; седьмой вход блока анализа ядерного квадрупольного резонанса 11 соединен с входом седьмой колебательной системы 11.7 на частотах 800-1000 кГц, первый выход седьмой колебательной системы 11.7 соединен с первыми входами седьмой группы из пяти индикаторов с И.7-1 по И.7-5, а второй выход седьмой колебательной системы 11.7 соединен со вторыми входами седьмой группы из пяти индикаторов с И.7-1 по И.7-5, третий выход седьмой колебательной системы 11.7 соединен с седьмым выходом блока анализа спектра ядерного квадрупольного резонанса 11; четвертый выход седьмой колебательной системы 11.7 соединен параллельно с первым, вторым, четвертым, пятым, седьмым, восьмым, десятым, одиннадцатым, тринадцатым, и четырнадцатым входами седьмого индикатора обоснования частоты И.7-6; выход фиксатора резонанса 1 (фотодиода 1) первого индикатора определенного светодиодом в седьмой группе И.7-1 соединен с третьим входом седьмого индикатора обоснования частоты резонанса И.7-6; выход фиксатора резонанса 1 (фотодиода 1) второго индикатора определенного светодиодом в седьмой группе И.7-2 соединен с шестым входом седьмого индикатора обоснования частоты резонанса И.7-6; выход фиксатора резонанса 1 (фотодиода 1) третьего индикатора определенного светодиодом в седьмой группе И.7-3 соединен с девятым входом седьмого индикатора обоснования частоты резонанса И.7-6; выход фиксатора резонанса 1 (фотодиода 1) четвертого индикатора определенного светодиодом в седьмой группе И.7-4 соединен с двенадцатым входом седьмого индикатора обоснования частоты резонанса И.7-6; выход фиксатора резонанса 1 (фотодиода 1) пятого индикатора определенного светодиодом в седьмой группе И.7-5 соединен с пятнадцатым входом седьмого индикатора обоснования частоты резонанса И.7-6; выход седьмого индикатора обоснования частоты И.7-6 соединен с седьмым условным выходом 7.1 блока анализа спектра ядерного квадрупольного резонанса излучения 11; восьмой вход блока анализа ядерного квадрупольного резонанса 11 соединен с входом восьмой колебательной системы 11.8 на частотах 1-10МГц, первый выход восьмой колебательной системы 11.8 соединен с первыми входами восьмой группы из пяти индикаторов с И.8-1 по И.8-5, а второй выход восьмой колебательной системы 11.8 соединен со вторыми входами восьмой группы из пяти индикаторов с И.8-1 по И.8-5, третий выход восьмой колебательной системы 11.8 соединен с восьмым выходом блока анализа спектра ядерного квадрупольного резонанса 11; четвертый выход восьмой колебательной системы 11.8 соединен параллельно с первым, вторым, четвертым, пятым, седьмым, восьмым, десятым, одиннадцатым, тринадцатым, и четырнадцатым входами восьмого индикатора обоснования частоты И.8-6; выход фиксатора резонанса 1 (фотодиода 1) первого индикатора определенного светодиодом в восьмой группе И.8-1 соединен с третьим входом восьмого индикатора обоснования частоты резонанса И.8-6; выход фиксатора резонанса 1 (фотодиода 1) второго индикатора определенного светодиодом в восьмой группе И.8-2 соединен с шестым входом восьмого индикатора обоснования частоты резонанса И.8-6; выход фиксатора резонанса 1 (фотодиода 1) третьего индикатора определенного светодиодом в восьмой группе И.8-3 соединен с девятым входом восьмого индикатора обоснования частоты резонанса И.8-6; выход фиксатора резонанса 1 (фотодиода 1) четвертого индикатора определенного светодиодом в восьмой группе И.8-4 соединен с двенадцатым входом восьмого индикатора обоснования частоты резонанса И.8-6; выход фиксатора резонанса 1 (фотодиода 1) пятого индикатора определенного светодиодом в восьмой группе И.8-5 соединен с пятнадцатым входом восьмого индикатора обоснования частоты резонанса И.8-6; выход восьмого индикатора обоснования частоты И.8-6 соединен с восьмым условным выходом 8.1 блока анализа спектра ядерного квадрупольного резонанса излучения 11; девятый вход блока анализа ядерного квадрупольного резонанса 11 соединен с входом девятой колебательной системы на частотах 10-20МГц, первый выход девятой колебательной системы 11.9 соединен с первыми входами девятой группы из пяти индикаторов с И.9-1 по И.9-5, а второй выход девятой колебательной системы 11.9 соединен со вторыми входами девятой группы из пяти индикаторов с И.9-1 по И.9-5, третий выход девятой колебательной системы 11.9 соединен с девятым выходом блока анализа спектра ядерного квадрупольного резонанса 11; четвертый выход девятой колебательной системы 11.9 соединен параллельно с первым, вторым, четвертым, пятым, седьмым, восьмым, десятым, одиннадцатым, тринадцатым, и четырнадцатым входами девятого индикатора обоснования частоты И.9-6; выход фиксатора резонанса 1 (фотодиода 1) первого индикатора определенного светодиодом в девятой группе И.9-1 соединен с третьим входом девятого индикатора обоснования частоты резонанса И.9-6; выход фиксатора резонанса 1 (фотодиода 1) второго индикатора определенного светодиодом в девятой группе И.9-2 соединен с шестым входом девятого индикатора обоснования частоты резонанса И.9-6; выход фиксатора резонанса 1 (фотодиода 1) третьего индикатора определенного светодиодом в девятой группе И.9-3 соединен с девятым входом девятого индикатора обоснования частоты резонанса И.9-6; выход фиксатора резонанса 1 (фотодиода 1) четвертого индикатора определенного светодиодом в девятой группе И.9-4 соединен с двенадцатым входом девятого индикатора обоснования частоты резонанса И.9-6; выход фиксатора резонанса 1 (фотодиода 1) пятого индикатора определенного светодиодом в девятой группе И.9-5 соединен с пятнадцатым входом девятого индикатора обоснования частоты резонанса И.9-6; выход девятого индикатора обоснования частоты И. 9-6 соединен с девятым условным выходом 9.1 блока анализа спектра ядерного квадрупольного резонанса излучения 11; десятый вход блока анализа ядерного квадрупольного резонанса 11 соединен с входом десятой колебательной системы 11.10 на частотах 20-40МГц, первый выход десятой колебательной системы 11.10 соединен с первыми входами десятой группы из пяти индикаторов с И. 10-1 по И. 10-5, а второй выход десятой колебательной системы 11.10 соединен со вторыми входами десятой группы из пяти индикаторов с И. 10-1 по И.10-5, третий выход десятой колебательной системы 11.10 соединен с десятым выходом блока анализа спектра ядерного квадрупольного резонанса 11; четвертый выход десятой колебательной системы 11.10 соединен параллельно с первым, вторым, четвертым, пятым, седьмым, восьмым, десятым, одиннадцатым, тринадцатым, и четырнадцатым входами десятого индикатора обоснования частоты И. 10-6; выход фиксатора резонанса 1 (фотодиода 1) первого индикатора определенного светодиодом в десятой группе И. 10-1 соединен с третьим входом десятого индикатора обоснования частоты резонанса И. 10-6; выход фиксатора резонанса 1 (фотодиода 1) второго индикатора определенного светодиодом в десятой группе И. 10-2 соединен с шестым входом десятого индикатора обоснования частоты резонанса И. 10-6; выход фиксатора резонанса 1 (фотодиода 1) третьего индикатора определенного светодиодом в десятой группе И. 10-3 соединен с девятым входом десятого индикатора обоснования частоты резонанса И. 10-6; выход фиксатора резонанса 1 (фотодиода 1) четвертого индикатора определенного светодиодом в десятой группе И. 10-4 соединен с двенадцатым входом десятого индикатора обоснования частоты резонанса И. 10-6; выход фиксатора резонанса 1 (фотодиода 1) пятого индикатора определенного светодиодом в десятой группе И. 10-5 соединен с пятнадцатым входом десятого индикатора обоснования частоты резонанса И. 10-6; выход десятого индикатора обоснования частоты И. 10-6 соединен с десятым условным выходом 10.1 блока анализа спектра ядерного квадрупольного резонанса излучения 11.
На Фиг. 40 представлена колебательная система 11.1 (любая из десяти с 11.1; 11.2; 11.3;…; 11.10), содержит пять колебательных мостов: 1, 2, 3, 4 и 5; каждый мост содержит высокоомное сопротивление R, четыре параллельных колебательных контура выполненных на основе микросхем - гираторов емкостных Гс и гираторов индуктивных ГL: два колебательных контура с параметрами гиратор Гс1 как индуктивность L1 и гиратор Гс1 как емкостью C1, а также два колебательных контура с параметрами Гс2 как индуктивность L2 и Гс2 как емкость С2; для контроля резонанса колебательных систем параллельно включены два делителя напряжения, выполненных из двух последовательно включенных высокоомных сопротивлений подключенных параллельно двум параллельным колебательным контурам; при этом вход колебательной системы 11.1 соединен параллельно с пятью входами пяти мостов и с третьим выходом колебательной системы 11.1, первые выходы пяти мостов (1, 2, 3, 4 и 5) образуют первый выход, вторые выходы пяти мостов (1, 2, 3, 4 и 5) образуют второй выход; вход каждого моста соединен через клемму «с» с клеммой «ж» и через второй параллельный колебательный контур с параметрами Гс2 и Гс2 с клеммой «м» и далее через клемму «а» с первым выходом моста, а параллельно клемма «с» соединена с клеммой «n» и через первый параллельный колебательный контур с параметрами ГL1 и Гс1 с клеммой «к» и далее через клемму «б» со вторым выходом моста; клемма «а» параллельно соединена через высокоомное сопротивление R с клеммой «б» и параллельно клемма «а» соединена через клемму «л», через первый колебательный контур с параметрами ГL1 и Гс1 через клемму «н» с клеммой «д», клемма «д» заземлена; кроме того, клемма «б» соединена через клемму «ч», через второй параллельный колебательный контур с параметрами ГL2 и Гс2 через клемму «х» с заземленной клеммой «д»; клемма «n» первого колебательного контура с параметрами ГL1 и Гс1 соединена через клемму «т» через высокоомное сопротивление R1, через клемму «з», через высокоомное сопротивление R2, через клемму «П3» с клеммой «к» первого колебательного контура с параметрами ГL1 и Гс1, при этом клемма «з» соединена с третьим выходом в каждом из пяти колебательных мостов (1, 2, 3, 4 и 5); клемма «ч» второго колебательного контура с параметрами ГL2 и Гс2 соединена через клемму «и» через высокоомное сопротивление R3, через клемму «р», через высокоомное сопротивление R4, через клемму «о» с клеммой «х» второго колебательного контура с параметрами Гс2 и Гс2, при этом клемма «р» соединена с четвертым выходом в каждом из пяти колебательных мостов (1, 2, 3, 4 и 5); причем третий и четвертый выходы в каждом из пяти колебательных мостов с первого по пятый образуют параллельный четвертый выход 4 в любой из десяти колебательных систем с 11.1; 11.2; 11.3;…; по 11.10, при этом третий выход первого колебательного моста соединен с четвертым выходом колебательной системы через его первый вход, а четвертый выход первого колебательного моста соединен с четвертым выходом колебательной системы через его второй вход; далее, третий выход второго колебательного моста соединен с четвертым выходом колебательной системы через его четвертый вход, а четвертый выход второго колебательного моста соединен с четвертым выходом колебательной системы через его пятый вход; далее, третий выход третьего колебательного моста соединен с четвертым выходом колебательной системы через его седьмой вход, а четвертый выход третьего колебательного моста соединен с четвертым выходом колебательной системы через его восьмой вход; далее, третий выход четвертого колебательного моста соединен с четвертым выходом колебательной системы через его десятый вход, а четвертый выход четвертого колебательного моста соединен с четвертым выходом колебательной системы через его одиннадцатый вход; далее, третий выход пятого колебательного моста соединен с четвертым выходом колебательной системы через его тринадцатый вход, а четвертый выход пятого колебательного моста соединен с четвертым выходом колебательной системы через его четырнадцатый вход; первая колебательная система 11.1 содержит пять мостов: первый мост с первым параллельным колебательным контуром с параметрами ГL1 и Гс1 настроен на частоту 1,1 кГц, а второй колебательный контур с параметрами ГL2 и Гс2 настроен на частоту 2,1 кГц; второй мост с первым параллельным колебательным контуром с параметрами ГL1 и Гс1 настроен на частоту 3,1 кГц, а второй колебательный контур с параметрами ГL2 и Гс2 настроен на частоту 4,1 кГц; третий мост с первым параллельным колебательным контуром с параметрами ГL1 и Гс1 настроен на частоту 5,1кГц, а второй колебательный контур с параметрами ГL2 и Гс2 настроен на частоту 6,1кГц; четвертый мост с первым параллельным колебательным контуром с параметрами ГL1 и Гс1 настроен на частоту 7,1 кГц, а второй колебательный контур с параметрами ГL2 и Гс2 настроен на частоту 8,1кГц; пятый мост с первым параллельным колебательным контуром с параметрами ГL1 и Гс1 настроен на частоту 9,1кГц, а второй колебательный контур с параметрами ГL2 и Гс2 настроен на частоту 9,9кГц; вторая колебательная система 11.2 содержит пять мостов: первый мост с первым параллельным колебательным контуром с параметрами ГL1 и Гс1 настроен на частоту 11,9кГц, а второй колебательный контур с параметрами ГL2 и Гс2 настроен на частоту 15,1 кГц; второй мост с первым параллельным колебательным контуром с параметрами ГL1 и Гс1 настроен на частоту 20,1 кГц, а второй колебательный контур с параметрами ГL2 и Гс2 настроен на частоту 25,1 кГц; третий мост с первым параллельным колебательным контуром с параметрами ГL1 и Гс1 настроен на частоту 30,1 кГц, а второй колебательный контур с параметрами ГL2 и Гс2 настроен на частоту 35,1 кГц; четвертый мост с первым параллельным колебательным контуром с параметрами ГL1 и Гс1 настроен на частоту 40,1 кГц, а второй колебательный контур с параметрами ГL2 и Гс2 настроен на частоту 44,1 кГц; пятый мост с первым параллельным колебательным контуром с параметрами ГL1 и Гс1 настроен на частоту 47,1 кГц, а второй колебательный контур с параметрами ГL2 и Гс2 настроен на частоту 49,9кГц; третья колебательная система 11.3 содержит пять мостов: первый мост с первым параллельным колебательным контуром с параметрами ГL1 и Гс1 настроен на частоту 52,1 кГц, а второй колебательный контур с параметрами ГL2 и Гс2 настроен на частоту 58,1кГц; второй мост с первым параллельным колебательным контуром с параметрами ГL1 и Гс1 настроен на частоту 62,1 кГц, а второй колебательный контур с параметрами ГL2 и Гс2 настроен на частоту 68,1 кГц; третий мост с первым параллельным колебательным контуром с параметрами ГL1 и Гс1 настроен на частоту 72,1 кГц, а второй колебательный контур с параметрами ГL2 и Гс2 настроен на частоту 78,1 кГц; четвертый мост с первым параллельным колебательным контуром с параметрами ГL1 и Гс1 настроен на частоту 82,1 кГц, а второй колебательный контур с параметрами ГL2 и Гс2 настроен на частоту 88,1кГц; пятый мост с первым параллельным колебательным контуром с параметрами ГL1 и Гс1 настроен на частоту 92,1 кГц, а второй колебательный контур с параметрами ГL2 и Гс2 настроен на частоту 98,9кГц; четвертая колебательная система 11.4 содержит пять мостов: первый мост с первым параллельным колебательным контуром с параметрами ГL1 и Гс1 настроен на частоту 110,1 кГц, а второй колебательный контур с параметрами ГL2 и Гс2 настроен на частоту 120,1 кГц; второй мост с первым параллельным колебательным контуром с параметрами ГL1 и Гс1 настроен на частоту 130,1кГц, а второй колебательный контур с параметрами ГL2 и Гс2 настроен на частоту 140,1 кГц; третий мост с первым параллельным колебательным контуром с параметрами ГL1 и Гс1 настроен на частоту 150,1кГц, а второй колебательный контур с параметрами ГL2 и Гс2 настроен на частоту 160,1 кГц; четвертый мост с первым параллельным колебательным контуром с параметрами ГL1 и Гс1 настроен на частоту 170,1 кГц, а второй колебательный контур с параметрами ГL2 и Гс2 настроен на частоту 178,1кГц; пятый мост с первым параллельным колебательным контуром с параметрами ГL1 и Гс1 настроен на частоту 185,1кГц, а второй колебательный контур с параметрами ГL2 и Гс2 настроен на частоту 198,1 кГц; пятая колебательная система 11.5 содержит пять мостов: первый мост с первым параллельным колебательным контуром с параметрами ГL1 и Гс1 настроен на частоту 210,1 кГц, а второй колебательный контур с параметрами ГL2 и Гс2 настроен на частоту 230,1 кГц; второй мост с первым параллельным колебательным контуром с параметрами ГL1 и Гс1 настроен на частоту 250,1 кГц, а второй колебательный контур с параметрами ГL2 и Гс2 настроен на частоту 270,1 кГц; третий мост с первым параллельным колебательным контуром с параметрами ГL1 и Гс1 настроен на частоту 290,1 кГц, а второй колебательный контур с параметрами ГL2 и Гс2 настроен на частоту 3900,1 кГц; четвертый мост с первым параллельным колебательным контуром с параметрами ГL1 и Гс1 настроен на частоту 330,1 кГц, а второй колебательный контур с параметрами ГL2 и Гс2 настроен на частоту 350,1кГц; пятый мост с первым параллельным колебательным контуром с параметрами ГL1 и Гс1 настроен на частоту 370,1 кГц, а второй колебательный контур с параметрами ГL2 и Гс2 настроен на частоту 390,1кГц; шестая колебательная система 11.6 содержит пять мостов: первый мост с первым параллельным колебательным контуром с параметрами ГL1 и Гс1 настроен на частоту 410,1 кГц, а второй колебательный контур с параметрами ГL2 и Гс2 настроен на частоту 450,1 кГц; второй мост с первым параллельным колебательным контуром с параметрами ГL1 и Гс1 настроен на частоту 490,1 кГц, а второй колебательный контур с параметрами ГL2 и Гс2 настроен на частоту 530,1 кГц; третий мост с первым параллельным колебательным контуром с параметрами ГL1 и Гс1 настроен на частоту 570,1кГц, а второй колебательный контур с параметрами ГL2 и Гс2 настроен на частоту 610,1 кГц; четвертый мост с первым параллельным колебательным контуром с параметрами ГL1 и Гс1 настроен на частоту 650,1 кГц, а второй колебательный контур с параметрами ГL2 и Гс2 настроен на частоту 690,1 кГц; пятый мост с первым параллельным колебательным контуром с параметрами ГL1 и Гс1 настроен на частоту 730,1кГц, а второй колебательный контур с параметрами ГL2 и Гс2 настроен на частоту 790,1 кГц; седьмая колебательная система 11.7 содержит пять мостов: первый мост с первым параллельным колебательным контуром с параметрами ГL1 и Гс1 настроен на частоту 810,1 кГц, а второй колебательный контур с параметрами ГL2 и Гс2 настроен на частоту 830,1 кГц; второй мост с первым параллельным колебательным контуром с параметрами ГL1 и Гс1 настроен на частоту 850,1 кГц, а второй колебательный контур с параметрами ГL2 и Гс2 настроен на частоту 880,1 кГц; третий мост с первым параллельным колебательным контуром с параметрами ГL1 и Гс1 настроен на частоту 890,1 кГц, а второй колебательный контур с параметрами Гс2 и Гс2 настроен на частоту 910,1 кГц; четвертый мост с первым параллельным колебательным контуром с параметрами ГL1 и Гс1 настроен на частоту 93 0,1 кГц, а второй колебательный контур с параметрами ГL2 и Гс2 настроен на частоту 950,1кГц; пятый мост с первым параллельным колебательным контуром с параметрами ГL1 и Гс1 настроен на частоту 970,1 кГц, а второй колебательный контур с параметрами ГL2 и Гс2 настроен на частоту 990,1кГц; восьмая колебательная система11.8 содержит пять мостов: первый мост с первым параллельным колебательным контуром с параметрами ГL1 и Гс1 настроен на частоту 1100,1 кГц, а второй колебательный контур с параметрами ГL2 и Гс2 настроен на частоту 1900,1 кГц; второй мост с первым параллельным колебательным контуром с параметрами ГL1 и Гс1 настроен на частоту 2900,1 кГц, а второй колебательный контур с параметрами Гс2 и Гс2 настроен на частоту 3900,1кГц; третий мост с первым параллельным колебательным контуром с параметрами ГL1 и Гс1 настроен на частоту 4900,1 кГц, а второй колебательный контур с параметрами ГL2 и Гс2 настроен на частоту 5900,1 кГц; четвертый мост с первым параллельным колебательным контуром с параметрами ГL1 и Гс1 настроен на частоту 6900,1кГц, а второй колебательный контур с параметрами ГL2 и Гс2 настроен на частоту 7900,1 кГц; пятый мост с первым параллельным колебательным контуром с параметрами ГL1 и Гс1 настроен на частоту 8900,1 кГц, а второй колебательный контур с параметрами Гс2 и Гс2 настроен на частоту 9900,1кГц; девятая колебательная система 11.9 содержит пять мостов: первый мост с первым параллельным колебательным контуром с параметрами ГL1 и Гс1 настроен на частоту 10100,1 кГц, а второй колебательный контур с параметрами ГL2 и Гс2 настроен на частоту 10900,1 кГц; второй мост с первым параллельным колебательным контуром с параметрами ГL1 и Гс1 настроен на частоту 12900,1 кГц, а второй колебательный контур с параметрами ГL2 и Гс2 настроен на частоту 13900,1 кГц; третий мост с первым параллельным колебательным контуром с параметрами ГL1 и Гс1 настроен на частоту 14900,1 кГц, а второй колебательный контур с параметрами ГL2 и Гс2 настроен на частоту 15900,1кГц; четвертый мост с первым параллельным колебательным контуром с параметрами ГL1 и Гс1 настроен на частоту 16900,1 кГц, а второй колебательный контур с параметрами ГL2 и Гс2 настроен на частоту 17900,1 кГц; пятый мост с первым параллельным колебательным контуром с параметрами ГL1 и Гс1 настроен на частоту 18900,1 кГц, а второй колебательный контур с параметрами ГL2 и Гс2 настроен на частоту 19900,1 кГц; десятая колебательная система 11.10 содержит пять мостов: первый мост с первым параллельным колебательным контуром с параметрами ГL1 и Гс1 настроен на частоту 21100,1кГц, а второй колебательный контур с параметрами ГL2 и Гс2 настроен на частоту 23100,1кГц; второй мост с первым параллельным колебательным контуром с параметрами ГL1 и Гс1 настроен на частоту 25100,1 кГц, а второй колебательный контур с параметрами ГL2 и Гс2 настроен на частоту 27900,1 кГц; третий мост с первым параллельным колебательным контуром с параметрами ГL1 и Гс1 настроен на частоту 30100,1 кГц, а второй колебательный контур с параметрами ГL2 и Гс2 настроен на частоту 32900,1кГц; четвертый мост с первым параллельным колебательным контуром с параметрами ГL1 и Гс1 настроен на частоту 35100,1кГц, а второй колебательный контур с параметрами ГL2 и Гс2 настроен на частоту 37900,1 кГц; пятый мост с первым параллельным колебательным контуром с параметрами ГL1 и Гс1 настроен на частоту 38900,1 кГц, а второй колебательный контур с параметрами ГL2 и Гс2 настроен на частоту 39900,1 кГц.
На Фиг. 41 индикатор обоснования частоты резонанса И. 1-6 (любой из десяти с И. 1-6 по И. 10-6) содержащий пять включателей, трансформатор Тр.1 с одной вторичной обмоткой и пятью первичными обмотками, причем каждая из пяти первичных обмоток трансформатора Тр.1 состоит из двух одинаковых по параметрам секций разделенных средней клеммой, при этом первый вход индикатора обоснования частоты резонанса И. 1-6 соединен с клеммой «a1» первой 1 первичной обмотки трансформатора Тр.1, второй вход индикатора обоснования частоты резонанса И. 1-6 соединен с клеммой «а2» первой 1 первичной обмотки трансформатора ТР.1, третий вход индикатора обоснования частоты резонанса И. 1-6 соединен с первым включателем реле Вк.1, первая первичная обмотка средней клеммой «а3» соединяется с заземленной клеммой «а4» при коммутации первым включателем Вк.1 клеммой «а5»; четвертый вход индикатора обоснования частоты резонанса И. 1-6 соединен с клеммой «а6» второй 2 первичной обмотки трансформатора ТР.1, пятый вход индикатора обоснования частоты резонанса И. 1-6 соединен с клеммой «а7» второй 2 первичной обмотки трансформатора ТР.1, шестой вход индикатора обоснования частоты резонанса И. 1-6 соединен со вторым включателем реле Вк.2, вторая первичная обмотка средней клеммой «а8» соединяется с заземленной клеммой «а9» при коммутации вторым включателем Вк.2 клеммой «а10»; седьмой вход индикатора обоснования частоты резонанса И.1-6 соединен с клеммой «a11» третьей 3 первичной обмотки трансформатора ТР.1, восьмой вход индикатора обоснования частоты резонанса И. 1-6 соединен с клеммой «а12» третьей 3 первичной обмотки трансформатора ТР.1, девятый вход индикатора обоснования частоты резонанса И. 1-6 соединен с третьим включателем реле Вк.3, третья первичная обмотка средней клеммой «а13» соединяется с заземленной клеммой «а14» при коммутации третьим включателем Вк.3клеммой «а15»; десятый вход индикатора обоснования частоты резонанса И. 1-6 соединен с клеммой «а16» четвертой 4 первичной обмотки трансформатора ТР.1, одиннадцатый вход индикатора обоснования частоты резонанса И. 1-6 соединен с клеммой «а17» четвертой 4 первичной обмотки трансформатора ТР.1, двенадцатый вход индикатора обоснования частоты резонанса И. 1-6 соединен с четвертым включателем реле Вк.4, четвертая первичная обмотка средней клеммой «а18» соединяется с заземленной клеммой «а19» при коммутации четвертым включателем Вк.4 клеммой «а20»; тринадцатый вход индикатора обоснования частоты резонанса И. 1-6 соединен с клеммой «а21» пятой 5 первичной обмотки трансформатора ТР.1, четырнадцатый вход индикатора обоснования частоты резонанса И. 1-6 соединен с клеммой «а22» пятой 5 первичной обмотки трансформатора ТР.1, пятнадцатый вход индикатора обоснования частоты резонанса И. 1-6 соединен с пятым включателем реле Вк.5, пятая первичная обмотка средней клеммой «а23» соединяется с заземленной клеммой «а24» при коммутации пятым включателем Вк.5 клеммой «а25»; вторичная обмотка трансформатора Тр.1 клеммой «д» заземлена, а клеммой «с» соединена с выходом 1.1 индикатора обоснования частоты резонанса И. 1-6.
На Фиг. 42 представлен блок исследования спектра излучения сигналов ядерного квадрупольного резонанса 12, содержащий анализатор спектра частот 12.1 и включатель десяти контактный Вк.1 на десять положений включения и трансформатор Тр.1, при этом десять входов с первого 1 по десятый 10 блока исследования спектра излучения параллельно подсоединены к десяти клеммам «а» включателя Вк.1, а десять клемм «б» включателя Вк.1 параллельно подсоединены к входу анализатора спектра частот 12.1; кроме того, вход один-один 1.1 блока исследования спектра излучения сигналов ядерного квадрупольного резонанса 12 соединен с клеммой «a1» первой первичной обмотки трансформатора Тр.1, а клеммой «Д1» первая первичная обмотка трансформатора Тр.1 заземлена; вход два-один 2.1 блока исследования спектра излучения сигналов ядерного квадрупольного резонанса 12 соединен с клеммой «а2» второй первичной обмотки трансформатора Тр.1, а клеммой «д2» вторая первичная обмотка трансформатора Тр.1 заземлена; вход три-один 3.1 блока исследования спектра излучения сигналов ядерного квадрупольного резонанса 12 соединен с клеммой «а3» третьей первичной обмотки трансформатора Тр.1, а клеммой «дЗ» третья первичная обмотка трансформатора Тр.1 заземлена; вход четыре-один 4.1 блока исследования спектра излучения сигналов ядерного квадрупольного резонанса 12 соединен с клеммой «а4» четвертой первичной обмотки трансформатора Тр.1, а клеммой «д4» четвертая первичная обмотка трансформатора Тр.1 заземлена; вход пять-один 5.1 блока исследования спектра излучения сигналов ядерного квадрупольного резонанса 12 соединен с клеммой «а5» пятой первичной обмотки трансформатора Тр.1, а клеммой «д5» пятая первичная обмотка трансформатора Тр.1 заземлена; вход шесть-один 6.1 блока исследования спектра излучения сигналов ядерного квадрупольного резонанса 12 соединен с клеммой «а6» шестой первичной обмотки трансформатора Тр.1, а клеммой «д6» шестая первичная обмотка трансформатора Тр.1 заземлена; вход семь-один 7.1 блока исследования спектра излучения сигналов ядерного квадрупольного резонанса 12 соединен с клеммой «а7» седьмой первичной обмотки трансформатора Тр.1, а клеммой «д7» седьмая первичная обмотка трансформатора Тр.1 заземлена; вход восемь-один 8.1 блока исследования спектра излучения сигналов ядерного квадрупольного резонанса 12 соединен с клеммой «а8» восьмой первичной обмотки трансформатора Тр.1, а клеммой «д8» восьмая первичная обмотка трансформатора Тр.1 заземлена; вход девять-один 9.1 блока исследования спектра излучения сигналов ядерного квадрупольного резонанса 12 соединен с клеммой «а9» девятой первичной обмотки трансформатора Тр.1, а клеммой «д9» девятая первичная обмотка трансформатора Тр.1 заземлена; вход десять-один 10.1 блока исследования спектра излучения сигналов ядерного квадрупольного резонанса 12 соединен с клеммой «а10» десятой первичной обмотки трансформатора Тр.1, а клеммой «д10» десятая первичная обмотка трансформатора Тр.1 заземлена; вторичная обмотка трансформатора Тр.1 клеммой «к» заземлена, а клеммой «с» соединена с выходом блока исследования спектра излучения сигналов ядерного квадрупольного резонанса 12.
На Фиг. 43 представлен аналитический блок 13 слабых сигналов ЯКР, содержащий: трансформатор Тр.1 с десятью первичными обмотками и одной вторичной обмоткой, десять микропроцессоров с первого - 13.1 по десятый - 13.10, десять вентилей с первого - Д.1 по десятый - Д. 10, десять высокоомных резисторов номиналом 100кОм с первого - R1 по десятый - R1o, первый вход содержит десять входов с первого по десятый для соединения с десятью выходами блока фильтров 10 (фиг. 1), второй вход содержит десять входов с одиннадцатого по двадцатый для соединения с десятью выходами блока контроля температуры окружающей среды 14 (фиг. 1 и фиг. 39), при этом первый вход 1 аналитического блока 13 слабых сигналов ЯКР соединен через клеммы «а» и «б» первого включателя Вк.1, через первый вентиль Д1, через первую клемму «c1» с первым входом 1 первого микропроцессора 13.1, параллельно клемма «c1» через первый высокоомный резистор R1 заземлена, одиннадцатый вход аналитического блока 13 слабых сигналов ЯКР соединен со вторым входом 2 первого микропроцессора 13.1; выход первого микропроцессора 13.1 соединен с первой первичной обмоткой трансформатора Тр.1 через клемму «A1», а клемма «Д1» первой первичной обмотки трансформатора Тр.1 заземлена; второй вход 2 аналитического блока 13 слабых сигналов ЯКР соединен через клеммы «а» и «б» второго включателя Вк.2, через второй вентиль Д2, через вторую клемму «с2» с первым входом 1 второго микропроцессора 13.2, параллельно клемма «С2» через второй высокоомный резистор R2 заземлена, двенадцатый вход аналитического блока 13 слабых сигналов ЯКР соединен со вторым входом 2 второго микропроцессора 13.2; выход второго микропроцессора 13.2 соединен со второй первичной обмоткой трансформатора Тр.1 через клемму «а2», а клемма «д2» второй первичной обмотки трансформатора Тр.1 заземлена; третий вход 3 аналитического блока 13 слабых сигналов ЯКР соединен через клеммы «а» и «б» третьего включателя Вк.3, через третий вентиль Д3, через третью клемму «с3» с первым входом 1 третьего микропроцессора 13.3, параллельно клемма «с3» через третий высокоомный резистор R3 заземлена, тринадцатый вход аналитического блока 13 слабых сигналов ЯКР соединен со вторым входом 2 третьего микропроцессора 13.3; выход третьего микропроцессора 13.3 соединен с третьей первичной обмоткой трансформатора Тр.1 через клемму «а3», а клемма «д3» третьей первичной обмотки трансформатора Тр.1 заземлена; четвертый вход 4 аналитического блока 13 слабых сигналов ЯКР соединен через клеммы «а» и «б» четвертого включателя Вк.4, через четвертый вентиль Д4, через четвертую клемму «С4» с первым входом 1 четвертого микропроцессора 13.4, параллельно клемма «С4» через четвертый высокоомный резистор R4 заземлена, четырнадцатый вход аналитического блока 13 слабых сигналов ЯКР соединен со вторым входом 2 четвертого микропроцессора 13.4; выход четвертого микропроцессора 13.4 соединен с четвертой первичной обмоткой трансформатора Тр.1 через клемму «а4», а клемма «д4» четвертой первичной обмотки трансформатора Тр.1 заземлена; пятый вход 5 аналитического блока 13 слабых сигналов ЯКР соединен через клеммы «а» и «б» пятого включателя Вк.5, через пятый вентиль Д5, через пятую клемму «С5» с первым входом 1 пятого микропроцессора 13.5, параллельно клемма «С5» через пятый высокоомный резистор R5 заземлена, пятнадцатый вход аналитического блока 13 слабых сигналов ЯКР соединен со вторым входом 2 пятого микропроцессора 13.5; выход пятого микропроцессора 13.5 соединен с пятой первичной обмоткой трансформатора Тр.1 через клемму «а5», а клемма «д5» пятой первичной обмотки трансформатора Тр.1 заземлена; шестой вход 6 аналитического блока 13 слабых сигналов ЯКР соединен через клеммы «а» и «б» шестого включателя Вк.6, через шестой вентиль Д6, через шестую клемму «С6» с первым входом 1 шестого микропроцессора 13.6, параллельно клемма «С6» через шестой высокоомный резистор R.6 заземлена, шестнадцатый вход аналитического блока 13 слабых сигналов ЯКР соединен со вторым входом 2 шестого микропроцессора 13.6; выход шестого микропроцессора 13.6 соединен с шестой первичной обмоткой трансформатора Тр.1 через клемму «а6», а клемма «Д6» шестой первичной обмотки трансформатора Тр.1 заземлена;
седьмой вход 7 аналитического блока 13 слабых сигналов ЯКР соединен через клеммы «а» и «б» седьмого включателя Вк.7, через седьмой вентиль Д7, через седьмую клемму «С7» с первым входом 1 седьмого микропроцессора 13.7, параллельно клемма «С7» через седьмой высокоомный резистор R.7 заземлена, семнадцатый вход аналитического блока 13 слабых сигналов ЯКР соединен со вторым входом 2 седьмого микропроцессора 13.7; выход седьмого микропроцессора 13.7 соединен с седьмой первичной обмоткой трансформатора Тр.1 через клемму «а7», а клемма «д7» седьмой первичной обмотки трансформатора Тр.1 заземлена; восьмой вход 8 аналитического блока 13 слабых сигналов ЯКР соединен через клеммы «а» и «б» восьмого включателя Вк.8, через восьмой вентиль Д8, через восьмую клемму «c8» с первым входом 1 восьмого микропроцессора 13.8, параллельно клемма «с8» через восьмой высокоомный резистор R.8 заземлена, восемнадцатый вход аналитического блока 13 слабых сигналов ЯКР соединен со вторым входом 2 восьмого микропроцессора 13.8; выход восьмого микропроцессора 13.8 соединен с восьмой первичной обмоткой трансформатора Тр.1 через клемму «а8», а клемма «д8» восьмой первичной обмотки трансформатора Тр. 1 заземлена; девятый вход 9 аналитического блока 13 слабых сигналов ЯКР соединен через клеммы «а» и «б» девятого включателя Вк.9, через девятый вентиль Д9, через девятую клемму «С9» с первым входом 1 девятого микропроцессора 13.9, параллельно клемма «С9» через девятый высокоомный резистор R.9 заземлена, девятнадцатый вход аналитического блока 13 слабых сигналов ЯКР соединен со вторым входом 2 девятого микропроцессора 13.9; выход девятого микропроцессора 13.9 соединен с девятой первичной обмоткой трансформатора Тр.1 через клемму «а9», а клемма «д9» девятой первичной обмотки трансформатора Тр.1 заземлена; десятый вход 10 аналитического блока 13 слабых сигналов ЯКР соединен через клеммы «а» и «6» десятого включателя Вк.10, через десятый вентиль Д10, через десятую клемму «с10» с первым входом 1 десятого микропроцессора 13.10, параллельно клемма «с10» через десятый высокоомный резистор R1o заземлена, двадцатый вход аналитического блока 13 слабых сигналов ЯКР соединен со вторым входом 2 десятого микропроцессора 13.10; выход десятого микропроцессора 13.10 соединен с десятой первичной обмоткой трансформатора Тр.1 через клемму «а10», а клемма «д10» десятой первичной обмотки трансформатора Тр.1 заземлена; вторичная обмотка трансформатора Тр.1 клеммой «с» соединена с выходом аналитического блока 13 слабых сигналов ЯКР, а клеммой «к» вторичная обмотка трансформатора Тр.1 заземлена.
На Фиг. 44 представлен блок контроля температуры окружающей среды 14 содержащий преобразователь температура - электрический потенциал 14.1 и десяти контактный включатель Вк.14.2, при этом выход преобразователя температура -электрический потенциал 14.1 соединен параллельно с клеммой «б» каждого включателя с первого включателя 1 по десятый включатель 10 в десяти контактном включателе Вк.14.2, клемма «а» первого включателя 1 соединена с одиннадцатым выходом блока контроля температуры окружающей среды 14, клемма «а» второго включателя 2 соединена с двенадцатым выходом блока контроля температуры окружающей среды 14, клемма «а» третьего включателя 3 соединена с тринадцатым выходом блока контроля температуры окружающей среды 14, клемма «а» четвертого включателя 4 соединена с четырнадцатым выходом блока контроля температуры окружающей среды 14, клемма «а» пятого включателя 5 соединена с пятнадцатым выходом блока контроля температуры окружающей среды 14, клемма «а» шестого включателя 6 соединена с шестнадцатым выходом блока контроля температуры окружающей среды 14, клемма «а» седьмого включателя 7 соединена с семнадцатым выходом блока контроля температуры окружающей среды 14, клемма «а» восьмого включателя 8 соединена с восемнадцатым выходом блока контроля температуры окружающей среды 14, клемма «а» девятого включателя 9 соединена с девятнадцатым выходом блока контроля температуры окружающей среды 14, клемма «а» десятого включателя 10 соединена с двадцатым выходом блока контроля температуры окружающей среды 14.
Работа устройства обнаружения сигналов ядерного квадрупольного резонанса.
Целью настоящего изобретения является:
- разработка осушительных элементов в экранированной камере для анализа перевозимых грузов с использованием автомобилей и железнодорожных платформ для непереносимых грузов;
- разработка осушительных элементов в экранированной камере для анализа переносимых грузов;
- разработка осушительных элементов в переносимых излучающих кабелях для возбуждения спектра ядерного квадрупольного резонанса в грузовых отсеках;
- разработка осушительных элементов в переносимых принимающих кабелях для фиксации спектра ядерного квадрупольного резонанса в грузовых отсеках.
Работа устройства обнаружения сигналов ядерного квадрупольного резонанса обоснована на создании условий передачи энергии через границу раздела сред. Известно, что нормально поляризованная волна на границе раздела сред воздух-полупроводящая среда не имеет затухания. Причем, возникающая в полупроводящей среде электромагнитная волна представляет собой плоскую волну, распространяющуюся вглубь среды в направлении нормали к границе раздела сред и испытывает поглощение, определяемое параметрами второй среды. Задача по поиску сигналов ядерного квадрупольного резонанса в средах с магнитными свойствами является задачей сложной, поэтому данная работа и нацелена на разработку устройства, обеспечивающего обнаружение сигналов при наличии магнитных свойств исследуемой среды при различных погодных условиях. Глубина проникновения определяется скинслоем. Данный закон установлен граничными условиями Леонтовича-Щукина. Следовательно, для максимального возбуждения второй среды необходимо облучать ее нормально поляризованной волной. Для этого выполним анализ распространения энергии электромагнитной волны через границу раздела сред.
Известно, что распространение электромагнитных волн в реальных условиях сопровождается явлениями отражения и преломления волн на границе раздела различных сред. Отражение электромагнитных волн от границы раздела сред, как правило, не является полным. Наряду с отраженными волнами существуют и преломленные волны, за счет которых энергия падающей волны из одной среды частично переходит через границу раздела во вторую среду. Практически очень важно определить пространственную ориентацию, амплитуду и фазу векторов поля и направление распространения отраженной и преломленной волн. В ряде случаев, когда границы раздела сред с достаточной точностью можно считать плоскими, поставленная задача решается сравнительно просто, поскольку при плоской падающей волне отраженная и преломленная волна также будут плоскими. На основании выполненных исследований особенностью данного устройства является использование нормально поляризованных волн у границы раздела сред.
Однако в случае исследования грузов перевозимых в контейнерах, на платформах грузовых подвижных средствах железных дорог и автомобилей, а также грузах упакованных разнообразно возникает проблема на предмет исследований состава грузов при различных погодных условиях: высокой влажности и низких температурах. Поэтому возникает проблема по определению правомерности движения грузов вследствие действий диверсионных групп и наркокурьеров. Поэтому предлагается к рассмотрению устройство способное устранить недостатки обнаружения взрывчатых веществ и наркотиков на основе исследований сигналов ЯКР в устройствах обладающих способностью регистрации грузов при любом виде их транспортировки и любых погодных условиях.
Устройство обнаружения сигналов ядерного квадрупольного резонанса представленное на Фиг. 1 в полной мере дает представление о работе со способностью регистрации ЯКР для грузов при любом виде их транспортировки и любых погодных условиях: высокой влажности и температурных условиях. Исследование излучения магнитного поля в заданном направлении и это показано как «падающий магнитный поток» принята целесообразная конфигурация облучающей системы в экранированной камере. Излучающие элементы 71 (также 72 73;…;7N-1;7N) помещены между двумя замкнутыми поверхностями цилиндрической формы, которые представлены как «экран излучающей системы». В замкнутом объеме, в экранированной камере, где размещается объект в виде автомобиля 8 (или железнодорожный вагон) для исследования ЯКР, между экранами размещены блоки генерации исследуемых частот: генератор качающей частоты 1 через блок выбора режима работы 4 соединенный с входом усилителя мощности 5.1, через один из блоков 2 или 3, в зависимости от выбранного режима работы. При этом выход генератора качающей частоты 1 параллельно соединен с первым входом блока выбора режима работы 4 через формирователь импульсов частотных 2, через первый включатель Вк.1, а со вторым входом блока выбора режима работы 4 через формирователь временных импульсов 3, через второй включатель Вк.2, а третий вход блока выбора режима работы 4 соединен через третий включатель Вк.3с выходом блока исследования спектра излучения сигналов ядерного квадрупольного резонанса 12.1 или с выходом аналитического блока 13 слабых сигналов ЯКР, который контролируется блоком контроля температуры окружающей среды 14; выход усилителя мощности 5.1 соединен через «n1» вход с формирователем информации приемной системы 9 и параллельно через клеммы четвертого включателя Вк.4 соединен с входом согласующего устройства передающей системы 5.2 и с входом распределителя энергии 5.3 генератора качающей частоты 1 для питания излучателей расположенных во внешних блоках: внешнего приемоизлучающего кабеля 5.3.1, внешнего излучающего кабеля 5.3.2, внешнего приемного кабеля 5.3.3 и внешней экранированной камере с возможностью исследования переносимых грузов 5.4.1; для внешних приемных кабелей введен блок согласования 5.5 выход которого соединен через вход «n2» с входом формирователя информации приемной системы 9; «n» выходов согласующего устройства передающей системы 5.2 соединены с каждым из «n» системы излучателей 7 через клемму «ж», начиная с 71 до 7N (фиг. 1).
Формирование мощного магнитного потока нормально поляризованной волна осуществляется возбуждением потока в ферритовых стержнях Ф1 и Ф2 током в двух обмотках трансформатора Тр.1(фиг. 2), первичная обмотка которого соединена с выходом согласующего устройства 5.2.
На Фиг. 2 представлен один из идентичных излучателей 71 передающей синфазной антенной системы, возбуждающий нормально поляризованную электромагнитную волну с векторами Ег и Нг вблизи границы раздела воздух-поверхность исследуемой среды 7, содержащий Ф1 и Ф2 - два ферритовых сердечника цилиндрической формы, расположенные горизонтально и образующие единый излучатель нормально поляризованной волны, К1 и К2 - две рамочные передающие антенны с равномерными частотными свойствами в диапазоне частот от 10 кГц до 10 МГц, размещенные на ферритовых сердечниках Ф1 и Ф2, и возбуждающие магнитный поток в феррите; согласующий трансформатор Тр.1 с одной первичной 1 и двумя вторичными обмотками 2.1 и 2.2, согласующее устройства передающей системы 5, при этом согласующий трансформатор Тр.1 первичной обмоткой соединен с одним из выходом согласующего устройства передающей системы 5; а вторичная обмотка трансформатора Тр.1 двухсекционная: первая секция 2.1 соединена клеммой «а» к клемме «ж1» первой рамочной передающей антенны К1, а клеммой «б» первая секция 2.1 соединена к клемме «ж2» первой рамочной передающей антенны К1; вторая секция 2.2 трансформатора Тр.1 соединена клеммой «г» к клемме «ж3» второй рамочной передающей антенны К2, а клеммой «в» вторая секция 2.2 соединена к клемме «ж4» второй рамочной передающей антенны К2.
На Фиг. 3 представлена структура излучателя Ф1 (Ф2), как одного из элементов в составе каждого из N излучателей, содержащего три ферритовых сердечника, каждый диаметром d=4 мм, выполненные по технологии из трех компонентной структуры с магнитной проницаемостью μ=1000, μ=100 и μ=10; поверх трех ферритовых сердечников размещаются витки проводников трех обмоток Oб.1, Oб.2 и Oб.3 рамочной антенны, сечением проводников 0,5 мм, на каждом сердечнике длиной l=3 см располагается по 35 витков, причем все три рамочные антенны включены последовательно и образуют единую цепь с током пространственно однонаправленным i, протекаемым между клеммами «ж1» и «ж2»; причем все три рамочные антенны с ферритовыми сердечниками образуют единый излучатель, представленный на фиг. 3 как Ф1 или Ф2.
На Фиг. 4 представлены графики входного сопротивления излучателя Ф1 (Ф2), причем кривой 1 отображено изменение входного сопротивления в диапазоне частот от 10 кГц до 10 МГц для трех ферритовых сердечников, каждый диаметром в сечении d=4 мм, выполненные по технологии из трех компонентной структуры с магнитной проницаемостью μ=1000, μ=100 и μ=10, поверх трех ферритовых сердечников размещаются витки проводников трех обмоток Oб.1, Oб.2 и Oб.3 рамочной антенны, сечением проводников 0,5 мм, на каждом сердечнике длиной l=3 см располагается по 35 витков, причем все три рамочные антенны включены последовательно и образуют единую цепь с током пространственно однонаправленным i, протекаемым между клеммами «ж1» и «ж2», изменение входного сопротивления в диапазоне частот допустимо; а кривой 2 отображено изменение входного сопротивления в диапазоне частот от 10 кГц до 10 МГц для трех ферритовых сердечника, каждый диаметром сечения d=4 мм, выполненные по технологии из трех компонентной структуры с магнитной проницаемостью μ=1000, μ=100 и μ=10, поверх трех ферритовых сердечников размещаются витки проводников трех обмоток Oб.1, Oб.2 и Oб.3 рамочной антенны, сечением проводников 0,5 мм, на каждом сердечнике длиной l=3 см располагается по 100 витков, данный вариант изменения входного сопротивления в диапазоне частот недопустим.
На Фиг. 5 представлен элемент приемной антенны, содержащий три рамочных антенны с ферритовыми сердечниками причем все три рамочные антенны включены последовательно и образуют единую цепь с наведенным током в них, пространственно однонаправленным i, протекаемым между клеммами «П1» и «П2»; три ферритовых сердечника, каждый диаметром d=4MM, выполненные по технологии из трех компонентной структуры с магнитной проницаемостью μ=1000, μ=100 и (1=10; поверх трех ферритовых сердечников размещаются витки проводников трех обмоток рамочной антенны, сечением проводников 0,5 мм, на каждом сердечнике длиной l=3 см располагается по 35 витков, причем все три рамочные антенны включены последовательно и размещены в вертикальной плоскости с углом разноса 60° между рамочными антеннами с ферритовыми сердечниками.
На Фиг. 6 представлена приемная антенна круговой поляризации 611, содержащая два элемента приемной антенны 611.1 и 611.2, как элементы системы, состоящей из N приемных антенн в каждой линейке с первой 611 по 61N и N линеек в системе с первой 61N по 6NN, при этом в каждый элемент, например, 611.1 имеет три рамочные антенны с ферритовыми сердечниками, причем три рамочные антенны A1, А2 и A3 включены последовательно и образуют единую цепь с наведенным током в них, пространственно странственно однонаправленным i, протекаемым между клеммами «П3» и «П2», а в элементе 611.2 три рамочные антенны А4, А5 и А6 включены последовательно и образуют единую цепь с наведенным током в них, пространственно однонаправленным i, протекаемым между клеммами «П3» и «П4»; шесть рамочных антенн с ферритовыми сердечниками A1, А2, A3, А4, А5 и А6 расположены в вертикальной плоскости и образуют прием круговой поляризации, включающий прием как нормально поляризованной волны на рамочные антенны А2 и А5, так и параллельно поляризованной волны на рамочные антенны А1, A3, А4 и А6; причем радиоприем осуществляется одновременно элементами 611.1 и 611.2 на основе работы суммирующего трансформатора Тр.1 содержащего одну первичную обмотку 1 и две вторичные, при этом первичная обмотка соединена к входным клеммам формирователя информации приемной системы 9, одновременно первая вторичная обмотка 21 трансформатора Тр.1 клеммой «а» соединена с клеммой «П3», а клеммой «б» к клемме «П2» элемента 611.1, вторая вторичная обмотка 22 трансформатора Тр.1 клеммой «с» соединена с клеммой «П4», а клеммой «д» к клемме «П3» элемента 611.2.
Приемная часть «Устройства обнаружения сигналов ядерного квадрупольного резонанса», представленная на Фиг. 1, представляется приемной антенной системой 6, содержащей N синфазных приемных антенных линеек, которые соединены с « n » входами формирователя информации приемной системы 9. Выход формирователя информации приемной системы 9 соединен через блок фильтров 10, выход блока фильтров 10 соединен параллельно с первым входом аналитического блока 13 слабых сигналов ЯКР, а через блок анализа спектра сигналов ядерного квадрупольного резонанса 11 с блоком исследования спектра излучения сигналов ядерного квадрупольного резонанса 12.1 и через последний, т.е. блок исследования спектра излучения сигналов ядерного квадрупольного резонанса 12.1 параллельно с сигнализатором или индикатором обнаружения ЯКР 12.2 и с клеммой «е» третьего включателя Вк.3, а выход аналитического блока 13 слабых сигналов ЯКР с клеммой «д» третьего включателя Вк.3, второй вход аналитического блока 13 соединен с выходом блока контроля температуры окружающей среды 14 (фиг. 1). Для возбуждения ЯКР в исследуемых объектах необходимы определенные условия по влажности и температуры в замкнутом объеме, в экранированной камере, где размещается объект в виде автомобиля 8 (или железнодорожный вагон) для исследования ЯКР на Фиг. 1 выделено пространство для вентиляции и введены источник переменного тока напряжением 220 В. частотой 50 Гц - 1.1 и контроллер источника переменного тока -1.2, в пространстве для вентиляции, в нижней части внутри экранированной камеры, размещены «n» блоков контроля влажности и вентиляции Дn соединенных последовательно и подключенных через включатель Вк.10 к клемме «а» на выходе контроллера источника переменного тока - 1.2; кроме того, вне экранированной камеры, клемма «а» на выходе контроллера источника переменного тока - 1.2 соединена через клемму «7», через включатель Вк.5 со вторым входом внешнего приемоизлучающего кабеля -5.3.1; параллельно клемма «а» на выходе контроллера источника переменного тока - 1.2 соединена через клемму «8», через включатель Вк.6 со вторым входом внешнего излучающего кабеля - 5.3.2; параллельно клемма «а» на выходе контроллера источника переменного тока -1.2 соединена через клемму «9», через включатель Вк.7 со вторым входом внешнего приемного кабеля - 5.3.3; параллельно клемма «а» на выходе контроллера источника переменного тока -1.2 соединена через клемму «10», через включатель Вк.8 со вторым входом внешней экранированной камеры с возможностью исследования переносимых грузов - 5.4.1.
На Фиг. 7 представлена приемопередающая антенная система для замкнутой камеры (фиг. 1), где 6 - элементы приемной антенной системы, состоящей из N приемных антенн в каждой линейке с первой 611 по 61N и N линеек в системе с первой61Nпо 6NN; кроме того, 7 - элементы передающей антенной системы, содержащей N излучателей с первого 71 по N - 7N.
Внешний контроль исследования индикации обнаружения ЯКР осуществляется на основе приемных и передающих переносных кабелей (фиг. 1), при этом выход распределителя энергии 5.3 генератора качающей частоты 1 для питания излучателей вне экранированной камеры соединен параллельно через клемму «1» с входом внешнего приемоизлучающего кабеля 5.3.1, через клемму «2» с внешним излучающим кабелем 5.3.2, и через клемму «3» с внешней экранированной камерой с возможностью исследования переносимых грузов 5.4.1; выход внешнего приемоизлучающего кабеля 5.3.1 соединен через клемму «4» с входом блока согласования для внешних приемных кабелей 5.5, выход внешнего приемного кабеля 5.3.3 соединен через клемму «5» с входом блока согласования для внешних приемных кабелей 5.5, выход внешней экранированной камеры с возможностью исследования переносимых грузов 5.4.1 соединен через клемму «6» с входом блока согласования для внешних приемных кабелей 5.5; выход блока согласования для внешних приемных кабелей 5.5 соединен через вход n2 с блоком исследования спектра излучения сигналов ядерного квадрупольного резонанса 12.1.
На Фиг. 8 представлен внешний приемоизлучающий кабель 5.3.1 содержащий кабель питания длиной 10 метров, по длине которого через каждый метр размещен объемный куб размером 20×20×20 см3 с первого по n; внешняя поверхность каждого куба образована четырьмя поверхностями: первой 1.1, второй 1.2, третьей 1.3 и четвертой 1.4; боковые поверхности 1.5 и 1.6 каждого куба связаны с проходящим через них кабелем питания; внешняя поверхность из n каждого куба имеет одинаковое конструктивное решение по размещению приемной антенны и излучателей; приемная антенна круговой поляризации выполнена конструктивно по типу 611 фиг. 6 и размещается в экране круглой формы диаметром 10см и в центре каждой внешней поверхности куба; остальная внешняя поверхность каждого куба используется для размещения N излучателей, размещенных на экранированной поверхности и выполненных конструктивно по типу 71 (фиг. 3), как облучатель 1, облучатель 2 и облучатель 3; кабель питания с экранированной поверхностью внутри содержит два коаксиальны кабеля; один коаксиальный кабель соединен с одной стороны через клемму «1» с выходом распределителя энергии 5.3 а с другой стороны с входом внешнего приемоизлучающего кабеля 5.3.1, этот вход соединен параллельно с каждым из N излучателей на каждой внешней стороне из n каждого куба, обеспечивая питание излучателей током генератор качающей частоты 1 на диапазон частот от 10кГц до 10МГц (фиг. 1); второй коаксиальный кабель внутри кабеля питания соединен с одной стороны через выход приемоизлучающего кабеля 5.3.1, через клемму «4» с входом блока согласования для внешних приемных кабелей 5.5, а с другой стороны соединен параллельно с каждой приемной антенной круговой поляризации на каждой внешней стороне из n каждого куба; одновременно по длине приемопередающего кабеля, между соседними из «n» кубов приемопередающих включены «n» кубов вентиляции и осушения с первого Д1 по «n» куб Дn, при этом энергоснабжение для работы «n» кубов вентиляции и осушения осуществляется дополнительным кабелем через включатель Вк.5, через клемму «7» соединенную с клеммой «а» на выходе контроллера источника переменного тока - 1.2. (фиг. 1).
На Фиг. 9 представлен внешний излучающий кабель 5.3.2 содержащий кабель питания длиной 10 метров, по длине которого через каждый метр размещен объемный куб размером 20×20×20 см3 с первого по «n»; внешняя поверхность каждого куба образована четырьмя поверхностями: первой 1.1, второй 1.2, третьей 1.3 и четвертой 1.4; боковые поверхности 1.5 и 1.6 каждого куба связаны с проходящим через них кабелем питания; внешняя поверхность из «n» каждого куба имеет одинаковое конструктивное решение по размещению излучателей; внешняя поверхность каждого куба используется для размещения N излучателей, размещенных на экранированной поверхности и выполненных конструктивно по типу 71 (фиг. 3), как облучатель 1, облучатель 2 и облучатель 3; кабель питания с экранированной поверхностью внутри содержит коаксиальный кабель; этот коаксиальный кабель соединен с одной стороны через клемму «2» с выходом распределителя энергии 5.3 а с другой стороны с входом внешнего излучающего кабеля 5.3.2, этот вход соединен параллельно с каждым из N излучателей на каждой внешней стороне из «n» каждого куба, обеспечивая питание излучателей током генератор качающей частоты 1 на диапазон частот от 10 кГц до 10 МГц; одновременно по длине внешнего излучающего кабеля, между соседними из «n» кубов передающих включены «n» кубов вентиляции и осушения с первого Д1 по «n» куб Дn, при этом энергоснабжение для работы «n» кубов вентиляции и осушения осуществляется дополнительным кабелем через включатель Вк.6, через клемму «8» соединенную с клеммой «а» на выходе контроллера источника переменного тока -1.2. (фиг. 1).
На Фиг. 10 представлен внешний приемный кабель 5.3.3, содержащий кабель питания длиной 10 метров, по длине которого через каждый метр размещен объемный куб размером 20×20×20 см3 с первого по «n»; внешняя поверхность каждого куба образована четырьмя поверхностями: первой 1.1, второй 1.2, третьей 1.3 и четвертой 1.4; боковые поверхности 1.5 и 1.6 каждого куба связаны с проходящим через них кабелем питания; при этом выход внешнего приемного кабеля 5.3.3 соединен через клемму «5» с входом блока согласования для внешних приемных кабелей 5.5, внешняя поверхность из «n» каждого куба имеет одинаковое конструктивное решение по размещению четырех приемных антенн круговой поляризации, выполненных конструктивно по типу 611 (фиг. 6) и размещается в экране круглой формы диаметром 10 см каждой на внешней поверхности куба; кабель питания с экранированной поверхностью внутри содержит коаксиальный кабель; этот коаксиальный кабель соединен с одной стороны через клемму «5» с входом блока согласования для внешних приемных кабелей 5.5(фиг. 1), а с другой стороны с входом внешнего приемного кабеля 5.3.3, этот кабель соединен параллельно с каждым из четырех приемных антенн круговой поляризации на каждой внешней стороне из «n» каждого куба; одновременно по длине внешнего приемного кабеля, между соседними из «n» кубов приемных включены «n» кубов вентиляции и осушения с первого Д1 по «n» куб Дn, при этом энергоснабжение для работы «n» кубов вентиляции и осушения осуществляется дополнительным кабелем через включатель Вк.7, через клемму «9» соединенную с клеммой «а» на выходе контроллера источника переменного тока - 1.2. (фиг. 1).
На Фиг. 11 представлена внешняя экранированная камера с возможностью исследования переносимых грузов 5.4.1 содержащая экранированную камеру размером 3м на 3м, в верхней части камеры размещается «N» приемных антенных система (фиг. 6) круговой поляризации от 611 до 61N экранированных от излучателей; приемная антенная система круговой поляризации от 611 до 61N внешней экранированной камеры с возможностью исследования переносимых грузов 5.4.1 соединена через клемму «6» с входом блока согласования для внешних приемных кабелей 5.5 (фиг. 1); в экранированной части пространства внешней экранированной камеры с возможностью исследования переносимых грузов 5.4.1 размещается элементы передающей антенной системы, содержащей «N» излучателей с первого 71 по «N» - 7N (фиг. 3, фиг. 4), при этом элементы передающей антенной системы из «N» излучателей с первого 71 по «N» - 7N соединены через клемму «3» с выходом распределителя энергии 5.3 генератора качающей частоты 1; объекты исследования располагаются в центре нижней части экранированной камеры 5.4.1 на решетки с поглощающими свойствами электромагнитных полей, возбуждаемых излучателями с первого 71 по «N» - 7N; кроме того, внешняя экранированная камера с возможностью исследования переносимых грузов 5.4.1 содержит пространство для вентиляции в нижней части внутри экранированной камеры с размещенными в ней «n» блоков контроля влажности и вентиляции «n» куб Дn, соединенных последовательно и подключенных через включатель Вк.8, через клемму «10» к клемме «а» на выходе контроллера источника переменного тока - 1.2 (фиг. 1).
На Фиг. 12 представлены блоки контроля влажности и вентиляции с первого Д1 по «n» Дn в виде объемных кубов размером 20×20×20 см3: для размещения в пространстве для вентиляции экранированная камера на Фиг. 1, для размещения в пространстве системы вентиляции внешней экранированной камеры с возможностью исследования переносимых грузов нВ фиг. 11, а также внутри трех видов внешних кабелей: внешнего приемопередающего кабеля 5.3.1, внешнего передающего кабеля 5.3.2 и внешнего приемного кабеля 5.3.3; каждый корпус объемных кубов выполнен из нержавеющего металла и имеет вентиляционные отверстия по всем шести плоскостям объема каждого из трех вариантов для блока контроля с первой плоскости -1.1, второй - 1.2, третьей - 1.3, четвертой - 1.4, пятой - 1.5, и шестой - 1.6; в центральной части плоскостей пятой -1.5 и шестой - 1.6 определены отверстия для проходящих кабелей: например, для блоков контроля влажности и вентиляции с первого Д1 по «n» куб Дn внешнего приемопередающего кабеля 5.3.1 прокладывается три кабеля: первый коаксиальный кабель для питания передающих элементов или объемных кубов, соединенный с кабелем питания через клемму «1» с выходом блока распределителя энергии 5.3(фиг. 1); второй коаксиальный кабель для приемных элементов или объемных кубов, соединенный с приемным блоком 5.5 через клемму «4» (фиг. 1); третий кабель для питания блоков или объемных кубов, контроля влажности и вентиляции с первого Д1 по «n» Дn соединенный с кабелем питания через клемму «7» к клемме «а» на выходе контроллера источника переменного тока - 1.2 (фиг. 1); для блоков контроля влажности и вентиляции с первого Д1 по «n» куб Дn внешнего передающего кабеля 5.3.2 прокладывается два кабеля: первый коаксиальный кабель для питания передающих элементов, объемных кубов, соединенный с кабелем питания через клемму «1» с выходом блока распределителя энергии 5.3 (фиг. 1); второй кабель для питания блоков контроля влажности и вентиляции, объемных кубов, с первого Д1 по «n» Дn соединенный с кабелем питания через клемму «8» к клемме «а» на выходе контроллера источника переменного тока -1.2 (фиг. 1); для блоков контроля влажности и вентиляции с первого Д1 по «n» куб Дn внешнего приемного кабеля 5.3.2 прокладывается два кабеля: первый коаксиальный кабель для приемных элементов, объемных кубов, соединенный с приемным блоком 5.5 через клемму «5» (фиг. 1); второй кабель для питания блоков контроля влажности и вентиляции, объемных кубов, с первого Д1 по «n» куб Дn соединенный с кабелем питания через клемму «9» к клемме «а» на выходе контроллера источника переменного тока - 1.2 (фиг. 1); при этом каждый блок контроля влажности и вентиляции или объемный куб с первого Д1 по «n» Дn (фиг. 12.1) содержит блок контроля влажности воздуха изолированный, блок контроля влажности воздуха в среде и блок анализа; напряжение 220 Вольт частотой 50 Гц через клемму «а» на выходе контроллера источника переменного тока - 1.2 (Фиг. 1) поступает на клемму «р» на входе каждого из объемных кубов, представленного конструкцией куба (фиг. 12.1); клемма «р» соединена параллельно с клеммой «н» блока контроля влажности воздуха изолированного и с клеммой «б» блока анализа, блок контроля влажности воздуха изолированного клеммой «м» соединен с клеммой «n» блока контроля влажности воздуха в среде, кроме того, блок контроля влажности воздуха изолированного клеммой «к» соединен с клеммой «а» блока анализа; а клеммой «з» блок контроля влажности воздуха в среде соединен с клеммой «с» блока анализа; при этом блок контроля влажности воздуха изолированный содержит высокочастотный генератор питаемый напряжением 220 В частотой 50 Гц. через клемму «н», выход высокочастотного генератора соединен с одной обкладкой емкости (или резистивного элемента) расположенного внутри блока контроля влажности воздуха изолированного вторая обкладка конденсатора (или резистивного элемента) соединена через клемму «к» блока контроля влажности воздуха изолированного через клемму «а» блока анализа соединена с клеммой «в» вторичной обмотка трансформатора Тр. в блоке анализа(фиг. 12.2), клемма «д» вторичной обмотка трансформатора Тр в блоке анализа заземлена; параллельно выход высокочастотного генератора соединен через клемму «м» блока контроля влажности воздуха изолированного, через клемму «n» блока контроля влажности воздуха в среде соединен с одной обкладкой емкости (или резистивного элемента) расположенного внутри блока контроля влажности воздуха в среде, вторая обкладка емкости (или резистивного элемента) расположенного внутри блока контроля влажности воздуха в среде через клемму «з» этого блока, через клемму «с» блока анализа соединена с клеммой «ж» первичной обмотки трансформатора Тр, (фиг. 12.2), клемма «у» первичной обмотки трансформатора Тр. заземлена; разностный ток возникает из-за работы конденсаторов (или резистивных элементов) в изолированной камере и камере в среде фиксируется третьей обмоткой трансформатора Тр., выход третьей обмотки трансформатора соединен со вторым входом управляющего блока 1.2, на первый вход которого поступает через клемму «б» электрическая энергия частотой 50 Гц и напряжением 220 В., управляющий блок 1.2 подключает энергию источника через первый выход для работы вентилятора в избранных объемных кубах и через второй выход подключение батареи для повышения температуры объемных кубов (фиг. 12.2).
Блок анализа 1.2 на фиг. 12.2 включает на время от одной минуты до пяти минут, по установленной программе, в работу электромотор вентилятора и батарею для обогрева пространства вблизи каждого из кубов от с первого Д1 по «n» куб Дn при подаче напряжения 220 В частотой 50 Гц по цепям; затем система программная отключается и срабатывает система разностных токов возникаемых из-за работы конденсаторов (или резистивных элементов) в изолированной камере и камеры в среде, которые фиксируются третьей обмоткой трансформатора Тр.; этот ток включает через второй вход блок анализа 1.2 на продолжение работы вентилятора и батареи пока не будет ток нулевым в третьей обмотке трансформатора Тр. для следующих цепей:
- в пространстве фиг. 1 для вентиляции экранированной камеры с размещенными с ней n блоков контроля влажности и вентиляции Дn соединенных последовательно и подключенных через включатель Вк.10 к клемме «а» на выходе контроллера источника переменного тока - 1.2;
- в пространстве по длине приемопередающего кабеля, между соседними из «n» кубов приемопередающих включены «n» кубов вентиляции и осушения с первого Д1 по «n» куб Дn, при этом энергоснабжение для работы «n» кубов вентиляции и осушения осуществляется дополнительным кабелем через включатель Вк.5, через клемму «7» соединенную с клеммой «а» на выходе контроллера источника переменного тока - 1.2. (фиг. 1 и фиг. 8).
- в пространстве по длине внешнего излучающего кабеля, между соседними из «n» кубов передающих включены «n» кубов вентиляции и осушения с первого Д1 по «n» куб Дn, при этом энергоснабжение для работы «n» кубов вентиляции и осушения осуществляется дополнительным кабелем через включатель Вк.6, через клемму «8» соединенную с клеммой «а» на выходе контроллера источника переменного тока -1.2. (фиг. 1и фиг. 9).
- в пространстве по длине внешнего приемного кабеля, между соседними из «n» кубов приемных включены «n» кубов вентиляции и осушения с первого Д1 по «n» куб Дn, при этом энергоснабжение для работы «n» кубов вентиляции и осушения осуществляется дополнительным кабелем через включатель Вк.7, через клемму «9» соединенную с клеммой «а» на выходе контроллера источника переменного тока -1.2. (фиг. 1 и фиг. 10).
- в пространстве для вентиляции во внешней экранированной камере с возможностью исследования переносимых грузов 5.4.1 содержит в нижней части внутри экранированной камеры с размещенными в ней «n» блоков контроля влажности и вентиляции «n» куб Дn, соединенных последовательно и подключенных через включатель Вк.8, через клемму «10» к клемме «а» на выходе контроллера источника переменного тока -1.2, (фиг. 1 и фиг. 11).
На Фиг. 13 представлен блок согласования для внешних приемных кабелей 5.5, содержащий два согласующих трансформатора Тр.1 и Тр.2, при этом первый трансформатор Тр.1 имеет три первичные обмотки и шесть вторичный обмоток, а второй трансформатор Тр.2 имеет шесть первичных обмоток и одну вторичную обмотку; первый вход блок согласования для внешних приемных кабелей -5.5 с внешней стороны соединен через клемму «4» с выходом внешнего приемоизлучающего кабеля 5.3.1 (фиг. 1), а внутри блока согласования для внешних приемных кабелей 5.5 первый вход соединен с клеммой «а» первой первичной обмоткой трансформатора Тр.1, при этом клемма «б» первой первичной обмотки трансформатора Тр.1 заземлена; второй вход блок согласования для внешних приемных кабелей 5.5 с внешней стороны соединен через клемму «5» с выходом внешнего приемного кабеля 5.3.3 (фиг. 1), а внутри блока согласования для внешних приемных кабелей 5.5 второй вход соединен с клеммой «а» второй первичной обмоткой трансформатора Тр.1, при этом клемма «б» второй первичной обмотки трансформатора Тр.1 заземлена; третий вход блок согласования для внешних приемных кабелей 5.5 с внешней стороны соединен через клемму «6» с выходом внешней экранированной камерой с возможностью исследования переносимых грузов 5.4.1 (фиг. 1), а внутри блока согласования для внешних приемных кабелей 5.5 третий вход соединен с клеммой «а» третьей первичной обмоткой трансформатора Тр.1, при этом клемма «б» третьей первичной обмотки трансформатора Тр.1 заземлена; первая обмотка «1» из шести вторичных обмоток первого трансформатора Тр.1 соединена через усилитель «А», через полосовой фильтр «П», с полосой пропускания от 10кГц до 20кГц, с клеммами «а» и «б» первой первичной обмоткой второго трансформатора Тр.2; вторая обмотка «2» из шести вторичных обмоток первого трансформатора Тр.1 соединена через усилитель «В», через полосовой фильтр «М», с полосой пропускания от 20кГц до 50кГц, с клеммами «а» и «б» второй первичной обмоткой второго трансформатора Тр.2; третья обмотка «3» из шести вторичных обмоток первого трансформатора Тр.1 соединена через усилитель «С», через полосовой фильтр «Н», с полосой пропускания от 50кГц до 100кГц, с клеммами «а» и «б» третьей первичной обмоткой второго трансформатора Тр.2; четвертая обмотка «4» из шести вторичных обмоток первого трансформатора Тр.1 соединена через усилитель «Д», через полосовой фильтр «Р», с полосой пропускания от 100кГц до 500кГц, с клеммами «а» и «б» четвертой первичной обмоткой второго трансформатора Тр.2; пятая обмотка «5» из шести вторичных обмоток первого трансформатора Тр.1 соединена через усилитель «Е», через полосовой фильтр «О», с полосой пропускания от 500кГц до 1000кГц, с клеммами «а» и «б» пятой первичной обмоткой второго трансформатора Тр.2;
шестая обмотка «6» из шести вторичных обмоток первого трансформатора Тр.1 соединена через усилитель «К», через полосовой фильтр «Л», с полосой пропускания от 1000кГц до 10000кГц, с клеммами «а» и «б» шестой первичной обмоткой второго трансформатора Тр.2; вторичная обмотка второго трансформатора Тр.2 клеммами «с» и «д» соединена с выходом блока согласования для внешних приемных кабелей 5.5.
Таким образом, исследование ЯКР для различных видов сред по объему и их транспортировки созданы различные элементы. Внутренние в замкнутой камере объекты типа железнодорожные составы или автомобили 8 (фиг. 1) проходят исследование на предмет ЯКР на основе работы излучателей: 71 и 7N, совместно с приемными системами: 611 и 61N. Экранированная камера работает при условии подключения элементов генерации: генератора качающей частоты 1 через один формирователей 2 или 3, через блок выбора режима работы 4, через усилитель мощности 5, через короткозамкнутые клеммы «и» и «т» четвертого включателя Вк.4 и через согласующее устройство передающей антенной системы 5.2 для возбуждения излучателей 71 и 7N. Возбужденная область внутри замкнутой камеры облучает объект 8 частотами от 10кГц до 10МГц, что приводит к появлению отклика от перевозимого груза объектом 8 в виде ЯКР излучения. Это излучение воспринимается N приемными антенными системами 611 и 61N и поступает на обработку в формирователь информации приемной антенной системой 9 и далее приемная система состоящая из: 10 - блок фильтров, 11 - блок анализа спектра ядерного квадрупольного резонанса излучения, 12.1 - блок исследования спектра излучения сигналов ядерного квадрупольного резонанса, 12.2 -индикатор ЯКР, 13 - аналитический блок слабых сигналов ЯКР, блок контроля температуры окружающей среды 14.
При работе вне экранированной камеры элементы генерации: генератора качающей частоты 1 через один из формирователей 2 или 3, через блок выбора режима работы 4, через усилитель мощности 5, через короткозамкнутые клеммы «з» и «л» четвертого включателя Вк.4 и через распределитель энергии генератора для питания излучателей вне экранированной камеры 5.3 для возбуждения излучателей: во внешнем приемоизлучающим кабеле 5.3.1, во внешнем излучающим кабеле 5.3.2, во внешней экранированной камере с возможностью исследования переносимых грузов 5.4.1. Результаты внешних исследований выявления ЯКР излучений через блоки приема: внешний приемоизлучающий кабель 5.3.1, внешний приемный кабель 5.3.3 и внешнюю экранированную камеру с возможностью исследования переносимых грузов 5.4.1 поступают через блок согласования для внешних приемных кабелей 5.5 и через вход П2 формирователя информации приемной антенной системой 9. Таким образом, включатель Вк.4 обеспечивает работу приемопередающей системы внутри экранированной камеры или вне этой камеры.
Для создания излучения возбуждающего сигналы ядерного квадрупольного резонанса используется формирователь импульсов частотных 2.
На Фиг. 14 представлен формирователь импульсов частотных 2, где первый формирователь групп одно миллисекундных частотных импульсов 2.1, второй формирователь групп двух миллисекундных частотных импульсов 2.2, третий формирователь групп трех миллисекундных частотных импульсов 2.3, четвертый формирователь групп четырех миллисекундных частотных импульсов 2.4, генератор одно миллисекундных импульсов 2.5, четыре четырех контактных включателя: Вк.1, Вк.2, Вк.3и Вк.4; четыре элемента И: первый 2.6, второй 2.7, третий 2.8 и четвертый 2.9; четыре кнопки одноразового запуска работы четырех формирователей: Кн.1, Кн.2, Кн.3 и Кн.4; при этом выход генератора одно миллисекундных импульсов 2.5 соединен параллельно непосредственно с первым входом первого элемента И 2.6 и со вторым входом первого элемента И 2.6 через первую кнопку Кн.1 для одноразового запуска пуска работы первого формирователя, выход первого элемента И 2.6 соединен с первым входом первого формирователя групп одно миллисекундных частотных импульсов 2.1, первый выход первого формирователя групп одно миллисекундных частотных импульсов 2.1 соединен с выходом формирователя импульсов частотных 2 через клеммы «с» и «д» первого четырех контактного включателя Вк.1, второй выход первого формирователя групп одно миллисекундных частотных импульсов 2.1 соединен со вторым входом первого элемента И 2.6 через клеммы «а» и «б» первого четырех контактного включателя Вк.1 для циклической работы первого формирователя; выход генератора одно миллисекундных импульсов 2.5 соединен параллельно непосредственно с первым входом второго элемента И 2.7 и со вторым входом второго элемента И 2.7 через вторую кнопку Кн.2 для одноразового запуска работы второго формирователя, выход второго элемента И 2.7 соединен с первым входом второго формирователя групп двух миллисекундных частотных импульсов 2.2, первый выход второго формирователя групп двух миллисекундных частотных импульсов 2.2 соединен с выходом формирователя импульсов частотных 2 через клеммы «с» и «д» второго четырех контактного включателя Вк.2, второй выход второго формирователя групп двух миллисекундных частотных импульсов 2.2 соединен со вторым входом второго элемента И 2.7 через клеммы «а» и «б» второго четырех контактного включателя Вк.2 для циклической работы второго формирователя; выход генератора одно миллисекундных импульсов 2.5 соединен параллельно непосредственно с первым входом третьего элемента И 2.8 и со вторым входом третьего элемента И 2.8 через третью кнопку Кн.3 для одноразового запуска работы третьего формирователя, выход третьего элемента И 2.8 соединен с первым входом третьего формирователя групп трех миллисекундных частотных импульсов 2.3, первый выход третьего формирователя групп трех миллисекундных частотных импульсов 2.3 соединен с выходом формирователя импульсов частотных 2 через клеммы «с» и «д» третьего четырех контактного включателя Вк.3, второй выход третьего формирователя групп трех миллисекундных частотных импульсов 2.3 соединен со вторым входом третьего элемента И 2.8 через клеммы «а» и «б» третьего четырех контактного включателя Вк.3для циклической работы третьего формирователя; выход генератора одно миллисекундных импульсов 2.5 соединен параллельно непосредственно с первым входом четвертого элемента И 2.9 и со вторым входом четвертого элемента И 2.9 через четвертую кнопку Кн.4 для одноразового запуска работы четвертого формирователя, выход четвертого элемента И 2.9 соединен с первым входом четвертого формирователя групп четырех миллисекундных частотных импульсов 2.4, первый выход четвертого формирователя групп четырех миллисекундных частотных импульсов 2.4 соединен с выходом формирователя импульсов частотных 2 через клеммы «с» и «д» четвертого четырех контактного включателя Вк.4, второй выход четвертого формирователя групп четырех миллисекундных частотных импульсов 2.4 соединен со вторым входом четвертого элемента И 2.9 через клеммы «а» и «б» четвертого четырех контактного включателя Вк.4 для циклической работы четвертого формирователя; вход формирователя импульсов частотных 2 соединен параллельно со вторым входом первого формирователя групп одно миллисекундных частотных импульсов 2.1, со вторым входом второго формирователя групп двух миллисекундных частотных импульсов 2.2, со вторым входом третьего формирователя групп трех миллисекундных частотных импульсов 2.3 и со вторым входом четвертого формирователя групп четырех миллисекундных частотных импульсов 2.4.
При замыкании четырех контактного включателя одного из четырех: например, для Вк.1 при замыкании клемм «а» и «б» и клемм «с» и «д», в случае выключенных включателях Вк.2, Вк.3и Вк.4, осуществляется циклическая работа формирователя групп одно миллисекундных частотных импульсов 2.1, а при замыкании только клемм «с» и «д» и разомкнутых клеммах «а» и «б» первого включателя Вк.1 для одноразовой работы формирователя групп одно миллисекундных частотных импульсов 2.1 необходимо нажатие первой кнопки Кн.1, на выходе формирователя импульсов частотных 2 появятся только три группы импульсов. Также, при замыкании клемм «а» и «б» и клемм «с» и «д» второго включателя Вк.2, в случае выключенных включателях Вк.1, Вк.3и Вк.4, осуществляется циклическая работа формирователя групп двух миллисекундных частотных импульсов 2.2, а при замыкании клеммах «с» и «д» и разомкнутых клеммах «а» и «б» второго включателя Вк.2 для одноразовой работы формирователя групп двух миллисекундных частотных импульсов 2.2 необходимо нажатие второй кнопки Кн.2, на выходе формирователя импульсов частотных 2 появятся только три группы импульсов. Подобным образом осуществляется запуск на одноразовую работу или циклическую для третьего формирователя групп трех миллисекундных частотных импульсов 2.3 и для четвертого формирователя групп четырех миллисекундных частотных импульсов 2.4. на основании замыкания клемм включателей Вк.3и Вк.4.
Теоретические исследования показали необходимую длительность импульсов и их частотное заполнение. Целесообразно рассмотреть схемные решения для блоков формирования импульсов.
На Фиг. 15 представлен первый формирователь групп одно миллисекундных частотных импульсов 2.1, где первый вентиль В.1, второй вентиль В.2, третий вентиль В.3, четвертый вентиль В.4, пятый вентиль В.5, шестой вентиль В.6, седьмой вентиль В.7, восьмой вентиль В.8, девятый вентиль В.9, десятый вентиль В. 10, первая линия задержки на 2 мс 15.1, вторая линия задержки на 2 мс 15.2, третья линия задержки на 4 мс 16, четвертая линия задержки на 2 мс 15.3, пятая линия задержки на 4 мс 17, триггер одно миллисекундный 18, шестая линия задержки на 8 мс 19, седьмая линия задержки на 10мс 20, первый элемент И 21.1, второй элемент И 21.2, умножитель частоты на два 22, при этом первой кнопкой Кн.1(фиг. 14), для запуска триггера одно миллисекундного 18, на короткое время генератор одно миллисекундных импульсов 2.5 формирователя импульсов частотных 2 подключается к первому входу первого формирователя групп одно миллисекундных частотных импульсов 2.1, первый вход соединен с входом триггера одно миллисекундного 18; выход триггера одно миллисекундного 18 соединен параллельно с входом шестой линии задержки на 8 мс 19, а через первый вентиль В.1, через первую линию задержки на 2 мс 15.1 со вторым входом первого элемента И 21.1, также через второй вентиль В.2 со вторым входом первого элемента И 21.1; выход шестой линии задержки на 8 мс 19 соединен параллельно с входом седьмой линии задержки на 10мс 20, а через третий вентиль В.3 и через вторую линию задержки на 2 мс 15.2 со вторым входом второго элемента И 21.2, также через четвертый вентиль В.4 и через третью линию задержки на 4 мс 16 со вторым входом первого элемента И 21.1, а также через пятый вентиль В.5 со вторым входом первого элемента И 21.1; выход седьмой линии задержки на 10мс 20 соединен параллельно через шестой вентиль В.6 через четвертую линию задержки на 2 мс 15.3 со вторым входом первого элемента И 21.1, а через седьмой вентиль В.7 и через пятую линию задержки на 4 мс 17 параллельно через девятый вентиль В.9 со вторым входом второго элемента И 21.2, а через десятый вентиль В. 10 со вторым выходом первого формирователя групп одно миллисекундных частотных импульсов 2.1, кроме того, выход седьмой линии задержки на 10мс 20 соединен через восьмой вентиль В.8 со вторым входом второго элемента И 21.2; выход второго элемента И 21.2 соединен с первым выходом первого формирователя групп одно миллисекундных частотных импульсов 2.1; второй вход первого формирователя групп одно миллисекундных частотных импульсов 2.1 соединен параллельно с первым входом первого элемента И 21.1 и через умножитель частоты на два 22 с первым входом второго элемента И 21.2; выход первого элемента И 21.1 соединен с первым выходом первого формирователя групп одно миллисекундных частотных импульсов 2.1. Как видно запуск формирователя осуществляется нажатием кнопки Вк.1 в формирователе импульсов частотных 2 как на одноразовый запуск формирователя групп одно миллисекундных частотных импульсов 2.1, так и на циклическую его работу.
На Фиг. 16 представлено распределение импульсов и их длительность, которые формирует первый формирователь групп одно миллисекундных частотных импульсов 2.1, где длительность всех импульсов, создаваемых первым формирователем групп одно миллисекундные с частотным заполнением импульсов, соответствует τ=1 мс, причем образовано три группы импульсов: первая группа два импульса, вторая - три и третья - три; τрасстояние между импульсами в каждой группе равно 1 мс и расстояние между группами 5 мс; заполнение (модуляция) импульсов обоснованной, рабочей частотой f1 генератора качающей частоты 1 (фиг. 1) в диапазоне частот от 10кГц до 10МГц; причем второй импульс во второй группе, а также первый и третий импульсы в третьей группе заполнены удвоенной частотой 2f1.
На Фиг. 17 представлен второй формирователь групп двух миллисекундных частотных импульсов 2.2, где одиннадцатый вентиль В.11, двенадцатый вентиль В.12, тринадцатый вентиль В.13, четырнадцатый вентиль В.14, пятнадцатый вентиль В.15, шестнадцатый вентиль В.16, семнадцатый вентиль В.17, восемнадцатый вентиль В. 18, девятнадцатый вентиль 19, двадцатый вентиль В.20, первая линия задержки на 3мс 23, вторая линия задержки на 3мс 24, третья линия задержки на 6мс 25, четвертая линия задержки на 3мс 26, пятая линия задержки на 6мс 27, триггер двух миллисекундный 28, шестая линия задержки на 10мс 29, седьмая линия задержки на 13 мс 30, первый элемент И 31.1, второй элемент И 31.2, умножитель частоты на два 32, при этом второй кнопкой Кн.2 (фиг. 14) запуска триггера двух миллисекундного 28 на короткое время генератор 2.5 подключается к первому входу второго формирователя групп двух миллисекундных частотных импульсов 2.2, первый вход второго формирователя групп двух миллисекундных частотных импульсов 2.2 соединен с входом триггера двух миллисекундного 28; выход триггера двух миллисекундного 28 соединен параллельно с входом шестой линии задержки на 10мс 29, а через одиннадцатый вентиль В.11 и через первую линию задержки на 3мс 23 со вторым входом первого элемента И 31.1, также выход триггера двух миллисекундного 28 соединен через двенадцатый вентиль В. 12 со вторым входом первого элемента И 31.1; выход шестой линии задержки на 10 мс 29 соединен параллельно с входом седьмой линии задержки на 13 мс 30, а через тринадцатый вентиль В. 13 и через вторую линию задержки на 3мс 24 со вторым входом второго элемента И 31.2; также выход шестой линии задержки на 10мс 29 соединен через четырнадцатый вентиль В. 14 и через третью линию задержки на 6мс 25 со вторым входом первого элемента И 31.1, а также выход шестой линии задержки на 10мс 29 соединен через пятнадцатый вентиль В. 15 со вторым входом первого элемента И 31.1; выход седьмой линии задержки на 13 мс 30 соединен параллельно через шестнадцатый вентиль В. 16 и через четвертую линию задержки на 3мс 26 со вторым входом первого элемента И 31.1, также выход седьмой линии задержки на 13 мс 30 через восемнадцатый вентиль В. 18 соединен со вторым входом второго элемента И 31.2, а выход седьмой линии задержки на 13 мс 30 соединен через семнадцатый вентиль В. 17 и через пятую линию задержки на 6мс 27 параллельно: через девятнадцатый вентиль В. 19 со вторым входом второго элемента И 31.2, а через двадцатый вентиль 20 со вторым выходом второго формирователя групп двух миллисекундных частотных импульсов 2.2; выход второго элемента И 31.2 соединен с первым выходом второго формирователя групп двух миллисекундных частотных импульсов 2.2; второй вход второго формирователя групп двух миллисекундных частотных импульсов 2.2 соединен параллельно с первым входом первого элемента И 31.1 и также через умножитель частоты на два 32 с первым входом второго элемента И 31.2; выход первого элемента И 31.1 соединен с первым выходом второго формирователя групп двух миллисекундных частотных импульсов 2.2. Как видно запуск формирователя осуществляется нажатием кнопки Вк.2 в формирователе импульсов частотных 2, как на одноразовый запуск формирователя групп двух миллисекундных частотных импульсов 2.2, так и на циклическую его работу.
На Фиг. 18 представлено временное распределение импульсов и их длительность, которые формирует второй формирователь групп двух миллисекундных частотных импульсов 2.2, где длительность всех импульсов, создаваемых вторым формирователем групп двух миллисекундные с частотным заполнением импульсов, т.е. соответствует τ=2 мс, причем образовано три группы импульсов: первая группа два импульса, вторая - три и третья - три; расстояние между импульсами в каждой группе равно 1 мс и расстояние между группами 5 мс; заполнение (модуляция) импульсов обоснованной, рабочей частотой f1 генератора качающей частоты 1 (фиг. 1) в диапазоне частот от 10кГц до 10МГц; причем второй импульс во второй группе, а также первый и третий импульсы в третьей группе заполнены удвоенной частотой 2f1.
На Фиг. 19 представлен третий формирователь групп трех миллисекундных частотных импульсов 2.3, где двадцать первый вентиль В.21, двадцать второй вентиль В.22, двадцать третий вентиль В.23, двадцать четвертый вентиль В.24, двадцать пятый вентиль В.25, двадцать шестой вентиль В.26, двадцать седьмой вентиль В.27, двадцать восьмой вентиль В.28, двадцать девятый вентиль В.29, тридцатый вентиль 30, первая линия задержки на 4 мс 33, вторая линия задержки на 4 мс 34, третья линия задержки на 8 мс 35, четвертая линия задержки на 4 мс 36, пятая линия задержки на 8 мс 37, шестая линия задержки на 12 мс 39, седьмая линия задержки на 16 мс 40, триггер трех миллисекундный 38, первый элемент И 41.1, второй элемент И 41.2, умножитель частоты на два 42, при этом третьей кнопкой Кн.3 (фиг. 14) запуска триггера трех миллисекундного 38 на короткое время генератор одно миллисекундных импульсов 2.5 формирователя 2 подключается к первому входу третьего формирователя групп трех миллисекундных частотных импульсов 2.3, первый вход третьего формирователя групп трех миллисекундных частотных импульсов 2.3 соединен с входом триггера трех миллисекундного 38; выход триггера трех миллисекундного 38 соединен параллельно с входом шестой линии задержки на 12 мс 39, а через двадцать первый вентиль В.21 и через первую линию задержки на 4 мс 33 со вторым входом первого элемента И 41.1; параллельно выход триггера трех миллисекундного 38 соединен через двадцать второй вентиль В.22 со вторым входом первого элемента И 41.1; выход шестой линии задержки на 12 мс 39 соединен параллельно с входом седьмой линии задержки на 16 мс 40, параллельно выход шестой линии задержки на 12 мс 39 через двадцать третий вентиль В.23 и через вторую линию задержки на 4 мс 34 соединен со вторым входом второго элемента И 41.2, также выход шестой линии задержки на 12 мс 39 соединен через двадцать четвертый вентиль В.24 и через третью линию задержки на 8 мс 35 со вторым входом первого элемента И 41.1, а также выход шестой линии задержки на 12 мс 39 соединен через двадцать пятый вентиль В.25 со вторым входом первого элемента И 41.1; выход седьмой линии задержки на 16 мс 40 соединен параллельно через двадцать шестой вентиль В.26 и через четвертую линию задержки на 4 мс 36 со вторым входом первого элемента И 41.1, а выход седьмой линии задержки на 16 мс 40 соединен через двадцать седьмой вентиль В.27, через пятую линию задержки на 8 мс 37 параллельно: через двадцать девятый вентиль В.29 со вторым входом второго элемента И 41.2, а через тридцатый вентиль 30 со вторым выходом третьего формирователя групп трех миллисекундных частотных импульсов 2.3; кроме того, выход седьмой линии задержки на 16 мс 40 соединен через двадцать восьмой вентиль В.28 со вторым входом второго элемента И 41.2; выход второго элемента И 41.2 соединен с первым выходом третьего формирователя групп трех миллисекундных частотных импульсов 2.3; второй вход третьего формирователя групп трех миллисекундных частотных импульсов 2.3 соединен параллельно с первым входом первого элемента И 41.1 и также через умножитель частоты на два 42 с первым входом второго элемента И 41.2; выход первого элемента И 41.1 соединен с первым выходом третьего формирователя групп трех миллисекундных частотных импульсов 2.3. Как видно запуск формирователя осуществляется нажатием кнопки Вк.3в формирователе импульсов частотных 2, как на одноразовый запуск формирователя групп трех миллисекундных частотных импульсов 2.3, так и на циклическую его работу.
На Фиг. 20 представлено временное распределение импульсов и их длительность, которые формирует третий формирователь групп трех миллисекундных частотных импульсов 2.3, где длительность всех импульсов, создаваемых третьим формирователем групп трех миллисекундные с частотным заполнением импульсов, т.е. соответствует τ=3 мс, причем образовано три группы импульсов: первая группа два импульса, вторая - три и третья - три; расстояние между импульсами в каждой группе равно 1 мс и расстояние между группами 5 мс; заполнение (модуляция) импульсов обоснованной, рабочей частотой f1 генератора качающей частоты 1 (фиг. 1) в диапазоне частот от 10кГц до 10МГц; причем второй импульс во второй группе, а также первый и третий импульсы в третьей группе заполнены удвоенной частотой 2f1.
На Фиг. 21 представлен четвертый формирователь групп четырех миллисекундных частотных импульсов 2.4, где тридцать первый вентиль В.31, тридцать второй вентиль В.32, тридцать третий вентиль В.33, тридцать четвертый вентиль В.34, тридцать пятый вентиль В.35, тридцать шестой вентиль В.36, тридцать седьмой вентиль В.37, тридцать восьмой вентиль В.38, тридцать девятый вентиль В.39, сороковой вентиль В.40 первая линия задержки на 5 мс 43, вторая линия задержки на 5 мс 44, третья линия задержки на 10мс 45, четвертая линия задержки на 5 мс 46, пятая линия задержки на 10мс 47, триггер четырех миллисекундный 48, шестая линия задержки на 14 мс 49, седьмая линия задержки на 19 мс 50, первый элемент И 51.1, второй элемент И 51.2, умножитель частоты на два 52, при этом четвертой кнопкой Кн.4 (фиг. 14) запуска триггера четырех миллисекундного 48 на короткое время генератор одно миллисекундных импульсов 2.5 формирователя 2 подключается к первому входу четвертого формирователя групп четырех миллисекундных частотных импульсов 2.4, первый вход четвертого формирователя групп четырех миллисекундных частотных импульсов 2.4 соединен с входом триггера четырех миллисекундного 48; выход триггера четырех миллисекундного 48 соединен параллельно с входом шестой линии задержки на 14 мс 49, а через тридцать первый вентиль В.31 и через первую линию задержки на 5 мс 43 со вторым входом первого элемента И 51.1, также выход триггера четырех миллисекундного 48 соединен через тридцать второй вентиль В.32 со вторым входом первого элемента И 51.1; выход шестой линии задержки на 14 мс 49 соединен параллельно с входом седьмой линии задержки на 19 мс 50, а также выход шестой линии задержки на 14 мс 49 через тридцать третий вентиль В.33 и через вторую линию задержки на 5 мс 44 соединен со вторым входом второго элемента И 51.2; также выход шестой линии задержки на 14 мс 49 соединен через тридцать четвертый вентиль В.34 и через третью линию задержки на 10мс 45 со вторым входом первого элемента И 51.1; а также выход шестой линии задержки на 14 мс 49 соединен через тридцать пятый вентиль В.35 со вторым входом первого элемента И 51.1; выход седьмой линии задержки на 19 мс 50 соединен параллельно через тридцать шестой вентиль В.36 и через четвертую линию задержки на 5 мс 46 со вторым входом первого элемента И 51.1, а выход седьмой линии задержки на 19 мс 50 соединен через тридцать седьмой вентиль В.37 и через четвертую линию задержки на 10 мс 47 параллельно: через тридцать девятый вентиль В.39 со вторым выходом второго элемента И 51.2, а через сороковой вентиль В.40 со вторым выходом четвертого формирователя групп четырех миллисекундных частотных импульсов 2.4; кроме того выход седьмой линии задержки на 19 мс 50 соединен через тридцать восьмой вентиль В.38 со вторым входом второго элемента И 51.2; выход второго элемента И 51.2 соединен с выходом четвертого формирователя групп четырех миллисекундных частотных импульсов 2.4; второй вход четвертого формирователя групп четырех миллисекундных частотных импульсов 2.4 соединен параллельно с первым входом первого элемента И 51.1 и также через умножитель частоты на два 52 с первым входом второго элемента И 51.2; выход первого элемента И 51.1 соединен с первым выходом четвертого формирователя групп четырех миллисекундных частотных импульсов 2.4. Как видно запуск формирователя осуществляется нажатием кнопки Вк.4 в формирователе импульсов частотных 2, как на одноразовый запуск формирователя групп четырех миллисекундных частотных импульсов 2.4, так и на циклическую его работу.
На Фиг. 22 представлено временное распределение импульсов и их длительность, которые формирует четвертый формирователь групп четырех миллисекундных частотных импульсов 2.4, где длительность всех импульсов, создаваемых третьим формирователем групп четырех миллисекундные с частотным заполнением импульсов, т.е. соответствует τ=4 мс, причем образовано три группы импульсов: первая группа два импульса, вторая - три и третья - три; расстояние между импульсами в каждой группе равно 1 мс и расстояние между группами 5 мс; заполнение (модуляция) импульсов обоснованной, рабочей частотой f1 генератора качающей частоты 1 (фиг. 1) в диапазоне частот от 10 Гц до 10МГц; причем второй импульс во второй группе, а также первый и третий импульсы в третьей группе заполнены удвоенной частотой 2f1.
На Фиг. 23 представлен формирователь импульсов временных 3, где первый формирователь групп одно и двух миллисекундных импульсов 3.1, второй формирователь групп двух и четырех миллисекундных импульсов 3.2, третий формирователь групп трех и шести миллисекундных импульсов 3.3, четвертый формирователь групп четырех и восьми миллисекундных импульсов 3.4, генератор одно миллисекундных импульсов 3.5, четыре четырех контактных включателя: Вк.1, Вк.2, Вк.3и Вк.4; четыре элемента И: первый 3.6, второй 3.7, третий 3.8 и четвертый 3.9; четыре кнопки одноразового запуска работы четырех формирователей: Кн.1, Кн.2, Кн.3 и Кн.4; при этом выход генератора одно миллисекундных импульсов 3.5 соединен с первым входом первого формирователя групп одно и двух миллисекундных импульсов 3.1 через первый вход первого элемента И 3.6, параллельно выход генератора одно миллисекундных импульсов 3.5 соединен со вторым входом первого элемента И 3.6 через первую кнопку Кн.1 для одноразового запуска работы первого формирователя 3.1, первый выход первого формирователя групп одно и двух миллисекундных импульсов 3.1 соединен с выходом формирователя импульсов временных 3 через клеммы «с» и «д» первого четырех контактного включателя Вк.1, а второй выход первого формирователя групп одно и двух миллисекундных импульсов 3.1 соединен со вторым входом первого элемента И 3.6 через клеммы «а» и «б» первого четырех контактного включателя Вк. 1 для циклической работы первого формирователя групп одно и двух миллисекундных импульсов 3.1; выход генератора одно миллисекундных импульсов 3.5 соединен с первым входом второго формирователя групп двух и четырех миллисекундных импульсов 3.2 через первый вход второго элемента И 3.7, а также параллельно выход генератора одно миллисекундных импульсов 3.5 соединен со вторым входом второго элемента И 3.7 через вторую кнопку Кн.2 для одноразового запуска работы второго формирователя 3.2, первый выход второго формирователя групп двух и четырех миллисекундных импульсов 3.2 соединен с выходом формирователя импульсов временных 3 через клеммы «с» и «д» второго четырех контактного включателя Вк.2, а второй выход второго формирователя групп двух и четырех миллисекундных импульсов 3.2 соединен со вторым входом второго элемента И 3.7 через клеммы «а» и «б» второго четырех контактного включателя Вк.2 для циклической работы второго формирователя групп двух и четырех миллисекундных импульсов 3.2; выход генератора одно миллисекундных импульсов 3.5 соединен с первым входом третьего формирователя групп трех и шести миллисекундных импульсов 3.3 через рез первый вход третьего элемента И 3.8, параллельно выход генератора одно миллисекундных импульсов 3.5 соединен со вторым входом третьего элемента И 3.8 через третью кнопку Кн.3 для одноразового запуска работы третьего формирователя 3.3, первый выход третьего формирователя групп трех и шести миллисекундных импульсов 3.3 соединен с выходом формирователя импульсов временных 3 через клеммы «с» и «д» третьего четырех контактного включателя Вк.3, а второй выход третьего формирователя групп трех и шести миллисекундных импульсов 3.3 соединен со вторым входом третьего элемента И 3.8 через клеммы «а» и «б» третьего четырех контактного включателя Вк.3для циклической работы третьего формирователя групп трех и шести миллисекундных импульсов 3.2; выход генератора одно миллисекундных импульсов 3.5 соединен с первым входом четвертого формирователя групп четырех и восьми миллисекундных импульсов 3.4 через первый вход четвертого элемента И 3.9, параллельно выход генератора одно миллисекундных импульсов 3.5 соединен со вторым входом четвертого элемента И 3.9 через четвертую кнопку Кн.4 одноразового запуска работы четвертого формирователя 3.4, первый выход четвертого формирователя групп четырех и восьми миллисекундных импульсов 3.4 соединен с выходом формирователь импульсов временных 3 через клеммы «с» и «д» четвертого четырех контактного включателя Вк.4, а второй выход четвертого формирователя групп четырех и восьми миллисекундных импульсов 3.4 соединен со вторым входом четвертого элемента И 3.9 через клеммы «а» и «б» четвертого четырех контактного включателя Вк.4 для циклической работы четвертого формирователя групп четырех и восьми миллисекундных импульсов 3.4.; вход формирователя импульсов временных 3 соединен параллельно со вторым входом первого формирователя групп одно и двух миллисекундных импульсов 3.1, со вторым входом второго формирователя групп двух и четырех миллисекундных импульсов 3.2, со вторым входом третьего формирователя групп трех и шести миллисекундных импульсов 3.3 и со вторым входом четвертого формирователя групп четырех и восьми миллисекундных импульсов 3.4.
При замыкании четырех контактного включателя одного из четырех: например, для Вк.1 при замыкании клемм «а» и «б» и клемм «с» и «д», в случае выключенных включателях Вк.2, Вк.3и Вк.4, осуществляется циклическая работа первого формирователя групп одно и двух миллисекундных импульсов 3.1, а при замыкании только клемм «с» и «д» и разомкнутых клеммах «а» и «б» первого включателя Вк.1 для одноразовой работы первого формирователя групп одно и двух миллисекундных импульсов 3.1 необходимо нажатие первой кнопки Кн.1, на выходе формирователя импульсов временных 3 появятся только три группы импульсов. Также, при замыкании клемм «а» и «б» и клемм «с» и «д» второго включателя Вк.2, в случае выключенных включателях Вк.1, Вк.3и Вк.4, осуществляется циклическая работа формирователя групп двух и четырех миллисекундных импульсов 3.2, а при замыкании клеммах «с» и «д» и разомкнутых клеммах «а» и «б» второго включателя Вк.2 для одноразовой работы формирователя групп двух и четырех миллисекундных импульсов 3.2 необходимо нажатие второй кнопки Кн.2, на выходе формирователя импульсов временных 3 появятся только три группы импульсов. Подобным образом осуществляется запуск на одноразовую работу или циклическую для третьего формирователя групп трех и шести миллисекундных импульсов 3.3 и для четвертого формирователя групп четырех и восьми миллисекундных импульсов 3.4. на основании замыкания клемм включателей Вк.3и Вк.4.
Теоретические исследования показали необходимую длительность импульсов и их частотное заполнение. Целесообразно рассмотреть схемные решения для блоков формирования импульсов.
На Фиг. 24 представлен первый формирователь групп одно и двух миллисекундных импульсов 3.1, где первый вентиль В.41, второй вентиль В.42, третий вентиль В.43, четвертый вентиль В.44, пятый вентиль В.45, шестой вентиль В.46, седьмой вентиль В.47, восьмой вентиль В.48, девятый вентиль В.49, первая линия задержки на 2 мс.53, вторая линия задержки на 8 мс 54, третья линия задержки на 13 мс 55, четвертая линия задержки на 22 мс 56, пятая линия задержки на 10мс 57, шестая линия задержки на 19 мс 58, седьмая линия задержки на 10мс 60, первый триггер на 1 мс 59, второй триггер на 2 мс 61, элемент И 62; при этом первой кнопкой Кн.1 (фиг. 23) для запуска первого триггера одно миллисекундного 1 мс 59 на короткое время генератор одно миллисекундных импульсов 3.5 формирователя 3 подключается к первому входу первого формирователя групп одно и двух миллисекундных импульсов 3.1; первый вход первого формирователя групп одно и двух миллисекундных импульсов 3.1 подключен к входу первого триггера одно миллисекундного 1 мс 59; выход первого триггера одно миллисекундного 1 мс 59 соединен параллельно по пяти линиям со вторым входом элемента И 62: по первой линии - через первый вентиль В.41; по второй линии - через первую линию задержки на 2 мс 53 и через второй вентиль В.42; по третьей линии - через седьмую линию задержки на 10мс 60 и через третий вентиль В.43; по четвертой линии через седьмую линию задержки на 10мс 60, вторую линию задержки на 8 мс 54 и через четвертый вентиль В.44; по пятой линии -через седьмую линию задержки на 10мс 60, через третью линию задержки на 13 мс 55 и через пятый вентиль 45; выход седьмой линии задержки на 10мс 60 соединен со вторым триггером на 2 мс 61; выход второго триггера на 2 мс 61 соединен по трем линиям со вторым входом элемента И 62: по первой линии - через четвертую линию задержки на 22 мс 56 и через шестой вентиль В.46; по второй линии - через пятую линию задержки на 10мс 57 и через седьмой вентиль В.47; по третьей линии - через шестую линию задержки на 19 мс 58, через восьмой вентиль В.48 и через девятый вентиль В.49; одновременно выход восьмого вентиля В.48 соединен со вторым выходом первого формирователя групп одно и двух миллисекундных импульсов 3.1; второй вход первого формирователя групп одно и двух миллисекундных импульсов 3.1 соединен с первым входом элемента И 62; выход элемента И 62 соединен с первым выходом первого формирователя групп одно и двух миллисекундных импульсов 3.1. Как видно запуск первого формирователя групп одно и двух миллисекундных импульсов 3.1 осуществляется нажатием кнопки Вк.1 в формирователе импульсов временных 3, как на одноразовый запуск формирователя 3.1, так и на циклическую его работу.
На Фиг. 25 представлено временное распределение импульсов и их длительность, которые формирует первый формирователь групп одно и двух миллисекундных импульсов 3.1, где длительность импульсов, создаваемых первым формирователем групп одно и двух миллисекундных импульсов с одинаковым частотным заполнением импульсов, т.е. соответствует τ=1 мс, и τ=2 мс, причем образовано три группы импульсов: первая группа два импульса, вторая - три и третья - три; расстояние между импульсами в каждой группе равно 1 мс и расстояние между группами 5 мс; заполнение (модуляция) импульсов обоснованной, рабочей частотой f1 генератора качающей частоты 1 (фиг. 1) в диапазоне частот от 10кГц до 10МГц; причем длительность первой группы из двух импульсов одинаковая и равна по 1 мс; два импульса первый и третий второй группы длительностью по 1 мс, а второй импульс в группе 2 мс; в третьей группе первый и третий длительностью по 2 мс, а второй импульс 1 мс.
На Фиг. 26 представлен второй формирователь групп двух и четырех миллисекундных импульсов 3.2, где первый вентиль В.50, второй вентиль В.51, третий вентиль В.52, четвертый вентиль В.53, пятый вентиль В.54, шестой вентиль В.55, седьмой вентиль В.56, восьмой вентиль В.57, девятый вентиль В.58, первая линия задержки на 3мс.63, вторая линия задержки на 10мс 64, третья линия задержки на 18 мс 65, четвертая линия задержки на 30мс 66, пятая линия задержки на 13 мс 67, шестая линия задержки на 25 мс 68, седьмая линия задержки на 10мс 70, первый триггер на 2 мс 69, второй триггер на 4 мс 71, элемент И 72, при этом второй кнопкой Кн.2 (фиг. 23) для запуска первого триггера двух миллисекундного 2 мс 69 на короткое время генератор одно миллисекундных импульсов 3.5 формирователя 3 подключается к первому входу второго формирователя групп двух и четырех миллисекундных импульсов 3.2; первый вход второго формирователя групп двух и четырех миллисекундных импульсов 3.2 соединен со входом первого триггера на 2 мс 69; выход первого триггера на 2 мс 69 соединен параллельно по пяти линиям со вторым входом элемента И 72: по первой линии - через первый вентиль В.50; по второй линии - через первую линию задержки на 3мс 63 и через второй вентиль В.51; по третьей линии -через седьмую линию задержки на 10мс 70 и через третий вентиль В.52; по четвертой линии - через седьмую линию задержки на 10мс 70, через вторую линию задержки на 10мс 64 и через четвертый вентиль В.53; по пятой линии - через седьмую линию задержки на 10мс 70, через третью линию задержки на 18 мс 65 и через пятый вентиль В.54; кроме того, выход первого триггера на 2 мс 69 соединен с входом второго триггера на 4 мс 71 через седьмую линию задержки на 10мс 70; выход второго триггера на 4 мс 71 соединен по трем линиям со вторым входом элемента И 72: по первой линии -через четвертую линию задержки на 30мс 66 и через шестой вентиль В.55; по второй линии - через пятую линию задержки на 13 мс 67 и через седьмой вентиль В.56; по третьей линии - через шестую линию задержки на 25 мс 68, через восьмой вентиль В.57 и через девятый вентиль В.58; одновременно выход восьмого вентиля 58 соединен со вторым выходом второго формирователя групп двух и четырех миллисекундных импульсов 3.2; второй вход второго формирователя групп двух и четырех миллисекундных импульсов 3.2 соединен с первым входом элемента И72; выход элемента И 72 соединен с первым выходом второго формирователя групп двух и четырех миллисекундных импульсов 3.2. Как видно запуск второго формирователя групп двух и четырех миллисекундных импульсов 3.2 осуществляется нажатием кнопки Вк.2 в формирователе импульсов временных 3, как на одноразовый запуск формирователя 3.2, так и на циклическую его работу.
На Фиг. 27 представлено временное распределение импульсов и их длительность, которые формирует второй формирователь групп двух и четырех миллисекундных импульсов 3.2, где длительность импульсов, создаваемых вторым формирователем групп двух и четырех миллисекундных импульсов с одинаковым частотным заполнением импульсов, т.е. соответствует τ=2 мс, и τ=4 мс, причем образовано три группы импульсов: первая группа два импульса, вторая группа - три и третья группа -три; расстояние между импульсами в каждой группе равно 1 мс и расстояние между группами 5 мс; заполнение (модуляция) импульсов обоснованной, рабочей частотой f1 генератора качающей частоты 1 (фиг. 1) в диапазоне частот от 10кГц до 10МГц; причем длительность первой группы из двух импульсов одинаковая и равна по 2 мс; два импульса первый и третий второй группы длительностью по 2 мс, а второй импульс во второй группе 4 мс; в третьей группе первый и третий длительностью по 4 мс, а второй импульс 2 мс.
На Фиг. 28 представлен третий формирователь групп трех и шести миллисекундных импульсов 3.3, где первый вентиль В.59, второй вентиль В.60, третий вентиль В.61, четвертый вентиль В.62, пятый вентиль В.63, шестой вентиль В.64, седьмой вентиль В.65, восьмой вентиль В.66, девятый вентиль В.67, первая линия задержки на 4 мс.73, вторая линия задержки на 23 мс 74, третья линия задержки на 37 мс 75, четвертая линия задержки на 15 мс 76, пятая линия задержки на 11мс 77, шестая линия задержки на 4 мс 78, седьмая линия задержки на 12 мс 80, первый триггер на 3мс 79, второй триггер на 6мс 81, элемент И 82, при этом третьей кнопкой Кн.3 (фиг. 23) для запуска первого триггера трех миллисекундного 3мс 79 на короткое время генератор одно миллисекундных импульсов 3.5 формирователя 3 подключается к первому входу третьего формирователя групп трех и шести миллисекундных импульсов 3.3; первый вход третьего формирователя групп трех и шести миллисекундных импульсов 3.3 соединен со входом первого триггера на 3мс 79; выход первого триггера на 3мс 79 соединен параллельно по пяти линиям со вторым входом элемента И 82: по первой линии - через первой вентиль В.59; по второй линии - через первую линию задержки на 4 мс 73 и через второй вентиль В.60; по третьей линии - через седьмую линию задержки на 12 мс 80 и через третий вентиль В.61; по четвертой линии -через седьмую линию задержки на 12 мс 80, через вторую линию задержки на 23 мс 74, и через четвертый вентиль В.62; по пятой линии - через седьмую линию задержки на 12 мс 80, через третью линию задержки на 37 мс 75, и через пятый вентиль В.63; кроме того, выход седьмой линии задержки на 12 мс 80 соединен с входом второго триггера на 6мс 81; выход второго триггера на 6мс 81 соединен по трем линиям со вторым входом элемента И 82: по первой линии - через четвертую линию задержки на 15 мс 76 и через шестой вентиль В.64; по второй линии - через пятой линию задержки на 11мс 77 и через седьмой вентиль В.65; по третьей линии - через седьмую линию задержки на 4 мс 78, через восьмой вентиль В.66 и через девятый вентиль В.67; одновременно выход восьмого вентиля В.66 соединен со вторым выходом третьего формирователя групп трех и шести миллисекундных импульсов 3.3; второй вход третьего формирователя групп трех и шести миллисекундных импульсов 3.3 соединен с первым входом элемента И 82; выход элемента И 82 соединен с первым выходом третьего формирователя групп трех и шести миллисекундных импульсов 3.3. Как видно запуск третьего формирователя групп трех и шести миллисекундных импульсов 3.3 осуществляется нажатием кнопки Вк.3в формирователе импульсов временных 3, как на одноразовый запуск формирователя 3.3, так и на циклическую его работу.
На Фиг. 29 представлено временное распределение импульсов и их длительность, которые формирует третий формирователь групп трех и шести миллисекундных импульсов 3.3, где длительность импульсов, создаваемых третьим формирователем групп трех и шести миллисекундных импульсов с одинаковым частотным заполнением импульсов, т.е. соответствует τ=3 мс, и τ=6 мс, причем образовано три группы импульсов: первая группа два импульса, вторая группа - три и третья группа - три; расстояние между импульсами в каждой группе равно 1 мс и расстояние между группами 5 мс; заполнение (модуляция) импульсов обоснованной, рабочей частотой f1 генератора качающей частоты 1 (фиг. 1) в диапазоне частот от 10кГц до 10МГц; причем длительность первой группы из двух импульсов одинаковая и равна по 3мс; два импульса первый и третий второй группы длительностью по 3мс, а второй импульс во второй группе 6мс; в третьей группе первый и третий длительностью по 6мс, а второй импульс 3мс.
На Фиг. 30 представлен четвертый формирователь групп четырех и восьми миллисекундных импульсов 3.4, где первый вентиль В.68, второй вентиль В.69, третий вентиль В.70, четвертый вентиль В.71, пятый вентиль В.72, шестой вентиль В.73, седьмой вентиль В.74, восьмой вентиль В.75, девятый вентиль В.76, первая линия задержки на 5 мс.83, вторая линия задержки на 14 мс 84, третья линия задержки на 32 мс 85, четвертая линия задержки на 5 мс 86, пятая линия задержки на 23 мс 87, шестая линия задержки на 37 мс 88, седьмая линия задержки на 14 мс 90, первый триггер на 4 мс 89, второй триггер на 8 мс 91, элемент И 92, при этом четвертой кнопкой Кн.4 (фиг. 23) для запуска первого триггера четырех миллисекундного 4 мс 89 на короткое время генератор одно миллисекундных импульсов 3.5 формирователя 3 подключается к первому входу четвертого формирователя групп четырех и восьми миллисекундных импульсов 3.4; первый вход четвертого формирователя групп четырех и восьми миллисекундных импульсов 3.4 соединен со входом первого триггера на 4 мс 89; выход первого триггера на 4 мс 89 соединен параллельно по пяти линиям со вторым входом элемента И 92: по первой линии - через первой вентиль В.68; по второй линии - через первую линию задержки на 5 мс 83 и через второй вентиль В.69; по третьей линии -через седьмую линию задержки на 14 мс 90 и через третий вентиль В.70; по четвертой линии - через седьмую линию задержки на 14 мс 90, через вторую линии задержки на 14 мс 84 и через четвертый вентиль В.71; по пятой линии - через седьмую линию задержки на 14 мс 90, через третью линию задержки на 32 мс 85 и через пятый вентиль В.72; кроме того, выход седьмой линии задержки на 14 мс 90 соединен с входом второго триггера на 8 мс 91; выход второго триггера на 8 мс 91 соединен по трем линиям со вторым входом элемента И 92: по первой линии - через четвертую линию задержки на 5 мс 86 и через шестой вентиль В.73; по второй линии - через пятую линию задержки на 23 мс 87 и через седьмой вентиль В.74; по третьей линии - через шестую линию задержки на 37 мс 88, через восьмой вентиль В.75 и через девятый вентиль В.76; одновременно выход восьмого вентиля В.75 параллельно соединен со вторым выходом четвертого формирователя групп четырех и восьми миллисекундных импульсов 3.4; второй вход четвертого формирователя групп четырех и восьми миллисекундных импульсов 3.4 соединен с первым входом элемента И 92; выход элемента И 92 соединен с первым выходом четвертого формирователя групп четырех и восьми миллисекундных импульсов 3.4. Как видно запуск четвертого формирователя групп четырех и восьми миллисекундных импульсов 3.4 осуществляется нажатием кнопки Вк.4 в формирователе импульсов временных 3, как на одноразовый запуск формирователя 3.4, так и на циклическую его работу.
На фиг. 31 представлено временное распределение импульсов и их длительность, которые формирует четвертый формирователь групп четырех и восьми миллисекундных импульсов 3.4, где длительность импульсов, создаваемых четвертым формирователем групп четырех и восьми миллисекундных импульсов с одинаковым частотным заполнением импульсов, т.е. соответствует τ=4 мс, и τ=8 мс, причем образовано три группы импульсов: первая группа два импульса, вторая группа - три и третья группа - три; расстояние между импульсами в каждой группе равно 1 мс и расстояние между группами 5 мс; заполнение (модуляция) импульсов обоснованной, рабочей частотой f1 генератора качающей частоты 1 (фиг. 1) в диапазоне частот от 10кГц до 10МГц; причем длительность первой группы из двух импульсов одинаковая и равна по 4 мс; два импульса первый и третий второй группы длительностью по 4 мс, а второй импульс во второй группе 8 мс; в третьей группе первый и третий длительностью по 8 мс, а второй импульс 4 мс.
Таким образом, созданные импульсы формирователем импульсов частотных 2 через клеммы «в» и «г» первого включателя Вк.1 (фиг. 1), если он включен, поступают через первый вход блока выбора режима работы 4, через вход усилитель мощности 5.1, через клеммы «и» и «т» включателя Вк.2, если они включены, на вход согласующего устройства передающей системы 5.2. Согласующее устройство передающей системы 5.2 обеспечивает согласование одного входа с N выходами.
А созданные импульсы формирователем импульсов временных 3 через клеммы «а» и «б» второго включателя Вк.2 (фиг. 1), если он включен, поступают через второй вход блока выбора режима работы 4, через вход усилитель мощности 5.1, через клеммы «и» и «т» включателя Вк.2, если они включены, на вход согласующего устройства передающей системы 5.2. Согласующее устройство передающей системы 5.2 обеспечивает согласование одного входа с N выходами.
Возбужденные частоты в среде за счет свойства ЯКР с выхода блока анализа спектра ядерного квадрупольного резонанса излучения 12.1 (фиг. 1), через клеммы «д» и «е» третьего включателя Вк.3, если он включен, поступают через третий вход блок выбора режима работы 4, через вход усилитель мощности 5.1, через клеммы «и» и «т» включателя Вк.2, если они включены, на вход согласующего устройства передающей системы 5.2. Причем третий включатель Вк.3может быть постоянно включен, а Вк.1 и Вк.2 поочередно. Согласующее устройство передающей системы 5.2 обеспечивает согласование одного входа с N выходами.
Также, слабые возбужденные частоты ЯКР через блок фильтров 10, поступают по первому входу через аналитический блок слабых сигналов ЯКР 13 на третий вход блока выбора режима работы 4 через клемму «д» третьего включателя Вк.3(фиг. 1).
На Фиг. 32 представлен блок выбора режима работы 4, где трансформатор Тр.1 с тремя первичными обмотками и одной вторичной обмоткой, при этом первый вход блока выбора режима работы 4 соединен с клеммой «б1» первой первичной обмотки трансформатора Тр.1, а клеммой «a1» первая первичная обмотка трансформатора Тр.1 заземлена; второй вход блока выбора режима работы 4 соединен с клеммой «62» второй первичной обмотки трансформатора Тр.1, а клеммой «а2» вторая первичная обмотка трансформатора Тр.1 заземлена; третий вход блока выбора режима работы 4 соединен с клеммой «б3» третьей первичной обмотки трансформатора Тр.1, а клеммой «а3» третья первичная обмотка трансформатора Тр.1 заземлена; вторичная обмотка трансформатора Тр.1 клеммой «д» соединена с выходом блока выбора режима работы 4, а клеммой «с» вторичная обмотка трансформатора Тр.1 заземлена.
Это позволяет распределить равномерно выходную мощность усилителя мощности 5.1 на вход каждого из N излучателей 7 с первого излучателя 71 до N-го - 7N. Принцип согласования представлен на фиг. 33. Согласующее устройство передающей системы 5.2 конструктивно представляется следующими элементами: Тр.1 трансформатор с одной первичной обмоткой 1 и N вторичными обмотками, при этом вход согласующего устройства передающей системы 5.2 соединен с клеммой «С» первичной обмотки 1 трансформатора Тр.1, клемма «Д» этой первичной обмотки трансформатора Тр.1 заземлена; первый выход 1 согласующего устройства передающей системы 5.2 с одной стороны (фиг. 1) соединен с клеммой «Ж» первого излучателя 71, а с другой стороны, соединен с клеммой «а1» первой вторичной обмотки 1 трансформатора Тр. 1, а клемма «в1» этой первой вторичной обмотки - заземлена (фиг. 32); второй выход 2 согласующего устройства передающей системы 5.2 с одной стороны соединен с клеммой «Ж» второго излучателя 72, а с другой стороны, соединен с клеммой « а2 » второй вторичной обмотки 2 трансформатора Тр.1, а клемма «б2 » этой второй вторичной обмотки -заземлена; третий выход 3 согласующего устройства передающей системы 5.2 с одной стороны соединен с клеммой «Ж» третьего излучателя 73, а с другой стороны, соединен с клеммой « а3» третьей вторичной обмотки 3 трансформатора Тр.1, а клемма «в3» этой третьей вторичной обмотки - заземлена; N-1 выход согласующего устройства передающей системы 5.2 с одной стороны соединен с клеммой «Ж» N-1 излучателя 7N-1 а с другой, соединен с клеммой «aN» N-1 вторичной обмотки трансформатора Тр.1, а клемма «вN» этой N-1 вторичной обмотки - заземлена; N выход согласующего устройства передающей системы 5.2 с одной стороны соединен с N излучателем 7N, а с другой стороны, соединен с клеммой «aN» N вторичной обмотки трансформатора Тр. 1, а клемма «вN» этой N вторичной обмотки-заземлена. Учитывая идентичность параметров вторичных обмоток, удается добиться равномерного распределения энергии усилителя мощности на входе каждого из излучателей.
Формирователь информации приемной системы 9 (фиг. 34) обеспечивает синфазное сложение принимаемой информации от N приемных антенн в каждой антенной линейке. Например, сложение для первой линейке с использованием согласующего устройства первой синфазной приемной антенной линейки 9.1, сложение для второй линейке с использованием согласующего устройства первой синфазной приемной антенной линейки 9.2, и так далее. Формирователь информации приемной системы 9 на фиг 33, где 9.1 -согласующее устройство первой синфазной приемной антенной линейки, содержащей информацию от первой линейки от 611 по N антенну 61N; 9.2 -согласующее устройство второй синфазной приемной антенной линейки, содержащей информацию от второй антенной линейки от 621 по N антенну 62N; 9.3 - согласующее устройство третьей синфазной приемной антенной линейки, содержащей информацию от третьей антенной линейки от 631 по N антенну 63N; 9.N-1 - согласующее устройство N-1 синфазной приемной антенной линейки, содержащей информацию от N-1 антенной линейки от 6N-1 по N антенну 6N-1.N; 9.N - согласующее устройство N синфазной приемной антенной линейки, содержащей информацию от N антенной линейки от 6N1 по N антенну 6NN; 9.0 - усилитель в каждой из N приемных линеек; 9.00 - согласующее устройство приемной антенной системы; при этом первый вход формирователя информации приемной системы 9 соединен через первый вход согласующего устройства первой синфазной приемной антенной линейки 9.1, через усилитель 9.0 с первым входом согласующего устройства приемной антенной системы 9.00; второй вход формирователя информации приемной системы 9 соединен через первый вход согласующего устройства второй синфазной приемной антенной линейки 9.2, через усилитель 9.0 со вторым входом согласующего устройства приемной антенной системы 9.00; третий вход формирователя информации приемной системы 9 соединен через первый вход согласующего устройства третьей синфазной приемной антенной линейки 9.3, через усилитель 9.0 с третьим входом согласующего устройства приемной антенной системы 9.00; n-1 вход формирователя информации приемной системы 9 соединен через первый вход согласующего устройства N-1 синфазной приемной антенной линейки 9.N-1, через усилитель 9.0 с n-1 входом согласующего устройства приемной антенной системы 9.00; n вход формирователя информации приемной системы 9 соединен через первый вход согласующего устройства N синфазной приемной антенной линейки 9.N, через усилитель 9.0 с n входом согласующего устройства приемной антенной системы 9.00; n1 вход формирователя информации приемной системы 9 соединен параллельно со вторым входом согласующего устройства первой синфазной приемной антенной линейки 9.1, со вторым входом согласующего устройства второй синфазной приемной антенной линейки 9.2, со вторым входом согласующего устройства третьей синфазной приемной антенной линейки 9.3, со вторым входом согласующего устройства N-1 синфазной приемной антенной линейки 9.N-1, со вторым входом согласующего устройства N синфазной приемной антенной линейки 9.N; n2 вход формирователя информации приемной системы 9 соединен параллельно с n+1 входом согласующего устройства приемной антенной системы 9.00; выход согласующего устройства приемной антенной системы 9.00 соединен с выходом формирователя информации приемной системы 9.
На Фиг. 35 представлено согласующее устройство для антенн первой синфазной приемной антенной линейки 9.1 (идентично для второй 9.2; третьей 9.3;…; 9.N-1; 9.N), где блок коммутации 9.а, трансформатор Тр.1 с одной вторичной обмоткой и N первичными обмотками, при этом вход один-один 1.1 согласующего устройства 9.1, как выход первой антенны 611 из первой синфазной приемной антенной линейке 611-61N, соединен через первый вход блока коммутации 9.а с клеммой «а1» первой первичной обмотки трансформатора Тр.1, а клемма «в,» первой первичной обмотки заземлена; вход один-два 1.2 согласующего устройства 9.1, как выход второй антенны 621 из первой синфазной приемной антенной линейки 611-61N, соединен через первый вход блока коммутации 9.а с клеммой « а2 » второй первичной обмотки трансформатора Тр. 1, а клемма « в2 » второй первичной обмотки заземлена; вход один-три 1.3 согласующего устройства 9.1, как выход третьей антенны 631 из первой синфазной приемной антенной линейки 611-61N, соединен через первый вход блока коммутации 9.а с клеммой «а3» третьей первичной обмотки трансформатора Тр.1, клемма «в3» третьей первичной обмотки заземлена; вход l.n-1 согласующего устройства 9.1, как выход N-1 антенны 6N-1. из первой синфазной приемной антенной линейки 611-61N, соединен через первый вход блока коммутации 9.а с клеммой «aN» N-1 первичной обмотки трансформатора Тр.1, а клемма «вN» N-1 первичной обмотки заземлена; вход один-n 1.п согласующего устройства 9.1, как выход N приемной антенны 6N.1 из первой синфазной приемной антенной линейки 611-61N, соединен через первый вход блока коммутации 9.а с клеммой «aN» N первичной обмотки трансформатора Тр.1, а клемма «вN» N первичной обмотки заземлена; второй вход 2 согласующего устройства 9.1 соединен параллельно со вторыми входами всех N блоков коммутации 9.а; клемма «К» вторичной обмотки трансформатора Тр. 1 соединена с выходом согласующего устройства 9.1, а клемма «М» вторичной обмотки трансформатора Тр.1 заземлена.
На Фиг. 36 представлен блок коммутации 9.а, где 9.а.1 - элемент И, 9.а.2 - элемент НЕ, при этом первый вход блока коммутации 9.а соединен с первым входом элемента И, а второй вход блока коммутации 9.а через элемент НЕ 9.а.2 соединен со вторым входом элемента И 9.а.1; выход элемента И 9.а.1 соединен с выходом блока коммутации 9.а.
На Фиг. 37 представлено согласующее устройство приемной антенной системы 9.00, где трансформатор Тр.1 с «n+1» первичными обмотками и одной вторичной обмоткой, при этом первый вход 1 согласующего устройства приемной антенной системы 9.00, как выход первой синфазной приемной антенной линейки 611-61N, соединен клеммой «а1» первой первичной обмотки трансформатора Тр.1, а клемма «в[» первой первичной обмотки трансформатора Тр. 1 заземлена; второй вход 2 согласующего устройства приемной антенной системы 9.00, как выход второй синфазной приемной антенной линейки 621-62N, соединен с клеммой «а2 » второй первичной обмотки трансформатора Тр.1, а клемма «в2» второй первичной обмотки трансформатора Тр.1 заземлена; третий вход согласующего устройства приемной антенной системы 9.00, как выход третьей синфазной приемной антенной линейки 631-63N, соединен с клеммой «а3» третьей первичной обмотки трансформатора Тр.1, а клемма «в3» третьей первичной обмотки трансформатора Тр.1 заземлена; «n-1» вход согласующего устройства приемной антенной системы 9.00, как выход N-1 синфазной приемной антенной линейки 6(N-1)1-6(N-1)N, соединен с клеммой «aN-1» N-1 первичной обмотки трансформатора Тр.1, а клемма «вN» N-1 первичной обмотки трансформатора Тр.1 заземлена; «n» вход согласующего устройства приемной антенной системы 9.00, как выход N синфазной приемной антенной линейки 6N1-6NN, соединен с клеммой «aN» N первичной обмотки трансформатора Тр. 1, а клемма «вN» N первичной обмотки трансформатора Тр.1 заземлена; «n+1» вход согласующего устройства приемной антенной системы 9.00, как выход блока согласования для внешних приемных кабелей 5.5 (фиг. 1) соединен с клеммой «К2» «n+1» первичной обмотки трансформатора Тр.1, а клемма «К1» «n+1» первичной обмотки трансформатора Тр.1 заземлена; клемма «С» вторичной обмотки трансформатора Тр. 1 соединена с выходом согласующего устройства приемной антенной системы 9.00, а клемма «Д» вторичной обмотки трансформатора Тр.1 заземлена.
Принятая информация на выходе согласующего устройства приемной антенной системы 9.00 подлежит анализу на основании частотного спектра. Ибо широкая полоса приема приемного устройства не обладает равномерностью коэффициента усиления, поэтому целесообразно принимаемый спектр разложить с помощью полосовых фильтров и по отдельности каждую полосу частот усилить. Это предусмотрено блоком фильтров 10 (фиг. 1) в приемной системе. Причем, полосовые фильтры, выполненные на основе реальных емкостей, обладают низкими массогабаритными характеристиками (большой вес и габариты). Для снижения массогабаритных характеристик в устройстве блока фильтров 10 реализованы гираторы - микропроцессоры с емкостным входным сопротивлением - LC. (см. Гиратор, стр. 180. У. Титце, К. Шенк. Полупроводниковая схемотехника. -М: изд. «Мир» 1983 г. )
На фиг. 38 представлен блок фильтров 10 на десять каналов, где 10.1 - первый полосовой фильтр на частоты 1-10кГц, 10.2 - второй полосовой фильтр на частоты 10-50кГц, 10.3 - третий полосовой фильтр на частоты 50-100кГц, 10.4 - четвертый полосовой фильтр на частоты 100-200кГц, 10.5 - пятый полосовой фильтр на частоты 200-400кГц, 10.6 - шестой полосовой фильтр на частоты 400-800кГц, 10.7 - седьмой полосовой фильтр на частоты 800-1000кГц, 10.8 - восьмой полосовой фильтр на частоты 1-10МГц, 10.9 - девятый полосовой фильтр на частоты 10-20МГц, 10-10 - десятый полосовой фильтр на частоты 20-40МГц, 10.11 - первый узкополосный усилитель на полосу частот 1-10кГц., 10.12 - второй узкополосный усилитель на полосу частот 10-50кГц, 10.13 - третий узкополосный усилитель на полосу частот 50-100кГц, 10.14 - четвертый узкополосный усилитель на полосу частот 100-200кГц, 10.15 - пятый узкополосный усилитель на полосу частот 200-400кГц, 10.16 - шестой узкополосный усилитель на полосу частот 400-800кГц, 10.17 - седьмой узкополосный усилитель на полосу частот 800-1000кГц, 10.18 - восьмой узкополосный усилитель на полосу частот 1-10МГц, 10.19 - девятый узкополосный усилитель на полосу частот 10-20МГц, 10.20 - десятый узкополосный усилитель на полосу частот 20-40МГц; каждый из десяти полосовых фильтров, с первого 10.1 по десятый 10.10, содержит два резистора R1 и R2 и два гиратора емкостных Гс1 и Гс2, при этом вход блока фильтров на десять каналов 10 соединен параллельно с десятью входами десяти полосовых фильтров с первого 10.1 по десятый 10.10, выходы десяти полосовых фильтров через десять узкополосных усилителей образуют десять выходов блока фильтров на десять каналов 10; вход блока фильтров на десять каналов 10 через выход первого полосового фильтра10.1 с полосой пропускания от 1кГц до 10кГц соединен с первым выходом блока фильтров через первый узкополосный усилитель 10.11; вход блока фильтров на десять каналов 10 через выход второго полосового фильтра 10.2 с полосой пропускания от 10кГц до 50кГц соединен со вторым выходом блока фильтров 10 через второй узкополосный усилитель 10.12; вход блока фильтров на десять каналов 10 через выход третьего полосового фильтра 10.3 с полосой пропускания от 50кГц до 100кГц соединен с третьим выходом блока фильтров 10 через третий узкополосный усилитель 10.13; вход блока фильтров на десять каналов 10 через выход четвертого полосового фильтра 10.4 с полосой пропускания от 100кГц до 200кГц соединен с четвертым выходом блока фильтров 10 через четвертый узкополосный усилитель 10.14; вход блока фильтров на десять каналов 10 через выход пятого полосового фильтра 10.5 с полосой пропускания от 200кГц до 400кГц соединен с пятым выходом блока фильтров 10 через пятый узкополосный усилитель 10.15; вход блока фильтров на десять каналов 10 через выход шестого полосового фильтра 10.6 с полосой пропускания от 400кГц до 800кГц соединен с шестым выходом блока фильтров 10 через шестой узкополосный усилитель 10.16; вход блока фильтров на десять каналов 10 через выход седьмого полосового фильтра 10.7 с полосой пропускания от 800кГц до 1000кГц соединен с седьмым выходом блока фильтров 10 через седьмой узкополосный усилитель 10.17; вход блока фильтров на десять каналов 10 через выход восьмого полосового фильтра 10.8 с полосой пропускания от 1.0 до 10МГц соединен с восьмым выходом блока фильтров 10 через восьмой узкополосный усилитель 10.18; вход блока фильтров на десять каналов 10 через выход девятого полосового фильтра 10.9 с полосой пропускания от 10 до 20МГц соединен с девятым выходом блока фильтров 10 через девятый узкополосный усилитель 10.19; вход блока фильтров на десять каналов 10 через выход десятого полосового фильтра 10.10 с полосой пропускания от 20 до 40МГц соединен с десятым выходом блока фильтров 10 через десятый узкополосный усилитель 10.20; вход в каждом из десяти полосовых фильтров, с первого 10.1 по десятый 10.10, соединен через клемму «с» с клеммой «д», клемма «д» соединена через первый емкостной гиратор Гс1 и через первый резистор R1 с выходом полосового фильтра, а через второй резистор R2 клемма «д» заземлена, при этом клемма «с» через второй емкостной гиратор Гс2 заземлена (фиг. 33, (а)), (см. Полосовой фильтр, стр. 19. У. Титце, К. Шенк. Полупроводниковая схемотехника. - М.: изд. «Мир» 1983 г. )
После усиления каждой полосы частот целесообразно выполнить анализ всех десяти полос с целью определения возможного появления эффекта ядерного квадрупольного резонанса возникающего в объектах исследования под воздействием возбуждающего магнитного поля излучателей. Данную цель решает блок анализа спектра ядерного квадрупольного резонанса излучения 11 (фиг. 1). Если появляется отклик в виде частоты ЯКР, необходимо обнаружить частоту, также отклик необходимо проанализировать в целях определения смещений частот ядерного квадрупольного резонанса. Для этого колебательные системы, с первой 11.1 по десятую 11.10, откликаются и светодиод загорается, фотодиод фиксирует и подключает резонансную частоту возбужденного контура к выходу блока анализа спектра ядерного квадрупольного резонанса излучения 11 на вход блока выбора режима работы 4 с целью усиления режима возбужденного ЯКР.
Поэтому на Фиг. 39 представлен блок анализа спектра ядерного квадрупольного резонанса излучения 11, представлен блок анализа спектра ядерного квадрупольного резонанса излучения 11, содержащий десять колебательных систем с первой 11.1 по десятую 11.10 и десять групп по пять индикаторов в каждой группе, или пятьдесят индикаторов (светодиодов) от И. 1-1 до И. 10-5, по пять индикаторов для каждой колебательной системы, а также десять групп по пять фиксаторов резонанса в каждой группе или пятьдесят фиксаторов резонанса 1 (фотодиодов 1), кроме того, десять индикаторов обоснования частоты резонанса с первого индикатора И. 1-6 по десятый И. 10-6; при этом первый вход блока анализа спектра ядерного квадрупольного резонанса 11 соединен с входом первой колебательной системы 11.1 на частотах 1-10кГц, первый выход первой колебательной системы 11.1 соединен с первыми входами первой группы из пяти индикаторов с И. 1-1 по И. 1-5, а второй выход первой колебательной системы 11.1 соединен со вторыми входами первой группы из пяти индикаторов с И. 1-1 по И. 1-5, третий выход первой колебательной системы соединен с первым выходом блока анализа спектра ядерного квадрупольного резонанса 11, четвертый выход первой колебательной системы 11.1 соединен параллельно с первым, вторым, четвертым, пятым, седьмым, восьмым, десятым, одиннадцатым, тринадцатым, и четырнадцатым входами первого индикатора обоснования частоты И. 1-6; выход фиксатора резонанса 1 (фотодиода 1) первого индикатора определенного светодиодом в первой группе И. 1-1 соединен с третьим входом первого индикатора обоснования частоты резонанса И. 1-6; выход фиксатора резонанса 1 (фотодиода 1) второго индикатора определенного светодиодом в первой группе И. 1-2 соединен с шестым входом первого индикатора обоснования частоты резонанса И. 1-6; выход фиксатора резонанса 1 (фотодиода 1) третьего индикатора определенного светодиодом в первой группе И. 1-3 соединен с девятым входом первого индикатора обоснования частоты резонанса И. 1-6; выход фиксатора резонанса 1 (фотодиода 1) четвертого индикатора определенного светодиодом в первой группе И. 1-4 соединен с двенадцатым входом первого индикатора обоснования частоты резонанса И. 1-6; выход фиксатора резонанса 1 (фотодиода 1) пятого индикатора определенного светодиодом в первой группе И. 1-5 соединен с пятнадцатым входом первого индикатора обоснования частоты резонанса И. 1-6; выход первого индикатора обоснования частоты И. 1-6 соединен с первым условным выходом 1.1 блока анализа спектра ядерного квадрупольного резонанса излучения 11; второй вход блока анализа ядерного квадрупольного резонанса 11 соединен с входом второй колебательной системы 11.2 на частотах 10-50кГц, первый выход второй колебательной системы 11.2 соединен с первыми входами второй группы из пяти индикаторов с И.2-1 по И.2-5, а второй выход второй колебательной системы 11.2 соединен со вторыми входами второй группы из пяти индикаторов с И.2-1 по И.2-5, третий выход второй колебательной системы 11.2 соединен со вторым выходом блока анализа спектра ядерного квадрупольного резонанса 11; четвертый выход второй колебательной системы 11.2 соединен параллельно с первым, вторым, четвертым, пятым, седьмым, восьмым, десятым, одиннадцатым, тринадцатым, и четырнадцатым входами второго индикатора обоснования частоты И.2-6; выход фиксатора резонанса 1 (фотодиода 1) первого индикатора определенного светодиодом во второй группе И.2-1 соединен с третьим входом второго индикатора обоснования частоты резонанса И.2-6; выход фиксатора резонанса 1 (фотодиода 1) второго индикатора определенного светодиодом во второй группе И.2-2 соединен с шестым входом второго индикатора обоснования частоты резонанса И.2-6; выход фиксатора резонанса 1 (фотодиода 1) третьего индикатора определенного светодиодом во второй группе И.2-3 соединен с девятым входом второго индикатора обоснования частоты резонанса И.2-6; выход фиксатора резонанса 1 (фотодиода 1) четвертого индикатора определенного светодиодом во второй группе И.2-4 соединен с двенадцатым входом второго индикатора обоснования частоты резонанса И.2-6; выход фиксатора резонанса 1 (фотодиода 1) пятого индикатора определенного светодиодом во второй группе И.2-5 соединен с пятнадцатым входом второго индикатора обоснования частоты резонанса И.2-6; выход второго индикатора обоснования частоты И.2-6 соединен со вторым условным выходом 2.1 блока анализа спектра ядерного квадрупольного резонанса излучения 11; третий вход блока анализа ядерного квадрупольного резонанса 11 соединен с входом третьей колебательной системы 11.3 на частотах 50-100кГц, первый выход третьей колебательной системы 11.3 соединен с первыми входами третьей группы из пяти индикаторов с И.3-1 по И.3-5, а второй выход третьей колебательной системы 11.3 соединен со вторыми входами третьей группы из пяти индикаторов с И.3-1 по И.3-5, третий выход третьей колебательной системы 11.3 соединен с третьим выходом блока анализа спектра ядерного квадрупольного резонанса 11; четвертый выход третьей колебательной системы 11.3 соединен параллельно с первым, вторым, четвертым, пятым, седьмым, восьмым, десятым, одиннадцатым, тринадцатым, и четырнадцатым входами третьего индикатора обоснования частоты И.3-6; выход фиксатора резонанса 1 (фотодиода 1) первого индикатора определенного светодиодом в третьей группе И.3-1 соединен с третьим входом третьего индикатора обоснования частоты резонанса И.3-6; выход фиксатора резонанса 1 (фотодиода 1) второго индикатора определенного светодиодом в третьей группе И.3-2 соединен с шестым входом третьего индикатора обоснования частоты резонанса И.3-6; выход фиксатора резонанса 1 (фотодиода 1) третьего индикатора определенного светодиодом в третьей группе И.3-3 соединен с девятым входом третьего индикатора обоснования частоты резонанса И.3-6; выход фиксатора резонанса 1 (фотодиода 1) четвертого индикатора определенного светодиодом в третьей группе И.3-4 соединен с двенадцатым входом третьего индикатора обоснования частоты резонанса И.3-6; выход фиксатора резонанса 1 (фотодиода 1) пятого индикатора определенного светодиодом в третьей группе И.3-5 соединен с пятнадцатым входом третьего индикатора обоснования частоты резонанса И.3-6; выход третьего индикатора обоснования частоты И.3-6 соединен с третьим условным выходом 3.1 блока анализа спектра ядерного квадрупольного резонанса излучения 11; четвертый вход блока анализа ядерного квадрупольного резонанса 11 соединен с входом четвертой колебательной системы 11.4 на частотах 100-200кГц, первый выход четвертой колебательной системы 11.4 соединен с первыми входами четвертой группы из пяти индикаторов с И.4-1 по И.4-5, а второй выход четвертой колебательной системы 11.4 соединен со вторыми входами четвертой группы из пяти индикаторов с И.4-1 по И.4-5, третий выход четвертой колебательной системы 11.4 соединен с четвертым выходом блока анализа спектра ядерного квадрупольного резонанса 11; четвертый выход четвертой колебательной системы 11.4 соединен параллельно с первым, вторым, четвертым, пятым, седьмым, восьмым, десятым, одиннадцатым, тринадцатым, и четырнадцатым входами четвертого индикатора обоснования частоты И.4-6; выход фиксатора резонанса 1 (фотодиода 1) первого индикатора определенного светодиодом в четвертой группе И.4-1 соединен с третьим входом четвертого индикатора обоснования частоты резонанса И.4-6; выход фиксатора резонанса 1 (фотодиода 1) второго индикатора определенного светодиодом в четвертой группе И.4-2 соединен с шестым входом четвертого индикатора обоснования частоты резонанса И.4-6; выход фиксатора резонанса 1 (фотодиода 1) третьего индикатора определенного светодиодом в четвертой группе И.4-3 соединен с девятым входом четвертого индикатора обоснования частоты резонанса И.4-6; выход фиксатора резонанса 1 (фотодиода 1) четвертого индикатора определенного светодиодом в четвертой группе И.4-4 соединен с двенадцатым входом четвертого индикатора обоснования частоты резонанса И.4-6; выход фиксатора резонанса 1 (фотодиода 1) пятого индикатора определенного светодиодом в четвертой группе И.4-5 соединен с пятнадцатым входом четвертого индикатора обоснования частоты резонанса И.4-6; выход четвертого индикатора обоснования частоты И.4-6 соединен с четвертым условным выходом 4.1 блока анализа спектра ядерного квадрупольного резонанса излучения 11; пятый вход блока анализа ядерного квадрупольного резонанса 11 соединен с входом пятой колебательной системы 11.5 на частотах 200-400кГц, первый выход пятой колебательной системы 11.5 соединен с первыми входами пятой группы из пяти индикаторов с И.5-1 по И.5-5, а второй выход пятой колебательной системы 11.5 соединен со вторыми входами пятой группы из пяти индикаторов с И.5-1 по И.5-5, третий выход пятой колебательной системы 11.5 соединен с пятым выходом блока анализа спектра ядерного квадрупольного резонанса 11; четвертый выход пятой колебательной системы 11.5 соединен параллельно с первым, вторым, четвертым, пятым, седьмым, восьмым, десятым, одиннадцатым, тринадцатым, и четырнадцатым входами пятого индикатора обоснования частоты И.5-6; выход фиксатора резонанса 1 (фотодиода 1) первого индикатора определенного светодиодом в пятой группе И.5-1 соединен с третьим входом пятого индикатора обоснования частоты резонанса И.5-6; выход фиксатора резонанса 1 (фотодиода 1) второго индикатора определенного светодиодом в пятой группе И. 5-2 соединен с шестым входом пятого индикатора обоснования частоты резонанса И.5-6; выход фиксатора резонанса 1 (фотодиода 1) третьего индикатора определенного светодиодом в пятой группе И.5-3 соединен с девятым входом пятого индикатора обоснования частоты резонанса И.5-6; выход фиксатора резонанса 1 (фотодиода 1) четвертого индикатора определенного светодиодом в пятой группе И.5-4 соединен с двенадцатым входом пятого индикатора обоснования частоты резонанса И.5-6; выход фиксатора резонанса 1 (фотодиода 1) пятого индикатора определенного светодиодом в пятой группе И.5-5 соединен с пятнадцатым входом пятого индикатора обоснования частоты резонанса И.5-6; выход пятого индикатора обоснования частоты И.5-6 соединен с пятым условным выходом 5.1 блока анализа спектра ядерного квадрупольного резонанса излучения 11; шестой вход блока анализа ядерного квадрупольного резонанса 11 соединен с входом шестой колебательной системы 11.6 на частотах 400-800кГц, первый выход шестой колебательной системы 11.6 соединен с первыми входами шестой группы из пяти индикаторов с И.6-1 по И.6-5, а второй выход шестой колебательной системы соединен со вторыми входами шестой группы из пяти индикаторов с И.6-1 по И.6-5, третий выход шестой колебательной системы 11.6 соединен с шестым выходом блока анализа спектра ядерного квадрупольного резонанса 11; четвертый выход шестой колебательной системы 11.6 соединен параллельно с первым, вторым, четвертым, пятым, седьмым, восьмым, десятым, одиннадцатым, тринадцатым, и четырнадцатым входами шестого индикатора обоснования частоты И.6-6; выход фиксатора резонанса 1 (фотодиода 1) первого индикатора определенного светодиодом в шестой группе И.6-1 соединен с третьим входом шестого индикатора обоснования частоты резонанса И.6-6; выход фиксатора резонанса 1 (фотодиода 1) второго индикатора определенного светодиодом в шестой группе И.6-2 соединен с шестым входом шестого индикатора обоснования частоты резонанса И.6-6; выход фиксатора резонанса 1 (фотодиода 1) третьего индикатора определенного светодиодом в шестой группе И.6-3 соединен с девятым входом шестого индикатора обоснования частоты резонанса И.6-6; выход фиксатора резонанса 1 (фотодиода 1) четвертого индикатора определенного светодиодом в шестой группе И.6-4 соединен с двенадцатым входом шестого индикатора обоснования частоты резонанса И.6-6; выход фиксатора резонанса 1 (фотодиода 1) пятого индикатора определенного светодиодом в шестой группе И.6-5 соединен с пятнадцатым входом шестого индикатора обоснования частоты резонанса И.6-6; выход шестого индикатора обоснования частоты И.6-6 соединен с шестым условным выходом 6.1 блока анализа спектра ядерного квадрупольного резонанса излучения 11; седьмой вход блока анализа ядерного квадрупольного резонанса 11 соединен с входом седьмой колебательной системы 11.7 на частотах 800-1000кГц, первый выход седьмой колебательной системы 11.7 соединен с первыми входами седьмой группы из пяти индикаторов с И.7-1 по И.7-5, а второй выход седьмой колебательной системы 11.7 соединен со вторыми входами седьмой группы из пяти индикаторов с И.7-1 по И.7-5, третий выход седьмой колебательной системы 11.7 соединен с седьмым выходом блока анализа спектра ядерного квадрупольного резонанса 11; четвертый выход седьмой колебательной системы 11.7 соединен параллельно с первым, вторым, четвертым, пятым, седьмым, восьмым, десятым, одиннадцатым, тринадцатым, и четырнадцатым входами седьмого индикатора обоснования частоты И.7-6; выход фиксатора резонанса 1 (фотодиода 1) первого индикатора определенного светодиодом в седьмой группе И.7-1 соединен с третьим входом седьмого индикатора обоснования частоты резонанса И.7-6; выход фиксатора резонанса 1 (фотодиода 1) второго индикатора определенного светодиодом в седьмой группе И. 7-2 соединен с шестым входом седьмого индикатора обоснования частоты резонанса И.7-6; выход фиксатора резонанса 1 (фотодиода 1) третьего индикатора определенного светодиодом в седьмой группе И.7-3 соединен с девятым входом седьмого индикатора обоснования частоты резонанса И.7-6; выход фиксатора резонанса 1 (фотодиода 1) четвертого индикатора определенного светодиодом в седьмой группе И. 7-4 соединен с двенадцатым входом седьмого индикатора обоснования частоты резонанса И.7-6; выход фиксатора резонанса 1 (фотодиода 1) пятого индикатора определенного светодиодом в седьмой группе И.7-5 соединен с пятнадцатым входом седьмого индикатора обоснования частоты резонанса И.7-6; выход седьмого индикатора обоснования частоты И.7-6 соединен с седьмым условным выходом 7.1 блока анализа спектра ядерного квадрупольного резонанса излучения 11; восьмой вход блока анализа ядерного квадрупольного резонанса 11 соединен с входом восьмой колебательной системы 11.8 на частотах 1-10 МГц, первый выход восьмой колебательной системы 11.8 соединен с первыми входами восьмой группы из пяти индикаторов с И.8-1 по И.8-5, а второй выход восьмой колебательной системы 11.8 соединен со вторыми входами восьмой группы из пяти индикаторов с И.8-1 по И.8-5, третий выход восьмой колебательной системы 11.8 соединен с восьмым выходом блока анализа спектра ядерного квадрупольного резонанса 11; четвертый выход восьмой колебательной системы 11.8 соединен параллельно с первым, вторым, четвертым, пятым, седьмым, восьмым, десятым, одиннадцатым, тринадцатым, и четырнадцатым входами восьмого индикатора обоснования частоты И.8-6; выход фиксатора резонанса 1 (фотодиода 1) первого индикатора определенного светодиодом в восьмой группе И.8-1 соединен с третьим входом восьмого индикатора обоснования частоты резонанса И.8-6; выход фиксатора резонанса 1 (фотодиода 1) второго индикатора определенного светодиодом в восьмой группе И.8-2 соединен с шестым входом восьмого индикатора обоснования частоты резонанса И.8-6; выход фиксатора резонанса 1 (фотодиода 1) третьего индикатора определенного светодиодом в восьмой группе И. 8-3 соединен с девятым входом восьмого индикатора обоснования частоты резонанса И.8-6; выход фиксатора резонанса 1 (фотодиода 1) четвертого индикатора определенного светодиодом в восьмой группе И.8-4 соединен с двенадцатым входом восьмого индикатора обоснования частоты резонанса И.8-6; выход фиксатора резонанса 1 (фотодиода 1) пятого индикатора определенного светодиодом в восьмой группе И.8-5 соединен с пятнадцатым входом восьмого индикатора обоснования частоты резонанса И.8-6; выход восьмого индикатора обоснования частоты И.8-6 соединен с восьмым условным выходом 8.1 блока анализа спектра ядерного квадрупольного резонанса излучения 11; девятый вход блока анализа ядерного квадрупольного резонанса 11 соединен с входом девятой колебательной системы на частотах 10-20 МГц, первый выход девятой колебательной системы 11.9 соединен с первыми входами девятой группы из пяти индикаторов с И.9-1 по И.9-5, а второй выход девятой колебательной системы 11.9 соединен со вторыми входами девятой группы из пяти индикаторов с И.9-1 по И.9-5, третий выход девятой колебательной системы 11.9 соединен с девятым выходом блока анализа спектра ядерного квадрупольного резонанса 11; четвертый выход девятой колебательной системы 11.9 соединен параллельно с первым, вторым, четвертым, пятым, седьмым, восьмым, десятым, одиннадцатым, тринадцатым, и четырнадцатым входами девятого индикатора обоснования частоты И.9-6; выход фиксатора резонанса 1 (фотодиода 1) первого индикатора определенного светодиодом в девятой группе И.9-1 соединен с третьим входом девятого индикатора обоснования частоты резонанса И.9-6; выход фиксатора резонанса 1 (фотодиода 1) второго индикатора определенного светодиодом в девятой группе И.9-2 соединен с шестым входом девятого индикатора обоснования частоты резонанса И.9-6; выход фиксатора резонанса 1 (фотодиода 1) третьего индикатора определенного светодиодом в девятой группе И.9-3 соединен с девятым входом девятого индикатора обоснования частоты резонанса И.9-6; выход фиксатора резонанса 1 (фотодиода 1) четвертого индикатора определенного светодиодом в девятой группе И.9-4 соединен с двенадцатым входом девятого индикатора обоснования частоты резонанса И.9-6; выход фиксатора резонанса 1 (фотодиода 1) пятого индикатора определенного светодиодом в девятой группе И.9-5 соединен с пятнадцатым входом девятого индикатора обоснования частоты резонанса И.9-6; выход девятого индикатора обоснования частоты И.9-6 соединен с девятым условным выходом 9.1 блока анализа спектра ядерного квадрупольного резонанса излучения 11; десятый вход блока анализа ядерного квадрупольного резонанса 11 соединен с входом десятой колебательной системы 11.10 на частотах 20-40МГц, первый выход десятой колебательной системы 11.10 соединен с первыми входами десятой группы из пяти индикаторов с И.10-1 по И. 10-5, а второй выход десятой колебательной системы 11.10 соединен со вторыми входами десятой группы из пяти индикаторов с И. 10-1 по И. 10-5, третий выход десятой колебательной системы 11.10 соединен с десятым выходом блока анализа спектра ядерного квадрупольного резонанса 11; четвертый выход десятой колебательной системы 11.10 соединен параллельно с первым, вторым, четвертым, пятым, седьмым, восьмым, десятым, одиннадцатым, тринадцатым, и четырнадцатым входами десятого индикатора обоснования частоты И. 10-6; выход фиксатора резонанса 1 (фотодиода 1) первого индикатора определенного светодиодом в десятой группе И. 10-1 соединен с третьим входом десятого индикатора обоснования частоты резонанса И. 10-6; выход фиксатора резонанса 1 (фотодиода 1) второго индикатора определенного светодиодом в десятой группе И. 10-2 соединен с шестым входом десятого индикатора обоснования частоты резонанса И. 10-6; выход фиксатора резонанса 1 (фотодиода 1) третьего индикатора определенного светодиодом в десятой группе И. 10-3 соединен с девятым входом десятого индикатора обоснования частоты резонанса И. 10-6; выход фиксатора резонанса 1 (фотодиода 1) четвертого индикатора определенного светодиодом в десятой группе И. 10-4 соединен с двенадцатым входом десятого индикатора обоснования частоты резонанса И. 10-6; выход фиксатора резонанса 1 (фотодиода 1) пятого индикатора определенного светодиодом в десятой группе И. 10-5 соединен с пятнадцатым входом десятого индикатора обоснования частоты резонанса И. 10-6; выход десятого индикатора обоснования частоты И. 10-6 соединен с десятым условным выходом 10.1 блока анализа спектра ядерного квадрупольного резонанса излучения 11.
Совершенствование массогабаритных характеристик связан с заменой реальных параметров емкости С и индуктивности L для создания колебательная система 11.1 (любая из десяти с 11.1; 11.2; 11.3;…; 11.10) гираторами: гиратором индуктивности ГpL. и гиратором емкости ГрC. Показательно, что гиратор представляет собой микропроцессор, который если нагружен на емкость 1 мкФ на входе имеет индуктивное сопротивление равное 100 Гн. Если же нагружен гиратор на небольшое индуктивное сопротивление на входе имеет большую величину емкости. (У. Титце, К. Шенк. Полупроводниковая схемотехника. -М: издательство «Мир». 1983 г. Стр. 180-181). Использование гираторов позволит улучшить массогабаритные характеристики предлагаемого устройства. Это связано с тем, что необходимо построить колебательные контура на частоты от 1кГц до 10 МГц. Реальными параметрами емкости и индуктивностями для колебательных систем вес и габариты можно размещать только в помещениях с размерами не приемлемыми для размещения.
На Фиг. 40 представлена колебательная система 11.1 (любая из десяти с 11.1; 11.2; 11.3;…; 11.10), содержит пять колебательных мостов: 1, 2, 3, 4 и 5; каждый мост содержит высокоомное сопротивление R, четыре параллельных колебательных контура выполненных на основе микросхем - гираторов емкостных Гс и гираторов индуктивных ГL: два колебательных контура с параметрами гиратор ГL1 как индуктивность Li и гиратор Гс1 как емкостью Ci, а также два колебательных контура с параметрами Гс2 как индуктивность L2 и Гс2 как емкость С2; для контроля резонанса колебательных систем параллельно включены два делителя напряжения, выполненных из двух последовательно включенных высокоомных сопротивлений подключенных параллельно двум параллельным колебательным контурам; при этом вход колебательной системы 11.1 соединен параллельно с пятью входами пяти мостов и с третьим выходом колебательной системы 11.1, первые выходы пяти мостов (1, 2, 3, 4 и 5) образуют первый выход, вторые выходы пяти мостов (1, 2, 3, 4 и 5) образуют второй выход; вход каждого моста соединен через клемму «с» с клеммой «ж» и через второй параллельный колебательный контур с параметрами ГL2 и Гс2 с клеммой «м» и далее через клемму «а» с первым выходом моста, а параллельно клемма «с» соединена с клеммой «n» и через первый параллельный колебательный контур с параметрами ГL1 и Гс1 с клеммой «к» и далее через клемму «б» со вторым выходом моста; клемма «а» параллельно соединена через высокоомное сопротивление R с клеммой «б» и параллельно клемма «а» соединена через клемму «л», через первый колебательный контур с параметрами ГL1 и Гс1 через клемму «н» с клеммой «д», клемма «д» заземлена; кроме того, клемма «б» соединена через клемму «ч», через второй параллельный колебательный контур с параметрами ГL2 и Гс2 через клемму «х» с заземленной клеммой «д»; клемма «n» первого колебательного контура с параметрами ГL1 и Гс1 соединена через клемму «т» через высокоомное сопротивление R1, через клемму «з», через высокоомное сопротивление R2, через клемму «ш» с клеммой «к» первого колебательного контура с параметрами ГL1 и Гс1, при этом клемма «з» соединена с третьим выходом в каждом из пяти колебательных мостов (1, 2, 3, 4 и 5); клемма «ч» второго колебательного контура с параметрами ГL2 и Гс2 соединена через рез клемму «и» через высокоомное сопротивление R3, через клемму «р», через высокоомное сопротивление R4, через клемму «о» с клеммой «х» второго колебательного контура с параметрами ГL2 и Гс2, при этом клемма «р» соединена с четвертым выходом в каждом из пяти колебательных мостов (1, 2, 3, 4 и 5); причем третий и четвертый выходы в каждом из пяти колебательных мостов с первого по пятый образуют параллельный четвертый выход 4 в любой из десяти колебательных систем с 11.1; 11.2; 11.3;…; по 11.10, при этом третий выход первого колебательного моста соединен с четвертым выходом колебательной системы через его первый вход, а четвертый выход первого колебательного моста соединен с четвертым выходом колебательной системы через его второй вход; далее, третий выход второго колебательного моста соединен с четвертым выходом колебательной системы через его четвертый вход, а четвертый выход второго колебательного моста соединен с четвертым выходом колебательной системы через его пятый вход; далее, третий выход третьего колебательного моста соединен с четвертым выходом колебательной системы через его седьмой вход, а четвертый выход третьего колебательного моста соединен с четвертым выходом колебательной системы через его восьмой вход; далее, третий выход четвертого колебательного моста соединен с четвертым выходом колебательной системы через его десятый вход, а четвертый выход четвертого колебательного моста соединен с четвертым выходом колебательной системы через его одиннадцатый вход; далее, третий выход пятого колебательного моста соединен с четвертым выходом колебательной системы через его тринадцатый вход, а четвертый выход пятого колебательного моста соединен с четвертым выходом колебательной системы через его четырнадцатый вход; первая колебательная система 11.1 содержит пять мостов: первый мост с первым параллельным колебательным контуром с параметрами ГL1 и Гс1 настроен на частоту 1,1 кГц, а второй колебательный контур с параметрами ГL2 и Гс2 настроен на частоту 2,1 кГц; второй мост с первым параллельным колебательным контуром с параметрами ГL1 и Гс1 настроен на частоту 3,1 кГц, а второй колебательный контур с параметрами ГL2 и Гс2 настроен на частоту 4,1 кГц; третий мост с первым параллельным колебательным контуром с параметрами ГL1 и Гс1 настроен на частоту 5,1кГц, а второй колебательный контур с параметрами ГL2 и Гс2 настроен на частоту 6,1 кГц; четвертый мост с первым параллельным колебательным контуром с параметрами ГL1 и Гс1 настроен на частоту 7,1 кГц, а второй колебательный контур с параметрами Гс2 и Гс2 настроен на частоту 8,1 кГц; пятый мост с первым параллельным колебательным контуром с параметрами ГL1 и Гс1 настроен на частоту 9,1 кГц, а второй колебательный контур с параметрами Гс2 и Гс2 настроен на частоту 9,9кГц; вторая рая колебательная система 11.2 содержит пять мостов: первый мост с первым параллельным колебательным контуром с параметрами ГL1 и Гс1 настроен на частоту 11,9кГц, а второй колебательный контур с параметрами ГL2 и Гс2 настроен на частоту 15,1кГц; второй мост с первым параллельным колебательным контуром с параметрами ГL1 и Гс1 настроен на частоту 20,1кГц, а второй колебательный контур с параметрами ГL2 и Гс2 настроен на частоту 25,1 кГц; третий мост с первым параллельным колебательным контуром с параметрами ГL1 и Гс1 настроен на частоту 30,1кГц, а второй колебательный контур с параметрами Гс2 и Гс2 настроен на частоту 35,1 кГц; четвертый мост с первым параллельным колебательным контуром с параметрами ГL1 и Гс1 настроен на частоту 40,1 кГц, а второй колебательный контур с параметрами Гс2 и Гс2 настроен на частоту 44,1 кГц; пятый мост с первым параллельным колебательным контуром с параметрами ГL1 и Гс1 настроен на частоту 47,1 кГц, а второй колебательный контур с параметрами ГL2 и Гс2 настроен на частоту 49,9кГц; третья колебательная система 11.3 содержит пять мостов: первый мост с первым параллельным колебательным контуром с параметрами ГL1 и Гс1 настроен на частоту 52,1 кГц, а второй колебательный контур с параметрами Гс2 и Гс2 настроен на частоту 58,1кГц; второй мост с первым параллельным колебательным контуром с параметрами ГL1 и Гс1 настроен на частоту 62,1 кГц, а второй колебательный контур с параметрами Гс2 и Гс2 настроен на частоту 68,1 кГц; третий мост с первым параллельным колебательным контуром с параметрами ГL1 и Гс1 настроен на частоту 72,1 кГц, а второй колебательный контур с параметрами ГL2 и Гс2 настроен на частоту 78,1 кГц; четвертый мост с первым параллельным колебательным контуром с параметрами ГL1 и Гс1 настроен на частоту 82,1 кГц, а второй колебательный контур с параметрами Гс2 и Гс2 настроен на частоту 88,1 кГц; пятый мост с первым параллельным колебательным контуром с параметрами ГL1 и Гс1 настроен на частоту 92,1 кГц, а второй колебательный контур с параметрами ГL2 и Гс2 настроен на частоту 98,9кГц; четвертая колебательная система 11.4 содержит пять мостов: первый мост с первым параллельным колебательным контуром с параметрами ГL1 и Гс1 настроен на частоту 110,1 кГц, а второй колебательный контур с параметрами ГГ2 и Гс2 настроен на частоту 120,1 кГц; второй мост с первым параллельным колебательным контуром с параметрами ГL1 и Гс1 настроен на частоту 13 0,1 кГц, а второй колебательный контур с параметрами ГL2 и Гс2 настроен на частоту 140,1 кГц; третий мост с первым параллельным колебательным контуром с параметрами ГL1 и Гс1 настроен на частоту 150,1кГц, а второй колебательный контур с параметрами Гс2 и Гс2 настроен на частоту 160,1 кГц; четвертый мост с первым параллельным колебательным контуром с параметрами ГL1 и Гс1 настроен на частоту 170,1 кГц, а второй колебательный контур с параметрами Гс2 и Гс2 настроен на частоту 178,1 кГц; пятый мост с первым параллельным колебательным контуром с параметрами ГL1 и Гс1 настроен на частоту 185,1кГц, а второй колебательный контур с параметрами Гс2 и Гс2 настроен на частоту 198,1кГц; пятая колебательная система 11.5 содержит пять мостов: первый мост с первым параллельным колебательным контуром с параметрами ГL1 и Гс1 настроен на частоту 210,1 кГц, а второй колебательный контур с параметрами Гс2 и Гс2 настроен на частоту 230,1кГц; второй мост с первым параллельным колебательным контуром с параметрами ГL1 и Гс1 настроен на частоту 250,1 кГц, а второй колебательный контур с параметрами ГL2 и Гс2 настроен на частоту 270,1 кГц; третий мост с первым параллельным колебательным контуром с параметрами ГL1 и Гс1 настроен на частоту 290,1 кГц, а второй колебательный контур с параметрами Гс2 и Гс2 настроен на частоту 310,1 кГц; четвертый мост с первым параллельным колебательным контуром с параметрами ГL1 и Гс1 настроен на частоту 330,1 кГц, а второй колебательный контур с параметрами ГL2 и Гс2 настроен на частоту 350,1 кГц; пятый мост с первым параллельным колебательным контуром с параметрами ГL1 и Гс1 настроен на частоту 370,1кГц, а второй колебательный контур с параметрами Гс2 и Гс2 настроен на частоту 390ДкГц; шестая колебательная система 11.6 содержит пять мостов: первый мост с первым параллельным колебательным контуром с параметрами ГL1 и Гс1 настроен на частоту 410,1 кГц, а второй колебательный контур с параметрами ГL2 и Гс2 настроен на частоту 450,1кГц; второй мост с первым параллельным колебательным контуром с параметрами ГL1 и Гс1 настроен на частоту 490,1кГц, а второй колебательный контур с параметрами Гс2 и Гс2 настроен на частоту 530,1 кГц; третий мост с первым параллельным колебательным контуром с параметрами ГL1 и Гс1 настроен на частоту 570,1кГц, а второй колебательный контур с параметрами ГL2 и Гс2 настроен на частоту 610,1 кГц; четвертый мост с первым параллельным колебательным контуром с параметрами ГL1 и Гс1 настроен на частоту 650,1кГц, а второй колебательный контур с параметрами ГL2 и Гс2 настроен на частоту 690,1 кГц; пятый мост с первым параллельным колебательным контуром с параметрами ГL1 и Гс1 настроен на частоту 73 ОД кГц, а второй колебательный контур с параметрами Гс2 и Гс2 настроен на частоту 790,1 кГц; седьмая колебательная система 11.7 содержит пять мостов: первый мост с первым параллельным колебательным контуром с параметрами ГL1 и Гс1 настроен на частоту 810,1 кГц, а второй колебательный контур с параметрами ГL2 и Гс2 настроен на частоту 830,1 кГц; второй мост с первым параллельным колебательным контуром с параметрами ГL1 и Гс1 настроен на частоту 850,1 кГц, а второй колебательный контур с параметрами Гс2 и Гс2 настроен на частоту 880,1 кГц; третий мост с первым параллельным колебательным контуром с параметрами ГL1 и Гс1 настроен на частоту 890,1 кГц, а второй колебательный контур с параметрами ГL2 и Гс2 настроен на частоту 910,1 кГц; четвертый мост с первым параллельным колебательным контуром с параметрами ГL1 и Гс1 настроен на частоту 930,1кГц, а второй колебательный контур с параметрами Гс2 и Гс2 настроен на частоту 950,1 кГц; пятый мост с первым параллельным колебательным контуром с параметрами ГL1 и Гс1 настроен на частоту 970,1 кГц, а второй колебательный контур с параметрами ГL2 и Гс2 настроен на частоту 990,1 кГц; восьмая колебательная система11.8 содержит пять мостов: первый мост с первым параллельным колебательным контуром с параметрами ГL1 и Гс1 настроен на частоту 1100,1 кГц, а второй колебательный контур с параметрами Гс2 и Гс2 настроен на частоту 1900,1 кГц; второй мост с первым параллельным колебательным контуром с параметрами ГL1 и Гс1 настроен на частоту 2900,1 кГц, а второй колебательный контур с параметрами Гс2 и Гс2 настроен на частоту 3900,1 кГц; третий мост с первым параллельным колебательным контуром с параметрами ГL1 и Гс1 настроен на частоту 4900,1 кГц, а второй колебательный контур с параметрами ГL2 и Гс2 настроен на частоту 5900,1 кГц; четвертый мост с первым параллельным колебательным контуром с параметрами ГL1 и Гс1 настроен на частоту 6900,1 кГц, а второй колебательный контур с параметрами ГL2 и Гс2 настроен на частоту 7900,1 кГц; пятый мост с первым параллельным колебательным контуром с параметрами ГL1 и Гс1 настроен на частоту 8900,1 кГц, а второй колебательный контур с параметрами ГL2 и Гс2 настроен на частоту 9900,1кГц; девятая колебательная система 11.9 содержит пять мостов: первый мост с первым параллельным колебательным контуром с параметрами ГL1 и Гс1 настроен на частоту 10100,1 кГц, а второй колебательный контур с параметрами Гс2 и Гс2 настроен на частоту 10900,1 кГц; второй мост с первым параллельным колебательным контуром с параметрами ГL1 и Гс1 настроен на частоту 12900,1 кГц, а второй колебательный контур с параметрами ГL2 и Гс2 настроен на частоту 13900,1 кГц; третий мост с первым параллельным колебательным контуром с параметрами ГL1 и Гс1 настроен на частоту 14900,1 кГц, а второй колебательный контур с параметрами ГL2 и Гс2 настроен на частоту 15900,1 кГц; четвертый мост с первым параллельным колебательным контуром с параметрами ГL1 и Гс1 настроен на частоту 16900,1 кГц, а второй колебательный контур с параметрами Гс2 и Гс2 настроен на частоту 17900,1кГц; пятый мост с первым параллельным колебательным контуром с параметрами ГL1 и Гс1 настроен на частоту 18900,1 кГц, а второй колебательный контур с параметрами ГХ2 и Гс2 настроен на частоту 19900,1 кГц; десятая колебательная система 11.10 содержит пять мостов: первый мост с первым параллельным колебательным контуром с параметрами ГL1 и Гс1 настроен на частоту 21100,1кГц, а второй колебательный контур с параметрами ГL2 и Гс2 настроен на частоту 23100,1 кГц; второй мост с первым параллельным колебательным контуром с параметрами ГL1 и Гс1 настроен на частоту 25100,1 кГц, а второй колебательный контур с параметрами ГL2 и Гс2 настроен на частоту 27900,1 кГц; третий мост с первым параллельным колебательным контуром с параметрами ГL1 и Гс1 настроен на частоту 30100,1кГц, а второй колебательный контур с параметрами Гс2 и Гс2 настроен на частоту 32900,1кГц; четвертый мост с первым параллельным колебательным контуром с параметрами ГL1 и Гс1 настроен на частоту 35100,1 кГц, а второй колебательный контур с параметрами ГL2 и Гс2 настроен на частоту 37900,1кГц; пятый мост с первым параллельным колебательным контуром с параметрами ГL1 и Гс1 настроен на частоту 38900,1 кГц, а второй колебательный контур с параметрами ГL2 и Гс2 настроен на частоту 39900,1 кГц.
На Фиг. 41 индикатор обоснования частоты резонанса И. 1-6 (любой из десяти с И. 1-6 по И. 10-6) содержащий пять включателей, трансформатор Тр.1 с одной вторичной обмоткой и пятью первичными обмотками, причем каждая из пяти первичных обмоток трансформатора Тр.1 состоит из двух одинаковых по параметрам секций разделенных средней клеммой, при этом первый вход индикатора обоснования частоты резонанса И. 1-6 соединен с клеммой «A1» первой 1 первичной обмотки трансформатора Тр.1, второй вход индикатора обоснования частоты резонанса И. 1-6 соединен с клеммой «а2» первой 1 первичной обмотки трансформатора ТР.1, третий вход индикатора обоснования частоты резонанса И. 1-6 соединен с первым включателем реле Вк.1, первая первичная обмотка средней клеммой «а3» соединяется с заземленной клеммой «а4» при коммутации первым включателем Вк.1 клеммой «а5»; четвертый вход индикатора обоснования частоты резонанса И. 1-6 соединен с клеммой «а6» второй 2 первичной обмотки трансформатора ТР.1, пятый вход индикатора обоснования частоты резонанса И. 1-6 соединен с клеммой «а7» второй 2 первичной обмотки трансформатора ТР.1, шестой вход индикатора обоснования частоты резонанса И. 1-6 соединен со вторым включателем реле Вк.2, вторая первичная обмотка средней клеммой «а8» соединяется с заземленной клеммой «а9» при коммутации вторым включателем Вк.2 клеммой «а10»; седьмой вход индикатора обоснования частоты резонанса И. 1-6 соединен с клеммой «A1l» третьей 3 первичной обмотки трансформатора ТР.1, восьмой вход индикатора обоснования частоты резонанса И. 1-6 соединен с клеммой «а12» третьей 3 первичной обмотки трансформатора ТР.1, девятый вход индикатора обоснования частоты резонанса И. 1-6 соединен с третьим включателем реле Вк.3, третья первичная обмотка средней клеммой «а13» соединяется с заземленной клеммой «а14» при коммутации третьим включателем Вк.3клеммой «а 15»; десятый вход индикатора обоснования частоты резонанса И. 1-6 соединен с клеммой «а16» четвертой 4 первичной обмотки трансформатора ТР.1, одиннадцатый вход индикатора обоснования частоты резонанса И. 1-6 соединен с клеммой «а17» четвертой 4 первичной обмотки трансформатора ТР.1, двенадцатый вход индикатора обоснования частоты резонанса И. 1-6 соединен с четвертым включателем реле Вк.4, четвертая первичная обмотка средней клеммой «а18» соединяется с заземленной клеммой «а19» при коммутации четвертым включателем Вк.4 клеммой «а20»; тринадцатый вход индикатора обоснования частоты резонанса И. 1-6 соединен с клеммой «а21» пятой 5 первичной обмотки трансформатора ТР.1, четырнадцатый вход индикатора обоснования частоты резонанса И. 1-6 соединен с клеммой «а22» пятой 5 первичной обмотки трансформатора ТР.1, пятнадцатый вход индикатора обоснования частоты резонанса И. 1-6 соединен с пятым включателем реле Вк.5, пятая первичная обмотка средней клеммой «а23» соединяется с заземленной клеммой «а24» при коммутации пятым включателем Вк.5 клеммой «а25»; вторичная обмотка трансформатора Тр.1 клеммой «д» заземлена, а клеммой «с» соединена с выходом 1.1 индикатора обоснования частоты резонанса И. 1-6.
На Фиг. 42 представлен блок исследования спектра излучения сигналов ядерного квадрупольного резонанса 12, содержащий анализатор спектра частот 12.1 и включатель десяти контактный Вк.1 на десять положений включения и трансформатор Тр.1, при этом десять входов с первого 1 по десятый 10 блока исследования спектра излучения параллельно подсоединены к десяти клеммам «а» включателя Вк.1, а десять клемм «б» включателя Вк.1 параллельно подсоединены к входу анализатора спектра частот 12.1; кроме того, вход один-один 1.1 блока исследования спектра излучения сигналов ядерного квадрупольного резонанса 12 соединен с клеммой «A1» первой первичной обмотки трансформатора Тр.1, а клеммой «Д1» первая первичная обмотка трансформатора Тр.1 заземлена; вход два-один 2.1 блока исследования спектра излучения сигналов ядерного квадрупольного резонанса 12 соединен с клеммой «а2» второй первичной обмотки трансформатора Тр.1, а клеммой «д2» вторая первичная обмотка трансформатора Тр.1 заземлена; вход три-один 3.1 блока исследования спектра излучения сигналов ядерного квадрупольного резонанса 12 соединен с клеммой «а3» третьей первичной обмотки трансформатора Тр.1, а клеммой «д3» третья первичная обмотка трансформатора Тр.1 заземлена; вход четыре-один 4.1 блока исследования спектра излучения сигналов ядерного квадрупольного резонанса 12 соединен с клеммой «а4» четвертой первичной обмотки трансформатора Тр.1, а клеммой «д4» четвертая первичная обмотка трансформатора Тр.1 заземлена; вход пять-один 5.1 блока исследования спектра излучения сигналов ядерного квадрупольного резонанса 12 соединен с клеммой «а5» пятой первичной обмотки трансформатора Тр.1, а клеммой «д5» пятая первичная обмотка трансформатора Тр.1 заземлена; вход шесть-один 6.1 блока исследования спектра излучения сигналов ядерного квадрупольного резонанса 12 соединен с клеммой «а6» шестой первичной обмотки трансформатора Тр.1, а клеммой «Д6» шестая первичная обмотка трансформатора Тр.1 заземлена; вход семь-один 7.1 блока исследования спектра излучения сигналов ядерного квадрупольного резонанса 12 соединен с клеммой «а7» седьмой первичной обмотки трансформатора Тр.1, а клеммой «д7» седьмая первичная обмотка трансформатора Тр.1 заземлена; вход восемь-один 8.1 блока исследования спектра излучения сигналов ядерного квадрупольного резонанса 12 соединен с клеммой «а8» восьмой первичной обмотки трансформатора Тр.1, а клеммой «д8» восьмая первичная обмотка трансформатора Тр.1 заземлена; вход девять-один 9.1 блока исследования спектра излучения сигналов ядерного квадрупольного резонанса 12 соединен с клеммой «а9» девятой первичной обмотки трансформатора Тр.1, а клеммой «д9» девятая первичная обмотка трансформатора Тр.1 заземлена; вход десять-один 10.1 блока исследования спектра излучения сигналов ядерного квадрупольного резонанса 12 соединен с клеммой «а10» десятой первичной обмотки трансформатора Тр.1, а клеммой «Д10» десятая первичная обмотка трансформатора Тр.1 заземлена; вторичная обмотка трансформатора Тр.1 клеммой «к» заземлена, а клеммой «с» соединена с выходом блока исследования спектра излучения сигналов ядерного квадрупольного резонанса 12.
На Фиг. 43 представлен аналитический блок 13 слабых сигналов ЯКР, содержащий: трансформатор Тр.1 с десятью первичными обмотками и одной вторичной обмоткой, десять микропроцессоров с первого - 13.1 по десятый - 13.10, десять вентилей с первого - Д. 1 по десятый - Д. 10, десять высокоомных резисторов номиналом 100кОм с первого - R1 по десятый - R10, первый вход содержит десять входов с первого по десятый для соединения с десятью выходами блока фильтров 10 (фиг. 1), второй вход содержит десять входов с одиннадцатого по двадцатый для соединения с десятью выходами блока контроля температуры окружающей среды 14 (фиг. 1 и фиг. 39), при этом первый вход 1 аналитического блока 13 слабых сигналов ЯКР соединен через клеммы «а» и «б» первого включателя Вк.1, через первый вентиль Д1 через первую клемму «c1» с первым входом 1 первого микропроцессора 13.1, параллельно клемма «c1» через первый высокоомный резистор R1 заземлена, одиннадцатый вход аналитического блока 13 слабых сигналов ЯКР соединен со вторым входом 2 первого микропроцессора 13.1; выход первого микропроцессора 13.1 соединен с первой первичной обмоткой трансформатора Тр.1 через клемму «A1», а клемма «Д1» первой первичной обмотки трансформатора Тр.1 заземлена; второй вход 2 аналитического блока 13 слабых сигналов ЯКР соединен через клеммы «а» и «б» второго включателя Вк.2, через второй вентиль Д4, через вторую клемму «с2» с первым входом 1 второго микропроцессора 13.2, параллельно клемма «с2» через второй высокоомный резистор R2 заземлена, двенадцатый вход аналитического блока 13 слабых сигналов ЯКР соединен со вторым входом 2 второго микропроцессора 13.2; выход второго микропроцессора 13.2 соединен со второй первичной обмоткой трансформатора Тр.1 через клемму «а2», а клемма «д2» второй первичной обмотки трансформатора Тр.1 заземлена; третий вход 3 аналитического блока 13 слабых сигналов ЯКР соединен через клеммы «а» и «б» третьего включателя Вк.3, через третий вентиль Д3, через третью клемму «с3» с первым входом 1 третьего микропроцессора 13.3, параллельно клемма «с3» через третий высокоомный резистор R3 заземлена, тринадцатый вход аналитического блока 13 слабых сигналов ЯКР соединен со вторым входом 2 третьего микропроцессора 13.3; выход третьего микропроцессора 13.3 соединен с третьей первичной обмоткой трансформатора Тр.1 через клемму «а3», а клемма «д3» третьей первичной обмотки трансформатора Тр. 1 заземлена; четвертый вход 4 аналитического блока 13 слабых сигналов ЯКР соединен через клеммы «а» и «б» четвертого включателя Вк.4, через четвертый вентиль Д4, через четвертую клемму «С4» с первым входом 1 четвертого микропроцессора 13.4, параллельно клемма «С4» через четвертый высокоомный резистор R4 заземлена, четырнадцатый вход аналитического блока 13 слабых сигналов ЯКР соединен со вторым входом 2 четвертого микропроцессора 13.4; выход четвертого микропроцессора 13.4 соединен с четвертой первичной обмоткой трансформатора Тр.1 через клемму «а4», а клемма «д4» четвертой первичной обмотки трансформатора Тр.1 заземлена; пятый вход 5 аналитического блока 13 слабых сигналов ЯКР соединен через клеммы «а» и «б» пятого включателя Вк.5, через пятый вентиль Д5, через пятую клемму «С5» с первым входом 1 пятого микропроцессора 13.5, параллельно клемма «С5» через пятый высокоомный резистор R5 заземлена, пятнадцатый вход аналитического блока 13 слабых сигналов ЯКР соединен со вторым входом 2 пятого микропроцессора 13.5; выход пятого микропроцессора 13.5 соединен с пятой первичной обмоткой трансформатора Тр. 1 через клемму «а5 », а клемма «д5» пятой первичной обмотки трансформатора Тр.1 заземлена; шестой вход 6 аналитического блока 13 слабых сигналов ЯКР соединен через клеммы «а» и «б» шестого включателя Вк.6, через шестой вентиль Д6, через шестую клемму «С6» с первым входом 1 шестого микропроцессора 13.6, параллельно клемма «С6» через шестой высокоомный резистор R6 заземлена, шестнадцатый вход аналитического блока 13 слабых сигналов ЯКР соединен со вторым входом 2 шестого микропроцессора 13.6; выход шестого микропроцессора 13.6 соединен с шестой первичной обмоткой трансформатора Тр.1 через клемму «а6», а клемма «Д6» шестой первичной обмотки трансформатора Тр.1 заземлена;
седьмой вход 7 аналитического блока 13 слабых сигналов ЯКР соединен через клеммы «а» и «б» седьмого включателя Вк.7, через седьмой вентиль Д7, через седьмую клемму «С7» с первым входом 1 седьмого микропроцессора 13.7, параллельно клемма «С7» через седьмой высокоомный резистор R7 заземлена, семнадцатый вход аналитического блока 13 слабых сигналов ЯКР соединен со вторым входом 2 седьмого микропроцессора 13.7; выход седьмого микропроцессора 13.7 соединен с седьмой первичной обмоткой трансформатора Тр.1 через клемму «а7», а клемма «д7» седьмой первичной обмотки трансформатора Тр.1 заземлена; восьмой вход 8 аналитического блока 13 слабых сигналов ЯКР соединен через клеммы «а» и «б» восьмого включателя Вк.8, через восьмой вентиль Дв, через восьмую клемму «cg» с первым входом 1 восьмого микропроцессора 13.8, параллельно клемма «С8» через восьмой высокоомный резистор Re заземлена, восемнадцатый вход аналитического блока 13 слабых сигналов ЯКР соединен со вторым входом 2 восьмого микропроцессора 13.8; выход восьмого микропроцессора 13.8 соединен с восьмой первичной обмоткой трансформатора Тр.1 через клемму «а8», а клемма «д8» восьмой первичной обмотки трансформатора Тр. 1 заземлена; девятый вход 9 аналитического блока 13 слабых сигналов ЯКР соединен через клеммы «а» и «б» девятого включателя Вк.9, через девятый вентиль Д9, через девятую клемму «С9» с первым входом 1 девятого микропроцессора 13.9, параллельно клемма «С9» через девятый высокоомный резистор R9 заземлена, девятнадцатый вход аналитического блока 13 слабых сигналов ЯКР соединен со вторым входом 2 девятого микропроцессора 13.9; выход девятого микропроцессора 13.9 соединен с девятой первичной обмоткой трансформатора Тр.1 через клемму «а9», а клемма «д9» девятой первичной обмотки трансформатора Тр.1 заземлена; десятый вход 10 аналитического блока 13 слабых сигналов ЯКР соединен через клеммы «а» и «б» десятого включателя Вк.10, через десятый вентиль Д10, через десятую клемму «с10» с первым входом 1 десятого микропроцессора 13.10, параллельно клемма «с10» через десятый высокоомный резистор R10 заземлена, двадцатый вход аналитического блока 13 слабых сигналов ЯКР соединен со вторым входом 2 десятого микропроцессора 13.10; выход десятого микропроцессора 13.10 соединен с десятой первичной обмоткой трансформатора Тр.1 через клемму «а10», а клемма «Д10» десятой первичной обмотки трансформатора Тр.1 заземлена; вторичная обмотка трансформатора Тр.1 клеммой «с» соединена с выходом аналитического блока 13 слабых сигналов ЯКР, а клеммой «к» вторичная обмотка трансформатора Тр.1 заземлена.
Работа аналитического блока 13 слабых сигналов ЯКР связана с температурой среды в которой происходит исследования сигналов ЯКР. Блок контроля температуры окружающей среды 14 обеспечивает изменение работу усилителей (микропроцессоров) в аналитическом блоке 13, чем способствует приему слабых сигналов ЯКР.
На Фиг. 44 представлен блок контроля температуры окружающей среды 14 содержащий преобразователь температура - электрический потенциал 14.1 и десяти контактный включатель Вк.14.2, при этом выход преобразователя температура -электрический потенциал 14.1 соединен параллельно с клеммой «б» каждого включателя с первого включателя 1 по десятый включатель 10 в десяти контактном включателе Вк.14.2, клемма «а» первого включателя 1 соединена с одиннадцатым выходом блока контроля температуры окружающей среды 14, клемма «а» второго включателя 2 соединена с двенадцатым выходом блока контроля температуры окружающей среды 14, клемма «а» третьего включателя 3 соединена с тринадцатым выходом блока контроля температуры окружающей среды 14, клемма «а» четвертого включателя 4 соединена с четырнадцатым выходом блока контроля температуры окружающей среды 14, клемма «а» пятого включателя 5 соединена с пятнадцатым выходом блока контроля температуры окружающей среды 14, клемма «а» шестого включателя 6 соединена с шестнадцатым выходом блока контроля температуры окружающей среды 14, клемма «а» седьмого включателя 7 соединена с семнадцатым выходом блока контроля температуры окружающей среды 14, клемма «а» восьмого включателя 8 соединена с восемнадцатым выходом блока контроля температуры окружающей среды 14, клемма «а» девятого включателя 9 соединена с девятнадцатым выходом блока контроля температуры окружающей среды 14, клемма «а» десятого включателя 10 соединена с двадцатым выходом блока контроля температуры окружающей среды 14.
Таким образом, поставлена цель в представленных материалах достигнута, работоспособность модели изобретения обоснована для работы устройства внутри экранированной камеры, так и работы выносными элементами приемопередающих устройств.
Авторам неизвестны технические решения из области электроники и радиотехники, содержащие признаки, эквивалентные отличительным признакам заявленного устройства. Авторам неизвестны технические решения из других областей техники, обладающие свойствами заявленного технического объекта изобретения. Таким образом, заявленное техническое решение, по мнению авторов, обладает критерием существенных признаков.
| название | год | авторы | номер документа |
|---|---|---|---|
| Устройство обнаружения сигналов ядерного квадрупольного резонанса | 2023 |
|
RU2825221C1 |
| Устройство обнаружения сигналов ядерного квадрупольного резонанса | 2022 |
|
RU2791148C1 |
| Устройство обнаружения сигналов ядерного квадрупольного резонанса | 2021 |
|
RU2774310C1 |
| Устройство обнаружения сигналов ядерного квадрупольного резонанса | 2018 |
|
RU2697023C1 |
| Устройство обнаружения сигналов ядерного квадрупольного резонанса | 2020 |
|
RU2757363C1 |
| Устройство исследования электромагнитного поля вторичных излучателей | 2015 |
|
RU2613015C1 |
| УСТРОЙСТВО ИССЛЕДОВАНИЯ ЭЛЕКТРОМАГНИТНОГО ПОЛЯ ВТОРИЧНЫХ ИЗЛУЧАТЕЛЕЙ | 2015 |
|
RU2595797C1 |
| УСТРОЙСТВО ИССЛЕДОВАНИЯ ЭЛЕКТРОМАГНИТНОГО ПОЛЯ ВТОРИЧНЫХ ИЗЛУЧАТЕЛЕЙ | 2014 |
|
RU2566610C1 |
| УСТРОЙСТВО ИССЛЕДОВАНИЯ ЭЛЕКТРОМАГНИТНОГО ПОЛЯ ВТОРИЧНЫХ ИЗЛУЧАТЕЛЕЙ | 2014 |
|
RU2564384C2 |
| УСТРОЙСТВО КОНТРОЛЯ ЭЛЕКТРОМАГНИТНОГО ПОЛЯ ВТОРИЧНЫХ ИЗЛУЧАТЕЛЕЙ | 2013 |
|
RU2527315C1 |
Использование: для обнаружения сигналов ядерного квадрупольного резонанса. Сущность изобретения заключается в том, что устройство обнаружения сигналов ядерного квадрупольного резонанса содержит экранированную камеру и вне экранированной камеры элементы обнаружения ЯКР, причем внутри экранированной камеры содержатся генератор качающей частоты на диапазон частот от 10 кГц до 10 МГц, формирователь импульсов частотных, формирователь импульсов временных, блок выбора режима работы, усилитель мощности, согласующее устройство передающей антенной системы, а также устройство включает синфазную приемную антенную систему с приемом нормально и параллельно поляризованных электромагнитных волн, при этом дополнительно введены источник переменного тока для питания n блоков контроля влажности и вентиляции. Технический результат: обеспечение возможности обнаружения сигналов ядерного квадрупольного резонанса при повышенной влажности. 34 з.п. ф-лы, 46 ил.
1. Устройство обнаружения сигналов ядерного квадрупольного резонанса, содержащее экранированную камеру и вне экранированной камеры элементы обнаружения ЯКР; внутри экранированной камеры: генератор качающей частоты на диапазон частот от 10 кГц до 10 МГц, формирователь импульсов частотных, формирователь импульсов временных, блок выбора режима работы, усилитель мощности, согласующее устройство передающей антенной системы; синфазную приемную антенную систему с приемом нормально и параллельно поляризованных электромагнитных волн, в которой N синфазных приемных линеек от 61N до 6NN, каждая из N синфазных приемных линеек содержит N приемных антенн (например, первая синфазная приемная линейка содержит с первой 611 по N антенну 61N); передающую синфазную антенную систему с излучением нормально поляризованной волны, в которой N излучателей от 71 до 7N; формирователь информации приемной антенной системы, блок фильтров, блок анализа спектра ядерного квадрупольного резонанса излучения, блок исследования спектра излучения сигналов ядерного квадрупольного резонанса, индикатор ЯКР, аналитический блок слабых сигналов ЯКР, блок контроля температуры окружающей среды, отличающееся тем, что дополнительно введены внутри экранированной камеры: распределитель энергии генератора качающей частоты для питания излучателей вне экранированной камеры, блок согласования для внешних приемных кабелей, включатель Вк.4 для выполнения внутри и вне экранированной камеры исследований ЯКР; а вне экранированной камеры элементы: внешний приемоизлучающий кабель, внешний излучающий кабель, внешний приемный кабель, внешняя экранированная камера с возможностью исследования переносимых грузов, при этом выход генератора качающей частоты соединен с первым входом блока выбора режима работы через формирователь импульсов частотных, через клеммы «в» и «г» первого включателя Вк.1, а со вторым входом блока выбора режима работы выход генератора качающей частоты соединен через формирователь временных импульсов, через клеммы «а» и «б», второго включателя Вк.2, а третий вход блока выбора режима работы соединен непосредственно с выходом аналитического блока слабых сигналов ЯКР, а через клеммы «д» и «е» третьего включателя Вк.3 с выходом блока исследования спектра излучения сигналов ядерного квадрупольного резонанса; выход блока выбора режима работы соединен с входом усилителя мощности; выход усилителя мощности соединен параллельно непосредственно через «n1» вход с формирователем информации приемной системы, также с входом согласующего устройства передающей антенной системы через клеммы «и» и «т» четвертого включателя Вк.4, а также через клеммы «з» и «л» четвертого включателя Вк.4 с входом распределителя энергии генератора качающей частоты для питания излучателей вне экранированной камеры; «n» выходов согласующего устройства передающей антенной системы соединены с каждым из «n» в системе излучателей 7 через клемму «ж», начиная с 71 до 7N; «n» входов формирователя информации приемной антенной системы соединены с N синфазными линейками 6, например «n» входов формирователя информации приемной антенной системы соединены с первой синфазной приемной линейкой от первой антенны 611 до «n» антенны 61N; выход формирователя информации приемной антенной системы соединен с блоком исследования спектра излучения сигналов ядерного квадрупольного резонанса через блок фильтров и через блок анализа спектра излучения сигналов ядерного квадрупольного резонанса; выход блока исследования спектра излучения сигналов ядерного квадрупольного резонанса соединен параллельно с клеммой «е» третьего включателя Вк.3 и параллельно с входом индикатора ЯКР; блок фильтров параллельно соединен с первым входом аналитического блока слабых сигналов ЯКР, а второй вход аналитического блока слабых сигналов ЯКР соединен с выходом блока контроля температуры окружающей среды; излучающая часть устройства, или антенны с 71 до 7N, для возбуждения ядерного квадрупольного резонанса в экранированной камере размещены между двумя экранирующими плоскостями, выполненными в виде усеченных цилиндрических плоскостей; выход распределителя энергии генератора качающей частоты для питания излучателей вне экранированной камеры соединен параллельно через клемму «1» с входом внешнего приемоизлучающего кабеля, также через клемму «2» с внешним излучающим кабелем и через клемму «3» с внешней экранированной камерой с возможностью исследования переносимых грузов; выход внешнего приемоизлучающего кабеля соединен через клемму «4» с входом блока согласования для внешних приемных кабелей, выход внешнего приемного кабеля соединен через клемму «5» с входом блока согласования для внешних приемных кабелей и выход внешней экранированной камеры с возможностью исследования переносимых грузов соединен через клемму «6» с входом блока согласования для внешних приемных кабелей; выход блока согласования для внешних приемных кабелей соединен через вход «т» с блоком формирователя информации приемной антенной системы, отличающееся тем, что дополнительно введены: источник переменного тока напряжением 220 В частотой 50 Гц питания n блоков контроля влажности и вентиляции Дn, контроллер источника переменного тока, пространство для вентиляции экранированной камеры с размещенными с ней n блоками контроля влажности и вентиляции Дn, соединенных последовательно и подключенных через включатель Вк.10 к клемме «а» на выходе контроллера источника переменного тока, кроме того, клемма «а» на выходе контроллера источника переменного тока соединена через клемму «7», через включатель Вк.5 со вторым входом внешнего приемоизлучающего кабеля, параллельно клемма «а» на выходе контроллера источника переменного тока соединена через клемму «8», через включатель Вк.6 со вторым входом внешнего излучающего кабеля, параллельно клемма «а» на выходе контроллера источника переменного тока соединена через клемму «9», через включатель Вк.7 со вторым входом внешнего приемного кабеля, параллельно клемма «а» на выходе контроллера источника переменного тока соединена через клемму «10», через включатель Вк.8 со вторым входом внешней экранированной камеры с возможностью исследования переносимых грузов.
2. Устройство по п. 1, отличающееся тем, что каждый из идентичных излучателей с 71 до 7N для передающей синфазной антенной системы, возбуждающий нормально поляризованную электромагнитную волну с векторами Ег и Нг вблизи границы раздела воздух - поверхность исследуемой среды как с обычными, так и с магнитными свойствами, содержит два ферритовых сердечника цилиндрической формы Ф1 и Ф2, расположенные горизонтально и образующие единый излучатель нормально поляризованной волны, две рамочные передающие антенны К1 и К2 с равномерными частотными свойствами входного сопротивления в диапазоне частот от 10 кГц до 10 МГц, размещенные на ферритовых сердечниках Ф1 и Ф2, и возбуждающие магнитный поток в феррите; согласующий трансформатор Тр.1 с одной первичной 1 и двумя вторичными обмотками 2.1 и 2.2, согласующее устройства передающей системы 5, при этом согласующий трансформатор Тр.1 первичной обмоткой соединен с одним из выходом согласующего устройства передающей системы, а вторичная обмотка трансформатора Тр.1 двухсекционная: первая секция 2.1 соединена клеммой «а» к клемме «ж1» первой рамочной передающей антенны К1, а клеммой «б» первая секция 2.1 соединена к клемме «ж2» первой рамочной передающей антенны К1; вторая секция 2.2 трансформатора Тр.1 соединена клеммой «г» к клемме «ж3» второй рамочной передающей антенны К2, а клеммой «в» вторая секция 2.2 соединена к клемме «ж4» второй рамочной передающей антенны К2.
3. Устройство по п. 2, отличающееся тем, что структура излучателя Ф1 (Ф2) как одного из элементов в составе каждого из N излучателей содержит три ферритовых сердечника, каждый диаметром d=4 мм, выполненные по технологии из трехкомпонентной структуры с магнитной проницаемостью μ=1000, μ=100 и μ=10; поверх трех ферритовых сердечников размещаются витки проводников трех обмоток Oб.1, Oб.2 и Oб.3 рамочной антенны, сечением проводников 0,5 мм, на каждом сердечнике длиной l=3 см располагается по 35 витков, причем все три рамочные антенны включены последовательно и образуют единую цепь с током пространственно однонаправленным i, протекающим между клеммами «ж1» и «ж2»; причем все три рамочные антенны с ферритовыми сердечниками образуют единый излучатель, представленный как Ф1 или Ф2.
4. Устройство по п. 1, отличающееся тем, что элемент приемной антенны содержит три рамочных антенны с ферритовыми сердечниками, причем все три рамочные антенны включены последовательно и образуют единую цепь с наведенным током в них, пространственно однонаправленным i, протекающим между клеммами «П1» и «П2»; три ферритовых сердечника, каждый диаметром d=4 мм, выполненные по технологии из трехкомпонентной структуры с магнитной проницаемостью μ=1000, μ=100 и μ=10; поверх трех ферритовых сердечников размещаются витки проводников трех обмоток рамочной антенны, сечением проводников 0,5 мм, на каждом сердечнике длиной l=3 см располагается по 35 витков, причем все три рамочные антенны включены последовательно и размещены в вертикальной плоскости с углом разноса 60° между рамочными антеннами с ферритовыми сердечниками.
5. Устройство по п. 1, отличающееся тем, что приемная антенна круговой поляризации 611 содержит два элемента приемной антенны 611.1 и 611.2 как элементы системы, состоящей из N приемных антенн в каждой линейке с первой 611 по 61N и N линеек в системе с первой 61N по 6NN, при этом каждый элемент, например, 611.1 имеет три рамочные антенны с ферритовыми сердечниками, причем три рамочные антенны Al, А2 и A3 включены последовательно и образуют единую цепь с наведенным током в них, пространственно однонаправленным i, протекающим между клеммами «П1» и «П2», а в элементе 611.2 три рамочные антенны А4, А5 и А6 включены последовательно и образуют единую цепь с наведенным током в них, пространственно однонаправленным i, протекающим между клеммами «П3» и «П4»; шесть рамочных антенн с ферритовыми сердечниками Al, А2, A3, А4, А5 и А6 расположены в вертикальной плоскости и образуют прием круговой поляризации, включающий прием как нормально поляризованной волны на рамочные антенны А2 и А5, так и параллельно поляризованной волны на рамочные антенны А1, A3, А4 и А6; а радиоприем осуществляется одновременно элементами 611.1 и 611.2 на основе работы суммирующего трансформатора Тр.1, содержащего одну первичную обмотку 1 и две вторичные, при этом первичная обмотка соединена к входным клеммам формирователя информации приемной системы 9, одновременно первая вторичная обмотка 21 трансформатора тора Тр.1 клеммой «а» соединена с клеммой «П1», а клеммой «б» к клемме «П2» элемента 611.1, вторая вторичная обмотка 22 трансформатора Тр.1 клеммой «с» соединена с клеммой «П4», а клеммой «д» к клемме «П3» элемента 611.2.
6. Устройство по п. 1, отличающееся тем, что приемопередающая антенная система в экранированной камере содержит элементы приемной антенной системы, состоящей из N приемных антенн в каждой линейке с первой 611 по 61N и N линеек в системе с первой 61N по 6NN; кроме того, содержит элементы передающей антенной системы, содержащей N излучателей с первого 71 по 7N.
7. Устройство по п. 1, отличающееся тем, что внешний приемоизлучающий кабель содержит кабель питания длиной 10 метров, по длине которого через каждый метр размещен объемный куб размером 20×20×20 см с первого по n; внешняя поверхность каждого куба образована четырьмя поверхностями: первой 1.1, второй 1.2, третьей 1.3 и четвертой 1.4; а две боковые поверхности 1.5 и 1.6 каждого куба связаны с проходящим через них кабелем питания; внешняя поверхность в каждом из n кубов имеет одинаковое конструктивное решение по размещению на поверхности приемной антенны и излучателей; приемная антенна круговой поляризации выполнена конструктивно по типу 611 и размещается в экране круглой формы диаметром 10 см и в центре каждой внешней поверхности куба; остальная внешняя поверхность каждого куба используется для размещения N излучателей, размещенных на экранированной поверхности и выполненных конструктивно по типу 71, как облучатель первый, облучатель второй и облучатель третий; кабель питания с экранированной поверхностью внутри содержит два коаксиальных кабеля; один коаксиальный кабель соединен с одной стороны через клемму «1» с выходом распределителя энергии, а с другой стороны с входом внешнего приемоизлучающего кабеля, этот вход соединен параллельно с каждым из N излучателей на каждой внешней стороне из n каждого куба, обеспечивая питание излучателей током генератора качающей частоты в диапазоне частот от 10 кГц до 10 МГц; второй коаксиальный кабель, внутри кабеля питания, соединен с одной стороны через выход приемоизлучающего кабеля, через клемму «4» с входом блока согласования для внешних приемных кабелей, а с другой стороны соединен параллельно с каждой приемной антенной круговой поляризации на каждой внешней стороне из n каждого куба; одновременно по длине приемопередающего кабеля между соседними из «n» кубов приемопередающих включены «n» кубов вентиляции и осушения с первого Д1 по «n» куб Дn, при этом энергоснабжение для работы «n» кубов вентиляции и осушения осуществляется дополнительным кабелем через включатель Вк.5, через клемму «7», соединенную с клеммой «а», на выходе контроллера источника переменного тока.
8. Устройство по п. 1, отличающееся тем, что внешний излучающий кабель содержит кабель питания длиной 10 метров, по длине которого через каждый метр размещен объемный куб размером 20×20×20 см с первого по n; внешняя поверхность каждого куба образована четырьмя поверхностями: первой 1.1, второй 1.2, третьей 1.3 и четвертой 1.4; две боковые поверхности 1.5 и 1.6 каждого куба связаны с проходящим через них кабелем питания; внешняя поверхность каждого из n кубов имеет одинаковое конструктивное решение по размещению излучателей; внешняя поверхность каждого куба используется для размещения N излучателей, размещенных на экранированной поверхности и выполненных конструктивно по типу 71, как облучатель 1, облучатель 2 и облучатель 3; кабель питания с экранированной поверхностью внутри содержит коаксиальный кабель, при этом этот коаксиальный кабель соединен с одной стороны через клемму «2» с выходом распределителя энергии, размещенного в экранированной камере, а с другой стороны с входом внешнего излучающего кабеля, этот вход соединен параллельно с каждым из N излучателей на каждой внешней стороне из n каждого куба, обеспечивая питание излучателей током через распределителя энергии генератора качающей частоты на диапазон частот от 10 кГц до 10 МГц; одновременно по длине внешнего излучающего кабеля между соседними из «n» кубов передающих включены «n» кубов вентиляции и осушения с первого Д1 по «n» куб Дn, при этом энергоснабжение для работы «n» кубов вентиляции и осушения осуществляется дополнительным кабелем через включатель Вк.6, через клемму «8», соединенную с клеммой «а», на выходе контроллера источника переменного тока.
9. Устройство по п. 1, отличающееся тем, что внешний приемный кабель содержит кабель питания длиной 10 метров, по длине которого через каждый метр размещен объемный куб размером 20×20×20 см с первого по n; внешняя поверхность каждого куба образована четырьмя поверхностями: первой 1.1, второй 1.2, третьей 1.3 и четвертой 1.4; две боковые поверхности 1.5 и 1.6 каждого куба связаны с проходящим через них кабелем питания, внешняя поверхность каждого из n кубов имеет одинаковое конструктивное решение по размещению четырех приемных антенн круговой поляризации, выполненных конструктивно по типу 611 и размещенных в экране круглой формы диаметром 10 см на каждой внешней поверхности куба; кабель питания с экранированной поверхностью внутри содержит коаксиальный кабель, при этом этот коаксиальный кабель соединен с одной стороны через клемму «5» с входом блока согласования для внешних приемных кабелей, а с другой стороны с входом внешнего приемного кабеля, этот кабель соединен параллельно с каждым из четырех приемных антенн круговой поляризации на каждой внешней стороне из n каждого куба; одновременно по длине внешнего приемного кабеля между соседними из «n» кубов приемных включены «n» кубов вентиляции и осушения с первого Д1 по «n» куб Дn, при этом энергоснабжение для работы «n» кубов вентиляции и осушения осуществляется дополнительным кабелем через включатель Вк.7, через клемму «9», соединенную с клеммой «а», на выходе контроллера источника переменного тока.
10. Устройство по п. 1, отличающееся тем, что внешняя экранированная камера с возможностью исследования переносимых грузов содержит экранированную камеру размером 3 м на 3 м, в верхней части камеры размещается N приемных антенных систем круговой поляризации от 611 до 61N, экранированных от излучателей; приемная антенная система круговой поляризации от 611 до 61N внешней экранированной камеры с возможностью исследования переносимых грузов соединена через клемму «6» с входом блока согласования для внешних приемных кабелей, размещенного внутри экранированной камеры; в экранированной части пространства внешней экранированной камеры с возможностью исследования переносимых грузов размещаются элементы передающей антенной системы, содержащей N излучателей с первого 71 по N - 7N, при этом элементы передающей антенной системы из N излучателей с первого 71 по N - 7N соединены через клемму «3» с выходом распределителя энергии генератора качающей частоты; объекты исследования располагаются в нижней части экранированной камеры на решетке с поглощающими свойствами электромагнитных полей, возбуждаемых излучателями с первого 71 по «N» - 7N; кроме того, внешняя экранированная камера с возможностью исследования переносимых грузов содержит пространство для вентиляции в нижней части внутри экранированной камеры с размещенными в ней «n» блоками контроля влажности и вентиляции с первого Д1 по «n» куб Дn, соединенными последовательно и подключенными через включатель Вк.8, через клемму «10» к клемме «а» на выходе контроллера источника переменного тока.
11. Устройство по п. 1, отличающееся тем, что блоки контроля влажности и вентиляции с первого Д1 по «n» Дn для трех видов внешних кабелей: внешнего приемопередающего кабеля, внешнего передающего кабеля и внешнего приемного кабеля; каждый корпус выполнен из нержавеющего металла и имеет вентиляционные отверстия по всем шести плоскостям объема каждого из трех вариантов для блока контроля с первой плоскости - 1.1, второй - 1.2, третьей - 1.3, четвертой - 1.4, пятой - 1.5 и шестой - 1.6; в центральной части плоскостей пятой - 1.5 и шестой - 1.6 определены отверстия для проходящих кабелей: например, для блоков контроля влажности и вентиляции с первого Д1 по «n» куб Дn внешнего приемопередающего кабеля прокладывается три кабеля: первый коаксиальный кабель для питания передающих элементов или объемных кубов, соединенный с кабелем питания через клемму «1» с выходом блока распределителя энергии; второй коаксиальный кабель для приемных элементов или объемных кубов, соединенный с приемным блоком через клемму «4»; третий кабель для питания блоков или объемных кубов контроля влажности и вентиляции с первого Д1 по «n» Дn, соединенный с кабелем питания через Вк.5, клемму «7» к клемме «а» на выходе контроллера источника переменного тока; для блоков контроля влажности и вентиляции с первого Д1 по «n» куб Дn внешнего передающего кабеля прокладывается два кабеля: первый коаксиальный кабель для питания передающих элементов, объемных кубов, соединенный с кабелем питания через клемму «1» с выходом блока распределителя энергии, второй кабель для питания блоков контроля влажности и вентиляции, объемных кубов, с первого Д1 по «n» Дn, соединенный с кабелем питания через Вк.6 и клемму «8» к клемме «а» на выходе контроллера источника переменного тока; для блоков контроля влажности и вентиляции с первого Д1 по «n» куб Дn внешнего приемного кабеля прокладывается два кабеля: первый коаксиальный кабель для приемных элементов, объемных кубов, соединенный с приемным блоком через клемму «5», а второй кабель для питания блоков контроля влажности и вентиляции, объемных кубов, с первого Д1 по «n» куб Дn, соединенный с кабелем питания через Вк.7 и клемму «9» к клемме «а» на выходе контроллера источника переменного тока; при этом каждый блок контроля влажности и вентиляции или объемный куб с первого Д1 по «n» Дn содержит блок контроля влажности воздуха изолированный, блок контроля влажности воздуха в среде и блок анализа; напряжение 220 В частотой 50 Гц через клемму «а» на выходе контроллера источника переменного тока поступает на клемму «р» на входе каждого из объемных кубов, представленного конструкцией куба; клемма «р» соединена параллельно с клеммой «н» блока контроля влажности воздуха изолированного и с клеммой «б» блока анализа, блок контроля влажности воздуха изолированного клеммой «м» соединен с клеммой «n» блока контроля влажности воздуха в среде, кроме того, блок контроля влажности воздуха изолированного клеммой «к» соединен с клеммой «а» блока анализа; а клеммой «з» блок контроля влажности воздуха в среде соединен с клеммой «с» блока анализа; при этом блок контроля влажности воздуха изолированный содержит высокочастотный генератор, питаемый напряжением 220 В частотой 50 Гц через клемму «н», выход высокочастотного генератора соединен с одной обкладкой емкости или резистивного элемента, расположенного внутри блока контроля влажности воздуха изолированного, вторая обкладка конденсатора или резистивного элемента соединена через клемму «к» блока контроля влажности воздуха изолированного, через клемму «а» блока анализа соединена с клеммой «в» вторичной обмотки трансформатора Тр в блоке анализа, клемма «д» вторичной обмотки трансформатора Тр в блоке анализа заземлена; параллельно выход высокочастотного генератора соединен через клемму «м» блока контроля влажности воздуха изолированного, через клемму «n» блока контроля влажности воздуха в среде соединен с одной обкладкой емкости или резистивного элемента, расположенного внутри блока контроля влажности воздуха в среде, вторая обкладка емкости или резистивного элемента, расположенного внутри блока контроля влажности воздуха в среде, через клемму «з» этого блока, через клемму «с» блока анализа соединена с клеммой «ж» первичной обмотки трансформатора Тр, клемма «у» первичной обмотки трансформатора Тр заземлена; разностный ток возникает из-за работы конденсаторов или резистивных элементов в изолированной камере и камере в среде, фиксируется третьей обмоткой трансформатора Тр, выход третьей обмотки трансформатора соединен со вторым входом управляющего блока, на первый вход которого поступает через клемму «б» электрическая энергия частотой 50 Гц и напряжением 220 В, управляющий блок подключает энергию источника через первый выход для работы вентилятора в избранных объемных кубах и через второй выход подключает батареи для повышения температуры объемных кубов.
12. Устройство по п. 1, отличающееся тем, что блок согласования для внешних приемных кабелей содержит два согласующих трансформатора Тр.1 и Тр.2, первый трансформатор Тр.1 имеет три первичные обмотки и шесть вторичных обмоток, а второй трансформатор Тр.2 имеет шесть первичных обмоток и одну вторичную обмотку, при этом первый вход блока согласования для внешних приемных кабелей с внешней стороны соединен через клемму «4» с выходом внешнего приемоизлучающего кабеля, а внутри блока согласования для внешних приемных кабелей первый вход соединен с клеммой «а» первой первичной обмотки трансформатора Тр.1, при этом клемма «б» первой первичной обмотки трансформатора Тр.1 заземлена; второй вход блока согласования для внешних приемных кабелей с внешней стороны соединен через клемму «5» с выходом внешнего приемного кабеля, а внутри блока согласования для внешних приемных кабелей второй вход соединен с клеммой «а» второй первичной обмотки трансформатора Тр.1, а клемма «б» второй первичной обмотки трансформатора Тр.1 заземлена; третий вход блока согласования для внешних приемных кабелей с внешней стороны соединен через клемму «б» с выходом внешней экранированной камеры с возможностью исследования переносимых грузов, а внутри блока согласования для внешних приемных кабелей третий вход соединен с клеммой «а» третьей первичной обмотки трансформатора Тр.1, а клемма «б» третьей первичной обмотки трансформатора Тр.1 заземлена; первая обмотка «1» из шести вторичных обмоток первого трансформатора Тр.1 соединена через усилитель «А», через полосовой фильтр «П» с полосой пропускания от 10 до 20 кГц с клеммами «а» и «б» первой первичной обмотки второго трансформатора Тр.2; вторая обмотка «2» из шести вторичных обмоток первого трансформатора Тр.1 соединена через усилитель «В», через полосовой фильтр «М» с полосой пропускания от 20 до 50 кГц с клеммами «а» и «б» второй первичной обмотки второго трансформатора Тр.2; третья обмотка «3» из шести вторичных обмоток первого трансформатора Тр.1 соединена через усилитель «С», через полосовой фильтр «Н» с полосой пропускания от 50 до 100 кГц с клеммами «а» и «б» третьей первичной обмотки второго трансформатора Тр.2; четвертая обмотка «4» из шести вторичных обмоток первого трансформатора Тр.1 соединена через усилитель «Д», через полосовой фильтр «Р» с полосой пропускания от 100 до 500 кГц с клеммами «а» и «б» четвертой первичной обмотки второго трансформатора Тр.2; пятая обмотка «5» из шести вторичных обмоток первого трансформатора Тр.1 соединена через усилитель «Е», через полосовой фильтр «О» с полосой пропускания от 500 до 1000 кГц с клеммами «а» и «б» пятой первичной обмотки второго трансформатора Тр.2; шестая обмотка «6» из шести вторичных обмоток первого трансформатора Тр.1 соединена через усилитель «К», через полосовой фильтр «Л» с полосой пропускания от 1000 до 10000 кГц с клеммами «а» и «б» шестой первичной обмотки второго трансформатора Тр.2; вторичная обмотка второго трансформатора Тр.2 клеммами «с» и «д» соединена с выходом блока согласования для внешних приемных кабелей.
13. Устройство по п. 1, отличающееся тем, что формирователь импульсов частотных содержит первый формирователь групп одномиллисекундных частотных импульсов, второй формирователь групп двухмиллисекундных частотных импульсов, третий формирователь групп трехмиллисекундных частотных импульсов, четвертый формирователь групп четырехмиллисекундных частотных импульсов, генератор одномиллисекундных импульсов, четыре четырехконтактных включателя: Вк.1, Вк.2, Вк.3 и Вк.4; четыре элемента И: первый 2.6, второй 2.7, третий 2.8 и четвертый 2.9; четыре кнопки одноразового запуска работы четырех формирователей: Кн.1, Кн.2, Кн.3 и Кн.4; при этом выход генератора одномиллисекундных импульсов соединен параллельно непосредственно с первым входом первого элемента И и со вторым входом первого элемента И через первую кнопку Кн. 1 для одноразового запуска работы первого формирователя, выход первого элемента И соединен с первым входом первого формирователя групп одномиллисекундных частотных импульсов, первый выход первого формирователя групп одномиллисекундных частотных импульсов соединен с выходом формирователя импульсов частотных через клеммы «с» и «д» первого четырехконтактного включателя Вк.1, второй выход первого формирователя групп одномиллисекундных частотных импульсов соединен со вторым входом первого элемента И через клеммы «а» и «б» первого четырехконтактного включателя Вк.1 для циклической работы первого формирователя; выход генератора одномиллисекундных импульсов соединен параллельно непосредственно с первым входом второго элемента И и со вторым входом второго элемента И через вторую кнопку Кн.2 для одноразового запуска работы второго формирователя, выход второго элемента И соединен с первым входом второго формирователя групп двухмиллисекундных частотных импульсов, первый выход второго формирователя групп двухмиллисекундных частотных импульсов соединен с выходом формирователя импульсов частотных через клеммы «с» и «д» второго четырехконтактного включателя Вк.2, второй выход второго формирователя групп двухмиллисекундных частотных импульсов соединен со вторым входом второго элемента И через клеммы «а» и «б» второго четырехконтактного включателя Вк.2 для циклической работы второго формирователя; выход генератора одномиллисекундных импульсов соединен параллельно непосредственно с первым входом третьего элемента И и со вторым входом третьего элемента И через третью кнопку Кн.3 для одноразового запуска работы третьего формирователя, выход третьего элемента И соединен с первым входом третьего формирователя групп трехмиллисекундных частотных импульсов, первый выход третьего формирователя групп трехмиллисекундных частотных импульсов соединен с выходом формирователя импульсов частотных через клеммы «с» и «д» третьего четырехконтактного включателя Вк.3, второй выход третьего формирователя групп трехмиллисекундных частотных импульсов соединен со вторым входом третьего элемента И через клеммы «а» и «б» третьего четырехконтактного включателя Вк.3 для циклической работы третьего формирователя групп трехмиллисекундных частотных импульсов; выход генератора одномиллисекундных импульсов соединен параллельно непосредственно с первым входом четвертого элемента И и со вторым входом четвертого элемента И через четвертую кнопку Кн.4 для одноразового запуска работы четвертого формирователя, выход четвертого элемента И соединен с первым входом четвертого формирователя групп четырехмиллисекундных частотных импульсов, первый выход четвертого формирователя групп четырехмиллисекундных частотных импульсов соединен с выходом формирователя импульсов частотных через клеммы «с» и «д» четвертого четырехконтактного включателя Вк.4, второй выход четвертого формирователя групп четырехмиллисекундных частотных импульсов соединен со вторым входом четвертого элемента И через клеммы «а» и «б» четвертого четырехконтактного включателя Вк.4 для циклической работы четвертого формирователя групп четырехмиллисекундных частотных импульсов; вход формирователя импульсов частотных соединен параллельно со вторым входом первого формирователя групп одномиллисекундных частотных импульсов, со вторым входом второго формирователя групп двухмиллисекундных частотных импульсов, со вторым входом третьего формирователя групп трехмиллисекундных частотных импульсов и со вторым входом четвертого формирователя групп четырехмиллисекундных частотных импульсов.
14. Устройство по п. 13, отличающееся тем, что первый формирователь групп одномиллисекундных частотных импульсов содержит первый вентиль В.1, второй вентиль В.2, третий вентиль В.3, четвертый вентиль В.4, пятый вентиль В.5, шестой вентиль В.6, седьмой вентиль В.7, восьмой вентиль В.8, девятый вентиль В.9, десятый вентиль В.10, первую линию задержки на 2 мс, вторую линию задержки на 2 мс, третью линию задержки на 4 мс, четвертую линию задержки на 2 мс, пятую линию задержки на 4 мс, триггер одномиллисекундный, шестую линию задержки на 8 мс, седьмую линию задержки на 10 мс, первый элемент И, второй элемент И, умножитель частоты на два, при этом первой кнопкой Кн.1 для запуска триггера одномиллисекундного на короткое время генератор одномиллисекундных импульсов формирователя импульсов частотных подключается к первому входу первого формирователя групп одномиллисекундных частотных импульсов, первый вход соединен с входом триггера одномиллисекундного; выход триггера одномиллисекундного соединен параллельно с входом шестой линии задержки на 8 мс, а через первый вентиль В.1 и через первую линию задержки на 2 мс со вторым входом первого элемента И, также через второй вентиль В.2 со вторым входом первого элемента И; выход шестой линии задержки на 8 мс соединен параллельно с входом седьмой линии задержки на 10 мс, а через третий вентиль В.3 и через вторую линию задержки на 2 мс со вторым входом второго элемента И, также через четвертый вентиль В.4 и через третью линию задержки на 4 мс со вторым входом первого элемента И, а также через пятый вентиль В.5 со вторым входом первого элемента И; выход седьмой линии задержки на 10 мс соединен параллельно через шестой вентиль В.6, через четвертую линию задержки на 2 мс со вторым входом первого элемента И, а через седьмой вентиль В.7 и через пятую тую линию задержки на 4 мс параллельно: через девятый вентиль В.9 со вторым входом второго элемента И, а через десятый вентиль В.10 со вторым выходом первого формирователя групп одномиллисекундных частотных импульсов, кроме того, выход седьмой линии задержки на 10 мс соединен через восьмой вентиль В.8 со вторым входом второго элемента И; выход второго элемента И соединен с первым выходом первого формирователя групп одномиллисекундных частотных импульсов; второй вход первого формирователя групп одномиллисекундных частотных импульсов соединен параллельно с первым входом первого элемента И и через умножитель частоты на два с первым входом второго элемента И; выход первого элемента И соединен с первым выходом первого формирователя групп одномиллисекундных частотных импульсов; длительность всех импульсов, создаваемых первым формирователем групп, одномиллисекундные с частотным заполнением импульсов, соответствует τ=1 мс, причем первым формирователем групп одномиллисекундных импульсов с частотным заполнением образовано три группы импульсов: первая группа два импульса, вторая - три и третья - три; расстояние между импульсами в каждой группе равно 1 мс и расстояние между группами 5 мс; заполнение (модуляция) импульсов обоснованной, рабочей частотой генератора качающей частоты в диапазоне частот от 10 кГц до 10 МГц; причем второй импульс во второй группе, а также первый и третий импульсы в третьей группе заполнены удвоенной частотой 2f1.
15. Устройство по п. 13, отличающееся тем, что второй формирователь групп двухмиллисекундных частотных импульсов содержит одиннадцатый вентиль В.11, двенадцатый вентиль В.12, тринадцатый вентиль В.13, четырнадцатый вентиль В.14, пятнадцатый вентиль В.15, шестнадцатый вентиль В.16, семнадцатый вентиль В.17, восемнадцатый вентиль В.18, девятнадцатый вентиль В.19, двадцатый вентиль В.20, первую линию задержки на 3 мс, вторую линию задержки на 3 мс, третью линию задержки на 6 мс, четвертую линию задержки на 3 мс, пятую линию задержки на 6 мс, триггер двухмиллисекундный, шестую линию задержки на 10 мс, седьмую линию задержки на 13 мс, первый элемент И, второй элемент И, умножитель частоты на два, при этом второй кнопкой Кн.2 для запуска триггера двухмиллисекундного на короткое время генератор одномиллисекундных импульсов формирователя импульсов частотных подключается к первому входу второго формирователя групп двухмиллисекундных частотных импульсов, первый вход второго формирователя групп двухмиллисекундных частотных импульсов соединен с входом триггера двухмиллисекундного; выход триггера двухмиллисекундного соединен параллельно через одиннадцатый вентиль В.11 и через первую линию задержки на 3 мс со вторым входом первого элемента И, также выход триггера двухмиллисекундного соединен через двенадцатый вентиль В.12 со вторым входом первого элемента И; выход триггера двухмиллисекундного соединен с входом шестой линии задержки на 10 мс; выход шестой линии задержки на 10 мс соединен параллельно с входом седьмой линии задержки на 13 мс, а через тринадцатый вентиль В.13 и через вторую линию задержки на 3 мс со вторым входом второго элемента И; также выход шестой линии задержки на 10 мс соединен через четырнадцатый вентиль В.14 и через третью линию задержки на 6 мс со вторым входом первого элемента И, а также выход шестой линии задержки на 10 мс соединен через пятнадцатый вентиль В.15 со вторым входом первого элемента И; выход седьмой линии задержки на 13 мс соединен параллельно через шестнадцатый вентиль В.16 и через четвертую линию задержки на 3 мс со вторым входом первого элемента И, также выход седьмой линии задержки на 13 мс через восемнадцатый вентиль В.18 соединен со вторым входом второго элемента И, а выход седьмой линии задержки на 13 мс соединен через семнадцатый вентиль В.17 и через пятую линию задержки на 6 мс параллельно: через девятнадцатый вентиль В.19 со вторым входом второго элемента И, а через двадцатый вентиль В.20 со вторым выходом второго формирователя групп двухмиллисекундных частотных импульсов; выход второго элемента И соединен с первым выходом второго формирователя групп двухмиллисекундных частотных импульсов; второй вход второго формирователя групп двухмиллисекундных частотных импульсов соединен параллельно с первым входом первого элемента И и также через умножитель частоты на два с первым входом второго элемента И; выход первого элемента И соединен с первым выходом второго формирователя групп двухмиллисекундных частотных импульсов; длительность всех импульсов, создаваемых вторым формирователем групп, двухмиллисекундные с частотным заполнением импульсов, т.е. соответствует τ=2 мс, причем образовано три группы импульсов: первая группа два импульса, вторая - три и третья - три; расстояние между импульсами в каждой группе равно 1 мс и расстояние между группами 5 мс; заполнение (модуляция) импульсов обоснованной, рабочей частотой f1 генератора качающей частоты 1 в диапазоне частот от 10 кГц до 10 МГц; причем второй импульс во второй группе, а также первый и третий импульсы в третьей группе заполнены удвоенной частотой 2f1.
16. Устройство по п. 13, отличающееся тем, что третий формирователь групп трехмиллисекундных частотных импульсов содержит двадцать первый вентиль В.21, двадцать второй вентиль В.22, двадцать третий вентиль В.23, двадцать четвертый вентиль В.24, двадцать пятый вентиль В.25, двадцать шестой вентиль В.26, двадцать седьмой вентиль В.27, двадцать восьмой вентиль В.28, двадцать девятый вентиль В.29, тридцатый вентиль В.30, первую линию задержки на 4 мс, вторую линию задержки на 4 мс, третью линию задержки на 8 мс, четвертую линию задержки на 4 мс, пятую линию задержки на 8 мс, шестую линию задержки на 12 мс, седьмую линию задержки на 16 мс, триггер трехмиллисекундный, первый элемент И, второй элемент И, умножитель частоты на два, третьей кнопкой Кн.3 запуска триггера трехмиллисекундного в третьем формирователе групп трехмиллисекундных частотных импульсов на короткое время генератор формирователя импульсов частотных подключается к первому входу третьего формирователя групп трехмиллисекундных частотных импульсов, первый вход третьего формирователя групп трехмиллисекундных частотных импульсов соединен с входом триггера трехмиллисекундного; выход триггера трехмиллисекундного соединен параллельно с входом шестой линии задержки на 12 мс, а через двадцать первый вентиль В.21 и через первую линию задержки на 4 мс со вторым входом первого элемента И; параллельно выход триггера трехмиллисекундного соединен через двадцать второй вентиль В.22 со вторым входом первого элемента И; выход шестой линии задержки на 12 мс соединен параллельно с входом седьмой линии задержки на 16 мс, параллельно выход шестой линии задержки на 12 мс через двадцать третий вентиль В.23 и через вторую линию задержки на 4 мс соединен со вторым входом второго элемента И, также выход шестой линии задержки на 12 мс соединен через двадцать четвертый вентиль В.24 и через третью линию задержки на 8 мс со вторым входом первого элемента И, а также выход шестой линии задержки на 12 мс соединен через двадцать пятый вентиль В.25 со вторым входом первого элемента И; выход седьмой линии задержки на 16 мс соединен параллельно через двадцать шестой вентиль В.26 и через четвертую линию задержки на 4 мс со вторым входом первого элемента И, а выход седьмой линии задержки на 16 мс соединен через двадцать седьмой вентиль В.27, через пятую линию задержки на 8 мс параллельно: через двадцать девятый вентиль В.29 со вторым входом второго элемента И, а через тридцатый вентиль В.30 со вторым выходом третьего формирователя групп трехмиллисекундных частотных импульсов; кроме того, выход седьмой линии задержки на 16 мс соединен через двадцать восьмой вентиль В.28 со вторым входом второго элемента И; выход второго элемента И соединен с первым выходом третьего формирователя групп трехмиллисекундных частотных импульсов; второй вход третьего формирователя групп трехмиллисекундных частотных импульсов соединен параллельно с первым входом первого элемента И и также через умножитель частоты на два с первым входом второго элемента И; выход первого элемента И соединен с первым выходом третьего формирователя групп трехмиллисекундных частотных импульсов; длительность всех импульсов, создаваемых третьим формирователем групп, трехмиллисекундные с частотным заполнением импульсов, т.е. соответствует τ=3 мс, причем образовано три группы импульсов: первая группа два импульса, вторая - три и третья - три; расстояние между импульсами в каждой группе равно 1 мс и расстояние между группами 5 мс; заполнение (модуляция) импульсов обоснованной, рабочей частотой f1 генератора качающей частоты 1 в диапазоне частот от 10 кГц до 10 МГц; причем второй импульс во второй группе, а также первый и третий импульсы в третьей группе заполнены удвоенной частотой 2f1.
17. Устройство по п. 13, отличающееся тем, что четвертый формирователь групп четырехмиллисекундных частотных импульсов содержит тридцать первый вентиль В.31, тридцать второй вентиль В.32, тридцать третий вентиль В.33, тридцать четвертый вентиль В.34, тридцать пятый вентиль В.35, тридцать шестой вентиль В.36, тридцать седьмой вентиль В.37, тридцать восьмой вентиль В.38, тридцать девятый вентиль В.39, сороковой вентиль В.40, первую линию задержки на 5 мс, вторую линию задержки на 5 мс, третью линию задержки на 10 мс, четвертую линию задержки на 5 мс, пятую линию задержки на 10 мс, триггер четырехмиллисекундный, шестую линию задержки на 14 мс, седьмую линию задержки на 19 мс, первый элемент И, второй элемент И, умножитель частоты на два, при этом четвертой кнопкой Кн.4 запуска триггера четырехмиллисекундного на короткое время генератор одномиллисекундных импульсов формирователя импульсов частотных подключается к первому входу четвертого формирователя групп четырехмиллисекундных частотных импульсов, первый вход четвертого формирователя групп четырехмиллисекундных частотных импульсов соединен с входом триггера четырехмиллисекундного; выход триггера четырехмиллисекундного соединен параллельно с входом шестой линии задержки на 14 мс, а через тридцать первый вентиль В.31 и через первую линию задержки на 5 мс со вторым входом первого элемента И, также выход триггера четырехмиллисекундного соединен через тридцать второй вентиль В.32 со вторым входом первого элемента И; выход шестой линии задержки на 14 мс соединен параллельно с входом седьмой линии задержки на 19 мс, а также выход шестой линии задержки на 14 мс через тридцать третий вентиль В.33 и через вторую линию задержки на 5 мс соединен со вторым входом второго элемента И; также выход шестой линии задержки на 14 мс соединен через тридцать четвертый вентиль В.34 и через третью линию задержки на 10 мс со вторым входом первого элемента И; а также выход шестой линии задержки на 14 мс соединен через тридцать пятый вентиль В.35 со вторым входом первого элемента И; выход седьмой линии задержки на 19 мс соединен параллельно через тридцать шестой вентиль В.36 и через четвертую линию задержки на 5 мс со вторым входом первого элемента И, а выход седьмой линии задержки на 19 мс соединен через тридцать седьмой вентиль В.37 и через четвертую линию задержки на 10 мс параллельно: через тридцать девятый вентиль В.39 со вторым выходом второго элемента И, а через сороковой вентиль В.40 со вторым выходом четвертого формирователя групп четырехмиллисекундных частотных импульсов; кроме того, выход седьмой линии задержки на 19 мс соединен через тридцать восьмой вентиль В.38 со вторым входом второго элемента И; выход второго элемента И соединен с выходом четвертого формирователя групп четырехмиллисекундных частотных импульсов; второй вход четвертого формирователя групп четырехмиллисекундных частотных импульсов соединен параллельно с первым входом первого элемента И и также через умножитель частоты на два с первым входом второго элемента И; выход первого элемента И соединен с первым выходом четвертого формирователя групп четырехмиллисекундных частотных импульсов; длительность всех импульсов, создаваемых третьим формирователем групп, четырехмиллисекундные с частотным заполнением импульсов, т.е. соответствует τ=4 мс, причем образовано три группы импульсов: первая группа два импульса, вторая - три и третья - три; расстояние между импульсами в каждой группе равно 1 мс и расстояние между группами 5 мс; заполнение (модуляция) импульсов обоснованной, рабочей частотой f1 генератора качающей частоты 1 в диапазоне частот от 10 кГц до 10 МГц; причем второй импульс во второй группе, а также первый и третий импульсы в третьей группе заполнены удвоенной частотой 2f1.
18. Устройство по п. 1, отличающееся тем, что формирователь импульсов временных содержит первый формирователь групп одно- и двухмиллисекундных импульсов, второй формирователь групп двух- и четырехмиллисекундных импульсов, третий формирователь групп трех- и шестимиллисекундных импульсов, четвертый формирователь групп четырех- и восьмимиллисекундных импульсов, генератор одномиллисекундных импульсов, четыре четырехконтактных включателя: Вк.1, Вк.2, Вк.3 и Вк.4; четыре элемента И: первый, второй, третий и четвертый; четыре кнопки одноразового запуска работы четырех формирователей: Кн.1, Кн.2, Кн.3 и Кн.4; при этом выход генератора одномиллисекундных импульсов соединен с первым входом первого формирователя групп одно- и двухмиллисекундных импульсов через первый вход первого элемента И, параллельно выход генератора одномиллисекундных импульсов соединен со вторым входом первого элемента И через первую кнопку Кн.1 для одноразового запуска работы первого формирователя, первый выход первого формирователя групп одно- и двухмиллисекундных импульсов соединен с выходом формирователя импульсов временных через клеммы «с» и «д» первого четырехконтактного включателя Вк.1, а второй выход первого формирователя групп одно- и двухмиллисекундных импульсов соединен со вторым входом первого элемента И через клеммы «а» и «б» первого четырехконтактного включателя Вк.1 для циклической работы первого формирователя групп одно- и двухмиллисекундных импульсов; выход генератора одномиллисекундных импульсов соединен с первым входом второго формирователя групп двух- и четырехмиллисекундных импульсов через первый вход второго элемента И, а также параллельно выход генератора одномиллисекундных импульсов соединен со вторым входом второго элемента И через вторую кнопку Кн.2 для одноразового запуска работы второго формирователя, первый выход второго формирователя групп двух- и четырехмиллисекундных импульсов соединен с выходом формирователя импульсов временных через клеммы «с» и «д» второго четырехконтактного включателя Вк.2, а второй выход второго формирователя групп двух- и четырехмиллисекундных импульсов соединен со вторым входом второго элемента И через клеммы «а» и «б» второго четырехконтактного включателя Вк.2 для циклической работы второго формирователя групп двух- и четырехмиллисекундных импульсов; выход генератора одномиллисекундных импульсов соединен с первым входом третьего формирователя групп трех- и шестимиллисекундных импульсов через первый вход третьего элемента И, параллельно выход генератора одномиллисекундных импульсов соединен со вторым входом третьего элемента И через третью кнопку Кн.3 одноразового запуска работы третьего формирователя, первый выход третьего формирователя групп трех- и шестимиллисекундных импульсов соединен с выходом формирователя импульсов временных через клеммы «с» и «д» третьего четырехконтактного включателя Вк.3, а второй выход третьего формирователя групп трех- и шестимиллисекундных импульсов соединен со вторым входом третьего элемента И через клеммы «а» и «б» третьего четырехконтактного включателя Вк.3 для циклической работы третьего формирователя групп трех- и шестимиллисекундных импульсов; выход генератора одномиллисекундных импульсов соединен с первым входом четвертого формирователя групп четырех- и восьмимиллисекундных импульсов через первый вход четвертого элемента И, параллельно выход генератора одномиллисекундных импульсов соединен со вторым входом четвертого элемента И через четвертую кнопку Кн.4 для одноразового запуска работы четвертого формирователя, первый выход четвертого формирователя групп четырех- и восьмимиллисекундных импульсов соединен с выходом формирователя импульсов временных через клеммы «с» и «д» четвертого четырехконтактного включателя Вк.4, а второй выход четвертого формирователя групп четырех- и восьмимиллисекундных импульсов соединен со вторым входом четвертого элемента И через клеммы «а» и «б» четвертого четырехконтактного включателя Вк.4 для циклической работы четвертого формирователя групп четырех- и восьмимиллисекундных импульсов; вход формирователя импульсов временных соединен параллельно со вторым входом первого формирователя групп одно- и двухмиллисекундных импульсов, со вторым входом второго формирователя групп двух- и четырехмиллисекундных импульсов, со вторым входом третьего формирователя групп трех- и шестимиллисекундных импульсов и со вторым входом четвертого формирователя групп четырех- и восьмимиллисекундных импульсов.
19. Устройство по п. 18, отличающееся тем, что первый формирователь групп одно- и двухмиллисекундных импульсов содержит первый вентиль В.41, второй вентиль В.42, третий вентиль В.43, четвертый вентиль В.44, пятый вентиль В.45, шестой вентиль В.46, седьмой вентиль В.47, восьмой вентиль В.48, девятый вентиль В.49, первую линию задержки на 2 мс, вторую линию задержки на 8 мс, третью линию задержки на 13 мс, четвертую линию задержки на 22 мс, пятую линию задержки на 10 мс, шестую линию задержки на 19 мс, седьмую линию задержки на 10 мс, первый триггер на 1 мс, второй триггер на 2 мс, элемент И; при этом первой кнопкой Кн.1 для запуска первого триггера одномиллисекундного на короткое время генератор одномиллисекундных импульсов формирователя импульсов временных подключается к первому входу первого формирователя групп одно- и двухмиллисекундных импульсов; первый вход первого формирователя групп одно- и двухмиллисекундных импульсов подключен к входу первого триггера одномиллисекундного; выход первого триггера одномиллисекундного соединен параллельно по пяти линиям со вторым входом элемента И: по первой линии - через первый вентиль В.41; по второй линии - через первую линию задержки на 2 мс и через второй вентиль В.42; по третьей линии - через седьмую линию задержки на 10 мс и через третий вентиль В.43; по четвертой линии - через седьмую линию задержки на 10 мс, вторую линию задержки на 8 мс и через четвертый вентиль В.44; по пятой линии - через седьмую линию задержки на 10 мс, через третью линию задержки на 13 мс и через пятый вентиль В.45; выход седьмой линии задержки на 10 мс соединен со вторым триггером на 2 мс; выход второго триггера на 2 мс соединен по трем линиям со вторым входом элемента И: по первой линии - через четвертую линию задержки на 22 мс и через шестой вентиль В.46; по второй линии - через пятую линию задержки на 10 мс и через седьмой вентиль В.47; по третьей линии - через шестую линию задержки на 19 мс, через восьмой вентиль В.48 и через девятый вентиль В.49; одновременно выход восьмого вентиля В.48 соединен со вторым выходом первого формирователя групп одно- и двухмиллисекундных импульсов; второй вход первого формирователя групп одно- и двухмиллисекундных импульсов соединен с первым входом элемента И; выход элемента И соединен с первым выходом первого формирователя групп одно- и двухмиллисекундных импульсов; длительность импульсов, создаваемых первым формирователем групп одно- и двухмиллисекундных импульсов, с одинаковым частотным заполнением импульсов, т.е. соответствует τ=1 мс и τ=2 мс, причем образовано три группы импульсов: первая группа два импульса, вторая - три и третья - три; расстояние между импульсами в каждой группе равно 1 мс и расстояние между группами 5 мс; заполнение (модуляция) импульсов обоснованной, рабочей частотой f1 генератора качающей частоты 1 в диапазоне частот от 10 кГц до 10 МГц; причем длительность первой группы из двух импульсов одинаковая и равна по 1 мс; два импульса первый и третий второй группы длительностью по 1 мс, а второй импульс в группе 2 мс; в третьей группе первый и третий длительностью по 2 мс, а второй импульс 1 мс.
20. Устройство по п. 18, отличающееся тем, что второй формирователь групп двух- и четырехмиллисекундных импульсов содержит первый вентиль В.50, второй вентиль В.51, третий вентиль В.52, четвертый вентиль В.53, пятый вентиль В.54, шестой вентиль В.55, седьмой вентиль В.56, восьмой вентиль В.57, девятый вентиль В.58, первую линию задержки на 3 мс, вторую линию задержки на 10 мс, третью линию задержки на 18 мс, четвертую линию задержки на 30 мс, пятую линию задержки на 13 мс, шестую линию задержки на 25 мс, седьмую линию задержки на 10 мс, первый триггер на 2 мс, второй триггер на 4 мс, элемент И, при этом второй кнопкой Кн.2 для запуска первого триггера двухмиллисекундного на короткое время генератор одномиллисекундных импульсов формирователя импульсов временных подключается к первому входу второго формирователя групп двух- и четырехмиллисекундных импульсов; первый вход второго формирователя групп двух- и четырехмиллисекундных импульсов соединен со входом первого триггера на 2 мс; выход первого триггера на 2 мс соединен параллельно по пяти линиям со вторым входом элемента И: по первой линии - через первый вентиль В.50; по второй линии - через первую линию задержки на 3 мс и через второй вентиль В.51; по третьей линии - через седьмую линию задержки на 10 мс и через третий вентиль В.52; по четвертой линии - через седьмую линию задержки на 10 мс, через вторую линию задержки на 10 мс и через четвертый вентиль В.53; по пятой линии - через седьмую линию задержки на 10 мс, через третью линию задержки на 18 мс и через пятый вентиль В.54; кроме того, выход первого триггера на 2 мс соединен с входом второго триггера на 4 мс через седьмую линию задержки на 10 мс; выход второго триггера на 4 мс соединен по трем линиям со вторым входом элемента И: по первой линии - через четвертую линию задержки на 30 мс и через шестой вентиль В.55; по второй линии - через пятую линию задержки на 13 мс и через седьмой вентиль В.56; по третьей линии - через шестую линию задержки на 25 мс, через восьмой вентиль В.57 и через девятый вентиль В.58; одновременно выход восьмого вентиля В.57 соединен со вторым выходом второго формирователя групп двух- и четырехмиллисекундных импульсов 3.2; второй вход второго формирователя групп двух- и четырехмиллисекундных импульсов соединен с первым входом элемента И; выход элемента И соединен с первым выходом второго формирователя групп двух- и четырехмиллисекундных импульсов; длительность импульсов, создаваемых вторым формирователем групп двух- и четырехмиллисекундных импульсов, с одинаковым частотным заполнением импульсов, т.е. соответствует τ=2 мс и τ=4 мс, причем образовано три группы импульсов: первая группа два импульса, вторая группа - три и третья группа - три; расстояние между импульсами в каждой группе равно 1 мс и расстояние между группами 5 мс; заполнение (модуляция) импульсов обоснованной, рабочей частотой f1 генератора качающей частоты 1 в диапазоне частот от 10 кГц до 10 МГц; причем длительность первой группы из двух импульсов одинаковая и равна по 2 мс; два импульса первый и третий второй группы длительностью по 2 мс, а второй импульс во второй группе 4 мс; в третьей группе первый и третий длительностью по 4 мс, а второй импульс 2 мс.
21. Устройство по п. 18, отличающееся тем, что третий формирователь групп трех- и шестимиллисекундных импульсов содержит первый вентиль В.59, второй вентиль В.60, третий вентиль В.61, четвертый вентиль В.62, пятый вентиль В.63, шестой вентиль В.64, седьмой вентиль В.65, восьмой вентиль В.66, девятый вентиль В.67, первую линию задержки на 4 мс, вторую линию задержки на 23 мс, третью линию задержки на 37 мс, четвертую линию задержки на 15 мс, пятую линию задержки на 4 мс, шестую линию задержки на 4 мс, седьмую линию задержки на 12 мс, первый триггер на 3 мс, второй триггер на 6 мс, элемент И, при этом третьей кнопкой Кн.3 для запуска первого триггера трехмиллисекундного на короткое время генератор одномиллисекундных импульсов формирователя импульсов временных подключается к первому входу третьего формирователя групп трех- и шестимиллисекундных импульсов; первый вход третьего формирователя групп трех- и шестимиллисекундных импульсов соединен со входом первого триггера на 3 мс; выход первого триггера на 3 мс соединен параллельно по пяти линиям со вторым входом элемента И: по первой линии - через первый вентиль В.59; по второй линии - через первую линию задержки на 4 мс и через второй вентиль В.60; по третьей линии - через седьмую линию задержки на 12 мс и через третий вентиль В.61; по четвертой линии - через седьмую линию задержки на 12 мс, через вторую линию задержки на 23 мс и через четвертый вентиль В.62; по пятой линии - через седьмую линию задержки на 12 мс, через третью линию задержки на 37 мс и через пятый вентиль В.63; кроме того, выход седьмой линии задержки на 12 мс соединен с входом второго триггера на 6 мс; выход второго триггера на 6 мс соединен по трем линиям со вторым входом элемента И: по первой линии - через четвертую линию задержки на 15 мс и через шестой вентиль В.64; по второй линии - через пятой линию задержки на 4 мс и через седьмой вентиль В.65; по третьей линии - через седьмую линию задержки на 4 мс, через восьмой вентиль В.66 и через девятый вентиль В.67; одновременно выход восьмого вентиля В.66 соединен со вторым выходом третьего формирователя групп трех- и шестимиллисекундных импульсов; второй вход третьего формирователя групп трех- и шестимиллисекундных импульсов соединен с первым входом элемента И; выход элемента И соединен с первым выходом третьего формирователя групп трех- и шестимиллисекундных импульсов; длительность импульсов, создаваемых третьим формирователем групп трех- и шестимиллисекундных импульсов, с одинаковым частотным заполнением импульсов, т.е. соответствует τ=3 мс и τ=6 мс; причем образовано три группы импульсов: первая группа два импульса, вторая группа - три и третья группа - три; расстояние между импульсами в каждой группе равно 1 мс и расстояние между группами 5 мс; заполнение (модуляция) импульсов обоснованной, рабочей частотой f1 генератора качающей частоты 1 в диапазоне частот от 10 кГц до 10 МГц; причем длительность первой группы из двух импульсов одинаковая и равна по 3 мс; два импульса первый и третий второй группы длительностью по 3 мс, а второй импульс во второй группе 6 мс; в третьей группе первый и третий длительностью по 6 мс, а второй импульс 3 мс.
22. Устройство по п. 18, отличающееся тем, что четвертый формирователь групп четырех- и восьмимиллисекундных импульсов содержит первый вентиль В.68, второй вентиль В.69, третий вентиль В.70, четвертый вентиль В.71, пятый вентиль В.72, шестой вентиль В.73, седьмой вентиль В.74, восьмой вентиль В.75, девятый вентиль В.76, первую линию задержки на 5 мс, вторую линию задержки на 14 мс, третью линию задержки на 32 мс, четвертую линию задержки на 5 мс, пятую линию задержки на 23 мс, шестую линию задержки на 37 мс, седьмую линию задержки на 14 мс, первый триггер на 4 мс, второй триггер на 8 мс, элемент И, при этом четвертой кнопкой Кн.4 для запуска первого триггера четырехмиллисекундного на короткое время генератор одномиллисекундных импульсов формирователя импульсов временных подключается к первому входу четвертого формирователя групп четырех- и восьмимиллисекундных импульсов; первый вход четвертого формирователя групп четырех- и восьмимиллисекундных импульсов соединен со входом первого триггера на 4 мс; выход первого триггера на 4 мс соединен параллельно по пяти линиям со вторым входом элемента И 92: по первой линии - через первый вентиль В.68; по второй линии - через первую линию задержки на 5 мс и через второй вентиль В.69; по третьей линии - через седьмую линию задержки на 14 мс и через третий вентиль В.70; по четвертой линии - через седьмую линию задержки на 14 мс, через вторую линии задержки на 14 мс и через четвертый вентиль В.71; по пятой линии - через седьмую линию задержки на 14 мс, через третью линию задержки на 32 мс и через пятый вентиль В.72; кроме того, выход седьмой линии задержки на 14 мс соединен с входом второго триггера на 8 мс; выход второго триггера на 8 мс соединен по трем линиям со вторым входом элемента И: по первой линии - через четвертую линию задержки на 5 мс и через шестой вентиль В.73; по второй линии - через пятую линию задержки на 23 мс и через седьмой вентиль В.74; по третьей линии - через шестую линию задержки на 37 мс, через восьмой вентиль В.75 и через девятый вентиль В.76; одновременно выход восьмого вентиля В.75 параллельно соединен со вторым выходом четвертого формирователя групп четырех- и восьмимиллисекундных импульсов; второй вход четвертого формирователя групп четырех- и восьмимиллисекундных импульсов соединен с первым входом элемента И; выход элемента И соединен с первым выходом четвертого формирователя групп четырех- и восьмимиллисекундных импульсов; длительность импульсов, создаваемых четвертым формирователем групп четырех- и восьмимиллисекундных импульсов, с одинаковым частотным заполнением импульсов, т.е. соответствует τ=4 мс и τ=8 мс, причем образовано три группы импульсов: первая группа два импульса, вторая группа - три и третья группа - три; расстояние между импульсами в каждой группе равно 1 мс и расстояние между группами 5 мс; заполнение (модуляция) импульсов обоснованной, рабочей частотой f1 генератора качающей частоты 1 в диапазоне частот от 10 кГц до 10 МГц; причем длительность первой группы из двух импульсов одинаковая и равна по 4 мс; два импульса первый и третий второй группы длительностью по 4 мс, а второй импульс во второй группе 8 мс, в третьей группе первый и третий длительностью по 8 мс, а второй импульс 4 мс.
23. Устройство по п. 1, отличающееся тем, что блок выбора режима работы содержит трансформатор Тр.1 с тремя первичными обмотками и одной вторичной обмоткой, при этом первый вход блока выбора режима работы соединен с клеммой «б1» первой первичной обмотки трансформатора Тр.1, а клеммой «a1» первая первичная обмотка трансформатора Тр.1 заземлена; второй вход блока выбора режима работы соединен с клеммой «б2» второй первичной обмотки трансформатора Тр.1, а клеммой «a2» вторая первичная обмотка трансформатора Тр.1 заземлена; третий вход блока выбора режима работы соединен с клеммой «б3» третьей первичной обмотки трансформатора Тр.1, а клеммой «а3» третья первичная обмотка трансформатора Тр.1 заземлена; вторичная обмотка трансформатора Тр.1 клеммой «д» соединена с выходом блока выбора режима работы, а клеммой «с» вторичная обмотка трансформатора Тр.1 заземлена.
24. Устройство по п. 1, отличающееся тем, что согласующее устройство передающей системы содержит трансформатор Тр.1 с одной первичной обмоткой и N вторичными обмотками, при этом вход согласующего устройства передающей системы соединен с клеммой «С» первичной обмотки трансформатора Тр.1, клемма «Д» этой первичной обмотки трансформатора Тр.1 заземлена; выход 7 согласующего устройства передающей системы соединен с клеммой « а1» первой вторичной обмотки трансформатора Тр.1, а клемма « в1» этой первой вторичной обмотки заземлена; выход 72 согласующего устройства передающей системы соединен с клеммой «а2» второй вторичной обмотки трансформатора Тр.1, а клемма «в2» этой второй вторичной обмотки заземлена; выход 73 согласующего устройства передающей системы соединен с клеммой «а3» третьей вторичной обмотки трансформатора Тр.1, а клемма «в2» этой третьей вторичной обмотки заземлена; выход 7N-1 согласующего устройства передающей системы соединен с клеммой «aN-1» N-1 вторичной обмотки трансформатора Тр.1, а клемма «вN-1» этой N-1 вторичной обмотки заземлена; выход 7N согласующего устройства передающей системы соединен с клеммой «aN» N вторичной обмотки трансформатора Тр.1, а клемма «вN» этой N вторичной обмотки заземлена.
25. Устройство по п. 1, отличающееся тем, что формирователь информации приемной антенной системы содержит согласующее устройство первой синфазной приемной антенной линейки, включающей информацию от первой линейки от 611 по N антенну 61N; согласующее устройство второй синфазной приемной антенной линейки, включающей информацию от второй антенной линейки от 621 по N антенну 62N; согласующее устройство третьей синфазной приемной антенной линейки, включающей информацию от третьей антенной линейки от 631 по N антенну 63N; согласующее устройство N-1 синфазной приемной антенной линейки, включающей информацию от N-1 антенной линейки от 6(N-1)1 по N антенну 6(N-1)N; согласующее устройство N синфазной приемной антенной линейки, включающей информацию от N антенной линейки от 6N1 по N антенну 6N.N; усилитель в каждой из N приемных линеек; согласующее устройство приемной антенной системы; при этом первый вход формирователя информации приемной системы соединен через первый вход согласующего устройства первой синфазной приемной антенной линейки, через усилитель с первым выходом согласующего устройства приемной антенной системы; второй вход формирователя информации приемной системы соединен через первый вход согласующего устройства второй синфазной приемной антенной линейки, через усилитель со вторым входом согласующего устройства приемной антенной системы; третий вход формирователя информации приемной системы соединен через первый вход согласующего устройства третьей синфазной приемной антенной линейки, через усилитель с третьим входом согласующего устройства приемной антенной системы; n-1 вход формирователя информации приемной системы соединен через первый вход согласующего устройства N-1 синфазной приемной антенной линейки, через усилитель с n-1 входом согласующего устройства приемной антенной системы; n вход формирователя информации приемной системы соединен через первый вход согласующего устройства N синфазной приемной антенной линейки, через усилитель с n входом согласующего устройства приемной антенной системы; n1 вход формирователя информации приемной системы соединен параллельно со вторым входом согласующего устройства первой синфазной приемной антенной линейки, со вторым входом согласующего устройства второй синфазной приемной антенной линейки, со вторым входом согласующего устройства третьей синфазной приемной антенной линейки, со вторым входом согласующего устройства N-1 синфазной приемной антенной линейки, со вторым входом согласующего устройства N синфазной приемной антенной линейки; n2 вход формирователя информации приемной системы соединен параллельно с (n+1) входом согласующего устройства приемной антенной системы, обеспечивая анализ информации от внешних приемных кабелей; выход согласующего устройства приемной антенной системы соединен с выходом формирователя информации приемной системы.
26. Устройство по п. 25, отличающееся тем, что согласующие устройства для антенн первой синфазной приемной антенной линейки; второй; третьей; …; N-1 и N содержат блок коммутации, трансформатор Тр.1 с одной вторичной обмоткой и N первичными обмотками, при этом вход один-один согласующего устройства, как выход первой антенны 611 из первой синфазной приемной антенной линейки 611-61N, соединен через первый вход блока коммутации с клеммой «a1» первой первичной обмотки трансформатора Тр.1, а клемма «в1» первой первичной обмотки заземлена; вход один-два согласующего устройства, как выход второй антенны 621 из первой синфазной приемной антенной линейки 611-61N, соединен через первый вход блока коммутации с клеммой «а2» второй первичной обмотки трансформатора Тр.1, а клемма «в2» второй первичной обмотки заземлена; вход один-три согласующего устройства, как выход третьей антенны 631 из первой синфазной приемной антенной линейки 611-61N, соединен через первый вход блока коммутации с клеммой «а3» третьей первичной обмотки трансформатора Тр.1, а клемма «в3» третьей первичной обмотки заземлена; вход один-(n-1) согласующего устройства, как выход N-1 антенны 6(N-1)1 из первой синфазной приемной антенной линейки 611-61N, соединен через первый вход блока коммутации с клеммой «aN-1» N-1 первичной обмотки трансформатора Тр.1, а клемма «вN-1» N-1 первичной обмотки заземлена; вход один-n согласующего устройства, как выход N приемной антенны 61N из первой синфазной приемной антенной линейки 611-61N, соединен через первый вход блока коммутации с клеммой «aN» N первичной обмотки трансформатора Тр.1, а клемма «вN» N первичной обмотки заземлена; второй вход согласующего устройства соединен параллельно со вторыми входами всех N блоков коммутации; клемма «К» вторичной обмотки трансформатора Тр.1 соединена с выходом согласующего устройства, а клемма «М» вторичной обмотки трансформатора Тр.1 заземлена.
27. Устройство по п. 26, отличающееся тем, что блок коммутации содержит элемент И и элемент НЕ, при этом первый вход блока коммутации соединен с первым входом элемента И, а второй вход блока коммутации через элемент НЕ соединен со вторым входом элемента И; выход элемента И соединен с выходом блока коммутации.
28. Устройство по п. 25, отличающееся тем, что согласующее устройство приемной антенной системы содержит трансформатор Тр.1 с «n» первичными обмотками и одной вторичной обмоткой, при этом первый вход согласующего устройства приемной антенной системы, как выход первой синфазной приемной антенной линейки 611-61N, соединен с клеммой «а1» первой первичной обмотки трансформатора Тр.1, а клемма «в]» первой первичной обмотки трансформатора Тр.1 заземлена; второй вход согласующего устройства приемной антенной системы, как выход второй синфазной приемной антенной линейки 621-62N, соединен с клеммой «а2» второй первичной обмотки трансформатора Тр.1, а клемма «в2» второй первичной обмотки трансформатора Тр.1 заземлена; третий вход согласующего устройства приемной антенной системы, как выход третьей синфазной приемной антенной линейки 631-63N, соединен с клеммой «а3» третьей первичной обмотки трансформатора Тр.1, а клемма «в3» третьей первичной обмотки трансформатора Тр.1 заземлена; «n-1» вход согласующего устройства приемной антенной системы, как выход N-1 синфазной приемной антенной линейки 6(N-1)1-6(N-1)N, соединен с клеммой «aN-1» N-1 первичной обмотки трансформатора Тр.1, а клемма «вN-1» N-1 первичной обмотки трансформатора Тр.1 заземлена; «n» вход согласующего устройства приемной антенной системы, как выход N синфазной приемной антенной линейки 6N1-6NN, соединен с клеммой «aN» N первичной обмотки трансформатора Тр.1, а клемма «вN» N первичной обмотки трансформатора Тр.1 заземлена; «n+1» вход согласующего устройства приемной антенной системы соединен через клемму «К2» «n+1» первичной обмоткой трансформатора Тр.1, а клемма «10» этой «n+1» первичной обмотки трансформатора Тр.1 заземлена; «n+1» вход обеспечивает прием информации ЯКР с выхода блока согласования для внешних приемных кабелей, полученного от внешних приемных элементов: внешнего приемоизлучающего кабеля, внешнего приемного кабеля, внешней экранированной камеры с возможностью исследования переносимых грузов; клемма «С» вторичной обмотки трансформатора Тр.1 соединена с выходом согласующего устройства приемной антенной системы, а клемма «Д» вторичной обмотки трансформатора Тр.1 заземлена.
29. Устройство по п. 1, отличающееся тем, что блок фильтров на десять каналов содержит первый полосовой фильтр на частоты 1-10 кГц, второй полосовой фильтр на частоты 10-50 кГц, третий полосовой фильтр на частоты 50-100 кГц, четвертый полосовой фильтр на частоты 100-200 кГц, пятый полосовой фильтр на частоты 200-400 кГц, шестой полосовой фильтр на частоты 400-800 кГц, седьмой полосовой фильтр на частоты 800-1000 кГц, восьмой полосовой фильтр на частоты 1-10 МГц, девятый полосовой фильтр на частоты 10-20 МГц, десятый полосовой фильтр на частоты 20-40 МГц, первый узкополосный усилитель на полосу частот 1-10 кГц, второй узкополосный усилитель на полосу частот 10-50 кГц, третий узкополосный усилитель на полосу частот 50-100 кГц, четвертый узкополосный усилитель на полосу частот 100-200 кГц, пятый узкополосный усилитель на полосу частот 200-400 кГц, шестой узкополосный усилитель на полосу частот 400-800 кГц, седьмой узкополосный усилитель на полосу частот 800-1000 кГц, восьмой узкополосный усилитель на полосу частот 1-10 МГц, девятый узкополосный усилитель на полосу частот 10-20 МГц, десятый узкополосный усилитель на полосу частот 20-40 МГц; каждый из десяти полосовых фильтров, с первого 10.1 по десятый 10.10, содержит два резистора R1 и R2 и два гиратора емкостных ГC1 и ГC2, при этом вход блока фильтров на десять каналов соединен параллельно с десятью входами десяти полосовых фильтров с первого по десятый, выходы десяти полосовых фильтров через десять узкополосных усилителей образуют десять выходов блока фильтров на десять каналов; вход блока фильтров на десять каналов через выход первого полосового фильтра с полосой пропускания от 1 до 10 кГц соединен с первым выходом блока фильтров через первый узкополосный усилитель; вход блока фильтров на десять каналов через выход второго полосового фильтра с полосой пропускания от 10 до 50 кГц соединен со вторым выходом блока фильтров через второй узкополосный усилитель; вход блока фильтров на десять каналов через выход третьего полосового фильтра с полосой пропускания от 50 до 100 кГц соединен с третьим выходом блока фильтров через третий узкополосный усилитель; вход блока фильтров на десять каналов через выход четвертого полосового фильтра с полосой пропускания от 100 до 200 кГц соединен с четвертым выходом блока фильтров через четвертый узкополосный усилитель; вход блока фильтров на десять каналов через выход пятого полосового фильтра с полосой пропускания от 200 до 400 кГц соединен с пятым выходом блока фильтров через пятый узкополосный усилитель; вход блока фильтров на десять каналов через выход шестого полосового фильтра с полосой пропускания от 400 до 800 кГц соединен с шестым выходом блока фильтров через шестой узкополосный усилитель; вход блока фильтров на десять каналов через выход седьмого полосового фильтра с полосой пропускания от 800 до 1000 кГц соединен с седьмым выходом блока фильтров через седьмой узкополосный усилитель; вход блока фильтров на десять каналов через выход восьмого полосового фильтра с полосой пропускания от 1 до 10 МГц соединен с восьмым выходом блока фильтров через восьмой узкополосный усилитель; вход блока фильтров на десять каналов через выход девятого полосового фильтра с полосой пропускания от 10 до 20 МГц соединен с девятым выходом блока фильтров через девятый узкополосный усилитель; вход блока фильтров на десять каналов через выход десятого полосового фильтра с полосой пропускания от 20 до 40 МГц соединен с десятым выходом блока фильтров через десятый узкополосный усилитель; вход каждого из десяти полосовых фильтров, с первого 10.1 по десятый 10.10, соединен через клемму «с» с клеммой «д», клемма «д» соединена через первый емкостный гиратор ГC1 и через первый резистор R1 с выходом полосового фильтра, а через второй резистор R2 клемма «д» заземлена, при этом клемма «с» через второй емкостный гиратор ГC2 заземлена.
30. Устройство по п. 1, отличающееся тем, что блок анализа спектра ядерного квадрупольного резонанса излучения содержит десять колебательных систем с первой 11.1 по десятую 11.10 и десять групп по пять индикаторов в каждой группе, или пятьдесят индикаторов, светодиодов, от И.1-1 до И.10-5, по пять индикаторов для каждой колебательной системы, а также десять групп по пять фиксаторов резонанса в каждой группе или пятьдесят фиксаторов резонанса 1, кроме того, десять индикаторов обоснования частоты резонанса с первого индикатора И.1-6 по десятый И.10-6; при этом первый вход блока анализа спектра ядерного квадрупольного резонанса соединен с входом первой колебательной системы 11.1 на частотах 1-10 кГц, первый выход первой колебательной системы 11.1 соединен с первыми входами первой группы из пяти индикаторов с И.1-1 по И.1-5, а второй выход первой колебательной системы 11.1 соединен со вторыми входами первой группы из пяти индикаторов с И.1-1 по И.1-5, третий выход первой колебательной системы соединен с первым выходом блока анализа спектра ядерного квадрупольного резонанса 11, четвертый выход первой колебательной системы 11.1 соединен параллельно с первым, вторым, четвертым, пятым, седьмым, восьмым, десятым, одиннадцатым, тринадцатым и четырнадцатым входами первого индикатора обоснования частоты И.1-6; выход фиксатора резонанса 1 первого индикатора, определенного светодиодом в первой группе И.1-1, соединен с третьим входом первого индикатора обоснования частоты резонанса И.1-6; выход фиксатора резонанса 1 второго индикатора, определенного светодиодом в первой группе И.1-2, соединен с шестым входом первого индикатора обоснования частоты резонанса И.1-6; выход фиксатора резонанса 1 третьего индикатора, определенного светодиодом в первой группе И.1-3, соединен с девятым входом первого индикатора обоснования частоты резонанса И.1-6; выход фиксатора резонанса 1 четвертого индикатора, определенного светодиодом в первой группе И.1-4, соединен с двенадцатым входом первого индикатора обоснования частоты резонанса И.1-6; выход фиксатора резонанса 1 пятого индикатора, определенного светодиодом в первой группе И.1-5, соединен с пятнадцатым входом первого индикатора обоснования частоты резонанса И.1-6; выход первого индикатора обоснования частоты И.1-6 соединен с первым условным выходом 1.1 блока анализа спектра ядерного квадрупольного резонанса излучения 11; второй вход блока анализа ядерного квадрупольного резонанса 11 соединен с входом второй колебательной системы 11.2 на частотах 10-50 кГц, первый выход второй колебательной системы 11.2 соединен с первыми входами второй группы из пяти индикаторов с И.2-1 по И.2-5, а второй выход второй колебательной системы 11.2 соединен со вторыми входами второй группы из пяти индикаторов с И.2-1 по И.2-5, третий выход второй колебательной системы 11.2 соединен со вторым выходом блока анализа спектра ядерного квадрупольного резонанса 11; четвертый выход второй колебательной системы 11.2 соединен параллельно с первым, вторым, четвертым, пятым, седьмым, восьмым, десятым, одиннадцатым, тринадцатым и четырнадцатым входами второго индикатора обоснования частоты И.2-6; выход фиксатора резонанса 1 первого индикатора, определенного светодиодом во второй группе И.2-1, соединен с третьим входом второго индикатора обоснования частоты резонанса И.2-6; выход фиксатора резонанса 1 второго индикатора, определенного светодиодом во второй группе И.2-2, соединен с шестым входом второго индикатора обоснования частоты резонанса И.2-6; выход фиксатора резонанса 1 третьего индикатора, определенного светодиодом во второй группе И.2-3, соединен с девятым входом второго индикатора обоснования частоты резонанса И.2-6; выход фиксатора резонанса 1 четвертого индикатора, определенного светодиодом во второй группе И.2-4, соединен с двенадцатым входом второго индикатора обоснования частоты резонанса И.2-6; выход фиксатора резонанса 1 пятого индикатора, определенного светодиодом во второй группе И.2-5, соединен с пятнадцатым входом второго индикатора обоснования частоты резонанса И.2-6; выход второго индикатора обоснования частоты И.2-6 соединен со вторым условным выходом 2.1 блока анализа спектра ядерного квадрупольного резонанса излучения 11; третий вход блока анализа ядерного квадрупольного резонанса 11 соединен с входом третьей колебательной системы 11.3 на частотах 50-100 кГц, первый выход третьей колебательной системы 11.3 соединен с первыми входами третьей группы из пяти индикаторов с И.3-1 по И.3-5, а второй выход третьей колебательной системы 11.3 соединен со вторыми входами третьей группы из пяти индикаторов с И.3-1 по И.3-5, третий выход третьей колебательной системы 11.3 соединен с третьим выходом блока анализа спектра ядерного квадрупольного резонанса 11; четвертый выход третьей колебательной системы 11.3 соединен параллельно с первым, вторым, четвертым, пятым, седьмым, восьмым, десятым, одиннадцатым, тринадцатым и четырнадцатым входами третьего индикатора обоснования частоты И.3-6; выход фиксатора резонанса 1 первого индикатора, определенного светодиодом в третьей группе И.3-1, соединен с третьим входом третьего индикатора обоснования частоты резонанса И.3-6; выход фиксатора резонанса 1 второго индикатора, определенного светодиодом в третьей группе И.3-2, соединен с шестым входом третьего индикатора обоснования частоты резонанса И.3-6; выход фиксатора резонанса 1 третьего индикатора, определенного светодиодом в третьей группе И.3-3, соединен с девятым входом третьего индикатора обоснования частоты резонанса И.3-6; выход фиксатора резонанса 1 четвертого индикатора, определенного светодиодом в третьей группе И.3-4, соединен с двенадцатым входом третьего индикатора обоснования частоты резонанса И.3-6; выход фиксатора резонанса 1 пятого индикатора, определенного светодиодом в третьей группе И.3-5, соединен с пятнадцатым входом третьего индикатора обоснования частоты резонанса И.3-6; выход третьего индикатора обоснования частоты И.3-6 соединен с третьим условным выходом 3.1 блока анализа спектра ядерного квадрупольного резонанса излучения 11; четвертый вход блока анализа ядерного квадрупольного резонанса 11 соединен с входом четвертой колебательной системы 11.4 на частотах 100-200 кГц, первый выход четвертой колебательной системы 11.4 соединен с первыми входами четвертой группы из пяти индикаторов с И.4-1 по И.4-5, а второй выход четвертой колебательной системы 11.4 соединен со вторыми входами четвертой группы из пяти индикаторов с И.4-1 по И.4-5, третий выход четвертой колебательной системы 11.4 соединен с четвертым выходом блока анализа спектра ядерного квадрупольного резонанса 11; четвертый выход четвертой колебательной системы 11.4 соединен параллельно с первым, вторым, четвертым, пятым, седьмым, восьмым, десятым, одиннадцатым, тринадцатым и четырнадцатым входами четвертого индикатора обоснования частоты И.4-6; выход фиксатора резонанса 1 первого индикатора, определенного светодиодом в четвертой группе И.4-1, соединен с третьим входом четвертого индикатора обоснования частоты резонанса И.4-6; выход фиксатора резонанса 1 второго индикатора, определенного светодиодом в четвертой группе И.4-2, соединен с шестым входом четвертого индикатора обоснования частоты резонанса И.4-6; выход фиксатора резонанса 1 третьего индикатора, определенного светодиодом в четвертой группе И.4-3, соединен с девятым входом четвертого индикатора обоснования частоты резонанса И.4-6; выход фиксатора резонанса 1 четвертого индикатора, определенного светодиодом в четвертой группе И.4-4, соединен с двенадцатым входом четвертого индикатора обоснования частоты резонанса И.4-6; выход фиксатора резонанса 1 пятого индикатора, определенного светодиодом в четвертой группе И.4-5, соединен с пятнадцатым входом четвертого индикатора обоснования частоты резонанса И.4-6; выход четвертого индикатора обоснования частоты И.4-6 соединен с четвертым условным выходом 4.1 блока анализа спектра ядерного квадрупольного резонанса излучения 11; пятый вход блока анализа ядерного квадрупольного резонанса 11 соединен с входом пятой колебательной системы 11.5 на частотах 200-400 кГц, первый выход пятой колебательной системы 11.5 соединен с первыми входами пятой группы из пяти индикаторов с И.5-1 по И.5-5, а второй выход пятой колебательной системы 11.5 соединен со вторыми входами пятой группы из пяти индикаторов с И.5-1 по И.5-5, третий выход пятой колебательной системы 11.5 соединен с пятым выходом блока анализа спектра ядерного квадрупольного резонанса 11; четвертый выход пятой колебательной системы 11.5 соединен параллельно с первым, вторым, четвертым, пятым, седьмым, восьмым, десятым, одиннадцатым, тринадцатым и четырнадцатым входами пятого индикатора обоснования частоты И.5-6; выход фиксатора резонанса 1 первого индикатора, определенного светодиодом в пятой группе И.5-1, соединен с третьим входом пятого индикатора обоснования частоты резонанса И.5-6; выход фиксатора резонанса 1 второго индикатора, определенного светодиодом в пятой группе И.5-2, соединен с шестым входом пятого индикатора обоснования частоты резонанса И.5-6; выход фиксатора резонанса 1 третьего индикатора, определенного светодиодом в пятой группе И.5-3, соединен с девятым входом пятого индикатора обоснования частоты резонанса И.5-6; выход фиксатора резонанса 1 четвертого индикатора, определенного светодиодом в пятой группе И.5-4, соединен с двенадцатым входом пятого индикатора обоснования частоты резонанса И.5-6; выход фиксатора резонанса 1 пятого индикатора, определенного светодиодом в пятой группе И.5-5, соединен с пятнадцатым входом пятого индикатора обоснования частоты резонанса И.5-6; выход пятого индикатора обоснования частоты И.5-6 соединен с пятым условным выходом 5.1 блока анализа спектра ядерного квадрупольного резонанса излучения 11; шестой вход блока анализа ядерного квадрупольного резонанса 11 соединен с входом шестой колебательной системы 11.6 на частотах 400-800 кГц, первый выход шестой колебательной системы 11.6 соединен с первыми входами шестой группы из пяти индикаторов с И.6-1 по И.6-5, а второй выход шестой колебательной системы соединен со вторыми входами шестой группы из пяти индикаторов с И.6-1 по И.6-5, третий выход шестой колебательной системы 11.6 соединен с шестым выходом блока анализа спектра ядерного квадрупольного резонанса 11; четвертый выход шестой колебательной системы 11.6 соединен параллельно с первым, вторым, четвертым, пятым, седьмым, восьмым, десятым, одиннадцатым, тринадцатым и четырнадцатым входами шестого индикатора обоснования частоты И.6-6; выход фиксатора резонанса 1 первого индикатора, определенного светодиодом в шестой группе И.6-1, соединен с третьим входом шестого индикатора обоснования частоты резонанса И.6-6; выход фиксатора резонанса 1 второго индикатора, определенного светодиодом в шестой группе И.6-2, соединен с шестым входом шестого индикатора обоснования частоты резонанса И.6-6; выход фиксатора резонанса 1 третьего индикатора, определенного светодиодом в шестой группе И.6-3, соединен с девятым входом шестого индикатора обоснования частоты резонанса И.6-6; выход фиксатора резонанса 1 четвертого индикатора, определенного светодиодом в шестой группе И.6-4, соединен с двенадцатым входом шестого индикатора обоснования частоты резонанса И.6-6; выход фиксатора резонанса 1 пятого индикатора, определенного светодиодом в шестой группе И.6-5, соединен с пятнадцатым входом шестого индикатора обоснования частоты резонанса И.6-6; выход шестого индикатора обоснования частоты И.6-6 соединен с шестым условным выходом 6.1 блока анализа спектра ядерного квадрупольного резонанса излучения 11; седьмой вход блока анализа ядерного квадрупольного резонанса 11 соединен с входом седьмой колебательной системы 11.7 на частотах 800-1000 кГц, первый выход седьмой колебательной системы 11.7 соединен с первыми входами седьмой группы из пяти индикаторов с И.7-1 по И.7-5, а второй выход седьмой колебательной системы 11.7 соединен со вторыми входами седьмой группы из пяти индикаторов с И.7-1 по И.7-5, третий выход седьмой колебательной системы 11.7 соединен с седьмым выходом блока анализа спектра ядерного квадрупольного резонанса 11; четвертый выход седьмой колебательной системы 11.7 соединен параллельно с первым, вторым, четвертым, пятым, седьмым, восьмым, десятым, одиннадцатым, тринадцатым и четырнадцатым входами седьмого индикатора обоснования частоты И.7-6; выход фиксатора резонанса 1 первого индикатора, определенного светодиодом в седьмой группе И.7-1, соединен с третьим входом седьмого индикатора обоснования частоты резонанса И.7-6; выход фиксатора резонанса 1 второго индикатора, определенного светодиодом в седьмой группе И.7-2, соединен с шестым входом седьмого индикатора обоснования частоты резонанса И.7-6; выход фиксатора резонанса 1 третьего индикатора, определенного светодиодом в седьмой группе И.7-3, соединен с девятым входом седьмого индикатора обоснования частоты резонанса И.7-6; выход фиксатора резонанса 1 четвертого индикатора, определенного светодиодом в седьмой группе И.7-4, соединен с двенадцатым входом седьмого индикатора обоснования частоты резонанса И.7-6; выход фиксатора резонанса 1 пятого индикатора, определенного светодиодом в седьмой группе И.7-5, соединен с пятнадцатым входом седьмого индикатора обоснования частоты резонанса И.7-6; выход седьмого индикатора обоснования частоты И.7-6 соединен с седьмым условным выходом 7.1 блока анализа спектра ядерного квадрупольного резонанса излучения 11; восьмой вход блока анализа ядерного квадрупольного резонанса 11 соединен с входом восьмой колебательной системы 11.8 на частотах 1-10 МГц, первый выход восьмой колебательной системы 11.8 соединен с первыми входами восьмой группы из пяти индикаторов с И.8-1 по И.8-5, а второй выход восьмой колебательной системы 11.8 соединен со вторыми входами восьмой группы из пяти индикаторов с И.8-1 по И.8-5, третий выход восьмой колебательной системы 11.8 соединен с восьмым выходом блока анализа спектра ядерного квадрупольного резонанса 11; четвертый выход восьмой колебательной системы 11.8 соединен параллельно с первым, вторым, четвертым, пятым седьмым, восьмым, десятым, одиннадцатым, тринадцатым и четырнадцатым входами восьмого индикатора обоснования частоты И.8-6; выход фиксатора резонанса 1 первого индикатора, определенного светодиодом в восьмой группе И.8-1, соединен с третьим входом восьмого индикатора обоснования частоты резонанса И.8-6; выход фиксатора резонанса 1 второго индикатора, определенного светодиодом в восьмой группе И.8-2, соединен с шестым входом восьмого индикатора обоснования частоты резонанса И.8-6; выход фиксатора резонанса 1 третьего индикатора, определенного светодиодом в восьмой группе И.8-3, соединен с девятым входом восьмого индикатора обоснования частоты резонанса И.8-6; выход фиксатора резонанса 1 четвертого индикатора, определенного светодиодом в восьмой группе И.8-4, соединен с двенадцатым входом восьмого индикатора обоснования частоты резонанса И.8-6; выход фиксатора резонанса 1 пятого индикатора, определенного светодиодом в восьмой группе И.8-5, соединен с пятнадцатым входом восьмого индикатора обоснования частоты резонанса И.8-6; выход восьмого индикатора обоснования частоты И.8-6 соединен с восьмым условным выходом 8.1 блока анализа спектра ядерного квадрупольного резонанса излучения 11; девятый вход блока анализа ядерного квадрупольного резонанса 11 соединен с входом девятой колебательной системы на частотах 10-20 МГц, первый выход девятой колебательной системы 11.9 соединен с первыми входами девятой группы из пяти индикаторов с И.9-1 по И.9-5, а второй выход девятой колебательной системы 11.9 соединен со вторыми входами девятой группы из пяти индикаторов с И.9-1 по И.9-5, третий выход девятой колебательной системы 11.9 соединен с девятым выходом блока анализа спектра ядерного квадрупольного резонанса 11; четвертый выход девятой колебательной системы 11.9 соединен параллельно с первым, вторым, четвертым, пятым, седьмым, восьмым, десятым, одиннадцатым, тринадцатым и четырнадцатым входами девятого индикатора обоснования частоты И.9-6; выход фиксатора резонанса 1 первого индикатора, определенного светодиодом в девятой группе И.9-1, соединен с третьим входом девятого индикатора обоснования частоты резонанса И.9-6; выход фиксатора резонанса 1 второго индикатора, определенного светодиодом в девятой группе И.9-2, соединен с шестым входом девятого индикатора обоснования частоты резонанса И.9-6; выход фиксатора резонанса 1 третьего индикатора, определенного светодиодом в девятой группе И.9-3, соединен с девятым входом девятого индикатора обоснования частоты резонанса И.9-6; выход фиксатора резонанса 1 четвертого индикатора, определенного светодиодом в девятой группе И.9-4, соединен с двенадцатым входом девятого индикатора обоснования частоты резонанса И.9-6; выход фиксатора резонанса 1 пятого индикатора, определенного светодиодом в девятой группе И.9-5, соединен с пятнадцатым входом девятого индикатора обоснования частоты резонанса И.9-6; выход девятого индикатора обоснования частоты И.9-6 соединен с девятым условным выходом 9.1 блока анализа спектра ядерного квадрупольного резонанса излучения 11; десятый вход блока анализа ядерного квадрупольного резонанса 11 соединен с входом десятой колебательной системы 11.10 на частотах 20-40 МГц, первый выход десятой колебательной системы 11.10 соединен с первыми входами десятой группы из пяти индикаторов с И.10-1 по И.10-5, а второй выход десятой колебательной системы 11.10 соединен со вторыми входами десятой группы из пяти индикаторов с И.10-1 по И.10-5, третий выход десятой колебательной системы 11.10 соединен с десятым выходом блока анализа спектра ядерного квадрупольного резонанса 11; четвертый выход десятой колебательной системы 11.10 соединен параллельно с первым, вторым, четвертым, пятым, седьмым, восьмым, десятым, одиннадцатым, тринадцатым и четырнадцатым входами десятого индикатора обоснования частоты И.10-6; выход фиксатора резонанса 1 первого индикатора, определенного светодиодом в десятой группе И.10-1, соединен с третьим входом десятого индикатора обоснования частоты резонанса И.10-6; выход фиксатора резонанса 1 второго индикатора, определенного светодиодом в десятой группе И.10-2, соединен с шестым входом десятого индикатора обоснования частоты резонанса И.10-6; выход фиксатора резонанса 1 третьего индикатора, определенного светодиодом в десятой группе И.10-3, соединен с девятым входом десятого индикатора обоснования частоты резонанса И.10-6; выход фиксатора резонанса 1 четвертого индикатора, определенного светодиодом в десятой группе И.10-4, соединен с двенадцатым входом десятого индикатора обоснования частоты резонанса И.10-6; выход фиксатора резонанса 1 пятого индикатора, определенного светодиодом в десятой группе И.10-5, соединен с пятнадцатым входом десятого индикатора обоснования частоты резонанса И.10-6; выход десятого индикатора обоснования частоты И.10-6 соединен с десятым условным выходом 10.1 блока анализа спектра ядерного квадрупольного резонанса излучения 11.
31. Устройство по п. 30, отличающееся тем, что колебательная система, любая из десяти с 11.1; 11.2; 11.3; …; 11.10, содержит пять колебательных мостов: с первого 1 по пятый 5; каждый мост содержит высокоомное сопротивление R, четыре параллельных колебательных контура, выполненных на основе микросхем - гираторов емкостных Гс и гираторов индуктивных ГL: два колебательных контура с параметрами гиратор ГL1 как индуктивность L1 и гиратор Гс1 как емкость C1, а также два колебательных контура с параметрами ГL2 как индуктивность L2 и Гс2 как емкость С2; для контроля резонанса колебательных систем параллельно включены два делителя напряжения, выполненных из двух последовательно включенных высокоомных сопротивлений, подключенных параллельно двум параллельным колебательным контурам; при этом вход колебательной системы 11.1 соединен параллельно с пятью входами пяти мостов и с третьим выходом колебательной системы 11.1, первые выходы пяти мостов с первого 1 по пятый 5 образуют первый выход, вторые выходы пяти мостов с первого 1 по пятый 5 образуют второй выход; вход каждого моста соединен через клемму «с» с клеммой «ж» и через второй параллельный колебательный контур с параметрами ГL2 и Гс2 с клеммой «м» и далее через клемму «а» с первым выходом моста, а параллельно клемма «с» соединена с клеммой «n» и через первый параллельный колебательный контур с параметрами ГL1 и Гс1 с клеммой «к» и далее через клемму «б» со вторым выходом моста; клемма «а» параллельно соединена через высокоомное сопротивление R с клеммой «б» и параллельно клемма «а» соединена через клемму «л», через первый колебательный контур с параметрами ГL1 и Гс1 через клемму «н» с клеммой «д», клемма «д» заземлена; кроме того, клемма «б» соединена через клемму «ч», через второй параллельный колебательный контур с параметрами ГL2 и Гс2 через клемму «х» с заземленной клеммой «д»; клемма «n» первого колебательного контура с параметрами ГL1 и Гс1 соединена через клемму «т» через высокоомное сопротивление R1, через клемму «з», через высокоомное сопротивление R2, через клемму «ш» с клеммой «к» первого колебательного контура с параметрами ГL1 и Гс1, при этом клемма «з» соединена с третьим выходом в каждом из пяти колебательных мостов с первого 1 по пятый 5; клемма «ч» второго колебательного контура с параметрами ГL2 и Гс2 соединена через клемму «и», через высокоомное сопротивление R3, через клемму «р», через высокоомное сопротивление R4, через клемму «о» с клеммой «х» второго колебательного контура с параметрами ГL2 и Гс2, при этом клемма «р» соединена с четвертым выходом в каждом из пяти колебательных мостов с первого 1 по пятый 5; причем третий и четвертый выходы в каждом из пяти колебательных мостов с первого по пятый образуют параллельный четвертый выход 4 в любой из десяти колебательных систем с первого 11.1 по десятый 11.10, при этом третий выход первого колебательного моста соединен с четвертым выходом колебательной системы через его первый вход, а четвертый выход первого колебательного моста соединен с четвертым выходом колебательной системы через его второй вход; далее, третий выход второго колебательного моста соединен с четвертым выходом колебательной системы через его четвертый вход, а четвертый выход второго колебательного моста соединен с четвертым выходом колебательной системы через его пятый вход; далее, третий выход третьего колебательного моста соединен с четвертым выходом колебательной системы через его седьмой вход, а четвертый выход третьего колебательного моста соединен с четвертым выходом колебательной системы через его восьмой вход; далее, третий выход четвертого колебательного моста соединен с четвертым выходом колебательной системы через его десятый вход, а четвертый выход четвертого колебательного моста соединен с четвертым выходом колебательной системы через его одиннадцатый вход; далее, третий выход пятого колебательного моста соединен с четвертым выходом колебательной системы через его тринадцатый вход, а четвертый выход пятого колебательного моста соединен с четвертым выходом колебательной системы через его четырнадцатый вход; первая колебательная система 11.1 содержит пять мостов: первый мост с первым параллельным колебательным контуром с параметрами ГL1 и Гс1 настроен на частоту 1,1 кГц, а второй колебательный контур с параметрами ГL2 и Гс2 настроен на частоту 2,1 кГц; второй мост с первым параллельным колебательным контуром с параметрами ГL1 и Гс1 настроен на частоту 3,1 кГц, а второй колебательный контур с параметрами ГL2 и Гс2 настроен на частоту 4,1 кГц; третий мост с первым параллельным колебательным контуром с параметрами ГL1 и Гс1 настроен на частоту 5,1 кГц, а второй колебательный контур с параметрами ГL2 и Гс2 настроен на частоту 6,1 кГц; четвертый мост с первым параллельным колебательным контуром с параметрами ГL1 и Гс1 настроен на частоту 7,1 кГц, а второй колебательный контур с параметрами ГL2 и Гс2 настроен на частоту 8,1 кГц; пятый мост с первым параллельным колебательным контуром с параметрами ГL1 и Гс1 настроен на частоту 9,1 кГц, а второй колебательный контур с параметрами ГL2 и Гс2 настроен на частоту 9,9 кГц; вторая колебательная система 11.2 содержит пять мостов: первый мост с первым параллельным колебательным контуром с параметрами ГL1 и Гс1 настроен на частоту 11,9 кГц, а второй колебательный контур с параметрами ГL2 и Гс2 настроен на частоту 15,1 кГц; второй мост с первым параллельным колебательным контуром с параметрами ГL1 и Гс1 настроен на частоту 20,1 кГц, а второй колебательный контур с параметрами ГL2 и Гс2 настроен на частоту 25,1 кГц; третий мост с первым параллельным колебательным контуром с параметрами ГL1 и Гс1 настроен на частоту 30,1 кГц, а второй колебательный контур с параметрами ГL2 и Гс2 настроен на частоту 35,1 кГц; четвертый мост с первым параллельным колебательным контуром с параметрами ГL1 и Гс1 настроен на частоту 40,1 кГц, а второй колебательный контур с параметрами ГL2 и Гс2 настроен на частоту 44,1 кГц; пятый мост с первым параллельным колебательным контуром с параметрами ГL1 и Гс1 настроен на частоту 47,1 кГц, а второй колебательный контур с параметрами ГL2 и Гс2 настроен на частоту 49,9 кГц; третья колебательная система 11.3 содержит пять мостов: первый мост с первым параллельным колебательным контуром с параметрами ГL1 и Гс1 настроен на частоту 52,1 кГц, а второй колебательный контур с параметрами ГL2 и Гс2 настроен на частоту 58,1 кГц; второй мост с первым параллельным колебательным контуром с параметрами ГL1 и Гс1 настроен на частоту 62,1 кГц, а второй колебательный контур с параметрами ГL2 и Гс2 настроен на частоту 68,1 кГц; третий мост с первым параллельным колебательным контуром с параметрами ГL1 и Гс1 настроен на частоту 72,1 кГц, а второй колебательный контур с параметрами ГL2 и Гс2 настроен на частоту 78,1 кГц; четвертый мост с первым параллельным колебательным контуром с параметрами ГL1 и Гс1 настроен на частоту 82,1 кГц, а второй колебательный контур с параметрами ГL2 и Гс2 настроен на частоту 88,1 кГц; пятый мост с первым параллельным колебательным контуром с параметрами ГL1 и Гс1 настроен на частоту 92,1 кГц, а второй колебательный контур с параметрами ГL2 и Гс2 настроен на частоту 98,9 кГц; четвертая колебательная система 11.4 содержит пять мостов: первый мост с первым параллельным колебательным контуром с параметрами ГL1 и Гс1 настроен на частоту 110,1 кГц, а второй колебательный контур с параметрами ГL2 и Гс2 настроен на частоту 120,1 кГц; второй мост с первым параллельным колебательным контуром с параметрами ГL1 и Гс1 настроен на частоту 130,1 кГц, а второй колебательный контур с параметрами ГL2 и Гс2 настроен на частоту 140,1 кГц; третий мост с первым параллельным колебательным контуром с параметрами ГL1 и Гс1 настроен на частоту 150,1 кГц, а второй колебательный контур с параметрами ГL2 и Гс2 настроен на частоту 160,1 кГц; четвертый мост с первым параллельным колебательным контуром с параметрами ГL1 и Гс1 настроен на частоту 170,1 кГц, а второй колебательный контур с параметрами ГL2 и Гс2 настроен на частоту 178,1 кГц; пятый мост с первым параллельным колебательным контуром с параметрами ГL1 и Гс1 настроен на частоту 185,1 кГц, а второй колебательный контур с параметрами ГL2 и Гс2 настроен на частоту 198,1 кГц; пятая колебательная система 11.5 содержит пять мостов: первый мост с первым параллельным колебательным контуром с параметрами ГL1 и Гс1 настроен на частоту 210,1 кГц, а второй колебательный контур с параметрами ГL2 и Гс2 настроен на частоту 230,1 кГц; второй мост с первым параллельным колебательным контуром с параметрами ГL1 и Гс1 настроен на частоту 250,1 кГц, а второй колебательный контур с параметрами ГL2 и Гс2 настроен на частоту 270,1 кГц; третий мост с первым параллельным колебательным контуром с параметрами ГL1 и Гс1 настроен на частоту 290,1 кГц, а второй колебательный контур с параметрами ГL2 и Гс2 настроен на чаcтоту 310,1 кГц; четвертый мост с первым параллельным колебательным контуром с параметрами ГL1 и Гс1 настроен на частоту 330,1 кГц, а второй колебательный контур с параметрами ГL2 и Гс2 настроен на частоту 350,1 кГц; пятый мост с первым параллельным колебательным контуром с параметрами ГL1 и Гс1 настроен на частоту 370,1 кГц, а второй колебательный контур с параметрами ГL2 и Гс2 настроен на частоту 390,1 кГц; шестая колебательная система 11.6 содержит пять мостов: первый мост с первым параллельным колебательным контуром с параметрами ГL1 и Гс1 настроен на частоту 410,1 кГц, а второй колебательный контур с параметрами ГL2 и Гс2 настроен на частоту 450,1 кГц; второй мост с первым параллельным колебательным контуром с параметрами ГL1 и Гс1 настроен на частоту 490,1 кГц, а второй колебательный контур с параметрами ГL2 и Гс2 настроен на частоту 530,1 кГц; третий мост с первым параллельным колебательным контуром с параметрами ГL1 и Гс1 настроен на частоту 570,1 кГц, а второй колебательный контур с параметрами ГL2 и Гс2 настроен на частоту 610,1 кГц; четвертый мост с первым параллельным колебательным контуром с параметрами ГL1 и Гс1 настроен на частоту 650,1 кГц, а второй колебательный контур с параметрами ГL2 и Гс2 настроен на частоту 690,1 кГц; пятый мост с первым параллельным колебательным контуром с параметрами ГL1 и Гс1 настроен на частоту 730,1 кГц, а второй колебательный контур с параметрами ГL2 и Гс2 настроен на частоту 790,1 кГц; седьмая колебательная система 11.7 содержит пять мостов: первый мост с первым параллельным колебательным контуром с параметрами ГL1 и Гс1 настроен на частоту 810,1 кГц, а второй колебательный контур с параметрами ГL2 и Гс2 настроен на частоту 830,1 кГц; второй мост с первым параллельным колебательным контуром с параметрами ГL1 и Гс1 настроен на частоту 850,1 кГц, а второй колебательный контур с параметрами ГL2 и Гс2 настроен на частоту 880,1 кГц; третий мост с первым параллельным колебательным контуром с параметрами ГL1 и Гс1 настроен на частоту 890,1 кГц, а второй колебательный контур с параметрами ГL2 и Гс2 настроен на частоту 910,1 кГц; четвертый мост с первым параллельным колебательным контуром с параметрами ГL1 и Гс1 настроен на частоту 930,1 кГц, а второй колебательный контур с параметрами ГL2 и Гс2 настроен на частоту 950,1 кГц; пятый мост с первым параллельным колебательным контуром с параметрами ГL1 и Гс1 настроен на частоту 970,1 кГц, а второй колебательный контур с параметрами ГL2 и Гс2 настроен на частоту 990,1 кГц; восьмая колебательная система 11.8 содержит пять мостов: первый мост с первым параллельным колебательным контуром с параметрами ГL1 и Гс1 настроен на частоту 1100,1 кГц, а второй колебательный контур с параметрами ГL2 и Гс2 настроен на частоту 1900,1 кГц; второй мост с первым параллельным колебательным контуром с параметрами ГL1 и Гс1 настроен на частоту 2900,1 кГц, а второй колебательный контур с параметрами ГL2 и Гс2 настроен на частоту 3900,1 кГц; третий мост с первым параллельным колебательным контуром с параметрами ГL1 и Гс1 настроен на частоту 4900,1 кГц, а второй колебательный контур с параметрами ГL2 и Гс2 настроен на частоту 5900,1 кГц; четвертый мост с первым параллельным колебательным контуром с параметрами ГL1 и Гс1 настроен на частоту 6900,1 кГц, а второй колебательный контур с параметрами ГL2 и Гс2 настроен на частоту 7900,1 кГц; пятый мост с первым параллельным колебательным контуром с параметрами ГL1 и Гс1 настроен на частоту 8900,1 кГц, а второй колебательный контур с параметрами ГL2 и Гс2 настроен на частоту 9900,1 кГц; девятая колебательная система 11.9 содержит пять мостов: первый мост с первым параллельным колебательным контуром с параметрами ГL1 и Гс1 настроен на частоту 10100,1 кГц, а второй колебательный контур с параметрами ГL2 и Гс2 настроен на частоту 10900,1 кГц; второй мост с первым параллельным колебательным контуром с параметрами ГL1 и Гс1 настроен на частоту 12900,1 кГц, а второй колебательный контур с параметрами ГL2 и Гс2 настроен на частоту 13900,1 кГц; третий мост с первым параллельным колебательным контуром с параметрами ГL1 и Гс1 настроен на частоту 14900,1 кГц, а второй колебательный контур с параметрами ГL2 и Гс2 настроен на частоту 15900,1 кГц; четвертый мост с первым параллельным колебательным контуром с параметрами ГL1 и Гс1 настроен на частоту 16900,1 кГц, а второй колебательный контур с параметрами ГL2 и Гс2 настроен на частоту 17900,1 кГц; пятый мост с первым параллельным колебательным контуром с параметрами ГL1 и Гс1 настроен на частоту 18900,1 кГц, а второй колебательный контур с параметрами ГL2 и Гс2 настроен на частоту 19900,1 кГц; десятая колебательная система 11.10 содержит пять мостов: первый мост с первым параллельным колебательным контуром с параметрами ГL1 и Гс1 настроен на частоту 21100,1 кГц, а второй колебательный контур с параметрами ГL2 и Гс2 настроен на частоту 23100,1 кГц; второй мост с первым параллельным колебательным контуром с параметрами ГL1 и Гс1 настроен на частоту 25100,1 кГц, а второй колебательный контур с параметрами ГL2 и Гс2 настроен на частоту 27900,1 кГц; третий мост с первым параллельным колебательным контуром с параметрами ГL1 и Гс1 настроен на частоту 30100,1 кГц, а второй колебательный контур с параметрами ГL2 и Гс2 настроен на частоту 32900,1 кГц; четвертый мост с первым параллельным колебательным контуром с параметрами ГL1 и Гс1 настроен на частоту 35100,1 кГц, а второй колебательный контур с параметрами ГL2 и Гс2 настроен на частоту 37900,1 кГц; пятый мост с первым параллельным колебательным контуром с параметрами ГL1 и Гс1 настроен на частоту 38900,1 кГц, а второй колебательный контур с параметрами ГL2 и Гс2 настроен на частоту 39900,1 кГц.
32. Устройство по п. 30, отличающееся тем, что индикатор обоснования частоты резонанса, любой из десяти с И.1-6 по И.10-6, содержит пять включателей, трансформатор Тр.1 с одной вторичной обмоткой и пятью первичными обмотками, причем каждая из пяти первичных обмоток трансформатора Тр.1 состоит из двух одинаковых по параметрам секций, разделенных средней клеммой, при этом первый вход индикатора обоснования частоты резонанса И.1-6 соединен с клеммой «a1» первой 1 первичной обмотки трансформатора Тр.1, второй вход индикатора обоснования частоты резонанса И.1-6 соединен с клеммой «а2» первой 1 первичной обмотки трансформатора ТР.1, третий вход индикатора обоснования частоты резонанса И.1-6 соединен с первым включателем реле Вк.1, первая первичная обмотка средней клеммой «а3» соединяется с заземленной клеммой «а4» при коммутации первым включателем Вк.1 клеммой «а5»; четвертый вход индикатора обоснования частоты резонанса И.1-6 соединен с клеммой «а6» второй 2 первичной обмотки трансформатора ТР.1, пятый вход индикатора обоснования частоты резонанса И.1-6 соединен с клеммой «а7» второй 2 первичной обмотки трансформатора ТР.1, шестой вход индикатора обоснования частоты резонанса И.1-6 соединен со вторым включателем реле Вк.2, вторая первичная обмотка средней клеммой «а8» соединяется с заземленной клеммой «а9» при коммутации вторым включателем Вк.2 клеммой «а10»; седьмой вход индикатора обоснования частоты резонанса И.1-6 соединен с клеммой «a11» третьей 3 первичной обмотки трансформатора ТР.1, восьмой вход индикатора обоснования частоты резонанса И.1-6 соединен с клеммой «а12» третьей 3 первичной обмотки трансформатора ТР.1, девятый вход индикатора обоснования частоты резонанса И.1-6 соединен с третьим включателем реле Вк.3, третья первичная обмотка средней клеммой «а13» соединяется с заземленной клеммой «а14» при коммутации третьим включателем Вк.3 клеммой «a15»; десятый вход индикатора обоснования частоты резонанса И.1-6 соединен с клеммой «а16» четвертой 4 первичной обмотки трансформатора ТР.1, одиннадцатый вход индикатора обоснования частоты резонанса И.1-6 соединен с клеммой «а17» четвертой 4 первичной обмотки трансформатора ТР.1, двенадцатый вход индикатора обоснования частоты резонанса И.1-6 соединен с четвертым включателем реле Вк.4, четвертая первичная обмотка средней клеммой «а18» соединяется с заземленной клеммой «а19» при коммутации четвертым включателем Вк.4 клеммой «а20»; тринадцатый вход индикатора обоснования частоты резонанса И.1-6 соединен с клеммой «а21» пятой 5 первичной обмотки трансформатора ТР.1, четырнадцатый вход индикатора обоснования частоты резонанса И.1-6 соединен с клеммой «а22» пятой 5 первичной обмотки трансформатора ТР.1, пятнадцатый вход индикатора обоснования частоты резонанса И.1-6 соединен с пятым включателем реле Вк.5, пятая первичная обмотка средней клеммой «а23» соединяется с заземленной клеммой «а24» при коммутации пятым включателем Вк.5 клеммой «а25»; вторичная обмотка трансформатора Тр.1 клеммой «д» заземлена, а клеммой «с» соединена с выходом 1.1 индикатора обоснования частоты резонанса И.1-6.
33. Устройство по п. 1, отличающееся тем, что блок исследования спектра излучения сигналов ядерного квадрупольного резонанса содержит анализатор спектра частот 12.1 и включатель десятиконтактный Вк.1 на десять положений включения и трансформатор Тр.1, при этом десять входов с первого 1 по десятый 10 блока исследования спектра излучения параллельно подсоединены к десяти клеммам «а» включателя Вк.1, а десять клемм «б» включателя Вк.1 параллельно подсоединены к входу анализатора спектра частот 12.1; кроме того, вход один-один 1.1 блока исследования спектра излучения сигналов ядерного квадрупольного резонанса соединен с клеммой «al» первой первичной обмотки трансформатора Тр.1, а клеммой «д1» первая первичная обмотка трансформатора Тр.1 заземлена; вход два-один 2.1 блока исследования спектра излучения сигналов ядерного квадрупольного резонанса соединен с клеммой «а2» второй первичной обмотки трансформатора Тр.1, а клеммой «д2» вторая первичная обмотка трансформатора Тр.1 заземлена; вход три-один 3.1 блока исследования спектра излучения сигналов ядерного квадрупольного резонанса соединен с клеммой «а3» третьей первичной обмотки трансформатора Тр.1, а клеммой «д3» третья первичная обмотка трансформатора Тр.1 заземлена; вход четыре-один 4.1 блока исследования спектра излучения сигналов ядерного квадрупольного резонанса соединен с клеммой «а4» четвертой первичной обмотки трансформатора Тр.1, а клеммой «д4» четвертая первичная обмотка трансформатора Тр.1 заземлена; вход пять-один 5.1 блока исследования спектра излучения сигналов ядерного квадрупольного резонанса соединен с клеммой «а5» пятой первичной обмотки трансформатора Тр.1, а клеммой «д5» пятая первичная обмотка трансформатора Тр.1 заземлена; вход шесть-один 6.1 блока исследования спектра излучения сигналов ядерного квадрупольного резонанса соединен с клеммой «а6» шестой первичной обмотки трансформатора Тр.1, а клеммой «д6» шестая первичная обмотка трансформатора Тр.1 заземлена; вход семь-один 7.1 блока исследования спектра излучения сигналов ядерного квадрупольного резонанса соединен с клеммой «а7» седьмой первичной обмотки трансформатора Тр.1, а клеммой «д7» седьмая первичная обмотка трансформатора Тр.1 заземлена; вход восемь-один 8.1 блока исследования спектра излучения сигналов ядерного квадрупольного резонанса соединен с клеммой «а8» восьмой первичной обмотки трансформатора Тр.1, а клеммой «д8» восьмая первичная обмотка трансформатора Тр.1 заземлена; вход девять-один 9.1 блока исследования спектра излучения сигналов ядерного квадрупольного резонанса соединен с клеммой «а9» девятой первичной обмотки трансформатора Тр.1, а клеммой «д9» девятая первичная обмотка трансформатора Тр.1 заземлена; вход десять-один 10.1 блока исследования спектра излучения сигналов ядерного квадрупольного резонанса соединен с клеммой «а10» десятой первичной обмотки трансформатора Тр.1, а клеммой «д10» десятая первичная обмотка трансформатора Тр.1 заземлена; вторичная обмотка трансформатора Тр.1 клеммой «к» заземлена, а клеммой «с» соединена с выходом блока исследования спектра излучения сигналов ядерного квадрупольного резонанса.
34. Устройство по п. 1, отличающееся тем, что аналитический блок слабых сигналов ЯКР содержит: трансформатор Тр.1 с десятью первичными обмотками и одной вторичной обмоткой, десять микропроцессоров с первого 13.1 по десятый 13.10, десять вентилей с первого Д.1 по десятый Д.10, десять высокоомных резисторов номиналом 100 кОм с первого R1 по десятый R10, первый вход содержит десять входов с первого по десятый для соединения с десятью выходами блока фильтров 10, второй вход содержит десять входов с одиннадцатого по двадцатый для соединения с десятью выходами блока контроля температуры окружающей среды, при этом первый вход аналитического блока слабых сигналов ЯКР соединен через клеммы «а» и «б» первого включателя Вк.1, через первый вентиль Д1, через первую клемму «c1» с первым входом первого микропроцессора 13.1, параллельно клемма «c1» через первый высокоомный резистор R1 заземлена, одиннадцатый вход аналитического блока слабых сигналов ЯКР соединен со вторым входом первого микропроцессора 13.1; выход первого микропроцессора 13.1 соединен с первой первичной обмоткой трансформатора Тр.1 через клемму «a1», а клемма «д1» первой первичной обмотки трансформатора Тр.1 заземлена; второй вход аналитического блока слабых сигналов ЯКР соединен через клеммы «а» и «б» второго включателя Вк.2, через второй вентиль Д2, через вторую клемму «С2» с первым входом второго микропроцессора 13.2, параллельно клемма «С2» через второй высокоомный резистор R2 заземлена, двенадцатый вход аналитического блока слабых сигналов ЯКР соединен со вторым входом второго микропроцессора 13.2; выход второго микропроцессора 13.2 соединен со второй первичной обмоткой трансформатора Тр.1 через клемму «а2», а клемма «д2» второй первичной обмотки трансформатора Тр.1 заземлена; третий вход аналитического блока слабых сигналов ЯКР соединен через клеммы «а» и «б» третьего включателя Вк.3, через третий вентиль Д3, через третью клемму «с3» с первым входом третьего микропроцессора 13.3, параллельно клемма «с3» через третий высокоомный резистор R.3 заземлена, тринадцатый вход аналитического блока слабых сигналов ЯКР соединен со вторым входом третьего микропроцессора 13.3; выход третьего микропроцессора 13.3 соединен с третьей первичной обмоткой трансформатора Тр.1 через клемму «а3», а клемма «д3» третьей первичной обмотки трансформатора Тр.1 заземлена; четвертый вход аналитического блока слабых сигналов ЯКР соединен через клеммы «а» и «б» четвертого включателя Вк.4, через четвертый вентиль Д4, через четвертую клемму «с4» с первым входом четвертого микропроцессора 13.4, параллельно клемма «с4» через четвертый высокоомный резистор R4 заземлена, четырнадцатый вход аналитического блока слабых сигналов ЯКР соединен со вторым входом четвертого микропроцессора 13.4; выход четвертого микропроцессора 13.4 соединен с четвертой первичной обмоткой трансформатора Тр.1 через клемму «а4», а клемма «д4» четвертой первичной обмотки трансформатора Тр.1 заземлена; пятый вход аналитического блока слабых сигналов ЯКР соединен через клеммы «а» и «б» пятого включателя Вк.5, через пятый вентиль Д5, через пятую клемму «с5» с первым входом пятого микропроцессора 13.5, параллельно клемма «с5» через пятый высокоомный резистор R5 заземлена, пятнадцатый вход аналитического блока слабых сигналов ЯКР соединен со вторым входом пятого микропроцессора 13.5; выход пятого микропроцессора 13.5 соединен с пятой первичной обмоткой трансформатора Тр.1 через клемму «а5», а клемма «д5» пятой первичной обмотки трансформатора Тр.1 заземлена; шестой вход аналитического блока слабых сигналов ЯКР соединен через клеммы «а» и «б» шестого включателя Вк.6, через шестой вентиль Д6, через шестую клемму «с6» с первым входом шестого микропроцессора 13.6, параллельно клемма «с6» через шестой высокоомный резистор R6 заземлена, шестнадцатый вход аналитического блока слабых сигналов ЯКР соединен со вторым входом шестого микропроцессора 13.6; выход шестого микропроцессора 13.6 соединен с шестой первичной обмоткой трансформатора Тр.1 через клемму «а6», а клемма «д6» шестой первичной обмотки трансформатора Тр.1 заземлена; седьмой вход аналитического блока слабых сигналов ЯКР соединен через клеммы «а» и «б» седьмого включателя Вк.7, через седьмой вентиль Д7, через седьмую клемму «с7» с первым входом седьмого микропроцессора 13.7, параллельно клемма «с7» через седьмой высокоомный резистор R7 заземлена, семнадцатый вход аналитического блока слабых сигналов ЯКР соединен со вторым входом седьмого микропроцессора 13.7; выход седьмого микропроцессора 13.7 соединен с седьмой первичной обмоткой трансформатора Тр.1 через клемму «а7», а клемма «д7» седьмой первичной обмотки трансформатора Тр.1 заземлена; восьмой вход аналитического блока слабых сигналов ЯКР соединен через клеммы «а» и «б» восьмого включателя Вк.8, через восьмой вентиль Д8, через восьмую клемму «с8» с первым входом восьмого микропроцессора 13.8, параллельно клемма «с8» через восьмой высокоомный резистор R8 заземлена, восемнадцатый вход аналитического блока слабых сигналов ЯКР соединен со вторым входом восьмого микропроцессора 13.8; выход восьмого микропроцессора 13.8 соединен с восьмой первичной обмоткой трансформатора Тр.1 через клемму «а8», а клемма «д8» восьмой первичной обмотки трансформатора Тр.1 заземлена; девятый вход аналитического блока слабых сигналов ЯКР соединен через клеммы «а» и «б» девятого включателя Вк.9, через девятый вентиль Д9, через девятую клемму «с9» с первым входом девятого микропроцессора 13.9, параллельно клемма «с9» через девятый высокоомный резистор R9 заземлена, девятнадцатый вход аналитического блока слабых сигналов ЯКР соединен со вторым входом девятого микропроцессора 13.9; выход девятого микропроцессора 13.9 соединен с девятой первичной обмоткой трансформатора Тр.1 через клемму «а9», а клемма «д9» девятой первичной обмотки трансформатора Тр.1 заземлена; десятый вход аналитического блока слабых сигналов ЯКР соединен через клеммы «а» и «б» десятого включателя Вк.10, через десятый вентиль Д10, через десятую клемму «с10» с первым входом десятого микропроцессора 13.10, параллельно клемма «с10» через десятый высокоомный резистор R10 заземлена, двадцатый вход аналитического блока слабых сигналов ЯКР соединен со вторым входом десятого микропроцессора 13.10; выход десятого микропроцессора 13.10 соединен с десятой первичной обмоткой трансформатора Тр.1 через клемму «а10», а клемма «д10» десятой первичной обмотки трансформатора Тр.1 заземлена; вторичная обмотка трансформатора Тр.1 клеммой «с» соединена с выходом аналитического блока слабых сигналов ЯКР, а клеммой «к» вторичная обмотка трансформатора Тр.1 заземлена.
35. Устройство по п. 1, отличающееся тем, что блок контроля температуры окружающей среды содержит преобразователь температура - электрический потенциал и десятиконтактный включатель Вк.14.2, при этом выход преобразователя температура - электрический потенциал соединен параллельно с клеммой «б» каждого включателя с первого включателя 1 по десятый включатель 10, в десятиконтактном включателе Вк.14.2, клемма «а» первого включателя соединена с одиннадцатым выходом блока контроля температуры окружающей среды, клемма «а» второго включателя соединена с двенадцатым выходом блока контроля температуры окружающей среды, клемма «а» третьего включателя соединена с тринадцатым выходом блока контроля температуры окружающей среды, клемма «а» четвертого включателя соединена с четырнадцатым выходом блока контроля температуры окружающей среды, клемма «а» пятого включателя соединена с пятнадцатым выходом блока контроля температуры окружающей среды, клемма «а» шестого включателя соединена с шестнадцатым выходом блока контроля температуры окружающей среды, клемма «а» седьмого включателя соединена с семнадцатым выходом блока контроля температуры окружающей среды, клемма «а» восьмого включателя соединена с восемнадцатым выходом блока контроля температуры окружающей среды, клемма «а» девятого включателя соединена с девятнадцатым выходом блока контроля температуры окружающей среды, клемма «а» десятого включателя соединена с двадцатым выходом блока контроля температуры окружающей среды.
| Устройство обнаружения сигналов ядерного квадрупольного резонанса | 2020 |
|
RU2757363C1 |
| Устройство обнаружения сигналов ядерного квадрупольного резонанса | 2018 |
|
RU2697023C1 |
| УСТРОЙСТВО ДЛЯ ОДНОВРЕМЕННОГО ОБНАРУЖЕНИЯ НЕСКОЛЬКИХ ВЗРЫВЧАТЫХ ВЕЩЕСТВ И НАРКОТИКОВ В БАГАЖЕ | 1996 |
|
RU2128832C1 |
| УСТРОЙСТВО ДЛЯ ОБНАРУЖЕНИЯ И РАСПОЗНАВАНИЯ ВЕЩЕСТВ МЕТОДОМ ЯДЕРНОГО КВАДРУПОЛЬНОГО РЕЗОНАНСА | 2010 |
|
RU2488100C2 |
| Сварочная установка | 1986 |
|
SU1416291A1 |
| US 5594338 A, 14.01.1997. | |||
Авторы
Даты
2025-05-14—Публикация
2024-10-25—Подача