Область техники
Изобретение относится к способам закрепления и соединения под различными углами металлопрофильных труб при возведении различных легких конструкций на болтах без применения сварки.
Уровень техники
Известны различные системы крепления элементов каркасных конструкций из металлопрофильных труб. Например, патенты РФ на полезные модели №155284 «Кронштейн забора», №226527 «Сборно-разборный каркас», №34567 «Соединительный блок каркаса мобильных сборно-разборных модульных сооружений», патент KR20100093188 «Сборная конструкция с использованием квадратного стального бруса», патент JP2005226677 «Шкаф», «Краб-система Крепче Т-образный (https://www.vseinstrumenti.ru/product/ krab-sistema-krepche-t-obraznyj-otsink-20x20-mm-20-sht-2947669-6293929/).
Недостатками этих устройств является прямоугольное соединение элементов конструкций с обязательным сверлением отверстий в закрепляемых элементах.
Известен «Кронштейн для лаг забора» (https://seera.ru/product/kronsht-eyn-dlya-lag/), который путем обжима без сверления отверстий в соединяемых элементах под прямым углом закрепляет металлопрофильные трубы.
Недостатком устройства является прямоугольное соединение элементов конструкции, что значительно сужает область применения устройства.
Известен патент РФ на изобретение №2747631 «Соединитель для профильных труб (варианты)». В устройство заложена возможность соединения металлопрофильных труб под углами от 0 до 90°.
Недостатком заявленного решение является обязательное сверление отверстий в соединяемых элементах конструкции.
Наиболее близким к заявляемому решению является конструкция соединения профильных труб «Краб-система Крепче XYZ-образный» (https://www.vseinstrumenti.ru/product/krab-sistema-krepche-xyz-obraznyj-otsink-20x20-mm-4-pary-2947713-6293785/). Краб-система позволяет быстро и качественно собрать конструкцию с применением болтовых соединений без сварки.
К недостатком конструкции можно отнести прямоугольное соединение закрепляемых элементов, что значительно сужает область применения устройства.
Раскрытие изобретения
Задачей, на решение которой направлено изобретение, является возможность соединения элементов возводимых конструкций под различными углами, а также повышение прочностных характеристик соединяемых элементов.
Технический результат, который может быть получен при осуществлении изобретения, заключается в расширение сферы применения коннекторов при возведении легких конструкций.
Поставленная задача решается, а технический результат достигается коннектором для соединения металлопрофильных труб под углом друг к другу, включающим два основных крепежных элемента, при этом он дополнительно содержит третий крепежный элемент, выполненный П-образной формы, снабженный полками с отверстиями, каждый основной крепежный элемент представляет собой плоскую пластину с отогнутыми по краям пластины зеркально друг к другу прямоугольными полками, перпендикулярными плоскости пластины, причем основные крепежные элементы расположены зеркально друг другу, а на нижних полках основных крепежных элементов выполнены отверстия, которые совмещены с отверстиями в полках крепежного элемента П-образной формы, и через которые указанные крепежные элементы соединены друг с другом посредством болтового соединения с возможностью обхвата соединяемых труб.
Заявленное решение представлено на чертежах:
- фиг. 1 - представлен вариант возводимой конструкции с различными способами применения коннектора,
- фиг. 2, 3, 4 - представлены детали коннектора,
- фиг. 5 - схема воздействия опоры на балку,
- фиг. 6 - представлена схема передачи нагрузок,
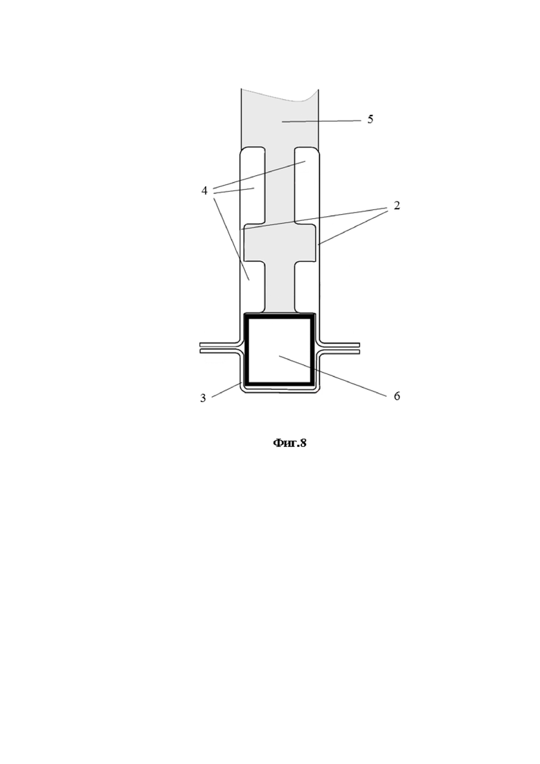
- фиг. 7, 8 - коннектор, закрепленный на балке и опоре; вид сбоку и вид в поперечной плоскости.
Коннектор (1) позволяет соединять такие элементы как балки, рамы и ребра жесткости, изготовляемые из металлопрофильных труб при возведении легких конструкций (фиг. 1) - навесы, гаражи, беседки, теплицы и подобных, на болтах без применения сварки. Коннекторы могут быть различны по размерам и форме в зависимости от сечений металлопрофильных труб, их размеров, количестве соединяемых элементов, величине углов соединений.
Большинство существующих на рынке соединений обеспечивают крепление только под 90°. С помощью предлагаемого коннектора опора может крепиться под различными углами сверху на балку, либо балка сверху на опору. При этом принцип крепления и устройство коннектора одинаковы для всех упомянутых вариантов.
Коннектор состоит из 3-х элементов. Два из них основные: зеркально изготовленные по отношению друг к другу два основных крепежных элемента (2) (фиг. 2, фиг. 3), и один вспомогательный П-образный элемент (3) (фиг. 4). На основных крепежных элементах (2) имеются полки (4) - это ребра жесткости для распределения нагрузки, возникающей в точке соединения металлопрофильных труб.
В предлагаемом способе деформационная нагрузка передается через точку соединения пятки опоры и балки, плоскость соприкосновения опоры и плоской стороны коннектора, а также через ребра жесткости коннектора (4) (фиг. 2, фиг. 3) на боковые поверхности опор, тем самым увеличивая количество точек контакта опоры с балкой через коннектор. Таким образом, нагрузка распределяется на большую площадь, увеличивается прочность всей конструкции.
Во время эксплуатации (фиг. 5) балка (6) имеет тенденцию к деформации, при которой левая и правая части балки стремятся вверх относительно центральной опоры (5). На фиг. 6 стрелками обозначены нагрузки с закрепленным коннектором. Левая и правая сторона балки (6) на фиг. 6 давят на ребра жесткости (4), которые, в свою очередь, передают давление на боковые стороны опоры (5) (фиг. 6).
За счет соединения основных крепежных элементов (2) с вспомогательным П-образным элементом (3) коннектор (1) обхватывает балку (6) и опору (5) (фиг. 7, фиг. 8) со всех сторон, образуя бандаж. Балка в месте соединения получает усиление, что позволяет ей выдерживать сверхнормативную нагрузку без прогиба и нарушения геометрии профильной трубы.
Такая конструкция предлагаемого коннектора позволяет удешевить его производство, оно достаточно технологично и не требует создания дорогостоящих штампов. Для изготовления коннекторов используется листовая сталь толщиной от 1 до 3 мм, достаточной для легких конструкций, Заготовка коннектора вырезается в виде плоской фигуры в листовой стали с помощью лазерного станка или станка гидроабразивной резки. Затем производится загиб частей заготовки на гибочном станке. Все это оборудование широко распространено и имеет универсальное назначение.
| название | год | авторы | номер документа |
|---|---|---|---|
| СТОЙКА ОПОРНАЯ | 2011 |
|
RU2471947C1 |
| Быстровозводимое блочно-модульное здание (варианты) | 2023 |
|
RU2811578C1 |
| КАРКАСНО-ПАНЕЛЬНОЕ ЗДАНИЕ | 2008 |
|
RU2380492C2 |
| УЗЕЛ МЕЖЭТАЖНОГО СОЕДИНЕНИЯ ЭЛЕМЕНТОВ ПРОСТРАНСТВЕННОГО КАРКАСА ЗДАНИЯ ИЗ ТРЕХ МОДУЛЕЙ | 2009 |
|
RU2400605C1 |
| СИСТЕМА СОЕДИНЕНИЯ ЭЛЕМЕНТОВ ПРОСТРАНСТВЕННОГО КАРКАСА ЗДАНИЯ | 2007 |
|
RU2327014C1 |
| Узел соединения элементов металлокаркаса быстровозводимых зданий | 2022 |
|
RU2799216C1 |
| БЫСТРОВОЗВОДИМОЕ КАРКАСНОЕ ЗДАНИЕ | 2019 |
|
RU2713847C1 |
| Стеновая панель и двухплоскостной клиновой стыковой механизм продольного соединения стеновых панелей | 2016 |
|
RU2665333C2 |
| УЗЕЛ СОЕДИНЕНИЯ МЕБЕЛЬНОГО КАРКАСА И КОННЕКТОР УЗЛА СОЕДИНЕНИЯ МЕБЕЛЬНОГО КАРКАСА | 2023 |
|
RU2805600C1 |
| СПОСОБ РЕМОНТА ОСНОВАНИЯ СТАЛЬНЫХ РЕЗЕРВУАРОВ И ВИБРОРЕЙКА ДЛЯ ЕГО ОСУЩЕСТВЛЕНИЯ | 2016 |
|
RU2626504C1 |
Изобретение относится к способам закрепления и соединения под различными углами металлопрофильных труб при возведении различных легких конструкций на болтах без применения сварки. Коннектор для соединения металлопрофильных труб под углом друг к другу включает два основных крепежных элемента. При этом он дополнительно содержит третий крепежный элемент, выполненный П-образной формы, снабженный полками с отверстиями, каждый основной крепежный элемент представляет собой плоскую пластину с отогнутыми по краям зеркально друг к другу прямоугольными полками, перпендикулярными плоскости пластины, причем основные крепежные элементы расположены зеркально друг другу, а на нижних полках основных крепежных элементов выполнены отверстия, которые совмещены с отверстиями в полках крепежного элемента П-образной формы, и через которые указанные крепежные элементы соединены друг с другом посредством болтового соединения с возможностью обхвата соединяемых труб. Технический результат – увеличение прочности конструкции. 8 ил.
Коннектор для соединения металлопрофильных труб под углом друг к другу, включающий два основных крепежных элемента, отличающийся тем, что дополнительно содержит третий крепежный элемент, выполненный П-образной формы, снабженный полками с отверстиями, каждый основной крепежный элемент представляет собой плоскую пластину с отогнутыми по краям пластины зеркально друг к другу прямоугольными полками, перпендикулярными плоскости пластины, причем основные крепежные элементы расположены зеркально друг другу, а на нижних полках основных крепежных элементов выполнены отверстия, которые совмещены с отверстиями в полках крепежного элемента П-образной формы, и через которые указанные крепежные элементы соединены друг с другом посредством болтового соединения с возможностью обхвата соединяемых труб.
| СОЕДИНИТЕЛЬ ДЛЯ ПРОФИЛЬНЫХ ТРУБ (ВАРИАНТЫ) | 2020 |
|
RU2747631C1 |
| СТАТИЧЕСКИЙ ПРЕОБРАЗОВАТЕЛЬ | 1966 |
|
SU215308A1 |
| ГАЗОВАЯ ХОЛОДИЛЬНАЯ МАШИНА | 0 |
|
SU220279A1 |
| KR 1020150098386 A, 28.08.2015 | |||
| CN 109892140 A, 18.06.2019 | |||
| KR 20020075114 A, 04.10.2002 | |||
| JP 8218671 A, 27.08.1996. | |||
Авторы
Даты
2025-05-15—Публикация
2024-08-08—Подача