1. Область техники, к которой относится изобретение
Изобретение относится к области устройств энергонезависимой сегнетоэлектрической памяти и может быть использовано в системах опроса ячеек в ней, которые способны выявлять и устранять ошибки чтения.
2. Уровень техники
Сегнетоэлектрическая память или FeRAM - один из перспективных типов энергонезависимой памяти, использующей явление сегнетоэлектричества, которое состоит в наличии электрически переключаемой ненулевой поляризации диэлектрика, при этом после снятия внешнего электрического поля эта поляризация (остаточная поляризация) сохраняется. Логическое состояние ячейки хранится в виде направления остаточной поляризации.
Существующие промышленные образцы FeRAM обладают значительным ресурсом перезаписи при низком энергопотреблении [1], однако одну из фундаментальных характеристик FeRAM - длительность хранения логического состояния и связанную с ней надежность хранения данных - ограничивает эффект деградации записанного логического состояния. Деградация вызвана фиксацией части доменов сегнетоэлектрического слоя элементов хранения в одном из направлений в результате длительного температурного воздействия, что приводит к ошибкам чтения и потере данных. Описанный эффект присущ как сегнетоэлектрикам, имеющим структуру перовскитов, например, цирконату-титанату свинца [2], так и сегнетоэлектрикам на базе диоксида гафния [3-6]. Деградация, как правило, обратима: первоначальный уровень поляризации восстанавливается путем подачи импульсов напряжения чередующейся полярности - электрическим циклированием.
Для минимизации указанного выше эффекта деградации записанного логического состояния разработан ряд схемотехнических и алгоритмических решений.
Одним из таких решений, представленных в группе патентов [7-10], может быть подстройка опорного напряжения, с помощью которого определяется логическое состояние ячейки путем его сравнения с уровнем отклика ячейки. Однако предлагаемые решения [7-10] не дают возможность выявлять ошибки чтения в случае, когда распределения величин откликов логического «0» и «1» пересекаются.
Имеется группа патентов [11-13], в которых описываются способы восстановления начальной поляризации сегнетоэлектрического слоя в элементе хранения и минимизации эффектов деградации логического состояния в нем. Однако в [11-13] не указываются четкие критерии или способы определения момента, когда необходимо запустить процедуру восстановления ячейки или группы ячеек FeRAM, что важно, поскольку эти процедуры могут быть достаточно длительными.
Для выявления ошибок чтения широко применяется код Хэмминга -самоконтролирующийся и самокорректирующийся код, построенный применительно к двоичной системе. Чтобы реализовать код Хэмминга в матрице, информационные ячейки разбиваются на блоки и каждый такой блок дополняется вспомогательным проверочным контрольным блоком ячеек. Код Хэмминга применим к любому типу памяти и позволяет выявить ошибки чтения и исправить часть из них.
Улучшенный код Хэмминга, описанный в патенте [14], являющийся аналогом предлагаемого способа регистрации логического состояния ячейки, имеет возможность двухбитной коррекции ошибок и их детектирования сразу в трех битах блока информационных ячеек. Однако даже в улучшенном виде код Хэмминга в [14] не способен корректировать более двух ошибок в одном блоке информационных ячеек микросхемы и, если ошибок в одном блоке более двух, часть данных теряется.
Решение в патенте [15], являющемся прототипом предлагаемого изобретения, описывает алгоритмы восстановления деградировавших ячеек FeRAM и способы проверки, достигнут ли повышенный (критический) уровень деградации, приводящий к ошибкам чтения, и после достижения которой необходимо запускать алгоритмы восстановления поляризации. Одно из решений [15] включает операции, в которых с элемента хранения детектируют сигнал (зарядовый или токовый отклик), генерируемый в результате подачи единичного импульса чтения, и определяют на его основе, достиг ли сегнетоэлектрический слой в элементе хранения уровень критической деградации, приводящий к ошибкам чтения, и требует ли он восстановления поляризации. Это же решение применимо для известной конструкции дифференциальной ячейки сегнетоэлектрической памяти, содержащей два элемента хранения с единичным сегнетоэлектрическим слоем в каждом из них, притом эти слои поляризованы в противоположных направлениях. Для регистрации логического состояния такой ячейки детектируют разностный сигнал элементов хранения, генерируемый в результате подачи на них одинаковых единичных импульсов чтения.
Критический уровень деградации в [15] предлагается определять, по меньшей мере, одним из следующих способов:
- таймер зафиксировал превышение порогового времени деградации;
- достигнуто пороговое количество циклов обращения к ячейке;
- зафиксирована неудача при тестовом обращении к ячейке импульсами пониженной амплитуды напряжения;
- зафиксирована неудача при обращении к ячейке, вызванная уменьшением окна памяти;
- код коррекции ошибок зафиксировал наличие поврежденного логического состояния.
Количественные значения критического уровня деградации предлагается определять на базе взаимосвязи переполяризационного заряда ячейки FeRAM, емкости подключенной к ней шины и регистрирующего элемента или на базе взаимосвязи количества циклов, необходимых для достижения критического уровня деградации. Код коррекции ошибок и принципы его работы в [15] не описываются.
Однако прототип [15] обладает значительными недостатками.
Во-первых, при оценке критического уровня деградации не учитывается фактор рабочей температуры, при которой эксплуатируется микросхема: чем выше температура, тем быстрее достигается критический уровень деградации, приводящий к ошибкам чтения. Если микросхема подвергнется воздействию температуры, превышающей рекомендуемую температуру эксплуатации, использованную для расчета порогового времени деградации и порогового числа циклов обращения, то критический уровень деградации в ячейке может быть достигнут в более ранний момент времени или на более раннем цикле обращения.
Во-вторых, предлагаемые в [15] способы определения критического уровня деградации не позволяют выявлять ошибки чтения и направлены только на их предотвращение.
Таким образом, ни в аналоге, ни в прототипе в полной мере не решена техническая проблема организации способа регистрации логического состояния ячеек сегнетоэлектрической памяти, который позволяет выявлять ячейки с критической степенью деградации, приводящей к ошибкам чтения, детектировать и корректировать в них ошибки чтения логического состояния. Реализация подобного способа повысила бы надежность хранения и чтения данных в микросхеме FeRAM.
Техническим результатом настоящего изобретения является способ регистрации логического состояния дифференциальных ячеек сегнетоэлектрической памяти, который позволяет выявлять ячейки с критической степенью деградации, детектировать и корректировать ошибки чтения логического состояния, а также устройство для реализации предлагаемого способа, которое повысит надежность хранения и чтения данных в микросхеме FeRAM. 3. Раскрытие сущности изобретения ЗАДАЧА И СУТЬ ИЗОБРЕТЕНИЯ
Задача настоящего изобретения состоит в разработке способа регистрации логического состояния дифференциальных ячеек сегнетоэлектрической памяти, который позволяет выявлять ячейки с критической степенью деградации, детектировать и корректировать ошибки чтения логического состояния в микросхемах FeRAM. Такой способ позволит повысить надежность хранения и чтения данных в микросхемах FeRAM.
Поставленная задача может быть решена для известной дифференциальной ячейки сегнетоэлектрической памяти 100, показанной на фиг. 1 (на фиг. 1 дифференциальная ячейка сегнетоэлектрической памяти ограничена внешним прямоугольником из штриховых линий), которая содержит пару элементов хранения 110 (на фиг. 1 ограничены внутренним прямоугольником из штриховых линий), которые включают в себя поляризованные сегнетоэлектрические слои. Чтобы записать в 100 логическое состояние, сегнетоэлектрические слои в элементах хранения 110 поляризуют в противоположных направлениях, подавая необходимые управляющие импульсы записи по передающей шине PL (plate line), битовым шинам BL и BL (bit lines) и шинам, управляющим затворами транзисторов доступа WL и WL (word lines). Для регистрации логического состояния 100 (т.е в режиме чтения) на оба элемента хранения 110 дифференциальной ячейки сегнетоэлектрической памяти 100 одновременно подают одинаковые импульсы чтения и регистрируют разностный сигнал информационного элемента хранения 111 и опорного элемента хранения 112, который формируется дифференциальным усилителем 100а.
Для дифференциальной ячейки сегнетоэлектрической памяти 100 и описанных выше способов записи и регистрации логического состояния возможно реализовать алгоритм, который позволяет определить, достигли ли сегнетоэлектрические слои в 110 критический уровень деградации, приводящей к ошибкам чтения, произошла ли ошибка чтения.
Суть алгоритма состоит в том, что в разностном сигнале (зарядовом отклике, как интеграле токового отклика по времени, который определяют по осциллограмме) информационного и опорного элементов хранения 111 и 112, генерируемом дифференциальным усилителем 100а, выделяют два вклада: информационный вклад, формируемый в первой половине импульса чтения, полностью включающей передний фронт; и контрольный вклад, формируемый во второй половине импульса чтения, полностью включающей задний фронт. Для каждого из вкладов определяют его полярность и абсолютную величину. По полярности информационного вклада определяют логическое состояние ячейки 100. Далее сравнивают полярности и абсолютные величины информационного и контрольного вкладов и регистрируют ошибку чтения и критический уровень деградации в случае, если информационный и контрольный вклады имеют противоположные полярности и абсолютная величина информационного вклада меньше, чем абсолютная величина контрольного вклада.
В случае, если зарегистрированы ошибка чтения и критический уровень деградации, то логическое состояние дифференциальной ячейки сегнетоэлектрической памяти, определенное по полярности информационного вклада, инвертируют, т.е., вместо логической единицы на выходе выдают логический нуль и наоборот.
ФИЗИЧЕСКИЕ ЯВЛЕНИЯ, ЛЕЖАЩИЕ В ОСНОВЕ ИЗОБРЕТЕНИЯ
Описанный выше способ выявления критической степени деградации и ошибки чтения логического состояния возможен ввиду двух свойств сегнетоэлектриков.
Первое из них - это доменная структура сегнетоэлектриков, обусловленная неоднородностью границ раздела с электродами и микроскопическими дефектами. Каждый домен характеризуется индивидуальным минимальным электрическим полем, необходимым для инверсии поляризации в нем, которое по аналогии с ферромагнетиками, называется коэрцитивным полем. Например, разброс коэрцитивных полей в пленке сегнетоэлектрического Hf0.5Zr0.5O2 толщины 10 нм таков, что ширина пиков вольтамперных характеристик на полувысоте находится в диапазоне от 1 до 1,2В.
Второе свойство - это эффект обратного переключения, именуемого в англоязычной литературе back-switching. Эффект обратного переключения состоит в том, что при выключении напряжения, приводящего к инверсии поляризации сегнетоэлектрического слоя, некоторое количество доменов возвращается в состояние, предшествующее подаче напряжения, и тем самым они формируют на заднем фронте отклик обратного переключения. Эффект обратного переключения связан с возникновением поля импринта (imprint) в сегнетоэлектрическом слое при термическом воздействии на него. На преодоление поля импринта уходит часть подаваемого напряжения, если направление поля импринта противоположно полярности подаваемого напряжения. Это приводит к снижению эффективного напряжения, используемого для инверсии поляризации доменов.
Если поле импринта настолько большое, что эффективное напряжение меньше коэрцитивного поля одного или нескольких доменов, то при подаче напряжения на них полная инверсия поляризации этих доменов не произойдет и при выключении напряжения поляризация в них вернется в изначальное состояние, что сформирует электрический отклик обратного переключения на заднем фронте импульса напряжения.
Напряжением положительной полярности будем считать напряжение, при котором подаваемый на верхний электрод элемента хранения FeRAM потенциал больше потенциала, подаваемого на нижний электрод. В случае напряжения отрицательной полярности соотношение потенциалов обратное: потенциал на верхнем электроде меньше потенциала на нижнем электроде элемента хранения FeRAM. Верхние электроды информационного элемента хранения 111 и опорного элемента хранения 112 на фиг. 1 подключены к передающей шине PL (plate line), а нижние электроды - к каналам соответствующих транзисторов доступа.
В сегнетоэлектриках имеет место асимметрия проявления эффектов обратного переключения и импринта в зависимости от полярности напряжения импульса чтения. Это связано с более высокой концентрацией дефектов на границе сегнетоэлектрического слоя с верхним электродом по сравнению с границей сегнетоэлектрического слоя с нижним электродом.
Как было описано ранее, в дифференциальной ячейке сегнетоэлектрической памяти 100 для записи логического состояния сегнетоэлектрические слои информационного элемента хранения 111 и опорного элемента хранения 112 поляризуют в противоположных направлениях. При регистрации логического состояния на оба элемента хранения 110 дифференциальной ячейки сегнетоэлектрической памяти 100 одновременно подают одинаковые импульсы чтения и детектируют разностный сигнал информационного элемента хранения 111 и опорного элемента хранения 112, который формируется дифференциальным усилителем 100а. В отсутствие деградации на одном из элементов хранения сформируется чисто емкостной отклик, а на втором - сумма емкостного отклика и переполяризационного отклика, вызванного инверсией поляризации доменов, поэтому итоговый разностный сигнал будет содержать только переполяризацинный отклик. Для дифференциальной ячейки сегнетоэлектрической памяти 100 с описанными выше способами записи и регистрации логического состояния возможно выявить ошибку чтения после нагрева (температурного воздействия).
Чтобы наглядно показать, как выявить ошибку чтения, необходимо проанализировать, как поле импринта и эффект обратного переключения проявляются в дифференциальной ячейке сегнетоэлектрической памяти 100 и как полярность импульса чтения, подаваемого на элементы хранения 110 дифференциальной ячейки сегнетоэлектрической памяти 100, влияет на отклики. Для этого проведены два эксперимента, в каждом из которых использовались несколько пар элементов хранения одинаковой площади, каждый из которых содержал слой поляризованного сегнетоэлектрического Hf0.5Zr0.5O2 толщины 10 нм. Один элемент хранения в паре назначался информационным элементом хранения 111, а другой - опорным элементом хранения 112. Таким образом, одна пара бестранзисторных элементов хранения соответствовала одной паре элементов хранения 110 в дифференциальной ячейке сегнетоэлектрической памяти 100. В первом эксперименте использовались импульсы чтения отрицательной полярности, во втором эксперименте - импульсы чтения положительной полярности. 4. Краткое описание чертежей
Фиг. 1. Устройство дифферециальной ячейки сегнетоэлектрической памяти 2Т2С-типа.
Фиг. 2. Токовые отклики (осциллограммы) элемента хранения, назначенного информационном элементом хранения 111, в случае использования импульсов чтения отрицательной полярности (1-й и 3-й импульсы в последовательности) до и после нагрева при температуре 165°С в течение 30 минут.
Фиг. 3. Вольтамперные характеристики элемента хранения, назначенного информационном элементом хранения 111, в случае использования импульсов чтения отрицательной полярности (1-й и 3-й импульсы в последовательности) до и после нагрева при температуре 165°С в течение 30 минут.
Фиг. 4. Токовые отклики элемента хранения, назначенного опорным элементом хранения 112, в случае использования импульсов чтения отрицательной полярности (1-й и 3-й импульсы в последовательности) до и после нагрева при температуре 165°С в течение 30 минут.
Фиг.5. Вольтамперные характеристики элемента хранения, назначенного опорным элементом хранения 112, в случае использования импульсов чтения отрицательной полярности (1-й и 3-й импульсы в последовательности) до и после нагрева при температуре 165°С в течение 30 минут.
Фиг.6. Разностный сигнал (токовых откликов), аналогичный разностному сигналу дифференциальной ячейки сегнетоэлектрической памяти 100, полученный как разница сигнала элемента хранения, назначенного информационном элементом хранения 111, и элемента хранения, назначенного информационном элементом хранения 112, в случае использования импульсов чтения отрицательной полярности до и после нагрева при температуре 165°С в течение 30 минут.
Фиг. 7. Токовые отклики элемента хранения, назначенного информационном элементом хранения 111, в случае импульсов чтения положительной полярности (1-й и 3-й импульсы в последовательности) до и после нагрева при температуре 165°С в течение 30 минут.
Фиг. 8. Вольтамперные характеристики элемента хранения, назначенного информационном элементом хранения 111, в случае использования импульсов чтения положительной полярности (1-й и 3-й импульсы в последовательности) до и после нагрева при температуре 165°С в течение 30 минут.
Фиг.9. Токовые отклики осциллограммы элемента хранения, назначенного опорным элементом хранения 112, в случае использования импульсов чтения положительной полярности (1-й и 3-й импульсы в последовательности) до и после нагрева при температуре 165°С в течение 30 минут.
Фиг.10. Вольтамперные характеристики элемента хранения, назначенного опорным элементом хранения 112, в случае использования импульсов чтения положительной полярности (1-й и 3-й импульсы в последовательности) до и после нагрева при температуре 165°С в течение 30 минут.
Фиг.11. Разностный сигнал (токовых откликов), аналогичный разностному сигналу дифференциальной ячейки сегнетоэлектрической памяти 100, полученный как разница сигнала элемента хранения, назначенного информационном элементом хранения 111, и элемента хранения, назначенного информационном элементом хранения 112, в случае использования импульсов чтения положительной полярности до и после нагрева при температуре 165°С в течение 30 минут.
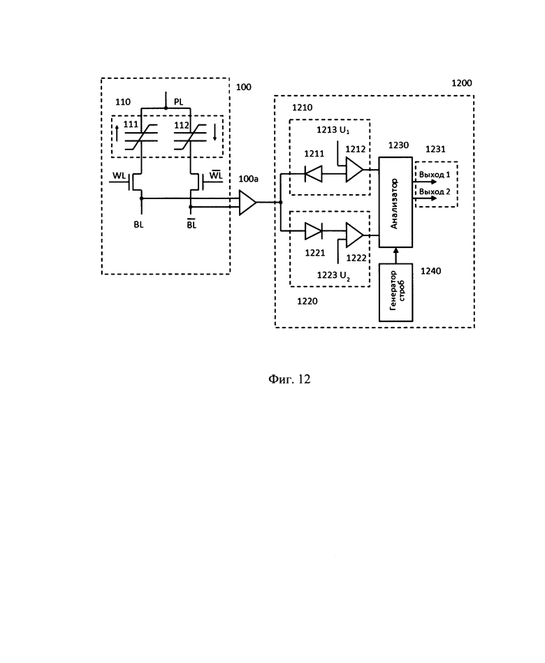
Фиг. 12. Вариант устройства блока регистрации логического состояния дифференциальной ячейки сегнетоэлектрической памяти 100 с использованием абсолютной величины и полярности откликов на переднем и заднем фронтах, позволяющий выявить ячейку с критической степенью деградации, ошибку чтения, и коммутации блока с дифференциальной ячейкой сегнетоэлектрической памяти 100.
ОПИСАНИЕ ЭКСПЕРИМЕНТОВ
В обоих экспериментах с каждым элементом хранения последовательно проводились 3 операции: подача последовательности из 4 импульсов напряжения, нагрев при температуре 165°С в течение 30 минут, повторная подача последовательности из 4 импульсов напряжения.
В последовательности из 4 импульсов 1-й и 3-й импульсы напряжения соответствовали импульсам чтения требуемой полярности (в первом эксперименте - отрицательной полярности, во втором - положительной полярности), 4-й импульс соответствовал импульсу записи начального логического состояния и 2-й импульс соответствовал импульсу записи логического состояния, инверсного начальному.
Для получения токового отклика, соответствующему разностному сигналу дифференциальной ячейки сегнетоэлектрической памяти 100 из токового отклика элемента хранения, назначенного информационным 111, вычитался соответствующий токовый отклик элемента хранения, назначенного опорным элементом хранения 112. Вычитание схемотехнически эквивалентно использованию дифференциального усилителя 100а с коэффициентом усиления, равным единице. Токовые отклики, соответствующие разностному сигналу дифференциальной ячейки сегнетоэлектрической памяти 100, рассчитывались до и после нагрева при температуре 165°С в течение 30 минут.
ЭКСПЕРИМЕНТ С ИСПОЛЬЗОВАНИЕМ ИМПУЛЬСА ЧТЕНИЯ ОТРИЦАТЕЛЬНОЙ ПОЛЯРНОСТИ
В первом эксперименте для регистрации логического состояния использовались импульсы чтения отрицательной полярности, т.е. 1-й и 3-й импульсы напряжения в последовательности имели отрицательную полярность.
На фиг. 2-6 показаны результаты первого эксперимента для одной из пар элементов хранения 110: на фиг. 2 - отклики 210 и 220 до и после нагрева элемента хранения, назначенного информационным элементом хранения 111, на фиг. 3 - вольтамперные характеристики (ВАХ), полученные из откликов 210 и 220 на фиг. 2, на фиг. 4 - отклики 410 и 420 до и после нагрева элемента хранения, назначенного опорным элементом хранения 112, на фиг. 5 - ВАХ, полученные из откликов 410 и 420 на фиг. 4, на фиг. 6 - разностный сигнал до и после нагрева элементов хранения, назначенных информационным элементом хранения 111 и опорным элементом хранения 112.
ВАХ на фиг. 3 получена из осциллограммы на фиг. 2. Поскольку последовательность импульсов напряжения на фиг. 2 имеет 3 импульса отрицательной полярности и 1 импульс положительной полярности, то соответствующая ВАХ будет иметь три линии в области отрицательных напряжений и одну - в области положительных напряжений.
С остальными ВАХ все аналогично: каждый из ВАХ получен на базе осциллограмм предыдущей фигуры.
На фиг. 6 отклик 610 получен путем вычитания отклика 410 из отклика 210, а отклик 620 - путем вычитания отклика 420 из отклика 220 соответственно. Осциллограммы токовых откликов всех остальных пар элементов хранения, соответствующие им вольтамперные характеристики и разностные сигналы повторяли форму осциллограмм на фиг. 2 - фиг. 6 в этом эксперименте.
АНАЛИЗ ЭЛЕМЕНТА ХРАНЕНИЯ, НАЗНАЧЕННОГО ИНФОРМАЦИОННЫМ ЭЛЕМЕНТОМ ХРАНЕНИЯ 111 ПРИ ИСПОЛЬЗОВАНИИ ИМПУЛЬСА ЧТЕНИЯ ОТРИЦАТЕЛЬНОЙ ПОЛЯРНОСТИ
На фиг. 2 показан 210 - токовый отклик элемента хранения, назначенного информационным элементом хранения 111, до нагрева и 220 - отклик того же элемента хранения после нагрева при температуре 165°С в течение 30 минут. Отклик на импульсе чтения начального состояния 230 (выделен внешним прямоугольным пунктиром на 1-м импульсе последовательности фиг. 2) имеет две компоненты: информационный вклад 230а, (выделен внутри 230 пунктирным прямоугольником слева, сверху) генерируемый в первой половине импульса, включающей передний фронт, и контрольный вклад 230б, (выделен внутри 230 пунктирным прямоугольником внизу, справа), генерируемый во второй половине импульса, включающей задний фронт.
Для информационного и контрольного вклада введем понятие «полярность» и «абсолютная величина» следующим образом: под полярностью вклада далее будем понимать знак перетекшего заряда, а под абсолютной величиной вклада - модуль (величину) перетекшего заряда.
О вкладах 230а и 230б верны следующие утверждения.
1) Полярности вкладов 230а и 230б будут всегда противоположными.
2) Абсолютная величина вклада 230а будет всегда больше абсолютной величины вклада 230б.
3) Вклад 230а состоит из трех компонент: отклика доменов полной инверсии (т.е. тех доменов, в которых поляризация, инвертированная на переднем фронте импульса чтения, сохранилась после выключения импульса чтения); отклика сегнетоэлектрического слоя как диэлектрика (емкостного отклика) и отклика доменов обратного переключения (back-switching), которые на заднем фронте вернулись в исходные состояния.
4) Вклад 230б всегда содержит только 2 компоненты: отклик сегнетоэлектрического слоя как диэлектрика (емкостной отклик) и отклик доменов обратного переключения (back-switching).
5) Отклики сегнетоэлектрического слоя как диэлектрика (емкостной отклик) в 230а и в 230б имеют одну и ту же абсолютную величину, но противоположную полярность.
6) Отклики обратного переключения (back-switching) в 230а и в 230б имеют одну и ту же абсолютную величину, но противоположную полярность.
В случае нулевого уровня деградации отклик доменов обратного переключения (back-switching) считается нулевым.
Отклик на импульсе чтения инверсного состояния (выделен внешним прямоугольным пунктиром на 3-м импульсе последовательности фиг. 2) 240 также имеет две компоненты: информационный вклад 240а и контрольный вклад 2406. 240а выделен внутри 240 пунктирным прямоугольником слева, сверху, а 240б - пунктирным прямоугольником справа, снизу.
О вкладах 240а и 240б верны следующие утверждения.
1) Они оба состоят из суммы емкостного отклика и отклика доменов обратного переключения.
2) 240а и 240б одинаковы по абсолютной величине отклика и противоположны по полярности.
Отличие в форме и в пиковом токе в 240а и 240б обусловлено тем, что информационный вклад 240а возникает под действием эффективного напряжения, равным разнице поданного напряжения импульса чтения и поля импринта, а контрольный вклад 240б формируется, как правило, меньшим по абсолютной величине полем импринта. Чем меньше напряжение, формирующее вклад, тем ниже пиковый ток и шире токовый отклик и наоборот, чем больше напряжение, тем более узок токовый отклик и выше пиковый ток.
Как видно на фиг. 2, после нагрева в отклике 220 проявляется импринт и эффект обратного переключения: имеется запаздывание 221 пикового тока на переднем фронте импульса чтения начального состояния (1-й импульс последовательности фиг. 2) и отклики обратного переключения 222.
На фиг. 3 показаны вольтамперные характеристики, полученные из фиг. 2:310 - вольтамперная характеристика элемента хранения, назначенного информационным элементом хранения 111, до нагрева и 320 - вольтамперная характеристика того же элемента хранения после его нагрева при температуре 165°С в течение 30 минут.310 получена из 210, 320 - из 220 соответственно.
Как видно на фиг. 3, после нагрева пики вольтамперных характеристик элемента хранения, назначенного информационным элементом хранения 111, сместились в сторону меньших напряжений, т.е. поле импринта имеет положительную полярность и соответствует полярности 4-го импульса -импульса записи начального состояния.
АНАЛИЗ ЭЛЕМЕНТА ХРАНЕНИЯ, НАЗНАЧЕННОГО ОПОРНЫМ ЭЛЕМЕНТОМ ХРАНЕНИЯ 112 ПРИ ИСПОЛЬЗОВАНИИ ИМПУЛЬСА ЧТЕНИЯ ОТРИЦАТЕЛЬНОЙ ПОЛЯРНОСТИ
На фиг. 4 показан 410 - отклик элемента хранения, назначенного опорным элементом хранения 112, до нагрева и 420 - отклик того же элемента хранения после нагрева при температуре 165°С в течение 30 минут.
Отклик на импульсе чтения начального состояния 430 (выделен внешним прямоугольным пунктиром на 1-м импульсе последовательности фиг. 4) имеет две компоненты: информационный вклад 430а, генерируемый в первой половине импульса, включающей передний фронт, и контрольный вклад 430б, генерируемый во второй половине импульса, включающей задний фронт.430а выделен внутри 430 пунктирным прямоугольником слева, сверху, а 4306 - пунктирным прямоугольником справа, снизу.
Информационный 430а и контрольный 430б вклады при чтении записанного состояния (на 1-м импульсе последовательности фиг. 4) независимо от степени деградации всегда имеют одинаковые абсолютные величины и противоположные полярности: и 430а, и 430б есть суть отклики сегнетоэлектрического слоя как диэлектрика (зарядовые отклики - в этом случае емкостные).
Чисто емкостные отклики в 430 связаны с тем, что полярность напряжения записи начального состояния (4-й импульс на фиг. 4) совпадает с полярностью импульса чтения начального состояния (1-й импульс на фиг. 4), а эффект обратного переключения может возникнуть только тогда, когда полярности импульса записи и чтения противоположны.
Отклик на импульсе чтения инверсного состояния 440 (на 3-м импульсе последовательности) также состоит из 2 компонент: информационного вклада 440а, генерируемого в первой половине импульса, включающей передний фронт, и контрольного вклада 440б, генерируемого во второй половине импульса, включающей задний фронт. Информационный вклад 440а по абсолютной величине всегда больше контрольного вклада 440б, потому что 4406 состоит только из отклика сегнетоэлектрического слоя как диэлектрика (емкостного отклика), а 440а есть сумма емкостного отклика и отклика доменов полной инверсии.
Как видно на фиг. 4, после нагрева на отклике элемента хранения, назначенного опорным элементом хранения 112, слабо проявляются поле импринта и эффект обратного переключения: имеется лишь небольшое уменьшение пикового тока и его запаздывание 421 на переднем фронте импульса чтения начального состояния. 510 на фиг. 5 получен из 410 на фиг. 4, а 520 - из 420 фиг. 4 соответственно.
На фиг. 5 показаны вольтамперные характеристики, полученные из фиг. 4: 510 - вольтамперная характеристика элемента хранения, назначенного опорным элементом хранения 112, до нагрева и 520 - вольтамперная характеристика того же элемента хранения после его нагрева при температуре 165°С в течение 30 минут.
Как видно на фиг. 5, после нагрева пики вольтамперных характеристик элемента хранения, назначенного опорным элементом хранения 112, сместились в сторону больших напряжений (на фиг. 5 направление смещения показано стрелками вправо), т.е. поле импринта имеет отрицательную полярность и соответствует полярности 4-го импульса - импульса записи начального состояния. Однако смещение вольтамперных характеристик на фиг. 5 элемента хранения, назначенного опорным элементом хранения 112, значительно меньше, чем смещение вольтамперных характеристик на фиг. 3 элемента хранения, назначенного информационным элементом хранения 111.
Фиг. 5 подтверждает наличие в элементе хранения, назначенного опорным элементом хранения 112, поля импринта после нагрева, однако абсолютное значение этого поля меньше, чем абсолютное значение поля импринта, возникшее в элементе хранения, назначенного информационным элементом хранения 111, и поля импринта имеют противоположную полярность (см. фиг. 3).
Такое различие в абсолютном значении полей импринта после идентичного воздействия между элементом хранения, назначенным информационным элементом хранения 111, и элементом хранения, назначенным опорным элементом хранения 112, подтверждает упомянутую ранее асимметрию проявления эффектов обратного переключения и поля импринта, связанную с более высокой концентрацией дефектов -кислородных вакансий - на границе сегнетоэлектрического слоя с верхним электродом по сравнению с границей сегнетоэлектрического слоя с нижним электродом. Положительные заряды, связанные с кислородными вакансиями, возникают вследствие ухода из ловушек, образованных вакансиями, электронов, который вызван электростатическим отталкиванием этих электронов и отрицательно заряженных центров доменов. Эти положительные заряды являются источником поля импринта и причиной эффекта обратного переключения.
АНАЛИЗ РАЗНОСТНОГО СИГНАЛА ПРИ ИСПОЛЬЗОВАНИИ ИМПУЛЬСА ЧТЕНИЯ ОТРИЦАТЕЛЬНОЙ ПОЛЯРНОСТИ
На фиг. 6 показан разностный сигнал элемента хранения, назначенного информационным элементом хранения 111, и элемента хранения, назначенного опорным элементом хранения 112. Разностный сигнал 610 - это сигнал до нагрева, разностный сигнал 620 - сигнал после нагрева при температуре 165°С в течение 30 минут.
Отклик до нагрева 610 получается путем вычитания из отклика 210 на фиг. 2 отклика 410 на фиг. 4. Аналогично отклик после нагрева 620 получается путем вычитания из отклика 220 на фиг. 2 отклика 420 на фиг. 4.
Отклик 630, выделенный внешним прямоугольным пунктиром слева на фиг. 6, соответствует отклику пары элементов хранения 110 дифференциальной ячейки сегнетоэлектрической памяти 100 на импульсе чтения отрицательной полярности при регистрации начального логического состояния на 1-м импульсе последовательности фиг. 2 и фиг. 4. Аналогично с 630 отклик 640, выделенный внешним прямоугольным пунктиром справа на фиг. 6, соответствует отклику при регистрации инверсного логического состояния в 100 на 3-м импульсе последовательности фиг. 2 и фиг. 4. Так же, как и на фиг. 2, проявляется запаздывание 621 пикового тока на переднем фронте импульса чтения начального состояния и отклики обратного переключения 622.
Отклик 630 состоит из двух компонент: информационного вклада 630а, формируемого в первой половине импульса чтения начального состояния, полностью включающей передний фронт; и контрольного вклада 630б, формируемого во второй половине импульса чтения начального состояния, включающей задний фронт.
Вклад 630а равен вкладу 230а за вычетом 430а, вклад 630б равен вкладу 230б за вычетом 430б соответственно. Как следствие, полярности вкладов 630а и 630б всегда противоположны, а абсолютная величина 630а всегда больше абсолютной величины 630б по двум причинам:
1) Полярности вкладов 230а и 230б всегда противоположны, а абсолютная величина 230а всегда больше абсолютной величины 230б;
2) Даже в случае высокой степени деградации вклады 430а и 430б будут одинаковыми по абсолютной величине.
Таким образом, независимо от степени деградации для 630 выполняются следующие условия.
1) Информационный вклад 630а сохраняет полярность.
2) Полярность 630а и 630б6 противоположна.
3) Абсолютная величина вклада 630а всегда больше абсолютной величины вклада 630б.
Как следствие условий 1)-3), выполняемых для 630, при регистрации начального логического состояния 100 однозначно и без ошибок чтения можно определить по полярности информационного вклада 630а.
Как и 630, отклик 640 при регистрации инверсного логического состояния состоит из двух компонент: информационного вклада 640а, формируемого в первой половине импульса чтения инверсного состояния, полностью включающей передний фронт; и контрольного вклада 640б, формируемого во второй половине импульса чтения инверсного состояния, включающей задний фронт.
Вклад 640а равен вкладу 240а за вычетом 440а, вклад 640б равен вкладу 2406 за вычетом 440б соответственно.
В случае, показанном на фиг. 6, полярности 640а и 640б совпадают и полярность 640а корректно указывает на инверсное логическое состояние, потому что его полярность противоположна полярности 630а.
Однако в случае, если после нагрева абсолютная величина вклада 240а станет больше, чем абсолютная величина вклада 440а, то это приведет к ошибке чтения, при которой выполняются следующие соотношения.
1) Полярности вкладов 640а и 640б станут противоположными.
2) Абсолютная величина информационного вклада 640а станет меньше абсолютной величины контрольного вклада 640б, поскольку, как было показано на фиг. 4, абсолютные величины вкладов 240а и 240б одинаковы, и, как было показано на фиг. 6, абсолютная величина 440а всегда больше абсолютной величины 440б. Важно подчеркнуть, ошибка чтения при регистрации инверсного логического состояния в 100 может возникнуть только при одновременном выполнении условий 1) и 2) ввиду соотношений между вкладами 240а, 240б, 440а и 440б.
Резюмируя данные фиг. 2-6, можно сделать вывод, что они, во-первых, подтверждают проявление эффекта импринта и эффекта обратного переключения в дифференциальной ячейке сегнетоэлектрической памяти 100 в случае использования отрицательной полярности напряжения чтения. Во-вторых, ошибка чтения может возникнуть только при регистрации разностного сигнала инверсного состояния 640 и только тогда, когда полярности информационного и контрольного вклада различны и абсолютная величина информационного вклада меньше абсолютной величины контрольного вклада. В-третьих, используя одновременно абсолютную величину и полярность откликов информационного и контрольного вкладов, можно определить наличие ошибки чтения и выявить ячейки с критической степенью деградации, если использовать импульсы чтения отрицательной полярности. Сделанные выводы останутся корректными и в том случае, если элемент хранения, назначенный информационным элементом хранения 111, назначить опорным элементом хранения 112 и наоборот, поскольку это приведет к инверсии полярности вкладов на фиг. 6, но при этом сохранятся их абсолютные величины.
ЭКСПЕРИМЕНТ С ИСПОЛЬЗОВАНИЕМ ИМПУЛЬСА ЧТЕНИЯ ПОЛОЖИТЕЛЬНОЙ ПОЛЯРНОСТИ
На фиг. 7-11 показаны результаты аналогичного эксперимента, в котором для регистрации логического состояния использовались импульсы чтения положительной полярности, т.е. 1-й и 3-й импульсы напряжения в последовательности из 4 импульсов имели положительную полярность.
Обозначения на фиг. 7-11 повторяют обозначения на фиг. 2-6.
Выделив составные части (вклад доменов полной инверсии, доменов обратного переключения и емкостного отклика), входящие в состав информационных вкладов 730а, 740а, 930а, 940а, 1130а и 1140а и соответствующих контрольных вкладов 730б, 740б, 930б, 9406, 1130б и 1140б, проанализировав их, можно прийти следующим выводам.
1) В дифференциальной ячейке сегнетоэлектрической памяти 100 после нагрева проявляются эффекты импринта и эффекта обратного переключения.
2) Ошибка чтения может возникнуть только при регистрации разностного сигнала инверсного состояния 1140 и только тогда, когда полярности информационного и контрольного вклада различны и абсолютная величина информационного вклада меньше абсолютной величины контрольного вклада.
3) Используя одновременно абсолютную величину и полярность откликов информационного и контрольного вкладов, можно определить наличие ошибки чтения и выявить ячейки с критической степенью деградации, если использовать импульсы чтения отрицательной полярности.
Выводы 1)-3) повторяют соответствующие выводы, полученные для случая, когда использовалась отрицательная полярность импульса чтения (фиг. 2-6).
Таким образом, независимо от полярности импульса чтения реализуем способ регистрации логического состояния в дифференциальной ячейке 100 выявить ошибку чтения и ячейку с критической степенью деградации, используя критерий, описанный в выводе 3) выше.
Этот способ можно модифицировать, дополнив его операцией, в которой логическое состояние, определенное по полярности информационного вклада, инвертируется, если зарегистрирована ошибка чтения и критический уровень деградации.
УСТРОЙСТВО ДЛЯ РЕАЛИЗАЦИИ СПОСОБА
Предлагаемый способ может быть реализован с помощью устройства в виде блока 1200, показанного на фиг. 12, для экстракции и анализа информационного и контрольного вкладов. Блок позволяет выделить вклады положительной и отрицательной полярности, каждый из которых сравнивается со своим референсным уровнем напряжения: положительный вклад сравнивается с положительным референсным напряжением, отрицательный - с отрицательным референсным напряжением. Проверяется, больше ли положительный вклад референсного уровня 1223 на фиг. 12 положительной полярности и меньше ли отрицательный вклад референсного уровня отрицательной полярности 1213 на фиг. 12. Проверка выполняется не менее двух раз, притом момент времени первой проверки выбирается после подачи переднего фронта и до начала заднего фронта импульса чтения, и момент второй проверки выбирается после подачи всего импульса чтения. После последней проверки анализатор сравнивает абсолютные значения напряжений на выходах дифференциальных усилителей 1212 и 1222.
В случае, если на одном из диффренциальных усилителей 1212 или 1222 результаты обеих проверок будут равны 1 (ИСТИНА), а на другом - результат первой проверки будет 0 (ЛОЖЬ) и второй проверки - 1 (ИСТИНА) и абсолютное значение напряжения на его выходе будет больше, то это будет свидетельствовать о наличии ошибки чтения логического состояния ячейки и критической степени деградации. Описанный результат соотвествует ситуации, когда полярности информационного и контрольного вкладов противоположны и абсолютная величина информационного вклада меньше абсолютной величины контрольного вклада.
В устройстве в виде блока регистрации 1200, показанного на фиг. 12, разностный сигнал формируется двухполярным дифференциальным усилителем 100а диференциальной ячейки сегнетоэлектрической памяти 100.
Выход 100а подключается к двум плечам 1210 и 1220, на вход каждого из которых поставлены выпрямители 1211 и 1221, притом выпрямители пропускают сигналы противоположной полярности. В каждом плече выпрямители подключаются к дифференциальным усилителям 1212 и 1222, выполняющим роль компараторов. В плече 1220, в котором регистрируется сигнал положительной полярности, дифференциальный усилитель 1222 подключается так, чтобы на выходе он давал результат операции «больше ли проходящий через выпрямитель 1221 сигнал референсного напряжения 1223». В плече 1210, в котором регистрируется сигнал отрицательной полярности, дифференциальный усилитель 1212 подключается так, чтобы на выходе он давал результат операции «меньше ли проходящий через выпрямитель 1211 сигнал референсного напряжения 1213». Анализатор 1230 регистрирует и запоминает значения на выводах дифференциальных усилителей 1212 и 1222 не менее двух раз, притом момент времени первой проверки выбирается после подачи переднего фронта и до начала заднего фронта импульса чтения, момент второй проверки выбирается после подачи всего импульса чтения. После второй проверки анализатор сравнивает абсолютные значения напряжений на выходах дифференциальных усилителей 1212 и 1222. Моменты времени, когда необходимо производить проверку напряжений, отсчитываются генератором строб 1240.
Уровни референсных напряжений 1213 и 1223, подаваемых на дифференциальные усилители 1212 и 1222, необходимо задавать на базе одной или нескольких следующих характеристик: остаточной поляризации сегнетоэлектрических слоев слоя элеметов хранения 111 и 112, эффективной площади сегнетоэлектрического слоя в элементах хранения 111 и 112, длительности и амплитуды импульсов чтения, емкости коммутационных шин, коэффициента усиления дифференциальнго усилителя 100а. Верхняя граница абослютного значения рефенсных напряжений 1213 и 1223 равна максимально возможному отлкику пары элементов храения 110.
Детектируемая удвоенная остаточная поляризация пары элементов хранения 2Р0 зависит от формы импульса чтения, который, как правило, является трапецивидным или близким к нему, т.е.
где t1 - это длительность переднего фронта импульса чтения, t2 - это длительность полки импульса чтения, t3 - это длительность заднего фронта импульса чтения, Uread - это амплитуда напряжения импульса чтения. Зависимость (1) имеет сложную форму и рассчитывается численно по серии экмпериментальных данных.
Если дифференциальный усилитель 100а имеет коэффциент усиления К, эффективная площадь каждого элемента хранения в 110 равна S и емкость битовой шины BL равна CBL, максимально возможный отклик пары элементов храения 110, попадающий на вход 1212 или 1222 равен:
Нижнюю границу абсолютного значения рефенсного напряжения 1213 и 1223 можно оценить как коэффициент усиления К, умноженный на дисперсию напряжения, создаваемого шумовым сигналом.
В качестве базового уровня референсных напряжений 12.13 и 1223 необходимо взять уровень, абсолютное значение которого не превышает абсолютного значения наиболее близких к нулю границ соотвествующих распределений отликов, рассчитанных по (2). Распределения возникают из технологического разброса пар элементов хранения 110 и, как следствие, их детектируемой остаточной поляризации (1).
Оптимальный варианат, когда абсолютные значения уровней референсных напряжений 1213 и 1223 равны. 5. Осуществление изобретения
Предлагаемый способ можно осуществить с помощью устройства в виде блока регистрации 1200, показанного на фиг. 12. Разностный сигнал на его входе формируется двухполярным дифференциальным усилителем 100а, выход которого подключается к двум плечам 1210 и 1220, на вход каждого из которых поставлены выпрямители 1211 и 1221, притом выпрямители пропускают сигналы противоположной полярности. В каждом плече выпрямители подключены к дифференциальным усилителям 1212 и 1222, выполняющих роль компараторов. В плече 1220, в котором регистрируется сигнал положительной полярности, дифференциальный усилитель 1222 подключается так, чтобы на выходе он давал результат операции «больше ли проходящий через выпрямитель 1221 сигнал референтного напряжения 1223». В плече 1210, в котором регистрируется сигнал отрицательной полярности, дифференциальный усилитель 1212 подключается так, чтобы на выходе он давал результат операции «меньше ли проходящий через выпрямитель 1211 сигнал референтного напряжения 1213». Анализатор 1230 регистрирует и запоминает значения на выводах дифференциальных усилителей 1212 и 1222 не менее двух раз, притом момент времени первой проверки выбирается после подачи переднего фронта и до начала заднего фронта импульса чтения, момент второй проверки выбирается после подачи всего импульса чтения. После второй проверки анализатор сравнивает абсолютные значения напряжений на выходе дифференциальных усилителей 1212 и 1222. Моменты времени, когда необходимо производить проверку напряжений, отсчитываются генератором строб 1240.
Анализатор 1230 содержит элементы, выполняющие операции логического сравнения и на группу выходов 1231, состоящую не менее, чем из 2 выходов: один выход содержит указание на корректное логическое состояние ячейки, второй выход содержит информацию о том, была ли ошибка при считывании или нет.
В таблице 1 показаны результаты работы анализатора 1230 в случае, когда положительная полярность разностного сигнала условно соответствует логическому «0» в дифференциальной ячейке сегнетоэлектрической памяти 100. Считывание 1 выполняется для оценки вклада сигнала, формируемого на переднем фронте, считывание 2 - для оценки вклада отклика заднего фронта.
После считывания 2 сравниваются абсолютные значения на выходах плеч 1210 и 1220.
Те варианты, что не реализуются в случае корректного функционирования опросной электроники, включая блок 1200, не показаны в таблице 1. Не реализуются те случаи, когда в дифференциальном усилителе 1212 или 1222 на выходе при первом считывании регистрируется высокий уровень напряжения «1», а на более позднем втором считывании - низкий уровень «0», поскольку уровни напряжения на участках шин между выпрямителем 1211 и дифференциальными усилителем 1212 и выпрямителем 1221 и дифференциальным усилителем 1222 между считываниями могут изменятся только в сторону больших абсолютных значений. Обратное может произойти только в случае некорректного функционирования опросной электроники.
По данным двух выходов 1231 определяется корректное логическое состояния ячейки и наличие ошибки считывания информации из нее. Наличие ошибки также свидетельствует о значительной степени деградации, т.е. такой, которая может привести к ошибкам чтения и потере данных.
Таким образом, предлагаемый блок позволяет реализовать способ регистрации логического состояния дифференциальной ячейки сегнетоэлектрической памяти, который может выявлять ячейки с повышенной степенью деградации, детектировать и корректировать ошибки чтения логического состояния во всех ячейках микросхемы.
Экспериментальные подтверждения наличия эффекта обратного переключения в дифференциальной ячейке сегнетоэлектрической памяти 100, подвергшейся термическому воздействию, показаны на фиг. 2-11.
Кроме того, дополнительно экспериментально подтверждено, что частота возникновения ошибок чтения значительно выше в случае, соответствующем регистрации логического состояния инверсного состояния 640 и 1140 на фиг. 6 и 11. Для этого использовались корпусированные микросхемы FeRAM с матрицами ячеек типа 100, содержащие не менее, чем 1000 ячеек, сегнетоэлектрические слои элементов хранения в которых выполнены из сегнетоэлектрического Hf0.5Zr0.5O2. В рамках исследования в микросхемы записывалась матрица состояний типа «Прямые шахматы», после чего микросхемы подвергались термическому воздействию 170°С в течение 1,5 часов и затем повторно измерялись. Измерения после нагрева включали считывание записанной до нагрева матрицы состояний типа «Прямые шахматы», что соответствует этапу регистрации разностного сигнала прямого состояния, после чего сразу же записывалась и считывалась инверсная матрица состояний «Обратные шахматы», что соответствует регистрации логического состояния инверсного состояния. Затем это повторялось еще 1 раз без термического воздействия. Результаты описанного исследования представлены в таблице 2.
Как видно, для обеих микросхем имеются ошибки только при чтении инверсных состояний. Ошибки не вызваны катастрофическим отказом, поскольку отсутствуют ошибки в тесте «Прямые шахматы» и количество ошибок при повторном чтении на тесте «Обратных шахмат» значительно меньше, чем перед первичным чтением, что свидетельствует о частичном восстановлении функциональности ячеек FeRAM.
Цитируемая литература
1. Rodriguez J. et al. Reliability of Ferroelectric Random Access memory embedded within 130nm CMOS //2010 IEEE International Reliability Physics Symposium. - IEEE, 2010. - C. 750-758.
2. Tagantsev A. K. et a}. Polarization fatigue in ferroelectric films: Basic experimental findings, phenomenological scenarios, and microscopic features // Journal of Applied Physics. - 2001. - T. 90. - №. 3. - c. 1387-1402.
3. Mehmood F. et al. Bulk depolarization fields as a major contributor to the ferroelectric reliability performance in lanthanum doped Hf0.5Zr0.5O2 capacitors // Advanced Materials Interfaces. - 2019. - Vol.6. - №. 21. - P. 1901180.
4. Chouprik A. et al. Origin of the retention loss in ferroelectric Hf0.5Zr0.5O2-based memory devices // Acta Materialia. - 2021. - T. 204. - С. 116515.
5. Chernikova A.G., Markeev A.M. Dynamic imprint recovery as an origin of the pulse width dependence of retention in Hf0.5Zr0.5O2-based capacitors // Applied Physics Letters. - 2021. - Vol. 119. - №. 3. - P. 032904.
6. Yuan P. et al. Microscopic mechanism of imprint in hafnium oxide-based ferroelectrics // Nano Research. - 2022. - P. 1-8.
7. Патент US 7,313,010 B2, Dec. 25, 2007.
8. Патент US 7,173,844 B2, Feb. 6, 2007.
9. Патент US 10,573,367 B2, Feb. 25, 2020.
10. Патент US 6,590,799 B1, Jul. 8, 2003.
11. Патент US 10,141,040 B2, Nov. 27, 2018.
12. Патент US 7,085,150 B2 Aug. 1, 2006.
13. Патент US 8,495,438 B2, Jul. 23, 2013.
14. Патент US 8,694,872 B2, Apr. 8, 2014.
15. Патент US 9,697,913 B1, Jul. 4, 2017.
| название | год | авторы | номер документа |
|---|---|---|---|
| Ячейка сегнетоэлектрической памяти и способ ее изготовления | 2024 |
|
RU2836293C1 |
| Ячейка сегнетоэлектрической памяти | 2016 |
|
RU2649622C1 |
| МЕТОДЫ НЕРАЗРУШАЕМОГО СЧИТЫВАНИЯ ИНФОРМАЦИИ С ФЕРРОЭЛЕКТРИЧЕСКИХ ЭЛЕМЕНТОВ ПАМЯТИ | 2006 |
|
RU2383945C2 |
| Способ изготовления сегнетоэлектрического конденсатора | 2015 |
|
RU2609591C1 |
| Электрически управляемый элемент памяти, способ считывания и записи его информационного состояния | 2022 |
|
RU2799895C1 |
| СПОСОБ НЕРАЗРУШАЮЩЕГО СЧИТЫВАНИЯ ДАННЫХ И УСТРОЙСТВО ДЛЯ ОСУЩЕСТВЛЕНИЯ ДАННОГО СПОСОБА | 2001 |
|
RU2250518C1 |
| Устройство для решения обратных задач теории поля | 1984 |
|
SU1164748A1 |
| ЯЧЕЙКА ЭНЕРГОНЕЗАВИСИМОЙ ПАМЯТИ | 2019 |
|
RU2790040C2 |
| СЕГНЕТОЭЛЕКТРИЧЕСКАЯ ЖИДКОКРИСТАЛЛИЧЕСКАЯ ДИСПЛЕЙНАЯ ЯЧЕЙКА | 2012 |
|
RU2503984C1 |
| ОДНОЭЛЕКТРОННЫЙ МЕМРИСТОР (НАНОЯЧЕЙКА) И СПОСОБ ПРИМЕНЕНИЯ | 2023 |
|
RU2823967C1 |
Изобретение относится к области устройств энергонезависимой сегнетоэлектрической памяти и может быть использовано в системах опроса ячеек в ней, предлагаемый способ способен выявлять и устранять ошибки чтения. Техническим результатом является повышение надежности хранения и чтения данных в микросхемах сегнетоэлектрической памяти с дифференциальной ячейкой. Способ регистрации логического состояния дифференциальной ячейки сегнетоэлектрической памяти, содержащей два элемента хранения с единичным сегнетоэлектрическим слоем в каждом из них, притом эти слои поляризованы в противоположных направлениях, включает операции, в которых детектируют разностный сигнал - зарядовый отклик - элементов хранения, генерируемый в результате подачи на них одинаковых единичных импульсов чтения, и определяют на его основе, достигли ли сегнетоэлектрические слои уровень критической деградации, приводящей к ошибкам чтения, и требуют ли они восстановления поляризации, при этом в разностном сигнале выделяют информационный вклад, формируемый в первой половине импульса чтения, полностью включающей передний фронт; в разностном сигнале выделяют контрольный вклад, формируемый во второй половине импульса чтения, полностью включающей задний фронт; определяют полярность и абсолютную величину информационного вклада; определяют полярность и абсолютную величину контрольного вклада; определяют логическое состояние дифференциальной ячейки сегнетоэлектрической памяти по полярности информационного вклада; сравнивают полярности и абсолютные величины информационного и контрольного вкладов и регистрируют ошибку чтения и критический уровень деградации в случае, если информационный и контрольный вклады имеют противоположные полярности и абсолютная величина информационного вклада меньше, чем абсолютная величина контрольного вклада. 2 н. и 1 з.п. ф-лы, 12 ил., 2 табл.
1. Способ регистрации логического состояния дифференциальной ячейки сегнетоэлектрической памяти, содержащей два элемента хранения с единичным сегнетоэлектрическим слоем в каждом из них, притом эти слои поляризованы в противоположных направлениях, включающий операции, в которых детектируют разностный сигнал - зарядовый отклик - элементов хранения, генерируемый в результате подачи на них одинаковых единичных импульсов чтения, и определяют на его основе, достигли ли сегнетоэлектрические слои уровень критической деградации, приводящей к ошибкам чтения, и требуют ли они восстановления поляризации, отличающийся тем, что в разностном сигнале выделяют информационный вклад, формируемый в первой половине импульса чтения, полностью включающей передний фронт; в разностном сигнале выделяют контрольный вклад, формируемый во второй половине импульса чтения, полностью включающей задний фронт; определяют полярность и абсолютную величину информационного вклада; определяют полярность и абсолютную величину контрольного вклада; определяют логическое состояние дифференциальной ячейки сегнетоэлектрической памяти по полярности информационного вклада; сравнивают полярности и абсолютные величины информационного и контрольного вкладов и регистрируют ошибку чтения и критический уровень деградации в случае, если информационный и контрольный вклады имеют противоположные полярности и абсолютная величина информационного вклада меньше, чем абсолютная величина контрольного вклада.
2. Способ по п. 1, отличающийся тем, что логическое состояние дифференциальной ячейки сегнетоэлектрической памяти, определенное по полярности информационного вклада, инвертируют, если зарегистрированы ошибка чтения и критический уровень деградации.
3. Устройство блока регистрации логического состояния дифференциальной ячейки сегнетоэлектрической памяти для реализации способа по п. 1, вход которого подключен к двум плечам, на входе каждого из которых расположены выпрямители, притом выпрямители на разных плечах пропускают сигналы противоположной полярности и эти выпрямители подключены в плечах к дифференциальным усилителям, которые сравнивают сигнал с напряжениями той полярности, которую пропускает выпрямитель; результат сравнения на каждом из дифференциальных усилителей в плечах регистрируют по меньшей мере в два различных момента времени анализатором, который имеет по меньшей мере два выхода, на одном из которых формируется сигнал - логическое состояние дифференциальной ячейки сегнетоэлектрической памяти, и на другом выходе анализатора формируется сигнал - наличие ошибки чтения и критического уровня деградации; эти моменты времени отсчитывают генератором строб, выход которого подключен к третьему входу анализатора.
| Сегнетоэлектрический элемент памяти и сумматор | 2017 |
|
RU2668716C2 |
| US 9697913 B1, 04.07.2017 | |||
| US 8694872 B2, 08.04.2014 | |||
| US 8495438 B2, 23.07.2013 | |||
| US 20190303236 A1, 03.10.2019 | |||
| US 20230187010 A1, 15.06.2023. | |||
Авторы
Даты
2025-05-16—Публикация
2024-09-17—Подача