ПЕРЕКРЕСТНАЯ ССЫЛКА НА РОДСТВЕННЫЕ ЗАЯВКИ
[0001] Настоящая заявка испрашивает приоритет по заявке на патент Китая №202221695430.6, поданной 30 июня 2022 года, и заявке на патент Китая №202211268932.5, поданной 17 октября 2022 года, содержание которых полностью включено в настоящий документ посредством ссылки.
ОБЛАСТЬ ТЕХНИКИ
[0002] Настоящая заявка относится к технической области чистки и, в частности, к основанию, узлу основания и устройству для обработки белья.
УРОВЕНЬ ТЕХНИКИ
[0003] В известном уровне техники предусмотрена станция для робота-уборщика. На задней стороне станции установлена высокая стойка, а в стойке установлена система для удаления пыли. Удаление пыли, зарядка, хранение или другие функции робота-уборщика выполняются с помощью станции. Однако размещение станции занимает большое внутреннее пространство из-за ее большого объема.
РАСКРЫТИЕ СУЩНОСТИ ИЗОБРЕТЕНИЯ
[0004] С учетом этого, варианты осуществления по настоящей заявке предназначены для обеспечения основания, узла основания и устройства для обработки белья, которые могут быть легко объединены с машиной для обработки белья.
[0005] Вариант осуществления по настоящей заявке предусматривает основание, содержащее нижний пластинчатый элемент и конструктивный опорный элемент, расположенный над нижним пластинчатым элементом.
[0006] Нижний пластинчатый элемент содержит основную часть, конструктивный опорный элемент образует пространство для размещения, расположенное над основной частью и выполненное с возможностью размещения робота-уборщика, и на передней стороне пространства для размещения предусмотрено отверстие для доступа.
[0007] Передняя кромка основной части снабжена отгибом, который загнут вверх и содержит обходимую секцию вдоль направления ширины основной части, над обходимой секцией расположена подъемная пластина.
[0008] В некоторых вариантах осуществления обходимая секция выполнена с возможностью иметь постоянную высоту в направлении длины отгиба.
[0009] В некоторых вариантах осуществления обходимая секция является вогнутой и образует углубленную переднюю кромку.
[0010] В некоторых вариантах осуществления в направлении ширины основной части отгиб содержит поднятую секцию, расположенную на правой стороне обходимой секции, и высота поднятой секции больше, чем высота обходимой секции.
[0011] В некоторых вариантах осуществления по меньшей мере часть участка основной части углублена вниз и образует пониженный несущий участок, а передняя кромка пониженного несущего участка загнута вверх и образует отгиб.
[0012] В некоторых вариантах осуществления высота обходимой секции меньше, чем высота неуглубленного участка основной части.
[0013] В некоторых вариантах осуществления часть пониженного несущего участка выступает вверх с образованием по меньшей мере одного усиливающего ребра, высота усиливающего ребра меньше, чем высота неуглубленного участка основной части.
[0014] В некоторых вариантах осуществления усиливающие ребра содержат множество усиливающих ребер, расположенных с интервалами в направлении спереди назад; каждое из усиливающих ребер содержит по меньшей мере одно первое усиливающее ребро и по меньшей мере одно второе усиливающее ребро, каждое из первых усиливающих ребер расположено на передней стороне каждого из вторых усиливающих ребер, и высота каждого из первых усиливающих ребер больше, чем высота каждого из вторых усиливающих ребер.
[0015] В некоторых вариантах осуществления высота обходимой секции больше, чем высота каждого из вторых усиливающих ребер и меньше, чем высота каждого из первых усиливающих ребер.
[0016] В некоторых вариантах осуществления конструктивный опорный элемент содержит множество опорных стоек и множество поперечных балок, нижний конец каждой из опорных стоек опирается на неуглубленный участок основной части, и каждая из поперечных балок соединена с верхним концом каждой из опорных стоек.
[0017] В некоторых вариантах осуществления нижний пластинчатый элемент содержит множество групп загнутых кромок, загнутых вверх от кромки неуглубленного участка, каждая из групп загнутых кромок содержит первую загнутую кромку и вторую загнутую кромку, внешняя сторона каждой из опорных стоек в направлении слева направо находится в плотном контакте по меньшей мере с частью участка второй загнутой кромки и жестко соединена ней, а внешняя сторона опорной стойки в направлении спереди назад находится в плотном контакте по меньшей мере с частью участка первой загнутой кромки и жестко соединена с ней.
[0018] В некоторых вариантах осуществления нижний пластинчатый элемент содержит множество соединительных загнутых кромок, загнутых вверх от кромки неуглубленного участка, соответственно, две вторые загнутые кромки на одной стороне соединены друг с другом одной из соединительных загнутых кромок, и две первые загнутые кромки на задней стороне соединены друг с другом другой из соединительных загнутых кромок.
[0019] В некоторых вариантах осуществления высота обходимой секции меньше, чем высота соединительной загнутой кромки.
[0020] В некоторых вариантах осуществления часть второй загнутой кромки углублена в направлении пространства для размещения и образует монтажный обходимый участок, который находится в плотном контакте с опорными стойками, и крепежный элемент последовательно проходит через монтажный обходимый участок и опорные стойки.
[0021] В некоторых вариантах осуществления две опорные стойки на одной стороне и соответствующая поперечная балка между двумя опорными стойками выполнены в виде каркаса из листового металла, образованного путем сгибания одной и той же металлической пластины несколько раз.
[0022] В некоторых вариантах осуществления нижний пластинчатый элемент представляет собой цельную деталь из листового металла; и/или основание содержит накрывающую пластину, которая расположена на верхней стороне конструктивного опорного элемента и накрывает пространство для размещения.
[0023] Вариант осуществления по настоящей заявке предлагает узел основания, узел основания содержит опору и основание в соответствии с вариантами осуществления по настоящей заявке.
[0024] Опора снабжена приемной полостью для приема робота-уборщика, передний конец нижней стенки опоры снабжен подъемной пластиной.
[0025] Опора расположена в пространстве для размещения, а подъемная пластина расположена над обходимой секцией.
[0026] В некоторых вариантах осуществления узел основания содержит пылесборник, расположенный на правой стороне приемной полости, и пылесборник размещен на правой стороне поднимающей пластины, причем пылесборник расположен на правой стороне приемной полости и расположен на правой стороне поднимающей пластины.
[0027] В варианте осуществления по настоящей заявке предложено устройство для обработки белья. Устройство для обработки белья содержит машину для обработки белья и узел основания в соответствии с вариантами осуществления по настоящей заявке. Машина для обработки белья опирается на конструктивный опорный элемент.
[0028] В соответствии с устройством для обработки белья по варианту осуществления по настоящей заявке узел основания встроен под машиной для обработки белья. С одной стороны, пространство под машиной для обработки белья может быть использовано для размещения робота-уборщика, так что внутреннее пространство, занимаемое роботом-уборщиком, уменьшается. С другой стороны, машина для обработки белья располагается рядом с водопроводным краном и дренажным отверстием в полу для способствования забору и отводу воды, что способствует забору и отводу воды узлом основания через существующий забор и отвод воды машины для обработки белья. Трубопроводы для забора и отвода воды в узле основания могут быть выполнены проще. Наличие обходимой секции способствует размещению подъемной пластины, чтобы обойти обходимую секцию, а также способствует установке и снятию подъемной пластины. Отгиб может повысить прочность конструкции элемента основной части.
КРАТКОЕ ОПИСАНИЕ ЧЕРТЕЖЕЙ
[0029] Фиг. 1 - схематический вид взаимодействия между основанием и соединительной пластиной согласно одному варианту осуществления по настоящей заявке.
[0030] Фиг. 2 - схематический конструктивный вид части основания, показанной на фиг.1, на котором отсутствует накрывающая пластина.
[0031] Фиг. 3 - схематический вид с разделением частей части конструкции, показанной на фиг.2.
[0032] Фиг. 4 - схематический вид конструкции, показанной на фиг.1, с другого ракурса.
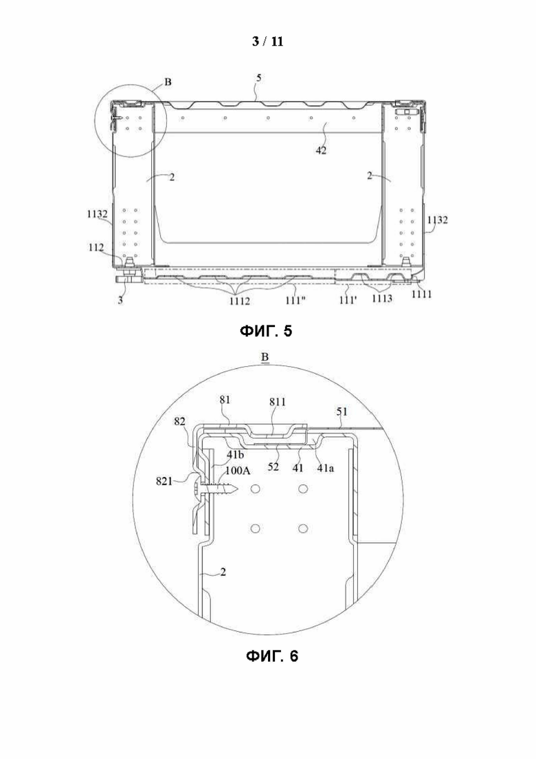
[0033] Фиг. 5 - вид в разрезе, выполненном в направлении А-А по фиг.4.
[0034] Фиг. 6 - частично увеличенный схематический вид В по фиг.5.
[0035] Фиг. 7 - схематический конструктивный вид нижнего пластинчатого элемента согласно одному варианту осуществления по настоящей заявке.
[0036] Фиг. 8 - схематический вид конструкции, показанной на фиг.7, с другого ракурса.
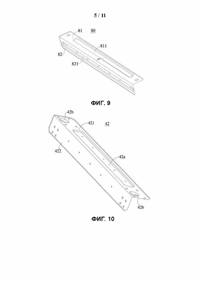
[0037] Фиг. 9 - схематический вид конструкции соединительной пластины согласно одному варианту осуществления по настоящей заявке.
[0038] Фиг. 10 - схематический вид конструкции второй поперечной балки согласно одному варианту осуществления по настоящей заявке.
[0039] Фиг. 11 - схематический вид конструкции накрывающей пластины согласно одному варианту осуществления по настоящей заявке.
[0040] Фиг. 12 - схематический вид взаимодействия между узлом основания и роботом-уборщиком согласно одному варианту осуществления по настоящей заявке.
[0041] Фиг. 13 - схематический вид конструкции, показанной на фиг.12, с другого ракурса.
[0042] Фиг. 14 - схематический вид конструкции, показанной на фиг.12, с еще одного ракурса.
[0043] Фиг. 15 - схематический вид взаимодействия между кожухом и соединительной пластиной согласно одному варианту осуществления по настоящей заявке.
[0044] Фиг. 16 - схематический вид узла между конструкцией, показанной на фиг.15, и конструкцией, показанной на фиг.2.
[0045] Фиг. 17 - схематический вид конструкции, показанной на фиг.16, с другого ракурса.
[0046] Фиг. 18 - вид в разрезе, выполненном в направлении Е-Е по фиг.17.
[0047] Фиг. 19 - частично увеличенный схематический вид по фиг.18.
ОСУЩЕСТВЛЕНИЕ ИЗОБРЕТЕНИЯ
[0048] Варианты осуществления по настоящей заявке также подробно описаны ниже со ссылкой на сопроводительные чертежи и варианты осуществления. Следующие варианты осуществления предназначены для объяснения настоящей заявки, но не могут использоваться для ограничения объема охраны настоящей заявки.
[0049] Следует отметить, что в описаниях вариантов осуществления по настоящей заявке ориентация или позиционные соотношения, обозначенные терминами ''центр'', ''продольный'', ''поперечный'', ''верхний'', ''нижний'', ''передний'', ''задний'', ''левый'', ''правый'', ''вертикальный'', ''горизонтальный'', ''верхний'', ''нижний'', ''внутренний'', ''внешний'' или тому подобное, основаны только на ориентации или позиционных соотношениях, показанных на чертежах, предназначены только для облегчения описания вариантов осуществления по настоящей заявке и упрощения описаний и не предназначены указывать или подразумевать, что упомянутое устройство или элемент должны иметь определенную ориентацию или должны быть сконфигурированы и работать в конкретной ориентации, поэтому не могут пониматься как ограничивающие варианты осуществления по настоящей заявке. Кроме того, термины ''первый'', ''второй'' и ''третий'' предназначены только для целей описания и не могут рассматриваться как указывающие или подразумевающие относительную важность.
[0050] В варианте осуществления по настоящей заявке предусмотрено основание 10. Основание 10 может использоваться в устройстве для обработки белья.
[0051] Со ссылкой на фиг.1, 2 и 3, основание 10 содержит нижний пластинчатый элемент 1 и конструктивный опорный элемент, расположенный над нижним пластинчатым элементом 1. Нижний пластинчатый элемент 1 содержит основную часть 11, конструктивный опорный элемент образует пространство 10а для размещения, расположенное над основной частью и выполненное с возможностью размещения робота-уборщика 90. На передней стороне пространства 10а для размещения предусмотрено отверстие 10b для доступа, то есть робот-уборщик 90 входит в пространство внутрь основания 10 и выходит из него из отверстия 10b для доступа.
[0052] Следует отметить, что основная часть 11 может быть выполнена в виде пластины или может быть выполнена в виде комбинации пластины и опорной балки. В одном примере в варианте осуществления по настоящей заявке описания выполнены путем использования в качестве примера основной части 11 в виде пластины.
[0053] Со ссылкой на фиг.12, фиг.13 и фиг.14, вариант осуществления по настоящей заявке предоставляет узел 60 основания. Узел 60 основания содержит опору 61 и основание 10 согласно любому варианту осуществления по настоящей заявке, при этом опора 61 расположена в пространстве 10а для размещения. Опора 61 снабжена приемной полостью 61а для размещения робота-уборщика 90. Основание 10 обеспечивает монтажное пространство для опоры 61.
[0054] В одном варианте осуществления по настоящей заявке предложено устройство для обработки белья, которое содержит машину для обработки белья и узел 60 основания согласно любому варианту осуществления по настоящей заявке. Узел 60 основания расположен под машиной для обработки белья, и основание обеспечивает опору для машины для обработки белья. В частности, машина для обработки белья поддерживается конструктивным опорным элементом. То есть конструктивный опорный элемент представляет собой несущий элемент, который может выдерживать вес машины для обработки белья и ее нагрузку.
[0055] Машина для обработки белья может быть в различных формах, таких как стиральная машина, дегидратор, сушилка, стиральная машина-сушилка и т.п. Конкретные сценарии применения машины для обработки белья не ограничивают конструкцию узла 60 основания по настоящей заявке.
[0056] В варианте осуществления устройства для обработки белья по настоящей заявке узел 60 основания встроен под машиной для обработки белья. С одной стороны, пространство под машиной для обработки белья может быть использовано для размещения робота-уборщика 90, так что внутреннее пространство, занимаемое роботом-уборщиком 90, уменьшается. С другой стороны, машина для обработки белья расположена рядом с водопроводным краном и дренажным отверстием в полу для способствования забору и отводу воды, что способствует забору и отводу воды узлом 60 основания через существующий забор и отвод воды машины для обработки белья, а трубопроводы для забора и отвода воды узла 60 основания становятся более простыми.
[0057] Робот-уборщик 90 может быть выполнен с возможностью автоматического подметания пыли, волос или чего-либо подобного с пола. В случае, если в роботе-уборщике 90 предусмотрена швабра, робот-уборщик 90 может выполнять влажную уборку пола после подметания.
[0058] Функции узла основания в варианте осуществления по настоящей заявке, предусмотренного для робота-уборщика 90, включают по меньшей мере одно из следующего; зарядку, удаление пыли, очистку, сушку или дезинфекцию.
[0059] В одном примере робот-уборщик 90 содержит первый компонент связи, узел 60 основания содержит второй компонент связи, и связь между роботом-уборщиком 90 и узлом 60 основания может быть достигнута с помощью первого компонента связи и второго компонента связи. Например, когда робот-уборщик 90 должен выгрузить пыль или должен быть заряжен, беспроводная связь может быть осуществлена через первый компонент связи и второй компонент связи, чтобы позволить роботу-уборщику самостоятельно вернуться в приемную полость 61а.
[0060] В одном примере первый компонент связи и второй компонент связи могут включать в себя, но не ограничиваясь этим, один или более из компонента Bluetooth, компонента беспроводной связи (WIFI), компонента связи 4-го поколения/5-го поколения (4G/5G), инфракрасного компонента или других компонентов беспроводной передачи данных.
[0061] В одном примере узел основания выполнен с возможностью осуществления по меньшей мере одной из следующих операций: зарядки, выгрузки пыли или очистки швабры для робота-уборщика 90 после остановки робота-уборщика в приемной полости 61а.
[0062] Со ссылкой на фиг.12, фиг.13 и фиг.14, передний конец нижней стенки опоры 61 снабжен подъемной пластиной 63, которая выполнена с возможностью направления робота-уборщика 90 для входа или выхода из пространства для размещения.
[0063] Задний конец подъемной пластины 63 проходит в основание 10, передний конец подъемной пластины 63 выходит за пределы передней части основания 10, а передняя кромка подъемной пластины 63 максимально приближена к полу, так что робот-уборщик может плавно подниматься по подъемной пластине 63.
[0064] Со ссылкой на фиг.12, 13 и 14, опора 61 размещена на основной части 11. Основная часть 11 выполняет функцию поддержки опоры 61, и робот-уборщик останавливается в приемной полости 61а.
[0065] Со ссылкой на фиг.5 и фиг.7, передняя кромка основной части 11 снабжена отгибом 1111, загнутым вверх, причем отгиб 1111 может повысить прочность и жесткость конструкции на передней кромке основной части 11 и уменьшить вероятность возникновения трещин в основной части 11.
[0066] Со ссылкой на фиг.4, в направлении ширины основной части 11 отгиб 1111 содержит обходимую секцию 11111 и поднятую секцию 11112, расположенную на правой стороне обходимой секции 11111. Высота поднятой секции 11112 больше, чем высота обходимой секции 11111.
[0067] Выражение ''высота поднятой секции 11112 больше, чем высота обходимой секции 11111'' означает, что высота в самом высоком положении верхней кромки поднятой секции 11112 больше, чем высота в самом высоком положении верхней кромки обходимой секции 11111.
[0068] Подъемная пластина 63 расположена над обходимой секцией 11111.
[0069] В соответствии с вариантом осуществления основания по настоящей заявке высота обходимой секции 11111 является относительно небольшой, что способствует размещению подъемной пластины 63, чтобы обойти обходимую секцию 11111, и способствует установке и снятию подъемной пластины 63. Поскольку роботу-уборщику 90 не нужно проходить через поднятую секцию 11112 во время входа и выхода из приемной полости 61а, поднятая секция 11112 может иметь большую высоту для дополнительного повышения прочности конструкции нижнего пластинчатого элемента 1.
[0070] В одном примере узел основания содержит пылесборник 611, расположенный на правой стороне приемной полости 61а, то есть приемная полость 61а и пылесборник 611 расположены бок о бок в направлении слева направо. Таким образом, может быть уменьшена высота узла основания. Пылесборник 611 расположен над поднятым участком 11112.
[0071] В одном примере высота поднятой секции 11112 постепенно увеличивается в направлении слева направо для увеличения прочности конструкции правого конца поднятой секции 11112.
[0072] В одном примере обходимая секция 11111 имеет конструкцию равной высоты, то есть высота каждой части обходимой секции 11111 является постоянной в направлении слева направо. Таким образом обеспечивается способствование установке подъемной пластины.
[0073] В одном примере, со ссылкой на фиг.1 и 12, основание 10 содержит множество ножек 3, расположенных под основной частью 11. Все устройство для обработки белья поддерживается на полу ножками 3, то есть ножки 3 должны выдерживать вес всего устройства для обработки белья и его нагрузки.
[0074] Каждая из ножек 3 может быть неподвижной ножкой или регулируемой ножкой с регулируемой высотой опоры, что в данном документе ничем не ограничивается.
[0075] В одном примере имеется четыре ножки 3, каждая из которых расположена в одном из четырех углов основной части 11. Четыре ножки 3 включают левую переднюю ножку, правую переднюю ножку, левую заднюю ножку и правую заднюю ножку.
[0076] В одном примере, со ссылкой на фиг.1, фиг.2, фиг.3, фиг.5 и фиг.7, по меньшей мере часть участка основной части 11 углублена вниз и образует пониженный несущий участок 111 для несения опоры 61. Опора 61 размещена в пониженном несущем участке 111, то есть основная часть 11 несет вес основания 61 и робота-уборщика, остановленного в приемной полости 61а пониженным несущим участком 111.
[0077] Передняя боковая кромка пониженного несущего участка 111 проходит к отверстию 10b для доступа, пониженный несущий участок 111 проходит к передней боковой кромке основной части 11, а передняя сторона пониженного несущего участка 111 не имеет неуглубленного участка 112.
[0078] В соответствии с вариантом осуществления основания 10 по настоящей заявке пониженная конструкция пониженного несущего участка 111 может выполнять функцию повышения прочности конструкции и жесткости основной части 11. Кроме того, высота над полом пониженного несущего участка 111 (т.е. расстояние между пониженным несущим участком и полом) меньше, чем высота над полом неуглубленного участка 112, и пониженный несущий участок 111 уменьшает высоту установки нижней стенки опоры 61, так что высота подъема для робота-уборщика 90, возвращающегося к опоре 61, может быть уменьшена, что облегчает возвращение робота-уборщика к опоре. В случае, если наклон подъемной пластины 63 является постоянным, длина подъемной пластины 63 в направлении спереди назад может быть уменьшена. Это упрощает обеспечение того, чтобы подъемная пластина 63 не превышала профиль передней стороны кожуха 70 машины для обработки белья. То есть, в проекции на горизонтальную плоскость, если смотреть с верхней части к нижней части устройства для обработки белья, подъемная пластина 63 не выходит за пределы диапазона проекции кожуха 70 машины для обработки белья.
[0079] Следует отметить, что способы образования пониженного несущего участка 111 не ограничены. Например, пониженный несущий участок 111 образован штамповкой металлической пластины посредством процесса штамповки. Неуглубленный участок 112 является частью металлической пластины, которая не подвергнута штамповке и изгибу.
[0080] В одном примере, со ссылкой на фиг.7, передняя кромка пониженного несущего участка 111 загнута вверх и образует отгиб 1111. То есть отгиб 1111 расположен на передней кромке пониженного несущего участка 111. В данном варианте осуществления прочность конструкции на передней кромке основной части 11 может быть увеличена за счет отгиба 1111, а установочная высота опоры может быть уменьшена.
[0081] Со ссылкой на фиг.2, каждая ножка 3 соединена с неуглубленным участком 112 основной части 11.
[0082] В одном примере, со ссылкой на фиг.4, высота обходимой секции 11111 меньше, чем высота неуглубленного участка 112 основной части 11, а высота поднятой секции 11112 больше, чем высота неуглубленного участка 112 основной части 11. Таким образом можно способствовать размещению подъемной пластины 63, чтобы обойти обходимую секцию 11111, и повысить конструктивную прочность элемента 1 нижней пластины за счет поднятой конструкции поднятой секции 11112.
[0083] В одном примере, со ссылкой на фиг.8, обходимая секция является вогнутой и образует углубленную переднюю кромку 111а. Следует отметить, что форма отгиба 1111 является такой же, как у передней кромки пониженного несущего участка 111. В проекции на нижележащую горизонтальную плоскость проекция отгиба 1111 совпадает с проекцией профиля передней кромки пониженного несущего участка 111.
[0084] Подъемная пластина 63 расположена над углубленной передней кромкой 111а. То есть, подъемная пластина 63 должна пересекать углубленную переднюю кромку 111а из положения над углубленной передней кромкой 111а.
[0085] В данном варианте осуществления по настоящей заявке углубленная передняя кромка 111а может выполнять функцию усиления конструкционной прочности основной части 11.
[0086] В данном варианте осуществления по настоящей заявке, поскольку подъемная пластина 63 наклонена под определенным углом, высота наклонной поверхности подъемной пластины 63 в положении, соответствующем углубленной передней кромке 111а, больше, что способствует размещению подъемной пластины 63, чтобы обойти углубленную переднюю кромку 111а в направлении высоты, так что размер подъемной пластины в направлении спереди назад может быть уменьшен на том основании, что подъемная пластина 63 удовлетворяет требованию уровня подъема. В частности, в альтернативном варианте осуществления, в котором передняя кромка основной части 11 не имеет углубленной конструкции, при размещении подъемной пластины 63 необходимо обойти переднюю кромку основной части 11 без использования углубленной конструкции. Таким образом, для той же высоты передней кромки основной части 11 длина подъемной пластины 63 в направлении спереди назад должна быть больше, а передняя кромка подъемной пластины 63 должна выходить за пределы передней кромки основной части 11 на большее расстояние, чтобы соответствовать требованию уровня подъема подъемной пластины.
[0087] В одном примере ширина D1 углубленной передней кромки 111а составляет от 0,6 до 0,8 всей ширины D2 основной части 11, то есть Dl=(от 0,6 до 0,8) * D2. Углубленная передняя кромка 111а в этом диапазоне размеров также может сочетать конструкционную прочность основной части 11 и требования к ширине подъемной пластины 63.
[0088] В одном примере расстояние HI между левым концом углубленной передней кромки 111а и левой кромкой основной части меньше, чем расстояние Н2 между правым концом углубленной передней кромки 111а и правой кромкой основной части, то есть HI<Н2. То есть расположение углубленной передней кромки 111а смещено влево. Таким образом, подъемная пластина 63 может быть расположена слева, чтобы расположить другие конструкции, например, пылесборник, с правой стороны подъемной пластины 63.
[0089] Следует отметить, что противоположные концы отгиба 1111 в направлении слева направо соединены с неуглубленным участком 112 или другими частями, например, первой загнутой кромкой, описанной ниже. Таким образом, это способствует выполнению отгибом 1111 функции усиления прочности конструкции и жесткости на передней кромке пониженного несущего участка 111.
[0090] В одном примере, со ссылкой на фиг.2 и 7, нижний пластинчатый элемент 1 содержит две первые загнутые кромки 1132, которые загнуты вверх от передних кромок неуглубленных участков 112 на левой и правой сторонах пониженного несущего участка 111. Первые загнутые кромки выполнены с возможностью соединения с конструктивным опорным элементом. Левый конец обходимой секции 11111 соединен с первой загнутой кромкой 1132 на левой стороне, а правый конец поднятой секции 11112 соединен с первой загнутой кромкой 1132 на правой стороне. Таким образом, два конца отгиба 1111 соединены с двумя первыми загнутыми кромками 1132 для повышения прочности конструкции основной части 11.
[0091] В одном примере, со ссылкой на фиг.5 и 7, часть пониженного несущего участка 111 выступает вверх с образованием усиливающих ребер. Усиливающие ребра могут выполнять функцию повышения прочности конструкции и жесткости пониженного несущего участка 111.
[0092] Кроме того, поскольку усиливающие ребра образованы частью пониженного несущего участка 111, выступающей вверх, усиливающие ребра не влияют на высоту пониженного несущего участка 111 над полом.
[0093] В одном примере, со ссылкой на фиг.5, 7 и 8, усиливающие ребра расположены в направлении слева направо. Поскольку робот-уборщик 90 перемещается в направлении спереди назад при входе или выходе из станции, усиливающие ребра, расположенные в направлении слева направо, могут лучше выполнять функцию повышения прочности конструкции и жесткости.
[0094] Может иметься одно или более усиливающих ребер.
[0095] В одном примере имеется множество усиливающих ребер, расположенных с интервалами в направлении спереди назад.
[0096] Со ссылкой на фиг.5, фиг.7 и фиг.8, каждое из усиливающих ребер содержит по меньшей мере одно первое усиливающее ребро 1112 и по меньшей мере одно второе усиливающее ребро 1113. По меньшей мере одно первое усиливающее ребро 1112 расположено на передней стороне каждого второго усиливающего ребра 1113. Высота первого усиливающего ребра 1112 больше, чем высота второго усиливающего ребра 1113.
[0097] Иными словами, первое усиливающее ребро 1112 имеет усиленную конструкцию. Таким образом, первое усиливающее ребро 1112 может дополнительно повышать конструктивную прочность переднего конца пониженного несущего участка 111.
[0098] В конкретном варианте осуществления общее количество усиливающих ребер составляет шесть, то есть два первых усиливающих ребра 1112 и четыре вторых усиливающих ребра 1113.
[0099] В одном примере, со ссылкой на фиг.5, высота обходимой секции 11111 больше, чем высота вторых усиливающих ребер 1113, и меньше, чем высота первых усиливающих ребер 1112. Таким образом, это способствует размещению подъемной пластины 63, чтобы обойти обходимую секцию 11111.
[00100] В одном примере, со ссылкой на фиг.5 и 8, пониженный несущий участок 111 содержит первый подучасток 111' и второй подучасток 111', граничащие друг с другом. Второй подучасток 111'' расположен на задней стороне первого подучастка 111', то есть первый подучасток 111' и второй подучасток 111'' расположены бок о бок в направлении спереди назад.
[00101] Например, на фиг.5 и фиг.8 две части пониженного несущего участка 111 в пределах двух пунктирных прямоугольников представляют собой первый подучасток 111' и второй подучасток 111'', соответственно.
[00102] Со ссылкой на фиг.5, глубина первого подучастка 111' больше, чем глубина второго подучастка 111''. То есть глубина части пониженного несущего участка 111 вблизи передней стороны больше, чем глубина части пониженного несущего участка 111 вблизи задней стороны. Таким образом, он может выполнять функцию повышения прочности конструкции и жесткости на переднем конце пониженного несущего участка 111.
[00103] В одном примере, со ссылкой на фиг.5 и 8, часть первого подучастка 111' выступает вверх с образованием некоторых из усиливающих ребер, и, в частности, усиливающие ребра в первого подучастка 111' являются первыми усиливающими ребрами 1112. Часть второго подучастка 111'' выступает вверх с образованием другого из усиливающих ребер, и, в частности, усиливающие ребра во втором подучастке 111'' являются вторыми усиливающими ребрами 1113.
[00104] Со ссылкой на фиг.5, высота усиливающих ребер в первом подучастке 111' больше, чем высота усиливающих ребер во втором подучастке 111''. То есть усиливающие ребра в первом подучастке Ш'имеют усиленную конструкцию, которая может дополнительно повысить прочность конструкции и жесткость переднего конца пониженного несущего участка 111.
[00105] В одном примере, со ссылкой на фиг.1, основание 10 содержит накрывающую пластину 5, которая расположена на верхней стороне конструктивного опорного элемента и накрывает пространство 10а для размещения. При возникновении неисправностей (таких как утечка воды, просачивание воды в машину для обработки белья) протекающая вода блокируется накрывающей пластиной 5. Накрывающая пластина 5 выполняет функцию водонепроницаемой защиты для каждого элемента на основной части 61, а также может повышать конструкционную прочность структурного опорного элемента.
[00106] В некоторых вариантах осуществления выпускное отверстие для воды расположено на накрывающей пластине 5. Выпускное отверстие для отвода воды выполнено с возможностью направления жидкости в виде воды, накапливаемой на накрывающей пластине 5, в участок отвода воды в узла 60 основания, где жидкость в виде воды отводится через канал для отвода воды узла 60 основания. Таким образом, вода, накапливаемая на накрывающей пластине 5, своевременно отводится, чтобы предотвратить растекание по полу помещения жидкости, стекающей с накрывающей пластины 5.
[00107] В одном примере, со ссылкой на фиг.1, 2 и 3, конструктивный опорный элемент содержит множество опорных стоек 2, нижний конец каждой из опорных стоек 2 поддерживается на неуглубленном участке 112 основной части 11.
[00108] Опорные стойки 2 несут нагрузку вместе, вес машины для обработки белья передается на каждую из опорных стоек 2, и каждая из опорных стоек 2 передает принимаемое усилие на ножку 3.
[00109] В одном примере под каждой из опорных стоек 2 расположена ножка 3. Направления приложения нагрузки к опорным стойкам 2 и ножкам 3 находятся по существу на одной и той же вертикальной линии, так что между опорной стойкой 2 и ножкой 3 не возникает дополнительного изгибающего момента, и основание 11 не подвергается сдвигающей силе из-за изгибающего момента. Таким образом, условия восприятия нагрузки основной части 11 могут быть улучшены, и требования к толщине и сопротивлению сдвигу основной части 11 могут быть снижены.
[00110] В одном примере в варианте осуществления по настоящей заявке имеется четыре опорных стойки 2 и четыре ножки 3. В проекции горизонтальной плоскости сверху вниз устройства для обработки белья выступающий профиль основания 10 представляет собой по существу четырехугольник, а ножки 3 и опорные стойки 2 расположены в углах выступающего профиля основания 10.
[00111] В одном примере конструктивный опорный элемент дополнительно содержит множество поперечных балок. Верхние концы опорных стоек 2 соединены друг с другом через поперечную балку. Поперечные балки могут повышать прочность конструкции и жесткость верхних концов опорных стоек 2 и уменьшать вероятность поперечного отклонения поперечных балок.
[00112] Термин ''боковой'' относится к любому направлению в горизонтальной плоскости, такому как направление слева направо, направление спереди назад и т.д.
[00113] Способы соединения между поперечными балками и опорными стойками 2 не ограничены.
[00114] В одном из примеров верхние концы опорных стоек 2 соединены друг с другом поперечными балками с образованием рамной конструкции. В варианте осуществления, в котором предусмотрена накрывающая пластина 5, накрывающая пластина 5 расположена в области, окруженной поперечными балками, и накрывающая пластина 5 соединена с поперечными балками.
[00115] Например, в варианте осуществления, где имеется четыре опорных стойки 2, количество поперечных балок равно четырем, и четыре поперечные балки соединены последовательно друг с другом с образованием по существу четырехугольной конфигурации.
[00116] В одном примере, со ссылкой на фиг.7, нижний пластинчатый элемент 1 содержит множество групп 113 загнутых кромок, каждая из которых загнута вверх от кромки неуглубленного участка 112. Каждая из групп 113 загнутых кромок содержит вторую загнутую кромку 1131 и первую загнутую кромку 1132. Со ссылкой на фиг.2, внешняя сторона каждой опорной стойки 2 в направлении слева направо находится в плотном контакте по меньшей мере с частью участка второй загнутой кромки 1131 и жестко соединена с ней, а внешняя сторона опорной стойки 2 в направлении спереди назад находится в плотном контакте по меньшей мере с частью участка первой загнутой кромки 1132 и жестко соединена с ней.
[00117] В варианте осуществления способ соединения между группой 113 кромок и опорной стойкой 2 повышает боковую жесткость опорной стойки 2, уменьшает или предотвращает концентрацию напряжений на нижней кромке опорной стойки 2 и повышает надежность соединения между опорной стойкой 2 и нижним пластинчатым элементом 1.
[00118] Например, в варианте осуществления, где предусмотрены четыре опорных стойки 2, количество групп загнутых кромкок равно четырем, и каждая из опорных стоек 2 соединена с одной группой загнутых кромок.
[00119] В частности, в каждой из групп 113 загнутых кромок поверхность второй загнутой кромки 1131 по существу обращена в направлении слева направо, поверхность пластины первой загнутой кромки 1132 по существу обращена в направлении спереди назад, а вторая загнутая кромка 1131 и первая загнутая кромка 1132 по существу расположены под углом 90 градусов с образованием прямого угла, обращенного в сторону пространства 10а для размещения. Четыре группы 113 загнутых кромок по существу образуют четыре прямых угла, и на каждом из прямых углов установлена одна опорная стойка 2.
[00120] Следует понимать, что угол между второй загнутой кромкой 1131 и первой загнутой кромкой 1132 может варьироваться в соответствии с формой опорных стоек 2, например, углы между второй загнутой кромкой 1131 и первой загнутой кромкой 1132 могут находиться в диапазоне от 80° до 120°.
[00121] В одном примере, со ссылкой на фиг.7, часть второй загнутой кромки 1131 углублена в направлении пространства 10а для размещения и образует монтажный обходимый участок 1131а, находящийся в плотном контакте с опорными стойками 2. Крепежный элемент последовательно проходит через монтажный обходимый участок 1131а и опорную стойку 2.
[00122] Крепежный элемент может представлять собой винт или болт.
[00123] После сборки гайка крепежного элемента располагается в углублении монтажного обходимого участка 1131а, так что гайка крепежного элемента не выступает за пределы внешней поверхности второй загнутой кромки 1131. Следовательно, это способствует размещению декоративного кожуха 62 с внешней стороны, и гайка крепежного элемента не мешает декоративному кожуху 62.
[00124] В одном примере, со ссылкой на фиг.7, нижний пластинчатый элемент 1 содержит множество соединительных загнутых кромок 114, каждая из которых загнута вверх от кромки неуглубленного участка 112. Две вторые загнутые кромки 1131 на одной стороне соединены друг с другом одной соединительной загнутой кромкой 114, а две первые загнутые кромки 1132 на задней стороне соединены друг с другом другой соединительной загнутой кромкой 114.
[00125] Соединительные загнутые кромки 114 могут повысить конструкционную прочность двух вторых загнутых кромок 1131 или двух первых загнутых кромок 1132, соединенных с соединительными загнутыми кромками.
[00126] В одном примере высота второй загнутой кромки 1131 и высота первой загнутой кромки 1132 больше, чем высота соединительной загнутой кромки 114. Количество используемого материала и вес основания могут быть уменьшены при соблюдении требований к прочности конструкции.
[00127] В одном примере высота обходимой секции 11111 меньше, чем высота соединительных загнутых кромок 114.
[00128] Меньшая высота обходимой секции 11111, чем высота соединительной загнутой кромки 114, означает, что высота в самом высоком положении верхней кромки соединительной загнутой кромки 114 больше, чем высота в самом высоком положении верхней кромки обходимой секции 11111.
[00129] В одном примере элемент 1 нижней пластины является цельной деталью из листового металла. То есть элемент 1 нижней пластины представляет собой конструкцию, полученную путем холодной обработки цельной металлической пластины, например, конструкцию, полученную после вырезки заготовки, штамповки, гнутья или других процессов. Таким образом, прочность конструкции и жесткость элемента 1 нижней пластины могут быть повышены.
[00130] В некоторых конкретных вариантах осуществления цельную металлическую пластину обрезают с помощью процесса вырезки заготовки для придания желаемой формы. После обрезки металлической пластины выполняют штамповку пластины, чтобы образовать пониженный несущий участок 111. Затем кромочные части пластины загибают с помощью процесса гнутья с образованием второй загнутой кромки 1131, первой загнутой кромки 1132 и соединительной загнутой кромки 114, как описано выше. Часть пластины, которая не подверглась штамповке или гнутью, является неуглубленным участком 112, то есть неуглубленный участок 112 эквивалентен эталонной основе для выполнения штамповки, гнутья и других процессов на пластине.
[00131] Конкретная форма опорной стойки 2 не ограничивается. В одном примере, со ссылкой на фиг.1, фиг.2 и 3, форма горизонтального поперечного сечения опорной стойки 2 представляет собой по существу U-образную форму, а отверстие в форме буквы ''U'' обращено к пространству 10а для размещения в направлении слева направо. Например, отверстия U-образных форм двух опорных стоек 2 на правой стороне обращены к левой стороне, а отверстия U-образных форм двух опорных стоек 2 на левой стороне обращены к правой стороне.
[00132] В одном примере две опорные стойки 2 на одной стороне и поперечная балка между указанными двумя опорными стойками выполнены в виде каркаса из листового металла, образованного путем сгибания одной металлической пластины несколько раз. Весь каркас из листового металла имеет U-образную форму, а отверстие в форме буквы ''U'' является ориентированным. Эта же сторона относится к той же стороне в направлении слева направо или в направлении спереди назад. Таким образом, прочность конструкции и несущая способность опорного элемента конструкции могут быть повышены.
[00133] Например, в некоторых вариантах осуществления две опорные стойки 2 на одной стороне в направлении слева направо и балка между указанными двумя опорными стойками выполнены в виде каркаса из листового металла, образованного путем сгибания одной металлической пластины несколько раз. В частности, опорная стойка 2 на левой передней стороне, опорная стойка 2 на левой задней стороне и поперечная балка на левой стороне образованы путем многократного сгибания металлической пластины с образованием каркаса из листового металла. Опорная стойка 2 на правой передней стороне, опорная стойка 2 на правой задней стороне и поперечная балка на правой стороне образованы путем многократного сгибания металлической пластины с образованием другого каркаса из листового металла. На задней стороне поперечная балка соединена между задними концами двух каркасов из листового металла, а на передней стороне поперечная балка соединена между передними концами двух каркасов из листового металла.
[00134] В некоторых других вариантах осуществления, со ссылкой на фиг.3, две опорные стойки 2 на одной и той же стороне в направлении спереди назад и поперечная балка между указанными двумя опорными стойками выполнены в виде каркаса из листового металла, образованного путем многократного сгибания металлической пластины. В частности, опорная стойка 2 на левой передней стороне, опорная стойка 2 на правой передней стороне и поперечная балка на передней стороне образованы путем многократного сгибания металлической пластины с образованием каркаса из листового металла. Опорная стойка 2 на правой задней стороне, опорная стойка 2 на левой задней стороне и поперечная балка на задней стороне образованы путем сгибания другой металлической пластины несколько раз с образованием другого каркаса из листового металла. На левой стороне поперечная балка соединена между левыми концами двух каркасов из листового металла, а на правой стороне поперечная балка соединена между правыми концами двух каркасов из листового металла.
[00135] Для удобства описания поперечные балки для образования каркаса из листового металла называются первыми поперечными балками 41, а поперечные балки, выполненные с возможностью соединения двух каркасов из листового металла, называются вторыми поперечными балками 42. То есть конструктивный опорный элемент варианта осуществления по настоящей заявке содержит по меньшей мере две первые балки 41 и по меньшей мере две вторые балки 42.
[00136] Поперечное сечение первой поперечной балки 41 имеет по существу U-образную форму.
[00137] В одном примере, со ссылкой на фиг.10, вторая поперечная балка 42 содержит первую подпластину 421 и вторую подпластину 422, расположенную на нижней боковой кромке первой подпластины 421.
[00138] Угол между первой подпластиной 421 и второй подпластиной 422 является по существу прямым углом, то есть форма поперечного сечения второй поперечной балки 42 в направлении, перпендикулярном направлению ее длины, имеет по существу форму буквы ''L''.
[00139] Противоположные концы первой подпластины 421 в направлении длины опираются на верхнюю поверхность второй поперечной балки 42, а вторая подпластина 422 находится в плотном контакте с боковой поверхностью верхнего конца опорной стойки 2.
[00140] В одном примере, со ссылкой на фиг.10, часть первой подпластины 421 второй поперечной балки 42 углублена вниз и образует пониженную канавку 42а, которая проходит в направлении длины первой подпластины 421. Позиционирующие отверстия 42b предусмотрены на противоположных концах второй поперечной балки 42 в направлении длины, а пониженная канавка 42а расположена между двумя позиционирующими отверстиями 42b.
[00141] В одном примере, со ссылкой на фиг.11, накрывающая пластина 5 содержит корпус 51, первые боковые части 52, расположенные на противоположных боковых кромок корпуса 51 вблизи второй поперечной балки 42, и вторые боковые части 53, расположенные на противоположных боковых кромок корпуса 51 вблизи первой поперечной балки 41.
[00142] Корпус 51 накрывает пространство 10а для размещения. Каждая из первой боковой части 52 и второй боковой части 53 понижены относительно кромок корпуса 51. То есть, высота первой боковой части 52 и высота второй боковой части 53 меньше, чем высота корпуса 51. Первая боковая часть 52 понижена таким образом, что первая боковая часть 52 и корпус 51 расположены в разных плоскостях, что позволяет повысить конструктивную прочность накрывающей пластины 5.
[00143] Со ссылкой на фиг.6, первая боковая часть 52 размещена в пониженной канавке 42а. Винт проходит через первую боковую часть 52 и вторую поперечную балку 42 сверху вниз для крепления накрывающей пластины 5 ко второй поперечной балке 42.
[00144] Пониженная канавка 42а обеспечивает приемную полость 61а для первой боковой части 52 и гайки винта для предотвращения выступания первой боковой части 52 и гайки крепежного элемента за пределы верхней поверхности первой подпластины 421 второй поперечной балки 42.
[00145] Глубина пониженной второй боковой части 53 больше, чем глубина первой боковой части 52, то есть высота второй боковой части 53 меньше, чем высота первой боковой части 52. Со ссылкой на фиг.1, вторая боковая часть 53 опирается на внутреннюю боковую кромку верхней поверхности второй поперечной балки 42. Таким образом, все четыре стороны накрывающей пластины 5 могут поддерживаться, и условия несения нагрузки улучшаются.
[00146] Со ссылкой на фиг.15, машина для обработки белья содержит кожух 70 и соединительную пластину 80, расположенную под кожухом 70. Винтовой соединитель 100 В (винт или болт) проходит через соединительную пластину 80 и нижнюю стенку кожуха 70 снизу вверх для крепления соединительной пластины 80 к нижней части кожуха 70.
[00147] Машина для обработки белья соединена с основанием 10 через соединительную пластину 80.
[00148] В одном примере нижний конец винтового соединителя 100 В вставлен в позиционирующее отверстие 42b и проходит через позиционирующее отверстие 42b, а противоположные концы соединительной пластины 80 в направлении длины соединены с опорными стойками 2.
[00149] Форма позиционирующего отверстия 42b не ограничена. В одном примере форма позиционирующего отверстия 42b может включать, но не ограничивается этим, круглую форму, эллиптическую форму, многоугольную форму и т.д.
[00150] Со ссылкой на фиг.2, часть верхней стенки первой поперечной балки 41 углублена вниз и образует установочную канавку 41а, причем установочная канавка 41а проходит в направлении длины первой поперечной балки 41 и проходит в положение ниже позиционирующего отверстия 42b. Со ссылкой на фиг.18 и фиг.19, гайка винтового соединителя расположена в установочной канавке 41а.
[00151] Установочная канавка 41а может повышать прочность конструкции второй поперечной балки 42, а также может предотвращать увеличение расстояния между кожухом 70 и основанием 10 при размещении гайки винтового соединителя, так что соединительная пластина 80 может находиться в плотном контакте с верхней поверхностью первой поперечной балки 41. Таким образом, устройство для обработки белья может иметь небольшую общую высоту, и кожух 70 может более прочно опираться на основание 10.
[00152] В одном примере, со ссылкой на фиг.9, соединительная пластина 80 содержит первую соединительную подпластину 81 и вторую соединительную подпластину 82. Со ссылкой на фиг.6, 18 и 19, первая соединительная подпластина 81 находится в плотном контакте с нижней стенкой кожуха 70, а вторая соединительная подпластина 82 загнута вниз от кромки первой соединительной подпластины 81.
[00153] Угол между первой соединительной подпластиной 81 и второй соединительной подпластиной 82 является по существу прямым углом. Форма поперечного сечения соединительной пластины 80 в направлении, перпендикулярном направлению ее длины, представляет собой форму ''L'', которая проста по конструкции и имеет низкую стоимость.
[00154] Соединительная пластина 80 может быть выполнена из металла, и соединительная пластина 80 представляет собой листовую металлическую конструкцию. Таким образом, конструкция соединительной пластины 80 имеет хорошую прочность и проста в изготовлении.
[00155] Со ссылкой на фиг.6, вторая соединительная подпластина 82 расположена на боковой внешней стороне первой поперечной балки 41. Два конца второй соединительной подпластины 82 расположены на боковой внешней стороне опорной стойки 2, и винт проходит через вторую соединительную подпластину 82, первую поперечную балку 41 и опорную стойку 2 для крепления второй соединительной подпластины 82 к опорной стойке 2.
[00156] Во время сборки машины для обработки белья и основания 10 винтовой соединитель проходит через первую соединительную подпластину 81 и нижнюю стенку кожуха 70 с нижней стороны кожуха 70 для соединения соединительной пластины 80 и кожуха 70 вместе в единую конструкцию. Гайка винтового соединителя расположена на нижней стороне кожуха 70.
[00157] Затем указанную единую конструкцию помещают на основание 10, а нижний конец винтового соединителя вставляют в позиционирующее отверстие 42b и установочную канавку 41а, чтобы обеспечить грубое позиционирование единой конструкции относительно основания 10 и исключить возможность отклонения и смещения единой конструкции. Тогда вторая соединительная подпластина 82 прочно соединена с опорной стойкой 2.
[00158] В одном примере, со ссылкой на фиг.5, фиг.6 и фиг.9, часть первой соединительной подпластины 81 углублена вниз и образует первую углубленную часть 811, которая проходит в направлении длины первой соединительной подпластины 81. Первая углубленная часть 811 проходит в вышеуказанную установочную канавку 41а. Установочная канавка 41а выполняет функцию приема первой углубленной части 811. Первая углубленная часть 811 вставлена в установочную канавку 41а, и установочная канавка 41а ограничивает боковое проскальзывание первой соединительной подпластины 81 в направлении, перпендикулярном направлению ее длины, тем самым выполняя функцию ограничения положения первой соединительной подпластины 81.
[00159] В одном примере, со ссылкой на фиг.5, 6, 9 и 19, часть второй соединительной подпластины 82 углублена внутрь и образует вторую углубленную часть 821, которая проходит в направлении длины второй соединительной подпластины 82. Винт 100А проходит через вторую углубленную часть 821 и соединен с опорной стойкой 2. Наружная поверхность второй углубленной части 821 выполняет функцию размещения гайки винта 100А для предотвращения выступания гайки за пределы наружной поверхности второй соединительной подпластины 82.
[00160] В некоторых вариантах осуществления, со ссылкой на фиг.6 и 19, часть верхнего конца опорной стойки 2 углублена внутрь, а поперечная внешняя боковая стенка первой поперечной балки 41 углублена внутрь и образует углубленную кромку 41b, которая обеспечивает пространство для обхода для второй углубленной части 821.
[00161] В одном варианте осуществления нижняя стенка основной части 61 снабжена чистящей канавкой для очистки чистящих частей робота-уборщика, например, швабры. Чистящие части могут быть очищены водой и жидкостью в чистящей канавке без ручной чистки пользователем, что обеспечивает удобство использования.
[00162] В одном варианте осуществления узел основания содержит впускной клапан для воды и впускной трубопровод для воды. Впускной трубопровод для воды сообщается с чистящей канавкой, а впускной клапан для воды расположен во впускном трубопроводе для воды. Впускной трубопровод для воды выполнен с возможностью подачи воды в чистящую канавку. Впускной клапан для воды выполнен с возможностью закрытия или открытия впускного трубопровода для воды. Открытие и закрытие впускного клапана для воды может управляться контроллером для достижения автоматического впуска воды в чистящую канавку. Поток воды в чистящей канавке может регулироваться впускным клапаном для воды независимо, и на него не влияет вода, используемая машиной для обработки белья, и все, что нужно сделать, это подать электропитание на впускной клапан для воды. Таким образом, впускной клапан для воды может работать независимо, даже если машина для обработки белья не подключена к электросети. Аналогичным образом, расход воды машины для обработки белья может регулироваться независимо и не зависит от воды, используемой опорой.
[00163] В одном варианте осуществления впускной трубопровод для воды соединен с водопроводной трубой. С одной стороны, водопроводная труба непрерывно подает водопроводную воду в чистящую канавку. Таким образом, может быть исключен резервуар для воды или другие конструкции для подачи воды в чистящую канавку.
[00164] В одном варианте осуществления узел основания содержит канал для отвода воды и насос для отвода воды, канал для отвода воды соединен с чистящей канавкой и дренажным отверстием в полу, а насос для отвода воды расположен в канале для отвода воды для перекачивания отработанной воды в чистящей канавке для в дренажное отверстие в полу. Запуск и остановка насоса для отвода воды может управляться контроллером для обеспечения автоматического отвода отработанной воды из чистящей канавки.
[00165] В одном примере канал для отвода воды и труба для отвода воды машины для обработки белья могут быть соединены друг с другом посредством трехходового клапана для совместного использования дренажного отверстия в полу. То есть вода для стирки из машины для обработки белья и вода для очистки в чистящей канавке могут отводиться в канализацию через одно и то же дренажное отверстие в полу, и нет необходимости обеспечивать дренажные отверстия в полу для воды для стирки и воды для очистки, соответственно, тем самым экономя конструктивные детали.
[00166] В одном варианте осуществления узел основания содержит бутылку с моющим средством, которая сообщается с чистящей канавкой и расположена на опоре. Бутылка для моющего средства выполнена с возможностью распределения моющего средства по чистящей канавке, что позволяет лучше очищать чистящие детали.
[00167] В некоторых вариантах осуществления бутылка для моющего средства может быть одноразовым устройством, и после того, как моющее средство в бутылке для моющего средства израсходовано, бутылка для моющего средства может быть извлечена и заменена новой бутылкой для моющего средства. В некоторых других вариантах осуществления пользователь может заполнить моющее средство в бутылку для моющего средства, и бутылка для моющего средства может быть использована повторно, что обеспечивает экономию энергии и защиту окружающей среды.
[00168] В варианте осуществления узел основания содержит подающий насос, который расположен на опоре и выполнен с возможностью перекачивания моющего средства в бутылке для моющего средства в чистящую канавку. Моющее средство нагнетают подающим насосом для достижения автономной, количественной и точной подачи моющего средства, тем самым повышая степень автоматизации.
[00169] В одном варианте осуществления узел основания содержит зарядный терминал и компонент источника питания, электрически соединенный с зарядным терминалом, причем зарядный терминал расположен на периферийной поверхности приемной полости 61а. Когда робот-уборщик расположен в приемной полости 61а, робот-уборщик может быть электрически соединен с зарядным терминалом для выполнения зарядки робота-уборщика. Компонент источника питания выполнен с возможностью преобразования мощности переменного тока электрического источника в мощность постоянного тока, а зарядный терминал использует мощность постоянного тока для зарядки робота-уборщика.
[00170] В одном варианте осуществления узел основания содержит контроллер, расположенный на опоре. Контроллер выполнен с возможностью электрического управления электрическими устройствами, взаимодействующими с роботом-уборщиком, такими как впускной клапан для воды, подающий насос и т.д. Таким образом, электрические устройства, взаимодействующие с роботом-уборщиком, могут управляться независимо и не подвергаться воздействию электрических устройств, используемых для обработки белья. Электрическими устройствами можно управлять до тех пор, пока контроллер питается от источника питания. Таким образом, электрические устройства, взаимодействующие с роботом-уборщиком, могут работать независимо, даже если электрические устройства, используемые для обработки белья, не получают питания и не работают.
[00171] В одном варианте осуществления узел основания может содержать вентилятор и канал для сушки, расположенные на опоре. Канал для сушки соединяет вентилятор с приемной полостью 61а. Вентилятор вентилирует приемную полость 61а через канал для сушки, чтобы быстро высушить чистящие части робота-уборщика.
[00172] В описаниях по настоящей заявке описания ссылочных терминов ''вариант осуществления'', ''некоторые варианты осуществления'', ''пример'', ''конкретный пример'' или ''некоторые примеры'' или тому подобное означают, что конкретные признаки, конструкции, материалы или характеристики, описанные в сочетании с данным вариантом осуществления или примером, содержатся по меньшей мере в одном варианте осуществления или примере вариантов осуществления по настоящей заявке. В настоящей заявке схематические выражения указанных выше терминов не обязательно относятся к одному и тому же варианту осуществления или примеру. Кроме того, описанные конкретные признаки, конструкции, материалы или характеристики могут быть объединены подходящим образом в любом одном или более вариантах осуществления или примерах. Кроме того, специалисты в данной области техники могут объединять различные варианты осуществления или примеры, описанные в настоящей заявке, и признаки различных вариантов осуществления или примеров, не вступая в противоречие друг с другом.
[00173] Приведенные выше описания являются только предпочтительными вариантами осуществления по настоящей заявке и не предназначены для ограничения настоящей заявки. Специалисты в данной области техники могут подвергать данную заявку различным изменениям и модификациям. Любая модификация, эквивалентная замена, усовершенствование или т.п., выполненные в соответствии с духом и принципом настоящей заявки, должны входить в объем охраны настоящей заявки.
| название | год | авторы | номер документа |
|---|---|---|---|
| Устройство для обработки белья | 2020 |
|
RU2731611C1 |
| УСТРОЙСТВО ДЛЯ ОБРАБОТКИ БЕЛЬЯ | 2020 |
|
RU2727052C1 |
| УСТРОЙСТВО ДЛЯ ОБРАБОТКИ БЕЛЬЯ | 2020 |
|
RU2735226C1 |
| Устройство для обработки белья | 2020 |
|
RU2726727C1 |
| УСТРОЙСТВО ДЛЯ ОБРАБОТКИ БЕЛЬЯ | 2020 |
|
RU2729285C1 |
| Устройство для обработки белья | 2020 |
|
RU2728631C1 |
| УСТРОЙСТВО ОБРАБОТКИ БЕЛЬЯ | 2013 |
|
RU2596106C1 |
| УСТРОЙСТВО ДЛЯ ОБРАБОТКИ БЕЛЬЯ | 2020 |
|
RU2726684C1 |
| УСТРОЙСТВО ДЛЯ ОБРАБОТКИ БЕЛЬЯ | 2021 |
|
RU2841302C2 |
| УСТРОЙСТВО ОБРАБОТКИ БЕЛЬЯ | 2013 |
|
RU2607778C2 |
В вариантах осуществления по настоящей заявке предложено основание, узел основания и устройство для обработки белья. Основание содержит нижний пластинчатый элемент и конструктивный опорный элемент. Нижний пластинчатый элемент содержит субоснование, конструктивный опорный элемент образует пространство для размещения, расположенное над субоснованием и выполненное с возможностью размещения робота-уборщика. В передней части пространства для размещения имеется отверстие для доступа. Передняя кромка субоснования снабжена отгибом, который загнут вверх и содержит обходимую секцию вдоль направления ширины субоснования. Подъемная пластина расположена над обходимой секцией. Основание в соответствии с вариантом осуществления по настоящей заявке способствует размещению подъемной пластины, чтобы обойти обходимую секцию, и способствует снятию и установке подъемной пластины. Отгиб может повысить конструктивную прочность элемента субоснования. Пространство под машиной для обработки белья может быть использовано для размещения робота-уборщика. Это также способствует забору и отводу воды узлом основания за счет существующего забора и отвода воды машины для обработки белья. 3 н. и 17 з.п. ф-лы, 19 ил. 
1. Основание для устройства для обработки белья, содержащее нижний пластинчатый элемент и конструктивный опорный элемент, расположенный над нижним пластинчатым элементом,
нижний пластинчатый элемент содержит основную часть, конструктивный опорный элемент образует пространство для размещения, расположенное над основной частью и выполненное с возможностью размещения робота-уборщика, на передней стороне пространства для размещения предусмотрено отверстие для доступа,
передняя кромка основной части снабжена отгибом, который загнут вверх и содержит обходимую секцию вдоль направления ширины основной части, над обходимой секцией расположена подъемная пластина.
2. Основание по п. 1, в котором обходимая секция выполнена с возможностью иметь постоянную высоту в направлении длины отгиба.
3. Основание по п. 1, в котором обходимая секция является вогнутой и образует углубленную переднюю кромку.
4. Основание по п. 1, в котором в направлении ширины основной части отгиб содержит поднятую секцию, расположенную на правой стороне обходимой секции, и высота поднятой секции больше, чем высота обходимой секции.
5. Основание по п. 1, в котором по меньшей мере часть участка основной части углублена вниз и образует пониженный несущий участок, а передняя кромка пониженного несущего участка загнута вверх и образует отгиб.
6. Основание по п. 5, в котором высота обходимой секции меньше, чем высота неуглубленного участка основной части.
7. Основание по п. 5, в котором часть пониженного несущего участка выступает вверх с образованием по меньшей мере одного усиливающего ребра, высота усиливающего ребра меньше, чем высота неуглубленного участка основной части.
8. Основание по п. 7, в котором усиливающие ребра содержат множество усиливающих ребер, расположенных с интервалами в направлении спереди назад; каждое из усиливающих ребер содержит по меньшей мере одно первое усиливающее ребро и по меньшей мере одно второе усиливающее ребро, причем каждое из первых усиливающих ребер расположено на передней стороне каждого из вторых усиливающих ребер, а высота каждого из первых усиливающих ребер больше, чем высота каждого из вторых усиливающих ребер.
9. Основание по п. 8, в котором высота обходимой секции больше, чем высота каждого из вторых усиливающих ребер, и меньше, чем высота каждого из первых усиливающих ребер.
10. Основание по п. 5, в котором конструктивный опорный элемент содержит множество опорных стоек и множество поперечных балок, нижний конец каждой из опорных стоек поддерживается на неуглубленном участке основной части, а верхние концы опорных стоек соединены друг с другом поперечными балками.
11. Основание по п. 10, в котором нижний пластинчатый элемент содержит множество групп загнутых кромок, загнутых вверх от кромки неуглубленного участка, каждая из групп загнутых кромок содержит первую загнутую кромку и вторую загнутую кромку, внешняя сторона каждой из опорных стоек в направлении слева направо находится в контакте по меньшей мере с частью участка второй загнутой кромки и жестко соединена с ней, а внешняя сторона опорной стойки в направлении спереди назад находится в контакте по меньшей мере с частью участка первой загнутой кромки и жестко соединена с ней.
12. Основание по п. 11, в котором нижний пластинчатый элемент содержит множество соединительных загнутых кромок, загнутых вверх от кромки неуглубленного участка, соответственно, две вторые загнутые кромки на одной и той же стороне соединены друг с другом одной из соединительных загнутых кромок, а две первые загнутые кромки на задней стороне соединены друг с другом другой из соединительных загнутых кромок.
13. Основание по п. 12, в котором высота обходимой секции меньше, чем высота соединительной загнутой кромки.
14. Основание по п. 11, в котором часть второй загнутой кромки углублена в направлении стороны пространства для размещения и образует монтажный обходимый участок, который находится в контакте с опорными стойками, и крепежный элемент последовательно проходит через монтажный обходимый участок и опорные стойки.
15. Основание по п. 10, в котором две опорные стойки на одной и той же стороне и соответствующая поперечная балка между двумя опорными стойками выполнены в виде каркаса из листового металла, образованного путем сгибания одной и той же металлической пластины.
16. Основание по любому из пп. 1-15, в котором нижний пластинчатый элемент является цельной деталью из листового металла; и/или основание содержит накрывающую пластину, которая расположена на верхней стороне конструктивного опорного элемента и накрывает пространство для размещения.
17. Основание по п. 6, в котором высота над полом пониженного несущего участка меньше, чем высота над полом неуглубленного участка, и пониженный несущий участок выполнен с возможностью несения опоры.
18. Узел основания устройства для обработки белья, содержащий:
опору, снабженную приемной полостью для приема робота-уборщика, причем передний конец нижней стенки опоры снабжен подъемной пластиной; и
основание по любому из пп. 1-17, в котором опора расположена в пространстве для размещения, а подъемная пластина расположена над обходимой секцией.
19. Узел основания по п. 18, причем узел основания содержит пылесборник, расположенный на правой стороне приемной полости, и пылесборник расположен на правой стороне подъемной пластины.
20. Устройство для обработки белья, содержащее:
машину для обработки белья и
узел основания по п. 18 или 19, причем машина для обработки белья поддерживается конструктивным опорным элементом.
| CN 216776939 U, 21.06.2022 | |||
| CN 113598663 A, 05.11.2021 | |||
| WO 2019225950 A1, 28.11.2019 | |||
| РОБОТ-ПЫЛЕСОС | 2017 |
|
RU2699837C1 |
Авторы
Даты
2025-05-21—Публикация
2023-06-29—Подача