СИСТЕМЫ И СПОСОБЫ ОБРАБОТКИ ДАННЫХ СЕТЧАТОЧНОГО СИГНАЛА И ИДЕНТИФИКАЦИИ СОСТОЯНИЙ Российский патент 2025 года по МПК G16H50/20 A61B3/00 G06N7/06 

Описание патента на изобретение RU2840869C1

ПЕРЕКРЕСТНАЯ ССЫЛКА НА РОДСТВЕННЫЕ ЗАЯВКИ

[01] Данная заявка испрашивает приоритет предварительной патентной заявки США № 63/000,055, поданной 26 марта 2020 г., предварительной патентной заявки США № 63/038,257, поданной 12 июня 2020 г., и предварительной патентной заявки США № 63/149,508, поданной 15 февраля 2021 г., каждая из которых включена таким образом посредством ссылки в полном объеме.

ОБЛАСТЬ ТЕХНИКИ, К КОТОРОЙ ОТНОСИТСЯ ИЗОБРЕТЕНИЕ

[02] Настоящее изобретение относится к системам и способам обработки данных сетчаточного сигнала, генерируемых посредством световой стимуляции.

УРОВЕНЬ ТЕХНИКИ

[03] Клиницистам может понадобиться определить, подвержен ли пациент медицинскому состоянию, например, психиатрическому состоянию или неврологическому состоянию. Клиницист может сравнивать пациента с известными критериями для определения, какому состоянию подвержен пациент. В ряде случаев пациент может отвечать нескольким состояниям, и клиницисту может быть трудно или невозможно отличить состояния между собой. Может быть предпочтительно, чтобы клиницист имел инструмент, помогающий в определении и/или подтверждении, подвержен ли пациент медицинскому состоянию, и/или различении этих состояний.

[04] Задача настоящего изобретения состоит в преодолении по меньшей мере некоторых ограничений уровня техники.

СУЩНОСТЬ ИЗОБРЕТЕНИЯ

[05] варианты осуществления настоящего изобретения разработаны на основании соображений разработчиков в отношении некоторых недостатков существующих систем для определения медицинских состояний.

[06] Идентификация биомаркеров и/или биоподписей состояний, например, психиатрических, ментальных или неврологических состояний, например, шизофрении, биполярного расстройства или депрессии, может позволять специалистам в области здравоохранения производить более раннее определение состояния, идентифицировать состояние, которому подвержен пациент, при наличии нескольких возможных состояний и/или осуществлять раннее и, возможно, профилактическое вмешательство. Это раннее определение медицинского состояния может улучшать лечение пациентов и/или их прогноз.

[07] Варианты осуществления настоящего изобретения разработаны на основании наблюдения, сделанного разработчиками, что данные, полученные из электроретинограмм (ERG), позволяют усовершенствовать определение медицинских состояний. Однако существующие способы сбора и анализа электроретинограмм (ERG) позволяют собирать и анализировать лишь ограниченный объем информации из захваченных электрических сигналов. Было обнаружено, что увеличение объема собранной информации, касающейся реакции сетчатки на световую стимуляцию, позволило генерировать данные сетчаточного сигнала с более высокой плотностью информации, увеличенным объемом информации и/или дополнительными типами информации. Эти данные сетчаточного сигнала допускают мультимодальное отображение электрических сигналов и/или других данных и позволяет обнаруживать дополнительные особенности мультимодального отображения, характерные для некоторых состояний. Мультимодальное отображение может включать в себя несколько параметров данных сетчаточного сигнала, например, время, частоту, параметры световой стимуляции и/или любой другой параметр.

[08] Варианты осуществления настоящего изобретения формируют основу усовершенствованной методологии определения медицинских состояний на основе обработки данных сетчаточного сигнала, которая обеспечивает больший объем информации, большую плотность информации и/или дополнительные типы информационных деталей по сравнению с традиционными данными ERG, и которая называется здесь “обработка и анализ сетчаточного сигнала” (RSPA). Эти данные сетчаточного сигнала позволяют, в некоторых вариантах осуществления, осуществлять математическое моделирование массивов данных, содержащих большие объемы информации, идентифицировать особенности сетчаточного сигнала, дают возможность идентифицировать биомаркеры и/или биоподписи в данных сетчаточного сигнала с использованием, например, особенностей сетчаточного сигнала. Некоторые, несущественные, варианты осуществления настоящего изобретения также предусматривают способы сбора данных сетчаточного сигнала, которые имеют больший объем информации, большую плотность информации и/или дополнительные типы информации по сравнению с данные ERG.

[09] В некоторых вариантах осуществления настоящего изобретения, можно добиться более точного обнаружения некоторых медицинских состояний или более дискриминантного разграничения медицинских состояниях. Обнаружение медицинских состояний или дискриминантное разграничение между состояниями можно добиться в разнообразии родственных (например, пол, возраст, наступление заболевания, пигментация сетчатки, цвет радужной оболочки) и/или смешивающих факторов (например, наступление состояний, использование наркотиков, результаты некоторых лечебных процедур, эпизоды психоза, тревожность, депрессия, перекрытие признаков и симптомов, общих для нескольких расстройств). Повышение уровня детализации и/или увеличение количества особенностей сетчаточного сигнала для захвата и анализа оказывает прямое влияние на возможность идентифицировать биоподписи с использованием данных сетчаточного сигнала для лучшей дискриминации между состояниями, например, паталогическими состояниями, а также лучшего описания состояний по сравнению с контрольным (которое может именоваться непаталогическим состоянием). Например, варианты осуществления настоящих способов могут базироваться на данных сетчаточного сигнала, захваченных на более высокой частоте дискретизации и/или в течение более длительного периода времени по сравнению с традиционной ERG. Данные сетчаточного сигнала могут включать в себя дополнительные особенности, регистрируемые с электрическими сигналами, например, но без ограничения, импедансом, длиной волны света, спектром света или интенсивностью света, достигающего сетчатки. Захват дополнительной информации, на более высокой частоте дискретизации и/или данные, собранные с расширенным диапазоном световой стимуляции сетчатки в течение расширенного периода времени, и их многомерное представление, может именоваться «данные сетчаточного сигнала высокой плотности». Данные сетчаточного сигнала, захваченные с высокой плотностью, могут содержать больше информации, чем данные, захваченные ранее в ходе ERG (именуемой «традиционная ERG»). Данные сетчаточного сигнала могут быть независимыми от напряжения и/или независимыми от времени, в отличие от традиционной ERG.

[10] В некоторых вариантах осуществления, возможна более эффективная обработка данных сетчаточного сигнала с использованием данных сетчаточного сигнала высокой плотности. Преимущество данных сетчаточного сигнала высокой плотности по сравнению с традиционными данными ERG состоит в увеличенном объеме информации, связанной с электрическими сигналами и дополнительными особенностями сетчаточного сигнала, и, таким образом, более детализированной биоподписью. Таким образом более высокий уровень детализации позволяет лучше дискриминировать между разными состояниями и подготавливать ряд классификаторов, представляющих особенности биоподписи каждого состояния.

[11] Согласно первому аспекту настоящего изобретения, предусмотрен способ генерации математической модели, соответствующей первому состоянию, причем способ исполняется по меньшей мере одним процессором компьютерной системы, причем способ содержит: генерирование математической модели, соответствующей первому состоянию, причем способ исполняется по меньшей мере одним процессором компьютерной системы, причем способ содержит: прием множества массивов данных из помеченных данных сетчаточного сигнала, соответствующих множеству пациентов, при этом каждый массив данных содержит данные сетчаточного сигнала пациента и метку, причем метка указывает, подвержен ли пациент первому состоянию; извлечение набора особенностей из данных сетчаточного сигнала; выбор поднабора особенностей из набора особенностей, причем поднабор особенностей соответствует биомаркерам первого состояния; и определение, на основании поднабора особенностей, одного или более классификаторов, которые позволяют отличить первое состояние от второго состояния.

[12] В некоторых вариантах осуществления способа, набор особенностей содержит напряжение, импеданс цепи, время сбора сигналов, частоту дискретизации, время синхронизации световой стимуляции, смещение световой стимуляции или указания освещенных областей сетчатки.

[13] В некоторых вариантах осуществления способа, набор особенностей содержит положение глаза, размер зрачка, интенсивность применяемого освещения, частоту световой стимуляции, частоту дискретизации сетчаточного сигнала, длину волны освещения, время освещения, фоновую длину волны или фоновую освещенность.

[14] В некоторых вариантах осуществления способа, один или более классификаторов позволяют отличить биоподпись первого состояния от биоподписи второго состояния.

[15] В некоторых вариантах осуществления способа, способ дополнительно содержит ранжирование набора особенностей на основании релевантности каждой особенности биоподписи первого состояния, и при этом выбор поднабора особенностей содержит выбор особенностей наивысшего ранга из набора особенностей.

[16] В некоторых вариантах осуществления способа, способ дополнительно содержит: прием кофакторов клинической информации, соответствующих множеству пациентов, при этом каждый массив данных содержит кофакторы клинической информации пациента; и выбор поднабора клинических кофакторов, причем клинические кофакторы в поднаборе клинических кофакторов влияют на обнаружение биомаркеров.

[17] В некоторых вариантах осуществления способа, кофакторы клинической информации указывают возраст, пол, пигментацию кожи или цвет радужной оболочки соответствующего пациента.

[18] В некоторых вариантах осуществления способа, определение одного или более классификаторов содержит определение, на основании поднабора клинических кофакторов, одного или более классификаторов.

[19] В некоторых вариантах осуществления способа, способ дополнительно содержит генерирование математической модели на основании одного или более классификаторов.

[20] В некоторых вариантах осуществления способа, способ дополнительно содержит: ввод в математическую модель данных сетчаточного сигнала и кофакторов клинической информации, соответствующих пациенту; и вывод из математической модели предсказанной вероятности того, что пациент подвержен первому состоянию.

[21] В некоторых вариантах осуществления способа, способ дополнительно содержит: ввод в математическую модель данных сетчаточного сигнала и кофакторов клинической информации, соответствующих пациенту; и вывод из математической модели предсказанной вероятности того, что пациент не подвержен первому состоянию.

[22] В некоторых вариантах осуществления способа, первым состоянием является шизофрения, биполярное расстройство, большое депрессивное расстройство или психоз.

[23] В некоторых вариантах осуществления способа, первым состоянием является посттравматическое стрессовое расстройство, припадок, субстанциональная зависимость, обсессивно-компульсивное расстройство, болезнь Альцгеймера, болезнь Паркинсона, рассеянный склероз, аутизм или дефицитарное расстройство внимания.

[24] В некоторых вариантах осуществления способа, данные сетчаточного сигнала имеет частоту дискретизации от 4 до 24 кГц.

[25] В некоторых вариантах осуществления способа, данные сетчаточного сигнала собираются в течение времени сбора сигналов от 200 миллисекунд до 500 миллисекунд.

[26] В некоторых вариантах осуществления способа, данные сетчаточного сигнала содержат импедансную компоненту приемной цепи, непрерывно регистрируемую в ходе захвата данных сетчаточного сигнала.

[27] В некоторых вариантах осуществления способа, данные сетчаточного сигнала содержат один или более оптических параметров.

[28] В некоторых вариантах осуществления способа, оптические параметры содержат интенсивность световой стимуляции сетчатки или размер зрачка.

[29] Согласно другому аспекту настоящего изобретения, предусмотрен способ предсказания вероятности того, что пациент подвержен одному или более состояниям, причем способ исполняется по меньшей мере одним процессором компьютерной системы, причем способ содержит этапы, на которых: прием данных сетчаточного сигнала, соответствующих пациенту; извлечение, из данных сетчаточного сигнала, одной или более особенностей сетчаточного сигнала; извлечение, из особенностей сетчаточного сигнала, одного или более описателей; применение одного или более описателей к первой математической модели и второй математической модели, причем первая математическая модель соответствует первому состоянию, и вторая математическая модель соответствует второму состоянию, таким образом генерируя первую предсказанную вероятность для первого состояния и вторую предсказанную вероятность для второго состояния; и вывод первой предсказанной вероятности и второй предсказанной вероятности.

[30] В некоторых вариантах осуществления способа, способ дополнительно содержит отображение интерфейса, содержащего первую предсказанную вероятность и вторую предсказанную вероятность.

[31] В некоторых вариантах осуществления способа, способ дополнительно содержит сохранение первой предсказанной вероятности и второй предсказанной вероятности.

[32] В некоторых вариантах осуществления способа, способ дополнительно содержит массив данных сетчаточного сигнала.

[33] В некоторых вариантах осуществления способа, способ дополнительно содержит: получение кофакторов клинической информации, извлеченных из клинической информации, соответствующей пациенту; и применение кофакторов клинической информации к первой математической модели и второй математической модели.

[34] В некоторых вариантах осуществления способа, кофакторы клинической информации соответствуют возрасту, полу, пигментации кожи или цвету радужной оболочки пациента.

[35] В некоторых вариантах осуществления способа, данные сетчаточного сигнала имеет частоту дискретизации от 4 до 24 кГц.

[36] В некоторых вариантах осуществления способа, данные сетчаточного сигнала собираются в течение времени сбора сигналов от 200 миллисекунд до 500 миллисекунд.

[37] В некоторых вариантах осуществления способа, данные сетчаточного сигнала содержат импедансную компоненту приемной цепи, непрерывно регистрируемую в ходе захвата данных сетчаточного сигнала.

[38] В некоторых вариантах осуществления способа, данные сетчаточного сигнала содержат один или более оптических параметров.

[39] В некоторых вариантах осуществления способа, оптические параметры содержат интенсивность световой стимуляции сетчатки или размер зрачка.

[40] В некоторых вариантах осуществления способа, первым состоянием является медицинское состояние, и при этом вторым состоянием является контрольное состояние.

[41] В некоторых вариантах осуществления способа, первым состоянием или вторым состоянием является шизофрения, биполярное расстройство, большое депрессивное расстройство или психоз.

[42] В некоторых вариантах осуществления способа, первым состоянием или вторым состоянием является посттравматическое стрессовое расстройство, припадок, субстанциональная зависимость, обсессивно-компульсивное расстройство, болезнь Альцгеймера, болезнь Паркинсона, рассеянный склероз, аутизм или дефицитарное расстройство внимания.

[43] В некоторых вариантах осуществления способа, способ дополнительно содержит прием пользовательский ввод, указывающий выбор первого состояния и второго состояния.

[44] В некоторых вариантах осуществления способа, способ дополнительно содержит: выбор лекарства на основании первой предсказанной вероятности и второй предсказанной вероятности; и ввод лекарства пациенту.

[45] Согласно другому аспекту настоящего изобретения, предусмотрен способ определения биоподписи состояния, причем способ исполняется по меньшей мере одним процессором компьютерной системы, причем способ содержит: прием множества массивов данных из помеченных данных сетчаточного сигнала, соответствующих множеству пациентов, при этом каждый массив данных содержит данные сетчаточного сигнала пациента и метку, причем метка указывает, подвержен ли пациент состоянию; извлечение набора особенностей из данных сетчаточного сигнала; выбор поднабора особенностей из набора особенностей, причем поднабор особенностей соответствует биомаркерам состояния; и определение, на основании поднабора особенностей, одного или более классификаторов, которые идентифицируют биоподпись состояния.

[46] В некоторых вариантах осуществления способа, способ дополнительно содержит: прием кофакторов клинической информации, соответствующих множеству пациентов, при этом каждый массив данных содержит кофакторы клинической информации пациента; и выбор поднабора клинических кофакторов, причем клинические кофакторы в поднаборе клинических кофакторов влияют на обнаружение биомаркеров, и при этом определение одного или более классификаторов содержит определение, на основании поднабора клинических кофакторов, одного или более классификаторов.

[47] В некоторых вариантах осуществления способа, способ дополнительно содержит ранжирование набора особенностей на основании релевантности каждой особенности биоподписи первого состояния, и при этом выбор поднабора особенностей содержит выбор особенностей наивысшего ранга из набора особенностей.

[48] Согласно другому аспекту настоящего изобретения, предусмотрена система для предсказания вероятности того, что пациент подвержен одному или более состояниям, причем система содержит: световой стимулятор; один или более датчиков; компьютерную систему, содержащую систему, содержащую по меньшей мере один процессор и память, где хранится множество исполнимых инструкций, которые, при исполнении по меньшей мере одним процессором, предписывают системе: предписывать световому стимулятору подавать сигналы световой стимуляции на сетчатку пациента; собирать, через один или более датчиков, электрические сигналы в ответ на световую стимуляцию; генерировать, на основании электрических сигналов, данные сетчаточного сигнала, соответствующие пациенту; извлекать, из данных сетчаточного сигнала, одну или более особенностей сетчаточного сигнала; извлекать, из особенностей сетчаточного сигнала, один или более описателей; применять один или более описателей к первой математической модели и второй математической модели, причем первая математическая модель соответствует первому состоянию, и вторая математическая модель соответствует второму состоянию, таким образом генерируя первую предсказанную вероятность для первого состояния и вторую предсказанную вероятность для второго состояния; и выводить первую предсказанную вероятность и вторую предсказанную вероятность.

[49] В некоторых вариантах осуществления системы, данные сетчаточного сигнала содержат компоненту длины волны света регистрируемый в ходе захвата данных сетчаточного сигнала.

[50] В некоторых вариантах осуществления системы, данные сетчаточного сигнала содержат компоненту спектра света, регистрируемую в ходе захвата данных сетчаточного сигнала.

[51] В некоторых вариантах осуществления системы, данные сетчаточного сигнала содержат компоненту интенсивность света, регистрируемую в ходе захвата данных сетчаточного сигнала.

[52] В некоторых вариантах осуществления системы, данные сетчаточного сигнала содержат компоненту освещенной поверхности сетчатки, регистрируемую в ходе захвата данных сетчаточного сигнала. Компонента поверхности сетчатки может указывать освещенную область поверхности сетчатки.

[53] Согласно другому аспекту настоящего изобретения, предусмотрена система для предсказания вероятности того, что пациент подвержен одному или более состояниям, причем система содержит компьютерную систему, содержащую по меньшей мере один процессор и память, где хранится множество исполнимых инструкций, которые, при исполнении по меньшей мере одним процессором, предписывают компьютерной системе: принимать данные сетчаточного сигнала, соответствующие пациенту; извлекать, из данных сетчаточного сигнала, одну или более особенностей сетчаточного сигнала; извлекать, из особенностей сетчаточного сигнала, один или более описателей; применять один или более описателей к первой математической модели и второй математической модели, причем первая математическая модель соответствует первому состоянию, и вторая математическая модель соответствует второму состоянию, таким образом генерируя первую предсказанную вероятность для первого состояния и вторую предсказанную вероятность для второго состояния; и выводить первую предсказанную вероятность и вторую предсказанную вероятность.

[54] В некоторых вариантах осуществления системы, система дополнительно содержит световой стимулятор и один или более датчиков, и инструкции, при исполнении по меньшей мере одним процессором, предписывают компьютерной системе: предписывать световому стимулятору подавать сигналы световой стимуляции на сетчатку пациента; собирать, через один или более датчиков, электрические сигналы в ответ на световую стимуляцию; и генерировать, на основании электрических сигналов, данные сетчаточного сигнала.

[55] В некоторых вариантах осуществления системы, система дополнительно содержит дисплей, и при этом инструкции, при исполнении по меньшей мере одним процессором, предписывают системе выводить, через дисплей, интерфейс, содержащий первую предсказанную вероятность и вторую предсказанную вероятность.

[56] Согласно другому аспекту настоящего изобретения, предусмотрен способ отслеживания состояния пациента, причем способ исполняется по меньшей мере одним процессором компьютерной системы, причем способ содержит: прием данных сетчаточного сигнала, соответствующих пациенту; извлечение, из данных сетчаточного сигнала, одной или более особенностей сетчаточного сигнала; извлечение, из особенностей сетчаточного сигнала, одного или более описателей; применение одного или более описателей к математической модели, соответствующей состоянию, таким образом генерируя предсказанную вероятность для состояния; и вывод предсказанной вероятности.

[57] В некоторых вариантах осуществления способа, способ дополнительно содержит: выбор лекарства на основании предсказанной вероятности; и ввод лекарства пациенту.

[58] В некоторых вариантах осуществления способа, данные сетчаточного сигнала содержат данные сетчаточного сигнала, захваченные в ходе лечения пациента для состояния.

[59] В некоторых вариантах осуществления способа, состоянием является шизофрения, биполярное расстройство, большое депрессивное расстройство, психоз, посттравматическое стрессовое расстройство, припадок, субстанциональная зависимость, обсессивно-компульсивное расстройство, болезнь Альцгеймера, болезнь Паркинсона, рассеянный склероз, аутизм или дефицитарное расстройство внимания.

[60] В контексте настоящего описания изобретения, если явно не указано иное, под компьютерной системой подразумевается, но без ограничения, “электронное устройство”, “операционная система”, “система”, “компьютерная система”, “блок управления”, “устройство управления” и/или любая их комбинация пригодная для решения текущей задачи.

[61] В контексте настоящего описания изобретения, если явно не указано иное, выражение “компьютерно-считываемый носитель” и “память” призваны включать в себя носители любой природы и вида, неограничительные примеры которых включают в себя RAM, ROM, диски (CD-ROMs, DVDs, флоппи-диски, жесткие диски и т.д.), USB-ключи, карты флеш-памяти, твердотельные диски и лентопротяжные механизмы.

[62] В контексте настоящего описания изобретения, “база данных” представляет собой любой структурированный массив данных, независимо от его конкретной структуры, программное обеспечение управления базой данных или компьютерное оборудование, на котором хранятся данные, реализованные или иным образом сделанные доступными для использования. База данных может располагаться на том же оборудовании, что и процесс, который сохраняет или использует информацию, хранящуюся в базе данных, или может располагаться на отдельном оборудовании, например, специальном сервере или множестве серверов.

[63] В контексте настоящего описания изобретения, если явно не указано иное, слова “первый”, “второй”, “третий” и т.д. используются только как прилагательные, позволяющие отличать друг от друга однотипные существительные, но не в целях описания какого-либо конкретного соотношения между этими существительными.

[64] Каждый из вариантов осуществления настоящего изобретения имеет по меньшей мере один из вышеупомянутых задач и/или аспектов, не обязательно имеет их все. Следует понимать, что некоторые аспекты настоящего изобретения, обусловленные попытками решить вышеупомянутую задачу, могут не соответствовать этой задаче и/или могут соответствовать другим задачам, конкретно не упомянутым здесь.

[65] Дополнительные и/или альтернативные особенности, аспекты и преимущества вариантов осуществления настоящего изобретения явствуют из нижеследующего описания, прилагаемых чертежей и нижеследующей формуле изобретения.

КРАТКОЕ ОПИСАНИЕ ЧЕРТЕЖЕЙ

[66] Для лучшего понимания настоящего изобретения, а также других его аспектов и дополнительных особенностей, обратимся к нижеследующему описанию, которое подлежит использованию совместно с прилагаемыми чертежами, где:

[67] фиг. 1 - блок-схема иллюстративной вычислительной среды в соответствии с различными вариантами осуществления настоящего изобретения;

[68] фиг. 2 - блок-схема системы обработки сетчаточного сигнала в соответствии с различными вариантами осуществления настоящего изобретения;

[69] фиг. 3 - иллюстративная функциональная архитектура способа обработки информации, приводящего к построению математических функций для предсказания, подвержен ли пациент состоянию в соответствии с различными вариантами осуществления настоящего изобретения;

[70] фиг. 4 - блок-схема операций способа предсказания вероятности медицинского состояния в соответствии с различными вариантами осуществления настоящего изобретения;

[71] фиг. 5 - блок-схема операций способа генерации математической модели для предсказания, подвержен ли пациент состоянию в соответствии с различными вариантами осуществления настоящего изобретения;

[72] фиг. 6 - блок-схема операций способа тренировки алгоритма машинного обучения (MLA) для предсказания вероятности медицинского состояния в соответствии с различными вариантами осуществления настоящего изобретения;

[73] фиг. 7 - блок-схема операций способа использования MLA для предсказания вероятности медицинского состояния в соответствии с различными вариантами осуществления настоящего изобретения.

[74] фиг. 8-27 - примеры временно-частотного анализа и выбора дискриминантных областей на основании статистической значимости более высокой частоты в соответствии с различными вариантами осуществления настоящего изобретения;

[75] фиг. 28-42 - примеры выбора особенностей сетчаточного сигнала и отображения статистической значимости выбранных особенностей сетчаточного сигнала в соответствии с различными вариантами осуществления настоящего изобретения; и

[76] фиг. 43-58 - примеры выбора и отображения описателей на основании величины дискриминации между двумя состояниями, в соответствии с различными вариантами осуществления настоящего изобретения.

[77] Следует отметить, что, если здесь явно не указано иное, чертежи не выполнены в масштабе.

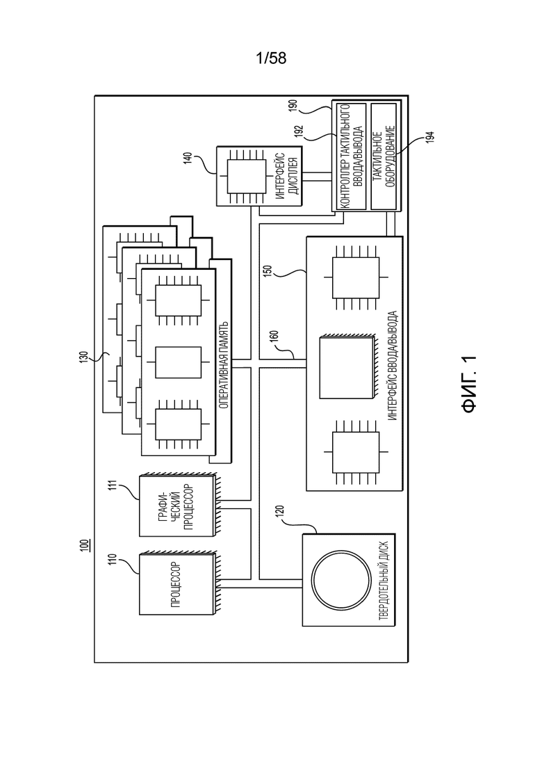
ПОДРОБНОЕ ОПИСАНИЕ

[78] Некоторые аспекты и варианты осуществления настоящего изобретения относятся к способам и системам обработки сетчаточных сигналов. В широком смысле, некоторые аспекты и варианты осуществления настоящего изобретения основаны на данных сетчаточного сигнала с более высокой плотностью, которые могут быть получены любым способом, например, увеличением количества состояний для световой стимуляции (например, количества и диапазон интенсивностей света), добавлением динамического сопротивления (импеданса) цепи, используемой для сбора электрических сигналов, захватом данных сетчаточного сигнала в течение более длительного периода времени и/или захватом данных сетчаточного сигнала на более высокой частоте. Настоящие компьютерно-реализуемые способы предусмотрены для анализа данных сетчаточного сигнала и извлечения особенностей сетчаточного сигнала, совместно используемых для дополнительного дешифрования биомаркеров и/или биоподписей для минимизации, снижения или устранения ограничений, свойственных уровню техники. В некоторых необязательных вариантах осуществления предусмотрены способы и системы захвата данных сетчаточного сигнала высокой плотности.

[79] Некоторые аспекты и варианты осуществления настоящего изобретения предусматривают способы и системы, которые могут анализировать данные сетчаточного сигнала и обеспечивать предсказанную вероятность для конкретных состояний с учетом количества разных кофакторов клинической информации. Состояния могут представлять собой психиатрические состояния, психологические состояния, неврологические состояния и/или медицинское состояние любого другого типа. Предсказанная вероятность может указывать, что пациент в настоящее время подвержен состоянию и/или что пациенту угрожает развитие состояния. Например, если родитель пациента подвержен состоянию, данные сетчаточного сигнала пациента можно анализировать для определения, насколько вероятно, что пациент подвержен тому же состоянию, что и его родитель.

[80] Описанные здесь системы и способы допускают полную или по меньшей мере частичную автоматизацию для минимизации ввода клинициста при определении медицинского состояния или плана лечения для медицинского состояния. Предсказания, выводимые описанными здесь системами и способами, могут использоваться в помощь клиницисту при определении медицинского состояния и/или разработке плана лечения для пациента.

[81] Описанные здесь системы и способы могут содержать генерирование математической модели для идентификации расстояния пациента от биоподписи состояния, посредством: 1) сбор данных сетчаточного сигнала от пациентов 2) помечания каждых данных сетчаточного сигнала пациента меткой, указывающей потенциальное медицинское состояние пациента (которое может быть диагностировано клиницистом), 3) извлечения особенностей сетчаточного сигнала из данных сетчаточного сигнала, 4) выбора поднабора особенностей, которые соответствуют биомаркерам состояния и/или 5) определения классификаторов, которые отличают биоподпись состояния от биоподписи других состояний. Биоподпись может содержать участки данных сетчаточного сигнала, характерные для состояния. Данные сетчаточного сигнала могут содержать несколько биоподписей, где каждая биоподпись характерна для состояния. Состоянием может быть, но без ограничения, шизофрения, биполярное расстройство, большое депрессивное расстройство, психоз, посттравматическое стрессовое расстройство, припадок, субстанциональная зависимость, обсессивно-компульсивное расстройство, болезнь Альцгеймера, болезнь Паркинсона, рассеянный склероз, аутизм, дефицитарное расстройство внимания, и/или любое другое состояние. Эти этапы могут использоваться для построения математической модели любого состояния, которая имеет биомаркер, внедренный в данные сетчаточного сигнала. Описанные здесь этапы сбора данных сетчаточного сигнала можно применять к анализу особенностей, характерных для любых состояний, которые выражаются в данных сетчаточного сигнала.

[82] Описанные здесь системы и способы могут содержать предсказание, подвержен ли пациент состоянию, посредством: 1) сбора данных сетчаточного сигнала пациента, 2) приема выбора состояний для обследования, 3) извлечения математических моделей, соответствующих выбранным состояниям, 4) извлечения особенностей сетчаточного сигнала из данных сетчаточного сигнала, 5) извлечения описателей из особенностей сетчаточного сигнала, где описатели относятся к биоподписям выбранных состояний в данных сетчаточного сигнала, 6) применения описателей к математическим моделям и/или 7) вывода предсказанных вероятностей того, что пациент подвержен каждому состоянию. Клиническую информацию пациента можно собирать. Кофакторы клинической информации могут генерироваться с использованием клинической информации. Кофакторы клинической информации также можно применять к математическим моделям.

[83] Описанные здесь системы и способы могут базироваться на данных сетчаточного сигнала, имеющих более высокий уровень информации по сравнению с данными, захваченными традиционной ERG. Собранные данные сетчаточного сигнала могут анализироваться с использованием математических и статистических вычислений для извлечения конкретных признаков сетчаточного сигнала. Особенности сетчаточного сигнала могут содержать параметры данных сетчаточного сигнала и/или особенности, генерируемые с использованием данных сетчаточного сигнала. Описатели могут извлекаться из особенностей сетчаточного сигнала. Графические представления полученных данных можно прорабатывать и выводить, и они могут обеспечивать визуальную поддержку вариантов выбора, сделанных при выборе релевантные особенности и/или описатели сетчаточного сигнала. Приложения могут применять математический и/или статистический анализ результатов, позволяя количественно определять эти особенности и/или описатели сетчаточного сигнала, и сравнения различных состояний. На основании данных сетчаточного сигнала и/или любой другой клинической информации, можно построить классификаторы, которые описывают биоподпись состояния, идентифицированного в данных сетчаточного сигнала. Данные сетчаточного сигнала пациента можно собирать, и расстояние между данными сетчаточного сигнала пациента и идентифицированными биоподписями можно определять, например, с использованием классификаторов.

Вычислительная среда

[84] На фиг. 1 показана вычислительная среда 100, которая может использоваться для осуществления и/или выполнения любого из описанных здесь способов. В некоторых вариантах осуществления, вычислительная среда 100 может быть реализована любым из традиционного персонального компьютера, сетевого устройства и/или электронного устройства (например, но без ограничения, мобильного устройства, планшетного устройства, сервера, блока управления, устройства управления и т.д.) и/или любой их комбинации, пригодной для решения текущей задачи. В некоторых вариантах осуществления, вычислительная среда 100 содержит различные аппаратные компоненты, включающие в себя один или более одно- или многоядерных процессоров, совместно представленные процессором 110, твердотельным диском 120, оперативной памятью 130 и интерфейсом 150 ввода/вывода. Вычислительная среда 100 может быть компьютером, специально предназначенным для выполнения алгоритма машинного обучения (MLA). Вычислительная среда 100 может быть универсальной компьютерной системой.

[85] В некоторых вариантах осуществления, вычислительная среда 100 также может быть подсистемой одной из вышеперечисленных систем. В некоторых других вариантах осуществления, вычислительная среда 100 может быть “готовой” универсальной компьютерной системой. В некоторых вариантах осуществления, вычислительная среда 100 также может быть распределена между несколькими системами. Вычислительная среда 100 также может быть специально предназначена для реализации настоящего изобретения. Специалист в данной области техники может предложить несколько вариантов реализации вычислительной среды 100, не выходящих за рамки объема настоящего изобретения.

[86] Специалистам в данной области техники очевидно, что процессор 110 обычно представляет обрабатывающую способность. В некоторых вариантах осуществления, вместо или помимо одного или более традиционных центральных процессоров (CPU), можно обеспечивать одно или более специализированных ядер обработки. Например, помимо или вместо одного или более CPU можно обеспечить один или более графических процессоров 111 (GPU), тензорных процессоров (TPU) и/или других так называемых ускоренных процессоров (или ускорителей обработки).

[87] Системная память обычно включают в себя оперативную память 130, но в более общем случае призвана охватывать системную память любого типа, например, статическую оперативную память (SRAM), динамическую оперативную память (DRAM), синхронную DRAM (SDRAM), постоянную память (ROM) или их комбинацию. Твердотельный диск 120 показан в качестве примера запоминающего устройства большой емкости, но в более общем случае такое хранилище данных большой емкости может содержать запоминающее устройство любого типа, выполненное с возможностью хранения данных, программ и другой информации, и делать данные, программы и другую информацию доступными через системную шину 160. Например, хранилище данных большой емкости может содержать один или более из твердотельного диска, жесткого диска, привод магнитных дисков и/или привод оптических дисков.

[88] Связь между различными компонентами вычислительной среды 100 может обеспечиваться системной шиной 160, содержащий одну или более внутренних и/или внешних шин (например, шину PCI, универсальную последовательную шину, шину IEEE 1394 “Firewire”, шину SCSI, шину Serial-ATA, шину ARINC и т.д.), к которой электронно подключены различные аппаратные компоненты.

[89] Интерфейс 150 ввода/вывода обеспечивает сетевые возможности, например, проводной или беспроводной доступ. В качестве примера, интерфейс 150 ввода/вывода может содержать сетевой интерфейс, например, но без ограничения, сетевой порт, сетевой сокет, контроллер сетевого интерфейса и пр. Специалисты в данной области техники могут предложить несколько вариантов реализации сетевого интерфейса. Например, сетевой интерфейс может реализовать конкретные стандарты физического уровня и канального уровня, например, Ethernet, Fibre Channel, Wi-Fi, Token Ring или последовательные протоколы связи. Конкретный физический уровень и канальный уровень могут обеспечивать основу для полного сетевого стека протоколов, обеспечивая связь между малыми группами компьютеров в одной и той же локальной сети (LAN) и крупномасштабную сетевую связь через маршрутизируемые протоколы, например, интернет-протокол (IP).

[90] Интерфейс 150 ввода/вывода может подключаться к сенсорному экрану 190 и/или к одной или более внутренних и/или внешних шин 160. Сенсорный экран 190 может входить в состав дисплея. В некоторых вариантах осуществления, сенсорный экран 190 является дисплеем. Сенсорный экран 190 может также именоваться экраном 190. Согласно вариантам осуществления, проиллюстрированным на фиг. 1, сенсорный экран 190 содержит тактильное оборудование 194 (например, ячейки, чувствительные к давлению, внедренные в слой дисплея, позволяющие обнаруживать физическое взаимодействие между пользователем и дисплеем) и контроллером 192 тактильного ввода/вывода, обеспечивающее связь с интерфейсом 140 дисплея и/или одной или более внутренних и/или внешних шин 160. В некоторых вариантах осуществления, интерфейс 150 ввода/вывода может подключаться к клавиатуре (не показана), мыши (не показана) или сенсорной панели (не показана), позволяя пользователю взаимодействовать с вычислительным устройством 100 помимо или вместо сенсорного экрана 190.

[91] Согласно некоторым реализациям настоящего изобретения, твердотельный диск 120 сохраняет программные инструкции, пригодные для загрузки в оперативную память 130 и исполняемые процессором 110 для выполнения действий описанных здесь одного или более способов. Например, по меньшей мере некоторые из программных инструкций могут входить в состав библиотеки или приложения.

Система обработки сетчаточного сигнала

[92] На фиг. 2 показана блок-схема системы 200 обработки сетчаточного сигнала в соответствии с различными вариантами осуществления настоящего изобретения. Система 200 обработки сетчаточного сигнала может собирать данные сетчаточного сигнала от пациента. Как описано выше, по сравнению с традиционной ERG, данные сетчаточного сигнала, захваченные с использованием системы 200 обработки сетчаточного сигнала может содержать дополнительные особенности и/или данные, например, импеданс, более высокую частоту измерения, расширенный диапазон световой стимуляции сетчатки и/или более длительное время измерения. Система 200 обработки сетчаточного сигнала может обрабатывать и/или анализировать собранные данные. Система 200 обработки сетчаточного сигнала может выводить предсказанную вероятность того, что пациент подвержен данному состоянию, например, медицинскому состоянию.

[93] Нужно отчетливо понимать, что описанная система 200 является всего лишь иллюстративной реализацией настоящего изобретения. Таким образом, в нижеприведенном описании представлены лишь иллюстративные примеры настоящего изобретения. Это описание не служит для задания объема или границ применения настоящего изобретения. В ряде случаев, предположительно полезные примеры модификаций системы 200 также могут быть изложены ниже. Это делается лишь как помощь в понимании, и, опять же, не для задания объема или границ применения настоящего изобретения. Этот перечень модификацией не является исчерпывающим, и, как понятно специалисту в данной области техники, возможны другие модификации. Дополнительно, когда это не сделано (т.е. когда не приведено ни одного примера модификаций), не следует думать, что никакие модификации не возможны и/или что был описан единственный способ реализации этого элемента настоящего изобретения. Как понятно специалисту в данной области техники, это, вероятно, не тот случай. Кроме того, следует понимать, что система 200 может обеспечивать в ряде случаев простую реализацию настоящего изобретения, и если бы это было так, они были представлены в соответствии с этим способом в качестве помощи для понимания. Как понятно специалистам в данной области техники, различные реализации настоящего изобретения могут быть более сложными.

[94] Система 200 обработки сетчаточного сигнала может содержать световой стимулятор 205, которым может быть оптический стимулятор, для подачи сигналов световой стимуляции на сетчатку пациента. Система 200 обработки сетчаточного сигнала может содержать датчик 210 для сбора электрических сигналов, которые возникают в ответ на оптическую стимуляцию. Система 200 обработки сетчаточного сигнала может содержать систему 215 сбора данных, которая может быть вычислительной средой 100, для управления световым стимулятором 205 и/или сбора данных, измеренных датчиком 210. Например, световой стимулятор 205 и/или датчик 210 может быть коммерчески доступной системой ERG, например, Espion Visual Electrophysiology System от DIAGNOSYS, LLC или UTAS и системами RETEVAL производства LKC TECHNOLOGIES, INC.

[95] Световой стимулятор 205 может представлять собой любого вида источник или источники света, которые, самостоятельно или совместно, могут генерировать свет в указанном диапазоне длины волны, интенсивности, частоты и/или длительности. Световой стимулятор 205 может направлять генерируемый свет на сетчатку пациента. Световой стимулятор 205 может содержать светодиоды (LEDs) совместно с другими источниками света, например, одной или более ксеноновыми лампами. Световой стимулятор 205 может обеспечивать фоновый источник света.

[96] Световой стимулятор 205 может быть выполнен с возможностью подавать сигнал световой стимуляции на сетчатку пациента. Собранные данные сетчаточного сигнала могут зависеть от условий световой стимуляции. Чтобы максимизировать возможность генерировать релевантные особенности сетчаточного сигнала в данных сетчаточного сигнала, световой стимулятор 205 может быть выполнен с возможностью обеспечивать самые разные условия освещения. Световой стимулятор 205 может быть выполнен с возможностью управления фоновым светом и/или светом стимуляции, направленным на сетчатку в качестве вспышек света.

[97] Световой стимулятор может содержать любые источники света, способные генерировать световые пучки, отличающиеся длиной волны (например, от около 300 до около 800 нанометров), интенсивностью света (например, от около 0,001 до около 3000 кд⋅с/м2), временем освещения (например, от около 1 до около 500 миллисекунд), временем между последовательными вспышками света (например, от около 0,2 до около 50 секунд) с разными фоновыми длинами волны (например, от около 300 до около 800 нанометров) и фоновой освещенностью (например, от около 0,01 до около 900 кд/м2).

[98] Система 200 обработки сетчаточного сигнала может содержать датчик 210. Датчик 210 может быть выполнен с возможностью обнаружения электрических сигналов от сетчатки. Датчик 210 может содержать один или более электродов. Датчиком 210 может быть электроретинографический датчик. Заземляющий электрод может располагаться на коже посередине лба. Референтный электрод для каждого глаза может располагаться на мочках ушей или височных зонах вблизи глаз или других участках кожи.

[99] Электрические сигналы от сетчатки могут инициироваться посредством световой стимуляции от светового стимулятора 205 и собираться датчиком 210 в качестве данных сетчаточного сигнала. Данные сетчаточного сигнала могут собираться датчиком 210, например, электродом, расположенным на глазном яблоке или в окологлазных областях. Свет может инициировать электрический сигнал малой амплитуды, генерируемый сетчаточными клетками пациента. В зависимости от природы света (например, интенсивности, длины волны, спектра, частоты и длительности вспышек) и условий световой стимуляции (например, фонового света, адаптации к темноте или свету индивида, подвергнутого этому процессу), могут генерироваться разные электрические сигналы, поскольку разные типы сетчаточных клеток будут инициироваться. Этот сигнал распространяется в глазу и в конце концов достигает зрительной зоны мозга через оптический нерв. Однако, как и любой электрический сигнал, он распространяется во всех возможных направлениях в зависимости от электропроводности тканей. Таким образом, электрический сигнал можно собирать в тканях за пределами глазного яблока, доступных извне, например, конъюнктиве.

[100] Существует несколько типов электродов, которые могут использоваться для сбора электрического сигнала. Они основаны на конкретное электропроводности и геометрии проволоки. Следует понимать, что возможны разнообразные конструкции регистрирующих электродов и что может использоваться любая пригодная конструкция или комбинация конструкций датчика 210. Датчик 210 может содержать контактную линзу, золотую фольгу, золотую проволоку, роговичный фитиль, проволочные петли, микроволокна, и/или кожные электроды. Каждый тип электрода имеет свои собственные характеристики регистрации и собственные артефакты.

[101] Помимо датчика 210, система 200 также может включать в себя другие устройства для отслеживания положения глаза и/или размера зрачка, которые оказывают влияние на количество света, достигающего сетчатки и, таким образом, на электрический сигнал, инициируемый в ответ на этот стимул. Система 200 может включать в себя датчики для регистрации длины волны света, спектра света и/или интенсивности света, например, спектрометр и/или фотодатчик.

[102] Электрический сигнал может быть получен между активным глазным электродом (расположенным на глазу) и референтным электродом, с дифференциальной регистрацией от заземляющего электрода. Электроды датчика 210 могут подключаться к системе 215 сбора данных, которое может содержать устройство записи. Система 215 сбора данных может допускать усиление электрических сигналов и/или преобразование электрических сигналов в цифровые сигналы для дополнительной обработки. Система 215 сбора данных может реализовать процессы частотной фильтрации, которая может применяться к электрическим сигналам от датчика 210. Система 215 сбора данных может сохранять электрические сигналы в базе данных в формате напряжения в зависимости от моментов времени.

[103] Система 215 сбора данных может быть выполнена с возможностью принимать измеренные электрические сигналы пациента, например, от датчика 210, и/или данные стимулирующего света, например, от светового стимулятора 205, и сохранять эти собранные данные в качестве данных сетчаточного сигнала. Система 215 сбора данных может оперативно подключаться к световому стимулятору 205, который может быть выполнен с возможностью инициировать электрические сигналы и подавать данные в систему 215 сбора данных. Система 215 сбора данных может синхронизировать световую стимуляцию с захватом и регистрацией электрического сигнала.

[104] Собранные данные можно подавать в систему 215 сбора данных любым пригодным способом, например, через запоминающее устройство (не показано) и/или сеть. Система 215 сбора данных может подключаться к датчику 210 и/или световому стимулятору 205 через сеть связи (не показана). Сетью связи может быть интернет и/или интрасеть. Специалисты в данной области техники могут предложить несколько вариантов осуществления сети связи.

[105] Данные сетчаточного сигнала могут содержать данные электрической характеристики (например, напряжение и импеданс цепи), собранные в течение нескольких времен сбора сигнала (например, от 5 до 500 миллисекунд) на нескольких частотах дискретизации (например, от 0,2 до 24 кГц) с временем синхронизации световой стимуляции (временем вспышки) и/или смещением (напряжение и импеданс базовой линии до световой стимуляции). Система 215 сбора данных может собирать данные сетчаточного сигнала на частотах (т.е. частоте дискретизации) от 4 до 16 кГц или выше. Эта частота может быть выше, чем в традиционной ERG. Данные электрической характеристики можно собирать непрерывно или время от времени.

[106] Система 215 сбора данных может содержать датчик процессор для измерения импеданса электрической цепи, используемой для сбора данных сетчаточного сигнала. Импеданс электрической цепи может регистрироваться одновременно с захватом других электрических сигналов. Собранные данные импеданса могут храниться в данных сетчаточного сигнала. Способ определения импеданса цепи одновременно с захватом электрических сигналов может базироваться на процессе инжекции опорного сигнала известных частоты и амплитуды через канал регистрации электрических сигналов. Затем этот опорный сигнал может отфильтроваться отдельно и обрабатываться. Путем измерения величины выхода на частоте сигнала возбуждения, можно вычислять импеданс электрода. Затем импеданс можно использовать как со-переменную для повышения плотности сигнала с сопротивлением цепи в каждый момент времени регистрации электрических сигналов.

[107] Система 220 анализа данных может обрабатывать данные, собранные системой 215 сбора данных. Система 220 анализа данных может извлекать особенности и/или описатели сетчаточного сигнала из данных сетчаточного сигнала, и/или осуществлять любую другую обработку на данных сетчаточного сигнала. Система 220 анализа данных может принимать клиническую информацию пациента и/или извлекать кофакторы клинической информации из клинической информации.

[108] Система 225 вывода предсказания может принимать данные из системы 220 анализа данных и генерировать выход для использования клиницистом. Выходом может быть выходной пользовательский интерфейс, отчет или другой документ и т.д. Выход может указывать предсказанную вероятность того, что пациент подвержен одному или более состояниям. Для каждого состояния, выход может указывать предсказанную вероятность того, что пациент подвержен этому состоянию. Выход может указывать подверженность пациента патологии. Выход может использоваться клиницистом для помощи при определении, подвержен ли пациент медицинскому состоянию и/или определении, какому медицинскому состоянию подвержен пациент.

[109] К системе 215 сбора данных, системе 220 анализа данных и/или системе 225 вывода предсказания могут обращаться один или более пользователей, например, через свои соответствующие клиники и/или через сервер (не показан). Система 215 сбора данных, система 220 анализа данных и/или система 225 вывода предсказания также может быть подключена к программному обеспечению управления назначениями, которая может планировать назначения или последующее врачебное наблюдение на основании определения состояния вариантами осуществления системы 200.

[110] Система 215 сбора данных, система 220 анализа данных и/или система 225 вывода предсказания могут распределяться между несколькими системами и/или объединяться в систему или несколько систем. Система 215 сбора данных, система 220 анализа данных и/или система 225 вывода предсказания могут быть географически распределены.

[111] Описанные здесь системы и способы могут содержать: 1) извлечение данных сетчаточного сигнала, собранных от нескольких индивидов, например, из памяти компьютерной системы, 2) извлечение и/или генерирование особенностей сетчаточного сигнала из данных сетчаточного сигнала, например, напряжения, импеданса цепи, времен сбора сигнала, частот дискретизации, время и/или смещение синхронизации световой стимуляции и/или данных любого другого типа, которые можно извлекать из данных сетчаточного сигнала или генерировать с использованием данных сетчаточного сигнала, 3) объединение особенностей сетчаточного сигнала с кофакторами из клинической информации, относящейся к состояниям, наблюдаемым у соответствующего индивида, 4) выбор особенностей сетчаточного сигнала из извлеченных особенностей и объединенных особенностей и определение иерархии с ранжированием в зависимости от релевантности особенностей сетчаточного сигнала, 5) сборка этой информации в математические описатели, 6) оценивание классификаторов из этих математических описателей, 7) построение математических доменов классификаторов, относящихся к этим состояниям, и/или 8) получение функций плотности из этих классификаторов.

[112] Математические описатели могут быть математическими функциями, объединяющими особенности из данных сетчаточного сигнала и/или клинических кофакторов. Описатели могут указывать особенность сетчаточного сигнала, характерную для состояния или популяции ввиду дополнительной дискриминации между группами пациентов. Примеры описателей, которые могут использоваться, включают в себя перекос, эксцесс, компактность, собственные векторы, координаты центроида, локальные двоичные шаблоны, коэффициенты регрессии временного ряда, спектральную энтропию, квантовую энтропию в любой форме, энтропию Реньи, энтропию фон Неймана, энтропию Хартли, энтропию Цаллиса, унифицированную энтропию, моменты Ху, особенности Харалика и/или функции на основе собственных значений. Описатели могут использоваться для получения классификаторов. Классификаторы могут представлять собой математические или статистические функции, которые используют описатели для отображения данных в категорию или класс информации путем ранжирования описателей согласно их статистической значимости. Описатели могут ранжироваться на основании своей релевантности для изображения конкретных компонентов биоподписи. Описатели могут группироваться в каталог описателей. Каталог описателей может использоваться во время тренировки MLA.

[113] Описанные здесь системы и способы могут содержать: 1) извлечение данных сетчаточного сигнала, собранных от индивида, например, из памяти компьютерной системы, 2) извлечение и/или генерирование особенностей сетчаточного сигнала из данных сетчаточного сигнала, например, напряжения, импеданса цепи, времен сбора сигнала, частот дискретизации, время и/или смещение синхронизации световой стимуляции и/или данных любого другого типа, которые можно извлекать из данных сетчаточного сигнала или генерировать с использованием данных сетчаточного сигнала, 3) объединение особенностей сетчаточного сигнала с кофакторами из клинической информации, относящейся к состояниям, наблюдаемым у индивида, 4) вычисление вероятностей того, что индивид принадлежит одному или нескольким доменам (т.е. подвержен состоянию) и/или 5) определение математической близости к тем доменам для этого индивида как предсказанной вероятности того, что пациент подвержен состоянию, соответствующему домену.

[114] Клиническая информация может включать в себя информацию, указывающую состояния общего здоровья индивида, например, информацию, касающуюся сопутствующих заболеваний, лечебных процедур, предыдущих медицинских состояний, употребления кофе, алкоголя или табака, субстанциональной зависимости и/или любые другие данные состояния общего здоровья. Клиническая информация может включать в себя информацию, связанную с конкретными психиатрическими состояниями, например, информацию из структурированных опросников, характерную для психиатрических болезней. Эти структурированные опросники могут включать в себя вопросы, связанные с тревожностью, компонентами эмоций и настроения, когнитивными нарушениями, чувствами, привычками, галлюцинациями, поведенческими реакциями и/или другие вопросы, относящиеся к психиатрическим болезням. Из клинической информации могут извлекаться кофакторы клинической информации, например, кофакторы клинической информации, указывающие возраст, пол, цвет радужной оболочки и/или пигментацию кожи вместо пигментации сетчатки и т.д.

[115] Данные сетчаточного сигнала могут содержать несколько биоподписей, где каждая биоподпись характерна для состояния. Биоподпись, соответствующую состоянию для данного пациента, можно идентифицировать с использованием классификаторов. Состояние может быть психиатрическим состоянием, например, но без ограничения, биполярным расстройством, шизофренией и депрессией. Состояние также может быть неврологическим состоянием, непсихиатрическим состоянием или угрозой такого состояния. Описанные здесь этапы анализа данных сетчаточного сигнала можно применять к анализу особенностей сетчаточного сигнала, характерных для любых состояний, которые выражаются в данных сетчаточного сигнала.

[116] Графические представления полученных данных можно прорабатывать и выводить, и они могут обеспечивать визуальную поддержку вариантов выбора, сделанных при выборе особенностей сетчаточного сигнала, для использования в математических моделях. Приложения могут применять математический и/или статистический анализ результатов для оценивания пригодности данных, устойчивости информации и точности результатов, генерируемых в ходе процесса анализа.

[117] Особенности сетчаточного сигнала, извлеченные из регистрируемых данных сетчаточного сигнала, могут содержать электрические параметры, например, напряжение и импеданс цепи, времена сбора сигнала (например, от 5 до 500 миллисекунд), частоты дискретизации (например, от 0,2 до 24 кГц), время синхронизации световой стимуляции (время вспышки) и смещение (напряжение и импеданс базовой линии до световой стимуляции), освещенные области сетчатки и/или другие особенности сетчаточного сигнала, влияющие на данные сетчаточного сигнала. Особенности сетчаточного сигнала могут генерироваться на основании извлеченных особенностей сетчаточного сигнала, например, путем осуществления математической операции на одной или более из извлеченных особенностей сетчаточного сигнала. Особенности сетчаточного сигнала, извлеченные из данных сетчаточного сигнала, могут включать в себя данные, связанные с сетчаточным сигналом, например, положение глаза, размер зрачка, расстояние от источника света до глаза или части глаза (зрачка, сетчатки) и/или параметры применяемого освещения (интенсивность, длину волны, спектр, частоту световой стимуляции, частоту дискретизации сетчаточного сигнала, длину волны, время освещения, фоновую длину волны, фоновую освещенность). Особенности сетчаточного сигнала могут быть независимыми от напряжения и/или независимыми от времени. Все или часть этих особенностей можно анализировать с использованием описанных здесь систем и способов.

Способы обработки данных сетчаточного сигнала

[118] На фиг. 3 показана иллюстративная функциональная архитектура способа 300 обработки информации, приводящего к построению математических функций для предсказания, подвержен ли пациент состоянию. Способ 300 может использоваться для моделирования математических доменов информации из данных сетчаточного сигнала, собранных от пациентов, подверженных состояниям. Полностью или частично способ 300 может выполняться на этапе 310 ввода информации, этапе 320 извлечения особенностей, этапе 330 выбора и размещения особенностей, этапе 340 взвешивания и сборки особенностей, этапе 350 ранжирования и дискриминации классификаторов, этапе 360 сопоставления и/или этап 370 вывода предсказания.

[119] Данные сетчаточного сигнала и собранная клиническая информация может обрабатываться по-разному в зависимости от уровня и специфичности информации. Особенностями сетчаточного сигнала могут быть классы или категории индикаторов придаваемые пояснительными переменными атрибутам. Описателями могут быть релевантные особенности, характерные для состояния или популяции, которые определяются после процесса дискриминации. Классификаторы могут представлять собой математические или статистические функции, которые используют описатели для отображения данных в категорию или класс после процесса ранжирования. Зоны можно идентифицировать как поднабор диапазонов математических функций или сбор функций, построенных с классификаторами. Домен можно идентифицировать как зону, характерную для состояния.

[120] Нужно отчетливо понимать, что функциональная архитектура, изображенная на фиг. 3, является всего лишь иллюстративной реализацией настоящего изобретения. Таким образом, в нижеприведенном описании представлены лишь иллюстративные примеры настоящего изобретения. Это описание не служит для задания объема или границ применения настоящего изобретения.

[121] В ряде случаев, предположительно полезные примеры модификаций функциональной архитектуры, изображенной на фиг. 3, также могут быть изложены ниже. Это делается лишь как помощь в понимании, и опять же не для задания объема или границ применения настоящего изобретения. Этот перечень модификацией не является исчерпывающим, и, как понятно специалисту в данной области техники, возможны другие модификации. Дополнительно, когда это не сделано (т.е. когда не приведено ни одного примера модификаций), не следует думать, что никакие модификации не возможны и/или что был описан единственный способ реализации этого элемента настоящего изобретения. Как понятно специалисту в данной области техники, это, вероятно, не тот случай. Кроме того, следует понимать, что функциональная архитектура, изображенная на фиг. 3 могут обеспечивать, в ряде случаев, простую реализацию настоящего изобретения, и если бы это было так, они были представлены в соответствии с этим способом в качестве помощи для понимания. Как понятно специалистам в данной области техники, различные реализации настоящего изобретения могут быть более сложными.

[122] В одном или более аспектах, способ 300 или один или более его этапов может осуществляться вычислительной системой, например, вычислительной средой 100. Способ 300 или один или более его этапов могут быть реализованы в компьютерно-исполняемых инструкциях, которые хранятся на компьютерно-считываемом носителе, например, запоминающем устройстве большой емкости, загружаться в память и исполняться на CPU. Способ 300 является иллюстративным, и следует понимать, что некоторые этапы или часть этапов в схеме могут быть опущены и/или переставлены в другом порядке.

[123] В некоторых вариантах осуществления, возможность конкретного математического моделирования состояния поддерживается графическим представлением доменов информации, характерных для состояний, которые рассматривались в ходе демонстраций и затем использовались для описания понятия математических доменов. Результаты анализов устойчивости и точности используются для демонстрации релевантности и специфичности математических доменов, построенных согласно настоящему изобретению.

[124] За счет увеличения стратегии анализа до дополнительных вычислительных процессов, с последующим генерированием дополнительных математических описателей, способы дешифрования биоподписи, включенной в данные сетчаточного сигнала, могут обогащаться.

Ввод информации

[125] На этапе 311 ввод информации может осуществляться с использованием собранных данных сетчаточного сигнала с устранением или без устранения артефактов, которые могут включать в себя искаженные сигналы, помехи и/или артефакты любого другого типа. Артефакты могут возникать по одной или более причинам: непреднамеренный захват электрических сигналов, исходящих не от сетчатки, сдвиги при размещении глазного электрода, изменения в контакте заземляющего или референтного электрода, моргание и/или движения глаз.

[126] На этапе 312 собранные данные сетчаточного сигнала могут преобразоваться, например, посредством транспозиции данных сетчаточного сигнала в другую одномерную или многомерную шкалу, например, масштабирования, сдвига, преобразования с помощью элементарных функций (например, логарифмической, полиномиальной, степенной, тригонометрической), временного ряда (приводящего к изменению формы распределения), вейвлет-преобразований (приводящих к шкалограммам), эмпирического разложения на моды (приводящего к функциям разложения на внутренние моды (IMF)), градиентных преобразований (приводящих к вектору) и/или разложения на ядра (приводящего к изменению формы распределения и/или шкал длины и дисперсий сигнала). Фильтрация (с конечной импульсной характеристикой, бесконечной импульсной характеристикой) может осуществляться на данных сетчаточного сигнала, например, фильтр верхних частот, фильтр нижних частот, полосовой фильтр, режекторные фильтры. Преобразование Гильберта-Хуанга (мгновенная частота IMF).

[127] На этапе 313 клиническая информация могут преобразоваться, например, посредством транспозиции клинические данные в другую одномерную или многомерную шкалу, например, масштабирования, сдвига, преобразования с помощью элементарных функций (например, логарифмической, полиномиальной, степенной, тригонометрической) и/или перегруппировки переменных в составных переменных.

[128] На этапе 314 пригодность данных для данных, генерируемых на этапе 310 ввода информации, может тестироваться и подтверждаться, например, гарантируя, что все данные, подлежащие обработке, удовлетворяют стандартизированному формату, пригодному для предстоящей обработки.

Извлечение особенностей

[129] На этапе 321, особенности сетчаточного сигнала, которые предположительно содержат компоненты биоподписи, может получить, например, посредством временно-частотного анализа (величины конкретного положения на шкалограммах, позиций минимумов и максимумов величины), разложения на ядра, анализа главных компонент (PCA), геометрических (алгебраических) операций в различных временно-частотных интервалах, например, min (например, a-волна), max (например, b-волна), латентность, наклон, градиент, кривизна, интеграл, энергия (сумма квадратов амплитуд), дисперсия, когезия-дисперсия (однородность, плотность) и/или любые другие способы извлечения или генерирования особенностей сетчаточного сигнала из данных сетчаточного сигнала.

[130] На этапе 322 потенциальные кофакторы клинической информации, которые предположительно влияют на компоненты биоподписи, можно получать из клинической информации, посредством, например, многокомпонентного анализа (хи-квадрат, объединенный с дисперсиями) и последующим группированием, прямого выбора на основании ступенчатой регрессии, регрессии наилучших поднаборов (с использованием указанного набора кофакторов), из клинической практики (т.е. кофакторов к состоянию, например, длительности заболевания, количество кризисов/госпитализаций) и/или любые другие способы для получения кофакторов клинической информации из клинической информации.

[131] На этапе 323 может оцениваться устойчивость информации и точность результатов, генерируемых на этапе 320 извлечения особенностей.

Выбор и размещение особенностей

[132] На этапе 331 особенности сетчаточного сигнала, которые содержат наиболее значимые компоненты биоподписи, могут выбираться, например, посредством временно-частотных визуальных анализов или шкалограмм (в этом случае, особенностями сетчаточного сигнала являются абсолютные величины сигнала в некоторых временно-частотных окнах, которые оказались дискриминантными), ступенчатой регрессии с перекрестной проверкой, отрегулированной или не отрегулированной по кофактору классификации на основе разреженных представлений (SRC) с заранее заданными порогами, выбора и комбинации наиболее релевантных особенностей сетчаточного сигнала для генерации главных компонент, например, в процессе контролируемого PCA (SPCA), оператора наименьшего абсолютного сжатия и выбора (LASSO), гребневой регрессии, гибкой сети, байесового или "шип и плита" способов и/или любого другого способа выбора.

[133] На этапе 332 может определяться иерархия кофакторов (смешение, медиатор, модератор), т.е. оцениваться направление влияния и иерархия наиболее важных особенностей сетчаточного сигнала и кофакторов клинической информации, как компоненты биоподписи, которые совместно вносят большой вклад в модели анализа, например, посредством i) способов смешения (рандомизации, ограничения и согласования); стратификации, сопровождаемой оценивателем Мантеля-Хэнзеля; и/или многомерных способов, например, ANCOVA, линейных и логистических регрессий, и/или ii) способов медиации и модерации: например, способа Барона и Кенни; способа Фейрчайла и макКиннона и/или других подходящих способов.

[134] На этапе 333, кофакторы клинической информации с высоким вкладом в математические модели могут выбираться из клинической информации, т.е. тех кофакторов клинической информации, которые влияют на компоненты биоподписи и совместно вносят большой вклад в математические модели (таким образом, становясь ‘квалифицированными’ кофакторами).

[135] На этапе 334 может оцениваться устойчивость информации и точность результатов, генерируемых на этапе 330 выбора и размещения особенностей.

Взвешивание и сборка особенностей

[136] На этапе 341 для генерации описателей может осуществляться реструктуризация и/или взвешивание релевантных особенностей сетчаточного сигнала. Например, можно определять и/или отображать вклад особенностей сетчаточного сигнала. Особенности сетчаточного сигнала, которые содержат описатели биоподписи и оказывают влияние на модели, можно идентифицировать, например, посредством анализа многомерной регрессии или родственных процессов.

[137] На этапе 342 описатели могут собираться с наиболее значимыми кофакторами клинической информации (т.е. квалифицированными кофакторами). Затем описатели могут выбираться для получения компонентов биоподписи, которые совместно вносят наибольший вклад в математические модели, например, путем сопоставления при слиянии описателей и кофакторов с использованием математических выражений или соотношений, с использованием, например, PCA, SPCA или других способов, используемых при выборе и/или объединении особенностей данных сетчаточного сигнала.

[138] На этапе 343 может оцениваться устойчивость информации и точность результатов, генерируемых на этапе 340 взвешивания и сборки особенностей.

Ранжирование и дискриминация классификаторов

[139] На этапе 351 классификаторы могут оцениваться с использованием собранных описателей и/или кофакторов клинической информации для тренировки классификаторов. Классификаторы можно выбирать и/или ранжировать на основании их характеристик, например, посредством логистических регрессий, пробит-регрессий, вероятностного моделирования (гауссова процесса, моделей оценивания ядра, байесовского моделирования), регрессии наилучших подмножеств (с использованием указанного набора предсказателей), SVM, нейронно-сетевых способов, дерева решений, случайного леса, взвешенного голосования, бустинга и бэггинга, анализ Каплана-Майера, регрессии Кокса и/или других способов выбора или ранжирования.

[140] На этапе 352 зоны и домены могут строиться путем выбора и отображая классификаторов, характерных для состояний, в математические функции, которые представляют их наиболее конкретную биоподпись, например, путем визуализации результатов регрессии, улучшенных математическими конструктами (например, вейвлетами, дивергенцией Куллбека-Лейблера и т.д.), согласно критерию Неймана-Пирсона для дискриминации между доменами и/или другими родственными способами.

[141] На этапе 353 может оцениваться устойчивость информации и точность результатов, генерируемых на этапе 350 ранжирования и дискриминации классификаторов.

Сопоставление полученных данных из дешифрования сетчаточного сигнала

[142] На этапе 361 функции плотности могут получаться и сравниваться, т.е. путем получения математических функций, которые содержат наивысшую плотность компонент биоподписи, из данных сетчаточного сигнала и клинических кофакторов, и сравнения этих функций между состояниями, например, с помощью гистограммы; оценивания плотности ядра (например, окон Парцена-Rosenblatt, выбора полосы), плотности характеристической функции и других релевантных оценивателей, методов кластеризации данных, включающих в себя векторное квантование, способов реконструкции, либо на основании распределения накопленной вероятности выборки либо на основании выборочных моментов, и/или другими способами.

Завершение дешифрования сетчаточного сигнала

[143] На этапе 371 вероятности можно вычислять из математических функций, которые содержат соответствующую плотность компонент биоподписи из данных сетчаточного сигнала и кофакторов клинической информации в сравнении полученными в различных состояниях, например, с использованием функции плотности; путем оценивания CPF (функции накопленной вероятности) и/или другими родственными способами.

[144] На этапе 372, расстояния от зон можно определять путем идентификации компонентов биоподписи, наиболее релевантных расстояниям между зонами или доменами высокой плотности информации, в различных состояниях, и вычисления расстояний как математических выражений, например, путем сравнения вероятностей с байесовскими статистическими априорными распределениями. Энтропийные способы, параметр дивергенции Куллбека-Лейблера для оценивания направления изменений, и критерий Неймана-Пирсона для оценивания расстояний между зонами. Для процедуры полупараметрического оценивания максимальной вероятности может использоваться алгоритм объединения смежных нарушителей (PAVA), а также другие способы испытания медицинского состояния, присвоенного каждой отдельной части модели (т.е. зонам) и переоценки их принадлежности этой модели с использованием IPWE (взвешивающего оценивателя обратной вероятности) или родственные способы.

[145] На этапе 373 может оцениваться устойчивость информации и точность результатов, генерируемых на этапе 370 завершения.

Способы предсказания

[146] На фиг. 4 показана блок-схема операций способа 400 предсказания вероятности того, что пациент подвержен состоянию в соответствии с различными вариантами осуществления настоящего изобретения. Полностью или частично способ 400 может выполняться системой 215 сбора данных, системой 220 анализа данных и/или системой 225 вывода предсказания. В одном или более аспектах, способ 400 или один или более его этапов может осуществляться вычислительной системой, например, вычислительной средой 100. Способ 400 или один или более его этапов могут быть реализованы в компьютерно-исполняемых инструкциях, которые хранятся на компьютерно-считываемом носителе, например, запоминающем устройстве большой емкости, загружаться в память и исполняться на CPU. Способ 400 является иллюстративным, и следует понимать, что некоторые этапы или часть этапов в блок-схеме операций могут быть опущены и/или переставлены в другом порядке.

[147] Способ 400 содержит осуществление различных действий, например, извлечение особенностей сетчаточного сигнала из данных сетчаточного сигнала, выбор особенностей сетчаточного сигнала, наиболее релевантных конкретным состояниям, объединение и сравнение этих особенностей сетчаточного сигнала для генерации математических описателей, наиболее дискриминантных состояниям, подлежащим анализу или сравнению, генерирование мультимодального отображения, идентификацию биомаркеров и/или биоподписей состояний и/или предсказание вероятности того, что пациент подвержен любому из состояний, как будет более подробно описано ниже.

[148] На этапе 405 данные сетчаточного сигнала могут захватываться от пациента. Данные сетчаточного сигнала могут захватываться с использованием заранее заданного протокола сбора. Данные сетчаточного сигнала могут включать в себя измеренные электрические сигналы, захваченные электродами, размещенными на пациенте. Данные сетчаточного сигнала могут включать в себя параметры системы, используемые для захвата данных сетчаточного сигнала, например, параметры световой стимуляции. Данные сетчаточного сигнала могут включать в себя импеданс приемной электрической цепи, используемой в устройстве, измеряющем электрические сигналы. В некоторых вариантах осуществления, этот этап 405 опущен.

[149] Данные сетчаточного сигнала могут содержать измерения импеданса и/или другие электрические параметры. Данные сетчаточного сигнала могут содержать оптические параметры, например, изменения размера зрачка и/или параметры применяемого освещения (интенсивность, длина волны, спектр, частота световой стимуляции, частоту дискретизации сетчаточного сигнала).

[150] Для генерации данных сетчаточного сигнала сетчатку пациента можно стимулировать, например, с использованием светового стимулятора 205, который может представлять собой один или более оптических стимуляторов. Данные сетчаточного сигнала могут собираться датчиком, например, датчиком 210, который может содержать один или более электродов и/или других датчиков.

[151] Световой стимулятор может содержать любые источники света, способные генерировать световые пучки, отличающиеся длиной волны (например, от около 300 до около 800 нанометров), интенсивность света (например, от около 0,01 до около 3000 кд⋅с/м2), временем освещения (например, от около 1 до около 500 миллисекунд), временем между последовательными вспышками света (например, от около 0,2 до около 50 секунд) с разными фоновыми длинами волны (например, от около 300 до около 800 нанометров) и фоновой освещенностью (например около 0,1 до около 800 кд/м2).

[152] Данные сетчаточного сигнала могут содержать данные электрической характеристики (например, напряжение и импеданс цепи), собранные в течение нескольких времен сбора сигнала (например, от 5 до 500 миллисекунд) на нескольких частотах дискретизации (например, от 0,2 до 24 кГц) с временем синхронизации световой стимуляции (временем вспышки) и смещением (напряжением и импедансом базовой линии до световой стимуляции). Таким образом, этап 405 может содержать сбор данных сетчаточного сигнала на частотах от 4 до 16 кГц.

[153] После сбора данных сетчаточного сигнала, например, практикующим врачом, данные сетчаточного сигнала могут выгружаться на сервер, например, систему 220 анализа данных, для анализа. Данные сетчаточного сигнала могут храниться в памяти 130 компьютерной системы.

[154] На этапе 410, если этап 405 опущен, данные сетчаточного сигнала могут извлекаться из памяти 130. Особенности сетчаточного сигнала могут извлекаться из данных сетчаточного сигнала. Извлечение особенностей сетчаточного сигнала может базироваться на обработке данных сетчаточного сигнала и/или их преобразовании с использованием нескольких способов анализа сигнала, например, полиномиальных регрессий, вейвлет-преобразований и/или эмпирического разложение на моды (EMD). Извлечение особенностей сетчаточного сигнала может базироваться на параметрах, выведенных из этих анализов или конкретного моделирования, например, главных компонентах и наиболее дискриминантных предсказателях, параметрах из линейных или нелинейных регрессивных функций, более высокой частоте, расстоянии Кульбака-Лейблера разности, особенностях гауссовых ядер, логарифмическом правдоподобии разности и/или областях высокой энергии. Эти анализы могут использоваться для определения вклада каждой конкретной особенности сетчаточного сигнала и статистического сравнения особенностей сетчаточного сигнала.

[155] Извлекаемые особенности сетчаточного сигнала могут быть определены ранее. Особенности сетчаточного сигнала для извлечения могут определяться путем анализа помеченных массивов данных из данных сетчаточного сигнала для нескольких пациентов. Каждый пациент, представленный в массивах данных, может иметь одно или более связанных медицинских состояний, которым подвержен пациент и/или одно или более медицинских состояний, которым пациент не подвержен. Эти медицинские состояния могут быть меткой массива данных каждого пациента. Путем анализа набора данных сетчаточного сигнала от пациентов, совместно использующих медицинское состояние, можно определить особенности сетчаточного сигнала, подлежащие извлечению. Мультимодальная карта может генерироваться на основании особенностей сетчаточного сигнала. Домены можно определять на основании мультимодальной карты.

[156] На этапе 415 описатели могут извлекаться из особенностей сетчаточного сигнала. Математические описатели могут быть математическими функциями, объединяющими особенности из данных сетчаточного сигнала и/или клинических кофакторов. Описатели могут указывать особенность сетчаточного сигнала, характерную для состояния или популяции ввиду дополнительной дискриминации между группами пациентов. Как описано выше на этапе 342 способа 300, описатели может выбираться для получения компонентов биоподписи, которые совместно вносят наибольший вклад в математические модели, например, путем сопоставления при слиянии описателей и кофакторов с использованием математических выражений или соотношений, с использованием, например, PCA, SPCA или других способов, используемых при выборе и/или объединении особенностей данных сетчаточного сигнала.

[157] На этапе 420 может приниматься клиническая информация пациента. Клиническая информация может включать в себя медицинскую документацию и/или любые другие собранные данные, касающиеся пациента. Клинические данные могут включать в себя результаты опроса и/или клинического обследования практикующим врачом системы здравоохранения.

[158] На этапе 425 кофакторы клинической информации могут генерироваться с использованием клинической информации. Кофакторы клинической информации можно выбирать на основании их влияния на данные сетчаточного сигнала. Кофакторы клинической информации могут включать в себя указания возраста, пола, пигментации кожи пациента, которые можно использовать вместо пигментации сетчатки и/или любой другой клинической информации, соответствующей пациенту.

[159] На этапе 430 кофакторы клинической информации и/или описатели могут применяться к математическим моделям состояний. Может использоваться любое количество математических моделей. Клиницист может использовать математические модели по своему выбору. Каждая модель может соответствовать конкретному состоянию или управлению.

[160] На этапе 435 каждая модель может определять расстояние между пациентом и биоподписью состояния модели. главные компоненты данных сетчаточного сигнала могут располагаться в доменах, соответствующих состояниям. Описатели и/или кофакторы клинической информации можно сравнивать с биоподписью каждой модели.

[161] На этапе 440 каждая модель может выводить предсказанную вероятность того, что пациент подвержен состоянию модели. Вероятность того, что пациент подвержен состоянию можно предсказывать на основании уровня статистической значимости в сравнении величины и положения описателей индивида с модельными. Предсказанная вероятность может быть двоичной и указывать, присутствует или отсутствует ли биоподпись состояния в данных сетчаточного сигнала пациента. Предсказанная вероятность может быть процентом, указывающим, насколько вероятно, что пациент подвержен состоянию.

[162] На этапе 445 может выводиться предсказанная вероятность того, что пациент подвержен каждому состоянию. Может выводиться интерфейс и/или отчет. Интерфейс может выводиться на дисплее. Интерфейс и/или отчет может выводиться клиницисту. Выход может указывать вероятность того, что пациент подвержен одному или более состояниям. Выход может указывать подверженность пациента патологии. Предсказанные вероятности могут сохраняться.

[163] Выход может включать в себя определение медицинского состояния, предсказанную вероятность медицинского состояния, и/или степень согласования данных сетчаточного сигнала пациента с состоянием и/или другими состояниями. Предсказанная вероятность может выражаться как процент соответствия для медицинского состояние, который может обеспечивать объективную нейрофизиологическую меру для дополнительной помощи клиницисту в медицинской диагностики.

[164] Выход может использоваться совместно с предварительной медицинской диагностики клинициста для повышения уровня комфорта с определением медицинского состояния клинициста и/или начала плана более раннего или более эффективного лечения. Выход может использоваться, чтобы начинать лечение раньше, вместо того, чтобы тратить дополнительное время на уточнение медицинского состояния и плана лечения. Выход может снижать уровень неопределенности клинициста и/или пациента предварительной медицинской диагностики клинициста. Выход может использоваться для выбора лекарства, назначаемого пациента. Затем выбранное лекарство можно назначать пациенту.

[165] Способ 400 может использоваться для отслеживания состояния пациента. Состояние пациента может диагностироваться заранее. Способ 400 может использоваться для отслеживания прогресса состояния. Способ 400 может использоваться для отслеживания и/или изменения плана лечения состояния. Например, способ 400 может использоваться для отслеживания эффективности лекарства, используемого для лечения состояния. Данные сетчаточного сигнала можно собирать до, в ходе и/или после прохождения пациентом лечения состояния.

[166] Способ 400 может использоваться для идентификации и/или отслеживания неврологических симптомов инфекции, например, вирусной инфекции. Например, способ 400 может использоваться для идентификации и/или отслеживания неврологических симптомов пациентов, зараженных COVID-19. Данные сетчаточного сигнала можно собирать от пациентов, которые заражены или были заражены COVID-19. Данные сетчаточного сигнала могут оцениваться с использованием способа 400 определения, страдает ли пациент неврологическими симптомами, тяжести неврологических симптомов и/или для выработки плана лечения неврологических симптомов.

Генерирование математических моделей

[167] На фиг. 5 показана блок-схема операций способа 500 генерации математической модели для предсказания, подвержен ли пациент состоянию в соответствии с различными вариантами осуществления настоящего изобретения. Полностью или частично способ 500 может выполняться системой 215 сбора данных, системой 220 анализа данных и/или системой 225 вывода предсказания. В одном или более аспектах, способ 500 или один или более его этапов может осуществляться вычислительной системой, например, вычислительной средой 100. Способ 500 или один или более его этапов могут быть реализованы в компьютерно-исполняемых инструкциях, которые хранятся на компьютерно-считываемом носителе, например, запоминающем устройстве большой емкости, загружаться в память и исполняться на CPU. Способ 500 является иллюстративным, и следует понимать, что некоторые этапы или часть этапов в блок-схеме операций могут быть опущены и/или переставлены в другом порядке.

[168] Способ 500 может обрабатывать массивы данных из данных сетчаточного сигнала и/или другой клинической информации для создания классификационной модели на основе доменов, характерных для различных состояний. Математическое моделирование данных сетчаточного сигнала может осуществляться с использованием нескольких последовательных анализов, которые обрабатывают данные сетчаточного сигнала и/или кофакторы клинической информации для генерации метрик классификации на основе доменов, которые характерны для состояний. Анализ имеет несколько механизмов, которые объединяют данные сетчаточного сигнала и кофакторы клинической информации, например, конкретные описатели в сетчаточных биоподписях, для выбора наиболее дискриминантных компонент в качестве описателей. Эти описатели, которые могут объединяться с кофакторами клинической информации, может использоваться для тренировки классификаторов последующего выбора их на основании их характеристики при обеспечении фактора вероятности подверженности пациента состоянию. Описатели могут использоваться для построения функций плотности, характерных для каждого из состояний. Кластеры доменов могут формироваться с использованием мультимодального анализа дискриминантных особенностей, главных компонент и отображений описателей высокой статистической значимости.

[169] На этапе 505 данные сетчаточного сигнала можно собирать от пациентов. Собранные данные сетчаточного сигнала может содержать измерения импеданса и/или другие электрические параметры. Данные сетчаточного сигнала могут содержать оптические параметры, например, расстояние от источника света до глаза или части глаза (зрачка, сетчатки), изменения размера зрачка, и/или параметры применяемого освещения (интенсивность света, длина волны света, спектр света, частота световой стимуляции, частота дискретизации сетчаточного сигнала). В некоторых вариантах осуществления этап 505 может быть опущен.

[170] На этапе 510 каждые данные сетчаточного сигнала пациента могут помечаться состоянием. Меткой может быть одно или более состояний, которые могут быть диагностированы у пациента. Метка может указывать, что у пациента не диагностировано ни одно из состояний, и в этом случае пациент может именоваться контрольным испытуемым. Состоянием может быть шизофрения, биполярное расстройство, большое депрессивное расстройство, психоз, посттравматическое стрессовое расстройство, припадок, субстанциональная зависимость, обсессивно-компульсивное расстройство, болезнь Альцгеймера, болезнь Паркинсона, рассеянный склероз, аутизм, дефицитарное расстройство внимания, и/или любое другое состояние. Если этап 505 опущен, этап 510 может содержать извлечение сохраненных данных сетчаточного сигнала из памяти, например, памяти 130 вычислительной среды 100.

[171] На этапе 515 могут приниматься кофакторы клинической информации для пациентов. Кофакторы клинической информации могут извлекаться из медицинской документации. Кофакторы клинической информации могут включать в себя указания параметров популяции, например, возраста, пола и/или пигментации кожи вместо пигментации сетчатки, цвета радужной оболочки и т.д. Кофакторы клинической информации могут приниматься для всех или поднабора пациентов, для которых были собраны данные сетчаточного сигнала.

[172] На этапе 520 для каждого пациента может генерироваться массив данных. Массив данных может включать в себя данные сетчаточного сигнала пациента, метку или метки, назначенные пациенту, и/или кофакторы клинической информации пациента. Массив данных может храниться в базе данных и/или сохраняться в любом другом пригодном формате.

[173] На этапе 525 особенности сетчаточного сигнала могут извлекаться из данных сетчаточного сигнала в массивах данных. Любой пригодный процесс математического выбора может использоваться для выбора особенностей сетчаточного сигнала для извлечения, например, анализа главных компонент (PCA), обобщенных линейных моделей (GLM), классификации на основе разреженных представлений (SRC), оператора наименьшего абсолютного сжатия и выбора (LASSO) и/или комбинации нескольких моделей, предназначенных для преобразования выбранных особенностей сетчаточного сигнала и генерирования описателей, представляющих интерес, в отношении когезии и плотности (плотности информации) с целью выбора наиболее дискриминантных особенностей сетчаточного сигнала и генерирования отображений статистической значимости. Для анализа собранных данных сетчаточного сигнала могут использоваться различные способы, например, но без ограничения, временно-частотный анализ, материнские вейвлеты-прототипы, генерируемые из опорных массивов данных, вероятностное моделирование, когезия и дисперсия информации, анализ главных компонент (PCA), который может быть контролируемым или неконтролируемым, обобщенные линейные модели (GLM), классификация на основе разреженных представлений (SRC), оператор наименьшего абсолютного сжатия и выбора (LASSO) и/или аналогичные способы выбора или комбинация нескольких способов. Отображения могут использоваться для разграничения областей данных сетчаточного сигнала (n-мерных) которые имеют наибольшую дискриминантную силу для отделения домена каждого состояния и положения индивида в этих доменах (расстояниях).

[174] Биоподпись состояния может содержать части данных сетчаточного сигнала, специфичные для состояния. Один или более из наиболее дискриминантных особенностей сетчаточного сигнала могут выбираться в качестве описателей некоторого состояния. Описатели могут объединяться в процессе мультимодального вычисления.

[175] Возможность конкретного математического моделирования поддерживается графическим представлением доменов информации, характерных для состояний, которые рассматривались в ходе демонстраций и затем использовались для описания доменов. Кластеры релевантных предсказателей можно задать между особенностями сетчаточного сигнала, полученными с использованием мультимодального анализа.

[176] За счет увеличения стратегии анализа до дополнительных вычислительных процессов, с последующим генерированием дополнительные особенности сетчаточного сигнала, компоненты, используемые для дешифрования биоподписи, включенные в данные сетчаточного сигнала, могут обогащаться.

Частотный (спектральный) анализ

[177] Временно-частотный анализ может осуществляться с использованием материнских вейвлетов, например, для дискретных вейвлет-преобразований (DWT) или непрерывных вейвлет-преобразований (CWT), и/или фильтрации на основе эмпирического разложения на моды (EMD). Могут визуализироваться и/или вычисляться широко используемые особенности, например, более высокая частота, время возникновения, частотное отображение (шкалограммы), временно-частотные домены, вейвлетный коэффициент как выход вейвлет-преобразования, относительная частота возникновения вейвлетного коэффициента и/или составные параметры.

[178] Особые материнские вейвлеты (вейвлеты-прототипы) можно построить и отрегулировать до природы данных (либо контрольных групп или группы индивидов с конкретными патологиями). Особые материнские вейвлеты можно подтверждать (конструкция вейвлета) с предобработкой и частотами фильтрации, которые не рассматриваются как значимые особенности. Эта стратегия может использоваться для регулировки известного заранее заданного материнского вейвлета и осуществления более конкретного временно-частотного анализа с временем кластеризации или без него (т.е. временно-частотного анализа с материнским вейвлетом, отрегулированным в зависимости от части анализируемой формы волны сетчаточного сигнала).

[179] Приложения могут использоваться для сравнения анализов и демонстрации различия между данными сетчаточного сигнала от пациентов с состояниями, например, психиатрическими состояниями, и данными сетчаточного сигнала от индивидов, у которых не диагностированы эти состояния (контрольных испытуемых).

Анализ главных компонент

[180] Может осуществляться анализ главных компонент (PCA). PCA может быть контролируемым (SPCA) или неконтролируемым (PCA) для извлечения наиболее дискриминантных особенностей сетчаточного сигнала из данных сетчаточного сигнала. PCA может определять так называемые “главные компоненты”, которыми могут быть особенности сетчаточного сигнала с максимальной зависимостью от переменных характеристики, в этом случае подозрительные состояния. PCA может анализировать зависимость между особенностями сетчаточного сигнала и состояниями и позволять выбор этих особенностей сетчаточного сигнала с максимальной зависимостью.

[181] Особенности сетчаточного сигнала можно анализировать совместно с дополнительными демографическими или клиническими переменными, характерными для сопутствующих паталогий или медицинских состояний. Эти анализы могут приводить к конкретным векторам данных (показателям главных компонент), используемым при задании особенностей сетчаточного сигнала, которые затем можно объединять и повторно анализировать (“сопоставлять”) для получения классификации наиболее дискриминантных особенностей сетчаточного сигнала на основании их статистической значимости с заранее заданным порогом. Такая классификация может позволять выбор особенностей сетчаточного сигнала, которые можно использовать для построения векторизованных доменов конкретный состояний.

Вероятностное моделирование

[182] Вероятностное моделирование может использоваться для отыскания областей, представляющих интерес, в данных сетчаточного сигнала. Стандартный процесс гауссова и/или негауссова моделирования может использоваться для задания вероятности событий в массе собранной информации. Особенности сетчаточного сигнала, выбранные для построения моделей (для тренировки модели), можно выбирать на основании массивов данных, характерных для данных сетчаточного сигнала от пациентов с конкретными состояниями и контрольными, испытуемые (массивы данных пациентов, которые не подвержены состояниям).

[183] На этапе 530 может выбираться поднабор особенностей сетчаточного сигнала, которые соответствуют биомаркеру состояния. Особенности сетчаточного сигнала могут ранжироваться на основании их релевантности состоянию. Некоторые или все из особенностей наивысшего ранга сетчаточного сигнала могут выбираться в поднаборе.

[184] На этапе 535 может определяться классификатор, который отличает биоподпись состояния от биоподписи других состояний. Классификатор может включать в себя поднабор особенностей сетчаточного сигнала и/или кофакторов клинической информации. Классификатором может быть математическая модель, указывающая биоподпись. Для предсказания вероятности того, что пациент подвержен состоянию, можно определять расстояние между данными сетчаточного сигнала пациента и классификатором состояния.

[185] На фиг. 6 показана блок-схема операций способа 600 тренировки алгоритма машинного обучения (MLA) для предсказания вероятности медицинского состояния, например, психиатрическому состоянию или неврологическому состоянию в соответствии с различными вариантами осуществления настоящего изобретения. Полностью или частично способ 600 может выполняться системой 215 сбора данных, системой 220 анализа данных и/или системой 225 вывода предсказания. В одном или более аспектах, способ 600 или один или более его этапов может осуществляться вычислительной системой, например, вычислительной средой 100. Способ 600 или один или более его этапов могут быть реализованы в компьютерно-исполняемых инструкциях, которые хранятся на компьютерно-считываемом носителе, например, запоминающем устройстве большой емкости, загружаться в память и исполняться на CPU. Способ 600 является иллюстративным, и следует понимать, что некоторые этапы или часть этапов в блок-схеме операций могут быть опущены и/или переставлены в другом порядке.

[186] На этапе 605 могут извлекаться массивы данных из данных сетчаточного сигнала. Массивы данных могут генерироваться на этапах 505-520 способа 500, как описано выше. Каждый массив данных может включать в себя данные сетчаточного сигнала пациента, одну или более меток, соответствующих состояниям, диагностированных у пациента, и кофакторы клинической информации, соответствующие пациенту. Данные сетчаточного сигнала могут соответствовать нескольким пациентам. Данные сетчаточного сигнала могут выбираться на основании конкретной популяции пациентов. Например, могут извлекаться все данные сетчаточного сигнала, соответствующие указанным полу и диапазону возрастов.

[187] Извлеченные массивы данных могут содержать измерения импеданса и/или другие электрические параметры. Извлеченные массивы данных могут содержать оптические параметры, например, изменения размера зрачка и/или параметры применяемого освещения (интенсивность света, длину волны, спектр, частоту световой стимуляции, частоту дискретизации сетчаточного сигнала). Извлеченные массивы данных могут содержать параметры популяции, например, возраст, пол, цвет радужной оболочки и/или пигментацию кожи вместо пигментации сетчатки, и т.д.

[188] Данные сетчаточного сигнала могут помечаться. Для каждого пациента, представленного в данных, могут указываться одно или более состояний, диагностированных у пациента. Для пациентов, у которых не было диагностировано ни одного из доступных состояний, ни одно состояние не может быть указано, или могут указываться метка, указывающая, что пациент является контрольным испытуемым.

[189] На этапе 610 могут генерироваться особенности сетчаточного сигнала. Особенности сетчаточного сигнала могут генерироваться с использованием процесса преобразования. Особенности сетчаточного сигнала могут генерироваться для каждого набора данных сетчаточного сигнала, извлеченного на этапе 605.

[190] На этапе 615 описатели могут извлекаться из особенностей сетчаточного сигнала в массивах данных. Описателями могут быть особенности, выбранные как наиболее репрезентативные состояния.

[191] На этапе 620 описатели могут ранжироваться. Каждый описатель может ранжироваться на основании уровня статистической значимости описателя при тестировании вклада описателя в дискриминирование между состояниями и/или между состоянием и управлением (т.е. в отсутствие диагностированного состояния).

[192] На этапе 625 описатели могут выбираться на основании их рангов. Может выбираться заранее определенный объем описателей наивысшего ранга.

[193] На этапе 630 MLA может тренироваться с использованием выбранных описателей. Массивы данных, извлеченные на этапе 605, могут подвергаться фильтрации для удаления описателей, отличных от описателей, выбранных на этапе 625. Затем все или часть массивов данных можно использовать для тренировки MLA. MLA может тренироваться для предсказания, на основании набора описателей, соответствующих пациенту, вероятности того, что пациент подвержен состоянию.

[194] После тренировки MLA, MLA может использоваться для предсказания, на основании измеренных данных сетчаточного сигнала, вероятности того, что пациент подвержен состоянию. На фиг. 7 показана блок-схема операций способа 700 использования MLA для предсказания вероятности психиатрического состояния в соответствии с различными вариантами осуществления настоящего изобретения. Полностью или частично способ 700 может выполняться системой 215 сбора данных, системой 220 анализа данных и/или системой 225 вывода предсказания. В одном или более аспектах, способ 700 или один или более его этапов может осуществляться вычислительной системой, например, вычислительной средой 100. Способ 700 или один или более его этапов могут быть реализованы в компьютерно-исполняемых инструкциях, которые хранятся на компьютерно-считываемом носителе, например, запоминающем устройстве большой емкости, загружаться в память и исполняться на CPU. Способ 700 является иллюстративным, и следует понимать, что некоторые этапы или часть этапов в блок-схеме операций могут быть опущены и/или переставлены в другом порядке.

[195] На этапе 705 данные сетчаточного сигнала пациента могут собираться. Действия, осуществляемые на этапе 505, могут быть аналогичны описанным выше в связи с этапом 405.

[196] На этапе 710 особенности и/или описатели сетчаточного сигнала могут извлекаться из данных сетчаточного сигнала. Описатели могут извлекаться в соответствии с MLA, например, MLA, генерируемого с использованием способа 600.

[197] На этапе 715 описатели могут вводиться в MLA. Кофакторы клинической информации пациента также могут вводиться в MLA. MLA может быть выполнен с возможностью предсказания вероятности того, что пациент подвержен состоянию, на основании описателей и/или кофакторов клинической информации. MLA может представлять собой MLA, генерируемый с использованием способа 600.

[198] На этапе 720 может осуществляться определение, нужно ли вводить в MLA дополнительные данные. MLA может определять, что ввод данных на этапе 715 недостаточен для совершения предсказания. MLA может определять, что объем данных недостаточен. MLA может определять, что данные недостаточно точны для совершения предсказания, например, при наличии ошибок в данных. MLA может выводить уровень доверительности предсказания, и может осуществляться определение, что уровень доверительности ниже порогового уровня доверительности, например, заранее определенного порогового уровня доверительности. Если MLA требует дополнительных данных, дополнительные данные могут захватываться на этапе 705. Иными словами, если MLA имеет достаточный объем данных, чтобы сделать предсказание способ 700 может перейти к этапу 725.

[199] На этапе 725 MLA может выводить предсказанную вероятность того, что пациент подвержен одному или более состояниям. Для каждого состояния, MLA может выводить предсказанную вероятность того, что пациент подвержен состоянию. Подверженность пациента патологии может выводиться MLA и/или может определяться на основании предсказаний, выводимых MLA. Подверженность пациента может указывать расстояние пациента от биоподписи состояния. Пользовательский интерфейс и/или отчет может генерироваться и выводиться клиницисту для использования в качестве помощи при определении медицинского состояния пациента и/или подтверждении медицинского состояния.

[200] Примеры для временно-частотного анализа и выбора дискриминантных областей на основании статистической значимости более высокой частоты проиллюстрированы на фиг. 8-27. В этих примерах данные сетчаточного сигнала от пациентов с шизофренией, биполярным расстройством или большим депрессивным расстройством, молодежной популяции с угрозой психоза (т.е. молодых людей, родители которых страдают шизофренией, биполярным расстройством или депрессией) и от контрольных испытуемых, не подверженных этим состояниям, подвергались временно-частотному анализу (вейвлет-преобразованию с разными материнскими вейвлетами) и сравнивались. Временно-частотный анализ проводится с любым известным материнским вейвлетом или особым материнским вейвлетом, подготовленным (материнские вейвлеты-прототипы) из опорных массивов данных (контрольный испытуемый или индивиды с конкретными состояниями).

[201] Примеры для выбора и отображения статистической значимости особенностей сетчаточного сигнала проиллюстрированы на фиг. 28-42. В этих примерах, выбирались и сравнивались особенности сетчаточного сигнала, полученные с помощью частотного анализа сигнала у пациентов с шизофренией, биполярным расстройством или большим депрессивным расстройством, молодежной популяции с угрозой психоза (т.е. молодых людей, родители которых страдают шизофренией, биполярным расстройством или депрессией) и от контрольных испытуемых, не подверженных этим состояниям. Затем отображения наиболее дискриминантных особенностей подготавливались из выбора особенностей.

[202] Примеры для выбора и отображения статистической значимости описателей сетчаточного сигнала проиллюстрированы на фиг. 43-58. В этих примерах описатели сетчаточного сигнала полученный у пациентов с шизофренией, биполярным расстройством или большим депрессивным расстройством, молодежной популяции с угрозой психоза (т.е. молодых людей, родители которых страдают шизофренией, биполярным расстройством или депрессией) и от контрольных испытуемых, не подверженных этим состояниям, объединялись, и их потенциал для дискриминирования в нескольких состояниях оценивался. Затем из этого выбора подготавливались отображения наиболее дискриминирующих описателей, на основании их различительного потенциала и их положения в объеме информации.

[203] На фиг. 8 показано сравнение частотного анализа данных сетчаточного сигнала у пациентов с шизофренией (более светлые точки) и у индивидов, у которых не диагностировано нарушений психического здоровья (контрольными испытуемыми; более темные точки) с использованием дискретной аппроксимации формы волны Морле в качестве материнского вейвлета. Величина коэффициентов SRC в зависимости от времени и частоты составляет 90% от порога.

[204] На фиг. 9 показано сравнение частотного анализа данных сетчаточного сигнала у пациентов с шизофренией (более светлые точки) и у индивидов, у которых не диагностировано нарушений психического здоровья (контрольными испытуемыми; более темные точки) с использованием дискретной аппроксимации материнского вейвлета определенной конструкции с массивами данных сетчаточного сигнала от контрольных испытуемых. Величина коэффициентов SRC в зависимости от времени и частоты составляет 90% от порога.

[205] На фиг. 10 показано сравнение частотного анализа данных сетчаточного сигнала у пациентов с биполярным расстройством (более светлые точки) и у индивидов, у которых не диагностировано нарушений психического здоровья (контрольными испытуемыми; более темные точки) с использованием дискретной аппроксимации формы волны Морле в качестве материнского вейвлета. Величина коэффициентов SRC в зависимости от времени и частоты составляет 90% от порога.

[206] На фиг. 11 показано сравнение частотного анализа данных сетчаточного сигнала у пациентов с биполярным расстройством (более светлые точки) и у индивидов, у которых не диагностировано нарушений психического здоровья (контрольными испытуемыми; более темные точки) с использованием дискретной аппроксимации материнского вейвлета определенной конструкции с массивами данных сетчаточного сигнала от контрольных испытуемых. Величина коэффициентов SRC в зависимости от времени и частоты составляет 90% от порога.

[207] На фиг. 12 показано сравнение частотного анализа данных сетчаточного сигнала у пациентов с большим депрессивным расстройством (более светлые точки) и у индивидов, у которых не диагностировано нарушений психического здоровья (более темные точки) с использованием дискретной аппроксимации формы волны Морле в качестве материнского вейвлета. Величина коэффициентов SRC в зависимости от времени и частоты составляет 90% от порога.

[208] На фиг. 13 показано сравнение частотного анализа данных сетчаточного сигнала у пациентов с большим депрессивным расстройством (более светлые точки) и у индивидов, у которых не диагностировано нарушений психического здоровья (более темные точки) с использованием дискретной аппроксимации материнского вейвлета определенной конструкции с массивами данных сетчаточного сигнала от контрольных испытуемых. Величина коэффициентов SRC в зависимости от времени и частоты составляет 90% от порога.

[209] На фиг. 14 показано сравнение частотного анализа данных сетчаточного сигнала у пациентов с угрозой психоза (более светлые точки) и у индивидов, у которых не диагностировано нарушений психического здоровья (более темные точки) с использованием дискретной аппроксимации формы волны Морле в качестве материнского вейвлета. Величина коэффициентов SRC в зависимости от времени и частоты составляет 90% от порога.

[210] На фиг. 15 показано сравнение частотного анализа данных сетчаточного сигнала у пациентов с угрозой психоза (более светлые точки) и у индивидов, у которых не диагностировано нарушений психического здоровья (более темные точки) с использованием дискретной аппроксимации материнского вейвлета определенной конструкции с массивами данных сетчаточного сигнала от контрольных испытуемых. Величина коэффициентов SRC в зависимости от времени и частоты составляет 90% от порога.

[211] На фиг. 16 показано сравнение частотного анализа данных сетчаточного сигнала у пациентов с шизофренией (более светлые точки) и у пациентов с биполярным расстройством (более темные точки) с использованием дискретной аппроксимации формы волны Морле в качестве материнского вейвлета. Величина коэффициентов SRC в зависимости от времени и частоты составляет 90% от порога.

[212] На фиг. 17 показано сравнение частотного анализа данных сетчаточного сигнала у пациентов с шизофренией (более светлые точки) и у пациентов с биполярным расстройством (более темные точки) с использованием дискретной аппроксимации материнского вейвлета определенной конструкции с массивами данных сетчаточного сигнала от контрольных испытуемых. Величина коэффициентов SRC в зависимости от времени и частоты составляет 90% от порога.

[213] На фиг. 18 показано сравнение частотного анализа данных сетчаточного сигнала у пациентов с большим депрессивным расстройством (более светлые точки) и у пациентов с биполярным расстройством (более темные точки) с использованием дискретной аппроксимации формы волны Морле в качестве материнского вейвлета. Величина коэффициентов SRC в зависимости от времени и частоты составляет 90% от порога.

[214] На фиг. 19 показано сравнение частотного анализа данных сетчаточного сигнала у пациентов с большим депрессивным расстройством (более светлые точки) и у пациентов с биполярным расстройством (более темные точки) с использованием дискретной аппроксимации материнского вейвлета определенной конструкции с массивами данных сетчаточного сигнала от контрольных испытуемых. Величина коэффициентов SRC в зависимости от времени и частоты составляет 90% от порога.

[215] На фиг. 20 показано сравнение частотного анализа данных сетчаточного сигнала у пациентов с большим депрессивным расстройством (более светлые точки) и у пациентов с шизофренией (более темные точки) с использованием дискретной аппроксимации формы волны Морле в качестве материнского вейвлета. Величина коэффициентов SRC в зависимости от времени и частоты составляет 90% от порога.

[216] На фиг. 21 показано сравнение частотного анализа данных сетчаточного сигнала у пациентов с большим депрессивным расстройством (более светлые точки) и у пациентов с шизофренией (более темные точки) с использованием дискретной аппроксимации материнского вейвлета определенной конструкции с массивами данных сетчаточного сигнала от контрольных испытуемых. Величина коэффициентов SRC в зависимости от времени и частоты составляет 90% от порога.

[217] На фиг. 22 показано сравнение частотного анализа данных сетчаточного сигнала у пациентов с биполярным расстройством (более светлые точки) и у пациентов с угрозой психоза (более темные точки) с использованием дискретной аппроксимации формы волны Морле в качестве материнского вейвлета. Величина коэффициентов SRC в зависимости от времени и частоты составляет 90% от порога.

[218] На фиг. 23 показано сравнение частотного анализа данных сетчаточного сигнала у пациентов с биполярным расстройством (более светлые точки) и у пациентов с угрозой психоза (более темные точки) с использованием дискретной аппроксимации материнского вейвлета определенной конструкции с массивами данных сетчаточного сигнала от контрольных испытуемых. Величина коэффициентов SRC в зависимости от времени и частоты составляет 90% от порога.

[219] На фиг. 24 показано сравнение частотного анализа данных сетчаточного сигнала у пациентов с шизофренией (более светлые точки) и у пациентов с угрозой психоза (более темные точки) с использованием дискретной аппроксимации формы волны Морле в качестве материнского вейвлета. Величина коэффициентов SRC в зависимости от времени и частоты составляет 90% от порога.

[220] На фиг. 25 показано сравнение частотного анализа данных сетчаточного сигнала у пациентов с шизофренией (более светлые точки) и у пациентов с угрозой психоза (более темные точки) с использованием дискретной аппроксимации материнского вейвлета определенной конструкции с массивами данных сетчаточного сигнала от контрольных испытуемых. Величина коэффициентов SRC в зависимости от времени и частоты составляет 90% от порога.

[221] На фиг. 26 показано сравнение частотного анализа данных сетчаточного сигнала у пациентов с большим депрессивным расстройством (более светлые точки) и у пациентов с угрозой психоза (более темные точки) с использованием дискретной аппроксимации формы волны Морле в качестве материнского вейвлета. Величина коэффициентов SRC в зависимости от времени и частоты составляет 90% от порога.

[222] На фиг. 27 показано сравнение частотного анализа данных сетчаточного сигнала у пациентов с большим депрессивным расстройством (более светлые точки) и у пациентов с угрозой психоза (более темные точки) с использованием дискретной аппроксимации материнского вейвлета определенной конструкции с массивами данных сетчаточного сигнала от контрольных испытуемых. Величина коэффициентов SRC в зависимости от времени и частоты составляет 90% от порога.

[223] На фиг. 28 показаны наиболее дискриминантные предсказатели из выбора особенностей (компоненты частотного анализа в этом примере), проводимого с классификацией на основе разреженных представлений (SRC) при вейвлетном коэффициенте с порогом p≤0,05 у пациентов с биполярным расстройством в сравнении с пациентами с шизофренией с использованием дискретной аппроксимации материнского вейвлета определенной конструкции с массивами данных сетчаточного сигнала от контрольных испытуемых. Цвета представляют собой шкалы величины SRC в конкретном положении. Более темные точки изображают позиции SRC, где SRC превышает заданный порог (в иллюстрируемом примере, порог составляет от 70% до 100%).

[224] На фиг. 29 показаны наиболее дискриминантные предсказатели из выбора особенностей (компоненты частотного анализа в этом примере), проводимого с классификацией посредством анализа главных компонент на основании статистической значимости с порогом статистического значения p≤0,05 у пациентов с биполярным расстройством в сравнении с пациентами с шизофренией, с использованием материнского вейвлета определенной конструкции с массивами данных сетчаточного сигнала от контрольных испытуемых.

[225] На фиг. 30 показаны отображения наиболее дискриминантных предсказателей и их уровней значимости (статистических значений p) из выбора особенностей (компоненты частотного анализа в этом примере), проводимого с классификацией посредством анализа главных компонент, ранжированных статистической значимостью у пациентов с биполярным расстройством в сравнении с пациентами с шизофренией, с использованием материнского вейвлета определенной конструкции с массивами данных сетчаточного сигнала от контрольных испытуемых. В этом примере, две наиболее дискриминантные компоненты рассматривались с порогом p≤0,05. Цвета (в шкале серого) являются шкалами величины дискриминантной силы.

[226] На фиг. 31 показаны наиболее дискриминантные предсказатели из выбора особенностей (компоненты частотного анализа в этом примере), проводимого с классификацией на основе разреженных представлений (SRC) при вейвлетном коэффициенте с порогом p≤0,05 у пациентов с биполярным расстройством в сравнении с пациентами с большим депрессивным расстройством, с использованием дискретной аппроксимации материнского вейвлета определенной конструкции с массивами данных сетчаточного сигнала от контрольных испытуемых. Затенение иллюстрирует шкалы величины SRC в конкретном положении. Более темные точки изображают позиции SRC, где SRC превышает заданный порог (в иллюстрируемом примере, порог составляет от 70% до 100%).

[227] На фиг. 32 показаны наиболее дискриминантные предсказатели из выбора особенностей (компоненты частотного анализа в иллюстрируемом примере), проводимого с классификацией посредством анализа главных компонент на основании статистической значимости с порогом статистического значения p≤0,05 у пациентов с биполярным расстройством в сравнении с пациентами с большим депрессивным расстройством, с использованием материнского вейвлета определенной конструкции с массивами данных сетчаточного сигнала от контрольных испытуемых.

[228] На фиг. 33 показаны отображения наиболее дискриминантных предсказателей и их уровней значимости (статистических значений p) из выбора особенностей (компоненты частотного анализа в этом примере), проводимого с классификацией посредством анализа главных компонент, ранжированных статистической значимостью у пациентов с биполярным расстройством в сравнении с пациентами с большим депрессивным расстройством, с использованием материнского вейвлета определенной конструкции с массивами данных сетчаточного сигнала от контрольных испытуемых. В иллюстрируемом примере, две наиболее дискриминантные компоненты рассматривались с порогом p≤0,05. Затенение в шкале серого указывает шкалы величины дискриминантной силы.

[229] На фиг. 34 показаны наиболее дискриминантные предсказатели из выбора особенностей (компоненты частотного анализа в этом примере), проводимого с классификацией на основе разреженных представлений (SRC) при вейвлетном коэффициенте с порогом p≤0,05 у пациентов с биполярным расстройством в сравнении с пациентами с угрозой психоза, с использованием дискретной аппроксимации материнского вейвлета определенной конструкции с массивами данных сетчаточного сигнала от контрольных испытуемых. Затенение указывает шкалы величины SRC в конкретном положении. Более темные точки обозначают позиции SRC, где SRC превышает заданный порог (в иллюстрируемом примере, порог составляет от 70% до 100%).

[230] На фиг. 35 показаны наиболее дискриминантные предсказатели из выбора особенностей (компоненты частотного анализа в этом примере), проводимого с классификацией посредством анализа главных компонент на основании статистической значимости с порогом статистического значения p≤0,05 у пациентов с биполярным расстройством в сравнении с пациентами с угрозой психоза, с использованием материнского вейвлета определенной конструкции с массивами данных сетчаточного сигнала от контрольных испытуемых.

[231] На фиг. 36 показаны отображения наиболее дискриминантных предсказателей и их уровней значимости (статистических значений p) из выбора особенностей (компоненты частотного анализа в этом примере), проводимого с классификацией посредством анализа главных компонент, ранжированных статистической значимостью у пациентов с биполярным расстройством в сравнении с пациентами с угрозой психоза, с использованием материнского вейвлета определенной конструкции с массивами данных сетчаточного сигнала от контрольных испытуемых. В иллюстрируемом примере, две наиболее дискриминантные компоненты рассматривались с порогом p≤0,05. Затенение указывает шкалы величины дискриминантной силы.

[232] На фиг. 37 показаны наиболее дискриминантные предсказатели из выбора особенностей (компоненты частотного анализа в этом примере), проводимого с классификацией на основе разреженных представлений (SRC) при вейвлетном коэффициенте с порогом p≤0,05 у пациентов с шизофренией в сравнении с пациентами с угрозой психоза, с использованием дискретной аппроксимации материнского вейвлета определенной конструкции с массивами данных сетчаточного сигнала от контрольных испытуемых. Затенение указывает шкалы величины SRC в конкретном положении. Более темные точки обозначают позиции SRC, где SRC превышает заданный порог (в иллюстрируемом примере, порог составляет от 70% до 100%).

[233] На фиг. 38 показаны наиболее дискриминантные предсказатели из выбора особенностей (компоненты частотного анализа в этом примере), проводимого с классификацией посредством анализа главных компонент на основании статистической значимости с порогом статистического значения p≤0,05 у пациентов с шизофренией в сравнении с пациентами с угрозой психоза, с использованием материнского вейвлета определенной конструкции с массивами данных сетчаточного сигнала от контрольных испытуемых.

[234] На фиг. 39 показаны отображения наиболее дискриминантных предсказателей и их уровней значимости (статистических значений p) из выбора особенностей (компоненты частотного анализа в этом примере), проводимого с классификацией посредством анализа главных компонент, ранжированных статистической значимостью у пациентов с шизофренией в сравнении с пациентами с угрозой психоза, с использованием материнского вейвлета определенной конструкции с массивами данных сетчаточного сигнала от контрольных испытуемых. В этом примере, две наиболее дискриминантные компоненты рассматривались с порогом p≤0,05. Затенение указывает шкалы величины дискриминантной силы.

[235] На фиг. 40 показаны наиболее дискриминантные предсказатели из выбора особенностей (компоненты частотного анализа в этом примере), проводимого с классификацией на основе разреженных представлений (SRC) при вейвлетном коэффициенте с порогом p≤0,05 у пациентов с большим депрессивным расстройством в сравнении с пациентами с угрозой психоза, с использованием дискретной аппроксимации материнского вейвлета определенной конструкции с массивами данных сетчаточного сигнала от контрольных испытуемых. Затенение указывает шкалы величины SRC в конкретном положении. Более темные точки обозначают позиции SRC, где SRC превышает заданный порог (в иллюстрируемом примере, порог составляет от 70% до 100%).

[236] На фиг. 41 показаны наиболее дискриминантные предсказатели из выбора особенностей (компоненты частотного анализа в иллюстрируемом примере), проводимого с классификацией посредством анализа главных компонент на основании статистической значимости с порогом статистического значения p≤0,05 у пациентов с большим депрессивным расстройством в сравнении с пациентами с угрозой психоза, с использованием материнского вейвлета определенной конструкции с массивами данных сетчаточного сигнала от контрольных испытуемых.

[237] На фиг. 42 показаны отображения наиболее дискриминантных предсказателей и их уровней значимости (статистических значений p) из выбора особенностей (компоненты частотного анализа в этом примере), проводимого с классификацией посредством анализа главных компонент, ранжированных статистической значимостью у пациентов с большим депрессивным расстройством в сравнении с пациентами с угрозой психоза, с использованием материнского вейвлета определенной конструкции с массивами данных сетчаточного сигнала от контрольных испытуемых. В этом примере две наиболее дискриминантные компоненты рассматривались с порогом p≤0,05. Затенение указывает шкалы величины дискриминантной силы.

[238] На фиг. 43 показано отображение наиболее дискриминантных выбранных описателей (спектральной энтропии в этом примере), проводимое с классификацией на основе разреженных представлений (SRC) с порогом p≤0,05 у пациентов с угрозой психоза в сравнении с индивидами, у которых не диагностировано нарушений психического здоровья (контрольными испытуемыми). Более темные точки указывают положение более высокой степени дискриминирования, где SRC превышает заданный порог (в иллюстрируемом примере, порог составляет 80%).

[239] На фиг. 44 показано отображение наиболее дискриминантных выбранных описателей (эксцесса в иллюстрируемом примере), проводимое с классификацией на основе разреженных представлений (SRC) с порогом p≤0,05 у пациентов с угрозой психоза в сравнении с индивидами, у которых не диагностировано нарушений психического здоровья (контрольными испытуемыми). Более темные точки являются позициями более высокой степени дискриминирования, где SRC превышает заданный порог (в иллюстрируемом примере, порог составляет 80%).

[240] На фиг. 45 показано отображение наиболее дискриминантных выбранных описателей (момент Ху в этом примере), проводимое с классификацией на основе разреженных представлений (SRC) с порогом p≤0,05 у пациентов с угрозой психоза в сравнении с индивидами, у которых не диагностировано нарушений психического здоровья (контрольными испытуемыми). Более темные точки указывают положение более высокой степени дискриминирования, где SRC превышает заданный порог (в иллюстрируемом примере, порог составляет 80%).

[241] На фиг. 46 показано отображение наиболее дискриминантных выбранных описателей (трех описателей в этом примере: спектральной энтропии, эксцесса и момента Ху), проводимое с классификацией на основе разреженных представлений (SRC) с порогом p≤0,05 у пациентов с угрозой психоза в сравнении с индивидами, у которых не диагностировано нарушений психического здоровья (контрольными испытуемыми). Более темные точки указывают положение более высокой степени дискриминирования, где SRC превышает заданный порог (в иллюстрируемом примере, порог составляет 80%). Преимущество дополнительных извлекаемых конкретных описателей сетчаточного сигнала (как по положению, так и статистической значимости информации) можно понять, сравнивая описатели с представленными на фиг. 43, 44 и 45.

[242] На фиг. 47 показано отображение наиболее дискриминантных выбранных описателей (спектральной энтропии в этом примере), проводимое с классификацией на основе разреженных представлений (SRC) с порогом p≤0,05 у пациентов с угрозой психоза в сравнении с пациентами с биполярным расстройством. Более темные точки являются позициями более высокой степени дискриминирования, где SRC превышает заданный порог (в иллюстрируемом примере, порог составляет 80%).

[243] На фиг. 48 показано отображение наиболее дискриминантных выбранных описателей (эксцесса в этом примере), проводимое с классификацией на основе разреженных представлений (SRC) с порогом p≤0,05 у пациентов с угрозой психоза в сравнении с пациентами с биполярным расстройством. Более темные точки являются позициями более высокой степени дискриминирования, где SRC превышает заданный порог (в иллюстрируемом примере, порог составляет 80%).

[244] На фиг. 49 показано отображение наиболее дискриминантных выбранных описателей (момент Ху в этом примере), проводимое с классификацией на основе разреженных представлений (SRC) с порогом p≤0,05 у пациентов с угрозой психоза в сравнении с пациентами с биполярным расстройством. Более темные точки являются позициями более высокой степени дискриминирования, где SRC превышает заданный порог (в иллюстрируемом примере, порог составляет 80%).

[245] На фиг. 50 показано отображение наиболее дискриминантных выбранных описателей (трех описателей в этом примере: спектральной энтропии, эксцесса и момента Ху), проводимое с классификацией на основе разреженных представлений (SRC) с порогом p≤0,05 у пациентов с угрозой психоза в сравнении с пациентами с биполярным расстройством. Более темные точки являются позициями более высокой степени дискриминирования, где SRC превышает заданный порог (в иллюстрируемом примере, порог составляет 80%). Преимущество дополнительных извлекаемых конкретных описателей сетчаточного сигнала (как по положению, так и статистической значимости информации) можно понять, сравнивая описатели с представленными на фиг. 47, 48 и 49.

[246] На фиг. 51 показано отображение наиболее дискриминантных выбранных описателей (спектральной энтропии в этом примере), проводимое с классификацией на основе разреженных представлений (SRC) с порогом p≤0,05 у пациентов с угрозой психоза в сравнении с пациентами с шизофренией. Более темные точки указывают положение более высокой степени дискриминирования, где SRC превышает заданный порог (в иллюстрируемом примере, порог составляет 80%).

[247] На фиг. 52 показано отображение наиболее дискриминантных выбранных описателей (эксцесса в этом примере), проводимое с классификацией на основе разреженных представлений (SRC) с порогом p≤0,05 у пациентов с угрозой психоза в сравнении с пациентами с шизофренией. Более темные точки являются позициями более высокой степени дискриминирования, где SRC превышает заданный порог (в иллюстрируемом примере, порог составляет 80%).

[248] На фиг. 53 показано отображение наиболее дискриминантных выбранных описателей (момент Ху в этом примере), проводимое с классификацией на основе разреженных представлений (SRC) с порогом p≤0,05 у пациентов с угрозой психоза в сравнении с пациентами с шизофренией. Более темные точки являются позициями более высокой степени дискриминирования, где SRC превышает заданный порог (в иллюстрируемом примере, порог составляет 80%).

[249] На фиг. 54 показано отображение наиболее дискриминантных выбранных описателей (трех описателей в этом примере: спектральной энтропии, эксцесса и момента Ху), проводимое с классификацией на основе разреженных представлений (SRC) с порогом p≤0,05 у пациентов с угрозой психоза в сравнении с пациентами с шизофренией. Более темные точки являются позициями более высокой степени дискриминирования, где SRC превышает заданный порог (в иллюстрируемом примере, порог составляет 80%). Преимущество дополнительных извлекаемых конкретных описателей сетчаточного сигнала (как по положению, так и статистической значимости информации) можно понять, сравнивая описатели с представленными на фиг. 51, 52 и 53.

[250] На фиг. 55 показано отображение наиболее дискриминантных выбранных описателей (спектральной энтропии в этом примере), проводимое с классификацией на основе разреженных представлений (SRC) с порогом p≤0,05 у пациентов с угрозой психоза в сравнении с пациентами с большим депрессивным расстройством. Более темные точки являются позициями более высокой степени дискриминирования, где SRC превышает заданный порог (в иллюстрируемом примере, порог составляет 80%).

[251] На фиг. 56 показано отображение наиболее дискриминантных выбранных описателей (эксцесса в этом примере), проводимое с классификацией на основе разреженных представлений (SRC) с порогом p≤0,05 у пациентов с угрозой психоза в сравнении с пациентами с большим депрессивным расстройством. Более темные точки являются позициями более высокой степени дискриминирования, где SRC превышает заданный порог (в иллюстрируемом примере, порог составляет 80%).

[252] На фиг. 57 показано отображение наиболее дискриминантных выбранных описателей (момент Ху в этом примере), проводимое с классификацией на основе разреженных представлений (SRC) с порогом p≤0,05 у пациентов с угрозой психоза в сравнении с пациентами с большим депрессивным расстройством. Более темные точки являются позициями более высокой степени дискриминирования, где SRC превышает заданный порог (в иллюстрируемом примере, порог составляет 80%).

[253] На фиг. 58 показано отображение наиболее дискриминантных выбранных описателей (трех описателей в этом примере: спектральной энтропии, эксцесса и момента Ху), проводимое с классификацией на основе разреженных представлений (SRC) с порогом p≤0,05 у пациентов с угрозой психоза в сравнении с пациентами с большим депрессивным расстройством. Более темные точки являются позициями более высокой степени дискриминирования, где SRC превышает заданный порог (в иллюстрируемом примере, порог составляет 80%). Преимущество дополнительных извлекаемых конкретных описателей сетчаточного сигнала (как по положению, так и статистической значимости информации) можно понять, сравнивая описатели с представленными на фиг. 55, 56 и 57.

[254] Нетрудно понять, что не все упомянутые здесь технические результаты гарантированы в каждом варианте осуществления настоящего изобретения.

[255] Специалисты в данной области техники могут предложить модификации и усовершенствования вышеописанных реализаций настоящего изобретения. Вышеприведенное описание служит для иллюстрации, а не для ограничения. Таким образом, объем настоящего изобретения подлежит ограничению только объемом нижеследующей формулы изобретения.

Похожие патенты RU2840869C1

название год авторы номер документа
СПОСОБ ДИФФЕРЕНЦИАЛЬНОЙ ДИАГНОСТИКИ ПСИХИЧЕСКИХ РАССТРОЙСТВ ЭНДОГЕННОГО, ЭКЗОГЕННОГО И ПСИХОГЕННОГО ПРОИСХОЖДЕНИЯ НА ОСНОВЕ РЕГИСТРАЦИИ ЭЛЕКТРОДЕРМАЛЬНОЙ АКТИВНОСТИ 2011
  • Боев Игорь Викторович
  • Золотарев Сергей Владимирович
  • Боев Олег Игоревич
  • Ягода Сергей Александрович
  • Кухарова Татьяна Валерьевна
RU2455930C1
СПОСОБ ДИАГНОСТИКИ РАССТРОЙСТВ АУТИСТИЧЕСКОГО СПЕКТРА У ДЕТЕЙ 2022
  • Горбачевская Наталья Леонидовна
  • Соловьева Надежда Валентиновна
  • Кичук Ирина Викторовна
  • Митрофанов Андрей Алексеевич
RU2787463C1
Способ диагностики расстройств периферического кровотока при сахарном диабете 2023
  • Жарких Елена Валерьевна
  • Локтионова Юлия Игоревна
  • Дунаев Андрей Валерьевич
RU2822726C1
СПОСОБ АНАЛИЗА ЭЛЕКТРОЭНЦЕФАЛОГРАММ 2011
  • Степанов Андрей Борисович
RU2467384C1
СПОСОБ ПРОГНОЗИРОВАНИЯ РАЗВИТИЯ ДЕПРЕССИИ У БЕРЕМЕННЫХ С ПОТЕРЕЙ ПЛОДА В АНАМНЕЗЕ 2014
  • Никифорова Татьяна Владимировна
  • Агаркова Любовь Аглямовна
  • Бухарина Ирина Юрьевна
  • Толмачев Иван Владимирович
RU2565742C1
СПОСОБ ПРОГНОЗИРОВАНИЯ ТЕЧЕНИЯ ЯЗВЕННО-НЕКРОТИЧЕСКОГО ЭНТЕРОКОЛИТА У НОВОРОЖДЕННЫХ ДЕТЕЙ 2014
  • Хворостов Игорь Николаевич
  • Дамиров Октай Натикович
  • Смирнов Иван Евгеньевич
RU2585418C2
СПОСОБ ДИАГНОСТИКИ ЭНДОГЕННЫХ ПСИХОЗОВ 1999
  • Вовин Р.Я.
  • Иванов М.В.
  • Акименко М.А.
  • Разоренов Г.И.
  • Разоренова Т.С.
  • Мазо Г.Э.
RU2153290C1
Устройство и способ магнитной стимуляции с переменными импульсными интервалами 2019
  • Конвей, Хо
RU2721081C1
СПОСОБ ПРОГНОЗИРОВАНИЯ ОСЛОЖНЕНИЙ БОЛЬНОГО ИНФАРКТОМ МИОКАРДА 2000
  • Клюжев В.М.
  • Ардашев В.Н.
  • Литвинов А.М.
  • Врублевский О.Ю.
  • Чернецов В.А.
  • Дубынин И.В.
RU2197173C2
СПОСОБ ДЕТЕКТИРОВАНИЯ ЭПИЛЕПТИФОРМНЫХ РАЗРЯДОВ В ДЛИТЕЛЬНОЙ ЗАПИСИ ЭЭГ 2020
  • Приходько Павел Викторович
  • Панин Иван Игоревич
RU2747712C1

Иллюстрации к изобретению RU 2 840 869 C1

Реферат патента 2025 года СИСТЕМЫ И СПОСОБЫ ОБРАБОТКИ ДАННЫХ СЕТЧАТОЧНОГО СИГНАЛА И ИДЕНТИФИКАЦИИ СОСТОЯНИЙ

Группа изобретений относится к системам и способам обработки данных сетчаточного сигнала, генерируемых посредством световой стимуляции. Раскрыты способ и система для предсказания вероятности того, что пациент подвержен одному или более состояниям. Принимаются данные сетчаточного сигнала, соответствующие пациенту. Особенности сетчаточного сигнала могут извлекаться из данных сетчаточного сигнала. Данные могут применяться к первой математической модели и второй математической модели. Первая математическая модель может соответствовать первому состоянию. Вторая математическая модель может соответствовать второму состоянию. Может генерироваться первая предсказанная вероятность для первого состояния. Может генерироваться вторая предсказанная вероятность для второго состояния. Могут выводиться первая предсказанная вероятность и вторая предсказанная вероятность. Группа изобретений обеспечивает обработку данных сетчаточного сигнала и идентификации состояний. 3 н. и 11 з.п. ф-лы, 58 ил.

Формула изобретения RU 2 840 869 C1

1. Способ определения медицинских состояний на основе обработки данных сетчаточного сигнала, причем способ исполняется по меньшей мере одним процессором компьютерной системы, причем способ содержит этапы, на которых:

принимают данные сетчаточного сигнала, соответствующие пациенту, при этом

данные сетчаточного сигнала стимулируются путем подачи сигнала световой стимуляции на сетчатку пациента посредством светового стимулятора, который излучает свет, и собираются по меньшей мере одним электродом для обнаружения электрических сигналов, фотодатчиком для измерения интенсивности излучаемого света от светового стимулятора и спектрометром для измерения спектра излучаемого света от светового стимулятора,

при этом данные сетчаточного сигнала связаны со световой стимуляцией сетчатки пациента и включают в себя по меньшей мере один параметр, который является независимым от напряжения и/или независимым от времени, причем этот по меньшей мере один параметр содержит одно из интенсивности излучаемого света, спектра излучаемого света или импедансной компоненты приемной цепи;

определяют, на основе данных сетчаточного сигнала, одну или более особенностей сетчаточного сигнала;

применяют одну или более особенностей сетчаточного сигнала к математической модели, причем математическая модель соответствует медицинскому состоянию, причем математическая модель содержит алгоритм машинного обучения, обученный с использованием массива данных для данных сетчаточного сигнала пациентов с медицинским состоянием, и причем массив данных содержит по меньшей мере один параметр, который является независимым от напряжения и/или независимым от времени;

выводят, посредством математической модели, предсказанную вероятность медицинского состояния пациента; и

отображают интерфейс, содержащий предсказанную вероятность медицинского состояния пациента, при этом данные сетчаточного сигнала имеют частоту дискретизации от 4 до 24 кГц, а данные сетчаточного сигнала собирают в течение времени сбора сигналов не более 500 миллисекунд.

2. Способ по п.1, в котором импедансная компонента регистрируется непрерывно во время захвата данных сетчаточного сигнала.

3. Способ по п.1, дополнительно содержащий этапы, на которых:

получают кофакторы клинической информации, извлеченные из клинической информации, соответствующей пациенту; и

применяют кофакторы клинической информации к математической модели.

4. Способ по п.1, в котором медицинское состояние является одним из: посттравматического стрессового расстройства, припадка, субстанциональной зависимости, обсессивно-компульсивного расстройства, болезни Альцгеймера, болезни Паркинсона, рассеянного склероза, аутизма, шизофрении, биполярного расстройства, большого депрессивного расстройства, психоза или дефицитарного расстройства внимания.

5. Способ по п.1, дополнительно содержащий этапы, на которых выбирают лекарство на основании предсказанной вероятности и вводят лекарство пациенту.

6. Способ определения медицинского состояния пациента на основе биоподписи медицинского состояния пациента, причем способ исполняется по меньшей мере одним процессором компьютерной системы, причем способ содержит этапы, на которых:

принимают данные сетчаточного сигнала, соответствующие пациенту, причем данные сетчаточного сигнала стимулируются путем подачи сигнала световой стимуляции на сетчатку пациента посредством светового стимулятора, который излучает свет, и собираются по меньшей мере одним электродом для обнаружения электрических сигналов, фотодатчиком для измерения интенсивности излучаемого света от светового стимулятора и спектрометром для измерения спектра излучаемого света от светового стимулятора,

при этом данные сетчаточного сигнала связаны со световой стимуляцией сетчатки пациента и включают в себя по меньшей мере один параметр, который является независимым от напряжения и/или независимым от времени, причем этот по меньшей мере один параметр содержит одно из интенсивности излучаемого света, спектра излучаемого света или импедансной компоненты приемной цепи;

определяют, на основе данных сетчаточного сигнала, одну или более особенностей сетчаточного сигнала;

определяют расстояние между одним или более особенностями сетчаточного сигнала и биоподписью медицинского состояния,

причем биоподпись определяется с использованием данных сетчаточного сигнала от пациентов с медицинским состоянием, причем данные сетчаточного сигнала содержат по меньшей мере один параметр, который является независимым от напряжения и/или независимым от времени; и

отображают интерфейс, указывающий расстояние между одной или более особенностями сетчаточного сигнала и биоподписью медицинского состояния пациента, при этом данные сетчаточного сигнала имеют частоту дискретизации от 4 до 24 кГц, а данные сетчаточного сигнала собирают в течение времени сбора сигналов не более 500 миллисекунд.

7. Способ по п.6, в котором импедансная компонента регистрируется непрерывно во время захвата данных сетчаточного сигнала.

8. Способ по п.6, в котором медицинское состояние является одним из: посттравматического стрессового расстройства, припадка, субстанциональной зависимости, обсессивно-компульсивного расстройства, болезни Альцгеймера, болезни Паркинсона, рассеянного склероза, аутизма, шизофрении, биполярного расстройства, большого депрессивного расстройства, психоза или дефицитарного расстройства внимания.

9. Способ по п.6, дополнительно содержащий этап, на котором определяют на основе расстояния между одним или более сетчаточным сигналом и биоподписью медицинского состояния план лечения пациента.

10. Система определения медицинских состояний на основе обработки данных сетчаточного сигнала, причем система содержит:

световой стимулятор, который излучает свет;

фотодатчик для измерения интенсивности излучаемого света от светового стимулятора;

спектрометр для измерения спектра излучаемого света от светового стимулятора; и

один или более электродов для сбора данных сетчаточного сигнала, соответствующих пациенту, и

компьютерную систему, содержащую по меньшей мере один процессор и память, где хранятся исполняемые инструкции, которые, при исполнении по меньшей мере одним процессором, предписывают компьютерной системе:

принимать данные сетчаточного сигнала, причем данные сетчаточного сигнала связаны со световой стимуляцией сетчатки пациента и включают в себя по меньшей мере один параметр, который является независимым от напряжения и/или независимым от времени, причем этот по меньшей мере один параметр содержит одно из: интенсивности излучаемого света, спектра излучаемого света или импедансной компоненты приемной цепи;

определять, на основе данных сетчаточного сигнала, одну или более особенностей сетчаточного сигнала;

применять одну или более особенностей сетчаточного сигнала к математической модели, причем математическая модель соответствует медицинскому состоянию, причем математическая модель содержит алгоритм машинного обучения, обученный с использованием массива данных для данных сетчаточного сигнала пациентов с медицинским состоянием, и причем массив данных содержит по меньшей мере один параметр, который является независимым от напряжения и/или независимым от времени;

выводить, посредством математической модели, предсказанную вероятность медицинского состояния пациента; и

отображать интерфейс, содержащий предсказанную вероятность медицинского состояния пациента, при этом данные сетчаточного сигнала имеют частоту дискретизации от 4 до 24 кГц, а данные сетчаточного сигнала собирают в течение времени сбора сигналов не более 500 миллисекунд.

11. Система по п.10, при этом импедансная компонента регистрируется непрерывно во время захвата данных сетчаточного сигнала.

12. Система по п.10, при этом инструкции дополнительно предписывают компьютерной системе:

получать кофакторы клинической информации, извлеченные из клинической информации, соответствующей пациенту; и

применять кофакторы клинической информации к математической модели.

13. Система по п.10, при этом медицинское состояние является одним из: посттравматического стрессового расстройства, припадка, субстанциональной зависимости, обсессивно-компульсивного расстройства, болезни Альцгеймера, болезни Паркинсона, рассеянного склероза, аутизма, шизофрении, биполярного расстройства, большого депрессивного расстройства, психоза или дефицитарного расстройства внимания.

14. Система по п.10, при этом инструкции дополнительно предписывают компьютерной системе:

выбирать лекарство на основании предсказанной вероятности и вводить лекарство пациенту.

Документы, цитированные в отчете о поиске Патент 2025 года RU2840869C1

US 2016029919 A1, 04.02.2016
US 2015326570 A1, 12.11.2015
US 2019000350 A1, 03.01.2019.

RU 2 840 869 C1

Авторы

Аритон, Клод

Даты

2025-05-29Публикация

2021-03-25Подача