Изобретение относится к конструкции электроизолирующих уплотнительных прокладок для фланцевых соединений, в частности к спирально-навитым прокладкам, обеспечивающим помимо герметичности фланцевого соединения электрическую изоляцию соединяемых фланцев друг от друга, и может быть использовано в разъемах фланцевых соединений трубопроводов, насосов, фильтров, теплообменных аппаратов и другого оборудования тепловой и атомной энергетики, в химической и нефтегазовой промышленности и других отраслях техники.
Известны электроизолирующие уплотнительные прокладки для фланцевых соединений, изготовленные в виде плоского основания из электроизоляционного композита, например, стеклопластика, со вставками из резиновых и фторопластовых материалов (например, WO 2014138071, 12.09.2014, LAMONS GASKET COMPANY [US]). Недостатком данных уплотнительных прокладок является то, что они не обеспечивают надежной герметичности фланцевого соединения, особенно плоских фланцев с гладкими поверхностями, при повышенном предельном давлении рабочей среды.
Также известны электроизолирующие уплотнительные прокладки с изолирующими и герметизирующими покрытиями, нанесенными на зубчатые поверхности (например, WO 2020044058, 05.03.2020, FLEXITALLIC INVEST INC [US]). Данные прокладки являются, по сути, комбинацией плоской прокладки и металлического основания и не устраняют недостатков плоских прокладок - они имеют низкую восстанавливаемость и не обеспечивают высокого уровня герметичности фланцевого соединения. При этом существует возможность смятия зубцов металлического основания при существенном отклонении поверхности фланцев от плоскостности. Также к недостаткам относится сложность изготовления прокладок больших диаметров и вероятность быстрого износа мягких прокладок на вершинах зубцов.
При этом наибольшую герметичность соединений плоских фланцев с гладкой поверхностью, предотвращающую утечки и разрушения, обеспечивают спирально-навитые прокладки, выполненные в виде уплотнительного кольца, образованного посредством навивки чередующихся слоев ленты наполнителя (терморасширенного графита, фторопласта, асбеста или других уплотнительных материалов) и профилированной V-образной (или W-образной) металлической ленты, служащей армирующим элементом, удерживающим форму изделия, при этом снаружи и/или внутри уплотнительного кольца размещены ограничительные кольца. Указанные спирально-навитые прокладки при затягивании крепежных элементов фланцевого соединения плотно прилегают к уплотняемым поверхностям, заполняя при этом дефекты металлических поверхностей фланцев, обладают высокой устойчивостью к высоким температурам и давлениям, особенно при использовании в условиях переменных нагрузок, к термоциклированию благодаря сочетанию высокой эластичности наполнителя и прочности стальной ленты, и могут эксплуатироваться в широком диапазоне химических сред. Спирально-навитые прокладки используются в химической и нефтегазовой промышленности (уплотнение трубопроводов, насосов, компрессоров и различных емкостей), в энергетике (на тепловых и атомных электростанциях, в системах паро- и газоснабжения), в нефтегазодобывающей промышленности (при бурении скважин), в машиностроении (в двигателях внутреннего сгорания, компрессорах, насосах), в атомной энергетике.
Следует отметить, что в Российской Федерации для транспортируемых по трубопроводу опасных сред в соответствии с ГОСТ 32569 - 2013 (п. 6.2.4 9, п. 6.2.5) между плоскими фланцами разрешено использовать только спирально-навитые прокладки.
Известны уплотнительные прокладки для фланцевых соединений, содержащие уплотнительное кольцо, выполненное в виде навитой спирали из чередующихся слоев профилированной ленты, образующей каркас, и выступающего над каркасом наполнителя из уплотнительного материала, по внутреннему и наружному диаметрам уплотнительного кольца смонтированы внутреннее и наружное ограничительные кольца (например, WO 2013177392 A1, F16J15/12, 2013-11-28, TEADIT N A INC [US]). Указанные уплотнительные прокладки предназначены для уплотнения фланцевого соединения, однако они не обеспечивают его электрической изоляции.
Техническая задача, решаемая настоящим изобретением, состоит в создании электроизолирующей уплотнительной прокладки для фланцевого соединения, где требуется не только надежная герметичность фланцевого соединения при высоких давлениях рабочей среды, но и его электрическая изоляция.
Технический результат достигается тем, что электроизолирующая уплотнительная прокладка для фланцевого соединения содержит уплотнительное кольцо высотой hy, выполненное в виде навитой спирали из чередующихся слоев профилированной ленты из металла или из полимерного композиционного материала на основе непрерывных волокон, образующей каркас высотой hк, и выступающего над каркасом наполнителя из уплотнительного диэлектрического материала, по внутреннему и наружному диаметрам уплотнительного кольца смонтированы внутреннее и наружное ограничительные кольца высотой hо, каждое из которых выполнено из конструкционного диэлектрического материала, при этом высота hк каркаса из профилированной ленты меньше, а высота hy уплотнительного кольца больше высоты ho каждого из указанных выше внутреннего и наружного ограничительных колец: hк<hо<hy.
Предпочтительно, наполнитель уплотнительного кольца выполнен из такого диэлектрического материала, как фторопласт, безасбестовый паронит, слюда или вермикулит.
А внутреннее и наружное ограничительные кольца могут быть выполнены из такого диэлектрического материала, как полимерный, керамический или металлокерамический композиционный материал.
Вышеизложенные особенности и преимущества изобретения будут понятны из последующего описания предпочтительных примеров его осуществления со ссылками на прилагаемые фигуры, на которых:
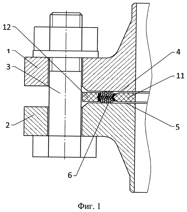
на фиг. 1 представлено схематичное изображение в разрезе фланцевого соединения с размещенной между плоскими фланцами электроизолирующей уплотнительной прокладкой для фланцевого соединения, в соответствии с настоящим изобретением;
на фиг. 2 - схематичное изображение в разрезе электроизолирующей уплотнительной прокладки для фланцевого соединения, в соответствии с настоящим изобретением.
На указанных фигурах для представления одинаковых элементов используются одинаковые позиции:
1 и 2 -фланцы с плоской уплотнительной поверхностью;
3 - крепежные элементы фланцевого соединения;
4 и 5 - уплотнительные поверхности фланцев 1 и 2;
6 - уплотнительное кольцо;
7 - профилированная лента;
8 -наполнитель;
9 - первые витки навитой спирали уплотнительного кольца 6;
10 - последние витки навитой спирали уплотнительного кольца 6;
11 - внутреннее ограничительное кольцо;
12 -наружное ограничительное кольцо;
hy - высота уплотнительного кольца;
hk- высота каркаса из профилированной ленты 7;
hво - высота внутреннего ограничительного кольца 11;
hно - высота наружного ограничительного кольца 12;
hо - высота внутреннего 11 и наружного 12 ограничительных колец равны:
ho=hво = hно.
Электроизолирующая уплотнительная прокладка для фланцевого соединения предназначена для размещения между фланцами 1 и 2 фланцевого соединения разъема оборудования для его герметизации и электрической изоляции фланцев 1 и 2. Фланцы 1 и 2 стягивают между собой посредством, например, крепежных элементов 3, при этом электроизолирующая уплотнительная прокладка зажимается между уплотнительными поверхностями 4 и 5 соответствующих фланцев 1 и 2.
Электроизолирующая уплотнительная прокладка для фланцевого соединения представляет собой спирально-навитую прокладку и содержит уплотнительное кольцо 6 высотой hy, которое выполнено в виде навитой спирали из чередующихся слоев профилированной ленты 7, образующей каркас высотой hк, и наполнителя 8. Высота hy уплотнительного кольца 6 определяется наполнителем 8, который выступает над каркасом из профилированной ленты 7, то есть высота каркаса из профилированной ленты 7 меньше высоты hy уплотнительного кольца 6: hк<hy (фиг. 2).
Наполнитель 8 выполнен из уплотнительного диэлектрического материала, например, такого как фторопласт, безасбестовый паронит, слюда или вермикулит, выбор которого зависит от перетекаемой через фланцевое соединение рабочей среды и условий эксплуатации оборудования.
Профилированная лента 7, образующая каркас уплотнительного кольца 6, выполнена из металла или из полимерного композиционного материала на основе непрерывных волокон и имеет V- или W-образный профиль.
Чтобы уплотнительное кольцо 6 не раскручивалось, первые витки 9 и последние витки 10 навитой спирали уплотнительного кольца 6 выполняют из профилированной ленты 7 и скрепляют их между собой в процессе намотки в нескольких местах точечной контактной сваркой.
В навитой спирали уплотнительного кольца 6 электроизолирующей уплотнительной прокладки каркас из профилированной ленты 7 обеспечивает жесткость и устойчивость уплотнительной прокладки, а наполнитель 8 - плотное прилегание к уплотнительным поверхностям 4, 5 фланцев 1 и 2 уплотняемого фланцевого соединения.
Внутри уплотнительного кольца 6 по его внутреннему диаметру смонтировано внутреннее ограничительное кольцо 11 высотой hво, т.е. уплотнительное кольцо 6 охватывает внутреннее ограничительное кольцо 11.
С внешней стороны уплотнительного кольца 6 по его наружному диаметру смонтировано наружное ограничительное кольцо 12 высотой hво, т.е. наружное ограничительное кольцо 12 охватывает уплотнительное кольцо 6.
Каждое из указанных внутреннего 11 и наружного 12 ограничительных колец выполнено из конструкционного диэлектрического материала, такого как полимерный, керамический или металлокерамический композиционный материал, в зависимости от размеров электроизолирующей уплотнительной прокладки и условий ее эксплуатации.
Высота hво внутреннего ограничительного кольца 11 равна высоте hно наружного ограничительного кольца 12: hво=hно=hо.
При этом в электроизолирующей уплотнительной прокладке высота hо каждого из ограничительных колец, внутреннего 11 и наружного 12, меньше высоты hy уплотнительного кольца 6, но больше высоты hк каркаса из профилированной ленты 7: hк<hо<hy.
Внутреннее 11 и наружное 12 ограничительные кольца ограничивают сжатие уплотнительного кольца 6 по высоте при затягивании крепежных элементов 3 фланцевого соединения. При этом внутреннее ограничительное кольцо 11 предотвращает выдавливание наполнителя 8 уплотнительного кольца 6 внутрь фланцевого соединения. Наружное ограничительное кольцо 12 обеспечивает прочность уплотнительного кольца 6 в радиальном направлении. И, при использовании наружного ограничительного кольца 12 с внешним диаметром, соответствующим расстоянию до крепежных элементов 3, скрепляющих фланцы 1, 2, наружное ограничительное кольцо 12 выполняет функцию дистанцирующего элемента, центрирующего уплотнительную прокладку относительно оси фланцевого соединения по крепежным элементам 3.
Электроизолирующую уплотнительную прокладку, для обеспечения герметичности фланцевого соединения аппаратов и трубопроводов, устанавливают между фланцами 1, 2, и фланцы 1, 2 стягивают между собой посредством крепежных элементов 3, например, стяжных болтов.
При затягивании крепежных элементов 3 фланцевого соединения за счет того, что толщина hy уплотнительного кольца 6 больше толщины hо внутреннего 11 и наружного 12 ограничительных колец (hy>hо), происходит сжатие уплотнительного кольца 6. При этом внутреннее 11 и наружное 12 ограничительные кольца ограничивают сжатие уплотнительного кольца 6 по высоте, тем самым предотвращая разрушение уплотнительного кольца 6.
Диэлектрические свойства электроизолирующей уплотнительной прокладки обеспечиваются диэлектрическими свойствами материалов внутреннего 11 и наружного 12 ограничительных колец и наполнителя 8 уплотнительного кольца 6. При этом образованный профилированной лентой 7 каркас уплотнительного кольца 6 обладает высокой прочностью и позволяет удерживать уплотнительный материал наполнителя 8 между гладкими поверхностями соединяемых фланцев 1 и 2 при действии высоких давлений среды. В то же время каркас из профилированной ленты 7 имеет высоту hк, меньшую чем высота hо внутреннего 11 и наружного 12 ограничительных колец, что предотвращает его контакт с поверхностями фланцев 1 и 2 в случае полного обжатия электроизолирующей уплотнительной прокладки.
Таким образом, предлагаемая электроизолирующая уплотнительная прокладка для фланцевого соединения, удовлетворяет всем требованиям уплотнения, обладая высокой механической прочностью, обеспечивает не только надежную герметичность фланцевого соединения при высоких давлениях рабочей среды, но и его электрическую изоляцию.
Описанные выше примеры осуществления и фигуры следует во всех аспектах рассматривать лишь как иллюстративные и не обуславливающие никаких ограничений. Следовательно, могут быть использованы другие примеры осуществления настоящего изобретения и примеры внедрения, которые не выходят за пределы описанных здесь существенных признаков.
| название | год | авторы | номер документа |
|---|---|---|---|
| УПЛОТНЕНИЕ МЕЖДУ НЕПОДВИЖНЫМИ ОТНОСИТЕЛЬНО ДРУГ ДРУГА ПОВЕРХНОСТЯМИ | 2000 |
|
RU2179675C1 |
| ЭЛЕКТРОИЗОЛИРУЮЩЕЕ ФЛАНЦЕВОЕ СОЕДИНЕНИЕ | 2008 |
|
RU2357146C1 |
| СПИРАЛЬНО-НАВИТАЯ ПРОКЛАДКА И СПОСОБ ЕЕ ИЗГОТОВЛЕНИЯ | 2023 |
|
RU2805402C1 |
| УПЛОТНИТЕЛЬНЫЙ УЗЕЛ НЕПОДВИЖНОГО СОЕДИНЕНИЯ | 2005 |
|
RU2298126C2 |
| УПЛОТНЕНИЕ МЕЖДУ НЕПОДВИЖНЫМИ ОТНОСИТЕЛЬНО ДРУГ ДРУГА ПОВЕРХНОСТЯМИ | 2001 |
|
RU2184895C1 |
| СПОСОБ ИЗГОТОВЛЕНИЯ ПЛОСКОЙ УПЛОТНИТЕЛЬНОЙ ПРОКЛАДКИ, ПРОКЛАДКА, ПОЛУЧЕННАЯ ЭТИМ СПОСОБОМ | 2008 |
|
RU2389926C1 |
| Уплотнительная прокладка | 2020 |
|
RU2743875C1 |
| УПЛОТНИТЕЛЬНОЕ КОЛЬЦО ТРУБОПРОВОДНОЙ АРМАТУРЫ | 2007 |
|
RU2349817C2 |
| УПЛОТНИТЕЛЬНЫЙ УЗЕЛ ФЛАНЦЕВОГО РАЗЪЕМА ПОДОГРЕВАТЕЛЯ ВЫСОКОГО ДАВЛЕНИЯ | 1997 |
|
RU2119110C1 |
| Уплотнительный узел неподвижного соединения | 1981 |
|
SU997518A1 |
Изобретение относится к конструкции электроизолирующих уплотнительных прокладок для фланцевых соединений, в частности к спирально-навитым прокладкам, обеспечивающим помимо герметичности фланцевого соединения электрическую изоляцию соединяемых плоских фланцев друг от друга, и может быть использовано в разъемах фланцевых соединений трубопроводов, насосов, фильтров, теплообменных аппаратов и другого оборудования тепловой и атомной энергетики, в химической и нефтегазовой промышленности и других отраслях техники. Электроизолирующая уплотнительная прокладка для фланцевого соединения содержит уплотнительное кольцо высотой hy, выполненное в виде навитой спирали из чередующихся слоев профилированной ленты из металла или из полимерного композиционного материала на основе непрерывных волокон, образующей каркас высотой hк, и выступающего над каркасом наполнителя из уплотнительного диэлектрического материала. По внутреннему и наружному диаметрам уплотнительного кольца смонтированы внутреннее и наружное ограничительные кольца высотой hо, каждое из которых выполнено из конструкционного диэлектрического материала. При этом высота hк каркаса профилированной ленты уплотнительного кольца меньше, а высота уплотнительного кольца hy больше высоты h0 каждого из указанных выше внутреннего и наружного ограничительных колец: hк<hо<hy. Изобретение обеспечивает не только надежную герметичность фланцевого соединения при высоких давлениях рабочей среды, но и его электрическую изоляцию. 2 з.п. ф-лы, 2 ил.
1. Электроизолирующая уплотнительная прокладка для фланцевого соединения, содержащая уплотнительное кольцо высотой hy, выполненное в виде навитой спирали из чередующихся слоев профилированной ленты из металла или из полимерного композиционного материала на основе непрерывных волокон, образующей каркас высотой hк, и выступающего над каркасом наполнителя из уплотнительного диэлектрического материала, по внутреннему и наружному диаметрам уплотнительного кольца смонтированы внутреннее и наружное ограничительные кольца высотой hо, каждое из которых выполнено из конструкционного диэлектрического материала, при этом высота hк каркаса из профилированной ленты меньше, а высота уплотнительного кольца hy больше высоты ho каждого из указанных выше внутреннего и наружного ограничительных колец: hк<hо<hy.
2. Прокладка по п. 1, у которой наполнитель уплотнительного кольца выполнен из такого диэлектрического материала, как фторопласт, безасбестовый паронит, слюда или вермикулит.
3. Прокладка по п. 1, у которой внутреннее и наружное ограничительные кольца выполнены из такого конструкционного диэлектрического материала, как полимерный, керамический или металлокерамический композиционный материал.
| WO 2013177392 A1, 28.11.2013 | |||
| WO 2020044058 A1, 05.03.2020 | |||
| WO 2014138071 A1, 12.09.2014 | |||
| ЭЛЕКТРОИЗОЛИРУЮЩЕЕ ФЛАНЦЕВОЕ СОЕДИНЕНИЕ | 2008 |
|
RU2357146C1 |
| Изолирующее фланцевое соединение | 1982 |
|
SU1139926A1 |
Авторы
Даты
2025-05-30—Публикация
2024-11-25—Подача