Область техники
Изобретение относится к деформируемому колесу с непневматической несущей способностью. Более конкретно, изобретение относится к колесу, которое несет нагрузку посредством своих конструктивных компонентов и которое, благодаря своим эксплуатационным характеристикам, пригодно для установки на транспортном средстве, предназначенном для перемещения в экстремальных условиях, таких как условия Луны и Марса.
Уровень техники
Пневматическое колесо выполняет функции несения нагрузки, амортизации ударов от неровностей дороги, а также передачи усилия (ускорение, остановка и изменение направления движения), которые очень важны для многих транспортных средств, включая велосипеды, мотоциклы, легковые автомобили и грузовики. Амортизирующие свойства пневматических шин полезны и для других целей, например, для тележек, перевозящих медицинское оборудование или чувствительное электронное оборудование.
Но существуют и альтернативы пневматическим колесам. Среди них можно упомянуть, например, сплошные шины и подпружиненные шины. Однако эти альтернативы не обладают эксплуатационными преимуществами пневматических колес. В частности, при несении нагрузки сплошной шиной происходит сжатие той ее части, которая контактирует с грунтом. Шины этого типа могут быть тяжелыми и жесткими и соответственно они не будут обладать амортизирующими свойствами пневматических колес. Если же известные из уровня техники непневматические колеса выполнены более эластичными, то они не обладают несущей способностью и долговечностью, свойственными пневматическим колесам.
Для преодоления этих недостатков в патенте США 7,418,988 была предложена шина с конструктивной поддержкой, содержащая наружный кольцевой обод и группу спиц, которые проходят поперечно и радиально внутрь от кольцевого обода к ступице колеса и обеспечивают в напряженном состоянии передачу усилий нагрузки между указанными кольцевым ободом и ступицей.
В этом колесе с конструктивной поддержкой по упомянутому изобретению нет полости, заполняемой сжатым воздухом, а следовательно, его не требуется герметизировать в зоне колесного обода для сохранения неизменным внутреннего давления воздуха. Соответственно, для такого конструктивно поддерживаемого колеса не требуется шина в стандартном понимании этого термина.
Спицы данного колеса действуют на растяжение, передавая усилия нагрузки между колесом и кольцевым ободом, что, помимо прочего, позволяет поддерживать вес транспортного средства. Несущие усилия создаются за счет натяжения спиц, которые не соединены с частью кольцевого обода, контактирующей с грунтом. Спицы также передают усилия, необходимые для совершения ускорения, остановки и прохождения поворотов.
Независимо от конкретного известного из уровня техники варианта исполнения непневматических колес, все эти колеса, как правило, не являются полностью удовлетворительными, особенно если они предназначены для эксплуатации в экстремальных условиях, таких как условия на Луне и Марсе. Действительно, в таких условиях необходимо, чтобы колесо могло значительно деформироваться при прохождении препятствия, создавая при этом низкое и равномерное контактное давление, позволяющее транспортному средству сохранять подвижность на мягком грунте, таком как грунт Луны или Марса.
В заявке ЕР 22192685 на изобретение, поданной 29 августа 2022 г. заявителем настоящей заявки, раскрыто колесо, которое удовлетворяет указанным требованиям, в частности, благодаря наличию многослойной кольцевой шины, содержащей группу концентрических ободьев, соединенных друг с другом с использованием расположенных между ними промежуточных слоев, каждый из которых выполнен из материала, модуль Юнга которого в 600000-1000 раз ниже, чем у указанных ободьев, которые изготовлены, например, из эластомерного материала. Под действием нагрузки, приложенной снаружи, часть многослойной шины, контактирующая с грунтом, деформируется, приобретая не круглую форму, а форму, соответствующую поверхности грунта, при сохранении по существу постоянной длины ободьев. Таким образом, колесо, раскрытое в указанной заявке, позволяет создавать низкое и равномерное контактное давление на грунт. Это значит, что транспортное средство, оснащенное такими колесами, может оставаться мобильным (т.е. не застревать в песке) даже на мягком грунте (например песке), встречающемся на Луне и Марсе.
Структура промежуточных слоев на основе эластомера, входящих в многослойную шину такого колеса, имеет минимальную рабочую температуру в диапазоне от -140°С до -150°С, что позволяет колесу работать, с одной стороны, в большинстве миссий вокруг южного полюса Луны, а с другой стороны, работать на всех широтах Марса (где абсолютный минимум температуры составляет -120°С). Однако такое ограничение может создать проблемы, если транспортному средству, оснащенному указанными колесами, приходится передвигаться по постоянно затененным регионам (регионам ПЗР), таким как полюса Луны, где температура постоянно находится в диапазоне от -220°С до -240°С.
Цели и сущность изобретения
Основная цель настоящего изобретения заключается в преодолении упомянутых недостатков путем создания деформируемого колеса с непневматической несущей способностью, которое можно использовать для оснащения им транспортных средств, предназначенных для передвижения в постоянно затененных районах Луны, где температура постоянно находится в диапазоне от -220°С до -240°С.
Согласно изобретению, поставленная цель достигается посредством деформируемого колеса с непневматической несущей способностью, устанавливаемого на транспортном средстве для перемещения в экстремальных условиях, таких как на Луне и Марсе, содержащего:
ступицу,
многослойную кольцевую шину, предназначенную для контакта с грунтом, расположенную вокруг концентрической по отношению к ней ступицы и содержащую группу концентрических ободьев, собранных друг с другом с размещением между ними промежуточных слоев, каждый из которых выполнен из материала, модуль Юнга которого в 600000-1000 раз ниже, чем у указанных ободьев,
и группу металлических тросов, радиально соединяющих ступицу с многослойной шиной, прикрепленных, с одной стороны, внешним концом к многослойной шине, а с другой стороны, внутренним концом к ступице,
при этом в соответствии с изобретением:
многослойная шина покрыта по меньшей мере одним теплоизоляционным покрытием, выполненным из по меньшей мере одного материала, имеющего теплопроводность менее 0,2 Вт м-1 К-1,
причем колесо содержит средства нагрева указанных промежуточных слоев многослойной шины.
Предложенное колесо характеризуется, в частности, тем, что в нем используются средства нагрева промежуточных слоев многослойной шины, позволяющие изменять температуру промежуточных слоев таким образом, чтобы она не достигала температуры стеклования материала, из которого эти слои состоят. Учитывая, что материал, из которого состоят эти промежуточные слои, имеет тенденцию к самовыделению тепла, когда он деформируется во время движения (из- за сопротивления движению), и что выделяемое тепло становится еще выше, когда температура материала приближается к температуре стеклования, настоящее изобретение приводит к еще большему нагреву колеса и большему отклонению температуры промежуточных слоев от указанной температуры стеклования.
Кроме того, наличие теплоизоляционного покрытия на многослойной шине позволяет ограничить теплопроводность между лунным грунтом и материалом, составляющим промежуточные слои многослойной шины.
В результате, предложенное колесо способно выдерживать температуры порядка -220°С - -240°С, которые обычно наблюдаются в областях Луны, постоянно находящихся в тени.
Указанные средства нагрева многослойной шины могут содержать вращательные контакты для установления вращательного электрического соединения между ступицей колеса и ободьями многослойной шины.
В этом случае вращательные контакты предпочтительно соединены с электрическими нагревательными проводами, которые намотаны в толщине ободьев многослойной шины.
Более конкретно, ободья многослойной шины могут быть изготовлены из композитного материала, а промежуточные слои могут быть выполнены из сверхупругого эластомера, при этом электрические провода нагревательного средства многослойной шины внедрены в композитный материал при изготовлении ободьев, чтобы передавать тепло эластомеру, составляющему данные промежуточные слои.
В этом случае электрические провода предпочтительно расположены в окружном направлении композитного материала на нейтральном волокне и образуют группу контуров, разнесенных на расстояние друг от друга в окружном направлении.
Согласно предпочтительному варианту, электронагревательные провода проходят внутри пружины, один конец которой навинчен со стороны многослойной шины на буртик, прикрепленный к ободу многослойной шины, содержащей электрический нагревательный провод, а противоположный конец прикреплен к ступице.
Теплоизоляционное покрытие может быть изготовлено из по меньшей мере одного из следующих материалов: синтетическое арамидное волокно, стекловолокно, поливинилацетат и кожа.
В предпочтительном случае теплоизоляционное покрытие покрыто с внутренней стороны металлом для ограничения передачи тепловой энергии посредством излучения.
Также предпочтительно, чтобы колесо дополнительно содержало средства измерения температуры промежуточных слоев многослойной шины.
Согласно еще более предпочтительному варианту, колесо дополнительно содержит средства измерения деформаций и напряжений многослойной шины, позволяющие контролировать рабочие характеристики и срок службы многослойной шины, чтобы исключить возможный отказ в случае выполнения задач вдали от лунной базы.
Краткое описание чертежей
Другие признаки и преимущества изобретения станут более понятными после ознакомления с приведенным ниже описанием, изложенным со ссылкой на прилагаемые чертежи, которые иллюстрируют примерный вариант изобретения, не ограничивая объем его притязаний. При этом из указанных чертежей:
на фиг. 1 представлен схематичный аксонометрический вид колеса, соответствующего одному из вариантов изобретения;
на фиг. 2 представлен схематичный вид спереди показанного на фиг. 1 колеса по всей его высоте;
на фиг. 3 представлен вид в разрезе по плоскости III-III, показанной на фиг. 2;
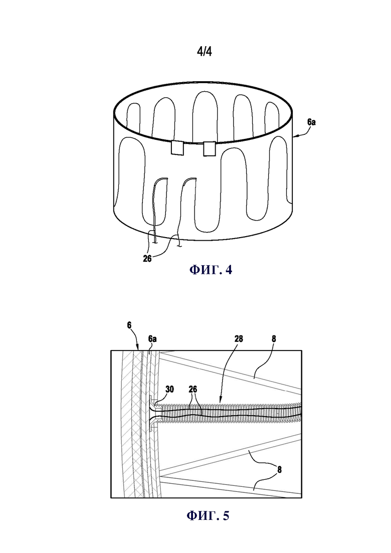
на фиг. 4 показан пример обода многослойной шины колеса, в который встроены электрические нагревательные провода.
на фиг. 5 показана часть пружины, внутри которой проходят электрические провода, нагревающие промежуточные слои многослойной шины.
Осуществление изобретения
Изобретение относится к деформируемому колесу с непневматической несущей способностью, такому как изображено на фиг. 1. Это колесо подходит для оснащения транспортного средства, предназначенного для эксплуатации в экстремальных условиях, подобных условиям Луны и Марса.
Показанное на фиг. 1 колесо 2 содержит, главным образом, ступицу 4, многослойную кольцевую шину 6, предназначенную для ведения в контакт с грунтом, и группу металлических тросов 8, радиально соединяющих ступицу с многослойной шиной.
Как следует из фиг. 2 и 4, многослойная шина 6 состоит из группы концентрических ободьев 6а, соединенных друг с другом путем их размещения между промежуточными слоями 6b, каждый из которых выполнен из материала, модуль Юнга которого в 600000-1000 раз ниже, чем у указанных ободьев.
Ободья 6а могут быть металлическими (например, изготовленными из стали) или из композитного материала.
Что касается промежуточных слоев 6b, то они предпочтительно изготовлены из сверхупругого эластомера, имеющего температуру стеклования менее 120°С.
Благодаря такому составу многослойной шины 6, та часть многослойной шины, которая вступает в соприкосновение с грунтом, деформируется из-за действующей снаружи нагрузки, при этом форма шины согласуется с поверхностью грунта, сохраняя по существу постоянной длину образующих ее ободьев 6а. Относительное перемещение ободьев многослойной шины происходит за счет их сдвига в промежуточных слоях 6b.
Как показано, в частности, на фиг. 1, ступица 4 колеса имеет два диска 12, 14, выступающие от нее наружу в радиальном направлении. Эти два диска 12, 14 расположены на расстоянии друг от друга вдоль оси Х-Х колеса, и каждый из них имеет внешний диаметр, к которому может прилегать внутренняя поверхность многослойной шины 6 для ограничения ее деформаций.
Тросы 8 в радиальном направлении соединяют многослойную шину 6 со ступицей 4. Для этой цели каждый трос 8 имеет внешний конец 8а, прикрепленный к соответствующей планке 16, при этом указанные планки установлены на внешней поверхности многослойной шины.
При такой конфигурации внешние концы 8а тросов проходят через все ободья 6а и промежуточные слои 6b многослойной шины. Конечно, можно предусмотреть, чтобы внешние концы 8а тросов были закреплены на внутренней поверхности многослойной шины.
Своими соответствующими внутренними концами тросы 8 прикреплены к ступице 4, предпочтительно с помощью упругого элемента 18, позволяющего регулировать радиальную жесткость тросов. В этом случае внутренние концы 8b тросов проходят через ступицу по всей ее толщине.
В варианте, показанном на фигурах 1-3, упругие элементы 18 представляют собой пластинчатые пружины, каждая из которых имеет форму удлиненной пластины и которые прикреплены своими центральными участками к внутренней поверхности 4а ступицы при помощи заклепок.
В другом варианте осуществления, не показанном на фигурах (но описанном в заявке ЕР 22192685), указанные упругие элементы могут быть выполнены в виде лепестков, сложенных в форме буквы U (т.е. под углом 180°), образующих пружины, позволяющие регулировать радиальную жесткость тросов.
Каждый трос 8 состоит из сборки металлических проводов (например, изготовленных из стали), состоящих из жил, которые собраны вокруг металлической сердцевины. Например, каждый трос включает в себя 6 или 7 жил, каждая из которых состоит из 7-61 металлических проводов, причем внешний диаметр сборки составляет от 0,2 мм до 5 мм.
Каждый трос 8 может предпочтительно иметь соотношение между его механической жесткостью при растяжении Kt и его механической жесткостью при сжатии Kc, которое составляет от 50000 до 300000 (т.е. 5000ЈKt/KcЈ300000), и предпочтительно составляет от 25000 до 150000 (т.е. 25000ЈKt/Kc150000).
Эти значения механической жесткости Kt и Kc получены в соответствии с рекомендациями стандартов ISO 2408:2017 и ISO 17893:2004 (относящимися к требованиям, предъявляемым к стальным тросам) и с использованием испытательной машины марки “INSTRONТ” модели 34ТМ-10.
Другими словами, тросы 8 имеют асимметрию жесткости, согласно которой их механическая жесткость при растяжении Kt значительно превышает их механическую жесткость при сжатии Kc.
Кроме того, в показанном на этой фигуре варианте изобретения тросы 8 имеют особое распределение относительно всей оси Х-Х колеса, характеризующееся первым двойным рядом из n тросов, соответствующие внутренние концы которых расположены на внутренней стороне колеса, и вторым двойным рядом из m тросов, соответствующие внутренние концы которых расположены на внешней стороне колеса.
Более конкретно, в каждом двойном ряду тросов внутренние концы тросов закреплены на ступице, располагаясь сбоку между одним из двух дисков 12, 14 и боковым (внутренним и внешним) краем ступицы. Количество n, m тросов может быть одинаковым для каждого двойного ряда тросов.
Кроме того, как показано на фиг. 2, каждый трос 8 предпочтительно наклонен относительно плоскости Pr, радиальной к ступице 4, на угол a, составляющий (по абсолютной величине) от 0,1° до 45° и предпочтительно равный 10° (по абсолютной величине).
В частности, для одного и того же ряда тросов может быть предпочтительно предусмотреть чередующиеся углы наклона между соседними тросами (один из тросов имеет положительный угол наклона д, обозначен “a+" на фиг. 2, а соседний трос имеет отрицательный угол наклона a, обозначен “a-”на фиг. 2).
Аналогично, как показано на фиг. 4, каждый трос 8 предпочтительно наклонен относительно плоскости Pt, поперечной ступице 4, на угол b, составляющий от 0,1° до 45° (по абсолютной величине), и предпочтительно равный 10° (по абсолютной величине).
В частности, для каждого из двух двойных рядов тросов может быть предпочтительно предусмотреть, чтобы все тросы, принадлежащие к одному из указанных двух рядов, имели положительный угол наклона b (обозначенный "b+" на фиг. 4), а все тросы, принадлежащие к другому из этих двух рядов, имели отрицательный угол наклона b (обозначен как "b-" на фиг. 4).
Указанные углы наклона a, b тросов 8 позволяют увеличить жесткость колеса при боковом напряжении (например, во время поворота) или при торможении транспортного средства, оснащенного такими колесными тормозами.
Согласно изобретению, многослойная шина 6 колеса 2 покрыта по меньшей мере одним теплоизоляционным покрытием 20, которое выполнено из по меньшей мере одного материала, имеющего теплопроводность менее 0,2 Вт м-1 К-1, т.е. очень низкую.
Например, это теплоизоляционное покрытие 20 может быть изготовлено из по меньшей мере одного материала, выбранного из следующей группы материалов: синтетическое арамидное волокно (в частности, КевларТ), стекловолокно, поливинилацетат и кожа.
Кроме того, для дальнейшего снижения эффективной теплопроводности теплоизоляционного покрытия целесообразно снабдить его “карманами” или вакуумными отверстиями с внутренней стороны. Это достигается, например, с помощью тканого материала.
Кроме того, теплоизоляционное покрытие 20 может быть изготовлено путем сборки нескольких материалов, в частности путем укладки стопкой нескольких слоев из различных материалов. Например, теплоизоляционное покрытие 20 может быть выполнено путем укладки стопкой слоя кожи толщиной от 3 до 5 мм, слоя алюминия для ограничения излучения, слоя арамидной ткани толщиной от 5 до 10 мм и слоя поливинилацетата толщиной от 1 до 2 мм.
В предпочтительном случае, теплоизоляционное покрытие 20 с внутренней стороны покрыто металлом (например, слоем алюминия) для ограничения передачи тепловой энергии посредством излучения.
Тем не менее, согласно изобретению, колесо 2 дополнительно содержит средства нагрева промежуточных слоев 6b многослойной шины.
Эти средства нагрева промежуточных слоев 6b многослойной шины могут содержать вращательные контакты для установления вращательного электрического соединения между ступицей 4 колеса и ободьями 6а многослойной шины.
На фиг. 2 показан пример реализации таких вращательных контактов: блок щеток 22 прикреплен к транспортному средству, оснащенному колесом 2, и снабжается электроэнергией от последнего по силовым кабелям 23. Этот блок щеток 22 находится в электрическом контакте с кольцом 24, отцентрированным на оси Х-Х колеса и прикрепленным к его ступице 4, для обеспечения передачи электропитания к ободьям 6а многослойной шины через электрические нагревательные провода 26, которые намотаны по толщине ободьев 6а многослойной шины.
Как показано на фиг. 4, если ободья 6а многослойной шины изготовлены из композитного материала, а промежуточные слои 6b состоят из сверхупругого эластомера, то электронагревательные провода 26 могут быть встроены в композитный материал одного из ободьев предпочтительно при изготовлении, чтобы передавать тепло в сверхупругий эластомер, образующий промежуточные слои 6b.
В этом случае электронагревательные провода 26 предпочтительно расположены в окружном направлении на уровне нейтрального волокна (т.е. волокна, длина которого не изменяется даже с учетом изгибной деформации обода) и образуют в композитном материале группу контуров 26а, разнесенных друг от друга на расстояние по окружности.
Более того, как детально показано на фиг. 5, электронагревательные провода 26 могут предпочтительно проходить внутри пружины 28, один конец которой привинчен со стороны многослойной шины к буртику 30, закрепленному на ободе 6а многослойной шины, содержащей электронагревательный провод, тогда как противоположный конец пружины прикреплен к ступице.
Такая пружина, направляющая электронагревательные провода, имеет много преимуществ, в частности, она обеспечивает защиту проводов от возможного контакта с камнями и обуславливает возможность их смещения на несколько сантиметров между ступицей и многослойной шиной.
В соответствии с другой предпочтительной конструкцией (не показанной на чертежах) могут быть предусмотрены средства измерения температуры (например, термопары или другие датчики различных типов) промежуточных слоев 6b многослойной шины, что позволяет регулировать передаваемую на слои мощность нагрева и тем самым предотвращать приближение их температуры к температуре стеклования материала, из которого они состоят.
Например, температуру промежуточных слоев 6b многослойной шины можно контролировать с помощью оптических волокон с брэгговской решеткой (хорошо известны из уровня техники), внедренных непосредственно в толщу ободьев 6а.
Преимущество использования оптических волокон с брэгговской решеткой заключается в том, что они позволяют отслеживать деформации и определять напряжения, которым подвергается материал, из которого изготавливают ободья многослойной шины.
В альтернативном случае, контроль температуры промежуточных слоев 6b многослойной шины может быть осуществлен с помощью датчика температуры, например, платинового резистивного термометра (также называемого зондом RTD, от англ. Resistance Temperature Detector, -“резистивный датчик температуры”).
Согласно еще одному предпочтительному варианту изобретения (не показанному на чертежах), могут быть предусмотрены средства измерения деформаций и напряжений многослойной шины, например, с использованием оптических волокон с брэгговской решеткой.
Следует отметить, что средства измерения температуры промежуточных слоев 10 многослойной шины и средства измерения деформаций и напряжений многослойной шины могут в предпочтительном случае проходить через пружину, используемую для направления электрических нагревательных проводов.
| название | год | авторы | номер документа |
|---|---|---|---|
| Деформируемое колесо с непневматической поддержкой нагрузки для лунных и марсианских условий | 2023 |
|
RU2818604C1 |
| ДЕФОРМИРУЕМОЕ КОЛЕСО С НЕПНЕВМАТИЧЕСКОЙ НЕСУЩЕЙ СПОСОБНОСТЬЮ И ПОВОРОТНЫМ УПОРНЫМ ДИСКОМ ДЛЯ ЛУННЫХ И МАРСИАНСКИХ УСЛОВИЙ | 2024 |
|
RU2841242C1 |
| СИСТЕМА ДЛЯ НЕПНЕВМАТИЧЕСКОЙ ОПОРЫ ТРАНСПОРТНОГО СРЕДСТВА | 2011 |
|
RU2463171C1 |
| ШИНА | 2010 |
|
RU2529061C2 |
| КОНСТРУКТИВНО ПОДДЕРЖИВАЕМОЕ НЕПНЕВМАТИЧЕСКОЕ КОЛЕСО С УЗЛОМ НЕПРЕРЫВНОГО КОНТУРА | 2011 |
|
RU2519576C2 |
| СТРУКТУРНО НЕСУЩАЯ ШИНА, А ТАКЖЕ СПОСОБ ОПРЕДЕЛЕНИЯ ПОПЕРЕЧНОГО ПРОФИЛЯ ПЕРЕМЫЧКИ-СПИЦЫ ДЛЯ ТАКОЙ ШИНЫ | 2005 |
|
RU2372209C2 |
| НЕПНЕВМАТИЧЕСКАЯ ШИНА | 2001 |
|
RU2269425C2 |
| КОЛЕСО ТРАНСПОРТНОГО СРЕДСТВА ДЛЯ ПЕРЕДВИЖЕНИЯ В ЭКСТРЕМАЛЬНЫХ УСЛОВИЯХ | 2022 |
|
RU2782279C1 |
| ШИНА ДЛЯ НАЗЕМНОГО ТРАНСПОРТНОГО СРЕДСТВА | 2012 |
|
RU2581315C2 |
| УПРУГОДЕФОРМИРУЕМОЕ КОЛЕСО | 2004 |
|
RU2347684C2 |
Колесо содержит ступицу (4), многослойную шину (6), состоящую из группы ободьев, соединенных друг с другом с размещением между ними промежуточных слоев, и группу металлических тросов (8), соединяющих ступицу с многослойной шиной. Многослойная шина покрыта по меньшей мере одним теплоизоляционным покрытием (20), выполненным из по меньшей мере одного материала, имеющего теплопроводность менее 0,2 Вт м-1 К-1. Колесо дополнительно содержит средство (22, 24, 26) нагрева указанных промежуточных слоев многослойной шины. Технический результат - повышение надежности шины в экстремальных условиях эксплуатации. 9 з.п. ф-лы, 5 ил.
1. Деформируемое колесо (2) с непневматической несущей способностью, предназначенное для оснащения транспортного средства для езды в экстремальных условиях, таких как на Луне и Марсе, содержащее:
ступицу (4),
многослойную кольцевую шину (6), предназначенную для контакта с грунтом, расположенную вокруг концентрической по отношению к ней ступицы и содержащую группу концентрических ободьев (6а), собранных друг с другом с размещением между ними промежуточных слоев (6b), каждый из которых выполнен из материала, модуль Юнга которого в 600000-1000 раз ниже, чем у указанных ободьев,
и группу металлических тросов (8), радиально соединяющих ступицу с многослойной шиной, прикрепленных с одной стороны внешним концом (8а) к многослойной шине (6), а с другой стороны внутренним концом (8b) к ступице (4),
отличающееся тем, что многослойная шина покрыта по меньшей мере одним теплоизоляционным покрытием (20), выполненным из по меньшей мере одного материала, имеющего теплопроводность менее 0,2 Вт м-1 К-1,
при этом колесо содержит средства (22, 24, 26) нагрева указанных промежуточных слоев (6b) многослойной шины.
2. Колесо по п. 1, отличающееся тем, что указанные средства нагрева многослойной шины содержат вращательные контакты (22, 24) для установления вращательного электрического соединения между ступицей (4) колеса и ободьями (6а) многослойной шины (6).
3. Колесо по п. 2, отличающееся тем, что указанные вращательные контакты (22, 24) соединены с электрическими нагревательными проводами (26), которые намотаны в толщине ободьев многослойной шины.
4. Колесо по п. 3, отличающееся тем, что ободья (6а) многослойной шины (6) выполнены из композитного материала, а промежуточные слои (6b) выполнены из сверхупругого эластомера, при этом электрические провода (26) нагревательных средств многослойной шины внедрены в указанный композитный материал при изготовлении ободьев для передачи тепла эластомеру, составляющему эти промежуточные слои.
5. Колесо по п. 4, отличающееся тем, что электрические провода (26) расположены в окружном направлении композитного материала на нейтральном волокне и образуют группу контуров, разнесенных на расстояние друг от друга в окружном направлении.
6. Колесо по любому из пп. 3-5, отличающееся тем, что электрические нагревательные провода (26) пропущены внутри пружины (28), один конец которой навинчен со стороны многослойной шины на буртик (30), прикрепленный к ободу (6а) многослойной шины, содержащей электрический нагревательный провод, а противоположный конец прикреплен к ступице.
7. Колесо по любому из пп. 1-6, отличающееся тем, что указанное теплоизоляционное покрытие (20) выполнено из по меньшей мере одного материала из следующих материалов: синтетическое арамидное волокно, стекловолокно, поливинилацетат и кожа.
8. Колесо по любому из пп. 1-7, отличающееся тем, что внутренняя поверхность теплоизоляционного покрытия (20) покрыта металлом для ограничения передачи тепловой энергии посредством излучения.
9. Колесо по любому из пп.1-8, отличающееся тем, что оно дополнительно содержит средства измерения температуры промежуточных слоев многослойной шины.
10. Колесо по любому из пп. 1-9, отличающееся тем, что оно дополнительно содержит средства измерения деформаций и напряжений многослойной шины.
| WO 2018060578 A1, (Michelin) 05.04.2018 | |||
| US 7418988 B2, (Steven Cron M.) 02.09.2008 | |||
| CN 11816891 A, (Shenyang) 21.02.2020 | |||
| US 20120223497 A1, (Peter Radzewski) 06.09.2012 | |||
| ДЕФОРМИРУЕМОЕ КОЛЕСО, НЕ ЯВЛЯЮЩЕЕСЯ ПНЕВМАТИЧЕСКИМ | 1998 |
|
RU2223867C2 |
Авторы
Даты
2025-06-04—Публикация
2024-10-02—Подача