Изобретение относится к области транспорта природного газа и может быть использовано для одоризации транспортируемого природного газа.
Известно, что природный газ не имеет запаха, и в связи с этим условием его утечка, сложно определяема и может привести к возникновению аварийной ситуации. Для исключения подобных ситуаций, путем придания природному газу интенсивного специфического запаха (одоризация), в поток транспортируемого газа вводятся одоранты, представляющие собой смеси природных меркаптанов.
Одорант (по зтилмеркаптану) по токсическому воздействию при его вдыхании относится ко II классу опасности по ГОСТ 12.1.007-76 «Система стандартов безопасности труда. Вредные вещества. Классификация и общие требования безопасности», в связи, с чем работа с данным веществом является весьма опасной для обслуживающего персонала газотранспортных предприятий.
Так, например, согласно «Инструкция по технике безопасности при производстве, хранении, транспортировании (перевозке) и использовании одоранта» (ОАО «Газпром, утверждено заместителем Председателя Правления ОАО «Газпром» В.В. Ремизовым 23 марта 1999 года) п. 1.17, п. 1.18 - на объектах, на которых возможен аварийный разлив одоранта, должна быть предусмотрена возможность откачки разлитого одоранта в технологическую или специальную емкость, а также процесс дезодоризации (уничтожение запаха одоранта) в помещении, осуществляющийся путем вентиляции воздуха в помещении и обработки поверхностей 1% водным раствором марганцевокислого калия. Остатки разлитого одоранта, которые невозможно собрать табельными средствами, должны быть немедленно нейтрализованы 10% водным раствором хлорной извести и удалены в закрытую систему утилизации.
Недостатком известного способа является низкий уровень безопасности осуществляемых работ, ввиду необходимости ручной нейтрализации и последующего сбора разлитого одоранта, являющегося токсичным веществом.
Из области техники известен комплекс одоризации газа [Патент РФ №114522, G01F 13/00 (2006.01), опубл. 27.03.2012, Бюл. №9], состоящий из рабочей емкости, подземной емкости одоранта, дозирующего устройства, управляемого электромагнитного клапана для подачи одоранта, блока управления, внешнего расходомера газа, датчика перепада давления, мерной трубки, включенной между рабочей емкостью и дозирующим устройством. При этом введен аварийный контур дозирования, содержащий регулировочный вентиль, капельницу, которые связывают рабочую емкость одоранта с одорируемым газопроводом, введен обратный клапан, указатель уровня, дезодоратор, датчик избыточного давления, фильтр-отстойник, фильтр тонкой очистки, манометр, а мерная трубка реализована как сообщающийся сосуд к рабочей емкости одоранта, при этом подземная емкость одоранта последовательно соединена посредством трубопроводов, фитингов, вентиля с дезодоратором, который последовательно соединен посредством трубопроводов, фитингов, крана с рабочей емкостью одоранта и указателем уровня, при этом одорируемый газопровод с помощью фитингов, трубопроводов, крана последовательно соединен с манометром и подземной емкостью одоранта, которая последовательно соединена с помощью трубопроводов, фитингов, вентиля с фильтром-отстойником и рабочей емкостью одоранта, которая в свою очередь параллельно соединена трубопроводами и фитингами с указателем уровня и мерной трубкой, при этом одорируемый газопровод посредством фитингов, трубопроводов, крана последовательно соединен с датчиком избыточного давления и рабочей емкостью одоранта, которая последовательно соединена с помощью трубопроводов и фитингов с электромагнитным клапаном, который последовательно соединен с мерной трубкой, соединенной параллельно с датчиком перепада давления, при этом мерная трубка последовательно соединена с фильтром тонкой очистки, который последовательно соединен с дозирующим устройством, которое последовательно соединено с обратным клапаном, который в свою очередь последовательно соединен с рабочей емкостью, а также с капельницей, которая последовательно соединена трубопроводами, фитингами, краном с одорируемым газопроводом.
Недостатком известной полезной модели является низкая степень безопасности в условиях возникновения аварийной ситуации, характеризуемой утечкой одоранта.
Из области техники известна одоризирующая установка [Патент РФ №67252, G01F 11/00, G01F 13/00 (2006.01), опубл. 10.10.2007, Бюл. №28], характеризующаяся тем, что имеет блок управления, расположенные последовательно емкости для одоранта: расходную, замерную, резервную, выполненные в виде вытянутых цилиндрических тел, причем расходная емкость выполнена в виде параллельных рядов попарно соединенных восьми цилиндров, датчики-сигнализаторы нижнего и верхнего уровня одоранта, узел для визуального контроля дозировки одоранта в виде смотрового окна и капельницы, узел заправки расходной емкости - в виде последовательно соединенных клапана, первого манометра, эжектора, мановакуумметра, второго манометра, предохранительного клапана, шарового крана, систему автоматической одоризации газа в виде последовательно соединенных фильтра тонкой очистки, входного электромагнитного клапана, измерительной трубки, дифференциального манометра, выходного электромагнитного клапана, дозирующий насос, запорную арматуру, включающую шаровые краны и клапаны, элементы соединения вышеперечисленных узлов и деталей в виде фитингов и трубопроводов, поддон. Дополнительно включает систему подачи газа в дозирующее устройство в виде последовательно соединенных третьего манометра, редуктора, первого ресивера, трехходового электромагнитного клапана, дозирующего насоса, второго ресивера. При этом дополнительно имеет обогреватель.
Недостатком известной полезной модели является низкая степень безопасности в условиях возникновения аварийной ситуации, характеризуемой утечкой одоранта.
Из области техники известно устройство для очистки резервуара [Патент РФ №176689, В08В 9/08 (2006.01), опубл. 25.01.2018, Бюл. №3], содержащее расходную емкость, шламоуловитель, циркуляционный насос. При этом оно дополнительно снабжено узлом ввода эжекторного типа, соединенного посредством металлорукавов с сепаратором и датчиком уровня, через датчик давления и вентиль - с циркуляционным насосом, через вентиль - с всасывающим насосом, а также с разрядной камерой, соединенной с теплообменником через чиллер, в которую кислород нагнетается из генератора кислорода, связанного с компрессором и воздухозаборником, расходная емкость соединена посредством металлорукавов с вентилями с сепаратором, шламоуловителем, соединенным с всасывающей линией циркуляционного насоса, и всасывающим насосом, сепаратор соединен через гидрозатвор и каталитический деструктор озона с атмосферой, при этом циркуляционный насос, всасывающий насос, вентили, датчик давления и датчик уровня связаны с компьютером.
Недостатком известной полезной модели является низкая степень безопасности в условиях возникновения аварийной ситуации, характеризуемой утечкой одоранта.
Наиболее близким по технической сущности к заявляемому устройству является блок одоризации, изготавливаемый ООО «НЛП «Авиагаз-Союз+»», включающий блок-бокс, насос дозатор, фильтр одоранта, калибратор дозы одоранта, емкость для хранения одоранта, расходные емкости для одоранта, резервную емкость для одоранта, капельницу, вентиль игольчатый, эжектор технологический, дезодоратор, байпасный электронный указатель уровня одоранта, узел контроля подачи дозы одоранта, резервную линию подачи одоранта, систему промывки трубопроводов нейтрализующим раствором [см. Интернет сайт ООО «НЛП «Авиагаз-Союз+»», Продукция, Газовое оборудование, Блок одоризации // https://agrs.ru/products/gas/blok-odorizacii].
Недостатком известного блока одоризации является низкая степень безопасности в условиях возникновения аварийной ситуации, характеризуемой утечкой одоранта.
Задачей изобретения является создание устройства для одоризации природного газа, позволяющего нивелировать недостатки аналогов и прототипа.
Техническим результатом изобретения является повышение безопасности процесса одоризации транспортируемого природного газа.
Поставленная задача и технический результат в устройстве для одоризации природного газа, включающем блок-контейнер, насос дозатор одоранта, фильтр одоранта, калибратор дозы одоранта, емкость для хранения одоранта, расходную емкость для одоранта, резервную емкость для одоранта, капельницу, соединительные трубопроводы малого диаметра, запорно-регулирующую арматуру, блок управления процессом дозированной подачи одоранта, поддон, решается тем, что устройство для одоризации природного газа дополнительно содержит резервуар, заполненный раствором-нейтрализатором, высокопроизводительный насос, верхний распылитель, нижний распылитель, цифровой блок управления процессом нейтрализации одоранта, газоанализатор, соединительные патрубки, кассетный уловитель, установленный в поддоне.
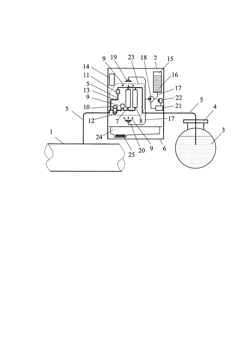
Устройство для одоризации природного газа поясняется с помощью графического изображения, на котором приведена общая схема устройства для одоризации природного газа.
Для индикации утечек, в поставляемый по трубопроводу (1) (фиг.) потребителям природный газ (на фиг.не показан), с помощью блока одоризации (2) (фиг.) вводят специальные вещества с сильным специфическим запахом, называемые одорантами. Одорант (3) в жидком виде, под давлением, размещают в емкости для хранения (4), из которой, по трубопроводам малого диаметра (5), направляют в размещаемые в блок-контейнере (6) расходную емкость (7) или резервную емкость (8), откуда, через фильтр (9), к насосу-дозатору (10) или капельнице (11), которые далее обеспечивают регулируемую подачу одоранта (3) в трубопровод (1). Управление процессом дозированной подачи одоранта осуществляют с помощью калибратора (12) дозы одоранта (3), запорно-регулирующей арматуры (13), а также блока управления (14) с учетом фактического расхода газа (на фиг. не показан).
При эксплуатации блока одоризации (2) возможны различные отказы и нарушения, в том числе сопровождающиеся утечками одоранта (3). Ликвидация утечек внутри блок-контейнера (6) блока одоризации (2) является сложной задачей, вследствие высокой токсичности одоранта (3).
Для снижения трудоемкости и повышения безопасности мероприятий по устранению утечек одоранта (3) в блок-контейнере (6) размещают резервуар (15), содержащий раствор-нейтрализатор (16) одоранта (3), подключаемый с помощью патрубков (17) к высокопроизводительному насосу (18), обеспечивающему подачу раствора-нейтрализатора (16) по патрубкам (17) к парным, расположенным над в верхней и нижней частях блок-контейнера (6), верхнему распылителю (19) и нижнему распылителю (20). Для управления насосом (18) используется цифровой блок (21), оснащенный газоанализатором (22). Верхний распылитель (19) и нижний распылитель (20) обеспечивают подачу раствора-нейтрализатора (16) на внешние поверхности расположенных в пределах зоны нейтрализации (23) одоранта (3) трубопроводов малого диаметра (5), расходной емкости (7), резервной емкости (8), фильтра (9), насоса-дозатора (10), капельницы (11), калибратора (12), запорно-регулирующей арматуры (13), а также прочего вспомогательного оборудования (на фиг. не показаны) для дозированной подачи одоранта (3).
После распыления, раствор-нейтрализатор (16) с одорантом (3) стекает в расположенный в нижней части блок контейнера (6), под нижним распылителем (20), поддон (24), оснащенный кассетным уловителем (25) с адсорбентом (на фиг. не показан).
В процессе аварийной утечки одоранта (3), газоанализатор (22) подает сигнал о превышении предельно-допустимой концентрации паров одоранта (3) в воздухе внутри блок-контейнера (6) на цифровой блок (21), при этом, прекращается подача одоранта (3) из емкости хранения (4), запускается в работу насос (18), в результате, подаваемый верхним распылителем (19) и нижним распылителем (20) раствор-нейтрализатор (16) обеспечивает растворение и удаление аварийно истекающего одоранта (3). Распыление раствора-нейтрализатора (16) выполняют до тех пор, пока концентрация паров одоранта (3) в воздухе, внутри блок-контейнера (6), определяемая с помощью газоанализатора (22), не достигнет безопасного значения. Стекающий в поддон (24) раствор-нейтрализатор (16) с одорантом (3) накапливается в кассетном уловителе (25), который, в процессе проведения ремонтных работ, выполняемых с целью устранения причины утечки одоранта (3) удаляется и заменяется на ранее не использованный кассетный уловитель (25). Кассетный уловитель (25), удерживающий в связанном виде раствор-нейтрализатор (16) отправляют на утилизацию в соответствии с правилами утилизации химически-опасных веществ.
Пример.
На газораспределительной станции (на фиг. не показана) расположен блок одоризации (2), выполненный в виде блок-контейнера (6), содержащий:
- цилиндрический стальной резервуар (15) объемом 50 л, заполненный раствором-нейтрализатором (16) в качество которого используется 10% водный раствор хлорной извести;
- электроприводной высокопроизводительный насос (18) во взрывозащищенном исполнении, производительностью не меньше 0,1 л/с;
- верхний распылитель (19) и нижний распылитель (20);
- патрубки (17) из нержавеющей стали, внутренним диаметром 10 мм, с толщиной стенки 1 мм, соединяющие резервуар (15) с насосом (18) и насос (18) с верхним распылителем (19) и нижним распылителем (20);
- тонкостенный поддон (24) из нержавеющей стали, полностью перекрывающий нижнюю часть блок-контейнера (6), расположенный под нижним распылителем (20), имеющий высоту стенок не меньше 20 см, на дне которого размещен кассетный уловитель (25) адсорбционного типа;
- цифровой блок (21), оснащенный газоанализатором (22), обеспечивающий остановку подачи одоранта (3) из емкости хранения (4), а также запуск насоса (18) в работу при получении сигнала от газоанализатора (22) о недопустимой концентрации паров одоранта (3) в воздухе внутри блок-контейнера (6).
В процессе работы газоанализатор (22) зафиксировал недопустимую концентрацию паров одоранта (3) в блок-контейнере (6) блока одоризации (2). По сигналу от цифрового блока (21), в автоматическом режиме останавливается работа блока одоризации (2), подается соответствующий сигнал, извещающий обслуживающий персонал об отказе, с помощью дистанционно управляемой запорной арматуры (13) перекрываются трубопроводы (5), запускается в работу насос (18), при этом раствор-нейтрализатор (16), подаваемый из верхнего распылителя (19) и нижнего распылителя (20) обеспечивает удаление и нейтрализацию вытекающего одоранта (3) в пределах зоны нейтрализации (23). Распыляемый раствор-нейтрализатор (16) с одорантом (3), стекает в поддон (24), где задерживается с помощью кассетного уловителя (25). Подача раствора-нейтрализатора (16) продолжается до достижения безопасной концентрации паров одоранта (3) в воздухе внутри блок-контейнера (6). Концентрация паров одоранта (3) определяется непрерывно, с помощью газоанализатора (22), при достижении безопасного уровня концентрации паров одоранта (3), подача раствора-нейтрализатора (16) прекращается. Далее, обслуживающие блок одоризации (2) специалисты, выполняют удаление с помощью обтирочного материала остатков раствора-нейтрализатора (16), выполняют ремонт блока одоризации (2), выполняют замену кассетного уловителя (25), доливают раствор нейтрализатор (16) в резервуар (15), запускают блок одоризации (2) в работу.
Повышение безопасности процесса одоризации транспортируемого природного газа достигается благодаря тому, что повышается безопасность мероприятий, направленных на устранение аварийной ситуации, связанной с утечкой одоранта, за счет того, что устройство для одоризации природного газа дополнительно включает резервуар, заполненный раствором-нейтрализатором, высокопроизводительный насос, верхний распылитель, нижний распылитель, цифровой блок управления процессом нейтрализации одоранта, газоанализатор, соединительные патрубки, кассетный уловитель, установленный в поддоне.
| название | год | авторы | номер документа |
|---|---|---|---|
| АВТОМАТИЧЕСКАЯ СИСТЕМА ОДОРИЗАЦИИ ГАЗА | 2012 |
|
RU2495709C1 |
| УСТРОЙСТВО ОДОРИРОВАНИЯ ПРИРОДНОГО ГАЗА | 2009 |
|
RU2408918C1 |
| Устройство для подачи одоранта в поток природного газа | 2019 |
|
RU2719712C1 |
| УСТРОЙСТВО ПОДАЧИ И РЕГУЛИРОВАНИЯ РАСХОДА ОДОРАНТА (ВАРИАНТЫ) | 2007 |
|
RU2361180C1 |
| СПОСОБ И УСТРОЙСТВО ОДОРИЗАЦИИ ГАЗА | 2009 |
|
RU2411071C1 |
| ОДОРИЗАТОР ПРИРОДНОГО ГАЗА | 2009 |
|
RU2399947C1 |
| Система одоризации природного газа | 2023 |
|
RU2815832C1 |
| ОДОРИЗАТОР МОДУЛЬНОГО ТИПА | 2007 |
|
RU2362127C2 |
| ОДОРИЗАТОР ГАЗА | 2018 |
|
RU2680578C1 |
| Полномасштабный тренажер газораспределительной станции | 2022 |
|
RU2780592C1 |
Изобретение относится к устройствам для одоризации природного газа. Сущность: устройство включает блок-контейнер (6), насос-дозатор (10) одоранта, фильтр (9) одоранта, калибратор (12) дозы одоранта, емкость (4) для хранения одоранта (3), расходную емкость (7) для одоранта, резервную емкость (8) для одоранта, капельницу (11), соединительные трубопроводы (5) малого диаметра, запорно-регулирующую арматуру (13), блок (14) управления процессом дозированной подачи одоранта, поддон (24), резервуар (15), заполненный раствором-нейтрализатором (16), высокопроизводительный насос (18), верхний распылитель (19), нижний распылитель (20), цифровой блок (21) управления процессом нейтрализации одоранта, газоанализатор (22), соединительные патрубки (17), кассетный уловитель (25), установленный в поддоне (24). Технический результат: повышение безопасности процесса одоризации транспортируемого природного газа. 1 ил.
Устройство для одоризации природного газа, включающее блок-контейнер, насос-дозатор одоранта, фильтр одоранта, калибратор дозы одоранта, емкость для хранения одоранта, расходную емкость для одоранта, резервную емкость для одоранта, капельницу, соединительные трубопроводы малого диаметра, запорно-регулирующую арматуру, блок управления процессом дозированной подачи одоранта, поддон, отличающееся тем, что устройство для одоризации природного газа дополнительно содержит резервуар, заполненный раствором-нейтрализатором, высокопроизводительный насос, верхний распылитель, нижний распылитель, цифровой блок управления процессом нейтрализации одоранта, газоанализатор, соединительные патрубки, кассетный уловитель, установленный в поддоне.
| Подвеска для рулей самолета | 1945 |
|
SU67252A1 |
| CN 205678425 U, 09.11.2016 | |||
| CN 216591092 U, 24.05.2022 | |||
| CN 219995096 U, 10.11.2023. | |||
Авторы
Даты
2025-06-09—Публикация
2024-11-26—Подача