(54) БЫСТРОДЕЙСТВУЮЩИЙ АН АЛОГО - ЦИФРОВОЙ
1
Изобретение относится к устройствам для преобразования аналогового сигнала в хшфровой двоичный параллельный код и может использоваться в различных системах обработки широкополосных сигналов.
Известен аналого - цифровой преоб-. разователъ (АШ) с элементами Джозефсона, работающий по принципу поспе- дователъного приближения и содержащий ряд последовательно включённых эпемен- тов Джозефсона и блок управления tl} .
Недостатки известного устройства низкая надежность и малое быстродейс- вие, которое определяется срабатыванием И последовательно включенных элементов Джозефсона, Где In - число разрядов AUn.
Известен аналого - цифровой преобразователь, содержащий набор квантовых сверхпроводящих интерферометров, первые вьшоды которых подключены к источнику постоянного тока, а вторые - к общей шине, матрицу весовых резисторов. ПРЕОБРАЗОВАТЕЛЬ
каждый из которых подсоединен одним концом к источнику входного сигнала, а другим через проводник, пропущенный через кольцо интерферометра, - к общей щнне 2 .
Недостатки .известного устройства наличие матрицы высокочастотных весовых резисторов и низкая технологичность изготовления устройства.
Целью изобретения являемся упрощение10КОНСТРУК1ЩИ, повышение точности; преобразования и технологичности изготовления.
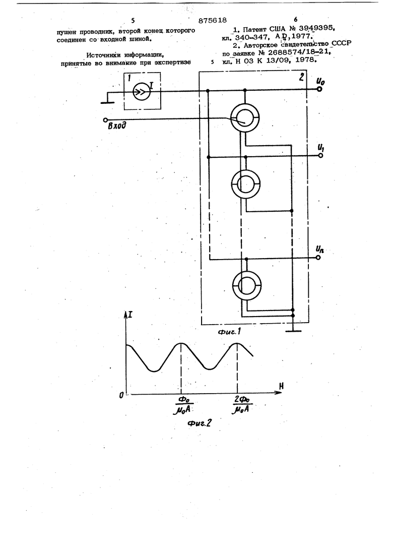
Поставленная цель достигается тем, что в быстродействующем аналого - цифровом преобразователе, содержащем на15бор квантовых сверхпроводящих интерферометров, первые вьгаодь которых под- . ключены к выходу источника постоянного тока, а вторые - к общей щине, и проводник, первый конец которого подклю20чен к общей шине, площади колец квантовых сверхпроводящих интерферометров .обратно пропорциональны весу разряда, и через них пропущен проводник, втгорой 38 конец которого соединен со входной шиной. На , 1 приведена блок - схема предлагаемого устройства; на фиг, 2 зависимость критического тока от напряженнрсти магнитного поля; на фиг, 3 эшоры выходных напряжений и критических токов. Устройство состоит из источника постоянного тока 1 и блока сверхпроводящих квантовых интерферометров 2. Первый выход каждого интерферометра соединен с источником постоянного тока 1, второй с обшей шиной. Шина источника входного сигнала проходит через кольца всех интерферометров. Квантовый интерферометр представляет собой сверхпроводящее коЛъцо fc двумя диаметральными отводами Р и р. Значение тока через кольцо, при котором возникает падение напряжения между точ ками отводов Р ир, называют критичесКИМ током интерферометра Lyn Если перпендикулярно плоскости интерферометр ЙР ИЛОЖИТЬ магнитное поле, напряженность Н, то значение критического тока меняется согласно фиг, 2, где ( флюксон, Afb-- абсолютная магнитная проницае- . мость, А площадь, ограниченная плоскостью кольца интерферометра, Как видно из фиг, 2, период зависимости критического тока от напряженнос магнитного поля зависит от площади кол ца А, Этот эффект и используется в пред лагаемом изобретении. Если площадь кольца инте1)ферЬмётра соответствующего старшему разряду равна А, а М ii го - А 2 , то устройство осуществляет преобразование аналогового входного сигнала в параллельный двоичный код. Предлагаемое устройство работает следующим образом, Входной сигнал создает некоторое поле Н (фиг, 3), если это поле таково, что соответствующий ем5 критический ток меньше тока 1 (фиг, За-«), то на интерфероме.тре есть падение напряжения, если больше - напряжение отсутствует. На фиг, 3 .показаны эпюры выходных напряжений для входного сигнала, меняющегося по линейному закону. Фиг, За показывает зависимость критического тока от напряжений магшггного поля, соответствующую интерферо Метру младшего-разряда, а фиг, Зг - выходное напряжение этого разряда. Высокий уровень напряжения Щ на фиг, Зг - е соответствует логической единице, низкий - нулю. Площадь кольца интерферометра следукяцего разряда в 2 раза меньше, что соответствует в 2 раза большему периоду зависимости 1ц;р (Н) (фиг. 36), поэтому выходное напряжение U. переходит из О в в 2 раза реже, аналогично происходит и в последующих разрядах. Таким оЬразом, входной сигнал представлен в виде па| йлельн6го двоичного кода. Переключение интерферометра из сверхпроводящего состояния в обьмное и обратно длится единицы пикосекунд. Предлагаемое устройство может использоваться для кодирования широкополосных сигналов, при вводе их в ЭВМ,,, обладая широким динамическим диапазоном, простотой и технологичностью. Преобразование аналогового сигнала возможно не только в двоичный параллельный код, но и в пк/боК. другой код, Б том числе и помехоустойчивый код типа коца Грея. Предлагаемая конструкция позволяет производить аналого - цифровое Преобразование с частотой порядка 50 ГГц и иметь чувствительность около 1 мкВ/бит, обеспечивая цифровое представление информации в виде VI - разрядного параллельного двоичного кода. Вместе с тем, разный диаметр колец позволяет получать периодические нелинейности с разным периодом, благодаря чему отпадает необ- , ходимость в матрице весовых резисторов, что существенно упрощает конструкцию и повьаиает технологич| ость изготовления и точность преобразования. Формула изобретения . Быстродействующий аналого - Ц11|)ро- вой преобразователь, содержащий набор квантовых сверхпроводящих интерферометров, первые выводы которых подключены к выходу источника постоянного тока, а вторые - к общей шине, и проводник, первый конец которого подключен к обшей шине, отличаюшийс я тем, что, с целью упрощения конструкции, .повышения точности преобразования и технологичности изготовления, площади колец квантовых сверхпроводящих интерферометров обратно пропорциональны весу разряда, и через них пропущен проводник, второй конец которого соединен со входной шиной.
Источники информации, принятые во внимание при экспертизе
1.Патент США № 39,49395, кл. 34О-347, А,1977.
2.Авторское свидетепьЬтво рССР по заявке № 2688574/18:-21,
клГн 03 К 13/09, 1978.
ij
:i7
x::7
W« i 1
Ed,
. . X.
№
1

| название | год | авторы | номер документа |
|---|---|---|---|
| СВЕРХПРОВОДНИКОВЫЙ УСИЛИТЕЛЬ ТОКА НА ОСНОВЕ ЭФФЕКТА ДЖОЗЕФСОНА | 1992 |
|
RU2051445C1 |
| СВЕРХПРОВОДЯЩИЙ НЕЙРОН ДЛЯ МНОГОСЛОЙНОГО ПЕРСЕПТРОНА | 2019 |
|
RU2734581C1 |
| СКВИД-МАГНИТОМЕТР НА ВЫСОКОТЕМПЕРАТУРНЫХ ПЛЕНКАХ | 2000 |
|
RU2184407C1 |
| ДЖОЗЕФСОНОВСКИЙ ПАРАМЕТРИЧЕСКИЙ УСИЛИТЕЛЬ БЕГУЩЕЙ ВОЛНЫ НА ОСНОВЕ БИ-СКВИДОВ | 2022 |
|
RU2792981C1 |
| Потенциометр постоянного тока | 1973 |
|
SU468167A1 |
| Стабилизатор постоянного тока | 1979 |
|
SU798763A2 |
| СВЕРХПРОВОДЯЩАЯ КВАНТОВАЯ РЕШЕТКА НА ОСНОВЕ СКИФ-СТРУКТУР | 2015 |
|
RU2620760C2 |
| СВЧ-УСИЛИТЕЛЬ НА ОСНОВЕ ВЫСОКОТЕМПЕРАТУРНОГО СКВИДА С ЧЕТЫРЬМЯ ДЖОЗЕФСОНОВСКИМИ КОНТАКТАМИ | 2013 |
|
RU2544275C2 |
| ФЛАКСОННЫЙ БАЛЛИСТИЧЕСКИЙ ДЕТЕКТОР | 2015 |
|
RU2592735C1 |
| СВЕРХПРОВОДЯЩИЙ ПРИБОР НА ОСНОВЕ МНОГОЭЛЕМЕНТНОЙ СТРУКТУРЫ ИЗ ДЖОЗЕФСОНОВСКИХ ПЕРЕХОДОВ | 2011 |
|
RU2483392C1 |
Авторы
Даты
1981-10-23—Публикация
1980-02-25—Подача