УСТРОЙСТВО ПРИВОДА КЛАПАНА, В ЧАСТНОСТИ, ДЛЯ КЛАПАНА СИСТЕМЫ ОБОГРЕВА ИЛИ ОХЛАЖДЕНИЯ Российский патент 2015 года по МПК F24D19/10 

Описание патента на изобретение RU2567697C2

Данное изобретение относится к устройству привода клапана, предназначенному, в частности, для клапана системы обогрева или охлаждения, причем упомянутое устройство содержит двигатель и средство управления, при этом двигатель приводит в движение средство привода, предназначенное для приведения в действие элемента клапана, причем упомянутое средство управления содержит средство предварительной настройки для выполнения функции предварительной настройки.

Подобное устройство привода клапана известно из документа DE 102005038067 A1. Двигатель выполнен в виде шагового двигателя. Если число шагов двигателя ограничено, ход приводного средства и, соответственно, ход элемента клапана также ограничены. Таким образом, можно реализовать функцию предварительной настройки, не снимая устройство привода клапана с самого клапана.

Задача данного изобретения состоит в расширении эксплуатационных возможностей устройства привода клапана.

Данная задача решена в устройстве привода клапана упомянутого выше типа благодаря тому, что упомянутое средство управления содержит средство промывки для выполнения функции промывки, причем упомянутая функция промывки перекрывает функцию предварительной настройки.

Подобное устройство привода клапана может ограничивать перемещение средства привода и, соответственно, ход элемента клапана, ограничивая тем самым максимальный поток через клапан, приводимый в действие устройством привода клапана. Таким образом, реализуется функция предварительной настройки. Предварительную настройку клапана можно изменить, не удаляя устройство привода клапана с самого клапана. Однако в некоторых случаях подобная функция предварительной настройки становится недостатком, поскольку, как сказано выше, максимальный ход и, следовательно, максимальное расстояние между элементом клапана и седлом клапана ограничены. Это может привести к недостаточной функциональности клапана, поскольку клапан может быть засорен грязью и так далее. Однако в устройстве согласно данному изобретению ограниченное открытие клапана, регулируемое посредством функции предварительной настройки, может быть перекрыто посредством функции промывки. Упомянутая функция промывки позволяет элементу клапана открыться в максимальной степени открытия или, более того, выйти за пределы нормального рабочего диапазона для обеспечения промывки клапана или системы, в которой расположен клапан. Промывка может быть выполнена в нормальном режиме эксплуатации или перед началом использования системы. Несмотря на то что в нормальном режиме эксплуатации функция предварительной настройки реализуется с ограничением максимального потока через клапан, управляемого устройством привода клапана, данное ограничение потока можно прерывать время от времени или по меньшей мере один раз для промывки клапана.

Предпочтительно по меньшей мере одно упомянутое средство предварительной настройки и упомянутое средство промывки управляется дистанционно. В таком случае оператору или установщику не нужен прямой доступ к клапану. Это является преимуществом для больших зданий с большим количеством клапанов, каждый из которых управляется посредством устройство привода клапана, поскольку избавляет установщика от необходимости подходить к каждому из данных клапанов.

В качестве альтернативы или дополнения по меньшей мере одно из упомянутого средства предварительной настройки и упомянутого средства промывки управляется локально. Это означает, что установщику или оператору необходим доступ к устройству привода клапана. Кроме того, данный доступ можно использовать для визуального осмотра участка вокруг клапана, что в некоторых случаях также имеет важное значение. Кроме того, можно управлять средством предварительной настройки локально, а средством промывки дистанционно или управлять средством предварительной настройки дистанционно, а средством промывки локально.

Предпочтительно средство предварительной настройки содержит по меньшей мере одно из потенциометра, блока переключателей, а также блока нажимной кнопки и дисплея. Посредством данных средств можно управлять средством предварительной настройки локально.

В другом предпочтительном варианте осуществления изобретения средство предварительной настройки содержит интерфейс, выполненный с возможностью подключения к инструменту установщика. Установщик может подключить инструмент установщика к устройству привода клапана посредством физической линии или посредством линии беспроводной связи. Инструмент установщика может быть использован для локального или дистанционного изменения предварительных настроек устройства привода клапана.

Предпочтительно упомянутое средство предварительной настройки подключено к системе шин. Современные большие здания с большим количеством охлаждаемых и отапливаемых помещений обычно оборудованы системой шин, например, MODbus, BACnet и так далее. Использование такой системы шин для подключения к ней средства предварительной настройки или средства управления предоставляет возможность дистанционного изменения параметров предварительной настройки.

Предпочтительно упомянутое средство промывки содержит средство активации. В общем, функция промывки представляет собой событие типа «включено-выключено». Такое событие необходимо лишь запустить, а время его выполнения должно быть ограничено. Поэтому для запуска или активации промывки нужен лишь очень простой сигнал. Вместе с сигналом, активирующим промывку, нет необходимости передавать заданные значения или параметры.

Предпочтительно упомянутое средство промывки содержит блок нажимных кнопок. В большинстве случаев для запуска функции промывки достаточно нажать на нажимную кнопку.

В данном случае упомянутый блок нажимных кнопок предпочтительно содержит по меньшей мере две нажимные кнопки, причем в первом режиме работы упомянутые нажимные кнопки представляют собой часть упомянутого средства предварительной настройки, а во втором режиме работы упомянутые кнопки представляют собой часть средства промывки. При наличии, например, двух кнопок одна из нажимных кнопок может быть использована для изменения предварительной настройки в сторону большего максимального потока через клапан, а другая нажимная кнопка может быть использована для изменения предварительной настройки в сторону меньшего максимального потока. В этом случае нажимные кнопки представляют собой часть упомянутого средства предварительной настройки. Под первым режимом работы имеется в виду, что в один момент времени нажимают только одну нажимную кнопку. Если на две нажимные кнопки нажимают одновременно или с коротким интервалом времени между нажатиями, реализуется второй режим работы. При одновременном нажатии на две нажимные кнопки запускается промывка.

В одном из предпочтительных вариантов осуществления изобретения упомянутое средство промывки содержит интерфейс, выполненный с возможностью подключения к инструменту установщика. Интерфейс может быть таким же, как интерфейс для средства предварительной настройки.

Предпочтительно упомянутое средство промывки подключено к системе шин. Система шин может быть такой же, как система шин для средства предварительной настройки. В этом случае появляется возможность дистанционного управления средством промывки.

В одном из предпочтительных вариантов осуществления изобретения упомянутое средство управления содержит сигнальный вход, причем упомянутое средство управления управляет упомянутым средством предварительной настройки, если уровень сигнала на упомянутом сигнальном входе находится в пределах предварительно заданного первого диапазона, и управляет упомянутым средством промывки, если упомянутый уровень сигнала находится в пределах предварительно заданного второго диапазона, отличного от упомянутого первого диапазона. В первом примере первый диапазон может представлять собой положительное напряжение, например, в диапазоне от 0 до 10 вольт постоянного тока, а второй диапазон может представлять собой отрицательное напряжение, например, -5 вольт постоянного тока. В другом примере первый диапазон может составлять от 0 до 9,5 вольт постоянного тока, а второй диапазон может представлять собой значения выше 9,5 вольт постоянного тока. Средство управления «знает», какую функцию необходимо выполнить, например, нужно ли выполнить изменение предварительной настройки или промывку клапана системы.

Еще в одном предпочтительном варианте осуществления изобретения упомянутое средство управления содержит отдельный вход, управляющий упомянутым средством промывки. В данном варианте осуществления изобретения в линии подачи на привод электроэнергии и/или управляющих сигналов может быть использован дополнительный провод.

Еще в одном из предпочтительных вариантов осуществления изобретения упомянутое средство управления содержит декодер, декодирующий сигнал на сигнальном входе и управляющий упомянутым средством промывки в зависимости от декодированного сигнала. Например, декодируемый сигнал может представлять собой сигнал для настройки средства привода или сигнал для изменения параметров функции предварительной настройки. Данные сигналы, как правило, являются ровными, не имеющими крутых импульсов. При необходимости в промывке клапана или системы сигнал можно закодировать, введя предварительно заданное количество импульсов, а именно два или большее количество импульсов, причем каждый импульс длиннее предварительно заданного первого периода времени и короче предварительно заданного второго периода времени. После прохождения определенного количества импульсов средство управления «знает», что следует активировать промывку. Промывка прекращается, когда сигнал возвращается к нормальной величине.

Ниже предпочтительные примеры осуществления изобретения описаны более подробно со ссылками на прилагаемые чертежи, на которых:

на фиг.1 показано схематическое изображение устройства привода клапана, соединенного с клапаном,

на фиг.2 показан первый вариант осуществления устройства привода клапана,

на фиг.3 показан второй вариант осуществления устройства привода клапана,

на фиг.4 показан третий вариант осуществления устройства привода клапана,

на фиг.5 показано схематическое изображение здания, оборудованного устройством привода клапана,

на фиг.6 показан четвертый вариант устройства привода клапана,

на фиг.7 показано схематическое изображение сигнального средства устройства привода клапана,

на фиг.8 показан дополнительный возможный вариант активации промывки,

на фиг.9 показан еще один возможный вариант активации промывки,

на фиг.10 показан дополнительный возможный вариант активации промывки.

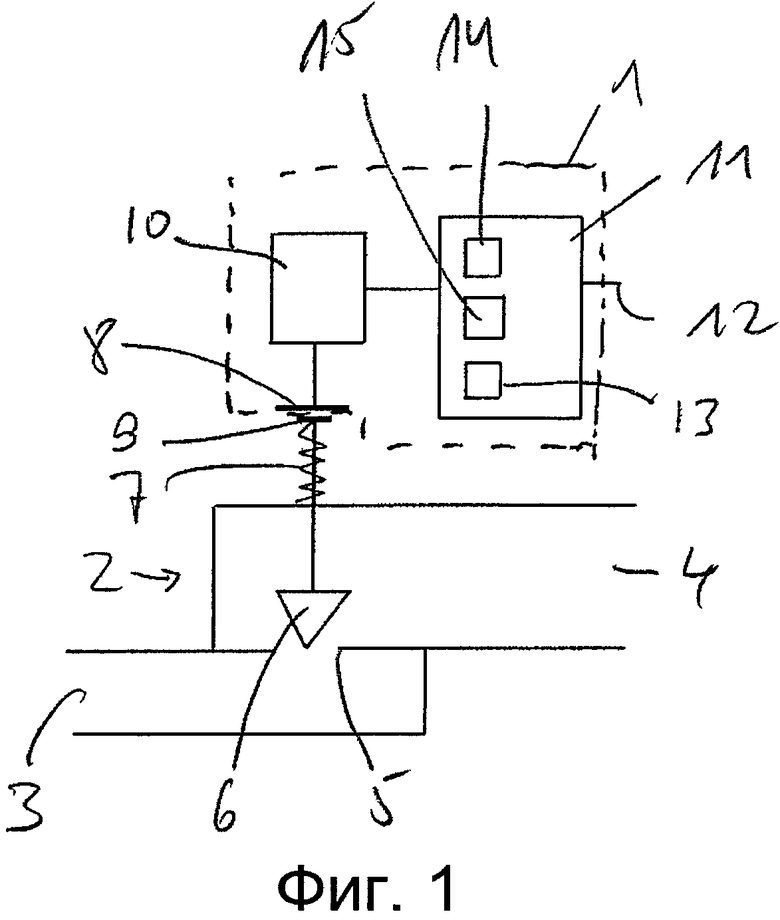
На фиг.1 показано схематическое изображение устройства 1 привода клапана вместе с клапаном 2.

Клапан 2, известный сам по себе, содержит впускное отверстие 3, выпускное отверстие 4 и седло 5, расположенное между впускным отверстием 3 и выпускным отверстием 4. С седлом 5 клапана взаимодействует элемент 6 клапана, регулируя поток текучей среды из впускного отверстия 3 к выпускному отверстию 4. Данный поток по существу определяется расстоянием между седлом 5 клапана и элементом 6 клапана. Может быть предусмотрено средство для поддержания постоянного давления над седлом 5 клапана, однако здесь оно не показано. Если такое средство используется, поток через клапан остается постоянным для определенного положения элемента 6 клапана вне зависимости от давления над клапаном.

Элемент 6 клапана отводится от седла клапана посредством открывающей пружины 7. В противоположном направлении на элемент 6 клапана оказывает воздействие средство 8 привода, действующее на нажимную пластину 9, соединенную с элементом 6 клапана, или просто на переднюю поверхность штока клапана.

Средство 8 привода приводится в действие двигателем 10. Двигатель 10 может представлять собой шаговый двигатель или двигатель любого другого типа.

Управление двигателем осуществляется посредством средства 11 управления. Упомянутые средства 11 управления содержат вход 12. Вход 12 выполнен с возможностью получения данных о температуре и других данных, например, от системы шин. Средство 11 управления может содержать средство 13 контроля температуры, которое регулирует расстояние между седлом 5 клапана и элементом 6 клапана на основании данных о температуре. Кроме того, средство 11 управления содержит средство 14 предварительной настройки для выполнения функции предварительной настройки и средство 15 промывки для выполнения функции промывки.

Средство предварительной настройки ограничивает степень открытия клапана 2 во время его работы в нормальном режиме. Другими словами, даже в том случае, если на вход 12 поступает сигнал о том, что требуется большое количество тепла, ход открытия элемента 6 клапана относительно седла 5 клапана ограничивается предварительно заданной величиной. Данная предварительная настройка применяется для распределения обогревающей текучей среды между множеством расположенных параллельно друг другу теплообменников. Очевидно, то же самое относится к системе охлаждения, в которой клапан 2 регулирует поток охлаждающей текучей среды.

Предварительная настройка клапана 2 посредством устройства привода клапана существенно облегчает выполнение предварительной настройки. При этом, в отличие от клапана теплообменника, известного из уровня техники, нет необходимости в том, чтобы снимать устройство привода клапана с клапана.

Однако в некоторых случаях необходимо или по меньшей мере предпочтительно промыть клапан 2. В таком случае элемент 6 клапана необходимо убирать как можно дальше от седла 5 клапана. Чтобы обеспечить возможность промывки клапана 2, средство 15 промывки имеет более высокий приоритет, чем средство 14 предварительной настройки, благодаря чему функция промывки перекрывает функцию предварительной настройки. Хотя средством 14 предварительной настройки был определен максимальный ход открытия элемента 6 клапана, элемент клапана отводится еще дальше от седла 5 клапана во время активации средства 15 промывки.

Предусмотрено множество возможных вариантов работы средства 14 предварительной настройки и средства 15 промывки. Средство 14 предварительной настройки и средство 15 промывки могут управляться дистанционно. Для этого через вход 12 или через другие, здесь не показанные, входы могут быть поданы соответствующие управляющие сигналы.

Кроме того, возможно управлять средством 14 предварительной настройки и средством 15 промывки локально. В данном случае оператору либо установщику нужен доступ к устройству привода клапана для выполнения необходимых этапов для регулирования средства 14 предварительной настройки или запуска средства 15 промывки.

Кроме того, возможно управлять средством 14 предварительной настройки локально, а средством 15 промывки дистанционно или управлять средством 14 предварительной настройки дистанционно, а средством 15 промывки локально.

На фиг.2 показано устройство 1 привода клапана, имеющее корпус 16, в котором расположен двигатель 10 и другие необходимые части, например, средство 11 управления. Однако средство 11 управления может быть расположено снаружи корпуса 16 и быть подключено к корпусу 16 посредством сигнальной линии, аналогичной линии 17, показанной на фиг.2.

Средство 14 предварительной настройки может содержать потенциометр или любой другой тип вращающегося регулировочного средства, вращающаяся ручка 18 которого расположена на передней поверхности корпуса 16. При вращении ручки 18 потенциометра происходит изменение предварительно настроенных параметров.

Кроме того, средство 14 настройки может управляться посредством двухпозиционных переключателей 19 или других переключателей, также расположенных на передней поверхности корпуса. В большинстве случаев используют либо только потенциометр, либо только двухпозиционные переключатели. Однако можно использовать и оба данных элемента.

На фиг.3 показан другой вариант осуществления устройства 1 привода клапана. На передней поверхности корпуса 16 предусмотрены две нажимные кнопки 20 и 21, а также светодиодный дисплей 22. Нажимные кнопки 20 и 21 снабжены стрелочными указателями направления изменения предварительной настройки. Светодиодный дисплей может отображать значения предварительно настроенных значений в виде цифр. Также, вместо нажимных кнопок 20 и 21 и светодиодного дисплея 22 можно использовать сенсорный экран.

Нажимные кнопки 20 и 21 могут быть использованы для изменения предварительно настроенных параметров. В первом режиме работы в один момент времени нажимают только одну из двух нажимных кнопок 20, 21, поскольку нежелательно менять параметры предварительной настройки одновременно в разных направлениях.

Однако если во втором режиме работы произойдет одновременное или почти одновременное нажатие двух нажимных кнопок 20, 21, такое нажатие будет воспринято как запуск или активация операции промывки. В данном случае начнет работать средство 15 промывки. Средство 15 промывки перекрывает функцию средства 14 предварительной настройки и открывает клапан 2 так широко, как это возможно, то есть максимально, на 100% или даже с выходом за нормальный рабочий диапазон. Такую промывку можно выполнять перед началом использования системы, или с регулярными интервалами или по мере необходимости.

На фиг.4 показаны два вида другого варианта осуществления изобретения.

На передней поверхности 23 корпуса 16 устройства 1 привода клапана расположен интерфейс 24. Интерфейс 24 выполнен с возможностью подключения к разъему 25. Разъем 25 подключают к инструменту 26, 27 установщика. Инструмент 26 установщика может быть оснащен пультом 27 дистанционного управления, позволяющим установщику 28 выполнять предварительную настройку через беспроводное соединение 29, например, посредством Bluetooth или радиочастоты. Пульт 27 дистанционного управления может иметь форму мобильного телефона с загруженной в него соответствующей прикладной программой.

Инструмент 26 установщика можно использовать для предварительной настройки, то есть для активации средства 14 предварительной настройки, а также для промывки, то есть для активации средства 15 промывки.

На фиг.5 показано здание 30 с множеством помещений. Одно помещение обозначено номером позиции 31. Данное помещение 31 оборудовано радиатором (не показан). Данный радиатор управляется посредством клапана 2, установленного на трубопроводе 32 текучей среды. Клапан 2 управляется устройством 1 привода клапана. Устройство 1 привода клапана управляется дистанционно по системе 33 шин. Система 33 шин соединяет устройство 1 привода клапана с центральным пультом 34. С центрального пульта 34 можно управлять множеством устройств 1 привода клапана. С него можно управлять функцией предварительной настройки, а также функцией промывки или другими соответствующими функциями.

На фиг.6 показано устройство 1 привода клапана, корпус 16 которого оснащен крышкой 35 на его передней поверхности. Между крышкой 35 и корпусом 16 может быть расположена вращающаяся ручка 18 потенциометра и/или двухпозиционный переключатель 19, предусмотренные в варианте осуществления изобретения, показанном на фиг.2.

Крышка 35 содержит нажимную кнопку 36, при нажатии на которую пальцем 37 или каким-либо инструментом запускается промывка клапана 2, то есть срабатывает средство 15 промывки. Локальное управление функцией промывки также можно сочетать с управлением функцией промывки через систему шин.

Существует несколько вариантов дистанционного управления средством промывки 15.

На фиг.7 показан первый возможный вариант.

В нормальном режиме работы контроллер 37 подает по выходным линиям 38, 39 сигнал напряжения в диапазоне от 0 до 10 вольт постоянного тока. Сигнал по выходным линиям 38, 39 подается на вход 12 каждого из устройств 1 привода клапана, представленных на фиг.7. Сигналы, подаваемые по выходным линиям 38, 39, определяют степень открытия клапана 2, однако степень открытия ограничена функцией предварительной настройки, выполняемой средством 14 предварительной настройки.

При необходимости промывки клапана 2 активируется реле 40. Реле 40 прерывает соединение между контроллером 37 и устройствами 1 привода клапана и соединяет устройства 1 привода клапана с линией 41 напряжения, по которой подается отрицательное напряжение, например, -5 вольт постоянного тока. Если напряжение, подаваемое на устройства 1 привода клапана, является отрицательным, средство 11 управления отключает средство 14 предварительной настройки и активирует средство 15 промывки для того, чтобы можно было осуществить промывку.

На фиг.8 показан второй возможный вариант дистанционной активации промывки.

В данном примере устройство привода клапана предварительно настроено на величину 60%, то есть даже в полностью открытом состоянии клапан будет пропускать лишь 60% от максимально возможного потока. На горизонтальной оси показан входной управляющий сигнал в диапазоне от 0 до 10 вольт постоянного тока. На графике видно, что зависимость между входным напряжением и потоком через клапан является почти линейной.

В данном примере устройство привода клапана управляется линейно только в диапазоне напряжения от 0 до 9,5 вольт постоянного тока. Если входное напряжение превышает 9,5 вольт постоянного тока, клапан 2 полностью открывается и пропускает 100% потока, как это отображено на графике в его верхнем правом углу. Таким образом, осуществляется промывка.

На фиг.9 показан еще один возможный вариант. Сигнальная линия 17, идущая к корпусу 16 устройства 1 привода клапана, содержит дополнительный провод 42, подключенный к соединителю 43. Когда на данном дополнительном проводе 42 появляется напряжение, осуществляется промывка.

На фиг.10 показан еще один возможный вариант запуска промывки. На горизонтальной оси показано время t. На вертикальной оси показано напряжение на входной линии 12. В «нормальном режиме» работы данное напряжение лишь слегка меняется во времени. Однако данные изменения незначительны и сигнал 44 напряжения не скачет, то есть шаговые импульсы в нем отсутствуют. Однако так происходит только во время работы в нормальном режиме, в котором клапан 2 управляется, например, в зависимости от температуры окружающего воздуха.

Для осуществления промывки генерируется множество импульсов 45, 46. Теоретически достаточно одного импульса 45. Однако предпочтительно наличие по меньшей мере двух импульсов 45, 46. Каждый из импульсов должен быть длиннее предварительно заданного первого периода времени и короче предварительно заданного второго периода времени. Каждый из импульсов 45, 46 начинается с восходящего фронта 47 и заканчивается нисходящим фронтом 48. Каждый фронт 47, 48 может рассматриваться как переход 49. После определенного количества таких переходов 49 запускается промывка. В данном примере необходимы четыре перехода 49 или два импульса 45, 46. Промывка запускается при пятом переходе или в начале третьего импульса 50. Третий импульс может быть длиннее. В конце 51 третьего импульса промывка заканчивается. Это значит, что напряжение вновь меняется. При этом возобновляется работа в нормальном режиме. Принцип работы, показанный на фиг.10, может рассматриваться как своеобразный код. В данном случае средство 11 управления содержит декодер (здесь не показан), который декодирует сигнал, показанный на фиг.10. В зависимости от декодированного сигнала осуществляется управление средством 15 промывки. Из импульсов 45, 46 можно сформировать азбуку Морзе и так далее.

Очевидно, что для активации промывки можно использовать любой другой код. Такой код можно также использовать для предварительной настройки.

Если по причинам безопасности закодированный сигнал посылается более чем один раз, декодер может быть оснащен контроллером для проверки контрольных сумм. После подтверждения контроллером для проверки контрольных сумм правильности одного закодированного сигнала, другие закодированные сигналы могут игнорироваться.

Еще один возможный вариант предполагает своего рода обратную связь.

Локальную предварительную настройку клапана можно выполнять, не снимая с него привод. Локальная предварительная настройка, например 50%, означает, что управляющий сигнал в диапазоне от 0 до 10 вольт будет управлять потоком в диапазоне 0-50% от номинальной пропускной способности клапана, при этом промывкой можно управлять дистанционно, посредством одной из следующих опций:

a) отрицательное управляющее напряжение,

b) модулированный управляющий сигнал (азбука Морзе),

c) дополнительный провод или

d) код шины передачи данных.

Локальные двухпозиционные переключатели изменяют управляющий сигнал следующим образом: полный управляющий сигнал находится в диапазоне от 0 до 9 вольт, а сигнал 10 вольт представляет собой сигнал промывки. Локальная предварительная настройка, например 50%, теперь означает, что управляющий сигнал в диапазоне от 0 до 9 вольт будет управлять потоком в диапазоне 0-50% от номинальной пропускной способности клапана, а для активации промывки достаточно увеличить напряжение управляющего сигнала до уровня, превышающего 9,5 вольт.

Также, достаточно легко осуществлять дистанционное управление промывкой и функцией предварительной настройки потока, выполняя следующие этапы:

a) установить потенциометр на 100%,

b) промывка запускается при увеличении напряжения управляющего сигнала до 10 вольт, при этом клапан открыт на 100%,

c) регулирование потока, например, в диапазоне 0-50%, осуществляется непосредственно с системы посредством управляющего сигнала напряжением в диапазоне от 0 до 5 вольт.

Похожие патенты RU2567697C2

название год авторы номер документа
СПОСОБ УПРАВЛЕНИЯ РАБОТОЙ ПРИВОДА КЛАПАНА ДЛЯ БАЛАНСИРОВОЧНОГО КЛАПАНА 2016
  • Рустья Бозидар
  • Дробез Беньямин
  • Загар Томаз
  • Облак Урос
  • Подрзай Грегор
RU2628005C1
ПРИВОД КЛАПАНА 2010
  • Дена Фредерик
  • Резиг Мурад
RU2534647C2
ПЯТИЛИНЕЙНЫЙ ДВУХПОЗИЦИОННЫЙ КЛАПАННЫЙ ПНЕВМОРАСПРЕДЕЛИТЕЛЬ ПРИВОДА ДВЕРЕЙ ТРАНСПОРТНОГО СРЕДСТВА 2000
  • Редько П.Г.
  • Таркаев С.В.
  • Амбарников А.В.
  • Чугунов А.С.
  • Нахамкес К.В.
  • Волков А.В.
RU2190785C2
Система для промывания с приводом 2013
  • Андерссон Фредрик
RU2635761C2
Способ распознавания и управления бытовой техникой мобильным телефоном и мобильный телефон для его реализации 2017
  • Клепиков Дмитрий Владимирович
  • Редозубов Алексей Дмитриевич
RU2673464C1
УСТРОЙСТВО ДЛЯ ПРИВЕДЕНИЯ В ДЕЙСТВИЕ СИСТЕМЫ УПРАВЛЕНИЯ УРОВНЕМ ПОДВЕСКИ В ТРАНСПОРТНОМ СРЕДСТВЕ 2010
  • Аслан Даниэль
RU2478237C1
ИНТЕЛЛЕКТУАЛЬНАЯ СИСТЕМА УПРАВЛЕНИЯ ОСВЕЩЕНИЕМ 2010
  • Класманн Дональд Луис
  • Мерфи Майкл Шон
RU2561494C2
НОСИМОЕ УСТРОЙСТВО ЭЛЕКТРОСВЯЗИ 2014
  • Ушаков Алексей Леонидович
RU2574840C2
МАШИНА ПО ПРИГОТОВЛЕНИЮ НАПИТКОВ 2017
  • Хартман Дорен
  • Гёдде Вольфганг
RU2734381C1
СПОСОБ УПРАВЛЕНИЯ ЭЛЕКТРОННЫМИ ПРИБОРАМИ И ПУЛЬТ ДИСТАНЦИОННОГО УПРАВЛЕНИЯ ДЛЯ ЕГО ОСУЩЕСТВЛЕНИЯ 2011
  • Никитина Ольга Владимировна
  • Данилов Евгений Александрович
  • Петров Александр Викторович
  • Никитин Владимир Степанович
RU2520318C2

Иллюстрации к изобретению RU 2 567 697 C2

Реферат патента 2015 года УСТРОЙСТВО ПРИВОДА КЛАПАНА, В ЧАСТНОСТИ, ДЛЯ КЛАПАНА СИСТЕМЫ ОБОГРЕВА ИЛИ ОХЛАЖДЕНИЯ

Данное изобретение относится к устройству привода клапана, предназначенному, в частности, для клапана системы обогрева или охлаждения. Устройство привода клапана, предназначенное, в частности, для клапана системы обогрева или охлаждения, причем упомянутое устройство содержит двигатель и средство управления, при этом упомянутый двигатель приводит в движение средство привода, предназначенное для приведения в действие элемента клапана, причем упомянутое средство управления содержит средство предварительной настройки для выполнения функции предварительной настройки, при которой ход элемента клапана ограничен, при этом упомянутое средство управления содержит средство промывки для выполнения функции промывки, причем упомянутая функция промывки перекрывает упомянутую функцию предварительной настройки. Это позволяет повысить эффективность промывки клапана. 13 з.п. ф-лы, 10 ил.

Формула изобретения RU 2 567 697 C2

1. Устройство привода клапана, предназначенное, в частности, для клапана системы обогрева или охлаждения, причем упомянутое устройство (1) содержит двигатель (10) и средство (11) управления, при этом упомянутый двигатель (10) приводит в движение средство (8) привода, предназначенное для приведения в действие элемента (6) клапана, причем упомянутое средство (11) управления содержит средство (14) предварительной настройки для выполнения функции предварительной настройки, при которой ход элемента клапана ограничен, отличающееся тем, что упомянутое средство (11) управления содержит средство (15) промывки для выполнения функции промывки, причем упомянутая функция промывки перекрывает упомянутую функцию предварительной настройки.

2. Устройство по п.1, отличающееся тем, что по меньшей мере одно из упомянутого средства (14) предварительной настройки и упомянутого средства (15) промывки управляется дистанционно.

3. Устройство по любому из пп.1, 2, отличающееся тем, что по меньшей мере одно из упомянутого средства (14) предварительной настройки и упомянутого средства (15) промывки управляется локально.

4. Устройство по п.3, отличающееся тем, что упомянутое средство (14) предварительной настройки содержит по меньшей мере одно из потенциометра (8), блока (19) переключателей, а также блока (20-22) нажимной кнопки и дисплея.

5. Устройство по любому из пп.1, 2 или 4, отличающееся тем, что упомянутое средство (14) предварительной настройки содержит интерфейс (24), выполненный с возможностью подключения к инструменту (26) установщика.

6. Устройство по п.2, отличающееся тем, что упомянутое средство (14) предварительной настройки подключено к системе (33) шин.

7. Устройство по любому из пп.1, 2, 4 или 6, отличающееся тем, что упомянутое средство (15) промывки содержит средство активации.

8. Устройство по любому из пп.1, 2, 4 или 6, отличающееся тем, что упомянутое средство (15) промывки содержит блок (21, 36) нажимных кнопок.

9. Устройство по п.8, отличающееся тем, что упомянутый блок нажимных кнопок содержит по меньшей мере две нажимные кнопки (20, 21), причем в первом режиме работы упомянутые нажимные кнопки представляют собой часть упомянутого средства (14) предварительной настройки, а во втором режиме работы упомянутые нажимные кнопки (20, 21) представляют собой часть упомянутого средства (15) промывки.

10. Устройство по любому из пп.1, 2, 4, 6 или 9, отличающееся тем, что упомянутое средство (15) промывки содержит интерфейс, выполненный с возможностью подключения к инструменту установщика.

11. Устройство по любому из пп.1, 2, 4 или 6, отличающееся тем, что упомянутое средство (15) промывки подключено к системе (33) шин.

12. Устройство по любому из пп.1, 2, 4, 6 или 9, отличающееся тем, что упомянутое средство (11) управления содержит сигнальный вход (12), причем упомянутое средство (11) управления управляет упомянутым средством (14) предварительной настройки, если уровень сигнала на упомянутом сигнальном входе (12) находится в пределах предварительно заданного первого диапазона, и управляет упомянутым средством (15) промывки, если упомянутый уровень сигнала находится в пределах предварительно заданного второго диапазона, отличного от упомянутого первого диапазона.

13. Устройство по любому из пп.1, 2, 4, 6 или 9, отличающееся тем, что упомянутое средство управления содержит отдельный вход (43), управляющий упомянутым средством (15) промывки.

14. Устройство по любому из пп.1, 2, 4, 6 или 9, отличающееся тем, что упомянутое средство (11) управления содержит декодер, декодирующий сигнал на сигнальном входе и управляющий упомянутым средством (15) промывки в зависимости от декодированного сигнала.

Документы, цитированные в отчете о поиске Патент 2015 года RU2567697C2

ЗАХВАТ ПРОМЫШЛЕННОГО РОБОТА 1998
  • Барабанов Г.П.
  • Расходчиков А.П.
RU2141396C1

RU 2 567 697 C2

Авторы

Клаусен Аннерс Остергор

Мунх Ларс

Александерсен Петер

Фредериксен Бьярне

Виллекяэр Еспер Динесен

Аннерсен Торбен Лунн

Хансен Сорен

Даты

2015-11-10Публикация

2013-10-28Подача