СЪЕМНЫЙ ЦИРКУЛЯРНЫЙ ПРИВОД ВЕЛОТРЕНАЖЕРА Российский патент 2016 года по МПК A63B23/00 

Описание патента на изобретение RU2589619C1

Изобретение относится к спортивному инвентарю и может быть использовано в области спорта, физической культуры, реабилитационной медицине.

Известен велотренажер KETTLER Cycle M с магнитной системой сопротивления и механической регулировкой уровня нагрузки. Этот велотренажер содержит привод, состоящий из маховика, который приводится в движение шатунами с педалями, имеющими крепления для стоп ног. (Ссылка - http://www.kettler.ru/catalog/item/velotrenager_kettler_cycle_m_7627800ktl/).

Известен велотренажер TORNEO Nova. Этот велотренажер содержит магнитную систему нагружения с механической регулировкой уровня нагрузки. Привод велотренажера содержит маховик, приводящийся в движение шатунами с педалями, имеющими крепления для стоп ног. (Ссылка - http://torneo.ru/product/velotrenager_torneo_nova_b225/).

Недостатком данных велотренажеров является постоянная неизменная амплитуда работы мышц, связочного аппарата и суставов нижних конечностей, вызванная ограниченной кинематикой процесса педалирования, что в значительной мере снижает потенциальную эффективность общего тренировочного воздействия на организм человека.

Задачей, на решение которой направлено изобретение, является создание конструктивно простого привода велотренажера, позволяющего применять его в существующих велотренажерах для расширения их функциональных возможностей.

Технический результат, который может быть достигнут при осуществлении изобретения, заключается в расширении функциональных возможностей существующих велотренажеров за счет увеличения амплитуды работы мышц, связочного аппарата и суставов нижних конечностей в ходе педалирования.

Технический результат достигается предложенным съемным циркулярным приводом велотренажера, содержащим два рычага, которые одними концами закреплены с возможностью вращения на своих валах, а другие концы выполнены с отверстиями, в которых установлены регуляторы диаметра отверстия для соединения с кареточным валом рабочего велотренажера. На валах рычагов попарно жестко закреплены шатуны и ведущие зубчатые колеса, причем свободные концы шатунов соединены с педалями, имеющими крепления для ног, а ведущие зубчатые колеса соединены через гибкие передачи с ведомыми зубчатыми колесами, выполненными с отверстиями, в которых установлены регуляторы диаметра отверстия, для крепления на кареточном стакане рабочего велотренажера.

Регуляторы диаметра отверстия рычагов выполнены в виде винтового зажима. Регуляторы диаметра отверстия ведомых зубчатых колес выполнены в виде муфты, содержащей не менее трех винтовых зажимов, равномерно расположенных по ее окружности.

В техническом решении расширение функциональных возможностей существующих велотренажеров достигается за счет предлагаемого съемного привода, содержащего рычаги и ведомые зубчатые колеса с регуляторами диаметра отверстия, что позволяет заменять им приводы существующих велотренажеров для увеличения амплитуды работы мышц, связочного аппарата и суставов нижних конечностей в ходе педалирования.

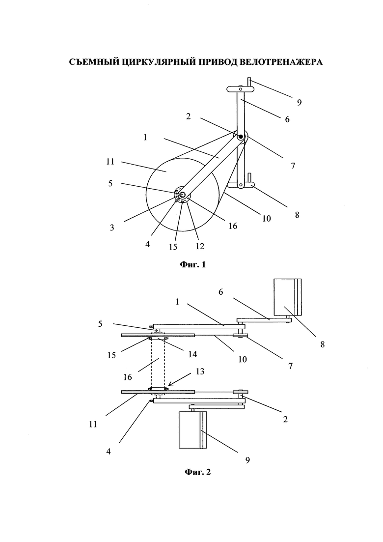
Сущность изобретения поясняется чертежами, где на фиг. 1 показан съемный циркулярный привод велотренажера, вид сбоку, на фиг. 2 показан съемный циркулярный привод велотренажера, вид сверху, на фиг. 3 показано ведомое зубчатое колесо с регулятором диаметра отверстия, на фиг. 4 показан фрагмент рычага с регулятором диаметра отверстия.

Съемный циркулярный привод велотренажера состоит из двух рычагов - 1, которые одними концами закреплены с возможностью вращения на своих валах - 2, а другие концы выполнены с отверстиями - 3, в которых установлены регуляторы диаметра отверстия - 4, выполненные в виде винтового зажима, для соединения с кареточным валом - 5 выбранного рабочего велотренажера. На валах - 2 рычагов - 1 попарно жестко закреплены шатуны - 6 и ведущие зубчатые колеса - 7. Свободные концы шатунов - 6 соединены с педалями - 8, имеющими крепления для ног - 9. Ведущие зубчатые колеса - 7 соединены через гибкие передачи - 10 с ведомыми зубчатыми колесами - 11, выполненными с отверстиями - 12, в которых установлены регуляторы диаметра отверстия - 13, выполненные в виде муфты - 14, содержащей не менее трех винтовых зажимов - 15, равномерно расположенных по ее окружности, для крепления на кареточном стакане - 16 выбранного рабочего велотренажера.

Циркулярный привод велотренажер работает следующим образом. На выбранном для тренировки известном велотренажере убирают существующий привод, а взамен его устанавливают съемный циркулярный привод таким образом, что в начале на кареточный стакан - 16 устанавливают ведомые зубчатые колеса - 11, причем концы кареточного стакана - 16 входят в отверстия - 12, далее винтовые зажимы - 15 ввинчивают в муфты - 14 до тех пор, пока ведомые зубчатые колеса - 11 не будут равномерно жестко закреплены на кареточном стакане - 16. Затем на кареточный вал - 5 симметрично устанавливают два рычага - 1 (на валах - 2 которых попарно жестко закреплены шатуны - 6 и ведущие зубчатые колеса - 7), причем концы кареточного вала - 5 входят в отверстия - 3, далее регуляторы диаметра отверстия - 4, выполненные в виде винтового зажима, завинчиваются до тех пор, пока рычаги - 1 не будут жестко закреплены на кареточном валу - 5. После этого ведущие зубчатые колеса - 7 соединяют через гибкие передачи - 10 с ведомыми зубчатыми колесами - 11, таким образом, чтобы угол между шатунами - 6 в боковой проекции составлял 180°.

После завершения установки занимающийся удобно располагается на выбранном для тренировки известном велотренажере и фиксирует ноги на педалях - 8 при помощи креплений - 9. Далее занимающийся посредством мышечных усилий воздействует нижними конечностями на педали - 8, сообщая вращательные движения шатунам - 6 и ведущим зубчатым колесам - 7, которые передают усилие через гибкие передачи - 10 на ведомые зубчатые колеса - 11. В связи с тем, что ведущие зубчатые колеса - 7 закреплены с возможностью вращения, а ведомые зубчатые колеса - 11 закреплены жестко, во время педалирования зубчатые колеса - 7 и шатуны - 6 с педалями - 8 вращаются в одном направлении, а рычаги - 1 - в обратном направлении. При этом во время педалирования нижние конечности занимающегося совершают циклические вращательные движений, в то же время поступательно перемещаясь по замкнутой круговой траектории, тем самым увеличивая амплитуду работы мышц, связочного аппарата и суставов нижних конечностей.

Таким образом, описание работы предлагаемого циркулярного привода велотренажера доказывает решение поставленных задач и подтверждает новизну и существенность отличий от существующих аналогов.

Значимым преимуществом предлагаемого изобретения являются расширенные функциональные характеристики и возможность применения в существующих велотренажерах для широкого круга пользователей.

Похожие патенты RU2589619C1

название год авторы номер документа
ЦИРКУЛЯРНЫЙ ВЕЛОТРЕНАЖЕР КОМЛЕВА 2013
  • Комлев Игорь Олегович
RU2528363C1
ВЕЛОСИПЕД С ЭЛЛИПТИЧЕСКИМ ПРИВОДОМ 2013
  • Комлев Игорь Олегович
  • Самарский Дмитрий Михайлович
RU2543134C2
ЭЛЛИПТИЧЕСКИЙ ВЕЛОТРЕНАЖЕР КОМЛЕВА 2011
  • Комлев Игорь Олегович
RU2460563C1
ВЕЛОТРЕНАЖЕР ЦИРКУЛЯРНЫЙ 2015
  • Комлев Игорь Олегович
RU2599002C1
ВЕЛОСИПЕД (ВАРИАНТЫ), КОЛЕСО ВЕЛОСИПЕДА, ПРИВОД ВЕЛОСИПЕДА, РЫЧАЖНЫЙ МЕХАНИЗМ ВЕЛОСИПЕДА, ПЕДАЛЬНЫЙ МЕХАНИЗМ ВЕЛОСИПЕДА И КОМПЛЕКТ, СОДЕРЖАЩИЙ ВЕЛОСИПЕД И ПРИЦЕП 2007
  • Скаржинский Александр Игоревич
RU2373101C2
ВЕЛОСИПЕД "МАКСИ" 1991
  • Максимов Николай Иванович
RU2050302C1
ВЕЛОТРЕНАЖЕР 2019
  • Хисаметдинов Зайнитдин Хабитдинович
  • Хисаметдинов Альберт Рамилевич
RU2702816C1
ВЕЛОСИПЕД 1992
  • Максимов Николай Иванович
RU2061614C1
КАРЕТКА ВЕЛОСИПЕДА 2011
  • Петровский Юрий Антонович
RU2476345C2
ВЕЛОСИПЕД 1991
  • Мишута В.Н.
  • Гаврилов В.М.
  • Мишута Д.В.
RU2009942C1

Иллюстрации к изобретению RU 2 589 619 C1

Реферат патента 2016 года СЪЕМНЫЙ ЦИРКУЛЯРНЫЙ ПРИВОД ВЕЛОТРЕНАЖЕРА

Изобретение относится к спортивному инвентарю и может быть использовано в области спорта, физической культуры, реабилитационной медицине. Предложенный съемный циркулярный привод велотренажера содержит два рычага, на валах которых попарно жестко закреплены шатуны и ведущие зубчатые колеса, соединенные через гибкие передачи с ведомыми зубчатыми колесами. Рычаги и ведомые зубчатые колеса выполнены с отверстиями, в которых установлены регуляторы диаметра отверстия, для крепления на кареточном валу и стакане рабочего велотренажера. Техническим результатом является расширение функциональных возможностей существующих велотренажеров за счет предлагаемого съемного привода, позволяющего заменять им приводы существующих велотренажеров для увеличения амплитуды работы мышц, связочного аппарата и суставов нижних конечностей в ходе педалирования. 2 з.п. ф-лы, 4 ил.

Формула изобретения RU 2 589 619 C1

1. Съемный циркулярный привод велотренажера, содержащий два рычага, которые одними концами закреплены с возможностью вращения на своих валах, а другие концы выполнены с отверстиями, в которых установлены регуляторы диаметра отверстия для соединения с кареточным валом рабочего велотренажера, на валах рычагов попарно жестко закреплены шатуны и ведущие зубчатые колеса, причем свободные концы шатунов соединены с педалями, имеющими крепления для ног, а ведущие зубчатые колеса соединены через гибкие передачи с ведомыми зубчатыми колесами, выполненными с отверстиями, в которых установлены регуляторы диаметра отверстия, для крепления на кареточном стакане рабочего велотренажера.

2. Съемный циркулярный привод велотренажера по п. 1, отличающийся тем, что регуляторы диаметра отверстия рычагов выполнены в виде винтового зажима.

3. Съемный циркулярный привод велотренажера по п. 1, отличающийся тем, что регуляторы диаметра отверстия ведомых зубчатых колес выполнены в виде муфты, содержащей не менее трех винтовых зажимов, равномерно расположенных по ее окружности.

Документы, цитированные в отчете о поиске Патент 2016 года RU2589619C1

ВЕЛОСИПЕД С ЭЛЛИПТИЧЕСКИМ ПРИВОДОМ 2013
  • Комлев Игорь Олегович
  • Самарский Дмитрий Михайлович
RU2543134C2
US 5000444 A1, 19.03.1991
US 4071235 A1, 31.01.1978
US 5137501 A1, 11.08.1992
ТРЕНАЖЕР "НИМФА-3" 1992
  • Степанова Татьяна Петровна[Ua]
  • Петрушевский Иван Иванович[Ua]
  • Канишевский Станислав Михайлович[Ua]
RU2101060C1

RU 2 589 619 C1

Авторы

Комлев Игорь Олегович

Даты

2016-07-10Публикация

2015-05-06Подача