Область изобретения
Изобретение относится к способу создания установки для очистки сточных вод и к такой установке. Такие установки в основном используются для удаления загрязнений, содержащихся в сточных водах.
Уровень техники
По сравнению с обычным способом создания установок модульные установки могут быть реализованы гораздо быстрее и с меньшими усилиями. Их можно легче адаптировать в соответствии с условиями эксплуатации заказчиком (например, при необходимости расширения установки, она может дополняться еще дальнейшими модулями). Если это требуется, то они могут и перемещаться на другие места использования. Один модульный компонент при этом заменяет заводское здание, например, из бетона и стали.
Такие модульные системы из уровня техники в принципе известны. Так например, документ ЕР 2049398 В1 раскрывает модульный пассажирский терминал, терминал в основном предназначен для использования в аэропортах, и способ его создания.
Но, для установки для очистки сточных вод раскрытая система лишь весьма ограниченно применима.
Задача
Задача изобретения - это разработка модульной установки для очистки сточных вод и разработка способа создания такой установки.
Решение
Эта задача решается согласно изобретению с помощью признаков независимых пунктов формулы изобретения. Выгодные варианты совершенствования изобретения охарактеризованы в зависимых пунктах формулы изобретения. Формулировки всех пунктов формулы изобретения включены в качестве ссылки на содержание данного описания изобретения.
В следующем отдельные шаги подробно описываются. Шаги не обязательно должны быть выполнены в указанном порядке, и способ, который будет описан, также может иметь другие неуказанные шаги.
Для решения задачи предлагается способ создания установки для очистки сточных вод, включающий следующие шаги:
а) предоставление объемных блок-модулей;
а1) которые можно транспортировать с помощью обычных транспортных средств для контейнерных перевозок на суше, в воде и на воздухе к месту предварительной сборки или на заранее определенное место установления и собрать там;
а2) причем объемные блок-модули предоставляются на месте предварительной сборки;
б) соединение между собой объемных блок-модулей таким образом, как это требуется для создания установки для очистки сточных вод;
в) установление необходимого для очистки сточных вод технического оборудования в объемных блок-модулях на месте предварительной сборки;
г) соединение между собой технического оборудования на месте предварительной сборки таким образом, как это требуется для создания установки для очистки сточных вод;
д) проверка функционирования соединенных между собой объемных блок-модулей и технического оборудования по крайней мере как часть установки для очистки сточных вод;
е) разъединение объемных блок-модулей и подготовка их к транспорту, оставляя техническое оборудование внутри объемных блок-модулей;
э) транспортировка объемных блок-модулей с внутринаходящимся техническим оборудованием к месту установления;
ж) Подготовка необходимых пунктов подключения на месте установления;
з) установление, соединение и подключение объемных блок-модулей на подготовленном месте установления.
При этом объемные блок-модули соответствуют типичным стальным контейнерам с самонесущей конструкцией стальной рамки с угловыми фитингами по стандарту ISO 1161. Контейнеры обычно имеют ширину 2,4-3,2 м, длину 3-13 м и максимальную высоту 3 м.
Для транспортировки объемных блок-модулей посредством всемирно распространенных транспортных и перегрузочных сооружений для транспорта на море предпочтительно используются объемные блок-модули, которые по их размерам соответствуют стандартным контейнерам, предпочтительно по стандарту ISO 668. Контейнеры со специальными размерами предпочтительно перемещаются на суше. Это облегчает транспортировку от места сборки на место установления и их монтаж там, а и может уменьшать затраты при их применении.
Тот факт, что необходимое для очистки сточных вод техническое оборудование установлено в объемных блок-модулях уже на месте предварительной сборки, способствует тому, что на месте установления не требуется дорогостоящих монтажных шагов. Индивидуально сборные модули модульной системы этой установки надо только установить и соединять между собой. Для этого имеется соответствующие пункты сопряжения между объемными блок-модулями и/или между в них установленным техническим оборудованием.
Эти пункты сопряжения уже используются на месте предварительной сборки для соединения объемных блок-модулей или технического оборудования между собой таким образом, как это в дальнейшем требуется для создания установки для очистки сточных вод на месте установления. Это позволяет провести уже непосредственно после предварительной сборки проверку функционирования, по крайней мере части установки, соединенной из предварительно сборных объемных блок-модулей.
Тем самым увеличивается качество всего установки, так как проблемы могут быть выявлены уже в процессе сборки объемных блок-модулей. Предпочтительно при этом и уже проверяется функционирование всего установки.
Как правило, для установки, которая состоит из системы нескольких рядом или друг на друге поставленных контейнеров, вынимают стенки между ними и оставляют только наружные стенки.
При конфигурации объемных блок-модулей для транспорта, например, встроенное техническое оборудование закрепляется, и объемные блок-модули без боковых стенок стабилизируются дополнительными скобками (это может уже происходить заранее). Отсутствующие боковые стенки заменяют временными стенками или стенками многократного использования. Тем самым обеспечивается защита внутренних мест и установленного внутри объемных блок-модулей технического оборудования от влияния погоды, повреждения и/или кражи.
Этот способ позволяет создать установку для очистки сточных вод очень гибким и экономичным способом е, даже для использования на местах, где обычное производство такой установки возможно только с большими трудностями, например, из-за плохой доступности.
Выгодным совершенствованием изобретения является то, что предоставленные объемные блок-модули перед шагом б), но после монтажа креплений для технического оборудования для очистки сточных вод, получают лаковое покрытие методом катодной электроокраски окунанием (KTL). Этим достигается оптимальная защита от коррозии, внутри и снаружи. Это особенно выгодно для очистки сточных вод, так как могут иметь место брызги, разливы, повышенная влажность и химические воздействия, которые особенно способствуют коррозии. Заранее перед лаковым покрытием методом катодной электроокраски (KTL) объемный блок-модуль подготавливается для последующего монтажа технического оборудования (например, отверстия на дне для стока вставляется, точки крепления или приварные базовые плиты для крепления технического оборудования и т.д.). После этого осуществляется лаковое покрытие методом катодной электроокраски (KTL). Тем самым обеспечивается, что все важные компоненты имели контакт с лаковым покрытием или что лаковое покрытие при монтаже технического оборудования не должно повреждаться.
Задача также решается с помощью установки для очистки сточных вод,
а) имеющей множество объемных блок-модулей;
б) которые можно транспортировать с помощью обычных транспортных средств для контейнерных перевозок на суше, на воде и в воздухе до заданного места установления и собрать там;
в) причем для очистки сточных вод необходимое техническое оборудование установлено в объемных блок-модулях; и
г) причем объемные блок-модули, включая техническое оборудование, являются пригодными для предварительной сборки.
Объемные блок-модули предпочтительно являются контейнерами с самонесущей стальной конструкцией. Этим достигается, что объемные блок-модули могут перемещаться посредством всемирно распространенных транспортных и перегрузочных средств для контейнеров от места предварительной сборки к месту установления, что облегчает монтаж установки и уменьшает денежные затраты.
Кроме того, выгодно, если крыша каждого объемного блок-модуля наклонена не менее чем на 1% в продольном направлении. Это позволяет избежать накапливания большого количества дождевой воды на крыше. Вода может утекать по "короткой“ стороне объемного блок-модуля.
Выгодным совершенствованием изобретения является то, что все объемные блок-модули получают лаковое покрытие методом катодной электроокраски окунанием (KTL).
Выгодно также, если каждый объемный блок-модуль имеет дно, оформленное в виде ванны, которое может накапливать вытекающие жидкости. При этом ванна имеет боковые стенки высотой не менее чем на 3 см, предпочтительно не менее чем на 10 см, в верхнем направлении вдоль боковых стенок объемного блок-модуля. Кроме того, ванна имеет отверстие для стока в дне.
Кроме того, дно объемного блок-модуля часто оснащено приварными базовыми плитами. Крепление технического оборудования к этим базовым плитам осуществляется привинчиванием. Предпочтительно дно ванны состоит из рифленого листового металла, но и существуют также варианты применения других материалов, например пластиковых материалов.
Тем самым, что ванна имеет боковые стенки по крайней мере высотой на 3 см в верхнем направлении вдоль боковых стенок объемного блок-модуля, можно избежать повреждение боковых стенок вытекающими жидкостями. Эвентуально имеющаяся внутри объемных блок-модулей вода (например, после чистки установки или при пробоине) может истекать через стоки в отверстиях на дне.
Приварные базовые плиты позволяют обеспечить безопасность технического оборудования во время транспортировки или эксплуатации, будучи оно привинчено к базовым плитам. Монтаж базовых плит осуществляется еще перед лаковым покрытием методом катодной электроокраски КТЛ. Тем самым базовые плиты также защищены от коррозии.
При другом выгодном варианте осуществления изобретения сток на дне имеет следующие признаки:
а) отверстие для стока на дне ванны больше, чем диаметр водосточной трубы, существующей на месте установления;
б) отверстие закрывается посредством первой пластиковой плиты, которая выровнено окружает водосточную трубу;
в) конец водосточной трубы закрывается посредством второй меньшей пластиковой плиты, которая выровненно окружает настоящий сток на дне модуля;
г) причем первая и вторая пластиковые плиты при подключении стока на дне модуля к водосточной трубе могут быть резаны по форме и по размерам, как требуется; и
д) зазоры можно заполнять герметиком, примерно цементом.
Тем самым достигается, что отверстие для стока на дне объемного блок-модуля, сток на дне модуля и находящаяся на месте установления модуля водосточная труба, несмотря на возможно имеющиеся неточности, без проблем могут быть соединены между собой.
При дальнейшем выгодном совершенствовании объемные блок-модули или части объемных блок-модулей, которые используются в качестве рабочего кабинета для электрических распределительных устройств, атмосферно изолированы от остальных объемных блок-модулей и/или климатизированы отдельно от других объемных блок-модулей. Они имеют также не менее чем один вентилятор, который транспортирует воздух из части объемного блок-модуля, использованной в качестве рабочего кабинета для электрических распределительных устройств, или из объемного блок-модуля в соседнюю часть или соседний объемный блок-модуль. Этим обеспечивается, что воздух (мокрая и/или способствующая коррозию) из других объемных блок-модулей не может получить доступ к объемному блок-модулю использующему в качестве рабочего кабинета для электрических распределительных устройств, уже автоматически нагревается из-за теплоты от шкафов электрических распределительных устройств. Это уменьшает опасность замерзания в остальных объемных блок-модулях, в которые транспортируется воздух.
Кроме того, выгодно, если для эксплуатации установки имеется определенное количество необходимых химических веществ, которое охраняется в химических резервуарах, причем химические резервуары стоят на поддонах для сбора разлившейся жидкости, смонтированных над химическими резервуарами, на потолке каждого объемного блок-модуля, причем и химические резервуары и насосы-дозаторы отделены от остальной внутренней части соответствующего объемного блок-модуля посредством занавеса, преимущественно в виде пластиковых ламелей. Это позволяет уменьшить необходимую площадь для установления этой установки по сравнению с обычными системами, так как в них насосы-дозаторы обычно монтируются посредством креплений на стенках или отдельных шкафах дозирования. Таким образом, согласно изобретению химические резервуары с насосами-дозаторами могут устанавливаться простым способом в объемных блок-модулях. Также внутри объемных блок-модулей остальная часть защищена от брызг, например, из-за утечки.
Выгодно также, если между непосредственно смежными объемными блок-модулями, между смежными гранями предусмотрена вспучивающаяся уплотнительная лента и герметизация швов. Тем самым можно и герметизировать места маленьких неточностей по форме на модулях и маленькие неточности при установлении модулей.
Дальнейшие подробности и признаки станут очевидными из следующего описания предпочтительных вариантов осуществления изобретения в сочетании с прилагаемой формулой изобретения. Признаки могут быть реализованы отдельно или в комбинации между собой. Пути решения задачи не ограничиваются описанными вариантами осуществления. Например, всегда включают в себя данные по интервалам все - неназванные - промежуточные величины и все возможные частные интервалы.
Варианты предлагаемой установки для очистки сточных вод схематически поясняется чертежами, причем идентичные или функционально идентичные или соответствующие с точки зрения их функций элементы на различных чертежах обозначены идентичными условными обозначениями (цифрами). Предлагаемое изобретение поясняется следующими чертежами, а именно:
- на фиг. 1 представлено схематическое изображение модульной установки для очистки сточных вод;
- на фиг. 2 представлено схематическое изображение двух соединенных между собой объемных блок-модулей модульной установки для очистки сточных вод;
- на фиг. 3 представлено схематическое изображение в вертикальном разрезе дна объемного блок-модуля;
- на фиг. 4 представлена одна из приварных базовых плит, с которыми элементы технического оборудования могут быть прикреплены болтами;
- на фиг. 5 представлено схематическое изображение отверстия для стока в дне объемного блок-модуля;
- на фиг. 6 представлено схематическое изображение двух объемных блок-модулей, причем одно из которых используется в качестве рабочего кабинета для электрических распределительных устройств;
- на фиг. 7 представлено схематическое изображение в вертикальном разрезе объемного блок-модуля с резервуаром химических веществ и с насосами-дозаторами; и
- на фиг. 8 представлено схематическое плановое изображение (вид сверху) объемного блок-модуля с резервуаром химических веществ и с насосами-дозаторами.
Посредством чертежей подробно описывается пример предлагаемой установки для очистки сточных вод.
Согласно фиг. 1 установка состоит из множества сборных объемных блок-модулей 100. Так как они имеют стандартные размеры и стандартные устройства прикрепления, можно их транспортировать с помощью обычных транспортных средств для стандартных контейнеров к их заданному месту установления и там соединять их между собой. Фиг. 1 также показывает еще некоторые цистерны 20, которые дополняют модульную систему.
Как показывается на фиг. 2, необходимое для очистки сточных вод техническое оборудование уже имеется в смонтированном состоянии в объемных блок-модулях 100, 110.
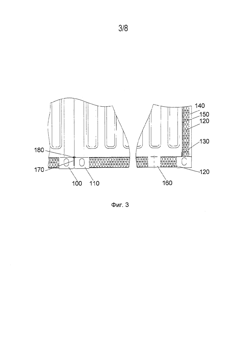
Фиг. 3 показывает схематическое изображение в вертикальном разрезе формы дна двух смежных объемных блок-модулей 100, 110. Это дно над изоляцией 120 изготовлено из рифленого листового металла. При этом дно из рифленого листового металла имеет боковые стенки на некоторые сантиметры в верхнем направлении вдоль боковых стенок объемного блок-модуля так, что дно имеет форму ванны, и боковые стенки 120, 140, 150 тем самым имеют защиту от влияния втекающих жидкостей. Эвентуально имеющаяся внутри объемных блок-модулей вода (например, после чистки установки или при пробоине) может истекать через соответствующие стоки на дне. С этой целью на дне каждого объемного блок-модуля предусмотрено отверстие 160. На месте установления также предварительно прокладываются водосточные трубы, чтобы может утекать вода из объемных блок-модулей.
Между непосредственно смежными объемными блок-модулями 100, 110 прикрепляется специальная уплотнительная лента 170, которая может вспучиваться до толщины 30 мм. Это осуществляется на крыше и на дне, возможно и на боковых стенках. Эта лента имеет задачу выравнивать возможные неточности по форме модулей или маленькие неточности при позиционировании модулей. После этого зазор герметизируется, например, герметиком типа „Sikaflex“ 180.
Для будущего обеспечения безопасности технического оборудования системы во время транспортировки или эксплуатации к дну объемных блок-модулей привариваются базовые плиты. После этого техническое оборудование к базовым плитам может прикрепляться болтами. Такая базовая плита 200 показана на фиг. 4.
Поскольку интерьер модулей используется для очистки сточных вод и объемные блок-модули подвергаются воздействию погодных условий, защита объемных блок-модулей от коррозии является очень важным. Коррозионные воздействия могут быть вызваны повышенной влажностью в интерьере, брызгами и разливами воды, использованием или хранением химических веществ внутри объемных блок-модулей, а также влиянием погодных условий на месте установления.
Для оптимальной защиты от коррозии (внутри и снаружи) весь объемный блок-модуль (стальная рама, дно, стенки, крыша и т.д.) имеет лаковое покрытие методом катодной электроокраски окунанием (KTL), которое предпочтительно имеет толщину от 30 до 60 мкм. До этого лакового покрытия KTL объемный блок-модуль подготавливается для последующего монтажа технического оборудования установки (например, отверстия на дне для стока вставляются, точки крепления или базовые плиты привариваются и т.д.). После этого осуществляется лаковое покрытие методом катодной электроокраски. Таким образом может обеспечиваться, что все важные компоненты, как, например, базовые плиты, вступили в контакт с лаковым покрытием, и покрытие не должно повреждаться при установлении технического оборудования.
Возможная вода внутри объемных блок-модулей (например, после чистки установки или если имеется утечка) может утекать через соответствующие водостоки. Для этого на дне каждого модуля имеется сток, как это показано на Фиг. 5. На месте установления модулей предварительно также прокладываются водосточные трубы, чтобы вода могла вытекать из объемных блок-модулей. Концы этих труб 300 должны находиться точно на том месте, где позже также устанавливают водостоки на дне объемных блок-модулей.
Для дальнейшего монтажа водостока на дне объемного блок-модуля важная задача теперь заключается в том, чтобы установить объемные блок-модули точно на том месте, где находятся проложенные водосточные трубы. С этой целью отверстие 160 на дне модуля выбирается так, чтобы оно было больше, чем диаметр 310 уложенной на месте установления водосточной трубы. Объемный блок-модуль сейчас устанавливается на проложенной трубе. В качестве первой нижней герметизации первая пластиковая плита 320 с большим диаметром 330 приспосабливается так, что она была ровно соединена с трубой 300. На конце 300 водосточной трубы закрепляется вторая пластиковая плита 340, в которую вставляются настоящий сток 350 на дне модуля. Сток на дне модуля имеет оконечную плиту, в которой через перфорацию или другие имеющиеся отверстия может утечь вода. Между стоком на дне модуля и дном модуля 360 имеется промежуток, который закрывается герметиком 370, например безусадочным цементом.
Дальше рассматривается фиг. 6. Воздух внутри объемных блок-модулей может способствовать коррозии, например, если имеется повышенная влажность или из-за применения химических веществ. Для защиты от коррозии шкафов электрических распределительных устройств 400 или их электрических, электронных и механических компонентов, объемный блок-модуль 410, который используется как кабинет электрических распределительных устройств, инкапсулируется 420, т.е. атмосферно отделяется от остальных объемных блок-модулей. Чтобы обеспечить, чтобы воздух из остальных объемных блок-модулей не мог попасть в тот объемный блок-модуль 410, который используется в качестве кабинета электрических распределительных устройств, из объемного блок-модуля 410, который используется как кабинет электрических распределительных устройств, воздух 450 транспортируется посредством вентилятора 440 в ту часть 430, смежную с кабинетом электрических распределительных устройств. Тем самым автоматически поступает наружный воздух 460 в кабинет электрических распределительных устройств 410.
Дальнейшим выходом этого способа транспортировки воздуха является то, что воздух 450, который поступает в часть 430 модуля, смежную с кабинетом электрических распределительных устройств, уже предварительно нагревается теплотой от шкафов электрических распределительных устройств 400. Это уменьшает опасность замерзания в других объемных блок-модулях, в которые воздух всасывается. Для защиты от перегрева в кабинете электрических распределительных устройств устанавливается кондиционер воздуха 470, который может реализовать снижение температуры в помещениях.
Чтобы эффективно избежать коррозийной атмосферы внутри объемных блок-модулей, требуется неоднократный воздухообмен в час. Это может быть достигнуто за счет тех воздуходувок, которые требуются техническим оборудованием для очистки воды (например, для транспорта воздуха в бак для аэробно-биологической очистки сточных вод) и которые устанавливаются внутри объемных блок-модулей так, что воздух в помещениях служит подачей воздуха. Тогда нет необходимости в дополнительной вентиляции для транспорта воздуха из помещений.
Как показывают фиг. 7 и фиг. 8, необходимые для работы химические вещества находятся в химических резервуарах 500 (обычно в баках емкостью 1 м3 согласно стандарту IBC), которые стоят на поддонах 510 для сбора разлившейся жидкости. Для простой замены этих резервуаров, например, посредством погрузчика может открываться двойная дверь 600 (см. фиг 8). Для получения необходимой химической жидкости из резервуаров насосы-дозаторы 520 прикреплены к потолку 540 объемного блок-модуля 550 соответствующими держателями 530 над резервуарами химических веществ 500 (см. фиг. 7 и фиг. 8). Защита от брызг в случае возможной утечки жидкости обеспечивается тем, что насосы-дозаторы 520 и химические резервуары 500 отделяются от остальных элементов оборудования, вставленных в модулях, посредством занавеса из пластиковых ламелей (например, из ПВХ).
| название | год | авторы | номер документа |
|---|---|---|---|
| Блочно-модульная установка первичной очистки сточных вод | 2019 |
|
RU2727420C1 |
| СТАНЦИЯ БИОЛОГИЧЕСКОЙ ОЧИСТКИ СТОЧНЫХ ВОД | 2014 |
|
RU2572329C2 |
| СТАНЦИЯ ОЧИСТКИ ПОВЕРХНОСТНЫХ СТОКОВ | 2000 |
|
RU2205924C2 |
| Способ сборки блочно-модульной насосной станции перекачки сточных вод | 2019 |
|
RU2728224C1 |
| Установка очистки поверхностного стока | 2015 |
|
RU2605983C1 |
| Система очистки поверхностного стока | 1989 |
|
SU1776636A1 |
| ТЕХНИЧЕСКИЙ РЕЗЕРВУАР КОМПЛЕКСА ОЧИСТКИ СТОЧНЫХ ВОД И СПОСОБ ЕГО ТРАНСПОРТИРОВКИ, А ТАКЖЕ КОМПЛЕКС И СПОСОБ ОЧИСТКИ СТОЧНЫХ ВОД АППАРАТНОГО ТИПА | 2016 |
|
RU2624709C1 |
| Установка для очистки дождевых вод | 1989 |
|
SU1669500A1 |
| ВОДООЧИСТНАЯ СТАНЦИЯ БИОЛОГИЧЕСКОЙ ОЧИСТКИ ХОЗЯЙСТВЕННО-БЫТОВЫХ СТОЧНЫХ ВОД И СПОСОБ БИОЛОГИЧЕСКОЙ ОЧИСТКИ | 2009 |
|
RU2404141C2 |
| Установка для биологической доочистки сточных вод | 1980 |
|
SU929602A1 |
Изобретение относится к способу изготовления установки для очистки сточных вод и к установке для очистки сточных вод. Осуществляют предоставление множества объемных блок-модулей на месте предварительной сборки, их соединение между собой, установление необходимого для очистки сточных вод технического оборудования в объемных блок-модулях на месте предварительной сборки, проверку функционирования соединенных между собой объемных блок-модулей и технического оборудования, разъединение объемных блок-модулей и подготовку их к транспорту, транспортировку объемных блок-модулей к месту установления. Подготовку необходимых пунктов подключения на месте установления, установление, соединение и подключение объемных блок-модулей на месте установления. В результате обеспечивается повышение качества всей установки. 2 н. и 7 з.п. ф-лы, 8 ил.
1. Способ изготовления установки для очистки сточных вод, включающий:
а) предоставление множества объемных блок-модулей,
a1) которые транспортируют с помощью обычных транспортных средств для контейнерных перевозок на суше, в воде и на воздухе к месту предварительной сборки или к заранее определенному месту установки для сборки,
а2) причем объемные блок-модули предоставляются на месте предварительной сборки,
а3) и на них наносят лаковое покрытие методом катодной электроокраски окунанием,
б) соединение между собой объемных блок-модулей для изготовления установки для очистки сточных вод,
в) установление необходимого для очистки сточных вод технического оборудования в объемные блок-модули на месте предварительной сборки,
г) соединение технического оборудования на месте предварительной сборки для изготовления установки для очистки сточных вод,
д) проверку функционирования соединенных объемных блок-модулей или, соответственно, технического оборудования, по меньшей мере, в качестве части установки для очистки сточных вод,
е) разъединение объемных блок-модулей и их взаимное расположение для транспортировки с оставленным техническим оборудованием внутри объемных блок-модулей,
э) транспортировку объемных блок-модулей с находящимся внутри техническим оборудованием к месту установки,
ж) подготовку необходимых пунктов подключения на месте установки,
з) установку, соединение и подключение объемных блок-модулей на подготовленном месте установки.
2. Установка для очистки сточных вод,
а) содержащая множество объемных блок-модулей,
б) которые выполнены с возможностью транспортировки с помощью обычных транспортных средств для контейнерных перевозок на суше, на воде и в воздухе до заранее определенного места установки для сборки,
в) причем необходимое технические оборудование для очистки сточных вод установлено в объемных блок-модулях,
г) при этом объемные блок-модули, включая установленное техническое оборудование, выполнены пригодными для предварительной сборки, причем
д) крыша каждого объемного блок-модуля наклонена не менее чем на 1% в продольном направлении.
3. Установка по п. 2, отличающаяся тем, что объемные блок-модули являются контейнерами с самонесущей стальной конструкцией.
4. Установка по п. 2, отличающаяся тем, что все объемные блок-модули имеют лаковое покрытие, нанесенное методом катодной электроокраски окунанием.
5. Установка по п. 2, отличающаяся тем, что каждый объемный блок-модуль (100) имеет ванну (130) в качестве дна, причем
а) ванна (130) по стенкам (150) объемного блок-модуля направлена вверх по меньшей мере на 3 см; и
б) ванна (130) имеет отверстие (160) донного слива (350).
6. Установка по п. 5, отличающаяся тем, что донный слив (350) имеет:
а) отверстие (160) ванны (130) для донного слива (350) больше, чем диаметр (310) водосточной трубы (300), существующей на месте установления, при этом
б) отверстие (160) выполнено с возможностью закрывания посредством первой пластиковой плиты (320), которая на одном уровне окружает водосточную трубу (300),
в) конец водосточной трубы (300) выполнен с возможностью закрывания посредством второй меньшей пластиковой плиты (340), которая на одном уровне окружает фактический донный слив (350), причем
г) первая (320) и вторая (340) пластиковые плиты вырезаны по форме и по размерам отверстия (160) ванны (130) для донного слива (350) и конца водосточной трубы (300),
д) зазоры заполнены герметиком (370).
7. Установка по п. 2, отличающаяся тем, что она имеет один объемный блок-модуль или часть (410) объемного блок-модуля, которые используются в качестве помещения для электрических распределительных устройств и при этом:
а) атмосферно изолированы от остальных объемных блок-модулей (420), и/или
б) климатизированы отдельно от других объемных блок-модулей, и
в) имеют по меньшей мере один вентилятор (440), причем вентилятор (440) направляет воздух (450) из объемного блок-модуля или из части объемного блок-модуля (410), использованных в качестве помещения для электрических распределительных устройств, в соседний объемный блок-модуль или в соседнюю часть объемного блок-модуля (430).
8. Установка по п. 2, отличающаяся тем, что она снабжена химическими резервуарами (500) для хранения химических веществ, необходимых для работы установки, причем
а) химические резервуары (500) стоят на поддонах для сбора разлившейся жидкости (510),
б) над химическими резервуарами (500) установлены насосы-дозаторы (520), смонтированные на потолке (540) соответствующего объемного блок-модуля (550), и
в) химические резервуары (500) и насосы-дозаторы (520) посредством занавеса (610) отделены от остальной внутренней части соответствующего объемного блок-модуля (550).
9. Установка по п. 2, отличающаяся тем, что между непосредственно соседними объемными блок-модулями (100, 110) между примыкающими друг к другу краями объемных блок-модулей предусмотрена вспучивающаяся уплотнительная лента (170) и герметизация швов (180).
| СПОСОБ ИЗГОТОВЛЕНИЯ МЕТАЛЛИЧЕСКИХ ДЕТАЛЕЙ С ТОНКИМ ПОЛОТНОМ, ИМЕЮЩИХ КОНСТРУКТИВНЫЕ ОТВЕРСТИЯ | 2001 |
|
RU2183146C1 |
| US 20040079691 A, 29.04.2004 | |||
| УСТАНОВКА ДЛЯ ОЧИСТКИ СТОЧНЫХ ВОД | 1991 |
|
RU2036845C1 |
| Двигатель внутреннего горения с испарительной вставкой | 1937 |
|
SU54071A1 |
| КОМПЛЕКС ДЛЯ БИОХИМИЧЕСКОЙ ОЧИСТКИ И ДООЧИСТКИ СТОЧНЫХ ВОД | 2008 |
|
RU2409524C2 |
Авторы
Даты
2017-10-04—Публикация
2013-08-21—Подача