Настоящее изобретение относится к механическим устройствам, а именно восстановления работоспособности металлических плотно притёртых цилиндрических сочленений. Плотно притёртые цилиндрические сочленений используются в сверлильных станках в системе вертикальной подачи сверла, в токарных станках, задней бабки станка в системе горизонтальной подачи и других механических устройствах.
Проблемой для плотно притёртых цилиндрических сочленений является их неработоспособность, заклинивание. Неработоспособность или заклинивание механизмов может быть вызвано многими факторами, например длительный простой оборудования, пребывание оборудования во влажной атмосфере или в агрессивной среде и других условиях.
Восстановление работоспособности заклиненных механизмов методом сильных механических воздействий или применение различных жидкостей, предназначенных для этих целей, например WD-40 к положительным результатам не приводят.
Предлагается (не имеющий аналогов) способ и устройство восстановления работоспособности металлических, плотно притёртых цилиндрических сочленений.
В части способа представлен порядок выполнения операций, который осуществляется методом воздействия переменного тока короткого замыкания, направленного на разрушение коррозирующего слоя сочленяющихся поверхностей с использованием, изготовленного для этих целей устройства.
Задачей технического решения является восстановление работоспособности заклиненных механизмов.
Поставленная задача решается благодаря тому, что способ восстановления работоспособности металлических плотно притертых цилиндрических сочленений, характеризующийся тем, что к сети переменного тока напряжением 220 В, 50 Гц через автоматический выключатель (А1) присоединяют первичную обмотку силового трансформатора (ТР1), вторичную обмотку силового трансформатора, выполненную двумя витками медного изолированного провода сечением не менее 140 мм2, например четыре провода по 35 мм2, причем провод вторичной обмотки присоединяют при помощи контактирующего устройства (У1) к неподвижной части восстанавливаемого механизма (ВМ), второй провод вторичной обмотки присоединяют при помощи контактирующего устройства (У2) к подвижной части восстанавливаемого механизма, обеспечивая при этом контур с переменным током короткого замыкания, в процессе его воздействия происходит нагрев и разрушение коррозирующего слоя сочленяющихся поверхностей и восстанавливается линейное перемещение.
Техническим результатом, обеспечиваемым приведённой совокупностью признаков, является восстановления работоспособности металлических, плотно притёртых цилиндрических сочленений.
Практическое апробирование заявленного способа и устройства подтвердило восстановление двух механизмов сверлильных станков и одного токарно-винторезного станка, задней бабки станка.
Наличие причинно-следственной связи между совокупностью существенных признаков заявляемого объекта и достигаемым техническим результатом заключается в восстановлении работоспособности заклиненных механизмов за счёт воздействия переменного тока короткого замыкания на коррозированные участки поверхности сочленений, применения способа и устройства восстановления работоспособности металлических, плотно притёртых цилиндрических сочленений
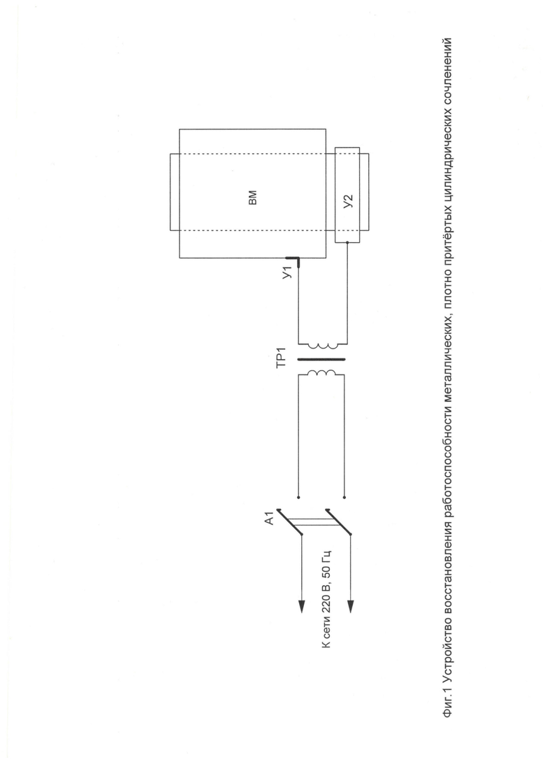
Сущность изобретения поясняется чертежом, на котором изображено:
На Фиг.1 - Устройство восстановления работоспособности металлических, плотно притёртых цилиндрических сочленений, где обозначено:
А1. Автоматический выключатель
ТР1. Силовой трансформатор
У1. Контактирующего устройства к неподвижной части
восстанавливаемого механизма
У2. Контактирующего устройства к подвижной части
восстанавливаемого механизма
ВМ. Восстанавливаемый механизм.
В способе представлен порядок выполнения соединений элементов, который осуществляют в следующем порядке: к сети переменного тока напряжением 220 В, 50 Гц через автоматический выключатель (А1) присоединяют первичную обмотку силового трансформатора (ТР1), вторичную обмотку силового трансформатора, выполненную двумя витками медного изолированного провода сечением не менее 140 мм2 , например четыре провода по 35 мм2 , причём провод вторичной обмотки присоединяют при помощи контактирующего устройства (У1) к неподвижной части восстанавливаемого механизма (ВМ), второй провод вторичной обмотки присоединяют при помощи контактирующего устройства (У2) к подвижной части восстанавливаемого механизма, обеспечивая при этом контур с переменным током короткого замыкания, в процессе его воздействия происходит нагрев и разрушение коррозирующего слоя сочленяющихся поверхностей и восстанавливается линейное перемещение.
Устройство восстановления работоспособности металлических, плотно притёртых цилиндрических сочленений, состоящее, из силового трансформатора, автоматического выключателя, контактирующих устройств, характеризующиеся тем, что контактирующие устройства присоединяют к неподвижной и подвижной частям, плотно притёртых цилиндрических сочленений, обеспечивая при этом электрическое соединение, причём контактирующие устройства, присоединительные провода, вторичная обмотка силового трансформатора способные пропускать большие токи, токи короткого замыкания 500А и более, в процессе воздействия переменного тока короткого замыкания, происходит нагрев и разрушение коррозирующего слоя сочленяющихся поверхностей и восстанавливается линейное перемещение.
В качестве силового трансформатора можно использовать тороидальный трансформатор типа ОСМ Т 220/2- 1,6-50-11 с параметрами: мощность 1,6 кВт, напряжение холостого хода вторичной обмотки 2 В, ток вторичной обмотки 500 А. Силовой трансформатор можно изготовить самостоятельно, используя тороидальную часть и первичную обмотку ЛАТЕРа-1000 Вт. В качестве автоматического выключателя используют двухполюсный автоматический выключатель 220 В, 16 А.
Работает устройство следующим образом: к сети переменного тока напряжением 220 В, 50 Гц через автоматический выключатель (А1) присоединяют первичную обмотку силового трансформатора (ТР1), вторичную обмотку силового трансформатора, присоединяют при помощи контактирующего устройства (У1) к неподвижной части восстанавливаемого механизма, второй провод вторичной обмотки присоединяют при помощи контактирующего устройства (У2) к подвижной части восстанавливаемого механизма (ВМ). Контактирующие устройства (У1) и (У2) изготовлены из медной пластины толщиной 4 мм, причём (У1) выполнено в виде уголка, а (У2) выполнено в форме обжимного хомута. Кратковременно в течение 5 с включают автоматический выключатель (А1), по истечении 60 с повторно включают автоматический выключатель на 5 с, указанный цикл повторяют 5-10 раз, до начала линейного смещения подвижной части восстанавливаемого механизма.
В процессе воздействия переменного тока короткого замыкания большого значения, происходит нагрев и разрушение коррозирующего слоя сочленяющихся поверхностей и восстанавливается линейное перемещение. Сочленяющиеся поверхности обрабатывают керосина содержащими жидкостями, удаляя при этом элементы коррозирующего слоя, затем смазывают машинным маслом. Работоспособность металлических, плотно притёртых цилиндрических сочленений считается восстановленной.
Техническая осуществимость изобретения вытекает из описания способа восстановления работоспособности металлических, плотно притёртых цилиндрических сочленений с практическим достижением указанного технического результата.
Настоящее изобретение относится к механическим устройствам, а именно восстановления работоспособности металлических плотно притёртых цилиндрических сочленений. Способ восстановления работоспособности металлических плотно притёртых цилиндрических сочленений характеризуется тем, что к сети переменного тока напряжением 220 В, 50 Гц через автоматический выключатель (А1) присоединяют первичную обмотку силового трансформатора (ТР1), вторичную обмотку силового трансформатора, выполненную двумя витками медного изолированного провода сечением не менее 140 мм2, например четыре провода по 35 мм2. Провод вторичной обмотки присоединяют при помощи контактирующего устройства (У1) к неподвижной части восстанавливаемого механизма (ВМ). Второй провод вторичной обмотки присоединяют при помощи контактирующего устройства (У2) к подвижной части восстанавливаемого механизма. Достигается восстановление работоспособности металлических плотно притёртых цилиндрических сочленений. 1 ил.
Способ восстановления работоспособности металлических плотно притёртых цилиндрических сочленений, характеризующийся тем, что к сети переменного тока напряжением 220 В, 50 Гц через автоматический выключатель (А1) присоединяют первичную обмотку силового трансформатора (ТР1), вторичную обмотку силового трансформатора, выполненную двумя витками медного изолированного провода сечением не менее 140 мм2, например четыре провода по 35 мм2, причем провод вторичной обмотки присоединяют при помощи контактирующего устройства (У1) к неподвижной части восстанавливаемого механизма (ВМ), второй провод вторичной обмотки присоединяют при помощи контактирующего устройства (У2) к подвижной части восстанавливаемого механизма, обеспечивая при этом контур с переменным током короткого замыкания, в процессе его воздействия происходит нагрев и разрушение коррозирующего слоя сочленяющихся поверхностей и восстанавливается линейное перемещение.
| Способ восстановления плунжерных пар топливных насосов высокого давления дизелей | 1990 |
|
SU1715864A1 |
| Клей для приклеивания мелких протезов к телу человека и для использования при операциях по пересадке кожи | 1949 |
|
SU85042A1 |
| Компактный бетавольтаический источник тока длительного пользования с бета-эмиттером на базе радиоизотопа Ni и способ его получения | 2016 |
|
RU2641100C1 |
| US 10060529 B2, 28.08.2018 | |||
| Способ проверки электрических характеристик блока релейной защиты коммутационного аппарата присоединения | 1990 |
|
SU1814102A1 |
| СПОСОБ БЕЗРАЗБОРНОГО ВОССТАНОВЛЕНИЯ ТРУЩИХСЯ СОЕДИНЕНИЙ | 1997 |
|
RU2149741C1 |
Авторы
Даты
2024-11-11—Публикация
2024-01-18—Подача