[0001] Изобретение относится к области резонансных преобразователей мощности. Преобразование напряжения DC используется во многих областях техники, начиная с необходимости преобразования напряжения питания для устройств, например, преобразования напряжения, подаваемого батареей портативного компьютера на процессор, и заканчивая применениями, движущимися в гораздо более критических условиях, например, условиях космической промышленности. Изобретение полезно, в частности, в области космической промышленности, но может применяться в других областях, требующих гибкости в нагрузках, на которые должна подаваться мощность, или во входном напряжении, в частности, в автомобильной области.
[0002] В общем случае, функция выхода преобразователя мощности состоит в подаче на целевое устройство напряжения и тока, необходимых для его работы.
[0003] Резонансные преобразователи предназначены для заданного диапазона входных напряжений и выходных токов. В традиционной резонансной структуре гарантируется работа на резонансной частоте или на близкой частоте. В этих условиях и для достаточно высокого уровня селективности, ток в структуре имеет синусоидальную или квазисинусоидальную форму.
[0004] Входное напряжение или нагрузку часто варьируют путем изменения рабочей частоты источника питания для резонансного преобразователя. В этом случае изменение рабочей частоты влияет на соотношение между активной мощностью и реактивной мощностью и не позволяет оптимизировать выход во всем рабочем диапазоне резонансных преобразователей.
[0005] Изменение рабочей частоты источника питания для резонансного преобразователя также затрудняет подбор размеров магнитных элементов и фильтров вокруг резонансного преобразователя мощности.
[0006] Кроме того, для очень широких рабочих диапазонов становится трудно гарантировать эффективную работу во всех сценариях использования.
[0007] На фиг. 1 показана структура, известная из уровня техники. Традиционно, резонансный преобразователь 1 мощности содержит:
- инвертор 10, обеспеченный двумя переключателями Qi1 и Qi2,
- последовательный резонансный контур LC, содержащий дроссель Lr (катушку индуктивности) и конденсатор Cr,
- трансформатор T1, содержащий первичную цепь 2 с обмоткой, содержащей N1 витков, и вторичную, выпрямительную, цепь 3 с обмоткой, содержащей N2 витков, что позволяет осуществлять функцию развязки по DC,
- и средство 4 управления для инвертора 10.
[0008] В данном случае инвертор 10 позволяет прерывать входное напряжение Vin (DC) и, таким образом, генерировать сигнал прямоугольной формы. Если этот сигнал прямоугольной формы имеет правильную частоту, т.е. резонансную частоту или частоту, близкую к резонансной частоте пары Lr, Cr, ток можно считать чисто синусоидальным для достаточно высокого уровня селективности. Затем ток течет через трансформатор T1, позволяющий осуществлять развязку по DC, и поступает на выходную нагрузку Rout посредством вторичной выпрямительной цепи 3.
[0009] Добавление дросселя Lm параллельно трансформатору T1, как показано на фиг. 1, позволяет разделять два резонанса. Работа между этими двумя резонансами путем изменения частоты позволяет варьировать выходную нагрузку Rout и адаптироваться к вариациям входного и выходного напряжения.
[0010] Чем больше разность между этими нагрузками, тем больше разность между необходимыми коэффициентами усиления, и тем больше необходимость в изменении частоты для охвата желаемого диапазона выходного напряжения Vout. Такой подход имеет четыре недостатка. Первый недостаток заключается в магнитных элементах, то есть в дросселях и трансформаторе, которые предназначены для работы на строго определенной рабочей частоте, что может приводить к потерям в случае, когда рабочие частоты выходят за пределы их рабочей области.
[0011] Второй недостаток заключается в динамическом диапазоне. Охват большого частотного диапазона предусматривает уменьшение динамического диапазона системы.
[0012] Увеличение реактивной мощности в ячейке может приводить к увеличению токов (обмена энергией между преобразователем и источником) и, таким образом, к увеличению потерь.
[0013] Наконец, изменение рабочей частоты может приводить к нарушениям непрерывности выходного тока, увеличению значения тока, передаваемого во вторичную цепь, и, таким образом, увеличению потерь.
[0014] Изобретение призвано преодолеть все или некоторые из вышеупомянутых проблем благодаря инновационной структуре последовательно-параллельного резонансного преобразователя мощности, способного работать в более широком рабочем диапазоне, гарантируя при этом высокую производительность. Таким образом, изобретение предусматривает резонансный преобразователь мощности, способный работать при любых нагрузках и имеющий высокий динамический диапазон.
[0015] Для этого изобретение относится к преобразователю мощности, имеющему параллельный резонансный контур, содержащему:
- инвертор,
- резонансный контур,
- трансформатор, содержащий первичную цепь и вторичную цепь,
- средство управления для инвертора, причем инвертор подключен к резонансному контуру, который предназначен для подключения к выходной нагрузке через трансформатор,
отличающемуся тем, что инвертор содержит:
- первый полумост и второй полумост, параллельно соединенный с первым полумостом,
- первый дроссель между первым полумостом и резонансным контуром,
- второй дроссель между вторым полумостом и резонансным контуром,
и тем, что первый и второй дроссели имеют одинаковую индуктивность и соединены противоположно друг другу.
[0016] Согласно одному аспекту изобретения второй полумост действует в противофазе с первым полумостом для работы под низкой нагрузкой.
[0017] Согласно одному аспекту изобретения ток IC, текущий через первый и второй дроссели, выражается в виде:
[0018] где Vin - входное напряжение на клеммах первого полумоста и второго полумоста, Lc - индуктивность первого и второго дросселей и fdec - частота прерываний резонансного контура, для работы под низкой нагрузкой.
[0019] Согласно одному аспекту изобретения первый полумост содержит первый переключатель и второй переключатель, второй полумост содержит третий переключатель и четвертый переключатель, первый полумост и второй полумост выполнены с возможностью переноса тока и генерации напряжения, и средство управления для первого полумоста и второго полумоста выполнено с возможностью задержки тока относительно напряжения, для обеспечения мягкого переключения.
[0020] Согласно одному аспекту изобретения мертвое время tm, определяемое как время для разрядки первого конденсатора, имеющего емкость C1, второго конденсатора, имеющего емкость C2, третьего конденсатора, имеющего емкость C3, четвертого конденсатора, имеющий емкость C4, и для сброса первого переключателя, второго переключателя, третьего переключателя и четвертого переключателя, выражается в виде:
[0021] где Coss - выходная емкость первого, второго, третьего и четвертого переключателей.
[0022] Согласно одному аспекту изобретения резонансный контур является контуром LC.
[0023] Согласно одному аспекту изобретения резонансный контур является контуром LLC.
[0024] Согласно одному аспекту изобретения второй полумост действует в фазе с первым полумостом для работы под полной нагрузкой.
[0025] Изобретение можно будет лучше понять, и другие преимущества станут ясными при прочтении подробного описания варианта осуществления, приведенного в порядке примера, причем упомянутое описание проиллюстрировано в прилагаемых чертежах, где:
[0026] фиг. 1 - схема структуры, известной из уровня техники;
[0027] фиг. 2 - схема структуры преобразователя мощности согласно изобретению;
[0028] фиг. 3 - схема инвертора структуры преобразователя мощности согласно изобретению;
[0029] фиг. 4 - схема одного варианта структуры преобразователя мощности;
[0030] фиг. 5 - схема другого варианта структуры преобразователя мощности.
[0031] Для ясности, одни и те же элементы обозначаются одинаковыми ссылочными позициями в различных чертежах.
[0032] В настоящем описании термин “параллельно” означает, что элементы, которые не принадлежат одной и той же ветви, объединяются своим концом, имеющим одну и ту же полярность, и работают одновременно. Термин “последовательно” означает, что элементы принадлежат одной и той же ветви тока и работают последовательно. Термин “антипараллельно” означает, что элементы ориентированы параллельно друг другу, но несут ток в противоположных направлениях.
[0033] На фиг. 1, представленной выше, традиционно показана структура 1 преобразователя мощности, известная из уровня техники.
[0034] На фиг. 2 схематически показана структура преобразователя 100 мощности согласно изобретению. Согласно уровню техники, преобразователь 100 мощности содержит:
- инвертор 101, который способен прерывать входное напряжение Vin и, таким образом, генерировать сигнал прямоугольной формы,
- последовательный резонансный контур LC, содержащий дроссель Lr и конденсатор Cr, который подключен к инвертору 101,
- трансформатор T1, содержащий первичную цепь 2 с обмоткой, содержащей N1 витков, и вторичную, выпрямительную, цепь 3 с обмоткой, содержащей N2 и N3 витков, что позволяет осуществлять функцию развязки по DC,
- и средство 4 управления для инвертора 101.
[0035] В отличие от уровня техники, инвертор 101 обеспечивается четырьмя переключателями Q1, Q2, Q3 и Q4. Переключатели Q1 и Q2 образуют первый полумост D1, и переключатели Q3 и Q4 образуют второй полумост D2. Первый полумост D1 параллелен второму полумосту D2. Первый дроссель Lc1 подключен последовательно первому полумосту D1 и соединяет первый полумост D1 и резонансный контур LC. Второй дроссель Lc2 подключен последовательно второму полумосту D2 и соединяет второй полумост D2 и резонансный контур LC. Без ограничений, переключатели Q1, Q2, Q3 и Q4 могут быть транзисторами, как показано на фиг. 2.
[0036] Для эффективного управления токами, подаваемыми на выходную нагрузку Rout, первый дроссель Lc1 и второй дроссель Lc2 имеют одинаковую индуктивность Lc и соединены противоположно друг другу. То есть первый дроссель Lc1 соединен параллельно со вторым дросселем Lc2, ток течет через второй дроссель Lc2 в направлении, противоположном току, текущему через первый дроссель Lc1. Таким образом, можно понять, что первый дроссель Lc1 и второй дроссель Lc2 образуют единую магнитную цепь, то есть первый дроссель Lc1 и второй дроссель Lc2 несут один и тот же поток, создаваемый суммой токов с учетом знака, текущих через первый дроссель Lc1 и второй дроссель Lc2.
[0037] Таким образом, в ходе работы под полной нагрузкой, первый полумост D1 действует в фазе со вторым полумостом D2, и первый дроссель Lc1 и второй дроссель Lc2 невидимы для структуры преобразователя 100 мощности. Причина в том, что токи в первом дросселе Lc1 и втором дросселе Lc2 противоположны, из-за чего поток, создаваемый в первом дросселе Lc1 и втором дросселе Lc2, равен нулю, и, таким образом, первый дроссель Lc1 и второй дроссель Lc2 невидимы для структуры преобразователя 100 мощности.
[0038] Напротив, в ходе работы под низкой нагрузкой, первый полумост D1 и второй полумост D2 работают в противофазе, и токи через них противоположны и равны. Ток, поступающий на нагрузку, будучи суммой токов, равен нулю. Противоположные токи создают максимальный поток в первом дросселе Lc1 и втором дросселе Lc2 и ограничивают ток, текущий между первым полумостом D1 и вторым полумостом D2. Амплитуда этого тока ограничивается значением индуктивности, которое выбирается, чтобы гарантировать мягкое переключение, эффект, который представлен ниже.
[0039] Средство 4 управления отвечает за управление двумя вышеупомянутыми операциями и допускает промежуточную операцию между двумя типами представленных операций. Средство 4 управления выполнено с возможностью регулировки разности фаз между первым полумостом D1 и вторым полумостом D2 для регулировки выходного напряжения на основании нагрузки и входного напряжения. Средство 4 управления может, в порядке примера, отвечать за промежуточную операцию на основании линейной модели управления током между двумя типами операции. Для этого средство 4 управления регистрирует ток на выходе инвертора 101 или выходное напряжение Vout и управляет первым полумостом D1 и вторым полумостом D2 инвертора 101 на основании зарегистрированного тока.
[0040] Таким образом, выходная нагрузка Rout преобразователя 100 мощности управляется уже не путем изменения частоты и, таким образом, удаления рабочей частоты преобразователя 100 мощности от его резонансной частоты, но путем изменения сдвига фазы, наблюдаемого между токами, текущими через первый полумост D1 и второй полумост D2 инвертора 101. Затем преобразователь 100 мощности, как представлено, действует, во всех возможных случаях, на резонансной частоте или частотах, близких к резонансной частоте, которые гарантируют эффективную работу.
[0041] Еще одним недостатком уровня техники, представленного на фиг. 1, является управление потерями. Причина в том, что, когда рабочая частота источников питания увеличивается, и работа отклоняется от резонансной частоты, часть тока, текущего в резонансном контуре, не передается на нагрузку и создает реактивную мощность. По мере отклонения работы от резонансной частоты, потери в переключателях и особенно в магнитных элементах увеличиваются.
[0042] В отличие от жесткого переключения, при нулевом токе или напряжении в переключателе или когда эти два компонента противоположны, мощность в переключателе равна нулю. Преимущество этой ситуации состоит в генерации лишь малой величины потерь для каждой операции переключения в переключателе, по причине отсутствия рассеиваемой мощности. Затем энергия, накопленная в паразитных емкостях переключателей течет, позволяя последним включаться без потерь, что именуется мягким переключением. Напротив, когда ток и напряжение в переключателе не равны нулю, мощность рассеивается в переключателе. Это называется жестким переключением.
[0043] Когда напряжение равно нулю в ходе операции переключения, специалисты в данной области техники говорят о переключении при нулевом напряжении (ZVS, zero-voltage switching) и, соответственно, переключении при нулевом токе, когда ток равен нулю (ZCS, zero-current switching). В общем случае этот эффект называется мягким переключением.
[0044] Структура преобразователя 100 мощности, представленная на фиг. 2, согласно изобретению обладает преимуществами по отношению к мягкому переключению. Причина в том, что средство 4 управления для инвертора 101 выполнено с возможностью задержки тока относительно напряжения, для обеспечения мягкого переключения.
[0045] Помимо указанного выше, благодаря структуре преобразователя 100 мощности согласно изобретению, появляется возможность работать с мягким переключением во всем диапазоне нагрузки для источника питания. Это дает преимущество, во-первых в ограничении потерь в переключателях Q1, Q2, Q3 и Q4, что в свою очередь обеспечивает повышение выхода, и во-вторых в ограничении электромагнитных и электрических возмущений, вызванных источником питания. Таким образом, изобретение позволяет уменьшить размер фильтров, установленных в преобразователе 100 мощности.
[0046] Кроме того, каждый переключатель Q1, Q2, Q3 и Q4 может иметь диод (Di1 для Q1, Di2 для Q2, Di3 для Q3 и Di4 для Q4), подключенный антипараллельно переключателю, и может иметь параллельно подключенную емкость (C1 для Q1, C2 для Q2, C3 для Q3 и C4 для Q4). Эти емкости C1, C2, C3 и C4 могут представлять собой паразитную емкость переключателя или емкость добавленного конденсатора, как показано на фиг. 2. Это позволяет преобразователю 100 мощности работать с мягким переключением (ZVS) и даже без нагрузки.
[0047] Кроме того, преобразователь 100 мощности может быть снабжен двумя транзисторами D5 и D6, соединенными параллельно со вторичной выпрямительной цепью 3, между вторичной выпрямительной цепью 3 и выходной нагрузкой Rout.
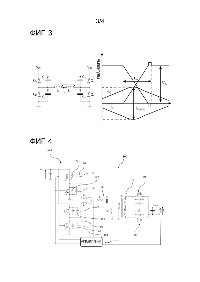
[0048] На фиг. 3 представлены другие преимущества структуры преобразователя 100 мощности. На фиг. 3 схематически показан инвертор 101 структуры преобразователя 100 мощности согласно изобретению в случае работы без нагрузки, где токи в первом дросселе Lc1 и втором дросселе Lc2 противоположны. В частности, на фиг. 3 представлен первый полумост D1, образованный переключателями Q1 и Q2, последовательно соединенными с первым дросселем Lc1, параллельно со вторым полумостом D2, образованным переключателями Q3 и Q4, последовательно соединенными со вторым дросселем Lc2.
[0049] Таким образом, можно измерять ток IC, между первым дросселем Lc1 и вторым дросселем Lc2. Ток IC непосредственно связан со значением первого дросселя Lc1, со значением второго дросселя Lc2 и с входным напряжением Vin согласно следующему уравнению:
[0050] где Lc - значение первого дросселя Lc1 и второго дросселя Lc2, Vin - значение входного напряжения, и fdec - частота использования преобразователя 100 мощности или частота прерываний.
[0051] Эта формула пригодна для работы без нагрузки, когда токи находятся в противофазе в первом и втором дросселях LC1, LC2, соединенных, как показано на фиг. 3.
[0052] Кроме того, поскольку ток IC зависит от значения первого дросселя Lc1 и значения второго дросселя Lc2, он может находиться в диапазоне тока Icpkpk. Диапазон тока Icpkpk занимает значения вокруг нормализованного значения тока IC в зависимости от работы преобразователя 100 мощности.
[0053] Другое преимущество структуры преобразователя 100 мощности согласно изобретению состоит в регулировке мертвого времени tm, то есть времени, необходимого для осуществления мягкого переключения. Точнее говоря, мертвое время tm определяется как минимальное время, за которое емкости C1, C2, C3 и C4 могут разряжаться и переключатели Q1, Q2, Q3 и Q4 могут сбрасываться. Причина в том, что преобразователь 100 мощности согласно изобретению позволяет делать мертвое время tm независимым от входного напряжения Vin, что упрощает управление переключателями Q1, Q2, Q3 и Q4. Таким образом, мертвое время tm можно задавать для всех операций на основании выходных емкостей COSS переключателей Q1, Q2, Q3 и Q4 по формуле:
[0054] Мертвое время можно интерпретировать как максимальное время, которое может фиксироваться по причине работы под низкой нагрузкой или без нагрузки. Его можно уменьшить для работы под большой нагрузкой.
[0055] На фиг. 4 схематически показан вариант структуры преобразователя 100 мощности. Как представлено на фиг. 2, преобразователь 100 мощности содержит:
- инвертор 101, образованный четырьмя переключателями Q1, Q2, Q3 и Q4, причем переключатели Q1 и Q2 образуют первый полумост D1, и переключатели Q3 и Q4 образуют второй полумост D2, который способен прерывать входное напряжение Vin и, таким образом, генерировать сигнал прямоугольной формы,
- последовательный резонансный контур, который подключен к инвертору 101,
- трансформатор T1, содержащий первичную цепь 2 с обмоткой, содержащей N1 витков, и вторичную, выпрямительную, цепь 3 с обмоткой, содержащей N2 и N3 витков, что позволяет осуществлять функцию развязки по DC,
- и средство 4 управления для инвертора 101.
[0056] Этот вариант структуры преобразователя 100 мощности добавляет дроссель Lm параллельно трансформатору T1, что позволяет разделять два резонанса. Использование дросселя Lm параллельно трансформатору T1 позволяет уменьшить магнитную индукцию, генерируемую в трансформаторе T1. В этом случае последовательный резонансный контур становится контуром LLC, имеющим два дросселя Lr и Lm и конденсатор Cr.
[0057] Первый и второй соединенные дроссели LC1, LC2 позволяют ограничивать ток, текущий между первым полумостом D1 и вторым полумостом D2, когда они действуют в противофазе, и позволяют добавлять токи, не влияя на преобразователь мощности, когда они действуют в фазе.
[0058] Преимущественно, источник питания работает на частоте, близкой к резонансной.
[0059] Конденсатор Cr последовательного резонансного контура может делиться на первую вторичную емкость Cr1 и вторую вторичную емкость Cr2, как показано на фиг. 5, каждая из которых составляет половину начальной емкости конденсатора Cr. Первая вторичная емкость Cr1 располагается между первым полумостом D1 и первым дросселем Lc1 и, таким же образом, вторая вторичная емкость Cr2 располагается между вторым полумостом D2 и вторым дросселем Lc2. Благодаря такой конфигурации система оказывается нечувствительной к асимметрии в управлении.
Изобретение относится к преобразователю (100) мощности, имеющему параллельный резонансный контур, содержащему инвертор (101), резонансный контур (LC), трансформатор (T1), содержащий первичную цепь (2) и вторичную цепь (3), средство (4) управления для инвертора (101). Инвертор (101) подключен к резонансному контуру (LC), который предназначен для подключения к выходной нагрузке (Rout) через трансформатор (T1). Инвертор (101) содержит первый полумост (D1) и второй полумост (D2), параллельно соединенный с первым полумостом (D1), первый дроссель (Lc1) между первым полумостом (D1) и резонансным контуром (LC), второй дроссель (Lc2) между вторым полумостом (D2) и резонансным контуром (LC). Первый и второй дроссели (Lc1, Lc2) имеют одинаковую индуктивность и соединены противоположно друг другу. 6 з.п. ф-лы, 5 ил.
1. Преобразователь (100) мощности, имеющий параллельный резонансный контур, содержащий:
- инвертор (101),
- резонансный контур (LC),
- трансформатор (T1), содержащий первичную цепь (2) и вторичную цепь (3),
- средство (4) управления для инвертора (101), причем инвертор (101) подключен к резонансному контуру (LC), который предназначен для подключения к выходной нагрузке (Rout) через трансформатор (T1),
отличающийся тем, что преобразователь (100) мощности содержит дроссель (Lm) параллельно с трансформатором (T1), и тем, что инвертор (101) содержит:
- первый полумост (D1) и второй полумост (D2), параллельно соединенный с первым полумостом (D1),
- первый дроссель (Lc1) между первым полумостом (D1) и резонансным контуром (LC),
- второй дроссель (Lc2) между вторым полумостом (D2) и резонансным контуром (LC),
и тем, что первый и второй дроссели (Lc1, Lc2) имеют одинаковую индуктивность и соединены противоположно друг другу.
2. Преобразователь (100) мощности по п. 1, в котором второй полумост (D2) действует в противофазе с первым полумостом (D1) для работы под низкой нагрузкой, и ток Ic, текущий через первый и второй дроссели (Lc1, Lc2), выражается в виде:
где Vin - входное напряжение на клеммах первого полумоста (D1) и второго полумоста (D2), Lc - индуктивность первого и второго дросселей (Lc1, Lc2) и fdec - частота прерываний резонансного контура (LC), для работы под низкой нагрузкой.
3. Преобразователь (100) мощности по п. 2, в котором первый полумост (D1) содержит первый переключатель (Q1) и второй переключатель (Q2), второй полумост (D2) содержит третий переключатель (Q3) и четвертый переключатель (Q4), причем первый полумост (D1) и второй полумост (D2) выполнены с возможностью переноса тока и генерации напряжения, и средство (4) управления для первого полумоста (D1) и второго полумоста (D2) выполнено с возможностью задержки тока относительно напряжения, для обеспечения мягкого переключения (ZVS).
4. Преобразователь (100) мощности по п. 3, в котором первый переключатель (Q1) содержит первый конденсатор, имеющий емкость C1, второй переключатель (Q2) содержит второй конденсатор, имеющий емкость C2, третий переключатель (Q3) содержит третий конденсатор, имеющий емкость C3, четвертый переключатель (Q4) содержит четвертый конденсатор, имеющий емкость C4, и мертвое время tm, определяемое как время для разрядки первого конденсатора, имеющего емкость C1, второго конденсатора, имеющего емкость C2, третьего конденсатора, имеющего емкость C3, четвертого конденсатора, имеющего емкость C4, и для сброса первого переключателя (Q1), второго переключателя (Q2), третьего переключателя (Q3) и четвертого переключателя (Q4), выражается в виде:
где COSS - выходная емкость первого, второго, третьего и четвертого переключателей (Q1, Q2, Q3, Q4).
5. Преобразователь мощности по п. 4, в котором резонансный контур является контуром LC.
6. Преобразователь мощности по п. 4, в котором резонансный контур является контуром LLC.
7. Преобразователь (100) мощности по п. 1, в котором второй полумост (D2) действует в фазе с первым полумостом (D1) для работы под полной нагрузкой.
Авторы
Даты
2024-11-18—Публикация
2021-06-11—Подача