КОМПАКТНАЯ КОНТЕЙНЕРНАЯ СИСТЕМА И СПОСОБ РАСПЫЛИТЕЛЬНОГО ИСПАРЕНИЯ ВОДЫ Российский патент 2024 года по МПК B01D1/00 

Описание патента на изобретение RU2830270C2

ПРЕДЫДУЩИЕ РОДСТВЕННЫЕ ЗАЯВКИ

Настоящая заявка представляет собой международную патентную заявку PCT Патентной Заявки США с серийным № 16/395,376, поданной 26 апреля 2019 года, которая является частичным продолжением Обычной Патентной Заявки США с серийным № 15/177,519, поданной 9 июня 2016 года, которая утверждает преимущество Предварительной Патентной Заявки США № 62/173,509, поданной 10 июня 2015 года, озаглавленной «Контейнерная система и способ распылительного испарения воды».

ОБЛАСТЬ ТЕХНИКИ, К КОТОРОЙ ОТНОСИТСЯ ИЗОБРЕТЕНИЕ

Изобретение в общем и целом относится к распылительному испарению воды, и, в частности, к контейнерной системе и способу распылительного испарения воды регулированием давления нагнетания насосом и/или размера водяных капель, распыляемых внутри замкнутого контейнера, с оптимизацией объемного расхода воздуха и воды и размера капель, распыляемых внутри контейнера.

УРОВЕНЬ ТЕХНИКИ

Современные способы испарения нежелательной воды (например, фильтратов свалок, попутно добываемой воды, сточных вод в горной промышленности, и сточных вод) обычно включают бассейны с большой площадью поверхности, плавучие или размещенные на земле мелкокапельные распылители, которые производят распыление обратно в бассейн, или многостадийное взрывное испарение (MSF). С этими способами связаны многочисленные проблемы. Испарение солнечным излучением с большой площади поверхности или в брызгальном бассейне происходит медленно для удаления воды, требует больших капиталовложений, и создает опасность утечки. Плавучие или размещенные на земле распылители повышают эффективность бассейнов, но создают возможность уноса ветром водяных капель и растворенных твердых веществ в виде аэрозолей (например, солей), загрязняя другие области. Способ MSF представляет собой сложный процесс с высоким энергопотреблением, с большими конечными капиталовложениями и эксплуатационными расходами, а также создающими проблемы выбросов в атмосферу. Альтернативным вариантом, чтобы не испарять воду на месте образования или вблизи него, является удаление с использованием передвижной вакуумной установки. Передвижные вакуумные установки на основе автомобиля удаляют воду из резервуаров-хранилищ или из бассейнов, но нуждаются в транспортировании для утилизации или обработки нежелательной воды в каком-то другом месте. Это может быть довольно дорогостоящим.

Поэтому существует потребность в компактной контейнерной системе и в способе распылительного испарения нежелательной воды, чтобы ускорить удаление воды с созданием водяных капель во время испарения, и для снижения затрат на транспортирование и утилизацию отходов.

СУЩНОСТЬ ИЗОБРЕТЕНИЯ

Изобретение в общем и целом относится к распылительному испарению воды, и, в частности, к компактной контейнерной системе и способу эффективного распылительного испарения воды регулированием давления нагнетания насосом и/или размера водяных капель, распыляемых внутри замкнутого контейнера, и оптимизацией объемного расхода воды и размера капель, распыляемых внутри контейнера.

Изобретение создает возможность испарения больших объемов нежелательной воды внутри контейнерной мобильной системы, благодаря чему устраняет необходимость в крупных испарительных бассейнах или в утилизации с использованием передвижной вакуумной установки. Более конкретно, изобретение максимизирует скорость испарения нежелательной воды сокращением размера водяных капель, распыляемых внутри замкнутого контейнера, и оптимизацией размера и объема водяных капель, распыляемых внутри контейнера. Испаренная вода выходит из контейнера в виде водяного пара через систему улавливания тумана, оставляя после этого капли неиспаренной воды и растворенные минералы, собираемые в отстойнике (дне) контейнера. Водный конденсат направляют в рециркуляцию через систему, и как только он становится достаточно сконцентрированным, водный концентрат отводят во внешнее хранилище для удаления отходов.

Система для распылительного испарения воды включает впуск для сточной воды, насос, где выпуск впуска для сточной воды соединен в сообщении по текучей среде с впуском насоса, и причем выпуск насоса соединен в сообщении по текучей среде с впуском коллектора; распылительное сопло, причем выпуск коллектора соединен в сообщении по текучей среде с впуском распылительного сопла; контейнер, причем верхняя и боковые части контейнера охвачены каплеуловительным элементом, и причем выпуск распылительного сопла производит выпуск в контейнер; и разгрузочный выпуск, причем дно контейнера находится в сообщении по текучей среде с разгрузочным выпуском.

В одном варианте исполнения насос создает поток воды с величиной расхода от около 50 галлонов в минуту (GPM) до около 800 GPM (189,3-3028,3 л/мин) (и в любом диапазоне или значении между ними). В одном варианте исполнения насос создает поток воды с величиной расхода от около 15 GPM до около 100 GPM (56,9-378,5 л/мин).

Система распылительного испарения воды, включающая впуск для сточной воды, включает сточную воду; первый клапан, причем выпуск впуска для сточной воды находится в сообщении по текучей среде с впуском первого клапана; первый насос, причем выпуск первого клапана находится в сообщении по текучей среде с впуском первого насоса; контейнер, причем верхняя и боковые части контейнера охвачены каплеуловительным элементом, и причем каплеуловительный элемент удерживает неиспаренную воду внутри контейнера; распылительное сопло, причем выпуск первого насоса находится в сообщении по текучей среде с первым впуском коллектора, причем выпуск коллектора находится в сообщении по текучей среде с впуском распылительного сопла, и причем выпуск распылительного сопла производит выпуск в контейнер; второй насос, причем выпуск отстойника находится в сообщении по текучей среде с впуском второго насоса; второй клапан; причем выпуск второго насоса находится в сообщении по текучей среде со вторым впуском коллектора, и причем первый выпуск коллектора находится в сообщении по текучей среде с впуском распылительного сопла; и третий клапан, причем второй выпуск коллектора находится в сообщении по текучей среде с впуском третьего клапана, и причем выпуск третьего клапана находится в сообщении по текучей среде с разгрузочным выпуском.

В одном варианте исполнения система дополнительно включает воздуходувку, причем воздушный поток из воздуходувки рассеивает водяные капли из распылительного сопла. В одном варианте исполнения воздуходувка размещена проходящей через стенку контейнера так, что поток воздуха из воздуходувки направлен в противотоке течению водяных капель из распылительного сопла. В одном варианте исполнения воздуходувка размещена проходящей сквозь стенку контейнера так, что поток воздуха из воздуходувки перекрещивается с потоком водяных капель из распылительного сопла. В одном варианте исполнения воздуходувка создает поток воздуха с расходом от около 60000 кубических футов в минуту (CFM) до около 150000 CFM (1699-4247 м3/мин) (и в любом диапазоне или значении между ними).

В одном варианте исполнения система дополнительно включает воздухонагреватель, причем выпуск для воздушного потока из воздухонагревателя соединен в сообщении по текучей среде с впуском для воздушного потока воздуходувки.

В одном варианте исполнения распылительная система включает распылительный коллектор, причем выпуск насоса соединен в сообщении по текучей среде с впуском распылительного коллектора; и распылительное сопло, причем впуск распылительного сопла соединен с выпуском распылительного коллектора, и причем выпуск распылительного сопла производит выпуск в контейнер. В одном варианте исполнения распылительное сопло выбирают из группы, состоящей из форсунок с простым отверстием, форсунок с фасонным отверстием, сопел с распылением при столкновении с поверхностью, вихревых распылительных сопел, и напорных вихревых форсунок. В одном варианте исполнения распылительное сопло создает водяные капли с размером от около 50 мкм до около 1000 мкм (и в любом диапазоне или значении между ними).

В одном варианте исполнения система дополнительно включает программируемый логический контроллер (PLC) или другое компьютерное устройство, причем PLC или другое компьютерное устройство регулирует величину расхода потока воздуха из воздуходувки и размер водяных капель из распылительного сопла.

В одном варианте исполнения система дополнительно включает систему кислотного кондиционирования, причем система кислотного кондиционирования добавляет раствор кислоты в сточную воду.

В одном варианте исполнения система дополнительно включает систему бактерицидного кондиционирования, причем система бактерицидного кондиционирования добавляет бактерицид в сточную воду.

В одном варианте исполнения система дополнительно включает систему кондиционирования ингибитором накипи, причем система кондиционирования ингибитором накипи добавляет ингибитор накипи в сточную воду.

В одном варианте исполнения система дополнительно включает систему пеногашения, причем система пеногашения добавляет пеногаситель в сточную воду.

В одном варианте исполнения первый насос создает поток воды с расходом от около 50 галлонов в минуту (GPM) до около 100 GPM (189-378 л/мин).

В одном варианте исполнения второй насос создает поток воды с расходом от около 500 GPM до около 800 GPM (1893-3032 л/мин).

В одном варианте исполнения каплеуловительный элемент удерживает неиспаренную воду внутри контейнера.

Система испарения сточной воды для распылительного испарения воды включает впуск для сточной воды; насос, причем выпуск впуска для сточной воды соединен в сообщении по текучей среде с впуском насоса, и причем выпуск насоса соединен в сообщении по текучей среде с впуском коллектора; распылительное сопло, причем выпуск коллектора соединен в сообщении по текучей среде с впуском распылительного сопла; горизонтальный контейнер, причем верхняя часть контейнера заключена в каплеуловительный элемент, и причем выпуск распылительного сопла производит выпуск водяных капель в контейнер; разгрузочный выпуск, причем дно контейнера соединено в сообщении по текучей среде с разгрузочным выпуском; воздушную систему, включающую воздуходувку и, необязательно, воздухонагреватель, причем воздушная система размещена проходящей через стенку контейнера, и причем воздушная система выпускает воздушный поток в противотоке течению водяных капель из распылительного сопла; и дефлектор или диффузор, причем дефлектор или диффузор размещен внутри контейнера для перенаправления воздушного потока из центральной области контейнера к стенке контейнера.

В одном варианте исполнения система дополнительно включает коническую вставку, причем коническая вставка размещена внутри контейнера для перенаправления воздушного потока от стенки контейнера к центральной области контейнера.

В одном варианте исполнения система дополнительно включает лопасть, причем лопасть размещена внутри контейнера для перенаправления воздушного потока в контейнере. В одном варианте исполнения лопасть проходит вдоль поперечного сечения контейнера.

Система испарения сточной воды для распылительного испарения воды включает питающий впуск для сточной воды; насос, причем выпуск впуска для сточной воды соединен в сообщении по текучей среде с впуском насоса, и причем выпуск насоса соединен в сообщении по текучей среде с впуском коллектора; капельное отверстие, причем выпуск коллектора соединен в сообщении по текучей среде с впуском капельного отверстия; контейнер, причем верхняя часть контейнера заключена в каплеуловительный элемент; насадочную систему и/или тарельчатую систему, размещенную внутри контейнера, причем выпуск капельного отверстия выпускает водяные капли на насадочную систему и/или тарельчатую систему; разгрузочный выпуск, причем дно контейнера находится в сообщении по текучей среде с разгрузочным выпуском; и воздушную систему, включающую воздуходувку и, необязательно, подогреватель воздуха, причем воздушная система размещена проходящей через стенку контейнера, и причем воздушная система выпускает воздушный поток в противотоке течению водяных капель из капельного отверстия.

В одном варианте исполнения система способна испарять от около 30 до около 1000 баррелей (3600-120000 л) сточной воды в день. В одном варианте исполнения система способна испарять от около 30 до около 60 баррелей (3600-72000 л) сточной воды в день.

В одном варианте исполнения насос создает поток воды в систему с расходом от около 15 GPM до около 100 GPM (57,9-378,5 л/мин).

В одном варианте исполнения каплеуловительный элемент имеет толщину от около 4 дюймов до около 12 дюймов (101,6-304,8 мм). В одном варианте исполнения каплеуловительный элемент имеет толщину около 10 дюймов (254 мм).

В одном варианте исполнения насадочная система и/или тарельчатая система включает неупорядоченную насадку, структурированную насадку, или их комбинации. В одном варианте исполнения насадочная система и/или тарельчатая система включает контейнерную насадку. В одном варианте исполнения насадочная система и/или тарельчатая система включает насадочные кольца Палля.

В одном варианте исполнения насадка выполнена из различных материалов (например, керамических материалов, пластиков, нержавеющей стали) для повышения производительности при высоких температурах.

В одном варианте исполнения насадочная система и/или тарельчатая система включает пористую тарелку.

В одном варианте исполнения насадочная система включает: пористую тарелку; и насадку, причем насадка размещена на пористой тарелке. В одном варианте исполнения насадку выбирают из неупорядоченной насадки, структурированной насадки, и их комбинаций. В одном варианте исполнения насадка представляет собой неупорядоченную насадку. В одном варианте исполнения насадка представляет собой структурированную насадку. В одном варианте исполнения насадка представляет собой контейнерную насадку. В одном варианте исполнения насадка представляет собой кольца Палля.

В одном варианте исполнения насадка образована из различных материалов (например, керамических материалов, пластиков, нержавеющей стали) для повышения производительности при высоких температурах.

В одном варианте исполнения тарельчатая система включает: первую пористую тарелку; и вторую пористую тарелку, причем первая пористая тарелка выпускает водяные капли на второй пористый тарелку.

В одном варианте исполнения подогреватель воздуха включает горелку для сжигания природного газа. В одном варианте исполнения подогреватель воздуха включает горелку для сжигания природного газа, причем горелка для сжигания природного газа приспособлена быть подвижной относительно капельного отверстия.

В одном варианте исполнения подогреватель воздуха включает горелку для сжигания природного газа и электрический генератор с питанием природным газом.

В одном варианте исполнения подогреватель воздуха включает горелку для сжигания природного газа и регулировочный клапан для природного газа, причем регулировочный клапан для природного газа способен создавать стационарный поток или модулированный поток.

В одном варианте исполнения воздушный поток из воздуходувки рассеивает сточную воду и/или водяные капли из капельного отверстия.

В одном варианте исполнения воздуходувка создает поток воздуха с расходом от около 2500 CFM до около 6500 CFM (70,8-184 м3/мин).

В одном варианте исполнения впуск для воздушного потока подогревателя воздуха соединен в сообщении по текучей среде с выпуском для воздушного потока воздуходувки.

В одном варианте исполнения подогреватель воздуха обеспечивает величину нагревания воздуха от около 0 миллиона BTU в час до около 2,1 миллиона BTU в час (0-615,3 кВт/час).

В одном варианте исполнения подогреватель воздуха создает температуру воздуха от около 50°F до около 400°F (10°С-204°С).

В одном варианте исполнения воздушная система размещена проведенной через стенку контейнера выше по потоку относительно каплеуловительного элемента.

В одном варианте исполнения воздушная система размещена проведенной через стенку контейнера ниже по потоку относительно каплеуловительного элемента.

В одном варианте исполнения система дополнительно включает дефлектор или диффузор, причем дефлектор или диффузор размещен внутри контейнера для перенаправления воздушного потока в контейнере.

В одном варианте исполнения система дополнительно включает лопасть, причем лопасть размещена внутри контейнера для перенаправления воздушного потока в контейнере. В одном варианте исполнения лопасть проходит вдоль поперечного сечения контейнера.

В одном варианте исполнения система дополнительно включает лопасть, причем лопасть размещена в воздуховоде между выпуском для воздуха воздушной системы и впуском для воздуха контейнера.

В одном варианте исполнения система дополнительно включает программируемый логический контроллер (PLC) или другое компьютерное устройство, причем PLC или другое компьютерное устройство регулирует величину расхода потока воздуха из воздуходувки.

В одном варианте исполнения система дополнительно включает систему кислотного кондиционирования, причем система кислотного кондиционирования добавляет раствор кислоты в сточную воду.

В одном варианте исполнения система дополнительно включает систему бактерицидного кондиционирования, причем система бактерицидного кондиционирования добавляет бактерицид в сточную воду.

В одном варианте исполнения система дополнительно включает систему кондиционирования ингибитором накипи, причем система кондиционирования ингибитором накипи добавляет ингибитор накипи в сточную воду.

В одном варианте исполнения система дополнительно включает систему пеногашения, причем система пеногашения добавляет пеногаситель в сточную воду.

В одном варианте исполнения система дополнительно включает платформу, причем система испарения воды смонтирована на платформе.

В одном варианте исполнения система дополнительно включает платформу, смонтированную на трейлере или грузовике, или съемно закрепленную на них, причем система испарения сточной воды смонтирована на платформе.

В одном варианте исполнения система дополнительно включает систему герметизации, причем система герметизации включает платформой, окруженную облицовкой, и причем система испарения сточной воды смонтирована на платформе. В одном варианте исполнения система дополнительно включает отводной трубопровод, причем впуск отводного трубопровода размещен в облицовке, и выпуск отводного трубопровода находится в сообщении по текучей среде с впуском контейнера. В одном варианте исполнения система дополнительно включает отводной трубопровод, причем впуск отводного трубопровода размещен в облицовке, и выпуск отводного трубопровода соединен в сообщении по текучей среде с впуском насоса.

В одном варианте исполнения система дополнительно включает изоляцию и/или сопроводительный подогрев, размещенный вокруг насоса. В одном варианте исполнения система дополнительно включает изоляцию и/или сопроводительный подогрев вокруг насоса, первого клапана, второго клапана, третьего клапана и четвертого клапана.

В одном варианте исполнения система дополнительно включает нагреваемый кожух, размещенный вокруг насоса.

В одном варианте исполнения система дополнительно включает систему продувки воздухом, аргоном или азотом, включающую источник воздуха, аргона или азота, причем выпуск системы продувки воздухом, аргоном или азотом соединен в сообщении по текучей среде с впуском насоса.

Способ распылительного испарения воды включает выбор предварительно определенных параметров для системы распылительного испарения воды; втягивание сточной воды в систему из внешнего источника воды с использованием насоса; отведение сточной воды к распылительному соплу; распыление сточной воды через распылительное сопло для создания водяных капель; распыление водяных капель в контейнере системы; сбор водного конденсата в отстойнике контейнера; рециркуляцию водного конденсата из отстойника контейнера, и отведение сконцентрированных отходов к выпуску для отходов.

В одном варианте исполнения способ дополнительно включает мониторинг удельной электрической проводимости водного конденсата с использованием измерителя удельной электропроводности.

В одном варианте исполнения предварительно определенные параметры включают величину расхода потока воздуха, величину нагревания воздуха, максимальную удельную электропроводность и величину расхода потока воды, и причем водный концентрат выгружают через выпуск для отходов, когда удельная электропроводность достигает максимального значения удельной электропроводности.

В одном варианте исполнения величина расхода потока воздуха составляет от около 60000 CFM до около 150000 CFM (1699-4247 м3/мин) (и в любом диапазоне или значении между ними).

В одном варианте исполнения насос создает поток воды с расходом от около 50 GPM до 800 GPM (189,3-3028,3 л/мин) (и в любом диапазоне или значении между ними).

В одном варианте исполнения размер водяных капель составляет от 50 мкм до около 1000 мкм (и в любом диапазоне или значении между ними).

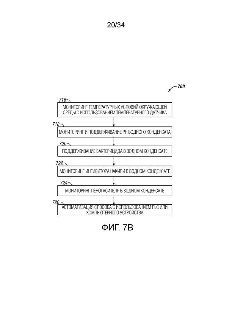
В одном варианте исполнения способ дополнительно включает мониторинг температуры окружающего воздуха с использованием температурного датчика, причем предварительно определенные параметры дополнительно включают минимальную температуру воздуха. В одном варианте исполнения систему выключают, когда температура окружающего воздуха достигает минимального значения температуры воздуха.

В одном варианте исполнения способ дополнительно включает мониторинг значения рН водного конденсата с использованием рН-метра, и добавление раствора кислоты к водному конденсату для поддерживания величины рН на уровне около 6,5 или ниже, если требуется, в зависимости от качества сточной воды.

В одном варианте исполнения способ дополнительно включает добавление бактерицида к водному конденсату.

В одном варианте исполнения способ дополнительно включает добавление ингибитора накипи к водному конденсату. В одном варианте исполнения способ дополнительно включает мониторинг значения рН водного конденсата с использованием рН-метра, и добавление раствора кислоты к водному конденсату для поддерживания величины рН на уровне около 6,5 или ниже, если требуется, в зависимости от качества сточной воды.

В одном варианте исполнения способ дополнительно включает добавление пеногасителя к водному конденсату.

В одном варианте исполнения способ дополнительно включает применение программируемого логического контроллера или другого компьютерного устройства для управлением системой.

Способ распылительного испарения воды, включающий: формирование системы испарения сточной воды, как обсуждалось выше; выбор предварительно определенных параметров для системы; втягивание сточной воды в систему из внешнего источника воды с использованием насоса; отведение сточной воды к капельному отверстию; протекание сточной воды через капельное отверстие для создания водяных капель; протекание водяных капель на насадочную систему и/или тарельчатую систему, размещенную внутри контейнера системы; вдувание воздуха в контейнер в противотоке течению водяных капель из капельного отверстия с использованием воздуходувки; сбор водного конденсата на дне контейнера; рециркуляцию водного конденсата со дна контейнера, и отведение концентрированных отходов на разгрузочный выпуск.

В одном варианте исполнения способ дополнительно включает мониторинг удельной электрической проводимости водного конденсата с использованием измерителя удельной электропроводности.

В одном варианте исполнения предварительно определенные параметры включают величину расхода потока воздуха, величину нагревания воздуха, максимальную удельную электропроводность и величину расхода потока воды, и причем водный концентрат выгружают через разгрузочный выпуск, когда удельная электропроводность достигает максимального значения удельной электропроводности.

В одном варианте исполнения способ дополнительно включает мониторинг температуры окружающего воздуха с использованием температурного датчика, причем предварительно определенные параметры дополнительно включают минимальную температуру воздуха. В одном варианте исполнения систему выключают, когда температура окружающего воздуха достигает минимального значения температуры воздуха.

В одном варианте исполнения способ дополнительно включает мониторинг значения рН водного конденсата с использованием рН-метра, и добавление раствора кислоты к водному конденсату для поддерживания величины рН на уровне около 6,5 или ниже.

В одном варианте исполнения способ дополнительно включает добавление бактерицида к водному конденсату.

В одном варианте исполнения способ дополнительно включает добавление ингибитора накипи к водному конденсату. В одном варианте исполнения способ дополнительно включает мониторинг значения рН водного конденсата с использованием рН-метра, и добавление раствора кислоты к водному конденсату для поддерживания величины рН на уровне около 6,5 или ниже.

В одном варианте исполнения способ дополнительно включает добавление пеногасителя к водному конденсату.

В одном варианте исполнения способ дополнительно включает применение программируемого логического контроллера или другого компьютерного устройства для управлением системой.

В одном варианте исполнения способ дополнительно включает предварительное нагревание сточной воды для сокращения или удаления летучих органических соединений выше по потоку относительно впуска для сточной воды в системе.

В одном варианте исполнения способ дополнительно включает выведение испаренной воды через выпуск для испаренной воды. В одном варианте исполнения способ дополнительно включает сбор испаренной воды из выпуска для испаренной воды и конденсацию испаренной воды в трубопроводе низкого давления.

В одном варианте исполнения способ дополнительно включает выведение испаренной воды через выпуск для испаренной воды. В одном варианте исполнения способ дополнительно включает нагревание испаренной воды выше по потоку относительно выпуска для испаренной воды.

В одном варианте исполнения способ дополнительно включает выведение испаренной воды через выпуск для испаренной воды. В одном варианте исполнения способ дополнительно включает нагревание испаренной воды ниже по потоку относительно выпуска для испаренной воды.

Эти и другие цели, признаки и преимущества станут очевидными, когда сделана ссылка на нижеследующие подробное описание, предпочтительные варианты осуществления и примеры, приведенные для цели раскрытия изобретения, и указаны в сочетании с сопроводительными чертежами и пунктами прилагаемой формулы изобретения.

КРАТКОЕ ОПИСАНИЕ ЧЕРТЕЖЕЙ

Для лучшего понимания сути и целей настоящего изобретения следует привести ссылку на нижеследующее подробное описание, приведенное в связи с сопроводительными чертежами, в которых сходные части снабжены сходными кодовыми номерами позиций, и в которых:

ФИГ. 1А схематически иллюстрирует примерную систему распылительного испарения воды согласно одному варианту осуществления настоящего изобретения;

ФИГ. 1В схематически иллюстрирует вид спереди примерной системы из ФИГ. 1А;

ФИГ. 1С схематически иллюстрирует вид сзади примерной системы из ФИГ. 1А;

ФИГ. 2А иллюстрирует изображение вида спереди примерной системы распылительного испарения воды согласно одному варианту осуществления настоящего изобретения;

ФИГ. 2В иллюстрирует изображение перспективного вида спереди слева примерной системы из ФИГ. 2А;

ФИГ. 2С иллюстрирует изображение перспективного вида справа примерной системы из ФИГ. 2А;

ФИГ. 2D иллюстрирует изображение перспективного вида спереди слева примерной системы распылительного испарения воды согласно одному варианту осуществления настоящего изобретения;

ФИГ. 2Е иллюстрирует изображение вида левой стороны примерной системы распылительного испарения воды согласно одному варианту осуществления настоящего изобретения;

ФИГ. 2F иллюстрирует изображение вида сзади примерной системы распылительного испарения воды согласно одному варианту осуществления настоящего изобретения;

ФИГ. 3 иллюстрирует изображение перспективного вида спереди слева примерной системы распылительного испарения воды согласно одному варианту осуществления настоящего изобретения, показывающее внутреннюю распылительную систему;

ФИГ. 4А схематически иллюстрирует примерную систему распылительного испарения воды согласно одному варианту осуществления настоящего изобретения;

ФИГ. 4В схематически иллюстрирует переднюю часть примерной системы из ФИГ 4А;

ФИГ. 4С схематически иллюстрирует заднюю часть примерной системы из ФИГ 4А;

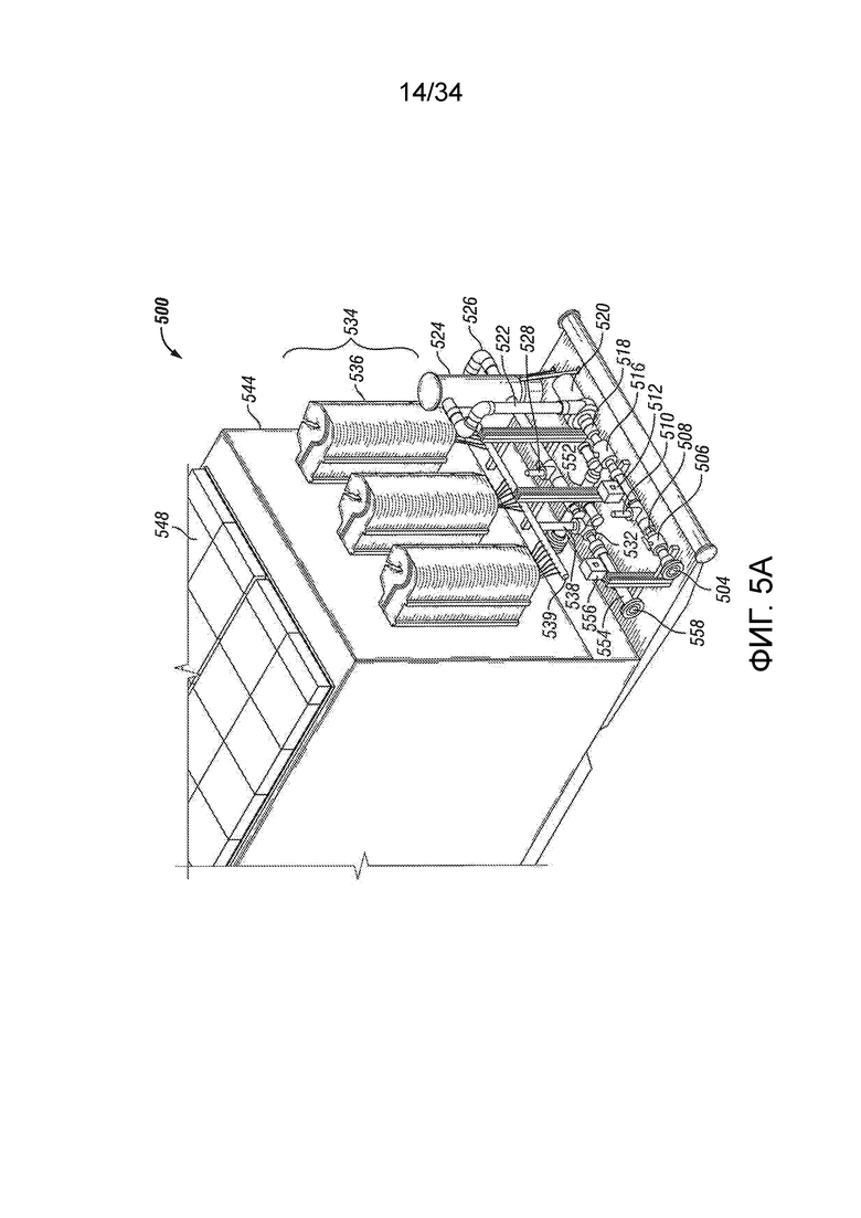
ФИГ. 5А иллюстрирует изображение перспективного вида спереди слева примерной системы распылительного испарения воды согласно одному варианту осуществления настоящего изобретения, показывающее впуск, рециркуляционный и разгрузочный трубопроводы;

ФИГ. 5В иллюстрирует изображение перспективного вида спереди слева примерной системы распылительного испарения воды согласно одному варианту осуществления настоящего изобретения, показывающее гидравлические воздуходувки с гидравлической системой привода и резервуар;

ФИГ. 5С иллюстрирует изображение перспективного вида спереди слева примерной системы распылительного испарения воды согласно одному варианту осуществления настоящего изобретения, показывающее систему воздушного приточного канала для подачи на воздушный впуск воздуходувки через нагреватели;

ФИГ. 5D иллюстрирует изображение перспективного вида сверху слева примерной системы распылительного испарения воды согласно одному варианту осуществления настоящего изобретения, показывающее необязательные мостики для прохода по крыше автомобиля и лестницы для доступа к каплеуловительной системе;

ФИГ. 6 иллюстрирует технологическую блок-схему для программируемого логического контроллера (PLC) или компьютерного устройства в примерной системе распылительного испарения воды согласно одному варианту осуществления настоящего изобретения;

ФИГ. 7А иллюстрирует способ применения примерной системы распылительного испарения воды согласно одному варианту осуществления настоящего изобретения;

ФИГ. 7В иллюстрирует дополнительные, необязательные стадии способа из ФИГ. 7А;

ФИГ. 8А иллюстрирует способ применения примерной системы распылительного испарения воды согласно одному варианту осуществления настоящего изобретения;

ФИГ. 8В иллюстрирует дополнительные, необязательные стадии способа из ФИГ. 8А;

ФИГ. 9 иллюстрирует технологическую блок-схему для PLC или компьютерного устройства в примерной системе распылительного испарения воды согласно одному варианту осуществления настоящего изобретения;

ФИГ. 10А схематически иллюстрирует примерную систему распылительного испарения воды согласно одному варианту осуществления настоящего изобретения;

ФИГ. 10В схематически иллюстрирует вид спереди примерной системы из ФИГ. 10А;

ФИГ. 10С схематически иллюстрирует вид сзади и ниже по потоку примерной системы из ФИГ. 10А-10В;

ФИГ. 11А иллюстрирует изображение вида сверху примерной системы распылительного испарения воды согласно одному варианту осуществления настоящего изобретения;

ФИГ. 11В иллюстрирует изображение вида левой стороны примерной системы из ФИГ. 11А;

ФИГ. 11С иллюстрирует изображение вида спереди примерной системы из ФИГ. 11А-11В;

ФИГ. 11D иллюстрирует изображение вида сзади примерной системы из ФИГ. 11А-11С;

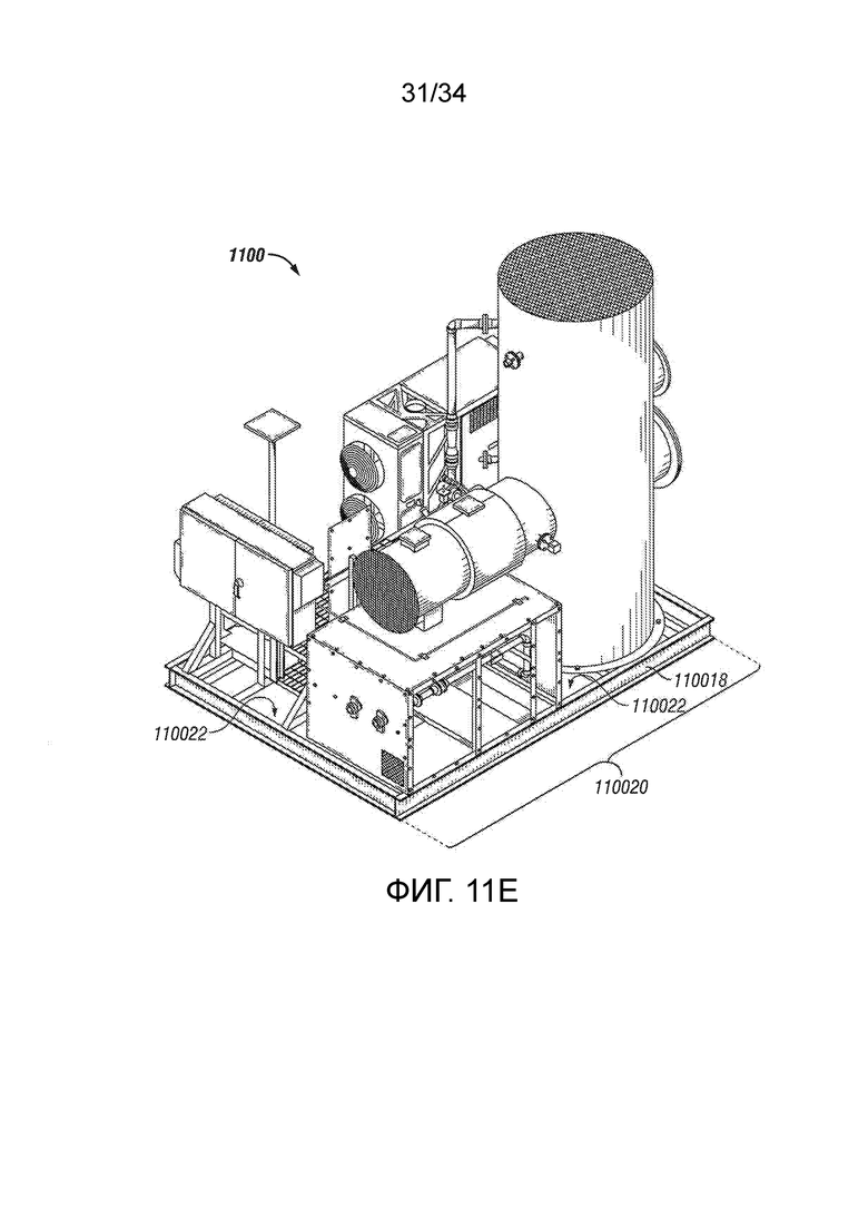
ФИГ. 11Е иллюстрирует изображение перспективного вида сзади, сверху справа, примерной системы из ФИГ. 11А-11D;

ФИГ. 11F иллюстрирует изображение перспективного вида сзади, сверху слева, примерной системы из ФИГ. 11А-11Е;

ФИГ. 12А иллюстрирует способ применения примерной системы распылительного испарения воды согласно одному варианту осуществления настоящего изобретения; и

ФИГ. 12В иллюстрирует дополнительные, необязательные стадии способа из ФИГ. 12А.

ПОДРОБНОЕ ОПИСАНИЕ ВАРИАНТОВ ОСУЩЕСТВЛЕНИЯ ИЗОБРЕТЕНИЯ

Нижеследующее подробное описание различных вариантов осуществления настоящего изобретения ссылается на сопроводительные чертежи, которые иллюстрируют конкретные варианты осуществления, в которых изобретение может быть практически осуществлено. В то время как иллюстративные варианты осуществления изобретения были описаны в подробностях, будет понятно, что различные другие модификации будут очевидными квалифицированным специалистам в этой области технологии, и могут быть легко исполнены ими без выхода за пределы смысла и области изобретения. Соответственно этому, не предполагается, что область пунктов прилагамой формулы изобретения будет ограничена примерами и описаниями, изложенными здесь, но, скорее, что пункты формулы изобретения будут толковаться как охватывающие все признаки патентоспособной новизны, которые приведены в настоящем изобретении, в том числе все признаки, которые считались бы как эквивалентные им квалифицированными специалистами в этой области технологии, к каковой относится изобретение. Поэтому область настоящего изобретения определена только пунктами прилагаемой формулы изобретения, наряду со всей областью эквивалентов, для которых такие пункты формулы изобретения правомочны.

Система распылительного испарения воды

В ФИГ. 1А-3 схематически показана примерная альтернативная система 100, 200, 300 распылительного испарения воды согласно одному варианту осуществления настоящего изобретения. Система 100, 200, 300 включает впуск 104, 204 для сточной воды, первый (питающий) насос 118, 218, первый коллектор 128, 228, распылительную систему 136, 236, 336, контейнер 139, 239, 339, каплеуловительный элемент 145, 245, 345, воздуходувку 142, 242, и разгрузочный выпуск 176, 276.

В одном варианте исполнения система 100, 200, 300 способна испарять сточную воду в количестве между около 2000 до около 10000 галлонов в день (7600-38000 литров) (смотри ФИГ. 1А-3). Если желательна более высокая производительность, могут быть использованы многочисленные системы 100, 200, 300 в параллельном режиме для обработки сточной воды.

Впускная система

В одном варианте исполнения система 100, 200 может дополнительно включать первый (питающий) отсечной клапан 106, 206 и/или первый (питающий) клапан 112, 212. Впуск 104 для сточной воды может быть соединен с впуском первого отсечного клапана 106 трубопроводом 108. Выпуск первого отсечного клапана 106 может быть соединен с впуском насоса 118 трубопроводом 116.

Впуск 104 для сточной воды может представлять собой любой подходящий впуск для сточной воды, который может действовать до давления около 40 psi (0,28 МПа). Пригодные впускные каналы для сточной воды включают, но без ограничения этим, фланцевые соединения, эксцентриковые запоры и быстроразъемные соединения с накидной гайкой. В одном варианте исполнения впуск 104 для сточной воды представляет собой фланцевое соединение (смотри ФИГ. 1А-3). Впуск 104 для сточной воды обеспечивает соединение с внешним источником сточной воды через всасывающий коллектор 102. Впуск 104 для воды может быть соединен с внешним источником сточной воды шлангом, трубой или другим средством, обычно применяемым в технологии.

В одном варианте исполнения система 100, 200 может дополнительно включать первый (питающий) клапан 112, 212. Первый (питающий) клапан 112 может представлять собой любой подходящий переключаемый клапан. Пригодные первые (питающие) клапаны 112 включают, но без ограничения этим, шаровые клапаны. Например, подходящий первый (питающий) клапан 112 имеется в продаже на рынке от фирмы GF Piping Systems. В одном варианте исполнения первый (питающий) клапан 112 может представлять собой шаровой клапан GF Piping System типа 546 с электрическим приводом фирмы GF Piping Systems. В одном варианте исполнения первый (питающий) клапан 112 может быть автоматическим или приводимым в действие вручную. В одном варианте исполнения первый (питающий) клапан 112 может быть с электрическим или пневматическим приводом. В одном варианте исполнения нормальным положением первого (питающего) клапана 112 может быть положение «ЗАКРЫТО».

В одном варианте исполнения система 100 может дополнительно включать первый концевой выключатель 113 и второй концевой выключатель 114. В одном варианте исполнения первый концевой выключатель 113 подтверждает, что первый (питающий) клапан 112 находится в положении «ОТКРЫТО»; и второй концевой выключатель 114 подтверждает, что первый (питающий) клапан 112 находится в положении «ЗАКРЫТО».

В одном варианте исполнения первый (питающий) клапан 112 может иметь 2-дюймовые соединения.

В одном варианте исполнения система 100, 200, 300 может дополнительно включать первый (питающий) отсечной клапан 106, 206, 306. Первый (питающий) отсечной клапан 106 может представлять собой любой подходящий отсечной клапан. Пригодные первые (питающие) отсечные клапаны 106 включают, но без ограничения этим, шаровые клапаны и дроссельные поворотные заслонки. Например, пригодный первый (питающий) отсечной клапан 106 имеется в продаже на рынке от фирмы GF Piping Systems. В одном варианте исполнения первый (питающий) отсечной клапан 106 может представлять собой шаровой клапан GF Piping System типа 546 от фирмы GF Piping Systems. В одном варианте исполнения первый (питающий) отсечной клапан 106 может быть автоматическим или приводимым в действие вручную. В одном варианте исполнения нормальным положением первого (питающего) отсечного клапана 106 может быть положение «ЗАКРЫТО».

В одном варианте исполнения первый (питающий) отсечной клапан 106 может иметь 2-дюймовые соединения.

Первый (питающий) отсечной клапан 106 может быть выполнен из любого подходящего коррозионно-стойкого материала. Первый (питающий) отсечной клапан 106 может быть выполнен из любых подходящих коррозионно-стойких металлов или пластиков. Пригодные металлы включают, но без ограничения этим, углеродистую сталь с полимерным покрытием, нержавеющую сталь, сплав Hastelloy®, сплав Monel®, и их комбинации; и пригодные пластики включают, но без ограничения этим, поливинилхлоридные (PVC) полимеры, хлорированные поливинилхлоридные (CPVC) полимеры, армированный стекловолокном пластик (FRP), поливинилиденфторидные (PVDF) полимеры Kynar®, полиэтиленовые полимеры, полипропиленовые полимеры, перфторалкоксиполимеры (PFA) Teflon®, политетрафторэтиленовые (PTFE) полимеры Teflon®, и их комбинации. В одном варианте исполнения первый (питающий) отсечной клапан 106 (смачиваемые компоненты) может быть выполнен из поливинилхлорида (PVC) и каучука на основе этилен-пропилен-диенового мономера (EPDM).

Выпуск первого (питающего) отсечного клапана 106 может быть соединен с впуском первого (питающего) клапана 112 трубопроводом 108. Выпуск первого (питающего) клапана 112 может быть соединен с впуском первого (питающего) насоса 118 трубопроводом 116.

Трубопровод 108, 116 может быть изготовлен из любой подходящей коррозионно-стойкой трубы. Трубопровод 108, 116 может быть из любых подходящих коррозионно-стойких металлов или пластиков. Пригодные металлы включают, но без ограничения этим, углеродистую сталь с полимерным покрытием, нержавеющую сталь, супердуплексную нержавеющую сталь, сплав AL-6XN, сплав Ni-Al-Brz, сплав Hastelloy®, сплав Monel®, и их комбинации; и пригодные пластики включают, но без ограничения этим, хлорированные поливинилхлоридные (CPVC) полимеры, армированный стекловолокном пластик (FRP), поливинилиденфторидные (PVDF) полимеры Kynar®, полиэтиленовые полимеры, полипропиленовые полимеры, поливинилхлоридные (PVC) полимеры, перфторалкоксиполимеры (PFA) Teflon®, политетрафторэтиленовые (PTFE) полимеры Teflon®, и их комбинации. В одном варианте исполнения трубопровод 108, 116 может быть выполнен из углеродистой стали с полимерным покрытием. В одном варианте исполнения трубопровод 108, 116 может быть выполнен из углеродистой стали с покрытием из смолы Plasite 7159 HAR. В одном варианте исполнения трубопровод 108, 116 может быть выполнен из нержавеющей стали 316.

В одном варианте исполнения трубопровод 108, 116 может представлять собой 2-дюймовую трубу.

Первый (питающий) насос 118 может представлять собой любой подходящий насос. Пригодные первые (питающие) насосы 118 включают, но без ограничения этим, центробежные насосы. Например, подходящий первый (питающий) насос 118 имеется в продаже на рынке от фирмы MP Pumps Inc. В одном варианте исполнения первый (питающий) насос 118 может представлять собой самовсасывающий центробежный насос FLOMAX® 8 Self-Priming фирмы MP Pumps Inc. В одном варианте исполнения первый (питающий) насос 118 может представлять собой центробежный насос с мощностью от около 3 до около 5 лошадиных сил (HP) (4,1-6,8 кВт).

В одном варианте исполнения первый (питающий) насос 118 может иметь 2-дюймовые соединения.

Первый (питающий) насос 118 может быть изготовлен из любого коррозионно-стойкого материала. Первый (питающий) насос 118 может быть выполнен из любых подходящих коррозионно-стойких металлов или пластиков. Пригодные металлы включают, но без ограничения этим, чугун, нержавеющую сталь, супердуплексную нержавеющую сталь, сплав AL-6XN, сплав Ni-Al-Brz, сплав Hastelloy®, сплав Monel®, и их комбинации; и пригодные пластики включают, но без ограничения этим, хлорированные поливинилхлоридные (CPVC) полимеры, армированный стекловолокном пластик (FRP), поливинилиденфторидные (PVDF) полимеры Kynar®, полиэтиленовые полимеры, полипропиленовые полимеры, поливинилхлоридные (PVC) полимеры, перфторалкоксиполимеры (PFA) Teflon®, политетрафторэтиленовые (PTFE) полимеры Teflon®, и их комбинации. Например, первый (питающий) насос 118 (смачиваемые компоненты) может быть изготовлен из нержавеющей стали, супердуплексной нержавеющей стали, сплава AL-6XN, сплава Ni-Al-Brz, сплава Hastelloy®, сплава Monel®, или FRD (фторкаучука). В одном варианте исполнения первый (питающий) насос 118, включающий внутренние смачиваемые компоненты, был изготовлен из нержавеющей стали 316. В одном варианте исполнения первый (питающий) насос 118 может быть выполнен из чугуна, если приемлем более короткий срок службы.

В одном варианте исполнения система 100, 200, 300 может дополнительно включать грубый фильтр 124, 224 на конце всасывающего шланга и необязательный датчик давления (не показан). Впуск грубого фильтра 124 может быть соединен в сообщении по текучей среде с выпуском трубопровода 120, и выпуск грубого фильтра 124 может быть соединен в сообщении по текучей среде с впуском трубопровода 126. Грубый фильтр 124 на конце всасывающего шланга задерживает обломки в подаваемой воде, чтобы предотвращать засорение распылительных сопел 138, 338. Забивание грубого фильтра 124 может быть выявлено по снижению скорости подачи на первом расходомере 122.

Грубый фильтр 124 на конце всасывающего шланга может представлять собой любой грубый фильтр, и может содержать повторно используемую или одноразовую сетку или слой синтетических волокон. Подходящий грубый фильтр 124 включает, но без ограничения этим, перфорированное сито с отверстиями 1/8 дюйма (3,175 мм), содержащееся внутри простого или двойного корпуса. Например, пригодный грубый фильтр 124 имеется в продаже на рынке от фирмы Hayward или Rosedale. В одном варианте исполнения грубый фильтр 124 может представлять собой перфорированное сито с отверстиями 1/8 дюйма (3,175 мм) от фирмы Hayward или Rosedale.

Грубый фильтр 124 на конце всасывающего шланга может быть выполнен из любого подходящего коррозионно-стойкого материала. Грубый фильтр 124 может быть сформирован из любых подходящих коррозионно-стойких металлов или пластиков. Грубый фильтр 124 может представлять собой грубый фильтр из любого подходящего коррозионно-стойкого металла или пластика. Пригодные металлы включают, но без ограничения этим, нержавеющую сталь, сплав Hastelloy®, сплав Monel®, и их комбинации; и пригодные пластики включают, но без ограничения этим, хлорированные поливинилхлоридные (CPVC) полимеры, поливинилиденфторидные (PVDF) полимеры Kynar®, поливинилхлоридные (PVC) полимеры, перфторалкоксиполимеры (PFA) Teflon®, политетрафторэтиленовые (PTFE) полимеры Teflon®, и их комбинации. В одном варианте исполнения грубый фильтр 124 (сито) выполнен из нержавеющей стали 316.

В одном варианте исполнения необязательный датчик давления (не показан) может быть соединен в сообщении по текучей среде либо с трубопроводом 120, либо с впуском грубого фильтра 124. Засорение грубого фильтра 124 также может быть выявлено по повышению давления на необязательном датчике давления (не показан).

Необязательный датчик давления (не показан) может представлять собой любой подходящий датчик давления. Например, пригодный датчик давления имеется в продаже на рынке от фирмы Rosemount, Inc. В одном варианте исполнения датчик давления может представлять собой бесшкальный манометр Rosemount 2088 абсолютного и манометрического давления от фирмы Rosemount, Inc.

Выпуск первого (питающего) насоса 118 может быть соединен с впуском грубого фильтра 124 трубопроводом 120. Выпуск грубого фильтра 124 может быть соединен с первым впуском первого коллектора 128 трубопроводом 126.

Трубопровод 120, 126, 128 может быть выполнен из любой подходящей коррозионно-стойкой трубы. Трубопровод 120, 126, 128 может представлять собой трубопровод из любого подходящего металла или пластика. Пригодные металлы включают, но без ограничения этим, углеродистую сталь с полимерным покрытием, нержавеющую сталь, супердуплексную нержавеющую сталь, сплав AL-6XN, сплав Ni-Al-Brz, сплав Hastelloy®, сплав Monel®, и их комбинации; и пригодные пластики включают, но без ограничения этим, хлорированные поливинилхлоридные (CPVC) полимеры, армированный стекловолокном пластик (FRP), поливинилиденфторидные (PVDF) полимеры Kynar®, полиэтиленовые полимеры, полипропиленовые полимеры, поливинилхлоридные (PVC) полимеры, перфторалкоксиполимеры (PFA) Teflon®, политетрафторэтиленовые (PTFE) полимеры Teflon®, и их комбинации. В одном варианте исполнения трубопровод 120, 126, 128 может быть выполнен из углеродистой стали с полимерным покрытием. В одном варианте исполнения трубопровод 120, 126, 128 может быть выполнен из углеродистой стали с полимерным покрытием из смолы Plasite 7159 HAR. В одном варианте исполнения трубопровод 120, 126, 128 может быть выполнен из нержавеющей стали 316.

В одном варианте исполнения трубопровод 120, 126, 128 может представлять собой 2-дюймовую трубу.

Выпуск первого коллектора 128 может быть соединен с впуском распылительной системы 134, 334. В одном варианте исполнения распылительная система 134, 334 включает распылительный коллектор 136, 336 и распылительное сопло 138, 338, причем распылительное сопло 138, 338 может быть соединено с выпуском распылительного коллектора 136, 336. В одном варианте исполнения распылительная система 134, 334 размещена внутри контейнера 139, 339.

Выпуск распылительного сопла 138, 338 выводит водяные капли внутрь контейнера 139, 339. Верхняя часть, или верхняя сторона, контейнера 139, 339 заключена в каплеуловительный элемент 145, 345, чтобы удерживать водяные капли внутри контейнера 139, 339. В одном варианте исполнения боковая часть контейнера 139, 339 также охвачена каплеуловительным элементом 145, 345, чтобы удерживать водяные капли внутри контейнера 139, 339. Каплеуловительный элемент 145, 345 закреплен на контейнере 139, 339 и опирается на него обычным в технологии образом.

По меньшей мере некоторые из водяных капель испаряются с образованием водяного пара. Водяной пар проходит через каплеуловительный элемент 145, 345 и наружу через выпуск 146, 346 для испаренной воды. Каплеуловительный элемент 145, 345 задерживает любую неиспаренную воду, которая падает в отстойник (дно) контейнера 139, 339.

В одном варианте исполнения распылительная система 134, 334 включает распылительный коллектор 136, 336 и многочисленные распылительные сопла 138', 138'', причем каждое из многочисленных распылительных сопел 138', 138'' может быть соединено с выпуском распылительного коллектора 136, 336. Выпуски многочисленных распылительных сопел 138', 138'' выводят водяные капли внутрь контейнера 139, 339. Верхняя часть, или верхняя сторона, контейнера 139, 339 охвачена многочисленными каплеуловительными элементами 145', 145'', чтобы удерживать водяные капли внутри контейнера 139, 339. В одном варианте исполнения боковая часть контейнера 139, 339 также охвачена каплеуловительным элементом 145, 345, чтобы удерживать водяные капли внутри контейнера 139, 339. Многочисленные каплеуловительные элементы 145', 145'' закреплены на контейнере 139, 339 и опираются на него обычным в технологии образом.

По меньшей мере некоторые из водяных капель испаряются с образованием водяного пара. Водяной пар проходит через поры (извилистые поры) в многочисленных каплеуловительных элементах 145', 145'' и наружу через выпуск 146, 346 для испаренной воды. Многочисленные каплеуловительные элементы 145', 145'' задерживают любую неиспаренную воду, которая падает в отстойник (дно) контейнера 139, 339.

Выпуск 146, 346 для испаренной воды включает многочисленные выпускные поры (не показаны) в многочисленных каплеуловительных элементах 145', 145''.

Распылительное сопло 138, 338 может представлять собой любое подходящее распылительное сопло. Пригодные распылительные сопла 138, 338 включают, но без ограничения этим, форсунки с простым отверстием, форсунки с фасонным отверстием, сопла с распылением при столкновении с поверхностью, вихревые распылительные сопла, и напорные вихревые форсунки. Например, пригодное распылительное сопло 138, 338 имеется в продаже на рынке от фирмы BETE Fog Nozzle, Inc. В одном варианте исполнения распылительное сопло 138, 338 может представлять собой вихревое распылительное сопло типа TF от фирмы BETE Fog Nozzle, Inc. В одном варианте исполнения вихревое распылительное сопло 138, 338 может распылять на 30, 60, 90, 120, 150 и 170 градусов. В одном варианте исполнения вихревое распылительное сопло может быть способно распылять от около 50 галлонов в минуту (GPM) до около 70 GPM, в расчете на распылительную головку (189,3-265 л)) (и в любом диапазоне или значении между ними). В одном варианте исполнения вращающийся распылитель создает водяные капли с размером от около 50 мкм до около 1000 мкм. В одном варианте исполнения распылительные сопла 138, 338 размещены внутри контейнера.

Распылительное сопло 138, 338 может быть выполнено из любого подходящего коррозионно-стойкого материала. Распылительное сопло 138, 338 может быть сформировано из любых подходящих коррозионно-стойких металлов или пластиков. Пригодные металлы включают, но без ограничения этим, латунь, кобальтовый сплав 6, керамический материал (RBSC) из реакционно-связанного карбида кремния, нержавеющую сталь, сплав Hastelloy®, сплав Monel®, и их комбинации; и пригодные пластики включают, но без ограничения этим, полипропилен, политетрафторэтилен (PTFE), поливинилхлорид (PVC), и их комбинации. В одном варианте исполнения распылительное сопло 138, 338 (распылительная головка) может быть изготовлено из PVC. В одном варианте исполнения распылительное сопло 138, 338 (смачиваемый компонент) может быть изготовлено из PVC. В одном варианте исполнения распылительное сопло 138, 338 (смачиваемый компонент) может быть изготовлено из кобальтового сплава 6 и/или RBSC-керамики.

Контейнер 139, 339 может представлять собой любой подходящий контейнер. Контейнер 139, 339 может быть передвижным, или он может быть стационарным. Подходящие контейнеры 139, 339 включают, но без ограничения этим, контейнер для комбинированной перевозки и секционные контейнеры (смотри ФИГ. 2А-2F). Например, подходящий секционный танк-контейнер 139, 339 имеется в продаже на рынке от фирмы West Gulf PCI Manufacturing, LLC. В одном варианте исполнения секционный контейнер 139, 339 может представлять собой танк-контейнер 500BBL с V-образным дном от фирмы PCI Manufacturing, LLC. Например, подходящий контейнер 139, 339 для комбинированной перевозки имеется в продаже на рынке от фирмы West Gulf Container Company. В одном варианте исполнения контейнер 139, 339 может быть 40-футовым (12,2 м) многоярусным контейнером фирмы West Gulf Container Company.

В альтернативном варианте, контейнер 139, 339 может быть изготовлен из любого подходящего коррозионно-стойкого материала. Контейнер 139, 339 может быть изготовлен из покрытого металла, коррозионно-стойких металлов или пластиков. Пригодные покрытые металлы включают, но без ограничения этим, углеродистые стали с покрытием из эпоксидной смолы, углеродистые стали с покрытием из пластика, и их комбинации; пригодные коррозионно-стойкие металлы включают, но без ограничения этим, нержавеющую сталь, сплав Hastelloy®, сплав Monel®, и их комбинации; и подходящие пластики включают, но без ограничения этим, полиэтилен, полипропилен, поливинилхлорид (PVC), и их комбинации. В одном варианте исполнения контейнер 139, 339 может быть выполнен из углеродистой стали с покрытием из эпоксидной смолы и/или углеродистой стали с покрытием из пластика. В одном варианте исполнения контейнер 139, 339 может быть выполнен из углеродистой стали с покрытием из смолы Plasite 7159 HAR.

Контейнер 139, 339 может иметь любую подходящую форму. Пригодные формы включают, но без ограничения этим, цилиндрическую, кубическую, форму параллелепипеда, призматическую, пирамидальную, сферическую формы, и их комбинации. В одном варианте исполнения контейнер 139, 339 может иметь приблизительно форму параллелепипеда.

Каплеуловительный элемент 145, 345 может представлять собой любой подходящий каплеуловительный элемент. Пригодные каплеуловительные элементы 145, 345 включают, но без ограничения этим, сотовые каплеуловители с поперечным обтеканием (смотри ФИГ. 2А-2F). Например, подходящий каплеуловительный элемент 145, 345 имеется в продаже на рынке от фирмы Brentwood Industries, Inc. В одном варианте исполнения каплеуловительный элемент 145, 345 может представлять собой сотовый каплеуловитель с поперечным обтеканием Accu-Pac® фирмы Brentwood Industries, Inc.

В альтернативном варианте, каплеуловительный элемент 145, 345 может быть выполнен из любого подходящего коррозионно-стойкого материала. Каплеуловительный элемент 145, 345 может быть изготовлен из любых подходящих коррозионно-стойких металлов или пластиков. Каплеуловительный элемент 145, 345 может быть сформирован из металлической или полимерной сетки или из направляющих пластин шевронного типа с извилистой траекторией течения. Пригодная металлическая сетка включает, но без ограничения этим, нержавеющую сталь, сплав Hastelloy®, сплав Monel®, и их комбинации; подходящая полимерная сетка включает, но без ограничения этим, хлорированные поливинилхлоридные (CPVC) полимеры, армированный стекловолокном пластик (FRP), поливинилиденфторидные (PVDF) полимеры Kynar®, полиэтиленовые полимеры, полипропиленовые полимеры, поливинилхлоридные (PVC) полимеры, перфторалкоксиполимеры (PFA) Teflon®, политетрафторэтиленовые (PTFE) полимеры Teflon®, и их комбинации; и пригодные пластины шевронного типа включают, но без ограничения этим, полиэтилен, полипропилен, поливинилхлорид (PVC), нержавеющую сталь, перфторалкоксиполимеры (PFA) Teflon®, политетрафторэтиленовые (PTFE) полимеры Teflon®. В одном варианте исполнения каплеуловительный элемент 145, 345 может быть выполнен из нержавеющей стали 316. В одном варианте исполнения каплеуловительный элемент 145, 345 может быть сформирован из PVC.

Каплеуловительный элемент 145, 345 может иметь любую подходящую форму для размещения в нем верхней части и/или боковой части контейнера 139, 339. Пригодные формы включают, но без ограничения этим, цилиндрическую, кубическую, форму параллелепипеда, призматическую, пирамидальную, сферическую формы, и их части и комбинации. В одном варианте исполнения каплеуловительный элемент 145, 345 (например, верхней части и/или боковой части) может иметь форму параллелепипеда с шириной около 4 футов и длиной около 8 футов (1,2-2,4 м) с толщиной от около 4 дюймов до около 6 дюймов (101,6-152,4 мм).

Как показано в ФИГ. 1, каплеуловительный элемент 145, 345 образует верхнюю часть и боковую часть контейнера 139, 339 в форме параллелепипеда. В одном варианте исполнения каплеуловительный элемент 145, 345 (например, верхняя часть) может иметь форму параллелепипеда с шириной около 8 футов и длиной около 16 футов (2,4-4,9 м), и с толщиной от около 6 дюймов до около 12 дюймов (152,4-304,8 мм) (и в любом диапазоне или значении между ними). В одном варианте исполнения каплеуловительный элемент 145, 345 (например, боковая часть) может иметь форму параллелепипеда с шириной около 6 футов и длиной около 8 футов (1,8-2,4 м), и с толщиной от около 6 дюймов до около 12 дюймов (152,4-304,8 мм) (и в любом диапазоне или значении между ними).

В одном варианте исполнения каплеуловительный элемент 145, 345 (например, верхняя часть) может иметь форму параллелепипеда с шириной около 8 футов и длиной около 16 футов (2,4-4,9 м), и с толщиной около 6 дюймов (152,4 мм). В одном варианте исполнения каплеуловительный элемент 145, 345 (например, боковая часть) может иметь форму параллелепипеда с шириной около 6 футов и длиной около 8 футов (1,8-2,4 м), и с толщиной около 6 дюймов (152,4 мм).

Выпуск 146, 346 для испаренной воды включает многочисленные выпускные поры (не показаны) в каплеуловительном элементе 145, 345.

В одном варианте исполнения система 100 может дополнительно включать первый расходуемый анод 197 и второй расходуемый анод 198 для гальванической катодной защиты (от коррозии) контейнера 139, 339. Первый расходуемый анод 197 и второй расходуемый анод 198 могут быть размещены в отстойнике (на дне) контейнера 139, 339.

Первый расходуемый анод 197 и второй расходуемый анод 198 могут быть сформированы из любого подходящего для гальванического анода материала. Например, пригодные для гальванического анода материалы включают, но без ограничения этим, алюминий, магний и цинк. В одном варианте исполнения первый расходуемый анод 197 и второй расходуемый анод 198 могут быть сформированы из алюминия и/или цинка.

Воздуходувная и нагревательная система

В одном варианте исполнения система 100, 200, 300 может дополнительно включать воздуходувку 142, 242. В одном варианте исполнения воздушный поток из воздуходувки 142 рассеивает водяные капли из распылительного сопла 138, 338. В одном варианте исполнения воздуходувка 142 размещена проходящей через стенку контейнера 139, 339 так, что воздушный поток из воздуходувки 142 протекает в противотоке течению водяных капель из распылительного сопла 138, 338.

В одном варианте исполнения воздуходувка 142 размещена проходящей через стенку контейнера 139, 339 так, что воздушный поток из воздуходувки 142 пересекает течение водяных капель из распылительного сопла 138, 338. В одном варианте исполнения отношение сточной воды к воздуху может быть в диапазоне от около 550 галлонов (2082 л) в минуту (GPM)/около 150000 кубических футов (4247 м3) в минуту (CFM) до около 800 GPM (3028 л)/60000 CFM (1699 м3) (и в любом диапазоне или значении между ними).

Воздуходувка 142 может представлять собой любой подходящий осевой компрессор. Например, пригодная воздуходувка 142 имеется в продаже на рынке от фирмы L.C. Eldridge Sales Co. В одном варианте исполнения воздуходувка 142 может представлять собой 95-дюймовый (2,4 м) вентилятор Eldridge модели IC92S-3GD310-R3A от фирмы L.C. Eldridge Sales Co. В одном варианте исполнения воздуходувка 142 может представлять собой нагнетатель воздуха с фиксированной или переменной скоростью. В одном варианте исполнения воздуходувка 142 может создавать поток от около 60000 CFM до около 150000 CFM (1699-4247 м3) (и в любом диапазоне или значении между ними). В одном варианте исполнения воздуходувка 142 может обеспечивать около 100000 CFM (2832 м3).

В одном варианте исполнения система 100, 200, 300 может дополнительно включать воздуходувную и нагревательную систему 141, 241, 341. Например, воздуходувная и нагревательная система 141, 241, 341 может быть размещена через заднюю стенку контейнера 139, 339, когда распылительные сопла 138', 138'' распылительной системы 134, 334 производят выпуск в сторону задней части контейнера 139, 339.

В одном варианте исполнения воздуходувная и нагревательная система 141, 241, 341 включает воздуходувку 142 и воздухонагреватель 143. В одном варианте исполнения выпуск для воздушного потока из воздухонагревателя 143 соединен в сообщении по текучей среде с впуском для воздушного потока воздуходувки 142.

Воздухонагреватель 143 может представлять собой любой подходящий нагреватель. Например, воздухонагреватель имеется в продаже на рынке от фирмы Maxon Corporation. В одном варианте исполнения воздухонагреватель 143 может представлять собой горелку Maxon APX Line Burner (горелку для сжигания природного газа) от фирмы Maxon Corporation. В одном варианте исполнения воздухонагреватель 143 может обеспечивать величину нагревания воздуха от около 0 миллиона BTU в час до около 4 миллионов BTU в час (0-1172 кВт/час) (и в любом диапазоне или значении между ними).

В одном варианте исполнения воздухонагреватель 143 может иметь один или многие нагнетатель(-ли) воздуха для горения. В одном варианте исполнения нагнетатель воздуха для горения может иметь мощность около 1,5 лошадиных сил (HP) (1,1 кВт).

Необязательные воздушный дефлектор, диффузоры, конические вставки и лопасти

Когда горячий воздух из воздуходувки и подогревателя 141 поступает в воздушный впуск контейнера 139 (то есть, испарительный модуль), поток воздуха может не проявлять равномерное распределение в пределах контейнера 139. Кроме того, распыление воды может быть неравномерным в контейнере 139, и в результате этого степень насыщения в воздухе может быть снижена. Для повышения скорости испарения должно быть улучшено смешение воздуха и капель воды, чтобы обеспечивать полный перевод воды из жидкостной фазы в паровую фазу. Одним путем достижения этого является применение серии дефлекторов, диффузоров, конических вставок и/или лопастей для стимулирования смешения.

В одном варианте исполнения система 100 может дополнительно включать дефлектор и/или диффузор, причем дефлектор и/или диффузор может быть размещен внутри контейнера 139.

Дефлектор и/или диффузор могут представлять собой любой подходящий дефлектор и/или диффузор, способные обеспечивать желательную степень смешения в контейнере 139. Например, пригодный дефлектор и/или диффузор включает, но без ограничения этим, плоский металлический лист, наклонный металлический лист, перфорированный металлический лист, сплошной металлический лист, и их комбинации, для создания эффекта направляющей лопатки.

Дефлектор и/или диффузор могут иметь любые размер и форму.

В одном варианте исполнения размер и местоположение дефлектора и/или диффузора могут быть отрегулированы для достижения оптимальной производительности на основе температуры воздуха, высоты, влажности и прочих факторов. В одном варианте исполнения дефлектор и/или диффузор размещены для перенаправления воздушного потока из центральной области контейнера 139 к стенкам контейнера 139.

В одном варианте исполнения дефлектор и/или диффузор могут быть смонтированы в контейнере 139 для обеспечения возможности регулировок во время работы для достижения оптимальной производительности на основе температуры воздуха, высоты, влажности, и прочих факторов.

В одном варианте исполнения система 100 дополнительно включает коническую вставку, причем коническая вставка может быть размещена внутри контейнера 139.

Коническая вставка может быть любой конической вставкой, способной обеспечивать достижение желательной степени смешения в контейнере 139. Например, подходящая коническая вставка включает, но без ограничения этим, плоский металлический лист, наклонный металлический лист, перфорированный металлический лист, сплошной металлический лист, и их комбинации, для создания эффекта направляющей лопатки.

Коническая вставка может иметь любые размер и форму.

В одном варианте исполнения размер и местоположение конической вставки могут быть отрегулированы для достижения оптимальной производительности на основе температуры воздуха, высоты, влажности и прочих факторов. В одном варианте исполнения коническая вставка может быть размещена для перенаправления воздушного потока от стенок контейнера 139 к центру контейнера 139.

В одном варианте исполнения коническая вставка может быть смонтирована в контейнере 139 для обеспечения возможности регулировок во время работы для достижения оптимальной производительности на основе температуры воздуха, высоты, влажности и прочих факторов.

В одном варианте исполнения система 100 дополнительно включает лопасть, причем лопасть может быть размещена внутри контейнера 139.

Лопасть может быть любой подходящей лопастью, способной обеспечивать достижение желательной степени смешения в контейнере 139. Например, подходящая лопасть включает, но без ограничения этим, металлический и/или деревянный плоский лист, наклонный металлический лист и/или деревянный лист, перфорированный металлический лист и/или деревянный лист, сплошной металлический лист и/или деревянный лист, и их комбинации, для создания эффекта направляющей лопатки.

Лопасть может иметь любые размер и форму.

В одном варианте исполнения размер и местоположение лопасти могут быть отрегулированы для достижения оптимальной производительности на основе температуры воздуха, высоты, влажности и прочих факторов. В одном варианте исполнения лопасть проходит вдоль поперечного сечения (например, диаметра) контейнера 139.

Рециркуляционная система

В одном варианте исполнения система 100, 200 может дополнительно включать второй (рециркуляционный) отсечной клапан 153, 253, второй (рециркуляционный) насос 156, 256, и второй (рециркуляционный) клапан 166, 266. Выпуск отстойника (дна) контейнера 139, 339 может быть соединен с впуском второго (рециркуляционного) насоса 156 трубопроводом 154. Выпуск второго (рециркуляционного) насоса 156 может быть соединен с впуском второго коллектора 162 трубопроводом 158. Первый выпуск второго коллектора 162 может быть соединен с вторым (рециркуляционным) клапаном 166, обсуждаемым ниже.

В одном варианте исполнения система 100, 200 может дополнительно включать второй (рециркуляционный) отсечной клапан 153, 253. Второй (рециркуляционный) отсечной клапан 153 может представлять собой любой подходящий отсечной клапан. Пригодные вторые (рециркуляционные) отсечные клапаны 153 включают, но без ограничения этим, шаровые клапаны и дроссельные поворотные заслонки. Например, подходящий включать второй (рециркуляционный) отсечной клапан 153 имеется в продаже на рынке от фирмы GF Piping Systems. В одном варианте исполнения второй (рециркуляционный) отсечной клапан 153 может представлять собой дроссельную заслонку GF Piping Systems PVC Wafer Style фирмы GF Piping Systems. В одном варианте исполнения второй (рециркуляционный) отсечной клапан 153 может быть автоматическим или приводимым в действие вручную. В одном варианте исполнения второй (рециркуляционный) отсечной клапан 153 может быть с электрическим или пневматическим приводом. В одном варианте исполнения нормальным положением второго (рециркуляционного) отсечного клапана 153 может быть положение «ЗАКРЫТО».

В одном варианте исполнения второй (рециркуляционный) отсечной клапан 153 имеет 4-дюймовые соединения.

Второй (рециркуляционный) отсечной клапан 153 может быть выполнен из любого подходящего коррозионно-стойкого материала. Второй (рециркуляционный) отсечной клапан 153 может быть выполнен из любых подходящих коррозионно-стойких металлов или пластиков. Пригодные металлы включают, но без ограничения этим, углеродистую сталь с полимерным покрытием, нержавеющую сталь, сплав Hastelloy®, сплав Monel®, и их комбинации; и пригодные пластики включают, но без ограничения этим, каучук на основе этилен-пропилен-диенового мономера (EPDM), поливинилхлорид (PVC), и их комбинации. В одном варианте исполнения второй (рециркуляционный) отсечной клапан 153 (смачиваемые компоненты) может быть выполнен из поливинилхлорида (PVC) и каучука на основе этилен-пропилен-диенового мономера (EPDM).

В одном варианте исполнения система 100, 200 может дополнительно включать второй (рециркуляционный) насос 156, 256. Второй (рециркуляционный) насос 156 может представлять собой любой подходящий насос. Пригодные вторые (рециркуляционные) насосы 156 включают, но без ограничения этим, центробежные насосы. Например, пригодный второй (рециркуляционный) насос 156 имеется в продаже на рынке от фирмы Ampco Pumps Company. В одном варианте исполнения второй (рециркуляционный) насос 156 может представлять собой центробежный насос Ampco Z-Series фирмы Ampco Pumps Company. В одном варианте исполнения второй (рециркуляционный) насос 156 может быть центробежным насосом с мощностью 15 л.с. (HP) (11 кВт).

В одном варианте исполнения второй (рециркуляционный) насос 156 может иметь 4-дюймовое соединение впуска (всасывания) и 3-дюймовое соединение выпуска (разгрузки).

Второй (рециркуляционный) насос 156 может быть изготовлен из любого подходящего коррозионно-стойкого материала. Второй (рециркуляционный) насос 156 может быть выполнен из любых подходящих коррозионно-стойких металлов или пластиков. Пригодные металлы включают, но без ограничения этим, нержавеющую сталь, супердуплексную нержавеющую сталь, сплав AL-6XN, сплав Ni-Al-Brz, сплав Hastelloy®, сплав Monel®, и их комбинации; и пригодные пластики включают, но без ограничения этим, хлорированные поливинилхлоридные (CPVC) полимеры, армированный стекловолокном пластик (FRP), поливинилиденфторидные (PVDF) полимеры Kynar®, полиэтиленовые полимеры, полипропиленовые полимеры, поливинилхлоридные (CPVC) полимеры, перфторалкоксиполимеры (PFA) Teflon®, политетрафторэтиленовые (PTFE) полимеры Teflon®, и их комбинации. Например, второй (рециркуляционный) насос 156, включающий внутренние смачиваемые компоненты, может быть выполнен из нержавеющей стали, супердуплексной нержавеющей стали, сплава AL-6XN, сплава Ni-Al-Brz, сплава Hastelloy®, сплава Monel®, или FRD. В одном варианте исполнения второй (рециркуляционный) насос 156 (смачиваемые компоненты) может быть выполнен из сплава Ni-Al-Brz.

Выпуск второго (рециркуляционного) насоса 156 может быть соединен с впуском второго коллектора 162 трубопроводом 158.

В одном варианте исполнения система 100, 200 может дополнительно включать второй (рециркуляционный) клапан 166, 266. Второй (рециркуляционный) клапан 166 может представлять собой любой подходящий переключаемый клапан. Пригодные вторые (рециркуляционные) клапаны 166 включают, но без ограничения этим, шаровые клапаны и дроссельные заслонки. Например, подходящий второй (рециркуляционный) клапан 166 имеется в продаже на рынке от фирмы GF Piping Systems. В одном варианте исполнения второй (рециркуляционный) клапан 166 может представлять собой дроссельную заслонку GF Piping Systems типа 563 с электрическим приводом от фирмы GF Piping Systems. В одном варианте исполнения второй (рециркуляционный) клапан 166 может быть автоматическим или приводимым в действие вручную. В одном варианте исполнения второй (рециркуляционный) клапан 166 может с электрическим или пневматическим приводом. В одном варианте исполнения нормальным положением второго (рециркуляционного) клапана 166 может быть положение «ЗАКРЫТО».

В одном варианте исполнения второй (рециркуляционный) клапан 166 имеет 4-дюймовые соединения.

В одном варианте исполнения система 100, 200 может дополнительно включать третий концевой выключатель 167, 267 и четвертый концевой выключатель 168, 268. В одном варианте исполнения третий концевой выключатель 167 подтверждает, что второй (рециркуляционный) клапан 166 находится в положении «ЗАКРЫТО»; и четвертый концевой выключатель 168 подтверждает, что второй (рециркуляционный) клапан 166 находится в положении «ОТКРЫТО».

Первый выпуск второго коллектора 162 может быть соединен со вторым выпуском первого коллектора 128.

Трубопровод 128, 158, 162 может быть выполнен из любой подходящей коррозионно-стойкой трубы. Трубопровод 128, 158, 162 может быть из любых подходящих коррозионно-стойких металлов или пластиков. Пригодные металлы включают, но без ограничения этим, углеродистую сталь с полимерным покрытием, нержавеющую сталь, супердуплексную нержавеющую сталь, сплав AL-6XN, сплав Ni-Al-Brz, сплав Hastelloy®, сплав Monel®, и их комбинации; и пригодные пластики включают, но без ограничения этим, хлорированные поливинилхлоридные (CPVC) полимеры, армированный стекловолокном пластик (FRP), поливинилиденфторидные (PVDF) полимеры Kynar®, полиэтиленовые полимеры, полипропиленовые полимеры, поливинилхлоридные (PVC) полимеры, перфторалкоксиполимеры (PFA) Teflon®, политетрафторэтиленовые (PTFE) полимеры Teflon®, и их комбинации. В одном варианте исполнения трубопровод 128, 158, 162 может быть выполнен из углеродистой стали с полимерным покрытием. В одном варианте исполнения трубопровод 128, 158, 162 может быть выполнен из углеродистой стали с полимерным покрытием из смолы Plasite 7159 HAR. В одном варианте исполнения трубопровод 128, 158, 162 может быть выполнен из нержавеющей стали 316.

В одном варианте исполнения трубопровод 128, 158, 162 может представлять собой 4-дюймовую трубу.

Выпускная система

В одном варианте исполнения система 100, 200 может дополнительно включать запорный клапан 164, 264, третий разгрузочный клапан 169, 269, и третий (разгрузочный) отсечной клапан 174, 274. Второй выпуск второго коллектора 162 может быть соединен с впуском запорного клапана 164 или впуском третьего (разгрузочного) клапана 169.

В одном варианте исполнения система 100, 200 может дополнительно включать запорный клапан 164, 264. Запорный клапан 164 может быть любым подходящим запорным клапаном. Пригодные запорные клапаны 164 включают, но без ограничения этим, одноходовые клапаны. Второй выпуск второго коллектора 162 может быть соединен с впуском запорного клапана 164; и выпуск запорного клапана 164 может быть соединен с впуском третьего (разгрузочного) клапана 169.

В одном варианте исполнения система 100, 200 может дополнительно включать третий (разгрузочный) клапан 169, 269. Третий (разгрузочный) клапан 169 может представлять собой любой подходящий переключаемый клапан. Пригодные разгрузочные клапаны включают, но без ограничения этим, шаровые клапаны. Например, подходящий третий (разгрузочный) клапан 169 имеется в продаже на рынке от фирмы GF Piping Systems. В одном варианте исполнения третий (разгрузочный) клапан 169 может представлять собой шаровой клапан GF Piping System типа 546 с электрическим приводом от фирмы GF Piping Systems. В одном варианте исполнения третий (разгрузочный) клапан 169 может быть автоматическим или приводимым в действие вручную. В одном варианте исполнения третий (разгрузочный) клапан 169 может быть с электрическим или пневматическим приводом. В одном варианте исполнения нормальным положением третьего (разгрузочного) клапана 169 может быть положение «ЗАКРЫТО».

В одном варианте исполнения третий (разгрузочный) клапан 169 может иметь 2-дюймовые соединения.

В одном варианте исполнения система 100, 200 может дополнительно включать пятый концевой выключатель 170, 270 и шестой концевой выключатель 171, 271. В одном варианте исполнения пятый концевой выключатель 170, 270 подтверждает, что третий (разгрузочный) клапан 169 находится в положении «ОТКРЫТО»; и шестой концевой выключатель 171, 271 подтверждает, что третий (разгрузочный) клапан 169 находится в положении «ЗАКРЫТО».

Второй выпуск второго коллектора 162 может быть соединен с впуском третьего (разгрузочного) клапана 169; и выпуск третьего (разгрузочного) клапана 169 может быть соединен с впуском второго (разгрузочного) отсечного клапана 174 трубопроводом 172.

В одном варианте исполнения система 100, 200 может дополнительно включать третий (разгрузочный) отсечной клапан 174, 274. Третий (разгрузочный) отсечной клапан 174 может быть любым подходящим отсечным клапаном. Пригодные третьи (разгрузочные) отсечные клапаны 174 включают, но без ограничения этим, шаровые клапаны и дроссельные заслонки. Например, подходящий третий (разгрузочный) отсечной клапан 174 имеется в продаже на рынке от фирмы GF Piping Systems. В одном варианте исполнения третий (разгрузочный) отсечной клапан 174 может представлять собой шаровой клапан GF Piping Systems типа 546 PVC фирмы GF Piping Systems. В одном варианте исполнения третий (разгрузочный) отсечной клапан 174 может быть автоматическим или приводимым в действие вручную. В одном варианте исполнения нормальным положением третьего (разгрузочного) отсечного клапана 174 может быть положение «ЗАКРЫТО».

В одном варианте исполнения третий (выпускной) отсечной клапан 174 может иметь 2-дюймовые соединения.

Третий (разгрузочный) отсечной клапан 174 может быть выполнен из любого подходящего коррозионно-стойкого материала. Третий (разгрузочный) отсечной клапан 174 может быть изготовлен из любых подходящих коррозионно-стойких металлов или пластиков. Пригодные металлы включают, но без ограничения этим, углеродистую сталь с полимерным покрытием, нержавеющую сталь, сплав Hastelloy®, сплав Monel®, и их комбинации; и пригодный пластик включает, но без ограничения этим, каучук на основе этилен-пропилен-диенового мономера (EPDM), поливинилхлорид (PVC), и их комбинации. В одном варианте исполнения третий (разгрузочный) отсечной клапан 174 (смачиваемые компоненты) может быть выполнен из поливинилхлорида (PVC) и каучука на основе этилен-пропилен-диенового мономера (EPDM).

Выпуск третьего (разгрузочного) клапана 169 может быть соединен с впуском третьего (разгрузочного) отсечного клапана 174 трубопроводом 172. Выпуск третьего (разгрузочного) отсечного клапана 174 может быть соединен с разгрузочным выпуском 176 трубопроводом 175.

Трубопровод 172, 175 может быть выполнен из любой подходящей коррозионно-стойкой трубы. Трубопровод 172, 175 может быть из любых подходящих коррозионно-стойких металлов или пластиков. Пригодные металлы включают, но без ограничения этим, углеродистую сталь с полимерным покрытием, нержавеющую сталь, супердуплексную нержавеющую сталь, сплав AL-6XN, сплав Ni-Al-Brz, сплав Hastelloy®, сплав Monel®, и их комбинации; и пригодные пластики включают, но без ограничения этим, хлорированные поливинилхлоридные (CPVC) полимеры, армированный стекловолокном пластик (FRP), поливинилиденфторидные (PVDF) полимеры Kynar®, полиэтиленовые полимеры, полипропиленовые полимеры, поливинилхлоридные (PVC) полимеры, перфторалкоксиполимеры (PFA) Teflon®, политетрафторэтиленовые (PTFE) полимеры Teflon®, и их комбинации. В одном варианте исполнения трубопровод 172, 175 может быть выполнен из углеродистой стали с полимерным покрытием. В одном варианте исполнения трубопровод 172, 175 может быть выполнен из углеродистой стали с полимерным покрытием из смолы Plasite 7159 HAR. В одном варианте исполнения трубопровод 172, 175 может быть выполнен из нержавеющей стали 316.

В одном варианте исполнения трубопровод 172, 175 может представлять собой 2-дюймовую трубу.

Необязательные датчики и измерительные приборы

В одном варианте исполнения система 100, 200 может дополнительно включать первый расходомер 122, 222, первый температурный датчик 130, 230, первый измеритель 131, 231 удельной электропроводности, необязательно второй измеритель 132, 232 удельной электропроводности (не показан), и/или второй расходомер 173, 273.

Первый расходомер 122, 222 может быть соединен в сообщении по текучей среде с трубопроводом 120.

Первый расходомер 122 может быть любым подходящим расходомером. Пригодные первые расходомеры 122 включают, но без ограничения этим, магнитные расходомеры, расходомеры турбинного типа, ультразвуковые вихревые и вихревые расходомеры вставляемого типа. Например, подходящий первый расходомер 122 имеется в продаже на рынке от фирмы Georg Fischer Signet LLC. В одном варианте исполнения первый расходомер 122 может представлять собой датчик расхода турбинного типа Signet 2536 Rotor-X фирмы Georg Fischer Signet LLC. В одном варианте исполнения первый расходомер 122 может быть электрически соединен с PLC или компьютерным устройством 600.

Первый температурный датчик 130 может быть соединен в сообщении по текучей среде с первым коллектором 128.

Первый температурный датчик 130 может быть любым подходящим устройством для измерения температуры. Например, пригодный первый температурный датчик 130 имеется в продаже на рынке от фирмы Ashcroft Inc. В одном варианте исполнения первый температурный датчик 130 может представлять собой биметаллический циферблатный термометр фирмы Ashcroft Inc. В одном варианте исполнения первый температурный датчик 130 может может быть электрическим или приводимым в действие вручную.

Первый измеритель 131 удельной электропроводности может быть соединен в сообщении по текучей среде с первым коллектором 128; и необязательный второй измеритель 132 удельной электропроводности (не показан) может быть в сообщении по текучей среде с первым коллектором 128.

Первый измеритель 131 удельной электропроводности отслеживает удельную электропроводность на впускном (питающем) канале или конденсированной (рециркуляционной) сточной воды из внешнего источника сточной воды. Если первый измеритель 131 удельной электропроводности измеряет предварительно определенную минимальную величину удельной электропроводности (например, показывающую присутствие масла в подводимой воде), система 100 отключается.

Первый измеритель 131 удельной электропроводности может быть любым подходящим кондуктометром. Например, пригодный первый измеритель 131 удельной электропроводности имеется в продаже на рынке от фирмы Cole-Parmer Instrument Company. В одном варианте исполнения первый измеритель 131 удельной электропроводности может представлять собой тороидальный датчик проводимости модели ML-19504-04 фирмы Cole-Parmer Instrument Company. В одном варианте исполнения первый измеритель 131 удельной электропроводности может быть электрически соединен с PLC или компьютерным устройством 600. В одном варианте исполнения первый измеритель 131 удельной электропроводности может иметь диапазон от около 0 мкСм/см до около 1000000 мкСм/см (и в любом диапазоне или значении между ними).

Необязательный второй измеритель 132 удельной электропроводности (не показан) отслеживает удельную электропроводность на впускном (питающем) канале или конденсированной (рециркуляционной) сточной воды из внешнего источника сточной воды. Если второй измеритель 132 удельной электропроводности показывает, что конденсат сточной воды (рассол) достиг предварительно определенной максимальной величины удельной электропроводности, третий (выпускной) клапан 169 переключается в положение «ОТКРЫТО», третий (выпускной) отсечной клапан 174 переключается в положение «ОТКРЫТО», и второй (рециркуляционный) клапан 166 переключается в положение «ЗАКРЫТО».

Необязательный второй измеритель 132 удельной электропроводности может быть любым подходящим кондуктометром. Например, пригодный первый измеритель 132 удельной электропроводности имеется в продаже на рынке от фирмы Cole-Parmer Instrument Company. В одном варианте исполнения первый измеритель 132 удельной электропроводности может представлять собой тороидальный датчик проводимости модели ML-19504-04 фирмы Cole-Parmer Instrument Company. В одном варианте исполнения второй датчик 132 удельной электропроводности может быть электрически соединен с PLC или компьютерным устройством 600. В одном варианте исполнения второй измеритель 132 удельной электропроводности может иметь диапазон от около 0 мкСм/см до около 1000000 мкСм/см (и в любом диапазоне или значении между ними).

Второй расходомер 173 может быть в сообщении по текучей среде с с трубопроводом 172. Второй расходомер 173 отслеживает величину расхода потока, выводимого в разгрузочный выпуск 176.

Второй расходомер 173 может быть любым подходящим расходомером. Пригодные вторые расходомеры 173 включают, но без ограничения этим, магнитные расходомеры, расходомеры турбинного типа, ультразвуковые вихревые и вихревые расходомеры вставляемого типа. Например, подходящий второй расходомер 173 имеется в продаже на рынке от фирмы Georg Fischer Signet LLC. В одном варианте исполнения первый расходомер 173 может представлять собой датчик расхода турбинного типа Signet 2536 Rotor-X фирмы Georg Fischer Signet LLC. В одном варианте исполнения второй расходомер 173 может быть электрически соединен с PLC или компьютерным устройством 600.

Необязательные реле предельного уровня, давления и температуры

В одном варианте исполнения система 100, 200 может дополнительно включать первое реле 110, 210 давления, датчик 140, 240 температуры воздуха, первое реле 147, 247 высокого перепада давления, второе реле 148, 248 аварийно высокого перепада давления, первое реле 149, 249 аварийно высшего предела, реле 150, 250 низшего предела, реле 151, 251 высшего предела, второе реле 152, 252 аварийно высокого высшего предела, и второе реле 159, 259 давления.

Первое реле 110 давления отслеживает давление на впускном канале для сточной воды до первого (питающего) насоса 118. Первое реле 110 давления может быть любым подходящим реле давления. Например, пригодное первое реле 110 давления имеется в продаже на рынке от фирмы AutomationDirect.com Inc. В одном варианте исполнения первое реле 110 давления может представлять собой механическое реле давления ProSense® MPS25 Series Mechanical Pressure Switch фирмы AutomationDirect.com Inc.

Первое реле 110 давления может быть соединено в сообщении по текучей среде с трубопроводом 108.

Первое реле 147 высокого перепада давления отслеживает давление воздуха в контейнере 139, 339. Если срабатывает первое реле 147 высокого перепада давления, включается воздуходувка 142. В одном варианте исполнения первое реле 147 высокого перепада давления может быть настроено на величину +/-0,15 дюймов водяного столба (3,8 мм рт.ст.).

Первое реле 147 высокого перепада давления может быть любым подходящим датчиком перепада давления. Например, пригодное первое реле 147 высокого перепада давления имеется в продаже на рынке от фирмы Dwyer Instruments Inc. В одном варианте исполнения первое реле 147 высокого перепада давления может представлять собой фотогелический дифференциальный манометр серии 3000 фирмы Dwyer Instruments Inc. В одном варианте исполнения первое реле 147 высокого перепада давления имеет диапазон от около 0 до около 0,5 дюймов водяного столба (12,7 мм рт.ст.).

Первое реле 147 высокого перепада давления может быть соединено в сообщении по текучей среде с контейнером 139, 339.

Второе реле 148 аварийно высокого перепада давления также отслеживает давление воздуха в контейнере. Если срабатывает второе реле 148 аварийно высокого перепада давления, может быть заблокирована система 144 улавливания тумана вследствие захлебывания или нарастания окалины. В одном варианте исполнения второе реле 148 аварийно высокого перепада давления может быть настроено на величину +/-0,40 дюймов водяного столба (10,16 мм рт.ст.).

Второе реле 148 аварийно высокого перепада давления может быть любым подходящим датчиком перепада давления. Например, пригодное второе реле 148 аварийно высокого перепада давления имеется в продаже на рынке от фирмы Dwyer Instruments Inc. В одном варианте исполнения второе реле 148 аварийно высокого перепада давления может представлять собой фотогелический дифференциальный манометр серии 3000MR от фирмы Dwyer Instruments Inc. В одном варианте исполнения второе реле 148 высокого перепада давления имеет диапазон от около 0 до около 0,5 дюймов водяного столба (12,7 мм рт.ст.).

Второе реле 148 аварийно высокого перепада давления может быть соединено в сообщении по текучей среде с контейнером 139, 339.

Первое реле 149 аварийно высокого высшего предела, реле 150 низшего предела и реле 151 высшего предела отслеживают различные уровни воды в отстойнике (дне) контейнера 139, 339. Второе реле 152 аварийно высокого высшего предела отслеживает уровни воды во вторичной защитной оболочке.

Первые реле 149, 152 аварийно высокого высшего предела, реле 150 низшего предела и реле 151 высшего предела могут представлять собой любые подходящие реле уровня воды. Пригодные реле уровня воды включают, но без ограничения этим, емкостные бесконтактные переключатели, плавающую, магнитную и вибрирующую вилку. Например, реле 149, 152 аварийно высокого высшего предела, реле 150 низшего предела и реле 151 высшего предела имеются в продаже на рынке от фирмы AutomationDirect.com Inc. В одном варианте исполнения реле 149, 152 высокого верхнего предела, реле 150 низшего предела и реле 151 высокого высшего предела могут представлять собой круглые индуктивные бесконтактные переключатели TU Series Model M18 Round Inductive Proximity Sensors фирмы AutomationDirect.com Inc.

Первое реле 149 аварийно высокого высшего, реле 150 низшего предела, и реле 151 высокого высшего предела могут быть соединены в сообщении по текучей среде с областью вблизи отстойника (дна) контейнера 139, 339.

Второе реле 152 аварийно высокого высшего предела может быть соединено в сообщении по текучей среде с областью вне контейнера 139, 339 для мониторинга уровней воды во вторичной защитной оболочке.

Второе реле 159 давления отслеживает давление конденсата (рециркуляционного) сточной воды из второго (рециркуляционного) насоса 156. Второе реле 159 давления может быть любым подходящим реле давления. Например, пригодное второе реле 159 давления имеется в продаже на рынке от фирмы AutomationDirect.com Inc. В одном варианте исполнения первое 159 давления может представлять собой механический переключатель давления серии ProSense® MPS25 фирмы AutomationDirect.com Inc.

Второе реле 159 давления может быть соединено в сообщении по текучей среде с трубопроводом 158.

В одном варианте исполнения манометр 160 показывает давление конденсата (рециркуляционного) сточной воды из второго (рециркуляционного) насоса 156. Манометр 160 может быть в сообщении по текучей среде с трубопроводом 158.

Необязательная система кислотного кондиционирования

В одном варианте исполнения система 100 может дополнительно включать необязательную систему 177 кислотного кондиционирования. Система 177 кислотного кондиционирования включает хранилище 178 запаса кислоты и дозирующий кислоту насос 180.

Кислота может быть любой подходящей кислотой. Пригодные кислоты включают, но без ограничения этим, соляную кислоту и серную кислоту. В одном варианте исполнения кислота может быть соляной кислотой (20 градусов Боме). В одном варианте исполнения кислота может представлять собой серную кислоту (98%-ную). В одном варианте исполнения желательное значение рН сточной воды составляет около 6,5 или ниже, для минимизации отложений карбоната кальция. В одном варианте исполнения желательное значение рН сточной воды может быть выше около 6,5, если добавлен ингибитор накипи для минимизации карбонатной и некарбонатной накипи. В одном варианте исполнения количество добавляемого кислотного раствора варьирует в зависимости от условий поступающей воды (например, рН, щелочности).

В одном варианте исполнения желательное значение рН сточной воды может составлять выше 6,5, если добавлен ингибитор накипи для минимизации карбонатной и некарбонатной накипи.

Выпуск хранилища 178 запаса кислоты может быть соединено в сообщении по текучей среде с впуском дозирующего кислоту насоса 180 через трубопровод 179; и выпуск дозирующего кислоту насоса 180 находится в сообщении по текучей среде с контейнером 139, 339 или с трубопроводом 154 (показан) по трубопроводу 181.

Хранилище запаса 178 кислоты может быть любым подходящим хранилищем запаса кислоты или другим объемным хранилищем химиката. Пригодные хранилища запаса кислоты включают, но без ограничения этим, промышленный стандартный транспортный контейнер. Например, подходящее хранилище 178 запаса кислоты имеется в продаже на рынке от фирмы National Tank Outlet. В одном варианте исполнения хранилище 178 запаса кислоты может представлять собой промышленный стандартный транспортный контейнер емкостью 275 галлонов или 330 галлонов (1040 или 1249 л). В одном варианте исполнения хранилище 178 запаса кислоты может представлять собой барабан емкостью 55 галлонов (208 л).

Дозирующий кислоту насос 180 может быть любым подходящим насосом для дозирования кислоты. Пригодные дозирующие кислоту насосы включают, но без ограничения этим, электронный мембранный, перистальтический и объемный насосы. Например, подходящий дозирующий кислоту насос 180 имеется в продаже на рынке от фирмы Anko Products, Inc. В одном варианте исполнения дозирующий кислоту насос 180 может представлять собой самовсасывающий перистальтический насос фирмы Anko Products, Inc. В одном варианте исполнения дозирующий кислоту насос 180 может представлять собой самовсасывающий перистальтический насос Mityflex Model 907 фирмы Anko Products, Inc.

Трубопровод 179, 181 может быть изготовлен из любой подходящей коррозионно-стойкой трубы. Трубопровод 179, 181 может быть из любых подходящих коррозионно-стойких металлов или пластиков. Пригодные металлы включают, но без ограничения этим, сплав AL-6XN, сплав Hastelloy®, сплав Monel®, и их комбинации; и пригодные пластики включают, но без ограничения этим, хлорированные поливинилхлоридные (CPVC) полимеры, армированный стекловолокном пластик (FRP), поливинилиденфторидные (PVDF) полимеры Kynar®, полиэтиленовые полимеры, полипропиленовые полимеры, поливинилхлоридные (PVC) полимеры, перфторалкоксиполимеры (PFA) Teflon®, политетрафторэтиленовые (PTFE) полимеры Teflon®, и их комбинации. Например, подходящий трубопровод 179, 181 может быть изготовлен из тефлона Teflon® PFA или PTFE.

В одном варианте исполнения система 177 кислотного кондиционирования может дополнительно включать расходомер кислоты (не показан). Расходомер кислоты может быть соединен в сообщении по текучей среде с трубопроводом 181. Расходомер кислоты измеряет величину расхода потока раствора кислоты.

Расходомер кислоты может быть любым подходящим расходомером. Пригодные расходомеры кислоты включают, но без ограничения этим, расходомеры турбинного типа, ультразвуковые вихревые и вихревые расходомеры вставляемого типа. Например, подходящий расходомер кислоты имеется в продаже на рынке от фирмы ProMinent. В одном варианте исполнения расходомер кислоты может представлять собой модель DulcoFlow DFMa фирмы ProMinent со встроенной функцией передачи сигнала.

Необязательная система бактерицидного кондиционирования

В одном варианте исполнения система 100 может дополнительно включать необязательную систему 182 бактерицидного кондиционирования. Система 182 бактерицидного кондиционирования включает контейнер 183 для бактерицида и насос 185 для дозирования бактерицида.

Бактерицид может быть любым подходящим бактерицидом. Пригодный бактерицид включает, но без ограничения этим, белильную хлорную известь, бром, диоксид хлора (генерируемый), 2,2-дибром-3-нитрилопропионамид (DBNPA), глутаровый альдегид, изотиазолин (1,5%) и озон (генерируемый). В одном варианте исполнения бактерицид может быть выбран из группы, состоящей из белильной хлорной извести (12,5%), брома, диоксида хлора (генерируемого), DBNPA (20%), глутарового альдегида (50%), изотиазолина (1,5%) и озона (генерируемого). В одном варианте исполнения желательная концентрация бактерицида составляет от около 10 млн-1 до около 1000 млн-1 (и в любом диапазоне или значении между ними). Количество раствора бактерицида, добавляемого к сточной воде, варьирует в зависимости от условий поступающей воды.

Выпуск контейнера 183 для бактерицида может быть соединен в сообщении по текучей среде с впуском насоса 185 для дозирования бактерицида по трубопроводу 184; и выпуск насоса 185 для дозирования бактерицида может быть соединен в сообщении по текучей среде с контейнером 139, 339 или с трубопроводом 155 (показан) по трубопроводу 186.

Контейнер 183 для бактерицида может быть любым подходящим резервуаром для хранения бактерицида, или иным объемным хранилищем химиката. Пригодные контейнеры для бактерицида включают, но без ограничения этим, промышленный стандартный транспортный контейнер. Например, подходящий контейнер 183 для бактерицида имеется в продаже на рынке от фирмы National Tank Outlet. В одном варианте исполнения контейнер 183 для бактерицида может представлять собой промышленный стандартный транспортный контейнер емкостью 275 галлонов или 330 галлонов (1040 или 1249 л). В одном варианте исполнения контейнер 183 для бактерицида может представлять собой барабан емкостью 55 галлонов (208 л) или ведро емкостью 5 галлонов (19 л).

В одном альтернативном варианте исполнения контейнер 183 для бактерицида может быть заменен подходящим устройством для генерирования бактерицида (не показано). Например, подходящее бактерицидное устройство имеется в продаже на рынке от фирмы Miox Corporation. В одном варианте исполнения устройство для генерирования бактерицида (не показано) может представлять собой генератор Model AE-8 фирмы Miox Corporation.

Насос 185 для дозирования бактерицида может быть любым подходящим насосом для дозирования бактерицида. Пригодные насосы для дозирования бактерицида включают, но без ограничения этим, электронный мембранный, перистальтический и объемный насосы. Например, подходящий дозирующий насос 185 для дозирования бактерицида имеется в продаже на рынке от фирмы Anko Products, Inc. В одном варианте исполнения насос 185 для дозирования бактерицида может представлять собой самовсасывающий перистальтический насос фирмы Anko Products, Inc. В одном варианте исполнения насос 185 для дозирования бактерицида может представлять собой самовсасывающий перистальтический насос Mityflex Model 907 фирмы Anko Products, Inc.

Трубопровод 184, 186 может быть изготовлен из любой подходящей коррозионно-стойкой трубы. Трубопровод 184, 186 может быть из любых подходящих коррозионно-стойких металлов или пластиков. Пригодные металлы включают, но без ограничения этим, сплав AL-6XN, сплав Hastelloy®, сплав Monel®, и их комбинации; и пригодные пластики включают, но без ограничения этим, хлорированные поливинилхлоридные (CPVC) полимеры, армированный стекловолокном пластик (FRP), поливинилиденфторидные (PVDF) полимеры Kynar®, полиэтиленовые полимеры, полипропиленовые полимеры, поливинилхлоридные (PVC) полимеры, перфторалкоксиполимеры (PFA) Teflon®, политетрафторэтиленовые (PTFE) полимеры Teflon®, и их комбинации. В одном варианте исполнения трубопровод 184, 186 может быть изготовлен из тефлона Teflon® PFA или PTFE.

В одном варианте исполнения система 182 бактерицидного кондиционирования может дополнительно включать необязательный расходомер бактерицида (не показан). Расходомер бактерицида может быть соединен в сообщении по текучей среде с трубопроводом 186. Расходомер бактерицида измеряет величину расхода потока раствора бактерицида.

Расходомер бактерицида может быть любым подходящим расходомером. Пригодные расходомеры бактерицида включают, но без ограничения этим, расходомеры турбинного типа, ультразвуковые вихревые и вихревые расходомеры вставляемого типа. Например, подходящий расходомер бактерицида имеется в продаже на рынке от фирмы ProMinent. В одном варианте исполнения расходомер бактерицида может представлять собой Model DulcoFlow DFMa фирмы ProMinent со встроенной функцией передачи сигнала.

Необязательная система кондиционирования для ингибирования накипи

В одном варианте исполнения система 100 может дополнительно включать необязательную систему 187 кондиционирования для ингибирования накипи. Система 187 кондиционирования для ингибирования накипи включает контейнер 188 для ингибитора накипи и насос 190 для дозирования ингибитора накипи.

Ингибитор накипи может быть любым подходящим ингибитором накипи или смесью ингибиторов накипи. Пригодный ингибитор накипи включает, но без ограничения этим, неорганические фосфаты, фосфорорганические соединения и органические полимеры. В одном варианте исполнения ингибитор накипи может быть выбран из группы, состоящей из органических сложных эфиров фосфорной кислоты, полиакрилатов, фосфонатов, полиакриламидов, поликарбоновых кислот, полималатов, полифосфин-карбоксилатов, полифосфатов и поливинилсульфонатов. В одном варианте исполнения желательная концентрация ингибитора накипи составляет от около 10 млн-1 до около 100 млн-1 (и в любом диапазоне или значении между ними). В одном варианте исполнения желательная концентрация ингибитора накипи составляет от около 2 млн-1 до около 20 млн-1 (и в любом диапазоне или значении между ними). Количество добавляемого в сточную воду ингибитора накипи варьирует в зависимости от условий поступающей воды.

Выпуск контейнера 188 для ингибитора накипи может быть соединен в сообщении по текучей среде с впуском насоса 190 для дозирования ингибитора накипи по трубопроводу 189; и выпуск насоса 190 для дозирования ингибитора накипи может быть соединен в сообщении по текучей среде с контейнером 139, 339 (показано) или с трубопроводом 154 через трубопровод 191.

Контейнер 188 для ингибитора накипи может быть любым подходящим контейнером для ингибитора накипи или другим объемным хранилищем химиката. Пригодные контейнеры для ингибитора накипи включают, но без ограничения этим, промышленный стандартный транспортный контейнер. Например, подходящий контейнер 188 для ингибитора накипи имеется в продаже на рынке от фирмы National Tank Outlet. В одном варианте исполнения контейнер 188 для ингибитора накипи может представлять собой промышленный стандартный транспортный контейнер емкостью 275 галлонов или 330 галлонов (1040 или 1249 л). В одном варианте исполнения контейнер 188 для ингибитора накипи может представлять собой барабан емкостью 55 галлонов (208 л) или ведро емкостью 5 галлонов (19 л).

Насос 190 для дозирования ингибитора накипи может быть любым подходящим насосом для дозирования ингибитора накипи. Пригодные насосы для дозирования ингибитора накипи включают, но без ограничения этим, электронный мембранный, перистальтический и объемный насосы. Например, подходящий насос 190 для дозирования ингибитора накипи имеется в продаже на рынке от фирмы Anko Products, Inc. В одном варианте исполнения насос 190 для дозирования ингибитора накипи может представлять собой самовсасывающий перистальтический насос фирмы Anko Products, Inc. В одном варианте исполнения насос 190 для дозирования ингибитора накипи может представлять собой самовсасывающий перистальтический насос Mityflex Model 907 фирмы Anko Products, Inc.

Трубопровод 189, 191 может быть изготовлен из любой подходящей коррозионно-стойкой трубы. Трубопровод 189, 191 может быть из любых подходящих коррозионно-стойких металлов или пластиков. Пригодные металлы включают, но без ограничения этим, углеродистую сталь с полимерным покрытием, нержавеющую сталь, супердуплексную нержавеющую сталь, сплав AL-6XN, сплав Hastelloy®, сплав Monel®, и их комбинации; и пригодные пластики включают, но без ограничения этим, хлорированные поливинилхлоридные (CPVC) полимеры, армированный стекловолокном пластик (FRP), поливинилиденфторидные (PVDF) полимеры Kynar®, полиэтиленовые полимеры, полипропиленовые полимеры, поливинилхлоридные (PVC) полимеры, перфторалкоксиполимеры (PFA) Teflon®, политетрафторэтиленовые (PTFE) полимеры Teflon®, и их комбинации. В одном варианте исполнения трубопровод 189, 191 может быть изготовлен из тефлона Teflon® PFA или PTFE.

В одном варианте исполнения система 187 кондиционирования для ингибирования накипи может дополнительно включать необязательный расходомер ингибитора накипи (не показан). Расходомер ингибитора накипи может быть соединен в сообщении по текучей среде с трубопроводом 191. Расходомер ингибитора накипи измеряет величину расхода потока раствора ингибитора накипи.

Расходомер ингибитора накипи может быть любым подходящим расходомером. Пригодные расходомеры ингибитора накипи включают, но без ограничения этим, расходомеры турбинного типа, ультразвуковые вихревые и вихревые расходомеры вставляемого типа. Например, подходящий расходомер ингибитора накипи имеется в продаже на рынке от фирмы ProMinent. В одном варианте исполнения расходомер ингибитора накипи быть устройством Model DulcoFlow DFMa фирмы ProMinent со встроенной функцией передачи сигнала.

Необязательная система пеногашения

В одном варианте исполнения система 100 может дополнительно включать необязательную систему 192 пеногашения. Система 192 пеногашения включает контейнер 193 для подачи пеногасителя и насос 195 для пеногасителя.

Пеногаситель может быть любым подходящим пеногасителем. Пригодный пеногаситель включает, но без ограничения этим, спирты, гликоли, водонерастворимые масла, силиконовые полимеры и стеараты. В одном варианте исполнения пеногаситель может быть выбран из группы, состоящей из алифатических спиртов, сложных эфиров жирных кислот, фторсиликонов, полиэтиленгликоля, полипропиленгликоля, силиконовых гликолей и полидиметилсилоксана. В одном варианте исполнения желательная концентрация пеногасителя составляет от около 10 млн-1 до около 100 млн-1 (и в любом диапазоне или значении между ними). В одном варианте исполнения желательная концентрация пеногасителя составляет от около 2 млн-1 до около 20 млн-1 (и в любом диапазоне или значении между ними). Количество добавляемого в сточную воду пеногасителя варьирует в зависимости от состояния поступающей воды.

Выпуск контейнера 193 для пеногасителя может быть соединен в сообщении по текучей среде с впуском насоса 195 для дозирования пеногасителя по трубопроводу 194; и выпуск насоса 195 для дозирования пеногасителя может быть соединен в сообщении по текучей среде с контейнером 139, 339 (показано) или с трубопроводом 154 через трубопровод 196.

Контейнер 193 для пеногасителя может быть любым подходящим контейнером для пеногасителя или другим объемным хранилищем химиката. Пригодные контейнеры для пеногасителя включают, но без ограничения этим, промышленный стандартный транспортный контейнер. Например, подходящий контейнер 193 для пеногасителя имеется в продаже на рынке от фирмы National Tank Outlet. В одном варианте исполнения контейнер 193 для пеногасителя может представлять собой промышленный стандартный транспортный контейнер емкостью 275 галлонов или 330 галлонов (1040 или 1249 л). В одном варианте исполнения контейнер 193 для пеногасителя может представлять собой барабан емкостью 55 галлонов (208 л) или ведро емкостью 5 галлонов (19 л).

Насос 195 для дозирования пеногасителя может быть любым подходящим насосом для дозирования пеногасителя. Пригодные насосы для дозирования пеногасителя включают, но без ограничения этим, электронный мембранный, перистальтический и объемный насосы. Например, подходящий насос 195 для дозирования пеногасителя имеется в продаже на рынке от фирмы Anko Products, Inc. В одном варианте исполнения насос 195 для дозирования пеногасителя может представлять собой самовсасывающий перистальтический насос фирмы Anko Products, Inc. В одном варианте исполнения насос 195 для дозирования пеногасителя может представлять собой самовсасывающий перистальтический насос Mityflex Model 907 фирмы Anko Products, Inc.

Трубопровод 194, 196 может быть изготовлен из любой подходящей коррозионно-стойкой трубы. Трубопровод 194, 196 может быть из любых подходящих коррозионно-стойких металлов или пластиков. Пригодные металлы включают, но без ограничения этим, углеродистую сталь с полимерным покрытием, нержавеющую сталь, супердуплексную нержавеющую сталь, сплав AL-6XN, сплав Hastelloy®, сплав Monel®, и их комбинации; и пригодные пластики включают, но без ограничения этим, хлорированные поливинилхлоридные (CPVC) полимеры, армированный стекловолокном пластик (FRP), поливинилиденфторидные (PVDF) полимеры Kynar®, полиэтиленовые полимеры, полипропиленовые полимеры, поливинилхлоридные (PVC) полимеры, перфторалкоксиполимеры (PFA) Teflon®, политетрафторэтиленовые (PTFE) полимеры Teflon®, и их комбинации. В одном варианте исполнения трубопровод 194, 196 может быть изготовлен из тефлона Teflon® PFA или PTFE.

В одном варианте исполнения система 192 кондиционирования для пеногашения может дополнительно включать необязательный расходомер пеногасителя (не показан). Расходомер пеногасителя может находиться в сообщении по текучей среде с трубопроводом 196. Расходомер пеногасителя измеряет величину расхода потока раствора пеногасителя.

Расходомер пеногасителя может быть любым подходящим расходомером. Пригодные расходомеры пеногасителя включают, но без ограничения этим, расходомеры турбинного типа, ультразвуковые вихревые и вихревые расходомеры вставляемого типа. Например, подходящий расходомер пеногасителя имеется в продаже на рынке от фирмы ProMinent. В одном варианте исполнения расходомер пеногасителя быть устройством Model DulcoFlow DFMa фирмы ProMinent со встроенной функцией передачи сигнала.

Система распылительного испарения воды, иллюстрирующая альтернативные варианты исполнения

Первый альтернативный вариант исполнения

Схема примерной системы 400, 500 распылительного испарения воды согласно еще одному варианту осуществления настоящего изобретения показана в ФИГ. 4А-5D. Система 400, 500 включает впуск 404, 504 для сточной воды, насос 420, 520, воздуходувку 436, 536, коллектор 439, 539, распылительное сопло 442, 542, контейнер 444, 544, каплеуловительный элемент 448, 548, и разгрузочный выпуск 458, 558.

В одном варианте исполнения система 400, 500 способна испарять сточную воду в количестве между около 2000 до около 10000 галлонов в день (7570,8-37854 л) (смотри ФИГ. 4А-5D). Если желательна более высокая производительность, могут быть использованы многочисленные системы 400, 500 в параллельном режиме для обработки сточной воды.

Впускная система

Впуск 404, 504 для сточной воды может быть соединен с впуском первого трехходового клапана 416 трубопроводом 408, 508. Выпуск трехходового клапана 416 может быть соединен с впуском насоса 420, 520 трубопроводом 418, 518.

Впуск 404, 504 для сточной воды может быть любым подходящим впуском для сточной воды, который может действовать до давления около 40 psi (0,28 МПа). Пригодные впускные каналы для сточной воды включают, но без ограничения этим, фланцевые соединения, эксцентриковые запоры и быстроразъемные соединения с накидной гайкой. В одном варианте исполнения впуск 404, 504 для сточной воды представляет собой фланцевое соединение (смотри ФИГ. 5А-5D). Впуск 404, 504 для сточной воды обеспечивает соединение с внешним источником сточной воды через всасывающий коллектор 402. Впуск 404, 504 для воды может быть соединен с внешним источником сточной воды шлангом, трубой или другим средством, обычно применяемым в технологии.

В одном варианте исполнения система система 400, 500 может дополнительно включать первый трехходовой клапан 416, 516. Первый трехходовой клапан 416 может представлять собой любой подходящий трехходовой клапан. Первый трехходовой клапан 416 может быть автоматическим или с ручным управлением. Первый трехходовой клапан 416 может быть с электрическим или пневматическим приводом. Пригодные первые трехходовые клапаны 416 включают, но без ограничения этим, шаровые клапаны. Например, подходящий первый трехходовой клапан 416 имеется в продаже на рынке от фирмы GF Piping Systems. В одном варианте исполнения первый трехходовой клапан 416 может представлять собой трехходовой шаровой клапан Georg Fischer типа 543 фирмы GF Piping Systems.

Насос 420, 520 может быть любым подходящим насосом. Пригодные насосы включают, но без ограничения этим, самовсасывающие насосы. Например, пригодный насос 420, 520 имеется в продаже на рынке от фирмы Ampco. В одном варианте исполнения насос 420, 520 может представлять собой самовсасывающий насос с мощностью от 3 до 5 лошадиных сил (2,2-3,7 кВт) фирмы MP Pumps.

Насос 420, 520 может быть изготовлен из любого коррозионно-стойкого материала. Насос 420, 520 может быть выполнен из любых подходящих коррозионно-стойких металлов или пластиков. Пригодные металлы включают, но без ограничения этим, чугун, нержавеющую сталь, супердуплексную нержавеющую сталь, сплав AL-6XN, сплав Ni-Al-Brz, сплав Hastelloy®, сплав Monel®, и их комбинации; и пригодные пластики включают, но без ограничения этим, хлорированные поливинилхлоридные (CPVC) полимеры, армированный стекловолокном пластик (FRP), поливинилиденфторидные (PVDF) полимеры Kynar®, полиэтиленовые полимеры, полипропиленовые полимеры, поливинилхлоридные (PVC) полимеры, перфторалкоксиполимеры (PFA) Teflon®, политетрафторэтиленовые (PTFE) полимеры Teflon®, и их комбинации. Например, насос 420, 520, включающий внутрение смачиваемые компоненты, может быть изготовлен из нержавеющей стали, супердуплексной нержавеющей стали, сплава AL-6XN, сплава Ni-Al-Brz, сплава Hastelloy®, сплава Monel®, или FRD. В одном варианте исполнения насос 420, 520, включающий внутренние смачиваемые компоненты, может быть изготовлен из супердуплексной нержавеющей стали. В одном варианте исполнения насос 420, 520 может быть выполнен из чугуна, если приемлем более короткий срок службы.

Трубопровод 418, 518 может быть выполнен из любой подходящей коррозионно-стойкой трубы. Трубопровод 418, 518 может представлять собой трубопровод из любого подходящего металла или пластика. Пригодные металлы включают, но без ограничения этим, углеродистую сталь с полимерным покрытием, нержавеющую сталь, супердуплексную нержавеющую сталь, сплав AL-6XN, сплав Ni-Al-Brz, сплав Hastelloy®, сплав Monel®, и их комбинации; и пригодные пластики включают, но без ограничения этим, хлорированные поливинилхлоридные (CPVC) полимеры, армированный стекловолокном пластик (FRP), поливинилиденфторидные (PVDF) полимеры Kynar®, полиэтиленовые полимеры, полипропиленовые полимеры, поливинилхлоридные (PVC) полимеры, перфторалкоксиполимеры (PFA) Teflon®, политетрафторэтиленовые (PTFE) полимеры Teflon®, и их комбинации. В одном варианте исполнения трубопровод 418, 518 может быть выполнен из углеродистой стали с полимерным покрытием. В одном варианте исполнения трубопровод 418, 518 может быть выполнен из углеродистой стали с полимерным покрытием из смолы Plasite 7159 HAR. В одном варианте исполнения трубопровод 418, 518 может быть выполнен из нержавеющей стали 316.

В одном варианте исполнения трубопровод 418, 518 может представлять собой 2-дюймовую трубу.

Выпуск насоса 420, 520 может быть соединен с впуском второго трехходового клапана 432, 532 трубопроводом(-ами) 422, 426, 522, 526. Первый выпуск второго трехходового клапана 432, 532 может быть соединен с коллектором 439, 539 трубопроводом 438, 538.

Первый выпуск воздуходувки 436' может быть соединен в сообщении по текучей среде с нагнетательным впуском коллектора 439, 539 напротив распылительного выпуска коллектора 439, 539, второй выпуск второй воздуходувки 436'' может быть соединен в сообщении по текучей среде со вторым нагнетательным впуском коллектора 439, 539 напротив второго распылительного выпуска коллектора 439, 539, и так далее.

В одном варианте исполнения каждый выпуск воздуходувки 436, 536 может быть соединен с соответствующим ему нагнетательным впуском коллектора 439, 539 трубопроводом. В одном варианте исполнения трубопровод может быть выполнен из нержавеющей стали 316. В одном варианте исполнения трубопровод может представлять собой 3/8-дюймовую трубу.

В одном варианте исполнения каждый распылительный выпуск трубопровода 438, 538 может быть соединен с впуском распылительного сопла 442 трубопроводом. В одном варианте исполнения каждый распылительный выпуск коллектора 439, 539 включает от около 4 до около 6 трубопроводов (смотри ФИГ. 5А-5В). В одном варианте исполнения трубопровод может представлять собой 3/8-дюймовую трубу.

В одном варианте исполнения система 400 может дополнительно включать второй трехходовой клапан 432, 532. Второй трехходовой клапан 432, 532 может представлять собой любой подходящий трехходовой клапан. Второй трехходовой клапан 432, 532 может быть автоматическим или с ручным управлением. Второй трехходовой клапан 432, 532 может быть с электрическим или пневматическим приводом. Пригодные трехходовые клапаны включают, но без ограничения этим, шаровые клапаны. Например, подходящий второй трехходовой клапан 432, 532 имеется в продаже на рынке от фирмы GF Piping Systems. В одном варианте исполнения второй трехходовой клапан 432, 532 может представлять собой трехходовой шаровой клапан Georg Fischer типа 543 фирмы GF Piping Systems. В одном варианте исполнения первый трехходовой клапан 416 и второй трехходовой клапан 432, 532 могут быть одного типа.

В одном варианте исполнения второй трехходовой клапан 432, 532 может иметь 2-дюймовые соединения.

Воздуходувки 436, 536 могут представлять собой любой нагнетатель воздуха. Воздуходувка 436, 536 может быть автоматической или с ручным управлением. Воздуходувки 436, 536 могут иметь электрический или гидравлический привод (смотри ФИГ. 4А-4С). Пригодные воздуходувки включают, но без ограничения этим, нагнетатели воздуха с переменной скоростью. Например, подходящие многочисленные воздуходувки 436, 536 имеются в продаже на рынке от фирмы Curtec. В одном варианте исполнения воздуходувка 436, 536 может представлять собой нагнетатель воздуха с переменной скоростью, способный приводить в движение от около 1000 до около 35000 CFM (28,3-991 м3) от фирмы Curtec. В одном варианте исполнения воздуходувка 436, 536 может представлять собой нагнетатель воздуха с переменной скоростью, способный приводить в движение от около 3000 до около 18000 CFM (85-510 м3) фирмы Curtec. В одном варианте исполнения может представлять собой нагнетатель воздуха с переменной скоростью, способный приводить в движение от около 15000 до около 35000 CFM (424,8-991 м3) фирмы Curtec.

Трубопровод 422, 426, 438, 522, 526, 538 может быть выполнен из любой подходящей коррозионно-стойкой трубы. Трубопровод 422, 426, 438, 522, 526, 538 может представлять собой трубопровод из любых подходящих коррозионно-стойких металлов или пластиков. Пригодные металлы включают, но без ограничения этим, углеродистую сталь с полимерным покрытием, нержавеющую сталь, супердуплексную нержавеющую сталь, сплав AL-6XN, сплав Ni-Al-Brz, сплав Hastelloy®, сплав Monel®, и их комбинации; и пригодные пластики включают, но без ограничения этим, хлорированные поливинилхлоридные (CPVC) полимеры, армированный стекловолокном пластик (FRP), поливинилиденфторидные (PVDF) полимеры Kynar®, полиэтиленовые полимеры, полипропиленовые полимеры, поливинилхлоридные (PVC) полимеры, перфторалкоксиполимеры (PFA) Teflon®, политетрафторэтиленовые (PTFE) полимеры Teflon®, и их комбинации. В одном варианте исполнения трубопровод 422, 426, 438, 522, 526, 538 может быть выполнен из углеродистой стали с полимерным покрытием. В одном варианте исполнения трубопровод 422, 426, 438, 522, 526, 538 может быть выполнен из углеродистой стали с полимерным покрытием из смолы Plasite 7159 HAR. В одном варианте исполнения трубопровод 422, 426, 438, 522, 526, 538 может быть выполнен из нержавеющей стали 316.

В одном варианте исполнения трубопровод 422, 426, 438, 522, 526, 538 может представлять собой 2-дюймовую трубу.

Выпуск воздуходувки 436, 536 может быть соединен с впуском распылительного сопла 442 через коллектор 439, 539, как обсуждалось выше. Выпуск распылительного сопла 442 выводит водяные капли внутрь контейнера 444, 544. Верхняя часть, или верхняя сторона, контейнера 444, 544 заключена в каплеуловительный элемент 448, 548, чтобы удерживать водяные капли внутри контейнера 444, 544. Каплеуловительный элемент 448, 548 закреплен на контейнере 444, 544 и опирается на него обычным в технологии образом. В одном варианте исполнения отношение воды к воздуху может быть в диапазоне от около 15 (56,7 л) GPM/около 150000 (4247 м3) CFM до около 100 GPM (378,5 л)/60000 CFM (1699 м3) (и в любом диапазоне или значении между ними). В одном варианте исполнения отношение воды к воздуху может быть в диапазоне от около 16 (60,6 л) GPM/около 127000 (3596 м3) CFM.

По меньшей мере некоторые из водяных капель испаряются с образованием водяного пара. Водяной пар проходит через каплеуловительный элемент 448, 548 и наружу через выпуск 450 для испаренной воды. Каплеуловительный элемент 448, 548 задерживает любую неиспаренную воду, которая падает в отстойник (дно) контейнера 444, 544.

Распылительное сопло 442 может быть любым подходящим распылительным соплом. Пригодные распылительные сопла включают, но без ограничения этим, вращающиеся распылители. Например, пригодное распылительное сопло 442 имеется в продаже на рынке от фирмы Ledebuhr Industries. В одном варианте исполнения распылительное сопло 442 может представлять собой вращающийся распылитель с переменной скоростью фирмы Ledebuhr Industries. В одном варианте исполнения вращающийся распылитель может быть способен обеспечивать высокий расход потока. В одном варианте исполнения вращающийся распылитель имеет многочисленные распылительные головки. В одном варианте исполнения вращающийся распылитель может быть способен выводить около 8 галлонов в минуту (30,3 л/мин) (GPM) потока в расчете на одну распылительную головку. В одном варианте исполнения вращающийся распылитель создает водяные капли с размером от около 50 мкм до около 300 мкм. В одном варианте исполнения вращающийся распылитель может создавать водяные капли с размером от около 50 мкм до около 150 мкм. В одном варианте исполнения распылительные головки размещены в точке выпуска воздуходувки. В альтернативном варианте распылительные головки позиционированы внутри контейнера.

Распылительное сопло 442 может может быть выполнено из любого подходящего коррозионно-стойкого материала. Распылительное сопло 442 может быть сформировано из любых подходящих коррозионно-стойких металлов. Пригодные металлы включают, но без ограничения этим, нержавеющую сталь, сплав Hastelloy®, сплав Monel®, и их комбинации. В одном варианте исполнения распылительное сопло 442 (распылительная головка) может быть изготовлено из нержавеющей стали 316.

Контейнер 444, 544 может представлять собой любой подходящий контейнер. Контейнер 444, 544 может быть передвижным, или он может быть стационарным. Подходящие контейнеры включают, но без ограничения этим, секционные контейнеры (смотри ФИГ. 5А-5С). Например, подходящий контейнер 444, 544 имеется в продаже на рынке от фирмы PCI Manufacturing, LLC. В одном варианте исполнения контейнер 444, 544 может представлять собой OPT FRAC, 500BBL, S/E, CIRC Line секционный контейнер фирмы PCI Manufacturing, LLC.

В альтернативном варианте, контейнер 444, 544 может быть изготовлен из любого подходящего коррозионно-стойкого материала. Контейнер 444, 544 может быть изготовлен из покрытых металлов, коррозионно-стойких металлов или пластиков. Пригодные покрытые металлы включают, но без ограничения этим, углеродистую сталь с покрытием из пластика; пригодные коррозионно-стойкие металлы включают, но без ограничения этим, нержавеющую сталь, сплав Hastelloy®, сплав Monel®, и их комбинации; и подходящие пластики включают, но без ограничения этим, полиэтилен, полипропилен, поливинилхлорид (PVC), и их комбинации. В одном варианте исполнения контейнер 444, 544 может быть выполнен из углеродистой стали с покрытием из пластика. В одном варианте исполнения контейнер 444, 544 может быть выполнен из углеродистой стали с покрытием из смолы Plasite 7159 HAR.

Контейнер 444, 544 может иметь любую подходящую форму. Пригодные формы включают, но без ограничения этим, цилиндрическую, кубическую, форму параллелепипеда, призматическую, пирамидальную, сферическую формы, и их комбинации. В одном варианте исполнения контейнер 444, 544 может иметь приблизительно форму параллелепипеда.

Каплеуловительный элемент 448, 548 может представлять собой любой подходящий каплеуловительный элемент. Каплеуловительный элемент 448, 548 может быть выполнен из любого подходящего коррозионно-стойкого материала. Каплеуловительный элемент 448, 548 может быть изготовлен из любых подходящих коррозионно-стойких металлов или пластиков. Каплеуловительный элемент 448, 548 может быть сформирован из металлической или полимерной сетки или из направляющих пластин шевронного типа с извилистой траекторией течения. Пригодная металлическая сетка включает, но без ограничения этим, нержавеющую сталь, сплав Hastelloy®, сплав Monel®, и их комбинации; подходящая полимерная сетка включает, но без ограничения этим, хлорированные поливинилхлоридные (CPVC) полимеры, армированный стекловолокном пластик (FRP), поливинилиденфторидные (PVDF) полимеры Kynar®, полиэтиленовые полимеры, полипропиленовые полимеры, поливинилхлоридные (PVC) полимеры, перфторалкоксиполимеры (PFA) Teflon®, политетрафторэтиленовые (PTFE) полимеры Teflon®, и их комбинации; и пригодные пластины шевронного типа включают, но без ограничения этим, полиэтилен, полипропилен, поливинилхлорид (PVC), нержавеющую сталь, перфторалкоксиполимеры (PFA) Teflon®, политетрафторэтиленовые (PTFE) полимеры Teflon®. В одном варианте исполнения каплеуловительный элемент 448, 548 может быть выполнен из нержавеющей стали 316.

Каплеуловительный элемент 448, 548 может иметь любую подходящую форму для размещения в нем верхней части и/или боковой части контейнера 444, 544. Пригодные формы включают, но без ограничения этим, цилиндрическую, кубическую, форму параллелепипеда, призматическую, пирамидальную, сферическую формы, и их части и комбинации. В одном варианте исполнения каплеуловительный элемент 448, 548 может иметь форму параллелепипеда с шириной около 4 футов и длиной около 8 футов (1,2-2,4 м) с толщиной от около 3 дюймов до около 12 дюймов (76,2-304,8 мм) (и в любом диапазоне или значении между ними). В одном варианте исполнения каплеуловительный элемент 448, 548 может иметь форму параллелепипеда с шириной около 4 футов и длиной около 8 футов (1,2-2,4 м) с толщиной от около 4 дюймов до около 6 дюймов (101,6-152,4 мм). Как показано в ФИГ. 4, каплеуловительный элемент 448, 548 образует верхнюю часть контейнера 444, 544 с формой параллелепипеда.

Выпуск 450 для испаренной воды включает многочисленные выпускные поры (не показаны) в каплеуловительном элементе 448, 548.

Рециркуляционная и разгрузочная система

Дно контейнера 444, 544 может быть соединено со вторым впуском первого трехходового клапана 416 трубопроводом 452, 552. Выпуск первого трехходового клапана 416 может быть соединен с впуском насоса трубопроводом 418, 518. Выпуск насоса 420, 520 может быть соединен с впуском второго трехходового клапана 432, 532 трубопроводом(-ами) 422, 426, 522, 526. Второй выпуск второго второго трехходового клапана 432, 532 может быть соединен с разгрузочным выпуском 458, 558 трубопроводом 454, 554.

Разгрузочный выпуск 458, 558 может быть любым подходящим выпуском, который который может действовать до давления около 40 psi (0,28 МПа). Подходящие разгрузочные выпуски включают, но без ограничения этим, фланцевые соединения, эксцентриковые запоры и быстроразъемные соединения с накидной гайкой. В одном варианте исполнения разгрузочный выпуск 458, 558 представляет собой фланцевое соединение (смотри ФИГ. 5A-5D). Разгрузочный выпуск 458, 558 обеспечивает соединение с внешним резервуаром для хранения отходов (например, цистерной, грузовиком, бассейном). Разгрузочный выпуск 458, 558 может быть соединен с внешним резервуаром для хранения отходов шлангом, трубой или другим средством, обычно применяемым в технологии.

Резервные воздуходувки, распылительная система и система улавливания тумана

В одном варианте исполнения система 400, 500 может дополнительно включать систему 434, 534 нагнетания воздуха, распылительную систему 440, 540, и систему 446, 546 улавливания тумана. Система 434, 534 нагнетания воздуха включает многочисленные воздуходувки 436', 436'', распылительная система 440 включает многочисленные распылительные сопла 442', 442'', и система 446 улавливания тумана включает многочисленные каплеуловительные элементы 448', 448'', и контейнер 444, 544.

Первый выпуск первой воздуходувки 436' может находиться в сообщении по текучей среде с первым нагнетательным впуском коллектора 439, 539, напротив первого распылительного выпуска коллектора 439, 539; и второй выпуск второй воздуходувки 436'' может быть соединен в сообщении по текучей среде со вторым нагнетательным впуском коллектора 439, 539, напротив второго распылительного выпуска коллектора 439, 539, и так далее.

В одном варианте исполнения каждый выпуск многочисленных воздуходувок 436', 436'' может быть соединен с соответствующим ему нагнетательным впуском коллектора 439, 539 трубопроводом. В одном варианте исполнения трубопровод может быть выполнен из нержавеющей стали 316. В одном варианте исполнения трубопровод может представлять собой 3/8-дюймовую трубу.

В одном варианте исполнения система 534 нагнетания воздуха может дополнительно включать систему 586 нагревания воздуха. Система 586 нагревания воздуха включает воздушный приточный канал 588 и нагреватель 587 (смотри ФИГ. 5С). В одном варианте исполнения система 586 нагревания воздуха может дополнительно включать первый термометр 590 для измерения температуры поступающего воздуха и/или второй термометр 592 для измерения температуры выходящего воздуха (смотри ФИГ. 5В-5С).

В одном варианте исполнения каждый распылительный выпуск коллектора 439, 539 может быть соединен с соответствующим ему впуском распылительного сопла 442 трубопроводом. В одном варианте исполнения распылительный выпуск коллектора 439, 539 включает от около 4 до около 6 труб (смотри ФИГ. 5А-5В). В одном варианте исполнения трубопровод может быть выполнен из нержавеющей стали 316. В одном варианте исполнения трубопровод может представлять собой 3/8-дюймовую трубу.

Выпуски многочисленных распылительных сопел 442', 442'' выводят водяные капли внутрь контейнера 444, 544. Верхняя часть, или верхняя сторона, контейнера 444, 544 заключена в многочисленные каплеуловительные элементы 448', 448'', чтобы удерживать водяные капли внутри контейнера 444, 544. Многочисленные каплеуловительные элементы 448', 448'' закреплены на контейнере 444, 544 и опираются на него обычным в технологии образом.

По меньшей мере некоторые из водяных капель испаряются с образованием водяного пара. Водяной пар проходит через поры многочисленных каплеуловительных элементов 448', 448'', и выходит через выпуск 450 для испаренной воды. Любая неиспаренная вода задерживается многочисленными каплеуловительными элементами 448', 448'', и падает в отстойник (дно) контейнера 444, 544.

Выпуск 450 для испаренной воды включает многочисленные выпускные поры (не показаны) в многочисленных каплеуловительных элементах 448', 448''.

Многочисленные воздуходувки 436', 436'' могут представлять собой любые подходящие воздуходувки. Многочисленные воздуходувки 436', 436'' могут быть автоматическими или с ручным управлением. Многочисленные воздуходувки 436', 436'' могут иметь электрический или гидравлический привод (смотри ФИГ. 4А-4С). Пригодные воздуходувки включают, но без ограничения этим, нагнетатели воздуха с переменной скоростью. Например, подходящие многочисленные воздуходувки 436', 436'' имеются в продаже на рынке от фирмы Curtec. В одном варианте исполнения многочисленные воздуходувки 436', 436'' могут представлять собой нагнетатели воздуха с переменной скоростью, способные приводить в движение от около 1000 до около 6000 CFM (28,3-170 м3) на каждую воздуходувку фирмы Curtec. В одном варианте исполнения многочисленные воздуходувки 436', 436'' могут представлять собой нагнетатели воздуха с переменной скоростью, способные приводить в движение в целом от около 1000 до около 35000 CFM (28,3-991 м3) от фирмы Curtec. В одном варианте исполнения многочисленные воздуходувки 436', 436'' могут представлять собой нагнетатели воздуха с переменной скоростью, способные приводить в движение в целом от около 3000 до около 18000 CFM (85-510 м3) от фирмы Curtec. В одном варианте исполнения многочисленные воздуходувки 436', 436'' могут представлять собой нагнетатели воздуха с переменной скоростью, способные приводить в движение в целом от около 15000 до около 35000 CFM (425-991 м3) от фирмы Curtec.

Многочисленные распылительные сопла 442', 442'' могут быть любыми подходящими распылительными соплами. Пригодные многочисленные распылительные сопла включают, но без ограничения этим, вращающиеся распылители. Например, пригодные многочисленные распылительные сопла 442', 442'' имеются в продаже на рынке от фирмы Ledebuhr Industries. В одном варианте исполнения многочисленные распылительные сопла 442', 442'' представляют собой вращающиеся распылители с переменной скоростью от фирмы Ledebuhr Industries. В одном варианте исполнения вращающиеся распылители могут быть способны обеспечивать высокий расход потока. В одном варианте исполнения вращающиеся распылители имеют многочисленные распылительные головки. В одном варианте исполнения вращающиеся распылители могут быть способны выводить около 8 GPM (30,3 л/мин) потока в расчете на одну распылительную головку. В одном варианте исполнения распылительные головки размещены в точке выпуска воздуходувки. В альтернативном варианте распылительные головки позиционированы внутри контейнера.

Многочисленные распылительные сопла 442', 442'' могут быть выполнены из любого подходящего коррозионно-стойкого материала. Многочисленные распылительные сопла 442', 442'' могут быть сформированы из любых подходящих коррозионно-стойких металлов. Пригодные коррозионно-стойкие металлы включают, но без ограничения этим, нержавеющую сталь, сплав Hastelloy®, сплав Monel®, и их комбинации. В одном варианте исполнения многочисленные распылительные сопла 442', 442'' (распылительные головки) могут быть изготовлены из нержавеющей стали 316.

Многочисленные каплеуловительные элементы 448', 448'' могут представлять собой любые подходящие каплеуловительные элементы. Многочисленные каплеуловительные элементы 448', 448'' могут быть выполнены из любого подходящего коррозионно-стойкого материала. Многочисленные каплеуловительные элементы 448', 448'' могут быть изготовлены из металлической или полимерной сетки или из направляющих пластин шевронного типа с извилистой траекторией течения. Пригодная металлическая сетка включает, но без ограничения этим, нержавеющую сталь, сплав Hastelloy®, сплав Monel®, и их комбинации; подходящая полимерная сетка включает, но без ограничения этим, хлорированные поливинилхлоридные (CPVC) полимеры, армированный стекловолокном пластик (FRP), поливинилиденфторидные (PVDF) полимеры Kynar®, полиэтиленовые полимеры, полипропиленовые полимеры, поливинилхлоридные (PVC) полимеры, перфторалкоксиполимеры (PFA) Teflon®, политетрафторэтиленовые (PTFE) полимеры Teflon®, и их комбинации; и пригодные пластины шевронного типа включают, но без ограничения этим, полиэтилен, полипропилен, поливинилхлорид (PVC), нержавеющую сталь, перфторалкоксиполимеры (PFA) Teflon®, политетрафторэтиленовые (PTFE) полимеры Teflon®. В одном варианте исполнения многочисленные каплеуловительные элементы 448', 448'' могут быть сформирован из нержавеющей стали 316.

В одном варианте исполнения каплеуловительный элемент 448, 548 может иметь толщину от около 4 дюймов до около 12 дюймов (101,6-304,8 мм) (и в любом диапазоне или значении между ними). В одном варианте исполнения каплеуловительный элемент 448, 548 может иметь толщину от около 4 дюймов до около 6 дюймов (101,6-152,4 мм). В одном варианте исполнения каплеуловительный элемент 448, 548 может иметь ширину около 4 футов () и длину около 8 футов (2,4-4,8 м).

Необязательные отсечные клапаны

В одном варианте исполнения система 400, 500 может дополнительно включать необязательный отсечной клапан 406, 506 и необязательный разгрузочный отсечной клапан (не показан). Отсечной клапан 406, 506 размещен в трубопроводе 408, 508, соединяющем водяной впуск 404, 504 с первым впуском первого трехходового клапана 416. Необязательный разгрузочный отсечной клапан размещен в трубопроводе 454, 554, соединяющем выпуск второго трехходового клапана 432, 532 с разгрузочным выпуском 458, 558.

Отсечной клапан 406, 506 и разгрузочный отсечной клапан могут представлять собой любой подходящий отсечной клапан. Отсечной клапан 406, 506 и необязательный разгрузочный отсечной клапан могут быть автоматическими или с ручным управлением. Пригодные отсечные клапаны включают, но без ограничения этим, шаровые клапаны и дроссельные поворотные заслонки. Например, пригодный отсечной клапан 406, 506 имеется в продаже на рынке от фирмы GF Piping Systems. В одном варианте исполнения отсечной клапан 406, 506 может представлять собой дроссельную поворотную заслонку фирмы Georg Fischer Type 563.

В одном варианте исполнения отсечной клапан 406, 506 может иметь 2-дюймовые соединения.

Отсечной клапан 406, 506 и необязательный разгрузочный отсечной клапан могут быть изготовлены из любого подходящего коррозионно-стойкого материала. Отсечной клапан 406, 506 и необязательный разгрузочный отсечной клапан могут быть сформированы из любых подходящих коррозионно-стойких металлов или пластиков. Пригодные металлы включают, но без ограничения этим, углеродистую сталь с полимерным покрытием, нержавеющую сталь, сплав Hastelloy®, сплав Monel®, и их комбинации; и пригодные пластики включают, но без ограничения этим, каучук на основе этилен-пропилен-диенового мономера (EPDM), поливинилхлорид (PVC), и их комбинации. В одном варианте исполнения отсечной клапан 406, 506 (смачиваемые компоненты) может быть выполнен из поливинилхлорида (PVC) и каучука на основе этилен-пропилен-диенового мономера (EPDM).

Необязательный грубый фильтр на конце всасывающего шланга

В одном варианте исполнения система 400, 500 может дополнительно включать грубый фильтр 424, 524 на конце всасывающего шланга и необязательный датчик 425, 525 давления. Впуск грубого фильтра 424, 524 может быть соединен в сообщении по текучей среде с выпуском трубопровода 422, 522, и выпуск грубого фильтра 424, 524 может быть в сообщении по текучей среде с впуском трубопровода 426, 526. В одном варианте исполнения первый датчик 425 давления может быть соединен в сообщении по текучей среде либо с трубопроводом 422, 522, либо с впуском грубого фильтра 424, 524. Грубый фильтр 424, 524 на конце всасывающего шланга задерживает обломки в подаваемой воде, чтобы предотвращать засорение распылительных сопел 442.

Грубый фильтр 424, 524 на конце всасывающего шланга может представлять собой любой грубый фильтр. Пригодный грубый фильтр 424, 524 включает, но без ограничения этим, 1/16-дюймовые перфорированные сита, содержащиеся внутри простого или двойного корпуса. Например, пригодный грубый фильтр 124 имеется в продаже на рынке от фирмы Hayward или Rosedale. В одном варианте исполнения грубый фильтр 424, 524 может представлять собой 1/16-дюймовое перфорированное сито от фирмы Hayward или Rosedale.

Грубый фильтр 424, 524 на конце всасывающего шланга может быть выполнен из любого подходящего коррозионно-стойкого материала. Грубый фильтр 424, 524 может представлять собой любой подходящий грубый фильтр из любого подходящего коррозионно-стойкого металла или пластика. Пригодные металлы включают, но без ограничения этим, нержавеющую сталь, сплав Hastelloy®, сплав Monel®, и их комбинации; и пригодные пластики включают, но без ограничения этим, хлорированные поливинилхлоридные (CPVC) полимеры, поливинилиденфторидные (PVDF) полимеры Kynar®, поливинилхлоридные (PVC) полимеры, перфторалкоксиполимеры (PFA) Teflon®, политетрафторэтиленовые (PTFE) полимеры Teflon®, и их комбинации. В одном варианте исполнения грубый фильтр 424, 524 на конце всасывающего шланга (сито) может быть изготовлен из нержавеющей стали 316.

Необязательный датчик 425 давления может представлять собой любой подходящий датчик давления. Например, пригодный датчик 425 давления имеется в продаже на рынке от фирмы Rosemount, Inc. В одном варианте исполнения датчик 425 давления может представлять собой бесшкальный манометр Rosemount 2088 абсолютного и манометрического давления от фирмы Rosemount, Inc.

Необязательные датчики и измерительные приборы

В одном варианте исполнения система 400, 500 может дополнительно включать первый измеритель 410, 510 удельной электропроводности, первый расходомер 412, 512, и/или гигрометр 414, 514. Первый измеритель 410, 510 удельной электропроводности и первый расходомер 412, 512 могут быть соединены в сообщении по текучей среде с трубопроводом 408, 508. Первый измеритель 410, 510 удельной электропроводности отслеживает удельную электропроводность на впускном канале сточной воды из внешнего источника сточной воды; и первый расходомер 412, 512 измеряет величину расхода потока на впускном канале для сточной воды или водного конденсата.

Первый измеритель 410, 510 удельной электропроводности может быть любым подходящим кондуктометром. Например, пригодный первый измеритель 410, 510 удельной электропроводности имеется в продаже на рынке от фирмы Mettler-Toledo AG или Advanced Sensor Technologies, Inc. (ASTI). В одном варианте исполнения первый измеритель 410, 510 электропроводности может представлять собой датчик удельной электропроводности InPro 7100 Series Conductivity Sensor фирмы Mettler-Toledo AG, электрически соединенный с многопараметрическим преобразователем M400 фирмы Mettler-Toledo AG. В одном варианте исполнения первый измеритель 410, 510 удельной электропроводности может представлять собой тороидальный датчик проводимости модели ASTX-37PP-PT1000-20-TL-1056 фирмы ASTI, электрически соединенный с двухканальным преобразователем модели 1056-01-21-32-AN фирмы ASTI.

Гигрометр 414 открыт по текучей среде к окружающему воздуху вблизи системы 400. Гигрометр 414 измеряет барометрическое давление, относительную влажность и температуру окружающего воздуха вблизи системы 400.

Гигрометр 414 может быть любым подходящим гигрометром. Например, пригодный гигрометр имеется в продаже на рынке от фирмы Yankee Environmental Systems, Inc. В одном варианте исполнения гигрометр 414 может представлять собой метрологический термогигрометр модели PTU-2000 фирмы Yankee Environmental Systems, Inc.

Первый расходомер 412, 512 может быть любым подходящим расходомером. Пригодные первые расходомеры включают, но без ограничения этим, магнитные расходомеры, расходомеры турбинного типа, ультразвуковые вихревые и вихревые расходомеры вставляемого типа. Например, подходящий первый расходомер 412, 512 имеется в продаже на рынке от фирмы Mettler-Toledo Thornton, Inc. В одном варианте исполнения первый расходомер 412, 512 может представлять собой модель 8030 фирмы Mettler-Toledo Thornton, Inc., электрически соединенный с многопараметрическим преобразователем M400 фирмы Mettler-Toledo AG.

В одном варианте исполнения система 400, 500 может дополнительно включать второй измеритель 428, 528 удельной электропроводности и рН-метр 430, 530. Второй измеритель 428, 528 удельной электропроводности может быть соединен в сообщении по текучей среде с трубопроводом 426, 526; и рН-метр 430, 530 может быть соединен в сообщении по текучей среде с трубопроводом 426, 526. Второй измеритель 428, 528 удельной электропроводности отслеживает удельную электропроводность сточной воды, и рН-метр 430, 530 измеряет значение рН сточной воды.

Второй измеритель 428, 528 удельной электропроводности может быть любым подходящим кондуктометром. Например, пригодный второй измеритель 428, 528 удельной электропроводности имеется в продаже на рынке от фирмы Mettler-Toledo AG или Advanced Sensor Technologies, Inc. (ASTI). В одном варианте исполнения второй измеритель 428, 528 удельной электропроводности может представлять собой датчик удельной электропроводности серии InPro 7100 от фирмы Mettler-Toledo AG, электрически соединенный с многопараметрическим преобразователем M400 фирмы Mettler-Toledo AG. В одном варианте исполнения первый измеритель 410, 510 удельной электропроводности может представлять собой тороидальный датчик проводимости модели Model ASTX-37PP-PT1000-20-TL-1056 фирмы ASTI, электрически соединенный с двухканальным преобразователем модели 1056-01-21-32-AN фирмы ASTI. В одном варианте исполнения первый измеритель 410, 510 электропроводности и второй измеритель 428, 528 удельной электропроводности могут быть одного и того же типа.

рН-Метр 430 может быть любым подходящим рН-метром. Например, пригодный рН-метр 430 имеется в продаже на рынке от фирмы Mettler-Toledo AG или Advanced Sensor Technologies, Inc. (ASTI). В одном варианте исполнения рН-метр 430 может представлять собой нестеклянный рН-электрод InPro 3300 для систем измерения pH фирмы Mettler-Toledo AG, электрически соединенный с многопараметрическим преобразователем M400 фирмы Mettler-Toledo AG. В одном варианте исполнения рН-метр 430 может представлять собой устойчивый в насыщенном рассоле погружной рН-сенсор модели PNGR 8951-1000-20-TL-WPB фирмы ASTI, электрически соединенный с двухканальным преобразователем модели 1056-01-21-32-AN Dual Channel Transmitter фирмы ASTI.

В одном варианте исполнения система 400 может дополнительно включать датчик 445 перепада давления. Датчик 445 перепада давления измеряет падение давления на протяжении каплеуловительного элемента 448, 548, или многочисленных каплеуловительных элементов 448', 448''.

Датчик 445 перепада давления может быть любым подходящим датчиком 445 перепада давления. Например, подходящий датчик 445 перепада давления имеется в продаже на рынке от фирмы Dwyer Instruments Inc. В одном варианте исполнения датчик 445 перепада давления может представлять собой фотогелический датчик перепада давления серии 3000 фирмы Dwyer Instruments Inc.

В одном варианте исполнения система 400, 500 может дополнительно включать второй расходомер 456, 556. Второй расходомер 456, 556 может быть соединен в сообщении по текучей среде с трубопроводом 454, 554. Второй расходомер 456, 556 измеряет величину расхода потока выводимых отходов.

Второй расходомер 456, 556 может быть любым подходящим расходомером. Пригодные вторые расходомеры 456, 556 включают, но без ограничения этим, магнитные расходомеры, расходомеры турбинного типа, ультразвуковые вихревые и вихревые расходомеры вставляемого типа. Например, подходящий второй расходомер 456, 556 имеется в продаже на рынке от фирмы Mettler-Toledo Thornton, Inc. В одном варианте исполнения второй расходомер 456, 556 может представлять собой модель 8030 фирмы Mettler-Toledo Thornton, Inc., электрически соединенный с многопараметрическим преобразователем M400 фирмы Mettler-Toledo AG.

Необязательные реле предельного уровня

В одном варианте исполнения система 400 может дополнительно включать реле высокого уровня воды (не показано) и/или реле низкого уровня воды (не показано).

Реле высокого уровня воды и реле низкого уровня воды могут быть любыми подходящими реле уровня воды. Например, реле высокого уровня воды и реле низкого уровня воды имеются в продаже на рынке от фирмы Magnetrol International Inc. В одном варианте исполнения реле высокого уровня воды и реле низкого уровня воды представляют собой реле уровня жидкости C24, C25 для кипятильников и водомерных колонок фирмы Magnetrol International Inc.

Необязательная система кислотного кондиционирования

В одном варианте исполнения система 400 может дополнительно включать систему 460 кислотного кондиционирования. Система 460 кислотного кондиционирования включает хранилище 462 запаса кислоты и дозирующий кислоту насос 466.

Кислота может быть любой подходящей кислотой. Пригодные кислоты включают, но без ограничения этим, соляную кислоту и серную кислоту. В одном варианте исполнения кислота может быть соляной кислотой (20 градусов Боме). В одном варианте исполнения кислота может представлять собой серную кислоту (98%-ную). В одном варианте исполнения желательное значение рН сточной воды составляет около 6,5 или ниже, для минимизации отложений карбоната кальция. В одном варианте исполнения количество добавляемого кислотного раствора варьирует в зависимости от состояния поступающей воды (например, рН, щелочности).

Выпуск хранилища 462 запаса кислоты может быть соединен в сообщении по текучей среде с впуском дозирующего кислоту насоса 466 через трубопровод 464; и выпуск дозирующего кислоту насоса 466 может находиться в сообщении по текучей среде с с трубопроводом 422, 522 по трубопроводу 472.

Хранилище 462 запаса кислоты может быть любым подходящим хранилищем запаса кислоты или другим объемным хранилищем химиката. Пригодные хранилища запаса кислоты включают, но без ограничения этим, промышленный стандартный транспортный контейнер. Например, подходящее хранилище 462 запаса кислоты имеется в продаже на рынке от фирмы National Tank Outlet. В одном варианте исполнения хранилище 462 запаса кислоты может представлять собой промышленный стандартный транспортный контейнер емкостью 275 галлонов или 330 галлонов (1040 или 1249 л).

Дозирующий кислоту насос 466 может быть любым подходящим насосом для дозирования кислоты. Пригодные дозирующие кислоту насосы включают, но без ограничения этим, перистальтические насосы. Например, подходящий дозирующий кислоту насос 466 имеется в продаже на рынке от фирм Blue-White Industries, Inc., Cole Palmer Instrument Company и Watson Marlow. В одном варианте исполнения дозирующий кислоту насос 466 может представлять собой самовсасывающий перистальтический насос фирмы Anko Products, Inc. В одном варианте исполнения дозирующий кислоту насос 180 может представлять собой самовсасывающий перистальтический насос фирмы Blue-White Industries, Inc.

Трубопровод 464, 472 может быть изготовлен из любой подходящей коррозионно-стойкой трубы. Трубопровод 464, 472 может быть из любых подходящих коррозионно-стойких металлов или пластиков. Пригодные металлы включают, но без ограничения этим, сплав AL-6XN, сплав Hastelloy®, сплав Monel®, и их комбинации; и пригодные пластики включают, но без ограничения этим, хлорированные поливинилхлоридные (CPVC) полимеры, армированный стекловолокном пластик (FRP), поливинилиденфторидные (PVDF) полимеры Kynar®, полиэтиленовые полимеры, полипропиленовые полимеры, поливинилхлоридные (PVC) полимеры, перфторалкоксиполимеры (PFA) Teflon®, политетрафторэтиленовые (PTFE) полимеры Teflon®, и их комбинации. Например, подходящий трубопровод 464, 472 может быть изготовлен из тефлона Teflon® PFA или PTFE.

В одном варианте исполнения система 460 кислотного кондиционирования может дополнительно включать расходомер 470 кислоты. Расходомер 470 кислоты может быть соединен в сообщении по текучей среде с трубопроводом 472. Расходомер 470 кислоты измеряет величину расхода потока раствора кислоты.

Расходомер 470 кислоты может быть любым подходящим расходомером. Пригодные расходомеры кислоты включают, но без ограничения этим, расходомеры турбинного типа, ультразвуковые вихревые и вихревые расходомеры вставляемого типа. Например, подходящий расходомер 470 кислоты имеется в продаже на рынке от фирмы ProMinent. В одном варианте исполнения расходомер 470 кислоты может представлять собой модель DulcoFlow DFMa фирмы ProMinent со встроенной функцией передачи сигнала.

Необязательная система бактерицидного кондиционирования

В одном варианте исполнения система 400 может дополнительно включать систему 474 бактерицидного кондиционирования. Система 474 бактерицидного кондиционирования включает контейнер 476 для бактерицида и насос 480 для дозирования бактерицида.

Бактерицид может быть любым подходящим бактерицидом. Пригодный бактерицид включает, но без ограничения этим, белильную хлорную известь, бром, диоксид хлора (генерируемый), 2,2-дибром-3-нитрилопропионамид (DBNPA), глутаровый альдегид, изотиазолин (1,5%) и озон (генерируемый). В одном варианте исполнения бактерицид может быть выбран из группы, состоящей из белильной хлорной извести (12,5%), брома, диоксида хлора (генерируемого), DBNPA (20%), глутарового альдегида (50%), изотиазолина (1,5%) и озона (генерируемого). В одном варианте исполнения желательная концентрация бактерицида составляет от около 10 млн-1 до около 1000 млн-1 (и в любом диапазоне или значении между ними). Количество раствора бактерицида, добавляемого к сточной воде, варьирует в зависимости от условий поступающей воды.

Выпуск контейнера 476 для бактерицида может находиться в сообщении по текучей среде с впуском насоса 480 для дозирования бактерицида по трубопроводу 478; и выпуск насоса 480 для дозирования бактерицида может быть соединен в сообщении по текучей среде с трубопроводом 422, 522 по трубопроводу 482.

Контейнер 476 для бактерицида может быть любым подходящим резервуаром для хранения бактерицида, или иным объемным хранилищем химиката. Пригодные контейнеры для бактерицида включают, но без ограничения этим, промышленный стандартный транспортный контейнер. Например, подходящий контейнер 476 для бактерицида имеется в продаже на рынке от фирмы National Tank Outlet. В одном варианте исполнения контейнер 476 для бактерицида может представлять собой промышленный стандартный транспортный контейнер емкостью 275 галлонов или 330 галлонов (1040 или 1249 л).

В одном альтернативном варианте исполнения контейнер 476 для бактерицида может быть заменен подходящим устройством для генерирования бактерицида (не показано). Например, подходящее бактерицидное устройство имеется в продаже на рынке от фирмы Miox Corporation. В одном варианте исполнения устройство для генерирования бактерицида (не показано) может представлять собой генератор Model AE-8 фирмы Miox Corporation.

Насос 480 для дозирования бактерицида может быть любым подходящим насосом для дозирования бактерицида. Пригодные насосы для дозирования бактерицида включают, но без ограничения этим, перистальтические насосы. Например, подходящий насос 480 для дозирования бактерицида имеется в продаже на рынке от фирмы Blue-White Industries, Inc., Cole Palmer Instrument Company и Watson Marlow. В одном варианте исполнения насос 480 для дозирования бактерицида может представлять собой самовсасывающий перистальтический насос фирмы Blue-White Industries, Inc.

Трубопровод 478, 482 может быть изготовлен из любой подходящей коррозионно-стойкой трубы. Трубопровод 478, 482 может быть из любого подходящего коррозионно-стойкого металла или пластика. Пригодные металлы включают, но без ограничения этим, сплав AL-6XN, сплав Hastelloy®, сплав Monel®, и их комбинации; и пригодные пластики включают, но без ограничения этим, хлорированные поливинилхлоридные (CPVC) полимеры, армированный стекловолокном пластик (FRP), поливинилиденфторидные (PVDF) полимеры Kynar®, полиэтиленовые полимеры, полипропиленовые полимеры, поливинилхлоридные (PVC) полимеры, перфторалкоксиполимеры (PFA) Teflon®, политетрафторэтиленовые (PTFE) полимеры Teflon®, и их комбинации. В одном варианте исполнения трубопровод 478, 482 может быть изготовлен из тефлона Teflon® PFA или PTFE.

В одном варианте исполнения система 474 бактерицидного кондиционирования может дополнительно включать необязательный расходомер 484 бактерицида. Расходомер 484 бактерицида может быть соединен в сообщении по текучей среде с трубопроводом 482. Расходомер 484 бактерицида измеряет величину расхода потока раствора бактерицида.

Расходомер 484 бактерицида может быть любым подходящим расходомером. Пригодные расходомеры бактерицида включают, но без ограничения этим, расходомеры турбинного типа, ультразвуковые вихревые и вихревые расходомеры вставляемого типа. Например, подходящий расходомер 484 бактерицида имеется в продаже на рынке от фирмы ProMinent. В одном варианте исполнения расходомер 484 бактерицида может представлять собой Model DulcoFlow DFMa фирмы ProMinent со встроенной функцией передачи сигнала.

Второй альтернативный вариант исполнения

Схема второй примерной системы 1000 распылительного испарения воды согласно еще одному варианту осуществления настоящего изобретения показана в ФИГ. 10А-10С и 11А-11F. Система 1000, 1100 включает впуск 1004 для сточной воды, насос 1018, первую воздуходувку 1042, первый коллектор 1028, капельное отверстие 1038, контейнер 1039, каплеуловительный элемент 1045, и разгрузочный выпуск 1076.

В одном варианте исполнения система 1000, 1100 способна испарять сточную воду в количестве между около 30 до около 100 баррелей (3576-11920 л) сточной воды в день (то есть, между около 950 до около 3170 галлонов (3596-12000 л) в день. В одном варианте исполнения система 1000, 1100 способна испарять сточную воду в количестве между около 30 до около 60 баррелей (3576-7152 л) сточной воды в день (то есть, между около 950 до около 1900 галлонов (3596-7192 л) в день (смотри ФИГ. 10А-10В). Если желательна более высокая производительность, могут быть использованы многочисленные системы 1000, 1100 в параллельном режиме для обработки сточной воды.

Впуск 1004 для сточной воды может представлять собой любой подходящий впуск для сточной воды, который может действовать до давления около 40 psi (0,28 МПа). Пригодные впускные каналы для сточной воды включают, но без ограничения этим, фланцевые соединения, эксцентриковые запоры и быстроразъемные соединения с накидной гайкой. В одном варианте исполнения впуск 1004 для сточной воды представляет собой быстроразъемное соединение с накидной гайкой (смотри ФИГ. 10А-10В). Впуск 1004 для сточной воды обеспечивает соединение с внешним источником сточной воды через всасывающий коллектор 1002. Впуск 1004 для воды может быть соединен с внешним источником сточной воды шлангом, трубой или другим средством, обычно применяемым в технологии.

Необязательная предварительная обработка летучих органических углеродных соединений (VOC) в сточной воде

Некоторые источники сточной воды могут содержать летучие органические соединения, часто измеряемые и регистрируемые как летучие органические углеродные соединения (VOC). Эти VOC могут превышать пределы выбросов в атмосферу согласно федеральным нормативам и/или нормативам штата в отношении защиты окружающей среды, и/или ограничения для системы 1000, 1100 вследствие потенциальных колебаний температуры.

Если уровни VOC превышают пределы выбросов в атмосферу и/или ограничения для системы 1000, 1100, содержание VOC может быть снижено до приемлемых уровней, или они могут быть удалены из источника сточной воды выше по потоку относительно впуска 1004 для сточной воды с использованием способа предварительной обработки.

Для сокращения/удаления VOC из сточной воды может быть использован любой подходящий способ предварительной обработки. Например, пригодный способ предварительной обработки включает, но без ограничения этим, аэрацию сточной воды внутри резервуара, отпаривание сточной воды в насадочной колонне, пропускание потока сточной воды через активированный уголь, и их комбинации.

Впускная система

В одном варианте исполнения система 1000, 1100 может дополнительно включать первый (питающий) отсечной клапан 1006, первый (питающий) клапан 1012 и второй (питающий/рециркуляционный) клапан 1054. Впуск 1004 для сточной воды может быть соединен с впуском первого (питающего) отсечного клапана 1006 трубопроводом 1008а.

Выпуск первого (питающего) отсечного клапана 1006 может быть соединен с впуском первого (питающего) клапана 1012 трубопроводом 1008а.

Выпуск первого (питающего) клапана 1012 может быть соединен с впуском трубопровода 1016b или с впуском насоса 1018 трубопроводом 1008b.

Выпуск трубопровода 1008b может быть соединен с впуском насоса 1018 (и выпуск третьего (подачи насоса) клапана 1055 может быть соединен с впуском насоса 1018 трубопроводом 1016b).

Выпуск насоса 1018 может быть соединен с впуском второго (питающего/рециркуляционного) клапана 1054 трубопроводом 1020а.

Выпуск второго (питающего/рециркуляционного) клапана 1054 может быть соединен с впуском первого коллектора 1028 или каплеобразующей системы 1034 трубопроводом 1026а/1026b.

В одном варианте исполнения система 1000, 1100 может дополнительно включать первый (питающий) отсечной клапан 1006. Первый (питающий) отсечной клапан 1006 может представлять собой любой подходящий отсечной клапан. Пригодные первые (питающие) отсечные клапаны 1006 включают, но без ограничения этим, шаровые клапаны и дроссельные поворотные заслонки. Например, пригодный первый (питающий) отсечной клапан 1006 имеется в продаже на рынке от фирмы GF Piping Systems. В одном варианте исполнения первый (питающий) отсечной клапан 1006 может представлять собой шаровой клапан GF Piping System типа 546 от фирмы GF Piping Systems. В одном варианте исполнения первый (питающий) отсечной клапан 1006 может быть автоматическим или приводимым в действие вручную. В одном варианте исполнения нормальным положением первого (питающего) отсечного клапана 1006 может быть положение «ЗАКРЫТО».

В одном варианте исполнения первый (питающий) отсечной клапан 1006 может иметь 2-дюймовые соединения.

В одном варианте исполнения система 1000, 1100 может дополнительно включать первый (питающий) клапан 1012 и второй (питающий/рециркуляционный) клапан 1054. Первый (питающий) клапан 1012 и второй (питающий/рециркуляционный) клапан 1054 могут представлять собой любой подходящий переключающий клапан. Пригодные первый (питающий) клапан 1012 и второй (питающий/рециркуляционный) клапан 1054 включают, но без ограничения этим, шаровые клапаны. Например, пригодный первый (питающий) клапан 1012 и второй (питающий/рециркуляционный) клапан 1054 имеются в продаже на рынке от фирмы GF Piping Systems. В одном варианте исполнения первый (питающий) клапан 1012 и второй (питающий/рециркуляционный) клапан 1054 могут представлять собой шаровой клапан GF Piping Systems типа 546 с электрическим приводом от фирмы GF Piping Systems. В одном варианте исполнения первый (питающий) клапан 1012 и второй (питающий/рециркуляционный) клапан 1054 могут быть автоматическими или с ручным управлением. В одном варианте исполнения первый (питающий) клапан 1012 и второй (питающий/рециркуляционный) клапан 1054 могут быть с электрическим или пневматическим приводом. В одном варианте исполнения первый (питающий) клапан 1012 и второй (питающий/рециркуляционный) клапан 1054 могут быть в нормальном положении «ЗАКРЫТО».

В одном варианте исполнения первый (питающий) клапан 1012 и второй (питающий/рециркуляционный) клапан 1054 могут иметь 2-дюймовые соединения.

Первый (питающий) отсечной клапан 1006, первый (питающий) клапан 1012 и второй (питающий/рециркуляционный) клапан 1054 могут быть изготовлены из любого подходящего коррозионно-стойкого материала. Первый (питающий) отсечной клапан 1006, первый (питающий) клапан 1012 и второй (питающий/рециркуляционный) клапан 1054 могут быть выполнены из любых подходящих коррозионно-стойких металлов или пластиков. Пригодные металлы включают, но без ограничения этим, углеродистую сталь с полимерным покрытием, нержавеющую сталь, сплав Hastelloy®, сплав Monel®, и их комбинации; и пригодные пластики включают, но без ограничения этим, поливинилхлоридные (PVC) полимеры, хлорированные поливинилхлоридные (CPVC) полимеры, армированный стекловолокном пластик (FRP), поливинилиденфторидные (PVDF) полимеры Kynar®, полиэтиленовые полимеры, полипропиленовые полимеры, поливинилхлоридные (PVC) полимеры, перфторалкоксиполимеры (PFA) Teflon®, политетрафторэтиленовые (PTFE) полимеры Teflon®, и их комбинации. В одном варианте исполнения трубопровод 120, 126, 128 может быть выполнен из углеродистой стали с полимерным покрытием. В одном варианте исполнения первый (питающий) отсечной клапан 1006, первый (питающий) клапан 1012 и второй (питающий/рециркуляционный) клапан 1054 (смачиваемые компоненты) могут быть выполнены из поливинилхлорида (PVC) и из каучука на основе этилен-пропилен-диенового мономера (EPDM).

В одном варианте исполнения система 1000, 1100 может дополнительно включать необязательный первый концевой выключатель (не показан) и необязательный второй концевой выключатель (не показан) (Например, смотри ФИГ. 1А-1В: 113 и 114). В одном варианте исполнения первый концевой выключатель подтверждает, что первый (питающий) клапан 1012 находится в положении «ОТКРЫТО»; и второй концевой выключатель подтверждает, что первый (питающий) клапан 1012 находится в положении «ЗАКРЫТО».

В одном варианте исполнения система 1000, 1100 может дополнительно включать необязательный третий концевой выключатель (не показан) и необязательный четвертый концевой выключатель (не показан) (Например, смотри ФИГ. 1А-1В: 113 и 114). В одном варианте исполнения третий концевой выключатель подтверждает, что второй (питающий/рециркуляционный) клапан 1054 находится в положении «ОТКРЫТО»; и четвертый концевой выключатель подтверждает, что второй (питающий/рециркуляционный) клапан 1054 находится в положении «ЗАКРЫТО».

Насос 1018 может быть любым подходящим насосом. Пригодные насосы 1018 включают, но без ограничения этим, центробежные насосы. Например, подходящий насос 1018 имеется в продаже на рынке от фирмы MP Pumps Inc. В одном варианте исполнения насос 1018 может представлять собой самовсасывающий центробежный насос FLOMAX® 8 фирмы MP Pumps Inc. В одном варианте исполнения насос 1018 может представлять собой центробежный насос с мощностью от около 1 до около 3 лошадиных сил (HP) (0,74-2,22 кВт). В одном варианте исполнения насос 1018 может представлять собой насос переменной скорости с мощностью около 1,5 HP (1,1 кВт).

В одном варианте исполнения насос 1018 может иметь 2-дюймовые соединения.

Насос 1018 может быть изготовлен из любого коррозионно-стойкого материала. Насос 1018 может быть выполнен из любых подходящих коррозионно-стойких металлов или пластиков. Пригодные металлы включают, но без ограничения этим, чугун, нержавеющую сталь, супердуплексную нержавеющую сталь, сплав AL-6XN, сплав Ni-Al-Brz, сплав Hastelloy®, сплав Monel®, и их комбинации; и пригодные пластики включают, но без ограничения этим, хлорированные поливинилхлоридные (CPVC) полимеры, армированный стекловолокном пластик (FRP), поливинилиденфторидные (PVDF) полимеры Kynar®, полиэтиленовые полимеры, полипропиленовые полимеры, поливинилхлоридные (PVC) полимеры, перфторалкоксиполимеры (PFA) Teflon®, политетрафторэтиленовые (PTFE) полимеры Teflon®, и их комбинации. Например, насос 1018 (смачиваемые компоненты) может быть изготовлен из нержавеющей стали, супердуплексной нержавеющей стали, сплава AL-6XN, сплава Ni-Al-Brz, сплава Hastelloy®, сплава Monel®, или FRD (фторкаучука). В одном варианте исполнения насос 1018, включающий внутренние смачиваемые компоненты, был изготовлен из нержавеющей стали 316. В одном варианте исполнения насос 1018 может быть выполнен из чугуна, если приемлем более короткий срок службы.

Трубопровод 1008a, 1008b, 1016a, 1016b, 1020a, 1026a, 1026b может быть выполнен из любой подходящей коррозионно-стойкой трубы. Трубопровод 1008a, 1008b, 1016a, 1016b, 1020a, 1026a, 1026b может быть выполнен из любых подходящих коррозионно-стойких металлов или пластиков. Пригодные металлы включают, но без ограничения этим, углеродистую сталь с полимерным покрытием, нержавеющую сталь, супердуплексную нержавеющую сталь, сплав AL-6XN, сплав Ni-Al-Brz, сплав Hastelloy®, сплав Monel®, и их комбинации; и пригодные пластики включают, но без ограничения этим, хлорированные поливинилхлоридные (CPVC) полимеры, армированный стекловолокном пластик (FRP), поливинилиденфторидные (PVDF) полимеры Kynar®, полиэтиленовые полимеры, полипропиленовые полимеры, поливинилхлоридные (PVC) полимеры, перфторалкоксиполимеры (PFA) Teflon®, политетрафторэтиленовые (PTFE) полимеры Teflon®, и их комбинации. В одном варианте исполнения трубопровод 1008a, 1008b, 1016a, 1016b, 1020a, 1026a, 1026b может быть выполнен из углеродистой стали с полимерным покрытием. В одном варианте исполнения трубопровод 1008a, 1008b, 1016a, 1016b, 1020a, 1026a, 1026b может быть выполнен из углеродистой стали с полимерным покрытием. В одном варианте исполнения трубопровод 1008a, 1008b, 1016a, 1016b, 1020a, 1026a, 1026b может сформирован из углеродистой стали с полимерным покрытием из смолы Plasite 7159 HAR. В одном варианте исполнения трубопровод 1008a, 1008b, 1016a, 1016b, 1020a, 1026a, 1026b может быть выполнен из нержавеющей стали 316.

В одном варианте исполнения трубопровод 1008a, 1008b, 1016a, 1016b, 1020a, 1026a, 1026b может представлять собой 2-дюймовую трубу.

Контейнер и каплеуловительные элементы

В одном варианте исполнения система 1000, 1100 может дополнительно включать контейнер 1039 и каплеуловительный элемент 1045.

Контейнер 1039 может быть любым подходящим контейнером. Контейнер 1039 может быть передвижным, или он может быть стационарным. Подходящие контейнеры 1039 включают, но без ограничения этим, цистерны (смотри ФИГ. 10А-10В). В одном варианте исполнения контейнер 1039 может представлять собой вертикальный цилиндр, закрепленный на плите или платформе. В одном варианте исполнения контейнер 1039 может представлять собой водопропускную трубу, закрепленную на плите или платформе (как обсуждается ниже).

В одном варианте исполнения контейнер 1039 может иметь любой подходящий размер (например, диаметр и высоту).

В одном варианте исполнения контейнер 1039 может иметь любой подходящий диаметр. Например, подходящий диаметр может составлять от около 4 футов до около 15 футов (1,2-4,6 м), и в любом диапазоне или значении между ними. В одном варианте исполнения диаметр может составлять около 4 футов (1,2 м).

В одном варианте исполнения контейнер 1039 может иметь любую подходящую высоту. Например, подходящая высота может составлять от около 8 футов до около 12 футов (2,4-3,7 м), и в любом диапазоне или значении между ними. В одном варианте исполнения высота может составлять около 12 футов (3,7 м).

В одном варианте исполнения верхняя часть контейнера 1039 может быть опущена и/или удалена для снижения высоты при транспортировке до величины около 12 футов (3,7 м).

В альтернативном варианте, контейнер 1039 может быть сформирован из любого подходящего коррозионно-стойкого материала. Контейнер 1039 может быть изготовлен из покрытого металла, коррозионно-стойких металлов или пластиков. Пригодные покрытые металлы включают, но без ограничения этим, углеродистые стали с покрытием из эпоксидной смолы, углеродистые стали с покрытием из пластика, и их комбинации; пригодные коррозионно-стойкие металлы включают, но без ограничения этим, нержавеющую сталь, сплав Hastelloy®, сплав Monel®, и их комбинации; и подходящие пластики включают, но без ограничения этим, полиэтилен, полипропилен, поливинилхлорид (PVC), и их комбинации. В одном варианте исполнения контейнер 1039 может быть выполнен из углеродистой стали с покрытием из эпоксидной смолы и/или углеродистой стали с покрытием из пластика. В одном варианте исполнения контейнер 1039 может быть выполнен из углеродистой стали с покрытием из смолы Plasite 7159 HAR.

Контейнер 1039 может иметь любую подходящую форму. Пригодные формы включают, но без ограничения этим, цилиндрическую, кубическую, форму параллелепипеда, призматическую, пирамидальную, сферическую формы, и их комбинации. В одном варианте исполнения контейнер 1039 может иметь приблизительно цилиндрическую форму.

Каплеуловительный элемент 1045 может представлять собой любой подходящий каплеуловительный элемент. Пригодные каплеуловительные элементы 1045 включают, но без ограничения этим, сотовые каплеуловители с поперечным обтеканием (смотри ФИГ. 2А-2F). Например, подходящий каплеуловительный элемент 1045 имеется в продаже на рынке от фирмы Brentwood Industries, Inc. В одном варианте исполнения каплеуловительный элемент 1045 может представлять собой сотовый каплеуловитель с поперечным обтеканием Accu-Pac® фирмы Brentwood Industries, Inc.

В альтернативном варианте, каплеуловительный элемент 1045 может быть выполнен из любого подходящего коррозионно-стойкого материала. Каплеуловительный элемент 1045 может быть изготовлен из любых подходящих коррозионно-стойких металлов или пластиков. Каплеуловительный элемент 1045 может быть сформирован из металлической или полимерной сетки или из направляющих пластин шевронного типа с извилистой траекторией течения. Пригодная металлическая сетка включает, но без ограничения этим, нержавеющую сталь, сплав Hastelloy®, сплав Monel®, и их комбинации; подходящая полимерная сетка включает, но без ограничения этим, хлорированные поливинилхлоридные (CPVC) полимеры, армированный стекловолокном пластик (FRP), поливинилиденфторидные (PVDF) полимеры Kynar®, полиэтиленовые полимеры, полипропиленовые полимеры, поливинилхлоридные (PVC) полимеры, перфторалкоксиполимеры (PFA) Teflon®, политетрафторэтиленовые (PTFE) полимеры Teflon®, и их комбинации; и пригодные пластины шевронного типа включают, но без ограничения этим, полиэтилен, полипропилен, поливинилхлорид (PVC), нержавеющую сталь, перфторалкоксиполимеры (PFA) Teflon®, политетрафторэтиленовые (PTFE) полимеры Teflon®. В одном варианте исполнения каплеуловительный элемент 1045 может быть выполнен из нержавеющей стали 316. В одном варианте исполнения каплеуловительный элемент 1045 может быть сформирован из PVC.

Каплеуловительный элемент 1045 может иметь любую подходящую форму для размещения в нем верхней части и/или боковой части контейнера 1039. Пригодные формы включают, но без ограничения этим, цилиндрическую, кубическую, форму параллелепипеда, призматическую, пирамидальную, сферическую формы, и их части и комбинации. В одном варианте исполнения каплеуловительный элемент 1045 (например, верхней части) может иметь цилиндрическую кубоидную форму с диаметром от около 2 футов до около 16 футов (0,61-4,9 м), и с толщиной от около 4 дюймов до около 12 дюймов (101,6-304,8 мм) (и в любом диапазоне или значении между ними).

Как показано в ФИГ. 10А-10В, каплеуловительный элемент 1045 образует верхнюю часть цилиндрической формы контейнера 1039. В одном варианте исполнения каплеуловительный элемент 1045 (например, верхняя часть) может иметь цилиндрическую форму с диаметром от около 4 футов до около 16 футов (1,22-4,9 м), и с толщиной от около 4 дюймов до около 12 дюймов (101,6-304,8 мм) (и в любом диапазоне или значении между ними).

В одном варианте исполнения каплеуловительный элемент 1045 (например, боковая часть) может иметь форму параллелепипеда с шириной около 2 футов (0,61 м) и длиной около 13 футов (3,96 м), и с толщиной от около 6 дюймов до около 12 дюймов (152,4-304,8 мм) (и в любом диапазоне или значении между ними). В одном варианте исполнения каплеуловительный элемент 1045 (например, боковая часть) может иметь форму параллелепипеда с шириной около 2 футов (0,61 м) и длиной около 51 фута (15,5 м), и с толщиной около от 4 дюймов до около 12 дюймов (101,6-304,8 мм) (и в любом диапазоне или значении между ними).

Выпуск 1046 для испаренной воды включает многочисленные выпускные поры (не показаны) в каплеуловительном элементе 1045.

Во время нормальной работы испаренная вода (то есть, увлажненный воздух) может выходить через выпуск 1046 для испаренной воды в каплеуловительном элементе 1045 в окружающую среду (то есть, в атмосферу).

В альтернативном варианте, испаренная вода (то есть, увлажненный воздух) из выпуска 1046 для испаренной воды в каплеуловительном элементе 1045 может быть собрана и конденсирована для использования в операциях бурения или завершения, или собрана и выпущена в окружающую среду (например, в бассейн), в зависимости от того, удовлетворяет ли водный конденсат пределам выбросов в окружающую среду.

В одном варианте исполнения испаренная вода (то есть, увлажненный воздух) из выпуска 1046 для испаренной воды в каплеуловительном элементе 1045 может быть собрана в трубопроводе низкого давления. В одном варианте исполнения испаренная вода (то есть, увлажненный воздух) из выпуска 1046 для испаренной воды в каплеуловительном элементе 1045 может быть собрана и конденсирована в трубопроводе низкого давления. В одном варианте исполнения часть трубопровода может быть охлаждена и/или заморожена. В одном варианте исполнения часть трубопровода может быть охлаждена и/или заморожена до температуры, составляющей температуру росы водяного пара или ниже при давлении в трубопроводе.

В одном варианте исполнения способ отведения испаренной воды (то есть, увлажненного воздуха) может представлять собой любой подходящий способ конденсации или утилизации воды. Например, подходящий способ утилизации воды включает, но без ограничения этим, выделение испаренной воды конденсацией на охлажденной или замороженной поверхности, которая находится при температуре, составляющей температуру росы водяного пара или ниже при давлении в трубопроводе.

В одном варианте исполнения система 1000, 1100 может дополнительно включать контейнер 1039, включающий отстойник (дно) контейнера 1039.

В одном варианте исполнения система 1000, 1100 может дополнительно включать первый расходуемый анод (не показан) и второй расходуемый анод (не показан) для гальванической катодной защиты (от коррозии) контейнера 1039. (Например, смотри ФИГ. 1А-1В: 197 и 198). Первый расходуемый анод и второй расходуемый анод могут быть размещены в отстойнике (на дне) контейнера 1039.

Первый расходуемый анод (не показан) и второй расходуемый анод (не показан) могут быть сформированы из любого подходящего для гальванического анода материала. (Например, смотри ФИГ. 1А-1В: 197 и 198). Например, пригодные для гальванического анода материалы включают, но без ограничения этим, алюминий, магний и цинк. В одном варианте исполнения первый расходуемый анод и второй расходуемый анод могут быть сформированы из алюминия и/или цинка.

Необязательные диффузоры отходящих газов и нагреватели

При определенных условиях испаренная вода (то есть, увлажненный воздух), выходящая из системы 1000, 1100, может конденсироваться во время холодных погодных условий, создавая видимый факел водяного пара.

В одном варианте исполнения испаренная вода (то есть, увлажненный воздух) может быть нагрета (для повышения температуры испаренной воды выше точки росы) выше по потоку относительно выпуска 1046 для испаренной воды в каплеуловительном элементе 1045. В одном варианте исполнения испаренная вода (то есть, увлажненный воздух) может быть нагрета добавлением предварительно нагретого воздуха выше по потоку относительно выпуска 1046 для испаренной воды в каплеуловительном элементе 1045.

В одном варианте исполнения испаренная вода (то есть, увлажненный воздух) может быть нагрета (для повышения температуры испаренной воды выше точки росы) ниже по потоку относительно выпуска 1046 для испаренной воды в каплеуловительном элементе 1045. В одном варианте исполнения испаренная вода (то есть, увлажненный воздух) может быть нагрета добавлением предварительно нагретого воздуха ниже по потоку относительно выпуска 1046 для испаренной воды в каплеуловительном элементе 1045.

В одном варианте исполнения система 1000, 1100 может дополнительно включать трубопровод, причем предварительно нагретый воздух из подогревателя 1043 воздуха направляют в контейнер 1039 через трубопровод. В одном варианте исполнения система 1000, 1100 дополнительно включает трубопровод, причем предварительно нагретый воздух из подогревателя 1043 воздуха направляют в контейнер 1039 на впуске 1046 для испаренной воды или вблизи него в каплеуловительном элементе 1045 через трубопровод.

Необязательная платформа

В одном варианте исполнения система 1000, 1100 может дополнительно включать платформу 110018. (Например, смотри ФИГ. 11А-11F). Система 1000, 1100 может быть собрана на платформе 110018, рассчитанной на то, чтобы обеспечивать быструю, безопасную загрузку, транспортирование и разгрузку оборудования как на промышленном предприятии, так и в полевых условиях. В одном варианте исполнения в платформе 110018 может быть использован встроенный автопогрузчик для обеспечения надежной эксплуатации с использованием погрузчика, и, после разгрузки с трейлера или грузовика, платформа 110018 достаточно прочно размещена непосредственно на неподготовенном основании. Это позволяет быстро и надежно проводить загрузку и разгрузку с минимальным оборудованием, таким как погрузчик или автолебедка на грузовике, которые обычно имеются на нефтепромысле.

В различных вариантах исполнения платформа 110018 может включать такие признаки, как:

- опорные конструкции для технологических трубопроводов и оборудования

- решетки для безопасного всепогодного передвижения и доступа к оборудованию

- вибрационная изоляция для генераторов и другого технологического оборудования

- мачтовые антенны для спутникового, радио- или сотового сигнального оборудования

- опорная конструкция для электрического управляющего и контрольно-измерительного оборудования

В одном варианте исполнения система 1000, 1100, включающая платформу 110018, может иметь любой подходящий размер (то есть, высоту, длину и ширину).

В одном варианте исполнения система 1000, 1100, включающая контейнер 1039, может иметь любую подходящую высоту. Например, подходящая высота может составлять до около 12 футов (3,66 м) или даже выше, и в любом диапазоне или значении между ними. В одном варианте исполнения высота может составлять около 12 футов (3,66 м).

В одном варианте исполнения верхняя часть системы 1000, 1100, включающей контейнер 1039, может быть опущена и/или удалена для повышения транспортабельности. В одном варианте исполнения верхняя часть системы 1000, 1100, включающей контейнер 1039, может быть опущена и/или удалена для уменьшения высоты при транспортировании до величины около 12 футов (3,66 м). Высота до около 12 футов (3,66 м) позволяет перевозить систему 1000, 1100 под мостами и эстакадами с наиболее «малым просветом», тем самым избегая затрат времени на альтернативные пути в объезд низких мостов и эстакад. Кроме того, высота до около 12 футов (3,66 м) позволяет перевозить систему 1000, 1100 по большинству дорог без необходимости в разрешении, сокращая тем самым транспортные расходы и обеспечивая доступ системы 1000, 1100 в области, где разрешенная нагрузка не может быть достигнута. Возможность снизить и/или удалить верхнюю часть системы 1000, 1100, включающей контейнер 1039, сокращает высоту транспортного средства системы 1000, 1100 до значения высоты, где потребовалось бы разрешение.

В одном варианте исполнения система 1000, 1100 может иметь любую подходящую длину. Например, подходящая длина может составлять до около 12 футов (3,66 м), и в любом диапазоне или значении между ними. В одном варианте исполнения длина системы 1000, 1100 может составлять 12 футов (3,66 м).

В одном варианте исполнения система 1000, 1100 может иметь любую подходящую ширину. Например, подходящая ширина может составлять до около 8 футов шести дюймов (2,58 м), и в любом диапазоне или значении между ними. В одном варианте исполнения длина системы 1000, 1100 может составлять 12 футов (3,66 м), и в любом диапазоне или значении между ними. В одном варианте исполнения ширина может составлять около 8 футов шести дюймов (2,58 м).

Ширина с величиной до около 8 футов 6 дюймов (2,58 м) позволяет перевозить систему 1000, 1100 по большинству дорог без необходимости в разрешении, сокращая тем самым транспортные расходы и обеспечивая доступ системы 1000, 1100 в области, где разрешенная нагрузка не может быть достигнута.

Платформа может быть изготовлена из любого подходящего коррозионно-стойкого материала. Платформа может быть выполнена из покрытых металлов или коррозионно-стойких металлов. Пригодные покрытые металлы включают, но без ограничения этим, углеродистые стали с покрытием из эпоксидной смолы, углеродистые стали с покрытием из пластика, и их комбинации; пригодные коррозионно-стойкие металлы включают, но без ограничения этим, нержавеющие стали и их комбинации. В одном варианте исполнения платформа может быть изготовлениа из углеродистой стали с покрытием из эпоксидной смолы и/или углеродистой стали с покрытием из пластика.

Необязательный трейлер или грузовик

В одном варианте исполнения система 1000, 1100 может дополнительно включать платформу 110018, смонтированную на трейлере или грузовике, или разъемно установленную на них.

Необязательная встроенная защитная оболочка

В одном варианте исполнения система 1000, 1100 может дополнительно включать платформу 110018. В одном варианте исполнения система 1000 может быть собрана на платформе 110018, рассчитанной на то, чтобы обеспечивать быструю, безопасную загрузку, транспортирование и разгрузку оборудования как на промышленном предприятии, так и в полевых условиях. В одном варианте исполнения в платформе 110018 может быть использован встроенный автопогрузчик для обеспечения надежной эксплуатации с использованием погрузчика, и, после разгрузки с трейлера или грузовика, платформа 110018 достаточно прочно размещена непосредственно на неподготовенном основании. Это позволяет быстро и надежно проводить загрузку и разгрузку с минимальным оборудованием, таким как погрузчик или автолебедка на грузовике, которые обычно имеются на нефтепромысле.

Для многих установок федеральные нормативы и/или нормативы штата в отношении защиты окружающей среды требуют наличия непроницаемой защитной оболочки для предотвращения потенциального загрязнения почвы, водных потоков или других водоемов в случае утечки или нарушения работы. Непроницаемая защитная оболочка должна иметь такой размер, чтобы вмещать всю обрабатываемую сточную воду, плюс запас прочности. Традиционные способы создания защитной оболочки включают земляные бермы (обваловки), водонепроницаемые мембраны и облицовки из непроницаемой глины. Эти способы имеют ряд недостатков, включающих высокие капиталовложения, потенциальную возможность повреждения защитной оболочки оборудованием или роющими животными, и вероятность разрушения грунта вследствие земляных работ и размещения облицовки.

В одном варианте исполнения система 1000, 1100 может дополнительно включать встроенную систему 110020 защитной оболочки, включающую платформу 110018, окруженную облицовкой 110022. В одном варианте исполнения система 1000, 1100 может дополнительно включать встроенную систему 110020 защитной оболочки, включающую платформу 110018, окруженную облицовкой 110022, установленной изготовителем.

Облицовка 110022 может быть выполнена из любого подходящего коррозионно-стойкого материала. Облицовка 110022 может быть выполнена из любого покрытого металла или любых коррозионно-стойких металлов или пластиков. Пригодные покрытые металлы включают, но без ограничения этим, углеродистые стали с покрытием из эпоксидной смолы, углеродистые стали с покрытием из стекловолокна, углеродистые стали с покрытием из пластика, и их комбинации; пригодные коррозионно-стойкие металлы включают, но без ограничения этим, нержавеющиие стали, и их комбинации; и подходящие пластики включают, но без ограничения этим, хлорированные поливинилхлоридные (CPVC) полимеры, армированный стекловолокном пластик (FRP), поливинилиденфторидные (PVDF) полимеры Kynar®, полиэтиленовые полимеры, полипропиленовые полимеры, поливинилхлоридные (PVC) полимеры, перфторалкоксиполимеры (PFA) Teflon®, политетрафторэтиленовые (PTFE) полимеры Teflon®, и их комбинации. В одном варианте облицовка 110022 может быть изготовлениа из углеродистой стали с покрытием из эпоксидной смолы и/или углеродистой стали с покрытием из пластика. В одном варианте исполнения облицовка 110022 может быть сформирована из стекловолокна. В одном варианте исполнения облицовка 110022 может быть сформирована из углеродистой стали с покрытием из стекловолокна.

Будучи смонтированной, облицовка 110022 неизбежно будет удерживать не только обрабатываемую сточную воду, но также дождевую и талую снеговую воду. Вследствие этого дождевую и талую снеговую воду собирают в облицовке 110022, причем дождевая и талая снеговая вода должна быть обработана как обрабатываемая сточная вода.

В одном варианте исполнения система 1000, 1100 может дополнительо включать отводной трубопровод.

Впуск отводного трубопровода размещен в облицовке.

Выпуск отводного трубопровода может быть соединен в сообщении по текучей среде с впуском насоса 1018 для выведения накопленной воды из облицовки в систему 1000, 1100 для испарения.

Выпуск отводного трубопровода может быть соединен в сообщении по текучей среде с впуском контейнера 1039 для выведения накопленной воды из облицовки в систему 1000, 1100 для испарения.

Эта дождевая и талая снеговая вода обычно содержит малое количество растворенных твердых веществ и суспендированных твердых веществ, обеспечивающее очень высокие скорости испарения. Способность содержать воду и испарять воду с использованием системы 1000, 1100 создает значительное преимущество в плане стоимости, надежности и влияния на окружающую среду.

Рециркуляционная система

В одном варианте исполнения система 1000, 1100 может дополнительно включать третий (подачи насоса) клапан 1055 и отводной трубопровод 1055а.

Впуск третьего (подачи насоса) клапана 1055 может быть соединен в сообщении по текучей среде с отводным трубопроводом 1055а и/или первым (рециркуляционным) выпуском контейнера 1039 на первой высоте контейнера 1039 через трубопровод 1016а.

Впуск отводного трубопровода 1055а размещен в сообщении по текучей среде в отстойнике (дне) контейнера 1039.

Выпуск отводного трубопровода 1055а может быть соединен в сообщении по текучей среде с первым (рециркуляционным) выпуском контейнера 1039 на первой высоте контейнера 1039. В одном варианте исполнения первая высота контейнера 1039 может составлять от около 6 дюймов (152,4 мм) до около 4 футов (1,22 м) (и в любом диапазоне или значении между ними). В одном варианте исполнения первая высота контейнера 1039 может составлять от около 6 дюймов (152,4 см) до около 1 фута (0,31 м).

Выпуск третьего (подачи насоса) клапана 1055 может быть соединен с впуском насоса 1018 трубопроводом 1016b.

Выпуск насоса 1018 может быть соединен с впуском второго (питающего/рециркуляционного) клапана 1054 трубопроводом 1020а.

Выпуск второго (питающего/рециркуляционного) клапана 1054 может быть соединен с впуском первого коллектора 1028 или каплеобразующей системы 1034 трубопроводом 10126а/1026b.

В одном варианте исполнения система 1000, 1100 может дополнительно включать третий (подачи насоса) клапан 1055. Третий (подачи насоса) клапан 1055 может представлять собой любой подходящий переключающий клапан. Пригодные третьи (подачи насоса) клапаны 1055 включают, но без ограничения этим, шаровые клапаны. Например, пригодный третий (подачи насоса) клапан 1055 имеется в продаже на рынке от фирмы GF Piping Systems. В одном варианте исполнения третий (подачи насоса) клапан 1055 может представлять собой шаровой клапан GF Piping System типа 546 с электрическим приводом от фирмы GF Piping Systems. В одном варианте исполнения третий (подачи насоса) клапан 1055 может быть автоматическим или приводимым в действие вручную. В одном варианте исполнения нормальным положением третьего (подачи насоса) клапана 1055 может быть положение «ЗАКРЫТО».

В одном варианте исполнения третий (подачи насоса) клапан 1055 может иметь 2-дюймовые соединения.

Третий (подачи насоса) клапан 1055 может быть образован из любого подходящего коррозионно-стойкого материала. Третий (подачи насоса) клапан 1055 может быть выполнен из любых подходящих коррозионно-стойких металлов или пластиков. Пригодные металлы включают, но без ограничения этим, углеродистую сталь с полимерным покрытием, нержавеющую сталь, сплав Hastelloy®, сплав Monel®, и их комбинации; и пригодные пластики включают, но без ограничения этим, поливинилхлоридные (PVC) полимеры, хлорированные поливинилхлоридные (CPVC) полимеры, армированный стекловолокном пластик (FRP), поливинилиденфторидные (PVDF) полимеры Kynar®, полиэтиленовые полимеры, полипропиленовые полимеры, перфторалкоксиполимеры (PFA) Teflon®, политетрафторэтиленовые (PTFE) полимеры Teflon®, и их комбинации. В одном варианте исполнения третий (подачи насоса) клапан 1055 (смачиваемые компоненты) может быть выполнен из поливинилхлорида (PVC) и каучука на основе этилен-пропилен-диенового мономера (EPDM).

В одном варианте исполнения система 1000, 1100 может дополнительно включать необязательный пятый концевой выключатель (не показан) и необязательный шестой концевой выключатель (не показан) (Например, смотри ФИГ. 1А-1В: 113 и 114). В одном варианте исполнения пятый концевой выключатель подтверждает, что третий (подачи насоса) клапан 1055 находится в положении «ОТКРЫТО»; и шестой концевой выключатель подтверждает, что третий (подачи насоса) клапан 1055 находится в положении «ЗАКРЫТО».

Насос 1018 может быть любым подходящим насосом. Пригодные насосы 1018 включают, но без ограничения этим, центробежные насосы. Например, подходящий насос 1018 имеется в продаже на рынке от фирмы MP Pumps Inc. В одном варианте исполнения насос 1018 может представлять собой самовсасывающий центробежный насос FLOMAX® 8 фирмы MP Pumps Inc. В одном варианте исполнения первый (питающий) насос 1018 может представлять собой центробежный насос с мощностью от около 1 до около 3 лошадиных сил (HP) (0,74-2,22 кВт). В одном варианте исполнения насос 1018 может представлять собой насос переменной скорости с мощностью около 1,5 HP (1,1 кВт).

В одном варианте исполнения насос 1018 может иметь 2-дюймовые соединения.

Насос 1018 может быть изготовлен из любого коррозионно-стойкого материала. Насос 1018 может быть выполнен из любых подходящих коррозионно-стойких металлов или пластиков. Пригодные металлы включают, но без ограничения этим, чугун, нержавеющую сталь, супердуплексную нержавеющую сталь, сплав AL-6XN, сплав Ni-Al-Brz, сплав Hastelloy®, сплав Monel®, и их комбинации; и пригодные пластики включают, но без ограничения этим, хлорированные поливинилхлоридные (CPVC) полимеры, армированный стекловолокном пластик (FRP), поливинилиденфторидные (PVDF) полимеры Kynar®, полиэтиленовые полимеры, полипропиленовые полимеры, поливинилхлоридные (PVC) полимеры, перфторалкоксиполимеры (PFA) Teflon®, политетрафторэтиленовые (PTFE) полимеры Teflon®, и их комбинации. Например, насос 1018 (смачиваемые компоненты) может быть изготовлен из нержавеющей стали, супердуплексной нержавеющей стали, сплава AL-6XN, сплава Ni-Al-Brz, сплава Hastelloy®, сплава Monel®, или FRD (фторкаучука). В одном варианте исполнения насос 1018, включающий внутренние смачиваемые компоненты, был изготовлен из нержавеющей стали 316. В одном варианте исполнения насос 1018 может быть выполнен из чугуна, если приемлем более короткий срок службы.

Трубопровод 1016a, 1016b, 1020a, 1026a, 1026b может быть изготовлен из любой коррозионно-стойкой рубы. Трубопровод 1016a, 1016b, 1020a, 1026a, 1026b может быть выполнен из любых подходящих коррозионно-стойких металлов или пластиков. Пригодные металлы включают, но без ограничения этим, углеродистую сталь с полимерным покрытием, нержавеющую сталь, супердуплексную нержавеющую сталь, сплав AL-6XN, сплав Ni-Al-Brz, сплав Hastelloy®, сплав Monel®, и их комбинации; и пригодные пластики включают, но без ограничения этим, хлорированные поливинилхлоридные (CPVC) полимеры, армированный стекловолокном пластик (FRP), поливинилиденфторидные (PVDF) полимеры Kynar®, полиэтиленовые полимеры, полипропиленовые полимеры, поливинилхлоридные (PVC) полимеры, перфторалкоксиполимеры (PFA) Teflon®, политетрафторэтиленовые (PTFE) полимеры Teflon®, и их комбинации. В одном варианте исполнения трубопровод 1016a, 1016b, 1020a, 1026a, 1026b может быть выполнен из углеродистой стали с полимерным покрытием. В одном варианте исполнения трубопровод 1016a, 1016b, 1020a, 1026a, 1026b может быть выполнен из углеродистой стали с покрытием из смолы Plasite 7159 HAR. В одном варианте исполнения трубопровод 1008a, 1008b, 1016a, 1016b, 1020a, 1026a, 1026b может быть изготовлен из нержавеющей стали 316.

В одном варианте исполнения трубопровод 1016a, 1016b, 1020a, 1026a, 1026b может представлять собой 2-дюймовую трубу.

Индикаторы расхода потока и измерительные приборы

В одном варианте исполнения система 1000, 1100 может дополнительно включать первый индикатор или измеритель 1022а расхода потока и второй индикатор или измеритель 1022b расхода потока.

Выпуск первого (питающего) клапана 1012 может быть соединен с впуском первого индикатора или измерителя 1022а расхода потока трубопроводом 1008b.

Выпуск первого индикатора или измерителя 1022а расхода потока может быть соединен с впуском трубопровода 1016а или впуском насоса 1018 трубопроводом 1008b.

Выпуск второго (питающего/рециркуляционного) клапана 1054 может быть соединен с впуском второго индикатора или измерителя 1022b расхода потока трубопроводом 1026а.

Выпуск второго индикатора или измерителя 1022b расхода потока может быть соединен в сообщении по текучей среде с впуском первого коллектора 1028 или каплеобразующей системы 1034 трубопроводом 1026b.

Первый индикатор или измеритель 1022а расхода потока и второй индикатор или измеритель 1022b расхода потока могут быть любым подходящим индикатором или измерителем расхода потока. Пригодные первые индикаторы или измерители 1022а расхода потока и вторые индикаторы или измерители 1022b расхода потока включают, но без ограничения этим, магнитные расходомеры, расходомеры турбинного типа, ультразвуковые вихревые и вихревые расходомеры вставляемого типа. Например, подходящий первый индикатор или измеритель 1022а расхода потока и второй индикатор или измеритель 1022b расхода потока имеется в продаже на рынке от фирмы Georg Fischer Signet LLC. В одном варианте исполнения первый индикатор или измеритель 1022а расхода потока и второй индикатор или измеритель 1022b расхода потока может представлять собой датчик расхода турбинного типа Signet 2536 Rotor-X фирмы Georg Fischer Signet LLC. В одном варианте исполнения первый индикатор или измеритель 1022а расхода потока и второй индикатор или измеритель 1022b расхода потока может быть электрически соединен с PLC или компьютерным устройством 600.

Трубопровод 1008b, 1016а, 1026а, 1026b может быть изготовлен из любой подходящей коррозионно-стойкой трубы. Трубопровод 100b, 1016а, 1026а, 1026b может быть из любых подходящих коррозионно-стойких металлов или пластиков. Пригодные металлы включают, но без ограничения этим, углеродистую сталь с полимерным покрытием, нержавеющую сталь, супердуплексную нержавеющую сталь, сплав AL-6XN, сплав Ni-Al-Brz, сплав Hastelloy®, сплав Monel®, и их комбинации; и пригодные пластики включают, но без ограничения этим, хлорированные поливинилхлоридные (CPVC) полимеры, армированный стекловолокном пластик (FRP), поливинилиденфторидные (PVDF) полимеры Kynar®, полиэтиленовые полимеры, полипропиленовые полимеры, поливинилхлоридные (PVC) полимеры, перфторалкоксиполимеры (PFA) Teflon®, политетрафторэтиленовые (PTFE) полимеры Teflon®, и их комбинации. В одном варианте исполнения трубопровод 1008b, 1016а, 1026а, 1026b может быть выполнен из углеродистой стали с полимерным покрытием. В одном варианте исполнения трубопровод 1008b, 1016а, 1026а, 1026b может быть выполнен из углеродистой стали с покрытием из смолы Plasite 7159 HAR. В одном варианте исполнения трубопровод 1008b, 1016а, 1026а, 1026b может быть выполнен из нержавеющей стали 316.

В одном варианте исполнения трубопровод 1008b, 1016а, 1026а, 1026b может представлять собой 2-дюймовую трубу.

Необязательный грубый фильтр на конце всасывающего шланга

В одном варианте исполнения система 1000, 1100 может дополнительно включать грубый фильтр (не показан) на конце всасывающего шланга и необязательный первый датчик давления (не показан) (Например, смотри ФИГ. 1А-1В: 124). Впуск грубого фильтра (не показан) может быть в сообщении по текучей среде с выпуском трубопровода 1026а, и выпуск грубого фильтра (не показан) может быть в сообщении по текучей среде с впуском трубопровода 1026а. Грубый фильтр на конце всасывающего шланга задерживает обломки в подаваемой воде, чтобы предотвращать засорение капельного отверстия 1038. Забивание грубого фильтра может быть выявлено по снижению скорости подачи на первом индикаторе или измерителе 1022 расхода потока.

Грубый фильтр (не показан) на конце всасывающего шланга может представлять собой любой грубый фильтр, и может содержать повторно используемую или одноразовую сетку или слой синтетических волокон. (Например, смотри ФИГ. 1А-1В: 124). Подходящий грубый фильтр включает, но без ограничения этим, перфорированное сито с отверстиями 1/8 дюйма (3,175 мм), содержащееся внутри простого или двойного корпуса. Например, пригодный грубый фильтр имеется в продаже на рынке от фирмы Hayward или Rosedale. В одном варианте исполнения грубый фильтр может представлять собой перфорированное сито с отверстиями 1/8 дюйма (3,175 мм) от фирмы Hayward или Rosedale.

Грубый фильтр (не показан) на конце всасывающего шланга может быть выполнен из любого подходящего коррозионно-стойкого материала. (Например, смотри ФИГ. 1А-1В: 124). Грубый фильтр может представлять собой грубый фильтр из любых подходящих коррозионно-стойких металлов или пластиков. Грубый фильтр может представлять собой любой грубый фильтр из металла или пластика. Пригодные металлы включают, но без ограничения этим, нержавеющую сталь, сплав Hastelloy®, сплав Monel®, и их комбинации; и пригодные пластики включают, но без ограничения этим, хлорированные поливинилхлоридные (CPVC) полимеры, поливинилиденфторидные (PVDF) полимеры Kynar®, поливинилхлоридные (PVC) полимеры, перфторалкоксиполимеры (PFA) Teflon®, политетрафторэтиленовые (PTFE) полимеры Teflon®, и их комбинации. В одном варианте исполнения первый (питающий) насос 118, включающий внутренние смачиваемые компоненты, был изготовлен из нержавеющей стали 316. В одном варианте исполнения грубый фильтр (сито) выполнен из нержавеющей стали 316.

В одном варианте исполнения необязательный первый датчик давления (не показан) может быть в сообщении по текучей среде либо с трубопроводом 1026а, либо с впуском грубого фильтра (не показан) (Например, смотри ФИГ. 1А-1В: 124). Забивание грубого фильтра также может быть выявлено по повышению давления на необязательном первом датчике давления (не показан).

Необязательный первый датчик давления (не показан) может быть любым подходящим датчиком давления. Например, пригодный первый датчик давления имеется в продаже на рынке от фирмы Rosemount, Inc. В одном варианте исполнения первый датчик давления может представлять собой бесшкальный манометр Rosemount 2088 абсолютного и манометрического давления от фирмы Rosemount, Inc.

Выпуск насоса 1018 может быть соединен с впуском грубого фильтра (не показан) трубопроводом 1020а/1026а. (Например, смотри ФИГ. 1А-1В: 124). Выпуск грубого фильтра (не показан) может быть соединен с впуском каплеобразующей системы 1034 или капельным отверстием 1038 трубопроводом 1020b, 1026а, 1026b. (Например, смотри ФИГ. 1А-1В: 124).

Трубопровод 1020а, 1026а может быть выполнен из любой подходящей коррозионно-стойкой трубы. Трубопровод 1020а, 1026а может представлять собой трубопровод из любого подходящего металла или пластика. Пригодные металлы включают, но без ограничения этим, углеродистую сталь с полимерным покрытием, нержавеющую сталь, супердуплексную нержавеющую сталь, сплав AL-6XN, сплав Ni-Al-Brz, сплав Hastelloy®, сплав Monel®, и их комбинации; и пригодные пластики включают, но без ограничения этим, хлорированные поливинилхлоридные (CPVC) полимеры, армированный стекловолокном пластик (FRP), поливинилиденфторидные (PVDF) полимеры Kynar®, полиэтиленовые полимеры, полипропиленовые полимеры, поливинилхлоридные (PVC) полимеры, перфторалкоксиполимеры (PFA) Teflon®, политетрафторэтиленовые (PTFE) полимеры Teflon®, и их комбинации. В одном варианте исполнения трубопровод 1020а, 1026а может быть выполнен из углеродистой стали с полимерным покрытием. В одном варианте исполнения трубопровод 1020а, 1026а может быть выполнен из углеродистой стали с полимерным покрытием из смолы Plasite 7159 HAR. В одном варианте исполнения трубопровод 1020а, 1026а может быть выполнен из нержавеющей стали 316.

В одном варианте исполнения трубопровод 1020а, 1026а может представлять собой 2-дюймовую трубу.

Каплеобразующая система

В одном варианте исполнения система 1000, 1100 может дополнительно включать первый коллектор 1028 и каплеобразующую систему 1034.

Выпуск второго (питающего/рециркуляционного) клапана 1054 может быть соединен с впуском первого коллектора 1028, каплеобразующая система 1034 и/или второй впуск (коллектора) с контейнером 1039 на второй высоте контейнера 1039 трубопроводом 1020а/1026а/1026b. В одном варианте исполнения вторая высота контейнера 1039 может составлять от около 8 футов до около 12 футов (2,4-3,7 м) (и в любом диапазоне или значении между ними). В одном варианте исполнения вторая высота контейнера 1039 может составлять от около 9 до около 10 футов (2,7-3,05 м).

Выпуск первого коллектора 1028 может быть соединен с впуском каплеобразующей системы 1034. В одном варианте исполнения каплеобразующая система 1034 включает каплеобразующий коллектор 1036 и капельное отверстие 1038, причем капельное отверстие 1038 может быть соединено с выпуском каплеобразующего коллектора 1036 или встроен в него. В одном варианте исполнения каплеобразующая система 1034 размещена внутри контейнера 1039.

Выпуск капельного отверстия 1038 выводит сточную воду и/или водяные капли внутрь контейнера 1039. Верхняя часть, или верхняя сторона, контейнера 1039 заключена в каплеуловительный элемент 1045, чтобы удерживать сточную воду и/или водяные капли внутри контейнера 1039. В одном варианте исполнения боковая часть контейнера 1039 также может быть охвачена каплеуловительным элементом 1045, чтобы удерживать сточную воду и/или водяные капли внутри контейнера 1039. Каплеуловительный элемент 1045 закреплен на контейнере 1039 и опирается на него обычным в технологии образом.

По меньшей мере часть сточной воды и/или некоторые водяные капли испаряются с образованием водяного пара. Водяной пар проходит через каплеуловительный элемент 1045 и выходит через выпуск 1046 для испаренной воды. Каплеуловительный элемент 1045 задерживает любую неиспаренную воду, которая падает в отстойник (дно) контейнера 1039.

В одном варианте исполнения каплеобразующая система 1034 включает каплеобразующий коллектор 1036 и многочисленные капельные отверстия 1038', 1038'', причем каждый из многочисленных капельных отверстий 1038', 1038'' может быть соединен с выпуском каплеобразующего коллектора 1036 или встроен в него. Выпуски многочисленных капельных отверстий 1038', 1038'', выводят сточную воду и/или водяные капли внутрь контейнера 1039. Верхняя часть, или верхняя сторона, контейнера 1039 охвачена многочисленными каплеуловительными элементами 1045', 145'', чтобы удерживать сточную воду и/или водяные капли внутри контейнера 1039. В одном варианте исполнения боковая часть контейнера 1039 также охвачена каплеуловительным элементом 1045, чтобы удерживать сточную воду и/или водяные капли внутри контейнера 1039. Многочисленные каплеуловительные элементы 1045', 1045'' закреплены на контейнере 1039 и опираются на него обычным в технологии образом.

По меньшей мере часть сточной воды и/или некоторые водяные капли испаряются с образованием водяного пара. Водяной пар проходит через поры (извилистые поры) в многочисленных каплеуловительных элементах 1045', 1045'' и выходит через выпуск 1046 для испаренной воды. Многочисленные каплеуловительные элементы 1045', 1045'' задерживают любую неиспаренную воду, которая падает в отстойник (дно) контейнера 1039.

Выпуск 1046 для испаренной воды включает многочисленные выпускные поры (не показаны) в многочисленных каплеуловительных элементах 1045', 1045''.

Капельное отверстие 1038 может представлять собой любое подходящее капельное отверстие. В одном варианте исполнения капельные отверстия 1038 размещены внутри контейнера 1039.

Капельное отверстие 1038 может быть выполнено из любого подходящего коррозионно-стойкого материала. Капельное отверстие 1038 может быть сформировано из любых подходящих коррозионно-стойких металлов или пластиков. Пригодные металлы включают, но без ограничения этим, латунь, кобальтовый сплав 6, керамический материал (RBSC) из реакционно-связанного карбида кремния, нержавеющую сталь, сплав Hastelloy®, сплав Monel®, и их комбинации; и пригодные пластики включают, но без ограничения этим, полипропилен, политетрафторэтилен (PTFE), поливинилхлорид (PVC), и их комбинации. В одном варианте исполнения капельное отверстие 1038 (смачиваемый компонент) может быть изготовлен из PVC.

Система улавливания тумана

В одном варианте исполнения система 1000, 1100 может дополнительно включать систему 1044 улавливания тумана и контейнер 1039. В одном варианте исполнения система 1044 улавливания тумана включает многочисленные каплеуловительные элементы 1045', 1045'' и контейнер 1039.

Испарительная система

В одном варианте исполнения система 1000, 1100 может дополнительно включать испарительную систему 1056.

Производительность испарительной системы 1056 в значительой степени обусловливается двумя факторами: скоростью испарения, с которой вода испаряется (измеряемой в баррелях/день), и величиной выбросов, при которой выделяются дисперсные загрязнители (измеряемой в тоннах/год). Скорость испарения является существенной для функционирования испарительной системы 1058, 1064. Чем больше воды испаряется в расчете на данную величину капиталовложений и энергопотребление, тем большая создается выгода.

Величина выбросов является существенной в отношении возможности получения разрешения на монтаж и эксплуатацию системы 1000, 1100. Сточная вода обычно содержит растворенные и суспендированные твердые вещества. Выбросы этих веществ подлежат регулированию как федеральными ведомствами, так и агентствами штатов. Возможность получения разрешения основывается на демонстрируемой работоспособности системы 1000, 1100 в отношении ее способности ограничивать выбросы растворенных и суспендированных твердых веществ.

Технологическая основа системы 1000, 1100 представляет значительное улучшение в обеих этих областях производительности: скорости испарения и величине выбросов.

В одном варианте исполнения система 1000, 1100 может дополнительно включать испарительную систему 1056, включающую насадочную систему 1058 и/или тарельчатую систему 1064 (обсуждаемые ниже).

Применение в системе 1000, 1100 насадочной системы 1058 и/или тарельчатой системы 1064 (обсуждаемых ниже), рециркуляционной системы (обсужденной выше) и системы 1041 нагнетания и предварительного нагревания воздуха (обсуждаемой ниже) обеспечивает повышенную производительность испарения, когда проводят сравнение с многочисленными распылительными соплами 138, 23, 338, 442, 542 в крупном горизонтальном контейнере 139, 239, 339, 444, 544 (обсужденном выше). Повышенная производительность обусловлена более эффективным механизмом испарения. В системе 1000, 1100 применяют вертикальный каскад воды, проходящей через пористую насадку 1062 для достижения эффективного перевода воды из жидкостной фазы в паровую фазу. В результате этого система 1000, 1100 выводит испаренную воду (то есть, увлажненный воздух) через выпуск 1046 для испаренной воды в каплеуловительном элементе 1045 в окружающую среду (то есть, в атмосферу) при величине насыщения или близкой к ней при температуре системы 1041 нагнетания и предварительного нагревания воздуха, и давлении в системе 1000, 1100, представляя пиковое значение эффективности обработки.

Вертикальный каскад воды и пористой насадки 1062, применяемый в системе 1000, 1100, обеспечивает дополнительные преимущества в плане выбросов дисперсных частиц. Выбросы дисперсных частиц могут включать растворенные твердые вещества (например, соли) и суспендированные твердые вещества (например, некоторые минералы). Вертикальный каскад воды сокращает образование сухих частиц, и пористая насадка 1062 сдвигает местоположение испарения с переносимой по воздуху капли на поверхность пористой насадки 1062. Доступен широкий диапазон насадок 1062 с различными размерами, формами и техническими характеристиками. Насадку 1062 системы 1000, 1100 выбирают так, чтобы максимизировать испарение и насыщение воздушного потока водяным паром, в то же время ограничивая попадание загрязнений в поток воздуха.

Насадочная система и/или тарельчатая система

В одном варианте исполнения система 1000, 1100 может дополнительно включать насадочную систему 1058 и/или тарельчатую систему 1064.

В одном варианте исполнения насадочная система 1058 включает пористую тарелку 1060, размещенный в контейнере 1039 на его третьей высоте, и насадку 1062 от третьей высоты контейнера 1039 до четвертой высоты контейнера 1039. В одном варианте исполнения третья высота контейнера 1039 может составлять от около 4 футов до около 8 футов (1,2-2,4 м) (и в любом диапазоне или значении между ними). В одном варианте исполнения третья высота контейнера 1039 может составлять около 6 футов (1,8 м).

В одном варианте исполнения четвертая высота контейнера 1039 может составлять от около 5 футов до около 11 футов (1,52-3,35 м) (и в любом диапазоне или значении между ними). В одном варианте исполнения исполнения четвертая высота контейнера 1039 может составлять около 9 футов (2,74 м).

Пористая тарелка 1060 может представлять собой любую подходящую пористую тарелку. Например, подходящая пористая тарелка 1060 включает, но без ограничения этим, решетку и сетку. Пористая тарелка 1060 может быть изготовлен из любых подходящих коррозионно-стойких металлов или пластиков. Пригодные металлы включают, но без ограничения этим, нержавеющую сталь, сплав Hastelloy®, сплав Monel®, и их комбинации; и пригодные пластики включают, но без ограничения этим, хлорированные поливинилхлоридные (CPVC) полимеры, поливинилиденфторидные (PVDF) полимеры Kynar®, поливинилхлоридные (PVC) полимеры, полиэтиленовые полимеры, полипропиленовые полимеры, перфторалкоксиполимеры (PFA) Teflon®, политетрафторэтиленовые (PTFE) полимеры Teflon®, и их комбинации. В одном варианте исполнения трубопровод 1020а, 1026а может быть выполнен из углеродистой стали с полимерным покрытием. В одном варианте исполнения пористая тарелка 1060 может быть выполнен из нержавеющей стали 316.

Доступен широкий ассортимент насадок 1062 с различными размерами, формами и техническими характеристиками. Насадка 1062 обеспечивает большую площадь поверхности для взаимодействия протекающей воды и нагретого воздуха с минимальным препятствованием течению, чтобы максимизировать испарение до насыщения воздушного потока водяным паром. Насадку 1062 выбирают так, чтобы максимизировать испарение (то есть, насыщение воздушного потока водяным паром), в то же время ограничивая попадание загрязнений в поток воздуха.

Насадка 1062 может быть любой подходящей насадкой. Например, подходящая насадка 1062 включает, но без ограничения этим, неупорядоченную насадку, структурированную насадку, и их комбинации.

Насадка 1062 должна быть сделана из материала, который является относительно инертным в отношении протекающей воды. Насадка 1062 может быть изготовлена из любого подходящего керамического материала, коррозионно-стойких металлов, пластиков, и их комбинаций. Пригодные металлы включают, но без ограничения этим, нержавеющую сталь, сплав Hastelloy®, сплав Monel®, и их комбинации; и пригодные пластики включают, но без ограничения этим, хлорированные поливинилхлоридные (CPVC) полимеры, поливинилиденфторидные (PVDF) полимеры Kynar®, поливинилхлоридные (PVC) полимеры, полиэтиленовые полимеры, полипропиленовые полимеры, перфторалкоксиполимеры (PFA) Teflon®, политетрафторэтиленовые (PTFE) полимеры Teflon®, и их комбинации.

В одном варианте исполнения насадка 1062 может быть выполнена из керамических материалов, коррозионно-стойких металлов, пластиков, и их комбинаций. Например, насадка 1062 может быть изготовлена из керамических материалов и/или металлов, если температура воздуха превышает предельную температуру для пластиков.

В одном варианте исполнения насадка 1062 может быть изготовлена из различных материалов (например, керамических материалов, пластиков, нержавеющей стали) для повышения производительности при высоких температурах.

В одном варианте исполнения насадка 1062 может быть неупорядоченной насадкой. В одном варианте исполнения насадка 1062 может быть неупорядоченной насадкой, сформированной из керамических материалов, коррозионно-стойких металлов, пластиков, и их комбинаций. В одном варианте исполнения насадка 1062 может быть образована неупорядоченной насадкой из политетрафторэтиленового (PTFE) полимера Teflon®. В одном варианте исполнения насадка 1062 может представлять собой неупорядоченную насадку Koch-Glitch FLEXIRING®.

В одном варианте исполнения насадка 1062 может быть структурированной насадкой. В одном варианте исполнения насадка 1062 может быть структурированной насадкой, выполненной из металлов, пластиков, и их комбинаций. В одном варианте исполнения насадка 1062 может быть сформирована из гофрированных металлов, рифленых пластиков, и их комбинаций. В одном варианте исполнения насадка 1062 может быть образована из сетчатых пластиков, сетчатых металлов, и их комбинаций. В одном варианте исполнения насадка 1062 может быть образована из сплошных пластиков, сплошных металлов, и их комбинаций.

В одном варианте исполнения насадка 1062 может быть выполнена из различных материалов (например, керамических материалов, пластиков, нержавеющей стали) для улучшения производительности при высоких температурах.

В одном варианте исполнения насадка 1062 может быть насадкой из рыхлого наполнителя, насадкой типа картриджа, или насадкой в еще одной контейнерной форме, которая может быть легко извлечена для очистки.

В одном варианте исполнения тарельчатая система 1064 включает первую каскадную тарелку 1066, размещенную на пятой высоте в контейнере 1039, и вторую каскадную тарелку 1068, размещенную на шестой высоте в контейнере 1039, и смещенную от первой каскадной тарелки 1066 так, что сточная вода и/или водяные капли переносятся из первой каскадной тарелки 1066 на вторую каскадную тарелку 1068. В одном варианте исполнения пятая высота контейнера 1039 может составлять от 5 футов до около 11 футов (1,52-3,35 м) (и в любом диапазоне или значении между ними). В одном варианте исполнения пятая высота контейнера 1039 может составлять 9 футов (2,74 м).

В одном варианте исполнения шестая высота контейнера 1039 может составлять от 4 футов до около 10 футов (1,22-3,05 м) (и в любом диапазоне или значении между ними). В одном варианте исполнения шестая высота контейнера 1039 может составлять от 8 футов до около 9 футов (2,43-2,74 м).

Первая каскадная тарелка 1066 и вторая каскадная тарелка 1068 могут представлять собой любую подходящую каскадную тарелку. Например, пригодная первая каскадная тарелка 1066 и вторая каскадная тарелка 1068 включает, но без ограничения этим, испарительную тарелку и ситовидную тарелку, и их комбинации. Первая каскадная тарелка 1066 и вторая каскадная тарелка 1068 может быть сформирована из любых подходящих коррозионно-стойких металлов или пластиков. Пригодные металлы включают, но без ограничения этим, нержавеющую сталь, сплав Hastelloy®, сплав Monel®, и их комбинации; и пригодные пластики включают, но без ограничения этим, хлорированные поливинилхлоридные (CPVC) полимеры, поливинилиденфторидные (PVDF) полимеры Kynar®, поливинилхлоридные (PVC) полимеры, полиэтиленовые полимеры, полипропиленовые полимеры, перфторалкоксиполимеры (PFA) Teflon®, политетрафторэтиленовые (PTFE) полимеры Teflon®, и их комбинации. В одном варианте исполнения первая каскадная тарелка 1066 и вторая каскадная тарелка 1068 может может быть выполнена из нержавеющей стали 316.

В одном варианте исполнения система 1000, 1100 может дополнительно включать первое реле 1053 перепада давления. Первое реле 1053 перепада давления измеряет падение давления на протяжении насадочной системы 1058 и/или тарельчатой системы 1064. Если срабатывает первое реле 1053 перепада давления, насадочная система 1058 и/или тарельчатая система 1064 могут быть заблокированы вследствие захлебывания или нарастания окалины. В одном варианте исполнения первое реле 148 перепада давления может быть настроено на величину +/-0,40 дюймов водяного столба (10,16 мм рт.ст.).

Реле 1053 перепада давления может быть любым подходящим дифференциальным датчиком давления. Например, пригодное реле 1053 перепада давления имеется в продаже на рынке от фирмы Dwyer Instruments Inc. В одном варианте исполнения реле 1053 перепада давления может представлять собой фотогелический датчик перепада давления серии 3000 фирмы Dwyer Instruments Inc. В одном варианте исполнения первое реле 1053 перепада давления имеет диапазон от около 0 до около 0,5 дюйма водяного столба (12,7 мм рт.ст.).

Первое реле 1053 перепада давления может быть соединено в сообщении по текучей среде с контейнером 1039.

Система нагнетания и предварительного нагревания воздуха

В одном варианте исполнения система 1000, 1100 может дополнительно включать первую воздуходувку 1042 и необязательный второй датчик 1043с давления. В одном варианте исполнения воздушный поток из первой воздуходувки 1042 рассеивает сточную воду и/или водяные капли из капельного отверстия 1038. В одном варианте исполнения первая воздуходувка 1042 размещена проходящей через стенку контейнера 1039 так, что воздушный поток из первой воздуходувки 1042 протекает в противотоке и/или поперек направления движения сточной воды и/или водяных капель из капельного отверстия 1038. В одном варианте исполнения первая воздуходувка 1042 может быть размещена проходящей через стенку контейнера 1039 выше по потоку относительно каплеуловительных элементов 1045 как нагнетательный вентилятор. Другими словами, контейнер 1039 (то есть, испарительная камера) может действовать при избыточном давлении, создаваемом нагнетательным вентилятором 1042.

Первая воздуходувка 1042 может представлять собой любой подходящий осевой компрессор. В одном варианте исполнения первая воздуходувка 1042 может быть воздуходувкой с фиксированной или переменной скоростью. В одном варианте исполнения первая воздуходувка 1042 может создавать поток от около 4000 CFM до 10000 CFM (113-283 м3/мин) (и в любом диапазоне или значении между ними). В одном варианте исполнения первая воздуходувка 1042 может иметь мощность около 3 HP (2,22 кВт).

В одном варианте исполнения система 1000, 1100 может дополнительно включать систему 1041 нагнетания и предварительного нагревания воздуха. Например, система 1041 нагнетания и предварительного нагревания воздуха может быть размещена через нижнюю стенку контейнера 1039, когда капельное отверстие 1038', 1038'' каплеобразующей системы 1034 производит выпуск в сторону верха контейнера 1039.

В одном варианте исполнения воздуходувная и нагревательная система 1041 включает первую воздуходувку 1042 и подогреватель 1043 воздуха. В одном варианте исполнения выпуск для воздушного потока первой воздуходувки 1042 находится в сообщении по текучей среде с впуском для воздушного потока подогревателя 143 воздуха.

Подогреватель 1043 воздуха может представлять собой любой подходящий нагреватель. Например, подходящий нагреватель включает, но без ограничения этим, огневой нагреватель, подогреватель трубопровода, калорифер, линейный подогреватель, рекуперативный подогреватель, подогреватель подводимого воздуха, нагреватель трубчатого типа, и их комбинации.

В одном варианте исполнения подогреватель 1043 воздуха включает горелку для сжигания природного газа. (Например, смотри ФИГ. 10А и 10В). Горелка для сжигания природного газа может быть любой подходящей горелкой. Например, подходящие горелки включают, но без ограничения этим, горелки типа устройств для сушки зерна, горелки типа устройств для котлов с топкой, горелки типа нагревателя воздуха, горелки типа нагревателя воды, и их комбинации.

В одном варианте исполнения подогреватель 1043 воздуха включает горелку для сжигания природного газа и регулировочный клапан подачи природного газа. Регулировочный клапан подачи природного газа может представлять собой любой подходящий регулировочный клапан подачи газа. В одном варианте исполнения регулировочный клапан подачи природного газа может создавать стационарный поток или модулируемый поток к горелке для сжигания природного газа, чтобы регулировать достигаемую температуру воздуха относительно температуры окружающего воздуха и желательную скорость испарения. В одном варианте исполнения регулировочный клапан подачи природного газа может быть отрегулирован от положения полностью «ОТКРЫТО» до положения полностью «ЗАКРЫТО», и наоборот.

В одном варианте исполнения положение горелки может быть подвижным относительно положения каплеобразующей системы 1034 и/или насадочной системы 1058 для оптимизации распределения температуры в системе 1000, 1100, чтобы повышать производительность и минимизировать выбросы дисперсных частиц.

В одном варианте исполнения подогреватель 1043 может иметь электрический генератор с питанием от природного газа. Электрический генератор с питанием от природного газа может представлять собой любой подходящий электрический генератор.

В одном варианте исполнения подогреватель 1043 воздуха может обеспечивать величину нагревания воздуха от около 0 миллиона BTU в час до около 5 миллионов BTU в час (0-1465 кВт/час) (и в любом диапазоне или значении между ними). В одном варианте исполнения подогреватель 1043 воздуха может обеспечивать величину нагревания воздуха около 2,1 миллиона BTU в час (615,3 кВт/час).

В одном варианте исполнения подогреватель 1043 воздуха может создавать температуру воздуха от около 50°F до около 400°F (10°С-204°С).

В одном варианте исполнения необязательный второй датчик 1043с давления может быть соединен в сообщении по текучей среде с воздушным выпуском воздуходувки или подогревателя 1043 воздуха.

Необязательный второй датчик 1043с давления может быть любым подходящим датчиком давления. Например, пригодный второй датчик 1043с давления имеется в продаже на рынке от фирмы Rosemount, Inc. В одном варианте исполнения необязательный второй датчик 1043с давления может представлять собой бесшкальный манометр Rosemount 2088 абсолютного и манометрического давления от фирмы Rosemount, Inc.

Необязательный второй воздушный впуск

Эффективность процесса испарения может быть повышена примешиванием горячего воздуха и сточной воды для достижения однородной температуры в потоке воздуха, и тем самым стимулирования полного насыщения воздуха водяным паром. Турбулентный воздушный поток содействует эффективному смешению увеличением физического контакта всех элементов горячего воздуха с протекающими в противотоке сточной водой и/или водяными капельками. Одним путем стимулирования турбулентности является наличие двух или многих впуски для воздуха, проведенных через стенку контейнера 1039 под углом(-ами) так, что два или многие воздушные потоки сталкиваются и смешиваются друг с другом. Это смешение создает единый воздушный поток турбулентного горячего воздуха. При контакте со сточной водой этот турбулентный воздушный поток максимально воздействует на сточную воду и/или водяные капли, и тем самым доводит испарение до максимума для создания насыщенного выхлопа.

Два или многие впуски для воздуха каналы могут быть сформированы несколькоми путями, включающими, но без ограничения этим, систему трубопроводов, две или более систем 1041 нагнетания и предварительного нагревания воздуха, и их комбинации. Применение двух или многих систем 1041 нагнетания и предварительного нагревания воздуха обеспечивало бы дополнительное преимущество в плане повышения общего энергопотребления системы 1000, 1100 и увеличения скорости испарения, и тем самым возрастания производительности без значительного увеличения габаритов контейнера 1039 (то есть, испарительной камеры).

Необязательная вторая воздуходувка

В одном варианте исполнения система 1000, 1100 может дополнительно включать вторую воздуходувку (не показана). В одном варианте исполнения воздушный поток из второй воздуходувки рассеивает сточную воду и/или водяные капли из капельного отверстия 1038. В одном варианте исполнения вторая воздуходувка размещена через стенку контейнера 1039 так, что воздушный поток из воздуходувки протекает в противотоке и/или поперек направления движения сточной воды и/или водяных капель из капельного отверстия 1038. В одном варианте исполнения вторая воздуходувка 1042 может быть размещена проходящей через стенку контейнера 1039 ниже по потоку относительно каплеуловительных элементов 1045 как вытяжной вентилятор. В одном варианте исполнения вторая воздуходувка 1042 размещена проходящей через стенку контейнера 1039 так, что воздушный поток из второй воздуходувки протекает в противотоке и/или поперек направления движения сточной воды и/или водяных капель из капельного отверстия 1038. Другими словами, контейнер 1039 (то есть, испарительная камера) может действовать при давлении ниже атмосферного, создаваемом вытяжным вентилятором.

Вторая воздуходувка может представлять собой любой подходящий осевой компрессор. В одном варианте исполнения вторая воздуходувка может быть воздуходувкой с фиксированной или переменной скоростью. В одном варианте исполнения вторая воздуходувка может создавать поток от около 4000 CFM до 10000 CFM (113-283 м3/мин) (и в любом диапазоне или значении между ними). В одном варианте исполнения вторая воздуходувка может иметь мощность около 3 HP (2,22 кВт).

Необязательные воздушные дефлекторы, диффузоры и лопасти

Когда горячий воздух из системы 1041 нагнетания и предварительного нагревания воздуха поступает в впуск для воздуха контейнера 1039 (то есть, испарительную камеру), может быть создана турбулентность, и в результате этого может ухудшаться эффективность процесса испарения. Влияние турбулентности может быть уменьшено длинным или высоким контейнером 1039, но для уменьшения влияния неоднородного распределения воздуха без увеличения длины контейнера 1039 внутри контейнера 1039 может быть размещен дефлектор и/или диффузор непосредственно на траектории течения воздуха, чтобы перенаправлять воздух для выравнивания областей низкого и высокого давления воздуха, и/или для обеспечения равномерного протекания воздуха вдоль контейнера 1039.

В одном варианте исполнения система 1000, 1100 может дополнительно включать дефлектор и/или диффузор, причем дефлектор или диффузор может быть размещен внутри контейнера 1039 у впуска для воздуха в контейнер 1039 или вблизи него.

Дефлектор и/или диффузор могут представлять собой любой подходящий дефлектор и/или диффузор, способные перенаправлять воздух для выравнивания областей низкого и высокого давления воздуха и/или для обеспечения равномерного протекания воздуха вдоль контейнера 1039. Например, пригодный дефлектор или диффузор включает, но без ограничения этим, плоский металлический лист, наклонный металлический лист, перфорированный металлический лист, сплошной металлический лист, и их комбинации, для создания эффекта направляющей лопатки.

Дефлектор и/или диффузор могут иметь любые размер и форму.

В одном варианте исполнения размер и местоположение дефлектора и/или диффузора могут быть отрегулированы для достижения оптимальной производительности на основе температуры воздуха, высоты, влажности и прочих факторов.

В одном варианте исполнения дефлектор и/или диффузор могут быть размещены в контейнере 1039, чтобы обеспечивать возможность корректировок во время работы для достижения оптимальной производительности на основе температуры воздуха, высоты, влажности и прочих факторов.

В одном варианте исполнения система 1000, 1100 может дополнительно включать лопасть, причем лопасть может быть размещена в контейнере 1039 у впуска для воздуха в контейнер 1039 или вблизи него.

Лопасть может быть любой подходящей лопастью, способной отклонять направление течения воздуха примерно на 90 градусов (например, от горизонтального до вертикального) в контейнере 1039. Например, подходящая лопасть включает, но без ограничения этим, плоский металлический лист, наклонный металлический лист, перфорированный металлический лист, сплошной металлический лист, и их комбинации, для создания эффекта направляющей лопатки.

Лопасть может иметь любые размер и форму.

В одном варианте исполнения размер и местоположение лопасти могут быть отрегулированы для достижения оптимальной производительности на основе температуры воздуха, высоты, влажности и прочих факторов. В одном варианте исполнения лопасть может быть протяженной вдоль поперечного сечения (например, диаметра) контейнера 1039.

В одном варианте исполнения система 1000, 1100 может дополнительно включать лопасть, причем лопасть может быть размещена в воздуховоде между воздушным выпуском системы 1041 нагнетания и предварительного нагревания воздуха и впуском в контейнер 1039.

Лопасть может быть любой подходящей лопастью, способной обеспечивать достижение желательной степени смешения в воздуховоде. Например, подходящая лопасть включает, но без ограничения этим, плоский металлический лист, наклонный металлический лист, перфорированный металлический лист, сплошной металлический лист, и их комбинации, для создания эффекта направляющей лопатки.

Лопасть может иметь любые подходящие размер и форму.

В одном варианте исполнения размер и местоположение лопасти могут быть отрегулированы для достижения оптимальной производительности на основе температуры воздуха, высоты, влажности и прочих факторов.

Воздуховод может иметь любые подходящие размер и форму. В одном варианте исполнения длина воздуховода может быть отрегулирована для достижения оптимальной производительности.

Необязательная изоляция и дополнительное нагревание

В одном варианте исполнения система 1000, 1100 может дополнительно включать дополнительное нагревание с использованием отходящего тепла из электрического генератора с питанием от природного газа или от горелки для сжигания природного газа, для защиты системы 1000, 1100 от температур ниже точки замерзания.

Как обсуждалось выше, система 1000, 1100 может иметь подогреватель 1043 воздуха, имеющий горелку для сжигания природного газа, чтобы нагревать окружающий воздух и ускорять процесс испарения воды. В некоторых вариантах исполнения подогреватель 1043 воздуха также может иметь электрический генератор с питанием от природного газа. Подогреватель 1043 воздуха может создавать отходящее тепло, которое может быть использовано для нагревания компонентов системы 1000, 1100 (например, трубопроводов, насосов, клапанов, и т.д.) для защиты системы 1000, 1100 от температур ниже точки замерзания.

Система 1000, 1100 может работать непрерывно (то есть, 24 часа в сутки, 356 дней в году) в отдаленных местах с холодными погодными условиями (например, ниже около 10°F (-12,2°С). Например, температуры окружающей среды могут быть ниже точки замерзания (например, от около 10°F до около 32°F (-12,2-0°С)) на протяжении длительных периодов времени. Если эти температуры ниже точки замерзания продолжаются в течение дней, недель или даже месяцев, в незащищенной системе 1000, 1100 происходит замерзание воды. Если вода замерзает, незащищенная система 1000, 1100, а именно насосы и клапаны, скорее всего перестает действовать вследствие повреждения от замерзания, нуждаясь во вмешательстве оператора и дорогостоящем ремонте поврежденной системы 1000, 1100.

Система 1000, 1100 должна быть способна работать в холодных погодных условиях, поддерживая операции испарения почти при всех погодных условиях. Отключения при холодной погоде не только снижают эффективность процесса испарения, но они также требуют вмешательства оператора для повторного пуска системы 1000, 1100, поскольку замерзшие компоненты должны оттаять, должны быть проверены в отношении повреждения, и, при необходимости, отремонтированы или заменены перед повторным пуском. Кроме того, холодные погодные условия в некоторвх местах могут длиться неделями или месяцами, делая эксплуатационную надежность при температуре ниже точки замерзания существенной для функциональной эффективности.

В одном варианте исполнения система 1000, 1100 может дополнительно включать одно или многое из изоляции, сопроводительного подогрева (то есть, резистивного нагрева) и дополнительного нагревания для защиты системы 1000, 1100 от температур ниже точки замерзания. Например, одно или многое из изоляции, сопроводительного подогрева и дополнительного нагревания для системы 1000, 1100 включает, но без ограничения этим, следующее:

- изоляцию защищенных от атмосферных воздействий оболочек,

- изоляцию компонентов (например, трубопроводов, насосов, клапанов, и т.д.),

- дополнительное нагревание (например, непосредственный нагрев, сопроводительный подогрев, с использованием отходящего тепла от генератора или горелки).

В одном варианте исполнения система 1000, 1100 может дополнительно включать изоляцию, причем изоляцию размещают вокруг компонентов системы 1000, 1100 (например, трубопроводов, насосов, клапанов, и т.д.). В одном варианте исполнения система 1000, 1100 может дополнительно включать оболочку (для одного или многих из насосов и клапанов) и изоляцию, причем изоляцию размещают вокруг компонентов системы 1000, 1100 (например, трубопроводов, насосов, клапанов, и т.д.), и/или внутри оболочки. Изоляция обеспечивает кратковременную защиту от низкотемпературных условий, но для надежного функционирования при продожающихся длительное время низких температурах требуется дополнительное нагревание.

В одном варианте исполнения система 1000, 1100 может дополнительно включать сопроводительный подогрев, причем сопроводительный подогрев обеспечивают вокруг компонентов системы 1000, 1100 (например, трубопроводов, насосов, клапанов, и т.д.). Сопроводительный подогрев создает долговременную защиту от низкотемпературных условий, но он потребляет слишком много электроэнергии, чтобы быть эффективным, и не может генерировать тепло в случае отключения электрической энергии.

В одном варианте исполнения система 1000, 1100 может дополнительно включать дополнительное нагревание с использованием непосредственного нагрева и/или с использованием отходящего тепла от горелки или генератора, для защиты компонентов системы 1000, 1100 (например, трубопроводов, насосов, клапанов, и т.д.). Например, дополнительное нагревание с использованием непосредственного нагрева и/или с использованием отходящего тепла от горелки или генератора включает, но без ограничения этим, следующее:

- направление отходящего тепла от горелки в оболочку путем пассивного излучения,

- направление отходящего тепла от генератора в оболочку с использованием металлического трубопровода,

- размещение инфракрасного нагревателя с питанием от природного газа в оболочке.

В одном варианте исполнения система 1000, 1100 может дополнительно включать оболочку (для одного или многих из насосов и клапанов) и прямой нагреватель (например, инфракрасный нагреватель с питанием от природного газа), причем прямой нагреватель размещают внутри оболочки.

В одном варианте исполнения система 1000, 1100 может дополнительно включать горелку и оболочку (для одного или многих из насосов и клапанов), причем отходящее тепло направляют в оболочку путем пассивного излучения.

В одном варианте исполнения система 1000, 1100 может дополнительно включать трубопровод, оболочку (для одного или многих из насосов и клапанов) и генератор, причем отходящее тепло от генератора направляют в оболочку по трубопроводу.

Необязательная система продувки воздухом, аргоном или азотом

В случае отключения электрической энергии и/или падения давления природного газа система 1000, 1100 уже не была бы способна генерировать дополнительное тепло. В ситуации отключения электрической энергии система 1000, 1100 также была бы лишена способности продувать компоненты системы (например, трубопроводы, насосы, клапаны, и т.д.) с использованием электрических насосов.

Чтобы обеспечить дополнительную защиту от замерзания во время отключения электрической энергии и/или падения давления природного газа, система 1000, 1100 может дополнительно включать систему 10008 продувки воздухом, аргоном или азотом, которая может «выдувать» воду из компонентов системы (например, трубопроводов, насосов, клапанов, и т.д.) для защиты системы от замерзания. В одном варианте исполнения система 10008 продувки воздухом, аргоном или азотом системы 1000, 1100 может быть приведена в действие датчиком температуры окружающей среды с питанием от аварийной системы электроснабжения с питанием от аккумуляторной батареи. Кроме того, производительность системы 10008 продувки воздухом, аргоном или азотом может быть отрегулирована для «выдувания» воды из компонентов системы (например, трубопроводов, насосов, клапанов, и т.д.), а также из подводящих и выпускных трубопроводов, которые соединяют систему 1000, 1100 с источником сточной воды или резервуарным хозяйством.

В одном варианте исполнения система 1000, 1100 может дополнительно включать систему 10008 продувки воздухом, аргоном или азотом, включающую источник 10010 воздуха, аргона или азота, пятый (для воздуха, аргона или азота) клапан 10012, и необязательный отсечной клапан 10014 для воздуха, аргона или азота, для защиты системы от замерзания.

Выпуск источника 10010 воздуха, аргона или азота может быть соединен с впуском пятого (для воздуха, аргона или азота) клапана 10012 трубопроводом 10016а.

Выпуск пятого (для воздуха, аргона или азота) клапана 10012 может быть соединен с впуском трубопровода 1008b трубопроводом 10016b.

Выпуск необязательного пятого (для воздуха, аргона или азота) отсечного клапана 10014 для воздуха, аргона или азота может быть соединен с впуском трубопровода 1008b трубопроводом 10016с.

Источник 10010 воздуха, аргона или азота может быть любым подходящим источником 10010 воздуха, аргона или азота. Например, пригодный источник 10010 воздуха, аргона или азота включает, но без ограничения этим, воздушный компрессор, воздушный баллон высокого давления, баллон высокого давления с аргоном и баллон высокого давления с азотом.

В одном варианте исполнения воздух, аргон или азот могут иметь любое подходящее давление продувки. Например, давление продувки включает, но без ограничения этим, около 15-20 psig (0,103-0,138 Мпа).

В одном варианте исполнения система 1000, 1100 может дополнительно включать пятый (для воздуха, аргона или азота) клапан 10012. Пятый (для воздуха, аргона или азота) клапан 10012 может быть любым подходящим переключающим клапаном. Пригодные пятые (для воздуха, аргона или азота) клапаны 10012 включают, но без ограничения этим, шаровые клапаны. Например, подходящий пятый (для воздуха, аргона или азота) клапан 10012 имеется в продаже на рынке от фирмы GF Piping Systems. В одном варианте исполнения пятый (для воздуха, аргона или азота) клапан 10012 может представлять собой шаровой клапан GF Piping Systems типа 546 с электрическим приводом от фирмы GF Piping Systems. В одном варианте исполнения пятый (для воздуха, аргона или азота) клапан 10012 может быть автоматическим или с ручным управлением. В одном варианте исполнения пятый (для воздуха, аргона или азота) клапан 10012 может быть может быть с электрическим или пневматическим приводом. В одном варианте исполнения нормальным положением пятого (для воздуха, аргона или азота) клапана 10012 может быть положение «ЗАКРЫТО». В одном варианте исполнения нормальным положением пятого (для воздуха, аргона или азота) клапана 10012 может быть положение «ОТКРЫТО».

В одном варианте исполнения пятый (для воздуха, аргона или азота) клапан 10012 может иметь 1/4-дюймовые соединения.

В одном варианте исполнения система 1000, 1100 может дополнительно включать пятый (для воздуха, аргона или азота) отсечной клапан 10014. Пятый (для воздуха, аргона или азота) отсечной клапан 10014 может быть любым подходящим отсечным клапаном. Пригодные пятые (для воздуха, аргона или азота) отсечные клапаны 10014 включают, но без ограничения этим, шаровые клапаны и дроссельные поворотные заслонки. Например, подходящий пятый (для воздуха, аргона или азота) отсечной клапан 10014 имеется в продаже на рынке от фирмы GF Piping Systems. В одном варианте исполнения пятый (для воздуха, аргона или азота) отсечной клапан 10014 может представлять собой шаровой клапан GF Piping Systems типа 546 фирмы GF Piping Systems. В одном варианте исполнения пятый (для воздуха, аргона или азота) отсечной клапан 10014 может быть автоматическим или с ручным управлением. В одном варианте исполнения нормальным положением пятого (для воздуха, аргона или азота) отсечного клапана 10014 может быть положение «ОТКРЫТО».

В одном варианте исполнения пятый (для воздуха, аргона или азота) отсечной клапан 10014 может иметь 1/4-дюймовые соединения.

Трубопровод 10016а, 10016b, 10016с может быть выполнен из любой подходящей коррозионно-стойкой трубы. Трубопровод 10016а, 10016b, 10016с может представлять собой трубопровод из любых подходящих коррозионно-стойких металлов или пластиков. Пригодные металлы включают, но без ограничения этим, латунь, медь, нержавеющую сталь, и их комбинации; и пригодные пластики включают, но без ограничения этим, хлорированные поливинилхлоридные (CPVC) полимеры, армированный стекловолокном пластик (FRP), поливинилиденфторидные (PVDF) полимеры Kynar®, полиэтиленовые полимеры, полипропиленовые полимеры, поливинилхлоридные (PVC) полимеры, перфторалкоксиполимеры (PFA) Teflon®, политетрафторэтиленовые (PTFE) полимеры Teflon®, и их комбинации. В одном варианте исполнения трубопровод 10016а, 10016b, 10016с может быть выполнен из нержавеющей стали 316.

В одном варианте исполнения трубопровод 10016а, 10016b, 10016с может представлять собой 1/4-дюймовую трубу.

Необязательная колонка уровнемера

В одном варианте исполнения система 1000, 1100 может дополнительно включать колонку 10000 уровнемера, третий отсечной клапан 10003 и четвертый отсечной клапан 10004.

Нижний конец колонки 10000 уровнемера может быть соединен в сообщении по текучей среде с впуском четвертого отсечного клапана 10004 по трубопроводу 10002а и с впуском третьего отсечного клапана 10003 по трубопроводу 10006b. Выпуск третьего отсечного клапана 10003 находится в сообщении по текучей среде с четвертым впуском контейнера 1039 на седьмой высоте контейнера 1039 по трубопроводу 10006с. В одном варианте исполнения седьмая высота контейнера 1039 может составлять от около четырех дюймов (10,16 см) до около 1 фута (30,5 см)) (и в любом диапазоне или значении между ними). В одном варианте исполнения седьмая высота контейнера 1039 может составлять около 6 дюймов (15,24 см).

Колонка 10000 уровнемера может быть любой подходящей колонкой уровнемера. Пригодные колонки 10000 уровнемера включают, но без ограничения этим, индикаторы на основе колонки уровнемера.

Трубопровод 10006а, 10006b, 10006с может быть выполнен из любой подходящей коррозионно-стойкой трубы. Трубопровод 10006а, 10006b, 10006с может быть из любых подходящих коррозионно-стойких металлов или пластиков. Пригодные металлы включают, но без ограничения этим, углеродистую сталь с полимерным покрытием, нержавеющую сталь, супердуплексную нержавеющую сталь, сплав AL-6XN, сплав Ni-Al-Brz, сплав Hastelloy®, сплав Monel®, и их комбинации; и пригодные пластики включают, но без ограничения этим, хлорированные поливинилхлоридные (CPVC) полимеры, армированный стекловолокном пластик (FRP), поливинилиденфторидные (PVDF) полимеры Kynar®, полиэтиленовые полимеры, полипропиленовые полимеры, поливинилхлоридные (PVC) полимеры, перфторалкоксиполимеры (PFA) Teflon®, политетрафторэтиленовые (PTFE) полимеры Teflon®, и их комбинации. В одном варианте исполнения трубопровод 10006а, 10006b, 10006с может быть выполнен из углеродистой стали с полимерным покрытием. В одном варианте исполнения трубопровод 10006а, 10006b, 10006с может быть выполнен из углеродистой стали с полимерным покрытием из смолы Plasite 7159 HAR. В одном варианте исполнения трубопровод, 10006а, 10006b, 10006с может быть выполнен из нержавеющей стали 316.

В одном варианте исполнения трубопровод 10006а, 10006b, 10006с может представлять собой 2-дюймовую трубу.

Разгрузочная система

В одном варианте исполнения система 1000, 1100 может дополнительно включать контрольный клапан 1063, четвертый (разгрузочный) клапан 1069 и второй (разгрузочный) отсечной клапан 1074. Выпуск трубопровода 1020а может быть соединен с впуском четвертого (разгрузочного) клапана 1069 трубопроводом 1020b; и выпуск четвертого (разгрузочного) клапана 1069 может быть соединен с впуском контрольного клапана 1063 или с впуском второго (разгрузочного) отсечного клапана 1074 трубопроводом 1072.

Выпуск контрольного клапана 1063 или или выпуск второго (разгрузочного) отсечного клапана 1074 может быть соединен с впуском второго (разгрузочного) фирм\ланца 1076 трубопроводом 1075.

В одном варианте исполнения система 1000, 1100 может дополнительно включать четвертый (разгрузочный) клапан 1069. Четвертый (разгрузочный) клапан 1069 может быть любым подходящим переключающим клапаном. Пригодные четвертые (разгрузочные) клапаны 1069 включают, но без ограничения этим, шаровые клапаны. Например, подходящий четвертый (разгрузочный) клапан 1069 имеется в продаже на рынке от фирмы GF Piping Systems. В одном варианте исполнения четвертый (разгрузочный) клапан 1069 может представлять собой шаровой клапан GF Piping Systems типа 546 с электрическим приводом от фирмы GF Piping Systems. В одном варианте исполнения четвертый (разгрузочный) клапан 1069 может быть автоматическим или с ручным управлением. В одном варианте исполнения четвертый (разгрузочный) клапан 1069 может быть с электрическим или пневматическим приводом. В одном варианте исполнения нормальным положением четвертого (разгрузочного) клапана 1069 может быть положение «ЗАКРЫТО».

В одном варианте исполнения четвертый (разгрузочный) клапан 1069 может иметь 2-дюймовые соединения.

В одном варианте исполнения система 1000, 1100 может дополнительно включать второй (разгрузочный) отсечной клапан 1074. Второй (разгрузочный) отсечной 1074 клапан может быть любым подходящим отсечным клапаном. Пригодные вторые (разгрузочные) отсечные клапаны 1074 включают, но без ограничения этим, шаровые клапаны и дроссельные поворотные заслонки. Например, пригодный второй (разгрузочный) отсечной клапан 1074 имеется в продаже на рынке от фирмы GF Piping Systems. В одном варианте исполнения второй (разгрузочный) отсечной клапан 1074 может представлять собой шаровой клапан GF Piping System типа 546 от фирмы GF Piping Systems. В одном варианте исполнения второй (разгрузочный) отсечной клапан 1074 может быть автоматическим или приводимым в действие вручную. В одном варианте исполнения нормальным положением второго (разгрузочного) отсечного клапана 1074.может быть положение «ЗАКРЫТО».

В одном варианте исполнения второй (разгрузочный) отсечной клапан 1074 может иметь 2-дюймовые соединения.

Четвертый (разгрузочный) клапан 1069 и второй (разгрузочный) отсечной клапан 1074 могут быть выполнены из любого подходящего коррозионно-стойкого материала. Четвертый (разгрузочный) клапан 1069 и второй (разгрузочный) отсечной клапан 1074 могут быть выполнены из любых подходящих коррозионно-стойких металлов или пластиков. Пригодные металлы включают, но без ограничения этим, углеродистую сталь с полимерным покрытием, нержавеющую сталь, сплав Hastelloy®, сплав Monel®, и их комбинации; и пригодные пластики включают, но без ограничения этим, поливинилхлоридные (PVC) полимеры, хлорированные поливинилхлоридные (CPVC) полимеры, армированный стекловолокном пластик (FRP), поливинилиденфторидные (PVDF) полимеры Kynar®, полиэтиленовые полимеры, полипропиленовые полимеры, перфторалкоксиполимеры (PFA) Teflon®, политетрафторэтиленовые (PTFE) полимеры Teflon®, и их комбинации. В одном варианте исполнения четвертый (разгрузочный) клапан 1069 и второй (разгрузочный) отсечной клапан 1074 (смачиваемые компоненты) могут быть выполнены из поливинилхлорида (PVC) и каучука на основе этилен-пропилен-диенового мономера (EPDM).

В одном варианте исполнения система 1000, 1100 может дополнительно включать контрольный клапан 1063. Контрольный клапан 1063 может быть любым подходящим контрольным клапаном. Пригодные контрольные клапаны 1063 включают, но без ограничения этим, одноходовые клапаны. Выпуск четвертого (разгрузочного) клапана 1069 может быть соединен с впуском контрольного клапана 1063; и выпуск контрольного клапана 1063 может быть соединен с впуском второго (разгрузочного) отсечного клапана 1074.

В одном варианте исполнения система 1000, 1100 может дополнительно включать седьмой концевой выключатель (не показан) и восьмой концевой выключатель (не показан) (Например, смотри ФИГ. 1А-1В: 113 и 114). В одном варианте исполнения седьмой концевой выключатель (не показан) подтверждает, что четвертый (разгрузочный) клапан 1069 находится в положении «ОТКРЫТО»; и восьмой концевой выключатель (не показан) подтверждает, что четвертый (разгрузочный) клапан 1069 находится в положении находится в положении «ЗАКРЫТО».

Трубопровод 1072, 1075 может быть выполнен из любой подходящей коррозионно-стойкой трубы. Трубопровод 1072, 1075 может быть образован из любых подходящих коррозионно-стойких металлов или пластиков. Пригодные металлы включают, но без ограничения этим, углеродистую сталь с полимерным покрытием, нержавеющую сталь, супердуплексную нержавеющую сталь, сплав AL-6XN, сплав Ni-Al-Brz, сплав Hastelloy®, сплав Monel®, и их комбинации; и пригодные пластики включают, но без ограничения этим, хлорированные поливинилхлоридные (CPVC) полимеры, армированный стекловолокном пластик (FRP), поливинилиденфторидные (PVDF) полимеры Kynar®, полиэтиленовые полимеры, полипропиленовые полимеры, поливинилхлоридные (PVC) полимеры, перфторалкоксиполимеры (PFA) Teflon®, политетрафторэтиленовые (PTFE) полимеры Teflon®, и их комбинации. В одном варианте исполнения трубопровод 1072, 1075 может быть выполнен из углеродистой стали с полимерным покрытием. В одном варианте исполнения трубопровод 1072, 1075 может быть выполнен из углеродистой стали с полимерным покрытием из смолы Plasite 7159 HAR. В одном варианте исполнения трубопровод 1072, 1075 может быть выполнен из нержавеющей стали 316.

В одном варианте исполнения трубопровод 1072, 1075 может представлять собой 2-дюймовую трубу.

Необязательные датчики и измерительные приборы

В одном варианте исполнения система 1000, 1100 может дополнительно включать первый температурный датчик (не показан), второй температурный датчик 1043а, третий температурный датчик 1043b, первый измеритель удельной электропроводности (не показан), необязательный второй измеритель удельной электропроводности (не показан), и/или третий индикатор или измеритель 1073 расхода потока. (Например, смотри ФИГ. 1А-1В: 130, 131, 132 и 173).

Первый температурный датчик (не показан) может быть соединен в сообщении по текучей среде с первым коллектором 1028.

Второй температурный датчик 1043а может быть соединен в сообщении по текучей среде с воздушным выпуском подогревателя 1043 воздуха.

Третий температурный датчик 1043b может быть соединен в сообщении по текучей среде с незаполненным пространством в контейнере 1039 над каплеобразующей системой 1034 и рядом с каплеуловительным элементом 1045.

Первый температурный датчик (не показан) может представлять собой любое подходящее устройство для измерения температуры. (Например, смотри ФИГ. 1А-1В: 130). Например, пригодный первый температурный датчик имеется в продаже на рынке от фирмы Ashcroft Inc. В одном варианте исполнения первый температурный датчик может представлять собой биметаллический циферблатный термометр фирмы Ashcroft Inc. В одном варианте исполнения первый температурный датчик может может быть электрическим или приводимым в действие вручную.

Второй температурный датчик 1043а и третий температурный датчик 1043b могут представлять собой любое подходящее устройство для измерения температуры. Например, пригодный второй температурный датчик 1043а и третий температурный датчик 1043b имеется в продаже на рынке от фирмы Pyromation Inc. В одном варианте исполнения второй температурный датчик 1043а и третий температурный датчик 1043b может представлять собой резистивный детектор температуры (RTD) как температурный датчик от фирмы Pyromation Inc. В одном варианте исполнения второй температурный датчик 1043а и третий температурный датчик 1043b может быть с электрическим или с ручным управлением.

Первый измеритель (не показан) удельной электропроводности может быть соединен в сообщении по текучей среде с первым коллектором 1028; и необязательный второй измеритель удельной электропроводности (не показан) может быть соединен в сообщении по текучей среде с первым коллектором 1028. (Например, смотри ФИГ. 1А-1В: 131 и 132).

Первый измеритель (не показан) удельной электропроводности отслеживает удельную электропроводность сточной воды на впускном (питающем) канале и/или конденсированной (рециркуляционной) сточной воды из внешнего источника сточной воды. (Например, смотри ФИГ. 1А-1В: 131). Если первый измеритель удельной электропроводности измеряет предварительно определенную минимальную удельную электропроводность (например, показывая присутствие масла в подводимой воде), система 1000 отключается.

Первый измеритель (не показан) удельной электропроводности может быть любым подходящим кондуктометром. (Например, смотри ФИГ. 1А-1В: 131). Например, пригодный первый измеритель удельной электропроводности имеется в продаже на рынке от фирмы Cole-Parmer Instrument Company. В одном варианте исполнения первый измеритель удельной электропроводности может представлять собой тороидальный датчик проводимости модели ML-19504-04 фирмы Cole-Parmer Instrument Company. В одном варианте исполнения первый измеритель электропроводности может быть электрически соединен с PLC или компьютерным устройством 600. В одном варианте исполнения первый измеритель удельной электропроводности может иметь диапазон от около 0 мкСм/см до около 1000000 мкСм/см (и в любом диапазоне или значении между ними).

Необязательный второй измеритель удельной электропроводности (не показан) отслеживает удельную электропроводность на впускном (питающем) канале или конденсированной (рециркуляционной) сточной воды из внешнего источника сточной воды. Если второй измеритель электропроводности показывает, что конденсированная сточная вода (рассол) достигла предварительно определенной максимальной удельной электропроводности, третий (разгрузочный) отсечной клапан 1074 переключается в положение «ОТКРЫТО».

Необязательный второй измеритель удельной электропроводности (не показан) может быть любым подходящим кондуктометром. Например, пригодный первый измеритель удельной электропроводности (не показан) имеется в продаже на рынке от фирмы Cole-Parmer Instrument Company. В одном варианте исполнения первый измеритель удельной электропроводности (не показан) может представлять собой тороидальный датчик проводимости модели ML-19504-04, электрически соединенный с калибратором-мультиметром модели ML-94785-12 фирмы Cole-Parmer Instrument Company. В одном варианте исполнения второй измеритель удельной электропроводности (не показан) может быть электрически соединен с PLC или компьютерным устройством 600. В одном варианте исполнения второй измеритель удельной электропроводности (не показан) может иметь диапазон от около 0 мкСм/см до около 1000000 мкСм/см (и в любом диапазоне или значении между ними).

Третий индикатор или измеритель 1073 расхода потока может быть соединен в сообщении по текучей среде с трубопроводом 1072. Третий индикатор или измеритель 1073 расхода потока отслеживает величину расхода потока, выводимого на разгрузочный выпуск 1076.

Третий индикатор или измеритель 1073 расхода потока может быть любым подходящим индикатором или измерителем расхода потока. Пригодные третьи индикаторы или измерители 1073 расхода потока включают, но без ограничения этим, магнитные расходомеры, расходомеры турбинного типа, ультразвуковые вихревые и вихревые расходомеры вставляемого типа. Например, подходящий третий индикатор или измеритель 1073 расхода потока имеется в продаже на рынке от фирмы Georg Fischer Signet LLC. В одном варианте исполнения третий индикатор или измеритель 1073 расхода потока может представлять собой датчик расхода турбинного типа Signet 2536 Rotor-X фирмы Georg Fischer Signet LLC. В одном варианте исполнения третий индикатор или измеритель 1073 расхода потока может быть электрически соединен с PLC или компьютерным устройством 600.

Необязательные реле предельного уровня, давления и температуры

В одном варианте исполнения система 1000, 1100 может дополнительно включать первое реле давления (не показано), датчик температуры воздуха (не показан), второе реле высокого перепада давления (не показано), третье реле аварийно высокого перепада давления (не показано), первое реле 1049 аварийно высокого высшего предела, реле низкого предела (не показано), реле высшего предела (не показано), второе реле аварийно высокого высшего предела (не показано), и второе реле давления (не показано). (Например, смотри ФИГ. 1А-1В: 110, 140, 147, 148, 149, 150, 151, 152 и 159).

Первое реле давления (не показано) отслеживает давление на впускном канале для сточной воды до насоса 1018. (Например, смотри ФИГ. 1А-1В: 110). Первое реле давления может быть любым подходящим реле давления. Например, пригодное первое реле давления имеется в продаже на рынке от фирмы AutomationDirect.com Inc. В одном варианте исполнения первое реле давления может представлять собой механическое реле давления ProSense® MPS25 Series фирмы AutomationDirect.com Inc.

Первое реле давления (не показано) может быть соединено в сообщении по текучей среде с трубопроводом 1008. (Например, смотри ФИГ. 1А-1В: 110).

Второе реле высокого перепада давления (не показано) отслеживает давление воздуха в контейнере 1039. (Например, смотри ФИГ. 1А-1В: 147). Если срабатывает второе реле высокого перепада давления, включается первая воздуходувка 1042 и/или вторая воздуходувка. В одном варианте исполнения второе реле высокого перепада давления может быть настроено на величину +/-0,15 дюймов водяного столба (3,8 мм рт.ст.).

Второе реле высокого перепада давления (не показано) может быть любым подходящим дифференциальным датчиком давления. (Например, смотри ФИГ. 1А-1В: 147). Например, пригодное второе реле высокого перепада давления имеется в продаже на рынке от фирмы Dwyer Instruments Inc. В одном варианте исполнения второе реле высокого перепада давления может представлять собой фотогелический датчик перепада давления серии 3000 от фирмы Dwyer Instruments Inc. В одном варианте исполнения второе реле высокого перепада давления имеет диапазон от около 0 до около 0,5 дюймов водяного столба (12,7 мм рт.ст.).

Второе реле высокого перепада давления (не показано) может быть соединено в сообщении по текучей среде с контейнером 1039. (Например, смотри ФИГ. 1А-1В: 147).

Третье реле аварийно высокого перепада давления (не показано) также отслеживает давление воздуха в контейнере. (Например, смотри ФИГ. 1А-1В: 148). Если срабатывает третье реле аварийно высокого перепада давления, может быть заблокирована система 1044 улавливания тумана вследствие захлебывания или нарастания окалины. В одном варианте исполнения третье реле аварийно высокого перепада давления может быть настроено на величину около +/-0,40 дюймов водяного столба (10,16 мм рт.ст.)

Третье реле аварийно высокого перепада давления (не показано) может быть любым подходящим датчиком перепада давления. (Например, смотри ФИГ. 1А-1В: 148). Например, пригодное третье реле аварийно высокого перепада давления имеется в продаже на рынке от фирмы Dwyer Instruments Inc. В одном варианте исполнения третье реле аварийно высокого перепада давления может представлять собой фотогелический датчик перепада давления серии 3000MR фирмы Dwyer Instruments Inc. В одном варианте исполнения третье реле аварийно высокого перепада давления имеет диапазон от около 0 до около 0,5 дюймов водяного столба (12,7 мм рт.ст.).

Третье реле аварийно высокого перепада давления (не показано) может быть соединено в сообщении по текучей среде с контейнером 1039. (Например, смотри ФИГ. 1А-1В: 148).

Первое реле аварийно высокого верхнего предела (не показано), реле низкого предела (не показано) и реле верхнего предела (не показано) отслеживают различные уровни воды в отстойнике (дне) контейнера 1039. (Например, смотри ФИГ. 1А-1В: 149, 150 и 151). Второе реле аварийно высокого верхнего предела (не показано) отслеживает уровни воды во вторичной защитной оболочке. (Например, смотри ФИГ. 1А-1В: 152).

Реле 1049 аварийно высокого верхнего предела, реле низкого предела (не показано) и реле верхнего предела (не показано) могут представлять собой любые подходящие реле уровня воды. (Например, смотри ФИГ. 1А-1В: 149, 150, 151 и 152). Пригодные реле уровня воды включают, но без ограничения этим, емкостные бесконтактные переключатели, плавающую, магнитную и вибрирующую вилку. Например, реле 1049 аварийно высокого верхнего предела, реле низкого предела и реле верхнего предела имеются в продаже на рынке от фирмы AutomationDirect.com Inc. В одном варианте исполнения реле 1049 аварийно высокого верхнего предела, реле низкого предела и реле верхнего предела могут представлять собой круглые индуктивные бесконтактные переключатели TU Series Model M18 фирмы AutomationDirect.com Inc.

Первое реле 1049 аварийно высокого верхнего предела, реле низкого предела (не показано), и реле верхнего предела (не показано) могут быть соединены в сообщении по текучей среде с областью вблизи отстойника (дна) контейнера 1039. (Например, смотри ФИГ. 1А-1В: 149, 150, 151).

Второе реле аварийно высокого верхнего предела (не показано) может быть соединено в сообщении по текучей среде с областью вне контейнера 1039 для мониторинга уровней воды во вторичной защитной оболочке. (Например, смотри ФИГ. 1А-1В: 152).

Первая необязательная система кислотного кондиционирования

В одном варианте исполнения система 1000, 1100 может дополнительно включать необязательную систему кислотного кондиционирования (не показана). (Например, смотри ФИГ. 1А-1В: 177). Система кислотного кондиционирования (не показана) включает хранилище запаса кислоты (не показано) и дозирующий кислоту насос (не показан) (Например, смотри ФИГ. 1А-1В: 177, 178 и 180).

Кислота может быть любой подходящей кислотой. Пригодные кислоты включают, но без ограничения этим, соляную кислоту и серную кислоту. В одном варианте исполнения кислота может быть соляной кислотой (20 градусов Боме). В одном варианте исполнения кислота может представлять собой серную кислоту (98%-ную). В одном варианте исполнения желательное значение рН сточной воды составляет около 6,5 или ниже, для минимизации отложений карбоната кальция. В одном варианте исполнения желательное значение рН сточной воды может быть выше около 6,5, если добавлен ингибитор накипи для минимизации карбонатной и некарбонатной накипи. В одном варианте исполнения количество добавляемого кислотного раствора варьирует в зависимости от состояния поступающей воды (например, рН, щелочности).

В одном варианте исполнения желательное значение рН сточной воды может составлять выше 6,5, если добавлен ингибитор накипи для минимизации карбонатной и некарбонатной накипи.

Выпуск хранилища запаса кислоты (не показано) может быть соединен в сообщении по текучей среде с впуском дозирующего кислоту насоса (не показан) через трубопровод (не показан); и выпуск дозирующего кислоту насоса (не показан) находится в сообщении по текучей среде с контейнером 1039 или с трубопроводом 1008 по трубопроводу (не показан) (Например, смотри ФИГ. 1А-1В: 178, 179, 180 и 181).

Хранилище запаса кислоты (не показано) может быть любым подходящим хранилищем запаса кислоты или другим объемным хранилищем химиката. (Например, смотри ФИГ. 1А-1В: 178). Пригодные хранилища запаса кислоты включают, но без ограничения этим, промышленный стандартный транспортный контейнер. Например, подходящее хранилище запаса кислоты имеется в продаже на рынке от фирмы National Tank Outlet. В одном варианте исполнения хранилище запаса кислоты может представлять собой промышленный стандартный транспортный контейнер емкостью 275 галлонов или 330 галлонов (1040 или 1249 л). В одном варианте исполнения хранилище запаса кислоты может представлять собой барабан емкостью 55 галлонов (208 л).

Дозирующий кислоту насос (не показан) может быть любым подходящим насосом для дозирования кислоты. (Например, смотри ФИГ. 1А-1В: 180). Пригодные дозирующие кислоту насосы включают, но без ограничения этим, электронный мембранный, перистальтический и объемный насосы. Например, подходящий дозирующий кислоту насос имеется в продаже на рынке от фирмы Anko Products, Inc. В одном варианте исполнения дозирующий кислоту насос может представлять собой самовсасывающий перистальтический насос фирмы Anko Products, Inc. В одном варианте исполнения дозирующий кислоту насос может представлять собой самовсасывающий перистальтический насос Mityflex Model 907 фирмы Anko Products, Inc.

Трубопровод (не показан) может быть изготовлен из любой подходящей коррозионно-стойкой трубы. (Например, смотри ФИГ. 1А-1В: 179 и 181). Трубопровод может быть из любых подходящих коррозионно-стойких металлов или пластиков. Пригодные металлы включают, но без ограничения этим, сплав AL-6XN, сплав Hastelloy®, сплав Monel®, и их комбинации; и пригодные пластики включают, но без ограничения этим, хлорированные поливинилхлоридные (CPVC) полимеры, армированный стекловолокном пластик (FRP), поливинилиденфторидные (PVDF) полимеры Kynar®, полиэтиленовые полимеры, полипропиленовые полимеры, поливинилхлоридные (PVC) полимеры, перфторалкоксиполимеры (PFA) Teflon®, политетрафторэтиленовые (PTFE) полимеры Teflon®, и их комбинации. Например, подходящий трубопровод может быть изготовлен из тефлона Teflon® PFA или PTFE.

В одном варианте исполнения система кислотного кондиционирования (не показана) может дополнительно включать расходомер кислоты (не показан) (Например, смотри ФИГ. 1А-1В: 177). Расходомер кислоты (не показан) может быть соединен в сообщении по текучей среде с трубопроводом (не показан) (Например, смотри ФИГ. 1А-1В: 181). Расходомер кислоты измеряет величину расхода потока раствора кислоты.

Расходомер кислоты может быть любым подходящим расходомером. Пригодные расходомеры кислоты включают, но без ограничения этим, расходомеры турбинного типа, ультразвуковые вихревые и вихревые расходомеры вставляемого типа. Например, подходящий расходомер кислоты имеется в продаже на рынке от фирмы ProMinent. В одном варианте исполнения расходомер кислоты может представлять собой модель DulcoFlow DFMa фирмы ProMinent со встроенной функцией передачи сигнала.

Вторая необязательная система система кислотного кондиционирования

В одном варианте исполнения система 1000, 1100 может дополнительно включать систему кислотного кондиционирования (не показана). (Например, смотри ФИГ. 4: 460). Система кислотного кондиционирования (не показана) включает хранилище запаса кислоты (не показано) и дозирующий кислоту насос (не показан) (Например, смотри ФИГ. 4: 460, 462 и 466).

Кислота может быть любой подходящей кислотой. Пригодные кислоты включают, но без ограничения этим, соляную кислоту и серную кислоту. В одном варианте исполнения кислота может быть соляной кислотой (20 градусов Боме). В одном варианте исполнения кислота может представлять собой серную кислоту (98%-ную). В одном варианте исполнения желательное значение рН сточной воды составляет около 6,5 или ниже, для минимизации отложений карбоната кальция. В одном варианте исполнения количество добавляемого кислотного раствора варьирует в зависимости от состояния поступающей воды (например, рН, щелочности).

Выпуск хранилища запаса кислоты (не показан) может быть соединен в сообщении по текучей среде с впуском дозирующего кислоту насоса (не показан) через трубопровод (не показан); и выпуск дозирующего кислоту насоса (не показан) находится в сообщении по текучей среде с трубопроводом (не показан) по трубопроводу (не показан) (Например, смотри ФИГ. 4: 422, 462, 464, 466 и 472).

Хранилище запаса кислоты (не показано) может быть любым подходящим хранилищем запаса кислоты или другим объемным хранилищем химиката. (Например, смотри ФИГ. 4: 462). Пригодные хранилища запаса кислоты включают, но без ограничения этим, промышленный стандартный транспортный контейнер. Например, подходящее хранилище запаса кислоты имеется в продаже на рынке от фирмы National Tank Outlet. В одном варианте исполнения хранилище запаса кислоты может представлять собой промышленный стандартный транспортный контейнер емкостью 275 галлонов или 330 галлонов (1040 или 1249 л).

Дозирующий кислоту насос (не показан) может быть любым подходящим насосом для дозирования кислоты. (Например, смотри ФИГ. 4: 466). Пригодные дозирующие кислоту насосы включают, но без ограничения этим, перистальтические насосы. Например, подходящий дозирующий кислоту насос имеется в продаже на рынке от фирмы Blue-White Industries, Inc., Cole Palmer Instrument Company и Watson Marlow. В одном варианте исполнения дозирующий кислоту насос может представлять собой самовсасывающий перистальтический насос фирмы Blue-White Industries, Inc.

Трубопровод (не показан) может быть изготовлен из любой подходящей коррозионно-стойкой трубы. (Например, смотри ФИГ. 4: 464 и 472). Трубопровод может быть из любых подходящих коррозионно-стойких металлов или пластиков. Пригодные металлы включают, но без ограничения этим, сплав AL-6XN, сплав Hastelloy®, сплав Monel®, и их комбинации; и пригодные пластики включают, но без ограничения этим, хлорированные поливинилхлоридные (CPVC) полимеры, армированный стекловолокном пластик (FRP), поливинилиденфторидные (PVDF) полимеры Kynar®, полиэтиленовые полимеры, полипропиленовые полимеры, поливинилхлоридные (PVC) полимеры, перфторалкоксиполимеры (PFA) Teflon®, политетрафторэтиленовые (PTFE) полимеры Teflon®, и их комбинации. Например, подходящий трубопровод может быть изготовлен из тефлона Teflon® PFA или PTFE.

В одном варианте исполнения система кислотного кондиционирования (не показана) может дополнительно включать расходомер кислоты (не показан) (Например, смотри ФИГ. 4: 460 и 470). Расходомер кислоты (не показан) может быть соединен в сообщении по текучей среде с трубопроводом (не показан) (Например, смотри ФИГ. 4: 470 и 472). Расходомер кислоты измеряет величину расхода потока раствора кислоты.

Расходомер кислоты (не показан) может быть любым подходящим расходомером. (Например, смотри ФИГ. 4: 470). Пригодные расходомеры кислоты включают, но без ограничения этим, расходомеры турбинного типа, ультразвуковые вихревые и вихревые расходомеры вставляемого типа. Например, подходящий расходомер кислоты имеется в продаже на рынке от фирмы ProMinent. В одном варианте исполнения расходомер кислоты может представлять собой модель DulcoFlow DFMa фирмы ProMinent со встроенной функцией передачи сигнала.

Первая необязательная система бактерицидного кондиционирования

В одном варианте исполнения система 1000, 1100 может дополнительно включать необязательную систему бактерицидного кондиционирования (не показана). (Например, смотри ФИГ. 1А-1В: 182). Система бактерицидного кондиционирования (не показана) включает контейнер для бактерицида (не показан) и насос для дозирования бактерицида (не показан) (Например, смотри ФИГ. 1А-1В: 182, 183 и 185).

Бактерицид может быть любым подходящим бактерицидом. Пригодный бактерицид включает, но без ограничения этим, белильную хлорную известь, бром, диоксид хлора (генерируемый), 2,2-дибром-3-нитрилопропионамид (DBNPA), глутаровый альдегид, изотиазолин (1,5%) и озон (генерируемый). В одном варианте исполнения бактерицид может быть выбран из группы, состоящей из белильной хлорной извести (12,5%), брома, диоксида хлора (генерируемого), DBNPA (20%), глутарового альдегида (50%), изотиазолина (1,5%) и озона (генерируемого). В одном варианте исполнения желательная концентрация бактерицида составляет от около 10 млн-1 до около 1000 млн-1 (и в любом диапазоне или значении между ними). Количество раствора бактерицида, добавляемого к сточной воде, варьирует в зависимости от условий поступающей воды.

Выпуск контейнера для бактерицида (не показан) может быть соединен в сообщении по текучей среде с впуском насоса для дозирования бактерицида (не показан) по трубопроводу (не показан); и выпуск насоса для дозирования бактерицида (не показан) может быть в сообщении по текучей среде с контейнером 1039 или с трубопроводом 1088 по трубопроводу (не показан) (Например, смотри ФИГ. 1А-1В: 183, 184, 185 и 186).

Контейнер для бактерицида (не показан) может быть любым подходящим резервуаром для хранения бактерицида, или иным объемным хранилищем химиката. (Например, смотри ФИГ. 1А-1В: 183). Пригодные контейнеры для бактерицида включают, но без ограничения этим, промышленный стандартный транспортный контейнер. Например, подходящий контейнер для бактерицида имеется в продаже на рынке от фирмы National Tank Outlet. В одном варианте исполнения контейнер для бактерицида может представлять собой промышленный стандартный транспортный контейнер емкостью 275 галлонов или 330 галлонов (1040 или 1249 л). В одном варианте исполнения контейнер для бактерицида может представлять собой барабан емкостью 55 галлонов (208 л) или ведро емкостью 5 галлонов (19 л).

В одном альтернативном варианте исполнения контейнер для бактерицида (не показан) может быть заменен подходящим устройством для генерирования бактерицида (не показано). (Например, смотри ФИГ. 1А-1В: 183). Например, подходящее бактерицидное устройство имеется в продаже на рынке от фирмы Miox Corporation. В одном варианте исполнения устройство для генерирования бактерицида (не показано) может представлять собой генератор Model AE-8 фирмы Miox Corporation.

Насос для дозирования бактерицида (не показан) может быть любым подходящим насосом для дозирования бактерицида. (Например, смотри ФИГ. 1А-1В: 185). Пригодные насосы для дозирования бактерицида включают, но без ограничения этим, электронный мембранный, перистальтический и объемный насосы. Например, подходящий дозирующий насос для дозирования бактерицида имеется в продаже на рынке от фирмы Anko Products, Inc. В одном варианте исполнения насос для дозирования бактерицида может представлять собой самовсасывающий перистальтический насос фирмы Anko Products, Inc. В одном варианте исполнения насос для дозирования бактерицида может представлять собой самовсасывающий перистальтический насос Mityflex Model 907 фирмы Anko Products, Inc.

Трубопровод (не показан) может быть изготовлен из любой подходящей коррозионно-стойкой трубы. (Например, смотри ФИГ. 1А-1В: 184 и 186). Трубопровод может быть выполнен из любых подходящих коррозионно-стойких металлов или пластиков. Пригодные металлы включают, но без ограничения этим, сплав AL-6XN, сплав Hastelloy®, сплав Monel®, и их комбинации; и пригодные пластики включают, но без ограничения этим, хлорированные поливинилхлоридные (CPVC) полимеры, армированный стекловолокном пластик (FRP), поливинилиденфторидные (PVDF) полимеры Kynar®, полиэтиленовые полимеры, полипропиленовые полимеры, поливинилхлоридные (PVC) полимеры, перфторалкоксиполимеры (PFA) Teflon®, политетрафторэтиленовые (PTFE) полимеры Teflon®, и их комбинации. В одном варианте исполнения трубопровод может быть изготовлен из тефлона Teflon® PFA или PTFE.

В одном варианте исполнения система бактерицидного кондиционирования (не показана) может дополнительно включать необязательный расходомер бактерицида (не показан) (Например, смотри ФИГ. 1А-1В: 182). Расходомер бактерицида (не показан) может находиться в сообщении по текучей среде с трубопроводом (не показан). Расходомер бактерицида измеряет величину расхода потока раствора бактерицида.

Расходомер бактерицида может быть любым подходящим расходомером. Пригодные расходомеры бактерицида включают, но без ограничения этим, расходомеры турбинного типа, ультразвуковые вихревые и вихревые расходомеры вставляемого типа. Например, подходящий расходомер бактерицида имеется в продаже на рынке от фирмы ProMinent. В одном варианте исполнения расходомер бактерицида может представлять собой Model DulcoFlow DFMa фирмы ProMinent со встроенной функцией передачи сигнала.

Вторая необязательная система бактерицидного кондиционирования

В одном варианте исполнения система 1000, 1100 может дополнительно включать систему бактерицидного кондиционирования (не показана). (Например, смотри ФИГ. 4: 474). Система бактерицидного кондиционирования (не показана) включает контейнер для бактерицида (не показан) и насос для дозирования бактерицида (не показан) (Например, смотри ФИГ. 4: 474, 476 и 480).

Бактерицид может быть любым подходящим бактерицидом. Пригодный бактерицид включает, но без ограничения этим, белильную хлорную известь, бром, диоксид хлора (генерируемый), 2,2-дибром-3-нитрилопропионамид (DBNPA), глутаровый альдегид, изотиазолин (1,5%) и озон (генерируемый). В одном варианте исполнения бактерицид может быть выбран из группы, состоящей из белильной хлорной извести (12,5%), брома, диоксида хлора (генерируемого), DBNPA (20%), глутарового альдегида (50%), изотиазолина (1,5%) и озона (генерируемого). В одном варианте исполнения желательная концентрация бактерицида составляет от около 10 млн-1 до около 1000 млн-1 (и в любом диапазоне или значении между ними). Количество раствора бактерицида, добавляемого к сточной воде, варьирует в зависимости от условий поступающей воды.

Выпуск контейнера для бактерицида (не показан) может быть соединен в сообщении по текучей среде с впуском насоса для дозирования бактерицида (не показан) по трубопроводу (не показан); и выпуск насоса для дозирования бактерицида (не показан) может быть в сообщении по текучей среде с трубопроводом (не показан) по трубопроводу (не показан) (Например, смотри ФИГ. 4: 422, 476, 478, 480 и 482).

Контейнер для бактерицида (не показан) может быть любым подходящим резервуаром для хранения бактерицида, или иным объемным хранилищем химиката. (Например, смотри ФИГ. 4: 476). Пригодные контейнеры для бактерицида включают, но без ограничения этим, промышленный стандартный транспортный контейнер. Например, подходящий контейнер для бактерицида имеется в продаже на рынке от фирмы National Tank Outlet. В одном варианте исполнения контейнер для бактерицида может представлять собой промышленный стандартный транспортный контейнер емкостью 275 галлонов или 330 галлонов (1040 или 1249 л).

В одном альтернативном варианте исполнения контейнер для бактерицида (не показан) может быть заменен подходящим устройством для генерирования бактерицида (не показано). Например, подходящее бактерицидное устройство имеется в продаже на рынке от фирмы Miox Corporation. В одном варианте исполнения устройство для генерирования бактерицида (не показано) может представлять собой генератор Model AE-8 фирмы Miox Corporation.

Насос для дозирования бактерицида (не показан) может быть любым подходящим насосом для дозирования бактерицида. (Например, смотри ФИГ. 4: 480). Пригодные насосы для дозирования бактерицида включают, но без ограничения этим, перистальтические насосы. Например, подходящий дозирующий насос для дозирования бактерицида имеется в продаже на рынке от фирмы Blue-White Industries, Inc., Cole Palmer Instrument Company и Watson Marlow. В одном варианте исполнения дозирующий кислоту насос может представлять собой самовсасывающий перистальтический насос фирмы Blue-White Industries, Inc.

Трубопровод (не показан) может быть изготовлен из любой подходящей коррозионно-стойкой трубы. (Например, смотри ФИГ. 4: 478 и 482). Трубопровод может быть выполнен из любых подходящих коррозионно-стойких металлов или пластиков. Пригодные металлы включают, но без ограничения этим, сплав AL-6XN, сплав Hastelloy®, сплав Monel®, и их комбинации; и пригодные пластики включают, но без ограничения этим, хлорированные поливинилхлоридные (CPVC) полимеры, армированный стекловолокном пластик (FRP), поливинилиденфторидные (PVDF) полимеры Kynar®, полиэтиленовые полимеры, полипропиленовые полимеры, поливинилхлоридные (PVC) полимеры, перфторалкоксиполимеры (PFA) Teflon®, политетрафторэтиленовые (PTFE) полимеры Teflon®, и их комбинации. В одном варианте исполнения трубопровод может быть изготовлен из тефлона Teflon® PFA или PTFE.

В одном варианте исполнения система бактерицидного кондиционирования (не показана) может дополнительно включать необязательный расходомер бактерицида (не показан) (Например, смотри ФИГ. 4: 474 и 484). Расходомер бактерицида (не показан) может находиться в сообщении по текучей среде с трубопроводом (не показан) (Например, смотри ФИГ. 4: 482 и 484). Расходомер бактерицида измеряет величину расхода потока раствора бактерицида.

Расходомер бактерицида может быть любым подходящим расходомером. (Например, смотри ФИГ. 4: 484). Пригодные расходомеры бактерицида включают, но без ограничения этим, расходомеры турбинного типа, ультразвуковые вихревые и вихревые расходомеры вставляемого типа. Например, подходящий расходомер бактерицида имеется в продаже на рынке от фирмы ProMinent. В одном варианте исполнения расходомер бактерицида может представлять собой Model DulcoFlow DFMa фирмы ProMinent со встроенной функцией передачи сигнала.

Необязательная система кондиционирования для ингибирования накипи

В одном варианте исполнения система 1000, 1100 может дополнительно включать необязательную систему кондиционирования для ингибирования накипи (не показана). (Например, смотри ФИГ. 1А-1В: 187). Система кондиционирования для ингибирования накипи (не показана) включает контейнер для ингибитора накипи (не показан) и насос для дозирования ингибитора накипи (не показан) (Например, смотри ФИГ. 1А-1В: 187, 188 и 190).

Ингибитор накипи может быть любым подходящим ингибитором накипи или смесью ингибиторов накипи. Пригодный ингибитор накипи включает, но без ограничения этим, неорганические фосфаты, фосфорорганические соединения и органические полимеры. В одном варианте исполнения ингибитор накипи может быть выбран из группы, состоящей из органических сложных эфиров фосфорной кислоты, полиакрилатов, фосфонатов, полиакриламидов, поликарбоновых кислот, полималатов, полифосфин-карбоксилатов, полифосфатов и поливинилсульфонатов. В одном варианте исполнения желательная концентрация ингибитора накипи составляет от около 10 млн-1 до около 100 млн-1 (и в любом диапазоне или значении между ними). В одном варианте исполнения желательная концентрация ингибитора накипи составляет от около 2 млн-1 до около 20 млн-1 (и в любом диапазоне или значении между ними). Количество добавляемого в сточную воду ингибитора накипи варьирует в зависимости от состояния поступающей воды.

Выпуск контейнера для ингибитора накипи (не показан) может быть соединен в сообщении по текучей среде с впуском насоса для дозирования ингибитора накипи (не показан) по трубопроводу (не показан); и выпуск насоса для дозирования ингибитора накипи (не показан) может быть соединен в сообщении по текучей среде с контейнером 1039 через трубопровод (не показан) (Например, смотри ФИГ. 1А-1В: 188, 190 и 191).

Контейнер для ингибитора накипи (не показан) может быть любым подходящим контейнером для ингибитора накипи или другим объемным хранилищем химиката. Пригодный контейнер для ингибитора накипи включают, но без ограничения этим, промышленный стандартный транспортный контейнер. (Например, смотри ФИГ. 1А-1В: 188). Например, подходящий контейнер для ингибитора накипи имеется в продаже на рынке от фирмы National Tank Outlet. В одном варианте исполнения контейнер для ингибитора накипи может представлять собой промышленный стандартный транспортный контейнер емкостью 275 галлонов или 330 галлонов (1040 или 1249 л). В одном варианте исполнения контейнер для ингибитора накипи может представлять собой барабан емкостью 55 галлонов (208 л) или ведро емкостью 5 галлонов (19 л).

Насос для дозирования ингибитора накипи (не показан) может быть любым подходящим насосом для дозирования ингибитора накипи. (Например, смотри ФИГ. 1А-1В: 190). Пригодные насосы для дозирования ингибитора накипи включают, но без ограничения этим, электронный мембранный, перистальтический и объемный насосы. Например, подходящий насос для дозирования ингибитора накипи имеется в продаже на рынке от фирмы Anko Products, Inc. В одном варианте исполнения насос для дозирования ингибитора накипи может представлять собой самовсасывающий перистальтический насос фирмы Anko Products, Inc. В одном варианте исполнения насос для дозирования ингибитора накипи может представлять собой самовсасывающий перистальтический насос Mityflex Model 907 фирмы Anko Products, Inc.

Трубопровод (не показан) может быть изготовлен из любой подходящей коррозионно-стойкой трубы. (Например, смотри ФИГ. 1А-1В: 189 и 191). Трубопровод может быть из любых подходящих коррозионно-стойких металлов или пластиков. Пригодные металлы включают, но без ограничения этим, углеродистую сталь с полимерным покрытием, нержавеющую сталь, супердуплексную нержавеющую сталь, сплав AL-6XN, сплав Hastelloy®, сплав Monel®, и их комбинации; и пригодные пластики включают, но без ограничения этим, хлорированные поливинилхлоридные (CPVC) полимеры, армированный стекловолокном пластик (FRP), поливинилиденфторидные (PVDF) полимеры Kynar®, полиэтиленовые полимеры, полипропиленовые полимеры, поливинилхлоридные (PVC) полимеры, перфторалкоксиполимеры (PFA) Teflon®, политетрафторэтиленовые (PTFE) полимеры Teflon®, и их комбинации. В одном варианте исполнения трубопровод может быть изготовлен из тефлона Teflon® PFA или PTFE.

В одном варианте исполнения система кондиционирования для ингибирования накипи (не показана) может дополнительно включать необязательный расходомер ингибитора накипи (не показан) (Например, смотри ФИГ. 1А-1В: 187). Расходомер ингибитора накипи может быть соединен в сообщении по текучей среде с трубопроводом (не показан) (Например, смотри ФИГ. 1А-1В: 191). Расходомер ингибитора накипи измеряет величину расхода потока раствора ингибитора накипи.

Расходомер ингибитора накипи может быть любым подходящим расходомером. Пригодные расходомеры ингибитора накипи включают, но без ограничения этим, расходомеры турбинного типа, ультразвуковые вихревые и вихревые расходомеры вставляемого типа. Например, подходящий расходомер ингибитора накипи имеется в продаже на рынке от фирмы ProMinent. В одном варианте исполнения расходомер ингибитора накипи быть устройством Model DulcoFlow DFMa фирмы ProMinent со встроенной функцией передачи сигнала.

Необязательная система пеногашения

В одном варианте исполнения система 1000, 1100 может дополнительно включать необязательную систему пеногашения (не показана). (Например, смотри ФИГ. 1А-1В: 192). Система пеногашения (не показана) включает контейнер для подачи пеногасителя (не показан) и насос для пеногасителя (не показан) (Например, смотри ФИГ. 1А-1В: 192, 193 и 195).

Пеногаситель может быть любым подходящим пеногасителем. Пригодный пеногаситель включает, но без ограничения этим, спирты, гликоли, водонерастворимые масла, силиконовые полимеры и стеараты. В одном варианте исполнения пеногаситель может быть выбран из группы, состоящей из алифатических спиртов, сложных эфиров жирных кислот, фторсиликонов, полиэтиленгликоля, полипропиленгликоля, силиконовых гликолей и полидиметилсилоксана. В одном варианте исполнения желательная концентрация пеногасителя составляет от около 10 млн-1 до около 100 млн-1 (и в любом диапазоне или значении между ними). В одном варианте исполнения желательная концентрация пеногасителя составляет от около 2 млн-1 до около 20 млн-1 (и в любом диапазоне или значении между ними). Количество добавляемого в сточную воду пеногасителя варьирует в зависимости от условий поступающей воды.

Выпуск контейнера для пеногасителя (не показан) может быть соединен в сообщении по текучей среде с впуском насоса для дозирования пеногасителя (не показан) по трубопроводу (не показан); и выпуск насоса для дозирования пеногасителя (не показан) может быть в сообщении по текучей среде с контейнером 1039 через трубопровод (не показан) (Например, смотри ФИГ. 1А-1В: 193, 194, 195, 196).

Контейнер для пеногасителя (не показан) может быть любым подходящим контейнером для пеногасителя или другим объемным хранилищем химиката. (Например, смотри ФИГ. 1А-1В: 193). Пригодные контейнеры для пеногасителя включают, но без ограничения этим, промышленный стандартный транспортный контейнер. Например, подходящий контейнер для пеногасителя имеется в продаже на рынке от фирмы National Tank Outlet. В одном варианте исполнения контейнер для пеногасителя может представлять собой промышленный стандартный транспортный контейнер емкостью 275 галлонов или 330 галлонов (1040 или 1249 л). В одном варианте исполнения контейнер 193 для пеногасителя может представлять собой барабан емкостью 55 галлонов (208 л) или ведро емкостью 5 галлонов (19 л).

Насос для дозирования пеногасителя может быть любым подходящим насосом для дозирования пеногасителя. (Например, смотри ФИГ. 1А-1В: 195). Пригодные насосы для дозирования пеногасителя включают, но без ограничения этим, электронный мембранный, перистальтический и объемный насосы. Например, подходящий насос для дозирования пеногасителя имеется в продаже на рынке от фирмы Anko Products, Inc. В одном варианте исполнения насос для дозирования пеногасителя может представлять собой самовсасывающий перистальтический насос фирмы Anko Products, Inc. В одном варианте исполнения насос для дозирования пеногасителя может представлять собой самовсасывающий перистальтический насос Mityflex Model 907 фирмы Anko Products, Inc.

Трубопровод (не показан) может быть изготовлен из любой подходящей коррозионно-стойкой трубы. (Например, смотри ФИГ. 1А-1В: 194 и 196). Трубопровод может быть из любых подходящих коррозионно-стойких металлов или пластиков. Пригодные металлы включают, но без ограничения этим, углеродистую сталь с полимерным покрытием, нержавеющую сталь, супердуплексную нержавеющую сталь, сплав AL-6XN, сплав Hastelloy®, сплав Monel®, и их комбинации; и пригодные пластики включают, но без ограничения этим, хлорированные поливинилхлоридные (CPVC) полимеры, армированный стекловолокном пластик (FRP), поливинилиденфторидные (PVDF) полимеры Kynar®, полиэтиленовые полимеры, полипропиленовые полимеры, поливинилхлоридные (PVC) полимеры, перфторалкоксиполимеры (PFA) Teflon®, политетрафторэтиленовые (PTFE) полимеры Teflon®, и их комбинации. В одном варианте исполнения трубопровод может быть изготовлен из тефлона Teflon® PFA или PTFE.

В одном варианте исполнения система кондиционирования для пеногашения (не показана) может дополнительно включать необязательный расходомер пеногасителя (не показан) (Например, смотри ФИГ. 1А-1В: 192). Расходомер пеногасителя может находиться в сообщении по текучей среде с трубопроводом (не показан) (Например, смотри ФИГ. 1А-1В: 196). Расходомер пеногасителя измеряет величину расхода потока раствора пеногасителя.

Расходомер пеногасителя может быть любым подходящим расходомером. Пригодные расходомеры пеногасителя включают, но без ограничения этим, расходомеры турбинного типа, ультразвуковые вихревые и вихревые расходомеры вставляемого типа. Например, подходящий расходомер пеногасителя имеется в продаже на рынке от фирмы ProMinent. В одном варианте исполнения расходомер пеногасителя быть устройством Model DulcoFlow DFMa фирмы ProMinent со встроенной функцией передачи сигнала.

Программируемый логический контроллер или другое компьютерное устройство для системы распылительного испарения воды

В одном варианте исполнения система 100, 400, 1000, 1100 может дополнительно включать программируемый логический контроллер (PLC) или другое компьютерное устройство 600. PLC или другое компьютерное устройство 600 может представлять собой любое подходящее PLC или другое компьютерное устройство. Например, пригодное PLC или другое компьютерное устройство 600 может представлять собой логические контроллеры Allan Bradley, Automation Direct, Seimens, или WAGO. В альтернативном варианте, PLC или другое компьютерное устройство 600 может представлять собой специализированную печатную плату.

В одном варианте исполнения система 100, 400, 1000, 1100 может иметь центральный программируемый логический контроллер (PLC) или другое компьютерное устройство 600, которые контролируют все функции блока в автономном режиме из дистационно расположенного центра. PLC или другое компьютерное устройство 600 могут быть способны открывать и закрывать все клапаны, запускать и останавливать все насосы, отслеживать все датчики и предпринимать все логические действия без вмешательства человека во время нормальной работы. PLC или другое компьютерное устройство 600 могут быть способны заполнять систему 100, 400, 1000, 1100 сточной водой, обеспечивать функционирование системы 100, 400, 1000, 1100 для испарения воды, включать систему 100, 400, 1000, 1100 на выпуск концентрированных отходов через выпуск для отходов, повторно заполнять систему 100, 400, 1000, 1100 новой партией воды, и запускать систему 100, 400, 1000, 1100 для продолжения цикла. PLC или другое компьютерное устройство 600 могут быть способны обеспечивать функционирование системы 100, 400, 1000, 1100 в периодическом режиме или в режиме «подпитки и дренирования». PLC или другое компьютерное устройство 600 также могут быть способны автоматически отключать систему 100, 400, 1000, 1100 во время неблагоприятных условий, и, в некоторых обстоятельствах, они могут быть способны автоматически повторно приводить систему 100, 400, 1000, 1100 в действие.

Например, PLC или другое компьютерное устройство 600 могут отключать систему 100, 400, 1000, 1100 во время неблагоприятных условий, включающих, но без ограничения этим, следующие:

- превышение аварийно высокого уровня в отстойнике

- превышение аварийно высокого в защитной оболочке

- аварийно высокий уровень в клиентском резервуаре

- отсутствует подача сточной воды от клиента

- отсутствует течение воды, тогда как питающий насос или рециркуляционный насос работают

- нет давления воды в то время, как питающий насос или рециркуляционный насос работают

- нет течения воздуха, когда вентилятор работает

- произошел отказ двигателя вследствие перегрузки

- произошел отказ VFD (частотно-регулируемого привода)

- возникла потеря мощности

- произошло падение давления природного газа

- приведен в действие аварийный останов (Estop)

- экстремально низкая температура окружающей среды.

Например, PLC или другое компьютерное устройство 600 также могут автоматически вновь запустить систему 100, 400, 1000, 1100 в определенных условиях, включающих, но без ограничения этим, следующие:

- падение давления природного газа является только временным

- остановилась генераторная установка.

Если остановилась генераторная установка, PLC или другое компьютерное устройство 600 могут попытаться запустить генераторную установку; и, если генераторная установка вновь заработала, PLC или другое компьютерное устройство 600 могут попытаться вновь привести систему 100, 400, 1000, 1100 в действие.

Кроме того, PLC или другое компьютерное устройство 600 могут быть использованы оператором для отмены вручную запрограммированной функции системы 100, 400, 1000, 1100, чтобы получить возможность контролировать вручную любой аспект системы 100, 400, 1000, 1100 (например, открывание и закрывание клапанов, или запуск и остановку насосов), для целей технического обслуживания и поиска и устранения неисправностей.

В одном варианте исполнения система 100, 400, 1000, 1100 может иметь способность дистанционно считывать и записывать информацию от центрального PLC или другого компьютерного устройства 600, которая позволяет всецело сообщать эксплуатационные условия системы 100, 400, 1000, 1100 в дистационно расположенный центр, и которая позволяет полностью контролировать эксплуатационные условия системы 100, 400, 1000, 1100 из дистационно расположенного центра. В одном варианте исполнения система 100, 400, 1000, 1100 может иметь способность посылать информационные сообщения на PLC или другое компьютерное устройство 600 в дистационно расположенном центре. В одном варианте исполнения система 100, 400, 1000, 1100 может иметь способность посылать сообщения (например, для сообщения о кодах ошибки, поступающих объемах, и т.д.) на PLC или другое компьютерное устройство 600 в дистационно расположенном центре через спутниковую антенну и модем, или посредством других технологий коммуникации.

В одном варианте исполнения система 100, 400, 1000, 1100 может иметь способность принимать команды/сообщения от PLC или другого компьютерного устройства 600 в дистационно расположенном центре. В одном варианте исполнения система 100, 400, 1000, 1100 может иметь способность принимать команды/сообщения (например, для изменения рабочих характеристик системы 100, 400, 1000, 1100) от PLC или другого компьютерного устройства 600 в дистационно расположенном центре через спутниковую антенну и модем, или посредством других технологий коммуникации.

Могут быть применены любые подходящие спутниковая антенна и модем. Например, пригодные спутниковая антенна и модем имеются в продаже на рынке от фирмы Inmarsat.

Другие технологии коммуникации включают, но без ограничения этим, любые другие технологии коммуникации с использованием спутников, любой режим мобильной передачи данных (например, LTE/4G), любой коммуникационный массив с передачей по радио или с использованием лазерного передающего устройства, или любое кабельное подключение к Интернету.

Например, система 100, 400, 1000, 1100 может посылать сообщения на PLC или другое компьютерное устройство 600, включающие, но без ограничения этим, следующие:

- количество баррелей сточной воды, закачанной в систему

- количество баррелей концентрированной сточной воды, выкачанной из системы

- условия температуры окружающей среды и/или влажности окружающей среды вокруг системы

- сигналы тревоги о ненормальном поведении системы

- текущий эксплуатационный режим

- входное давление поступающего природного газа

- уровни в клиентском резервуаре

- текущие настройки системы (например, настройки горелки, заданные значения для холодной погоды, целевой процентный уровень испарения, минимальный уровень воды, максимальный уровень воды, и т.д.).

Например, система 100, 400, 1000, 1100 может принимать команды/сообщения от PLC или другого компьютерного устройства 600, включающие, но без ограничения этим, следующие:

- команду на остановку

- команду на запуск

- сброс команды на сигналы тревоги

- команду на продувку воздухом, аргоном или азотом для холодных погодных условий

- команду на повышение или снижение заданного значения температуры горения

- команду(-ды) на увеличение или уменьшение величин дозирования насосом для подачи кислоты, насосом для подачи бактерицида, насосом для подачи пеногасителя, и/или насосом для подачи ингибитора накипи

- команду на повышение или снижение процентного уровня испарения (то есть, количества испаренных баррелей, деленное на количество имеющихся баррелей)

- команду(-ды) на повышение или снижение настроек уровня воды (например, предельно низкого, эксплуатационного низкого, эксплуатационного высокого, аварийно высокого).

Со ссылкой на ФИГ. 6, PLC или другое компьютерное устройство 600 системы 100, 400, 1000, 1100 может включать шину 610, которая непосредственно или косвенно связывает следующие устройства: запоминающее устройство 612, один или многие процессоры 614, один или многие демонстрационные компоненты 616, один или многие порты 618 ввода-вывода (I/O), I/O-компоненты 620, пользовательский интерфейс 622 и источник 624 питания иллюстрирующего устройства, и резервное батарейное питание (не показано). В одном варианте исполнения отсечной клапан 106, первое реле 110 давления, первый (питающий) клапан 112, первый концевой выключатель 113, второй концевой выключатель 114, первый насос 118, первый расходомер 122, первый температурный датчик 130, первый измеритель 131 удельной электропроводности, второй измеритель 132 удельной электропроводности (не показан), датчик 140 температуры воздуха, воздуходувка 142, воздухонагреватель 143 с вентилятором, первое реле 147 аварийно высокого перепада давления, второе реле 148 аварийно высокого перепада давления, первое реле 149 аварийно высокого верхнего предела, реле 150 низкого предела, реле 151 верхнего предела, второе реле 152 аварийно высокого верхнего предела, второй насос 156, второе реле 159 давления, рН-метр 161, второй (рециркуляционный) клапан 166, третий концевой выключатель 167, четвертый концевой выключатель 168, третий (разгрузочный) клапан 169, пятый концевой выключатель 170, шестой концевой выключатель 171, второй расходомер 173, третий отсечной клапан 174, расходомер кислоты (не показан), насос 185 для дозирования бактерицида, расходомер бактерицида (не показан), насос 190 для дозирования ингибитора накипи, расходомер ингибитора накипи (не показан), насос 195 для пеногасителя, и/или расходомер пеногасителя (не показан), связаны напрямую или косвенно с устройством защиты сигнала от помех. Если необработанный сигнал от компонента должен быть обработан для создания надлежащего сигнала для I/O-системы, то этот компонент будет связан непосредственно с устройством защиты сигнала от помех.

В еще одном варианте исполнения отсечной клапан 406, 506, первый измеритель 410, 510 удельной электропроводности, первый расходомер 412, 512, гигрометр 414, первый трехходовой клапан 416, насос 420, 520, датчик 425 давления, второй измеритель 428, 528 удельной электропроводности, pH-метр 430, второй трехходовой клапан 432, 532, воздуходувка 436, 536 (или многочисленные воздуходувки 436', 436''), датчик 445 перепада давления, первый температурный датчик 590, второй температурный датчик 592, реле высокого уровня воды (не показано), реле низкого уровня воды (не показано), второй расходомер 456, насос 466 для дозирования кислоты, расходомер 470 кислоты, насос 480 для дозирования бактерицида и/или расходомер 484 бактерицида связаны непосредственно или косвенно с устройством защиты сигнала от помех. Если необработанный сигнал от компонента должен быть обработан для создания надлежащего сигнала для I/O-системы, то этот компонент будет связан непосредственно с устройством защиты сигнала от помех.

В одном варианте исполнения отсечной клапан 1006, первое реле давления (не показано) (смотри ФИГ. 1A-1B: 110), первый (питающий) клапан 1012, первый концевой выключатель (не показан) (смотри ФИГ. 1A-1B: 113), второй концевой выключатель (не показан) (смотри ФИГ. 1A-1B: 114), насос 1018, индикатор или измеритель 1022 расхода потока, первый температурный датчик (не показан) (смотри ФИГ. 1A-1B: 130), первый измеритель удельной электропроводности (не показан) (смотри ФИГ. 1A-1B: 131), второй измеритель удельной электропроводности (не показан), датчик температуры воздуха (не показан) (смотри ФИГ. 1A-1B: 140), первая воздуходувка 1042, вторая воздуходувка (не показана), подогреватель 1043 воздуха, первое реле 1053 высокого перепада давления, второе реле высокого перепада давления (не показано) (смотри ФИГ. 1A-1B: 147), третье реле аварийно высокого перепада давления (не показано) (смотри ФИГ. 1A-1B: 148), первое реле 1049 аварийно высокого верхнего предела 1049 (смотри ФИГ. 1A-1B: 149), реле низшего предела (не показано) (смотри ФИГ. 1A-1B: 150), реле высшего предела (не показано) (смотри ФИГ. 1A-1B: 151), второе реле аварийно высокого предела (не показано) (смотри ФИГ. 1A-1B: 152), pH-метр (не показан) (смотри ФИГ. 1A-1B: 161), третий (разгрузочный) клапан 1069, третий концевой выключатель (не показан) (смотри ФИГ. 1A-1B: 170), четвертый концевой выключатель (не показан) (смотри ФИГ. 1A-1B: 171), третий индикатор или измеритель 1073 расхода потока (смотри ФИГ. 1A-1B: 173, третий отсечной клапан (не показан) (смотри ФИГ. 1A-1B: 174), дозирующий кислоту насос (не показан) (смотри ФИГ. 1A-1B: 180, и 4: 466), расходомер кислоты (не показан) (смотри ФИГ. 4: 470), насос для дозирования бактерицида (не показан) (смотри ФИГ. 1A-1B: 185, и 4: 480), расходомер бактерицида (не показан) (смотри ФИГ. 4: 484), насос для дозирования ингибитора накипи (не показан) (смотри ФИГ. 1A-1B: 190), расходомер ингибитора накипи (не показан), насос для подачи пеногасителя (не показан) (смотри ФИГ. 1A-1B: 195), и/или расходомер пеногасителя (не показан) связаны непосредственно или косвенно с устройством защиты сигнала от помех. Если необработанный сигнал от компонента должен быть обработан для создания надлежащего сигнала для I/O-системы, то этот компонент будет связан непосредственно с устройством защиты сигнала от помех.

Шина 610 представлена так, что может представлять собой одну или многие шины (такие как адресная шина, шина данных, или их комбинация). Хотя различные блоки в ФИГ. 6 показаны линиями ради ясности, на самом деле очерчивание различных компонентов не является столь ясным, и метафорически линии более точно были бы нечеткими. Например, кто-то может рассматривать представленный компонент, такой как отображающее устройство, как I/O-компонент. В дополнение многие процессоры имеют блок памяти. Авторы настоящего изобретения понимают, что так уж устроена технология, и повторяют, что изображение в ФИГ. 6 является исключительно иллюстративным в отношении примерного компьютерного устройства, которое может быть использовано в связи с одним или многими вариантами осуществления настоящего изобретения. Кроме того, не проведено различение между такими категориями, как «рабочая станция», «сервер», «портативный компьютер (ноутбук)», «мобильное устройство», и т.д., так как все они рассматриваются в пределах ФИГ. 6 и называются «компьютерным устройством».

PLC или другое компьютерное устройство 600 системы 100, 400, 1000, 1100 обычно включает разнообразные машиночитаемые носители. Машиночитаемые носители могут быть любыми доступными носителями, которые могут быть восприняты PLC или компьютерным устройством 600, и включают как энергозависимые, так и энергонезависимые носители, сменные и несъемные носители. В порядке примера, и без ограничения, машиночитаемые носители могут включать сохраняемые в компьютере носители и средства передачи данных. В качестве еще одного примера, и без ограничения, машиночитаемые носители также могут включать радиоустройства, сотовые устройства или спутниковые средства передачи данных для дистанционного сбора и/или обработки данных, содержащихся внутри PLC или компьютерного устройства 600. Сохраняемые в компьютере носители включают энергозависимые и энергонезависимые носители, сменные и несъемные носители, выполненные любыми способом или технологией для хранения информации, такой как машиночитаемые команды, структуры данных, программные модули, или другие данные. Сохраняемые в компьютере носители включают, но без ограничения этим, оперативную память (RAM), постоянное запоминающее устройство (ROM), электронно-перепрограммируемое постоянное запоминающее устройство (EEPROM), флэш-память, или устройства на основе другой технологии запоминания, CD-ROM, цифровые многоцелевые диски (DVD), или другие голографические запоминающие устройства, магнитные кассеты, магнитную ленту, сохранение на магнитных дисках, или прочие устройства для сохранения на магнитных носителях, или любые другие носители, которые могут быть использованы для кодирования желательной информации, и которые могут быть восприняты PLC или компьютерным устройством 600.

Запоминающее устройство 612 включает сохраняемые в компьютере носители в форме энергозависимого и энергонезависимого запоминающего устройства. Запоминающее устройство 612 может быть извлекаемым, неизвлекаемым, или представлять собой их комбинацию. Подходящие аппаратные устройства включают твердотельный накопитель, накопители на жестких дисках, накопители на оптических дисках, и т.д. PLC или компьютерное устройство 600 включает один или многие процессоры 614, которые считывают данные с различных объектов, таких как запоминающее устройство 612 или I/O-компоненты 620.

Демонстрационный(-ные) компонент(-ты) 616 представляет(-ют) индикации данных пользователю или другому устройству. В одном варианте исполнения PLC или компьютерное устройство 600 выводит текущие индикации данных, включающих удельную(-ные) электропроводность(-ти), перепад(-ды) давления, величину(-ны) расхода потока, влажность, рН, давление, температуру, и/или тому подобные, на демонстрационный компонент 616. Подходящие демонстрационные компоненты 616 включают отображающее устройство, акустический динамик, печатающее устройство, вибрационный компонент, и тому подобные.

Пользовательский интерфейс 622 позволяет пользователю вводить информацию в PLC или компьютерное устройство 600 и выводить из него. Пригодные пользовательские интерфейсы 622 включают клавиатуры, дополнительные цифровые клавиатуры, сенсорные панели, графические сенсорные экраны, и тому подобные. В некоторых вариантах исполнения пользовательский интерфейс 622 может быть объединен с демонстрационным компонентом 616, таким как дисплей или графический сенсорный экран. В некоторых вариантах исполнения пользовательский интерфейс 622 может представлять собой портативное ручное устройство. Применение таких устройств является общеизвестным в технологии.

В одном варианте исполнения один или многие I/O-порты 618 обеспечивают логическую связь PLC или компьютерного устройства 600 с другими устройствами, включающими отсечной клапан 106, первое реле 110 давления, первый (питающий) клапан 112, первый концевой выключатель 113, второй концевой выключатель 114, первый насос 118, первый расходомер 122, первый температурный датчик 130, первый измеритель 131 удельной электропроводности, второй измеритель 132 удельной электропроводности (не показан), датчик 140 температуры воздуха, воздуходувку 142, воздухонагреватель 143 с вентилятором, первое реле 147 высокого перепада давления, второе реле 148 высокого перепада давления, первое реле 149 аварийно высокого верхнего предела, реле 150 низкого предела, реле 151 высокого предела, второе реле 152 аварийно высокого предела, второй насос 156, второе реле 159 давления, pH-метр 161, второй (рециркуляционный) клапан 166, третий концевой выключатель 167, четвертый концевой выключатель 168, третий (разгрузочный) клапан 169, пятый концевой выключатель 170, шестой концевой выключатель 171, второй расходомер 173, третий отсечной клапан 174, дозирующий кислоту насос 180, расходомер кислоты (не показан), насос 185 для дозирования бактерицида 185, расходомер бактерицида (не показан), насос 190 для дозирования ингибитора накипи, расходомер ингибитора накипи (не показан), насос 195 для подачи пеногасителя, и/или расходомер пеногасителя (не показан), и прочие I/O-компоненты 620, причем некоторые из них могут быть встроенными. Примеры других I/O-компонентов 620 включают принтер, сканер, беспроводное устройство, и тому подобные.

В еще одном варианте исполнения один или многие I/O-порты 618 обеспечивают логическую связь PLC или компьютерного устройства 600 с другими устройствами, включающими отсечной клапан 406, 506, первый измеритель 410, 510 удельной электропроводности, первый расходомер 412, 512, гигрометр 414, первый трехходовой клапан 416, насос 420, 520, датчик 425 давления, второй измеритель 428, 528 удельной электропроводности, pH-метр 430, второй трехходовой клапан 432, 532, воздуходувку 436, 536 (или многочисленные воздуходувки 436', 436''), датчик 445 перепада давления, первый температурный датчик 590, второй температурный датчик 592, реле высокого уровня воды (не показано), реле низкого уровня воды (не показано), второй расходомер 456, насос 466 для дозирования кислоты, расходомер 470 кислоты, насос 480 для дозирования бактерицида и/или расходомер 484 бактерицида, и прочие I/O-компоненты 620, причем некоторые из них могут быть встроенными. Примеры других I/O-компонентов 620 включают принтер, сканер, беспроводное устройство, и тому подобные.

В одном варианте исполнения один или многие I/O-порты 618 обеспечивают логическую связь PLC или компьютерного устройства 600 с другими устройствами, включающими отсечной клапан 1006, первое реле давления (не показано) (смотри ФИГ. 1A-1B: 110), первый (питающий) клапан 1012, первый концевой выключатель (не показан) (смотри ФИГ. 1A-1B: 113), второй концевой выключатель (не показан) (смотри ФИГ. 1A-1B: 114), насос 1018, первый индикатор или измеритель 1022 расхода потока, первый температурный датчик (не показан) (смотри ФИГ. 1A-1B: 130), первый измеритель удельной электропроводности (не показан) (смотри ФИГ. 1A-1B: 131), второй измеритель удельной электропроводности (не показан), датчик температуры воздуха 1040 (не показан) (смотри ФИГ. 1A-1B: 140), первую воздуходувку 1042, вторую воздуходувку (не показана), подогреватель 1043 воздуха, первое реле 1053 высокого перепада давления, второе реле высокого перепада давления (не показано) (смотри ФИГ. 1A-1B: 147), второе реле аварийно высокого перепада давления (не показано) (смотри ФИГ. 1A-1B: 148), первое реле 1049 высокого верхнего предела (смотри ФИГ. 1A-1B: 149), реле низкого предела (не показано) (смотри ФИГ. 1A-1B: 150), реле верхнего предела (не показано) (смотри ФИГ. 1A-1B: 151), второе реле аварийно высокого предела (не показано) (смотри ФИГ. 1A-1B: 152), pH-метр (не показан) (смотри ФИГ. 1A-1B: 161), третий (разгрузочный) клапан 1069, третий концевой выключатель (не показан) (смотри ФИГ. 1A-1B: 170), четвертый концевой выключатель (не показан) (смотри ФИГ. 1A-1B: 171), третий индикатор или измеритель 1073 расхода потока (смотри ФИГ. 1A-1B: 173), второй отсечной клапан (не показан) (смотри ФИГ. 1A-1B: 174), дозирующий кислоту насос (не показан) (смотри ФИГ. 1A-1B: 180, и 4: 466), расходомер кислоты (не показан) (смотри ФИГ. 4: 470), насос для дозирования бактерицида (не показан) (смотри ФИГ. 1A-1B: 185, и 4: 480), расходомер бактерицида (не показан) (смотри ФИГ. 4: 484), насос для дозирования ингибитора накипи (не показан) (смотри ФИГ. 1A-1B: 190), расходомер ингибитора накипи (не показан), насос для подачи пеногасителя (не показан) (смотри ФИГ. 1A-1B: 195), и/или расходомер пеногасителя (не показан), и прочие I/O-компоненты 620, причем некоторые из них могут быть встроенными. Примеры других I/O-компонентов 620 включают принтер, сканер, беспроводное устройство, и тому подобные.

В одном варианте исполнения (смотри ФИГ. 1A-3) PLC или компьютерное устройство 600 управляет двухнасосной системой 100 согласно следующим обстоятельствам:

- для инициирования процесса происходит следующее:

- Сначала датчик 140 температуры воздуха настраивают на предварительно определенную минимальную температуру воздуха (например, как правило, от около 25°F до около 35°F (-3,9-1,7°С). Если срабатывает датчик 140 температуры воздуха, система 100 прекратит работу вследствие неспособности воздухонагревателя 143 с вентилятором повышать температуру сточной воды в отстойнике (дне) контейнера 139, 339 выше точки замерзания.

- Сначала первый (питающий) клапан 112 переводится в положение «ЗАКРЫТО». Чтобы начать обработку сточной воды, первый (питающий) клапан 112 переводится в положение «ОТКРЫТО», обеспечивая возможность поступления сырьевой воды в первый насос 118. В одном варианте исполнения первый концевой выключатель 113 подтверждает, что первый (питающий) клапан 112 находится в положении «ОТКРЫТО»; и второй концевой выключатель 114 подтверждает, что первый (питающий) клапан 112 находится в положении «ЗАКРЫТО».

- Первый насос 118 начинает заполнять отстойник (дно) контейнера 139, 339 первоначальным объемом заполняющей сточной воды. Для содействия второму (рециркуляционному) насосу 156 наклоняют контейнер 139, 339 вперед, чтобы обеспечить максимальную глубину на всасывающем конце (переднем) контейнера 139, 339 для создания минимального объема отстойника. Если первый измеритель 131 удельной электропроводности измеряет предварительно определенную минимальную удельную электропроводность (например, показывая присутствие масла в подаваемой воде), система 100 отключается.

- Когда срабатывает реле 151 верхнего предела (на рабочем уровне), первый (питающий) клапан 112 переключается в положение «ЗАКРЫТО», и первый насос 118 отключается. В одном варианте исполнения второй концевой выключатель 114 подтверждает, что первый (питающий) клапан 112 находится в положении «ЗАКРЫТО». Если срабатывает первое реле 149 аварийно высокого предела (при первичном уровне заполнения), первый (питающий) клапан 112 и второй (рециркуляционный) клапан 166 переключаются в положения «ЗАКРЫТО»; и первый насос 118 и второй насос 156 отключаются, чтобы предотвратить переполнение отстойника (дна) контейнера 139, 339. В одном варианте исполнения второй концевой выключатель 114 подтверждает, что второй (питающий) клапан 112 находится в положении «ЗАКРЫТО»; и третий концевой выключатель 167 подтверждает, что второй (рециркуляционный) клапан находится в положении «ЗАКРЫТО». Если срабатывает второе реле 152 аварийно высокого предела (при вторичном уровне заполнения), посылается сигнал тревоги на PLC или компьютерное устройство 600. Кроме того, первый (питающий) клапан 112 и второй (рециркуляционный) клапан 166 переключаются в положения «ЗАКРЫТО»; и первый насос 118 и второй насос 156 отключаются, чтобы предотвратить переполнение отстойника (дна) контейнера 139, 339. В одном варианте исполнения второй концевой выключатель 114 подтверждает, что первый (питающий) клапан 112 находится в положении «ЗАКРЫТО»; и третий концевой выключатель 167 подтверждает, что второй (рециркуляционный) клапан находится в положении «ЗАКРЫТО».

- Необязательно, в отстойник (дно) контейнера 139, 339 или в трубопровод 154 может быть добавлена кислота через систему 177 кислотного кондиционирования, в отстойник (дно) контейнера 139, 339 или в трубопровод 154 может быть добавлен бактерицид через систему 182 бактерицидного кондиционирования, в отстойник контейнера или в трубопровод 154 может быть добавлен ингибитор накипи через систему кондиционирования ингибитором накипи, и/или в отстойник (дно) контейнера 139, 339 или в трубопровод 154 может быть добавлен пеногаситель через систему 192 кондиционирования пеногасителем, на основе первоначального объема заполнения.

- Запускается воздуходувка 142. Если срабтывает первое реле 147 высокого перепада давления, приводится в действие воздуходувка 142. Если в горелке для сжигания природного газа имеется пламя, приводится в действие воздухонагреватель 143 с вентилятором.

- Сначала второй (рециркуляционный) клапан 166 находится в положении «ЗАКРЫТО». Чтобы обеспечить возможность рециркуляции сточной воды для поступления в распылительную систему 134, 334, второй (рециркуляционный) клапан 166 переключается в положение «ОТКРЫТО». В одном варианте исполнения третий концевой выключатель 167 подтверждает, что второй (рециркуляционный) клапан 166 находится в положении «ЗАКРЫТО»; и четвертый концевой выключатель 168 подтверждает, что второй (рециркуляционный) клапан 166 находится в положении «ОТКРЫТО».

- Сначала третий (разгрузочный) клапан 169 находится в положении «ЗАКРЫТО». В одном варианте исполнения пятый концевой выключатель 170 подтверждает, что третий (разгрузочный) клапан 169 находится в положении «ОТКРЫТО»; и шестой концевой выключатель 171 подтверждает, что третий (разгрузочный) клапан 169 находится в положении «ЗАКРЫТО».

- Запускается второй насос 156 для рециркуляции сточной воды из отстойника (дна) контейнера 139, 339 через распылительную систему 134, 334. Если срабатывает второе реле 159 давления, было получено минимальное давление. Если первый датчик/измеритель 131 удельной электропроводности измеряет предварительно определенную низкую удельную электропроводность (например, показывающую присутствие масла в рециркулирующей сточной воде), система 100 отключается.

- Необязательно, в отстойник (дно) контейнера 139, 339 или в трубопровод 154 может быть добавлена кислота через систему 177 кислотного кондиционирования, в отстойник (дно) контейнера 139, 339 или в трубопровод 154 может быть добавлен бактерицид через систему 182 бактерицидного кондиционирования, в отстойник контейнера или в трубопровод 154 может быть добавлен ингибитор накипи через систему кондиционирования ингибитором накипи, и/или в отстойник (дно) контейнера 139, 339 или в трубопровод 154 может быть добавлен пеногаситель через систему 192 кондиционирования пеногасителем, на основе состояния сточной воды, как показывает рН-метр 161, первый измеритель 131 удельной электропроводности и/или второй измеритель 132 удельной электропроводности (не показан).

- Если срабатывает реле 150 низкого предела, происходит следующее:

- Чтобы продолжать обработку сточной воды, первый (питающий) клапан 112 переключается в положение «ОТКРЫТО», позволяя подводимой воде поступать в первый насос 118. В одном варианте исполнения первый концевой выключатель 113 подтверждает, что первый (питающий) клапан 112 находится в положении «ОТКРЫТО».

- Запускается первый насос 118 для заполнения отстойника (дна) контейнера 139, 339 первоначальным объемом заполнения сточной водой. Если первый датчик/измеритель 131 удельной электропроводности измеряет предварительно определенную низкую удельную электропроводность (например, показывающую присутствие масла в рециркулирующей сточной воде), система 100 отключается.

- Когда срабатывает реле 151 верхнего предела (на рабочем уровне), первый (питающий) клапан 112 переключается в положение «ЗАКРЫТО»; и первый насос 118 отключается. В одном варианте исполнения второй концевой выключатель 114 подтверждает, что первый (питающий) клапан 112 находится в положении «ЗАКРЫТО».

- Необязательно, в отстойник (дно) контейнера 139, 339 или в трубопровод 154 может быть добавлена кислота через систему 177 кислотного кондиционирования, в отстойник (дно) контейнера 139, 339 или в трубопровод 154 может быть добавлен бактерицид через систему 182 бактерицидного кондиционирования, в отстойник контейнера или в трубопровод 154 может быть добавлен ингибитор накипи через систему кондиционирования ингибитором накипи, и/или в отстойник (дно) контейнера 139, 339 или в трубопровод 154 может быть добавлен пеногаситель через систему 192 кондиционирования пеногасителем, на основе первоначального объема заполнения.

- Если второй измеритель 132 удельной электропроводности показывает, что рассол достиг предварительно определенной максимальной удельной электропроводности, происходит следующее:

- Чтобы начать выгрузку рассола, третий (разгрузочный) клапан 169 переключается в положение «ОТКРЫТО», обеспечивая возможность выгрузки рассола из выпуска 176 для отходов. В одном варианте исполнения пятый концевой выключатель 170 подтверждает, что третий (разгрузочный) клапан 169 переключается в положение «ОТКРЫТО».

- Для предотвращения рециркуляции рассола второй (рециркуляционный) клапан 166 переключается в положение «ЗАКРЫТО». В одном варианте исполнения третий концевой выключатель 167 подтверждает, что второй (рециркуляционный) клапан 166 находится в положении «ЗАКРЫТО».

- Когда второе реле 159 давления показывает падение давления вследствие почти полной выгрузки рассола из разгрузочного выпуска 176, второй насос 156 начнет утрачивать функциональность.

- Чтобы обеспечить возможность рециркуляции остаточного рассола, второй (рециркуляционный) клапан 166 переключается в положение «ОТКРЫТО». В одном варианте исполнения четвертый концевой выключатель 168 подтверждает, что второй (рециркуляционный) клапан 166 находится в положении «ОТКРЫТО».

- Чтобы остановить выгрузку рассола, третий (разгрузочный) клапан 169 переключается в положение «ЗАКРЫТО». В одном варианте исполнения пятый концевой выключатель 171 подтверждает, что третий (разгрузочный) клапан 169 находится в положении «ЗАКРЫТО».

- Чтобы продолжать обработку сточной воды, первый (питающий) клапан 112 переключается в положение «ОТКРЫТО», обеспечивая возможность поступления подводимой воды в первый насос 118. В одном варианте исполнения первый концевой выключатель 113 подтверждает, что первый (питающий) клапан 112 находится в положении «ОТКРЫТО».

- Запускается первый насос 118 для заполнения отстойника (дна) контейнера 139, 339 первоначальным объемом заполнения сточной водой. Если первый датчик/измеритель 131 удельной электропроводности измеряет предварительно определенную минимальную удельную электропроводность (например, показывающую присутствие масла в рециркулирующей сточной воде), система 100 отключается.

- Когда срабатывает реле 151 верхнего предела (на рабочем уровне), первый (питающий) клапан 112 переключается в положение «ЗАКРЫТО»; и первый насос 118 отключается. В одном варианте исполнения второй концевой выключатель 114 подтверждает, что первый (питающий) клапан 112 находится в положении «ЗАКРЫТО».

- Необязательно, в отстойник (дно) контейнера 139, 339 или в трубопровод 154 может быть добавлена кислота через систему 177 кислотного кондиционирования, в отстойник (дно) контейнера 139, 339 или в трубопровод 154 может быть добавлен бактерицид через систему 182 бактерицидного кондиционирования, в отстойник контейнера 139, 339 или в трубопровод 154 может быть добавлен ингибитор накипи через систему кондиционирования ингибитором накипи, и/или в отстойник (дно) контейнера 139, 339 или в трубопровод 154 может быть добавлен пеногаситель через систему 192 кондиционирования пеногасителем, на основе первоначального объема заполнения.

- Система 100 работает непрерывно, пока ее не отключит оператор или PLC или компьютерное устройство 600 вследствие возникновения одной из обсужденных выше ситуаций.

В одном варианте исполнения PLC или компьютерное устройство 600 отслеживает показания гигрометра 414 (например, барометрического давления, влажности, температуры) и контролирует эксплуатационные условия системы 100 для максимизации испарения в результате регулирования размера капель, создаваемых распылительной системой 134, 334, и объема воздуха, пропускаемого через воздуходувную и нагревательную систему 141, 241, 341, как обсуждалось выше.

В одном варианте исполнения PLC или компьютерное устройство 600 отслеживает показания рН-метра 161 и управляет добавлением вводимой в воду кислоты до такого ее состояния, чтобы предотвращать накипь (отложения), как обсуждалось выше.

В одном варианте исполнения PLC или компьютерное устройство 600 управляет добавлением вводимого в воду бактерицида до такого ее состояния, чтобы предотвращать рост микроорганизмов (например, водоростей, бактерий), как обсуждалось выше.

В одном варианте исполнения PLC или компьютерное устройство 600 управляет добавлением вводимого в воду ингибитора накипи до такого ее состояния, чтобы предотвращать отложение накипи (например, минералов), как обсуждалось выше.

В одном варианте исполнения PLC или компьютерное устройство 600 управляет добавлением вводимого в воду пеногасителя до такого ее состояния, чтобы предотвращать пенообразование, как обсуждалось выше.

В одном варианте исполнения (смотри ФИГ. 4А-5D) PLC или компьютерное устройство 600 управляет первым трехходовым клапаном 416 имеющей единственный насос системы 400 согласно следующим обстоятельствам:

- если срабатывает реле низкого уровня воды (не показано) в контейнере 444, 544, первый трехходовой клапан 416 переводит всасывание насосом 420, 520 на водяной впускной клапан 404, 504, обеспечивая соединение с всасывающим сточную воду коллектором 402. Первый трехходовой клапан 416 будет оставаться в этом положении, пока не сработает реле высокого уровня воды (не показано) в контейнере 444, 544.

- Когда срабатывает реле высокого уровня воды (не показано) в контейнере 444, 544, первый трехходовой клапан 416 переводит всасывание насосом 420, 520 на отводной трубопровод 452, 552 для контейнера 444, 544, обеспечивая рециркуляцию воды в контейнере 444, 544 через распылительную систему 440.

Кроме того, PLC или компьютерное устройство 600 управляет вторым трехходовым клапаном 432, 532 на разгрузочной стороне насоса 420, 520 согласно следующим обстоятельствам:

- по умолчанию, второй трехходовой клапан 432, 532 будет переводить выведение воды на распылительную систему 440.

- Если удельная электропроводность воды в измерителе 428, 528 удельной электропроводности достигает предварительно определенной максимальной величины удельной электропроводности, второй трехходовой клапан 432, 532 будет переводить выведение концентрированных отходов на выпуск 458, 558 для отходов контейнера 444, 544, обеспечивая соединение с внешним хранилищем для утилизации отходов (например, цистерной, грузовиком или бассейном) (не показано). Второй трехходовой клапан 432, 532 будет оставаться в этом положении, пока не сработает реле низкого уровня воды (не показано) в контейнере 444, 544. В этот момент второй трехходовой клапан 432, 532 возвращается в свое положение по умолчанию.

В одном варианте исполнения PLC или компьютерное устройство 600 отслеживает показания гигрометра 414 (например, барометрического давления, влажности, температуры) и контролирует эксплуатационные условия системы 400 для максимизации испарения в результате регулирования размера капель, создаваемых распылительной системой 440, и объема воздуха, пропускаемого через воздуходувную систему 434, 534, как обсуждалось выше.

В одном варианте исполнения PLC или компьютерное устройство 600 отслеживает показания рН-метра и управляет добавлением вводимой в воду кислоты до такого ее состояния, чтобы предотвращать накипь (например, минералов), как обсуждалось выше.

В одном варианте исполнения PLC или компьютерное устройство 600 управляет добавлением вводимого в воду бактерицида до такого ее состояния, чтобы предотвращать рост микроорганизмов (например, водоростей, бактерий), как обсуждалось выше.

В еще одном варианте исполнения (смотри ФИГ. 10А-10С и 11А-11F) PLC или компьютерное устройство 600 управляет первым (питающим) отсечным клапаном 1006, первым (питающим) клапаном 1012 и вторым (питающим/рециркуляционным) клапаном 1054 имеющей единственный насос системы 1000, 1100 согласно следующим обстоятельствам:

- если срабатывает необязательное реле низкого уровня воды (не показано) в контейнере 1039, или если первый (питающий) клапан 1006 и второй (питающий/рециркуляционный) клапан 1012 переключены в положение «ОТКРЫТО» (и третий (подачи насоса) клапан 1055 переключен в положение «ЗАКРЫТО»), первый (питающий) отсечной клапан 1006 и первый (питающий) клапан 1012 переводят всасывание насосом 1018 на фланец к источнику воды или водяной впуск 1004, обеспечивая соединение с всасывающим сточную воду коллектором 1002. Первый (питающий) отсечной клапан 1006 и первый (питающий) клапан 1012 будут оставаться в этом состоянии, пока не сработает необязательное реле высокого уровня (не показано), или пока первый (питающий) отсечной клапан 1006 и первый (питающий) клапан 1012 не будут переключены в положение «ЗАКРЫТО».

Кроме того, PLC или компьютерное устройство 600 управляет вторым (питающим/рециркуляционным) клапаном 1054 имеющей единственный насос системы 1000, 1100 согласно следующим обстоятельствам:

- если второй (питающий/рециркуляционный) клапан 1054 переключен в положение «ОТКРЫТО» (и четвертый (разгрузочный) клапан 1069 переключен в положение «ЗАКРЫТО»), второй (питающий/рециркуляционный) клапан 1054 будет переводить выведение воды из насоса 1018 на коллектор 1028 или в каплеобразующую систему 1034. Второй (питающий/рециркуляционный) клапан 1054 будет оставаться в этом положении, пока второй (питающий/рециркуляционный) клапан 1054 не будет переключен в положение «ЗАКРЫТО».

Кроме того, PLC или компьютерное устройство 600 управляет третьим (подачи насоса) клапаном 1055 имеющей единственный насос системы 1000, 1100 согласно следующим обстоятельствам:

- если третий (подачи насоса) клапан 1055 переключен в положение «ОТКРЫТО» (и первый (питающий) клапан 1012 и четвертый (разгрузочный) клапан 1069) переключены в положение «ЗАКРЫТО»), третий (подачи насоса) клапан 1055 переводит всасывание насосом 1018 в отводной трубопровод 1055а, обеспечивая рециркуляцию водного конденсата в контейнер 1039 через каплеобразующую систему 1034. Третий (подачи насоса) клапан 1055 будет оставаться в этом положении, пока третий (подачи насоса) клапан 1055 не будет переключен в положение «ЗАКРЫТО».

Кроме того, PLC или компьютерное устройство 600 управляет четвертым (разгрузочным) клапаном 1069 имеющей единственный насос системы 1000, 1100 согласно следующим обстоятельствам:

- если удельная электропроводность воды в необязательном втором измерителе удельной электропроводности (не показан) достигает предварительно определенной максимальной величины удельной электропроводности, четвертый (разгрузочный) клапан 1069 переключается в положение «ОТКРЫТО» для перевода выгрузки концентрированных отходов на фланец для отходов или разгрузочный выпуск 1076, обеспечивая соединение с внешним хранилищем для утилизации отходов (например, цистерной, грузовиком, бассейном). (Например, смотри ФИГ. 10А и 10С). Четвертый (разгрузочный) клапан 1069 будет оставаться в этом положении, пока не сработает необязательное реле низкого уровня (не показано) в контейнере 1039. В этот момент четвертый (разгрузочный) клапан 1069 переключается в положение «ЗАКРЫТО».

- Если четвертый (разгрузочный) клапан 1069 переключается в положение «ОТКРЫТО», четвертый (разгрузочный) клапан 1069 будет переводить выведение концентрированных отходов на фланец для отходов или разгрузочный выпуск 1076, обеспечивая соединение с внешним хранилищем для утилизации отходов (например, цистерной, грузовиком, бассейном). (Например, смотри ФИГ. 10А и 10С). Четвертый (разгрузочный) клапан 1069 будет оставаться в этом положении, пока четвертый (разгрузочный) клапан 1069 не будет переключен в положение «ЗАКРЫТО».

В одном варианте исполнения PLC или компьютерное устройство 600 управляет течением природного газа в горелку подогревателя 1043 воздуха для регулирования температуры воздуха, на основе температуры окружающего воздуха и желательной скорости испарения. В одном варианте исполнения регулировочный клапан потока природного газа может быть переведен из полностью ОТКРЫТОГО положения в полностью ЗАКРЫТОЕ положение, и наоборот.

В одном варианте исполнения PLC или компьютерное устройство 600 отслеживает показания гигрометра (например, барометрического давления, влажности, температуры) и контролирует эксплуатационные условия системы 1000, 1100 для максимизации испарения в результате регулирования размера капель, создаваемых каплеобразующей системой 1034, и объема воздуха, пропускаемого через воздуходувную и нагревательную систему 1041, как обсуждается ниже.

В одном варианте исполнения PLC или компьютерное устройство 600 отслеживает показания рН-метра и управляет добавлением вводимой в воду кислоты до такого ее состояния, чтобы предотвращать накипь (отложения), как обсуждается ниже.

В одном варианте исполнения PLC или компьютерное устройство 600 управляет добавлением вводимого в воду бактерицида до такого ее состояния, чтобы предотвращать рост микроорганизмов (например, водоростей, бактерий), как обсуждается ниже.

В одном варианте исполнения PLC или компьютерное устройство 600 управляет добавлением вводимого в воду ингибитора накипи до такого ее состояния, чтобы предотвращать отложение накипи (например, минералов), как обсуждается ниже.

В одном варианте исполнения PLC или компьютерное устройство 600 управляет добавлением вводимого в воду пеногасителя до такого ее состояния, чтобы предотвращать пенообразование, как обсуждается ниже.

Способ применения системы распылительного испарения воды

Технологическая блок-схема способа 700 применения системы распылительного испарения воды показана в ФИГ. 7А-7В. В одном варианте исполнения способ 700 включает выбор предварительно определенных параметров (например, величины расхода потока воздуха, скорости нагревания воздуха, максимальной удельной электропроводности, максимальной влажности, максимальной величины рН, минимальной температуры воздуха, минимального значения рН, величины расхода потока воды, размера водяных капель) для системы распылительного испарения воды, втягивание сточной воды в систему из внешнего источника воды с использованием первого насоса и первого клапана, отведение сточной воды на распылительное сопло, распыление сточной воды через распылительное сопло для создания водяных капель, рассеивание водяных капель в контейнер системы посредством большого объема воздуха, сбор водного конденсата в отстойнике (дне) контейнера, рециркуляцию водного конденсата со дна контейнера с использованием второго насоса и второго клапана, и отведение концентрированных отходов на выпуск для отходов с использованием третьего клапана, как иллюстрировано в ФИГ. 7А-7В.

В одном варианте исполнения способ 700 включает стадию 702 выбора предварительно определенных параметров (например, максимальной удельной электропроводности, размера водяных капель, величины расхода потока воздуха, скорости нагревания воздуха, величины расхода потока воды, максимальной влажности) для системы распылительного испарения воды. В одном варианте исполнения максимальная удельная электропроводность может составлять от около 1000 мкСм/см до около 400000 мкСм/см (и в любом диапазоне или значении между ними). В одном варианте исполнения размер водяных капель может составлять от около 50 мкм до около 1000 мкм (и в любом диапазоне или значении между ними). В одном варианте исполнения величина расхода потока воздуха может составлять от около 60000 кубических футов в минуту (CFM) до около 150000 CFM (1699-4247,5 м3) (и в любом диапазоне или значении между ними). В одном варианте исполнения величина нагревания воздуха может составлять от около 0 миллиона BTU в час до около 4 миллионов BTU в час (0-1172 кВт/час) (и в любом диапазоне или значении между ними). В одном варианте исполнения величина расхода потока воды может составлять от около 50 галлонов в минуту (GPM) до около 800 GPM (189,3-3028,3 л/мин) (и в любом диапазоне или значении между ними).

В одном варианте исполнения способ 700 включает стадию 704 втягивания сточной воды в систему из внешнего источника воды с использованием первого насоса и первого клапана. В одном варианте исполнения впуск для сточной воды обеспечивает соединение с внешним источником сточной воды. Водяной впуск может быть соединен с внешним источником сточной воды шлангом, трубой или другим средством, обычно применяемым в технологии.

В одном варианте исполнения способ 700 включает стадию 706 отведения поступающей сточной воды или водного конденсата на распылительное сопло, и распыление поступающей сточной воды через распылительное сопло для создания водяных капель. В одном варианте исполнения водяным капелькам могут быть приданы такие размеры, чтобы создавать оптимальную площадь поверхности для испарения воды, но достаточно большую, чтобы минимизировать проход через поры каплеуловительных слоев.

В одном варианте исполнения способ 700 включает стадию 708 рассеивания водяных капель в контейнере системы. В одном варианте исполнения водяные капли могут быть рассеяны до самой дальней точки контейнера для удлинения контакта с воздухом и стимулирования испарения воды. В одном варианте исполнения вдувание воздуха может быть проведено в противотоке относительно движения рассеянных водяных капель для усиления контакта с воздухом и стимулирования испарения воды.

В одном варианте исполнения способ 700 включает стадию 710 сбора водного конденсата в отстойнике (дне) контейнера. В одном варианте исполнения неиспаренная вода конденсируется в каплеуловительном элементе системы, и водный конденсат собирается в отстойнике (дне) контейнера.

В одном варианте исполнения способ 700 включает стадию 712 рециркуляции водного конденсата из отстойника (дна) контейнера с использованием второго насоса и второго клапана. В одном варианте исполнения, когда водный конденсат достигает предварительно определенного высокого уровня воды, второй насос вытягивает водный конденсат из отстойника (дна) контейнера, и второй клапан отводит водный конденсат на распылительное сопло. В одном варианте исполнения второй насос будет продолжать рециркуляцию водного конденсата, пока водный конденсат в отстойнике (дне) контейнера не достигнет предварительно определенного низкого уровня воды, или предварительно определенной максимальной удельной электропроводности, по измерению измерителем удельной электропроводности. В одном варианте исполнения первый насос будет втягивать сточную воду в систему из внешнего источника воды, когда водный конденсат в отстойнике (дне) контейнера достигнет предварительно определенного низкого уровня воды.

В одном варианте исполнения способ 700 включает стадию 714 отведения концентрированной воды на выпуск для отходов с использованием третьего клапана. В одном варианте исполнения, когда конденсированная сточная вода достигает предварительно определенной максимальной удельной электропроводности, третий клапан отводит концентрированные отходы на выпуск для отходов. В одном варианте исполнения выпуск для отходов обеспечивает соединение с внешним хранилищем для утилизации отходов (например, цистерной, грузовиком, бассейном). Выпуск для отходов может быть соединен с внешним хранилищем для утилизации отходов шлангом, трубой или другим средством, обычно применяемым в технологии.

В одном варианте исполнения способ 700 может дополнительно включать стадию 716 мониторинга температуры окружающей среды с использованием датчика температуры воздуха. В одном варианте исполнения, когда температура окружающей среды препятствует испарению воды, система отключается, как обсуждается ниже.

В одном варианте исполнения способ 700 может дополнительно включать стадию 718 мониторинга величины рН поступающей сточной воды или водного конденсата с использованием рН-метра, и добавления раствора кислоты в поступающую сточную воду или в водный конденсат для поддерживания величины рН при около 6,5 или ниже, для минимизации отложений карбоната кальция. В одном варианте исполнения желательное значение рН сточной воды может быть выше около 6,5, если добавлен ингибитор накипи для минимизации карбонатной и некарбонатной накипи.

Кислота может быть любой подходящей кислотой. Пригодные кислоты включают, но без ограничения этим, соляную кислоту и серную кислоту. В одном варианте исполнения кислота может быть соляной кислотой (20 градусов Боме). В одном варианте исполнения кислота может представлять собой серную кислоту (98%-ную). В одном варианте исполнения желательное значение рН сточной воды составляет около 6,5 или ниже, для минимизации отложений карбоната кальция. В одном варианте исполнения желательное значение рН сточной воды может быть выше около 6,5, если добавлен ингибитор накипи для минимизации карбонатной и некарбонатной накипи. В одном варианте исполнения количество добавляемого кислотного раствора варьирует в зависимости от условий поступающей воды (например, рН).

В одном варианте исполнения способ 700 может дополнительно включать стадию 720 поддерживания содержания бактерицида в поступающей сточной воде или водном конденсате. В одном варианте исполнения предварительно определенное количество раствора бактерицида может быть добавлено к поступающей сточной воде или водному конденсату для предотвращения роста микроорганизмов.

Бактерицид может быть любым подходящим бактерицидом. Пригодный бактерицид включает, но без ограничения этим, белильную хлорную известь, бром, диоксид хлора (генерируемый), 2,2-дибром-3-нитрилопропионамид (DBNPA), глутаровый альдегид, изотиазолин (1,5%) и озон (генерируемый). В одном варианте исполнения бактерицид может быть выбран из группы, состоящей из белильной хлорной извести (12,5%), брома, диоксида хлора (генерируемого), DBNPA (20%), глутарового альдегида (50%), изотиазолина (1,5%) и озона (генерируемого). В одном варианте исполнения желательная концентрация бактерицида составляет от около 10 млн-1 до около 1000 млн-1 (и в любом диапазоне или значении между ними). Количество раствора бактерицида, добавляемого к сточной воде, варьирует в зависимости от состояния поступающей воды.

В одном варианте исполнения способ 700 может дополнительно включать стадию 722 поддерживания содержания ингибитора накипи в поступающей сточной воде или водном конденсате. В одном варианте предварительно определенное количество раствора ингибитора накипи может быть добавлено к поступающей сточной воде или водному конденсату для предотвращения роста отложений.

Ингибитор накипи может быть любым подходящим ингибитором накипи или смесью ингибиторов накипи. Пригодный ингибитор накипи включает, но без ограничения этим, неорганические фосфаты, фосфорорганические соединения и органические полимеры. В одном варианте исполнения ингибитор накипи может быть выбран из группы, состоящей из органических сложных эфиров фосфорной кислоты, полиакрилатов, фосфонатов, полиакриламидов, поликарбоновых кислот, полималатов, полифосфин-карбоксилатов, полифосфатов и поливинилсульфонатов. В одном варианте исполнения желательная концентрация ингибитора накипи составляет от около 10 млн-1 до около 100 млн-1 (и в любом диапазоне или значении между ними). В одном варианте исполнения желательная концентрация ингибитора накипи составляет от около 2 млн-1 до около 20 млн-1 (и в любом диапазоне или значении между ними). Количество добавляемого в сточную воду ингибитора накипи варьирует в зависимости от состояния поступающей воды.

В одном варианте исполнения способ 700 может дополнительно включать стадию 724 поддерживания содержания пеногасителя в поступающей сточной воде или водном конденсате. В одном варианте исполнения предварительно определенное количество раствора пеногасителя может быть добавлено к поступающей сточной воде или водному конденсату для предотвращения пенообразования.

Пеногаситель может быть любым подходящим пеногасителем. Пригодный пеногаситель включает, но без ограничения этим, спирты, гликоли, водонерастворимые масла, силиконовые полимеры и стеараты. В одном варианте исполнения пеногаситель может быть выбран из группы, состоящей из алифатических спиртов, сложных эфиров жирных кислот, фторсиликонов, полиэтиленгликоля, полипропиленгликоля, силиконовых гликолей и полидиметилсилоксана. В одном варианте исполнения желательная концентрация пеногасителя составляет от около 10 млн-1 до около 100 млн-1 (и в любом диапазоне или значении между ними). В одном варианте исполнения желательная концентрация пеногасителя составляет от около 2 млн-1 до около 20 млн-1 (и в любом диапазоне или значении между ними). Количество добавляемого в сточную воду пеногасителя варьирует в зависимости в зависимости от состояния поступающей воды.

В одном варианте исполнения способ 700 может дополнительно включать стадию 726 автоматизации способа 700 с использованием программируемого логического контроллера (PLC) или компьютерного устройства. В одном варианте исполнения предварительно определенные параметры (например, величину расхода потока воздуха, величину нагревания воздуха, максимальную удельную электропроводность, максимальную влажность, максимальное значение рН, минимальную температуру воздуха, минимальное значение рН, величину расхода потока воды, размер водяных капель) вводят в PLC или компьютерное устройство.

В одном варианте исполнения, когда температура окружающего воздуха составляет величину выше предварительного определенной минимальной температуры воздуха, PLC или компьютерное устройство управляет системой в режиме «внешний источник» согласно следующим обстоятельствам:

- первый клапан отводит всасывание первым насосом на водяной впуск, направляя подачу сточной воды на распылительное сопло.

- Запускаются первый насос и воздуходувная и нагревательная система.

- Распылительные сопла диспергируют сточную воду в водяные капли в контейнер.

- Любые капли неиспаренной воды задерживатся в порах каплеуловительного(-их) элемента(-тов) и падают на дно контейнера под действием силы тяжести.

В одном варианте исполнения PLC или компьютерное устройство будет отслеживать значение рН поступающей сточной воды или водного конденсата с помощью рН-метра, и автоматически добавлять раствор кислоты к выходящему из насоса потоку с использованием насоса для дозирования кислоты в системе кислотного кондиционирования, чтобы поддерживать значение рН при около 6,5 рН или ниже для минимизации отложений карбоната кальция. В одном варианте исполнения PLC или компьютерное устройство могут добавлять количество раствора кислоты к выходящему из насоса потоку с использованием насоса для дозирования кислоты и расходомера кислоты.

В одном варианте исполнения, когда водный конденсат в отстойнике (дне) контейнера достигает предварительно определенного высокого уровня воды, PLC или компьютерное устройство управляет системой в режиме «рециркуляция»:

- первый клапан отводит всасывание вторым насосом на отводной трубопровод, соединенный с дном контейнера.

- Второй клапан отводит выходящий поток водного конденсата на распылительные сопла.

- Второй насос и воздуходувная и нагревательная система продолжают работать.

- Водный конденсат будет распыляться распылительными соплами в контейнер.

- Любые капли неиспаренной воды задерживатся в порах каплеуловительного(-их) элемента(-тов) и падают на дно контейнера под действием силы тяжести.

PLC или компьютерное устройство продолжают поддерживать действие системы в режиме «рециркуляция», пока уровень водного конденсата в отстойнике (дне) контейнера не станет равным или меньшим низкого уровня воды для переключения, или пока водный конденсат не достигнет предварительно определенной максимальной удельной электропроводности.

В одном варианте исполнения PLC или компьютерное устройство будут отслеживать значение рН поступающей сточной воды или водного конденсата с помощью рН-метра, и автоматически добавлять раствор кислоты к выходящему из насоса потоку с использованием насоса для дозирования кислоты в системе кислотного кондиционирования, чтобы поддерживать значение рН при около 6,5 рН или ниже для минимизации отложений карбоната кальция. В одном варианте исполнения В одном варианте исполнения желательное значение рН сточной воды может быть выше около 6,5, если добавлен ингибитор накипи для минимизации карбонатной и некарбонатной накипи.

В одном варианте исполнения PLC или компьютерное устройство будут отслеживать удельную электропроводность поступающей сточной воды или водного конденсата с использованием измерителя удельной электропроводности.

В одном варианте исполнения, когда водный конденсат достигает предварительно определенной максимальной удельной электропроводности, PLC или компьютерное устройство управляют системой в режиме «выгрузка отходов» согласно следующим обстоятельствам:

- первый клапан продолжает отводить всасывание вторым насосом на отводной трубопровод, соединенный с дном контейнера.

- Третий клапан отводит выводимые концентрированные отходы на выпуск для отходов.

- Второй насос продолжает работать; однако воздуходувная и нагревательная система и насос для подачи кислоты отключаются.

- Не проводится мониторинг ни удельной электропроводности, ни значения рН.

PLC или компьютерное устройство продолжают управлять работой системы в режиме «выгрузка», пока уровень воды в отстойнике (дне) контейнера не станет равным или меньшим низкого уровня воды для переключения. В этот момент PLC или компьютерное устройство реверсируют работу системы в режим «внешний источник», и действуют, как описано выше.

В одном варианте исполнения, когда температура окружающего воздуха достигает предварительно определенной минимальной температуры воздуха, PLC или компьютерное устройство управляют системой в режиме «экономичный» согласно следующим обстоятельствам:

- насос(-сы) и воздуходувная и нагревательная система отключены.

- Первый клапан отводит всасывание вторым насосом на отводной трубопровод, соединенный с отстойником (дном) контейнера.

- Второй клапан отводит выходящий поток сточной воды на распылительные сопла.

В одном варианте исполнения, когда температура окружающего воздуха достигает уровня выше предварительно определенного минимального уровня, PLC или компьютерное устройство возвращают систему к работе в режиме «внешний источник», и действуют, как описано выше.

Способ применения системы распылительного испарения воды, иллюстрирующий альтернативные варианты исполнения

Первый альтернативный вариант исполнения

Технологическая блок-схема способа 800 применения первой альтернативной системы распылительного испарения воды показана в ФИГ. 8А-8В. В одном варианте исполнения способ 800 включает выбор предварительно определенных параметров (например, величины расхода потока воздуха, скорости нагревания воздуха, максимальной удельной электропроводности, максимальной влажности, максимальной величины рН, минимальной температуры воздуха, минимального значения рН, величины расхода потока воды, размера водяных капель) для системы распылительного испарения воды, втягивание сточной воды в систему из внешнего источника воды с использованием насоса, отведение сточной воды на распылительное сопло, распыление сточной воды через распылительное сопло для создания водяных капель, вдувание водяных капель и воздуха в контейнер системы с использованием воздуходувки, сбор водного конденсата в отстойнике (дне) контейнера, рециркуляцию водного конденсата со дна контейнера с использованием насоса, и отведение концентрированных отходов на выпуск для отходов, как иллюстрировано в ФИГ. 8А-8В.

В одном варианте исполнения способ 800 включает стадию 802 выбора предварительно определенных параметров (например, максимальной удельной электропроводности, размера водяных капель, величины расхода потока воздуха, скорости нагревания воздуха, величины расхода потока воды, максимальной влажности) для системы распылительного испарения воды. В одном варианте исполнения максимальная удельная электропроводность может составлять от около 1000 мкСм/см до около 400000 мкСм/см (и в любом диапазоне или значении между ними). В одном варианте исполнения размер водяных капель может составлять от около 50 мкм до около 1000 мкм (и в любом диапазоне или значении между ними). В одном варианте исполнения величина расхода потока воздуха может составлять от около 60000 кубических футов в минуту (CFM) до около 150000 CFM (1699-4247,5 м3) (и в любом диапазоне или значении между ними). В одном варианте исполнения величина расхода потока воды может составлять от около 50 галлонов в минуту (GPM) до около 800 GPM (189,3-3028,3 л/мин) (и в любом диапазоне или значении между ними). В одном варианте исполнения величина расхода потока воды может составлять от около 15 GPM до около 100 GPM (56,8-378,5 л/мин) (и в любом диапазоне или значении между ними).

В одном варианте исполнения способ 800 включает стадию 804 втягивания сточной воды в систему из внешнего источника воды с использованием насоса. В одном варианте исполнения впуск для сточной воды обеспечивает соединение с внешним источником сточной воды. Водяной впуск может быть соединен с внешним источником сточной воды шлангом, трубой или другим средством, обычно применяемым в технологии.

В одном варианте исполнения способ 800 включает стадию 806 отведения поступающей сточной воды или водного конденсата на распылительное сопло с использованием трехходового клапана, и распыление поступающей сточной воды или водного конденсата через распылительное сопло для создания водяных капель. В одном варианте исполнения водяным капелькам могут быть приданы такие размеры, чтобы создавать оптимальную площадь поверхности для испарения воды.

В одном варианте исполнения способ 800 включает стадию 808 вдувания водяных капель и воздуха в контейнер системы. В одном варианте исполнения водяные капли и воздух могут быть вдуты до самой дальней точки контейнера для удлинения контакта с воздухом и стимулирования испарения воды.

В одном варианте исполнения способ 800 включает стадию 810 сбора водного конденсата в отстойнике (дне) контейнера. В одном варианте исполнения неиспаренная вода конденсируется в каплеуловительном элементе системы, и водный конденсат собирается в отстойнике (дне) контейнера.

В одном варианте исполнения способ 800 включает стадию 812 рециркуляции водного конденсата из отстойника (дна) контейнера с использованием насоса. В одном варианте исполнения, когда водный конденсат достигает предварительно определенного высокого уровня воды, насос вытягивает водный конденсат из отстойника (дна) контейнера, вместо втягивания сточной воды в систему из внешнего источника воды. В одном варианте исполнения насос будет продолжать рециркуляцию водного конденсата, пока водный конденсат в отстойнике (дне) контейнера не достигнет предварительно определенного низкого уровня воды, или предварительно определенной максимальной удельной электропроводности, по измерению измерителем удельной электропроводности. В одном варианте исполнения насос будет втягивать сточную воду в систему из внешнего источника воды, когда водный конденсат в отстойнике (дне) контейнера достигнет предварительно определенного низкого уровня воды.

В одном варианте исполнения способ 800 включает стадию 814 отведения концентрированной воды на выпуск для отходов с использованием трехходового клапана. В одном варианте исполнения, когда конденсированная сточная вода достигает предварительно определенной максимальной удельной электропроводности, трехходовой клапан отводит концентрированные отходы на выпуск для отходов. В одном варианте исполнения выпуск для отходов обеспечивает соединение с внешним хранилищем для утилизации отходов (например, цистерной, грузовиком, бассейном). Выпуск для отходов может быть соединен с внешним хранилищем для утилизации отходов шлангом, трубой или другим средством, обычно применяемым в технологии.

В одном варианте исполнения способ 800 может дополнительно включать стадию 816 мониторинга погодных условий с использованием гигрометра. В одном варианте исполнения, когда погодные условия (например, барометрическое давление, влажность, температура) препятствуют испарению воды, система отключается, как обсуждается ниже.

В одном варианте исполнения способ 800 может дополнительно включать стадию 818 мониторинга величины рН поступающей сточной воды или водного конденсата с использованием рН-метра, и добавления раствора кислоты в поступающую сточную воду или в водный конденсат для поддерживания величины рН при около 6,5 или ниже, для минимизации отложений карбоната кальция. В одном варианте исполнения желательное значение рН сточной воды может быть выше около 6,5, если добавлен ингибитор накипи для минимизации карбонатной и некарбонатной накипи.

Кислота может быть любой подходящей кислотой. Пригодные кислоты включают, но без ограничения этим, соляную кислоту и серную кислоту. В одном варианте исполнения кислота может быть соляной кислотой (20 градусов Боме). В одном варианте исполнения кислота может представлять собой серную кислоту (98%-ную). В одном варианте исполнения желательное значение рН сточной воды составляет около 6,5 или ниже, для минимизации отложений карбоната кальция. В одном варианте исполнения желательное значение рН сточной воды может быть выше около 6,5, если добавлен ингибитор накипи для минимизации карбонатной и некарбонатной накипи. В одном варианте исполнения количество добавляемого кислотного раствора варьирует в зависимости от состояния поступающей воды (например, рН, щелочности).

В одном варианте исполнения способ 800 может дополнительно включать стадию 820 добавления предварительно определенного количества бактерицида к поступающей сточной воде или к водному конденсату для предотвращения роста микроорганизмов.

Бактерицид может быть любым подходящим бактерицидом. Пригодный бактерицид включает, но без ограничения этим, белильную хлорную известь, бром, диоксид хлора (генерируемый), 2,2-дибром-3-нитрилопропионамид (DBNPA), глутаровый альдегид, изотиазолин (1,5%) и озон (генерируемый). В одном варианте исполнения бактерицид может быть выбран из группы, состоящей из белильной хлорной извести (12,5%), брома, диоксида хлора (генерируемого), DBNPA (20%), глутарового альдегида (50%), изотиазолина (1,5%) и озона (генерируемого). В одном варианте исполнения желательная концентрация бактерицида составляет от около 10 млн-1 до около 1000 млн-1 (и в любом диапазоне или значении между ними). Количество раствора бактерицида, добавляемого к сточной воде, варьирует в зависимости от состояния поступающей воды.

В одном варианте исполнения способ 800 может дополнительно включать стадию 822 автоматизации способа 800 с использованием программируемого логического контроллера (PLC) или компьютерного устройства. В одном варианте исполнения предварительно определенные параметры (например, величину расхода потока воздуха, величину нагревания воздуха, максимальную удельную электропроводность, максимальную влажность, максимальное значение рН, минимальную температуру воздуха, минимальное значение рН, величину расхода потока воды, размер водяных капель) вводят в PLC или компьютерное устройство.

В одном варианте исполнения, когда влажность окружающей среды составляет величину ниже предварительно определенной максимальной влажности, PLC или компьютерное устройство управляют системой в режиме «внешний источник» согласно следующим обстоятельствам:

- первый трехходовой клапан отводит всасывание насосом на водяной впуск.

- Второй трехходовой клапан отводит выходящий поток сточной воды на распылительное сопло.

- Насос и воздуходувка работают.

- Распылительные сопла распыляют сточную воду на водяные капли, и воздуходувка вдувает водяные капли и воздух в контейнер.

- Любые капли неиспаренной воды задерживатся в порах каплеуловительного(-их) элемента(-тов) и падают на дно контейнера под действием силы тяжести.

В одном варианте исполнения PLC или компьютерное устройство будут отслеживать значение рН поступающей сточной воды или водного конденсата с помощью рН-метра, и автоматически добавлять раствор кислоты в выходящий из насоса поток с использованием насоса для дозирования кислоты в системе кислотного кондиционирования, чтобы поддерживать значение рН при около 6,5 рН или ниже для минимизации отложений карбоната кальция. В одном варианте исполнения PLC или компьютерное устройство могут добавлять количество раствора кислоты к выходящему из насоса потоку с использованием насоса для дозирования кислоты и расходомера кислоты.

В одном варианте исполнения, когда водный конденсат в отстойнике (дне) контейнера достигает предварительно определенного высокого уровня воды, PLC или компьютерное устройство управляют системой в режиме «рециркуляция»:

- первый трехходовой клапан отводит всасывание вторым насосом на отводной трубопровод, соединенный с дном контейнера.

- Второй трехходовой клапан продолжает отводить выходящий поток водного конденсата на распылительные сопла.

- Насос и воздуходувка продолжают работать.

- Водный конденсат будет распыляться распылительными соплами и вдуваться воздуходувкой от передней части до задней части контейнера согласно предварительно определенным параметрам (например, размеру водяных капель, величине расхода потока воздуха).

- Любые капли неиспаренной воды задерживатся в порах каплеуловительного(-их) элемента(-тов) и падают на дно контейнера под действием силы тяжести.

PLC или компьютерное устройство продолжают поддерживать действие системы в режиме «рециркуляция», пока уровень водного конденсата в отстойнике (дне) контейнера не станет равным или меньшим низкого уровня воды для переключения, или пока водный конденсат не достигнет предварительно определенной максимальной удельной электропроводности.

В одном варианте исполнения PLC или компьютерное устройство будут отслеживать значение рН поступающей сточной воды или водного конденсата с помощью рН-метра, и автоматически добавлять раствор кислоты к выходящему из насоса потоку с использованием насоса для дозирования кислоты в системе кислотного кондиционирования, чтобы поддерживать значение рН при около 6,5 рН или ниже, если требуется, на основе качества сточной воды.

В одном варианте исполнения PLC или компьютерное устройство будут отслеживать удельную электропроводность поступающей сточной воды или водного конденсата с использованием измерителя удельной электропроводности.

В одном варианте исполнения, когда водный конденсат достигает предварительно определенной максимальной удельной электропроводности, PLC или компьютерное устройство управляют системой в режиме «выгрузка отходов» согласно следующим обстоятельствам:

- первый трехходовой клапан продолжает отводить всасывание насосом на отводной трубопровод, соединенный с дном контейнера.

- Второй трехходовой клапан отводит выводимые концентрированные отходы на выпуск для отходов.

- Насос продолжает работать; однако воздуходувка и насос для подачи кислоты отключаются.

- Не проводится мониторинг ни удельной электропроводности, ни значения рН.

PLC или компьютерное устройство продолжают управлять работой системы в режиме «выгрузка», пока уровень воды в отстойнике (дне) контейнера не станет равным или меньшим низкого уровня воды для переключения. В этот момент PLC или компьютерное устройство возвращают работу системы в режим «внешний источник», и действуют, как описано выше.

В одном варианте исполнения, когда влажность окружающего воздуха достигает предварительно определенной максимальной влажности, PLC или компьютерное устройство управляют системой в режиме «экономичный» согласно следующим обстоятельствам:

- насос(-сы) и воздуходувка отключены.

- Первый трехходовой клапан отводит всасывание вторым насосом на отводной трубопровод, соединенный с отстойником (дном) контейнера.

- Второй трехходовой клапан отводит выходящий поток сточной воды на распылительные сопла.

В одном варианте исполнения, когда влажность окружающего воздуха достигает уровня ниже предварительно определенного максимального уровня, PLC или компьютерное устройство возвращают систему к работе в режиме «внешний источник», и действуют, как описано выше.

Второй альтернативный вариант исполнения

Технологическая блок-схема способа 1200 применения системы распылительного испарения воды показана в ФИГ. 12А-12В. В одном варианте исполнения способ 1200 включает выбор предварительно определенных параметров (например, величины расхода потока воздуха, скорости нагревания воздуха, температуры окружающей среды, температуры выводимого воздуха, максимальной удельной электропроводности, максимальной влажности, максимальной величины рН, минимальной температуры воздуха, минимального значения рН, совокупного содержания взвешенных твердых веществ, содержания летучих органических соединений углерода (VOC), величины расхода потока воды на питающем впускном канале, величины расхода потока воды разгрузочном впуске, размера водяных капель) для системы распылительного испарения воды, втягивание сточной воды в систему из внешнего источника воды с использованием насоса, отведение сточной воды в коллектор, каплеобразующую систему, насадочную систему или тарельчатую систему, протекание сточной воды или водяных капель по насадочной системе или тарельчатой системе, размещенной внутри контейнера системы, вдувание воздуха в контейнер в противотоке направлению течения сточной воды или водяных капель из каплеобразующей системы с использованием воздуходувной и нагревательной системы, сбор водного конденсата в отстойнике (дне) контейнера, рециркуляцию водного конденсата со дна контейнера на верх контейнера с использованием насоса, и отведение концентрированных отходов на выпуск для отходов, как иллюстрировано в ФИГ. 12А-12В.

В одном варианте исполнения способ 1200 включает стадию 1202 выбора предварительно определенных параметров (например, величины расхода потока воздуха, скорости нагревания воздуха, температуры окружающей среды, температуры выводимого воздуха, максимальной удельной электропроводности, максимальной влажности, максимальной величины рН, минимальной температуры воздуха, минимального значения рН, совокупного содержания взвешенных твердых веществ, содержания летучих органических соединений углерода (VOC), величины расхода потока воды на питающем впускном канале, величины расхода потока воды разгрузочном впуске, размера водяных капель) для системы распылительного испарения воды. В одном варианте исполнения максимальная удельная электропроводность может составлять от около 1000 мкСм/см до около 400000 мкСм/см (и в любом диапазоне или значении между ними). В одном варианте исполнения величина расхода потока воздуха может составлять от около 5000 кубических футов в минуту (CFM) до около 28000 CFM (141,6-792,9 м3) (и в любом диапазоне или значении между ними). В одном варианте исполнения величина расхода потока воздуха может составлять около 5400 CFM (152,9 м3).

В одном варианте исполнения величина расхода потока воды может составлять от около 15 галлонов в минуту (GPM) до около 100 GPM (189,3-3028,3 л/мин) (и в любом диапазоне или значении между ними). В одном варианте исполнения величина расхода потока воды может составлять около 50 GPM (189,3 л/мин) при давлении около 20 psi (0,138 Мпа).

В одном варианте исполнения способ 1200 включает стадию 1204 втягивания сточной воды в систему из внешнего источника воды с использованием насоса. В одном варианте исполнения впуск для сточной воды обеспечивает соединение с внешним источником сточной воды. Водяной впуск может быть соединен с внешним источником сточной воды шлангом, трубой или другим средством, обычно применяемым в технологии.

В одном варианте исполнения способ 1200 включает стадию 1206 отведения поступающей сточной воды или водного конденсата на коллектор, каплеобразующую систему, насадочную систему или тарельчатую систему, с использованием двухходового клапана, и протекание сточной воды или водного конденсата через капельное отверстие для создания струек сточной воды и/или водяных капель.

В одном варианте исполнения способ 1200 включает стадию 1208а протекания сточной воды и/или водяных капель по насадочной системе или тарельчатой системе, размещенной внутри контейнера системы, и стадию 1208b вдувания воздуха в контейнер системы с использованием воздуходувной и нагревательной системы. В одном варианте исполнения вдувание воздуха может быть проведено в противотоке относительно движения рассеянных водяных капель для усиления контакта с воздухом и стимулирования испарения воды.

В одном варианте исполнения способ 1200 включает стадию 1210 сбора водного конденсата в отстойнике (дне) контейнера. В одном варианте исполнения неиспаренная вода конденсируется в каплеуловительном элементе системы, и водный конденсат собирается в отстойнике (дне) контейнера.

В одном варианте исполнения способ 1200 включает стадию 1212 рециркуляции водного конденсата из отстойника (дна) контейнера с использованием насоса. В одном варианте исполнения, когда водный конденсат достигает предварительно определенного высокого уровня воды, насос вытягивает водный конденсат из отстойника (дна) контейнера, вместо втягивания сточной воды в систему из внешнего источника воды. В одном варианте исполнения насос будет продолжать рециркуляцию водного конденсата, пока водный конденсат в отстойнике (дне) контейнера не достигнет предварительно определенного низкого уровня воды, или предварительно определенной максимальной удельной электропроводности, по измерению измерителем удельной электропроводности. В одном варианте исполнения насос будет втягивать сточную воду в систему из внешнего источника воды, когда водный конденсат в отстойнике (дне) контейнера достигнет предварительно определенного низкого уровня воды.

В одном варианте исполнения способ 1200 включает стадию 1214 отведения концентрированной воды на выпуск для отходов с использованием двухходового клапана. В одном варианте исполнения, когда конденсированная сточная вода достигает предварительно определенной максимальной удельной электропроводности, двухходовой клапан отводит концентрированные отходы на выпуск для отходов. В одном варианте исполнения выпуск для отходов обеспечивает соединение с внешним хранилищем для утилизации отходов (например, цистерной, грузовиком, бассейном). (Например, смотри ФИГ. 10А и 10С). Выпуск для отходов может быть соединен с внешним хранилищем для утилизации отходов шлангом, трубой или другим средством, обычно применяемым в технологии.

В одном варианте исполнения способ 1200 может дополнительно включать стадию 1216 мониторинга погодных условий с использованием гигрометра. В одном варианте исполнения, когда погодные условия (например, барометрическое давление, влажность, температура) препятствуют испарению воды, система отключается, как обсуждается ниже.

В одном варианте исполнения способ 1200 может дополнительно включать стадию 1218 мониторинга величины рН поступающей сточной воды или водного конденсата с использованием рН-метра, и добавления раствора кислоты в поступающую сточную воду или в водный конденсат для поддерживания величины рН при около 6,5 или ниже, для минимизации отложений карбоната кальция. В одном варианте исполнения желательное значение рН сточной воды может быть выше около 6,5, если добавлен ингибитор накипи для минимизации карбонатной и некарбонатной накипи.

Кислота может быть любой подходящей кислотой. Пригодные кислоты включают, но без ограничения этим, соляную кислоту и серную кислоту. В одном варианте исполнения кислота может быть соляной кислотой (20 градусов Боме). В одном варианте исполнения кислота может представлять собой серную кислоту (98%-ную). В одном варианте исполнения желательное значение рН сточной воды составляет около 6,5 или ниже, для минимизации отложений карбоната кальция. В одном варианте исполнения количество добавляемого кислотного раствора варьирует в зависимости от условий поступающей воды (например, рН, щелочности).

В одном варианте исполнения способ 1200 может дополнительно включать стадию 1220 добавления предварительно определенного количества бактерицида к поступающей сточной воде или к водному конденсату для предотвращения роста микроорганизмов.

Бактерицид может быть любым подходящим бактерицидом. Пригодный бактерицид включает, но без ограничения этим, белильную хлорную известь, бром, диоксид хлора (генерируемый), 2,2-дибром-3-нитрилопропионамид (DBNPA), глутаровый альдегид, изотиазолин (1,5%) и озон (генерируемый). В одном варианте исполнения бактерицид может быть выбран из группы, состоящей из белильной хлорной извести (12,5%), брома, диоксида хлора (генерируемого), DBNPA (20%), глутарового альдегида (50%), изотиазолина (1,5%) и озона (генерируемого). В одном варианте исполнения желательная концентрация бактерицида составляет от около 10 млн-1 до около 1000 млн-1 (и в любом диапазоне или значении между ними). Количество раствора бактерицида, добавляемого к сточной воде, варьирует в зависимости от состояния поступающей воды.

В одном варианте исполнения способ 1200 может дополнительно включать стадию 1222 автоматизации способа 1200 с использованием программируемого логического контроллера (PLC) или компьютерного устройства. В одном варианте исполнения предварительно определенные параметры (например, величину расхода потока воздуха, величину нагревания воздуха, максимальную удельную электропроводность, максимальную влажность, максимальное значение рН, минимальную температуру воздуха, минимальное значение рН, величину расхода потока воды, размер водяных капель) вводят в PLC или компьютерное устройство.

В одном варианте исполнения, когда влажность окружающей среды составляет величину ниже предварительно определенной максимальной влажности, PLC или компьютерное устройство управляют системой в режиме «внешний источник» согласно следующим обстоятельствам:

- первый (отсечной) клапан и первый (питающий) клапан отводит всасывание насосом на водяной впуск.

- Второй (питающий/рециркуляционный) клапан отводит выходящий поток сточной воды на капельное отверстие через насос.

- Насос и воздуходувка работают.

- Выпуск капельного отверстия выводит водяные капли, и воздуходувка вдувает водяные капли и воздух в контейнер.

- Любые капли неиспаренной воды задерживатся в порах каплеуловительного(-ых) элемента(-тов) и падают на дно контейнера под действием силы тяжести.

В одном варианте исполнения PLC или компьютерное устройство будут отслеживать значение рН поступающей сточной воды или водного конденсата с помощью рН-метра, и автоматически добавлять раствор кислоты в выходящий из насоса поток с использованием насоса для дозирования кислоты в системе кислотного кондиционирования, чтобы поддерживать значение рН при около 6,5 рН или ниже для минимизации отложений карбоната кальция. В одном варианте исполнения PLC или компьютерное устройство могут добавлять количество раствора кислоты к выходящему из насоса потоку с использованием насоса для дозирования кислоты и расходомера кислоты.

В одном варианте исполнения, когда водный конденсат в отстойнике (дне) контейнера достигает предварительно определенного высокого уровня воды, PLC или компьютерное устройство управляют системой в режиме «рециркуляция»:

- Второй (питающий/рециркуляционный) клапан и третий (рециркуляционный) клапан отводят выходящий поток водного конденсата на капельное отверстие с помощью насоса.

- Насос и воздуходувка продолжают работать.

- Водный конденсат будет распыляться капельным отверстием и вдуваться воздуходувкой от дна до верха контейнера согласно предварительно определенным параметрам (например, размеру водяных капель, величине расхода потока воздуха).

- Любые капли неиспаренной воды задерживатся в порах каплеуловительного(-их) элемента(-тов) и падают на дно контейнера под действием силы тяжести.

PLC или компьютерное устройство продолжают поддерживать действие системы в режиме «рециркуляция», пока уровень водного конденсата в отстойнике (дне) контейнера не станет равным или меньшим низкого уровня воды для переключения, или пока водный конденсат не достигнет предварительно определенной максимальной удельной электропроводности.

В одном варианте исполнения PLC или компьютерное устройство будут отслеживать значение рН поступающей сточной воды или водного конденсата с помощью рН-метра, и автоматически добавлять раствор кислоты к выходящему из насоса потоку с использованием насоса для дозирования кислоты в системе кислотного кондиционирования, чтобы поддерживать значение рН при около 6,5 рН или ниже, если требуется, на основе качества сточной воды.

В одном варианте исполнения PLC или компьютерное устройство будут отслеживать удельную электропроводность поступающей сточной воды или водного конденсата с использованием измерителя удельной электропроводности.

В одном варианте исполнения, когда водный конденсат достигает предварительно определенной максимальной удельной электропроводности, PLC или компьютерное устройство управляют системой в режиме «выгрузка отходов» согласно следующим обстоятельствам:

- насос, воздуходувка и насос для подачи кислоты отключаются.

- Четвертый (разгрузочный) клапан отводит выводимые концентрированные отходы на выпуск для отходов.

- Не проводится мониторинг ни удельной электропроводности, ни значения рН.

PLC или другое компьютерное устройство продолжают управлять работой системы в режиме «выгрузка отходов», пока уровень воды в отстойнике (дне) контейнера не станет равным или меньшим низкого уровня воды для переключения. В этот момент PLC или компьютерное устройство возвращают работу системы в режим «внешний источник», и действуют, как описано выше.

В одном варианте исполнения, когда влажность окружающего воздуха достигает предварительно определенной максимальной влажности, PLC или компьютерное устройство управляют системой в режиме «экономичный» согласно следующим обстоятельствам:

- насос(-сы) и воздуходувка отключены.

- Второй (питающий/рециркуляционный) клапан и третий (рециркуляционный) клапан отводят выходящий водный конденсат на на капельное отверстие с помощью насоса.

В одном варианте исполнения, когда влажность окружающего воздуха достигает уровня ниже предварительно определенного максимального уровня, PLC или компьютерное устройство возвращают систему в режим «внешний источник», и действуют, как описано выше.

Изложенные здесь варианты исполнения представлены для лучшего разъяснения настоящего изобретения и практического осуществления его, и тем самым позволяют квалифицированным специалистам в этой области технологии осуществить и использовать изобретение. Однако квалифицированным специалистам в этой области технологии будет понятно, что приведенное выше описание было представлено для цели иллюстрации и только в качестве примера. Описание, как изложенное, не предполагается быть исчерпывающим, или изобретение не ограничивается точной раскрытой формой. Возможны многие модификации и вариации в свете вышеприведенных инструкций, без выхода за пределы смысла и области пунктов нижеследующей формулы изобретения. Изобретение конкретно предполагается быть настолько обширным, как приведенные ниже пункты формулы изобретения и их эквиваленты.

Определения

Как применяемые здесь, термины «a», «an», «the», и «указанный» подразумевают один или многие, если контекст не оговаривает иное.

Как используемый здесь, термин «около» означает указанное значение плюс или минус предел погрешности, плюс или минус 10%, если указан метод измерения.

Как применяемый здесь, термин «или» означает «и/или», если четко не приведено указание только на альтернативные варианты, или если альтернативные варианты являются взаимоисключающими.

Как используемые здесь, термины «включающий», «включает» и «включают» представляют собой неокончательные переходные термины, используемые для перехода от указанного выше перед термином субъекта к одному или многим элементам, перечисленным после термина, где элемент или элементы, перечисленные после переходного термина, не обязательно представляют собой только элементы, которые составляют субъект.

Как применяемые здесь, термины «содержащий», «содержит» и «содержат» имеют такое же неокончательное значение, как указанные выше «включающий», «включает» и «включают».

Как используемые здесь, термины «имеющий», «имеет» и «имеют» имеют такое же неокончательное значение, как указанные выше «включающий», «включает» и «включают».

Как применяемые здесь, термины «заключающий в себе», «заключает в себе» и «заключают в себе» имеют такое же неокончательное значение, как указанные выше «включающий», «включает» и «включают».

Как используемое здесь, выражение «состоящий из» представляет собой закрытый переходный термин, применяемый для перехода от указанного выше перед термином субъекта к одному или многим материальным элементам, перечисленным после термина, где материальный элемент или элементы, перечисленные после переходного термина, представляют собой только материальные элементы, которые составляют субъект.

Как применяемый здесь, термин «одновременно» подразумевает возникновение события в то же время или примерно в то же время, в том числе синхронно.

Включение ссылками

Все цитированные здесь патенты и патентные заявки, статьи, доклады и прочие документы полностью включены ссылкой в такой мере, насколько они не являются несовместимыми с этим изобретением.

Похожие патенты RU2830270C2

название год авторы номер документа
УСТРОЙСТВО ДЛЯ ПРИГОТОВЛЕНИЯ ГОРЯЧИХ НАПИТКОВ 2018
  • Феттерли, Хайнц
  • Мюллер, Симон
RU2759316C2
СПОСОБ УЛАВЛИВАНИЯ ПРОТИВОМИКРОБНОГО КОМПОНЕНТА ИЗ ПРОТИВОМИКРОБНОГО РАСТВОРА 2015
  • Массей, Джастин
  • Йеман, Тим
  • Нолен, Гэри
  • Бирз, Келли
  • Рейнганс, Джо
RU2771540C2
СИСТЕМА НАНЕСЕНИЯ ПРОТИВОМИКРОБНОГО СРЕДСТВА С РЕЦИРКУЛЯЦИЕЙ И УЛАВЛИВАНИЕМ 2015
  • Массей Джастин
  • Йеман Тим
  • Нолен Гэри
  • Бирз Келли
  • Рейнганс Джо
RU2670921C9
БОЙЛЕРНАЯ СИСТЕМА ДЛЯ ИСПОЛЬЗОВАНИЯ С ПАРООБРАЗУЮЩИМ УСТРОЙСТВОМ 2006
  • Валиямбатх Кришнан Моханкумар
  • Танг Сви Л. М.
  • Тан Чоон Х.
  • Тан Монг Хуа
  • Лок Деррик В.Т.
  • Ма Кок В.
  • Джанакираман Чандра М.
RU2395033C2
ДЕСУЛЬФУРИЗАЦИЯ ОТРАБОТАННОГО ГАЗА МОРСКИХ СУДОВ 2017
  • Бахадур Тхапа, Шиам
  • Страндберг, Петер
RU2740498C2
СИСТЕМА И СПОСОБ ПРИГОТОВЛЕНИЯ РАСТВОРА 2006
  • Хилдрет Клэй
  • Херли Майкл
  • Аксамит Скотт
RU2435632C2
СПОСОБ ПОЛУЧЕНИЯ ЭЛЕМЕНТАРНЫХ НИТЕЙ ИЗ ПОЛИАМИДА С ОЧЕНЬ ВЫСОКОЙ МОЛЕКУЛЯРНОЙ МАССОЙ 2008
  • Швинн Гленн Алан
  • Вест Гари Рэймонд
RU2493299C2
СПОСОБ ИЗВЛЕЧЕНИЯ ФОСФАТА 2017
  • Нильсен, Поль Яре
  • Хольте, Ханс Расмус
RU2692731C1
АВТОМАТИЗИРОВАННЫЙ СПОСОБ И УСТРОЙСТВО ДЛЯ ОЧИСТКИ ЛЬДОГЕНЕРАТОРА ЛЕДЯНОЙ КРОШКИ 2012
  • Уолкер Даррел Джей
  • Браун Джеймс Уоллэйс
  • Крчмар Тревис Джеймс
RU2574480C1
СПОСОБ ПОЛУЧЕНИЯ СЛОЖНОЭФИРНОГО МОНОМЕРА И УСТРОЙСТВО ДЛЯ ЕГО ПОЛУЧЕНИЯ, СПОСОБ ПОЛУЧЕНИЯ СЛОЖНОГО ПОЛИЭФИРА И УСТРОЙСТВО ДЛЯ ЕГО ПОЛУЧЕНИЯ 2001
  • Дебруин Брюс Роджер
RU2286357C2

Иллюстрации к изобретению RU 2 830 270 C2

Реферат патента 2024 года КОМПАКТНАЯ КОНТЕЙНЕРНАЯ СИСТЕМА И СПОСОБ РАСПЫЛИТЕЛЬНОГО ИСПАРЕНИЯ ВОДЫ

Группа изобретений относится к системе испарения сточной воды для распылительного испарения воды, а также к способу распылительного испарения воды. Система испарения сточной воды для распылительного испарения воды включает питающий впуск для сточной воды, насос. Выпуск впуска для сточной воды соединен в сообщении по текучей среде с насосом. Насос соединен в сообщении по текучей среде с коллектором. Коллектор соединен в сообщении по текучей среде с капельным отверстием. Верхняя часть контейнера заключена в каплеуловительный элемент. Система включает: насадочную систему и/или тарельчатую систему, размещенную внутри контейнера, причем капельное отверстие выводит сточную воду и/или водяные капли на насадочную систему и/или тарельчатую систему; разгрузочный выпуск, причем дно контейнера соединено в сообщении по текучей среде с разгрузочным выпуском; и воздушную систему, причем воздушная система выводит воздушный поток в противотоке течению сточной воды и/или водяных капель из капельного отверстия. Группа изобретений обеспечивает ускорение удаления воды с созданием водяных капель во время испарения и снижение затрат на транспортирование и утилизацию отходов. 2 н. и 68 з.п. ф-лы, 34 ил.

Формула изобретения RU 2 830 270 C2

1. Система испарения сточной воды для распылительного испарения воды, включающая:

а. питающий впуск для сточной воды;

b. насос, причем выпуск впуска для сточной воды соединен в сообщении по текучей среде с впуском насоса, и причем выпуск насоса соединен в сообщении по текучей среде с впуском коллектора;

c. каплеобразующий коллектор, содержащий капельное отверстие, причем выпуск коллектора соединен в сообщении по текучей среде с впуском каплеобразующего коллектора;

d. контейнер, причем верхняя часть контейнера заключена в каплеуловительный элемент;

e. насадочную систему и/или тарельчатую систему, размещенную внутри контейнера, причем капельное отверстие выполнено с возможностью выведения сточной воды и/или водяных капель на насадочную систему и/или тарельчатую систему;

f. разгрузочный выпуск, причем дно контейнера соединено в сообщении по текучей среде с разгрузочным выпуском; и

g. воздушную систему, включающую воздуходувку и подогреватель воздуха, причем воздушная система размещена через стенку контейнера, и причем воздушная система выполнена с возможностью выведения воздушного потока в противотоке течению сточной воды и/или водяных капелькапель из капельного отверстия,

причем система испарения сточной воды выполнена с возможностью испарения от 30 до 100 баррелей (3600-12000 л) сточной воды в день.

2. Система по п. 1, дополнительно включающая:

а. первый клапан, причем питающий впуск для сточной воды соединен в сообщении по текучей среде с впуском первого клапана, и выпуск первого клапана соединен в сообщении по текучей среде с впуском насоса;

b. второй клапан, причем выпуск насоса соединен в сообщении по текучей среде с впуском второго клапана, и причем выпуск второго клапана соединен в сообщении по текучей среде с впуском коллектора;

c. третий клапан, причем дно контейнера соединено в сообщении по текучей среде с впуском третьего клапана, и причем выпуск третьего клапана соединен в сообщении по текучей среде с впуском насоса;

d. четвертый клапан, причем выпуск насоса соединен в сообщении по текучей среде с впуском четвертого клапана, и причем выпуск четвертого клапана соединен в сообщении по текучей среде с разгрузочным выпуском.

3. Система по п. 1, в которой насос выполнен с возможностью создания потока воды в систему с величиной расхода от 15 GPM до 100 GPM (56,9-378,5 л/мин).

4. Система по п. 1, в которой каплеуловительный элемент имеет толщину от 4 дюймов до 12 дюймов (101,6-304,8 мм).

5. Система по п. 1, в которой каплеуловительный элемент имеет толщину 10 дюймов (254 мм).

6. Система по п. 1, в которой насадочная система и/или тарельчатая система включает неупорядоченную насадку, структурированную насадку или их комбинации.

7. Система по п. 1, в которой насадочная система и/или тарельчатая система включает пористую тарелку.

8. Система по п. 1, в которой насадочная система включает:

а. пористую тарелку; и

b. насадку, причем насадка размещена на пористой тарелке.

9. Система по п. 8, в которой насадочная система включает неупорядоченную насадку, структурированную насадку или их комбинации.

10. Система по п. 8, в которой насадка представляет собой неупорядоченную насадку, причем насадка образована из керамических материалов, пластиков, металлов, или их комбинаций.

11. Система по п. 8, в которой насадка представляет собой структурированную насадку, причем насадка образована из керамических материалов, пластиков, металлов, или их комбинаций.

12. Система по п. 8, в которой насадка представляет собой контейнерную насадку.

13. Система по п. 1, в которой тарельчатая система включает:

а. первую пористую тарелку; и

b. вторую пористую тарелку, причем первая пористая тарелка выполнена с возможностью выпуска водяных капель на вторую пористую тарелку.

14. Система по п. 1, в которой подогреватель воздуха включает горелку для сжигания природного газа.

15. Система по п. 1, в которой подогреватель воздуха включает горелку для сжигания природного газа, причем горелка для сжигания природного газа выполнена с возможностью перемещения относительно насадочной системы.

16. Система по п. 1, в которой подогреватель воздуха включает горелку для сжигания природного газа и электрический генератор с питанием природным газом.

17. Система по п. 1, в которой подогреватель воздуха включает горелку для сжигания природного газа и регулировочный клапан для природного газа, и причем регулировочный клапан для природного газа способен создавать стационарный поток или модулированный поток.

18. Система по п. 1, в которой воздушный поток из воздуходувки рассеивает водяные капли из капельного отверстия.

19. Система по п. 1, в которой воздуходувка создает поток воздуха с расходом от 2500 CFM до 6500 CFM (70,8-184 м3/мин).

20. Система по п. 1, в которой впуск для воздушного потока подогревателя воздуха соединен в сообщении по текучей среде с выпуском для воздушного потока воздуходувки.

21. Система по п. 1, в которой подогреватель воздуха обеспечивает величину нагревания воздуха от 0 миллиона BTU в час до 2,1 миллиона BTU в час (0-615,3 кВт/час).

22. Система по п. 1, в которой подогреватель воздуха создает температуру воздуха от 50°F до 400°F (10°С-204°С).

23. Система по п. 1, в которой воздушная система размещена проведенной через стенку контейнера выше по потоку относительно каплеуловительного элемента.

24. Система по п. 1, в которой воздушная система размещена проведенной через стенку контейнера ниже по потоку относительно каплеуловительного элемента.

25. Система по п. 1, дополнительно включающая дефлектор или диффузор, причем дефлектор или диффузор размещен внутри контейнера для перенаправления воздушного потока в контейнере.

26. Система по п. 1, дополнительно включающая лопасть, причем лопасть размещена внутри контейнера для перенаправления воздушного потока в контейнере.

27. Система по п. 26, в которой лопасть проходит вдоль поперечного сечения контейнера.

28. Система по п. 1, дополнительно включающая лопасть, причем лопасть размещена в воздуховоде между выпуском для воздуха воздушной системы и впуском для воздуха контейнера.

29. Система по п. 1, дополнительно включающая программируемый логический контроллер (PLC) или другое компьютерное устройство, причем PLC или другое компьютерное устройство регулирует величину расхода потока воздуха из воздуходувки.

30. Система по п. 1, дополнительно включающая систему кислотного кондиционирования, причем система кислотного кондиционирования выполнена с возможностью добавления раствора кислоты в сточную воду.

31. Система по п. 1, дополнительно включающая систему бактерицидного кондиционирования, причем система бактерицидного кондиционирования выполнена с возможностью добавления бактерицида в сточную воду.

32. Система по п. 1, дополнительно включающая систему кондиционирования ингибитором накипи, причем система кондиционирования ингибитором накипи выполнена с возможностью добавления ингибитора накипи в сточную воду.

33. Система по п. 1, дополнительно включающая систему пеногашения, причем система пеногашения выполнена с возможностью добавления пеногасителя в сточную воду.

34. Система по п. 1, дополнительно включающая платформу, причем система испарения сточной воды смонтирована на платформе.

35. Система по п. 1, дополнительно включающая платформу, смонтированную на трейлере или грузовике или съемно закрепленную на них, причем система испарения сточной воды смонтирована на платформе.

36. Система по п. 1, дополнительно включающая систему герметизации, причем система герметизации включает платформу, окруженную облицовкой, и причем система испарения сточной воды смонтирована на платформе.

37. Система по п. 36, дополнительно включающая отводной трубопровод, причем впуск отводного трубопровода размещен в опоре, и выпуск отводного трубопровода соединен в сообщении по текучей среде с впуском контейнера.

38. Система по п. 37, дополнительно включающая отводной трубопровод, причем впуск отводного трубопровода размещен внутри опоры облицовки, и выпуск отводного трубопровода соединен в сообщении по текучей среде с впуском насоса.

39. Система по п. 1, дополнительно включающая изоляцию и/или сопроводительный подогрев, размещенный вокруг насоса.

40. Система по п. 2, дополнительно включающая изоляцию и/или сопроводительный подогрев вокруг насоса, первого клапана, второго клапана, третьего клапана и четвертого клапана.

41. Система по п. 1, дополнительно включающая нагреваемый кожух, размещенный вокруг насоса, необязательно, нижней части контейнера, необязательно, электрического генератора, и, необязательно, системы продувки азотом.

42. Система по п. 1, дополнительно включающая систему продувки воздухом, аргоном или азотом, включающую источник воздуха, аргона или азота, причем выпуск системы продувки воздухом, аргоном или азотом соединен в сообщении по текучей среде с впуском насоса.

43. Способ распылительного испарения воды, включающий:

а. обеспечение системы испарения сточной воды по п. 1;

b. выбор предварительно определенных параметров для системы испарения сточной воды для распылительного испарения воды;

с. втягивание сточной воды в систему испарения сточной воды из внешнего источника воды с использованием насоса;

d. отведение сточной воды на капельное отверстие;

е. протекание сточной воды через капельное отверстие для создания водяных капель;

f. протекание водяных капель в насадочную систему и/или тарельчатую систему, размещенную внутри контейнера системы испарения сточной воды;

g. вдувание воздуха в контейнер в противотоке течению водяных капель из капельного отверстия с использованием воздуходувки;

h. сбор конденсата сточной воды на дне контейнера;

i. рециркуляцию конденсата сточной воды со дна контейнера, и

j. отведение сконцентрированных отходов сточной воды на выпуск для отходов.

44. Способ по п. 43, дополнительно включающий мониторинг удельной электрической проводимости конденсата сточной воды с использованием измерителя удельной электропроводности.

45. Способ по п. 43, в котором предварительно определенные параметры включают величину расхода потока воздуха и величину нагревания воздуха.

46. Способ по п. 43, дополнительно включающий мониторинг температуры окружающего воздуха с использованием температурного датчика, причем предварительно определенные параметры дополнительно включают минимальную температуру воздуха.

47. Способ по п. 46, в котором система отключается, когда температура окружающего воздуха достигает минимального значения температуры воздуха.

48. Способ по п. 43, дополнительно включающий мониторинг значения рН конденсата сточной воды с использованием рН-метра и добавление раствора кислоты к конденсату сточной воды для поддерживания величины рН конденсата сточной воды на уровне 6,5 или ниже.

49. Способ по п. 43, дополнительно включающий добавление бактерицида к водному конденсату.

50. Способ по п. 43, дополнительно включающий добавление ингибитора накипи к водному конденсату.

51. Способ по п. 43, дополнительно включающий добавление пеногасителя к водному конденсату.

52. Способ по п. 49, дополнительно включающий мониторинг значения рН конденсата сточной воды с использованием рН-метра и добавление раствора кислоты к конденсату сточной воды для поддерживания величины рН конденсата сточной воды на уровне 6,5 или ниже.

53. Способ по п. 43, дополнительно включающий применение программируемого логического контроллера или другого компьютерного устройства для управления системой.

54. Способ по п. 43, в котором система способна испарять от 30 до 100 баррелей (3576-12000 л) сточной воды в день.

55. Способ по п. 43, в котором насос создает поток воды в систему с расходом от 15 GPM до 100 GPM (57,9-378,5 л/мин).

56. Способ по п. 43, в котором каплеуловительный элемент имеет толщину от 4 дюймов до 12 дюймов (101,6-304,8 мм).

57. Способ по п. 43, в котором насадочная система и/или тарельчатая система включает насадочные кольца Палля, неупорядоченную насадку или их комбинации.

58. Способ по п. 43, в котором насадочная система и/или тарельчатая система включает пористую тарелку.

59. Способ по п. 43, в котором насадочная система включает:

а. пористую тарелку, и

b. насадку, причем насадка размещена на пористой тарелке.

60. Способ по п. 59, в котором насадку выбирают из неупорядоченной насадки, структурированной насадки и их комбинаций.

61. Способ по п. 43, в котором тарельчатая система включает:

а. первую пористую тарелку; и

b. вторую пористую тарелку, причем первая пористая тарелка выпускает водяные капли на вторую пористую тарелку.

62. Способ по п. 43, в котором воздуходувка создает поток воздуха с расходом от 2500 CFM до 6500 CFM (70,8-184 м3/мин).

63. Способ по п. 43, в котором впуск для воздушного потока подогревателя воздуха соединен в сообщении по текучей среде с выпуском для воздушного потока воздуходувки.

64. Способ по п. 43, в котором подогреватель воздуха обеспечивает величину нагревания воздуха от 0 миллиона BTU в час до 2,1 миллиона BTU в час (0-615,3 кВт/час).

65. Способ по п. 43, в котором подогреватель воздуха создает температуру воздуха от 50°F до 400°F (10°С-204°С).

66. Способ по п. 43, дополнительно включающий предварительное нагревание сточной воды для сокращения или удаления летучих органических соединений выше по потоку относительно исходного впуска для сточной воды в системе испарения сточной воды.

67. Способ по п. 43, дополнительно включающий выведение испаренной воды через выпуск для испаренной воды.

68. Способ по п. 67, дополнительно включающий сбор испаренной воды из выпуска для испаренной воды и конденсацию испаренной воды в трубопроводе низкого давления.

69. Способ по п. 67, дополнительно включающий нагревание испаренной воды выше по потоку относительно выпуска для испаренной воды.

70. Способ по п. 67, дополнительно включающий нагревание испаренной воды ниже по потоку относительно выпуска для испаренной воды.

Документы, цитированные в отчете о поиске Патент 2024 года RU2830270C2

US 2012080363 A1, 05.04.2012
US 3245883 A, 12.04.1966
УСТАНОВКА И СПОСОБ КОНЦЕНТРИРОВАНИЯ ЗАГРЯЗНЕНИЙ В СТОЧНЫХ ВОДАХ 2010
  • Джошуа Карлетт
  • Самьюэл Карлетт
  • Джесси Карлетт
  • Харри Карлетт
RU2573471C2
US 4950430 A, 21.08.1990
US 5192517 A, 09.03.1993.

RU 2 830 270 C2

Авторы

Шайнер, Стивен М.

Хейнбат, Чак

Даты

2024-11-18Публикация

2020-03-17Подача