ОБЛАСТЬ ТЕХНИКИ
Данное изобретение относится к устройству для обработки пищевых продуктов с двигателем. В частности, оно относится к области устройств для резки овощей. Конкретнее, данное изобретение относится к нарезке фруктов и овощей с получением палочек, соломки или брусков, а конкретно к нарезке картофеля на бруски перед его приготовлением.
УРОВЕНЬ ТЕХНИКИ
Существует несколько различных решений в области техники изобретения, которое относится к принципу, состоящему в отрезании ломтика овоща с помощью резака, перемещаемого вращающимся диском, при этом ломтик перемещается в ходе этого режущего движения с одной стороны диска, как правило, верхней, по направлению к противоположной стороне, где направляющие подходящей формы толкают его в направлении, по существу, перпендикулярном оси вращения диска, к решетке, выполненной из ряда неподвижных лезвий таким образом, чтобы разделить его на палочки. Первый поперечный размер палочки определяет толщина ломтика, а второй размер определяет расстояние между двумя неподвижными лезвиями, которые ее сформировали. В этом способе длина неподвижных лезвий по существу равна толщине ломтика овоща. В частности, этот способ используется в патентах CH430970A и BE680437A.
Современные узлы дисков/решеток, используемые в устройствах для обработки пищевых продуктов для нарезки овощей согласно этому принципу, ограничивают форму поперечного сечения палочек квадратом со сторонами по меньшей мере восемь миллиметров. Ломтик, имеющий нужную толщину, равную восьми миллиметрам или более, подается к режущей решетке. Когда ломтик входит в соприкосновение с рядом параллельных лезвий, опирающихся на решетку и расположенных друг от друга на расстоянии, величина которого по существу равна толщине ломтика, указанный ломтик разрезается в свою очередь на палочки с квадратным поперечным сечением.
Устройства этого типа чаще используют для нарезки картофеля на бруски. В этом случае характерная жесткость картофельного ломтика, измеряемая, например, по модулю упругости, не позволяет получить бруски с малым поперечным сечением. Это связано с тем, что, когда ломтик повторно разрезают лезвия решетки, каждая часть картофеля, расположенная между двумя соседними лезвиями, из-за толщины лезвия подвергается боковому сжатию, обратно пропорциональному отношению толщины лезвия к расстоянию между этими двумя соседними лезвиями. Следовательно, чем ближе находятся два соседних лезвия решетки друг к другу для получения палочек с меньшим поперечным сечением, тем выше степень сжатия и, следовательно, тем большее усилие необходимо для прохождения этой части картофеля между лезвиями.
Это явление усугубляется тем, что характерное усилие резания при повторном разрезании ломтика должно увеличиваться с увеличением количества лезвий, то есть, при попытке получить палочки с меньшим поперечным сечением, а также при неизбежном постепенном износе режущей кромки лезвий. Характерное усилие резания непосредственно увеличивает силу сжатия. Следовательно, сопротивление разрезанию ломтика по существу обратно пропорционально поперечному сечению палочек.
Кроме того, когда требуемое поперечное сечение брусков мало, необходимо нарезать ломтики меньшей толщины, например, менее восьми миллиметров, что в свою очередь обусловливает меньшее сопротивление деформации при прижатии к лезвиям решетки. Однако сопротивление деформации пропорционально квадрату толщины.
Следовательно, для таких устройств комбинация всех или части этих эффектов, которая по существу пропорциональна кубу поперечного сечения палочек, делает невозможным нарезку брусков с малым поперечным сечением, поскольку собственное сопротивление ломтиков картофеля несовместимо с силами, которые на них воздействуют. Диск, толкающий последовательные ломтики, заставляет их изгибаться и ломаться при соприкосновении с лезвиями решетки. В этих условиях это приводит к тому, что они дробятся на множество кусков случайных форм и размеров.
Особенно трудно получить бруски с квадратным поперечным сечением шесть миллиметров, поскольку такие ломтики сломаются с гораздо большей вероятностью, чем ломтики толщиной восемь миллиметров.
Существуют аналогичные устройства для нарезки картофеля на бруски с помощью резака, перемещаемого вращающимся диском, который формирует ломтик обрабатываемого овоща. Этот ломтик перемещается, как правило, от верхней стороны диска к противоположной стороне, где панель прижимает его в направлении, параллельном оси вращения, к ряду неподвижных лезвий, параллельных друг другу и расположенных под противоположной стороной диска, где они разделяются на палочки. Документ FR 2109211 описывает такое устройство. Расстояние между лезвиями соответствует одному размеру желаемого поперечного сечения брусков. Однако, в этом устройстве длина неподвижных лезвий должна быть достаточной для покрытия всей поверхности диска. Длина лезвий очень велика по сравнению с боковыми размерами палочек. Неподвижные лезвия деформируются под воздействием усилий резания, следовательно, они не остаются параллельными друг другу, вызывая нарезку палочек очень неправильной и случайной формы.
Существуют и другие устройства, обычно предназначенные только для использования с картофелем, в которых используется вращающийся приводной барабан и по меньшей мере один набор неподвижных лезвий, удерживаемых на его периферии. Картофель целиком перемещается в центр вращающегося барабана, который содержит спиралевидные внутренние поверхности. Эти спиралевидные внутренние поверхности при совместном действии центробежной силы подталкивают картофель к периферийной поверхности, где отверстия, выполненные в боковой стенке барабана, позволяют картофелю выступать на расстояние, заданное расстоянием до корпуса, в котором находится барабан.
На картофель воздействует вращательное движение барабана с помощью действия спиральных форм, и его траектория сталкивается со всеми неподвижными лезвиями, расположенными в форме гребня, режущими его на палочки. «Гребень» расположен на плоскости, касательной к периферической поверхности барабана. Патент GB844988 использует этот принцип.
Эти устройства требуют сложных механизмов для подачи картофеля в центр барабана. Кроме того, совершенные прямолинейные палочки нельзя получить указанным способом резки, в частности, по причине эффекта тангенциального резания.
Наконец, оборудование, использующее это устройство, не обеспечивает широкого разнообразия разрезов, доступных в устройстве, использующем диск, поскольку барабан имеет только функцию толкания. Следовательно, нарезку овощей, например, на кубики нельзя выполнить с помощью такого оборудования, что представляет собой значительный недостаток. Существуют также устройства, которые не разрезают картофель предварительно на ломтики, а вместо этого разделяют его на палочки в ходе единственной операции. Эти устройства используют решетку, выполненную из лезвий, расположенных в двух перпендикулярных направлениях, режущие кромки которых образуют квадраты. Картофель по всей длине проталкивается через решетку. Этот способ часто используют для нарезки картофеля фри вручную, поскольку его затруднительно механизировать по той причине, что режущее движение необходимо выполнять по длинной прямолинейной траектории, чего нельзя достигнуть просто с помощью вращающегося двигателя.
СУЩНОСТЬ ИЗОБРЕТЕНИЯ
Данное изобретение направлено на устранение всех или части этих недостатков. Для этого данное изобретение предусматривает устройство для обработки пищевых продуктов с двигателем, содержащее:
- корпус, содержащий приводной двигатель для вращения вала вокруг оси вращения;
- по меньшей мере один резак, приводимый во вращение вокруг оси двигателем, содержащий режущую кромку, проходящую от вала по направлению к внешней стороне корпуса;
- крышку, соединенную с корпусом и окружающую траекторию резака, оборудованную подающим каналом для подачи нарезаемого пищевого продукта на указанную траекторию;
- выходное отверстие для нарезаемого пищевого продукта;
- направляющую пластину для направления нарезаемого пищевого продукта к выходному отверстию;
- по меньшей мере одно направляющее ребро на указанной пластине, которое определяет траекторию нарезаемого пищевого продукта по направлению к выходному инструменту;
- выходной инструмент, расположенный на пути пищевого продукта по направлению к выходному отверстию;
- по меньшей мере один приводной блок, выполняющий такое же вращение вокруг оси, что и резак, следующий по траектории, расположенной на стороне траектории резака, противоположной входному каналу, для привода в движение нарезаемого пищевого продукта между направляющей пластиной и траекторией резака по направлению к выходному инструменту;
при этом выходной инструмент содержит ряд лезвий, в котором для любой пары соседних лезвий части этих двух соседних лезвий, расположенные на траектории нарезаемого пищевого продукта, не имеют никакого пересечения их ортогональных проекций на плоскости, которая
- параллельна оси вращения и
- параллельна отрезку, образованному пересечением одного из этих двух лезвий с плоскостью, перпендикулярной оси вращения.
Обратите внимание, что для одного лезвия в вертикальной плоскости, например, оси вращения, плоскость ортогональной проекции представляет собой плоскость лезвия. В этом случае, согласно данному изобретению, ортогональная проекция используемой части вертикального лезвия на вертикальную плоскость соседнего лезвия находится полностью за пределами используемой части этого соседнего лезвия:
Часть, расположенная на траектории ломтика пищевого продукта, («используемая часть») одного из этих лезвий по общей плоскости другого не содержит какой-либо точки на части этого другого лезвия, расположенной на траектории ломтика пищевого продукта.
Благодаря такому расположению, два соседних лезвия в ряду лезвий не зажимают и не сдавливают сбоку одну часть пищевого продукта во время его перемещения. Когда пищевой продукт начинает разделяться режущей кромкой первого соседнего лезвия, образуемая таким образом часть перемещается в поперечном направлении на одну половину толщины лезвия без напряжения, поскольку второе соседнее лезвие не расположено перед первым. Аналогичным образом, когда она продолжает свое перемещение, часть пищевого продукта перемещается в поперечном направлении в другую сторону на одну половину толщины лезвия без напряжения, когда ее разделяет режущая кромка второго соседнего лезвия, поскольку перед ним нет другого соседнего лезвия, которое могло бы сжимать пищевой продукт (смотрите Фиг. 16).
Таким образом, каждая часть пищевого продукта следует по своего рода зигзагу во время своего перемещения по направлению к выходу из устройства, удерживаемая на расстоянии одной половины ширины лезвия сначала с одной стороны первым из двух соседних лезвий, затем с другой стороны вторым, без сжатия пищевого продукта между двумя соседним лезвиями, обращенными друг к другу, в каком-либо месте вдоль его пути. Таким образом, сила сжатия устраняется по отношению к расположению соседних лезвий, обращенных друг к другу по обе стороны пути каждой части пищевого продукта, поскольку лезвия не воздействуют одновременно на пищевой продукт в одной точке его траектории.
Данное изобретение делает возможным получение прямых палочек, то есть, таких, общая форма которых представляет собой прямоугольный параллелепипед с малым поперечным сечением, например, квадратным шесть миллиметров на шесть миллиметров для картофеля, в соответствии с требованиями потребителя.
Поскольку сила сжатия устранена таким образом, пищевой продукт можно нарезать на более тонкие ломтики, и одновременно два соседних лезвия выходного инструмента также могут быть расположены на меньшем видимом расстоянии друг от друга перпендикулярно траектории пищевого продукта без изгиба или разрыва пищевого продукта, несмотря на его меньшее сопротивление по причине его меньшей толщины.
В некоторых вариантах реализации изобретения лезвия содержат режущие кромки, средний наклон которых образует угол менее 70° к плоскости, перпендикулярной оси вращения.
При наличии лезвия с режущей кромкой в положении, по существу параллельном оси вращения, режущая кромка лезвия пронизывает ломтик по всей его высоте одновременно. Когда режущие кромки лезвий образуют угол, в достаточной степени меньший прямого угла, по отношению к плоскости, перпендикулярной оси вращения, проникновение в ломтик происходит постепенно с инициализацией в начале, а усилия резания, в свою очередь, значительно уменьшаются. Эта конструкция дополнительно способствует удержанию на низком уровне усилий, воздействующих на ломтик пищевого продукта, когда он разделяется, тем самым позволяя разрезать пищевой продукт с низким сопротивлением на палочки с малым поперечным сечением.
В некоторых вариантах реализации изобретения лезвия содержат режущие кромки, выполненные из последовательности вогнутых дуг. Эти варианты реализации изобретения позволяют придать режущим кромкам последовательность зазубрин, образованных пересечениями последовательных вогнутых дуг. Наличие этих зубцов представляет собой либо альтернативную, либо дополнительную конструкцию к наклону лезвий, описанному выше, которая способствует нарезке пищевого продукта, уменьшая усилие, необходимое для начала резания, посредством эффекта перфорации поверхности зазубринами. Уменьшение усилия резания, достигаемое таким образом, уменьшает усилия, которые воздействуют на ломтик пищевого продукта, тем самым способствуя решению задачи способности нарезки пищевого продукта с низким сопротивлением, в особенности, картофеля на палочки с малым поперечным сечением.
В некоторых вариантах реализации изобретения по меньшей мере одно направляющее ребро на пластине имеет увеличивающийся подъем в направлении траектории нарезаемого пищевого продукта выше опорной поверхности для пищевого продукта на направляющей пластине. Направляющее ребро на пластине должно вести ломтик пищевого продукта в направлении выходного инструмента, расположенного на периферии траектории резака. Для достижения этой цели работает направляющее ребро, таким образом прилагающее усилия к ломтику пищевого продукта, на который оказывает вращательное действие приводной блок, позволяя ему отклониться от своей траектории в направлении выходного инструмента.
Конструкции, которые предусматривают увеличение подъема направляющего ребра в направлении траектории нарезаемого пищевого продукта выше поверхности направляющей пластины, также способствуют уменьшению усилий, воздействующих на пищевой продукт, поскольку желобок, создаваемый в пищевом продукте во время его перемещения вокруг направляющего ребра, образуется постепенно после инициализации в начале.
В некоторых вариантах реализации изобретения по меньшей мере одно направляющее ребро содержит режущую часть по меньшей мере в его верхней части в направлении траектории нарезаемого пищевого продукта. Эти варианты реализации изобретения способствуют достижению цели получения палочек с малым поперечным сечением, поскольку они позволяют уменьшить усилия, которые воздействуют на ломтик пищевого продукта в точке инициализации желобка, создаваемого в пищевом продукте направляющим ребром, и заставляют его следовать своей траектории в направлении инструмента.
В некоторых вариантах реализации изобретения толщина лезвий меньше или равна 0,3 мм. Таким образом, усилия резания, которые воздействуют на пищевой продукт, когда его режут лезвия, сводятся к минимуму. Следовательно, уменьшается опасность разрыва пищевого продукта.
В некоторых вариантах реализации изобретения минимальное расстояние между двумя соседними лезвиями, измеряемое в плоскости, перпендикулярной оси вращения, и вдоль направления, перпендикулярного траектории пищевого продукта поблизости от этих двух лезвий, меньше или равно 8 мм. Эти варианты реализации изобретения позволяют получать меньшие палочки по сравнению с современными устройствами для одинаковых пищевых продуктов.
В некоторых вариантах реализации изобретения расстояние между резаком и направляющей пластиной меньше или равно 8 мм. Эти варианты реализации изобретения позволяют получать меньшие палочки по сравнению с современными устройствами для одинаковых пищевых продуктов.
Таким образом, можно создать пространство для направления пищевых продуктов к выходному инструменту, образованному между траекторией резака со стороны, противоположной подающему каналу, который также представляет собой нижнюю поверхность диска, и направляющей пластиной, размер, идеально соответствующий толщине ломтика пищевого продукта, тем самым устранив любое избыточное пространство, в котором пищевые продукты могут изгибаться и ломаться из-за действия сил, которые на них воздействуют. Сопротивление ломтика сжатию сильно увеличивается за счет эффекта конкуренции, применяемого к нему таким способом; таким образом, возможно подавать ломтики, которые имеют меньшую толщину, по направлению к выходному инструменту, и разрезать их, несмотря на их меньшее сопротивление, поскольку они идеально укладываются в их толщину. Это позволяет получать меньшие палочки по сравнению с современными устройствами для одинаковых пищевых продуктов.
В некоторых вариантах реализации изобретения выходной инструмент имеет разъемное механическое соединение с направляющей пластиной. Таким образом, выходной инструмент можно легко очищать или заменять другим выходным инструментом.
В некоторых вариантах реализации изобретения устройство, которое представляет собой объект данного изобретения, содержит по меньшей мере два выходных инструмента, при этом расстояние между лезвиями одного из выходных инструментов отличается от расстояния между лезвиями другого выходного инструмента. Эти варианты реализации изобретения позволяют пользователю изменять размер и/или внешний вид палочек на выходе из устройства. В некоторых вариантах реализации изобретения резак неподвижен при перемещении направляющей пластиной вдоль направления, определяемого осью вращения.
КРАТКОЕ ОПИСАНИЕ ГРАФИЧЕСКИХ МАТЕРИАЛОВ
Другие конкретные преимущества, задачи и особенности данного изобретения станут очевидными из следующего описания, не имеющего ограничительного характера, по меньшей мере одного конкретного варианта реализации устройства и выходного инструмента, которые представляют собой объект данного изобретения, со ссылкой на графические материалы, включенные в приложение, в которых:
Фиг. 1 представляет в схематическом виде и в частичном разрезе первый конкретный вариант реализации устройства, которое представляет собой объект данного изобретения, и на виде в перспективе два элемента этого устройства;
Фиг. 2-11 представляют схематически и на виде сверху, соответственно, с первого по десятый конкретный вариант реализации выходного инструмента, который представляет собой объект данного изобретения;
Фиг. 12 и 13 представляют схематически и на виде сбоку два конкретных варианта реализации направления ломтика пищевого продукта, наклона лезвий и формы режущей кромки лезвий;
Фиг. 14 представляет схематически и на виде в разрезе опорный диск и направляющую пластину второго варианта реализации устройства, которое представляет собой объект данного изобретения;
Фиг. 15 представляет на виде сверху опорный диск, находящийся на конце направляющей пластины устройства, которое представляет собой объект данного изобретения; и
Фиг. 16 представляет путь ломтика пищевого продукта, разрезаемого двумя соседними лезвиями.
ПОДРОБНОЕ ОПИСАНИЕ ИЗОБРЕТЕНИЯ
Данное описание представлено в виде, не имеющем ограничительного характера, в котором каждую характеристику варианта реализации изобретения можно комбинировать с любой другой характеристикой любого другого варианта реализации изобретения благоприятным способом.
Во всем описании представлена вертикальная ось вращения, и таким образом определены термины «выше», «ниже», «верхний» и «нижний». Тем не менее, данное изобретение не ограничено устройствами, ось вращения которых вертикальна; оно распространяется на любые устройства с наклонной или горизонтальной осью вращения, для которых простой поворот фигур обеспечит эквивалентность для терминов, упомянутых выше. Таким образом, по отношению к опорному диску, поддерживающему резак, «выше» означает «со стороны подающего канала для введения пищевых продуктов», а «ниже» означает противоположную сторону.
Во всем описании устройство содержит единственный резак для отрезания ломтиков пищевого продукта. Тем не менее, данное изобретение распространяется на варианты реализации, в которых используют несколько резаков для получения ломтиков пищевого продукта, например, два, три или четыре резака, расположенных на одном опорном диске.
Во всем описании термин «соседние» относится к двум лезвиям, которые режут две противоположные поверхности одной палочки.
Во всей заявке термин «перед», применяемый к двум лезвиям, в особенности, двум соседним лезвиям, означает, что ортогональная проекция одного из этих лезвий на общую плоскость другого из этих лезвий содержит по меньшей мере одну точку на этом другом лезвии, которая таким образом представляет собой боковое сжатие палочки между этими двумя соседними лезвиями.
Обратите внимание, что Фиг. 12 и 13 приведены не в масштабе, в то время как Фиг. 1-11, 14 и 15 приведены в масштабе.
Фиг. 16 показывает два соседних лезвия 151 и 152 и лезвие 153, соседнее с лезвием 151. Лезвия показаны черным цветом. Направление перемещения пищевого продукта, нарезаемого на палочки, представлено пунктирной стрелкой 158. Вдоль этого направления перемещения лезвие 151 находится выше по потоку лезвий 152 и 153. Когда пищевой продукт начинает разделять режущая кромка лезвия 151, его стенка перемещается вдоль по стрелке 154 на одну половину толщины лезвия 151 без напряжения, поскольку ни одно из лезвий 152 и 153, соседних с лезвием 151, не расположено напротив лезвия 151. Аналогичным образом, когда его перемещение продолжается, при проходе за лезвием 151 под воздействием своей эластичности, затем, когда пищевой продукт начинает резать режущая кромка лезвия 152 или 153, эта часть пищевого продукта перемещается в поперечном направлении в другую сторону на одну половину толщины лезвия 151 (стрелка 156) без напряжения, поскольку эта часть пищевого продукта прошла за лезвием 151.
Таким образом, каждая часть пищевого продукта следует по зигзагообразной траектории 155 и 157 во время своего перемещения по направлению к выходу из устройства, удерживаемая на расстоянии одной половины ширины лезвия сначала с одной стороны первым из двух соседних лезвий, затем с другой стороны вторым из этих двух соседних лезвий без сжатия пищевого продукта между двумя соседним лезвиями, обращенными друг к другу, в каком-либо месте вдоль его пути.
Таким образом, сила сжатия сильно уменьшается по отношению к расположению соседних лезвий, обращенных друг к другу по обе стороны пути каждой части пищевого продукта, поскольку лезвия не воздействуют одновременно на пищевой продукт в одной точке его траектории.
Предпочтительно высота используемых частей лезвий больше расстояния между опорным диском 116 и направляющей пластиной 109 (смотрите ниже), так что сжатие не воздействует параллельно на кромки лезвий.
Таким образом получают палочки 159 и 160.
С правой стороны Фиг. 16 представлена плоскость 163, которая одновременно
- параллельна оси вращения (в данном случае, перпендикулярна Фиг. 16) и
- параллельна отрезку, образованному пересечением одного из этих двух лезвий с плоскостью, перпендикулярной оси вращения (плоскостью Фиг. 16).
Можно увидеть, что ортогональные проекции 161 и 162 используемых частей (расположенных на траектории ломтика пищевого продукта) лезвий 151 и 152 не содержат общих точек, что делает возможным этот зигзагообразный путь без зажимания между двумя соседними лезвиями.
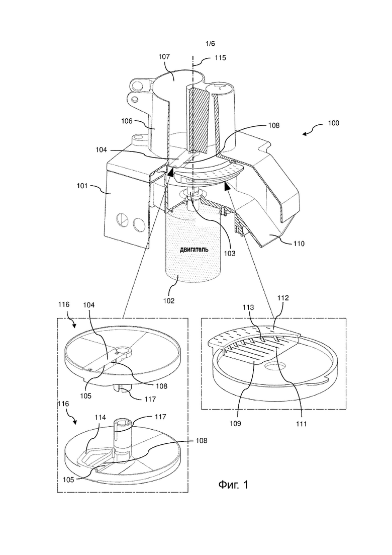
Фиг. 1 и 15 показывают вариант реализации устройства 100, которое представляет собой объект данного изобретения. Устройство 100 для обработки пищевых продуктов, также называемых продуктами питания, содержит:
- корпус 101, содержащий приводной двигатель 102 для вращения вала 103 вокруг оси вращения 115;
- по меньшей мере один резак 104, приводимый во вращение вокруг оси 115 двигателем 102, содержащий режущую кромку 105, проходящую от вала 103 по направлению к внешней стороне корпуса;
- крышку 106, соединенную с корпусом 101 и окружающую траекторию резака 104, причем крышка 106 оборудована подающим каналом 107 для подачи нарезаемого пищевого продукта на указанную траекторию;
- выходное отверстие 110 для нарезаемого пищевого продукта;
- направляющую пластину 109 для направления нарезаемого пищевого продукта к выходному отверстию 110;
- по меньшей мере одно направляющее ребро 111 на указанной пластине 109, которое определяет траекторию нарезаемого пищевого продукта по направлению к выходному инструменту 112;
- выходной инструмент 112, расположенный на пути пищевого продукта по направлению к выходному отверстию 110, и
- по меньшей мере один приводной блок 114, выполняющий такое же вращение вокруг оси 115, что и резак 104, следующий по траектории, расположенной на стороне траектории резака 104, противоположной входному каналу 107, для привода в движение нарезаемого пищевого продукта между направляющей пластиной 109 и траекторией резака 104 по направлению к выходному инструменту 112.
Выходной инструмент 112 содержит ряд лезвий 113, в котором для любой пары соседних лезвий 113 части этих двух соседних лезвий 113, расположенные на траектории нарезаемого пищевого продукта, не имеют никакого пересечения их ортогональных проекций на плоскости, которая
- параллельна оси вращения 115 и
- параллельна отрезку, образованному пересечением одного из этих двух лезвий с плоскостью, перпендикулярной оси вращения.
Корпус 101 устройства для обработки может быть любой формы, известной специалисту в данной области техники. Корпус 101 представляет собой, например, усеченную часть цилиндра с образующей в форме окружности или параллелепипеда. Напоминание: усеченная часть цилиндра представляет собой часть косой поверхности, образованной направляющей кривой и прямолинейной образующей, перемещаемой вдоль этой кривой.
Предпочтительно корпус 101 содержит внутреннее отверстие, в котором расположены пластина 109 и выходной инструмент 112, при этом размеры указанного корпуса соответствуют размерам пластины 109 и выходного инструмента 112. Например, указанное внутреннее отверстие имеет форму усеченной части цилиндра с кольцевой направляющей кривой.
Устройство 100 содержит крышку 106, соединенную с корпусом 101. Например, крышка 106 содержит фланец, размеры которого соответствуют размерам корпуса 101, при этом указанный фланец окружает часть корпуса 101, противоположную внутреннему отверстию. Фланец может содержать стопорный механизм между крышкой 106 и корпусом 101. Например, стопорный механизм может содержать по меньшей мере один выступ, входящий в соответствующее отверстие в корпусе 101. В некоторых вариантах реализации изобретения стопорный механизм позволяет работать приводному двигателю 102. Таким образом, когда стопорный механизм не в зацеплении, приводной двигатель 102 включить нельзя, что предотвращает опасность травмирования оператора, такого как порез резаком 104. Механизм деактивации может представлять собой нажимную кнопку, активируемую по меньшей мере одним выступом стопорного механизма при блокировании. Крышка 106 оборудована подающим каналом 107 для подачи нарезаемого пищевого продукта на указанную траекторию.
В некоторых вариантах реализации изобретения устройство 100 содержит стержень толкателя (не показан) с формой, соответствующей форме подающего канала 107. Этот стержень толкателя позволяет толкать нарезаемый пищевой продукт на траекторию резака 104 без травм.
Предпочтительно подающий канал 107 представляет собой усеченную часть цилиндра с фасолевидной направляющей кривой, с ортогональной проекцией, вписанной в поверхность, образованную траекторией резака, и с прямой направляющей линией, параллельной оси вращения 115. В некоторых вариантах реализации изобретения резак 104 установлен на опорном диске, имеющем по существу форму диска, с радиусом, немного превышающим наибольший размер подающего канала 107, измеряемый от оси вращения 115 и перпендикулярной ей плоскости. Обратите внимание, что опорный диск 116 и направляющая пластина 109 могут быть не плоскими, а, например, коническими или тороидальными.
В некоторых вариантах реализации изобретения режущая кромка 105 резака 104 непрерывна, а ее крайние точки, видимые из плоскости, перпендикулярной оси вращения 115, расположены за пределами ортогональной проекции направляющей кривой усеченной части цилиндра, которая образует подающий канал 107.
В некоторых вариантах реализации изобретения фасолевидная направляющая кривая в основании усеченной части цилиндра, образующей подающий канал 107, выполнена таким образом, чтобы по существу охватывать три четверти поверхности, проходимой резаком 104. Эта конструкция позволяет придать подающему каналу 107 больший полезный объем загрузки для нарезаемого пищевого продукта.
В других формах реализации изобретения отверстие подающего канала 107 выполнено в основании усеченной части цилиндра с кольцевой направляющей кривой; причем канал 107 в этом случае окружает ось вращения 115, таким образом открывая порцию нарезаемого пищевого продукта в подающем канале на поверхности диска, большей, чем поверхность, образуемая траекторией резака 104, в особенности в области, центральной по отношению к приводному валу, где резак 104 не может оказывать никакого режущего воздействия на пищевой продукт. Предпочтительно по меньшей мере одна перегородка (не показана), имеющая разъемное соединение с подающим каналом или нет, поддерживает поверхности, которые заполняют центральный объем, предотвращая проталкивание пищевого продукта в центральную область, в которой резак 104 не действует. Указанная перегородка по существу выровнена с поверхностью выходного инструмента 112, наиболее удаленной вниз по потоку по отношению к направлению вращения резака 104. С этой конструкцией ломтик пищевого продукта, отрезанный резаком 104, расположен в ортогональной проекции на направляющей пластине 109 либо выше по потоку, либо ниже по потоку от ортогональной проекции перегородки.
Под воздействием приводного блока 114 и направляющего ребра 111 ломтик, расположенный выше по потоку от перегородки, немедленно продвигается к выходному инструменту 112 по направлению к выходному отверстию 110, при этом ломтик, расположенный ниже по потоку от перегородки, приводится во вращение вокруг оси 115 приблизительно на три четверти оборота приводного блока 114 перед тем, как направляющее ребро 111 направляет его в направлении выходного инструмента 112. Соответственно, при таком расположением перегородки ни один ломтик пищевого продукта не может оказаться на направляющей пластине 109, частично на направляющих ребрах 111 и частично на области направляющей пластины, расположенной ниже по потоку, по отношению к направлению вращения резака 104 выходного инструмента 112; в такой ситуации приводной блок 114 подвергал бы срез по меньшей мере двум несовместимым перемещениям, первому в направлении выходного инструмента 112 и второму вращательному вокруг оси 115; результатом этого было бы полное разрушение и разрыв ломтика без образования каких-либо палочек.
В других вариантах реализации изобретения устройство 100 не содержит стержня толкателя, подающего нарезаемый пищевой продукт на траекторию резака 104. Подающий канал 107 поднимается от траектории резака в направлении, не параллельном оси вращения 115, и содержит поверхности, которые образуют острый угол к траектории резака 104. Предпочтительно край подающего канала, наиболее удаленный от резака 104, содержит над собой бункер для приема нарезаемого пищевого продукта со стенками, расположенными в виде зигзага таким образом, что рука пользователя не может соприкасаться с движущимся резаком 104. Пищевой продукт, расположенный в бункере, поступает под действием силы тяжести в отверстие подающего канала, затем выходит на траекторию резака 104. При совместном воздействии резака, силы тяжести и поверхностей канала, образующих острый угол, пищевой продукт выталкивается на траекторию резака 104 с помощью углового эффекта и затем разрезается на ломтики равномерной толщины.
Приводной двигатель 102 представляет собой приводной двигатель, известный специалисту в данной области техники. Соединение между приводным двигателем 102 и валом 103, а также соединение между валом 103 и резаком 104, например, с помощью клина или разъемного штифта, известно специалисту в данной области техники. Резак 104 установлен на опорном диске 116. Внизу слева на Фиг. 1 этот опорный диск 116 представлен дважды, чтобы показать обе поверхности. Опорный диск 116 по существу имеет форму полного диска, содержащего отверстие 108, режущая кромка 105 которого образует одну из кромок. Пищевой продукт может проходить через отверстие 108. Во время вращения двигателя режущая кромка 105 вызывает разрезание пищевого продукта, а затем отрезанная часть в форме ломтика или полоски падает на пластину 109 под действием силы тяжести. Форма режущей кромки 105 на виде сверху может быть дугообразной или прямолинейной.
Что касается относительного положения опорного диска 104 резака по отношению к пластине 109, расстояние между каждой нижней поверхностью опорного диска и пластиной 109, измеренное вдоль оси вращения 115, должно быть как можно ближе к толщине ломтика или полоски пищевого продукта, который должен быть разделен выходным инструментом 112. В современных устройствах пластина опирается на корпус, а расстояние от пластины до диска вдоль оси вращения устанавливается разъемным штифтом, соединенным с приводным валом, например, с помощью системы байонетного типа. В результате, в худшем случае указанное расстояние определяется путем добавления 15 различных размеров. Допуски по размерам, присущие массовому производству, могут привести к тому, что это расстояние будет варьироваться более чем на 2,5 миллиметра. Если нужны ломтики пищевого продукта толщиной 6 миллиметров, такие допуски становятся неприемлемыми, и устройство больше не может выполнять свои функции.
В устройстве разъемный штифт 118, фиксирующий опорный диск 116 резака 104 на валу 103, удерживается для приведения резака во вращение, но использование продольного паза 117 в ступице 122 опорного диска 116 означает, что разъемный штифт 118 не определяет осевое положение указанного опорного диска вдоль вала 103. Опорный диск 116 непосредственно прижимается к направляющей пластине 109 в центральной части, то есть, близко к валу 103, посредством противоположных поверхностей, предназначенных для трения, поскольку направляющая пластина 109 неподвижна, а опорный диск 116 вращается. Следовательно, разъемный штифт 118 теперь имеет только функцию привода, а не функцию привода и позиционирования, как в известном уровне техники.
В некоторых вариантах реализации изобретения, таких как частично показанные на Фиг. 14, резак 105 опирается на опорный диск 116, который содержит ступицу 122 в своем центре, которая свободно регулируется на вращающемся валу. Система для приведения валом во вращение опорного диска 116 выполнена, например, из клина между валом и ступицей 122 опорного диска 116 или, как показано на Фиг. 14, из разъемного штифта 118, вставляемого в поперечном направлении в вал напротив по меньшей мере одного паза 117, выполненного в продольном направлении в ступице 122 опорного диска 116 для этой цели. Поэтому опорный диск 116 приводится во вращение валом и остается свободным от вала вдоль направления, определяемого осью вращения 115. Эта последняя степень свободы в перемещении блокируется непосредственным упором опорного диска 116 в верхнюю поверхность направляющей пластины 109, предпочтительно в центральной области, близкой к ступице 122, и с помощью противоположных поверхностей, формы, размеры и вид которых выбираются специалистом в данной области техники для уменьшения трения или даже для его устранения посредством действия качения.
Для дополнения этих конструкций опорный диск 116 содержит стопорное устройство 123 на своей ступице 122 под направляющей пластиной 109, например, как на Фиг. 14, навинчиваемую гайку, которая также опирается на нижнюю поверхность направляющей пластины 109. Что касается опорного диска 116, опирающегося на верхнюю часть направляющей пластины 109, стопор 123 опирается на нижнюю часть, предпочтительно в центральной области, близкой к ступице 122, и с помощью противоположных поверхностей, формы, размеры и вид которых выбираются специалистом в данной области техники для уменьшения трения или даже для его устранения посредством действия качения.
Таким образом, для всех конструкций таких вариантов реализации изобретения положение опорного диска 116, а следовательно и резака 104, его траектория и приводной блок 114 для привода вдоль направления, определяемого осью вращения 115, непосредственно определяется направляющей пластиной 109 для пищевого продукта. Затем диск соединяется с пластиной 109, подвергаясь воздействию сил в обоих направлениях вдоль направления, определяемого осью вращения 115. Положение в пространстве диска, резака, направляющей пластины и узла приводного блока вдоль направления оси 115 определяется исключительно пластиной 109, опирающейся на корпус 101.
Как можно увидеть, читая описание на Фиг. 14, резак 104 предпочтительно неподвижен при перемещении направляющей пластиной 109 в направлении, определяемом осью вращения 115. В этих условиях расстояние между опорным диском 116 и пластиной 109 теперь зависит только от небольшого количества размеров или даже только двух размеров, в зависимости от вариантов реализации изобретения. В этом случае для массового производства легко поддерживать вариации этого расстояния на низком уровне, например, порядка 0,2-0,3 мм, что во всех случаях совместимо с функцией.
В то же время эти варианты реализации изобретения решают вторую техническую проблему, связанную с приводом опорного диска 116 резака 104 с байонетным креплением; это кажется серьезной проблемой по причине большой инерции диска вдоль своей оси вращения в вариантах реализации известных устройств. Это связано с тем, что для многоцелевого устройства, предназначенного для резки пищевых продуктов очень разной толщины, опорный диск, необходимый для резки ломтиков пищевых продуктов порядка шести миллиметров, толще и, следовательно, более массивен, то есть, обладает большей инерцией по сравнению с опорным диском для резки более толстых ломтиков пищевых продуктов.
Кроме того, по самой своей природе байонетный привод, используемый в известном уровне техники, создает значительный угловой люфт между разъемным штифтом и опорным диском. В результате этого люфта при каждом запуске разъемный штифт ударяется о диск, а при каждой остановке диск по инерции ударяется о разъемный штифт с противоположной стороны. Энергия, используемая в этих последовательных ударах, прямо пропорциональна инерции диска. Испытания износостойкости показали, что это приводит к преждевременной поломке разъемного штифта, и что такой тип привода не подходит. Варианты реализации изобретения, описанные выше, позволяют избежать использования байонета такого типа, устраняют весь угловой люфт и, следовательно, все ударные воздействия.
Наконец, описанные выше варианты реализации изобретения, поскольку они образуют направляющее пространство высотой, надлежащим образом согласованной с толщиной ломтика пищевого продукта, между пластиной 109 и опорным диском резака, делают невозможным наложение нескольких ломтиков пищевого продукта в этом направляющем пространстве. В существующих устройствах это в настоящее время происходит, когда случается неблагоприятное объединение всех размеров, которые определяют эту высоту, из-за допусков для массового производства. В этой ситуации между наложенными ломтиками возникают очень большие усилия за счет углового эффекта. Таким образом, описанные выше варианты реализации изобретения уменьшают напряжения, создаваемые на выходном инструменте 112 вертикальными силами, и позволяют упростить и облегчить его конструкцию.
Опорный диск 116 содержит по меньшей мере один приводной блок 114, выполняющий такое же вращение вокруг оси 115, что и резак 104, следующий по траектории, расположенной на стороне траектории резака 104, противоположной входному каналу 107, для привода в движение нарезаемого пищевого продукта между направляющей пластиной 109 и траекторией резака 104 по направлению к выходному инструменту 112. В варианте реализации изобретения, показанном на Фиг. 14, приводной блок 114 расположен на расстоянии по окружности от резака 104 на опорном диске 116. В варианте реализации изобретения, показанном на Фиг. 1 и 15, приводной блок 114 наоборот расположен близко по окружности к резаку 104 на опорном диске 116. Приводной блок 114 представляет собой, например, выступ, известный специалисту в данной области техники, на стороне опорного диска, противоположной каналу 107. Например, указанный выступ образует выпуклую поднятую часть, проходящую через опорный диск 116 вдоль радиуса опорного диска 116. Приводной блок 114 толкает нарезаемый пищевой продукт на пластине 109 до самого выходного инструмента 112.
Предпочтительно расстояние между опорным диском резака 104 и направляющей пластиной 109 равно толщине ломтика пищевого продукта или очень незначительно превышает ее.
Форма пластины 109 представляет собой по существу твердый диск, содержащий часть, оборудованную по меньшей мере одним направляющим ребром 111 до самого выходного инструмента 112. Направляющее ребро 111 может представлять собой выступ, который закруглен или имеет необработанную кромку. Предпочтительно направляющее ребро 111 следует отрезку прямой линии, перпендикулярному радиусу пластины 109 и параллельному по меньшей мере одному лезвию 113 выходного инструмента 112.
Выходной инструмент 112 содержит комплект лезвий 113 по существу на периметре пластины 109 над приблизительно одной четвертью периметра пластины 109. Выходной инструмент 112 и пластина 109 устройства 100 могут представлять собой комбинации вариантов реализации выходных инструментов, описанных применительно к Фиг. 2-11. Выходное отверстие 110 представляет собой отверстие в одной из боковых поверхностей корпуса 101. Корпус 101 может быть оборудован клапаном вокруг выходного отверстия 115, предотвращающим разбрасывание нарезаемого пищевого продукта и локализирующим падение нарезаемого пищевого продукта.
Предпочтительно каждый элемент устройства 100, с которым может соприкасаться пищевой продукт, выполнен с возможностью отсоединения для замены или очистки. В некоторых вариантах реализации изобретения выходной инструмент 112 имеет разъемное механическое соединение с направляющей пластиной 109, обеспечивающее легкую замену выходного инструмента 112. Выходной инструмент 112 может быть установлен на направляющей пластине 109 с помощью шипа, вставляемого в прорезь соответствующей формы.
В некоторых вариантах реализации изобретения устройство 100 содержит по меньшей мере два выходных инструмента 112, при этом поперечное расстояние, то есть, расстояние в плоскости, перпендикулярной оси вращения двигателя, между лезвиями одного из выходных инструментов 112 отличается от расстояния между лезвиями другого выходного инструмента. Эти варианты реализации изобретения позволяют регулировать размер нарезки пищевого продукта.
Как можно увидеть, читая описание элементов выше, пищевой продукт, например, картофель, помещают в подающий канал 107. Пищевой продукт соприкасается с резаком 104 либо под действием силы тяжести, либо толкаемый стержнем толкателя. Режущая кромка 105, которую приводит во вращение двигатель 102 с помощью вала 103, разрезает пищевой продукт на полоски по существу равной толщины. Полоску после ее получения направляет резак 104 в направлении отверстия 108, и она укладывается под действием силы тяжести на пластину 109, которая неподвижна. Продолжая свое вращательное движение, опорный диск резака полностью прижимает полоску по всей толщине к направляющей пластине, затем полоску толкает приводной блок 114, который закреплен под опорным диском резака 104 и, следовательно, приводится во вращение с той же скоростью и по той же траектории, что и резак 104. Приводной блок 114 толкает полоску на пластину 109 по направлению к направляющим ребрам 111, которые направляют толкаемую полоску по направлению к лезвиям 113 выходного инструмента 112. Полоска проходит через выходной инструмент 112 по направлению к выходному отверстию 110 и при этом нарезается на палочки, бруски или соломку. Например, для получения соломки, имеющей квадратное поперечное сечение со сторонами по шесть миллиметров, режущая кромка 105 резака 104 находится на расстоянии приблизительно шесть миллиметров от верхней поверхности опорного диска резака 104, и лезвия 113 находятся на расстоянии приблизительно шесть миллиметров друг от друга.
Фиг. 2-11 показывают расположения лезвий выходного инструмента. Фиг. 12 и 13 показывают два различных варианта реализации лезвий и направляющих ребер, которые совместимы друг с другом и с расположениями по Фиг. 2-11.
В остальной части описания каждое лезвие определено одним краем, называемым «верхний край», и краем, называемым «нижний край», на пути, по которому следует пищевой продукт на пластине 109 по направлению к выходному отверстию 110. Верхний край представляет собой край, который входит в соприкосновение с пищевым продуктом, разрезая его. Верхний край содержит режущую кромку лезвия. Нижний край представляет собой край, ближайший к выходному отверстию.
Варианты реализации выходного инструмента 222-922, показанные на Фиг. 2-9, содержат четырнадцать лезвий. Эти лезвия находятся на параллельных плоскостях, расположенных на расстоянии друг от друга, соответствующем предварительно установленному размеру нарезки, например, шесть миллиметров. Более обобщенно, количество лезвий выходного инструмента определяется предварительно установленным размером нарезки и размером выходного инструмента 112. Фиг. 2-11 показывают для каждого лезвия линию, перпендикулярную этому лезвию, проходящую через верхний край этого лезвия. Эти линии показывают, что ортогональная проекция одного лезвия на плоскость каждого лезвия, соседнего с ним, не содержит точек на этом соседнем лезвии. Другими словами, для любой пары соседних лезвий части этих двух соседних лезвий, расположенные на траектории нарезаемого пищевого продукта, не имеют никакого пересечения их ортогональных проекций на плоскости, которая
- параллельна оси вращения и
- параллельна отрезку, образованному пересечением одного из этих двух лезвий с плоскостью, перпендикулярной оси вращения.
Варианты реализации выходных инструментов 222-1022, показанные на Фиг. 2-10, содержат направляющие ребра 221-1021, параллельные друг другу и параллельные лезвиям. Часть пластины 209-1009, охваченная направляющими ребрами, представляет приблизительно одну четверть поверхности пластины 209.
Фиг. 2 показывает первое расположение лезвий 201-214 выходного инструмента 222. Лезвия 201 и 202 параллельны, ортогональная проекция каждого другого лезвия на плоскость лезвия, например, 201 такова, что:
- указанная ортогональная проекция имеет нижний край лезвия 202, чередующийся с верхним краем соседнего лезвия 201, так что ортогональные проекции четырнадцати лезвий выровнены без наложения; и
- каждый нижний край лезвия 202 не имеет пересечения с верхним краем другого непосредственно соседнего лезвия 201.
На виде сверху, таком как показанный на Фиг. 2, некоторые из верхних краев лезвий расположены на дуге окружности, соответствующей периметру диска, образующего пластину 209. Другая часть верхних краев лезвий расположена на прямой линии, касательной к периметру диска, образующего пластину 209. Это позволяет начинать разрезание пищевого продукта и продолжать его прохождение через промежутки между другими лезвиями без наличия двух соседних лезвий, противоположных друг другу и сжимающих получаемую палочку.
В варианте реализации изобретения, показанном на Фиг. 2, верхние края лезвий 209-214 расположены на дуге окружности, соответствующей периметру диска, образующего пластину 209, а верхние края лезвий 201-208 расположены на прямой линии, касательной к периметру диска, образующего пластину 209.
Для описания первых восьми расположений, показанных на Фиг. 2-9, использована следующая таблица, которая связывает для каждого лезвия в порядке их номеров два показателя «Am» [от французского «amont», верхний] или «Av» [от французского «aval», нижний] в зависимости от того, выше или ниже это лезвие от предыдущего лезвия; и «C», если режущая кромка лезвия находится на дуге окружности, соответствующей периметру диска, образующего пластину, или «T», если режущая кромка лезвия с режущей кромкой предыдущего или следующего лезвия находится на прямой линии, касательной к периметру диска, образующего пластину.
По сравнению с Фиг. 2, девятое расположение, показанное на Фиг. 10, содержит меньше лезвий, поскольку размер выходного отверстия остается неизменным, а расстояние между лезвиями изменяется на большее значение между лезвиями 1001 и 1002 и меньшее значение между лезвиями 1008 и 1009. Поперечные сечения по меньшей мере некоторых из соломок, палочек или брусков, получаемых с помощью выходного инструмента 1022, представляют собой прямоугольники различной длины.
Фиг. 11 показывает десятое расположение лезвий 1101-1111 выходного инструмента 1122. Выходной инструмент 1122 содержит одиннадцать лезвий 1101-1111. Эти лезвия расположены на расстоянии друг от друга согласно предварительно установленному размеру нарезки, например, семь миллиметров. Более обобщенно, количество лезвий выходного инструмента 1122 определяется предварительно установленным размером нарезки и размером выходного инструмента 1122.
Направляющие ребра 1121 представляют собой дуги окружности, предпочтительно концентрические, центр которых отличается от оси вращения 115 резака 104. Каждый резак 1101-1111 касательный к дуге окружности, образующей направляющее ребро 1121. Резаки 1101-111 не параллельны друг другу, но каждый из них в отдельности касательный к траектории нарезаемого пищевого продукта, определяемой направляющими ребрами 1121. Таким образом, благодаря тому, что они не параллельны, они не образуют препятствия для прохождения пищевого продукта, и операция нарезки ломтика или полоски на бруски, соломку или палочки выполняется без затруднений. Напротив, углы между плоскостями лезвий заставляют бруски, соломку или палочки расходиться во время приготовления, что облегчает их нарезку. Предпочтительно радиус дуги окружности, образующей каждое направляющее ребро 1121, больше или равен полутора радиусам диска, образующего пластину 1109. Дуги окружности направляющих ребер концентрические. Такое расположение позволяет отклонять траекторию, первоначально кольцевую, ломтика (ведомого приводным блоком) на сегмент, который ближе к сегменту спирали, чем к отрезку прямой линии.
На виде сверху, таком как показанный на Фиг. 11, некоторые из верхних краев лезвий 1103-1111 расположены на дуге окружности, соответствующей периметру диска, образующего пластину 1109. Другая часть верхних краев лезвий 1101-1103 расположена на прямой линии, касательной к периметру диска, образующего пластину 1109. Это позволяет начинать разрезание пищевого продукта и продолжать его прохождение через промежутки между другими лезвиями без наличия двух соседних лезвий, противоположных друг другу, которые приводили бы к сжатию палочки в поперечном направлении во время ее приготовления.
Часть пластины 1109, охваченная направляющими ребрами 1121, представляет приблизительно одну четверть поверхности пластины 1109.
Фиг. 12 показывает поперечное сечение варианта реализации выходного инструмента 1222.
Выходной инструмент 1222 содержит по меньшей мере одно лезвие 1201. Лезвия 1201 содержат режущие кромки, средний наклон которых образует угол менее 70° к плоскости, перпендикулярной оси вращения 115. Это связано с тем, что при угле более 70° лезвие проникает в пищевой продукт менее глубоко и режущая способность ограничена. В варианте реализации изобретения, показанном на Фиг. 12, направляющее ребро оканчивается упором на предварительно установленном расстоянии от лезвия 1201.
Выходной инструмент 1222 содержит по меньшей мере одно направляющее ребро 1221. По меньшей мере одно направляющее ребро на пластине 1209 имеет увеличивающийся подъем в направлении траектории нарезаемого пищевого продукта выше верхней поверхности направляющей пластины.
Предпочтительно расстояние между направляющим ребром и диском, на который опирается резак 104, короче желаемой толщины полоски пищевого продукта или равно ей.
Фиг. 13 показывает поперечное сечение варианта реализации выходного инструмента 1322.
Выходной инструмент 1322 содержит лезвия 1301, содержащие режущие кромки, выполненные из последовательности вогнутых дуг. Последовательность вогнутых дуг образует последовательность зазубрин, по одной на каждом пересечении вогнутых дуг, по существу аналогичную хлеборезке. Очевидно, что резаки 1301 предпочтительно наклонены, как показано на Фиг. 12. В некоторых вариантах реализации изобретения лезвия 1301 содержат режущие кромки, средний наклон которых образует угол менее 70° к плоскости, перпендикулярной оси вращения 115. Инструмент 1322 содержит по меньшей мере одно направляющее ребро 1321 на пластине 1309, содержащее режущую часть 1310 по меньшей мере на его верхней части в направлении траектории нарезаемого пищевого продукта. Режущая часть позволяет предварительно резать пищевой продукт и направлять его к лезвиям 1301. Предпочтительно режущая часть представляет размер менее десяти процентов от желаемого размера нарезаемого пищевого продукта. Выходной инструмент 112, показанный на Фиг. 1, может представлять собой любой вариант реализации выходного инструмента, показанный на Фиг. 2-13.
Выходные инструменты, показанные на Фиг. 2-11, могут иметь конкретные особенности, описанные со ссылкой на Фиг. 12 и 13, для лезвий и направляющих ребер согласно любой комбинации. Предпочтительно резаки изготовляют и затачивают отдельно и закрепляют на держателе. Предпочтительно в вариантах реализации изобретения, описанных со ссылкой на Фиг. 2-13, толщина лезвий меньше или равна 0,3 миллиметра. Предпочтительно в вариантах реализации изобретения, описанных со ссылкой на Фиг. 2-13, минимальное расстояние между двумя соседними лезвиями, измеряемое в плоскости, перпендикулярной оси вращения, и вдоль направления, перпендикулярного траектории пищевого продукта поблизости от этих двух лезвий, меньше или равно восьми миллиметрам. В некоторых вариантах реализации изобретения расстояние между резаками выходного инструмента не постоянно. Эти конструкции позволяют разделять один ломтик пищевого продукта на палочки с прямоугольным поперечным сечением, получая менее правильное режущее действие, аналогичное получаемому с помощью ручного ножа. В некоторых вариантах реализации изобретения не все режущие кромки лезвий выходного инструмента находятся в плоскости, параллельной оси вращения. Эти конструкции позволяют разделять ломтик пищевого продукта на палочки с трапециевидным поперечным сечением. В некоторых вариантах реализации изобретения некоторые режущие кромки лезвий выходного инструмента ребристые. Эти конструкции позволяют разделять ломтик пищевого продукта на палочки, поверхности которых, разрезаемые лезвиями инструмента, имеют по существу такую же ребристость, как кромки лезвий.
| название | год | авторы | номер документа |
|---|---|---|---|
| Станок для резки | 2015 |
|
RU2676939C2 |
| УСТРОЙСТВО ДЛЯ НАРЕЗАНИЯ ПРОДУКТОВ, В ЧАСТНОСТИ ДЛЯ НАРЕЗАНИЯ КУБИКАМИ ПИЩЕВЫХ ПРОДУКТОВ, И КУХОННЫЙ ПРИБОР | 2009 |
|
RU2490118C2 |
| УСТРОЙСТВО ДЛЯ НАРЕЗКИ ПИЩЕВЫХ ПРОДУКТОВ, СОДЕРЖАЩЕЕ НЕСКОЛЬКО ВСПОМОГАТЕЛЬНЫХ РЕЖУЩИХ ИНСТРУМЕНТОВ | 2014 |
|
RU2662208C2 |
| УСТРОЙСТВО И СПОСОБ ОБРАБОТКИ ПИЩЕВОГО МАТЕРИАЛА | 2012 |
|
RU2603565C2 |
| КУХОННОЕ ПРИСПОСОБЛЕНИЕ ДЛЯ НАРЕЗАНИЯ ПРОДУКТОВ (ВАРИАНТЫ) | 2002 |
|
RU2250161C2 |
| СОКОВЫЖИМАЛКА С ДВОЙНЫМ ПРИВОДОМ | 2014 |
|
RU2656845C2 |
| КОНТЕЙНЕР ДЛЯ ХРАНЕНИЯ ПРОДУКТОВ И ПРИГОТОВЛЕНИЯ ИЗ НИХ САЛАТА И УПАКОВКА, СОДЕРЖАЩАЯ КОНТЕЙНЕР | 2009 |
|
RU2401234C1 |
| Ломтерезка | 2015 |
|
RU2676938C2 |
| УНИВЕРСАЛЬНАЯ МАШИНА ДЛЯ ОБРАБОТКИ ПИЩЕВЫХ ПРОДУКТОВ | 2004 |
|
RU2262876C1 |
| ИНСТРУМЕНТ ДЛЯ ПРИСОЕДИНЕНИЯ КАБЕЛЬНЫХ ЖИЛ | 2012 |
|
RU2575019C2 |
Изобретение относится к устройству для обработки пищевых продуктов с двигателем. Устройство (100) для обработки пищевых продуктов с двигателем, содержит корпус (101), содержащий приводной двигатель (102) обеспечивающий вращение вала (103) вокруг оси вращения (115), резак (104), имеющий возможность быть приведенным во вращение вокруг оси вращения (115) двигателем, причем резак (104) содержит режущую кромку (105), проходящую по направлению наружу от вала (103), крышку (106), соединенную с корпусом (101) и окружающую траекторию резака (104), причем указанная крышка содержит подающий канал (107) для подачи нарезаемого пищевого продукта на указанную траекторию, выходное отверстие (110) для нарезаемого пищевого продукта, направляющую пластину (109, 1209, 1309) для направления нарезаемого пищевого продукта к выходному отверстию (110), направляющие ребра (111, 1221, 1321) на указанной пластине, которые определяют траекторию нарезаемого пищевого продукта по направлению к выходному инструменту, выходной инструмент (112, 222, 322, 422, 522, 622, 722, 822, 922, 1022, 1122, 1222, 1322), расположенный на пути пищевого продукта в направлении выходного отверстия, приводной блок (114), имеющий возможность такого же вращения вокруг указанной оси, что и резак (104), следующий по траектории, расположенной на стороне траектории резака (104), противоположной подающему каналу (107), для приведения в движение нарезаемого пищевого продукта между направляющей пластиной и траекторией резака (104) по направлению к выходному инструменту (112, 222, 322, 422, 522, 622, 722, 822, 922, 1022, 1122, 1222, 1322), при этом выходной инструмент (112, 222, 322, 422, 522, 622, 722, 822, 922, 1022, 1122, 1222, 1322), содержит ряд лезвий (113, 201-214, 301-314, 401-414, 501-514, 601-614, 701714, 801-814, 901-914, 1001-1009, 1101-1111, 1201, 1301), причем для любой пары указанных соседних лезвий их части, расположенные на траектории нарезаемого пищевого продукта, не имеют никакого пересечения их ортогональных проекций на плоскость, которая параллельна оси вращения (115) и параллельна отрезку, образованному пересечением одного из этих двух указанных лезвий с плоскостью, перпендикулярной оси вращения, при этом направляющие ребра (111, 1221, 1321) на пластине (109, 1209, 1309) содержат режущую часть в его верхней части в направлении траектории нарезаемого пищевого продукта. Технический результат заключается в возможности получения прямых палочек пищевого продукта, общая форма которых представляет собой прямоугольный параллелепипед. 8 з.п. ф-лы, 16 ил., 1 табл.
1. Устройство (100) для обработки пищевых продуктов с двигателем, содержащее:
- корпус (101), содержащий приводной двигатель (102), обеспечивающий вращение вала (103) вокруг оси вращения (115),
- резак (104), имеющий возможность быть приведенным во вращение вокруг оси вращения (115) двигателем, причем резак (104) содержит режущую кромку (105), проходящую по направлению наружу от вала (103),
- крышку (106), соединенную с корпусом (101) и окружающую траекторию резака (104), причем указанная крышка (106) содержит подающий канал (107) для подачи нарезаемого пищевого продукта на указанную траекторию,
- выходное отверстие (110) для нарезаемого пищевого продукта,
- направляющую пластину (109, 1209, 1309) для направления нарезаемого пищевого продукта к выходному отверстию (110),
- направляющие ребра (111, 1221, 1321) на указанной пластине (109, 1209, 1309), которые определяют траекторию нарезаемого пищевого продукта по направлению к выходному инструменту (112, 222, 322, 422, 522, 622, 722, 822, 922, 1022, 1122, 1222, 1322),
- выходной инструмент (112, 222, 322, 422, 522, 622, 722, 822, 922, 1022, 1122, 1222, 1322), расположенный на пути пищевого продукта в направлении выходного отверстия (110),
- приводной блок (114), имеющий возможность такого же вращения вокруг указанной оси, что и резак (104), следующий по траектории, расположенной на стороне траектории резака (104), противоположной подающему каналу (107), для приведения в движение нарезаемого пищевого продукта между направляющей пластиной (109, 1209, 1309) и траекторией резака (104) по направлению к выходному инструменту (112, 222, 322, 422, 522, 622, 722, 822, 922, 1022, 1122, 1222, 1322),
при этом выходной инструмент (112, 222, 322, 422, 522, 622, 722, 822, 922, 1022, 1122, 1222, 1322), содержит ряд лезвий (113, 201-214, 301-314, 401-414, 501-514, 601-614, 701-714, 801-814, 901-914, 1001-1009, 1101-1111, 1201, 1301), причем для любой пары указанных соседних лезвий их части, расположенные на траектории нарезаемого пищевого продукта, не имеют никакого пересечения их ортогональных проекций на плоскость, которая
- параллельна оси вращения (115) и
- параллельна отрезку, образованному пересечением одного из этих двух указанных лезвий (113, 201-214, 301-314, 401-414, 501-514, 601-614, 701-714, 801-814, 901-914, 1001-1009, 1101-1111, 1201, 1301) с плоскостью, перпендикулярной оси вращения,
при этом направляющие ребра (111, 1221, 1321) на пластине (109, 1209, 1309) содержат режущую часть в его верхней части в направлении траектории нарезаемого пищевого продукта.
2. Устройство (100) по п.1, отличающееся тем, что резак (104) неподвижен при перемещении направляющей пластиной (109, 1209, 1309) вдоль направления, определяемого осью вращения (115).
3. Устройство (100) по любому из пп.1 или 2, отличающееся тем, что лезвия (1201) содержат режущие кромки, средний наклон которых образует угол менее 70° с плоскостью, перпендикулярной оси вращения (115).
4. Устройство (100) по любому из пп.1 или 2, отличающееся тем, что лезвия (1201) содержат режущие кромки, выполненные из последовательности вогнутых дуг.
5. Устройство (100) по любому из пп.1 или 2, отличающееся тем, что направляющие ребра (111, 1221, 1321) на пластине (109, 1209, 1309) имеют увеличивающийся подъем в направлении траектории нарезаемого пищевого продукта выше плоскости направляющей пластины (109, 1209, 1309).
6. Устройство (100) по любому из пп.1 или 2, отличающееся тем, что толщина указанных лезвий (113, 201-214, 301-314, 401-414, 501-514, 601-614, 701-714, 801-814, 901-914, 1001-1009, 1101-1111, 1201, 1301) меньше или равна 0,3 мм.
7. Устройство (100) по любому из пп.1 или 2, отличающееся тем, что минимальное расстояние между двумя указанными соседними лезвиями (113, 201-214, 301-314, 401-414, 501-514, 601-614, 701-714, 801-814, 901-914, 1001-1009, 1101-1111, 1201, 1301), измеряемое в плоскости, перпендикулярной оси вращения, и вдоль направления, перпендикулярного траектории пищевого продукта, меньше или равно 8 мм.
8. Устройство (100) по любому из пп.1 или 2, отличающееся тем, что расстояние между резаком (104) и направляющей пластиной (109, 1209, 1309) вдоль направления, определяемого осью вращения, меньше или равно 8 мм.
9. Устройство (100) по любому из пп.1 или 2, отличающееся тем, что выходной инструмент (112, 222, 322, 422, 522, 622, 722, 822, 922, 1022, 1122, 1222, 1322) имеет разъемное механическое соединение с направляющей пластиной (109, 1209, 1309).
| US 3392768 A, 16.07.1968 | |||
| FR 2859900 A1, 25.03.2005 | |||
| ЗУБООБРАБАТЫВАЮЩИЙ СТАНОК | 1968 |
|
SU430970A1 |
| US 4560111 A, 24.12.1985 | |||
| US 3783727 A, 08.01.1974 | |||
| US 4076180 A, 28.02.1978 | |||
| УСТРОЙСТВО ДЛЯ НАРЕЗАНИЯ ПРОДУКТОВ, В ЧАСТНОСТИ ДЛЯ НАРЕЗАНИЯ КУБИКАМИ ПИЩЕВЫХ ПРОДУКТОВ, И КУХОННЫЙ ПРИБОР | 2009 |
|
RU2490118C2 |
| US 3799023 A, 26.03.1974. | |||
Авторы
Даты
2024-12-09—Публикация
2019-12-20—Подача