Область техники
Универсальная машина для стирки ковров.
Уровень техники
В данное время на рынке в основном существуют три типа машин для осуществления полного цикла стирки ковровых изделий.
Первый - это - выбивальная машина для выбивания твердых частиц (песок и другое), пример - https://www.youtube.com/watch?v=Qo_hwZTY_yE.
Второй, это - роторные машины для стирки ковровых изделий, в которых применяется механический способ стирки ковров, с использованием щетки с пластиковым ворсом, пример - https://www.youtube.com/watch?v=9J_zm25H1LY.
Третий, это - центробежные центрифуги для отжима ковровых изделий, пример - https://www.youtube.com/watch?v=Q07L2rabpdY.
А так же сушильные камеры с циркуляцией теплого воздуха, пример - https://www.youtube.com/watch?v=lvEm3fZQ4dk
Эти устройства вместе занимают большие производственные площади, а также в этих устройствах много механических узлов, которые изнашиваются, требуют постоянного дорогостоящего технического ремонта и обслуживания. В роторной машине для стирки ковер стирается в развернутом виде с подачей воды на лицевую часть ковра, что не вполне способствует полному вымыванию грязевых отложений с внутренней структуры ворса ковра.
Раскрытие изобретения
Исходя из достигнутого уровня техники, первая задача, на решение которой направлено изобретение, это снижение затрат на производство данного оборудования, а также на снижение трудозатрат обслуживающего персонала, обеспечения простой конструкции и низкой себестоимости составных частей оборудования, простоты сборки. А также данная машина более компактна и совмещает четыре типа оборудования в одной машине для стирки ковров, используя непрерывный цикл выбивания, стирки, полоскания, отжима и сушки ковра, что существенно сокращает рабочий процесс во времени, задействует меньше рабочего персонала и занимает меньше рабочих площадей. В машине используется принципиально новый метод стирки и отжима ковров, при помощи перфорированного вала и установленных над ним сверху и снизу панелей, которые оснащены вибрационными приводами, создающими ударные вибрационные волны. В результате применения этого способа машина становится более простой в обслуживании и работе. В машине меньше изнашивающихся механических деталей, что удешевляет ее производство, полотно ковра стирается в ванной с проточной водой, что способствует лучшему вымыванию грязевых отложений. Также уменьшается расход электроэнергии, моющих средств, рабочего времени и сил, а также производственных площадей.
Краткое описание чертежей.
На фиг. 1 оборудование, согласно изобретению, представлено в продольном разрезе.
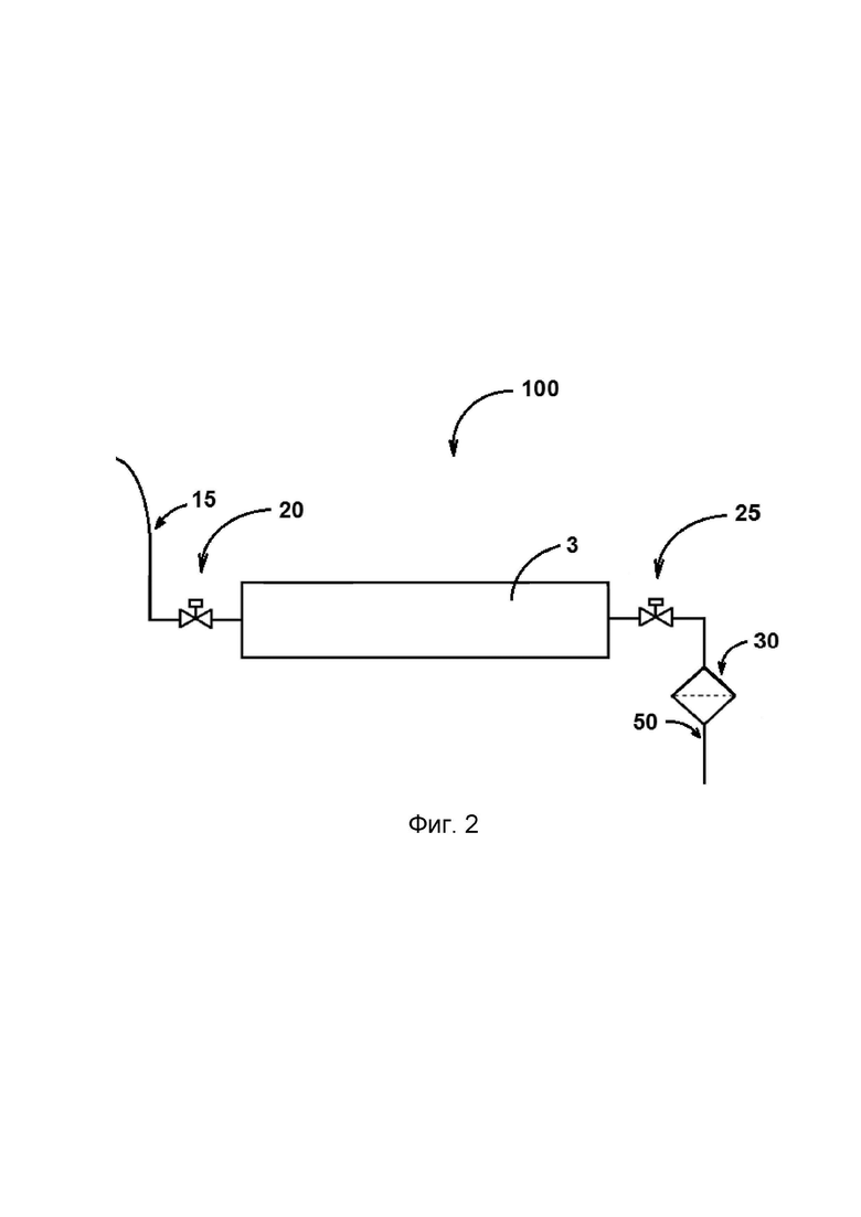
На фиг. 2 иллюстрируется схема циркуляции воды в оборудовании.
Осуществление изобретения
Основными частями оборудования 1, проиллюстрированного на фиг.1 являются рама 2, на которой размещены: ванная для стирки 3, над ванной установлен перфорированный вал 4 для транспортировки ковра 5, с установленными под ним снизу панелью для стирки 6 и сверху панелью для отжима 7.
В перфорированный вал 4, в панель для стирки 6 и в панель для отжима 7 вмонтированы вибрационные приводы, которые с помощью вибрации стирают и в последующем отжимают (выбивают) воду из ковра 5. Для уменьшения уровня шумового воздействия на окружающую среду в оборудовании 1, перфорированный вал 4, панель для стирки 6, панель для отжима 7, которые движутся вибрационным способом, установлены на платформы на (постоянных неодимовых) магнитных подушках. Перфорированный вал 4 выполнен приводным и снабжен игольчатыми шипами, с возможностью накалывания с задней части ковра 5, что контролирует транспортирование ковра в заданном направлении, обозначенном стрелкой Н между названными частями оборудования. Таким образом, в заявленном устройстве создан механизм, который не позволяет ковру 5 проскальзывать с учетом того, что моющий состав и вода создают определенное затруднение при транспортировке ковра 5 в заданном направлении Н. Как можно видеть на фиг. 1, в начале работы ковер 5 лицевой стороной вниз движется в направлении Н от начала корпуса рамы 2 на дно ванной для стирки 3, где расположена панель для стирки 6. Во время стирки, в процессе которой производится чистка лицевой стороны ковра 5, перфорированный вал 4 и панель для стирки 6, с помощью вмонтированных в них вибрационных приводов, формируют ударные волны, создающие колебания, частота и сила которых изначально для всех типов ковров подбирается с учетом того, чтобы не порвать ковровые изделия, и в то же самое время обеспечить достаточную мощность, чтобы отслоить твердые частицы и отстирать грязевые отложения, которые будут оседать на дно ванной для стирки 3 и вымываться проточной водой. После того, как ковер проходит цикл стирки, ковер движется по вращающемуся перфорированному валу 4 к панели для отжима 7, которая плотно прижимает ковер к вращающемуся перфорированному валу 4, где моющий состав с помощью вибрационных ударов выбивается из тела ковра 5 в ванную для стирки 3. Для того, чтобы обеспечить меньшую остаточную влажность ковра 5 во время отжима, через панель для отжима 7 обеспечивается подача горячего сжатого воздуха компрессором, на финишной стадии после отжима ковер по перфорированному валу 4 поступает на лоток для временного складирования ковра 9.
Оборудование 1 согласно изобретению содержит также шкаф управления 8 схематично изображенный на фиг. 1. С помощью шкафа управления 8 отслеживается состояние различных устройств и водяного контура 100, которые управляются регулировочными средствами, содержащимися в составе оборудования 1 и установленными у различных устройств, обеспечивая возможность управления следующими параметрами: эффективностью мытья и отжима коврового изделия с помощью регулировки скорости и вращающегося перфорированного вала 4, а также увеличения и уменьшения амплитуды движение вибрационных приводов, через частотные преобразователи, установленные в шкафу управления 8. Кроме того, с помощью шкафа управления 8 можно управлять впускным электромагнитным клапаном 20 и спускным электромагнитным клапаном 25 регулируя потоки жидкостей в оборудование 1.
Оборудование 1 согласно изобретению содержит так же водяной контур 100 схематично изображенный на фиг. 2. Основными частями водяного контура 100, представленного на фиг. 2, являются трубопровод подачи воды 15 к ванной для стирки 3 через блок с впускным электромагнитным клапаном 20, который переключается через шкаф управления 8 и вода по мере необходимости подается в ванную для стирки 3. В ванной для стирки 3 имеется датчик, детектирующий уровень поверхности воды, который через шкаф управления 8 открывает и закрывает впускной и спускной электромагнитные клапана 20, 25, а так же если уровень поверхности воды в ванной для стирки 3 превышает заданный верхний предел, вода может быть отведена из ванной для стирки 3 в форме перелива, через спускной электромагнитный клапан 25. Все типы жидкостей из оборудования 1 отводятся через сетчатый фильтр ловушку для мелких и крупных частиц 30 и трубопровод отвода воды 50. Для усиления моющего эффекта и вымывания выпадающего осадка грязевых отложений из тела ковра 5 дополнительно устанавливается насос на воду, который будет создавать избыточное водяное давление и циркуляцию оттока грязевых отложений из моющей ванны для стирки 3 через сетчатый фильтр 30 и трубопровод отвода воды 50.
Изобретение относится к оборудованию для стирки, а именно к универсальной машине для стирки ковров, состоящей из рамы (2), на которой размещены: ванная для стирки 3, перфорированный вал (4), панель для стирки (6) и панель для отжима (7), при этом перфорированный вал (4) выполнен приводным и снабжен игольчатыми шипами, а также в перфорированный вал (4), в панель для стирки (6) и в панель для отжима (7) вмонтированы вибрационные приводы, перфорированный вал (4), панель для стирки (6) и панель для отжима (7) установлены на платформы на магнитных подушках, панель для отжима (7) выполнена с возможностью подачи через нее горячего воздуха, дополнительно установлен насос на воду для оттока грязевых отложений из ванны для стирки. Управление и настройка функций различных частей оборудования (1) осуществляется через шкаф управления (8). Технический результат: при простоте конструкции изобретение совмещает четыре типа оборудования в одной машине для стирки ковров, при этом обеспечивается возможность использования непрерывного цикла, включающего выбивание, стирку, полоскание, отжим и сушку ковра, что существенно сокращает рабочий процесс во времени, позволяет занимать меньше рабочих площадей и задействовать меньше рабочего персонала. 1 ил.
Универсальная машина для стирки ковров, состоящая из рамы, на которой размещены: ванная для стирки, перфорированный вал, панель для стирки и панель для отжима, отличающаяся тем, что перфорированный вал выполнен приводным и снабжен игольчатыми шипами, а также в перфорированный вал, в панель для стирки и в панель для отжима вмонтированы вибрационные приводы, перфорированный вал, панель для стирки и панель для отжима установлены на платформы на магнитных подушках, панель для отжима выполнена с возможностью подачи через нее горячего воздуха, дополнительно установлен насос на воду для оттока грязевых отложений из ванны для стирки.
| CN106943090 A, 14.07.2017 | |||
| JP2000212870 A, 02.08.2000 | |||
| НАЖИМНАЯ СИСТЕМА КРЕПЛЕНИЯ ДВЕРЕЙ ДУШЕВЫХ КАБИН | 2002 |
|
RU2292832C2 |
| CN 210140724 U, 13.03.2020 | |||
| CN 211381140 U, 01.09.2020 | |||
| Машина для стирки ковров полного цикла с дезинфицирующим эффектом | 2023 |
|
RU2813083C1 |
| Электрогидравлическая машина для стирки и полоскания ковровых изделий с дезинфицирующим эффектом | 2020 |
|
RU2747234C1 |
| CN 112401777 А, 26.02.2021. | |||
Авторы
Даты
2024-12-23—Публикация
2024-09-13—Подача