Изобретение относится к антенной технике, а именно к приемно-передающим магнитным антеннам для осуществления магнитной связи в ближнем поле между воздушными, наземными и подводными аппаратами с цилиндрической формой корпуса произвольного размера, функционирующими автономно или удаленно управляемыми.
Известна резонансная многодиапазонная магнитная антенна, для ведения мобильной радиосвязи и осуществления индукционной связи, содержащая согласующее устройство в виде трансформатора, состоящего из первичной и вторичной обмоток, излучающий вибратор в виде плоского или объемного проводящего тела, подключенный к вторичной обмотке и расположенный в магнитном поле согласующего трансформатора [RU 2689969 C1].
Недостатком такой антенны является отсутствие магнитопровода, что приводит к неоправданному увеличению габаритов антенны и снижению эффективности при осуществлении индукционной связи.
Наиболее близким к заявляемому решению является антенна, которая содержит обмотку из изолированного провода, размещенную на магнитопроводе, выполненном в виде полого цилиндра, причем стенка цилиндра выполнена в виде спиральной ленты, вдоль которой размещены одна или несколько пластин из магнитомягкого материала [RU 2121200 С1].
Недостатком такой антенны является малый уровень принимаемого и излучаемого сигнала в силу ограниченности площади поперечного сечения магнитопровода.
Техническим результатом является увеличение дальности действия приемно-передающей магнитной антенны воздушных, наземных и подводных аппаратов с цилиндрической формой корпуса произвольного размера, функционирующих автономно или удаленно управляемых, с сохранением полезного пространства внутри корпуса аппарата для размещения радиоэлектронной аппаратуры и приборов.
Технический результат достигается тем, что в качестве магнитопровода приемно-передающей магнитной антенны используется полый трубчатый цилиндр с намотанной на него катушкой индуктивности и изготавливаемый из аморфных ленточных материалов, при этом приемно-передающая магнитная антенна аппарата является частью его корпусной конструкции, имеет диаметр, сопоставимый с диаметром корпуса аппарата и защищается от внешней среды слоем диэлектрика.
Новым, не выявленным в патентной и научно-технической литературе, является сохранение полезного пространства внутри корпуса аппарата для размещения радиоэлектронной аппаратуры и приборов.
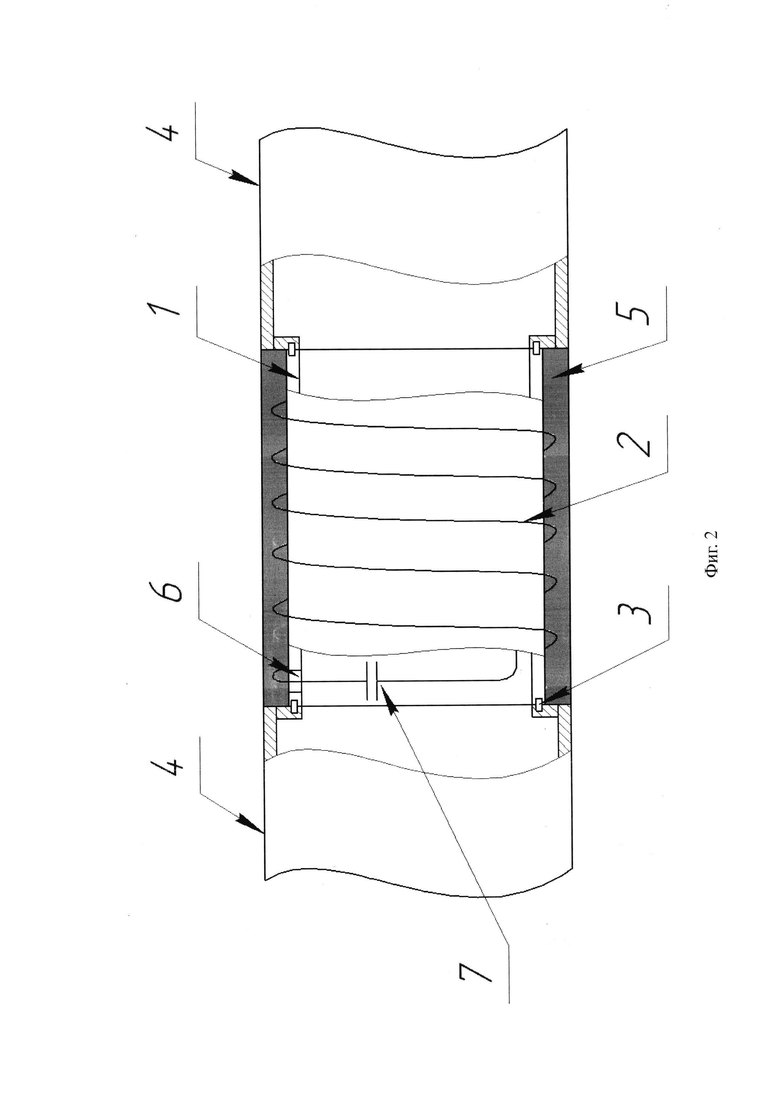
На фигурах цифрами обозначены следующие позиции: 1 - цилиндрический полый магнитопровод, 2 - катушка индуктивности, 3 - крепление магнитной антенны с корпусом аппарата, 4 - корпус аппарата, 5 - слой диэлектрика, 6 - отверстие для вывода катушки; 7 - конденсатор для создания резонансного контура.
Фиг. 1 - Общий вид магнитной антенны.
Фиг. 2 - Конструкция магнитной антенны при размещении в аппарате с корпусом из произвольного материала.
Фиг. 3 - Конструкция магнитной антенны при размещении в аппарате с корпусом из немагнитных непроводящих материалов.
Фиг. 4 - Сечение аппарата с корпусом из немагнитного проводящего материала (с разомкнутым корпусом).
Увеличение дальности распространения магнитного поля осуществляется за счет увеличения диаметра магнитопровода до размеров, сопоставимых с диаметром корпуса аппарата, что позволяет создать приемно-передающую магнитную антенну максимально возможного диаметра в габаритах выбранного аппарата, при этом сохраняя полезное пространство внутри его корпуса.
Напряжение U [B] на катушке диаметром d [м] при рабочей частоте антенны ƒ [Гц] определяется законом электромагнитной индукции [1]:
где B [Тл] - значение магнитной индукции внутри магнитопровода, n-число витков катушки индуктивности, S [м2]=π⋅d2/4 - площадь поперечного сечения катушки индуктивности.
Значение магнитной индукции внутри магнитопровода определяется по формуле:
где μ - относительная магнитная проницаемость материала магнитопровода антенны, μ0 [Гн/м]=4⋅π⋅10-7 - магнитная постоянная, H [А/м] - напряженность магнитного поля внутри катушки.
Наибольшая величина магнитной индукции внутри магнитопровода одределяется индукцией его насыщения, и для аморфных магнитных материалов доходит до 1,4…1,5 Тл [2], что значительно превышает индукцию насыщения ферритов.
Исходя из (1) и (2) следует, что увеличение диаметра катушки индуктивности и использование аморфных материалов позволяет увеличить напряжение на катушке индуктивности, что увеличивает дальность распространения магнитного поля.
Для механического соединения с прочими частями корпуса аппарата, а также для обеспечения заданной геометрической формы магнитопровода создается диэлектрический цилиндрический каркас с требуемым диаметром. Диаметр выбирается так, чтобы после нанесения слоя диэлектрика на магнитную антенну, диаметр слоя соответствовал наружному диаметру аппарата. На каркас производится намотка аморфного ленточного материала для создания полого цилиндрического магнитопровода. На аморфный магнитопровод производится намотка катушки проводом заданного диаметра для получения катушки индуктивности необходимой длины с требуемым количеством витков. Для создания резонансного контура с обоих концов магнитопровода выполняются отверстия, через которые провода с краев катушки индуктивности вводятся внутрь корпуса на специальную монтажную площадку для подключения конденсатора и приемно-передающего тракта. Для компенсации погрешностей в значениях индуктивности полученной катушки, конденсатор имеет переменную емкость. Защита имеющихся отверстий, магнитопровода и катушки индуктивности от внешней среды обеспечивается заполнением приемно-передающей магнитной антенны слоем диэлектрика. В свободном от приемно-передающей аппаратуры пространстве внутри каркаса с помощью кронштейнов размещаются радиоэлектронные элементы и приборы, необходимые для работы аппарата.
Механическое соединение приемно-передающей магнитной антенны с остальными частями корпуса аппарата производится посредством торца каркаса, на котором устанавливаются крепежные приспособления. Ответной частью являются кронштейны, расположенные на присоединяющихся частях корпуса соосно креплениям на каркасе магнитной антенны. Для межкорпусного соединения радиоэлектронной аппаратуры и приборов на торцах устанавливаются электрические вилки или розетки, осуществляющие электрическое соединение с ответной частью на другой части корпуса аппарата. Полученная конструкция приемно-передающей магнитной антенны является модульной и позволяет менять корпусную часть.
Материал корпуса может быть, как магнитным, так и немагнитным, так как магнитное поле распространяется в окружающую среду через слой диэлектрика.
Возможен вариант размещения магнитной антенны в корпусе из немагнитного непроводящего материала. При таком расположении магнитная антенна защищается от воздействия окружающей среды непосредственно корпусом аппарата. При распространении через корпус из немагнитного материала магнитная волна не подвергается затуханию и дифракции, что не может быть достигнуто при использовании корпуса из магнитного материала.
Возможен вариант размещения магнитной антенны в корпусе из немагнитного проводящего материала. В таком исполнении магнитная антенна защищена от воздействия окружающей среды непосредственно корпусом аппарата. При этом корпус аппарата является разомкнутым, т.е. имеет некоторую щель, заполненную диэлектриком, что позволяет излучать магнитное поле в случае корпуса из проводящего материала.
Источники информации
1. Костин М.Ю., Ягудин А.Ф. О выборе конфигурации и магнитных материалов для приемопередающих антенн ближнепольной магнитной связи. Труды Крыловского государственного научного центра. 2023; Специальный выпуск 1: 137-141.
2. Кекало И.Б. Аморфные магнитные материалы: Курс лекций. Москва: МИСиС, 2001.276 с.
| название | год | авторы | номер документа |
|---|---|---|---|
| Приёмно-передающая магнитная антенна | 2024 |
|
RU2830523C1 |
| УСТРОЙСТВО БЕСКОНТАКТНОГО ВВОДА ДАННЫХ И ПЕРЕДАЧИ ЭЛЕКТРОЭНЕРГИИ В НЕОБИТАЕМЫЙ ПОДВОДНЫЙ АППАРАТ | 2024 |
|
RU2837654C1 |
| ПЕРЕСТРАИВАЕМАЯ РЕЗОНАНСНАЯ АНТЕННА С СОГЛАСУЮЩИМ УСТРОЙСТВОМ | 2012 |
|
RU2488927C1 |
| УСТРОЙСТВО БЛИЖНЕПОЛЬНОЙ МАГНИТНОЙ СВЯЗИ | 2019 |
|
RU2728757C1 |
| ВИБРАТОРНАЯ АНТЕННА | 2009 |
|
RU2413344C1 |
| СПОСОБ МОНИТОРИНГА СКВАЖИННЫХ ЗАБОЙНЫХ ПАРАМЕТРОВ И УСТРОЙСТВО ДЛЯ ЕГО ОСУЩЕСТВЛЕНИЯ | 2020 |
|
RU2745858C1 |
| Движительный комплекс с кольцевым электродвигателем для подводных аппаратов большой автономности | 2019 |
|
RU2722873C1 |
| ЭЛЕМЕНТ ФАЗИРОВАННОЙ АНТЕННОЙ РЕШЕТКИ | 2021 |
|
RU2776596C1 |
| ПОГРУЖНОЙ ДАТЧИК ЛОКАЛЬНОЙ СКОРОСТИ | 2017 |
|
RU2652649C1 |
| РАДИОКАССЕТА | 1992 |
|
RU2040049C1 |
Изобретение относится к антенной технике, а именно к приемно-передающим магнитным антеннам. Техническим результатом является увеличение дальности действия приемно-передающей магнитной антенны воздушных, наземных и подводных аппаратов с цилиндрической формой корпуса произвольного размера, функционирующих автономно или удаленно управляемых, с сохранением полезного пространства внутри корпуса аппарата для размещения радиоэлектронной аппаратуры и приборов. Технический результат достигается тем, что в качестве магнитопровода приемно-передающей магнитной антенны используется полый трубчатый цилиндр с намотанной на него катушкой индуктивности и изготавливаемый из аморфных ленточных материалов, при этом приемно-передающая магнитная антенна аппарата является частью его корпусной конструкции и защищается от внешней среды слоем диэлектрика, причем диаметр магнитной антенны выбирается так, чтобы после нанесения слоя диэлектрика на магнитную антенну диаметр слоя соответствовал наружному диаметру аппарата. 2 з.п. ф-лы, 4 ил.
1. Приемно-передающая магнитная антенна воздушных, наземных и подводных аппаратов с цилиндрической формой корпуса, отличающаяся тем, что в качестве магнитопровода приемно-передающей магнитной антенны используется полый цилиндр с намотанной на него катушкой индуктивности и изготавливаемый из ферромагнитных материалов, при этом приемно-передающая магнитная антенна аппарата является частью его корпусной конструкции и защищается от внешней среды слоем диэлектрика, причем диаметр магнитной антенны выбирается так, чтобы после нанесения слоя диэлектрика на магнитную антенну диаметр слоя соответствовал наружному диаметру аппарата.
2. Приемно-передающая магнитная антенна по п. 1, отличающаяся тем, что корпус аппарата выполняется из немагнитных непроводящих материалов.
3. Приемно-передающая магнитная антенна по п. 1, отличающаяся тем, что корпус аппарата является разомкнутым и выполняется из немагнитных проводящих материалов.
| МАГНИТНАЯ АНТЕННА | 1996 |
|
RU2121200C1 |
| Устройство для дорожной сигнализации | 1975 |
|
SU538388A1 |
| EP 3731343 A1, 28.10.2020 | |||
| Устройство для бесконтактного измерения токов помех | 1984 |
|
SU1252733A1 |
| US 7425929 B2, 16.09.2008 | |||
| US 4701730 A1, 20.10.1987. | |||
Авторы
Даты
2024-12-24—Публикация
2024-03-05—Подача