Изобретение - механический блокиратор с возможностью закрепления с внутренней стороны блокируемого устройства, обеспечивающий блокировку подвижных частей различных устройств, обладающий высокой секретностью, стойкость к взлому и надежностью.
Имеются и другие механические блокираторы, выполняющие данную функцию, например, блокирующее устройство в составе замкового устройства [1]. Однако отличительной особенностью данного устройства является его многофункциональность, связанная с возможностью использования в качестве внутреннего (накладного) блокиратора подвижных частей различных устройств, а также высочайшая надежность, связанная с тем, что его управляемые элементы - толкатели и запирающие элементы - фиксаторы, находясь под действием силы тяжести, магнитного поля, а также находящейся над ними эластичной прокладки имеют в процессе функционирования устройства прямолинейную траекторию движения очень малой величины.
Предлагаемое устройство - механический блокиратор, состоящий из держателя корпуса, в котором расположен корпус, который не имеет возможности вращаться вокруг центральной оси, при этом в центральной части корпуса располагается личина, состоящая из трех смежных сегментов разной длинны, два из которых имеют соосные каналы, в нижней части которых находятся толкатели - тела двух видов, а в верхней части каналов на стыке сегментов находятся фиксаторы - цилиндрические тела, взаимное расположение которых зависит от рельефа ключевой пластины, вводимой через ключевую щель в ключевую полость, отличающееся тем, что верхний, запирающий сегмент имеет возможность смещаться совместно со средним и нижним опорным намагниченным сегментами, при этом в его составе находится амортизирующая прокладка, прижимающая фиксаторы и толкатели, расположенные в соосных каналах, как к друг к другу, так и к опорному намагниченному сегменту и к ключевой пластине, вводимой в ключевую щель, а средний сегмент совместно с нижним опорным намагниченным сегментом, являясь носителями стопора, подпружинен, что влияет на возможность принудительного смещения пружиной вдоль продольной оси данных сегментов относительно верхнего запирающего сегмента, и изменению положения стопорящего элемента, блокирующего движение запорной планки через подпружиненный пружиной элемент запорной планки.
Данное техническое решение обеспечивает долговременное и надежное функционирование устройства при правильной эксплуатации, поскольку элементы устройства не подвержены износу, а законы гравитации и наличие магнитного поля, воздействующего на толкатели и фиксаторы, а также давление со стороны эластичной прокладки имеют общий однонаправленный вектор, а многофункциональность и возможность управлять устройством изнутри без использования ключевой пластины обеспечивает более широкие возможности его использования на практике.
К достоинствам данного устройства можно отнести высокую секретность и малую размерность ключевой щели, через которую оно управляется снаружи (менее 30 мм2).
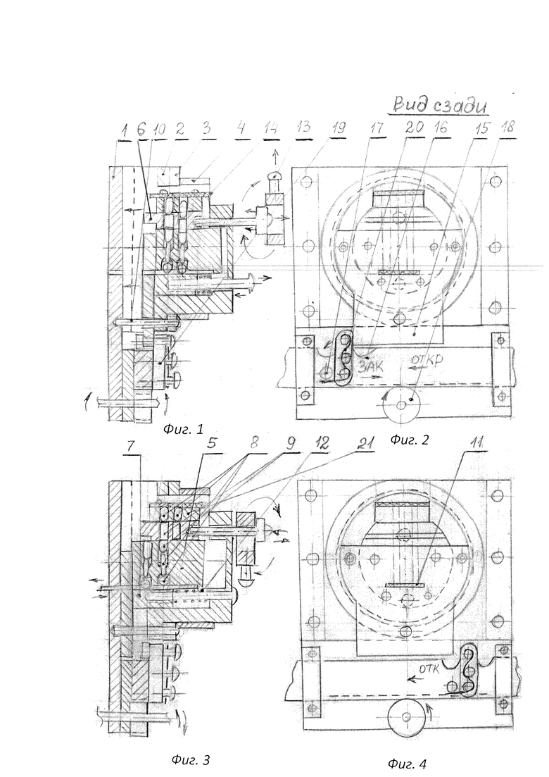
Предлагаемое устройство изображено на Фиг. 1 и Фиг. 2 Исходное положение механического блокиратора в составе с замкового устройства; а также Фиг. 3 и Фиг. 4 Рабочее положение механического блокиратора в составе замкового устройства.
Данное устройство состоит из следующих элементов:
1 - платформа с блокируемым устройством и держателем корпуса блокиратора, зафиксированным на ней;
2 - корпус;
3 - держатель корпуса;
4 - стопорное кольцо, скрепляющее корпус с держателем корпуса;
5 - средний сегмент с ключевой полостью, стопорящим элементом, подвижный и управляемый;
6 - верхний запирающий сегмент, имеющий возможность смещаться вдоль продольной оси, с амортизирующей прокладкой, воздействующей на фиксаторы расположенные в соосных каналах верхнего и среднего сегментов;
7 - нижний опорный намагниченный сегмент, со стопорящим элементом, жестко зафиксированный на среднем сегменте;
8 - толкатели - тела двух видов;
9 - фиксирующие тела - цилиндрические тела;
10 - неподвижный относительно корпуса и платформы постоянный упор, не позволяющий стопорящему элементу вращаться;
11 - ключевая пластина;
12 - пружина, отклоняющая средний и нижний сегменты от корпуса;
13 - механизм перемещения запирающего сегмента и его фиксации;
14 - амортизирующая прокладка обеспечивающая движение толкателей и фиксирующих тел в соосных каналах, среднего и верхнего сегментов;
15 - стопорящий элемент, закрепленный на центральном и нижнем сегментах;
16 - запорная планка с подвижным элементом закрепленным на ней, подпружиненным пружиной, и взаимодействующим со стопорящим элементом блокиратора;
17 - стопор, фиксирующий подвижный элемент, подпружиненный пружиной, закрепленный на запорной планке, при воздействии стопорящего элемента, но при этом имеющий возможность отклоняться в при воздействии стопорящего элемента с противоположной стороны;
18 - механизм перемещения запорной планки;
19 - подвижный элемент запорной планки, подпружиненный пружиной;
20 - пружина, пружинящая подвижный элемент запорной планки;
21 - корректирующая накладка.
В исходном положении, приведенном на Фиг. 1, и Фиг. 2 платформа (1), с закрепленным на ней с внутренней стороны держателем корпуса (3), в котором расположен корпус (2), скрепленный с держателем стопорным кольцом (4) и зафиксированным на нем постоянным упором (10), через расположенные в корпусе (2) опорный (7), а также верхний запирающий (6) и средний (5) сегменты, сцепленные между собой фиксирующими телами (9), расположенными в соосных каналах этих сегментов и находящихся под действием амортизирующей прокладки (14) и корректирующей накладки (21), а стопорящий элемент (15), закрепленный на передней торцевой плоскости среднего сегмента (5) и подпружиненного опорного нижнего сегмента (7), не имея возможности вращаться из за постоянного упора (10), блокирует движение запорной планки (16) через закрепленный на запорной планке (16) подвижный подпружиненный пружиной (20) элемент запорной планки (19), зафиксированный стопором (17).
Чтобы обеспечить снаружи разблокирование устройства и перевести его рабочее положение, приведенное на Фиг. 3 и Фиг. 4 необходимо ввести в ключевую щель платформы (1) ключевую пластину (11), которая, сместив в соосных каналах сегментов (5) и (6) последовательно толкатели (8) и фиксирующие тела (9), освободит от сцепления с запирающим сегментом (б) средний сегмент (5), который пружинами (12) сместится совместно с опорным сегментом (7), освободив от сцепления с блокирующим стопорящим элементом (15), закрепленным на данных сегментах, взаимодействующий с ним подвижный элемент (19) запорной планки (16).
После этого она может быть смещена механизмом перемещения запорной планки (18) в положение «открыто».
При этом изъятие ключевой пластины (11) из ключевой полости не требует возвращения запорной планки в исходное положение, поскольку ключевая пластина (11) в этом положении легко извлекается из ключевой полости.
Чтобы со стороны помещения сместить запорную планку (16) из положения «открыто» в положение «закрыто», задействуют механизм перемещения и фиксации (13) запирающего сегмента (6), вместе с которым перемещаются вдоль продольной оси корпуса (2), сцепленные с ним средний (5) и опорный (7) сегменты, на которых расположен стопорящий элемент (15), блокирующий подвижный элемент(19) запорной планки(16). Это, однако, не препятствует перемещению запорной планки (16) в положение «закрыто» с помощью механизма перемещения (18), поскольку подвижный элемент (19), подпружиненный пружиной (20) в положении «открыто» и ограниченный стопором (17) не препятствует такому перемещению. Однако перемещение запорной планки (16) в положение «открыто» из положения «закрыто» уже невозможно как из-за смещения стопорящего элемента (15), так и из-за невозможности смещения подвижного элемента (19) зафиксированного стопором (17).
Для смещения запорной планки (16) изнутри из положения «закрыто» в положение «открыто» задействуют механизм перемещения и фиксации (13) запирающего сегмента (6) вместе с которым перемещаются вдоль продольной оси корпуса (2), сцепленные с ним средний (5) и опорный (7) сегменты, на которых расположен стопорящий элемент (15) блокирующий подвижный элемент (19). После его разблокирования запорная планка (16) смещается механизмом ее перемещения (18) в положение «открыто».
После этого механизмом перемещения фиксации (13) устройство переводится в положение, при котором стопорящий элемент (15) занимает исходное положение (Фиг. 1). Из данного положения запорная планка (16) может с помощью механизма ее перемещения (18) смещаться в положение «закрыто» как изнутри, так и снаружи.
Заявленное техническое решение с данными признаками на настоящее время в Российской Федерации и за границей не известно и отвечает требованиям категории "новизна''.
Заявляемое техническое решение является оригинальным, обеспечивает нетрадиционный подход к решениям проблемы и не вытекает очевидным образом из существующего уровня техники, а также отвечает требованию критерия "изобретательский уровень".
Заявленное техническое решение может быть реализовано промышленным способом с использованием известных технологий.
Литература: 1. Патент РФ №2752075.
| название | год | авторы | номер документа | 
|---|---|---|---|
| Трехзвенное замковое устройство с копиром | 2020 | 
 | RU2739881C1 | 
| Трехзвенное замковое устройство | 2019 | 
 | RU2752075C2 | 
| ЗАМКОВОЕ УСТРОЙСТВО | 2012 | 
 | RU2506388C1 | 
| ЗАМОК | 1998 | 
 | RU2138609C1 | 
| ЗАМОК С МУЛЬТИПОДВИЖНЫМИ КОДОВЫМИ ЭЛЕМЕНТАМИ | 2015 |  | RU2588426C1 | 
| БЛОКИРУЮЩЕЕ УСТРОЙСТВО (ВАРИАНТЫ), ТОРЦЕВОЙ КОДОВЫЙ ЗАМОК ДЛЯ ЗАЩИТЫ ТРАНСПОРТНОГО СРЕДСТВА ОТ УГОНА | 2005 |  | RU2304058C2 | 
| МЕХАНИЗМ СЕКРЕТА ЗАМКА ПОВЫШЕННОЙ СТОЙКОСТИ ВЗЛОМУ И НАДЕЖНОСТИ РАБОТЫ | 2003 | 
 | RU2253724C2 | 
| СПАРЕННЫЙ МЕХАНИЗМ СЕКРЕТА СО СВОБОДНЫМИ БЛОКИРУЮЩИМИ ЭЛЕМЕНТАМИ | 2003 | 
 | RU2253725C2 | 
| ВЫДВИЖНОЙ БЛОК | 2021 | 
 | RU2829485C2 | 
| УСТРОЙСТВО БЛОКИРОВКИ ПЕРЕМЕЩЕНИЯ ПОДВИЖНОГО ЭЛЕМЕНТА КУЗОВА ТРАНСПОРТНОГО СРЕДСТВА | 2020 | 
 | RU2735454C1 | 
 
		
         
         
            Изобретение - механический блокиратор с возможностью закрепления с внутренней стороны блокируемого устройства, обеспечивающий блокировку подвижных частей различных устройств. Обладает высокой секретностью, стойкостью к взлому и надежностью. Механический блокиратор состоит из держателя корпуса, в котором расположен корпус, который не имеет возможности вращаться вокруг центральной оси, в центральной части корпуса располагается личина, состоящая из трех смежных сегментов разной длинны, два из которых имеют соосные каналы, в нижней части которых находятся толкатели - тела двух видов, а в верхней части каналов на стыке сегментов находятся фиксаторы - цилиндрические тела, взаимное расположение которых зависит от рельефа ключевой пластины, вводимой через ключевую щель в ключевую полость. Верхний запирающий сегмент имеет возможность смещаться совместно со средним и нижним опорным намагниченным сегментами, при этом в его составе находится амортизирующая прокладка, прижимающая фиксаторы и толкатели, расположенные в соосных каналах, как к друг к другу, так и к опорному намагниченному сегменту и к ключевой пластине, вводимой в ключевую щель. Средний сегмент совместно с нижним опорным намагниченным сегментом, являясь носителями стопора, подпружинены, что влияет на возможность принудительного смещения пружиной вдоль продольной оси данных сегментов относительно верхнего запирающего сегмента и на изменение положения стопорящего элемента, блокирующего движение запорной планки через подпружиненный пружиной элемент запорной планки. 4 ил.
Механический блокиратор, состоящий из держателя корпуса, в котором расположен корпус, который не имеет возможности вращаться вокруг центральной оси, при этом в центральной части корпуса располагается личина, состоящая из трех смежных сегментов разной длинны, два из которых имеют соосные каналы, в нижней части которых находятся толкатели - тела двух видов, а в верхней части каналов на стыке сегментов находятся фиксаторы - цилиндрические тела, взаимное расположение которых зависит от рельефа ключевой пластины, вводимой через ключевую щель в ключевую полость, отличающийся тем, что верхний запирающий сегмент имеет возможность смещаться совместно со средним и нижним опорным намагниченным сегментами, при этом в его составе находится амортизирующая прокладка, прижимающая фиксаторы и толкатели, расположенные в соосных каналах, как к друг к другу, так и к опорному намагниченному сегменту и к ключевой пластине, вводимой в ключевую щель, а средний сегмент совместно с нижним опорным намагниченным сегментом, являясь носителями стопора, подпружинены, что влияет на возможность принудительного смещения пружиной вдоль продольной оси данных сегментов относительно верхнего запирающего сегмента и на изменение положения стопорящего элемента, блокирующего движение запорной планки через подпружиненный пружиной элемент запорной планки.
| Трехзвенное замковое устройство | 2019 | 
 | RU2752075C2 | 
| ЗАМКОВОЕ УСТРОЙСТВО | 2012 | 
 | RU2506388C1 | 
| ЗАМКОВОЕ УСТРОЙСТВО | 2007 | 
 | RU2365722C2 | 
| Сопряженно-капиллярные сорбенты | 1960 | 
 | SU135689A1 | 
| Способ регенерирования сульфо-кислот, употребленных при гидролизе жиров | 1924 | 
 | SU2021A1 | 
| US 4149394 A, 17.04.1979. | |||
Авторы
Даты
2024-12-25—Публикация
2024-03-04—Подача