[0001] Настоящая заявка испрашивает приоритет на основании патентной заявки Китая № 202010480914.8, поданной в Национальное управление интеллектуальной собственности Китая 30 мая 2020 г. и озаглавленной «УСТРОЙСТВО ОПТИЧЕСКОЙ КОММУТАЦИИ, СПОСОБ ПЕРЕНАПРАВЛЕНИЯ, РЕКОНФИГУРИРУЕМЫЙ ОПТИЧЕСКИЙ МУЛЬТИПЛЕКСОР ВВОДА/ВЫВОДА И СИСТЕМА», которая полностью включена в настоящий документ посредством ссылки.
ОБЛАСТЬ ТЕХНИКИ
[0002] Эта заявка относится к области волоконно-оптической связи и, в частности, к устройству оптической коммутации, способу перенаправления, реконфигурируемому оптическому мультиплексору ввода/вывода и системе.
УРОВЕНЬ ТЕХНИКИ
[0003] С быстрым развитием услуги оптической сети и увеличением пропускной способности коммутации также увеличивается диапазон полос сигнала, в котором реконфигурируемый оптический мультиплексор ввода/вывода (reconfigurable Optical add/drop Multiplexer, ROADM) должен выполнять обработку. Селективный переключатель длины волны (wavelength selective switch, WSS) является важным компонентом ROADM.
[0004] В статье «Wide-Passband C+L-band Wavelength Selective Switch by Alternating Wave-Band Arrangement on LCOS» («Селективное переключение длины волны в диапазоне C+L с широкой полосой пропускания путем чередования диапазонов волн на LCOS») в материалах Европейской конференции по оптической связи (ECOC), 2018 г. предоставленный WSS показан на фиг. 1. Входной порт 101 вводит луч C-диапазона и луч L-диапазона, а решетки на основе массива волноводов (arrayed waveguide grating, AWG) 102 и 103 располагаются параллельно в направлении X дисперсии. Посредством использования AWG 102 и 103, в направлении X луч C-диапазона и луч L-диапазона падают на решетку 105 под разными углами после прохождения через линзу 104, а в направлении X дисперсии луч C-диапазона и луч L-диапазона выходят из решетки 105 под одним и тем же углом, так что область, в которой находится множество бликов, генерируемых при облучении луча диапазона C на переключающем механизме 106, и область, в которой множество бликов, генерируемых при облучении луча L-диапазона на переключающем механизме двигателя 106 расположены по меньшей мере частично перекрывая друг друга в направлении X рассеивания и разделены в направлении Y порта, тем самым эффективно улучшая полосу пропускания фильтрации.
[0005] Однако, когда AWG расположены в WSS, добавляются потери, вносимые AWG для пространственной оптической связи.
СУЩНОСТЬ ИЗОБРЕТЕНИЯ
[0006] Эта заявка предоставляет устройство оптической коммутации, способ перенаправления, реконфигурируемый оптический мультиплексор ввода/вывода и систему для улучшения полосы пропускания фильтрации.
[0007] В соответствии с первым аспектом эта заявка обеспечивает устройство оптической коммутации, включающее в себя порты ввода, дисперсионный компонент, первый фильтр, компонент перенаправления и порт вывода. Входные порты сконфигурированы так, чтобы первый и второй лучи падали на дисперсионный компонент; и дисперсионный компонент сконфигурирован для разложения первого луча на множество первых подлучей, дисперсионный компонент дополнительно сконфигурирован для разложения второго луча на множество вторых подлучей, и дисперсионный компонент дополнительно сконфигурирован для передачи множества первых подлучей и множества вторых подлучей на первый фильтр, где множество первых подлучей и множество вторых подлучей принадлежат разным диапазонам. Первый фильтр сконфигурирован для: разделения направлений передачи множества первых подлучей и множества вторых подлучей на разные направления передачи в первом направлении на основе разных диапазонов, обеспечения возможности множеству первых подлучей падать на первую область компонента перенаправления, и обеспечения возможности множеству вторых подлучей падать на вторую область компонента перенаправления, где первая область и вторая область отделены друг от друга в первом направлении, и первое направление является направлением порта компонента перенаправления. Выходной порт сконфигурирован для вывода множества первых подлучей и множества вторых подлучей, которые получены после выполнения перенаправления с использованием компонента перенаправления.
[0008] Можно понять, что разделение между первой областью и второй областью в первом направлении X реализуется посредством использования первого фильтра, чтобы эффективно улучшать полосу пропускания фильтрации устройства оптической коммутации и эффективно уменьшать количество оптических компонентов, включенных в устройство оптической коммутации, тем самым эффективно уменьшая вносимые потери.
[0009] На основании первого аспекта в необязательной реализации второй фильтр дополнительно включен между дисперсионным компонентом и входными портами, а дисперсионный компонент включает в себя первую решетку и вторую решетку. Входные порты сконфигурированы так, чтобы первый и второй лучи падали на второй фильтр. Второй фильтр выполнен с возможностью: соответственно изменять направления передачи первого луча и второго луча на основе диапазонов, которым принадлежат первый луч и второй луч, и соответственно передавать первый луч и второй луч на первую решетку и вторую решетку в разные места. Первая решетка выполнена с возможностью передачи множества первых подлучей на второй фильтр, а вторая решетка выполнена с возможностью передачи множества вторых подлучей на второй фильтр. Второй фильтр сконфигурирован для передачи множества первых подлучей и множества вторых подлучей компоненту перенаправления на основании разных диапазонов, так что первая область и вторая область по меньшей мере частично перекрываются во втором направлении, где второе направление представляет собой направление длины волны компонента перенаправления, а первое направление перпендикулярно второму направлению.
[0010] Можно понять, что перекрытие или частичное перекрытие между первой областью и второй областью во втором направлении Y реализуется посредством использования второго фильтра, чтобы дополнительно улучшать полосу пропускания фильтрации устройства оптической коммутации.
[0011] На основании первого аспекта в необязательной реализации первая решетка выполнена с возможностью передачи по меньшей мере одного первого подлуча в третью область второго фильтра, а вторая решетка выполнена с возможностью передачи по меньшей мере одного второго подлуча в четвертую область второго фильтра, где третья область и четвертая область по меньшей мере частично перекрываются во втором направлении.
[0012] Можно понять, что когда третья область и четвертая область по меньшей мере частично перекрываются во втором направлении, можно эффективно гарантировать, что первые блики и вторые блики перекрываются во втором направлении Y, чтобы улучшить полосу пропускания фильтрации устройства оптической коммутации. Первые блики - это блики, генерируемые первым лучом в первой области, а вторые блики - это блики, генерируемые вторым лучом во второй области.
[0013] На основании первого аспекта в необязательной реализации входные порты включают в себя первый входной порт и второй входной порт, расположения первого входного порта и второго входного порта различаются во втором направлении, первый входной порт сконфигурирован для ввода первого луча, а второй входной порт сконфигурирован для ввода второго луча. Первый входной порт сконфигурирован, чтобы обеспечить падение первого луча на дисперсионный компонент во втором направлении под первым углом падения, а второй входной порт сконфигурирован, чтобы обеспечить падение второго луча на дисперсионный компонент во втором направлении под вторым углом падения, при этом разница между абсолютным значением первого угла падения и абсолютным значением второго угла падения не равна нулю, разница между первым углом падения и первым углом блеска меньше или равна первому заданному значению, разница между вторым углом падения и вторым углом блеска меньше или равна второму заданному значению, первый угол блеска соответствует диапазону, которому принадлежит первый луч, а второй угол блеска соответствует диапазону, которому принадлежит второй луч.
[0014] Можно понять, что, когда разница между первым углом падения и первым углом блеска меньше или равна первому заданному значению, эффективность дифрагирования первого луча от дисперсионного компонента может быть эффективно улучшена; и когда разница между вторым углом падения и вторым углом блеска меньше или равна второму заданному значению, эффективность дифрагирования второго луча от дисперсионный компонент может быть эффективно улучшена.
[0015] Основываясь на первом аспекте, в необязательной реализации устройство оптической коммутации дополнительно включает в себя линзовый компонент, расположенный между входными портами и дисперсионным компонентом, и линзовый компонент сконфигурирован для передачи первого луча и второго луча на дисперсионный компонент, где во втором направлении значение расстояния между первым входным портом и оптической осью линзового компонента связано со значением первого угла падения, а значение расстояния между вторым входным портом и оптической осью линзового компонента связано со значением второго угла падения.
[0016] Можно понять, что значение расстояния между первым входным портом и оптической осью линзового компонента регулируется для эффективного обеспечения того, чтобы разница между первым углом падения и первым углом блеска была меньше или равна первому заданное значение для обеспечения дифракционной эффективности первого луча; и значение расстояния между вторым входным портом и оптической осью линзового компонента регулируют, чтобы эффективно гарантировать, что разница между вторым углом падения и вторым углом блеска меньше или равна второму заданному значению, чтобы гарантировать дифракционная эффективность второго луча.
[0017] На основе первого аспекта в необязательной реализации устройство оптической коммутации дополнительно включает в себя первый отражатель и второй отражатель. Первый фильтр сконфигурирован для передачи множества первых подлучей на первый отражатель, а первый фильтр дополнительно сконфигурирован для передачи множества вторых подлучей на второй отражатель. Первый отражатель выполнен с возможностью передачи множества первых подлучей компоненту перенаправления, а второй отражатель выполнен с возможностью передачи множества вторых подлучей компоненту перенаправления.
[0018] Можно понять, что с помощью первого отражателя можно эффективно обеспечить передачу первого луча в первую область компонента перенаправления, а с помощью второго отражателя можно эффективно гарантировать, что второй луч передается во вторую область компонента перенаправления, тем самым улучшая полосу пропускания фильтрации устройства оптической коммутации.
[0019] На основе первого аспекта в необязательной реализации компонент перенаправления сконфигурирован для передачи множества перенаправленных первых подлучей на первый отражатель, а компонент перенаправления дополнительно сконфигурирован для передачи множества перенаправленных вторых подлучей к второй отражатель. Первый отражатель выполнен с возможностью передачи первых подлучей в пятую область первого фильтра, а второй отражатель выполнен с возможностью передачи вторых подлучей в шестую область первого фильтра.
[0020] На основании первого аспекта в необязательной реализации первый фильтр сконфигурирован для передачи множества перенаправленных первых подлучей и вторых подлучей на дисперсионный компонент; дисперсионный компонент сконфигурирован для объединения множества первых подлучей в третий луч, а дисперсионный компонент дополнительно сконфигурирован для объединения множества вторых подлучей в четвертый луч; и выходной порт сконфигурирован для вывода третьего луча и четвертого луча.
[0021] Можно понять, что когда пятая область и шестая область полностью или частично перекрываются, третий луч и четвертый луч выводятся из одного и того же выходного порта устройства оптической коммутации; или когда пятая область и шестая область являются областями, которые не перекрывают друг друга, третий луч и четвертый луч выводятся из разных выходных портов устройства оптической коммутации.
[0022] На основе первого аспекта в необязательной реализации первый фильтр сконфигурирован для отражения множества первых подлучей от первого фильтра в качестве отраженного света на основании диапазона, которому принадлежит множество первых подлучей, и первый фильтр выполнен с возможностью прохождения множества вторых подлучей через первый фильтр в качестве проходящего света на основе диапазона, которому принадлежит множество вторых подлучей.
[0023] Можно понять, что первый фильтр использует один и тот же способ передачи, когда луч, принадлежащий одному и тому же диапазону, проходит через тонкопленочный фильтр два раза подряд. Например, первый подлуч отражается как отраженный свет два раза подряд. В другом примере второй подлуч проходит как пропущенный свет два раза подряд. Таким образом, повреждение фильтрации эффективно снижается.
[0024] Основываясь на первом аспекте, в необязательной реализации первый фильтр представляет собой тонкопленочный фильтр, и тонкопленочный фильтр имеет две области с разными показателями преломления. Разница между вносимыми потерями, вызванными, когда две области по отдельности отражают один из множества первых подлучей, меньше или равна третьему заданному значению, и разница между вносимыми потерями, вызванными, когда один из множества вторых подлучей по отдельности проходит через две области, меньше или равна третьему заданному значению.
[0025] Можно понять, что, когда тонкопленочный фильтр имеет две области с разными показателями преломления, можно эффективно гарантировать, что спектр первого фильтра не смещается.
[0026] На основании первого аспекта в необязательной реализации первый луч имеет по меньшей мере одно значение длины волны, отличное от второго луча.
[0027] На основе первого аспекта в необязательной реализации первый луч представляет собой луч диапазона С, а второй луч представляет собой луч диапазона L.
[0028] Согласно второму аспекту, эта заявка обеспечивает устройство оптической коммутации, включающее в себя порты ввода, третий фильтр, дисперсионный компонент, компонент перенаправления и порт вывода. Входные порты сконфигурированы так, чтобы первый луч и второй луч падали на третий фильтр, где первый луч и второй луч принадлежат разным диапазонам. Третий фильтр сконфигурирован для: разделения направлений передачи первого луча и второго луча на разные направления передачи в первом направлении на основе разных диапазонов и передачи первого луча и второго луча на дисперсионный компонент, где первое направление является направлением порта компонента перенаправления. Дисперсионный компонент сконфигурирован для разложения первого луча на множество первых подлучей, дисперсионный компонент дополнительно сконфигурирован для разложения второго луча на множество вторых подлучей, и дисперсионный компонент дополнительно сконфигурирован для обеспечения возможности множеству первых подлучей и множеству вторых подлучей падать на компонент перенаправления, множество первых подлучей падают на первую область компонента перенаправления, множество вторых подлучей падают на вторая область компонента перенаправления, и первая область и вторая область отделены друг от друга в первом направлении. Выходной порт сконфигурирован для вывода множества первых подлучей и множества вторых подлучей, которые получены после выполнения перенаправления с использованием компонента перенаправления.
[0029] Можно понять, что разделение между первой областью и второй областью в первом направлении X реализуется с использованием третьего фильтра, чтобы эффективно улучшать полосу пропускания фильтрации устройства оптической коммутации и эффективно уменьшить количество оптических компонентов, включенных в устройство оптической коммутации, тем самым эффективно уменьшая вносимые потери.
[0030] На основании второго аспекта в необязательной реализации второй фильтр дополнительно включен между дисперсионным компонентом и третьим фильтром, а дисперсионный компонент включает в себя первую решетку и вторую решетку. Третий фильтр сконфигурирован так, чтобы первый и второй лучи падали на второй фильтр. Второй фильтр выполнен с возможностью: соответственно изменять направления передачи первого луча и второго луча на основе разных диапазонов и соответственно передавать первый луч и второй луч на первую решетку и вторую решетку в разные места. Первая решетка выполнена с возможностью передачи множества первых подлучей на второй фильтр, а вторая решетка выполнена с возможностью передачи множества вторых подлучей на второй фильтр. Второй фильтр выполнен с возможностью соответственно передавать множество первых подлучей и множество вторых подлучей компоненту перенаправления на основе диапазонов, которым принадлежат множество первых подлучей и множество вторых подлучей, так что первая область и вторая область по меньшей мере частично перекрываются во втором направлении, где второе направление представляет собой направление длины волны компонента перенаправления, а первое направление перпендикулярно второму направлению.
[0031] Можно понять, что перекрытие или частичное перекрытие между первой областью и второй областью во втором направлении Y реализуется посредством использования второго фильтра, чтобы дополнительно улучшить полосу пропускания фильтрации устройства оптической коммутации.
[0032] На основании второго аспекта в необязательной реализации первая решетка выполнена с возможностью передачи по меньшей мере одного первого подлуча в третью область второго фильтра, а вторая решетка выполнена с возможностью передачи по меньшей мере одного второго подлуча в четвертую область второго фильтра, где третья область и четвертая область по меньшей мере частично перекрываются во втором направлении.
[0033] Можно понять, что когда третья область и четвертая область по меньшей мере частично перекрываются во втором направлении, можно эффективно гарантировать, что первые блики и вторые блики перекрываются во втором направлении Y, чтобы улучшить полосу пропускания фильтрации устройства оптической коммутации. Первые блики - это блики, генерируемые первым лучом в первой области, а вторые блики - это блики, генерируемые вторым лучом во второй области.
[0034] На основании второго аспекта в необязательном варианте входные порты включают в себя первый входной порт и второй входной порт, расположения первого входного порта и второго входного порта различаются во втором направлении, первый входной порт выполнен с возможностью ввода первого луча и второй входной порт выполнен с возможностью ввода второго луча. Третий фильтр сконфигурирован так, чтобы обеспечить падение первого луча во втором направлении на дисперсионный компонент под первым углом падения, и третий фильтр дополнительно сконфигурирован так, чтобы обеспечить падение второго луча во втором направлении на дисперсионный компонент под вторым углом падения, где разница между абсолютным значением первого угла падения и абсолютным значением второго угла падения не равна нулю, разница между первым углом падения и первым углом блеска меньше или равна четвертому заданному значению, разница между вторым углом падения и вторым углом блеска меньше или равна пятому заданному значению, первый угол блеска соответствует диапазону, которому принадлежит первый луч, а второй угол блеска соответствует диапазону, которому принадлежит второй луч.
[0035] Можно понять, что, когда разница между первым углом падения и первым углом блеска меньше или равна четвертому заданному значению, эффективность дифрагирования первого луча от дисперсионного компонента может быть эффективно улучшена; и когда разница между вторым углом падения и вторым углом блеска меньше или равна пятому заданному значению, эффективность дифрагирования второго луча от дисперсионного компонента может быть эффективно улучшена.
[0036] На основании второго аспекта в необязательном варианте реализации устройство оптической коммутации дополнительно включает в себя линзовый компонент, расположенный между третьим фильтром и дисперсионным компонентом, и линзовый компонент сконфигурирован для передачи первого луча и второго луча от третьего фильтра на дисперсионный компонент, где во втором направлении значение расстояния между первым входным портом и оптической осью линзового компонента связано со значением первого угла падения, а значение расстояния между вторым входным портом и оптическая ось линзового компонента связана со значением второго угла падения.
[0037] Можно понять, что значение расстояния между первым входным портом и оптической осью линзового компонента регулируется для эффективного обеспечения того, чтобы разница между первым углом падения и первым углом блеска была меньше или равна четвертому заданному значению для обеспечения дифракционной эффективности первого луча; и значение расстояния между вторым входным портом и оптической осью линзового компонента регулируют, чтобы эффективно гарантировать, что разница между вторым углом падения и вторым углом блеска меньше или равна пятому заданному значению, чтобы гарантировать дифракционная эффективность второго луча.
[0038] На основании второго аспекта в необязательном варианте реализации третий фильтр сконфигурирован для отражения первого луча от третьего фильтра в качестве отраженного света на основе диапазона, к которому принадлежит первый луч, а третий фильтр сконфигурирован для предоставления возможности второму лучу проходить через третий фильтр в качестве проходящего света на основе диапазона, которому принадлежит второй луч.
[0039] Основываясь на втором аспекте, в необязательной реализации третий фильтр представляет собой тонкопленочный фильтр, и тонкопленочный фильтр имеет две области с разными показателями преломления. Разница между вносимыми потерями, вызванными, когда две области по отдельности отражают первый луч, меньше или равна третьему заданному значению, и разница между вносимыми потерями, вызванными, когда второй луч проходит по отдельности через две области, меньше или равна третьему заданному значению.
[0040] Можно понять, что третий фильтр использует такой же способ передачи, когда луч, принадлежащий одному и тому же диапазону, проходит через тонкопленочный фильтр два раза подряд. Например, первый подлуч отражается как отраженный свет два раза подряд. В другом примере второй подлуч проходит как пропущенный свет два раза подряд. Таким образом, повреждение фильтрации эффективно снижается.
[0041] На основании второго аспекта в необязательной реализации первый луч имеет по меньшей мере одно значение длины волны, отличное от второго луча.
[0042] На основании второго аспекта в необязательной реализации первый луч представляет собой луч диапазона С, а второй луч представляет собой луч диапазона L.
[0043] Согласно третьему аспекту эта заявка обеспечивает способ перенаправления, применяемый к устройству оптической коммутации. Устройство оптической коммутации включает в себя входные порты, дисперсионный компонент, первый фильтр, компонент перенаправления и выходной порт, а способ включает в себя: предоставление возможности, с помощью входных портов, первому лучу и второму лучу падать на дисперсионный компонент; разложение с использованием дисперсионного компонента первого луча на множество первых подлучей, разложение второго луча на множество вторых подлучей и передачу множества первых подлучей и множества вторых подлучей на первый фильтр, где множество первых подлучей и множество вторых подлучей принадлежат разным диапазонам; разделение с помощью первого фильтра направлений передачи множества первых подлучей и множества вторых подлучей на разные направления передачи в первом направлении на основе разных диапазонов, предоставление возможности множеству первых подлучей падать на первую область компонента перенаправления и предоставление возможности множеству вторых подлучей падать на вторую область компонента перенаправления, где первая область и вторая область отделены друг от друга в первом направлении, и первое направление является направлением порта компонента перенаправления; и вывод с использованием порта вывода множества первых подлучей и множества вторых подлучей, которые получены после выполнения перенаправления с использованием компонента перенаправления.
[0044] Для конкретных описаний положительных эффектов, показанных в этом аспекте, обратитесь к таковым, показанным в первом аспекте. Подробности повторно не приводятся.
[0045] На основании третьего аспекта в необязательной реализации между дисперсионным компонентом и входными портами дополнительно включен второй фильтр, дисперсионный компонент включает в себя первую решетку и вторую решетку, а также возможность с помощью входных портов первого попадание луча и второго луча на дисперсионный компонент включает в себя: обеспечение возможности, с помощью входных портов, падения первого луча и второго луча на второй фильтр; и, соответственное изменение с использованием второго фильтра направлений передачи первого луча и второго луча на основе диапазонов, которым принадлежат первый луч и второй луч, и соответственную передачу первого луча и второго луча на первую решетку и вторую решетку в разные места; и способ дополнительно включает в себя: передачу с использованием первой решетки множества первых подлучей на второй фильтр и передачу с использованием второй решетки множества вторых подлучей на второй фильтр; и передачу, используя второй фильтр, множества первых подлучей и множества вторых подлучей компоненту перенаправления на основе разных диапазонов, так что первая область и вторая область по меньшей мере частично перекрываются во втором направлении, где второе направление является направлением длины волны компонента перенаправления, а первое направление перпендикулярно второму направлению.
[0046] На основании третьего аспекта в необязательной реализации передача с использованием первой решетки множества первых подлучей ко второму фильтру и передача с использованием второй решетки множества вторых подлучей к второй фильтр включает в себя: передачу с использованием первой решетки по меньшей мере одного первого подлуча в третью область второго фильтра и передачу с помощью второй решетки по меньшей мере одного второго подлуча в четвертую область второй фильтр, где третья область и четвертая область по меньшей мере частично перекрываются во втором направлении.
[0047] На основании третьего аспекта в необязательной реализации входные порты включают в себя первый входной порт и второй входной порт, расположения первого входного порта и второго входного порта различаются во втором направлении, и предоставление возможности с помощью входных портов, первому лучу и второму лучу падать на дисперсионный компонент, содержит: предоставление возможности, во втором направлении, с использованием первого входного порта, первому лучу падать на дисперсионный компонент под первым углом падения, и предоставление возможности, во втором направлении, с использованием второго входного порта, второму лучу падать на дисперсионный компонент под вторым углом падения, где разница между абсолютным значением первого падения и абсолютным значением второго угла падения не равна нулю, разница между первым углом падения и первым углом блеска меньше или равна первому заданному значению, разница между вторым углом падения и вторым углом блеска меньше или равна второму заданному значению, первый угол блеска соответствует диапазону, которому принадлежит первый луч, а второй угол блеска соответствует диапазону, которому принадлежит второй луч.
[0048] На основании третьего аспекта, в необязательном варианте осуществления, устройство оптической коммутации дополнительно включает линзовый компонент, расположенный между входными портами и дисперсионным компонентом, и способ дополнительно включает в себя: передачу, с использованием линзового компонента, первого луча и второго луча на дисперсионный компонент, где во втором направлении значение расстояния между первым входным портом и оптической осью линзового компонента связано со значением первого угла падения, а значение расстояния между вторым входным портом и оптической осью линзового компонента связано со значением второго угла падения.
[0049] На основании третьего аспекта в необязательной реализации устройство оптической коммутации дополнительно включает в себя первый отражатель и второй отражатель, и предоставление возможности, с помощью первого фильтра, множеству первых подлучей падать на первую область компонента перенаправления и предоставление возможности множеству вторых подлучей падать на вторую область компонента перенаправления содержит: передачу с использованием первого фильтра множества первых подлучей на первый отражатель и передачу посредством используя первый фильтр, множество вторых подлучей направляется ко второму отражателю; и передачу, с использованием первого отражателя, множества первых подлучей на компонент перенаправления и передачу, с использованием второго отражателя, множества вторых подлучей на компонент перенаправления.
[0050] На основании третьего аспекта в необязательной реализации способ дополнительно включает в себя: передачу с использованием компонента перенаправления множества перенаправленных первых подлучей на первый отражатель и передачу с использованием компонента перенаправления множества перенаправленных вторых подлучей на второй отражатель; и передачу с использованием первого отражателя первых подлучей в пятую область первого фильтра и передачу с использованием второго отражателя вторых подлучей в шестую область первого фильтра.
[0051] На основании третьего аспекта в необязательной реализации способ дополнительно включает в себя: передачу с использованием первого фильтра множества перенаправленных первых подлучей и вторых подлучей на дисперсионный компонент; объединение, с использованием дисперсионного компонента, множества первых подлучей в третий луч и объединение, с использованием дисперсионного компонента, множества вторых подлучей в четвертый луч; и вывод с использованием выходного порта третьего луча и четвертого луча.
[0052] На основании третьего аспекта в необязательной реализации разделение с использованием первого фильтра направлений передачи множества первых подлучей и множества вторых подлучей на разные направления передачи в первом направлении на основе разных диапазонов содержит: отражение с использованием первого фильтра множества первых подлучей от первого фильтра в качестве отраженного света на основе диапазона, которому принадлежит множество первых подлучей, и предоставление возможности с использованием первого фильтра множеству вторых подлучей проходить через первый фильтр в качестве проходящего света на основе диапазона, которому принадлежит множество вторых подлучей.
[0053] На основании третьего аспекта в необязательном варианте осуществления первый фильтр представляет собой тонкопленочный фильтр, и тонкопленочный фильтр имеет две области с разными показателями преломления. Разница между вносимыми потерями, вызванными, когда две области по отдельности отражают один из множества первых подлучей, меньше или равна третьему заданному значению, и разница между вносимыми потерями, вызванными, когда один из множества вторых подлучей по отдельности проходит через две области, меньше или равна третьему заданному значению.
[0054] В соответствии с четвертым аспектом эта заявка обеспечивает способ перенаправления, применяемый к устройству оптической коммутации. Устройство оптической коммутации включает в себя порты ввода, третий фильтр, дисперсионный компонент, компонент перенаправления и порт вывода. Способ включает в себя: предоставление возможности, используя входные порты, первому лучу и второму лучу падать на третий фильтр, где первый луч и второй луч принадлежат к разным диапазонам; разделение с помощью третьего фильтра направлений передачи первого луча и второго луча на разные направления передачи в первом направлении на основании разных диапазонов, и передачу, с использованием третьего фильтра, первого луча и второго луча на дисперсионный компонент, где первое направление является направлением порта компонента перенаправления; разложение, с использованием дисперсионного компонента, первого луча на множество первых подлучей, разложение, с использованием дисперсионного компонента, второго луча на множество вторых подлучей и предоставление возможности, с использованием дисперсионного компонента, множеству первых подлучей и множеству вторых подлучей падать на компонент перенаправления, где множество первых подлучей падают на первую область компонента перенаправления, множество вторых подлучей падают на вторую область компонента перенаправления, причем первая область и вторая область отделены друг от друга в первом направлении; и вывод, с использованием порта вывода, множества первых подлучей и множества вторых подлучей, которые получены после выполнения перенаправления с использованием компонента перенаправления.
[0055] Для конкретных описаний положительных эффектов, показанных в этом аспекте, обратитесь к таковым, показанным во втором аспекте. Подробности повторно не приводятся.
[0056] На основании четвертого аспекта необязательно второй фильтр дополнительно включен между дисперсионным компонентом и третьим фильтром, дисперсионный компонент включает в себя первую решетку и вторую решетку, и передача с использованием третьего фильтра первого луча и второго луча на дисперсионный компонент включает в себя: обеспечение возможности, посредством использования третьего фильтра, первому лучу и второму лучу падать на второй фильтр; и соответственное изменение, с использованием второго фильтра, направления передачи первого луча и второго луча на основе разных диапазонов и, соответственную передачу первого луча и второго луча на первую решетку и вторую решетку в разные места; и способ дополнительно включает в себя: передачу с использованием первой решетки множества первых подлучей на второй фильтр и передачу с использованием второй решетки множества вторых подлучей на второй фильтр; и соответственную передачу, используя второй фильтр, множества первых подлучей и множества вторых подлучей компоненту перенаправления на основе диапазонов, которым принадлежат множество первых подлучей и множество вторых подлучей, так что первая область и вторая область по меньшей мере частично перекрываются во втором направлении, при этом второе направление представляет собой направление длины волны компонента перенаправления, а первое направление перпендикулярно второму направлению.
[0057] На основании четвертого аспекта, необязательно, способ дополнительно включает в себя: передачу, с использованием первой решетки, по меньшей мере одного первого подлуча в третью область второго фильтра и передачу, с использованием второй решетки, по меньшей мере одного второго подлуча в четвертую область второго фильтра, при этом третья область и четвертая область по меньшей мере частично перекрываются во втором направлении.
[0058] На основании четвертого аспекта входные порты необязательно включают в себя первый входной порт и второй входной порт, расположения первого входного порта и второго входного порта различаются во втором направлении, а передача с использованием третьего фильтра, первого луча и второго луча на дисперсионный компонент содержит: предоставление возможности, во втором направлении с использованием третьего фильтра, падения первого луча на дисперсионный компонент под первым углом падения; и предоставление возможности, во втором направлении посредством использования третьего фильтра, падения второго луча на дисперсионный компонент под вторым углом падения, при этом разница между абсолютным значением первого угла падения и абсолютным значением второго угла падения не равна нулю, разница между первым углом падения и первым углом блеска меньше или равна четвертому заданному значению, разница между вторым углом падения и вторым углом блеска меньше или равна пятому заданному значению, первый угол блеска соответствует диапазону, которому принадлежит первый луч, а второй угол блеска соответствует диапазону, которому принадлежит второй луч.
[0059] На основании четвертого аспекта устройство оптической коммутации необязательно включает в себя линзовый компонент, расположенный между третьим фильтром и дисперсионным компонентом, и способ дополнительно включает в себя: передачу с использованием линзового компонента первого луча и второго луча от третьего фильтра на дисперсионный компонент, где во втором направлении значение расстояния между первым входным портом и оптической осью линзового компонента связано со значением первого угла падения, а значение расстояние между вторым входным портом и оптической осью линзового компонента связано со значением второго угла падения.
[0060] На основании четвертого аспекта, необязательно, способ дополнительно содержит: отражение, с использованием третьего фильтра, первого луча от третьего фильтра в качестве отраженного света на основе диапазона, которому принадлежит первый луч, предоставление возможности, с использованием третьего фильтра, второму лучу проходить через третий фильтр в качестве проходящего света на основе диапазона, которому принадлежит второй луч.
[0061] Основываясь на четвертом аспекте, третий фильтр представляет собой тонкопленочный фильтр, причем тонкопленочный фильтр имеет две области с разными показателями преломления; и разница между вносимыми потерями, вызванными, когда две области по отдельности отражают первый луч, меньше или равна третьему заданному значению, и разница между вносимыми потерями, вызванными, когда второй луч проходит по отдельности через две области, меньше или равна третьему заданному значению.
[0062] В соответствии с пятым аспектом эта заявка обеспечивает реконфигурируемый оптический мультиплексор ввода/вывода, включающий в себя множество устройств оптической коммутации, где различные устройства оптической коммутации соединены друг с другом с помощью оптического волокна, и устройство оптической коммутации показано в любом одном из первого аспекта или второго аспекта.
[0063] В соответствии с шестым аспектом эта заявка обеспечивает оптическую систему связи, включающую в себя множество реконфигурируемых оптических мультиплексоров ввода/вывода, где реконфигурируемый оптический мультиплексор ввода/вывода показан в пятом аспекте.
КРАТКОЕ ОПИСАНИЕ ЧЕРТЕЖЕЙ
[0064] Фиг. 1 представляет собой примерную диаграмму структуры селективного переключателя длины волны в соответствии с традиционной технологией;
[0065] Фиг. 2 является примерной схемой структуры реконфигурируемого оптического мультиплексора ввода/вывода в соответствии с этой заявкой;
[0066] Фиг. 3 представляет собой примерную схему первой структуры устройства оптической коммутации во втором направлении в соответствии с этой заявкой;
[0067] Фиг. 4 является примерной схемой первой структуры устройства оптической коммутации в первом направлении в соответствии с этой заявкой;
[0068] Фиг. 5 - примерная схема первого расположения бликов на компоненте перенаправления согласно этой заявке;
[0069] Фиг. 6 - пример диаграммы, на которой лучи падают на тонкопленочный фильтр в соответствии с этой заявкой;
[0070] Фиг. 7 - первая примерная диаграмма спектра тонкопленочного фильтра в соответствии с этой заявкой;
[0071] Фиг. 8 - примерная схема второго расположения бликов на компоненте перенаправления согласно этой заявке;
[0072] Фиг. 9 представляет собой увеличенную иллюстративную схему частичной конструкции устройства оптической коммутации, показанного на фиг. 3;
[0073] Фиг. 10 - еще одна примерная диаграмма спектра тонкопленочного фильтра в соответствии с этой заявкой;
[0074] Фиг. 11 представляет собой увеличенную примерную схему частичной конструкции устройства оптической коммутации, показанного на фиг. 4;
[0075] Фиг. 12 является примерной схемой второй конструкции устройства оптической коммутации во втором направлении в соответствии с этой заявкой;
[0076] Фиг. 13 является примерной схемой второй структуры устройства оптической коммутации в первом направлении в соответствии с этой заявкой;
[0077] Фиг. 14 - примерная схема третьей конструкции устройства оптической коммутации во втором направлении согласно этой заявке;
[0078] Фиг. 15 представляет собой примерную схему третьей конструкции устройства оптической коммутации в первом направлении в соответствии с этой заявкой;
[0079] Фиг. 16 является примерной схемой четвертой структуры устройства оптической коммутации во втором направлении в соответствии с этой заявкой;
[0080] Фиг. 17 - примерная схема четвертой структуры устройства оптической коммутации в первом направлении согласно этой заявке;
[0081] Фиг. 18 - примерная схема пятой конструкции устройства оптической коммутации во втором направлении согласно этой заявке;
[0082] Фиг. 19 - примерная схема пятой структуры устройства оптической коммутации в первом направлении в соответствии с этой заявкой;
[0083] Фиг. 20А и фиг. 20B представляет собой блок-схему этапов первого варианта осуществления способа перенаправления в соответствии с этой заявкой;
[0084] Фиг. 21А и фиг. 21B представляет собой блок-схему этапов второго варианта осуществления способа перенаправления в соответствии с этой заявкой;
[0085] Фиг. 22А и фиг. 22B представляет собой блок-схему этапов третьего варианта осуществления способа перенаправления в соответствии с этой заявкой;
[0086] Фиг. 23 представляет собой блок-схему этапов четвертого варианта осуществления способа перенаправления в соответствии с этой заявкой; и
[0087] Фиг. 24 является примерной схемой структуры системы оптической связи в соответствии с этой заявкой.
Описание вариантов осуществления
[0088] Нижеследующее ясно и полностью описывает технические решения в вариантах осуществления настоящего изобретения со ссылкой на прилагаемые чертежи в вариантах осуществления настоящего изобретения. Понятно, что описанные варианты осуществления являются лишь частью, а не всеми вариантами осуществления настоящего изобретения. Все другие варианты осуществления, полученные специалистами в данной области техники на основе вариантов осуществления настоящего изобретения без творческих усилий, подпадают под объем охраны настоящего изобретения.
[0089] В описании, формуле изобретения и прилагаемых чертежах этой заявки термины «первый», «второй» и т.д. предназначены для различения сходных объектов, но не обязательно указывают конкретный порядок или последовательность. Примерные варианты осуществления настоящего изобретения более подробно описаны ниже со ссылкой на прилагаемые чертежи, и примерные варианты осуществления показаны на прилагаемых чертежах. Однако настоящее изобретение может быть реализовано многими различными способами, и его не следует рассматривать как ограниченное вариантами осуществления, описанными в данном описании. Напротив, эти варианты осуществления предоставлены для того, чтобы это раскрытие было исчерпывающим и полным, а объем настоящего изобретения был полностью передан специалистам в данной области техники. На прилагаемых чертежах размеры и относительные размеры слоя и области могут быть преувеличены для ясности. Одни и те же ссылочные обозначения всегда представляют один и тот же элемент.
[0090] Во-первых, структура ROADM, представленная в этой заявке, описана со ссылкой на фиг. 2. Фиг. 2 является примерной схемой структуры ROADM в соответствии с этой заявкой.
[0091] Конкретная сетевая структура ROADM в этом варианте осуществления не ограничена. Например, ROADM, включающий в себя множество устройств оптической коммутации, может использовать сетевую структуру линейной сети, кольцевой сети, ячеистой сети и т.п. Как показано на фиг. 2 приведено примерное описание с использованием примера, в котором ROADM использует сетевую структуру ячеистой сети. В этом варианте осуществления приведено примерное описание с использованием примера, в котором устройство оптической коммутации представляет собой WSS.
[0092] В этом варианте осуществления, например, ROADM включает в себя восемь WSS (от WSS 1 и от WSS 2 до WSS 8). Восемь СВС расположены в разных местах. Количество WSS, включенных в ROADM, и местоположения WSS в этом варианте осуществления не ограничены. Обмен оптическим сигналом осуществляется между WSS в разных местах для реализации гибкого планирования оптического сигнала. Различные местоположения, показанные в этом варианте осуществления, могут указывать разные направления N измерений, где N представляет собой положительное целое число, большее или равное 1.
[0093] В качестве примера используется WSS 1. WSS 1 может передавать оптический сигнал на любой WSS, входящий в состав ROADM и подключенный к WSS 1 с помощью оптоволокна, для реализации отклонения оптического сигнала в направлениях различных размеров. Например, в ROADM, показанном в этом варианте осуществления, WSS 4, WSS 6 и WSS 8 подключены к WSS 1 с помощью оптических волокон, и, следовательно, WSS 1 может передавать оптический сигнал на любой из WSS. 4, ВСС 6 и ВСС 8. В этом варианте осуществления приведено примерное описание с использованием примера, в котором WSS 1 соединен с WSS 4, WSS 6 и WSS 8 с использованием оптических волокон, и никаких ограничений не накладывается. В другом примере WSS 1 может быть альтернативно подключен с помощью оптоволокна к любому из WSS 2, WSS 3, WSS 5 и WSS 7, которые включены в ROADM.
[0094] Далее продолжается описание коммутации оптических сигналов на примере WSS 1 и WSS 4:
[0095] Оптический сигнал, передаваемый в направлении 201 первого измерения, вводится в WSS 1 с использованием входного порта WSS 1, оптический сигнал перенаправляется с использованием WSS 1, оптический сигнал передается в WSS 4 с использованием выходной порт WSS 1 и оптическое волокно, а оптический сигнал, выходящий из выходного порта WSS 4, передается в направлении 202 второго измерения для реализации отклонения направления передачи оптического сигнала от первого измерения. направления 201 к направлению 202 второго измерения.
[0096] Со ссылкой на различные варианты осуществления нижеследующее описывает структуру устройства оптической коммутации, предоставленного в этой заявке.
Вариант 1 осуществления
[0097] Нижеследующее описывает со ссылкой на фиг. 3 и фиг. 4, конкретную структуру устройства оптической коммутации, представленную в этой заявке. Фиг. 3 является примерной схемой структуры устройства оптической коммутации во втором направлении, а фиг. 4 является примерной схемой структуры устройства оптической коммутации в первом направлении. Устройство оптической коммутации, показанное в этом варианте осуществления, включает в себя входной порт 41, дисперсионный компонент, компонент 301 перенаправления и выходные порты (42 и 43). Конкретное количество входных портов и конкретное количество выходных портов в этом варианте осуществления не ограничено.
[0098] Нижеследующее сначала описывает первое направление и второе направление, которые показаны в этой заявке. Первое направление, показанное в этом варианте осуществления, может также упоминаться как направление переключения или направление порта, а второе направление может также упоминаться как направление длины волны или направление дисперсии. Определения первого направления и второго направления различаются по отношению к различным компонентам, включенным в устройство оптической коммутации. Конкретные определения следующие:
[0099] Во-первых, следует отметить, что в этом варианте осуществления луч, вводимый в устройство оптической коммутации с использованием входного порта, передается в третьем направлении Z, причем третье направление Z является по-отдельности перпендикулярным первому направлению X и второму направлению Y, а первое направление X перпендикулярно второму направлению Y.
[00100] Определение 1
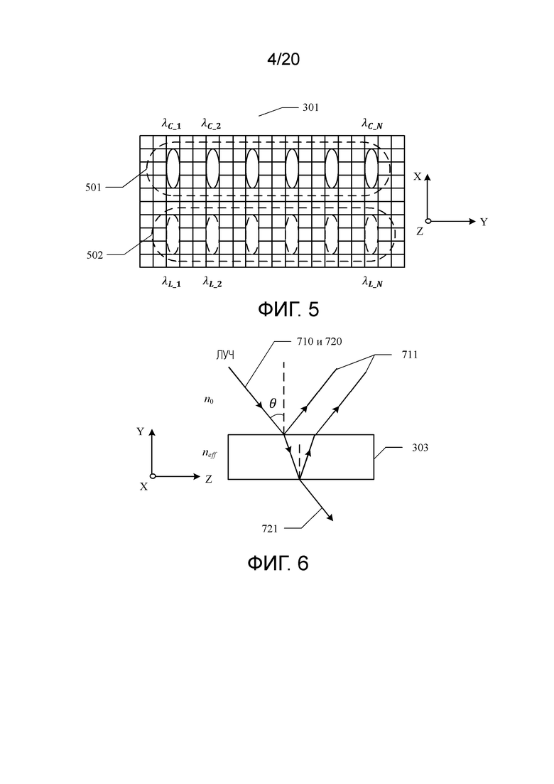
[00101] Это определение выполняется со ссылкой на компонент 301 перенаправления. Компонент 301 перенаправления, показанный в этом варианте осуществления, выполнен с возможностью отклонения направлений передачи первого луча и второго луча, которые вводятся с использованием входного порта. Следует отметить, что в этом варианте осуществления количество лучей, на которых компонент 301 перенаправления выполняет отклонение направления передачи, и диапазоны, которым принадлежат лучи, не ограничены, при условии, что разные лучи принадлежат разным диапазонам. Для реализации отклонения направления передачи, как показано на фиг. 5, множество бликов, генерируемых первым лучом, расположены в первой области 501 компонента 301 перенаправления, а множество бликов, генерируемых вторым лучом, расположены во второй области 502 компонента 301 перенаправления. Второе направление Y представляет собой направление расположения множества бликов, включенных в первую область 501, а второе направление Y также является направлением расположения множества бликов, включенных во вторую область 502. Первое направление X представляет собой направление расположения первой области 501 и второй области 502 на компоненте 301 перенаправления. Можно понять, что в двумерной системе координат XY, образованной первым направлением X и вторым направлением Y, блики, генерируемые разными лучами, могут соответствовать одной и той же координате во втором направлении Y, а блики, генерируемые разными лучами, могут соответствовать одной и той же координате во втором направлении Y. лучи соответствуют разным координатам в первом направлении X, так что блики разных лучей перекрываются или, по крайней мере, частично перекрываются во втором направлении Y, а блики разных лучей разделяются в первом направлении X для улучшения фильтрации пропускная способность компонента 301 перенаправления.
[00102] Определение 2
[00103] Это определение по-прежнему выполняется со ссылкой на компонент 301 перенаправления. Необязательно, если компонент 301 перенаправления представляет собой жидкий кристалл на кремнии (liquid crystal on silicon, LCOS), первое направление X представляет собой направление, в котором фазовая решетка загружается в компонент 301 перенаправления для генерации дифрагированного луча. Кроме того, необязательно, если компонент 301 перенаправления представляет собой жидкокристаллическую (liquid crystal) микросхему матрицы или микроэлектромеханические системы (micro electro mechanical system, MEMS), первое направление X представляет собой направление, в котором генерируется отклоненный луч. В частности, дифрагированный луч или отклоненный луч передается в порт вывода в плоскости XZ, причем плоскость XZ представляет собой плоскость взгляда, образованную первым направлением X и третьим направлением Z, то есть плоскость XZ проходит как в первом направлении X, так и в третьем направлении Z.
[00104] Определение 3
[00105] Это определение выполняется со ссылкой на входной порт и выходные порты, которые включены в устройство оптической коммутации. Следует отметить, что в этом примере описание местоположений входного порта и выходных портов является необязательным примером, и никаких ограничений не накладывается при условии, что входной порт может вводить луч в устройство оптической коммутации, а выходной порты могут выводить лучи от устройства оптической коммутации. Как показано на фиг. 3 и фиг. 4, например, устройство оптической коммутации включает в себя входной порт 41, выходной порт 42 и выходной порт 43. Порты (41, 42 и 43), включенные в устройство оптической коммутации, расположены в одной плоскости XZ. В частности, места расположения множества портов (41, 42 и 43) разделены в плоскости XZ, и места расположения множества портов (41, 42 и 43) могут полностью или частично перекрываться в плоскости YZ (а плоскости, проходящей как во втором направлении Y, так и в третьем направлении Z).
[00106] Далее описываются объекты (первый луч и второй луч), на которых устройство оптической коммутации выполняет отклонение направления передачи в этом варианте осуществления.
[00107] В этом варианте осуществления приведено примерное описание с использованием примера, в котором устройство оптической коммутации выполнено с возможностью отклонения направлений передачи первого луча и второго луча. В другом примере устройство оптической коммутации может альтернативно отклонять направления передачи лучей другого количества, например, отклонять направление передачи одного луча или отклонять направления передачи более чем двух лучей. Первый луч и второй луч, показанные в этом варианте осуществления, имеют разные диапазоны длин волн. Со ссылкой на конкретный пример ниже приводится примерное описание того факта, что первый луч и второй луч имеют разные диапазоны длин волн.
[00108] Например, в этом варианте осуществления первый луч представляет собой луч C-диапазона (C band), а второй луч представляет собой луч L-диапазона (L band). Например, первый луч может альтернативно быть лучом диапазона E (E band), а второй луч может альтернативно быть лучом диапазона O (O band), при условии, что первый луч и второй луч находятся в разных диапазонах.
[00109] В частности, например, первый луч имеет N значений длины волны:
,
… и
а второй луч также может иметь N значений длины волны:
,
и …
. Значение N не ограничено в этом варианте осуществления. Альтернативно, первый луч и второй луч могут иметь различные количества значений длины волны. То, что первый луч и второй луч имеют разные диапазоны длин волн, может конкретно указывать на то, что нет одинаковых значений длины волны в
,
…, и
и
,
, … и
. То, что первый луч и второй луч имеют разные диапазоны длин волн, может альтернативно указывать на то, что имеется одно или несколько различных значений длины волны в
,
… и …
из
,
, … и
, другими словами, существуют одни и те же значения длин волн, и некоторые разные значения длин волн
,
, …, и
и
,
, …, и
.
[00110] Далее описывается процесс, в котором устройство оптической коммутации, показанное в этом варианте осуществления, отклоняет направления передачи первого луча и второго луча.
[00111] Например, как показано на фиг. 4 входной порт 41, включенный в устройство оптической коммутации, сконфигурирован для ввода первого луча и второго луча (каждый из которых показан сплошной линией, которая вводится входным портом 41 и показана на фиг. 3 и фиг. 4). То есть в этом варианте осуществления приведено примерное описание с использованием примера, в котором первый луч и второй луч вводятся в устройство оптической коммутации с использованием одного и того же входного порта 41. Следует отметить, что в другом примере первый луч и второй луч могут альтернативно вводиться в устройство оптической коммутации с использованием разных входных портов. Это специально не ограничено.
[00112] Необязательно, первый луч и второй луч, которые вводятся с помощью входного порта 41, передаются на первую коллимационную линзу 302. В частности, входной порт 41 расположен в переднем фокусе первой коллимационной линзы 302, и первая коллимационная линза 302 сконфигурирована для коллимации первого луча и второго луча из входного порта 41.
[00113] В этом варианте осуществления первый линзовый компонент дополнительно расположен между первой коллимационной линзой 302 и вторым фильтром 303. В этом варианте осуществления количество линз, включенных в первый линзовый компонент, не ограничено при условии, что первый линзовый компонент может передавать коллимированный первый луч и коллимированный второй луч от первой коллимационной линзы 302 ко второму фильтру 303. В этом варианте осуществления приведен пример описания с использованием примера, в котором первый линзовый компонент включает в себя первую линзу 304, вторую линзу 305, третью линзу 306 и четвертую линзу 307. Ниже приводится примерное описание функций линз (первой линзы 304, второй линзы 305, третьей линзы 306 и четвертой линзы 307), показанных в этом примере.
[00114] Первая линза 304 выполнена с возможностью формирования первого луча и второго луча во втором направлении Y (в плоскости YZ), вторая линза 305 выполнена с возможностью передачи первого луча и второго луча от первой линзы 304 к третьей линза 306, а третья линза 306 предназначена для формирования первого луча и второго луча в первом направлении X (в плоскости XZ). Формирование, показанное в этом варианте осуществления, может означать регулировку размера блика, генерируемого при облучении первого луча на компоненте 301 перенаправления, и размера блика, генерируемого при облучении второго луча на компоненте 301 перенаправления. Четвертая линза 307 выполнена с возможностью пропускания сформированного первого луча и сформированного второго луча на второй фильтр 303.
[00115] Ниже приводится пример описания расположения линз (первой линзы 304, второй линзы 305, третьей линзы 306 и четвертой линзы 307), включенных в первый линзовый компонент.
[00116] Задний фокус первой коллимационной линзы 302 перекрывает передний фокус первой линзы 304, а расстояние между первой коллимационной линзой 302 и первой линзой 304 равно сумме фокусного расстояния первой коллимационной линзы 302 и фокусное расстояние первой линзы 304. Задний фокус первой линзы 304 перекрывает передний фокус третьей линзы 306, а задний фокус третьей линзы 306 перекрывает передний фокус четвертой линзы 307. Кроме того, задний фокус первой коллимационной линзы 302 перекрывает передний фокус второй линзы 305, расстояние между первой коллимационной линзой 302 и второй линзой 305 равно сумме фокусных расстояний первой коллимационной линзы 302. и фокусное расстояние второй линзы 305, причем вторая линза 305 расположена между первой линзой 304 и третьей линзой 306. Можно понять, что фокусное расстояние второй линзы 305 больше, чем фокусное расстояние первой линзы 304. Следует отметить, что описание линз, включенных в первый линзовый компонент в этом варианте осуществления, является необязательным примером, и никаких ограничений не накладывается при условии, что первый линзовый компонент может передавать первый луч и второй луч на второй фильтр 303.
[00117] Второй линзовый компонент дополнительно расположен между компонентом 301 перенаправления и вторым фильтром 303 в этом варианте осуществления. В этом варианте осуществления количество линз, включенных во второй линзовый компонент, не ограничено при условии, что второй линзовый компонент может передавать на компонент 301 перенаправления луч, выходящий из второго фильтра 303. В этом варианте осуществления приведено примерное описание с использованием примера, в котором второй линзовый компонент включает в себя пятую линзу 310.
[00118] В частности, второй фильтр 303 расположен между четвертой линзой 307 и дисперсионным компонентом (первой решеткой 308 и второй решеткой 309, которые показаны на фиг. 3). Конкретное расположение второго фильтра 303 в этом варианте осуществления не ограничено при условии, что второй фильтр 303 расположен между четвертой линзой 307 и дисперсионным компонентом. Конкретные положения первой решетки 308 и второй решетки 309 не ограничены в этом варианте осуществления при условии, что второй фильтр 303 может фокусировать первый луч на первой решетке 308, а второй фильтр 303 может дополнительно фокусировать второй луч на второй решетке. 309. В качестве примера используется вторая решетка 309. Вторая решетка 309 расположена в месте, в котором задний фокус четвертой линзы 307 перекрывает передний фокус пятой линзы 310.
[00119] Пятая линза 310 расположена между вторым фильтром 303 и компонентом 301 перенаправления, а компонент 301 перенаправления расположен в заднем фокусе пятой линзы 310. Можно понять, что расстояние между компонентом 301 перенаправления и пятой линзой 310 равно фокусному расстоянию пятой линзы 310.
[00120] Из фиг. 3 показано, что в плоскости YZ в этом варианте осуществления приведен пример описания с использованием примера, в котором четвертая линза 307 передает первый луч и второй луч в одно и то же место (место, которое показано на фиг. 3 и в которой сплошная линия, выходящая из четвертой линзы 307, пересекается со вторым фильтром 303) во втором фильтре 303. В другом примере четвертая линза 307 может альтернативно передавать первый луч и второй луч в разные места второго фильтра 303.
[00121] Второй фильтр 303, показанный в этом варианте осуществления, выполнен с возможностью: соответственно изменять направления передачи первого луча и второго луча на основе диапазонов, которым принадлежат первый луч и второй луч, и соответственно передавать первый луч и второй луч к первой решетке 308 и второй решетке 309 в разные места.
[00122] В частности, второй фильтр 303 выполнен с возможностью выхода первого луча и второго луча из второго фильтра 303 в разных направлениях, так что реализуется разделение между направлением передачи первого луча и направлением передачи второго луча. в плоскости YZ. Для лучшего понимания ниже приведены описания со ссылкой на конкретную структуру второго фильтра 303.
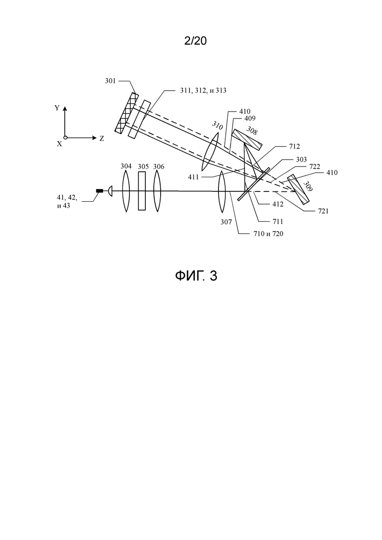
[00123] В этом варианте осуществления, например, второй фильтр 303 представляет собой тонкопленочный фильтр. Тонкопленочный фильтр может быть дихроичным фильтром (dichroic filter). Как показано на фиг. 6, в плоскости YZ (плоскость, проходящая как во втором направлении Y, так и в третьем направлении Z) лучи падают на второй фильтр 303 под углом падения
. Для лучшего понимания нижеследующее продолжает ссылаться на фиг. 7. Фиг. 7 представляет собой примерную диаграмму спектра тонкопленочного фильтра. Спектр фильтра включает в себя две кривые, то есть кривую 701 прохождения проходящего света и кривую 702 отражения отраженного света. Первый луч 710, показанный в этом варианте осуществления, попадает в первый диапазон, показанный на фиг. 7, так что первый луч 710, попадающий в первый диапазон, выходит из второго фильтра 303 с пропусканием отраженного света под действием вносимых потерь, соответствующих первому диапазону, то есть направление передачи первого луча 710 изменяется после того, как первый луч 710 становится отраженным светом. Чтобы лучше различать первый луч, существующий до изменения направления передачи, и первый луч, полученный после изменения направления передачи, до изменения направления передачи, первым лучом является первый луч 710, показанный на фиг. 3 и фиг. 6; и после изменения направления передачи после отражения первого луча вторым фильтром 303 первый луч является первым лучом 711, показанным на фиг. 3 и фиг. 6. Со ссылкой на направления передачи первого луча 710 и первого луча 711 можно понять, что направление передачи первого луча 710 изменяется на направление передачи первого луча 711 из-за действия отражения второго фильтра 303 для первого луча 710.
[00124] Второй луч 720, показанный в этом варианте осуществления, попадает во второй диапазон, показанный на фиг. 7, так что второй луч 720, попадающий во второй диапазон, выходит из второго фильтра 303 в режиме сквозного пропускания света под действием вносимых потерь, соответствующих второму диапазону, то есть в направлении передачи второй луч 720 изменяется после того, как второй луч 720 становится пропущенным светом. Чтобы лучше различать второй луч, существующий до изменения направления передачи, и второй луч, полученный после изменения направления передачи, до изменения направления передачи, вторым лучом является второй луч 720, показанный на фиг. 3 и фиг. 6; и после изменения направления передачи после прохождения второго луча через второй фильтр 303 вторым лучом является второй луч 721, показанный на фиг. 3 и фиг. 6. Со ссылкой на направления передачи второго луча 720 и второго луча 721 можно понять, что направление передачи второго луча 720 изменяется на направление передачи второго луча 721 из-за действия пропускания второго фильтра 303 для второго луча 720.
[00125] Следует отметить, что размер первого диапазона и размер второго диапазона в этом варианте осуществления не ограничены при условии, что лучи, попадающие в разные диапазоны, передаются в разных направлениях передачи под действием второго фильтра 303.
[00126] Кроме того, из фиг. 3 видно, что второй фильтр 303 передает на первую решетку 308 первый луч 711, полученный после изменения направления передачи, и передает на вторую решетку 309 второй луч 721, полученный после изменения направления передачи. Первая решетка 308 и вторая решетка 309, показанные в этом варианте осуществления, расположены в разных местах. Конкретные положения первой решетки 308 и второй решетки 309 в этом варианте осуществления не ограничены при условии, что первая решетка 308 расположена на пути оптической передачи первого луча 711, а вторая решетка 309 расположена на пути оптической передачи. второго луча 721, чтобы гарантировать, что первый луч 711 может быть успешно передан на первую решетку 308, а второй луч 721 может быть успешно передан на вторую решетку 309.
[00127] В этом варианте осуществления приведено примерное описание с использованием примера, в котором первая решетка 308 и вторая решетка 309 являются двумя независимыми решетками в разных местах. В другом примере первая решетка 308 и вторая решетка 309 альтернативно могут быть двумя участками изогнутой решетки.
[00128] Первая решетка 308 предназначена для разложения первого луча 711 на множество первых подлучей 712 (каждый из которых показан сплошной линией, выходящей из первой решетки 308). Например, первая решетка 308 разлагает первый луч 711 на N первых подлучей 712, и длины волн N первых подлучей 712 соответственно равны
,
, … и
. Вторая решетка 309 предназначена для разложения второго луча 721 на множество вторых подлучей 722 (каждый из которых показан пунктирной линией, выходящей из второй решетки 309). Например, вторая решетка 309 разлагает второй луч 721 на N вторых подлучей, и длины волн N вторых подлучей соответственно равны
,
, ... и
. Конкретные описания
,
, … и
и
,
, ... и
, см. выше. Подробности повторно не приводятся.
[00129] Первая решетка 308 дополнительно сконфигурирована для передачи множества первых подлучей 712 на второй фильтр 303, а вторая решетка 309 дополнительно сконфигурирована для передачи множества вторых подлучей 722 на второй фильтр 303. Можно понять, что второй фильтр 303, показанный в этом варианте осуществления, расположен на путях оптической передачи множества первых подлучей 712 и множества вторых подлучей 722, тем самым эффективно гарантируя, что множество первых подлучей 712 и множество вторых подлучей 722 могут быть успешно переданы на второй фильтр 303.
[00130] Из фиг. 5 видно, что для улучшения ширины полосы фильтрации блики, генерируемые множеством первых подлучей 712, должны располагаться в первой области 501, а блики, генерируемые множеством вторых подлучей 722, должны располагаться во второй области. 502. Для лучшего понимания ниже приведены описания конкретных бликов.
[00131] Первый блик (расположенный в первой области 501), генерируемый первым целевым подлучом на компоненте 301 перенаправления, и второй блик (расположенный во второй области 502), генерируемый вторым целевым подлучом в компоненте 301 перенаправления, перекрываются. во втором направлении Y. Первый целевой подлуч является одним из множества первых подлучей 712, генерируемых первой решеткой 308, а второй целевой подлуч является одним из множества вторых подлучей 722, генерируемых вторая решетка 309. Первая решетка 308 и вторая решетка 309, которые показаны в этом варианте осуществления, могут эффективно обеспечивать перекрытие первого блика и второго блика во втором направлении Y. Ниже приведены конкретные описания.
[00132] Сначала описываются первый блик и второй блик.
[00133] Кроме того, со ссылкой на фиг. 5, блики первых подлучей 712 расположены в первой области 501, показанной на ФИГ. 5, блики вторых подлучей 722 расположены во второй области 502, показанной на ФИГ. 5, и первая область 501 и вторая область 502, которые показаны в этом варианте осуществления, перекрываются во втором направлении Y. В этом варианте осуществления приведено примерное описание с использованием примера, в котором первая область 501 и вторая область 502 полностью перекрываются во втором направлении Y. В другом примере первая область 501 и вторая область 502 альтернативно могут частично перекрываться (как показано на фиг. 8).
[00134] Первый блик представляет собой блик, генерируемый первым целевым подлучом на компоненте 301 перенаправления, второй блик представляет собой блик, генерируемый вторым целевым подлучом в компоненте 301 перенаправления, и ранжирование первого блика во множестве бликов, генерируемых множеством первых подлучей 712, является таким же, как ранжирование второго блика во множестве бликов, генерируемых множеством вторых подлучей 722, другими словами, ранжирование первого блика в множество бликов, включенных в первую область 501, такое же, как ранжирование второго блика во множестве бликов, включенных во вторую область 502.
[00135] Например, первый блик представляет собой блик, генерируемый, когда первый целевой подлуч, имеющий длину волны
, падает на компонент 301 перенаправления, а второй блик представляет собой блик, генерируемый, когда второй целевой подлуч, имеющий длину волны
, падает на компонент 301 перенаправления, то есть ранжирование первого блика во множестве бликов, включенных в первую область 501, и ранжирование второго блика во множестве бликов, включенных во вторую область 502, являются первыми. В другом примере, первый блик представляет собой блик, генерируемый, когда первый целевой подлуч, имеющий длину волны
, падает на компонент 301 перенаправления, а второй блик представляет собой блик, генерируемый, когда падает второй целевой подлуч 722, имеющий длину волны
на компонент 301 перенаправления, то есть ранжирование первого блика во множестве бликов, включенных в первую область 501, и ранжирование второго блика во множестве бликов, включенных во вторую область 502, являются N-ми. Конкретное значение N не ограничено в этом варианте осуществления при условии, что N равно положительному целому числу, большему или равному 1.
[00136] Для реализации перекрытия между первой областью 501 и второй областью 502 во втором направлении Y множество первых подлучей 712, выходящих из первой решетки 308, передаются в третью область второго фильтра 303, множество вторых подлучей -лучи 722, выходящие из второй решетки 309, передаются в четвертую область второго фильтра 303, и третья область и четвертая область перекрываются во втором направлении Y.
[00137] В частности, для реализации перекрытия между первым бликом и вторым бликом во втором направлении Y место, которое находится во втором фильтре 303 и в которое передается первый целевой подлуч, выходящий из первой решетки 308, и место, которое во втором фильтре 303 и на который передается второй целевой подлуч, выходящий из второй решетки 309, должны перекрываться во втором направлении Y (в плоскости YZ).
[00138] В другом примере для реализации частичного перекрытия между первой областью 501 и второй областью 502 во втором направлении Y третья область и четвертая область могут частично перекрываться. В частности, для реализации частичного перекрытия между первым бликом и вторым бликом во втором направлении Y, место, которое находится во втором фильтре 303 и в которое передается первый целевой подлуч, выходящий из первой решетки 308, и место, которое находится во втором фильтре 303 и на который передается второй целевой подлуч, выходящий из второй решетки 309, должны быть близки во втором направлении Y (в плоскости YZ). В этом варианте осуществления степень близости не ограничена при условии, что первый и второй блик частично перекрываются во втором направлении Y.
[00139] Для реализации перекрытия между местоположением, которое находится во втором фильтре 303 и в которое передается первый целевой подлуч, выходящий из первой решетки 308, и местоположением, которое находится во втором фильтре 303 и в которое выходит второй целевой подлуч передается от второй решетки 309, значение угла, под которым первый луч падает на первую решетку 308 в плоскости YZ, может регулироваться, чтобы регулировать значение угла, под которым появляется первый целевой подлуч. от первой решетки 308, тем самым регулируя положение, которое находится во втором фильтре 303 и в которое передается первый целевой подлуч. Для процесса настройки местоположения, которое находится во втором фильтре 303 и в которое передается второй целевой подлуч, обратитесь к описанию местоположения, которое находится во втором фильтре 303 и в которое передается первый целевой подлуч. передано. Детали не описаны. Можно понять, что положение, которое находится во втором фильтре 303 и в которое передается первый целевой подлуч, и местоположение, которое находится во втором фильтре 303 и в которое передается второй целевой подлуч, регулируются, для реализации перекрытия или частичного перекрытия между первым бликом и вторым бликом на компоненте 301 перенаправления.
[00140] Например, угол, под которым первый целевой подлуч выходит из первой решетки 308, можно регулировать с помощью следующей формулы 1:
Формула 1:
, где
α - угол, под которым первый луч падает на первую решетку 308 в плоскости YZ, β - угол, под которым первый целевой подлуч выходит из первой решетки 308,
- расстояние между двумя соседними линиями решетки в первой решетке 308, и
представляет собой порядок дифракции решетки и является константой.
[00141] Из формулы 1 можно понять, что, если первый целевой подлуч все еще используется в качестве примера, положение первой решетки 308 можно отрегулировать, чтобы отрегулировать значение угла падения α, с которым первый луч падает на первую решетку 308 в плоскости YZ, тем самым регулируя значение угла выхода β, с которым первый целевой подлуч выходит из первой решетки 308.
[00142] Процесс, в котором второй фильтр 303 передает первый целевой подлуч и второй целевой подлуч к компоненту 301 перенаправления, описан с использованием первого целевого подлуча и второго целевого подлуча в качестве примера:
[00143] Далее, обратимся к фиг. 9. Фиг. 9 является примерной схемой частичной структуры устройства оптической коммутации, показанного на фиг. 3. На фиг. 9, первый целевой подлуч 901 и второй целевой подлуч 902 падают на одно и то же место во втором фильтре 303, а именно на место 900, показанное на фиг. 9. Со ссылкой на фиг. 3 и фиг. 9, второй фильтр 303 должен передавать первый целевой подлуч 901 и второй целевой подлуч 902, которые перекрываются во втором направлении Y (в плоскости YZ) в компонент 301 перенаправления. В частности, для реализации передачи первого целевого подлуча 901 компоненту 301 перенаправления второй фильтр 303 должен передавать первый целевой подлуч 901 компоненту 301 перенаправления в виде отраженного света 903 (показан сплошной линией, выходящий из второго фильтра 303 и показанный на фиг. 9), и второй фильтр 303 дополнительно должен передавать второй целевой подлуч 902 компоненту 301 перенаправления в виде проходящего света 904 (показан пунктирной линией, выходит из второго фильтра 303 и показано на фиг. 9). Можно понять, что луч, принадлежащий первому диапазону, отражается от второго фильтра 303 как отраженный свет как в первый момент времени, когда луч падает на второй фильтр 303 (первый луч 710 падает на второй фильтр 303 ) и второй раз, когда луч падает на второй фильтр 303 (первый целевой подлуч 901 падает на второй фильтр 303). Кроме того, можно понять, что луч, принадлежащий второму диапазону, проходит через второй фильтр 303 как пропущенный свет как в первый момент времени, когда луч падает на второй фильтр 303 (второй луч 720 падает на второй фильтр 303) и второй момент времени, когда луч падает на второй фильтр 303 (второй целевой подлуч 902 падает на второй фильтр 303).
[00144] Далее описывается, как второй фильтр 303, показанный в этом варианте осуществления, эффективно обеспечивает то, что луч, принадлежащий первому диапазону, отражает свет в оба последовательных момента падения на второй фильтр 303.
[00145] Сначала описывается недостаток существующего тонкопленочного фильтра:
[00146] Для существующего тонкопленочного фильтра, когда луч, принадлежащий к одному и тому же диапазону, падает на тонкопленочный фильтр под разными углами падения два раза подряд, спектр фильтра сдвигается. Конкретное описание обеспечивается с помощью конкретной формулы 2:
Формула 2: 
[00147] Со ссылкой на фиг. 6,
представляет собой длину волны, при которой луч падает на тонкопленочный фильтр 303 в направлении, перпендикулярном тонкопленочному фильтру 303,
представляет собой эффективный показатель преломления среды, в которой находится луч до того, как он попадает на тонкопленочный фильтр 303, и
представляет собой эффективный показатель преломления тонкопленочного фильтра 303. Из формулы 2 можно понять, что, когда луч падает на тонкопленочный фильтр 303 под разными углами падения
два раза подряд в плоскости YZ, значение
длины волны луча изменяется. Из фиг. 7 видно, что длинам волн
разных лучей соответствуют разные вносимые потери фильтра, и, следовательно, спектр фильтра сбивается. Ниже приводится описание примера со ссылкой на конкретный пример:
[00148] Например, луч падает на тонкопленочный фильтр под углом падения
в первый раз, и в этом случае спектр тонкопленочного фильтра имеет форму спектра сплошной линии, показанную на фиг. 10; и луч падает на тонкопленочный фильтр под углом падения
во второй раз, и в этом случае спектр тонкопленочного фильтра имеет форму спектра, показанную на фиг. 10. Абсолютные значения
и
и не равны друг другу.
[00149] Поскольку спектр фильтра смещается (спектр фильтра смещается от формы спектра сплошной линии к форме спектра пунктирной линии), способ, которым тонкопленочный фильтр пропускает луч, изменяется. Например, луч имеет длину волны
и
принадлежит к первому диапазону. Когда луч
падает на тонкопленочный фильтр с
в первый раз, основываясь на спектре фильтра в виде сплошной линии
и вносимых потерях фильтра, соответствующих
, тонкопленочный фильтр может пропускать луч следующим образом: Тонкопленочный фильтр отражает луч
как отраженный свет.
[00150] Когда луч
падает на тонкопленочный фильтр во второй раз с
, на основании спектра фильтра, имеющего форму спектра, представленного пунктирной линией, и двух вносимых потерь фильтра, соответствующих
, тонкопленочный фильтр может пропускать луч следующим образом: Тонкопленочный фильтр отражает часть энергии луча
в виде отраженного света, а другой части энергии пропускает в виде проходящего света. Даже в другом примере способ передачи, используемый, когда луч, принадлежащий тому же диапазону, падает на тонкопленочный фильтр в первый раз, представляет собой отраженный свет, а способ передачи, используемый, когда луч падает на тонкопленочный фильтр, во второй раз - это проходящий свет. Можно понять, что когда спектр фильтра смещается, способ передачи луча изменяется, например, изменяется с направления передачи отраженного света на направление передачи проходящего света или изменяется с направления передачи проходящего света на направление передачи отраженного света.
[00151] Можно понять, что, если спектр второго фильтра 303, показанного в этом варианте осуществления, смещается, некоторые подлучи, выходящие из второго фильтра 303, не могут быть успешно переданы компоненту 301 перенаправления. Например, только когда весь первый целевой подлуч 901 используется как отраженный свет 903, можно гарантировать, что первый целевой подлуч 901 может быть успешно передан компоненту 301 перенаправления. Если способ передачи по меньшей мере части энергии первого целевого подлуча 901 изменяется на прохождение света, возникает недостаток, заключающийся в том, что по меньшей мере часть энергии первого целевого подлуча 901 не может быть передана. успешно передан компоненту 301 перенаправления, что приводит к увеличению вносимых потерь устройства оптической коммутации.
[00152] Чтобы эффективно гарантировать, что первые подлучи и вторые подлучи, выходящие из второго фильтра 303, могут быть успешно переданы в компонент 301 перенаправления, способы передачи, используемые в два последовательных момента времени, в которые луч, принадлежащий к одному и тому же диапазону, попадание на второй фильтр 303 должно быть согласованным. Например, если луч, принадлежащий первому диапазону, отражается как отраженный свет при попадании на второй фильтр 303 в первый раз, луч, принадлежащий первому диапазону, также отражается как отраженный свет при попадании на второй фильтр 303. во второй раз. Для реализации этой цели на основе местоположений, которые находятся во втором фильтре 303 и на которые падает луч, принадлежащий первому диапазону, два последовательных момента времени, второй фильтр 303, показанный в этом варианте осуществления, разделен на две области: первое отражение область и вторую область отражения. В приведенном выше примере первый луч 710 падает на первую область отражения второго фильтра 303 под углом падения
, а первый целевой подлуч 901 падает на вторую область отражения второго фильтра 303 под углом
падения. Описание
и
см. выше. Подробности повторно не приводятся.
[00153] В этом варианте осуществления посредством использования следующей формулы 3 гарантируется, что луч, принадлежащий первому диапазону, падает на второй фильтр 303 два раза с постоянными способами передачи:
Формула 3:
,где
[00154] Эффективный показатель преломления
первой области отражения отличается от эффективного показателя преломления
второй области отражения. При условии, что эффективные показатели преломления и углы падения первой области отражения и второй области отражения второго фильтра 303, показанные в этом варианте осуществления, удовлетворяют формуле 3, луч, принадлежащий первому диапазону, может отражаться от второго фильтра 303 как отраженный свет в два последовательных момента падения на второй фильтр 303, так что все первые подлучи первого луча 710 могут быть переданы на компонент 301 перенаправления.
[00155] Если второй фильтр 303, показанный в этом варианте осуществления, удовлетворяет приведенной выше формуле 3, когда луч, принадлежащий первому диапазону, падает на второй фильтр 303 два раза подряд, спектр второго фильтра 303 не смещается, так что разница между первыми вносимыми потерями, вызванными, когда первый целевой подлуч, включенный в первый луч 710, падает на второй фильтр 303 под углом падения
, и вторыми вносимыми потерями, вызванными, когда первый целевой подлуч 901 падает на второй фильтр 303 под углом падения
, меньше или равен третьему заданному значению. Первый целевой подлуч, включенный в первый луч 710, и первый целевой подлуч 901 имеют одинаковую длину волны. Третье заданное значение в этом варианте осуществления не ограничено при условии, что первое вносимое затухание равно или приблизительно равно второму вносимому затуханию. Можно понять, что, когда разница между первыми вносимыми потерями и вторыми вносимыми потерями меньше или равна третьему заданному значению, можно эффективно гарантировать, что спектр второго фильтра 303 не сдвинется.
[00156] Для конкретного описания того, как второй фильтр 303, показанный в этом варианте осуществления, эффективно гарантирует, что луч, принадлежащий второму диапазону, является проходящим светом в два последовательных момента времени падения на второй фильтр 303, обратитесь к предшествующему описанию обеспечения того, чтобы луч, принадлежащий первому диапазону, используется как отраженный свет в два последовательных момента падения на второй фильтр 303.
[00157] Далее описывается процесс, в котором множество первых подлучей, отраженных от второго фильтра 303, и множество вторых подлучей, проходящих через второй фильтр 303, передаются на компонент 301 перенаправления.
[00158] Кроме того, со ссылкой на фиг. 3 и фиг. 4, второй фильтр 303 пропускает множество первых подлучей (каждый из которых показан сплошной линией, выходящей из второго фильтра 303 и показанной на фиг. 3), и множество вторых подлучей (каждый из которых показан как пунктирная линия, идущая от второго фильтра 303 и показанная на ФИГ. 3), к пятой линзе 310. Пятая линза 310, показанная в этом варианте осуществления, сконфигурирована для изменения направления передачи множества первых подлучей и множества вторых подлучей, так что множество первых подлучей и множество вторых подлучей по отдельности передается на первый фильтр 311 в направлениях, параллельных оптической оси пятой линзы 310. Следует отметить, что в этом варианте осуществления приведено примерное описание с использованием примера, в котором множество первых подлучей и множество вторых подлучей передаются в направлениях, параллельных оптической оси пятой линзы 310. , и никаких ограничений не накладывается при условии, что множество первых подлучей и множество вторых подлучей могут быть успешно переданы на первый фильтр 311.
[00159] Из вышеприведенного описания второго фильтра 303 можно понять, что устройство оптической коммутации может обеспечивать, используя первую решетку 308, вторую решетку 309 и второй фильтр 303, первый целевой подлуч и второй целевой подлуч. -луча для перекрытия во втором направлении Y, тем самым гарантируя, что первый блик первого целевого подлуча и второй блик второго целевого подлуча перекрываются во втором направлении Y. Далее описывается процесс, в котором оптический устройство оптической коммутации, показанное в этом варианте осуществления, разделяет направления передачи множества первых подлучей и направления передачи множества вторых подлучей в первом направлении X, тем самым эффективно обеспечивая разделение первого блика и второго блика в первом направление Х.
[00160] Чтобы реализовать разделение между направлениями передачи множества первых подлучей и множества вторых подлучей в первом направлении X, устройство оптической коммутации, показанное в этом варианте осуществления, дополнительно включает в себя первый отражатель 312 и второй отражатель 313 (что показаны на фиг. 4). Первый фильтр 311 сконфигурирован для отражения множества первых подлучей 401, принадлежащих первому диапазону, к первому отражателю 312 в качестве отраженного света, а первый фильтр 311 дополнительно сконфигурирован для обеспечения возможности множеству вторых подлучей 402, принадлежащих второму диапазону, проходить через второй отражатель 313 в качестве проходящего света. Конкретные описания отраженного света и проходящего света см. в приведенном выше описании второго фильтра 303. Подробности повторно не приводятся.
[00161] Можно понять, что направления передачи множества первых подлучей 401, принадлежащих первому диапазону, и множества вторых подлучей 402, принадлежащих второму диапазону, могут быть разделены на разные направления передачи в плоскости XZ с использованием первого фильтра 311 для передачи соответственно на первый отражатель 312 и второй отражатель 313 в разные места.
[00162] Конкретные местоположения первого отражателя 312 и второго отражателя 313 не ограничены в этом варианте осуществления при условии, что первый отражатель 312 расположен на путях оптической передачи множества первых подлучей 401, то есть первый отражатель 312 расположен на оптических путях передачи, на которых множество первых подлучей 401 отражаются от первого фильтра 311 и передаются на компонент 301 перенаправления; и второй отражатель 313 расположен на путях оптической передачи множества вторых подлучей 402, проходящих через первый фильтр 311, то есть второй отражатель 313 расположен на путях оптической передачи, на которых множество вторых подлучей 402 проходят через первый фильтр 311 и передаются компоненту 301 перенаправления.
[00163] Для более ясного понимания ниже приведены описания со ссылкой на фиг. 4 и фиг. 11. Фиг. 11 представляет собой увеличенную примерную схему частичной конструкции устройства оптической коммутации, показанного на фиг. 4. Множество первых подлучей 403 (каждый показан сплошной линией, выходящей из первого отражателя 312), отраженных от первого отражателя 312, облучаются на первую область 501, показанную на фиг. 5. Следует отметить, что разные ссылочные позиции первого подлуча и разные ссылочные позиции второго подлуча в этом варианте осуществления используются только для указания посредством различения изменения пути передачи первого подлуча и изменение пути передачи второго подлуча. Множество вторых подлучей 404 (каждый из которых показан сплошной линией, выходящей из второго отражателя 313), отраженных от второго отражателя 313, облучаются во вторую область 502, показанную на фиг. 5. Можно понять, что первая область 501 и вторая область 502, которые показаны в этом варианте осуществления, разделены в первом направлении X и перекрываются или частично перекрываются во втором направлении Y, так что устройство оптической коммутации, показанное в этом варианте осуществления, может эффективно улучшить полосу пропускания фильтрации первого луча и второго луча.
[00164] Компонент 301 перенаправления выполнен с возможностью отклонения направлений передачи первых подлучей 403, и после отклонения направлений передачи первых подлучей 403 с помощью компонента 301 перенаправления первые подлучи 403 передаются в первый рефлектор 312 в виде перенаправленных первых подлучей 405 (каждый из которых показан пунктирной линией, выходящей из компонента 301 перенаправления). Компонент 301 перенаправления дополнительно выполнен с возможностью отклонения направлений передачи вторых подлучей 404, и после отклонения направлений передачи вторых подлучей 404 с помощью компонента 301 перенаправления вторые подлучи 404 передаются в второго рефлектора 313 в качестве перенаправленных вторых подлучей 406 (каждый из которых показан пунктирной линией, выходящей из компонента 301 перенаправления).
[00165] Можно понять, что первый отражатель 312, показанный в этом варианте осуществления, дополнительно расположен на путях оптической передачи первых подлучей 405, выходящих из компонента 301 перенаправления, а второй отражатель 313 дополнительно расположен на путях оптической передачи вторых подлучей 406, выходящих из компонента 301 перенаправления.
[00166] В плоскости XZ множество первых подлучей 405, полученных после того, как выполнено отклонение направления передачи с использованием компонента 301 перенаправления, могут выходить под одним углом выхода или могут выходить под множеством углов выхода. Детали этого варианта осуществления не описаны. Например, если множество первых подлучей 405 выводятся из устройства оптической коммутации по одному и тому же выходному порту (например, выходному порту 42), множество первых подлучей 405 может выходить из компонента 301 перенаправления под одним и тем же углом выхода, так что множество первых подлучей может быть передано в выходной порт 42 для вывода. Если множество первых подлучей 405 выводится через два выходных порта (например, выходной порт 42 и выходной порт 43), множество первых подлучей 405 может выходить из компонента 301 перенаправления с двумя разными выходными углами, так что некоторые из первых подлучей 405 выводятся из выходного порта 42, а некоторые из первых подлучей 405 выводятся из выходного порта 43. Для описания появления вторых подлучей 406 из компонента 301 перенаправления обратитесь к процессу, в котором первые подлучи 405 возникают из компонента 301 перенаправления. Детали не описаны.
[00167] Первый отражатель 312 сконфигурирован для отражения первых подлучей 405 от компонента 301 перенаправления к первому фильтру 311, то есть первый рефлектор 312 сконфигурирован для отражения первых подлучей 407 (каждый из которых показан пунктирной линией, выходящей из первый рефлектор 312) к первому фильтру 311. Второй отражатель 313 сконфигурирован для отражения вторых подлучей 406 от компонента 301 перенаправления к первому фильтру 311, то есть второй отражатель 313 сконфигурирован для отражения вторых подлучей 408 (каждый из которых показан пунктирной линией, выходящей из второй рефлектор 313) к первому фильтру 311.
[00168] В частности, первый рефлектор 312 сконфигурирован для передачи первого целевого подлуча в пятую область на первом фильтре 311, а второй рефлектор 313 сконфигурирован для передачи второго целевого подлуча в шестую область на первом фильтре 311. Из вышеприведенного описания можно понять, что первый целевой подлуч является одним из множества первых подлучей, а второй целевой подлуч является одним из множества вторых подлучей. В этом варианте осуществления для вывода первого целевого подлуча и второго целевого подлуча с использованием одного и того же порта (например, выходного порта 42) пятая область и шестая область должны полностью или частично перекрываться. Если первый целевой подлуч и второй целевой подлуч необходимо вывести с помощью разных выходных портов (например, выходного порта 42 и выходного порта 43), пятая и шестая области являются областями, которые не перекрывают друг друга.
[00169] В этом варианте осуществления для того, чтобы первый фильтр 311 успешно передал первые подлучи в выходной порт, первый подлуч (первый подлуч от пятой линзы 310), принадлежащий первому диапазону, должен отражаться как отраженный свет при первом падении на первый фильтр 311, и первый подлуч (первый подлуч 407 от первого отражателя 312) также должен отражаться как отраженный свет во второй раз при попадании на первый фильтр 311. Для того чтобы первый фильтр 311 успешно передал вторые подлучи в выходной порт, второй подлуч (второй подлуч от пятой линзы 310), принадлежащий второму диапазону, должен проходить как пропущенный свет в первый раз попадает на первый фильтр 311, и второй подлуч (второй подлуч 408 от второго отражателя 313) также должен проходить как пропущенный свет во второй раз, когда он падает на первый фильтр 311.
[00170] В этом варианте осуществления для конкретного процесса, в котором первый фильтр 311 эффективно обеспечивает то, что первый подлуч является отраженным светом в оба последовательных момента падения на первый фильтр 311, обратитесь к предыдущему процессу, показанному на фиг. 9, и в котором второй фильтр 303 эффективно обеспечивает отражение луча, принадлежащего первому диапазону, в два последовательных момента падения на второй фильтр 303. Детали не описаны. Для конкретного процесса, в котором первый фильтр 311 эффективно обеспечивает, чтобы второй подлуч был проходящим светом в оба последовательных момента падения на первый фильтр 311, обратитесь к вышеизложенному процессу, который показан на фиг. 9, и в котором второй фильтр 303 эффективно обеспечивает то, что луч, принадлежащий второму диапазону, является проходящим светом в оба последовательных момента падения на второй фильтр 303. Детали не описаны.
[00171] Далее описывается процесс, в котором первые подлучи и вторые подлучи, выходящие из первого фильтра 311, передаются в выходной порт.
[00172] Пятая линза 310 выполнена с возможностью раздельной передачи первых подлучей 409 и вторых подлучей 410 на второй фильтр 303, а второй фильтр 303 выполнен с возможностью отражения первых подлучей 409 на первую решетку 308 на основе первого диапазон, которому принадлежат первые подлучи 409. Второй фильтр 303 дополнительно сконфигурирован для обеспечения возможности, на основе второго диапазона, которому принадлежат вторые подлучи 410, вторым подлучам 410 достигать второй решетки 309 путем прохождения. Для процесса отражения и процесса прохождения см. процессы, показанные на фиг. 6 и фиг. 7. Подробности повторно не приводятся.
[00173] Как показано на фиг. 3, первая решетка 308 сконфигурирована для объединения множества первых подлучей 409 в третий луч 411 (показан сплошной линией, выходящей из первой решетки 308), а вторая решетка 309 сконфигурирована для объединения множества вторых подлучей 410 в четвертый луч 412 (показан пунктирной линией, выходящей из второй решетки 309).
[00174] Второй фильтр 303 сконфигурирован для отражения третьего луча 411 как отраженного света на основе первого диапазона, к которому принадлежит третий луч 411, так что как способ, которым второй фильтр 303 передает первые подлучи, так и способ, которым второй фильтр 303 пропускает третий луч 411 в отраженном свете, тем самым эффективно гарантируя, что первые подлучи могут быть успешно переданы на первую решетку 308, и дополнительно эффективно гарантируя, что третий луч 411 может быть успешно передан на четвертую линзу 307. Второй фильтр 303 выполнен с возможностью прохождения четвертого луча 412 в качестве проходящего света на основе второго диапазона, к которому принадлежит четвертый луч 412, так что как способ, которым второй фильтр 303 передает вторые подлучи, так и способ, которым второй фильтр 303 передает четвертый луч 412 в виде проходящего света, тем самым эффективно гарантируя, что вторые подлучи могут быть успешно переданы на вторую решетку 309, и дополнительно эффективно гарантируя, что четвертый луч 412 может быть успешно передается на четвертую линзу 307.
[00175] Третий луч 411 и четвертый луч 412 последовательно проходят через четвертую линзу 307, третью линзу 306, вторую линзу 305 и первую линзу 304 для регулировки путей оптической передачи третьего луча 411 и четвертого луча 412, так что третий луч 411 передается в соответствующий выходной порт 42 для вывода, а четвертый луч 412 передается в соответствующий выходной порт 43 для вывода. Следует отметить, что конкретные порты вывода, с помощью которых выводятся третий луч 411 и четвертый луч 412, в этом варианте осуществления не ограничены. Например, третий луч 411 и четвертый луч 412 могут выводиться из устройства оптической коммутации с использованием одного и того же выходного порта. В другом примере третий луч 411 и четвертый луч 412 могут выводиться из устройства оптической коммутации с использованием разных выходных портов.
[00176] В этом варианте осуществления, в примере, в котором третий луч 411 выводится с использованием выходного порта 42, а четвертый луч 412 выводится с использованием выходного порта 43, четвертая линза 307, третья линза 306, вторая линза 305, и первая линза 304 может передавать третий луч 411 на вторую коллимационную линзу 314, соединенную с выходным портом 42. Третий луч 411 выводится с помощью выходного порта 42 после коллимации второй коллимационной линзой 314. Четвертая линза 307, третья линза 306, вторая линза 305 и первая линза 304 могут дополнительно передавать четвертый луч 412 на третью коллимационную линзу 315, соединенную с выходным портом 43. Второй луч 412 выводится с помощью выходного порта 43 после коллимации третьей коллимационной линзой 315.
[00177] Положительные эффекты использования устройства оптической коммутации, показанного в этом варианте осуществления, следующие: В устройстве оптической коммутации, показанном в этом варианте осуществления, нет необходимости размещать оптический компонент (такой как AWG) для выполнения мультиплексирования и демультиплексирования входного луча, тем самым эффективно снижая вносимые потери, вызванные добавлением оптического компонента (такого как AWG). Кроме того, перекрытие или частичное перекрытие между первой областью и второй областью во втором направлении Y реализуется с использованием второго фильтра, а разделение между первой областью и второй областью в первом направлении X реализуется с использованием первого фильтра, тем самым эффективно улучшая полосу пропускания фильтрации устройства оптической коммутации.
[00178] Если первый фильтр и второй фильтр, показанные в этом варианте осуществления, являются тонкопленочными фильтрами, то используется один и тот же способ передачи, когда луч, принадлежащий одному и тому же диапазону, проходит через тонкопленочный фильтр два раза подряд, например, луч отражается как отраженный свет два раза подряд, или луч проходит как пропущенный свет два раза подряд, тем самым эффективно уменьшая повреждение фильтрации.
Вариант 2 осуществления
[00179] В варианте осуществления 1 первый луч и второй луч вводятся в устройство оптической коммутации с использованием одного и того же входного порта. В этом варианте осуществления приведено примерное описание с использованием примера, в котором первый луч и второй луч вводятся в устройство оптической коммутации с использованием разных входных портов.
[00180] Структуру устройства оптической коммутации, показанную в этом варианте осуществления, см. на фиг. 12 и фиг. 13. Фиг. 12 является примерной схемой структуры устройства оптической коммутации во втором направлении, а фиг. 13 является примерной схемой структуры устройства оптической коммутации в первом направлении. Описание первого направления X, второго направления Y и третьего направления Z см. в Варианте осуществления 1. Подробности повторно не приводятся.
[00181] Устройство оптической коммутации, показанное в этом варианте осуществления, включает в себя первый входной порт 1201 и второй входной порт 1202. Из рисунка видно, что положения первого входного порта 1201 и второго входного порта 1202 различны во втором направлении Y. В частности, местоположения первого входного порта 1201 и второго входного порта 1202 в плоскости YZ разделены и расположены параллельно, и положения первого входного порта 1201 и второго входного порта 1202 в плоскости XZ перекрываются. Следует отметить, что описание местоположений первого порта 1201 ввода и второго порта 1202 ввода в плоскости XZ в этом варианте осуществления является просто примером. Например, в другом примере местоположения первого порта 1201 ввода и второго порта 1202 ввода в плоскости XZ могут быть разделены. Первый входной порт 1201, показанный в этом варианте осуществления, сконфигурирован для ввода первого луча, а второй входной порт 1202 сконфигурирован для ввода второго луча. Конкретные описания первой балки и второй балки см. в Варианте осуществления 1. Подробности повторно не приводятся.
[00182] Далее описывается процесс, в котором устройство оптической коммутации, показанное в этом варианте осуществления, отклоняет направления передачи первого луча и второго луча.
[00183] Необязательно, вход первого луча с использованием первого входного порта 1201 передается на четвертую коллимационную линзу 1203, первый входной порт 1201 расположен в переднем фокусе четвертой коллимационной линзы 1203, а четвертая коллимационная линза 1203 выполнена с возможностью коллимации первого луча из первого входного порта 1201. Второй луч, вводимый с помощью второго входного порта 1202, передается на пятую коллимационную линзу 1204, второй входной порт 1202 расположен в переднем фокусе пятой коллимационной линзы 1204, а пятая коллимационная линза 1204 сконфигурирована для коллимации второго луча из второго входного порта 1202.
[00184] В этом варианте осуществления первый линзовый компонент дополнительно расположен между четвертой коллимационной линзой 1203 и пятой коллимационной линзой 1204 и вторым фильтром 303. В этом варианте осуществления количество линз, включенных в первый линзовый компонент, не ограничено при условии, что первый линзовый компонент может передавать первый луч от четвертой коллимационной линзы 1203 и второй луч от пятой коллимационной линзы 1204 ко второму фильтру 303. Конкретное описание второго фильтра 303 см. в варианте осуществления 1. Подробности повторно не приводятся.
[00185] В этом варианте осуществления приведено примерное описание с использованием примера, в котором первый линзовый компонент включает в себя пятую линзу 1205 и шестую линзу 1206. Следует отметить, что описание первого линзового компонента в этом варианте осуществления является необязательным примером. Например, линзы, включенные в первый линзовый компонент, могут быть альтернативно показаны в Варианте осуществления 1.
[00186] Ниже приведен пример описания расположения линз (пятой линзы 1205 и шестой линзы 1206), включенных в первый линзовый компонент.
[00187] Задний фокус четвертой коллимационной линзы 1203 расположен на плоскости передней фокусировки пятой линзы 1205, а плоскость передней фокусировки пятой линзы 1205 представляет собой плоскость XY, которая включает в себя передний фокус пятой линзы 1205. Задний фокус пятой коллимационной линзы 1204 также расположен на передней плоскости фокусировки пятой линзы 1205. То есть в плоскости YZ расстояние между четвертой коллимационной линзой 1203 и пятой линзой 1205 равно сумме фокусного расстояния четвертой коллимационной линзы 1203 и фокусного расстояния пятой линзы 1205, а расстояние между пятой коллимационной линзой 1204 и пятой линзой 1205 равно сумме фокусного расстояния пятой коллимационной линзы 1204 и фокусного расстояния пятой линзы 1205. По аналогии задний фокус пятой линзы 1205 и передний фокус шестой линзы 1206 перекрываются. Второй фильтр 303 расположен между шестой линзой 1206 и дисперсионным компонентом (первой решеткой 308 и второй решеткой 309). Конкретное описание дисперсионного компонента см. в Варианте осуществления 1. Подробности повторно не приводятся.
[00188] Второй линзовый компонент расположен между вторым фильтром 303 и компонентом 301 перенаправления. Количество линз, включенных во второй линзовый компонент, и функции линз в этом варианте осуществления не ограничены. Например, второй линзовый компонент, показанный в этом варианте осуществления, включает в себя седьмую линзу 1207. Седьмая линза 1207 расположена между вторым фильтром 303 и компонентом 301 перенаправления. Подробное описание расположения седьмой линзы 1207 см. в описании пятой линзы 310, показанной в предыдущем варианте осуществления. Подробности повторно не приводятся.
[00189] В этом варианте осуществления первый луч 1208 (показан сплошной линией, выходящей из четвертой коллимационной линзы 1203 и показанный на фиг. 12), полученный после выполнения коллимации с использованием четвертой коллимационной линзы 1203, передается на второй фильтр 303, последовательно проходя через пятую линзу 1205 и шестую линзу 1206, и второй луч 1209 (показанный пунктирной линией, выходящей из пятой коллимационной линзы 1204 и показанной на фиг. 12), полученный после выполнения коллимации с помощью с помощью пятой коллимационной линзы 1204 передается на второй фильтр 303 путем последовательного прохождения через пятую линзу 1205 и шестую линзу 1206. В этом варианте осуществления приведено примерное описание с использованием примера, в котором шестая линза 1206 передает первый луч 1208 и второй луч 1209 в разные местоположения второго фильтра 303 вдоль плоскости YZ. Конкретное первое местоположение, которое находится во втором фильтре 303 и в которое передается первый луч 1208 в плоскости YZ, и конкретное второе местоположение, которое находится во втором фильтре 303 и в которое передается второй луч 1209 в плоскости YZ, являются не ограничивается этим вариантом осуществления, при условии, что первое местоположение и второе местоположение являются разными местоположениями во втором фильтре 303.
[00190] Как показано на фиг. 12, второй фильтр 303, показанный в этом варианте осуществления, выполнен с возможностью: соответственно изменять направления передачи первого луча 1208 и второго луча 1209 на основе диапазонов, которым принадлежат первый луч 1208 и второй луч 1209, и соответственно передавать первый луч 1208 и второго луча 1209 к первой решетке 308 и второй решетке 309 в разные места. Второй фильтр 303 дополнительно сконфигурирован для пропуска множества первых подлучей 1210 от первой решетки 308 к седьмой линзе 1207 в отраженном свете, а второй фильтр 303 дополнительно выполнен с возможностью пропускания множества вторых подлучей 1211 от второй решетки 309 к седьмой линзе 1207 в режиме светопропускания. Описание конкретного процесса см. в Варианте осуществления 1. Подробности повторно не приводятся.
[00191] Седьмая линза 1207 выполнена с возможностью раздельной передачи множества первых подлучей 1210 и множества вторых подлучей 1211 на первый фильтр 311 в направлениях, параллельных оптической оси седьмой линзы 1207. Как показано на фиг. 13, первый фильтр 311, первый отражатель 312 и второй отражатель 313 совместно сконфигурированы для создания бликов множества первых подлучей 1210 в первой области 501 компонента 301 перенаправления, и дополнительно сконфигурированы для позволяют генерировать блики множества вторых подлучей 1211 во второй области 502 компонента 301 перенаправления. Описание конкретного процесса см. в Варианте осуществления 1. Подробности повторно не приводятся.
[00192] Для конкретного описания процесса, в котором первые подлучи 1212 и вторые подлучи 1213, которые получены после того, как перенаправление выполнено с использованием компонента 301 перенаправления, передаются в выходной порт в этом варианте осуществления, обратитесь к тому, что показано в варианте осуществления 1. Подробности повторно не приводятся.
[00193] Поскольку первый луч 1208 и второй луч 1209, которые показаны в этом варианте осуществления, соответственно вводятся в устройство оптической коммутации с использованием независимых первого входного порта 1201 и второго входного порта 1202, фильтр, который соединен с входными портами и который является сконфигурирован для выполнения мультиплексирования на первом луче 1208, а второй луч 1209 должен быть расположен в устройстве оптической коммутации, показанном в этом варианте осуществления. По сравнению с вариантом осуществления 1 можно понять, что в варианте осуществления 1, поскольку первый луч и второй луч необходимо вводить в устройство оптической коммутации с использованием одного и того же входного порта, фильтр, соединенный с входным портом, должен быть расположен, и фильтр сконфигурирован для выполнения мультиплексирования первого луча и второго луча, которые передаются с использованием двух разных оптических волокон, так что входной порт, показанный в варианте осуществления 1, может одновременно вводить первый и второй луч в устройство оптической коммутации. Можно понять, что по сравнению с вариантом осуществления 1 количество оптических компонентов уменьшено в варианте осуществления 2, тем самым уменьшая вносимые потери.
Вариант 3 осуществления
[00194] В Варианте осуществления 1 и Варианте осуществления 2 по меньшей мере частичное перекрытие областей между первой областью 501 и второй областью 502 во втором направлении Y реализуется путем размещения второго фильтра 303, первой решетки 308 и второй решетки 309. В этом варианте осуществления по меньшей мере частичное перекрытие областей между первой областью 501 и второй областью 502 во втором направлении Y может быть реализовано без необходимости размещения второго фильтра 303. Подробности таковы:
[00195] Как показано на фиг. 14 и фиг. 15, по сравнению с Вариантом 1 и Вариантом 2 дисперсионный компонент, показанный в этом варианте, включает только одну решетку 1400. Фиг. 14 является примерной схемой структуры устройства оптической коммутации во втором направлении, а фиг. 15 является примерной схемой структуры устройства оптической коммутации в первом направлении.
[00196] Устройство оптической коммутации, показанное в этом варианте осуществления, включает в себя первый входной порт 1401 и второй входной порт 1402. Для конкретных описаний первого входного порта 1401, сконфигурированного для ввода первого луча, и второго входного порта 1402, сконфигурированного для ввода второго луча, см. описания, показанные в Варианте осуществления 2. Подробности повторно не приводятся.
[00197] Необязательно, первый луч, вводимый с использованием первого входного порта 1401, передается на четвертую коллимационную линзу 1403, а второй луч, вводимый с использованием второго входного порта 1402, передается на пятую коллимационную линзу 1404. Конкретные описания четвертой коллимационной линзы 1403 и пятой коллимационной линзы 1404 см. в Варианте осуществления 2. Подробности повторно не приводятся.
[00198] Устройство оптической коммутации дополнительно включает в себя первый линзовый компонент. В этом варианте осуществления первый линзовый компонент включает в себя первую линзу 304, вторую линзу 305, третью линзу 306 и четвертую линзу 307. Следует отметить, что используется пример, в котором первый линзовый компонент, показанный в Варианте осуществления 3, включает в себя те же линзы, что и показанный в Варианте осуществления 1. Количество линз, включенных в первый линзовый компонент, и функции линз в этом варианте осуществления не ограничены. В другом примере первый линзовый компонент, показанный в Варианте осуществления 3, может альтернативно включать в себя те же линзы, что и в Варианте осуществления 2.
[00199] Конкретные описания конкретных мест и функций первой линзы 304, второй линзы 305 и третьей линзы 306 см. в Варианте осуществления 1. Подробности повторно не приводятся.
[00200] По сравнению с вариантом осуществления 1 отличие заключается в том, что решетка 1400, показанная в этом варианте осуществления, расположена в месте, в котором задний фокус четвертой линзы 307 пересекается с передним фокусом пятой линзы 310, включенной во второй линзовый компонент. Конкретное описание второго линзового компонента см. в Варианте осуществления 1. Подробности повторно не приводятся.
[00201] В этом варианте осуществления первый луч 1405, вводимый с помощью первого входного порта 1401, передается на решетку 1400 путем последовательного прохождения через четвертую коллимационную линзу 1403, первую линзу 304, вторую линзу 305, третью линзу 306 и четвертую линзу 307, а второй луч 1406, вводимый с помощью второго входного порта 1402, передается на решетку 1400 путем последовательного прохождения через пятую коллимационную линзу 1404, первую линзу 304, вторую линзу 305, третью линзу 306 и четвертую линзу 307. Для описания конкретного процесса передачи обратитесь к тому, что показано в Варианте осуществления 1. Подробности повторно не приводятся.
[00202] В этом варианте осуществления в плоскости YZ четвертая линза 307 выполнена с возможностью пропускания первого луча 1405 и второго луча 1406 в одни и те же или подобные места на решетке 1400. В этом варианте осуществления в плоскости YZ, только когда первый луч 1405 и второй луч 1406 передаются в одни и те же или подобные места на решетке 1400, по меньшей мере частичное перекрытие областей между первыми и вторыми бликами во втором направлении Y может быть эффективно обеспечено. Конкретные описания первого блика и второго блики см. в Варианте осуществления 1. Подробности повторно не приводятся.
[00203] В этом варианте осуществления дифракционная эффективность первого луча 1405 может быть улучшена путем регулировки значения первого угла падения. Первый угол падения представляет собой угол, под которым первый луч 1405 падает на решетку 1400 в плоскости YZ. Дифракционная эффективность второго луча 1406 может быть дополнительно улучшена за счет регулировки значения второго угла падения. Второй угол падения представляет собой угол, под которым второй луч 1406 падает на решетку 1400 в плоскости YZ. Ниже описаны значения первого угла падения и второго угла падения.
[00204] Значения первого угла падения и второго угла падения, которые показаны в этом варианте осуществления, не равны, то есть разница между абсолютным значением первого угла падения и абсолютным значением второго угла падения не равна нулю. Разница между первым углом падения и первым углом блеска меньше или равна первому заданному значению. Конкретное первое заданное значение в этом варианте осуществления не ограничено при условии, что первый угол падения равен или приблизительно равен первому углу блеска. В этом варианте осуществления приведено примерное описание с использованием примера, в котором первое заданное значение равно 5.
[00205] Первый угол блеска соответствует диапазону, которому принадлежит первый луч. Можно понять, что в этом варианте осуществления, при условии, что указан диапазон, которому принадлежит первый луч 1405, можно определить угол блеска, соответствующий диапазону. В этом варианте осуществления, например, угол блеска, соответствующий лучу, принадлежащему диапазону С, является первым углом блеска. Когда первый луч 1405 падает на решетку 1400 под первым углом блеска или под углом (первый угол падения), приблизительно равным первому углу блеска, решетка 1400 имеет относительно хорошую дифракционную эффективность. Можно понять, что, когда первый луч 1405 падает на решетку 1400 под первым углом падения, эффективность дифракции первого луча 1405 от решетки 1400 может быть значительно улучшена.
[00206] Разница между вторым углом падения и вторым углом блеска, которые показаны в этом варианте осуществления, меньше или равна вышеупомянутому первому заданному значению. Второй угол блеска соответствует диапазону, которому принадлежит второй луч 1406. Можно понять, что в этом варианте осуществления, при условии, что диапазон L, которому принадлежит второй луч 1406, указан, можно определить угол блеска, соответствующий диапазону L. В частности, когда второй луч 1406 падает на решетку 1400 под вторым углом блеска или под углом (второй угол падения), приблизительно равным второму углу блеска, решетка 1400 имеет относительно хорошую дифракционную эффективность. Можно понять, что, когда второй луч 1406 падает на решетку 1400 под вторым углом падения, эффективность дифракции второго луча 1406 от решетки 1400 может быть значительно улучшена.
[00207] Чтобы гарантировать, что первый луч 1405 падает на решетку 1400 под первым углом падения, а второй луч 1406 падает на решетку 1400 под вторым углом падения, значения первого угла падения и второго угла падения могут быть скорректированы. следующим образом, так что первый угол падения равен или приблизительно равен первому углу блеска, а второй угол падения равен или приблизительно равен второму углу блеска.
[00208] Что касается первого угла падения, значение первого угла падения можно регулировать путем регулировки расстояния между первым входным портом 1401 и оптической осью линз (304, 305 и 306), расположенных между входным портом и решетку 1400 в плоскости YZ до тех пор, пока разница между первым углом падения и первым углом блеска не станет меньше или равна первому заданному значению. Подробное описание способа регулировки второго угла падения см. в описании способа регулировки первого угла падения. Детали не описаны.
[00209] Решетка 1400, показанная в этом варианте осуществления, выполнена с возможностью разложения первого луча 1405 на множество первых подлучей 1407 (каждый из которых показан сплошной линией, выходящей из решетки 1400 и показанной на фиг. 14), и Решетка 1400 дополнительно выполнена с возможностью разложения второго луча 1406 на множество вторых подлучей 1408 (каждый из которых показан пунктирной линией, выходящей из решетки 1400 и показанной на фиг. 14). Конкретные описания первых подлучей 1407 и вторых подлучей 1408 см. в Варианте осуществления 1. Подробности повторно не приводятся.
[00210] Решетка 1400 выполнена с возможностью передачи множества первых подлучей 1407 и множества вторых подлучей 1408 на первый фильтр 311 с использованием пятой линзы 310. Первый фильтр 311, первый отражатель 312 и второй отражатель 313 совместно сконфигурированы так, чтобы создавать блики множества первых подлучей 1407 в первой области 501 компонента 301 перенаправления, и дополнительно сконфигурированы для обеспечения бликов множества вторых подлучей 1408, которые должны генерироваться во второй области 502 компонента 301 перенаправления. Описание конкретного процесса см. в Варианте осуществления 1. Подробности повторно не приводятся.
[00211] Множество первых подлучей и множество вторых подлучей, выходящих из первого фильтра 311, передаются на решетку 1400. Решетка 1400 сконфигурирована для объединения множества первых подлучей во второй луч, а решетка 1400 дополнительно сконфигурирована для объединения множества вторых подлучей в третий луч. Для описания процесса, в котором второй луч и третий луч выводятся с использованием порта вывода, обратитесь к тому, что показано в варианте осуществления 1. Подробности повторно не приводятся.
[00212] Согласно устройству оптической коммутации, показанному в этом варианте осуществления, в этом варианте осуществления показана одна решетка 1400. По сравнению со структурой двух решеток и второго фильтра в Варианте осуществления 1 и Варианте осуществления 2 количество оптических компонентов уменьшено, тем самым уменьшая вносимые потери в процессе отклонения направлений передачи первого луча и второго луча.
Вариант 4 осуществления
[00213] В вариантах осуществления 1-3, когда первый луч и второй луч вводятся в устройство оптической коммутации, первый луч и второй луч сначала регулируются во втором направлении, то есть первый луч и второй луч регулируются во втором направлении, так что первые блики, генерируемые первым лучом на компоненте перенаправления, и вторые блики, генерируемые вторым лучом на компоненте перенаправления, перекрываются или частично перекрываются во втором направлении Y. Конкретные описания см. в вариантах осуществления 1 - вариантах осуществления 3. После того, как юстировка по первому лучу и второму лучу во втором направлении завершена, выполняется юстировка в первом направлении, так что места расположения первых и вторых бликов разнесены в первом направлении X.
[00214] В этом варианте осуществления первый луч и второй луч сначала регулируются в первом направлении X, а затем первый луч и второй луч регулируются во втором направлении Y. Конкретный процесс выглядит следующим образом:
[00215] В этом варианте осуществления см. фиг. 16 и фиг. 17. Фиг. 16 является примерной схемой структуры устройства оптической коммутации во втором направлении, а фиг. 17 является примерной схемой структуры устройства оптической коммутации в первом направлении.
[00216] В этом варианте осуществления устройство оптической коммутации включает в себя входной порт 41, сконфигурированный для ввода первого луча и второго луча. Конкретные описания первого луча, второго луча и входного порта 41 см. в Варианте осуществления 1. Подробности повторно не приводятся. Следует отметить, что в этом варианте осуществления приведено примерное описание с использованием примера, в котором первый луч и второй луч вводятся в устройство оптической коммутации с использованием одного и того же входного порта 41. В другом примере первый луч и второй луч могут альтернативно вводиться в устройство оптической коммутации с использованием разных входных портов, как показано в варианте осуществления 2. Подробности повторно не приводятся.
[00217] При необходимости устройство оптической коммутации дополнительно включает в себя первую коллимационную линзу 302, соединенную с входным портом 41. Конкретное описание первой коллимационной линзы 302 см. в Варианте осуществления 1. Подробности повторно не приводятся.
[00218] Первый луч и второй луч, полученные после выполнения коллимации с использованием первой коллимационной линзы 302, передаются на третий фильтр 1601. То есть устройство оптической коммутации, показанное в этом варианте осуществления, дополнительно включает в себя третий фильтр 1601, и третий фильтр 1601 расположен в заднем фокусе первой коллимационной линзы 302, то есть в плоскости XZ на расстоянии между первой коллимационной линзой линза 302 и третий фильтр 1601 равны фокусному расстоянию коллимационной линзы 302. Третий фильтр 1601, показанный в этом варианте осуществления, может быть тонкопленочным фильтром. Подробное описание тонкопленочного фильтра см. в Варианте осуществления 1. Подробности повторно не приводятся.
[00219] В частности, после приема первого луча и второго луча третий фильтр 1601, показанный в этом варианте осуществления, может разделять направления передачи первого луча и второго луча на разные направления передачи в первом направлении на основе диапазона, которому принадлежит первый луч. и диапазон, которому принадлежит второй луч. В частности, разделение между направлениями передачи первого луча и второго луча в первом направлении в этом варианте осуществления конкретно указывает, что направления передачи первого луча и второго луча разделены на разные направления передачи в плоскости XZ.
[00220] Как показано на фиг. 17, когда третий фильтр 1601 представляет собой тонкопленочный фильтр, как можно понять из описания принципа действия тонкопленочного фильтра в Варианте осуществления 1, третий фильтр 1601 может передавать первый луч 1602 и второй луч 1603 в различных режимах передачи, чтобы реализовать разделение между направлениями передачи в плоскости XZ.
[00221] Устройство оптической коммутации, показанное в этом варианте осуществления, дополнительно включает в себя первый линзовый компонент. Первый линзовый компонент, показанный в этом варианте осуществления, включает в себя первую линзу 304, вторую линзу 305, третью линзу 306 и четвертую линзу 307. Конкретное описание первого линзового компонента см. в Варианте осуществления 1. Подробности повторно не приводятся. Третий фильтр 1601, показанный в этом варианте осуществления, расположен в переднем фокусе второй линзы 305.
[00222] Четвертая линза 307 предназначена для передачи первого луча 1602 и второго луча 1603 на второй фильтр 303. Второй фильтр 303 выполнен с возможностью: соответственно изменять направления передачи первого луча 1602 и второго луча 1603 на основе диапазонов, которым принадлежат первый луч 1602 и второй луч 1603, и соответственно передавать первый луч 1602 и второй луч 1603 к первой решетке 308 и второй решетке 309 в разные места. Второй фильтр 303 дополнительно сконфигурирован для передачи множества первых подлучей 1604 (каждый из которых показан сплошной линией, выходящей из первой решетки 308) от первой решетки 308 к пятой линзе 310 в отраженном свете, и второй фильтр 303 дополнительно сконфигурирован для передачи множества вторых подлучей 1605 (каждый из которых показан пунктирной линией, выходящей из второй решетки 309) от второй решетки 309 к пятой линзе 310 в режиме пропускания света. Конкретные описания конкретного процесса и пятой линзы 310 см. в Варианте осуществления 1. Подробности повторно не приводятся.
[00223] Пятая линза 310 сконфигурирована для отдельной передачи множества первых подлучей 1606 (каждый показан сплошной линией, выходящей из пятой линзы 310) и множества вторых подлучей 1607 (каждый показан пунктирной линией, выходящей из пятой линзы 310). пятая линза 310) к компоненту 301 перенаправления в направлениях, параллельных оптической оси пятой линзы 310. Блики множества первых подлучей 1606 генерируются в первой области 501 компонента 301 перенаправления, а блики множества вторых подлучей 1607 генерируются во второй области 502 компонента 301 перенаправления. Описание конкретного процесса см. в Варианте осуществления 1. Подробности повторно не приводятся.
[00224] Для конкретного описания процесса, в котором перенаправленные первые подлучи и вторые подлучи, возникающие из компонента 301 перенаправления, передаются в выходной порт в этом варианте осуществления, обратитесь к тому, что показано в варианте осуществления 1. Подробности повторно не приводятся.
[00225] Конкретные описания положительных эффектов в этом варианте осуществления см. в вариантах осуществления 1. Подробности повторно не приводятся.
Вариант 5 осуществления
[00226] В варианте осуществления 4 по меньшей мере частичное перекрытие областей между первыми бликами и вторыми бликами во втором направлении Y реализуется путем размещения второго фильтра 303, первой решетки 308 и второй решетки 309. В этом варианте осуществления по меньшей мере частичное перекрытие площадей между первыми и вторыми бликами во втором направлении Y может быть реализовано без необходимости размещения второго фильтра 303. Подробности таковы:
[00227] Фиг. 18 является примерной схемой структуры устройства оптической коммутации во втором направлении, а фиг. 19 является примерной схемой структуры устройства оптической коммутации в первом направлении. По сравнению с Вариантом 4 дисперсионный компонент, показанный в этом варианте, включает только одну решетку 1800.
[00228] Устройство оптической коммутации, показанное в этом варианте осуществления, включает в себя первый входной порт 1401 и второй входной порт 1402. Для конкретных описаний первого входного порта 1401, сконфигурированного для ввода первого луча, и второго входного порта 1402, сконфигурированного для ввода второго луча, см. описания, показанные в Варианте осуществления 3. Подробности повторно не приводятся.
[00229] Необязательно, первый луч, вводимый с использованием первого входного порта 1401, передается на четвертую коллимационную линзу 1403, а второй луч, вводимый с использованием второго входного порта 1402, передается на пятую коллимационную линзу 1404. Конкретные описания четвертой коллимационной линзы 1403 и пятой коллимационной линзы 1404 см. в Варианте осуществления 3. Подробности повторно не приводятся.
[00230] Устройство оптической коммутации, показанное в этом варианте осуществления, дополнительно включает в себя третий фильтр 1801. Третий фильтр 1801 расположен на задних фокальных плоскостях четвертой коллимационной линзы 1403 и пятой коллимационной линзы 1404. Третий фильтр 1801 сконфигурирован для разделения направлений передачи первого луча и второго луча на разные направления передачи в первом направлении на основании диапазона, которому принадлежит первый луч, и диапазона, которому принадлежит второй луч. Конкретное описание см. в варианте осуществления 4. Подробности повторно не приводятся.
[00231] Устройство оптической коммутации, показанное в этом варианте осуществления, дополнительно включает в себя первый линзовый компонент. Первый линзовый компонент, показанный в этом варианте осуществления, включает в себя первую линзу 304, вторую линзу 305, третью линзу 306 и четвертую линзу 307. Конкретное описание первого линзового компонента см. в Варианте осуществления 1. Подробности повторно не приводятся. Решетка 1800, показанная в этом варианте осуществления, расположена в месте, в котором задний фокус четвертой линзы 307 пересекается с передним фокусом пятой линзы 310. Конкретные описания решетки 1800 и пятой линзы 310 см. в Варианте осуществления 4. Подробности повторно не приводятся.
[00232] Можно понять, что в этом варианте осуществления первый луч 1802 (сплошная линия, которая передается первым входным портом 1401 на решетку 1800 и которая показана на фиг. 18), вводимый первым входным портом 1401, передается в решетку 1800 путем последовательного прохождения через четвертую коллимационную линзу 1403, третий фильтр 1801, первую линзу 304, вторую линзу 305, третью линзу 306 и четвертую линзу 307, и второй луч 1803 (пунктирная линия, проходящая через второй входной порт 1402 на решетку 1800, что показано на фиг.18), входной сигнал через второй входной порт 1402 передается на решетку 1800 после последовательного прохождения через пятую коллимационную линзу 1404, третий фильтр 1801, первую линзу 304, вторую линзу 305, третью линзу 306 и четвертую линзу 307. Для описания конкретного процесса передачи обратитесь к тому, что показано в варианте осуществления 3. Подробности повторно не приводятся.
[00233] В этом варианте осуществления в плоскости YZ четвертая линза 307 выполнена с возможностью пропускания первого луча 1802 и второго луча 1803 в те же или подобные места на решетке 1800, а в плоскости YZ первый луч 1802 падает на решетку 1800 под первым углом падения, а второй луч 1803 падает на решетку 1800 под вторым углом падения. Конкретные описания первого угла падения и второго угла падения см. в Варианте осуществления 3. Подробности повторно не приводятся.
[00234] Решетка 1800, показанная в этом варианте осуществления, выполнена с возможностью разложения первого луча 1802 на множество первых подлучей 1804 (каждый из которых показан сплошной линией, выходящей из решетки 1800 и показанной на фиг. 18), и решетка 1800 дополнительно выполнена с возможностью разложения второго луча 1803 на множество вторых подлучей 1805 (каждый из которых показан пунктирной линией, выходящей из решетки 1800 и показанной на фиг. 18). Конкретные описания первых подлучей 1804 и вторых подлучей 1805 см. в Варианте осуществления 3. Подробности повторно не приводятся.
[00235] Решетка 1800 выполнена с возможностью передачи множества первых подлучей 1804 и множества вторых подлучей 1805 на компонент 301 перенаправления с использованием пятой линзы 310. Блики множества первых подлучей 1804 генерируются в первой области 501 компонента 301 перенаправления, а блики множества вторых подлучей 1805 генерируются во второй области 502 компонента 301 перенаправления. Описание конкретного процесса см. в варианте осуществления 4. Подробности повторно не приводятся.
[00236] Для конкретного описания процесса, в котором перенаправленные первые подлучи и вторые подлучи, возникающие из компонента 301 перенаправления, передаются в выходной порт в этом варианте осуществления, обратитесь к тому, что показано в варианте осуществления 4. Подробности повторно не приводятся.
Вариант 6 осуществления
[00237] Этот вариант осуществления обеспечивает способ перенаправления. Способ перенаправления, показанный в этом варианте осуществления, основан на устройстве оптической коммутации, показанном в варианте осуществления 1 или варианте осуществления 2. Конкретную структуру устройства оптической коммутации см. в Варианте осуществления 1 или Варианте осуществления 2. Подробности повторно не приводятся. Далее со ссылкой на фиг. 20А и фиг. 20B, примерное описание процесса выполнения способа перенаправления, показанного в этом варианте осуществления. Фиг. 20А и фиг. 20B представляет собой блок-схему этапов первого варианта осуществления способа перенаправления в соответствии с этой заявкой.
[00238] Этап 2001: Устройство оптической коммутации позволяет, используя входной порт, падать первому лучу и второму лучу на второй фильтр.
[00239] В этом варианте осуществления устройство оптической коммутации может вводить первый луч и второй луч в устройство оптической коммутации с использованием одного и того же входного порта, как показано в варианте осуществления 1. Кроме того, опционально, устройство оптической коммутации может вводить первый луч в устройство оптической коммутации с использованием первого порта ввода и может дополнительно вводить второй луч в устройство оптической коммутации с помощью второго порта ввода, как показано в Варианте осуществления 2.
[00240] Этап 2002: Устройство оптической коммутации соответственно передает первый луч и второй луч на первую решетку и вторую решетку в разные места с использованием второго фильтра.
[00241] В частности, устройство оптической коммутации соответственно изменяет, используя второй фильтр, направления передачи первого луча и второго луча на основе диапазонов, которым принадлежат первый луч и второй луч, так что первый луч передается на первую решетку, и второй луч передается на вторую решетку.
[00242] Этап 2003: Устройство оптической коммутации разлагает первый луч на множество первых подлучей с использованием первой решетки.
[00243] Этап 2004: Устройство оптической коммутации разлагает второй луч на множество вторых подлучей с использованием второй решетки.
[00244] Этап 2005: Устройство оптической коммутации передает множество первых подлучей на второй фильтр с использованием первой решетки.
[00245] Этап 2006: Устройство оптической коммутации передает множество вторых подлучей на второй фильтр с использованием второй решетки.
[00246] Этап 2007: Устройство оптической коммутации передает множество первых подлучей и множество вторых подлучей на первый фильтр на основе различных диапазонов с использованием второго фильтра.
[00247] Этап 2008: Устройство оптической коммутации позволяет, используя первый фильтр, множеству первых подлучей падать на первую область компонента перенаправления.
[00248] Этап 2009: Устройство оптической коммутации позволяет, используя первый фильтр, множеству вторых подлучей падать на вторую область компонента перенаправления.
[00249] В частности, устройство оптической коммутации разделяет с помощью первого фильтра направления передачи множества первых подлучей и множества вторых подлучей на разные направления передачи в первом направлении на основе разных диапазонов частот, так что множество из первых подлучей падают на первую область компонента перенаправления, и множество вторых подлучей падают на вторую область компонента перенаправления.
[00250] Более конкретно, устройство оптической коммутации передает множество первых подлучей на первый отражатель с использованием первого фильтра и передает множество вторых подлучей на второй отражатель с помощью первого фильтра, так что устройство оптической коммутации может передавать множество первых подлучей в первую область компонента перенаправления с использованием первого отражателя и передавать множество вторых подлучей во вторую область компонента перенаправления с помощью второго отражателя.
[00251] Этап 2010: Устройство оптической коммутации передает множество перенаправленных первых подлучей на первый отражатель с использованием компонента перенаправления.
[00252] Этап 2011: Устройство оптической коммутации передает перенаправленные вторые подлучи на второй отражатель с использованием компонента перенаправления.
[00253] Этап 2012: Устройство оптической коммутации передает первые подлучи в пятую область первого фильтра с использованием первого отражателя и передает вторые подлучи в шестую область первого фильтра с помощью второго отражателя.
[00254] Необязательно, если необходимо вывести первые подлучи и вторые подлучи с использованием одного и того же выходного порта, пятая область и шестая область перекрываются или частично перекрываются. Кроме того, необязательно, если необходимо вывести первые подлучи и вторые подлучи с использованием разных портов вывода, местоположения пятой области и шестой области разделяются.
[00255] Этап 2013: Устройство оптической коммутации передает множество перенаправленных первых подлучей и вторых подлучей на первую решетку и вторую решетку с использованием первого фильтра.
[00256] Этап 2014: Устройство оптической коммутации объединяет множество первых подлучей в третий луч, используя первую решетку, и объединяет множество вторых подлучей в четвертый луч, используя вторую решетку.
[00257] Этап 2015: Устройство оптической коммутации выводит третий луч и четвертый луч с использованием выходного порта.
[00258] Для конкретных описаний положительных эффектов, показанных в этом варианте осуществления, см. описания, показанные в варианте осуществления 1 или варианте осуществления 2. Детали не описаны снова в этом варианте осуществления.
Вариант 7 осуществления
[00259] Этот вариант осуществления обеспечивает способ перенаправления. Способ перенаправления, показанный в этом варианте осуществления, основан на устройстве оптической коммутации, показанном в варианте осуществления 3. Конкретную структуру устройства оптической коммутации см. в Варианте осуществления 3. Подробности повторно не приводятся. Далее со ссылкой на фиг. 21А и фиг. 21B, примерное описание процесса выполнения способа перенаправления, показанного в этом варианте осуществления. Фиг. 21А и фиг. 21B представляет собой блок-схему этапов второго варианта осуществления способа перенаправления в соответствии с этой заявкой.
[00260] Этап 2101: Устройство оптической коммутации позволяет, используя первый входной порт, падать первому лучу на дисперсионный компонент под первым углом падения.
[00261] Этап 2102: Устройство оптической коммутации позволяет, используя второй входной порт, падать второму лучу на дисперсионный компонент под вторым углом падения.
[00262] Разница между абсолютным значением первого угла падения и абсолютным значением второго угла падения не равна нулю, разница между первым углом падения и первым углом блеска меньше или равна первому заданному значению, разница между вторым углом падения и вторым углом блеска меньше или равна второму заданному значению, первый угол блеска соответствует диапазону, которому принадлежит первый луч, а второй угол блеска соответствует диапазону, которому принадлежит второй луч. Конкретные описания первого угла падения и второго угла падения см. в Варианте осуществления 3. Подробности повторно не приводятся.
[00263] В частности, устройство оптической коммутации передает первый луч и второй луч на дисперсионный компонент с использованием первого линзового компонента. Во втором направлении значение расстояния между первым входным портом и оптической осью линзового компонента связано со значением первого угла падения, а значение расстояния между вторым входным портом и оптической осью линзового компонента связано со значением второго угла падения.
[00264] Этап 2103: Устройство оптической коммутации разлагает первый луч на множество первых подлучей с помощью решетки и разлагает второй луч на множество вторых подлучей с помощью решетки.
[00265] Этап 2104: Устройство оптической коммутации передает множество первых подлучей и множество вторых подлучей на первый фильтр с использованием решетки.
[00266] Этап 2105: Устройство оптической коммутации позволяет, используя первый фильтр, множеству первых подлучей падать на первую область компонента перенаправления.
[00267] Этап 2106: Устройство оптической коммутации позволяет, используя первый фильтр, множеству вторых подлучей падать на вторую область компонента перенаправления.
[00268] Этап 2107: Устройство оптической коммутации передает множество перенаправленных первых подлучей на первый отражатель с использованием компонента перенаправления.
[00269] Этап 2108: Устройство оптической коммутации передает перенаправленные вторые подлучи на второй отражатель с использованием компонента перенаправления.
[00270] Этап 2109: Устройство оптической коммутации передает первые подлучи в пятую область первого фильтра с использованием первого отражателя и передает вторые подлучи в шестую область первого фильтра с помощью второго отражателя.
[00271] Для конкретных процессов выполнения с этапа 2105 по этап 2109, показанных в этом варианте осуществления, см. этапы с 2008 по этап 2012, показанные в варианте осуществления 6. Подробности повторно не приводятся.
[00272] Этап 2110: Устройство оптической коммутации передает множество перенаправленных первых подлучей и вторых подлучей на решетку с использованием первого фильтра.
[00273] Этап 2111: Устройство оптической коммутации объединяет множество первых подлучей в третий луч с помощью решетки и объединяет множество вторых подлучей в четвертый луч с помощью решетки.
[00274] Этап 2112: Устройство оптической коммутации выводит третий луч и четвертый луч с использованием выходного порта.
[00275] Конкретные описания положительных эффектов, показанных в этом варианте осуществления, см. в вариантах осуществления 3. Подробности повторно не приводятся.
Вариант 8 осуществления
[00276] Этот вариант осуществления обеспечивает способ перенаправления. Способ перенаправления, показанный в этом варианте осуществления, основан на устройстве оптической коммутации, показанном в варианте осуществления 4. Конкретную структуру устройства оптической коммутации см. в Варианте осуществления 4. Подробности повторно не приводятся. Далее со ссылкой на фиг. 22А и фиг. 22B, примерное описание процесса выполнения способа перенаправления, показанного в этом варианте осуществления. Фиг. 22А и фиг. 22B представляет собой блок-схему этапов третьего варианта осуществления способа перенаправления в соответствии с этой заявкой.
[00277] Этап 2201: Устройство оптической коммутации позволяет, используя входной порт, первому лучу и второму лучу падать на третий фильтр.
[00278] Первый луч и второй луч принадлежат разным диапазонам. Конкретное описание см. в варианте осуществления 4. Подробности повторно не приводятся.
[00279] Этап 2202: Устройство оптической коммутации передает первый луч и второй луч на второй фильтр с использованием третьего фильтра.
[00280] В частности, устройство оптической коммутации разделяет направления передачи первого луча и второго луча на разные направления передачи в первом направлении на основе разных диапазонов с использованием третьего фильтра, так что первый луч и второй луч передаются во второй фильтр.
[00281] Этап 2203: Устройство оптической коммутации соответственно передает первый луч и второй луч на первую решетку и вторую решетку в разные места с использованием второго фильтра.
[00282] В частности, устройство оптической коммутации соответственно изменяет направления передачи первого луча и второго луча на основе разных диапазонов с использованием второго фильтра, так что первый луч передается на первую решетку, а второй луч передается на вторую решетку.
[00283] Этап 2204: Устройство оптической коммутации разлагает первый луч на множество первых подлучей с использованием первой решетки.
[00284] Этап 2205: Устройство оптической коммутации разлагает второй луч на множество вторых подлучей, используя вторую решетку.
[00285] Этап 2206: Устройство оптической коммутации передает множество первых подлучей на второй фильтр с использованием первой решетки.
[00286] Этап 2207: Устройство оптической коммутации передает множество вторых подлучей на второй фильтр с использованием второй решетки.
[00287] Конкретные процессы выполнения с этапа 2204 по этап 2207, показанные в этом варианте осуществления, относятся к этапу с 2003 по этап 2006, показанному на фиг. 20А и фиг. 20Б. Подробности повторно не приводятся.
[00288] Этап 2208: Устройство оптической коммутации передает множество первых подлучей и множество вторых подлучей компоненту перенаправления на основе разных диапазонов с использованием второго фильтра.
[00289] Этап 2209: Устройство оптической коммутации передает множество перенаправленных первых подлучей на второй фильтр с использованием компонента перенаправления.
[00290] Этап 2210: Устройство оптической коммутации передает множество перенаправленных вторых подлучей на второй фильтр с использованием компонента перенаправления.
[00291] Этап 2211: Устройство оптической коммутации передает множество перенаправленных первых подлучей и вторых подлучей на первую решетку и вторую решетку с использованием второго фильтра.
[00292] Этап 2212: Устройство оптической коммутации объединяет множество первых подлучей в третий луч, используя первую решетку, и объединяет множество вторых подлучей в четвертый луч, используя вторую решетку.
[00293] Этап 2213: Устройство оптической коммутации выводит третий луч и четвертый луч с использованием выходного порта.
[00294] Конкретные описания положительных эффектов, показанных в этом варианте осуществления, см. в вариантах осуществления 4. Подробности повторно не приводятся.
Вариант 9 осуществления
[00295] Этот вариант осуществления обеспечивает способ перенаправления. Способ перенаправления, показанный в этом варианте осуществления, основан на устройстве оптической коммутации, показанном в варианте осуществления 5. Конкретную структуру устройства оптической коммутации см. в Варианте осуществления 5. Подробности повторно не приводятся. Далее со ссылкой на фиг. 23, примерное описание процесса выполнения способа перенаправления, показанного в этом варианте осуществления. Фиг. 23 представляет собой блок-схему этапов четвертого варианта осуществления способа перенаправления в соответствии с этой заявкой.
[00296] Этап 2301: Устройство оптической коммутации позволяет, используя первый входной порт, первому лучу падать на третий фильтр.
[00297] Этап 2302: Устройство оптической коммутации позволяет, используя второй входной порт, второму лучу падать на третий фильтр.
[00298] Этап 2303: Устройство оптической коммутации передает первый луч и второй луч на решетку с использованием третьего фильтра.
[00299] Этап 2304: Устройство оптической коммутации разлагает первый луч на множество первых подлучей и разлагает второй луч на множество вторых подлучей с помощью решетки.
[00300] Этап 2305: Устройство оптической коммутации передает множество первых подлучей и множество вторых подлучей на компонент перенаправления с использованием решетки.
[00301] Этап 2306: Устройство оптической коммутации передает множество перенаправленных первых подлучей и множество перенаправленных вторых подлучей на решетку с использованием компонента перенаправления.
[00302] Этап 2307: Устройство оптической коммутации объединяет множество первых подлучей в третий луч с помощью решетки и объединяет множество вторых подлучей в четвертый луч с помощью решетки.
[00303] Этап 2308: Устройство оптической коммутации выводит третий луч и четвертый луч с использованием выходного порта.
[00304] Конкретные описания положительных эффектов, показанных в этом варианте осуществления, см. в вариантах осуществления 5. Подробности повторно не приводятся.
Вариант 10 осуществления
[00305] Эта заявка дополнительно обеспечивает оптическую систему связи. Со ссылкой на фиг. 24 ниже описывается структура системы 2400 оптической связи, предусмотренной в этой заявке. Система 2400 оптической связи включает в себя множество ROADM, например, ROADM 2401, ROADM 2402, ROADM 2403, ROADM 2404 и ROADM 2405, которые показаны на фиг. 24. Следует отметить, что описание количества ROADM, включенных в систему 2400 оптической связи в этом варианте осуществления, является необязательным примером, и никаких ограничений не накладывается.
[00306] Система 2400 оптической связи дополнительно включает в себя оптическое волокно, соединенное между двумя ROADM. Например, для ROADM 2401 и ROADM 2405 система 2400 оптической связи дополнительно включает в себя оптическое волокно 2406, соединенное между ROADM 2401 и ROADM 2405. Отношение соединения между множеством ROADM, включенных в систему 2400 оптической связи, в этом варианте осуществления не ограничивается. Конкретные описания ROADM см. на фиг. 2. Подробности повторно не приводятся.
Вышеприведенные варианты осуществления предназначены только для описания технических решений настоящего изобретения, но не для ограничения настоящего изобретения. Хотя настоящее изобретение подробно описано со ссылкой на вышеизложенные варианты осуществления, специалисты в данной области техники должны понимать, что они могут по-прежнему вносить модификации в технические решения, описанные в вышеизложенных вариантах осуществления, или делать эквивалентные замены некоторых их технических характеристик, без выходя за рамки сущности и объема технических решений вариантов осуществления настоящего изобретения.
Группа изобретений, раскрывающая устройство оптической коммутации, способ перенаправления, реконфигурируемый оптический мультиплексор ввода/вывода и система, предназначена для улучшения полосы пропускания фильтрации. Устройство оптической коммутации включает в себя входной порт, дисперсионный компонент, первый фильтр, компонент перенаправления и выходные порты. Входной порт сконфигурирован для обеспечения возможности падения первого луча и второго луча на дисперсионный компонент; и дисперсионный компонент сконфигурирован для разложения первого луча на множество первых подлучей, дисперсионный компонент дополнительно сконфигурирован для разложения второго луча на множество вторых подлучей, где множество первых подлучей и множество вторых подлучей принадлежат разным диапазонам. Первый фильтр предназначен для: разделения направлений передачи множества первых подлучей и множества вторых подлучей на разные направления передачи в первом направлении (X) на основе разных диапазонов, предоставления возможности множеству первых подлучей падать на первую область компонента перенаправления и предоставления возможности множеству вторых подлучей падать на вторую область компонента перенаправления, где первая область и вторая область отделены друг от друга в первом направлении (X). Технический результат – повышение эффективности полосы пропускания фильтрации. 6 н. и 34 з.п. ф-лы, 24 ил.
1. Устройство оптической коммутации, содержащее входные порты, дисперсионный компонент, первый фильтр, компонент перенаправления и выходной порт, при этом
входные порты сконфигурированы для обеспечения возможности падения первого и второго лучей на дисперсионный компонент; и дисперсионный компонент сконфигурирован для разложения первого луча на множество первых подлучей, дисперсионный компонент дополнительно сконфигурирован для разложения второго луча на множество вторых подлучей и дисперсионный компонент дополнительно сконфигурирован для передачи множества первых подлучей и множества вторых подлучей на первый фильтр, при этом множество первых подлучей и множество вторых подлучей принадлежат разным диапазонам;
первый фильтр выполнен с возможностью: разделения направлений передачи множества первых подлучей и множества вторых подлучей на разные направления передачи в первом направлении на основе разных диапазонов; обеспечения возможности множеству первых подлучей падать на первую область компонента перенаправления и обеспечения возможности множеству вторых подлучей падать на вторую область компонента перенаправления, при этом первая область и вторая область отделены друг от друга в первом направлении и первое направление является направлением порта компонента перенаправления; и
выходной порт сконфигурирован для вывода множества первых подлучей и множества вторых подлучей, которые получены после выполнения перенаправления с использованием компонента перенаправления.
2. Устройство оптической коммутации по п. 1, в котором между дисперсионным компонентом и входными портами дополнительно расположен второй фильтр, а дисперсионный компонент содержит первую решетку и вторую решетку;
входные порты сконфигурированы так, чтобы первый и второй лучи падали на второй фильтр;
второй фильтр выполнен с возможностью: соответственно изменять направления передачи первого луча и второго луча на основе диапазонов, которым принадлежат первый луч и второй луч, и соответственно передавать первый луч и второй луч на первую решетку и вторую решетку в разные места;
первая решетка выполнена с возможностью передачи множества первых подлучей на второй фильтр, а вторая решетка выполнена с возможностью передачи множества вторых подлучей на второй фильтр; и
второй фильтр сконфигурирован для передачи множества первых подлучей и множества вторых подлучей компоненту перенаправления на основе разных диапазонов, так что первая область и вторая область по меньшей мере частично перекрываются во втором направлении, при этом второе направление представляет собой направление длины волны компонента перенаправления, а первое направление перпендикулярно второму направлению.
3. Устройство оптической коммутации по п. 2, в котором первая решетка выполнена с возможностью передачи по меньшей мере одного первого подлуча в третью область второго фильтра, а вторая решетка выполнена с возможностью передачи по меньшей мере одного второго подлуча в четвертую область второго фильтра, при этом третья область и четвертая область по меньшей мере частично перекрываются во втором направлении.
4. Устройство оптической коммутации по п. 1, в котором входные порты содержат первый входной порт и второй входной порт, расположения первого входного порта и второго входного порта различаются во втором направлении, первый входной порт выполнен с возможностью ввода первого луча и второй входной порт сконфигурирован для ввода второго луча; и
первый входной порт сконфигурирован, чтобы обеспечить падение первого луча на дисперсионный компонент во втором направлении под первым углом падения, а второй входной порт сконфигурирован, чтобы обеспечить падение второго луча на дисперсионный компонент во втором направлении под вторым углом падения, при этом разница между абсолютным значением первого угла падения и абсолютным значением второго угла падения не равна нулю, разница между первым углом падения и первым углом блеска меньше или равна первому заданному значению, разница между вторым углом падения и вторым углом блеска меньше или равна второму заданному значению, первый угол блеска соответствует диапазону, которому принадлежит первый луч, а второй угол блеска соответствует диапазону, которому принадлежит второй луч.
5. Устройство оптической коммутации по п. 4, при этом устройство оптической коммутации дополнительно содержит линзовый компонент, расположенный между входными портами и дисперсионным компонентом, и линзовый компонент сконфигурирован для передачи первого луча и второго луча на дисперсионный компонент, при этом во втором направлении значение расстояния между первым входным портом и оптической осью линзового компонента связано со значением первого угла падения, а значение расстояния между вторым входным портом и оптической осью линзового компонента связано со значением второго угла падения.
6. Устройство оптической коммутации по любому из пп. 1-5, при этом устройство оптической коммутации дополнительно содержит первый отражатель и второй отражатель, при этом
первый фильтр сконфигурирован для передачи множества первых подлучей на первый отражатель и первый фильтр дополнительно сконфигурирован для передачи множества вторых подлучей на второй отражатель; и
первый отражатель выполнен с возможностью передачи множества первых подлучей компоненту перенаправления, а второй отражатель выполнен с возможностью передачи множества вторых подлучей компоненту перенаправления.
7. Устройство оптической коммутации по п. 6, в котором
компонент перенаправления сконфигурирован для передачи
множества перенаправленных первых подлучей на первый отражатель, а компонент перенаправления дополнительно сконфигурирован для передачи множества перенаправленных вторых подлучей на второй отражатель; и
первый отражатель выполнен с возможностью передачи первых подлучей в пятую область первого фильтра, а второй отражатель выполнен с возможностью передачи вторых подлучей в шестую область первого фильтра.
8. Устройство оптической коммутации по любому из пп. 1-7, в котором первый фильтр сконфигурирован для передачи множества перенаправленных первых подлучей и вторых подлучей на дисперсионный компонент; дисперсионный компонент сконфигурирован для объединения множества первых подлучей в третий луч и дисперсионный компонент дополнительно сконфигурирован для объединения множества вторых подлучей в четвертый луч; и выходной порт сконфигурирован для вывода третьего луча и четвертого луча.
9. Устройство оптической коммутации по любому из пп. 1-8, в котором первый фильтр сконфигурирован для отражения множества первых подлучей от первого фильтра в качестве отраженного света на основе диапазона, которому принадлежит множество первых подлучей, и первый фильтр сконфигурирован для обеспечения возможности прохождения множества вторых подлучей через первый фильтр в качестве проходящего света на основе диапазона, которому принадлежит множество вторых подлучей.
10. Устройство оптической коммутации по п. 9, в котором первый фильтр представляет собой тонкопленочный фильтр, причем тонкопленочный фильтр имеет две области с разными показателями преломления; и
разница между вносимыми потерями, вызванными, когда две области по отдельности отражают один из множества первых подлучей, меньше или равна третьему заданному значению, и разница между вносимыми потерями, вызванными, когда один из множества вторых подлучей по отдельности проходит через две области, меньше или равна третьему заданному значению.
11. Устройство оптической коммутации по любому из пп. 1-10, в котором первый луч имеет по меньшей мере одно значение длины волны, отличное от второго луча.
12. Устройство оптической коммутации по любому из пп. 1-11, в котором первый луч представляет собой луч диапазона С, а второй луч представляет собой луч диапазона L.
13. Устройство оптической коммутации, содержащее входные порты, фильтр, дисперсионный компонент, компонент перенаправления и выходной порт, при этом
входные порты сконфигурированы, чтобы первый луч и второй луч падали на фильтр, при этом первый луч и второй луч принадлежат разным диапазонам;
фильтр выполнен с возможностью: разделения направлений передачи первого луча и второго луча на разные направления передачи в первом направлении на основе разных диапазонов и передачи первого луча и второго луча на дисперсионный компонент, при этом первое направление является направлением порта компонента перенаправления;
дисперсионный компонент сконфигурирован для разложения первого луча на множество первых подлучей, дисперсионный компонент дополнительно сконфигурирован для разложения второго луча на множество вторых подлучей и дисперсионный компонент дополнительно сконфигурирован для обеспечения возможности множеству первых подлучей и множеству вторых подлучей падать на компонент перенаправления, при этом множество первых подлучей падают на первую область компонента перенаправления, множество вторых подлучей падают на вторую область компонента перенаправления, причем первая область и вторая область отделены друг от друга в первом направлении; и
выходной порт сконфигурирован для вывода множества первых подлучей и множества вторых подлучей, которые получены после выполнения перенаправления с использованием компонента перенаправления.
14. Устройство оптической коммутации по п. 13, в котором между дисперсионным компонентом и фильтром дополнительно расположен второй фильтр, а дисперсионный компонент содержит первую решетку и вторую решетку, при этом
фильтр сконфигурирован, чтобы первый и второй лучи падали на второй фильтр;
второй фильтр выполнен с возможностью: соответственно изменять направления передачи первого луча и второго луча на основе разных диапазонов и соответственно передавать первый луч и второй луч на первую решетку и вторую решетку в разные места;
первая решетка выполнена с возможностью передачи множества первых подлучей на второй фильтр, а вторая решетка выполнена с возможностью передачи множества вторых подлучей на второй фильтр; и
второй фильтр выполнен с возможностью соответственно передавать множество первых подлучей и множество вторых подлучей компоненту перенаправления на основе диапазонов, которым принадлежат множество первых подлучей и множество вторых подлучей, так что первая область и вторая область по меньшей мере частично перекрываются во втором направлении, при этом второе направление представляет собой направление длины волны компонента перенаправления, а первое направление перпендикулярно второму направлению.
15. Устройство оптической коммутации по п. 14, в котором первая решетка выполнена с возможностью передачи по меньшей мере одного первого подлуча в третью область второго фильтра, а вторая решетка выполнена с возможностью передачи по меньшей мере одного второго подлуча в четвертую область второго фильтра, при этом третья область и четвертая область по меньшей мере частично перекрываются во втором направлении.
16. Устройство оптической коммутации по п. 13, в котором входные порты содержат первый входной порт и второй входной порт, расположения первого входного порта и второго входного порта различаются во втором направлении, первый входной порт выполнен с возможностью ввода первого луча и второй входной порт выполнен с возможностью ввода второго луча; и
фильтр выполнен с возможностью обеспечения падения первого луча во втором направлении на дисперсионный компонент под первым углом падения, и фильтр дополнительно выполнен с возможностью обеспечения падения второго луча во втором направлении на дисперсионный компонент под вторым углом падения, при этом разница между абсолютным значением первого угла падения и абсолютным значением второго угла падения не равна нулю, разница между первым углом падения и первым углом блеска меньше или равна четвертому заданному значению, разница между вторым углом падения и вторым углом блеска меньше или равна пятому заданному значению, первый угол блеска соответствует диапазону, которому принадлежит первый луч, а второй угол блеска соответствует диапазону, которому принадлежит второй луч.
17. Устройство оптической коммутации по п. 16, в котором устройство оптической коммутации дополнительно содержит линзовый компонент, расположенный между фильтром и дисперсионным компонентом, и линзовый компонент сконфигурирован для передачи первого луча и второго луча от фильтра на дисперсионный компонент, при этом во втором направлении значение расстояния между первым входным портом и оптической осью линзового компонента связано со значением первого угла падения, а значение расстояния между вторым входным портом и оптической осью линзового компонента связано со значением второго угла падения.
18. Устройство оптической коммутации по любому из пп. 13-17, в котором фильтр выполнен с возможностью отражения первого луча от фильтра в виде отраженного света на основе диапазона, которому принадлежит первый луч, а фильтр сконфигурирован для предоставления возможности второму лучу проходить через фильтр в качестве проходящего света на основе диапазона, которому принадлежит второй луч.
19. Устройство оптической коммутации по п. 18, в котором фильтр представляет собой тонкопленочный фильтр, причем тонкопленочный фильтр имеет две области с разными показателями преломления; и
разница между вносимыми потерями, вызванными, когда две области по отдельности отражают первый луч, меньше или равна третьему заданному значению, и разница между вносимыми потерями, вызванными, когда второй луч проходит по отдельности через две области, меньше или равна третьему заданному значению.
20. Устройство оптической коммутации по любому из пп. 13-19,в котором первый луч имеет по меньшей мере одно значение длины волны, отличное от второго луча.
21. Устройство оптической коммутации по любому из пп. 13-20, в котором первый луч представляет собой луч диапазона С, а второй луч представляет собой луч диапазона L.
22. Способ перенаправления, применяемый к устройству оптической коммутации, при этом устройство оптической коммутации содержит входные порты, дисперсионный компонент, первый фильтр, компонент перенаправления и выходной порт, и способ содержит:
обеспечение возможности, используя входные порты, первому лучу и второму лучу падать на дисперсионный компонент;
разложение, с использованием дисперсионного компонента, первого луча на множество первых подлучей, разложение второго луча на множество вторых подлучей и передачу множества первых подлучей и множества вторых подлучей на первый фильтр, при этом множество первых подлучей и множество вторых подлучей принадлежат разным диапазонам;
разделение, с помощью первого фильтра, направлений передачи множества первых подлучей и множества вторых подлучей на разные направления передачи в первом направлении на основе разных диапазонов, предоставление возможности множеству первых подлучей падать на первую область компонента перенаправления и предоставление возможности множеству вторых подлучей падать на вторую область компонента перенаправления, при этом первая область и вторая область отделены друг от друга в первом направлении и первое направление является направлением порта компонента перенаправления; и
вывод, с использованием выходного порта, множества первых подлучей и множества вторых подлучей, которые получены после выполнения перенаправления с использованием компонента перенаправления.
23. Способ по п. 22, в котором между дисперсионным компонентом и входными портами дополнительно расположен второй фильтр, дисперсионный компонент содержит первую решетку и вторую решетку и предоставление возможности, с помощью входных портов, первому лучу и второму лучу падать на дисперсионный компонент содержит:
обеспечение возможности, используя входные порты, первому лучу и второму лучу падать на второй фильтр; и
соответственное изменение, используя второй фильтр, направления передачи первого луча и второго луча на основе диапазонов, которым принадлежат первый луч и второй луч, и соответственную передачу первого луча и второго луча на первую решетку и вторую решетку в разные места; и способ дополнительно содержит:
передачу, используя первую решетку, множества первых подлучей на второй фильтр и передачу, используя вторую решетку, множества вторых подлучей на второй фильтр; и
передачу, используя второй фильтр, множества первых подлучей и множества вторых подлучей компоненту перенаправления на основе разных диапазонов, так что первая область и вторая область по меньшей мере частично перекрываются во втором направлении, при этом второе направление представляет собой направление длины волны компонента перенаправления, а первое направление перпендикулярно второму направлению.
24. Способ по п. 23, в котором передача с использованием первой решетки множества первых подлучей на второй фильтр и передача с использованием второй решетки множества вторых подлучей на второй фильтр включает:
передачу с использованием первой решетки по меньшей мере одного первого подлуча в третью область второго фильтра и передачу с использованием второй решетки по меньшей мере одного второго подлуча в четвертую область второго фильтра, при этом третья область и четвертая область по меньшей мере частично перекрываются во втором направлении.
25. Способ по п. 22, в котором входные порты содержат первый входной порт и второй входной порт, расположения первого входного порта и второго входного порта различаются во втором направлении, и предоставление возможности, с помощью входных портов, первому лучу и второму лучу падать на дисперсионный компонент содержит:
предоставление возможности, во втором направлении, с использованием первого входного порта, первому лучу падать на дисперсионный компонент под первым углом падения и предоставление возможности во втором направлении, с использованием второго входного порта, второму лучу падать на дисперсионный компонент под вторым углом падения, при этом разница между абсолютным значением первого угла падения и абсолютным значением второго угла падения не равна нулю, разница между первым углом падения и первым углом блеска меньше или равна первому заданному значению, разница между вторым углом падения и вторым углом блеска меньше или равна второму заданному значению, первый угол блеска соответствует диапазону, которому принадлежит первый луч, а второй угол блеска соответствует диапазону, которому принадлежит второй луч.
26. Способ по п. 25, в котором устройство оптической коммутации дополнительно содержит линзовый компонент, расположенный между входными портами и дисперсионным компонентом, и способ дополнительно содержит:
передачу, с использованием линзового компонента, первого луча и второго луча на дисперсионный компонент, при этом во втором направлении значение расстояния между первым входным портом и оптической осью линзового компонента связано со значением первого угла падения, а значение расстояния между вторым входным портом и оптической осью линзового компонента связано со значением второго угла падения.
27. Способ по любому из пп. 22-26, в котором устройство оптической коммутации дополнительно содержит первый отражатель и второй отражатель и предоставление возможности, с помощью первого фильтра, множеству первых подлучей падать на первую область компонента перенаправления и предоставление возможности множеству вторых подлучей падать на вторую область компонента перенаправления содержит:
передачу с использованием первого фильтра множества первых подлучей на первый отражатель и передачу с использованием первого фильтра множества вторых подлучей на второй отражатель; и
передачу, с использованием первого отражателя, множества первых подлучей на компонент перенаправления и передачу, с использованием второго отражателя, множества вторых подлучей на компонент перенаправления.
28. Способ по п. 27, при этом способ дополнительно содержит:
передачу с использованием компонента перенаправления множества перенаправленных первых подлучей на первый отражатель и передачу с использованием компонента перенаправления множества перенаправленных вторых подлучей на второй отражатель; и
передачу с использованием первого отражателя первых подлучей в пятую область первого фильтра и передачу с использованием второго отражателя вторых подлучей в шестую область первого фильтра.
29. Способ по любому из пп. 22-28, при этом способ дополнительно содержит:
передачу, с использованием первого фильтра, множества перенаправленных первых подлучей и вторых подлучей на дисперсионный компонент;
объединение, с использованием дисперсионного компонента, множества первых подлучей в третий луч и объединение, с использованием дисперсионного компонента, множества вторых подлучей в четвертый луч; и
вывод, с использованием выходного порта, третьего луча и четвертого луча.
30. Способ по любому из пп. 22-29, в котором разделение, с использованием первого фильтра, направлений передачи множества первых подлучей и множества вторых подлучей на разные направления передачи в первом направлении на основе разных диапазонов содержит:
отражение, с использованием первого фильтра, множества первых подлучей от первого фильтра в качестве отраженного света на основе диапазона, которому принадлежит множество первых подлучей, и предоставление возможности, с использованием первого фильтра, множеству вторых подлучей проходить через первый фильтр в качестве проходящего света на основе диапазона, которому принадлежит множество вторых подлучей.
31. Способ по п. 30, в котором первый фильтр представляет собой тонкопленочный фильтр, причем тонкопленочный фильтр имеет две области с разными показателями преломления; и разница между вносимыми потерями, вызванными, когда две области по отдельности отражают один из множества первых подлучей, меньше или равна третьему заданному значению, и разница между вносимыми потерями, вызванными, когда один из множества вторых подлучей по отдельности проходит через две области, меньше или равна третьему заданному значению.
32. Способ перенаправления, применяемый к устройству оптической коммутации, при этом устройство оптической коммутации содержит входные порты, фильтр, дисперсионный компонент, компонент перенаправления и выходной порт, и способ включает:
предоставление возможности, используя входные порты, первому лучу и второму лучу падать на фильтр, при этом первый луч и второй луч принадлежат разным диапазонам;
разделение, с помощью фильтра, направлений передачи первого луча и второго луча на разные направления передачи в первом направлении на основании разных диапазонов и передачу, с использованием фильтра, первого луча и второго луча на дисперсионный компонент, при этом первое направление является направлением порта компонента перенаправления;
разложение, с использованием дисперсионного компонента, первого луча на множество первых подлучей, разложение, с использованием дисперсионного компонента, второго луча на множество вторых подлучей и предоставление возможности, с использованием дисперсионного компонента, множеству первых подлучей и множеству вторых подлучей падать на компонент перенаправления, при этом множество первых подлучей падают на первую область компонента перенаправления, множество вторых подлучей падают на вторую область компонента перенаправления, причем первая область и вторая область отделены друг от друга в первом направлении; и
вывод, с использованием выходного порта, множества первых подлучей и множества вторых подлучей, которые получены после выполнения перенаправления с использованием компонента перенаправления.
33. Способ перенаправления по п. 32, в котором между дисперсионным компонентом и фильтром дополнительно содержится второй фильтр, дисперсионный компонент содержит первую решетку и вторую решетку и передача, с использованием фильтра, первого луча и второго луча на дисперсионный компонент содержит:
обеспечение возможности, посредством использования фильтра, первому лучу и второму лучу падать на второй фильтр; и
соответственное изменение, с использованием второго фильтра, направления передачи первого луча и второго луча на основе разных диапазонов и соответственную передачу первого луча и второго луча на первую решетку и вторую решетку в разные места; и
способ дополнительно содержит:
передачу, с использованием первой решетки, множества первых подлучей на второй фильтр и передачу, с использованием второй решетки, множества вторых подлучей на второй фильтр; и
соответственную передачу, используя второй фильтр, множества первых подлучей и множества вторых подлучей компоненту перенаправления на основе диапазонов, которым принадлежат множество первых подлучей и множество вторых подлучей, так что первая область и вторая область по меньшей мере частично перекрываются во втором направлении, при этом второе направление представляет собой направление длины волны компонента перенаправления, а первое направление перпендикулярно второму направлению.
34. Способ перенаправления по п. 33, при этом способ дополнительно включает:
передачу, с использованием первой решетки, по меньшей мере одного первого подлуча в третью область второго фильтра и передачу, с использованием второй решетки, по меньшей мере одного второго подлуча в четвертую область второго фильтра, при этом третья область и четвертая область по меньшей мере частично перекрываются во втором направлении.
35. Способ перенаправления по п. 32, в котором входные порты содержат первый входной порт и второй входной порт, расположения первого входного порта и второго входного порта различаются во втором направлении, а передача, с использованием фильтра, первого луча и второго луча на дисперсионный компонент содержит:
предоставление возможности, во втором направлении с использованием фильтра, падения первого луча на дисперсионный компонент под первым углом падения; и
предоставление возможности во втором направлении, посредством использования фильтра, падения второго луча на дисперсионный компонент под вторым углом падения, при этом разница между абсолютным значением первого угла падения и абсолютным значением второго угла падения не равна нулю, разница между первым углом падения и первым углом блеска меньше или равна четвертому заданному значению, разница между вторым углом падения и вторым углом блеска меньше или равна пятому заданному значению, первый угол блеска соответствует диапазону, которому принадлежит первый луч, а второй угол блеска соответствует диапазону, которому принадлежит второй луч.
36. Способ перенаправления по п. 35, в котором устройство оптической коммутации дополнительно содержит линзовый компонент, расположенный между фильтром и дисперсионным компонентом, и способ дополнительно содержит:
передачу, с использованием линзового компонента, первого луча и второго луча от фильтра на дисперсионный компонент, при этом во втором направлении значение расстояния между первым входным портом и оптической осью линзового компонента связано со значением первого угла падения, а значение расстояния между вторым входным портом и оптической осью линзового компонента связано со значением второго угла падения.
37. Способ по любому из пп. 32-36, в котором способ дополнительно содержит:
отражение, с использованием фильтра, первого луча от фильтра в качестве отраженного света на основе диапазона, которому принадлежит первый луч; и
обеспечение возможности, с использованием фильтра, второму лучу проходить через фильтр в качестве проходящего света на основе диапазона, которому принадлежит второй луч.
38. Способ по п. 37, в котором фильтр представляет собой тонкопленочный фильтр, причем тонкопленочный фильтр имеет две области с разными показателями преломления; и разница между вносимыми потерями, вызванными, когда две области по отдельности отражают первый луч, меньше или равна третьему заданному значению, и разница между вносимыми потерями, вызванными, когда второй луч проходит по отдельности через две области, меньше или равна третьему заданному значению.
39. Реконфигурируемый оптический мультиплексор ввода/вывода, содержащий множество устройств оптической коммутации, при этом различные устройства оптической коммутации соединены друг с другом с помощью оптического волокна и устройство оптической коммутации показано в любом из пп. 1-21.
40. Система оптической связи, содержащая множество реконфигурируемых оптических мультиплексоров ввода/вывода, при этом реконфигурируемый оптический мультиплексор ввода/вывода показан в п. 39.
| WO 2018191862 A1, 25.10.2018 | |||
| KR 20000075472 A, 15.12.2000 | |||
| KR 20010022911 A, 26.03.2001 | |||
| KR 20020021084 A, 18.03.2002 | |||
| US 7352928 B2, 01.04.2008. |
Авторы
Даты
2025-01-09—Публикация
2021-03-22—Подача