УСТРОЙСТВО ДЛЯ ОБРАБОТКИ БЕЛЬЯ Российский патент 2025 года по МПК D06F29/00 

Описание патента на изобретение RU2833314C2

Область техники, к которой относится изобретение

[1] Настоящее раскрытие сущности относится к устройству для обработки белья, а более конкретно к устройству для обработки белья, включающему в себя первый барабан и второй барабан для приема белья.

Уровень техники

[2] Устройство для обработки белья представляет собой устройство, которое помещает белье для стирки, такое как одежда и постельные принадлежности, в барабан и выполняет обработку, необходимую для белья для стирки, такую как удаление загрязнения из белья для стирки или сушка белья.

[3] Когда устройство для обработки белья проектируется с возможностью удалять загрязнение из белья для стирки, устройство для обработки белья может выполнять такие процессы, как стирка полоскание, дегидратация и сушка, и устройство для обработки белья может разделяться на схему с вертикальной загрузкой и схему с фронтальной загрузкой на основе схемы помещения белья для стирки в барабан.

[4] Устройство для обработки белья может включать в себя кожух, который формирует его внешний вид, бак, размещенный в кожухе, барабан, смонтированный с возможностью вращения в баке, в который помещается белье для стирки, и устройство подачи детергента, которое подает детергент в барабан.

[5] Когда барабан вращается посредством электромотора в то время, когда промывочная вода подается в белье для стирки, размещенное в барабане, грязь на белье для стирки может удаляться посредством трения между барабаном и промывочной водой.

[6] Устройство подачи детергента имеет функцию подачи детергента для того, чтобы улучшать эффект стирки. В этом отношении, детергент означает вещества, которые улучшают эффект стирки, такие как детергент для ткани, кондиционер для белья и отбеливатель для ткани. Детергент в порошковой форме или детергент в жидкой форме может использоваться в качестве детергента.

[7] В одном примере, когда устройство для обработки белья проектируется с возможностью сушить белье, Устройство для обработки белья может удалять влагу из белья для стирки посредством предоставления сухого воздуха в белье для стирки.

[8] Устройство для обработки белья может включать в себя кожух, барабан, расположенный с возможностью вращения в кожухе, нагревательное средство, которое нагревает или сушит воздух, предоставленный в белье для стирки, и т.п.

[9] По мере того, как сухой воздух подается в белье для стирки, размещенное в барабане, влага, существующая в белье для стирки, может испаряться и удаляться посредством сухого воздуха, и вода в белье для стирки может удаляться.

[10] Множество исследований проведено для того, чтобы удовлетворять всем различным процессам обработки белья для стирки, требуемым пользователем, и сокращать время выполнения для каждого процесса обработки. Например, Устройство для обработки белья может включать в себя множество барабанов, отделенных друг от друга, и выполнять независимые процессы обработки белья для стирки в соответствующих барабанах, за счет этого выполняя множество процессов обработки одновременно.

[11] Документ предшествующего уровня техники ЕР 2949801 раскрывает Устройство для обработки белья, в котором суббарабан выдвижного типа с вертикальным загрузчиком располагается под главным барабаном с фронтальным загрузчиком. Пользователь может выполнять первый процесс обработки белья для стирки через главный барабан и одновременно выполнять второй процесс обработки независимо от первого процесса обработки через суббарабан.

[12] Тем не менее, в устройстве для обработки белья для стирки, суббарабан имеет меньший размер, чем главный барабан, и в силу этого может очищать и обрабатывать небольшое количество белья для стирки, и имеется пространственное ограничение, так что имеется ограничение на процессы обработки, которые могут выполняться вместе с процессом сушки белья для стирки.

[13] Чтобы преодолевать вышеуказанную проблему, исследование проведено таким образом, что Устройство для обработки белья имеет множество барабанов, и все барабаны проектируются с возможностью иметь равный размер и иметь равную взаимосвязь друг с другом для того, чтобы выполнять независимые процессы обработки белья для стирки.

[14] Документ предшествующего уровня техники CN 102605586 раскрывает Устройство для обработки белья, в котором первое устройство для обработки на верхней стороне и второе устройство для обработки на нижней стороне проектируются в качестве типа с фронтальным загрузчиком. В устройстве для обработки белья для стирки, пользователь может выполнять множество процессов обработки белья для стирки одновременно с использованием первого устройства для обработки и второго устройства для обработки независимо друг от друга.

[15] В устройстве для обработки белья для стирки, первое устройство для обработки на верхней стороне конструируется в качестве сушилки, которая может выполнять процесс сушки белья для стирки, и второе устройство для обработки на нижней стороне конструируется в качестве стиральной машины, которая может выполнять процесс стирки белья для стирки.

[16] В устройстве для обработки белья для стирки, пользователь может использовать второе устройство для обработки, когда пользователь хочет выполнять процесс стирки, пользователь может использовать первое устройство для обработки, когда пользователь хочет выполнять процесс сушки, и первое устройство для обработки и второе устройство для обработки могут работать одновременно.

[17] В одном примере, когда первое устройство для обработки и второе устройство для обработки вертикально укладываются друг на друга, аналогично устройству для обработки белья для стирки, система подачи воздуха, которая подает горячий воздух в барабан первого устройства для обработки, располагается под первым устройством для обработки, и система подачи детергента, которая подает детергент в барабан второго устройства для обработки, система подачи воды, которая подает воду, и т.п. располагаются на втором устройстве для обработки, так что возникает проблема в том, что вертикальный уровень относительно земли впускного отверстия для белья для стирки, заданного в передней поверхности первого устройства для обработки на верхней стороне или барабана первого устройства для обработки, не имеет другого выбора, кроме как увеличиваться.

[18] Помимо этого, когда система подачи воздуха первого устройства для обработки перемещается в противоположную сторону второго устройства для обработки, например, в верхнюю сторону первого устройства для обработки, и когда она должна также обеспечивать функцию сушки белья для второго устройства для обработки, система подачи воздуха подает горячий воздух в барабан второго устройства для обработки при наличии увеличенного расстояния разделения от барабана второго устройства для обработки, что является невыгодным в реализации функции сушки второго устройства для обработки.

[19] Другими словами, в составленной стопкой форме первого устройства для обработки и второго устройства для обработки, вертикальный уровень впускного отверстия для белья для стирки или впускного отверстия барабана, к которому осуществляет доступ пользователь для вставки белья для стирки в первое устройство для обработки, является чрезмерно высоким, что может уменьшать доступность для пользователя. Дополнительно, общий размер по вертикали устройства для обработки белья для стирки может быть чрезмерно большим, что может приводить к ограничению по пространству для установки и может вызывать неудобство при техобслуживании первого устройства для обработки во время использования.

[20] Следовательно, в устройстве для обработки белья для стирки, в котором первое устройство для обработки и второе устройство для обработки вертикально укладываются друг на друга, разработка эффективной конструкции, которая может эффективно опускать вертикальный уровень впускного отверстия для белья для стирки или впускного отверстия барабана, заданного в первом устройстве для обработки в верхней стороне, чтобы легко улучшать доступность для пользователя, и может обеспечивать возможность не только первому устройству для обработки, но также и второму устройству для обработки выполнять функцию сушки, представляет собой важную задачу в этой области техники.

Сущность изобретения

Техническая задача

[21] Варианты осуществления настоящего раскрытия сущности заключаются в том, чтобы предоставлять Устройство для обработки белья, которое может улучшать удобство использования через первое устройство для обработки и второе устройство для обработки во взаимосвязи на основе укладки по вертикали.

[22] Дополнительно, варианты осуществления настоящего раскрытия сущности заключаются в том, чтобы предоставлять Устройство для обработки белья, которое может улучшать доступность и удобство пользователя посредством эффективного опускания вертикального уровня барабана первого устройства для обработки на верхней стороне.

[23] Дополнительно, варианты осуществления настоящего раскрытия сущности заключаются в том, чтобы предоставлять Устройство для обработки белья, которое имеет эффективно уменьшенный общий размер по вертикали, за счет этого уменьшая ограничения на пространство для установки и упрощая работы по ремонту и техобслуживанию.

[24] Дополнительно, варианты осуществления настоящего раскрытия сущности заключаются в том, чтобы предоставлять Устройство для обработки белья, которое может иметь различные компоненты посредством эффективного использования пространства между первым барабаном и вторым барабаном.

[25] Дополнительно, варианты осуществления настоящего раскрытия сущности заключаются в том, чтобы предоставлять Устройство для обработки белья, в котором система подачи воздуха для подачи воздуха в первый барабан первого устройства для обработки на верхней стороне может располагаться с использованием внутреннего пространства второго устройства для обработки на нижней стороне.

[26] Дополнительно, варианты осуществления настоящего раскрытия сущности заключаются в том, чтобы предоставлять Устройство для обработки белья, в котором основание, включающее в себя систему подачи воздуха, может располагаться на втором устройстве для обработки конструктивно устойчивым способом.

[27] Дополнительно, варианты осуществления настоящего раскрытия сущности заключаются в том, чтобы предоставлять Устройство для обработки белья, в котором первое устройство для обработки и второе устройство для обработки снабжаются воздухом через одну систему подачи воздуха для того, чтобы реализовывать функцию сушки белья для стирки.

Техническое решение

[28] Устройство для обработки белья согласно одному варианту осуществления настоящего раскрытия сущности включает в себя первое устройство для обработки на верхней стороне и второе устройство для обработки на нижней стороне. Первое устройство для обработки может выполнять процесс сушки белья для стирки, размещенного в первом барабане, и второе устройство для обработки может выполнять процесс стирки белья для стирки, размещенного во втором барабане.

[29] В одном варианте осуществления настоящего раскрытия сущности, по меньшей мере, участок системы подачи воздуха для подачи горячего воздуха в первый барабан может быть расположен во втором устройстве для обработки. Например, по меньшей мере, участок основания для установки системы подачи воздуха может позиционироваться параллельно земле вместе с системой подачи детергента, расположенной на втором устройстве для обработки.

[30] Соответственно, в одном варианте осуществления настоящего раскрытия сущности, нижний конец компрессора, расположенного на основании, может позиционироваться с возможностью перекрывать систему подачи детергента в направлении, параллельном земле. Дополнительно, нижний конец теплообменника, расположенного на основании, может

позиционироваться с возможностью перекрывать систему подачи детергента в направлении, параллельном земле.

[31] Для того, чтобы иметь возможность располагаться на втором устройстве для обработки, участок основания, обращенный к системе подачи детергента, может быть открытым. Иными словами, основание может располагаться таким образом, что оно не перекрывает систему подачи детергента в направлении, перпендикулярном к земле.

[32] Устройство для обработки белья согласно одному варианту осуществления настоящего раскрытия сущности, как описано выше, включает в себя первый барабан, который размещает белье для стирки, бак, который расположен ниже первого барабана и размещает воду, второй барабан, который располагается в баке и размещает белье для стирки, основание, расположенное между первым барабаном и баком, систему подачи воздуха, которая располагается на основании и подает воздух в первый барабан, систему циркуляции текучей среды, расположенную на основании, при этом текучая среда, обменивающаяся теплом с воздухом системы подачи воздуха, циркулирует в системе циркуляции текучей среды, при этом система циркуляции текучей среды включает в себя компрессор, который сжимает текучую среду, и систему подачи детергента, которая располагается между первым барабаном и баком и подает детергент в бак.

[33] Нижний конец компрессора может позиционироваться с возможностью перекрывать систему подачи детергента вдоль направления, параллельного земле. В одном варианте осуществления настоящего раскрытия сущности, местоположение основания задается таким образом, что нижний конец компрессора имеет вертикальный уровень, идентичный вертикальном уровню системы подачи детергента, так что вертикальный уровень первого устройства для обработки, т.е. вертикальный уровень первого барабана, может эффективно уменьшаться.

[34] Основание может включать в себя монтажный участок для компрессора, в котором монтируется компрессор, и монтажный участок для компрессора может позиционироваться с возможностью перекрывать систему подачи детергента вдоль направления, параллельного земле.

[35] Компрессор может включать в себя удлиненную опору, проходящую в направлении от компрессора и присоединенную к основанию, и удлиненная опора может позиционироваться с возможностью перекрывать систему подачи детергента вдоль направления, параллельного земле.

[36] Система циркуляции текучей среды дополнительно может включать в себя теплообменник, в котором возникает теплообмен между текучей средой и воздухом системы подачи воздуха, и нижний конец теплообменника может позиционироваться с возможностью перекрывать систему подачи детергента вдоль направления, параллельного земле.

[37] Нижний конец компрессора может быть расположен сзади системы подачи детергента.

[38] Устройство для обработки белья дополнительно может включать в себя клапан подачи воды, который соединяется с внешним источником подачи воды и регулирует поток воды, предоставленной в бак или в систему подачи детергента, и клапан подачи воды может быть расположен выше основания.

[39] Устройство для обработки белья дополнительно может включать в себя шланг подачи воды, соединенный с системой подачи детергента, в котором протекает вода, и, по меньшей мере, участок шланга подачи воды может быть расположен выше основания. По меньшей мере, участок основания может позиционироваться с возможностью перекрывать систему подачи детергента вдоль направления, параллельного земле.

[40] Участок основания, перекрывающий систему подачи детергента вдоль направления, перпендикулярного к земле, может быть открытым. Основание может располагаться таким образом, что оно не перекрывает систему подачи детергента вдоль направления, перпендикулярного к земле.

[41] Основание дополнительно может включать в себя монтажный участок для компрессора, в котором монтируется компрессор, и монтажный участок для компрессора может быть расположен сзади системы подачи детергента. Теплообменник, в котором текучая среда протекает и обменивается теплом с воздухом, может присоединяться к основанию, и теплообменник может быть расположен рядом с системой подачи детергента.

[42] Основание дополнительно может включать в себя монтажный участок для компрессора, в котором монтируется компрессор, и монтажный участок для компрессора может формировать самый нижний конец основания.

[43] Устройство для обработки белья дополнительно может включать в себя первый приводной блок, разнесенный от основания и соединенный с первым барабаном для того, чтобы вращать первый барабан. Устройство для обработки белья дополнительно может включать в себя заднюю панель, расположенную сзади первого барабана с возможностью экранировать первый барабан извне, и первый приводной блок может присоединяться к задней панели.

[44] Нижний конец теплообменника может позиционироваться с возможностью перекрывать систему подачи детергента вдоль направления, параллельного земле.

[45] Устройство для обработки белья согласно одному варианту осуществления настоящего раскрытия сущности включает в себя первое устройство для обработки, включающее в себя первый кожух и первый барабан, который располагается в первом кожухе и размещает белье для стирки, второе устройство для обработки, включающее в себя второй кожух, расположенный под первым кожухом, и второй барабан, который располагается во втором кожухе и размещает белье для стирки, и основание, расположенное ниже первого барабана и включающее в себя систему подачи воздуха для подачи воздуха в первый барабан.

[46] Первый кожух включает в себя первую боковую панель, располагающуюся рядом с первым барабаном, и второй кожух включает в себя вторую боковую панель, расположенную под первой боковой панелью и располагающуюся рядом со вторым барабаном, и, по меньшей мере, участок основания расположен ниже верхнего конца второй боковой панели.

[47] Основание может присоединяться ко второму кожуху, и, по меньшей мере, участок основания может быть расположен во втором кожухе. Первое устройство для обработки может устанавливаться на втором устройстве для обработки, в котором устанавливается основание.

[48] Первый кожух дополнительно может включать в себя заднюю панель, расположенную сзади первого барабана, и первое устройство для обработки дополнительно может включать в себя первый приводной блок, присоединенный к задней панели для того, чтобы предоставлять вращающую силу в первый барабан.

[49] Второе устройство для обработки дополнительно может включать в себя бак, расположенный во втором кожухе, при этом второй барабан устанавливается в баке, при этом бак размещает воду, и систему подачи детергента, которая соединяется с баком и подает детергент в бак.

[50] Основание и система подачи детергента могут располагаться на втором кожухе, расположенном выше бака, и размещаются таким образом, что они не перекрывают друг друга.

[51] Второе устройство для обработки дополнительно может включать в себя бак, расположенный во втором кожухе, при этом второй барабан устанавливается в баке, при этом бак размещает воду, и клапан подачи воды, расположенный во втором кожухе и соединенный с внешним источником подачи воды для того, чтобы регулировать поток воды, подаваемой в бак, и клапан подачи воды может быть расположен выше основания.

[52] По меньшей мере, участок основания может быть расположен во втором кожухе, и основание дополнительно может включать в себя температурный регулятор для регулирования температуры воздуха системы подачи воздуха.

[53] Температурный регулятор может включать в себя компрессор, который обеспечивает циркуляцию текучей среды, обменивающейся теплом с воздухом, и, по меньшей мере, участок компрессора может выступать вверх относительно верхнего конца второй боковой панели.

[54] Монтажный участок для компрессора, в котором устанавливается компрессор, может задаваться в основании с возможностью быть утопленным ко второму барабану. Монтажный участок для компрессора может формировать самый нижний конец основания.

[55] Первый кожух может включать в себя первую переднюю панель, расположенную перед первым барабаном, и второй кожух может включать в себя вторую переднюю панель, расположенную ниже первой передней панели и перед вторым барабаном.

[56] Панель управления, соединенная с возможностью передачи сигналов с первым устройством для обработки и вторым устройством для обработки, может располагаться между первой передней панелью и второй передней панелью, и нижний конец панели управления может быть расположен ниже верхнего конца второй боковой панели.

[57] Верхний конец панели управления может быть расположен выше нижнего конца первой боковой панели. Нижний конец первой передней панели может быть расположен выше нижнего конца первой боковой панели, и верхний конец второй передней панели может быть расположен ниже верхнего конца второй боковой панели.

[58] Устройство для обработки белья согласно одному варианту осуществления настоящего раскрытия сущности включает в себя первое устройство для обработки, включающее в себя первый кожух и первый барабан, который располагается в первом кожухе и размещает белье для стирки, второе устройство для обработки, включающее в себя второй кожух, расположенный под первым кожухом, и второй барабан, который располагается во втором кожухе и размещает белье для стирки, и основание, расположенное на первом устройстве для обработки и включающее в себя систему подачи воздуха для подачи воздуха в первый барабан, и первое устройство для обработки устанавливается на втором устройстве для обработки таким образом, что система подачи воздуха и внутренняя часть первого барабана сообщаются между собой.

[59] Система подачи воздуха может включать в себя соединительный участок для того, чтобы сообщаться с внутренней частью первого барабана, и первое устройство для обработки может включать в себя первый участок для присоединения, который передвигается в первом направлении с возможностью присоединяться к соединительному участку.

[60] Соединительный участок может включать в себя соединительный уплотнитель, окружающий открытую поверхность, открывающуюся к первому участку для присоединения, и передвижную канавку, протягивающуюся вдоль первого направления, при этом участок первого участка для присоединения вставляется и передвигается в передвижной канавке, и участок соединительного уплотнителя может располагаться в передвижной канавке.

[61] В соединительном уплотнителе, первый участок, расположенный в первом направлении относительно открытой поверхности, может быть расположен выше второго участка, расположенного в направлении, противоположном первому направлению.

[62] Соединительный участок дополнительно может включать в себя первую соединительную поверхность, расположенную в первом направлении относительно открытой поверхности и расположенную выше открытой поверхности с возможностью поддерживать первый участок для присоединения в первом направлении, и вторую соединительную поверхность, расположенную в направлении, противоположном первому направлению относительно открытой поверхности, и расположенную ниже открытой поверхности с возможностью поддерживать первый участок для присоединения в первом направлении, и первый участок соединительного уплотнителя может располагаться на первой соединительной поверхности, и второй участок может располагаться на второй соединительной поверхности.

[63] Система подачи воздуха может включать в себя соединительный участок для того, чтобы сообщаться с первым барабаном и вторым барабаном, первое устройство для обработки дополнительно может включать в себя первый участок для присоединения, соединенный с соединительным участком для того, чтобы обеспечивать возможность внутренней части первого барабана и соединительному участку сообщаться между собой, и второе устройство для обработки дополнительно может включать в себя второй участок для присоединения, соединенный с соединительным участком для того, чтобы обеспечивать возможность внутренней части второго барабана и соединительному участку сообщаться между собой.

[64] По меньшей мере, один из соединительного участка, первого участка для присоединения и второго участка для присоединения может включать в себя селектор, который попеременно обеспечивает воздушный поток между соединительным участком и любым из первого участка для присоединения и второго участка для присоединения.

[65] Селектор может конструироваться с возможностью быть вращающимся и обеспечивать воздушный поток между первым участком для присоединения и соединительным участком в первом местоположении вращения и обеспечивать воздушный поток между вторым участком для присоединения и соединительным участком во втором местоположении вращения.

Преимущества изобретения

[66] Варианты осуществления настоящего раскрытия сущности заключаются в том, чтобы предоставлять Устройство для обработки белья, которое может улучшать удобство использования через первое устройство для обработки и второе устройство для обработки во взаимосвязи на основе укладки по вертикали.

[67] Дополнительно, варианты осуществления настоящего раскрытия сущности заключаются в том, чтобы предоставлять Устройство для обработки белья, которое может улучшать доступность и удобство пользователя посредством эффективного опускания вертикального уровня барабана первого устройства для обработки на верхней стороне.

[68] Дополнительно, варианты осуществления настоящего раскрытия сущности заключаются в том, чтобы предоставлять Устройство для обработки белья, которое имеет эффективно уменьшенный общий размер по вертикали, за счет этого уменьшая ограничения на пространство для установки и упрощая работы по ремонту и техобслуживанию.

[69] Дополнительно, варианты осуществления настоящего раскрытия сущности заключаются в том, чтобы предоставлять Устройство для обработки белья, которое может иметь различные компоненты посредством эффективного использования пространства между первым барабаном и вторым барабаном.

[70] Дополнительно, варианты осуществления настоящего раскрытия сущности заключаются в том, чтобы предоставлять Устройство для обработки белья, в котором система подачи воздуха для подачи воздуха в первый барабан первого устройства для обработки на верхней стороне может располагаться с использованием внутреннего пространства второго устройства для обработки на нижней стороне.

[71] Дополнительно, варианты осуществления настоящего раскрытия сущности заключаются в том, чтобы предоставлять Устройство для обработки белья, в котором основание, включающее в себя систему подачи воздуха, может располагаться на втором устройстве для обработки конструктивно устойчивым способом.

[72] Дополнительно, варианты осуществления настоящего раскрытия сущности заключаются в том, чтобы предоставлять Устройство для обработки белья, в котором первое устройство для обработки и второе устройство для обработки снабжаются воздухом через одну систему подачи воздуха для того, чтобы реализовывать функцию сушки белья для стирки.

Краткое описание чертежей

[73] Фиг. 1 является видом спереди в перспективе, показывающим внешний вид устройства для обработки белья для стирки согласно варианту осуществления настоящего раскрытия сущности.

[74] Фиг. 2 является видом спереди устройства для обработки белья для стирки согласно варианту осуществления настоящего раскрытия сущности.

[75] Фиг. 3 показывает вид сбоку устройства для обработки белья для стирки согласно варианту осуществления настоящего раскрытия сущности.

[76] Фиг. 4 является видом сзади в перспективе устройства для обработки белья для стирки согласно варианту осуществления настоящего раскрытия сущности.

[77] Фиг. 5 показывает внутреннюю часть устройства для обработки белья для стирки согласно варианту осуществления настоящего раскрытия сущности.

[78] Фиг. 6 является видом в поперечном сечении, показывающим взаимосвязь на основе соединения между первым приводным блоком и первым барабаном первого устройства для обработки в устройстве для обработки белья для стирки согласно варианту осуществления настоящего раскрытия сущности.

[7 9] Фиг. 7 показывает первое устройство для обработки и второе устройство для обработки, отделенные друг от друга в варианте осуществления настоящего раскрытия сущности.

[80] Фиг. 8 показывает первое устройство для обработки, посаженное на второе устройство для обработки в варианте осуществления настоящего раскрытия сущности.

[81] Фиг. 9 показывает первое устройство для обработки, передвижное относительно второго устройства для обработки в устройстве для обработки белья для стирки на фиг.8.

[82] Фиг. 10 показывает панель управления, смонтированную на устройстве для обработки белья для стирки на фиг.9.

[83] Фиг. 11 показывает вертикальные уровни панели управления и верхнего конца второй боковой панели в варианте осуществления настоящего раскрытия сущности.

[84] Фиг. 12 показывает основание, расположенное между первым барабаном и вторым барабаном в варианте осуществления настоящего раскрытия сущности.

[85] Фиг. 13 показывает систему подачи воздуха основания и первый барабан 30, соединенные между собой в варианте осуществления настоящего раскрытия сущности.

[86] Фиг. 14 показывает систему подачи воздуха основания, соединенную как с первым барабаном, так и со вторым барабаном в варианте осуществления настоящего раскрытия сущности.

[87] Фиг. 15 является схемой, концептуально показывающей процесс циркуляции воздуха посредством системы подачи воздуха на фиг.14.

[88] Фиг. 16 показывает основание, расположенное поверх второго устройства для обработки в варианте осуществления настоящего раскрытия сущности.

[89] Фиг. 17 показывает первый участок для присоединения, расположенный в первом устройстве для обработки и соединенный с системой подачи воздуха согласно варианту осуществления настоящего раскрытия сущности.

[90] Фиг. 18 является видом сверху основания, расположенного параллельно с системой подачи детергента в варианте осуществления настоящего раскрытия сущности.

[91] Фиг. 19 является схемой, сравнивающей вертикальные уровни нижнего конца компрессора и системы подачи детергента в варианте осуществления настоящего раскрытия сущности.

[92] Фиг. 20 является видом в поперечном сечении монтажного участка для компрессора основания при просмотре сзади в варианте осуществления настоящего раскрытия сущности.

[93] Фиг. 21 является схемой, сравнивающей вертикальные уровни нижнего конца теплообменника и системы подачи детергента в варианте осуществления настоящего раскрытия сущности.

[94] Фиг. 22 является схемой, показывающей впускное отверстие системы подачи воздуха, соединенной с первым барабаном и вторым барабаном в варианте осуществления настоящего раскрытия сущности.

[95] Фиг. 23 является схемой, показывающей впускное отверстие системы подачи воздуха, отделенной от первого участка для присоединения в варианте осуществления настоящего раскрытия сущности.

[96] Фиг. 24 является схемой, показывающей первый участок для присоединения впускного отверстия первого устройства для обработки, присоединенный к впускному отверстию системы подачи воздуха в варианте осуществления настоящего раскрытия сущности.

[97] Фиг. 25 является схемой, показывающей открытую поверхность, сформированную во впускном отверстии системы подачи воздуха в варианте осуществления настоящего раскрытия сущности.

[98] Фиг. 26 является схемой, показывающей соединительный уплотнитель, расположенный в соединительном участке системы подачи воздуха в варианте осуществления настоящего раскрытия сущности.

[99] Фиг. 27 является схемой, показывающей первое устройство для обработки, садящееся на второе устройство для обработки, и первый участок для присоединения впускного отверстия первого устройства для обработки, располагающийся на соединительном участке системы подачи воздуха в варианте осуществления настоящего раскрытия сущности.

[100] Фиг. 28 является схемой, показывающей впускное отверстие системы подачи воздуха и первый участок для присоединения впускного отверстия, присоединенные друг к другу по мере того, как первый участок для присоединения впускного отверстия на фиг.27 передвигается.

[101] Фиг. 29 является схемой, показывающей передвижную канавку, заданную в соединительном участке системы подачи воздуха согласно варианту осуществления настоящего раскрытия сущности.

[102] Фиг. 30 является видом в поперечном сечении, показывающим внутреннюю часть впускного отверстия, присоединенного к первому участку для присоединения впускного отверстия и второму участку для присоединения впускного отверстия согласно варианту осуществления настоящего раскрытия сущности.

[103] Фиг. 31 является схемой, показывающей первый селектор, расположенный во впускном отверстии системы подачи воздуха в варианте осуществления настоящего раскрытия сущности.

[104] Фиг. 32 является видом в поперечном сечении, показывающим внутреннюю часть впускного отверстия с внутренней частью второго барабана и системой подачи воздуха, сообщающимися между собой в варианте осуществления настоящего раскрытия сущности.

[105] Фиг. 33 является видом в поперечном сечении, показывающим внутреннюю часть впускного отверстия с внутренней частью первого барабана и системы подачи воздуха, сообщающимися между собой в варианте осуществления настоящего раскрытия сущности.

[106] Фиг. 34 является схемой, показывающей выпускное отверстие системы подачи воздуха, присоединенное к первому участку для присоединения выпускного отверстия и второму участку для присоединения выпускного отверстия в варианте осуществления настоящего раскрытия сущности.

[107] Фиг. 35 является схемой, показывающей первый участок для присоединения выпускного отверстия, расположенный в первом устройстве для обработки и присоединенный к выпускному отверстию системы подачи воздуха в варианте осуществления настоящего раскрытия сущности.

[108] Фиг. 36 является схемой, показывающей открытую поверхность и второй участок для присоединения выпускного отверстия, сформированные в выпускном отверстии системы подачи воздуха согласно варианту осуществления настоящего раскрытия сущности.

[109] Фиг. 37 является схемой, показывающей выпускную раму, расположенную в выпускном отверстии системы подачи воздуха в варианте осуществления настоящего раскрытия сущности.

[110] Фиг. 38 является схемой, показывающей первое устройство для обработки, садящееся на второе устройство для обработки, и первый участок для присоединения выпускного отверстия первого устройства для обработки, располагающийся на выпускном отверстии системы подачи воздуха в варианте осуществления настоящего раскрытия сущности.

[111] Фиг. 39 является видом в поперечном сечении, показывающим первый участок для присоединения выпускного отверстия, передвижной и присоединенный к выпускному отверстию системы подачи воздуха в устройстве для обработки белья для стирки на фиг.38.

[112] Фиг. 40 является схемой, показывающей выпускное отверстие системы подачи воздуха и тракт для воздушного потока посредством первого участка для присоединения выпускного отверстия и второго участка для присоединения выпускного отверстия в варианте осуществления настоящего раскрытия сущности.

[113] Фиг. 41 является схемой, показывающей второй селектор, расположенный в первом участке для присоединения выпускного отверстия согласно варианту осуществления настоящего раскрытия сущности.

[114] Фиг. 42 является схемой, показывающей второй селектор в состоянии, в котором выпускное отверстие системы подачи воздуха и внутренняя часть первого барабана сообщаются между собой в варианте осуществления настоящего раскрытия сущности.

[115] Фиг. 43 является схемой, показывающей второй селектор в состоянии, в котором выпускное отверстие системы подачи воздуха и внутренняя часть второго барабана сообщаются между собой в варианте осуществления настоящего раскрытия сущности.

Подробное описание изобретения

[116] В дальнейшем в этом документе подробно описывается вариант осуществления настоящего раскрытия сущности со ссылкой на прилагаемые чертежи, так что специалисты в области техники, которой принадлежит настоящее раскрытие сущности, могут легко реализовывать вариант осуществления.

[117] Тем не менее, настоящее раскрытие сущности может реализовываться во всевозможных формах и не ограничено вариантом осуществления, описанным в данном документе. Помимо этого, чтобы ясно описывать настоящее раскрытие сущности, компоненты, нерелевантные для описания, опускаются на чертежах. Дополнительно, аналогичные ссылки с номерами назначаются аналогичным компонентам во всем настоящем документе.

[118] Дублированные описания идентичных компонентов опускаются в данном документе.

[119] Помимо этого, следует понимать, что когда компонент упоминается как "соединенный с" или "присоединенный к" другому компоненту в данном документе, он может непосредственно соединяться с или присоединяться к другому компоненту, либо могут присутствовать один или более промежуточных компонентов. С другой стороны, следует понимать, что когда компонент упоминается как "непосредственно соединенный с" или "непосредственно присоединенный к" другому компоненту в данном документе, отсутствуют другие промежуточные компоненты.

[120] Кроме того, терминология, используемая в данном документе, служит только для целей описания конкретного варианта осуществления настоящего раскрытия сущности и не имеет намерение быть ограничивающей для настоящего раскрытия сущности.

[121] При использовании в данном документе, формы единственного числа "а" и "an" имеют намерение также включать в себя формы множественного числа, если контекст явно не указывает иное.

[122] Следует понимать, что термины "содержит", "содержащий", "включает в себя" и "включающий в себя" при использовании в данном документе указывают присутствие признаков, чисел, этапов, операций, компонентов, частей либо комбинаций вышеозначенного, описанных в данном документе, но не исключают присутствие или добавление одного или более других признаков, чисел, этапов, операций, компонентов либо комбинаций вышеозначенного.

[123] Помимо этого, в данном документе, термин "и/или" включает в себя комбинацию множества перечисленных пунктов либо любой из множества перечисленных пунктов. В данном документе, "А или В" может включать в себя "А", "В" или "как А, так и В". Фиг. 1 показывает вариант осуществления конструкции устройства для обработки белья для стирки настоящего раскрытия сущности.

[124] Фиг. 1 показывает устройство 1 для обработки белья для стирки согласно варианту осуществления настоящего раскрытия сущности. Устройство 1 для обработки белья для стирки может включать в себя кожух, и барабан для размещения белья для стирки может располагаться в кожухе.

[125] Устройство 1 для обработки белья для стирки может включать в себя первое устройство 2 для обработки и второе устройство 3 для обработки. Первое устройство 2 для обработки и второе устройство 3 для обработки могут отличаться друг от друга на основе барабана. Например, первое устройство 2 для обработки может включать в себя первый барабан 30, и второе устройство 3 для обработки может включать в себя второй барабан 40.

[126] Первое устройство 2 для обработки и второе устройство 3 для обработки могут конструироваться с возможностью совместно использовать один кожух либо могут иметь различные кожухи, как показано на фиг.1. Например, первое устройство 2 для обработки может включать в себя первый кожух 10, и второе устройство 3 для обработки может включать в себя второй кожух 20.

[127] Кожух может задавать пространство для барабана и других компонентов, которые должны располагаться, и может экранировать внутреннее пространство извне. Кожух может включать в себя переднюю панель, заднюю панель и боковые панели, которые размещаются спереди, сзади и по сторонам, соответственно.

[128] Первое устройство 2 для обработки может быть расположено на втором устройстве 3 для обработки и может совместно использовать, по меньшей мере, боковую панель со вторым устройством 3 для обработки. Иными словами, в одном варианте осуществления настоящего раскрытия сущности, верхний участок боковой панели может быть расположен на стороне первого барабана 30, и нижний участок боковой панели может быть расположен на стороне второго барабана 40.

[129] Как показано на фиг.1, когда первое устройство 2 для обработки и второе устройство 3 для обработки включают в себя первый кожух 10 и второй кожух 20, соответственно, первый кожух 10 может включать в себя первую переднюю панель 11, первую заднюю панель 13 и первую боковую панель 12, и второй кожух 20 может включать в себя вторую переднюю панель 21, вторую заднюю панель 23 и вторую боковую панель 22.

[130] В этом случае, первая передняя панель 11 может быть расположена на второй передней панели 21, первая задняя панель 13 может быть расположена на второй задней панели 23, и первая боковая панель 12 может быть расположена на второй боковой панели 22.

[131] Один вариант осуществления настоящего раскрытия сущности может конструироваться с возможностью иметь тип с фронтальным загрузчиком. Иными словами, в первом кожухе 10 и втором кожухе 20, первое впускное отверстие для белья для стирки и второе впускное отверстие для белья для стирки, которые обеспечивают возможность внутренней части и внешней части сообщаться между собой, могут задаваться в первой передней панели 11 и второй передней панели 21, соответственно.

[132] Первое впускное отверстие для белья для стирки может быть расположено выше второго впускного отверстия для белья для стирки, и первое устройство 2 для обработки может включать в себя первую дверцу 18 для загрузки белья для стирки для избирательного экранирования первого впускного отверстия для белья для стирки. Дополнительно, второе устройство 3 для обработки может включать в себя вторую дверцу 28 для загрузки белья для стирки для избирательного экранирования второго впускного отверстия для белья для стирки.

[133] Первая дверца 18 для загрузки белья для стирки и вторая дверца 28 для загрузки белья для стирки могут присоединяться к первой передней панели 11 и второй передней панели 21, соответственно. Первая дверца 18 для загрузки белья для стирки и вторая дверца 28 для загрузки белья для стирки могут поворотно присоединяться к первой передней панели 11 или второй передней панели 21 и избирательно закрывать первое впускное отверстие для белья для стирки или второе впускное отверстие для белья для стирки в зависимости от местоположения поворота.

[134] Один вариант осуществления настоящего раскрытия сущности может включать в себя панель 50 управления. Панель 50 управления может располагаться на каждом из первого устройства 2 для обработки и второго устройства 3 для обработки, либо одна панель 50 управления может располагаться так, как показано на фиг.1, и соединяться с первым устройством 2 для обработки и вторым устройством 3 для обработки.

[135] Могут быть предусмотрены различные местоположения панели 50 управления. Например, панель 50 управления может включать в себя множество панелей управления, и панели управления могут быть расположены в верхних участках первого устройства 2 для обработки и второго устройства 3 для обработки либо могут быть расположены в нижнем участке первой передней панели 11 и верхнем участке второй передней панели 21 для того, чтобы улучшать доступность для пользователя.

[136] В одном варианте осуществления настоящего раскрытия сущности, одна панель 50 управления может располагаться между первой передней панелью 11 и второй передней панелью 21 для того, чтобы улучшать доступность для пользователя.

[137] Фиг. 2 является видом спереди устройства 1 для обработки белья для стирки согласно варианту осуществления настоящего раскрытия сущности. Первое устройство 2 для обработки может включать в себя первую переднюю панель 11 и первое впускное отверстие для белья для стирки, и первая дверца 18 для загрузки белья для стирки, описанная выше, может быть расположена на первой передней панели 11.

[138] Второе устройство 3 для обработки может включать в себя вторую переднюю панель 21 и второе впускное отверстие для белья для стирки, и вторая дверца 28 для загрузки белья для стирки, описанная выше, может быть расположена на второй передней панели 21. Первая передняя панель 11 может быть расположена на второй передней панели 21. Например, первая передняя панель 11 и вторая передняя панель 21 могут совмещаться в направлении, перпендикулярном к земле.

[139] Панель 50 управления может располагаться между первой передней панелью 11 и второй передней панелью 21. Панель 50 управления может быть расположена в нижнем переднем участке первого устройства 2 для обработки, в верхнем переднем участке второго устройства 3 для обработки либо в передних участках первого устройства 2 для обработки и второго устройства 3 для обработки вместе.

[140] Фиг. 3 показывает вид сбоку устройства 1 для обработки белья для стирки согласно варианту осуществления настоящего раскрытия сущности. Первое устройство 2 для обработки может включать в себя первый барабан 30, и первый барабан 30 может включать в себя впускное отверстие первого барабана, обращенное к первому впускному отверстию для белья для стирки. Пространство для размещения белья для стирки, введенного через первое впускное отверстие для белья для стирки, может задаваться в первом барабане 30.

[141] Второе устройство 3 для обработки может включать в себя второй барабан 40, и второй барабан 40 может включать в себя впускное отверстие второго барабана, обращенное ко второму впускному отверстию для белья для стирки. Пространство для размещения белья для стирки, введенного через второе впускное отверстие для белья для стирки, может задаваться во втором барабане 40.

[142] Второе устройство 3 для обработки дополнительно может включать в себя бак 45. Второй барабан 40 может устанавливаться с возможностью вращения в баке 45. Бак 45 может включать в себя впускное отверстие бака, обращенное ко второму впускному отверстию для белья для стирки. Белье для стирки, введенное через второе впускное отверстие для белья для стирки, может размещаться во втором барабане 40 после прохождения через впускное отверстие бака и впускное отверстие второго барабана.

[143] Бак 45 может конструироваться с возможностью размещать воду. Иными словами, второе устройство 3 для обработки может конструироваться таким образом, что вода размещается в баке 45, и процесс стирки для белья для стирки, размещенного во втором барабане 40, может выполняться. Иными словами, второе устройство 3 для обработки может конструироваться в качестве стиральной машины, которая может выполнять процесс стирки белья для стирки.

[144] В одном варианте осуществления настоящего раскрытия сущности, первое устройство 2 для обработки и второе устройство 3 для обработки могут выполнять независимые процессы обработки белья для стирки. При необходимости, пользователь может управлять одним из первого устройства 2 для обработки и второго устройства 3 для обработки для того, чтобы выполнять процесс обработки белья для стирки, либо управлять первым устройством 2 для обработки и вторым устройством 3 для обработки одновременно для того, чтобы выполнять соответствующие процессы обработки белья для стирки.

[145] Помимо этого, в одном варианте осуществления настоящего раскрытия сущности, первое устройство 2 для обработки может конструироваться в качестве сушилки, которая может выполнять процесс сушки белья для стирки, и второе устройство 3 для обработки может конструироваться в качестве стиральной машины, которая может выполнять процесс стирки белья для стирки.

[146] Соответственно, пользователь может использовать первое устройство 2 для обработки, когда белье для стирки должно высушиваться, пользователь может использовать второе устройство 3 для обработки, когда белье для стирки должно стираться, и пользователь может одновременно использовать первое устройство 2 для обработки и второе устройство 3 для обработки при сушке белья первой группы и одновременной стирке белья второй группы.

[147] Тем не менее, функции первого устройства 2 для обработки и второго устройства 3 для обработки не обязательно ограничены так, как описано выше, и первое устройство 2 для обработки и второе устройство 3 для обработки могут соответствовать стиральной машине или сушилке, соответственно. Также возможно то, что первое устройство 2 для обработки соответствует стиральной машине, и второе устройство 3 для обработки соответствует сушилке.

[148] Первый барабан 30 может вращаться посредством соединения с первым приводным блоком 15. Первый приводной блок 15 может быть расположен сзади первого барабана 30 и может присоединяться и прикрепляться к первой задней панели 13. Второй барабан 40 может вращаться посредством соединения со вторым приводным блоком 25. Второй приводной блок 25 может быть расположен сзади второго барабана 40 и может прикрепляться ко второй задней панели 23 или баку 45.

[149] Фиг. 4 является видом сзади в перспективе устройства 1 для обработки белья для стирки согласно варианту осуществления настоящего раскрытия сущности. На фиг.4, первая задняя панель 13 первого устройства 2 для обработки и вторая задняя панель 23 второго устройства 3 для обработки показаны отделенными друг от друга, но первая задняя панель 13 и вторая задняя панель 23 могут формироваться в качестве одной панели.

[150] Когда первый кожух 10 и второй кожух 20 отделяются друг от друга, как показано на фиг.4, первое устройство 2 для обработки может устанавливаться и прикрепляться ко второму устройству 3 для обработки во время процесса изготовления или процесса установки перед использованием. Ниже описывается процесс установки первого устройства 2 для обработки на втором устройстве 3 для обработки.

[151] Фиг. 5 показывает внутреннюю часть устройства 1 для обработки белья для стирки согласно варианту осуществления настоящего раскрытия сущности. Первый барабан 30 может устанавливаться на втором барабане 40 и баке 45, и когда второе устройство 3 для обработки конструируется в качестве стиральной машины, второй барабан 40 и бак 45 могут иметь центральную ось, наклоненную таким образом, что передний конец расположен выше заднего конца, как показано на фиг.5.

[152] Основание 100, на котором устанавливаются различные компоненты для приведения в действие первого устройства 2 для обработки, может быть расположено между первым барабаном 30 и вторым барабаном 40. Например, первое устройство 2 для обработки может конструироваться в качестве сушилки, которая выполняет процесс сушки белья, и основание 100 может иметь систему 200 подачи воздуха для подачи воздуха в первый барабан 30, температурный регулятор 300 для сушки и нагрева воздуха и т.п. Кроме того, первый приводной блок 15 может быть расположен сзади первого барабана 30 и присоединен к первой задней панели 13.

[155] В частности, первая задняя панель 13 может быть расположена сзади первого барабана 30 и может экранировать первый барабан 30 извне, и первый приводной блок 15 может присоединяться к первой задней панели 13.

[156] Первый приводной блок 15 может присоединяться к первой задней панели 13 в местоположении впереди или сзади относительно первой задней панели 13. Фиг. 6 показывает конструкцию, в которой первый приводной блок 15 присоединяется к первой задней панели 13 с задней стороны первой задней панели 13, и задняя крышка располагается сзади первой задней панели 13 для того, чтобы экранировать первый приводной блок 15 извне.

[157] Первый приводной блок 15 может присоединяться к первой задней панели 13 и может протягиваться через первую заднюю панель 13 с возможностью присоединяться к задней поверхности первого барабана 30. Первый приводной блок 15 может присоединяться прямо или косвенно к задней поверхности первого барабана 30.

[158] Ведущий вал первого приводного блока 15 может быть расположен на линии, идентичной оси вращения первого барабана 30. Соответственно, вращающая сила первого приводного блока 15 может непосредственно предусматриваться при вращении первого барабана 30, что может быть преимущественным при предоставлении вращающей силы в первый барабан 30 или управлении вращением первого барабана 30.

[159] Фиг. 7 показывает первое устройство 2 для обработки и второе устройство 3 для обработки, отделенные друг от друга в варианте осуществления настоящего раскрытия сущности. Тем не менее, основание 100 может присоединяться ко второму устройству 3 для обработки и отделяться от первого устройства 2 для обработки.

[160] Как описано выше, первое устройство 2 для обработки может устанавливаться на втором устройстве 3 для обработки во время процесса изготовления или процесса установки перед использованием. Когда первое устройство 2 для обработки отделяется от второго устройства 3 для обработки, основание 100 первого устройства 2 для обработки может располагаться поверх второго устройства 3 для обработки и соединяться с первым устройством 2 для обработки, которое присоединяется ко второму устройству 3 для обработки. Иными словами, первое устройство 2 для обработки может устанавливаться на втором устройстве 3 для обработки, на котором устанавливается основание 100.

[161] Например, основание 100 может включать в себя систему 200 подачи воздуха, температурный регулятор 300 и т.п. Как описано выше, температурный регулятор 300 может соответствовать системе циркуляции текучей среды, в которой циркулирует текучая среда, система циркуляции текучей среды может включать в себя компрессор 310 для сжатия и циркуляции текучей среды, и система 200 подачи воздуха может соединяться с внутренней частью первого барабана 30, поскольку первое устройство 2 для обработки присоединяется ко второму устройству 3 для обработки.

[162] На фиг.8, первое устройство 2 для обработки на фиг.7 показывается посаженным на второе устройство 3 для обработки. Тем не менее, после того, как первое устройство 2 для обработки садится на второе устройство 3 для обработки, процесс присоединения может выполняться через процесс передвижения.

[163] Например, как показано на фиг.8, в состоянии, в котором первое устройство 2 для обработки садится на второе устройство 3 для обработки, первое устройство 2 для обработки может быть разнесено от корректного местоположения присоединения вдоль направления, параллельного земле.

[164] Фиг. 8 показывает состояние, в котором первое устройство 2 для обработки разнесено назад от корректного местоположения присоединения. Иными словами, в одном варианте осуществления настоящего раскрытия сущности, первое устройство 2 для обработки может садиться на второе устройство 3 для обработки и затем передвигаться вперед для того, чтобы присоединяться ко второму устройству 3 для обработки.

[165] Фиг. 9 показывает первое устройство 2 для обработки на фиг.8, передвигающееся вперед и расположенное в корректном местоположении присоединения. В корректном местоположении присоединения, первый кожух 10 первого устройства 2 для обработки может позиционироваться на втором кожухе 20 второго устройства 3 для обработки.

[166] Например, после того, как первое устройство 2 для обработки завершает передвижение вперед к корректному местоположению присоединения, первая передняя панель 11 может позиционироваться на второй передней панели 21 вдоль направления, перпендикулярного к земле, первая боковая панель 12 может позиционироваться на второй боковой панели 22, и первая задняя панель 13 может позиционироваться на второй задней панели 23.

[167] Фиг. 10 показывает панель 50 управления, присоединенную к устройству 1 для обработки белья для стирки на фиг.9. После того, как первое устройство 2 для обработки передвигается в корректное местоположение присоединения на втором устройстве 3 для обработки, панель 50 управления может присоединяться и располагаться между первой передней панелью 11 и второй передней панелью 21 для того, чтобы завершать установку устройства 1 для обработки белья для стирки.

[168] Панель 50 управления может соединяться с проводами, вытащенными из первого устройства 2 для обработки и второго устройства 3 для обработки. Провод может соединяться с первым контроллером и вторым контроллером, расположенными в первом устройстве 2 для обработки и втором устройстве 3 для обработки, соответственно, либо может соединяться с устройством потребления мощности, таким как первый приводной блок 15 и второй приводной блок 25.

[169] В одном варианте осуществления настоящего раскрытия сущности, панель 50 управления может выводить информацию состояния первого устройства 2 для обработки и второго устройства 3 для обработки пользователю, и пользователь может манипулировать блоком ввода панели 50 управления для того, чтобы манипулировать первым устройством 2 для обработки и вторым устройством для обработки.

[170] Фиг. 11 показывает взаимосвязь вертикальных уровней между панелью 50 управления, первой боковой панелью 12 и второй боковой панелью 22 в устройстве 1 для обработки белья для стирки согласно варианту осуществления настоящего раскрытия сущности. Иными словами, панель 50 управления, соединенная с возможностью передачи сигналов с первым устройством 2 для обработки и вторым устройством 3 для обработки, может располагаться между первой передней панелью 11 и второй передней панелью 21.

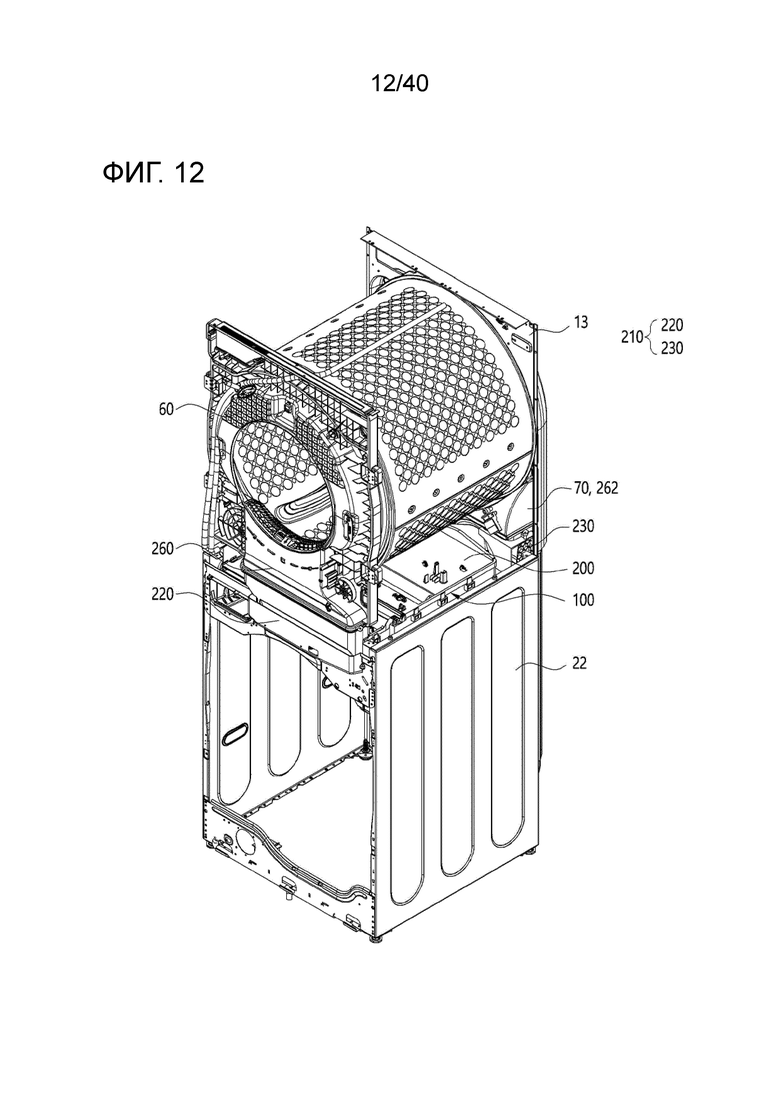
[171] Панель 50 управления может располагаться между первой передней панелью 11 и второй передней панелью 21 таким образом, что пользователь может легко осуществлять доступ к панели 50 управления вручную, и нижний конец панели 50 управления может быть расположен на более низком вертикальном уровне, чем нижний конец первой боковой панели 12. Нижний конец панели 50 управления может быть расположен на более низком вертикальном уровне, чем верхний конец второй боковой панели 22.

[172] Один вариант осуществления настоящего раскрытия сущности имеет форму, в которой первое устройство 2 для обработки и второе устройство 3 для обработки укладываются поверх друг друга вдоль направления, перпендикулярного к земле, и, соответственно, вертикальный уровень первого устройства 2 для обработки увеличивается посредством второго устройства 3 для обработки.

[173] Тем не менее, когда вертикальный уровень первого устройства 2 для обработки увеличивается чрезмерно, вертикальный уровень панели 50 управления или вертикальный уровень первого барабана 30 может увеличиваться чрезмерно, и в силу этого удобство использования пользователя может уменьшаться.

[174] Следовательно, в конструкции установки первого устройства 2 для обработки на втором устройстве 3 для обработки, надлежащее регулирование вертикального уровня первого устройства 2 для обработки, например, вертикального уровня первого барабана 30 или вертикального уровня панели 50 управления, является важным при улучшении удобства использования и уменьшении ограничений по пространству для установки.

[175] В этом отношении, в одном варианте осуществления настоящего раскрытия сущности, чтобы надлежащим образом опускать вертикальный уровень панели 50 управления, к которой пользователь должен осуществлять доступ для того, чтобы манипулировать первым устройством 2 для обработки и вторым устройством 3 для обработки, нижний конец панели 50 управления может быть расположен ниже нижнего конца второй боковой панели 22.

[176] Иными словами, верхний конец панели 50 управления может быть расположен на передней поверхности первого устройства 2 для обработки, и нижний конец панели 50 управления может быть расположен на передней поверхности второго устройства 3 для обработки. Поскольку панель 50 управления не составляет участок передней поверхности первого устройства 2 для обработки или второго устройства 3 для обработки в целом, в одном варианте осуществления настоящего раскрытия сущности, панель 50 управления может устанавливаться после того, как процесс передвижения первого устройства 2 для обработки завершается.

[177] Верхний конец панели 50 управления может быть расположен выше нижнего конца первой боковой панели 12 и верхнего конца второй боковой панели 22. Кроме того, чтобы обеспечивать местоположение установки панели 50 управления, первая передняя панель 11 и вторая передняя панель 21 могут быть разнесены друг от друга вдоль направления, перпендикулярного к земле.

[178] Иными словами, поскольку нижний конец первой передней панели 11 расположен выше нижнего конца первой боковой панели 12, и верхний конец второй передней панели 21 расположен выше верхнего конца второй боковой панели 22, приблизительно центральный участок передней поверхности устройства 1 для обработки белья для стирки может открываться, и поскольку панель 50 управления располагается в центральном участке, первая передняя панель 11, вторая передняя панель 21 и панель 50 управления могут вместе формировать переднюю поверхность устройства 1 для обработки белья для стирки.

[179] Фиг. 12 показывает состояние, в котором первое устройство 2 для обработки, расположенное на основании 100, установленном на втором устройстве 3 для обработки, присоединяется к основанию 100 в варианте осуществления настоящего раскрытия сущности. Тем не менее, основание 100 не обязательно должно присоединяться ко второму устройству 3 для обработки, и в некоторых случаях, основание 100 может присоединяться к нижней части первого устройства 2 для обработки.

[180] Основание 100 может быть расположено между первым барабаном 30 и вторым барабаном 40. Иными словами, основание 100 может быть расположено выше бака 4 5 второго устройства 3 для обработки и ниже первого барабана 30. Система 200 подачи воздуха основания 100 может присоединяться к первому участку 260 для присоединения первого устройства 2 для обработки и сообщаться с внутренней частью первого барабана 30.

[181] Первый кожух 10 может иметь открытую нижнюю поверхность, и второй кожух 2 0 может иметь открытую верхнюю поверхность. Иными словами, первый кожух 10 и второй кожух 20 могут соединяться друг с другом с возможностью сообщаться между собой вдоль направления, перпендикулярного к земле.

[182] Основание 100 может быть расположено на открытой нижней поверхности первого кожуха 10 и открытой верхней поверхности второго кожуха 20. Иными словами, участок основания 100 может быть расположен во втором кожухе 20, и оставшаяся часть основания 100 может быть расположена в первом кожухе 10. Например, основание 100 может экранировать, по меньшей мере, участок открытой верхней поверхности второго кожуха 20.

[183] Система 200 подачи воздуха основания 100 может располагаться с возможностью сообщаться с внутренней частью первого барабана 30 и может подавать воздух для сушки белья в первый барабан 30. Тем не менее, в одном варианте осуществления настоящего раскрытия сущности, по меньшей мере, участок основания 100 может располагаться во втором кожухе 20, за счет этого эффективно уменьшая пространство для установки основания 100 в первом кожухе 10.

[184] Поскольку, по меньшей мере, участок основания 100 располагается во втором кожухе 20, вертикальный уровень основания 100 может опускаться, и вертикальный уровень первого барабана 30 также может опускаться, соответственно. Соответственно, вертикальные уровни впускного отверстия первого барабана и первого впускного отверстия для белья для стирки могут опускаться, за счет этого эффективно улучшая доступность для пользователя, т.е. доступность для пользователя, с тем чтобы помещать белье для стирки через первое впускное отверстие для белья для стирки.

[185] Фиг. 13 показывает систему 200 подачи воздуха основания 100 и внутреннюю часть первого барабана 30, сообщающиеся между собой. Система 200 подачи воздуха основания 100 может иметь соединительный участок 210 для сообщения с внутренней частью первого барабана 30, и первое устройство 2 для обработки может включать в себя первый участок 260 для присоединения для соединения с системой 200 подачи воздуха основания 100.

[186] Поскольку первое устройство 2 для обработки устанавливается на втором устройстве 3 для обработки, первый участок 260 для присоединения может присоединяться к соединительному участку 210 системы 200 подачи воздуха. Соединительный участок 210 системы 200 подачи воздуха может включать в себя впускное отверстие 220 и выпускное отверстие 230.

[187] Впускное отверстие 220 может конструироваться с возможностью позволять воздуху, выпускаемому из первого барабана 30, протекать в него, и выпускное отверстие 230 может конструироваться с возможностью позволять воздуху, который должен подаваться в первый барабан 30, вытекать.

[188] Первое устройство 2 для обработки может включать в себя первый участок 261 для присоединения впускного отверстия, через который протекает воздух, выпускаемый из первого барабана 30, и первый участок 262 для присоединения выпускного отверстия, через который протекает воздух, который должен подаваться в первый барабан 30.

[189] В первом устройстве 2 для обработки, одна сторона первого барабана 30 может поддерживаться посредством внутренней панели 60, и другая сторона первого барабана 30 может поддерживаться посредством первой задней панели 13. Например, передний конец первого барабана 30 может поддерживаться посредством внутренней панели 60, и задний конец первого барабана 30 может поддерживаться с возможностью вращения через взаимосвязь на основе присоединения с первой задней панелью 13 или первым приводным блоком 15.

[190] Внутренняя панель 60 может быть расположена сзади первой передней панели 11. Первое впускное отверстие для белья для стирки может задаваться в первой передней панели 11 и внутренней панели 60, и внутренняя панель 60 может включать в себя опорный ролик и т.п., чтобы поддерживать с возможностью вращения передний конец первого барабана 30.

[191] Внутренняя панель 60 может окружать передний конец первого барабана 30 и может включать в себя первый участок 261 для присоединения впускного отверстия. Иными словами, воздух, выпускаемый из первого барабана 30, может протекать во впускное отверстие 220 системы 200 подачи воздуха через первый участок 261 для присоединения впускного отверстия, расположенный на внутренней панели 60.

[192] Первый участок 262 для присоединения выпускного отверстия первого устройства 2 для обработки может присоединяться к первому барабану 30 или к первой задней панели 13. Как описано ниже, воздух, вытекающий из выпускного отверстия 230 системы 200 подачи воздуха, может протекать вдоль первого участка 262 для присоединения выпускного отверстия и протекать вдоль воздушного прохода 80, заданного в первой задней панели 13, и воздух в воздушном проходе 80 может протекать в первый барабан 30 через заднюю поверхность первого барабана 30.

[193] Фиг. 14 показывает систему 200 подачи воздуха, сконструированную с возможностью сообщаться с внутренней частью первого барабана 30 и второго барабана 40 согласно варианту осуществления настоящего раскрытия сущности.

[194] В одном варианте осуществления настоящего раскрытия сущности, первое устройство 2 для обработки, а также второе устройство 3 для обработки также могут выполнять процесс сушки белья. Например, первое устройство 2 для обработки может соответствовать сушилке для процесса сушки белья для стирки, и второе устройство 3 для обработки может соответствовать стиральной машине с сушкой, которая может выполнять процесс сушки в дополнение к процессу стирки белья для стирки.

[195] Чтобы выполнять процесс сушки второго устройства 3 для обработки, система 200 подачи воздуха может сообщаться с внутренней частью второго барабана 40 или бака 45, и система 400 подачи детергента для подачи детергента в бак 45 может включаться. Фиг. 14 показывает второй участок 270 для присоединения, соединенный с соединительным участком 210 системы 200 подачи воздуха.

[196] Система 200 подачи воздуха основания 100 может соединяться вверх с внутренней частью первого барабана 30 и может соединяться вниз с внутренней частью второго барабана 40. Другими словами, система 200 подачи воздуха основания 100 может сообщаться с внутренней частью бака 45.

[197] Фиг. 15 схематично показывает тракт потока воздуха в варианте осуществления настоящего раскрытия сущности. Со ссылкой на фиг.15, в дальнейшем описывается процесс протекания воздуха в настоящем раскрытии сущности.

[198] Во-первых, в одном варианте осуществления настоящего раскрытия сущности, основание 100 может включать в себя систему 200 подачи воздуха, в которой воздух высушивается и нагревается, и воздух протекает. Система 200 подачи воздуха может включать в себя впускное отверстие 220, через которое воздух вводится, и выпускное отверстие 230, через которое воздух выпускается.

[199] Тракт, через который протекает воздух, может задаваться в системе 200 подачи воздуха, и осушитель для того, чтобы удалять влагу из воздуха, и подогреватель для того, чтобы нагревать воздух, который должен предоставляться в первый барабан 30 или второй барабан 40, могут располагаться в тракте.

[200] В одном примере, основание 100 может включать в себя температурный регулятор 300. Температурный регулятор 300 может соответствовать тепловой насосной системе, в которой циркулирует текучая среда. Иными словами, текучая среда в температурном регуляторе 300 может соответствовать хладагенту, сжимаемому и протекающему посредством компрессора 310, и температурный регулятор 300 может включать в себя конденсатор и испаритель, через которые протекает текучая среда.

[201] В температурном регуляторе 300, т.е. в системе циркуляции текучей среды, текучая среда может последовательно циркулировать через компрессор 310, конденсатор и испаритель. Конденсатор может обеспечивать возможность высвобождения тепла из текучей среды в окрестности, и испаритель может обеспечивать возможность текучей среде поглощать тепло из окрестностей.

[202] Иными словами, в одном варианте осуществления настоящего раскрытия сущности, испаритель может соответствовать теплопоглотителю 322, который расположен на тракте, через который протекает воздух в системе 200 подачи воздуха, и поглощает тепло из воздуха, и может соответствовать осушителю, в котором водяной пар конденсируется и удаляется из воздуха, температура которого снижена.

[203] Помимо этого, конденсатор может соответствовать подогревателю 324, который расположен на тракте, через который протекает воздух в системе 200 подачи воздуха, и подает тепло в воздух, и может соответствовать нагревательному устройству, в котором воздух, температура которого увеличена, высушивается при высокой температуре.

[204] В одном варианте осуществления настоящего раскрытия сущности, поскольку теплопоглотитель 322 и подогреватель 324 системы циркуляции текучей среды, соответствующей температурному регулятору 300, располагаются вместе в системе 200 подачи воздуха, осушение и нагрев воздуха могут достигаться. Иными словами, воздух, выпускаемый из первого барабана 30 или второго барабана 40, может осушаться, поскольку водяной пар конденсируется и удаляется в то время, когда воздух протекает через систему 200 подачи воздуха и охлаждается посредством теплопоглотителя 322, а затем может нагреваться посредством подогревателя 324 для того, чтобы высушиваться при высоких температурах.

[205] В одном примере, воздух, вытекающий через выпускное отверстие 230 системы 200 подачи воздуха, может протекать, по меньшей мере, вдоль одного из первого участка 262 для присоединения выпускного отверстия первого устройства 2 для обработки и второго участка 272 для присоединения выпускного отверстия и протекать, по меньшей мере, в один из первого барабана 30 и второго барабана 40.

[206] Воздух может протекать в первый барабан 30 и второй барабан 40 через множество полостей, заданных в соответствующих задних поверхностях первого барабана 30 и второго барабана 40. Воздух, предоставленный в первый барабан 30 и второй барабан 40, находится в состоянии высушивания при высокой температуре через теплопоглотитель 322 и подогреватель 324 системы циркуляции текучей среды. Следовательно, влага белья для стирки, размещенного в первом барабане 30 и втором барабане 40, может испаряться и удаляться через контакт с воздухом.

[207] Воздух с увеличенной влагой в первом барабане 30 и втором барабане 40 может выпускаться за пределы первого барабана 30 и второго барабана 40 через впускное отверстие первого барабана или впускное отверстие второго барабана. Воздух, выпускаемый из первого барабана 30, может протекать во впускное отверстие 220 системы 200 подачи воздуха через первый участок 261 для присоединения впускного отверстия, и воздух, выпускаемый из второго барабана 40, может протекать во впускное отверстие 220 системы 200 подачи воздуха через второй участок 271 для присоединения впускного отверстия.

[208] Воздух, который протекает в систему 200 подачи воздуха через впускное отверстие 220, может высушиваться при высокой температуре посредством прохождения через теплопоглотитель 322 и подогреватель 324 системы циркуляции текучей среды снова, и такой воздух может проходить через процесс циркуляции с введением в первый барабан 30 и второй барабан 40 снова.

[209] Более конкретно, на основе первого устройства 2 для обработки, воздух, выпускаемый через выпускное отверстие 230, может доставляться в воздуховод 70 первого устройства 2 для обработки. Воздуховод 70 может соответствовать первому участку 262 для присоединения выпускного отверстия первого устройства 2 для обработки.

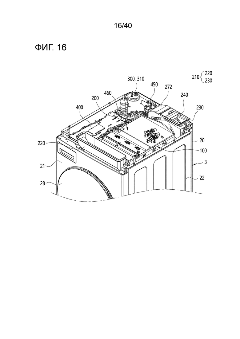
[210] Воздуховод 70 может соединять выпускное отверстие 230 с воздушным проходом 80 первой задней панели 13. Воздух, который проходит через воздуховод 70, может протекать вдоль воздушного прохода 80.

[211] Первая задняя панель 13 может включать в себя воздушный проход 80, протягивающийся вдоль периферии первого приводного блока 15. Воздушный проход 80 может быть обращен к задней поверхности барабана и может открываться вперед. Дополнительно, отверстие для притока воздуха может задаваться в участке, обращенном к воздушному проходу 80 в задней поверхности первого барабана 30.

[212] Соответственно, воздух, введенный через воздуховод 70 и протекающий вдоль воздушного прохода 80, может вытекать вперед, и воздух, вытекающий из воздушного прохода 80, может протекать в первый барабан 30 через отверстие в задней поверхности первого барабана 30.

[213] Воздух в первом барабане 30 может выпускаться за пределы первого барабана 30 через впускное отверстие первого барабана, и воздух, выпускаемый за пределы первого барабана 30, может протекать через первый участок 261 для присоединения впускного отверстия, расположенный на внутренней панели 60, и протекать во впускное отверстие 220 системы 200 подачи воздуха.

[214] В одном примере, на основе второго устройства 3 для обработки, воздух, выпускаемый через выпускное отверстие 230, может протекать во второй участок 272 для присоединения выпускного отверстия второго устройства 3 для обработки. Второе устройство 3 для обработки может включать в себя проход 75 для бака, сообщающийся баком 45, и второй участок 272 для присоединения выпускного отверстия может соответствовать проходу 75 для бака либо может изготавливаться отдельно и соединять проход 75 для бака с выпускным отверстием 230.

[215] Например, второе устройство 3 для обработки может включать в себя выпускную раму 240, присоединенную к корпусу 237 вентилятора выпускного отверстия 230, и, по меньшей мере, участок выпускной рамы 240 может соответствовать второму участку 272 для присоединения выпускного отверстия. Проход 75 для бака может присоединяться ко второму участку 272 для присоединения выпускного отверстия.

[216] Воздух, вытекающий из выпускного отверстия 230, может протекать в бак 45 посредством протекания вдоль второго участка 272 для присоединения выпускного отверстия и прохода 75 для бака. Поскольку внутренняя часть второго барабана 40 имеет взаимосвязь на основе сообщения с внутренней частью бака 45, высокотемпературный сухой воздух, предоставленный из выпускного отверстия 230, может предоставляться во второй барабан 40 для того, чтобы выполнять процесс сушки белья.

[217] Воздух в баке 45 может выпускаться за пределы бака 45 через впускное отверстие бака, и воздух может протекать вдоль прокладки 65 бака, окружающей впускное отверстие бака и второй участок 271 для присоединения впускного отверстия, и доставляться во впускное отверстие 220 системы 200 подачи воздуха. Второй участок 271 для присоединения впускного отверстия может соответствовать участку прокладки 65 бака либо может изготавливаться отдельно и присоединяться к прокладке 65 бака.

[218] Фиг. 16 показывает основание 100, расположенное поверх второго устройства 3 для обработки согласно варианту осуществления настоящего раскрытия сущности. Ссылаясь на фиг.16, в дальнейшем подробно описывается взаимосвязь компоновки основания 100.

[219] Во-первых, один вариант осуществления настоящего раскрытия сущности включает в себя вышеописанные первое устройство 2 для обработки и второе устройство 3 для обработки, первое устройство 2 для обработки включает в себя первый кожух 10 и первый барабан 30, расположенный в первом кожухе 10 и размещающий белье для стирки, и второе устройство 3 для обработки включает в себя второй кожух 20, расположенный под первым кожухом 10, и второй барабан 40, расположенный во втором кожухе 2 0 и размещающий белье для стирки.

[220] Основание 100 может быть расположено ниже первого барабана 30 и может включать в себя систему 200 подачи воздуха для подачи воздуха в первый барабан 30. Основание 100 может располагаться между первым барабаном 30 и вторым барабаном 40.

[221] Соответственно, расстояние между первым барабаном 30, вторым барабаном 40 и основанием 100 может эффективно минимизироваться, и тракт, через который воздух доставляется из системы 200 подачи воздуха основания 100 в первый барабан 30 и второй барабан 40, может эффективно минимизироваться.

[222] Первый кожух 10 может включать в себя первую боковую панель 12, расположенную рядом с первым барабаном 30, и второй кожух 2 0 может включать в себя вторую боковую панель 22, расположенную под первой боковой панелью 12 и располагающуюся рядом со вторым барабаном 40.

[223] По меньшей мере, участок основания 100 может быть расположен ниже верхнего конца второй боковой панели 22. Иными словами, нижний конец основания 100 может быть расположен ниже верхнего конца второй боковой панели 22.

[224] Иными словами, основание 100 может присоединяться ко второму кожуху 20, и, по меньшей мере, участок основания 100 может быть расположен во втором кожухе 20. Тем не менее, также возможна конструкция, в которой основание 100 присоединяется и прикрепляется к первому кожуху 10, и нижний конец основания 100 расположен ниже верхнего конца второй боковой панели 22.

[225] Ссылаясь на фиг.16, в одном варианте осуществления настоящего раскрытия сущности, основание 100 может присоединяться и прикрепляться ко второму кожуху 20, по меньшей мере, участок основания 100 может быть расположен ниже верхнего конца второй боковой панели 22 и располагаться во втором кожухе 20, и оставшаяся часть основания 100 может быть расположена выше верхнего конца второй боковой панели 22 и располагаться в первом кожухе 10. Тем не менее, при необходимости, основание 100 может быть расположено полностью во втором кожухе 20.

[226] В одном варианте осуществления настоящего раскрытия сущности, по меньшей мере, участок основания 100, включающего в себя систему 200 подачи воздуха для подачи воздуха в первый барабан 30, может быть расположен во втором кожухе 20, и, соответственно, расстояние между первым барабаном 30 и землей может эффективно уменьшаться, так что доступность для пользователя первого впускного отверстия для белья для стирки или впускного отверстия первого барабана может эффективно увеличиваться.

[227] Дополнительно, когда нижний конец основания 100 расположен ниже верхнего конца второй боковой панели 22, основание 100 может, в конечном счете, поддерживаться в направлении, параллельном земле, посредством второй боковой панели 22 и т.п., в местоположении поверх второго кожуха 20.

[228] Соответственно, один вариант осуществления настоящего раскрытия сущности может не только эффективно повышать конструктивную устойчивость основания 100 относительно второго кожуха 20, но также и обеспечивать устойчивость основания 100 во время процессов подачи и перемещения, таких как перемещение, установка и т.п.второго устройства 3 для обработки.

[229] Фиг. 17 показывает первый участок 260 для присоединения, присоединенный к основанию 100 в первом устройстве 2 для обработки. Первый участок 260 для присоединения может включать в себя первый участок 261 для присоединения впускного отверстия и первый участок 262 для присоединения выпускного отверстия. Первый участок 261 для присоединения впускного отверстия может сообщаться с впускным отверстием первого барабана первого барабана 30 и может присоединяться к впускному отверстию 220 соединительного участка 210 системы 200 подачи воздуха.

[230] Первый участок 262 для присоединения выпускного отверстия может сообщаться с задней поверхностью первого барабана 30 и может присоединяться к выпускному отверстию 230 соединительного участка 210 системы 200 подачи воздуха. В первом устройстве 2 для обработки, поскольку первый участок 260 для присоединения и соединительный участок 210 системы 200 подачи воздуха присоединяются друг к другу, внутренняя часть первого барабана 30 и система 200 подачи воздуха могут сообщаться между собой.

[231] Фиг. 18 является видом сверху второго кожуха 20. Иными словами, фиг.18 является видом сверху основания 100 и системы 400 подачи детергента.

[232] В одном варианте осуществления настоящего раскрытия сущности, второе устройство 3 для обработки может конструироваться в качестве стиральной машины, как описано выше, и в силу этого второе устройство 3 для обработки может включать в себя бак 45 и систему 400 подачи детергента.

[233] Система 400 подачи детергента может располагаться выше бака 45 с учетом доступности для пользователя, и система хранения детергента для хранения детергента может выдвигаться вперед.

[234] Система 400 подачи детергента может быть расположена под панелью 50 управления. Система 400 подачи детергента может располагаться ниже первой дверцы 18 для загрузки белья для стирки и выше второй дверцы 2 8 для загрузки белья для стирки на основе передней поверхности устройства 1 для обработки белья для стирки таким образом, что пользователь может подавать и перемещать систему 400 подачи детергента без необходимости сгибать или слишком высоко поднимать свою руку.

[235] Бак 45 может располагаться во втором кожухе 20, и второй барабан 40 может устанавливаться в баке 45 и размещать воду. Система 400 подачи детергента может соединяться с баком 45 и может подавать детергент в бак 45.

[236] Система 400 подачи детергента может доставлять детергент вместе с водой в бак 45. Система 400 подачи детергента может позиционироваться выше бака 45 таким образом, что собственные веса воды и детергента могут благоприятствовать протеканию в бак 45.

[237] В одном примере, основание 100 и система 400 подачи детергента могут располагаться на втором кожухе 20 и быть расположены выше бака 45, и, по меньшей мере, участок основания 100 может перекрывать систему 400 подачи детергента вдоль направления, параллельного земле. Иными словами, по меньшей мере, участок основания 100 может быть расположен на вертикальном уровне, идентичном вертикальному уровню системы 400 подачи детергента относительно земли.

[238] Другими словами, основание 100 может позиционироваться таким образом, что оно не перекрывает систему 400 подачи детергента на основе направления, перпендикулярного к земле. Иными словами, участок основания 100, который перекрывает систему 400 подачи детергента вдоль направления, перпендикулярного к земле, может открываться.

[239] В частности, в одном варианте осуществления настоящего раскрытия сущности, вертикальный уровень основания 100 может опускаться, чтобы уменьшать вертикальный уровень первого барабана 30, и нижний конец основания 100 может быть расположен во втором кожухе 20, и в силу этого, по меньшей мере, участок основания 100 может быть расположен на вертикальном уровне, идентичном вертикальному уровню системы 400 подачи детергента относительно земли.

[240] С этой целью, основание 100 может быть открытым в местоположении, соответствующем системе 400 подачи детергента. Поскольку система 400 подачи детергента располагается в открытой зоне 110 основания 100, основание 100 и система 400 подачи детергента могут быть расположены на идентичном вертикальном уровне.

[241] Кроме того, в одном варианте осуществления настоящего раскрытия сущности, первый приводной блок 15, который предоставляет вращающую силу первого барабана 30, не присоединяется к основанию 100 и разнесен от основания 100, так что может создаваться резервная зона, которая задает открытую зону 110 в основании 100. Поскольку система 400 подачи детергента располагается в открытой зоне 110, вертикальный уровень основания 100 может эффективно опускаться.

[242] Более конкретно, один вариант осуществления настоящего раскрытия сущности может иметь систему 200 подачи воздуха, которая подает воздух в первый барабан 30 таким образом, что первое устройство 2 для обработки может выполнять процесс сушки, и может иметь температурный регулятор 300 для нагрева или осушения воздуха в системе 200 подачи воздуха.

[243] В одном примере, с учетом собственных весов системы 200 подачи воздуха и температурного регулятора 300, основание 100 для устойчивого закрепления системы 200 подачи воздуха и температурного регулятора 300 в первом кожухе 10 или втором кожухе 20 может располагаться.

[244] Некоторые компоненты системы 200 подачи воздуха и температурного регулятора 300 могут присоединяться к объекту, отличному от основания 100, например, к раме и т.п., чтобы усиливать прочность первого кожуха 10 или второго кожуха 20.

[245] Тем не менее, с учетом веса выпускного вентилятора 235 системы 200 подачи воздуха или компрессора 310, теплообменника 320 и т.п. температурного регулятора 300, может быть преимущественным включать отдельный опорный элемент, такой как основание 100, для устойчивого расположения компонентов системы 200 подачи воздуха и температурного регулятора 300.

[246] Иными словами, основание 100 может быть расположено в устройстве 1 для обработки белья для стирки для того, чтобы предоставлять зону, в которой, по меньшей мере, участок системы 200 подачи воздуха или температурного регулятора 300 может устанавливаться и поддерживаться. Один вариант осуществления настоящего раскрытия сущности может устойчиво закреплять систему 200 подачи воздуха и температурный регулятор 300 через основание 100.

[247] Чем меньше расстояние до первого барабана 30, тем более преимущественным это является для основания 100, в котором устанавливаются система 200 подачи воздуха и т.п., с тем чтобы иметь возможность выполнять режим сушки белья в первом устройстве 2 для обработки.

[248] Тем не менее, с учетом того, что второе устройство 3 для обработки может соединяться с системой 200 подачи воздуха для того, чтобы выполнять процесс сушки в одном варианте осуществления настоящего раскрытия сущности, основание 100, устанавливаемое выше первого барабана 30, может быть невыгодным, поскольку расстояние между системой 2 00 подачи воздуха и вторыми барабанами 40 чрезмерно увеличивается, и дополнительно может быть невыгодным с точки зрения конструктивной устойчивости, поскольку основание 100, которое имеет относительно большой вес, расположено в верхнем конце устройства 1 для обработки белья для стирки.

[249] Соответственно, в одном варианте осуществления настоящего раскрытия сущности, основание 100 располагается между первым барабаном 30 и вторым барабаном 40, так что расстояние между первым барабаном 30 и вторым барабаном 40 может эффективно задаваться, и конструктивная устойчивость всего устройства 1 для обработки белья для стирки также может повышаться.

[250] В одном примере, как описано выше, система 400 подачи детергента также может располагаться между первым барабаном 30 и вторым барабаном 40 для удобства пользователя и для использования эффекта капания воды/детергента. Иными словами, в одном варианте осуществления настоящего раскрытия сущности, система 400 подачи детергента и основание 100 могут устанавливаться вместе в пространстве между первым барабаном 30 и вторым барабаном 40.

[251] В этом отношении, когда система 400 подачи детергента и основание 100 размещаются вертикально, размер по вертикали, занимаемый посредством пространства между первым барабаном 30 и вторым барабаном 40, увеличивается, что является невыгодным при уменьшении вертикального уровня первого барабана 30. Следовательно, один вариант осуществления настоящего раскрытия сущности может задавать открытую зону 110 в основании 100.

[252] Другими словами, один вариант осуществления настоящего раскрытия сущности может удалять участок основания 100, который обращен к системе 400 подачи детергента перпендикулярно к земле, за счет этого предотвращая возникновение конструктивных помех между основанием 100 и системой 400 подачи детергента, даже когда, по меньшей мере, участок основания 100 и система 400 подачи детергента расположены на идентичном вертикальном уровне.

[253] Открытая зона 110 может быть обращена, по меньшей мере, к участку системы 400 подачи детергента в вертикальном направлении, и открытая зона 110 может формироваться с большим размером зоны, чем система 400 подачи детергента, так что система 400 подачи детергента может быть расположена в открытой зоне 110.

[254] Помимо этого, в одном варианте осуществления настоящего раскрытия сущности, как описано выше, первый приводной блок для вращения первого барабана 30 может удаляться из основания 100 и присоединяться и прикрепляться к первой задней панели 13 и т.п., так что резервная зона для задания открытой зоны 110 в основании 100 может эффективно обеспечиваться.

[255] В одном варианте осуществления настоящего раскрытия сущности, основание 100 предоставляет зону установки для системы 200 подачи воздуха, температурного регулятора 300 и т.п., но, как описано выше, все компоненты, такие как система 200 подачи воздуха и температурный регулятор 300, не должны обязательно устанавливаться на основании 100.

[256] Например, компрессор 310, теплообменник 320 и т.п. могут удаляться из основания 100, и соответствующий участок дополнительно может задавать открытую зону 110. В этом случае, компоненты, которые разнесены и отделены от основания 100, такие как компрессор 310 или теплообменник 320, могут достигать взаимосвязи на основе присоединения с различными компонентами, такими как первый кожух 10, второй кожух 2 0 и бак.

[257] В дальнейшем в этом документе описывается конструкция, из которой основание 100 опускается в одном варианте осуществления настоящего раскрытия сущности.

[258] Во-первых, даже когда основание 100 удаляется, система 200 подачи воздуха и температурный регулятор 300 могут быть расположены между первым барабаном 30 и вторым барабаном 40 с учетом эффективности соединения с первым барабаном 30 и вторым барабаном 40. Дополнительно, по меньшей мере, некоторые компоненты системы 200 подачи воздуха и температурного регулятора 300 могут устанавливаться во втором кожухе 20, с тем чтобы опускать вертикальный уровень второго барабана 40.

[259] Например, система 200 подачи воздуха может присоединяться и прикрепляться к баку 45 второго устройства 3 для обработки. Проход, задающий тракт потока воздуха в системе 200 подачи воздуха, может присоединяться и прикрепляться к баку 45 второго устройства 3 для обработки. Первый участок 260 для присоединения первого барабана 30 может присоединяться к системе 200 подачи воздуха, расположенной во втором кожухе 20, так что внутренняя часть первого барабана 30 и система 200 подачи воздуха могут сообщаться между собой.

[260] В одном примере, по меньшей мере, участок температурного регулятора 300 может быть расположен в проходе. Например, температурный регулятор 300 может включать в себя теплообменник 320, и теплообменник 320 может располагаться в проходе, чтобы осушать или нагревать воздух.

[261] Система 400 подачи детергента может быть расположена на одной стороне в поперечном направлении выше бака 45, и проход может быть расположен на другой стороне в поперечном направлении выше бака 45, так что конструктивные помехи системе 400 подачи детергента могут исключаться.

[262] Компрессор 310 температурного регулятора 300 может располагаться таким образом, его что продольное направление является перпендикулярным или параллельным земле, и может закрепляться посредством присоединения к баку 45 либо закрепляться посредством присоединения ко второму кожуху 20. Когда компрессор 310 располагается параллельно земле, система 200 подачи воздуха и температурный регулятор 300 могут быть полностью расположены во втором кожухе 20.

[263] Когда компрессор 310 присоединяется ко второму кожуху 20, компрессор 310 может присоединяться и прикрепляться к раме для усиления жесткости второго кожуха 20, либо отдельный опорный элемент для монтажа компрессора 310 может располагаться на раме, и компрессор 310 может садиться и присоединяться к опорному элементу. Компрессор 310 может располагаться сзади системы 400 подачи детергента или сзади прохода.

[264] В одном примере, в одном варианте осуществления настоящего раскрытия сущности, второе устройство 3 для обработки может включать в себя систему подачи воды, которая подает воду извне для того, чтобы выполнять процесс стирки белья. Система подачи воды может соединяться с внешним источником подачи воды и может включать в себя клапан 4 50 подачи воды, который регулирует поток воды, предоставленной в бак 45 или систему 400 подачи детергента.

[265] Дополнительно, клапан 450 подачи воды может быть расположен выше основания 100. Иными словами, в одном варианте осуществления настоящего раскрытия сущности, основание 100 может опускаться по вертикальному уровню таким образом, что водяной клапан 450 может позиционироваться выше основания 100.

[266] В одном примере, система подачи воды дополнительно может включать в себя шланг 460 подачи воды, соединенный с системой 400 подачи детергента, через который протекает вода, и, по меньшей мере, участок шланга 460 подачи воды также может быть расположен выше основания 100.

[267] Ссылаясь на фиг.18, клапан 450 подачи воды и шланг 460 подачи воды могут располагаться на основании 100, включающем в себя систему 200 подачи воздуха для подачи воздуха в первый барабан 30. Шланг 460 подачи воды может соединять клапан 450 подачи воды с системой 400 подачи детергента и может доставлять воду, подаваемую из внешнего источника подачи воды, в систему 400 подачи детергента.

[268] В одном варианте осуществления настоящего раскрытия сущности, поскольку клапан 450 подачи воды и шланг 460 подачи воды второго устройства 3 для обработки располагаются на основании 100, компоненты, расположенные между основанием 100 и вторым барабаном 40, могут минимизироваться и, соответственно, вертикальный уровень основания 100 может эффективно опускаться.

[269] Фиг. 18 показывает местоположения компрессора 310, теплопоглотителя 322 и подогревателя 324, которые составляют температурный регулятор 300, описанный выше. В одном варианте осуществления настоящего раскрытия сущности, основание 100 может включать в себя температурный регулятор 300 для регулирования температуры воздуха системы 2 00 подачи воздуха, и температурный регулятор 300 может соответствовать системе циркуляции текучей среды, в которой текучая среда протекает при циркуляции через компрессор 310, подогреватель 324 и теплопоглотитель 322.

[270] Система циркуляции текучей среды может включать в себя теплообменник 320, включающий в себя подогреватель 324 и теплопоглотитель 322, и теплообменник 320 может располагаться в системе 200 подачи воздуха для того, чтобы осушать или нагревать воздух.

[271] Помимо этого, по меньшей мере, участок компрессора 310, который обеспечивает циркуляцию текучей среды, которая обменивается теплом с воздухом в температурном регуляторе 300, может выступать вверх относительно верхнего конца второй боковой панели 22.

[272] Иными словами, верхний конец компрессора 310 может выступать вверх из внутренней части второго кожуха 20 и может быть расположен в первом кожухе 10. Тем не менее, при необходимости, компрессор 310 может быть полностью расположен во втором кожухе 20.

[273] Фиг. 19 показывает компрессор 310 и систему 400 подачи детергента, смонтированные на основании 100 в варианте осуществления настоящего раскрытия сущности. Один вариант осуществления настоящего раскрытия сущности может включать в себя вышеописанный температурный регулятор 300, температурный регулятор 300 может располагаться на основании 100, текучая среда, которая обменивается теплом с видом системы 200 подачи воздуха, может циркулировать в температурном регуляторе 300, и температурный регулятор 300 может соответствовать системе циркуляции текучей среды, включающей в себя компрессор 310, который сжимает текучую среду.

[274] В одном варианте осуществления настоящего раскрытия сущности, нижний конец 312 компрессора 310 может позиционироваться с возможностью перекрывать систему 400 подачи детергента вдоль направления, параллельного земле. Иными словами, нижний конец 312 компрессора 310 может быть расположен на вертикальном уровне, более низком, чем верхний конец системы 400 подачи детергента.

[275] Из числа различных компонентов, смонтированных на основании 100, компрессор 310 может иметь форму стойки, расположенной перпендикулярно к земле, с учетом эффективности сжатия и т.п. Иными словами, на основании 100, компрессор 310 может иметь наибольшую длину в вертикальном направлении.

[276] Соответственно, опускание вертикального уровня верхнего конца компрессора 310 на основании 100 может быть важным при опускании вертикального уровня первого барабана 30. Следовательно, один вариант осуществления настоящего раскрытия сущности может опускать вертикальный уровень компрессора 310 таким образом, что нижний конец 312 компрессора 310 позиционируется параллельно земле вместе с системой 400 подачи детергента, за счет этого эффективно опуская вертикальный уровень первого барабана 30.

[277] Тем не менее, в одном варианте осуществления настоящего раскрытия сущности, нижний конец 312 компрессора 310 может быть расположен ниже нижнего конца системы 400 подачи детергента. В одном варианте осуществления настоящего раскрытия сущности, компрессор 310 может быть расположен сзади системы 400 подачи детергента.

[278] Иными словами, в одном варианте осуществления настоящего раскрытия сущности, нижний конец 312 компрессора 310 может быть расположен сзади системы 400 подачи детергента. Помимо этого, основание 100 дополнительно может включать в себя монтажный участок 120 для компрессора, на котором монтируется компрессор 310, и монтажный участок 120 для компрессора может быть расположен сзади системы 400 подачи детергента.

[279] В частности, один вариант осуществления настоящего раскрытия сущности может опускать вертикальный уровень монтажного участка 120 для компрессора основания 100, на котором монтируется компрессор 310, чтобы опускать вертикальный уровень верхнего конца компрессора 310. Например, в одном варианте осуществления настоящего раскрытия сущности, монтажный участок 120 для компрессора может быть утоплен относительно основания 100 ко второму барабану 40.

[280] Монтажный участок 120 для компрессора может позиционироваться с возможностью перекрывать систему 400 подачи детергента вдоль направления, параллельного земле. Нижний конец монтажного участка 120 для компрессора может располагаться параллельно земле вместе с системой 400 подачи детергента либо может быть расположен ниже системы 400 подачи детергента.

[281] В одном примере, в одном варианте осуществления настоящего раскрытия сущности, монтажный участок 120 для компрессора может располагаться сзади системы 400 подачи детергента, и бак 45 может располагаться таким образом, что его задний конец расположен на более низком вертикальном уровне, чем его передний конец, с тем чтобы предотвращать утечку воды.

[282] Иными словами, местоположения компрессора 310 и монтажного участка 120 для компрессора могут соответствовать местоположениям выше заднего конца бака 45. Поскольку задний конец бака 45 расположен на более низком вертикальном уровне, чем передний конец, нетрудно увеличивать глубину утапливания монтажного участка 120 для компрессора, и это является преимущественным при опускании вертикального местоположения нижнего конца компрессора 120.

[283] Фиг. 20 показывает поперечное сечение монтажного участка 120 для компрессора основания 100 при просмотре сзади согласно варианту осуществления настоящего раскрытия сущности. Фиг. 20 показывает выпускное отверстие 230 системы 200 подачи воздуха и выпускной вентилятор 235, расположенный в выпускном отверстии 230 с возможностью создавать поток воздуха.

[284] Выпускное отверстие 230 может присоединяться к первому участку 262 для присоединения выпускного отверстия, который сообщается с первым барабаном 30 первого устройства 2 для обработки, и может присоединяться ко второму участку 272 для присоединения выпускного отверстия, который сообщается с баком 45 второго устройства 3 для обработки.

[285] В одном примере, монтажный участок 120 для компрессора может задаваться с возможностью быть утопленным вниз таким образом, что он позиционируется ниже оставшейся части основания 100, и в силу этого вертикальный уровень верхнего конца компрессора 310 может опускаться. В одном примере, ссылаясь на фиг.20, монтажный участок 120 для компрессора может формировать самый нижний конец основания 100. На фиг.20, вертикальные уровни нижнего конца 312 компрессора 310 и монтажного участка 120 для компрессора указываются посредством пунктирных линий.

[286] Иными словами, в одном варианте осуществления настоящего раскрытия сущности, основание 100 может включать в себя монтажный участок 120 для компрессора, который утоплен для того, чтобы опускать вертикальный уровень компрессора 310, и нижний конец монтажного участка 120 для компрессора может соответствовать самому нижнему концу основания 100.

[287] В одном примере, компрессор 310 может включать в себя удлиненную опору 315. Удлиненная опора 315 может выдвигаться в направлении от компрессора 310 и присоединяться к монтажному участку 120 для компрессора. Удлиненная опора 315 может повышать конструктивную устойчивость компрессора 310 за счет увеличения размера зоны компрессора 310, поддерживаемого посредством монтажного участка 120 для компрессора.

[288] В одном варианте осуществления настоящего раскрытия сущности, удлиненная опора 315 может позиционироваться параллельно земле вместе с системой 400 подачи детергента. Удлиненная опора 315 может быть расположена, по меньшей мере, ниже верхнего конца системы 400 подачи детергента.

[289] Удлиненная опора 315 может быть расположена в нижнем конце 312 компрессора 310. Иными словами, в одном варианте осуществления настоящего раскрытия сущности, удлиненная опора 315 может задавать нижний конец 312 компрессора 310, и в силу этого удлиненная опора 315 может позиционироваться параллельно земле вместе с системой 400 подачи детергента.

[290] Фиг. 21 показывает теплообменник 320 и систему 400 подачи детергента системы циркуляции текучей среды. На фиг.21, вертикальный уровень нижнего конца теплообменника 32 0 системы циркуляции текучей среды, соответствующего температурному регулятору 300, указывается посредством пунктирной линии.

[291] Как описано выше, теплообменник 320 температурного регулятора 300 может включать в себя теплопоглотитель 322 и подогреватель 324, и теплообменник 320 может быть расположен на стороне системы 400 подачи детергента. Например, система 400 подачи детергента может располагаться на одной стороне в поперечном направлении верхней части второго устройства 3 для обработки, система 200 подачи воздуха может располагаться на другой стороне в поперечном направлении второго устройства 3 для обработки, и теплообменник 320 может располагаться в системе 200 подачи воздуха.

[292] В теплообменнике 320, может возникать теплообмен между текучей средой и воздухом системы 200 подачи воздуха. Нижний конец теплообменника 320 может позиционироваться с возможностью перекрывать систему 400 подачи детергента вдоль направления, параллельного земле.

[293] Здесь, нижний конец теплообменника 320 может означать нижний конец любого одного из теплопоглотителя 322 и подогревателя 324. Соответственно, в одном варианте осуществления настоящего раскрытия сущности, нижний конец теплопоглотителя 322 или подогревателя 324 может позиционироваться параллельно с системой 400 подачи детергента. Нижний конец теплообменника 320 может быть расположен, по меньшей мере, ниже верхнего конца системы 400 подачи детергента.

[294] В одном варианте осуществления настоящего раскрытия сущности, вертикальный уровень основания 100 опускается таким образом, что нижний конец теплообменника 320 перекрывает систему 400 подачи детергента вдоль направления, параллельного земле, за счет этого не только опуская вертикальный уровень первого барабана 30, но также и эффективно уменьшая размер по вертикали всего устройства 1 для обработки белья для стирки.

[295] В одном примере, как описано выше, поскольку открытая зона 110 задается в основании 100, т.е. поскольку основание 100 располагается таким образом, что оно не перекрывает систему 400 подачи детергента в направлении, перпендикулярном к земле, по меньшей мере, участок основания 100 может располагаться таким образом, что он перекрывает систему 400 подачи детергента в направлении, параллельном земле.

[296] Кроме того, в одном варианте осуществления настоящего раскрытия сущности, нижний конец основания 100 может быть расположен на более низком вертикальном уровне, чем верхний конец системы 400 подачи детергента. Основание 100 может позиционироваться таким образом, что его участок перекрывает систему 400 подачи детергента в направлении, параллельном земле, участок основания 100 может быть расположен ниже системы 400 подачи детергента, либо основание 100 может быть полностью расположено на вертикальном уровне, более низком, чем система 400 подачи детергента.

[297] В дальнейшем в этом документе подробно описывается взаимосвязь на основе присоединения между системой 200 подачи воздуха и первым устройством 2 для обработки согласно одному варианту осуществления настоящего раскрытия сущности.

[298] Фиг. 22 показывает впускное отверстие 220, соответствующее соединительному участку 210 системы 200 подачи воздуха, первый участок 261 для присоединения впускного отверстия, соответствующий первому участку 260 для присоединения первого устройства 2 для обработки, и второй участок 271 для присоединения впускного отверстия, соответствующий второму участку 270 для присоединения второго устройства 3 для обработки, присоединенные друг к другу согласно варианту осуществления настоящего раскрытия сущности.

[299] Как описано выше, в одном варианте осуществления настоящего раскрытия сущности, основание 100 может располагаться на втором устройстве 3 для обработки, и первое устройство 2 для обработки может садиться и присоединяться ко второму устройству 3 для обработки, так что внутренняя часть первого барабана 30 и система 200 подачи воздуха могут сообщаться между собой.

[300] Иными словами, в одном варианте осуществления настоящего раскрытия сущности, первое устройство 2 для обработки может устанавливаться на втором устройстве 3 для обработки, так что система 200 подачи воздуха и внутренняя часть первого барабана 30 могут сообщаться между собой.

[301] В одном примере, второй участок 271 для присоединения впускного отверстия может соединять бак 45 с впускным отверстием 220 в первом устройстве 2 для обработки. Второй участок 271 для присоединения впускного отверстия может присоединяться к впускному отверстию 220 и соединяться с внутренней частью бака 45. Второй участок 271 для присоединения впускного отверстия может быть расположен на стороне переднего конца бака 45.

[302] Первое устройство 2 для обработки может включать в себя прокладку 65 бака для уплотнения пространства между передним концом бака 45 и второй передней панелью 21, прокладка 65 бака может окружать впускное отверстие бака, и второй участок 271 для присоединения впускного отверстия может присоединяться к прокладке 65 бака или может формироваться как единое целое с прокладкой 65 бака.

[303] Фиг. 23 является видом сверху впускного отверстия 220 системы 200 подачи воздуха согласно варианту осуществления настоящего раскрытия сущности. Верхний конец впускного отверстия 220 может выступать с возможностью позиционироваться выше верхнего конца второй боковой панели 22.

[304] Впускное отверстие 220 может располагаться в переднем конце основания 100, и тракт для воздушного потока системы 200 подачи воздуха может задаваться назад относительно впускного отверстия 220. Теплопоглотитель 322 и подогреватель 324 температурного регулятора 300 могут быть расположены сзади впускного отверстия 220.

[305] Фиг. 24 показывает первый участок 260 для присоединения первого устройства 2 для обработки. Фиг. 24 показывает первый участок 261 для присоединения впускного отверстия, сообщающийся с впускным отверстием первого барабана первых участков 260 для присоединения. Первый участок 261 для присоединения впускного отверстия может иметь внутреннюю панель 60. Первый участок 2 61 для присоединения впускного отверстия может присоединяться к внутренней панели 60 или может формоваться в качестве участка внутренней панели 60.

[306] Соединительный участок 210 системы 200 подачи воздуха может сообщаться с внутренней частью первого барабана 30. Первое устройство 2 для обработки может включать в себя первый участок 260 для присоединения, который передвигается в первом направлении и присоединяется к соединительному участку 210.

[307] Как описано выше, первое устройство 2 для обработки может передвигаться вдоль первого направления на втором устройстве 3 для обработки. В этом процессе, первый участок 260 для присоединения первого устройства 2 для обработки может передвигаться вдоль первого направления и присоединяться к соединительному участку 210.

[308] Фиг. 25 показывает открытую поверхность 211, которая открывается из соединительного участка 210 к первому участку 260 для присоединения согласно варианту осуществления настоящего раскрытия сущности. Соединительный участок 210 на фиг.25 может соответствовать впускному отверстию 220, и в силу этого открытая поверхность 211, которая открывается к первому участку 261 для присоединения впускного отверстия, может задаваться во впускном отверстии 220.

[309] Периферийный участок открытой поверхности 211 в соединительном участке 210 может достигать взаимосвязи на основе контакта с первым участком 260 для присоединения, и, соответственно, соединительный уплотнитель 250 для того, чтобы предотвращать утечку воздуха, может располагаться на периферийном участке открытой поверхности 211.

[310] Фиг. 26 показывает соединительный уплотнитель 250 согласно варианту осуществления настоящего раскрытия сущности. Соединительный уплотнитель 250 может располагаться не только во впускном отверстии 220, но также и в выпускном отверстии 230 соединительного участка 210, и их характеристики формы также могут быть идентичными.

[311] Соединительный уплотнитель 250 может включать в себя первый участок 251, расположенный в первом направлении относительно открытой поверхности 211, второй участок 252, расположенный в направлении, противоположном первому направлению относительно открытой поверхности 211, и оставшуюся часть за исключением первого участка 251 и второго участка 252, расположенную в передвижных канавках 212 впускного отверстия 220. Ниже подробно описываются характеристики, связанные с компоновкой соединительного уплотнителя 250.

[312] Фиг. 27 показывает первый участок 261 для присоединения впускного отверстия, расположенный на впускном отверстии 220 в варианте осуществления настоящего раскрытия сущности. Первый участок 261 для присоединения впускного отверстия на фиг.27 расположен на большом расстоянии от корректного местоположения присоединения для впускного отверстия 220 в направлении, противоположном первому направлению.

[313] Иными словами, первый участок 261 для присоединения впускного отверстия на фиг.27 может быть расположен в местоположении до того, как первое устройство 2 для обработки передвигается, и первый участок 261 для присоединения впускного отверстия может перемещаться в корректное местоположение присоединения одновременно с тем, когда первое устройство 2 для обработки передвигается в первом направлении, например, вперед.

[314] Фиг. 28 показывает состояние, в котором первый участок 261 для присоединения впускного отверстия на фиг.27 перемещается в первом направлении и располагается в корректном местоположении присоединения и присоединяется к впускному отверстию 220. Взаимосвязь на основе присоединения на основе передвижения может иметь идентичные характеристики для выпускного отверстия 230 и первого участка 262 для присоединения выпускного отверстия.

[315] В одном варианте осуществления настоящего раскрытия сущности, система 200 подачи воздуха для подачи воздуха в первый барабан 30 может быть отделимой от первого устройства 2 для обработки, и соединительный участок 210 системы 200 подачи воздуха и первый участок 260 для присоединения первого устройства 2 для обработки могут присоединяться друг к другу через процесс присоединения между первым устройством 2 для обработки и вторым устройством 3 для обработки, так что внутренняя часть первого барабана 30 и система 200 подачи воздуха могут эффективно сообщаться между собой.

[316] В одном примере, в одном варианте осуществления настоящего раскрытия сущности, периферийный участок открытой поверхности 211 может проектироваться таким образом, что соединительный участок 210 эффективно присоединяется к первому участку 260 для присоединения, который передвигается в первом направлении.

[317] В частности, соединительный участок 210 может включать в себя первую соединительную поверхность 213 и вторую соединительную поверхность 214. Первая соединительная поверхность 213 может быть расположена в первом направлении относительно открытой поверхности 211 и может быть расположена выше открытой поверхности 211 для того, чтобы поддерживать первый участок 260 для присоединения в первом направлении.

[318] Помимо этого, вторая соединительная поверхность 214 может быть расположена в противоположном направлении по отношению к первому направлению относительно открытой поверхности 211 и может быть расположена ниже открытой поверхности 211 для того, чтобы поддерживать первый участок 260 для присоединения в первом направлении.

[319] Первая соединительная поверхность 213 и вторая соединительная поверхность 214 могут формировать участок периферийного участка открытой поверхности 211, описанной выше. Иными словами, одна сторона, расположенная в первом направлении относительно открытой поверхности 211 периферийного участка, может включать в себя первую соединительную поверхность 213, другая сторона, расположенная на противоположной стороне по отношению к одной стороне, может включать в себя вторую соединительную поверхность 214, и передвижные канавки 212 могут задаваться в оставшихся сторонах.

[320] Открытая поверхность 211 может представлять собой поверхность, приблизительно параллельную земле. Иными словами, открытая поверхность 211 может открываться приблизительно вверх, и первый участок 260 для присоединения может быть расположен на соединительном участке 210 и покрывать открытую поверхность 211.

[321] Первая соединительная поверхность 213 может быть расположена в первом направлении относительно открытой поверхности 211. Например, первая соединительная поверхность 213 может быть расположена впереди открытой поверхности 211. Первая соединительная поверхность 213 может выступать вверх относительно открытой поверхности 211, и первый участок 260 для присоединения может входить в контакт с первой соединительной поверхностью 213 сзади.

[322] Вторая соединительная поверхность 214 может быть расположена в направлении, противоположном первому направлению относительно открытой поверхности 211. Например, вторая соединительная поверхность 214 может быть расположена сзади открытой поверхности 211. Вторая соединительная поверхность 214 может располагаться ниже открытой поверхности 211, и первый участок 260 для присоединения может входить в контакт со второй соединительной поверхностью 214 сзади.

[323] В соответствии с соединительным участком 210, первый участок 260 для присоединения также может включать в себя первую поверхность 268 присоединения и вторую поверхность 269 присоединения. Первая поверхность 268 присоединения может располагаться на передней стороне первого участка 260 для присоединения и позиционироваться выше открытой поверхности 211, и вторая поверхность 269 присоединения может располагаться на задней стороне первого участка 260 для присоединения и выступать вниз относительно открытой поверхности 211.

[324] Первая поверхность 268 присоединения первого участка 260 для присоединения может входить в контакт с первой соединительной поверхностью 213 вперед, и вторая поверхность 269 присоединения может входить в контакт со второй соединительной поверхностью 214 вперед.

[325] В одном варианте осуществления настоящего раскрытия сущности, поскольку первая соединительная поверхность 213 и вторая соединительная поверхность 214 включаются в соединительный участок 210, контактный участок между соединительным участком 210 и первым участком 260 для присоединения может достигать устойчивого поверхностного контакта, а не линейного контакта. Соответственно, ситуация, в которой воздух утекает между соединительным участком 210 и первым участком 260 для присоединения, может эффективно подавляться.

[326] Описание первой соединительной поверхности 213 и второй соединительной поверхности 214 приведено на основе впускного отверстия 220 и первого участка 261 для присоединения впускного отверстия на фиг.28, но оно также может применяться к выпускному отверстию 230 и второму участку 271 для присоединения впускного отверстия, как описано ниже.

[327] В одном примере, первый участок 251 соединительного уплотнителя 250, расположенный в первом направлении относительно открытой поверхности 211, может позиционироваться выше второго участка 252, расположенного в противоположном направлении по отношению к первому направлению.

[328] Иными словами, первый участок 251 соединительного уплотнителя 250 может располагаться на первой соединительной поверхности 213, и второй участок 252 может располагаться на второй соединительной поверхности 214. Соединительный уплотнитель 250 может располагаться в контактном участке между соединительным участком 210 и первым участком 260 для присоединения для того, чтобы предотвращать утечку воздуха.

[329] Фиг. 29 показывает передвижную канавку 212, заданную в соединительном участке 210, и соединительный уплотнитель 250, вставленный в передвижную канавку 212.

[330] В одном варианте осуществления настоящего раскрытия сущности, передвижные канавки 212 могут задаваться в оставшейся части за исключением первой соединительной поверхности и второй соединительной поверхности 214, т.е. обеих сторон периферийного участка, окружающего открытую поверхность 211. Участок первого участка 260 для присоединения, например, передвижной выступ, выступающий из первого участка для присоединения 260 к передвижной канавке 212, может вставляться и передвигаться в передвижной канавке 212.

[331] В одном варианте осуществления настоящего раскрытия сущности, соединительный уплотнитель 250 может окружать открытую поверхность 211, которая является открытой к первому участку 260 для присоединения, соединительный участок 210 может включать в себя передвижную канавку 212, протягивающуюся вдоль первого направления, в которую вставляется и передвигается участок первого участка 260 для присоединения, и участок соединительного уплотнителя 250 может располагаться в передвижной канавке 212. Например, обе стороны соединительного уплотнителя 250 могут вставляться в передвижные канавки 212, чтобы уплотнять пространство между соединительным участком 210 и первым участком 260 для присоединения.

[332] Передвижная канавка 212 может протягиваться вдоль первого направления. Например, передвижная канавка 212 может протягиваться в направлении вперед и назад. Первый участок 260 для присоединения может передвигаться вперед с передвижным выступом, вставленным в передвижную канавку 212.

[333] Дополнительно, передвижные выступы первого участка 260 для присоединения, вставленные в передвижную канавку 212, могут иметь форму ребра, протягивающегося в первом направлении, и могут соединяться со второй поверхностью 269 присоединения и иметь квадратную форму с одной открытой стороной.

[334] Фиг. 30 показывает внутреннюю часть впускного отверстия 220, присоединенного к первому участку 260 для присоединения и второму участку 270 для присоединения согласно варианту осуществления настоящего раскрытия сущности.

[335] Проход, сообщающийся с внутренней частью первого барабана 30, может задаваться на впускном отверстии 220 посредством первого участка 260 для присоединения, и проход может задаваться во внутренней панели 60. Внутренний фильтр 62 для удаления посторонних веществ из воздуха, выпускаемого из первого барабана 30, может располагаться во внутренней панели 60.

[336] Проход, сообщающийся с внутренней частью бака 45 или второго барабана 40, может задаваться под впускным отверстием 220 посредством второго участка 270 для присоединения, и проход может протягиваться через прокладку 65 бака и соединяться с внутренней частью бака 45.

[337] В частности, в одном варианте осуществления настоящего раскрытия сущности, система 200 подачи воздуха может включать в себя соединительный участок 210 для того, чтобы сообщаться с первым барабаном 30 и вторым барабаном 40, первое устройство 2 для обработки дополнительно может включать в себя первый участок 260 для присоединения, который соединяется с соединительным участком 210 и обеспечивает возможность внутренней части первого барабана 30 и соединительному участку 210 сообщаться между собой, и второе устройство 3 для обработки дополнительно может включать в себя второй участок 270 для присоединения, который соединяется с соединительным участком 210 и обеспечивает возможность внутренней части второго барабана 40 и соединительному участку 210 сообщаться между собой.

[338] По меньшей мере, один из соединительного участка 210, первого участка 260 для присоединения и второго участка 270 для присоединения может включать в себя селектор 280, который попеременно обеспечивает воздушный поток между соединительным участком 210 и любым из первого участка 260 для присоединения и второго участка 270 для присоединения.

[339] Селектор 280 может включать в себя первый селектор 281 и второй селектор 282. Первый селектор 281 может конструироваться с возможностью регулировать воздушный поток впускного отверстия 220, и второй селектор 282 может конструироваться с возможностью регулировать воздушный поток выпускного отверстия 230.

[340] Фиг. 30 показывает первый селектор 281, расположенный во впускном отверстии 220. Первый селектор 281 может конструироваться с возможностью позволять одному из первого участка 261 для присоединения впускного отверстия и второго участка 271 для присоединения впускного отверстия сообщаться с внутренней частью впускного отверстия 220 и закрывать другой.

[341] Фиг. 31 показывает первый селектор 281 согласно варианту осуществления настоящего раскрытия сущности. Первый селектор 281 может располагаться с возможностью протягиваться вдоль одного направления и вращаться вокруг вращательного вала, параллельно одному направлению. Система 200 подачи воздуха может включать в себя первый электромотор для вращения первого выбирателя 281.

[342] Иными словами, в одном варианте осуществления настоящего раскрытия сущности, селектор 280 может

конструироваться с возможностью быть вращающимся, может обеспечивать воздушный поток между первым участком 260 для присоединения и соединительным участком 210 в первом местоположении R1 вращения и может обеспечивать воздушный поток между вторым участком 270 для присоединения и соединительным участком 210 во втором местоположении R2 вращения.

[343] Пространство, в котором вращается первый селектор 281, может задаваться во впускном отверстии 220. В одном варианте осуществления настоящего раскрытия сущности, впускное отверстие 220 и открытая поверхность 211 могут иметь форму, которая протягивается приблизительно в поперечном направлении, и первый селектор 281 также может иметь форму, которая протягивается в поперечном направлении.

[344] Первый селектор 281 может включать в себя блокирующий уплотнитель 283. Блокирующий уплотнитель 283 может располагаться на первом выбирателе 281 с возможностью находиться в контакте с внутренней поверхностью соединительного участка 210. Участок, в котором блокирующий уплотнитель 283 и внутренняя поверхность соединительного участка 210 находятся в контакте между собой, может блокировать воздушный поток.

[345] Фиг. 32 показывает первый селектор 281, вращаемый таким образом, что первый участок 261 для присоединения впускного отверстия сообщается с внутренней частью системы 200 подачи воздуха. Иными словами, на фиг.32, впускное отверстие 220 может сообщаться с первым барабаном 30, и взаимосвязь на основе сообщения с внутренней частью бака 45 может блокироваться.

[346] На фиг.32, поток воздуха указывается посредством стрелок. Первый селектор 281 может включать в себя пару блокирующих уплотнителей 2 83, и первый селектор 2 81 может вращаться в первое местоположение R1 вращения, чтобы экранировать второй участок 271 для присоединения впускного отверстия.

[347] В первом выбирателе 281, блокирующие уплотнители 283 могут располагаться на обеих сторонах второго участка 271 для присоединения впускного отверстия на основе направления вращения первого выбирателя 281. Иными словами, в первом местоположении R1 вращения первого выбирателя 281, блокирующие уплотнители 283 могут располагаться на обеих сторонах второго участка 271 для присоединения впускного отверстия за пределами пространства между первым участком 261 для присоединения впускного отверстия и внутренней частью впускного отверстия 220 для того, чтобы блокировать взаимосвязь на основе сообщения между впускным отверстием 220 и вторым участком 271 для присоединения впускного отверстия.

[348] Фиг. 33 показывает первый селектор 281, вращаемый таким образом, что второй участок 271 для присоединения впускного отверстия сообщается с внутренней частью системы 200 подачи воздуха. Иными словами, на фиг.33, впускное отверстие 220 может сообщаться с баком 45, и взаимосвязь на основе сообщения с первым барабаном 30 может блокироваться.

[349] На фиг.33, поток воздуха указывается посредством стрелок. Первый селектор 281 может вращаться во второе местоположение R2 вращения, чтобы экранировать первый участок 261 для присоединения впускного отверстия. Иными словами, во втором местоположении R2 вращения первого выбирателя 281, блокирующие уплотнители 283 могут располагаться на обеих сторонах первого участка 261 для присоединения впускного отверстия за пределами пространства между вторым участком 271 для присоединения впускного отверстия и внутренней частью впускного отверстия 220 для того, чтобы блокировать взаимосвязь на основе сообщения между впускным отверстием 22 0 и первым участком 261 для присоединения впускного отверстия.

[350] Первый электромотор может быть расположен за пределами соединительного участка 210, проходить через соединительный участок 210 и присоединяться к первому выбирателю 281. Один вариант осуществления настоящего раскрытия сущности может эффективно управлять взаимосвязями на основе сообщения между впускным отверстием 220 и первым участком 261 для присоединения впускного отверстия и вторым участком 271 для присоединения впускного отверстия посредством регулирования местоположения вращения первого выбирателя 281 и в силу этого может эффективно выполнять процесс сушки первого устройства 2 для обработки и второго устройства 3 для обработки.

[351] Фиг. 34 показывает второй участок 271 для присоединения впускного отверстия и выпускное отверстие 230 системы 200 подачи воздуха, сообщающееся со вторым участком 271 для присоединения впускного отверстия согласно варианту осуществления настоящего раскрытия сущности. Выпускное отверстие 230 может включать в себя выпускной вентилятор 235 и может включать в себя корпус 237 вентилятора, который экранирует, по меньшей мере, участок выпускного вентилятора 235 извне.

[352] Выпускное отверстие 230 может присоединяться вверх к первому участку 262 для присоединения выпускного отверстия первого устройства 2 для обработки и может соединяться со вторым участком 272 для присоединения выпускного отверстия, сообщающимся с баком 45. Выпускное отверстие 230 может быть расположено на противоположной стороне впускного отверстия 220 в системе 200 подачи воздуха.

[353] В системе 200 подачи воздуха, может задаваться тракт для воздушного потока, протягивающийся из впускного отверстия 220 в выпускное отверстие 230. Воздух, вытекающий из выпускного отверстия 230, может предоставляться в первый барабан 30 или бак 45.

[354] Фиг. 35 показывает первый участок 262 для присоединения выпускного отверстия первого устройства 2 для обработки согласно варианту осуществления настоящего раскрытия сущности. Первое устройство 2 для обработки может включать в себя воздуховод 70, присоединенный к первой задней панели 13, и воздуховод 70 может соответствовать первому участку 262 для присоединения выпускного отверстия, описанному выше, или первый участок 262 для присоединения выпускного отверстия может располагаться отдельно и присоединяться к воздуховоду 70 или первой задней панели 13.

[355] Когда воздуховод 70 соответствует первому участку 262 для присоединения выпускного отверстия, воздух, предоставленный в воздуховод 70, может протекать вдоль воздушного прохода 80, заданного в первой задней панели 13 через воздуховод 70, и протекать в первый барабан 30 через заднюю поверхность первого барабана 30.

[356] Фиг. 36 показывает выпускное отверстие 230 с отделенным первым участком 262 для присоединения выпускного отверстия. Выпускное отверстие 230 может включать в себя корпус 237 вентилятора, выпускная рама 240 может присоединяться к корпусу 237 вентилятора и открытой поверхности 211 соединительного участка 210, и периферийный участок открытой поверхности 211 может быть расположен в выпускной раме 240.

[357] В одном примере, выпускная рама 240 может включать в себя второй участок 272 для присоединения выпускного отверстия. Иными словами, приточная поверхность 242 второго участка 272 для присоединения выпускного отверстия, через который воздух протекает во второй участок 272 для присоединения выпускного отверстия, может формироваться в выпускной раме 240.

[358] Приточная поверхность 242 может быть расположена параллельно открытой поверхности 211 выпускного отверстия 230, и приточная поверхность 242 и открытая поверхность 211 могут избирательно секционироваться посредством второго выбирателя 282, который описывается ниже. Второй участок 272 для присоединения выпускного отверстия может протягиваться из поверхности впускного отверстия 242 к баку 45.

[359] Фиг. 37 показывает выпускную раму 240 согласно варианту осуществления настоящего раскрытия сущности. Выпускная рама 240 может присоединяться к выпускному отверстию 230 таким образом, что она составляет участок выпускного отверстия 230, и может включать в себя второй участок 272 для присоединения выпускного отверстия.

[360] Выпускная рама 240 может включать в себя открытую поверхность 211, описанную выше, и периферийный участок, окружающий открытую поверхность 211, и описание открытой поверхности 211 и периферийного участка является практически идентичным контенту впускного отверстия 220, описанного выше.

[361] Тем не менее, в выпускной раме 240, периферийный участок может конструироваться с возможностью окружать не только открытую поверхность 211, но также и приточную поверхность 242 второго участка 272 для присоединения выпускного отверстия. Иными словами, периферийный участок и соединительный уплотнитель 250, расположенный в выпускном отверстии 230, могут конструироваться с возможностью окружать открытую поверхность 211 и приточную поверхность 242 вместе, с тем чтобы предотвращать утечку воздуха.

[362] Периферийный участок выпускного отверстия 230 также может включать в себя первую соединительную поверхность 213, вторую соединительную поверхность 214 и передвижные канавки 212. Первая соединительная поверхность 213 может быть расположена в первом направлении относительно открытой поверхности 211 выпускного отверстия 230 и приточной поверхности 242 второго участка 272 для присоединения выпускного отверстия, и вторая соединительная поверхность 214 может быть расположена в противоположном направлении по отношению к первому направлению относительно открытой поверхности 211 и приточной поверхности 242.

[363] Передвижные канавки 212 могут задаваться на обеих сторонах периферийного участка, расположенного поперечно относительно открытой поверхности 211 и приточной поверхности 242.

[364] Фиг. 38 показывает воздуховод 70, соответствующий первому участку 262 для присоединения выпускного отверстия, расположенному на выпускном отверстии 230, и фиг.39 показывает первый участок 262 для присоединения выпускного отверстия на фиг.38, передвижной вдоль первого направления и присоединенный к выпускному отверстию 230.

[365] Аналогично первому участку 261 для присоединения впускного отверстия, первый участок 262 для присоединения выпускного отверстия может присоединяться к соединительному участку 210 посредством передвижения на соединительном участке 210 во время процесса передвижения первого устройства 2 для обработки. Иными словами, первый участок 262 для присоединения выпускного отверстия может передвигаться вперед и присоединяться к выпускному отверстию 230 таким образом, что он покрывает открытую поверхность 211 выпускного отверстия 230.

[366] Первая соединительная поверхность 213 выпускного отверстия 230 может быть расположена выше открытой поверхности 211 выпускного отверстия 230, и вторая соединительная поверхность 214 выпускного отверстия 230 может быть расположена ниже открытой поверхности 211 выпускного отверстия 230. Дополнительно, в одном варианте осуществления настоящего раскрытия сущности, обе стороны периферийного участка выпускного отверстия 230 могут быть наклонными таким образом, что их вертикальный уровень увеличивается в первом направлении.

[367] Соответственно, перемещение первого участка 262 для присоединения выпускного отверстия, передвигающегося на выпускном отверстии 230, может вызываться естественными причинами, и степень непосредственного контакта между первым участком 2 62 для присоединения выпускного отверстия и выпускным отверстием 230 может эффективно увеличиваться.

[368] В соединительном уплотнителе 250 выпускного отверстия 230, первый участок 251 может быть расположен на первой соединительной поверхности 213 и может быть расположен выше открытой поверхности 211 и приточной поверхности 242, и второй участок 252 может быть расположен на второй соединительной поверхности 214 и может быть расположен ниже открытой поверхности 211 и приточной поверхности 242. Характеристики касательно открытой поверхности 211, периферийного участка и соединительного уплотнителя 250 выпускного отверстия 230 могут применяться идентично вышеприведенному описанию впускного отверстия 220, если не указано иное.

[369] Фиг. 40 показывает выпускное отверстие 230, первый участок 262 для присоединения выпускного отверстия, второй участок 272 для присоединения выпускного отверстия и второй селектор 282. Выпускное отверстие 230 может включать в себя выпускной вентилятор 235 и корпус 237 вентилятора, и воздух, протекающий за счет выпускного вентилятора 235, может выпускаться за пределы корпуса 237 вентилятора через открытую поверхность 211.

[370] Воздух, выпускаемый через открытую поверхность 211, может предоставляться в первый участок 262 для присоединения выпускного отверстия. Тем не менее, участок внутренней части первого участка 262 для присоединения выпускного отверстия может совместно использоваться со вторым участком 272 для присоединения выпускного отверстия. Соответственно, воздух, выпускаемый через открытую поверхность 211, может подаваться в первый участок 262 для присоединения выпускного отверстия и затем может доставляться в воздушный проход 80 первой задней панели 13 через сбросную поверхность 241 первого участка 262 для присоединения выпускного отверстия или предоставляться в бак 45 посредством протекания во второй участок 272 для присоединения выпускного отверстия через приточную поверхность 242 второго участка 272 для присоединения выпускного отверстия, в зависимости от местоположения вращения второго выбирателя 282.

[371] Проход 75 для бака может иметь тип сильфона, протягивающийся из бака 45, и второй участок 272 для присоединения выпускного отверстия и проход 75 для бака могут присоединяться друг к другу.

[372] Второй селектор 282 может располагаться в любом из выпускного отверстия 230, первого участка 262 для присоединения выпускного отверстия и второго участка 272 для присоединения выпускного отверстия. Фиг. 40 показывает второй селектор 282, расположенный в первом участке 262 для присоединения выпускного отверстия согласно варианту осуществления настоящего раскрытия сущности.

[373] Фиг. 41 показывает второй селектор 282 согласно варианту осуществления настоящего раскрытия сущности. Второй селектор 282 может быть вращающимся в первом участке 262 для присоединения выпускного отверстия, т.е. в воздуховоде 70 первого устройства 2 для обработки.

[374] Второй селектор 282 может включать в себя вращательный вал и может включать в себя пластинчатый корпус, вращающийся вокруг вращательного вала. Блокирующий уплотнитель 283 для того, чтобы блокировать поток воздуха в первом участке 262 для присоединения выпускного отверстия, может располагаться на краю корпуса.

[375] Стопор может располагаться на одной стороне корпуса второго выбирателя 282, чтобы ограничивать диапазон вращения корпуса. Стопор может располагаться на одном конце корпуса в выступающей форме вдоль направления вращения второго выбирателя 282 и может конструироваться с возможностью ограничивать диапазон вращения второго выбирателя 282 через контакт с внутренней поверхностью первого участка 262 для присоединения выпускного отверстия.

[376] Фиг. 42 показывает состояние, в котором второй селектор 282 вращается таким образом, что он расположен в первом местоположении R1 вращения, и воздух, вытекающий из выпускного отверстия 230, выпускается через сбросную поверхность 241 первого участка 262 для присоединения выпускного отверстия. На фиг. 42 поток воздуха, вытекающего из выпускного отверстия 230, показан посредством стрелки.

[377] Второй селектор 282 может позиционироваться с возможностью секционировать открытую поверхность 211 выпускного отверстия 230 относительно приточной поверхности 242 второго участка 272 для присоединения выпускного отверстия в первом местоположении R1 вращения. Соответственно, воздух, вытекающий через открытую поверхность 211 выпускного отверстия 230 и существующий в первом участке 262 для присоединения выпускного отверстия, не может протекать в приточную поверхность 242 второго участка 272 для присоединения выпускного отверстия, но может вытекать через сбросную поверхность 241 первого участка 262 для присоединения выпускного отверстия и доставляться в воздушный проход 80 первой задней панели 13.

[378] В этом случае, блокирующий уплотнитель 283, расположенный на втором выбирателе 282, входит в контакт с внутренней поверхностью первого участка 262 для присоединения выпускного отверстия и зоной между открытой поверхностью 211 и приточной поверхностью 242 выпускной рамы 240, за счет этого секционируя открытую поверхность 211 и приточную поверхность 242 относительно друг друга.

[37 9] Вращательный вал второго выбирателя 282 может располагаться в конце корпуса второго выбирателя 282, и вращательный вал может присоединяться с возможностью вращения к внутренней поверхности первого участка 262 для присоединения выпускного отверстия. Второй электромотор для вращения второго выбирателя 282 может располагаться за пределами первого участка 262 для присоединения выпускного отверстия и присоединяться к вращательному валу.

[380] Фиг. 43 показывает состояние, в котором второй селектор 282 вращается таким образом, что он расположен во втором местоположении R2 вращения, и воздух, вытекающий из выпускного отверстия 230, протекает во второй участок 272 для присоединения выпускного отверстия через приточную поверхность 242 второго участка 272 для присоединения выпускного отверстия согласно варианту осуществления настоящего раскрытия сущности.

[381] Второй селектор 282 может позиционироваться с возможностью секционировать открытую поверхность 211 выпускного отверстия 230 относительно сбросной поверхности 241 первого участка 262 для присоединения выпускного отверстия во втором местоположении R2 вращения. Соответственно, воздух, вытекающий через открытую поверхность 211 выпускного отверстия 230 и существующий в первом участке 262 для присоединения выпускного отверстия, не может протекать в сбросную поверхность 241 первого участка 262 для присоединения выпускного отверстия, но может протекать во второй участок 272 для присоединения выпускного отверстия через приточную поверхность 242 второго участка 272 для присоединения выпускного отверстия.

[382] Первый селектор 281 и второй селектор 282 могут вращаться вместе таким образом, что они расположены в первом местоположении R1 вращения и во втором местоположении R2 вращения. Например, когда первый селектор 281 вращается в первое местоположение R1 вращения, второй селектор 282 также может вращаться в первое местоположение R1 вращения, и когда первый селектор 281 вращается во второе местоположение R2 вращения, второй селектор 282 также может вращаться во второе местоположение R2 вращения.

[383] Местоположения вращения первого выбирателя 281 и второго выбирателя 282 могут достигаться посредством управления первым электромотором и вторым электромотором. Один вариант осуществления настоящего раскрытия сущности дополнительно может включать в себя контроллер, который управляет первым электромотором и вторым электромотором.

[384] В одном варианте осуществления настоящего раскрытия сущности, процессы сушки первого барабана 30 и второго барабана 40 могут выполняться через одну систему 200 подачи воздуха. Например, когда основание 100 располагается выше первого барабана 30, вертикальный уровень первого барабана 30 может опускаться, но расстояние между вторым барабаном 40 и основанием 100 может увеличиваться, что может быть невыгодным при выполнении процесса сушки второго барабана 40.

[385] Кроме того, один вариант осуществления настоящего раскрытия сущности может эффективно выбирать тракт потока воздуха, циркулирующего через систему 2 00 подачи воздуха, с использованием выбирателя 280, за счет этого реализуя эффективную конструкцию для сушки.

[386] Хотя настоящее раскрытие сущности проиллюстрировано и описано в связи с конкретным вариантом осуществления, специалистам в данной области техники должно быть очевидным, что настоящее раскрытие сущности может модифицироваться и изменяться различными способами без отступления от технической сущности настоящего раскрытия сущности, предоставленной посредством нижеприведенной формулы изобретения.

Похожие патенты RU2833314C2

название год авторы номер документа
УСТРОЙСТВО ДЛЯ СТИРКИ И ОБРАБОТКИ БЕЛЬЯ 2021
  • Дзунг, Йоунгхо
  • Ким, Минсу
  • Парк, Юнхонг
RU2771266C1
УСТРОЙСТВО ДЛЯ СТИРКИ И ОБРАБОТКИ БЕЛЬЯ 2021
  • Дзунг, Йоунгхо
  • Ким, Минсу
  • Парк, Юнхонг
RU2793111C2
СТИРАЛЬНАЯ МАШИНА БАРАБАННОГО ТИПА 2014
  • Лим Хиунг Суб
  • Канг Мин Хее
  • Бае Сеок Кеун
  • Йоо Санг Ох
  • Сеок Хие Дзоон
  • Канг Геун
RU2604447C1
СТИРАЛЬНАЯ МАШИНА 2015
  • Сео Босунг
  • Им Миунгхун
RU2639066C1
УСТРОЙСТВО ДЛЯ ОБРАБОТКИ ОДЕЖДЫ И СПОСОБ УПРАВЛЕНИЯ ИМ 2021
  • Риоо, Биеонгдзо
  • Чеон, Таевон
  • Ли, Хаевоонг
RU2805049C1
ГАЗОЖИДКОСТНЫЙ СЕПАРАТОР И УСТРОЙСТВО ДЛЯ ОБРАБОТКИ БЕЛЬЯ, ИМЕЮЩЕЕ ТАКОЙ ГАЗОЖИДКОСТНЫЙ СЕПАРАТОР 2016
  • Ку Седзин
  • Ким Йеонгдзу
  • Ахн Таекиоунг
RU2700601C1
СТИРАЛЬНАЯ МАШИНА 2014
  • Дзо Мингиу
  • Ким Донгвон
RU2632026C1
УСТРОЙСТВО ДЛЯ ОБРАБОТКИ БЕЛЬЯ 2015
  • Ли Дзихонг
  • Хео Квангчул
RU2607549C2
УСТРОЙСТВО ДЛЯ ОБРАБОТКИ БЕЛЬЯ 2014
  • Йоо Сангхи
  • Ли Сунгмин
  • Гвон Кусунг
  • Чои Йеонгкиеонг
  • Ли Гилнам
  • Ким Квангхиун
  • Риу Бонггон
RU2582469C2
УСТРОЙСТВО ДЛЯ ОБРАБОТКИ БЕЛЬЯ 2016
  • Сео Дзинвоо
  • Ким Сангдзин
  • Ли Дзихонг
RU2668184C1

Иллюстрации к изобретению RU 2 833 314 C2

Реферат патента 2025 года УСТРОЙСТВО ДЛЯ ОБРАБОТКИ БЕЛЬЯ

Раскрыто устройство для обработки белья, включающее в себя первый барабан, который размещает белье для стирки, бак, который расположен ниже первого барабана и размещает воду, второй барабан, который располагается в баке и размещает белье для стирки, основание, расположенное между первым барабаном и баком, систему подачи воздуха, которая располагается на основании и подает воздух в первый барабан, систему циркуляции текучей среды, расположенную на основании, при этом текучая среда, обменивающаяся теплом с воздухом системы подачи воздуха, циркулирует в системе циркуляции текучей среды, при этом система циркуляции текучей среды включает в себя компрессор, который сжимает текучую среду, и систему подачи детергента, которая располагается между первым барабаном и баком и подает детергент в бак, при этом нижний конец компрессора позиционируется с возможностью перекрывать систему подачи детергента вдоль направления, параллельного земле. Варианты осуществления настоящего раскрытия сущности заключаются в том, чтобы предоставлять устройство для обработки белья, которое может улучшать удобство использования через первое устройство для обработки и второе устройство для обработки во взаимосвязи на основе укладки по вертикали. 3 н. и 27 з.п. ф-лы, 43 ил.

Формула изобретения RU 2 833 314 C2

1. Устройство для обработки белья, содержащее:

- первый барабан, выполненный с возможностью размещать белье для стирки;

- бак, расположенный ниже первого барабана и выполненный с возможностью размещать воду;

- второй барабан, расположенный в баке и выполненный с возможностью размещать белье;

- основание, расположенное между первым барабаном и баком;

- систему подачи воздуха, расположенную на основании и выполненную с возможностью подавать воздух в первый барабан;

- систему циркуляции текучей среды, расположенную на основании, при этом текучая среда, обменивающаяся теплом с воздухом системы подачи воздуха, циркулирует в системе циркуляции текучей среды, при этом система циркуляции текучей среды включает в себя компрессор, выполненный с возможностью сжимать текучую среду; и

- систему подачи детергента, расположенную между первым барабаном и баком и выполненную с возможностью подавать детергент в бак;

- при этом нижний конец компрессора расположен с возможностью перекрывать систему подачи детергента вдоль направления, параллельного земле.

2. Устройство для обработки белья по п. 1, в котором основание включает в себя монтажный участок для компрессора, в котором установлен компрессор,

- при этом монтажный участок для компрессора расположен с возможностью перекрывать систему подачи детергента вдоль направления, параллельного земле.

3. Устройство для обработки белья по п. 1, в котором компрессор включает в себя удлиненную опору, проходящую в направлении от компрессора и присоединенную к основанию,

- при этом удлиненная опора расположена с возможностью перекрывать систему подачи детергента вдоль направления, параллельного земле.

4. Устройство для обработки белья по п. 1, в котором система циркуляции текучей среды дополнительно включает в себя теплообменник, в котором возникает теплообмен между текучей средой и воздухом системы подачи воздуха,

- при этом нижний конец теплообменника расположен с возможностью перекрывать систему подачи детергента вдоль направления, параллельного земле.

5. Устройство для обработки белья по п. 1, в котором нижний конец компрессора расположен сзади системы подачи детергента.

6. Устройство для обработки белья по п. 1, дополнительно содержащее клапан подачи воды, соединенный с внешним источником подачи воды и выполненный с возможностью регулировать поток воды, предоставленной в бак или в систему подачи детергента,

- при этом клапан подачи воды расположен выше основания.

7. Устройство для обработки белья по п. 1, дополнительно содержащее шланг подачи воды, соединенный с системой подачи детергента, в котором протекает вода,

- при этом, по меньшей мере, участок шланга подачи воды расположен выше основания.

8. Устройство для обработки белья по п. 1, в котором, по меньшей мере, участок основания расположен с возможностью перекрывать систему подачи детергента вдоль направления, параллельного земле.

9. Устройство для обработки белья по п. 8, в котором участок основания, перекрывающий систему подачи детергента вдоль направления, перпендикулярного к земле, является открытым.

10. Устройство для обработки белья по п. 8, в котором основание расположено таким образом, что оно не перекрывает систему подачи детергента вдоль направления, перпендикулярного к земле.

11. Устройство для обработки белья по п. 9, в котором основание дополнительно включает в себя монтажный участок для компрессора, в котором установлен компрессор,

- при этом монтажный участок для компрессора расположен сзади системы подачи детергента.

12. Устройство для обработки белья по п. 11, в котором теплообменник, в котором текучая среда протекает и обменивается теплом с воздухом, присоединяется к основанию,

- при этом теплообменник расположен рядом с системой подачи детергента.

13. Устройство для обработки белья по п. 1, в котором основание дополнительно включает в себя монтажный участок для компрессора, в котором установлен компрессор,

- при этом монтажный участок для компрессора формирует самый нижний конец основания.

14. Устройство для обработки белья по п. 1, дополнительно содержащее первый приводной блок, разнесенный от основания и соединенный с первым барабаном для того, чтобы вращать первый барабан.

15. Устройство для обработки белья по п. 14, дополнительно содержащее заднюю панель, расположенную сзади первого барабана с возможностью экранировать первый барабан извне,

- при этом первый приводной блок присоединяется к задней панели.

16. Устройство для обработки белья, содержащее:

- первый барабан, выполненный с возможностью размещать белье для стирки;

- бак, расположенный ниже первого барабана и выполненный с возможностью размещать воду;

- второй барабан, расположенный в баке и выполненный с возможностью размещать белье для стирки;

- основание, расположенное между первым барабаном и баком и включающее в себя систему подачи воздуха, выполненную с возможностью подавать воздух в первый барабан; и

- систему подачи детергента, расположенную между первым барабаном и баком и выполненную с возможностью подавать детергент в бак,

- при этом основание расположено таким образом, что оно не перекрывает систему подачи детергента вдоль направления, перпендикулярного к земле, и нижний конец основания расположен ниже верхнего конца системы подачи детергента.

17. Устройство для обработки белья, содержащее:

- первое устройство для обработки, включающее в себя первый кожух и первый барабан, расположенный в первом кожухе и выполненный с возможностью размещать белье;

- второе устройство для обработки, включающее в себя второй кожух, расположенный под первым кожухом, и второй барабан, расположенный во втором кожухе и выполненный с возможностью размещать белье; и

- основание, расположенное ниже первого барабана и включающее в себя систему подачи воздуха для подачи воздуха в первый барабан,

- при этом первый кожух включает в себя первую боковую панель, расположенную рядом с первым барабаном, и второй кожух включает в себя вторую боковую панель, расположенную под первой боковой панелью и расположенную рядом со вторым барабаном,

- при этом, по меньшей мере, участок основания расположен ниже верхнего конца второй боковой панели.

18. Устройство для обработки белья по п. 17, в котором основание присоединяется ко второму кожуху, и, по меньшей мере, участок основания расположен во втором кожухе.

19. Устройство для обработки белья по п. 17, в котором первое устройство для обработки устанавливается на втором устройстве для обработки, в котором устанавливается основание.

20. Устройство для обработки белья по п. 19, в котором первый кожух дополнительно включает в себя заднюю панель, расположенную сзади первого барабана,

- при этом первое устройство для обработки дополнительно включает в себя первый приводной блок, присоединенный к задней панели для того, чтобы предоставлять вращающую силу в первый барабан.

21. Устройство для обработки белья по п. 17, в котором второе устройство для обработки дополнительно включает в себя:

- бак, расположенный во втором кожухе, при этом второй барабан устанавливается в баке, при этом бак выполнен с возможностью размещать воду; и

- систему подачи детергента, соединенную с баком и выполненную с возможностью подавать детергент в бак.

22. Устройство для обработки белья по п. 21, в котором основание и система подачи детергента располагаются на втором кожухе, расположенном выше бака, и размещаются таким образом, что они не перекрывают друг друга.

23. Устройство для обработки белья по п. 17, в котором второе устройство для обработки дополнительно включает в себя:

- бак, расположенный во втором кожухе, при этом второй барабан устанавливается в баке, при этом бак выполнен с возможностью размещать воду; и

- клапан подачи воды, расположенный во втором кожухе и соединенный с внешним источником подачи воды для того, чтобы регулировать поток воды, подаваемой в бак,

- при этом клапан подачи воды расположен выше основания.

24. Устройство для обработки белья по п. 17, в котором, по меньшей мере, участок основания расположен во втором кожухе,

- при этом основание дополнительно включает в себя температурный регулятор для регулирования температуры воздуха системы подачи воздуха.

25. Устройство для обработки белья по п. 24, в котором температурный регулятор включает в себя компрессор, выполненный с возможностью обеспечивать циркуляцию текучей среды, обменивающейся теплом с воздухом,

- при этом, по меньшей мере, участок компрессора выступает вверх относительно верхнего конца второй боковой панели.

26. Устройство для обработки белья по п. 25, в котором монтажный участок для компрессора, в котором устанавливается компрессор, задается в основании с возможностью быть утопленным ко второму барабану.

27. Устройство для обработки белья по п. 26, в котором монтажный участок для компрессора формирует самый нижний конец основания.

28. Устройство для обработки белья по п. 17, в котором первый кожух включает в себя первую переднюю панель, расположенную перед первым барабаном, и второй кожух включает в себя вторую переднюю панель, расположенную ниже первой передней панели и перед вторым барабаном,

- при этом панель управления, соединенная с возможностью передачи сигналов с первым устройством для обработки и вторым устройством для обработки, располагается между первой передней панелью и второй передней панелью,

- при этом нижний конец панели управления расположен ниже верхнего конца второй боковой панели.

29. Устройство для обработки белья по п. 28, в котором верхний конец панели управления расположен выше нижнего конца первой боковой панели.

30. Устройство для обработки белья по п. 29, в котором нижний конец первой передней панели расположен выше нижнего конца первой боковой панели,

- при этом верхний конец второй передней панели расположен ниже верхнего конца второй боковой панели.

Документы, цитированные в отчете о поиске Патент 2025 года RU2833314C2

JP 2021508568 A, 11.03.2021
US 5956790 A, 28.09.1999
EP 3521501 A1, 07.08.2019
US 2007119072 A1, 31.05.2007
УСТРОЙСТВО ДЛЯ ОБРАБОТКИ БЕЛЬЯ 2016
  • Ли, Дзина
  • Хонг, Киунга
  • Ахн, Судзин
  • Ко, Сойеон
RU2689448C1

RU 2 833 314 C2

Авторы

Ли, Донгсоо

Ахн, Сеунгпхио

Даты

2025-01-17Публикация

2022-08-02Подача