ПЕРЕКРЕСТНАЯ ССЫЛКА НА РОДСТВЕННУЮ ЗАЯВКУ
[0001] Эта патентная заявка испрашивает преимущество по предварительной заявке на патент США № 62/976,892, поданной 14 февраля 2020, которая посредством ссылки полностью включена в настоящий документ.
ОБЛАСТЬ ТЕХНИКИ
[0002] Настоящее изобретение относится в целом к системам распыления с клапанным управлением и, в частности, к системе с усовершенствованным клапаном для управления потоком жидкости, подаваемой к распыляющим форсункам во время работы и после прекращения подачи жидкости.
УРОВЕНЬ ТЕХНИКИ
[0003] Сельскохозяйственные распылители обычно имеют длинные распылительные штанги с группами распыляющих форсунок, которыми выборочно управляют соответствующие регулирующие клапаны, каждый из которых приводится в действие по отдельности для подачи или прекращения потока жидкости к распыляющим форсункам группы. Прекращение подачи жидкости к одной или более группам распыляющих форсунок часто является необходимым, например, вблизи концов полей, чтобы предотвратить распыление на неурожайную растительность или тому подобное. Регулирующие клапаны для таких систем распыления обычно устанавливаются в виде групп или коллекторов рядом друг с другом и на расстоянии от распыляющих форсунок, которыми они управляют. Каждый регулирующий клапан обеспечен клапанным элементом, который выполнен с возможностью перемещения между открытым и закрытым положениями для выборочного управления потоком жидкости к распыляющим форсункам соответствующей группы.
[0004] Известны регулирующие клапаны, которые включают в себя выполненный с возможностью вращения шаровой клапан, способный вращаться между одним положением, в котором обеспечено направление жидкости под давлением через регулирующий клапан к линии подачи жидкости к распыляющей форсунке или группам распыляющих форсунок, и вторым положением, в котором закрывается впускное отверстие для жидкости клапана, а жидкость, оставшаяся в линии ниже по потоку, перенаправляется в обратную линию для возвращения в резервуар подачи жидкости. Однако при вращательном перемещении шарового крана в закрытое положение входное отверстие для жидкости не закрывается полностью перед открытием отверстия в обратную линию, что приводит к выбросам жидкости под высоким давлением через регулирующий клапан перед полным закрытием впускного отверстия. В современных сложных сельскохозяйственных распылителях количество жидкости, направляемой для орошения поля, часто контролируется посредством отслеживания количества жидкости, направляемой в распылительные форсунки, а перенаправление жидкости в обратную линию перед отключением клапана может повлиять на точность контроля расхода жидких химических веществ. Хотя были выдвинуты предложения по предотвращению подобных случаев, такие предложения были относительно сложными и затратными, требующими нескольких клапанных механизмов.
РАСКРЫТИЕ СУЩНОСТИ ИЗОБРЕТЕНИЯ
[0005] Задача состоит в создании системы распыления с клапанным управлением, которая обеспечивает более эффективное и точное отслеживание жидкости, подаваемой в распылитель, на основании подачи жидкости во входное отверстие.
[0006] Еще одна задача настоящего изобретения состоит в создании системы распыления с клапанным управлением, как описано выше, которая выполнена с возможностью прекращения подачи жидкости к распыляющим форсункам без нежелательных выбросов жидкости через регулирующий клапан, которые могут влиять на точность отслеживания использования химических веществ.
[0007] Еще одна задача состоит в создании системы распыления с клапанным управлением, как описано выше, имеющей регулирующий клапан подачи жидкости, выполненный с возможностью полного перекрытия подачи жидкости к распыляющим форсункам перед обеспечением возможности направления жидкости, находящейся ниже по потоку в линиях подачи к распыляющим форсункам, в обратную линию для подачи жидкости.
[0008] Еще одна задача состоит в создании системы распыления с клапанным управлением, как описано выше, которая относительно проста по своей конструкции, удобна в работе и обеспечивает возможность экономичного изготовления и надежного использования.
[0009] Другие задачи и преимущества изобретения станут очевидными после прочтения приведенного ниже подробного описания со ссылкой на сопроводительные чертежи, на которых:
КРАТКОЕ ОПИСАНИЕ ЧЕРТЕЖЕЙ
[0010] На ФИГ. 1 показана принципиальная схема приведенной для иллюстрации системы распыления, имеющей регулирующие клапаны, в соответствии с настоящим изобретением;
[0011] на ФИГ. 2 показан увеличенный частичный вид в разрезе одного из узлов распыляющей форсунки и связанного с ней запорного клапана, включенного в систему распыления, показанную на ФИГ. 1, причем запорный клапан показан в закрытом положении;
[0012] на ФИГ. 3 показан увеличенный частичный вид в разрезе представленного для иллюстрации запорного клапана, показывающий запорный клапан в открытом положении;
[0013] на ФИГ. 4 показан вертикальный увеличенный вид в разрезе одного из представленных для иллюстрации блоков управления, взятом в плоскости, перпендикулярной центральному отверстию для жидкости блока управления, показывающий шток его клапана в открытом положении для передачи жидкости из центрального подающего жидкость отверстия к выпускному отверстию регулирующего клапана;
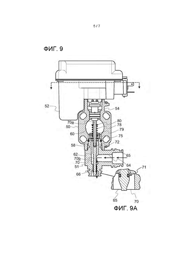
[0014] на ФИГ. 5 показан вид в разрезе, подобный показанному на ФИГ. 4, но со штоком клапана в опущенном положении, в котором он блокирует поток жидкости из подающего жидкость отверстия к выпускному отверстию и к распыляющим форсункам с одновременным открытием отверстия для обратного или возвратного потока, которое сообщается с обратной линией;
[0015] на ФИГ. 6 показан вертикальный вид в разрезе блока управления, показанного на ФИГ. 5, взятый в плоскости, перпендикулярной виду на ФИГ. 5;
[0016] на ФИГ. 7 показан частичный вид в разрезе блока управления, подобный показанному на ФИГ. 4, показывающий шток клапана в открытом положении, обеспечивающем возможность протекания жидкости через выпускное отверстие к распыляющим форсункам;
[0017] на ФИГ. 8 показан вид, подобный показанному на ФИГ. 7, но показывающий шток клапана в промежуточном положении, в котором блокирован поток жидкости как к выпускному отверстию для жидкости и распыляющим форсункам, так и к отверстию для обратного или возвратного потока блока управления;
[0018] на ФИГ. 9 показан частичный вид в разрезе, подобный показанному на ФИГ. 5 и 6, показывающий шток клапана в опущенном положении, в котором блокирован поток жидкости через впускное отверстие и обеспечена возможность обратного потока жидкости к отверстию для обратного или возвратного потока;
[0019] на ФИГ. 9A показан увеличенный частичный вид в разрезе нижней части штока клапана, показанного на ФИГ. 9;
[0020] на ФИГ. 10 показан увеличенный вид в перспективе электродвигателя и привода штока клапана представленного для иллюстрации блока управления;
[0021] на ФИГ. 11 показан увеличенный горизонтальный вид в разрезе блока управления, взятый в плоскости линии 11-11 по ФИГ. 7;
[0022] на ФИГ. 12 показан вид сбоку электродвигателя и привода штока клапана представленного для иллюстрации блока управления; и
[0023] на ФИГ. 13 показан вид в разрезе двигателя и привода штока клапана, взятый в плоскости линии 13-13 по ФИГ. 12.
[0024] Несмотря на то, что изобретение допускает различные изменения и альтернативные конструкции, ниже будет подробно описан и показан на чертежах определенный представленный для иллюстрации вариант его реализации. Однако следует понимать, что не предполагается ограничение настоящего изобретения раскрытым конструктивным видом. Напротив, намерение состоит в том, чтобы охватить все изменения, альтернативные конструкции и эквиваленты, которые находятся в пределах принципа и объема изобретения. Следовательно, хотя настоящее изобретение будет описано применительно к установленным в группе регулирующим клапанам для сельскохозяйственной системы распыления, следует понимать, что изобретение в равной степени применимо к регулирующим клапанам для других типов систем распыления или перекачки жидкости.
ОСУЩЕСТВЛЕНИЕ ИЗОБРЕТЕНИЯ
[0025] Теперь следует обратиться, в частности, к ФИГ. 1 чертежей, на котором показана сельскохозяйственная система 10 распыления, которая включает в себя питающий резервуар 11 для содержания в нем количества жидкости, подлежащей распылению, одну или более распылительных секций 12, каждая из которых имеет по меньшей мере одну распыляющую форсунку 14. Показанная система 10 распыления имеет множество распылительных секций 12, каждая из которых содержит множество распыляющих форсунок, через которые выпускается жидкость, и группу регулирующих распыление клапанов 15 в соответствии с изобретением, которые установлены группами или в виде коллектора рядом друг с другом и выполнены с возможностью управления потоком жидкости из питающего резервуара 11 к соответствующим распылительным секциям 12. В основном, система 10 распыления подобна раскрытому в упомянутом выше патенте США 6 036 107, раскрытие которого включено посредством ссылки в настоящий документ.
[0026] Как это общепринято в сельскохозяйственных распылителях, система 10 распыления включает в себя питающую линию 18 между питающим резервуаром 11 и группой регулирующих клапанов 15 для передачи жидкости регулирующим клапанам 15, выпускную линию 19 между каждым из регулирующих клапанов 15 и соответствующей распылительной секцией 12 для подачи жидкости в распылительную секцию 12, обратную линию 20, которая обеспечивает обратную связь между регулирующими клапанами 15 и питающим резервуаром 11, и управляющую линию 21, имеющую управляющий клапан 22 между группой регулирующих клапанов 15 и питающим резервуаром 11, для способствования управлению давлением в системе.
[0027] Питающая линия 18 показанной системы 10 распыления включает в себя запорный клапан 24, который позволяет вручную перекрывать поток жидкости из питающего резервуара 11, насос 25, который нагнетает жидкость в питающую линию 18, сетчатый фильтр 26 для фильтрования мусора в питающей линии 18 и дроссельный клапан 28, который позволяет вручную управлять потоком. Питающая линия 18 также включает в себя обратную линию 29, которая в этом случае ответвляется от питающей линии 18 в точке ниже по потоку насоса 25 и возвращается к питающему резервуару 11. Как показано на ФИГ. 1, эта обратная линия 29 включает в себя мешалку 30, расположенную внутри питающего резервуара 11, которая перемешивает жидкость внутри питающего резервуара 11 на основании расхода через обратную линию 29. В обратной линии 29 также обеспечен дроссельный клапан 31, которым можно управлять вручную для регулировки расхода через обратную линию 20 и регулировки скорости перемешивания мешалки 30. Представленная для иллюстрации система 10 распыления содержит управляемый компьютером блок 35 управления распылением, который функционально соединен с каждым из регулирующих клапанов 15 в группе и управляющим клапаном 22 известным способом.
[0028] Представленные для иллюстрации распыляющие форсунки 14, как показано на ФИГ. 2 и 3, могут быть традиционного типа, и в этом случае каждая из них имеет корпус 38 форсунки со штоком 39, поддерживающим сообщение по текучей среде со штангой 40 подачи жидкости распылительной секции 12, которая, в свою очередь, соединена с соответствующей питающей линией 19. Каждая из распыляющих форсунок 14 имеет соответствующий запорный клапан 41, такой как раскрытый в переуступленном патенте США 4 660 598, раскрытие которого включено по ссылке в настоящий документ. Когда давление жидкости, подаваемой в распыляющую форсунку 14 посредством питающей линии 19, превышает силу поджимающей пружины 42, жидкость под давлением отжимает мембрану 45 в направлении от верхнего по потоку конца 46 впускной трубы 48, как показано на ФИГ. 3, для обеспечения возможности для жидкости протекать через впускную трубу 48 и выпускаться из распыляющей форсунки. После прекращения подачи жидкости под давлением из питающего источника пружина 42 принуждает мембрану к уплотняющему взаимодействию с верхним по потоку концом трубы 48 для предотвращения выпуска или капания дополнительной жидкости из распыляющей форсунки 14.
[0029] Каждый из регулирующих клапанов 15 распылительных секций 12 имеет модульную конструкцию и установлен в виде групп или коллекторов рядом друг с другом способом, подобным раскрытому в упомянутом выше патенте США 6 036 107. Каждый из регулирующих клапанов 15, как показано на ФИГ. 4-6, имеет основной корпус 50 клапана, нижний корпус 51 клапана, поддерживаемый в зависимости от основного корпуса 50 клапана, и электродвигатель 52 управления клапаном, поддерживаемый в верхней части основного корпуса 50 клапана. Основной корпус 50 клапана в этом случае имеет открывающуюся в верхнем направлении кольцевую втулку 54, которая принимает и поддерживает кольцевую монтажную секцию 55 корпуса двигателя 52 с круглыми уплотнительными кольцами 56 между ними, а нижний корпус 51 клапана имеет проходящую в верхнем направлении втулочную секцию 58 с уменьшенным диаметром, поддерживаемую внутри нижнего конца основного корпуса 50 клапана, с уплотнительным кольцом 59 круглого сечения между ними. Основной корпус 50 клапана включает в себя центральное поперечно ориентированное основное подающее жидкость отверстие 60 для приема жидкости из питающей линии 18, а нижний корпус 51 клапана имеет центральный вертикальный канал 62 для потока жидкости для сообщения с подающим жидкость отверстием 60. Центральный вертикальный канал 62, в свою очередь, сообщается с поперечным каналом 64, имеющим выпускное отверстие 65 для жидкости, и уменьшенным отверстием 66 для обратного или возвратного притока, расположенным ниже по потоку рядом с нижним концом корпуса 51 клапана. Регулирующие клапаны 15 сгруппированы посредством подающих жидкость отверстий 60 множества регулирующих клапанов, сообщающихся друг с другом и с линией 18 подачи жидкости, при этом каждое выпускное отверстие 65 для жидкости соединено с соответствующей линией 19 подачи жидкости в распылительную секцию 12, а каждое отверстие 66 для обратного или возвратного потока соединено с обратной линией 20.
[0030] В соответствии с важным признаком настоящего варианта реализации каждый регулирующий клапан 15 имеет одиночный шток 70 клапана для управления потоком жидкости из основного подающего жидкость отверстия 60 к выпускному отверстию 65 и соответствующей питающей линии 19, а также к отверстию 66 для обратного или возвратного потока жидкости и к обратной линии 20. С этой целью шток 70 клапана проходит в центральном положении через основной корпус 50 клапана, подающее жидкость отверстие 60 и центральный канал 62 для подачи жидкости нижнего корпуса 51 клапана. Шток 70 клапана в этом случае проходит вдоль длины основного и нижнего корпусов 50, 51 клапана, при этом его нижний конец выполнен с возможностью прохождения через нижнее отверстие 66 для обратного или возвратного потока. Кольцевое уплотнение 71 поддерживается вокруг нижнего конца штока 70 клапана (ФИГ. 9A) для уплотнения контакта с отверстием 66 для обратного или возвратного потока, имеющим уменьшенный диаметр, как это станет очевидным ниже. Для простоты изготовления шток 70 клапана в этом случае имеет верхнюю и нижнюю секции 70a, 70b, прочно скрепленные вместе резьбовым соединением 72.
[0031] Для управления подачей жидкости из подающего жидкость отверстия 60 к секции 62 центрального канала и выпускному отверстию 65 каждой распыляющей форсунки 14 кольцевое уплотнение 75 поддерживается на штоке 70 внутри основного подающего жидкость отверстия 60, как показано на ФИГ. 4. Основное кольцевое уплотнение 75 поджато в нижнем направлении к стопорной пружинной шайбе 76 в виде буквы Е, прикрепленной к штоку 70, под действием цилиндрической пружины 78, вставленной между шайбой 79 на верхней стороне кольцевого уплотнения 75 и верхней стопорной пружинной шайбой 80 в виде буквы Е, прикрепленной к штоку на расстоянии выше шайбы 79. Уплотнительное кольцо 81 круглого сечения в этом случае установлено вокруг штока 70 клапана внутри кольцевого уплотнения 75.
[0032] Для подъема и опускания штока 70 клапана между открытым и закрытым положениями электродвигатель 52 функционально соединен со штоком 70 клапана. С этой целью электродвигатель 52 может представлять собой реверсивный двигатель с напряжением питания 12 В постоянного тока, имеющий ведущий вал 85, соединенный с кинематической цепью 86 для вращения выходного вала 88, поддерживаемого в зависимости от кинематической цепи 86 выше штока 70 клапана. Для способствования управляемому подъему и опусканию штока 70 клапана в ответ на вращение выходного вала 88 флажок 89 оптического переключателя, прикрепленный к верхнему концу штока 70 клапана, установлен на снабженной резьбой секции 90 выходного вала 88 с возможностью резьбового взаимодействия с ней. Флажок 89 переключателя удерживается от вращения таким образом, что управляемое вращение выходного вала 88 приводит к тому, что флажок 89 переключателя и шток 70 клапана, соединенный с его нижней стороной, поднимаются или опускаются относительно корпусов 50, 51 клапана. Для направления подъема-опускания флажка 89 переключателя и, следовательно, штока 70 клапана поперечная секция 89a ножки на одной стороне флажка 89 переключателя выполнена с возможностью перемещения в направляющей канавке 92, закрепленной внутри корпуса двигателя (ФИГ. 11).
[0033] Для управления перемещением штока 70 клапана в верхнем и нижнем направлениях флажок 89 переключателя имеет более тонкую секцию 89b ножки на стороне, противоположной направляющей секции 89a флажка, и выполнен с возможностью перемещения со штоком 70 клапана между оптическими датчиками 95a, 95b, которые управляют электродвигателем 52 и ограничивают перемещение флажка 89 переключателя в верхнем и нижнем направлениях и, следовательно, штока 70 клапана. Оптические датчики 95a и 95b в этом случае соединены с печатной платой 96 (ФИГ. 10), которая управляет работой электродвигателя 52 на основании соответствующего управления оператора и в зависимости от перемещения штока 70 клапана между датчиками 95a, 95b.
[0034] В соответствии с дополнительным важным аспектом настоящего варианта реализации каждый регулирующий клапан 15 работает таким образом, что шток 70 клапана полностью закрывает и прекращает сообщение между основным впускным отверстием 60 для жидкости и центральным каналом 62 для протекания потока жидкости к выпускному отверстию 65 в распылительную секцию 12 перед обеспечением возможности протекания жидкости из выпускного отверстия 65 и питающей линии 19 к отверстию 66 для обратного или возвратного потока. Как показано на ФИГ. 4 и 7, когда электродвигатель 52 вращает выходной вал 88 для подъема флажка 89 переключателя и штока 70 клапана, соединенного с ним, в верхнее положение, секция 89b флажка переключателя взаимодействует с верхним оптическим датчиком 95a, при этом кольцевое уплотнение 75, переносимое штоком 70 клапана, поднимается в открытое положение, что обеспечивает возможность протекания жидкости из основного впускного отверстия 60 блока управления в центральную и поперечную секции 62, 65 канала и выпускное отверстие 65 к системе 12 распыления. Нижняя стопорная пружинная шайба 76 в виде буквы Е принимает на себя и поддерживает кольцевое уплотнение 75 в этом поднятом или открытом положении. Одновременно нижний конец штока 70 клапана поднимается и устанавливается в закрытое положение в отверстии 66 для обратного или возвратного потока, при этом кольцевое уплотнение 71 предотвращает прохождение жидкости как из центрального канала 62, так и из впускного отверстия 60 к отверстию 66 для обратного или возвратного потока.
[0035] Для предотвращения сообщения по жидкости к выпускному отверстию 65 и распылительной секции 12 электродвигателем 52 управляют в обратном направлении под управлением печатной платы 96 путем вращения выходного вала 88 в противоположном направлении, вследствие чего флажок 89 оптического переключателя и шток 70 клапана перемещаются в нижнем направлении к промежуточному положению, в котором сначала закрываются оба впускных отверстия 60 для жидкости, в то время как отверстие 66 для обратного или возвратного потока остается закрытым, как показано на ФИГ. 8. В таком промежуточном положении можно заметить, что кольцевое уплотнение 75 смещено в положение, в котором оно закрывает впускное отверстие 60, в то время как нижняя часть штока 70 клапана продолжает закрывать отверстие 66 для обратного потока. Продолжающаяся работа приводного двигателя 52 и вращение выходного ведущего вала 88 дополнительно опускает шток 70 клапана на достаточное расстояние, при котором кольцевое уплотнение 71 в нижнем конце штока 70 клапана расположено за пределами отверстия 66 с уменьшенным диаметром для обратного или возвратного потока. Во время такого перемещения кольцевое уплотнение 75 остается поджатым поджимающей пружиной 78 в его закрытое положение, в то время как шток 70 клапана и стопорная пружинная шайба 76 в виде буквы Е, которая поддерживает кольцевое уплотнение 75, продолжают перемещаться в нижнем направлении со штоком 70 клапана (ФИГ. 6 и 9). После опускания штока 70 клапана и флажка 89 оптического переключателя до уровня, на котором секция 89b флажка взаимодействует с нижним оптическим датчиком 95b, нижний конец штока 70 клапана и кольцевое уплотнение 65 расположены за пределами выпускного отверстия 66 с уменьшенным диаметром для обратного или возвратного потока, таким образом обеспечивая возможность дренирования любой находящейся ниже по потоку жидкости назад через выпускное отверстие 66 для обратного потока в обратную линию 20. Следует понимать, что поскольку впускное отверстие 60 полностью закрыто перед открытием отверстия 66 для обратного или возвратного потока, отсутствуют какие-либо выбросы или другая передача жидкости из впускного отверстия 60 в отверстие 66 для обратного или возвратного потока и обратную линию 15 во время прекращения подачи жидкости к распылительной секции 12, а также другая заметная потеря подаваемой жидкости, что существенно повышает надежность отслеживания жидкого химического вещества или тому подобного.
[0036] Для возобновления распыления приводной двигатель 52 может работать в обратном направлении, поднимая флажок 89 переключателя и шток 70 клапана в положение, в котором сначала закрывается отверстие 66 для обратного или возвратного потока, в то время как кольцевое уплотнение 75 остается поджатым в положении, в котором оно закрывает впускное отверстие 60, и затем при продолжении подъема шток 70 клапана 70 достигает уровня, на котором секция 89b флажка оптического переключателя взаимодействует с верхним оптическим датчиком 95a. Такое дополнительное перемещение приводит к тому, что стопорная пружинная шайба 76 в виде буквы Е поднимает кольцевое уплотнение 75 и открывает основное подающее жидкость отверстие 60, как показано на ФИГ. 4, для подачи жидкости в распылительную секцию 12.
[0037] Из вышеизложенного видно, что обеспечена система распыления с клапанным управлением, которая выполнена с возможностью отключения и включения подачи жидкости к распылительным форсункам без нежелательных выбросов жидкости через регулирующий клапан, которые могут воздействовать на точность отслеживания использования жидких химикатов. В указанной клапанной системе используется одиночный шток клапана, которым управляют для полного прекращения подачи жидкости к распыляющим форсункам перед обеспечением возможности дренажа жидкости в обратную линию системы распыления. Также можно видеть, что указанная система с клапанным управлением относительно проста по своей конструкции и удобна в работе, а также обеспечивает экономичное изготовление и надежное использование.
Изобретение относится к системе распыления жидкости для распыления агрохимикатов. Система распыления имеет распылительную секцию для распыления жидкости и контроллер для управления жидкостью, подаваемой в распылительную секцию. Контроллер включает в себя клапан, выполненный с возможностью перемещения между множеством положений для управления подачей жидкости в распылительную секцию и обеспечения возможности протекания потока жидкости из распылительной секции в линию обратного потока только после того, как подача жидкости в распылительную секцию завершена. Техническим результатом является обеспечение точного контроля жидкости, подаваемой в распылитель. 13 з.п. ф-лы, 13 ил.
1. Система (10) распыления жидкости для распыления агрохимикатов, содержащая:
распылительную секцию (12) для распыления жидкости, имеющую по меньшей мере одну форсунку (14) для распыления жидкости;
регулирующий клапан для управления потоком жидкости из источника (11) подачи жидкости агрохимиката в указанную распылительную секцию для выпуска из указанной по меньшей мере одной распыляющей форсунки (14);
при этом указанный регулирующий клапан (15) для регулирования жидкости имеет корпус (50, 51) клапана с подающим жидкость отверстием (60), выводящим жидкость отверстием (65) и отверстием для обратного потока жидкости (66);
первую линию (18) подачи жидкости для направления жидкости из указанного источника (11) подачи жидкости в указанное подающее жидкость отверстие (60); вторую линию (19) подачи жидкости для направления жидкости из указанного подающего жидкость отверстия (60) к указанной распылительной секции (12); линию (20) обратного потока, соединенную с указанным отверстием (66) для обратного потока, для направления жидкости, находящейся в указанной второй линии (19) подачи жидкости, из указанной распылительной секции (12) после завершения подачи жидкости в указанную распылительную секцию (12);
при этом указанный регулирующий клапан (15) имеет шток (70) клапана;
причем указанный регулирующий клапан (15) выполнен с возможностью перемещения указанного штока (70) клапана между (1) первым положением, в котором открыто указанное подающее жидкость отверстие (60) для обеспечения возможности направления жидкости из указанной первой линии (18) подачи жидкости через указанное подающее жидкость отверстие (60) и выводящее жидкость отверстие (65) к указанной второй линии (19) подачи жидкости и жидкостной распылительной секции (12) для выпуска жидкости по меньшей мере из одной указанной распыляющей форсунки (14) с одновременным блокированием потока жидкости через указанное отверстие (66) для обратного потока в указанную линию (20) обратного потока; (2) вторым положением, в котором блокирована подача жидкости из первой линии (18) подачи жидкости через указанное подающее жидкость отверстие (60) к указанному выводящему жидкость отверстию (65) и второй линии (19) подачи жидкости, с одновременным продолжением блокирования потока жидкости через указанное отверстие (66) для обратного потока к указанной линии (20) обратного потока; и (3) третьим положением, причем во время перемещения к указанному третьему положению указанный шток (70) клапана продолжает блокировать поток жидкости из указанной первой линии (18) подачи жидкости через указанное подающее жидкость отверстие (60) и выводящее жидкость отверстие (65) с одновременным открытием указанного отверстия (66) для обратного потока для обеспечения возможности протекания жидкости, оставшейся в указанной второй линии (19) подачи жидкости, назад через указанное отверстие (66) для обратного потока и линию (20) обратного потока таким образом, что поток жидкости из указанной второй линии (19) подачи жидкости в указанную линию (20) обратного потока жидкости возможен только тогда, когда указанное подающее жидкость отверстие (60) закрыто.
2. Система распыления жидкости по п. 1, в которой указанный шток (70) клапана проходит как через указанное подающее жидкость отверстие (60), так и через отверстие (66) для обратного потока, а в указанном первом положении обеспечивает возможность потока жидкости из сквозного подающего жидкость отверстия (60) и выводящего жидкость отверстия (65) к указанной второй линии (19) подачи жидкости с одновременным блокированием потока через указанное отверстие (66) для обратного потока, в указанном втором положении одновременно блокирует поток жидкости как через указанное подающее жидкость отверстие (60), так и через отверстие (66) для обратного потока, а после перемещения к указанному третьему положению указанный шток (70) клапана продолжает блокировать поток жидкости через указанное подающее жидкость отверстие (60) и с одновременным открытием указанного отверстия (66) для обратного потока для обеспечения возможности протекания жидкости, оставшейся в указанной второй линии (15) подачи жидкости, к указанной линии (20) обратного потока.
3. Система распыления жидкости по п. 1, в которой указанный шток (70) клапана поддерживается с резьбой в указанном корпусе (50, 51) клапана для относительного продольного перемещения, при этом указанная система включает в себя двигатель (52), соединенный с указанным штоком (70) клапана, для выборочного вращения указанного штока (70) клапана для перемещения указанного штока (70) клапана между указанными первым, вторым и третьим положениями.
4. Система распыления жидкости по п. 3, включающая в себя средство управления для управления работой указанного двигателя (52), при этом указанное средство управления включает в себя переключатель (89), который переносится указанным штоком (70) клапана для перемещения с указанным клапанным штоком (70) между указанными первым, вторым и третьим положениями, и пару оптических датчиков (95а, 95б), расположенных на расстоянии друг от друга в продольном направлении на указанном корпусе (50, 51) клапана, выполненном с возможностью взаимодействия с указанным переключателем (89) для управления работой указанного двигателя (52) и ограничения перемещения указанного штока (70) клапана между указанными первым и третьим положениями.
5. Система распыления по п. 1, в которой указанный шток (70) клапана несет первый уплотнительный элемент (75) для закрытия указанного подающего жидкость отверстия (60), когда указанный шток (70) клапана находится в указанных втором и третьем положениях, и второй уплотнительный элемент (71) для закрытия указанного отверстия (66) для обратного потока, когда указанный шток (70) клапана находится в указанных первом и втором положениях.
6. Система распыления по п. 5, в которой указанный первый уплотнительный элемент представляет собой кольцевой уплотнительный элемент, установленный на указанном клапанном штоке (70) и поджатый пружиной для относительного перемещения таким образом, что после перемещения указанного штока (70) клапана из указанного первого положения в указанные второе и третье положения указанный первый уплотнительный элемент (75) закрывает указанное подающее жидкость отверстие (60) с одновременным обеспечением возможности продолжения перемещения указанного штока (70) клапана к указанным второму и третьему положениям.
7. Система распыления по п. 1, в которой указанный корпус (50, 51) клапана имеет удлиненный канал (62) для потока жидкости, обеспечивающий сообщение между указанным подающим жидкость отверстием (60) и указанным отверстием (66) для обратного потока;
при этом указанный шток (70) клапана установлен с возможностью возвратно-поступательного перемещения в указанном удлиненном канале (62) для потока жидкости между указанными первым, вторым и третьим положениями;
причем указанная вторая линия (19) подачи жидкости сообщается с указанным удлиненным каналом (62) для жидкости в промежуточном местоположении между указанным подающим жидкость отверстием (60) и отверстием (66) для обратного потока;
при этом указанный шток (70) клапана, когда находится в указанном первом положении, обеспечивает возможность протекания потока жидкости из указанного подающего жидкость отверстия (60) через указанный удлиненный канал (62) для потока жидкости в указанную вторую линию (19) подачи жидкости с одновременным блокированием потока жидкости через указанное отверстие (66) для обратного потока к указанной линии (20) обратного потока, а когда находится в указанном втором положении, блокирует поток жидкости через указанное подающее жидкость отверстие (60) в указанный удлиненный канал (62) для потока жидкости с одновременным блокированием потока жидкости из указанного удлиненного канала (62) для потока жидкости через указанное отверстие (66) для обратного потока, и в случае перемещения в указанное третье положение открывает указанное отверстие (66) для обратного потока для обеспечения возможности протекания жидкости из указанной второй линии (19) подачи жидкости через указанный удлиненный канал (62) для потока жидкости и отверстие (66) для обратного потока в указанную линию (19) обратного потока с одновременным продолжением блокирования потока жидкости из указанной линии (18) подачи жидкости через указанное отверстие (60) для подачи жидкости в указанный удлиненный канал.
8. Система распыления жидкости по п. 1, в которой указанный корпус клапана имеет канал (62) для потока жидкости, обеспечивающий сообщение между указанным подающим жидкость отверстием (60) и указанным отверстием (66) для обратного потока; при этом указанная вторая линия (19) подачи жидкости сообщается с указанным каналом (62) для потока жидкости корпуса клапана в местоположении между указанным подающим жидкость отверстием (60) и отверстием (66) для обратного потока жидкости.
9. Система распыления жидкости по п. 8, в которой указанный шток (70) клапана проходит через указанный канал (62) для потока жидкости в корпусе клапана, а также как через указанное подающее жидкость отверстие (60), так и отверстие (66) для обратного потока и в указанном первом положении обеспечивает возможность протекания потока жидкости из сквозного отверстия (60) для подачи жидкости в выпускное отверстие (65) для жидкости и вторую линию (19) подачи жидкости с одновременным блокированием потока через указанное отверстие (66) для обратного потока, а в указанном втором положении одновременно блокирует поток жидкости как через указанное подающее жидкость отверстие (60), так и отверстие (66) для обратного потока, и после перемещения указанного штока (70) клапана в указанное третье положение продолжает блокировать поток жидкости через указанный питающий канал (66) и затем открывает указанное отверстие для обратного потока для обеспечения возможности протекания жидкости, оставшейся в указанной второй линии (19) подачи жидкости, к указанной линии (20) обратного потока.
10. Система распыления жидкости по п. 8, в которой указанный шток (70) клапана поддерживается с резьбой в указанном корпусе (50, 51) клапана для относительного продольного перемещения и которая включает в себя двигатель (52), соединенный с указанным штоком (70) клапана, для выборочного вращения указанного штока (70) клапана для перемещения указанного штока клапана между указанными первым, вторым и третьим положениями.
11. Система распыления по п. 8, в которой указанный шток (70) клапана несет первый уплотнительный элемент (75) для закрытия указанного подающего жидкость отверстия (60), когда указанный шток (70) клапана находится в указанных втором и третьем положениях, и второй уплотнительный элемент (71) для закрытия указанного отверстия (66) для обратного потока, когда указанный шток (70) клапана находится в указанных первом и втором положениях.
12. Система распыления по п. 11, в которой указанный первый уплотнительный элемент (75) установлен на указанном штоке (70) клапана и поджат пружиной для относительного перемещения таким образом, что после перемещения указанного штока (70) клапана из указанного первого положения в указанное второе положение указанный первый уплотнительный элемент (75) закрывает указанное подающее жидкость отверстие (60) с одновременным обеспечением возможности продолжения перемещения указанного штока (70) клапана к указанным второму и третьему положениям.
13. Система распыления по п. 12, в которой указанный шток клапана несет второй кольцевой уплотнительный элемент, расположенный на расстоянии в продольном направлении от указанного первого уплотнительного элемента, при этом указанный второй кольцевой уплотнительный элемент блокирует поток жидкости через указанное отверстие для обратного потока к указанной линии обратного потока, когда указанный шток клапана находится в указанных первом и втором положениях, а после перемещения указанного штока клапана к указанному третьему положению переносится штоком клапана в положение, в котором открыто указанное отверстие для обратного потока для обеспечения возможности протекания потока жидкости из указанной второй линии подачи жидкости через выпускное отверстие для жидкости и отверстие для обратного потока в указанную линию обратного потока.
14. Система распыления жидкости по п. 1, содержащая распылительную штангу, образующую канал для потока жидкости и поддерживающую множество указанных распыляющих форсунок, каждая из которых имеет выпускное рабочее отверстие, сообщающееся по текучей среде с каналом для потока жидкости распылительной штанги, и соответствующий один из указанных регулирующий клапан для управления потоком жидкости из источника подачи жидкости в указанный канал для потока жидкости распылительной штанги.
| US 6036107 A, 14.03.2000 | |||
| DE 4407974 A1, 22.12.1994 | |||
| US 6786425 B2, 07.09.2004 | |||
| US 6250564 B1, 26.06.2001 | |||
| УСТРОЙСТВО ДЛЯ ДИФФЕРЕНЦИРОВАННОГО ВНЕСЕНИЯ ЖИДКИХ АГРОХИМИКАТОВ | 2009 |
|
RU2415545C1 |
| РАСПЫЛИТЕЛЬНАЯ УСТАНОВКА И СПОСОБ ЭСКПЛУАТАЦИИ РАСПЫЛИТЕЛЬНОЙ УСТАНОВКИ | 2006 |
|
RU2570868C2 |
Авторы
Даты
2025-01-27—Публикация
2021-02-12—Подача