ОБЛАСТЬ ТЕХНИКИ ИЗОБРЕТЕНИЯ
Изобретение относится к влагоудерживающей и питающей композиции для сельскохозяйственных культур. Более конкретно настоящее изобретение относится к суперабсорбирующим полимерам в виде гранул, композициям на их основе, способу синтеза, установке и технологии их получения, а также способам использования в сельском хозяйстве. Суперабсорбирующие полимеры представляют собой полимеры с повторяющимися углеводными звеньями, включающими карбоксильные или гидрооксильные функции. Кроме того, в состав могут быть включены оксидные группы (полиэтиленгликоли), имеющие в структуре концевые гидрооксильные группы и низкомолекулярные соединения, имеющие в структуре две и более карбоксильные функции. Изобретение также относится к технологии получения композиций на основе полимеров в форме гранул в диапазоне размеров 0.1-5 мм, легко диспергирумых в водных растворах, и установкам для их производства. Также изобретение относится к способу внесения композиций на основе влагополимеров в торфо-землянную смесь в гранульной форме и способу обработки семян или клубней для увеличения общей урожайности выращиваемой сельскохозяйственной культуры.
УРОВЕНЬ ТЕХНИКИ
В представляемом тексте изобретения здесь и далее будет использована специфическая терминология для обеспечения понимания уровня изобретения. Однако используемая терминология не ограничена выбранными терминами и определениями и распространяется также на технические эквиваленты или аналоги используемых терминов, которые имеют схожее назначение и функции, принятые в том числе международными стандартизирующими системами.
В настоящее время в сельском хозяйстве особое внимание уделяется созданию полимеров, способных удерживать достаточно большое количество воды, на основе возобновляемых биоресурсов. Помимо экологических аспектов к таким системам также предъявляются требования к способности и скорости абсорбировать водные растворы, экономичности их синтеза, целесообразности разработанной технологии, стабильности после набухания и во время хранения, способности к повторному смачиванию и отсутствию токсичности по отношению к сельскохозяйственным культурам.
Большинство традиционных гидрогелей на рынке представляют собой продукты на основе полиакрилатов или поли-N-изопропилакриламида, то есть на основе материалов с низкой биоразлагаемостью и не до конца изученным поведением в почве. Например, на рынке представлены САП компаний SNF (под брендом «Aquasorb»), EVONIK (под брендом «Stockosorb»), SOCO Chemical, AE-Chemie (под брендом «Долина плодородия»), ТампоМеханика (под брендом «Аквасин») и др., которые имеют абсорбирующую емкость, не превышающую 400 г воды на 1 г гидрогеля. Однако в связи с акцентом на защиту окружающей среды в последнее время большой интерес проявляется к разработке биоразлагаемых гидрогелей на основе возобновляемых биоресурсов с увеличенной сорбционной емкостью.
Известен способ получения гидрогелей на основе анионных полимеров, включающих повторяющиеся звенья из по крайней мере двух фрагментов (RU 2260604 C9 (W1 C2)). В описываемые фрагменты входят тройные полимеры, содержащие моно- и дикарбоновые кислоты с виниловыми сложными эфирами и виниловыми спиртами. Способ получения включает реакцию полимеризации, гидролиза до спиртовой формы в присутствии гидрооксида натрия. Полученный вязкий полимер смешивают или объединяют в конечную композицию путем внедрения ионов металлов из ряда Fe, Mn, Mg, Zn, Cu, Ni, Co, Mo, V, Cr, Si или Ca. Существенным недостатком настоящего изобретения является неполнота протекания гидролиза вследствие высокой вязкости образующегося полимера и наличия остаточных ацетатных групп, не гидролизованных до спирта. Кроме того, некоторые ионы металлов, характеризующиеся высокими значениями pH, могут проявлять тенденцию к образованию нерастворимых оксидов или гидроксидов, что усложняет процесс приготовления композиции, а также доступности питательных веществ.
Известен способ получения влагосорбента для мелиорации почв и замедления её эрозии путем смешения гидрогеля на основе полиакриламида, сапропеля, глауконитового песка и ракушечника в соотношении 1:27:52:20 (RU 2430952 C1). Существенным и непреодолимым недостатком является высокая стоимость конечной композиции. Также в изобретении предлагается использовать сапропель и ракушечник с определенных месторождений, что не учитывает изменение микросостава компонентов в случае замещения в конечной композиции.
Известен способ получения питающей и обогащающей композиции для сельскохозяйственных культур в виде диспергируемых гранул, включающую марганец, элементарную серу и связующее из ряда высокомолекулярных соединений (RU 2769505 C1). Способ получения композиции отличается тем, что в сосуде, снабженном перемешивающим устройством, гомогенизируют вышеупомянутую смесь до однородного состава. Полученную жидкую суспензию измельчают методом мокрого измельчения до размера частиц в диапазоне от 0,1 до 20 микрон, предпочтительно от 0,1 до 10 микрон. Существенным недостатком предложенного изобретения является плохая диспергируемость и суспендируемость компонентов в воде, например, элементарной серы, что может привести к закупориванию отверстий технологической системы. Кроме того, размеры гранул слишком малы для рассеивания композиции с помощью автоматических посевных устройств.
Другим известным способом создания биодеградируемых суперабсорбирующих полимеров является модификация крахмала синтетическим полимером, например, акриловой кислотой, в присутствии синтетического сшивающего агента [ACS Omega 2019, 4, 5923−5930]. Такие гидрогели демонстрируют высокую абсорбционную емкость (до 1000 г поглощенной воды). Существенным недостатком изобретения является необходимость и контроль тщательного удаления непрореагировавших мономеров, прежде всего, акриловой кислоты, и инициатора, поскольку такие соединения в незаполимеризованном состоянии канцерогенны, что вызывает отрицательное воздействие на почву и грунтовые воды.
Еще одним аналогом композитных влагополимеров является изобретение, основанное на синтетическом (со)полимере, поли-(изобутилен-со-малеиновый ангидрид), белковом биополимере, например, альбумине, и полисахариде, например, галактозе [US 2022/0025263 A1]. Существенным недостатком изобретения является необходимость использования биологических полимеров, что значительно удорожает процесс производства и ограничивает его масштабируемость.
Наиболее близким к предлагаемому изобретению по составу является патент [RU 2743941C1], в котором предлагается получение гидрогелей медицинского назначения без конкретизации способа использования изобретения. Предложенные подходы и операции, включенные в реализацию изобретения, являются стандартными для получения гидрогелей такого рода и включают следующие стадии: (1) приготовление гомогенного водного раствора производных полисахаридов, преимущественно каркбоксиметилцеллюлозы и 2-гидроксиэтилцеллюлозы в присутствии сшивающего агента тризамещенной карбоновой кислоты; (2) испарение избыточной влаги путем сублимационной сушки под вакуумом и (3) термообработка гидрогеля до 150°С для создания поперечных химических связей. Полученные приведенным способом гидрогель показывает значительное водопоглощение до 1600 г воды на 1 г полимера и хорошие физико-механические характеристики. Тем не менее, представленный способ вызывает сомнения в масштабируемости процесса, поскольку предполагает удаление значительного количества воды, используемой при получении формирующего раствора, за счет лиофильного высушивания с обязательным предварительным замораживанием и вакуумированием системы. Более того, в текста не уточняются исходные физико-химические характеристики используемой карбоксиметилцеллюлозы (молекулярная масса, степень полимеризации и замещения карбоксильных функций), что в значительной степени влияет на вязкостные характеристики формирующего раствора и физико-химические свойства конечного гидрогеля.
Таким образом, рассмотренные примеры указывают на ограничение в достигнутом уровне техники, поскольку предполагают использование влагополимеров, полученных из синтетических материалов, не способных к биодеградации в течение длительного времени. С другой стороны, в других областях техники предложено использование гидрогелей на основе биодеградируемых природных полимеров. Однако, предложенные способы не учитывают экономические аспекты, возникающие при масштабировании изобретения, поскольку большинство исследований проводилось только на лабораторном уровне. Например, при смешении с почвой полимера в количестве 0.1 мас.%, его расход на гектар составит от 10 до 40 кг, что, очевидно, экономически нецелесообразно для большинства изобретений. Кроме того, опубликованные изобретения практически не затрагивают вопрос размера гранул, а, следовательно, удельной поверхности влагополимеров, что напрямую влияет на скорость абсорбции и десорбции водных растворов, а также на удобство внесения в почвенные среды.
РАСКРЫТИЕ СУЩНОСТИ ИЗОБРЕТЕНИЯ
Задачей предлагаемого изобретения является создание суперабсорбирующего полимера в виде гранул, используемого предпочтительно в сельском хозяйстве и садоводстве, который обладает повышенным влагоудержанием в количестве до 600 грамм воды на 1 грамм полимера. Технический результат предлагаемого способа заключается в создании сшитого полимера легко масштабируемым способом, способного к необратимому биоразложению и обладающего обратимым водопоглощением, с размерами гранул, удобными для внесения в грунт механизированным способом на большие площади поверхности, а также установка для их производства.
Под терминами «суперабсорбирующий полимер», «гидрогель» или «влагополимер» понимаются все химические вещества полимерного происхождения на основе полисахаридов, которые способны к необратимому разложению в торфо-землянной смеси без нанесения вреда микрофлоре и микрофауне путем уничтожения или видоизменения различных форм живых организмов.
Под термином «влагоудержание» понимается способность настоящего изобретения обратимо абсорбировать/десорбировать и удерживать в течение некоторого периода времени воду или водно-солевые растворы. Расчет «влагоудержания» (абосрбционная емкость) производится по формуле:
         
      
где Wн – масса влагополимера до начала испытания, г; Wк – масса влагополимера после эксперимента при достижении неизменности массы, г. Расчет проводится в течение 1 суток.
Другая задача данного изобретения является разработка установки и технологии способа получения такого влагополимера в форме гранул различного размера.
Указанный технический результат достигают способом получения гранульного влагополимера, состоящего по меньшей мере из одного производного полисахарида или комбинации нескольких, предпочтительно из С1-С6-алкил-целлюлозы, имеющей в структуре гидрооксильные и/или карбоксильные функции в протонированной или непротонированной форме. Другими компонентами являются по меньшей мере одна карбоновая кислота или смесь карбоновых кислот, включающих по меньшей мере одну карбоксильную –COOH функцию и по меньшей мере одну гидрооксильную –OH функцию, а также неорганическая кислота, имеющая в своем составе бор.
В соответствии с вариантом реализации получение влагополимерной композиции может быть проведено в водных средах, в том числе в дистиллированной воде, в водно-солевых растворах с концентрацией фонового электролита 10-5÷1.0 М.
Термин «фоновый электролит» относится ко всем классам неорганических солей, производящихся в коммерческих масштабах и доступных через различные компании.
Производные полисахаридов в настоящем изобретении могут быть представлены карбоксиметилцеллюлозой, гидроксиэтилцеллюлозой, гидрокси-n-пропилцеллюлозой, гидрокси-n-бутилцеллюлозой, гидроксипроипилметилцеллюлозой, этилгидроксиэтилцеллюлозой; крахмалы, такие как кукурузный крахмал, гидроксипропильный крахмал, карбоксиметильный крахмал; декстран и его производные, такие как декстран сульфат, декстран фосфат.
В соответствии с вариантом реализации один или смесь полисахаридов для получения влагополимерной композиции выбирают согласно заявленным вязкостным характеристикам компании поставщика полисахарида. Для достижения заявленного уровня техники один или смесь полисахаридов выбирают так, чтобы конечная вязкость полученного раствора составила 1000-7000 cps и более предпочтительно 3000-4000 cps в пересчете на 1% раствор, измеренный согласно ГОСТ 18249-72.
Карбоновая кислота или смесь карбоновых кислот в настоящем изобретении могут быть представлены этандикарбоновой (щавелевой) кислотой, лимонной кислотой, цитрамалиновой кислотой, малоновой кислотой, янтарной кислотой, фумаровой кислотой, глутаровой кислотой, пимелиновой кислотой, пробковой кислотой, винной кислотой, малеиновой кислотой, азелаиновой кислотой, себациновой кислотой, 3-гидроксибензойной кислотой, 4-гидроксибензойной кислотой, 3-аминобензойной кислотой, 4-аминобензойной кислотой, фталевой кислотой, пиразин-2,3-дикарбоновой кислотой, пиридин-2,5-дикарбоновой кислотой, пиридин-2,6-дикарбоновой кислотой, пиразин-3,5-дикарбоновой кислотой, 2,6-дигидроксибензойной кислотой, 3,4-дигидроксибензойной кислотой, 3,5-дигидроксибензойной кислотой.
Неорганические кислоты, содержащие в составе атом бора, в настоящем изобретении могут быть представлены борной кислотой или метаборной кислотой.
Технический результат изобретения, таким образом, достигается путем последовательного смешения вышеупомянутых реагентов. Смешение осуществляется в водном растворе, причем начальная концентрация влагополимера по отношению к водной фазе составляет от 0.5 до 10% по массе, более предпочтительно от 2 до 5% по массе. При этом перемешивание осуществляется в температурном диапазоне от 20 до 90°С, более предпочтительно от 25 до 65°С в реакторе, снабженном перемешивающим устройством рамного, якорного, листового или барабанного исполнения со скоростью вращения от 40 до 100 оборотов в минуту, более предпочтительно от 60 до 80 оборотов в минуту. Процесс перемешивания осуществляют до получения оптически прозрачного гомогенного раствора.
Влагоудерживающая и питающая композиция для сельскохозяйственных культур на основе суперабсорбирующего полимера в форме диспергируемых и набухаемых в водных растворах гранул, которая содержит: производное целлюлозы, содержащее карбоксильную группу, в диапазоне 0.1-5 мас.%, производное целлюлозы, содержащее по меньшей мере 4 или 6 гидроксильные группы на многомерное звено, в диапазоне 0.1-2.5 мас.%, по меньшей мере одну полифункциональную карбоновую кислоту в диапазоне 0.1%-10% по массе всей композиции, по меньшей мере одну неорганическую кислоту, имеющую в составе бор, в диапазоне 0.1%-10% по массе всей композиции, по меньшей мере одно вещество на основе диоксида кремния марки АЭРОСИЛ, покрывающее поверхность гранул, в диапазоне 0.1%-50% по массе всей композиции.
Приготовленный таким образом раствор состоит из одного или нескольких производных полисахаридов от 0.5 до 6% по массе, более предпочтительно от 2 до 5% по массе, одной или нескольких карбоновых кислот от 1 до 20% по массе относительно производных полисахаридов и неорганической кислоты от 0.1 до 10% по массе, более предпочтительно от 2 до 5% по массе относительно общего количества смеси полисахарид/карбоновая кислота.
Приготовленный таким образом раствор переносят в сушильный аппарат конвекционного типа и удаляют из него избыточную воду. При чем раствор композиции наносится на металлические или стеклянные поддоны толщиной не более 10 мм, более предпочтительно около 5 мм. Процесс сушки производится до 24 часов в температурном режиме от 40 до 110°С, более предпочтительно от 60 до 80°С. Избыточную влагу удаляют и конденсируют для повторного использования в специализированных аппаратах. Таким образом, производство влагополимерной композиции исключает получение любых отходов при производстве.
В процессе термообработки влагополимера проводят формирование поперечных сшивок путем активации карбоновой кислоты или смеси карбоновых кислот, приводящее к образованию сшитого в пространстве сетчатого полимера. Подтверждение образования сетчатой структуры производят путем снятия инфракрасного спектра соединения с подтверждением наличия сложноэфирной функции при 1717 см-1.
Приготовленный таким образом полимер переносят в измельчитель и проводят измельчение до гранулярной формы. При этом на данной стадии к влагополимеру добавляют диоксид кремния марки АЭРОСИЛ в количестве от 0.1 до 50% по массе, более предпочтительно от 10 до 20% по массе. Процесс измельчения предпочтительно проводят в течение 1 минуты при скорости вращения вала от 5000 до 25000 оборотов в минуту, более предпочтительно 15000 до 20000 оборотов в минуту. Таким образом, в результате формируется сетчатый влагополимер гранулярной формы с размером гранул предпочтительно 0.1–5 мм, более предпочтительно от 1 до 2 мм, пригодный для внесения в торфо-земляную смесь механизированным способом на большие площади поверхности.
Другим способом получения суперабсорбирующего полимера является создание гранул (драже) с семенами растений, покрытыми оболочкой суперабсорбирующего полимера. При этом влагополимер и семена вносятся адресно в ячейки и после высушивания при температурном режиме не более 45°С в течение 2 суток извлекаются из ячеек. Допускается разделение высушенных листов суперабсорбирующего полимера с внесенными семенами на равные части при помощи ножей, при этом допускается делать лезвия решетчатой формы. Допускается дробление суперабсорбирующего полимера с семенами с последующим отделением фракции размером менее 1 мм от целевой фракции при помощи вибросит. Допускается нанесение антиадгезионных покрытий на поверхности сушильного оборудования перед загрузкой раствора влагополимера. Допускается адресное внесение композиции влагополимера и семян в ячейки, издготовленные из биоразлагаемого материала (полилактид, биопластики и пр.) с дальнейшем высушиванием в течение 2 суток при температурном режиме не более 45°С.
Другим способом достижения технического результата настоящего изобретения является получение драже с семенами растений, покрытыми композицией на основе суперабсорбирующего полимера при помощи дражиратора. Смешивание реагентов проводится вышеупомянутым способом в водном растворе с начальной концентрацией влагополимера по отношению к водной фазе в пределах от 0.5 до 10% по массе. При этом перемешивание осуществляется в реакторе с перемешивающим устройством в температурном диапазоне от 20 до 90°С со скоростью вращения вала мешалки от 40 до 100 оборотов в минуту до получения оптически прозрачного раствора. Процесс сушки производится вышеупомянутым способом в течение 24 часов с температурным режимом от 40 до 110°С, более предпочтительно от 40 до 60°С. Процесс измельчения проводится в течение 1 минуты при скорости вращения вала от 5000 до 25000 об/мин, предпочтительно от 20000 до 23000 об/мин. Измельченный полимер разделяется на фракции для получения гранул размером 0.1-2 мм с помощью лабораторных или вибрационных сит.
Зерна посевного материала, прошедшие калибрование по размеру, загружаются в дражировочный барабан, снабженный электрическим приводом. Камера барабана вращается со скоростью 20-60 об/мин, более предпочтительно 30-45 об/мин. В процессе вращения барабана в зерна вносят клеящее вещество из расчета 2-7 л клеящего раствора на 1 кг семян. Затем во вращающийся барабан вносится наполнитель, состоящий из гранул высушенного суперабсорбирующего полимера. Допускается добавление ростовых веществ, микроудобрений, фунгицидов, инсектицидов и красителей в дражировочный барабан. Затем ведется укатка драже в барабане дражиратора в течение 5-60 минут, более предпочтительно 15-30 минут. Затем драже выгружаются из дражировочного барабана и высушиваются при температуре не выше 45°С.
Допускается использовать в качестве клеящей жидкости раствор суперабсорбирующего полимера, полученный после гомогенизации компонентов в реакторе. Более предпочтительно, чтобы раствор был предварительно подсушен до получения соотношения компонентов к водной фазе в диапазоне от 5 до 10%.
ОПИСАНИЕ ЧЕРТЕЖЕЙ
Было проведено исследование физико-химических и абсорбционных характеристик полученных влагополимерных композиций, а также было протестировано влияние на рост и урожайность при выращивании картофеля сорта Ривьера и лука-порей сорта Камус.
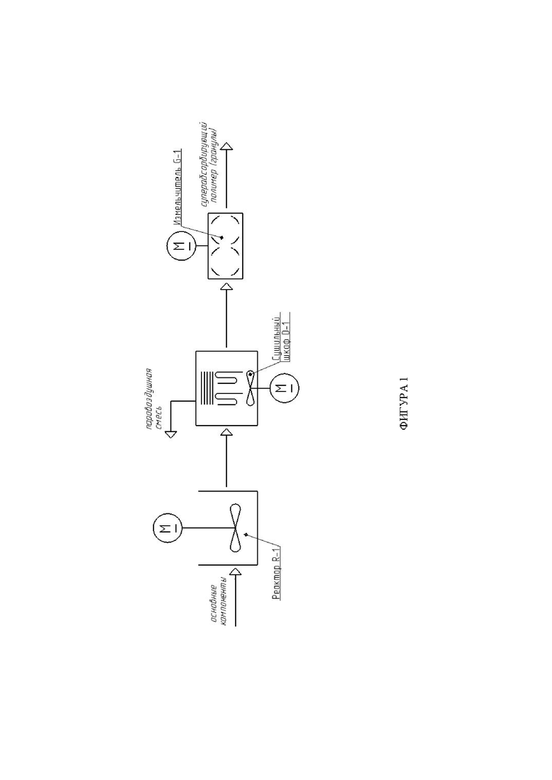
На фиг. 1 представлен вариант технологической схемы получения суперабсорбирующего полимера и композиций на их основе в форме гранул.
На фиг. 2 представлен вариант технологической схемы получения биодеградирумой гранульной влагополимерной композиции, в котором присутствует компрессор для стимуляции воздухообмена в сушильной камере.
На фиг. 3 представлен вариант технологической схемы получения суперабсорбирующего полимера и композиций ни их основе, в котором установлен дополнительно драйкулер (конденсатор) для конденсации и повторного использовании воды, испаряемой в сушильной камере, и компрессор для стимуляции воздухообмена в сушильной камере.
На фиг. 4 представлен вариант технологической схемы получения драже с семенами в оболочке из суперабсорбирующего полимера и питательных веществ, когда в дражировочный барабан вносится предварительно высушенный и измельченный суперабсорбирующий полимер.
На фиг. 5 представлен вариант технологической схемы получения драже с семенами в оболочке из суперабсорбирующего полимера и питательных веществ, когда в дражировочный барабан вносится гелеобразный раствор суперабсорбирующего полимера в качестве клеящего вещества.
На фиг. 6 представлено сравнение спектров инфракрасной спектроскопии композиции на основе смеси гидроксиэтилцеллюлозы и карбоксиметилцеллюлозы.
На фиг. 7 представлено сравнение абсорбционной емкости по отношению к дистилированной воде композиции на основе смеси гидроксиэтилцеллюлозы и карбоксиметилцеллюлозы в зависимости от степени сшивки.
На фиг. 8 представлено влагоудержание в течение 30 суток по отношению к дистилированной воде композиции на основе смеси гидроксиэтилцеллюлозы и карбоксиметилцеллюлозы.
На фиг. 9 представлен спектр инфракрасной спектроскопии влагополимерной композиции через 150 суток после пребывания в торфо-земляной смеси.
На фиг. 10 представлена средняя масса клубней с 1 растения картофеля сорта Ривьера в зависимости от нормы внесения суперабсорбирующей влагополимерной композиции при различных нормах полива.
Примечание: Препарат – Влагополимер 2 – 1 г на 30 л торфа, норма полива, вариант 1 – 100%; 2 – 75%; 3 – 50% от стандартной; Влагополимер 4 – 1,5 г на 30 л торфа, норма полива, вариант 4 – 100%; 5 – 75%; 6 – 50% от стандартной; Влагополимер 8 – 2,5 г на 30 л торфа, норма полива, вариант 7 – 100%; 8 – 75%; 9 – 50% от стандартной; Влагополимер 16 – 5 г на 30 л торфа, норма полива, вариант 10 – 100%; 11 – 75%; 12 – % от стандартной; Влагополимер 32 - 10 г на 30 л торфа, норма полива, вариант 13 – 100%; 14 – 75%; 15 – 50% от стандартной; Влагополимер 64 – 20 г на 30 л торфа, норма полива, вариант 16 – 100%; 17 – 75%; 18 – 50% от стандартной; Контроль – без композиции, норма полива, вариант 19 – 100%; 20 – 75%; 21 – 50%.
На фиг. 11 представлена средняя масса клубня картофеля сорта Ривьера в зависимости от нормы внесения композиции при различных нормах полива.
Примечание: Препарат – Влагополимер 2 – 1 г на 30 л торфа, норма полива, вариант 1 – 100%; 2 – 75%; 3 – 50% от стандартной; Влагополимер 4 – 1,5 г на 30 л торфа, норма полива, вариант 4 – 100%; 5 – 75%; 6 – 50% от стандартной; Влагополимер 8 – 2,5 г на 30 л торфа, норма полива, вариант 7 – 100%; 8 – 75%; 9 – 50% от стандартной; Влагополимер 16 – 5 г на 30 л торфа, норма полива, вариант 10 – 100%; 11 – 75%; 12 – % от стандартной; Влагополимер 32 – 10 г на 30 л торфа, норма полива, вариант 13 – 100%; 14 – 75%; 15 – 50% от стандартной; Влагополимер 64 – 20 г на 30 л торфа, норма полива, вариант 16 – 100%; 17 – 75%; 18 – 50% от стандартной; Контроль – без композиции, норма полива варианты 19 – 100%; 20 – 75%; 21 – 50%.
На фиг. 12 представлено среднее количество клубней с одного растения картофеля сорта Ривьера в зависимости от нормы внесения композиции при различных нормах полива. Примечание: Препарат – Влагополимер 2 – 1 г на 30 л торфа, норма полива, вариант 1 - 100%; 2 - 75%; 3 - 50% от стандартной; Влагополимер 4 - 1,5 г на 30 л торфа, норма полива, вариант 4 - 100%; 5 - 75%; 6 - 50% от стандартной; Влагополимер 8 - 2,5 г на 30 л торфа, норма полива, вариант 7 - 100%; 8 - 75%; 9 - 50% от стандартной; Влагополимер 16 - 5 г на 30 л торфа, норма полива, вариант 10 - 100%; 11 - 75%; 12 - % от стандартной; Влагополимер 32 - 10 г на 30 л торфа, норма полива, вариант 13 - 100%; 14 - 75%; 15 - 50% от стандартной; Влагополимер 64 - 20 г на 30 л торфа, норма полива, вариант 16 - 100%; 17 - 75%; 18 - 50% от стандартной; Контроль - без композиции, норма полива варианты 19 - 100%; 20 - 75%; 21 - 50%.
На фиг. 13 представлено влияние композиции на структуру (фракционный состав) урожая картофеля сорта Ривьера при получении миниклубней.
Примечание: Препарат - Влагополимер 2 - 1 г на 30 л торфа, норма полива, вариант 1 – 100%; 2 – 75%; 3 – 50% от стандартной; Гидрогель 4 – 1,5 г на 30 л торфа, норма полива, вариант 4 – 100%; 5 – 75%; 6 – 50% от стандартной; Гидрогель 8 – 2,5 г на 30 л торфа, норма полива, вариант 7 – 100%; 8 – 75%; 9 – 50% от стандартной; Гидрогель 16 – 5 г на 30 л торфа, норма полива, вариант 10 – 100%; 11 – 75%; 12 – % от стандартной; Гидрогель 32 - 10 г на 30 л торфа, норма полива, вариант 13 – 100%; 14 – 75%; 15 – 50% от стандартной; Гидрогель 64 – 20 г на 30 л торфа, норма полива, вариант 16 – 100%; 17 – 75%; 18 – 50% от стандартной; Контроль - без композиции, норма полива, вариант 19 – 100%; 20 – 75%; 21 – 50%.
На фиг. 14 показана средняя масса растений лука-порея сорта Камус в зависимости от внесения композиции при различных нормах полива.
Примечание: Препарат - Влагополимер 2 (1 г/30 л торфа, 0,003% массы композиции от массы торфа), Влагополимер 4 (1,5 г/30 л торфа, 0,0047% массы композиции от массы торфа), Влагополимер 8 (2,5 г/30 л торфа, 0,0078% массы композиции от массы торфа), Влагополимер 16 (5,0 г/30 л торфа, 0,0156% массы композиции от массы торфа), Влагополимер 32 (10,0 г/30 л торфа, 0,0312% массы композиции от массы торфа), Влагополимер 64 (20,0 г/30 л торфа, 0,0625% массы композиции от массы торфа), Семена в грануле влагополимера (масса гранулы с семенем: 3-3,5 г), Контроль (стандартная торфосмесь).
На фиг. 15 показана средняя длина перьев лука-порея сорта Камус в зависимости от внесения композиции при различных нормах полива.
Примечание: Препарат - Влагополимер 2 (1 г/30 л торфа, 0,003% массы композиции от массы торфа), Влагополимер 4 (1,5 г/30 л торфа, 0,0047% массы композиции от массы торфа), Влагополимер 8 (2,5 г/30 л торфа, 0,0078% массы композиции от массы торфа), Влагополимер 16 (5,0 г/30 л торфа, 0,0156% массы композиции от массы торфа), Влагополимер 32 (10,0 г/30 л торфа, 0,0312% массы композиции от массы торфа), Влагополимер 64 (20,0 г/30 л торфа, 0,0625% массы композиции от массы торфа), Семена в грануле влагополимера (масса гранулы с семенем: 3–3,5 г), Контроль (стандартная торфосмесь).
На фиг. 16 показан средний диаметр "ноги" стебля лука-порея сорта Камус в зависимости от внесения композиции при различных нормах полива.
Примечание: Препарат - Влагополимер 2 (1 г/30 л торфа, 0,003% массы композиции от массы торфа), Влагополимер 4 (1,5 г/30 л торфа, 0,0047% массы композиции от массы торфа), Влагополимер 8 (2,5 г/30 л торфа, 0,0078% массы композиции от массы торфа), Влагополимер 16 (5,0 г/30 л торфа, 0,0156% массы композиции от массы торфа), Влагополимер 32 (10,0 г/30 л торфа, 0,0312% массы композиции от массы торфа), Влагополимер 64 (20,0 г/30 л торфа, 0,0625% массы композиции от массы торфа), Семена в грануле влагополимера (масса гранулы с семенем: 3-3,5 г), Контроль (стандартная торфосмесь).
ПРИМЕРЫ ПОЛУЧЕНИЯ
Представленные примеры иллюстрируют базовую методологию и универсальность композиции изобретения. Требуется отметить, что в параметры технологических режимов, раскрываемых в данном патенте, допускается внесение изменений в каждом конкретном случае. При этом изменение переменных допускается различными способами, известными из уровня техники. Приведенные далее примеры получения препарата не предназначены для ограничения объема изобретения и представляются с целью демонстрации допускаемых способов получения композиции. При этом данный документ раскрывает некоторые предпочтительные варианты реализации изобретения, указанные в описании и на рисунках. Однако не ограничивает изобретение данными предпочтительными вариантами. Изобретение следует интерпретировать лишь с учетом информации, представленной в формуле изобретения.
А. Композиция в форме гранул суперабсорбирующего полимера
Пример 1
Влагополимер получали путем смешивания 3 частей гидроксиэтилцеллюлозы (ГЭЦ), 100 частей воды, 3 частей по массе от ГЭЦ щавелевой кислоты и 2 частей по массе от ГЭЦ борной кислоты. Смешивание проводили до получения гомогенного раствора при комнатной температуре. Полученный раствор подвергали сушке при 60°С в течение 1 суток. Образовавшийся полимер измельчали до получения гранул размером 2 мм в течение 30 секунд при скорости вращения 20000 оборотов в минуту. Разделение фракций проводили рассеиванием на вибрационных ситах.
После получения композиции основная фракция обладала следующими характеристиками:
размер гранул – 1-2 мм;
выход целевой фракции – 80%;
абсорбционная ёмкость по отношению к дистилированной воде – 30%;
абсорбционная ёмкость по отношению к 0.9% раствору NaCl – 18%;
влагоудержание через 30 суток – 17%.
Пример 2
Влагополимер получали путем смешивания 3 частей карбоксиметилцеллюлозы (КМЦ), 100 частей воды, 3 частей по массе от КМЦ лимонной кислоты и 5 частей по массе от КМЦ борной кислоты. Смешивание проводили до получения гомогенного раствора при температуре 35°С. Полученный раствор подвергали сушке при 60°С в течение 1 суток. Образовавшийся полимер измельчали до получения гранул размером 2 мм в течение 30 секунд при скорости вращения 18000 оборотов в минуту. Разделение фракций проводили рассеиванием на вибрационных ситах.
После получения композиции целевая фракция обладала следующими характеристиками:
размер гранул – 1-2 мм;
выход целевой фракции – 72%;
абсорбционная ёмкость по отношению к дистилированной воде – 116%;
абсорбционная ёмкость по отношению к 0.9% раствору NaCl – 92%;
влагоудержание через 30 суток – 61%.
Пример 3
Влагополимер получали путем смешивания 1 части ГЭЦ, 3 частей КМЦ, 100 частей воды, 3.75 частей по массе от смеси полисахаридов лимонной кислоты и 7.2 частей по массе борной кислоты. Смешивание проводили до получения гомогенного раствора при температуре 40°С. Полученный раствор подвергали сушке при 60°С в течение 1 суток. Образовавшийся полимер измельчали до получения гранул размером 2 мм в течение 30 секунд при скорости вращения 23000 оборотов в минуту. Разделение фракций проводили рассеиванием на вибрационных ситах.
После получения композиции целевая фракция обладала следующими характеристиками:
размер гранул – 1-2 мм;
выход целевой фракции – 61%;
абсорбционная ёмкость по отношению к дистилированной воде – 624%;
абсорбционная ёмкость по отношению к буферным растворам: pH 4.1 – 466%, pH 6.2 – 474%, pH 7.9 – 452%, pH 10.0 – 488%;
влагоудержание через 30 суток – 443%.
Пример 4
Влагополимер получали путем смешивания 1 части крахмала, 2 частей КМЦ, 100 частей воды, 4 частей по массе от смеси полисахаридов лимонной кислоты и 5 частей по массе борной кислоты. Смешивание проводили до получения гомогенного раствора при температуре 60°С. Полученный раствор подвергали сушке при 60°С в течение 1 суток. Образовавшийся полимер измельчали до получения гранул размером 2 мм в течение 20 секунд при скорости вращения 18000 оборотов в минуту. Разделение фракций проводили рассеиванием на ручных лабораторных ситах.
После получения композиции целевая фракция обладала следующими характеристиками:
размер гранул – 1-2 мм;
выход целевой фракции – 81%;
абсорбционная ёмкость по отношению к дистилированной воде – 532%;
абсорбционная ёмкость по отношению к буферным растворам: pH 4.1 – 392%, pH 6.2 – 412%, pH 7.9 – 397%, pH 10.0 – 399%;
влагоудержание через 30 суток – 252%.
Пример 5
Влагополимер получали путем смешивания 2 частей крахмала, 1 частей декстрана, 100 частей воды и 5 частей по массе от смеси полисахаридов янтарной кислоты. Смешивание проводили до получения гомогенного раствора при температуре 60°С. Полученный раствор подвергали сушке при 60°С в течение 1 суток. Образовавшийся полимер измельчали до получения гранул размером 2 мм в течение 20 секунд при скорости вращения 18000 оборотов в минуту. Разделение фракций проводили рассеиванием на грохоте.
После получения композиции целевая фракция обладала следующими характеристиками:
размер гранул – 1-2 мм
выход целевой фракции – 84%
абсорбционная ёмкость по отношению к дистилированной воде – 81%
абсорбционная ёмкость по отношению к буферным растворам: pH 4.1 – 67%, pH 6.2 – 65%, pH 7.9 – 69%, pH 10.0 – 59%;
влагоудержание через 30 суток – 31%.
Пример 6
Влагополимер получали путем смешивания 1 части декстрана, 2 частей КМЦ, 100 частей воды и 3 частей по массе от смеси полисахаридов янтарной кислоты. Смешивание проводили до получения гомогенного раствора при температуре 60°С. Полученный раствор подвергали сушке при 60°С в течение 1 суток. Образовавшийся полимер измельчали до получения гранул размером 2 мм в течение 30 секунд при скорости вращения 15000 оборотов в минуту. Разделение фракций проводили рассеиванием на вибрационных ситах.
После получения композиции целевая фракция обладала следующими характеристиками:
размер гранул 1-2 мм;
выход целевой фракции – 87%;
абсорбционная ёмкость по отношению к дистилированной воде – 81%;
абсорбционная ёмкость по отношению к буферным растворам: pH 4.1 – 67%, pH 6.2 – 65%, pH 7.9 - 69%, pH 10.0 - 59%;
влагоудержание через 30 суток – 31%.
Пример 7
Влагополимер получали путем смешивания 5 частей КМЦ, 2 частей пропилметилцеллюлозы, 100 частей воды, 1 части по массе от смеси полисахаридов лимонной кислоты кислоты и 2 частей по массе от смеси полисахаридов борной кислоты. Смешивание проводили до получения гомогенного раствора при комнатной температуре. Дополнительно в раствор вводили семена лука-порея сорта Камус, и раствор дополнительно перемешивали в течение 10 минут. Полученный раствор подвергали сушке при 40°С в течение 2 суток. Образовавшуюся композицию измельчали с помощью шаровых мельниц. Разделение фракций проводили рассеиванием на вибрационных ситах.
После получения композиции целевая фракция обладала следующими характеристиками:
размер гранул – 1-2 мм;
выход целевой – фракции 31%;
абсорбционная ёмкость по отношению к дистиллированной воде – 161%.
Пример 8
Влагополимер получали согласно п.3 за исключением растворения исходных веществ в 100 частях кислотной сыворотки.
После получения композиции целевая фракция обладала следующими характеристиками:
размер гранул – 1-2 мм;
выход целевой фракции – 63%;
абсорбционная ёмкость по отношению к дистилированной воде – 72%;
влагоудержание через 30 суток – 43%.
Пример 9
Влагополимер получали согласно п.3 с тем исключением, что высушивание образцов проводилось при температуре 80°С в течение 8 часов.
После получения композиции целевая фракция обладала следующими характеристиками:
размер гранул – 1-2 мм;
выход целевой фракции – 64%;
абсорбционная ёмкость по отношению к дистилированной воде – 620%;
абсорбционная ёмкость по отношению к буферным растворам: pH 4.1 – 459%, pH 6.2 – 479%, pH 7.9 - 461%, pH 10.0 - 490%;
влагоудержание через 30 суток – 430%.
Пример 10
Суперабсорбирующий полимер получали согласно примеру 3 с тем исключением, что в полученную смесь осуществлялось внесение семян лука-порея следующим образом. В ячейки поддона размером 8х8х6 мм со съемным дном вносился суперабсорбирующий полимер в виде геля до заполнения ячейки. Затем адресно в каждую ячейку на глубину 2–4 мм вносились семена лука-порея. Полученный раствор подвергали сушке при 40°С в течение 2 суток. Образовавшуюся композицию отделяли путем отсоединения съемного дна поддона и выдавливания из ячеек полученных гранул суперабсорбирующего полимера в подготовленную емкость.
После получения композиции целевая фракция обладала следующими характеристиками:
размер гранул – 4-8 мм;
выход целевой фракции – 68%;
абсорбционная ёмкость суперабсорбирующего полимера по отношению к дистилированной воде – 634%.
Пример 11
Суперабсорбирующий полимер получали согласно примеру 3 с тем исключением что смешивание проводили до получения гомогенного раствора при температуре 42°С. Затем в дражировочный барабан вносили откалиброванные семена твердой озимой пшеницы размером 3–3,5 мм и при скорости вращения барабана 30 об/мин вносили композицию влагополимера в соотношении 5 л влагополимерной композиции на 1 кг семян. После перемешивания в течение 10 минут вносили порошковидный торф. После перемешивания в течение 10 минут вносили порошковидные цинковые полимикроудобрения. После укатки в течение 30 минут драже выкладывались на поддон и сушились в сушильной камере при температуре 40°С в течение 50 часов.
размер гранул – 7-8 мм;
выход целевой фракции – 76%;
абсорбционная ёмкость суперабсорбирующего полимера по отношению к дистилированной воде – 620%.
Пример 12
Суперабсорбирующий полимер получали согласно примеру 3 с тем исключением, что смешивание проводили до получения гомогенного раствора при температуре 45°С. Затем в дражировочный барабан вносили семена откалиброванные твердой яровой пшеницы размером 4–4,5 мм и при скорости вращения барабана 35 об/мин вносили клеящую композицию бентонитовой глины в соотношении 4,5 л клеящего вещества на 1 кг семян. После перемешивания в течение 15 минут вносили гранулы суперабсорирующего полимера в соотношении 1,5 кг полученной композиции влагополимера на 1 кг семян. После перемешивания в течение 10 минут вносили порошковидные цинковые полимикроудобрения, фунгициды и краситель. После укатки в течение 40 минут выгружали драже на поддоны и сушили в сухом проветриваемом помещении в течение 10 суток при температуре 25°С.
размер гранул – 5 - 7 мм;
выход целевой фракции – 80%;
абсорбционная ёмкость суперабсорбирующего полимера по отношению к дистилированной воде – 622%.
Б. Лабораторная установка для получения суперабсорбирующего полимера
Пример 13
Суперабсорбирующий полимер получали согласно примерам 1-10 с тем исключением, что проводили получение на лабораторной установки суперабсорбирующего полимера, состоящей из перемешивающего устройства, работающего в диапазоне от 100 до 2500 об/мин, емкости объемом 5 литров, сушильного шкафа объемом 80 дм3 с температурой нагрева до 200°С с установленными поддонами из нержавеющей стали и подключенным устройством для нагнетания воздуха (компрессор) производительностью до 300 л/час, измельчителя с диапазоном регулирования скорости вращения вала до 23000 об/мин.
После сборки лабораторная установка для получения суперабсорбирующего полимера обладала следующими характеристиками:
занимаемая площадь: от 1 до 2 м2 в зависимости от расстановки аппаратов;
высота: 0,818 м;
масса: 66 кг;
производительность: 1,08 кг/сут;
получаемый продукт: гранулы суперабсорбирующего полимера размером 1–2 мм;
условия эксплуатации: в помещении при температуре от +15 до +45°С, атмосферном давлении окружающей среды 86–107 кПа, относительной влажности окружающей среды 80%;
установленная мощность лабораторной установки: 2485 Вт;
характеристики источников питания: напряжение питания трехфазное 380±45 В, однофазное 220±10 В, частота 50±1 Гц.
Пример 14
Суперабсорбирующий полимер получали согласно примерам 1-10 на лабораторной установке, собранной согласно примеру 13, с тем отличием, что емкость объемом 5 л оснащена двумя трубчатыми электронагревателями (ТЭН), позволяющими нагревать содержимое емкости до заданной температуры, но не выше 100°С, а в систему добавлен портативный аппарат воздушного охлаждения (конденсатор). Аппарат воздушного охлаждения подключен патрубком к отверстию для удаления паров из сушильного шкафа с возможностью конденсации паров воды для её повторного использования в следующем технологическом цикле.
После сборки лабораторная установка для получения суперабсорбирующего полимера обладала следующими характеристиками:
занимаемая площадь: от 1,25 до 2 м2 в зависимости от расстановки аппаратов;
высота: 0,818 м;
масса: 70 кг;
производительность: 1,08 кг/сут;
размер фракции: 1–2 мм;
условия эксплуатации: в помещении при температуре от +15 до +45°С, атмосферном давлении окружающей среды 86–107 кПа, относительной влажности окружающей среды 80%;
установленная мощность лабораторной установки: 2995 Вт;
характеристики источников питания: напряжение питания трехфазное 380±45 В, однофазное 220±10 В, частота 50±1 Гц.
Пример 15
Суперабсорбирующий полимер получали согласно примеру 10 на лабораторной установке, собранной согласно примеру 13, с тем отличием, что компрессор и измельчитель не устанавливались, а поддоны сушильного шкафа были исполнены в виде съемного дна с присоединяющейся сверху матрицей из квадратных ячеек размером 8×8×6 мм.
После сборки лабораторная установка для получения суперабсорбирующего полимера обладала следующими характеристиками:
занимаемая площадь: от 0,75 до 1,5 м2 в зависимости от расстановки аппаратов;
высота: 0,818 м;
масса: 64 кг;
производительность: 0,35 кг/сут;
условия эксплуатации: в помещении при температуре от +15 до +45°С, атмосферном давлении окружающей среды 86–107 кПа, относительной влажности окружающей среды 80%;
установленная мощность лабораторной установки: 2260 Вт;
характеристики источников питания: напряжение питания трехфазное 380±45В/однофазное 220±10В, частота 50±1 Гц.
Пример 16
Суперабсорбирующий полимер получали согласно примерам 11-12 с тем исключением, что лабораторная установка для получения суперабсорбирующего полимера состоит из перемешивающего устройства, работающего в диапазоне от 100 до 2500 об/мин, емкости объемом 5 литров, сушильного шкафа объемом 80 дм3 с температурой нагрева до 200°С с установленными поддонами из нержавеющей стали и подключенным устройством для нагнетания воздуха (компрессор) производительностью до 300 л/час, измельчителя с диапазоном регулирования скорости вращения вала до 23000 об/мин, вибросита с диапазоном ячеек сетки 0,1-5,0 мм, дражировочного барабана со скоростью вращения до 45 об/мин и размером чаши 280×240 мм.
После сборки лабораторная установка для получения драже с семенами суперабсорбирующего полимера обладала следующими характеристиками:
занимаемая площадь: от 2 до 3 м2 в зависимости от расстановки аппаратов;
высота: 0,818 м;
масса: 64 кг;
производительность: 0,35 кг/сут;
условия эксплуатации: в помещении при температуре от +15 до +45°С, атмосферном давлении окружающей среды 86–107 кПа, относительной влажности окружающей среды 80%;
установленная мощность лабораторной установки: 3085 Вт;
характеристики источников питания: напряжение питания трехфазное 380±45В/однофазное 220±10В, частота 50±1 Гц.
ИССЛЕДОВАНИЕ В ПОЛЕВЫХ УСЛОВИЯХ
Полевые испытания проводились для оценки эффекта от внесения образца влагополимерной композиции в почву, в том числе в виде высушенных во влагополимерной композиции семян растений, согласно варианту данного изобретения на картофель сорта Ривьера и лука-порея сорта Камус (необходимо тогда привести такие же данные, как и для картошки) и для оценки возможности механизированного внесения композиции в почву:
Эксперимент №1
Методология полевого эксперимента:
Полевые испытания проводили с целью оценки влияния состава влагополимерной композиции в условиях теплиц на урожайность и водопотребление сельскохозяйственной культуры картофель сорта Ривьера.
Испытания были проведены во время посевного сезона с июня по октябрь. Для каждого испытания поддерживалось три вегетативных сосуда с микрорастениями картофеля. Оцениваемая композиция влагополимера была синтезирована согласно примеру 3. Композиция применялась способом индивидуального внесения в почво-торфяную смесь перед засеванием культуры картофеля. Композиция вносилась в количествах. Полив почвы осуществлялся в различных количествах с целью оценки работоспособности полимера при различной норме полива. Культура картофеля взращивалась в соответствии с надлежащей сельскохозяйственной практикой. Микрорастения картофеля, сорт Ривьера, высаживались в вегетационные сосуды 3 л, в заранее подготовленный торф согласно схеме опыта.
Детали эксперимента:
а) Место испытания: опытные теплицы ФГБОУ ВО СПбГАУ.
б) Сельскохозяйственная культура: картофель, сорт Ривьера.
в) Время проведения эксперимента: июнь–октябрь 2022 г.
г) Схема испытания: Влагополимер 2 (1 г/30 л торфа, 0,003% массы композиции от массы торфа), Влагополимер 4 (1,5 г/30 л торфа, 0,0047% массы композиции от массы торфа), Влагополимер 8 (2,5 г/30 л торфа, 0,0078% массы композиции от массы торфа), Влагополимер 16 (5,0 г/30 л торфа, 0,0156% массы композиции от массы торфа), Влагополимер 32 (10,0 г/30 л торфа, 10,0 г/30 л торфа, 0,0312% массы композиции от массы торфа), Влагополимер 64 (20,0 г/30 л торфа), Контроль (стандартная торфосмесь).
д) Повторения: три.
е) Общий объем обрабатываемой земли: 189 л.
ж) Дата внесения: 15.06.2022.
з) Дата засевания: 17.06.2022.
и) Способ внесения: внесение влагополимерной композиции при помощи сеялки и последующее смешивание торфа с гидрогелем.
к) Дата сбора урожая: 21.09.2022.
и) Дата оценки результата (после высушивания): 12.10.2022.
Наблюдения в отношении урожайности картофеля записывали после сбора урожая.
Усредненные данные представлены в табл. 1 для подсчета и анализа влияния влагополимерной композиции при различных нормах образцов внесения в почву и при различных нормах полива растений в течение эксперимента. Визуализация полученных результатов представлена на фиг. 6-8. Влияние гидрогеля на структуру урожая картофеля представлено в табл. 2 и визуализировано на фиг. 9.
Таблица 1 – Влияние гидрогеля на продуктивность при получении миниклубней картофеля, сорт Ривьера
        
            
            
                
                
                
                
                
                
                
                
                
                
                
                
                
                
              
            
          
        
Продолжение таблицы 1
        
            
            
                
                
                
                
                
                
                
                
              
            
          
        
Таблица 2 – Влияние гидрогеля на структуру урожая миниклубней картофеля, сорт Ривьера
        
            
            
                
                
                
                
                
                
                
                
                
                
                
                
                
                
                
                
                
                
                
                
                
                
                
              
            
          
        
Воздействие суперабсорбирующей влагополимерной композиции на урожайность оценивается по отношению средней массы клубней с одного растения, полученных с внесением влагополимерной композиции в различных пропорциях, к средней массе клубней с одного растения, полученных на контрольных образцах без внесения влагополимерной композиции. Влияние на качество полученных культур оценивалось по отношению средней массы клубня, полученного с внесением влагополимерной композиции в различных пропорциях, к средней массе клубня, полученного без применения влагополимерной композиции и по визуальному сравнению клубней. Воздействие влагополимерной композиции на водопотребление оценивается по отношению средней массы клубней, полученных с внесением влагополимерной композиции в различных пропорциях при сниженной норме водопотребления (50% и 75% от нормы), к средней массе клубней, полученных на контрольных образцах без внесения влагополимерной композиции при сниженной норме водопотребления.
Результаты эксперимента показали, что применение влагополимерной композиции помогли растениям пережить недостаток влаги в жаркий период. В вариантах с применением влагополимерной композиции наблюдалось увеличение средней массы клубней с одного растения. Средняя масса клубней превышала контроль от 3 до 10 раз. При этом средняя масса клубней с одного куста в контроле с 50% поливом урожайность составила 30 г, а в вариантах с применением влагополимерной композиции 80÷131 г, соответственно, что превышает контроль в 4,4 раза. Данный результат свидетельствует о положительном влиянии суперабсорбируюшего полимера на растения при снижении водопотребления.
Эксперимент №2
Методология полевого эксперимента:
Полевые испытания проводили с целью оценки влияния состава суперабсорбирующей влагополимерной композиции в условиях теплиц на урожайность и водопотребление сельскохозяйственной культуры лука-порея сорта Камус.
Полевые проводились в экспериментальной теплице на базе лаборатории ООО «Гофервуд». Испытания были запланированы в течение сезона с мая по сентябрь. Для каждого испытания поддерживалось пять вегетативных сосудов с растениями лука-порея. Оцениваемая композиция влагополимерной композиции была синтезирована на основе КМЦ/ГЭЦ в массовых соотношениях 3:1 и лимонной кислоты в количестве 5% от общей массы смеси полисахаридов. Композиция применялась способом индивидуального внесения в почво-торфяную смесь перед засеванием культуры картофеля. Композиция вносилась в различных количествах. Была испытана товарная форма влагополимерной композиции, представляющего собой высушенные семена, покрытые влагополимерной композицией. Полив почвы осуществлялся в различных количествах с целью оценки работоспособности полимера при различной норме полива. Культура лука-порея взращивалась в соответствии с надлежащей сельскохозяйственной практикой. Семена лука высаживались в вегетационные сосуды 5 л, в предварительно подготовленную почвоторфяную смесь согласно схеме опыта.
Детали эксперимента:
а) Место испытания: опытная теплица ООО «Гофервуд».
б) Сельскохозяйственная культура: лук-порей, сорт Камус.
в) Время проведения эксперимента: апрель–сентябрь 2022 г.
г) Схема испытания: Влагополимер 2 (1 г/30 л торфа, 0,003% массы композиции от массы торфа), Влагополимер 4 (1,5 г/30 л торфа, 0,0047% массы композиции от массы торфа), Влагополимер 8 (2,5 г/30 л торфа, 0,0078% массы композиции от массы торфа), Влагополимер 16 (5,0 г/30 л торфа, 0,0156% массы композиции от массы торфа), Влагополимер 32 (10,0 г/30 л торфа, 0,0312% массы композиции от массы торфа), Влагополимер 64 (20,0 г/30 л торфа, 0,0625% массы композиции от массы торфа), Семена в грануле влагополимера (масса гранулы с семенем: 3 – 3,5 г), Контроль (стандартная торфосмесь).
д) Повторения: десять.
е) Общий объем обрабатываемой земли: 1200 л.
ж) Дата внесения: 20.03.2022.
з) Дата засевания: 25.03.2022.
и) Способ внесения: внесение суперабсорбирующего полимера при помощи сеялки и последующее смешивание торфа с гидрогелем, ручное внесение гранул полимера с семенами в почвоторфяную смесь.
к) Дата сбора урожая: 26.08.2022.
и) Дата оценки результата: 02.09.2022.
Наблюдения в отношении урожайности лука записывали после сбора урожая. Усредненные данные представлены в табл. 3 для подсчета и анализа влияния суперабсорбирующего полимера при различных нормах образцов внесения в почву и при различных нормах полива растений в течение эксперимента.
Таблица 3 – Влияние гидрогеля на продуктивность при получении лука-порея
        
            
            
                
                
                
                
                
                
                
                
                
                
                
                
                
                
                
                
                
                
                
              
            
          
        
Продолжение таблицы 3
        
            
            
                
                
                
                
                
                
              
            
          
        
Полученные результаты визуализированы на фиг. 10–12. Воздействие суперабсорбирующего полимера на урожайность оценивается по отношению средней массы растений, полученных с внесением суперабсорбирующего полимера в различных пропорциях и вариантах, к средней массе растений, полученных на контрольных образцах без внесения суперабсорбирующего полимера. Воздействие суперабсорбирующего полимера на водопотребление оценивается по отношению количества выживших растений при использовании суперабсорбирующего полимера в разных пропорциях к количеству выживших растений без применения суперабсорбирующего полимера.
Эксперимент продемонстрировал положительное влияние суперабсорбирующего полимера на растения лука-порея, сорта Камус, увеличение урожайности и выживаемости растений. Образцы с применением препарата продемонстрировали увеличение выживаемости растений до 2,5 раз и увеличение массы растения от 1,1 до 2,9 раз. Особую эффективность показали образцы с семенами в гранулах суперабсорбирующего полимера и образцы с нормой внесения 10 г/л почвоторфяной смеси и 20 г/л почвоторфяной смеси. Данные образцы повысили выживаемость растений при нехватке влаги до 2,5 раз и позволили увеличить их массу на 1,5–2,9 раз, и, в том числе, продемонстрировав высокие массовые показатели растений при недостатке воды. При этом образец с семенами лука, высушенными в гранулах, дополнительно позволил снизить расход суперабсорбирующего полимера в 2,8–6,6 раз по сравнению с вариантами 10 г/л и 20 г/л соответственно.
Эксперимент №3
Методология полевого эксперимента:
Полевые испытания проводили с целью оценки эффективности внесения композиции суперабсорбирующего полимера в почву при помощи механизированной пневматической сеялки марки APS 300.
Полевые проводились на экспериментальном поле ФГБОУ ВО СПбГАУ». Испытания были запланированы на сентябрь.
Для каждого испытания осуществлялось три внесения отобранной фракции суперабсорбирующего полимера. Композиция применялась способом механизированного внесения в почву. Композиция вносилась в одинаковых количествах. Была испытана товарная форма влагополимерной композиции, представляющего собой гранулы суперабсорбирующего полимера и высушенные семена, покрытые влагополимерной композицией.
Детали эксперимента:
а) Место испытания: опытное поле ФГБОУ ВО СПбГАУ.
б) Время проведения эксперимента: сентябрь 2022 г.
в) Норма внесения суперабсорбирующего полимера: 32 кг/га или 10,0 г/30 л почвы или 0,031% массы композиции от массы земли.
г) Схема испытания: суперабсорбирующий полимер фракция 1 (гранулы, 0,1–5 мм), суперабсорбирующий полимер фракция 2 (гранулы, 0,1–1 мм), суперабсорбирующий полимер фракция 3 (гранулы, 1–2 мм), суперабсорбирующий полимер фракция 4 (гранулы, 2–3 мм), суперабсорбирующий полимер фракция 5 (гранулы, 3–4 мм), суперабсорбирующий полимер фракция 6 (гранулы, 4–5 мм), суперабсорбирующий полимер фракция 7 (гранулы, 1–10 мм), суперабсорбирующий полимер фракция 8 (семена в оболочке суперабсорбируюшего полимера, 4–6 мм), суперабсорбирующий полимер фракция 9 (дражированные семена в оболочке суперабсорбируюшего полимера, 5–7 мм).
д) Повторения: три.
е) Общий объем обрабатываемой земли: 400 м2.
ж) Дата начала внесения: 20.09.2022.
з) Дата окончания внесения: 22.09.2022.
и) Способ внесения: внесение суперабсорбирующего полимера при помощи механизированной сеялки APS 300.
Наблюдения о качестве внесения композиции записывали во время внесения и сразу после внесения. Обобщенные результаты представлены в табл. 4.
Таблица 4 – Результаты испытаний механического внесения в почву различных фракционных составов и товарных форм суперабсорбирующего полимера
        
            
            
                
                
                
                
                
                
                
                
                
                
              
            
          
        
В результате эксперимента было установлено, что механизированные системы типа пневматической сеялки APS 300 способны вносить препарат в почву без значительных затруднений, что говорит о возможности применять суперабсорбирующий полимер в промышленных масштабах. Основными проблемами являются повышенное сводообразование в канале сеялки при внесении мелкой фракции (менее 1 мм) и неравномерность внесения при излишне широком фракционном составе. Наибольшую простоту и равномерность внесения продемонстрировали фракции 1–2 мм и 2–3 мм. Семена в оболочке суперабсорбируюшего полимера и дражированные семена также продемонстрировали простоту внесения в почву при помощи сеялки.
| название | год | авторы | номер документа | 
|---|---|---|---|
| ВЛАГОНАБУХАЮЩИЙ ПОЧВЕННЫЙ КОНДИЦИОНЕР И СПОСОБ ЕГО ПОЛУЧЕНИЯ | 1998 | 
 | RU2189382C2 | 
| ГИДРОГЕЛЕВЫЙ ПРЕПАРАТ ДЛЯ ПРОТИВОПАТОГЕННОЙ ЗАЩИТЫ ПОЧВЫ | 2019 | 
 | RU2726561C1 | 
| КОМПОЗИЦИИ УДОБРЕНИЙ | 2004 | 
 | RU2351577C2 | 
| Способ формирования газонного травостоя на футбольном поле | 2021 | 
 | RU2786026C2 | 
| ГЕРБИЦИД СПЛОШНОГО ДЕЙСТВИЯ И СПОСОБ ЕГО ПРИМЕНЕНИЯ | 2022 | 
 | RU2801252C1 | 
| Отходы гуминового производства для очистки сточных вод | 2023 | 
 | RU2832437C1 | 
| СЛОИСТОЕ ИЗДЕЛИЕ ДЛЯ АБСОРБЦИИ ЖИДКОСТЕЙ, А ТАКЖЕ ЕГО ПОЛУЧЕНИЕ И ХИМИКО-ТЕХНОЛОГИЧЕСКИЕ ПРОДУКТЫ | 1996 | 
 | RU2155606C2 | 
| СПОСОБ ПЕРЕРАБОТКИ ПРОМЫШЛЕННЫХ ОТХОДОВ | 2018 | 
 | RU2703809C1 | 
| СПОСОБ ПОЛУЧЕНИЯ ЦЕЛЛЮЛОЗОГИДРОГЕЛЕВОГО КОМПОЗИТА | 2023 | 
 | RU2808897C1 | 
| Способ переработки торфа для получения комплекса гуминовых веществ (КГВ) | 2021 | 
 | RU2773658C1 | 
 
		
		 
		
		 
		
		 
		
		 
		
		 
		
		 
		
		 
		
		 
		
		 
		
		 
		
		 
		
		 
		
		 
		
		 
		
		 
		
         
         
            Изобретение относится к сельскому хозяйству. Влагоудерживающая и питающая композиция для сельскохозяйственных культур на основе суперабсорбирующего полимера в форме диспергируемых и набухаемых в водных растворах гранул содержит: производное целлюлозы, содержащее карбоксильную группу, в диапазоне 0.1-5 мас.%, производное целлюлозы, содержащее по меньшей мере 4 или 6 гидроксильные группы на многомерное звено, в диапазоне 0.1-2.5 мас.%, по меньшей мере одну полифункциональную карбоновую кислоту в диапазоне 0.1%-10% по массе всей композиции, по меньшей мере одну неорганическую кислоту, имеющую в составе бор, в диапазоне 0.1%-10% по массе всей композиции, по меньшей мере одно вещество на основе диоксида кремния марки АЭРОСИЛ, покрывающее поверхность гранул, в диапазоне 0.1%-50% по массе всей композиции. Изобретение позволяет создать влагоудерживающую и питающую композицию, способную к необратимому биоразложению и обладающую обратимым водопоглощением. 16 ил., 4 табл., 16 пр.
Влагоудерживающая и питающая композиция для сельскохозяйственных культур на основе суперабсорбирующего полимера в форме диспергируемых и набухаемых в водных растворах гранул, которая содержит: производное целлюлозы, содержащее карбоксильную группу, в диапазоне 0.1-5 мас.%, производное целлюлозы, содержащее по меньшей мере 4 или 6 гидроксильные группы на многомерное звено, в диапазоне 0.1-2.5 мас.%, по меньшей мере одну полифункциональную карбоновую кислоту в диапазоне 0.1%-10% по массе всей композиции, по меньшей мере одну неорганическую кислоту, имеющую в составе бор, в диапазоне 0.1%-10% по массе всей композиции, по меньшей мере одно вещество на основе диоксида кремния марки АЭРОСИЛ, покрывающее поверхность гранул, в диапазоне 0.1%-50% по массе всей композиции.
| Способ получения биополимерного гидрогеля | 2020 | 
 | RU2743941C1 | 
| US 4999383 A1, 12.03.1991 | |||
| JP 5202185 A, 10.08.1993 | |||
| ПРОСТОЙ ПОЛИВИНИЛОВЫЙ ЭФИР (ВАРИАНТЫ), СПОСОБ ЕГО ПОЛУЧЕНИЯ И СМАЗОЧНОЕ МАСЛО ДЛЯ ХОЛОДИЛЬНИКОВ НА ЕГО ОСНОВЕ | 1993 | 
 | RU2139889C1 | 
| JP WO2003046084 A1, 07.04.2005 | |||
| KR 2013048748 A, 10.05.2013 | |||
| Электромагнитный прерыватель | 1924 | 
 | SU2023A1 | 
| Найдено в | |||
Авторы
Даты
2025-01-28—Публикация
2022-12-03—Подача