Область техники, к которой относится изобретение
Изобретение относится к дуплексным аквавендинговым аппаратам, т.е. к таким автоматам продажи воды, в которых осуществляется автоматически управляемая выдача питьевой воды из общего акварезервуара в тары (емкости) одновременно двух покупателей воды. При этом аппарат может быть выполнен как в виде аппарата для привозной питьевой воды, так и в виде аппарата, в котором осуществляется подготовка питьевой воды из воды общего водоснабжения с использованием мембраны обратного осмоса.
Уровень техники
Известен аквавендинговый аппарат, содержащий корпус, в котором расположен акварезервуар и на котором установлена лицевая панель. При этом эта лицевая панель содержит несущий щит, установленную на несущем щите в его верхней части рекламную панель, установленную на несущем щите в его левой части и ниже рекламной панели камеру налива с дверью, открывающейся влево, установленный на несущем щите ниже рекламной панели и справа от указанной камеры налива платежный терминал, связанный с этой камерой для подачи в нее воды, а также установленную на несущем щите ниже платежного терминала и справа от камеры налива информационную панель (см. описание изобретения по патенту RU №2711689 С1, МПК B67D 7/00, опубликовано: 21.01.2020).
Признаки известного аквавендингового аппарата (прототипа), общие с признаками заявленного технического решения, заключаются в том, что он содержит корпус, в котором расположен по крайней мере акварезервуар и на котором шарнирно установлена лицевая панель с соответствующим оборудованием (по крайней мере платежный терминал и камера налива, гидравлически связанная с акварезервуаром).
Причина, препятствующая получению в известном аквавендинговом аппарате (прототипе) технического результата, который обеспечивается заявленным техническим решением, заключается в том, что известный аппарат содержит только одну камеру налива, что не дает возможности осуществлять автоматически управляемую выдачу воды из общего акварезервуара в тары (емкости) одновременно двух покупателей воды.
Техническая проблема, на решение которой направлено заявленное для патентования техническое решение, заключается в необходимости расширения арсенала аквавендинговых аппаратов за счет введения в гражданский оборот таких новых (дуплексных) аппаратов, которые предоставляют возможность осуществлять автоматически управляемую выдачу воды из общего акварезервуара в тары (емкости) одновременно двух покупателей воды.
Раскрытие сущности изобретения
Технический результат, опосредствующий решение указанной технической проблемы, заключается в реализации указанного дуплексного назначения, а именно, в возможности осуществлять автоматически управляемую выдачу воды из общего акварезервуара в тары (емкости) одновременно двух покупателей воды с виртуальным пространственным обособлением каждого из них относительно другого из них (реализация дуплексного аквавендинга).
Достигается технический результат тем, что дуплексный аквавендинговый аппарат содержит корпус 1, в котором расположен по крайней мере акварезервуар 15 и на котором шарнирно установлена лицевая панель 2; при этом лицевая панель 2 выполнена в виде дуплексной лицевой панели, т.е. лицевой панели, состоящей из двух лицевых полупанелей - левой 11 и правой 12, расположенных друг относительно друга с образованием двугранного угла а, ориентированного своей внутренней областью внутрь корпуса 1, так что гранями этого угла являются эти полупанели, причем левая полупанель 11 содержит левый платежный терминал 4 и расположенную под ним левую камеру налива 5, а правая полупанель 12 содержит правый платежный терминал 6 и расположенную под ним правую камеру налива 7, при этом обе эти камеры налива 5 и 7 гидравлически связаны с выходом акварезервуара 15 через автоматически управляемый распределитель воды 16, включающий двухканальную гребенку 17, два насоса 18 и 20 и два клапана 19 и 21, так что вход этой гребенки 17 гидравлически соединен с выходом акварезервуара 15, первый выход этой гребенки 17 через последовательно включенные в первый трубопровод 22 соответствующий насос 18 и соответствующий клапан 19 гидравлически связан с левой камерой налива 5, а второй выход этой гребенки 17 через последовательно включенные во второй трубопровод 23 соответствующий насос 20 и соответствующий клапан 21 гидравлически связан с правой камерой налива 7.
Достигается технический результат также тем, что указанный двугранный угол α является тупым или прямым; ребро 13 указанного двугранного угла α выполнено скошенным и на плоскости этого скоса 14 расположена информационная панель 8; камеры налива 5 и 7 снабжены соответствующими дверьми, открывающимися в противоположные стороны. Краткое описание чертежей
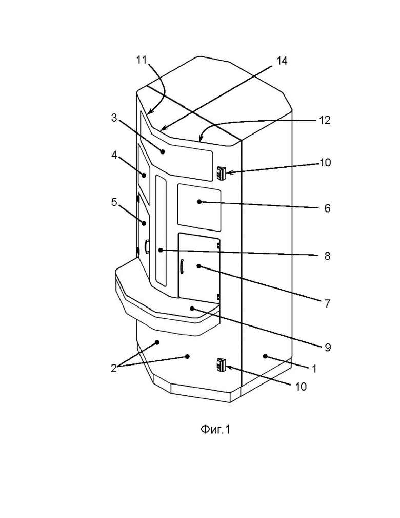
На фиг. 1 приведено схематическое объемное изображение дуплексного аквавендингового аппарата с дуплексной лицевой панелью, представляющей собой открывающуюся влево дверь в корпус этого аппарата; на фиг. 2 приведено схематическое изображение этой дуплексной лицевой панели (плоский фронтальный вид); на фиг. 3 приведена схема вида в плане этой дуплексной лицевой панели, показывающая двугранный угол между лицевыми полу панелями этой дуплексной лицевой панели; на фиг. 4 приведена гидравлическая схема дуплексного аквавендингового аппарата.
Осуществление изобретения
Дуплексный аквавендинговый аппарат содержит корпус 1, на котором шарнирно установлена дуплексная лицевая панель 2. При этом эта панель 2 представляет собой выполненный из металла несущий щит (не обозначен), на котором установлены: рекламная панель 3, расположенная в верхней части несущего щита; левый платежный терминал 4, расположенный ниже рекламной панели 3; левая камера налива 5, расположенная под терминалом 4; правый платежный терминал 6, расположенный ниже рекламной панели 3; правая камера налива 7, расположенная под терминалом 6; информационная панель 8, расположенная между камерами 5 и 7; подоконник 9, расположенный непосредственно под камерами 5 и 7; замки 10 (два замка - верхний и нижний) для запирания одностворчатой двери в корпус аквавендингового аппарата (лицевой панели 2).
Кроме того, дуплексная лицевая панель 2 выполнена разделенной на две лицевые полупанели - левую 11 и правую 12, расположенные друг относительно друга (благодаря соответствующим изгибам несущего щита) с образованием двугранного угла α (предпочтительно тупого, показанного на фиг. 3, или прямого, но возможно в ограниченных пределах и острого) с ребром 13, так что эти полупанели 11 и 12 являются гранями этого двугранного угла а, а это ребро 13 этого двугранного угла α в предпочтительном варианте его (угла) выполнения является виртуальным, так как это ребро 13 выполнено скошенным с образованием плоского скоса 14, на котором расположена информационная панель 8. При этом левая лицевая полупанель 11 содержит свой (левый) платежный терминал 4 и свою (левую) камеру налива 5, а правая лицевая полу панель 12 содержит свой (правый) платежный терминал 6 и свою (правую) камеру налива 7.
Общими конструктивными элементами обоих полупанелей 11 и 12 являются единая рекламная панель 3 и единый подоконник 9, который выполнен полым с возможностью аэродинамической связи его полости с внутренним пространством корпуса 1 и расположен непосредственно под обоими камерами налива 5 и 7, которые при этом снабжены соответствующими дверьми, выполненными из прозрачного пластика, и эти двери открываются в противоположные стороны: дверь левой камеры налива 5 выполнена открывающейся влево, а дверь правой камеры налива 7 выполнена открывающейся вправо, как показано на фиг. 1, 2.
Гидравлическая система дуплексного аквавендингового аппарата содержит расположенные в корпусе 1 по крайней мере акварезервуар 15 и автоматически управляемый распределитель воды 16, включающий двух-канальную гребенку 17, два управляемых насоса 18 и 20 и два управляемых клапана 19 и 21. При этом вход гребенки 17 гидравлически соединен с выходом акварезервуара 15, первый выход гребенки 17 (условно «левый») через последовательно включенные в первый трубопровод 22 насос 18 и клапан 19 гидравлически связан с левой камерой налива 5, а второй выход гребенки 17 (условно «правый») через последовательно включенные во второй трубопровод 23 насос 20 и клапан 21 гидравлически связан с правой камерой налива 7.
Функционирование дуплексного аквавендингового аппарата заключается в следующем.
Первый дуплексный функционал аппарата заключается в возможности одновременной выдачи воды двум покупателям воды из общего акварезервуара 15. Этот функционал обеспечивается двумя камерами налива 5 и 7, функционирующими автономно. Это, однако, не исключает и попеременную выдачу воды разным покупателям воды в любую из этих камер налива воды вне связи с другой камерой налива воды.
Второй дуплексный функционал аппарата заключается в возможности виртуального пространственного обособления каждого покупателя относительно другого покупателя в процессе одновременной покупки воды у этого аппарата обоими покупателями через камеры налива 5 и 7. Такое обособление, психологически необходимое, обусловлено указанным двугранным углом α между лицевыми полупанелями 11 и 12, так что именно благодаря этому углу два покупателя находятся по разные стороны условной вертикальной плоскости, проходящей через ребро 13 и делящей угол α пополам. При таких обстоятельствах левый покупатель, т.е. тот, что находится у левой полупанели 11, не видит (или частично не видит) правого покупателя, соответственно находящегося у правой полу пане ли 12. А кроме того, что особенно важно, левый покупатель абсолютно не видит действий правого, связанных с оплатой этим правым его покупки воды, и наоборот - правый не видит таких же действий левого. Это обеспечивает именно угол α, величину которого задают на стадии изготовления аквавендингового аппарата и выбор этой величины определяется необходимостью обеспечить возможность указанного виртуального пространственного обособления двух покупателей. При этом для разных типоразмеров аквавендингового аппарата этот угол будет разным, так как он зависит от ширины корпуса аппарата и глубины камер налива 5 и 7. Так, при относительно широком корпусе аквавендингового аппарата угол α целесообразно выбрать тупым, с тем чтобы чрезмерно не увеличивать общую глубину корпуса аквавендингового аппарата. Если же ширину корпуса уменьшить, то при определенной ширине тупой угол а может не выполнить условие указанного виртуального обособления двух одновременных покупателей, и тогда целесообразно угол α выбрать прямым; а возможно даже острым, но с тем ограничением остроты угла, при которой камеры налива 5 и 7 своими задними стенками упрутся друг в друга.
Левый и правый покупатели, одновременно находящиеся у аппарата, благодаря углу а не обращают друг на друга внимание и действуют независимо друг от друга. Так, левый покупатель устанавливает свою тару в левую камеру налива 5 и посредством платежного терминала 4 осуществляет оплату, вследствие чего контроллер аппарата открывает клапан 19 и включает насос 18, осуществляющий подачу воды из акварезервуара 15 в тару левого покупателя воды (контроллер на фигурах не показан). После заполнения этой тары водой контроллер отключает указанный насос и закрывает указанный клапан, а левый покупатель выдвигает свою заполненную водой тару из камеры налива 5 на подоконник 9, а затем снимает эту тару с подоконника 9 и вместе с наполненной тарой удаляется от аппарата. Параллельно такие же действия осуществляет правый покупатель: он устанавливает свою тару в правую камеру налива 7 и посредством платежного терминала 6 осуществляет оплату, вследствие чего контроллер аппарата открывает клапан 21 и включает насос 20, осуществляющий подачу воды из акварезервуара 15 в тару правого покупателя воды. После заполнения этой тары водой контроллер отключает указанный насос и закрывает указанный клапан, а правый покупатель выдвигает свою заполненную водой тару из камеры налива 7 на подоконник 9, а затем снимает эту тару с подоконника 9 и вместе с наполненной тарой удаляется от аппарата.
Изобретение относится к дуплексным аквавендинговым аппаратам, т.е. к таким автоматам продажи воды, в которых осуществляется автоматически управляемая выдача питьевой воды из общего акварезервуара в тары (емкости) одновременно двух покупателей воды. Техническая проблема заключается в необходимости расширения арсенала аквавендинговых аппаратов за счет введения в гражданский оборот таких новых (дуплексных) аппаратов, которые предоставляют возможность осуществлять автоматически управляемую выдачу воды из общего акварезервуара в тары (емкости) одновременно двух покупателей воды. Технический результат заключается в реализации указанного дуплексного назначения, а именно в возможности осуществлять автоматически управляемую выдачу воды из общего акварезервуара в тары (емкости) одновременно двух покупателей воды с виртуальным пространственным обособлением каждого из них относительно другого из них. Аппарат содержит корпус 1, в котором расположен акварезервуар 15 и на котором установлена лицевая панель 2. При этом лицевая панель 2 выполнена в виде дуплексной лицевой панели, т.е. лицевой панели, состоящей из двух лицевых полупанелей - левой 11 и правой 12, расположенных друг относительно друга с образованием двугранного угла α. Гранями этого угла являются эти полупанели 11 и 12 со своими соответствующими платежными терминалами 4, 6 и соответствующими камерами налива 5, 7, гидравлически связанными с акварезервуаром 15 через управляемый распределитель воды 16. 3 з.п. ф-лы, 4 ил.
1. Дуплексный аквавендинговый аппарат, содержащий корпус (1), в котором расположен по крайней мере акварезервуар (15) и на котором шарнирно установлена лицевая панель (2), отличающийся тем, что лицевая панель (2) выполнена в виде дуплексной лицевой панели, т.е. лицевой панели, состоящей из двух лицевых полупанелей – левой (11) и правой (12), расположенных друг относительно друга с образованием двугранного угла (α), ориентированного своей внутренней областью внутрь корпуса (1), так что гранями этого угла являются эти полупанели, причём левая полупанель (11) содержит левый платёжный терминал (4) и расположенную под ним левую камеру налива (5), а правая полупанель (12) содержит правый платёжный терминал (6) и расположенную под ним правую камеру налива (7), при этом обе эти камеры налива (5) и (7) гидравлически связаны с выходом акварезервуара (15) через автоматически управляемый распределитель воды (16), включающий двухканальную гребёнку (17), два насоса (18) и (20) и два клапана (19) и (21), так что вход этой гребёнки (17) гидравлически соединён с выходом акварезервуара (15), первый выход этой гребёнки (17) через последовательно включенные в первый трубопровод (22) соответствующий насос (18) и соответствующий клапан (19) гидравлически связан с левой камерой налива (5), а второй выход этой гребёнки (17) через последовательно включенные во второй трубопровод (23) соответствующий насос (20) и соответствующий клапан (21) гидравлически связан с правой камерой налива (7).
2. Дуплексный аквавендинговый аппарат по п.1, отличающийся тем, что указанный двугранный угол (α) является либо тупым, либо прямым.
3. Дуплексный аквавендинговый аппарат по п.1, отличающийся тем, что ребро (13) указанного двугранного угла (α) выполнено скошенным и на плоскости этого скоса (14) расположена информационная панель (8).
4. Дуплексный аквавендинговый аппарат по п.1, отличающийся тем, что указанные камеры налива (5) и (7) снабжены соответствующими дверьми, открывающимися в противоположные стороны.
| CN 202904738 U, 24.04.2013 | |||
| US 2016200463 A1, 14.07.2016 | |||
| US 8839939 B2, 23.09.2014 | |||
| ЛИЦЕВАЯ ПАНЕЛЬ АКВАВЕНДИНГОВОГО АППАРАТА | 2019 |
|
RU2711689C1 |
Авторы
Даты
2025-01-28—Публикация
2024-08-09—Подача