СЕНСОРНАЯ СИСТЕМА ДЛЯ РЕГИСТРАЦИИ ЭЛЕМЕНТОВ ПОТОКА СЕЛЬСКОХОЗЯЙСТВЕННОЙ КУЛЬТУРЫ Российский патент 2025 года по МПК A01D41/127 A01F12/44 G01D5/24 G01D5/241 G01F1/64 G01F1/74 G01F23/26 G01F23/263 

Описание патента на изобретение RU2833846C2

Область техники, к которой относится изобретение

[01] Изобретение относится к сенсорной системе для регистрации элементов потока сельскохозяйственной культуры, в частности, в сельскохозяйственной рабочей машине.

Уровень техники

[02] Из ЕР3222133А1 известен способ регистрации количества зерен в потоке сельскохозяйственной культуры. При этом регистрация зерен, попавших на приемную поверхность датчика, происходит благодаря выдаче измерительного сигнала. Датчик при этом не в состоянии определить, какие именно элементы попадают на приемную поверхность датчика.

[03] Способ определения массового потока известен из ЕР3301407А1. Он позволяет измерить силу, с которой массовый поток действует на датчик. Датчик при этом не в состоянии определить, какие именно элементы создают эту силу.

Раскрытие сущности изобретения

[04] Задачей изобретения является создание датчика, дающего больше информации о зарегистрированных элементах.

[05] Указанная задача решена посредством сенсорной системы для регистрации элементов потока сельскохозяйственной культуры, в частности, в сельскохозяйственной рабочей машине, причем данная сенсорная система содержит колебательный контур и измерительное устройство, причем указанный колебательный контур состоит из по меньшей мере одного емкостного конструктивного элемента с емкостью и одного индуктивного конструктивного элемента с индуктивностью, причем указанный колебательный контур имеет резонансную частоту, причем указанная резонансная частота зависит от емкости и индуктивности, причем указанное измерительное устройство предусмотрено и сконфигурировано для определения резонансной частоты колебательного контура, причем емкостный конструктивный элемент расположен в области потока сельскохозяйственной культуры, причем емкостный конструктивный элемент сконфигурирован для того, чтобы обеспечить возможность отдельным элементам потока сельскохозяйственной культуры влиять на емкость, причем данная сенсорная система предусмотрена и сконфигурирована для определения по меньшей мере одного свойства соответствующего элемента потока сельскохозяйственной культуры на основе резонансной частоты колебательного контура.

[06] Сенсорная система измеряет воздействие элемента потока сельскохозяйственной культуры на емкость емкостного конструктивного элемента. Изменение этой емкости изменяет резонансную частоту колебательного контура. Изменение резонансной частоты и/или емкости может быть измерено и, таким образом, элемент потока сельскохозяйственной культуры может быть зарегистрирован. Зарегистрированные элементы потока сельскохозяйственной культуры могут быть сосчитаны.

[07] Индуктивный конструктивный элемент может быть встроен в измерительное устройство, например, в форме интегральной схемы. Если индуктивность известна, то емкость можно вывести непосредственно из резонансной частоты. Таким образом, вместо изменения резонансной частоты можно отсюда определить также изменение емкости.

[08] Величина изменения емкости и резонансной частоты зависит от диэлектрической проницаемости элемента потока сельскохозяйственной культуры. После определения резонансной частоты сенсорная система в состоянии определить значение проницаемости измеряемого элемента. Эту проницаемость называют также диэлектрической проницаемостью.

[09] Сенсорная система предусмотрена и сконфигурирована предпочтительно для того, чтобы различать зерновые элементы и незерновые элементы, в частности, элементы соломы. Зерновые элементы имеют диэлектрическую проницаемость, существенно превышающую диэлектрическую проницаемость элементов соломы. Поэтому зерновой элемент изменяет резонансную частоту больше, чем элемент соломы. В этом случае свойством элементов потока сельскохозяйственной культуры, которое должно быть выявлено, является принадлежность соответствующего элемента к зерновым элементам или к элементам соломы.

[10] Измерительное устройство определяет резонансную частоту предпочтительно с предварительно заданной частотой измерения. Регулярно определяя резонансную частоту, сенсорная система выявляет временной ход измерения элементов потока сельскохозяйственной культуры.

[11] Резонансная частота предпочтительно превышает 1 кГц. Чем выше резонансная частота, тем быстрее ее можно точно измерить.

[12] Частота измерения составляет предпочтительно менее одной десятой резонансной частоты. Благодаря малой частоте измерения по сравнению с резонансной частотой может быть измерено по меньшей мере десять периодов колебаний колебательного контура при каждом опросе для определения резонансной частоты. Это делает определение резонансной частоты более точным, чем при измерении лишь нескольких периодов.

[13] Значение, полученное умножением частоты измерения на длину емкостного конструктивного элемента в направлении движения потока сельскохозяйственной культуры, предпочтительно превышает 2 м/с, более предпочтительно - 30 м/с, особенно предпочтительно - 40 м/с. Значение, полученное умножением частоты измерения на длину емкостного конструктивного элемента в направлении движения потока сельскохозяйственной культуры, дает скорость движения элементов потока сельскохозяйственной культуры, еще надежно регистрируемых сенсорной системой. При скорости движения 2 м/с можно надежно зарегистрировать зерна, двигающиеся после отделения от шелухи только под действием силы тяжести земли. Это имеет место, например, в зерноуборочном комбайне на соломотрясе или на сепарирующем решете. При скорости движения 10 м/с можно надежно зарегистрировать зерна, ускоренные в зерноуборочном комбайне молотильным барабаном или ротором. При скорости движения 25 м/с можно надежно зарегистрировать зерна, ускоренные в полевом измельчителе для выбрасывания.

[14] Следует различать частоту измерения и частоту опроса. Частота опроса показывает, как часто в колебательном контуре определяют напряжение и/или ток. Частота опроса как минимум в два раза превышает резонансную частоту, ожидаемую от колебательного контура. Предпочтительно частота опроса в десять раз больше резонансной частоты, ожидаемой от колебательного контура.

[15] Емкостный конструктивный элемент предпочтительно выполнен в виде плоского конденсатора. На емкость плоского конденсатора влияют элементы, находящиеся в непосредственной близости от его поверхности. Плоский конденсатор может быть смонтирован на краю потока сельскохозяйственной культуры, и он будет детектировать элементы потока сельскохозяйственной культуры, проходящие мимо него. Плоский конденсатор препятствует потоку сельскохозяйственной культуры меньше, чем пластинчатый конденсатор с двумя пластинами.

[16] Емкостный конструктивный элемент предпочтительно выполнен в виде встречно-гребенчатого конденсатора. Встречно-гребенчатый конденсатор по своей поверхности имеет равномерную чувствительность к элементам потока сельскохозяйственной культуры. Каждый элемент влияет на резонансную частоту, таким образом, в одинаковой степени независимо от своего положения.

[17] Емкостный конструктивный элемент также может быть выполнен в виде пластинчатого конденсатора. Пластины пластинчатого конденсатора при размещении пластинчатого конденсатора на решетчатом элементе закрепляют предпочтительно на двух расположенных рядом друг с другом ограничителях пропускного проема этого решета. Такое размещение не сужает соответствующий пропускной проем.

[18] Сенсорная система предпочтительно установлена в зерноуборочном комбайне. В этом случае изобретение относится к зерноуборочному комбайну с решетчатым элементом и сенсорной системой, причем сенсорная система содержит колебательный контур и измерительное устройство, причем колебательный контур содержит по меньшей мере один емкостный конструктивный элемент с емкостью и один индуктивный конструктивный элемент, причем указанный емкостный конструктивный элемент установлен в непосредственной близости от решетчатого элемента, причем элементы потока сельскохозяйственной культуры, проходящие сквозь решетчатый элемент, пересекают емкостный конструктивный элемент и по меньшей мере временно изменяют емкость этого емкостного конструктивного элемента, причем измерительное устройство предусмотрено и сконфигурировано для определения резонансной частоты колебательного контура, причем данная сенсорная система предусмотрена и сконфигурирована для определения по меньшей мере одного свойства соответствующего элемента потока сельскохозяйственной культуры на основе резонансной частоты колебательного контура.

[19] В этом случае сенсорная система считает элементы потока сельскохозяйственной культуры, проходящие через зерноуборочный комбайн.

[20] Емкостный элемент расположен предпочтительно за решетчатым элементом в направлении движения потока сельскохозяйственной культуры. Таким образом, сенсорная система считает только те элементы потока сельскохозяйственной культуры, которые проходят сквозь решетчатый элемент. Элементы потока сельскохозяйственной культуры, проходящие мимо решетчатого элемента, не учитываются.

[21] Решетчатым элементом являются предпочтительно подбарабанье, матрица заслонок под ротором, соломотряс или сепарирующее решето. Решетчатый элемент характеризуется наличием решетки. Размер отверстий при этом может быть разным и по обстоятельствам регулируемым в зависимости от элемента. Таким образом, размеры отверстий сепарирующего решета можно регулировать, и эти размеры обычно задают так, что они лишь немного превышают размеры подлежащих уборке зерен. С другой стороны, отверстия подбарабанья обычно имеют фиксированный размер, и эти отверстия существенно больше зерен.

[22] Нормаль к поверхности плоского конденсатора ориентирована предпочтительно по существу перпендикулярно направлению движения потока сельскохозяйственной культуры. В результате элементы потока сельскохозяйственной культуры перемещаются по существу вдоль поверхности конденсатора. Такое размещение сочетает в себе наименьшее возможное нарушение потока сельскохозяйственной культуры с хорошим подсчетом элементов потока сельскохозяйственной культуры.

[23] Емкостный конструктивный элемент установлен предпочтительно на поверхности решетчатого элемента. При таком размещении непосредственно на поверхности решетчатого элемента нарушение потока сельскохозяйственной культуры является минимальным.

Краткое описание чертежей

[24] Ниже изобретение разъяснено более подробнее с использованием варианта осуществления изобретения со ссылкой на фигуры:

Фиг. 1: зерноуборочный комбайн с клавишным соломотрясом,

Фиг. 2: зерноуборочный комбайн с разделяющим ротором,

Фиг. 3: ротор осевого сепаратора,

Фиг. 4: схема сенсорной системы для регистрации элементов потока сельскохозяйственной культуры,

Фиг. 5: встречно-гребенчатый конденсатор,

Фиг. 6: решето зерноуборочного комбайна,

Фиг.7: фрагмент разреза решета.

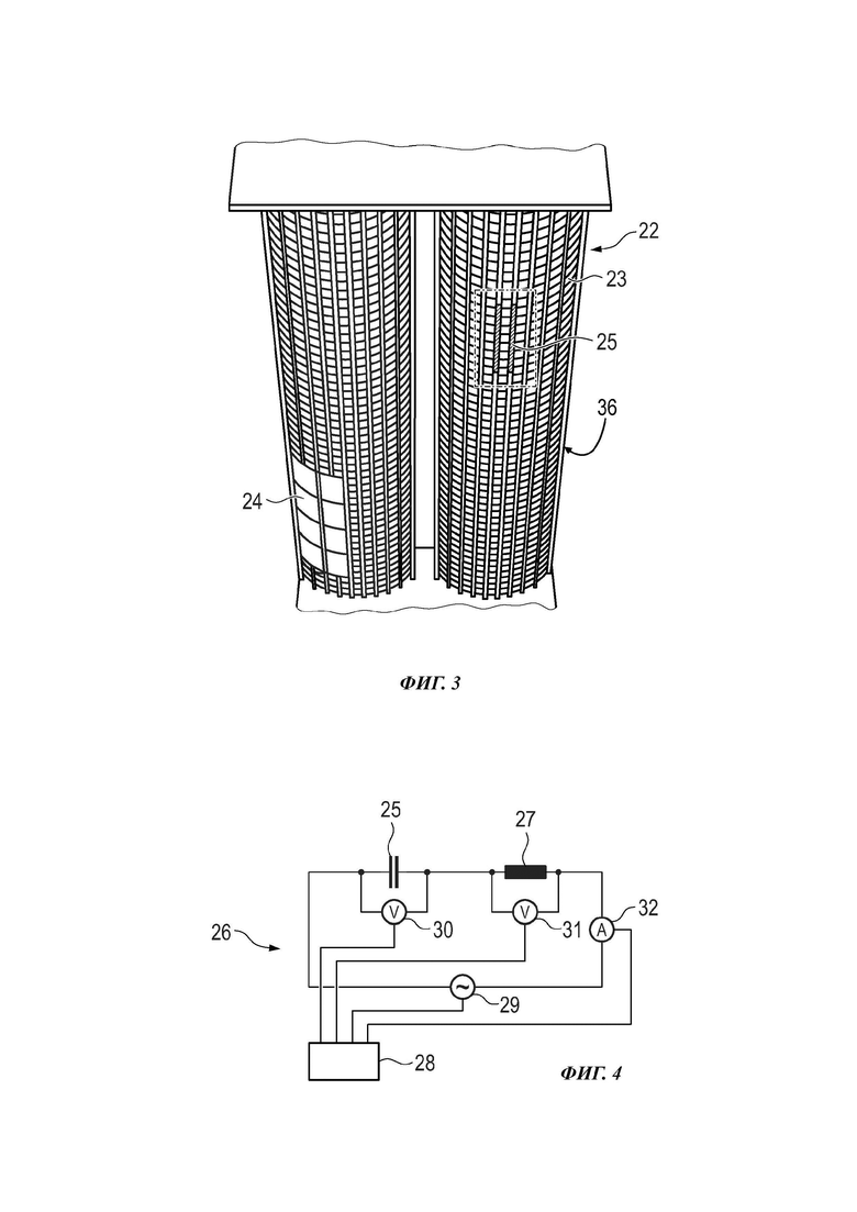
Осуществление изобретения

[25] На фиг. 1 схематично показана самоходная сельскохозяйственная рабочая машина 2, выполненная в виде зерноуборочного комбайна 1. Зерноуборочный комбайн 1 имеет большое количество рабочих органов 3 для транспортировки и/или обработки сельскохозяйственной культуры (не показаны).

[26] Сельскохозяйственную культуру принимают с помощью переднего навесного устройства 4 и направляют к молотильному аппарату 7 в подводимом потоке 50 сельскохозяйственной культуры с помощью наклонного транспортера 6. Молотильный аппарат 7 содержит подбарабанье 8, ускоряющий барабан 9, молотильный барабан 10 и отклоняющий барабан 11. На подбарабанье 8 происходит первое отделение свободно двигающихся зерен (не показано) в форме первого потока 51 сельскохозяйственной культуры.

[27] После прохождения через молотильный аппарат 7 выходящий из него второй поток 52 сельскохозяйственной культуры, содержащий части стеблей и еще не обмолоченные зерна, подводят к разделяющему узлу 13, выполненному в виде клавишного соломотряса 12. Свободно двигающиеся зерна, все еще содержащиеся во втором потоке 52 сельскохозяйственной культуры, с помощью клавишного соломотряса 12 перемещают в форме третьего потока 53 сельскохозяйственной культуры на обратную транспортную доску 14 и на подготовительную доску 15. Оставшийся четвертый поток 54 сельскохозяйственной культуры, состоящий в основном из частей стеблей, выводят из уборочной машины 2. Четвертый поток 54 сельскохозяйственной культуры пересекает при этом первый счетчик 42 потерянных зерен. Счетчик 42 потерянных зерен представляет собой сенсорную систему 26, как показано на фиг. 4. Конденсатор, предпочтительно плоский встречно-гребенчатый конденсатор, установлен на плоской поверхности, на которой обеспечена возможность движения четвертого потока сельскохозяйственной культуры. Сенсорная система регистрирует элементы потока сельскохозяйственной культуры и различает при этом зерновые и незерновые элементы.

[28] Изобретение относится не только к зерноуборочному комбайну 1 с разделяющим узлом 13, выполненным в виде клавишного соломотряса 12. В рамках изобретения это может быть также зерноуборочный комбайн 1 с разделяющими роторами или другими разделяющими узлами 13.

[29] Как первый, так и третий потоки 51, 53 сельскохозяйственной культуры, выходящие из подбарабанья 8 и из клавишного соломотряса 12 и содержащие в основном зерна, объединяют при помощи обратной транспортной доски 14 и подготовительной доски 15 в пятый поток 55 сельскохозяйственной культуры и подводят к чистящему узлу 19, состоящему из нескольких решет 16, 17 и воздуходувки 18. Здесь происходит очистка зерен пятого потока 55 сельскохозяйственной культуры, отделение незерновых компонентов, таких как, например, мякина и части стеблей, в форме шестого потока 56 сельскохозяйственной культуры и выведение их из уборочной машины 2. Шестой поток 56 сельскохозяйственной культуры пересекает при этом второй счетчик 43 потерянных зерен. Счетчик 43 потерянных зерен представляет собой сенсорную систему 26, как показано на фиг. 4. Его принцип действия идентичен таковому у первого счетчика 42 потерянных зерен.

[30] Представленный зерноуборочный комбайн 1 имеет также возвратный шнек 20, которым седьмой поток 57 сельскохозяйственной культуры, который не был полностью обмолочен, снова может быть подан в молотильный аппарат 7. Седьмой поток 57 сельскохозяйственной культуры пересекает счетчик 44 возвращаемых зерен на своем пути к возвратному шнеку 20. Счетчик возвращаемых зерен 44 представляет собой сенсорную систему 26, как показано на фиг. 4. Его принцип действия идентичен таковому у первого счетчика 42 потерянных зерен.

[31] Очищенный, состоящий из зерен восьмой поток 58 сельскохозяйственной культуры подают в зерновой бункер 21. Показанные потоки 50-58 сельскохозяйственной культуры не следует рассматривать как окончательные и зависят от технической конфигурации уборочной машины 2.

[32] Представленный зерноуборочный комбайн 1 имеет множество сенсорных систем на решетчатых элементах, т.е. на подбарабанье 8, соломотрясе 12 и решетах 16, 17. Проходящие через решетчатые элементы 8, 12, 16, 17 элементы потоков сельскохозяйственной культуры подсчитываются сенсорными системами. При этом сенсорные системы различают зерна и элементы соломы.

[33] Благодаря множеству сенсорных систем можно определить, сколько зерен отделяется на каждом из решетчатых элементов 8, 12, 16, 17 и сколько соломы проходит через эти решетчатые элементы 8, 12, 16, 17. Из этого можно сделать вывод, насколько эффективно работают соответствующие рабочие органы 9, 10, 11, 12, 16, 17.

[34] На каждом решетчатом элементе по его поверхности расположено множество сенсорных систем. Благодаря этому можно определить, например, в каком месте на соломотрясе 12 и какое количество зерновых элементов и элементов соломы переходит в третий поток 53 сельскохозяйственной культуры. Из этого можно узнать, правильно ли отрегулирован соломотряс, и при необходимости изменить настройку.

[35] Подсчеты сенсорных систем поступают в контролирующий блок 31. Контролирующий блок 31 показывает эти подсчеты оператору, чтобы тот мог надлежащим образом изменить настройки рабочих органов 3. Альтернативно контролирующий блок 31 может провести эти настройки автоматически.

[36] На фиг. 2 показан альтернативный вариант зерноуборочного комбайна 1 с разделяющим ротором 22. Ниже пояснены только отличия от фиг. 1. Ротор 22 служит альтернативой клавишному соломотрясу 12 и принимает второй поток 52 сельскохозяйственной культуры. Наружная сторона ротора 22 имеет решетчатую структуру 23 и тем самым является решетчатым элементом. Элементы третьего потока 53 сельскохозяйственной культуры выходят из разделяющего ротора сквозь решетчатую структуру 23. Датчики на решетчатой структуре 23 считают элементы третьего потока 53 сельскохозяйственной культуры. Эти датчики различают при этом зерновые элементы и элементы соломы.

[37] На фиг. 3 показан разделяющий ротор 22 зерноуборочного комбайна 1 с фиг. 2. Разделяющий ротор 22 представляет собой осевой сепаратор. На фиг. 3 разделяющий ротор 22 показан снизу. Наружная сторона разделяющего ротора 22 имеет решетчатую структуру 23. Отверстия этой решетчатой структуры 23 могут быть частично закрыты заслонками 24. Непосредственно на решетчатой структуре 23 установлены плоские конденсаторы 25. Поверхность конденсаторов 25 расположена перпендикулярно наружной стороне цилиндрического разделяющего ротора 22. Элементы потока сельскохозяйственной культуры в разделяющем роторе 22 обычно выходят из разделяющего ротора 22 перпендикулярно наружной стороне разделяющего ротора 22. Таким образом, нормаль к поверхности конденсатора 25 ориентирована по существу перпендикулярно направлению движения потока сельскохозяйственной культуры. Плоские конденсаторы 25 могут быть установлены также на поверхности заслонок 24. Когда заслонки 24 открыты, они ориентированы по нормали к поверхности конденсатора 25 по существу перпендикулярно направлению движения потока сельскохозяйственной культуры. В зависимости от исполнения сенсорной системы вся сенсорная система может быть установлена также непосредственно на решетчатой структуре 23 или на заслонках 24.

[38] На фиг. 4 показана схема сенсорной системы 26 для регистрации элементов потока сельскохозяйственной культуры. Сенсорная система 25 содержит конденсатор 25, индуктивный конструктивный элемент 27, такой как катушка, и измерительное устройство 28. Измерительное устройство 28 возбуждает колебательный контур из конденсатора и катушки через источник 29 напряжения и измеряет первое напряжение 30 на конденсаторе 25, второе напряжение 31 на катушке 27 и/или ток 32 через колебательный контур. Подразумевается, что колебательный контур может быть выполнен как последовательная схема, но также и как параллельная схема.

[39] На фиг. 5 показана схема встречно-гребенчатого конденсатора 25. Встречно-гребенчатый конденсатор 25 имеет два электрода 33, 34. Электроды 33, 34 имеют множество пальцеобразных структур, причем эти пальцеобразные структуры входят друг в друга. Элемент 35 из потока сельскохозяйственной культуры изменяет емкость встречно-гребенчатого конденсатора 25 независимо от положения этого элемента на поверхности встречно-гребенчатого конденсатора 25. Благодаря этому элемент 35 потока сельскохозяйственной культуры может быть детектирован по всей длине 36 встречно-гребенчатого конденсатора 25 в направлении 37 движения потока сельскохозяйственной культуры.

[40] На фиг. 6 показано решето 16 зерноуборочного комбайна 1. Пятый поток 55 сельскохозяйственной культуры падает сверху на передний конец 38 решета 16. Сельскохозяйственная культура имеет возможность перемещения к заднему концу 39 решета 16 благодаря циклическим подбрасывающим движениям этого решета. При этом элементы потока сельскохозяйственной культуры падают сквозь решетчатую структуру решетчатого элемента.

[41] Фиг. 7 показывает фрагмент разреза решета 16. Решето 16 имеет подвижные элементы. Верхняя часть 40 подвижного элемента может быть наклонена из положения в плоскости решета 16 в положение, перпендикулярное плоскости этого решета. В зависимости от угла расположения данного подвижного элемента отверстия в решетке могут быть больше или меньше. Таким образом, изменяя угол расположения, можно задавать размер элементов сельскохозяйственной культуры, которые смогут пройти сквозь решетку. Нижняя часть 41 подвижного элемента соединена под фиксированным углом с верхней частью подвижного элемента. На нижней части 41 подвижного элемента закреплен конденсатор 25. Элементы 35 потока сельскохозяйственной культуры, проходящие через отверстия, изменяют емкость конденсатора 25. Направление 37 движения элементов при этом по существу перпендикулярно решету 16. Конденсатор 25 является частью сенсорной системы 26, показанной на фиг. 4. Изменение емкости конденсатора измеряют с помощью сенсорной системы 26. По величине изменения емкости конденсатора 25 можно судить о диэлектрической проницаемости соответствующего элемента 35. По диэлектрической проницаемости можно отличить, например, зерна от элементов соломы.

[42] Подразумевается, что каждая сенсорная система 26 может содержать множество конденсаторов 25. Чем меньше конденсаторы 25, тем лучше могут быть зарегистрированы элементы соответствующего потока сельскохозяйственной культуры, поскольку тогда во время одного измерения происходит одновременное измерение меньшего количества элементов. В идеальном случае при каждом измерении в области измерения должен быть только один элемент. Если в этой области во время измерения присутствует несколько элементов, то воздействие этих элементов на емкость конденсатора складывается, и тогда количество и вид элементов должны быть рассчитаны соответствующим образом. Чтобы обеспечить регистрацию по возможности всех элементов соответствующего потока сельскохозяйственной культуры, предпочтительно при меньших поверхностях конденсаторов выбирать более высокую частоту измерения. Также предпочтительно выбирать более высокую частоту измерения при увеличении скорости движения потока сельскохозяйственной культуры. Если частота измерения слишком низкая, то элементы потока сельскохозяйственной культуры между двумя измерениями могут быть перемещены через конденсатор, не будучи зарегистрированными сенсорной системой. Изготовитель сельскохозяйственной уборочной машины знает размеры конденсаторов и скорость движения потоков сельскохозяйственной культуры, поэтому он может предварительно задать соответствующие частоты измерения.

Список ссылочных обозначений

1 Зерноуборочный комбайн

2 Сельскохозяйственная рабочая машина

3 Рабочий орган

4 Переднее навесное устройство

50 Подведенный поток сельскохозяйственной культуры

51 Первый поток сельскохозяйственной культуры

52 Второй поток сельскохозяйственной культуры

53 Третий поток сельскохозяйственной культуры

54 Четвертый поток сельскохозяйственной культуры

55 Пятый поток сельскохозяйственной культуры

56 Шестой поток сельскохозяйственной культуры

57 Седьмой поток сельскохозяйственной культуры

58 Восьмой поток сельскохозяйственной культуры

6 Наклонный транспортер

7 Молотильный аппарат

8 Подбарабанье

9 Ускоряющий барабан

10 Молотильный барабан

11 Отклоняющий барабан

12 Клавишный соломотряс

13 Разделяющий узел

14 Обратная транспортная доска

15 Подготовительная доска

16 Решето

17 Решето

18 Воздуходувка

19 Чистящий узел

20 Возвратный шнек

21 Зерновой бункер

22 Ротор

23 Решетчатая структура

24 Заслонки

25 Конденсатор

26 Сенсорная система

27 Катушка

28 Измерительное устройство

29 Источник напряжения

30 Первое напряжение

31 Второе напряжение

32 Ток

33 Электрод

34 Электрод

35 Элемент потока сельскохозяйственной культуры

36 Длина

37 Направление движения

38 Передний конец решета

39 Задний конец решета

40 Верхняя часть подвижного элемента

41 Нижняя часть подвижного элемента

42 Первый счетчик потерянных зерен

43 Второй счетчик потерянных зерен

44 Счетчик возвращаемых зерен

Похожие патенты RU2833846C2

название год авторы номер документа
ЗЕРНОУБОРОЧНЫЙ КОМБАЙН 2014
  • Стригунов Михаил Васильевич
RU2554388C1
Устройство для выделения зернаиз СОлОМиСТОгО BOPOXA 1979
  • Кравченко Владимир Сергеевич
  • Куцеев Владимир Васильевич
  • Попов Владимир Васильевич
  • Путинцев Борис Павлович
SU812221A1
СПОСОБ И КОНСТРУКЦИЯ ПРИВОДА УСТРОЙСТВА ТРАНСПОРТИРОВАНИЯ УБРАННОЙ МАССЫ 2006
  • Вамхоф Хайнер
  • Хелленбранд Фердинанд
RU2404566C2
СПОСОБ КОМБАЙНОВОЙ УБОРКИ ОБМОЛОТОМ ЗЕРНА НА КОРНЮ И КОМБАЙН С ПРИЦЕПОМ ДЛЯ СБОРА НЕЗЕРНОВОЙ ЧАСТИ ОЧЕСАННОГО ВОРОХА 2013
  • Озонов Геннадий Романович
  • Колинко Вадим Павлович
  • Сабашкин Владимир Андреевич
  • Чемоданов Сергей Иванович
  • Колинко Павел Вадимович
  • Киселёв Станислав Станиславович
RU2556071C2
Способ и устройство сепарирования потока убираемой культуры на зерноуборочном комбайне 2020
  • Пёллинг, Бенедикт
  • Штрикер, Норберт
  • Луттербек, Деннис
  • Баумгартен, Йоахим
RU2816870C2
УСТРОЙСТВО ДЛЯ ИЗМЕРЕНИЯ ПОВЕРХНОСТНОЙ ВЛАЖНОСТИ 2005
  • Дамман Людвиг
  • Кинке Гуннар
RU2361385C2
СЕЛЬСКОХОЗЯЙСТВЕННОЕ РАБОЧЕЕ ТРАНСПОРТНОЕ СРЕДСТВО И УСТРОЙСТВО ОТОБРАЖЕНИЯ ДЛЯ НЕГО 2010
  • Баумгартен Йоахим
  • Ной Себастьян
  • Фитцнер Вернер
RU2527759C2
ЗЕРНОУБОРОЧНЫЙ АГРЕГАТ 2017
  • Липкович Эдуард Иосифович
  • Кормильцев Юрий Геннадьевич
  • Черноиванов Вячеслав Иванович
  • Несмиян Андрей Юрьевич
  • Щиров Владимир Владимирович
RU2649626C1
СПОСОБ И УСТРОЙСТВО ДЛЯ ПОЛУЧЕНИЯ ДАННЫХ О МАССЕ СХОДА С РЕШЕТА ЗЕРНОУБОРОЧНОГО КОМБАЙНА 2004
  • Бенке Вилли
  • Баумгартен Йоахим
RU2350067C2
СПОСОБ РЕГУЛИРОВАНИЯ ЗАГРУЗКИ ЗЕРНОУБОРОЧНОГО КОМБАЙНА И УСТРОЙСТВО ДЛЯ ЕГО ОСУЩЕСТВЛЕНИЯ 2014
  • Шинделов Андрей Викторович
  • Медведчиков Владимир Михайлович
RU2564865C1

Иллюстрации к изобретению RU 2 833 846 C2

Реферат патента 2025 года СЕНСОРНАЯ СИСТЕМА ДЛЯ РЕГИСТРАЦИИ ЭЛЕМЕНТОВ ПОТОКА СЕЛЬСКОХОЗЯЙСТВЕННОЙ КУЛЬТУРЫ

Изобретение относится к сельскому хозяйству. Сенсорная система для регистрации элементов потока сельскохозяйственной культуры в зерноуборочном комбайне содержит колебательный контур и измерительное устройство. Колебательный контур состоит из по меньшей мере одного емкостного конструктивного элемента с емкостью и одного индуктивного конструктивного элемента с индуктивностью. Колебательный контур имеет резонансную частоту, которая зависит от емкости и индуктивности. Измерительное устройство предусмотрено и сконфигурировано для определения резонансной частоты колебательного контура с предварительно заданной частотой измерения. Емкостный конструктивный элемент расположен в области потока сельскохозяйственной культуры и сконфигурирован для того, чтобы обеспечить возможность отдельным элементам потока сельскохозяйственной культуры влиять на емкость. Сенсорная система предусмотрена и сконфигурирована для определения по меньшей мере одного свойства соответствующего элемента потока сельскохозяйственной культуры на основе резонансной частоты колебательного контура. Значение, полученное умножением частоты измерения на длину емкостного конструктивного элемента в направлении движения потока сельскохозяйственной культуры, превышает 2 м/с. Обеспечивается создание датчика, дающего больше информации о зарегистрированных элементах. 7 з.п. ф-лы, 7 ил.

Формула изобретения RU 2 833 846 C2

1. Сенсорная система (26) для регистрации элементов (35) потока (50, 51, 52, 53, 54, 55, 56, 57, 58) сельскохозяйственной культуры в зерноуборочном комбайне (1), отличающаяся тем, что содержит колебательный контур и измерительное устройство (28), причем указанный колебательный контур состоит из по меньшей мере одного емкостного конструктивного элемента (25) с емкостью и одного индуктивного конструктивного элемента (27) с индуктивностью, причем указанный колебательный контур имеет резонансную частоту, причем указанная резонансная частота зависит от емкости и индуктивности, причем измерительное устройство (28) предусмотрено и сконфигурировано для определения резонансной частоты колебательного контура с предварительно заданной частотой измерения, причем емкостный конструктивный элемент (25) расположен в области потока (50, 51, 52, 53, 54, 55, 56, 57, 58) сельскохозяйственной культуры, причем емкостный конструктивный элемент (25) сконфигурирован для того, чтобы обеспечить возможность отдельным элементам (35) потока (50, 51, 52, 53, 54, 55, 56, 57, 58) сельскохозяйственной культуры влиять на емкость, причем сенсорная система (26) предусмотрена и сконфигурирована для определения по меньшей мере одного свойства соответствующего элемента (35) потока (50, 51, 52, 53, 54, 55, 56, 57, 58) сельскохозяйственной культуры на основе резонансной частоты колебательного контура, причем значение, полученное умножением частоты измерения на длину емкостного конструктивного элемента (25) в направлении (27) движения потока (50, 51, 52, 53, 54, 55, 56, 57, 58) сельскохозяйственной культуры, превышает 2 м/с.

2. Система по п. 1, отличающаяся тем, что сенсорная система (26) предусмотрена и сконфигурирована для того, чтобы различать зерновые элементы и незерновые элементы, в частности элементы соломы, потока (50, 51, 52, 53, 54, 55, 56, 57, 58) сельскохозяйственной культуры.

3. Система по п. 1 или 2, отличающаяся тем, что резонансная частота превышает 1 кГц.

4. Система по п. 1 или 3, отличающаяся тем, что частота измерения составляет менее одной десятой резонансной частоты.

5. Система по одному из пп. 1, 3, 4, отличающаяся тем, что значение, полученное умножением частоты измерения на длину емкостного конструктивного элемента (25) в направлении (27) движения потока (50, 51, 52, 53, 54, 55, 56, 57, 58) сельскохозяйственной культуры, превышает 10 м/с, предпочтительно 25 м/с.

6. Система по одному из предшествующих пунктов, отличающаяся тем, что емкостный конструктивный элемент (25) выполнен в виде плоского конденсатора (25).

7. Система по п. 6, отличающаяся тем, что емкостный конструктивный элемент (25) выполнен в виде встречно-гребенчатого конденсатора (25).

8. Система по одному из пп. 1-5, отличающаяся тем, что емкостный конструктивный элемент (25) выполнен в виде пластинчатого конденсатора.

Документы, цитированные в отчете о поиске Патент 2025 года RU2833846C2

US 6437582 B1, 20.08.2002
US 2018242522 A1, 30.08.2018
US 2007209423 A1, 13.09.2007
US 2014174199 A1, 26.06.2014
JPH 09159500 A, 20.06.1997
US 5046263 A, 10.09.1991
US 3739266 A, 12.06.1973
ВСЕСОЮЗНДЯ '• |fwT;i-li[0(/-Jij;K;r'i^'"'?''":/БИЕ"^^-"'---;/ч ' '''"••••..>&'.'^ 0
SU358621A1
Первичный емкостной преобразователь 1982
  • Козаченко Владимир Степанович
  • Шибильбейн Петр Петрович
  • Жданов Геннадий Павлович
  • Брюханов Николай Николаевич
SU1038867A1

RU 2 833 846 C2

Авторы

Найтемайер, Деннис

Баумгартен, Йоахим

Вилькен, Андреас

Борманн, Бастиан

Витте, Йоханн

Даты

2025-01-29Публикация

2021-05-13Подача