Область техники
Настоящее изобретение относится к элементу аккумуляторной батареи в сборе для вторичного литиевого аккумулятора, и, более конкретно, к элементу аккумуляторной батареи в сборе для вторичного литиевого аккумулятора, обладающего функцией рассеивания тепла, способной быстро рассеивать тепло, генерируемое при зарядке и разрядке модуля аккумулятора, сконфигурированного путем сборки множества элементов аккумулятора.
Предшествующий уровень техники
В последнее время, благодаря развитию технологий и росту спроса на электромобили и устройства накопления энергии, спрос на вторичные аккумуляторы также резко вырос. В частности, литиевые вторичные аккумуляторы широко используются в качестве источника энергии, обладающего высокой плотностью и рабочим напряжением, а также отличными характеристиками срока службы, и представлены в качестве альтернативы для решения проблем загрязнения окружающей среды и глобального потепления, обусловленных существующими бензиновыми и дизельными транспортными средствами, использующими ископаемое топливо.
Модули аккумуляторов, в которых электрически соединено множество элементов, используются в средне- и крупногабаритных устройствах, например, в электромобилях и устройствах накопления энергии, поскольку требуется высокая мощность и большая емкость, а поскольку размер и вес модулей аккумуляторов напрямую связаны с размещением и мощностью средне- и крупногабаритных устройств, производители пытаются изготовить модули аккумуляторов, которые можно уменьшить в размере и весе, обеспечив при этом высокую выходную мощность.
Кроме того, необходимо максимально решить проблемы низкой производительности и сокращения срока службы, возникающие вследствие сильного нагрева при зарядке и разрядке вторичного литиевого аккумулятора.
Фиг. 1 дает общий план, на котором показана структура элементов аккумулятора 11 и наружная кромка 13 в блоке элементов аккумулятора 10 вторичного литиевого аккумулятора, используемого в электромобилях и устройствах накопления энергии. Наружная кромка 13 изготовлена из синтетической смолы, которая является изоляционным материалом, и расположена вокруг обеих боковых поверхностей элемента аккумулятора 11 и обоих терминальных блоков 12 элемента аккумулятора 11.
Кроме того, в углу квадратной части наружной кромки 13 имеется отверстие 14, в которое устанавливается крепежный винт для сохранения положения наружной кромки 13 при укладке множества элементов аккумулятора 11 последовательно друг за другом.
Однако, поскольку наружная кромка 13 стандартного батарейного блока 10 литиевого вторичного аккумулятора установлена таким образом, чтобы обрамлять обе боковые поверхности элемента аккумулятора 11, тепло, выделяемое элементом аккумулятора 11, не может быстро отводиться через наружную кромку 13 при зарядке и разрядке литиевого вторичного аккумулятора, и поэтому возникает риск ухудшения характеристик и сокращения срока службы модуля аккумулятора по причине большого количества тепла, выделяемого при зарядке и разрядке литиевого вторичного аккумулятора; существует необходимость скорейшего решения этой проблемы.
Краткое изложение сущности изобретения
Соответственно, настоящее изобретение было разработано с учетом вышеупомянутых проблем, возникающих на предшествующем уровне техники, и целью настоящего изобретения является создание блока элементов литиевого вторичного аккумулятора с функцией рассеивания тепла, который может улучшить производительность и продлить срок использования вторичного аккумулятора за счет минимизации тепла, выделяемого литиевым вторичным аккумулятором внутри модуля аккумулятора, за счет улучшения структуры, чтобы тепло, выделяемое элементом аккумулятора, могло быстро рассеиваться при зарядке и разрядке литиевого вторичного аккумулятора.
Для достижения вышеуказанной цели, согласно одному из аспектов настоящего изобретения, предоставляется сборка элемента батареи вторичного литиевого аккумулятора с функцией рассеивания тепла, включающая элемент аккумулятора прямоугольной формы, наружную кромку, которая окружает боковые поверхности элемента аккумулятора и оба терминальных блока, а также монтажные отверстия для винтов, предусмотренные на квадратных угловых элементах наружной кромки, в которые устанавливаются крепежные винты, при этом наружная кромка имеет два концевых блока, которые окружают и закрывают терминальные блоки на обоих концах элемента аккумулятора, и блок наружной поверхности, который окружает и закрывает одну боковую поверхность элемента аккумулятора.
Кроме того, в блоке элемента вторичного литиевого аккумулятора, обладающего функцией рассеивания тепла в соответствии с настоящим изобретением, блок боковой поверхности кромки отдельно сформирован для отсоединения от обоих концевых блоков наружной кромки, чтобы произвольно закрывать одну или другую боковую поверхность элемента аккумулятора.
Кроме того, в блоке элементов литиевого вторичного аккумулятора с функцией рассеивания тепла по настоящему изобретению съемная структура кромки боковой поверхности сконфигурирована с формированием первого и второго выступов в верхней и нижней частях обоих соединительных концов кромки боковой поверхности и с образованием первого и второго съемных пазов в верхней и нижней частях обоих соединительных концов наружной кромки, обращенной к обоим соединительным концам кромки боковой поверхности, так чтобы можно было их совместить.
Поскольку блок элементов литиевого вторичного аккумулятора с функцией рассеивания тепла в соответствии с настоящим изобретением имеет характерную конфигурацию, описанную выше, а кромка боковой поверхности блока, обрамляет боковые поверхности элемента аккумулятора и отсоединяется от наружной кромки, через которую рассеивается тепло элемента аккумулятора, таким образом выделение тепла внутри модуля аккумулятора минимизируется за счет быстрого рассеивания тепла, выделяемого элементом аккумулятора, достигается повышение производительности и продление срока использования вторичного аккумулятора.
Краткое описание чертежей
Фиг. 1 представляет собой общий план, на котором изображен элемент аккумулятора предшествующего уровня техники.
Фиг. 2 представляет собой вид в перспективе, на котором изображен элемент аккумулятора в соответствии с настоящим изобретением.
Фиг. 3 представляет собой покомпонентный чертеж в перспективе, на котором показан блок элементов аккумулятора по настоящему изобретению.
Фиг. 4 представляет собой общий план, на котором показаны элемент аккумулятора и наружная кромка узла элемента аккумулятора в соответствии с настоящим изобретением.
Фиг. 5 - укрупненный чертеж, на котором показана часть A Фиг. 4.
Фиг. 6 - представляет собой покомпонентный чертеж в перспективе, на котором показана съемная конструкция наружной кромки и боковой кромки, показанного на Фиг. 5.
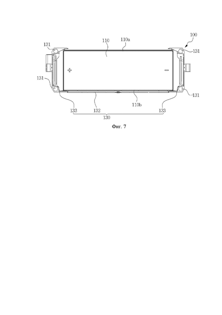
Фиг. 7 представляет собой общий вид, на котором показан еще один пример компоновки блока боковой кромки элемента аккумулятора в соответствии с настоящим изобретением.
Подробное описание предпочтительного варианта осуществления
Здесь и далее со ссылкой на прилагаемые чертежи будет подробно описан элемент вторичного литиевого аккумулятора с функцией рассеивания тепла в соответствии с настоящим изобретением.
Фиг. 2 и 3 представляют собой вид в перспективе и покомпонентный вид в перспективе, демонстрирующие блок элементов вторичного литиевого аккумулятора с функцией рассеивания тепла в соответствии с настоящим изобретением. Как видно из рисунков, блок элементов 100 включает элемент аккумулятора 110 прямоугольной формы, а терминальные блоки 120 установлены на обоих концах в продольном направлении элемента аккумулятора 110.
Боковые поверхности элемента 110 и оба терминальных блока 120 элемента 110 обрамлены и защищены наружной кромкой 130, причем наружная кромка 130 изготовлена из изоляционного материала, например, из синтетической смолы, а в каждом из квадратных угловых блоков предусмотрено монтажное отверстие 131, в которое устанавливается крепежный винт 140.
Кроме того, в элементе аккумулятора 100 настоящего изобретения наружный блок 130 включает в себя двухсторонние кромки 133, огибающие и закрывающие терминальные блоки 120 на обоих концах элемента аккумулятора 110, а блок кромки боковой поверхности 132, который обрамляет одну боковую поверхность 110a элемента аккумуляторной батареи 110, и блок кромки боковой поверхности 132, сформирован таким образом, чтобы можно было отсоединить двухсторонние блоки 133 наружной кромки130, а блок боковой поверхности 132 можно было отсоединить от другой боковой поверхности 110b элемента аккумуляторной батареи 110.
Соответственно, тепло, выделяемое из элемента аккумулятора 110, может быстро рассеиваться через другую боковую поверхность 110b, где извлечен блок 132 кромки боковой поверхности, и, следовательно, производительность вторичного аккумулятора улучшается, а период использования может быть дополнительно продлен за счет минимизации тепловыделения внутри модуля аккумулятора.
С другой стороны, блок кромки боковой поверхности 132 предназначен для выборочного совмещения с одной боковой поверхностью 110a или другой боковой поверхностью 110b элемента аккумуляторной батареи 110, и, как показано на Фиг. 4, 5 и 6, разъемная конструкция кромки боковой поверхности 132 выполнена путем соединения первого и второго разъемных элементов 132a и 132b на верхней и нижней частях обоих соединительных концов кромки боковой поверхности 132, и образуют первый и второй разъемные пазы 133a и 133b на верхней и нижней частях обоих соединительных концов наружных кромок 133, обращенных к обоим соединительным концам кромки боковой поверхности 132, таким образом, чтобы соединить первый и второй разъемные выступающие элементы 132a и 132b.
В соответствии с разборной конструкцией наружной кромки 132 боковой поверхности, если наружная кромка 132 боковой поверхности смонтирована совместно с двухсторонними наружными блоками 133 наружной кромки 130 для соединения с одной боковой поверхностью 110a элемента аккумулятора 110, как показано на Фиг. 4, тепло, выделяемое элементом 110, может отводиться через другую боковую поверхность 110b элемента 110, а когда блок 132 боковой поверхности соединен с обоими наружными блоками 133 наружной кромки 130 для соединения с другой боковой поверхностью 110b элемента 110, как показано на Фиг. 7, тепло, выделяемое элементом 110, может отводиться через одну боковую поверхность 110a элемента 110.
Таким образом, при сборке системы электромобиля или устройства накопления энергии, использующего модуль аккумулятора, сконфигурированный путем укладки множества блоков элементов аккумулятора 100 последовательно, с возможностью выбора положения для удаления наружной кромки боковой поверхности 132 в соответствии с направлением рассеивания тепла, можно дополнительно повысить эффективность использования блока элементов аккумулятора.
Оптимальный вариант воплощения изобретения приведен на чертежах и в спецификациях, описанных выше. Несмотря на то, что в настоящем документе используются специальные термины, они используются только для пояснения настоящего изобретения и не ограничивают значение или объем настоящего изобретения, изложенного в формуле изобретения. Таким образом, для специалистов в данной области техники понятно, что описываемое изобретение допускает различные модификации и другие аналогичные варианты осуществления. Соответственно, истинный объем технической защиты настоящего изобретения должен определяться техническим духом прилагаемой формулы изобретения.
Согласно настоящему изобретению, поскольку можно улучшить производительность и продлить срок использования вторичного аккумулятора за счет минимизации тепла, выделяемого вторичным литиевым аккумулятором внутри корпуса модуля аккумулятора, настоящее изобретение может быть использовано в блоке элементов литиевого вторичного аккумулятора электромобиля или т.п.
Изобретение относится к области электротехники, а именно к элементу аккумуляторной сборки вторичного литиевого аккумулятора с функцией рассеивания тепла, и может быть использовано для отвода тепла в многоэлементных сборках литиевых аккумуляторных батарей. Повышение срока службы литиевого аккумулятора за счет быстрого рассеивания тепла при зарядке и разрядке литиевого аккумулятора является техническим результатом, который достигается за счет того, что элемент вторичного литиевого аккумулятора выполнен прямоугольной формы и снабжен наружной кромкой, обрамляющей боковые поверхности элемента аккумулятора и оба терминальных блока, при этом наружная кромка состоит из двухсторонних наружных блоков, которые обрамляют и закрывают терминальные блоки на обоих концах элемента аккумулятора, и наружного блока, который обрамляет и закрывает одну из боковых поверхностей элемента аккумулятора. Сборка литиевой батареи улучшена таким образом, что тепло, выделяемое элементом батареи, может быстро отводиться во время зарядки и разрядки и тем самым снижается тепло, выделяемое литиевой вторичной батареей внутри батарейного модуля, что улучшает производительность батареи и срок ее использования. Кроме того в углу квадратной части наружной кромки выполнено отверстие, в которое устанавливается крепежный винт для сохранения положения наружной кромки при укладке множества элементов аккумулятора последовательно друг за другом. 7 ил.
Элемент аккумулятора в сборе для вторичного литиевого аккумулятора с функцией рассеивания тепла, элемент аккумулятора в сборе включает в себя элемент аккумулятора прямоугольной формы и кромку, обрамляющую боковые поверхности элемента аккумулятора и оба терминальных блока элемента аккумулятора, где
наружная кромка состоит из двухсторонних наружных блоков, которые обрамляют и закрывают терминальные блоки на обоих концах элемента аккумулятора, и наружного блока боковой поверхности, который обрамляет одну боковую поверхность элемента аккумулятора, при этом
наружный элемент боковой поверхности отдельно сформирован для отсоединения от обоих наружных элементов кромки таким образом, чтобы выборочно обрамлять и закрывать одну боковую или другую боковую поверхность элемента аккумулятора в соответствии с направлением отвода тепла, и
съемная конструкция блока боковой поверхности сконфигурирована благодаря формированию первого и второго съемных выступов в верхней и нижней частях обоих соединительных концов блока боковой поверхности и формированию первого и второго съемных пазов в верхней и нижней частях обоих соединительных концов рамы, обращенных к обоим соединительным концам блока боковой поверхности таким образом, чтобы можно было установить первый и второй съемные выступы.
| KR 2017136046 A, 11.12.2017 | |||
| KR 2018127760 A, 30.11.2018 | |||
| KR 2018031402 A, 28.03.2018 | |||
| JP 2020155340 A, 24.09.2020 | |||
| EP 3312932 A1, 25.04.2018 | |||
| WO 2015016974 A1, 05.02.2015 | |||
| СПОСОБ ПОЛУЧЕНИЯ ДИАБЕТИЧЕСКИХ ВАФЕЛЬ (ВАРИАНТЫ) | 2010 |
|
RU2432043C1 |
| БАТАРЕЯ С УСТРОЙСТВОМ КОНТРОЛЯ ТЕМПЕРАТУРЫ | 2007 |
|
RU2425436C2 |
Авторы
Даты
2025-01-31—Публикация
2023-10-11—Подача