Предпосылки создания изобретения
Область техники
Настоящее изобретение касается узла аккумуляторных элементов литиевого вторичного аккумулятора, а именно узла аккумуляторных элементов литиевого вторичного аккумулятора, который может уменьшить размер батарейного модуля, сконфигурированного за счет сборки множества аккумуляторных элементов, и быстро рассеивать тепло, выделяемое литиевым вторичным аккумулятором, за счет улучшения формы наружной кромки квадратного углового блока и верхнего уплотнительного блока аккумуляторного элемента.
Предшествующий уровень техники
В последнее время, благодаря развитию технологий и росту спроса на электромобили и устройства накопления энергии спрос на вторичные аккумуляторы также резко вырос. В частности, литиевые вторичные аккумуляторы широко используются в качестве источника энергии, обладающего высокой плотностью и рабочим напряжением, а также отличными характеристиками срока службы, и представлены в качестве альтернативы для решения проблем загрязнения окружающей среды и глобального потепления, обусловленных существующими бензиновыми и дизельными транспортными средствами, использующими ископаемое топливо.
Модули аккумуляторов, в которых электрически соединено множество элементов, используются в средне- и крупногабаритных устройствах, например в электромобилях и устройствах накопления энергии, поскольку требуется высокая мощность и большая емкость, а поскольку размер и вес модулей аккумуляторов напрямую связаны с размещением и мощностью средне- и крупногабаритных устройств, производители пытаются изготовить модули аккумуляторов, которые можно уменьшить в размере и весе, обеспечив при этом высокую выходную мощность.
Кроме того, необходимо максимально решить проблемы низкой производительности и сокращения срока службы, возникающие вследствие сильного нагрева при зарядке и разрядке вторичного литиевого аккумулятора.
Фиг. 1 дает общий план, на котором показана структура элементов аккумулятора 11 и наружная кромка 13 в блоке элементов аккумулятора 10 вторичного литиевого аккумулятора, используемого в электромобилях и устройствах накопления энергии. Наружная кромка 13 изготовлена из синтетической смолы, которая является изоляционным материалом, и расположена вокруг обеих боковых поверхностей элемента аккумулятора 11 и обоих терминальных блоков 12 элемента аккумулятора 11.
Кроме того, в углу квадратной части наружной кромки 13 имеется отверстие 14, в которое устанавливается крепежный винт для сохранения положения наружной кромки 13 при укладке множества элементов аккумулятора 11 последовательно друг за другом.
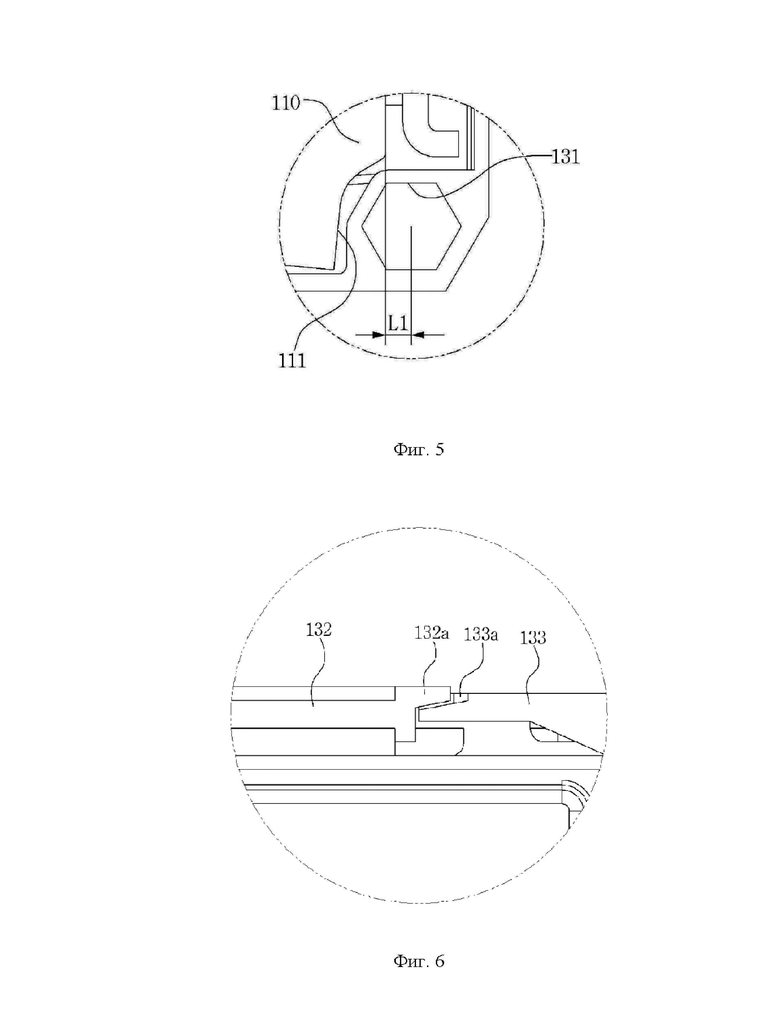
Однако в привычных литиевых вторичных аккумуляторах пакетного типа основная форма элемента аккумулятора 11 имеет прямоугольную форму, и хотя проблем с изготовлением и использованием аккумулятора нет, поскольку положение отверстия 14 для крепления винта, образованного в квадратном угловом узле к наружной кромке 13, должно быть расположено на расстоянии от границы квадратного углового блока аккумуляторного элемента 11 на заданном расстоянии, недостаток заключается в том, что длина L1 от торца аккумуляторного элемента 11 до центрального положения отверстия 14 для установки винта увеличивается, и, следовательно, общая длина L2 аккумуляторного элемента 10 в продольном направлении увеличивается.
Соответственно, когда модуль аккумуляторной батареи формируется путем размещения и штабелирования множества элементов 11 аккумуляторной батареи и электрического соединения элементов аккумуляторной батареи, общий размер и вес модуля аккумуляторной батареи увеличиваются, а поскольку это негативно сказывается на объеме памяти и производительности устройств среднего и крупного размера, использующих аккумуляторный модуль, имеется острая необходимость в уменьшении размера и облегчении аккумуляторного модуля.
Кроме того, поскольку наружная кромка 13 установлена так, чтобы обрамлять обе боковые поверхности аккумуляторного элемента 11, тепло, выделяемое из аккумуляторного элемента 11, может не быстро рассеиваться из-за наружной кромки 13 при зарядке и разрядке литиевого вторичного аккумулятора, и, следовательно, возникает проблема ухудшения эксплуатационных характеристик и сокращает срок использования аккумуляторного модуля из-за высокого нагрева, выделяющегося при зарядке и разрядке литиевого вторичного аккумулятора, и необходимо срочно решить эту проблему.
Краткое изложение сущности изобретения
Соответственно, настоящее изобретение было разработано с учетом вышеупомянутых проблем, возникающих в изделиях предшествующего уровня техники, и целью настоящего изобретения является создание блока аккумуляторных элементов литиевого вторичного аккумулятора, который может оптимизировать пространство и плотность при сборке системы электромобиля или устройства накопления энергии и повысить выходную мощность за счет дальнейшего уменьшения размера аккумуляторных модулей литиевого вторичного аккумулятора, насколько это возможно.
Другой задачей настоящего изобретения является создание аккумуляторного элемента литиевого вторичного аккумулятора, позволяющего улучшить эксплуатационные характеристики и дополнительно продлить срок использования вторичного аккумулятора за счет минимизации тепла, выделяемого литиевым вторичным аккумулятором внутри батарейного модуля, за счет улучшения конструкции таким образом, чтобы тепло, выделяемое элементом аккумуляторной батареи, могло быстро рассеиваться при зарядке и разрядке литиевого вторичного аккумулятора.
Для достижения вышеуказанных целей в соответствии с аспектом настоящего изобретения предусмотрен блок аккумуляторного элемента литиевого вторичного аккумулятора, который состоит из аккумуляторного элемента прямоугольной формы, наружную кромку, окружающую боковые поверхности аккумуляторного элемента и оба терминальных блока, и отверстия для установки винтов, предусмотренные в квадратных угловых блоках наружной кромки, в которые установлены крепежные винты, при этом общая длина в продольном направлении блока аккумуляторного элемента уменьшается по мере образования канавки в квадратном угловом блоке аккумуляторного элемента, при этом часть отверстия для крепления винта, предусмотренного в квадратном угловом блоке наружной кромки, расположена внутри канавки.
Кроме того, в блоке аккумуляторного элемента литиевого вторичного аккумулятора в соответствии с настоящим изобретением, наружная кромка включает в себя двухсторонние кромки, которые обрамляют и закрывают терминальные блоки на обоих концах аккумуляторного элемента, и боковую кромку, которая обрамляет и закрывает одну боковую поверхность аккумуляторного элемента.
Кроме того, в блоке аккумуляторного элемента литиевого вторичного аккумулятора по настоящему изобретению блок кромок боковой поверхности выполнен отдельно с возможностью отсоединения от обоих блоков наружной кромки таким образом, чтобы выборочно обрамлять и закрывать одну или другую боковую поверхность аккумуляторного элемента.
Кроме того, в блоке аккумуляторного элемента литиевого вторичного аккумулятора по настоящему изобретению, разъемная конструкция узла кромки боковой поверхности выполнена путем формирования первого и второго разъемных выступающих узлов на верхней и нижней частях обоих соединительных концов узла кромки боковой поверхности и формирования первого и второго разъемных пазовых на верхней и нижней частях обоих соединительных концов наружной кромки, обращенных к обоим соединительным концам блока кромок боковой поверхности таким образом, чтобы можно было установить первый и второй съемные выступающие блоки.
Согласно настоящему изобретению, имеющему характерную конфигурацию, описанную выше, поскольку в квадратном угловом блоке аккумуляторного элемента 110 сформирована канавка 111, а часть отверстия 131 для винтового узла расположена внутри канавки 111, общая длина аккумуляторного элемента в сборе в продольном направлении может быть уменьшена настолько, насколько длина участка отверстия для винтового узла, расположенного внутри канавки, и, таким образом, поскольку аккумуляторный модуль, сконфигурированный путем укладки множества элементов аккумуляторной батареи, дополнительно уменьшается в размерах и облегчается за счет уменьшения размера, возникает эффект оптимизации пространства и плотности и улучшения выходной мощности при сборке системы электромобиля или устройства накопления энергии.
Кроме того, согласно настоящему изобретению, поскольку блок кромок боковой поверхности, окружающий боковые поверхности аккумуляторного элемента, выполнен отдельно для отсоединения от наружной кромки, блок кромок боковой поверхности на стороне, через которую рассеивается тепло аккумуляторного элемента, может быть отсоединен, и, следовательно, поскольку выделение тепла внутри аккумуляторного модуля сводится к минимуму за счет быстрого рассеивания тепла, выделяемого аккумуляторным элементом, достигается эффект улучшения производительности и дальнейшего продления срока службы вторичного аккумулятора.
Краткое описание чертежей
Фиг. 1 представляет собой общий план, на котором изображен элемент аккумулятора предшествующего уровня техники.
Фиг. 2 представляет собой вид в перспективе, на котором изображен элемент аккумулятора в соответствии с настоящим изобретением.
Фиг. 3 представляет собой покомпонентный чертеж в перспективе, на котором показан блок элементов аккумулятора по настоящему изобретению.
Фиг. 4 представляет собой общий план, на котором показаны элемент аккумулятора и наружная кромка узла элемента аккумулятора в соответствии с настоящим изобретением.
Фиг. 5 - укрупненный чертеж, на котором показана часть A Фиг. 4.
Фиг. 6 - укрупненный чертеж, на котором показана часть B Фиг. 4.
Фиг. 7 - представляет собой покомпонентный чертеж в перспективе, на котором показана съемная конструкция наружной кромки и боковой кромки, показанного на Фиг. 6.
Фиг. 8 представляет собой общий вид, на котором показан еще один пример компоновки блока боковой кромки элемента аккумулятора в соответствии с настоящим изобретением.
Подробное описание предпочтительного варианта осуществления
Далее будет подробно описан блок аккумуляторного элемента литиевого вторичного аккумулятора в соответствии с настоящим изобретением со ссылкой на прилагаемые чертежи.
Фиг. 2 и 3 представляют собой вид в перспективе и покомпонентный вид в перспективе, демонстрирующие блок элементов вторичного литиевого аккумулятора с функцией рассеивания тепла в соответствии с настоящим изобретением. Как видно из рисунков, блок элементов 100 включает элемент аккумулятора 110 прямоугольной формы, а терминальные блоки 120 установлены на обоих концах в продольном направлении элемента аккумулятора 110.
Боковые поверхности элемента 110 и оба терминальных блока 120 элемента 110 обрамлены и защищены наружной кромкой 130, причем наружная кромка 130 изготовлена из изоляционного материала, например, из синтетической смолы, а в каждом из квадратных угловых блоков предусмотрено монтажное отверстие 131, в которое устанавливается крепежный винт 140.
На этом этапе узел 100 аккумуляторного элемента по настоящему изобретению имеет улучшенную конструкцию аккумуляторного элемента 110 и наружной кромки 130, таким образом, можно уменьшить общую длину L2 в продольном направлении, как показано на Фиг. 3-5, где в квадратном угловом блоке элемента 110 аккумуляторной батареи сформирован паз 111, а часть отверстия 131 для крепления винта, предусмотренного в квадратном угловом блоке наружной кромки 130, расположена внутри паза 111.
Соответственно, длина L1 от конца элемента 110 аккумуляторной батареи до центра отверстия 131 для установки винта уменьшается на столько же, на сколько расстояние от части отверстия 131 для установки винта, которая расположена в канавке 111, а общая длина L2 в продольном направлении блока 100 аккумуляторного элемента уменьшается настолько, насколько длина, на которую в результате перемещаются отверстия 131 для сборки винтов с обеих сторон, таким образом, можно уменьшить общую длину L2 в продольном направлении.
Когда общая длина L2 блока 100 аккумуляторных элементов в продольном направлении уменьшается, таким образом, модуль аккумуляторной батареи, сконфигурированный путем размещения множества блоков 100 аккумуляторных элементов, может быть дополнительно уменьшен и облегчен за счет уменьшения размера, и при сборке системы электромобиля или устройства накопления энергии, использующего аккумуляторный модуль, можно оптимизировать пространство и плотность, а также повысить выходную мощность.
Ссылаясь на Фиг. 2 и 3, опять же, в блоке 100 аккумуляторного элемента по настоящему изобретению, наружная кромка 130 состоит из двухсторонних концевых блоков 133, которые обрамляют и закрывают терминальные блоки 120 на обоих концах аккумуляторного элемента 110, и наружной кромки 132 боковой поверхности, которая обрамляет одну боковую поверхность 110а аккумуляторного элемента 110, а блок 132 кромки боковой поверхности выполнен таким образом, чтобы имелась возможность отсоединить оба концевых блока 133 наружной кромки 130, а блок 132 кромки боковой поверхности можно было отсоединить от другой боковой поверхности 110b аккумуляторного элемента 110.
Соответственно, тепло, выделяемое из элемента аккумулятора 110, может быстро рассеиваться через другую боковую поверхность 110b, где извлечен блок 132 кромки боковой поверхности, и, следовательно, производительность вторичного аккумулятора улучшается, а период использования может быть дополнительно продлен за счет минимизации тепловыделения внутри модуля аккумулятора.
С другой стороны, блок 132 кромки одной боковой поверхности предназначен для выборочного обрамления одной боковой поверхности 110a или другой боковой поверхности 110b элемента 110 аккумуляторной батареи, и, как показано на фиг. 4, 6 и 7, разъемная конструкция узла 132 кромки боковой поверхности выполнена путем формирования первого и второго разъемных выступающих узлов 132a и 132b на верхней и нижней частях обоих соединительных концов узла 132 кромки боковой поверхности, и формирования первого и второго пазов 133a и 133b на верхней и нижней частях обоих соединительных концов кромок 133, расположенных на обоих концах, обращенных к обоим соединительным концам кромки 132 боковой поверхности, таким образом, чтобы обеспечить возможность установки первого и второго выступающих элементов 132a и 132b.
В соответствии со съемной конструкцией блока 132 кромок боковой поверхности, когда блок 132 кромок боковой поверхности собран для соединения с блоками 133 кромок обоих концов наружной кромки 130 для обрамления одной боковой поверхности 110а элемента 110 аккумуляторной батареи, как показано на Фиг. 4, тепло, выделяемое из аккумуляторного элемента 110, может рассеиваться через другую боковую поверхность 110b аккумуляторного элемента 110, и когда блок 132 кромок боковой поверхности собран для соединения с блоками 133 кромок обоих концов наружной кромки 130, чтобы перекрыть другую боковую поверхность 110b аккумуляторного элемента 110, как показано на Фиг. 8, тепло, выделяемое аккумуляторным элементом 110, может рассеиваться через одну боковую поверхность 110a аккумуляторного элемента 110.
Таким образом, при сборке системы электромобиля или устройства накопления энергии, использующего модуль аккумулятора, сконфигурированный путем укладки множества блоков элементов аккумулятора 100 последовательно, с возможностью выбора положения для удаления наружной кромки боковой поверхности 132 в соответствии с направлением рассеивания тепла, можно дополнительно повысить эффективность использования блока элементов аккумулятора.
Оптимальный вариант воплощения изобретения приведен на чертежах и в спецификациях, описанных выше. Несмотря на то, что в настоящем документе используются специальные термины, они используются только для пояснения настоящего изобретения и не ограничивают значение или объем настоящего изобретения, изложенного в формуле изобретения. Таким образом, для специалистов в данной области техники понятно, что описываемое изобретение допускает различные модификации и другие аналогичные варианты осуществления. Соответственно, истинный объем технической защиты настоящего изобретения должен определяться техническим духом прилагаемой формулы изобретения.
Согласно настоящему изобретению, поскольку модуль аккумуляторной батареи дополнительно уменьшен в размерах и имеет меньший вес за счет уменьшения размера, становится возможным оптимизировать пространство и плотность и улучшить выходную мощность при сборке системы электромобиля или устройства накопления энергии.
Изобретение касается блока аккумуляторных элементов литиевого вторичного аккумулятора. Техническим результатом является улучшение эксплуатационных характеристик и продление срока использования вторичного аккумулятора за счет минимизации тепла, выделяемого литиевым вторичным аккумулятором внутри батарейного модуля. Блок аккумуляторного элемента состоит из аккумуляторного элемента прямоугольной формы, наружной кромки, обрамляющей боковые поверхности аккумуляторного элемента и оба терминальных блока аккумуляторного элемента, и отверстий для установки винтов, предусмотренных в квадратных угловых блоках наружной кромки, в которые устанавливаются крепежные винты, а длина в продольном направлении узла аккумуляторного элемента уменьшается по мере того, как в квадратном угловом блоке аккумуляторного элемента образуется канавка, и часть отверстия для крепления винтов, предусмотренного в квадратном угловом блоке наружной кромки, расположена внутри канавки. 8 ил.
Блок аккумуляторного элемента литиевого вторичного аккумулятора, состоящий из аккумуляторного элемента прямоугольной формы, наружной кромки, окружающей боковые поверхности аккумуляторного элемента и оба терминальных блока аккумуляторного элемента, и отверстий для установки винтов, выполненных в квадратных угловых блоках наружной кромки, в которые установлены крепежные винты, где
длина в продольном направлении уменьшается по мере образования канавки в квадратном угловом блоке аккумуляторного элемента и отверстия для установки винта, предусмотренного в квадратном угловом блоке наружной кромки, которое расположено внутри канавки, и
наружная кромка состоит из двухсторонних концевых блоков наружной кромки, которые обрамляют и закрывают терминальные блоки на обоих концах элемента аккумулятора, и блока кромки боковой поверхности, который обрамляет одну боковую поверхность элемента аккумулятора, при этом
блок кромки боковой поверхности отдельно сформирован для отсоединения от обоих концевых блоков наружной кромки таким образом, чтобы выборочно обрамлять и закрывать одну боковую или другую боковую поверхность элемента аккумулятора в соответствии с направлением отвода тепла, и
разъемная конструкция блока кромки боковой поверхности сконфигурирована благодаря формированию первого и второго разъемных выступов в верхней и нижней частях обоих соединительных концов блока кромки боковой поверхности и формированию первого и второго разъемных пазов в верхней и нижней частях обоих соединительных концов рамы, обращенных к обоим соединительным концам блока кромки боковой поверхности таким образом, чтобы можно было установить первый и второй съемные выступы.
| US 7833655 B2, 16.11.2010 | |||
| DE 102010055604 A1, 28.06.2012 | |||
| US 7318731 B1, 15.01.2008 | |||
| CN 204348788 U, 20.05.2015 | |||
| БАТАРЕЯ С УСТРОЙСТВОМ КОНТРОЛЯ ТЕМПЕРАТУРЫ | 2007 |
|
RU2425436C2 |
Авторы
Даты
2025-02-25—Публикация
2023-10-11—Подача