ОБЛАСТЬ ИЗОБРЕТЕНИЯ
Настоящее изобретение относится к анализу в реальном времени движущихся суспензий для промышленных процессов, где суспензии твердых частиц, взвешенных в жидкостях, транспортируются по трубе. Настоящее изобретение особенно полезно в минералоперерабатывающей промышленности.
ПРЕДПОСЫЛКИ ИЗОБРЕТЕНИЯ
«Суспензия» обычно содержит твердые частицы (и некоторые пузырьки газа), взвешенные в движущейся жидкости, такой как вода, и в промышленности существует основная давняя потребность в получении в реальном времени информации о содержимом суспензии, движущейся через трубу. Зная по меньшей мере некоторую информацию о содержании суспензии в реальном времени, промышленные предприятия также могут быстро (предпочтительно в реальном времени) предпринять действие для реагирования на изменения в содержании суспензии и максимизации своих технологических эффектов.
Стандартная информация о содержимом суспензии содержит, но без ограничения: элементный состав, минеральный состав, распределение по размеру частиц, формы частиц, другие характеристики частиц, процентное содержание твердых частиц и процентное содержание газа.
Примеры действий, которые можно было бы предпринять в промышленности, если бы информация о содержимом суспензии была быстродоступной, включают следующее:
1) суспензию можно отвести согласно ее содержимому в наиболее подходящий контейнер или процесс;
2) управляющие величины (MV) процесса, который производит суспензию, могут корректироваться с помощью автоматического или ручного управления с обратной связью, чтобы поддерживать выбранный технологический параметр (PV), заданный известным содержимым суспензии в нормативном пределе; и/или
3) корректировка рецептуры следующего процесса на основании известного содержимого суспензии.
Типичные преимущества, которые такие промышленные предприятия могут извлечь из информации в реальном времени о содержимом суспензии, движущейся через трубу, включают следующее:
1) увеличенный объем производства за счет более высокого выпуска/извлечения при тех же затратах;
2) стабильная работа при неизменном качестве/сорте продукции, что может обеспечить более высокую отпускную цену или снизить риск штрафных санкций за единицу произведенной продукции;
3) сниженные производственные затраты за счет меньшего количества времени, энергии, материалов или вмешательства человека; и
4) сниженный эксплуатационный риск за счет более обоснованных решений.
Существующие практики определения содержимого суспензии обычно включают анализ образца текущей суспензии, например, путем проведения лабораторных тестов или путем применения спектроскопического анализа к образцу. Пример текущего спектроскопического анализа, проведенного на текущей суспензии, представлен на фиг. 1A. Проводится небольшое количество очень точных измерений едва уловимых небольших различий очень большого количества частиц. В этом примере спектральный анализ текущей суспензии проводится через окно путем пропускания светового луча размером 10 мм на 7 мм на текущую суспензию. В этой зоне освещения одновременно видны сотни микронных частиц. Суспензия течет со стандартной скоростью 2 м/с, и измерения усредняются в течение 15 секунд, так что эффективная площадь измерения составляет 210000 мм2. Обычно за 15-секундный период, в течение которого усредняются результаты спектрального анализа, видно более миллиона частиц.
Все существующие практики определения содержимого суспензии имеют один или более из следующих недостатков:
1) некоторые практики извлекают образцы или отводят подпоток из производственного потока, иногда применяя разбавление или концентрацию, что приводит к искажению выборки, сложности манипулирования дополнительной суспензией, задержке во времени для подготовки подпотока к анализу и затратам на утилизацию или рециркуляцию извлеченной суспензии;
2) некоторые практики направлены на измерение изменений содержимого в суспензии, небольших (микро-) компонентов и их влияния на сигнал средней массы суспензии, что приводит к низким пределам обнаружения из-за малого влияния таких компонентов на среднюю массу; и
3) некоторые практики измеряют непосредственно суспензию, текущую в трубе в целом, но игнорируют возможное искажение из-за различных размеров и форм частиц.
Даже если измерения проводятся в реальном времени на образцах, отводимых в подпотоках, измерения подвержены искажению выборки и сложности управления суспензией. Эти недостатки неизбежны во всех известных в настоящее время методах проведения измерений в непрозрачных технологических потоках, таких как суспензии, для прохождения которых через образец требуется свет или другое излучение.
Настоящее изобретение направлено на предоставление информации в реальном времени о содержимом массы технологического потока в виде суспензии, текущей в трубе, что устраняет по меньшей мере в некоторой степени недостатки существующих практик, упомянутых выше.
СУЩНОСТЬ ИЗОБРЕТЕНИЯ
Согласно первому аспекту настоящего изобретения предложен способ анализа движущейся суспензии, причем указанный способ включает:
обеспечение течения суспензии с полностью развитой турбулентностью в вертикальной трубе таким образом, что текущая суспензия заполняет все поперечное сечение трубы;
предоставление прозрачного окна в стенке трубы, причем указанное окно находится заподлицо с внутренней частью трубы;
излучение света из источника света через окно на текущую суспензию внутри трубы в зоне контроля;
проведение множества отдельных измерений отдельных твердых частиц в текущей суспензии путем сбора света, отраженного от зоны контроля;
сопоставление результатов статистически значимого количества отдельных измерений с предоставлением характеристики текущей суспензии в целом.
Термин «гладкая», используемый в данном описании по отношению к трубе, означает, что внутренняя часть трубы по существу не имеет помех, таких как поверхностные аномалии, изгибы, изменения диаметра или т.п.
Используемый в данном документе термин «труба» содержит всю трубу, но также содержит часть или участок трубы.
Используемый в данном документе термин «вертикальный» содержит ориентацию, которая является идеально вертикальной, но также содержит ориентации, которые отклоняются от идеальной вертикали на малый градус.
Используемый в данном документе термин «статистически значимый» означает, что количество оцениваемых измерений достаточно велико, чтобы обеспечить заданную степень точности вычисленных характеристик с неопределенностью, превышающей вероятность. В качестве примера, если 40000 частиц в массе классифицируются путем отдельного измерения, то 1,0 % от присутствующей массы определенного класса частиц приведет к 400 положительным классификациям, обычно со стандартным отклонением ± 20 частиц (неопределенность ± 0,05 %), что означает, что 40000 измерений обеспечивают возможность статистически значимого различия между присутствием 1,0 % и 0,9 % класса частиц в массе.
Источник света может быть включен в импульсном режиме в течение достаточно коротких периодов времени, чтобы расстояние перемещения частиц за указанный период времени было меньше максимального предполагаемого диаметра указанных частиц.
Сбор света может быть внедрен в течение коротких периодов времени, чтобы расстояние перемещения частиц за указанный период времени было меньше максимального предполагаемого диаметра указанных частиц.
Источник света может быть направлен под острым углом относительно оси сбора света на зону контроля.
Несколько источников света, каждый с разным диапазоном длин волн, могут быть использованы для освещения зоны контроля, каждый с разного направления, так что свет из разных источников света перекрывается в зоне контроля.
Источник света может быть сфокусирован на области в зоне контроля, которая меньше предположительно присутствующих наибольших частиц.
Энергия импульса источника света может быть достаточно высокой, чтобы вызвать светоиндуцированный пробой поверхности частиц до состояния плазмы.
Источник света может быть направлен через иммерсионное масло вместо воздуха на прозрачное окно в стенке трубы для минимизации отражений от указанного окна, потери света и рассеянного света.
Источник света может быть направлен через оптическую среду с высоким показателем преломления, механически обработанный и отполированный до такой формы, чтобы достичь плотного оптического контакта с прозрачным окном и с механически обработанной второй поверхностью, ортогональной направлению источника света, для минимизации отражения.
Каждый источник света может быть направлен через призму с одной поверхностью, которая находится в плотном оптическом контакте с прозрачным окном, и второй поверхностью, ортогональной направлению источника света, для минимизации отражений от указанного окна, потери света и рассеянного света.
Источником света может быть когерентный монохроматический луч, размер которого достаточно велик, чтобы покрывать зону контроля и частично отражаться от окна, чтобы служить в качестве опорного луча для цифровой голографии, где свет, как отраженный от зоны контроля, так и частично отраженный от окна, собирается датчиком двумерного изображения без линз для захвата интерферограмм для дальнейшей обработки сигнала цифровой голографии.
Свет может собираться узлом линзы и фокусироваться на датчике двумерного изображения с достаточно малыми пикселями, чтобы различать отдельные частицы.
Датчик двумерного изображения может обеспечивать многоспектральный вывод.
Свет может собираться узлом линзы и фокусироваться на датчике одномерного гиперспектрального изображения с достаточно малыми пикселями, чтобы различать отдельные частицы, где двумерное гиперспектральное изображение может быть построено путем записи большого количества штриховых изображений суспензии, движущейся мимо датчика, подобно формирователю изображений с веерным сканированием.
Способ может включать съемку множества последовательных цифровых изображений текущей суспензии и анализ цифровых изображений с помощью способов обработки цифровых изображений для идентификации двумерного размера отдельных частиц, и результаты достаточного количества частиц из достаточного количества изображений могут быть объединены, чтобы получить в результате статистически значимое представление распределения по размеру частиц в массе суспензии.
Способы обработки цифровых изображений могут быть использованы для анализа формы отдельных частиц, и результаты достаточного количества частиц из достаточного количества изображений могут быть объединены, чтобы обеспечить статистически значимое представление распределения по форме частиц в массе суспензии.
Может быть получено многоспектральное изображение, и могут быть использованы способы обработки цифровых изображений для идентификации спектральных интенсивностей отдельных частиц.
Может быть получено многоспектральное изображение, и спектральные интенсивности источника света могут быть определены по коэффициенту зеркального отражения от пузырьков, чтобы служить в качестве эталонных спектральных интенсивностей и, таким образом, обеспечивать вычисление относительного спектрального коэффициента диффузного отражения для отдельных частиц.
Материал каждой частицы может быть идентифицирован согласно геометрическому расстоянию между ее относительным спектральным коэффициентом диффузного отражения и ближайшим относительным спектральным коэффициентом диффузного отражения эталонных материалов, сохраненных в таблице, и может быть сопоставлено достаточно большое количество результатов для обеспечения статистически значимого представления материального состава содержания твердых частиц в массе суспензии.
Общая поверхность частиц, суммированная по большому количеству изображений, может быть вычислена как доля суммы площадей поверхности всех изображений, и результаты могут затем служить в качестве монотонно возрастающего индикатора доли твердых частиц в суспензии.
Общая поверхность идентифицированных пузырьков, суммированная по большому количеству изображений, может быть вычислена как доля суммы площадей поверхности всех изображений, и результаты могут затем служить в качестве монотонно возрастающего индикатора доли газа в суспензии.
Свет может собираться узлом линзы и направляться на спектрометр с цифровым выводом.
Способ может включать направление света из источника света и света, возвращенного из зоны контроля, соосно в противоположных направлениях и разделение их путем использования частично отражающего зеркала под острым углом к средней оси света.
Способ может включать съемку множества последовательных цифровых спектрограмм зоны контроля в текущей суспензии и анализ каждой цифровой спектрограммы с помощью хемометрических способов для идентификации наиболее вероятного материала, который находился в зоне контроля в течение времени, когда была снята спектрограмма, а затем классификацию результата как типа твердых частиц, пузырька газа или транспортирующей жидкости для достаточно большого количества измерений, чтобы создать статистически значимое представление состава массы суспензии.
Может быть вычислена общая доля спектрограмм, классифицированных как твердые частицы, и результат может затем служить в качестве монотонно возрастающего индикатора доли твердых частиц в суспензии.
Способ может включать компенсацию с помощью машинного обучения путем корректировки результатов на основании лабораторного анализа массовых образцов, взятых во время нескольких измерений, для компенсации возможных нелинейных эффектов и искажения представления при вычислении характеристики текущей суспензии в целом.
Способ может включать использование области длины волны, которая меньше длины волны первичного источника света в Стокс-анализаторе комбинационного рассеяния света, путем добавления длиннопроходного дихроичного зеркала с нижней критической длиной волны, которая ниже, чем у первичного источника света, в канал первичного источника света.
Способ может включать добавление линзовой камеры за указанным длиннопроходным дихроичным зеркалом, причем указанная линзовая камера выполнена с возможностью захвата изображения области анализа.
Способ может включать обеспечение поляризационного лучеделителя и вторичного коллимированного источника света, которые выполнены с возможностью излучения длин волн, которые включают длины волн, которые меньше, чем длины волн первичного источника света, для освещения области анализа.
Вторичный источник света может иметь геометрический фактор, который ниже, чем у первичного источника света, для увеличения размера его пятна в зоне контроля.
Способ может включать использование вторичного источника света со слегка расфокусированным коллиматором для увеличения размера его пятна в зоне контроля.
Труба может быть прямой на длину, которая по меньшей мере в восемь раз превышает диаметр трубы.
Суспензия может течь вверх в трубе.
Труба может быть прямой, гладкой и не имеет помех.
Максимальные предполагаемые размеры твердых частиц в суспензии могут составлять менее 2 % от диаметра трубы.
Согласно еще одному аспекту настоящего изобретения предложено устройство для анализа движущейся суспензии твердых частиц в жидкой среде, причем указанное устройство содержит:
прозрачное окно, которое находится заподлицо с внутренней частью стенки вертикальной трубы;
источник света, выполненный с возможностью излучения света снаружи окна через окно на суспензию, текущую внутри трубы в зоне контроля;
измерительное устройство, выполненное с возможностью проведения множества отдельных измерений отдельных твердых частиц в текущей суспензии путем сбора света из зоны контроля; и
процессор, выполненный с возможностью сопоставления результатов статистически значимого количества отдельных измерений для предоставления характеристики текущей суспензии в целом.
Устройство может быть использовано в способе, описанном выше в данном документе.
КРАТКОЕ ОПИСАНИЕ ГРАФИЧЕСКИХ МАТЕРИАЛОВ
Для лучшего понимания настоящего изобретения и для демонстрации того, как оно может быть реализовано, настоящее изобретение далее будет описано в качестве неограничивающего примера со ссылкой на прилагаемые графические материалы, на которых:
на фиг. 1A представлено схематическое представление использования спектрального анализа для отслеживания текущей суспензии согласно известному уровню техники;
на фиг. 1B представлено схематическое представление способов настоящего изобретения для сравнения с известным уровнем техники;
на фиг. 2 представлен продольный разрез одного варианта осуществления устройства согласно настоящему изобретению для анализа движущейся суспензии;
на фиг. 3 представлен подробный вид в разрезе, сделанный по III-III через сапфировое окно, показанное на фиг. 2;
на фиг. 4 представлено схематическое представление освещения в зоне контроля в устройстве по фиг. 2;
на фиг. 5A-5E подробно показана область V устройства по фиг. 2, а также 4 варианта к ней;
на фиг. 6 представлен вид в разрезе, сделанный по VI-VI через корпус прибора по фиг. 5B;
на фиг. 7 представлено схематическое представление дихроичного разделителя цветов для использования в настоящем изобретении;
на фиг. 8 представлено схематическое представление освещения и спектрального анализа согласно второму варианту осуществления настоящего изобретения;
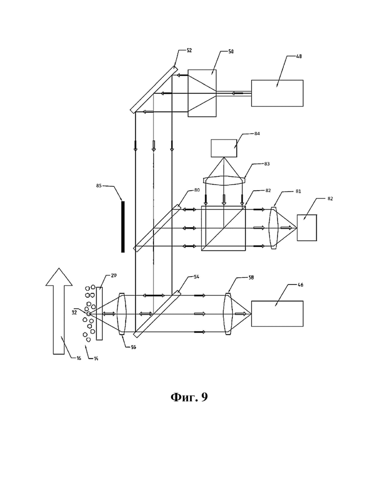
на фиг. 9 представлено схематическое представление расширенного варианта освещения и спектрального анализа по фиг. 8;
на фиг. 10 показано изображение (фотография) устройства, используемого при экспериментальной реализации освещения и спектрального анализа по фиг. 8;
на фиг. 11 показаны экспериментальные результаты, полученные с использованием устройства по фиг. 8 и способа известного уровня техники по фиг. 1A; и
на фиг. 12 показаны экспериментальные результаты, полученные с использованием устройства и способа по фиг. 8.
ПОДРОБНОЕ ОПИСАНИЕ ГРАФИЧЕСКИХ МАТЕРИАЛОВ
Ссылаясь на фиг. 1B, в отличие от известного уровня техники, показанного на фиг. 1A, в настоящем изобретении было обнаружено, что, делая концептуально противоположное известному уровню техники, можно получить более точные измерения, например, путем увеличения количества измерений на 5 величин из 10, уменьшения измеряемой области на 9 величин из 10 и уменьшения периода измерения на 8 величин из 10 (обычно 50000 отдельных измерений области с диаметром в десятки мкм за время в 1 мкс). На фиг. 1B показана зона контроля или область интереса (ROI), которая исследуется при отдельном измерении, и она указывает на отдельную частицу 32, которая анализируется независимо от смежных частиц.
Настоящее изобретение не зависит от очень точной и сложной количественной оценки небольшого количества измерений среднего значения большого количества частиц, как это делается в известном уровне техники и как показано на фиг. 1A, а скорее зависит от относительно более простой идентификации (классификации) большого количества измерений отдельных частиц и объединения измерений в один результат.
Настоящее изобретение основывается на следующих предположениях, которые были подтверждены экспериментальными данными, что:
минералы в достаточно малом масштабе не смешиваются, а встречаются в виде малых кристаллов отдельных минералов, и поэтому могут быть классифицированы;
классификацию материалов, также известную как идентификация, значительно легче выполнить, чем количественную оценку, но она может быть выполнена только в том случае, если такие материалы не смешаны, а по меньшей мере в некоторой степени отделены друг от друга; и
искажение в результатах возникает там, где имеется искажение в размере частиц, в зависимости от минерала или материала.
Ссылаясь на фиг. 2-7, первый вариант осуществления устройства для анализа движущейся суспензии согласно настоящему изобретению, как правило, идентифицирован ссылочной позицией 10.
Устройство 10 установлено на вертикальной трубе 12, по которой течет суспензия 14, и суспензия предпочтительно течет вверх, как показано указательной стрелкой 16. Суспензия 14 содержит малые твердые частицы, взвешенные в жидкости, а также содержит некоторое количество пузырьков газа. Суспензия 14 заполняет все поперечное сечение трубы 12. Труба 12 является прямой и гладкой и предпочтительно имеет прямую длину, которая по меньшей мере в восемь раз превышает диаметр трубы. Расход суспензии 14 таков, что она течет в трубе 12 с полностью развитой турбулентностью, а размеры частиц в суспензии составляют менее 2 % от диаметра трубы. Было обнаружено, что при соблюдении этих условий характеристики части суспензии 14, текущей мимо устройства (через зону контроля - см. ниже), являются репрезентативными для суспензии, проходящей по трубе 12.
Стенка трубы 12 образует отверстие 17, в котором корпус 18 прибора устройства 10 может быть установлен водонепроницаемым образом. Корпус 18 прибора поддерживает прозрачное окно 20, предпочтительно из износостойкого материала, такого как сапфир, так что поверхности корпуса прибора и сапфирового окна находятся заподлицо с внутренней частью трубы 12, чтобы не создавать значительной помехи течению суспензии 14 мимо сапфирового окна.
Устройство 10 дополнительно содержит монохромную камеру 22, поддерживаемую на подставке 24, и узел 26 линзы объектива, так что камера может захватывать изображения суспензии 14, текущей мимо сапфирового окна 20, и сохранять изображения в цифровом виде для анализа компьютером. Подставка 24 позволяет перемещать камеру 22 и/или линзу 26 объектива для фокусировки на суспензии, текущей внутри трубы 12 мимо поверхности сапфирового окна 20.
Узел 26 линзы объектива выполнен с возможностью сбора света из очень малой области внутри суспензии 14 перед сапфировым окном 20 (зона контроля) и проецирования света в виде изображения на датчик формирователя изображений камеры 22.
Устройство 10 дополнительно содержит по меньшей мере один источник 28 света для освещения суспензии 14, текущей мимо поверхности сапфирового окна 20. Световод 30, такой как оптическое волокно, может быть использован для направления света из источника к суспензии.
Источник 28 света предпочтительно является источником освещения со вспышкой, способным генерировать световой импульс достаточно короткой продолжительности и достаточной интенсивности для захвата неподвижного изображения движущихся твердых частиц в суспензии 14 в зоне контроля. Свет, излучаемый источником 28 света, имеет подходящую числовую апертуру (NA) для освещения всей зоны контроля, не препятствуя оптическому пути камеры и не проецируя излишний свет за пределы зоны контроля.
Как более конкретно показано на фиг. 4 и 6, устройство 10 предпочтительно содержит несколько источников 28 света со вспышкой, каждый с отдельным световодом, и в предпочтительном варианте осуществления источники света излучают свет в разных диапазонах длин волн (например, красный, зеленый и синий свет соответственно) под разными углами, так что свет от всех трех источников освещает зону контроля. Три световых луча с разными диапазонами длин волн идентифицированы на фиг. 4 как R - красный, G - зеленый, и B - синий. Предусмотрен механизм для синхронизации источников 28 света и камеры 22 таким образом, чтобы излучать вспышку света одновременно от каждого источника света для каждого периода экспозиции камеры.
Вместо использования монохромной камеры 22 камера может быть гиперспектральной линейной камерой с достаточно малыми пикселями, чтобы различать отдельные частицы, где двумерное гиперспектральное изображение построено путем записи большого количества штриховых изображений суспензии, движущейся мимо датчика, подобно формирователю изображений с веерным сканированием.
Вместо использования монохромной камеры 22 камера может представлять собой многоспектральную камеру с двумя или более диапазонами длин волн. Использование разных диапазонов длин волн света, излучаемого под разными углами на твердые частицы 32 в зоне контроля, что соответствует по меньшей мере некоторым диапазонам длин волн многоспектральной камеры, может способствовать отображению трехмерных форм частиц с использованием цветной фотометрической стереоскопии.
Угол между оптической осью каждого источника освещения, т.е. угол, под которым свет излучается из каждого световода 30 в зону контроля, и общей оптической осью камеры 22 и узла 26 линзы объектива предпочтительно является как можно большим, чтобы подчеркнуть эффект цветной фотометрической стереоскопии, однако не настолько большим, чтобы вызвать излишнее отражение света из источника 28 света от поверхностей сапфирового окна 20 либо со стороны 66 источника света, либо со стороны 64 суспензии. Такие отражения из-за больших углов более выражены при больших различиях между показателями преломления оптических сред, как показано отраженным светом 59.
Числовая апертура и деление диафрагмы узла 26 линзы объектива и камеры 22 предпочтительно используются для ограничения глубины резкости в части зоны контроля, которая фотографируется, т.е. в зоне 34 контроля, для которой захватывается цифровое изображение.
В вариантах осуществления, где камера 22 представляет собой либо многоспектральную камеру, либо гиперспектральную камеру, диффузные спектральные интенсивности отдельных частиц могут быть идентифицированы с помощью способов обработки цифровых изображений. Кроме того, любые пузырьки можно идентифицировать по их круглым формам и сильным зеркальным отражениям. Спектры зеркальных отражений в силу своих свойств пропорциональны спектру источника света и поэтому могут быть использованы в качестве ссылочного материала для вычисления относительных спектральных коэффициентов диффузного отражения частиц по их отдельным диффузным спектральным интенсивностям. Во время калибровки можно построить библиотеку эталонных материалов, сохранив их относительные спектральные коэффициенты диффузного отражения в таблице на компьютере. Впоследствии, во время эксплуатации, каждая спектрограмма идентифицируется согласно геометрическому расстоянию между ее относительным спектральным коэффициентом диффузного отражения и ближайшим относительным спектральным коэффициентом диффузного отражения эталонных материалов, сохраненных в такой таблице. Затем достаточно большое количество таких результатов сопоставляется со статистически значимым представлением материального состава содержания твердых частиц в массе суспензии.
Ссылаясь на фиг. 5A, для обработки изображений, такой как, например, цветная фотометрическая стереоскопия, преимущественно освещать зону контроля таким образом, чтобы угол между оптической осью камеры 22 и оптической осью освещения цели (твердой частицы 32 в зоне контроля) был максимальным. Если угол слишком большой, значительное количество света может быть неправильно отражено 59. В предпочтительном варианте осуществления предложен способ увеличения этого угла сверх физических ограничений, которые применяются при прохождении света из источника, через воздух, через сапфир, через воду и в цель путем замены воздушного зазора между источником освещения и сапфиром оптически прозрачной текучей средой или твердой частицей с высоким показателем преломления. В примере, проиллюстрированном на фиг. 5B, это делается путем пропускания света от световодов 30 через иммерсионное масло 36 (или альтернативно прозрачную смолу с высоким показателем преломления), которое удерживается между сапфировым окном 20 и оптическим окном 38.
В дополнительном предпочтительном варианте осуществления (фиг. 5C) предложен способ увеличения этого угла путем замены указанного воздушного зазора механически обрабатываемой оптической средой с высоким показателем преломления, такой как акриловая смола 62, механически обработанная в полуконическую форму и отполированная для достижения плотного оптического контакта с сапфировым окном 20 и механически обработанной второй поверхностью 67, ортогональной направлению света, для минимизации отражения.
В дополнительном предпочтительном варианте осуществления (фиг. 5D) предложен способ увеличения этого угла путем замены указанного воздушного зазора призмой для каждого источника света с одной поверхностью 60, находящейся в плотном оптическом контакте с сапфировым окном 20, и второй поверхностью 61, ортогональной направлению света для минимизации отражения.
Дополнительным преимуществом этих способов, проиллюстрированных на фиг. 5B-5D, является то, что угол излучения источника света уменьшается, сужая световой луч от световода 30 (осветительного волокна). Это позволяет расположить источник освещения дальше от зоны контроля и вне поля зрения (FOV) камеры 22.
На фиг. 5E показан источник 68 когерентного монохроматического света, который создает освещающий луч 75 с достаточно большим диаметром для охвата зоны контроля и частичного отражения от поверхности 69 призмы, обращенной к суспензии 14, чтобы служить в качестве опорного луча 72 для цифровой голографии, где свет, отраженный 74 от зоны контроля, и опорный луч 72 собираются датчиком 71 двумерного изображения, например, ПЗС, без линз для захвата интерферограмм 73 от двух лучей 72 и 74 для дальнейшей обработки сигнала цифровой голографии для создания цифровых изображений.
Цифровые изображения зоны 34 контроля, либо захваченные камерой 22, либо созданные из цифровых голограмм, захваченных датчиком 71, сохраняются и анализируются на компьютере, который идентифицирует отдельные частицы 32 из суспензии 14 на каждом цифровом изображении и определяет размеры отдельных частиц из изображений. Используются результаты статистически важного количества проанализированных частиц 32, и распределение по размеру частиц выражено в процентах от общей массы твердых частиц для каждой доли заданного размера.
Аналогичным образом компьютер определяет формы отдельных частиц 32 из сохраненных цифровых изображений, и используются результаты статистически важного количества проанализированных частиц, и распределение по форме частиц выражено в процентах от общей массы твердых частиц для каждой заданной категории формы частиц.
Компьютер определяет размеры частиц 32 на сохраненных цифровых изображениях относительно общей площади зоны 34 контроля и использует эти данные для выражения содержания твердых частиц суспензии в процентном содержании твердых частиц по отношению к общему объему.
Компьютер также может идентифицировать и измерять пузырьки на сохраненных цифровых изображениях благодаря их сферической форме и коэффициенту зеркального отражения, так что содержание газа может быть выражено в виде доли или процента по отношению к общему объему суспензии 14.
На фиг. 7 показана конструкция для высокоэффективного цветоделителя, используемого для разделения света, излучаемого широкополосным источником 40 света, на три разных цвета путем последовательного пропускания света через два дихроичных длиннопроходных фильтра 42 и отражения оставшейся части от зеркала 44, чтобы направить три разных цвета в три отдельных оптико-волоконных световода 30.
Ссылаясь на фиг. 8, во втором варианте осуществления настоящего изобретения спектрометр 46 используется для анализа отдельных твердых частиц 32 в суспензии 14 вместо использования камеры для захвата цифровых изображений твердых частиц, как это делается в первом варианте осуществления настоящего изобретения, показанном на фиг. 2-7. В обоих вариантах осуществления настоящего изобретения применяются одни и те же принципы очень большого количества отдельных измерений отдельных частиц 32, каждое из которых проводится в течение очень короткого периода, при этом разница между двумя вариантами осуществления заключается в использовании анализа цифрового изображения для определения размера и формы частиц в случае первого варианта осуществления и спектрального анализа каждой частицы для ее классификации (определения ее содержимого) в случае второго варианта осуществления.
Источник света, используемый для спектроскопии во втором варианте осуществления, представляет собой импульсный источник 48 света, и свет, излучаемый источником, пропускается через расширитель луча и коллиматор 50 и отражается от зеркала 52 и частично отражающего зеркала 54 соответственно перед фокусировкой на зоне контроля с помощью узла 56 линзы объектива. Свет, отраженный от или излучаемый из зоны контроля, проходит через узел 56 линзы объектива, проходит через частично отражающее зеркало 54 и фокусирующую линзу 58 к спектрометру 46 для анализа.
В предпочтительном варианте осуществления импульсный источник 48 света представляет собой импульсный монохроматический лазер, частично отражающее зеркало 54 является либо полосным, либо длиннопроходным дихроичным зеркалом, и обратный свет возникает из-за лазероиндуцированной флуоресценции, комбинационного рассеяния света или из-за светоиндуцированного пробоя до состояния плазмы.
В дополнительном предпочтительном варианте осуществления импульсный источник 48 света является немонохроматическим источником света, например, ксеноновой вспышкой, частично отражающее зеркало 54 может быть полусеребряным зеркалом, чтобы отражать разные длины волн в равной степени, и обратный свет обусловлен коэффициентом диффузного и зеркального отражения.
Числовая апертура узла 56 линзы объектива предпочтительно используется для ограничения глубины резкости в части зоны контроля, которая освещается и измеряется, т.е. в области вокруг частицы 32.
Каждая полученная в результате спектрограмма со спектрометра 46 будь то из-за лазероиндуцированной флуоресценции, комбинационного рассеяния света, светоиндуцированного пробоя, диффузной или зеркальной отражательной способности анализируется с использованием хемометрических способов для идентификации наиболее вероятного материала, который находился в зоне контроля движущейся суспензии в течение времени, когда была снята спектрограмма, и затем классифицируется как тип твердых частиц, пузырек газа или транспортирующая жидкость. Анализируется достаточно большое количество спектрограмм, чтобы создать статистически значимое представление состава массы суспензии.
Ссылаясь на фиг. 9, второй вариант осуществления настоящего изобретения, показанный на фиг. 8, дополнительно расширен, чтобы содержать камеру 82 с ее линзой 81, длиннопроходное дихроичное зеркало 80 вместе с источником 84 света, коллимирующей оптикой 83, лучеделителем 82 и длинноволновым поглотителем 85. В вариантах осуществления, где нижняя критическая длина волны длиннопроходного дихроичного зеркала 54 выбрана чуть выше, чем у источника 48 света, нижняя критическая длина волны длиннопроходного дихроичного зеркала 80 выбрана чуть ниже, чем у источника 48 света.
Это расширение, показанное на фиг. 9, добавляет возможность изображения каждой частицы при получении снимка от источника 48 света, даже если изображение ограничено длинами волн, которые меньше, чем у источника 48 света. Преимущество заключается в том, что доступно больше информации о каждом снимке, например, получила ли частица полное или частичное пятно освещения, размер каждой анализируемой частицы и коэффициент отражения каждой частицы на меньших длинах волн. Затем эта дополнительная информация может быть статистически коррелирована с лабораторными анализами эталонных образцов суспензии, и такие корреляции вычитаются из необработанных результатов, чтобы уменьшить искажение результатов из-за размера частиц или типа минерала. Расширение, показанное на фиг. 9, также не создает помех спектрометру 46, который принимает только большие длины волн стоксовых спектров комбинационного рассеяния света.
Большие длины волн, чем у источника 48 света, из источника 84 света пропускаются длиннопроходным дихроичным зеркалом 80 и поглощаются темным поглотителем 85. Меньшие длины волн, чем у источника 48 света, отражаются длиннопроходными дихроичными зеркалами 80 и 54 и фокусируются линзой 56 на частице 32. В предпочтительном варианте осуществления источник 84 света может представлять собой широкополосную лампу-вспышку с меньшим геометрическим фактором, чем у источника 48 света, который может представлять собой лазер, что приводит к большему размеру пятна малых длин волн из источника 84 света, чем для источника 48 света. Это пятно большего размера затем отображается через окно 20, линзу 56, дихроичные зеркала 54 и 80, лучеделитель 82 и линзу 81 на светочувствительный датчик камеры 82. Лучеделитель 82 может представлять собой поляризационный лучеделитель для уменьшения зеркального отражения от всех оптических поверхностей на пути формирования изображений.
Ссылаясь на все фиг. 1B-9, если какой-либо из следующих принципов не соблюдается, это отрицательно сказывается на точности результатов, определяемых настоящим изобретением:
суспензия 14 должна течь в трубе 12 с полностью развитой турбулентностью;
труба 12 должна быть прямой, гладкой и не иметь помех;
труба 12 должна быть близка к вертикальной;
текущая суспензия 14 должна заполнять все поперечное сечение трубы 12;
максимальный размер твердых частиц 32 в суспензии 14 составляет менее 2 % от диаметра трубы 12; и
окно 20 должно находиться заподлицо с внутренней частью трубы 12.
Настоящее изобретение обладает следующими преимуществами по сравнению с известным уровнем техники:
a) ошибка при взятии образца не возникает, поскольку из текущей суспензии 14 не извлекается ни одного промежуточного образца;
b) никаких отходов не образуется, так как ни один образец не снимается с производства;
c) не требуется никакой обработки образцов, подготовки образцов, возврата образцов или расходных материалов;
d) никакой временной задержки, так как фактическая обработанная суспензия 14 анализируется в реальном времени, и нет необходимости в транспортировке или подготовке промежуточных образцов;
e) низкая общая стоимость владения благодаря простоте настоящего изобретения, без подвижных частей;
f) никакого вмешательства человека не требуется, и техническое обслуживание практически не требуется;
g) хорошие пределы обнаружения благодаря измерению ряда небольших областей и использованию надежного статистического способа подсчета вместо точного усредняющего массового измерения;
h) высокотехнологичная оценка влияния отдельных частиц 32 в больших количествах;
i) можно выбрать очень прочное окно 20, например, сапфировое, способное выдерживать высокие температуру и давление, химическую коррозию и механическую абразию;
j) турбулентное течение очищает окно 20 от наращивания статического материала;
k) вопреки ожиданиями экспериментальные результаты показали, что суспензия, представляемая напротив окна, является хорошим представлением массы. Следовательно, обеспечивается хорошее перемешивание суспензии 14 при соблюдении требований, перечисленных выше, поскольку любая частица 32 имеет равную случайную вероятность прохождения рядом с прозрачным окном 20, и искажение представления устраняется.
ЭКСПЕРИМЕНТАЛЬНОЕ ПОДТВЕРЖДЕНИЕ
Был реализован вариант осуществления настоящего изобретения, проиллюстрированный на фиг. 8 и описанный в данном документе выше, и на фиг. 10 показан вид сбоку луча источника 48 света, выходящего из окна 20 в суспензию 14. В этом случае источником света является лазер с модуляцией добротности 42 мкДж, 532 нм. Окно представляет собой сапфировое окно толщиной 3 мм. Изображение, показанное на фиг. 10, было сделано, когда суспензия содержала только воду до добавления каких-либо твердых частиц. Масштаб изображения составляет 9,5 мм слева направо.
Затем 60 г минеральной руды, содержащей циркон с несколькими минералами силиката алюминия и оксида алюминия в качестве примесей, добавляли в 180 мл воды и циркулировали в виде суспензии перед сапфировым окном в виде турбулентного течения. Используя методику известного уровня техники, как проиллюстрировано на фиг. 1A и описано в данном документе выше (размер пятна несколько мм, время интеграции несколько секунд), были получены сканы, показанные на фиг. 11.
Хотя видны типичные признаки комбинационного рассеяния света для циркона (1000 см-1), воды (3700 см-1), различных силикатов и оксидов алюминия (4400 см-1), свойство спектроскопии комбинационного рассеяния света означает, что интенсивность сигнала сильно варьируется. В зависимости от ориентации кристалла мощность его сигнала может варьироваться более чем на порядок. Следовательно, как видно на фиг. 11, даже при максимально практически возможном времени интеграции изменение сигнала остается значительным; несколько процентов. Поэтому малые изменения концентрации невозможно обнаружить с помощью способа известного уровня техники для количественной оценки спектроскопии комбинационного рассеяния света.
Однако при использовании настоящего изобретения, как изображено на фиг. 1B и как описано в данном документе выше, более конкретно варианта осуществления, показанного на фиг. 8 (размер пятна 100 мкм при освещении 2 нс), были получены отличительные признаки для четырех типов минералов в дополнение к снимкам, в которые попала только вода, как показано на фиг. 12.
| название | год | авторы | номер документа |
|---|---|---|---|
| СПОСОБ ДИАГНОСТИКИ ВОЗБУДИТЕЛЕЙ ИНФЕКЦИОННЫХ И ПАРАЗИТАРНЫХ БОЛЕЗНЕЙ И УСТАНОВКА ДЛЯ ЕГО ОСУЩЕСТВЛЕНИЯ | 1997 |
|
RU2123682C1 |
| ВИДЕОСПЕКТРОМЕТР ДЛЯ ЭКСПРЕСС-КОНТРОЛЯ СВЕТООТРАЖАЮЩИХ ОБЪЕКТОВ | 2019 |
|
RU2728495C1 |
| АППАРАТ ДЛЯ НЕИНВАЗИВНОГО АНАЛИЗА in vivo ПОСРЕДСТВОМ СПЕКТРОСКОПИИ КОМБИНАЦИОННОГО РАССЕЯНИЯ | 2011 |
|
RU2549992C2 |
| ПОРТАТИВНЫЙ ВИДЕОСПЕКТРОМЕТР | 2020 |
|
RU2750292C1 |
| СПОСОБ ОТОБРАЖЕНИЯ ЗОН ЛОКАЛИЗАЦИИ ДЕФОРМАЦИИ ПОВЕРХНОСТИ И ОПТИКО-ТЕЛЕВИЗИОННОЕ УСТРОЙСТВО ДЛЯ ЕГО ОСУЩЕСТВЛЕНИЯ | 2001 |
|
RU2192621C2 |
| СИСТЕМА ИДЕНТИФИКАЦИИ СМЕСИ | 2006 |
|
RU2387975C2 |
| ФОТОПРИЕМНИК | 1993 |
|
RU2097711C1 |
| ПРОГРАММИРУЕМЫЙ ПОЛЯРИТОННЫЙ СИМУЛЯТОР | 2020 |
|
RU2745206C1 |
| УСТРОЙСТВО ОБРАБОТКИ КОЖИ НА ОСНОВЕ СВЕТА | 2017 |
|
RU2766165C2 |
| Способ раннего выявления возрастной макулярной дистрофии сетчатки | 2017 |
|
RU2651126C1 |
Изобретение относится к анализу в реальном времени движущихся суспензий для промышленных процессов, где суспензии твердых частиц, взвешенных в жидкостях, транспортируются по трубе. Предложено средство для анализа движущейся суспензии твердых частиц в жидкой среде, которое предусматривает: обеспечение течения суспензии с полностью развитой турбулентностью в вертикальной трубе таким образом, что текущая суспензия заполняет все поперечное сечение трубы; предоставление прозрачного окна в стенке трубы, причем указанное окно находится заподлицо с внутренней частью трубы; излучение света из источника света через окно на текущую суспензию внутри трубы в зоне контроля; проведение множества отдельных измерений отдельных твердых частиц в текущей суспензии путем сбора света, возвращенного из зоны контроля; сопоставление результатов статистически значимого количества отдельных измерений с предоставлением характеристики текущей суспензии в целом. Технический результат: возможность предоставления информации в реальном времени о содержимом массы технологического потока в виде суспензии, текущей в трубе. 4 н. и 51 з.п. ф-лы, 17 ил.
1. Способ анализа движущейся суспензии твердых частиц в жидкой среде, причем указанный способ включает:
обеспечение течения суспензии с полностью развитой турбулентностью в вертикальной трубе таким образом, что текущая суспензия заполняет все поперечное сечение трубы;
предоставление прозрачного окна в стенке трубы, причем указанное окно находится заподлицо с внутренней частью трубы;
излучение света из источника света через окно на текущую суспензию внутри трубы в зоне контроля;
сбор света, возвращенного из зоны контроля, в узле линзы;
направление света на спектрометр с цифровым выводом;
анализ света в спектрометре с определением материального состава отдельной частицы в зоне контроля; и
сопоставление материальных составов, определенных в спектрометре, статистически значимого количества отдельных частиц с предоставлением характеристического материального состава текущей суспензии в целом.
2. Способ по п. 1, отличающийся тем, что источник света включают в импульсном режиме в течение достаточно коротких периодов времени, чтобы расстояние перемещения частиц за указанный период времени было меньше максимального предполагаемого диаметра указанных частиц.
3. Способ по п. 1 или 2, отличающийся тем, что сбор света внедряют в течение коротких периодов времени, чтобы расстояние перемещения частиц за указанный период времени было меньше максимального предполагаемого диаметра указанных частиц.
4. Способ по любому из пп. 1-3, отличающийся тем, что источник света направляют на зону контроля под острым углом относительно оси сбора света.
5. Способ по любому из пп. 1-4, отличающийся тем, что источник света фокусируют на области в зоне контроля, которая меньше наибольших частиц, предположительно присутствующих в суспензии.
6. Способ по любому из пп. 1-5, отличающийся тем, что энергия импульса источника света является достаточно высокой, чтобы вызвать светоиндуцированный пробой поверхности частиц до состояния плазмы.
7. Способ по любому из пп. 1-6, отличающийся тем, что источник света направляют через иммерсионное масло на прозрачное окно в стенке трубы.
8. Способ по любому из пп. 1-6, отличающийся тем, что источник света направляют через оптическую среду с высоким показателем преломления, причем указанную оптическую среду механически обрабатывают и полируют до такой формы, чтобы достичь плотного оптического контакта с прозрачным окном и с механически обработанной второй поверхностью, ортогональной направлению источника света.
9. Способ по любому из пп. 1-6, отличающийся тем, что каждый из источников света направляют через призму с одной поверхностью, которая находится в плотном оптическом контакте с прозрачным окном, и второй поверхностью, ортогональной направлению источника света.
10. Способ по любому из пп. 1-4 и 9, отличающийся тем, что включает идентификацию материала каждой частицы согласно геометрическому расстоянию между относительным спектральным коэффициентом диффузного отражения и ближайшим относительным спектральным коэффициентом диффузного отражения эталонных материалов и сопоставление достаточно большого количества результатов со статистически значимым представлением материального состава содержания твердых частиц в массе суспензии.
11. Способ по любому из пп. 1-8, отличающийся тем, что свет собирают с помощью узла линзы и направляют на спектрометр с цифровым выводом.
12. Способ по любому из пп. 1-3, 5-8 и 11, отличающийся тем, что включает направление света из источника света и света, возвращенного из зоны контроля, соосно в противоположных направлениях и разделение их путем использования частично отражающего зеркала под острым углом к средней оси света.
13. Способ по п. 12, отличающийся тем, что включает съемку множества последовательных цифровых спектрограмм зоны контроля в текущей суспензии и анализ каждой цифровой спектрограммы с помощью хемометрических способов для идентификации наиболее вероятного материала, который находился в зоне контроля в течение времени, когда была снята спектрограмма, а затем классификацию результата как типа твердых частиц, пузырька газа или транспортирующей жидкости для достаточно большого количества измерений, чтобы создать статистически значимое представление состава массы суспензии.
14. Способ по любому из пп. 11-13, отличающийся тем, что вычисляют общую долю спектрограмм, классифицированных как твердые частицы и результат затем служит в качестве монотонно возрастающего индикатора доли твердых частиц в суспензии.
15. Способ по любому из пп. 10, 13 или 14, отличающийся тем, что включает компенсацию с помощью машинного обучения путем корректировки результатов на основании лабораторного анализа массовых образцов, взятых во время нескольких измерений, для компенсации возможных нелинейных эффектов и искажения представления при вычислении характеристики текущей суспензии в целом.
16. Способ по любому из пп. 11-13, отличающийся тем, что включает использование области длины волны, которая меньше длины волны первичного источника света в Стокс-анализаторе комбинационного рассеяния света, путем добавления длиннопроходного дихроичного зеркала с нижней критической длиной волны, которая ниже, чем у первичного источника света, в канал первичного источника света.
17. Способ по п. 16, отличающийся тем, что включает добавление линзовой камеры за указанным длиннопроходным дихроичным зеркалом, причем указанная линзовая камера выполнена с возможностью захвата изображения области анализа.
18. Способ по п. 16 или 17, отличающийся тем, что включает обеспечение поляризационного лучеделителя и вторичного коллимированного источника света, которые выполнены с возможностью излучения длин волн, которые включают длины волн, которые меньше, чем длины волн первичного источника света, для освещения области анализа.
19. Способ по п. 18, отличающийся тем, что вторичный источник света имеет геометрический фактор, который ниже, чем у первичного источника света, для увеличения размера его пятна в зоне контроля.
20. Способ по п. 18 или 19, отличающийся тем, что включает использование вторичного источника света со слегка расфокусированным коллиматором для увеличения размера его пятна в зоне контроля.
21. Способ по любому из предыдущих пунктов, отличающийся тем, что труба является прямой на длину, которая по меньшей мере в восемь раз превышает диаметр трубы.
22. Способ по любому из предыдущих пунктов, отличающийся тем, что суспензия течет вверх в трубе.
23. Способ по любому из предыдущих пунктов, отличающийся тем, что труба является прямой, гладкой и не имеет помех.
24. Способ по любому из предыдущих пунктов, отличающийся тем, что максимальные предполагаемые размеры твердых частиц в суспензии составляют менее 2 % от диаметра трубы.
25. Устройство для анализа движущейся суспензии твердых частиц в жидкой среде, причем указанное устройство содержит:
прозрачное окно, которое находится заподлицо с внутренней частью стенки вертикальной трубы;
источник света, выполненный с возможностью излучения света снаружи окна через окно на суспензию, текущую внутри трубы в зоне контроля;
спектрометр, расположенный на той же стороне движущейся суспензии, что и источник света, причем указанный спектрометр выполнен с возможностью определения материального состава множества отдельных твердых частиц в текущей суспензии путем сбора анализируемого света, возвращенного от отдельных твердых частиц в зоне контроля; и
процессор, выполненный с возможностью сопоставления материальных составов, определенных в спектрометре, статистически значимого количества отдельных частиц для предоставления характеристического материального состава текущей суспензии в целом.
26. Устройство по п. 25, отличающееся тем, что предназначено для использования в способе по любому из пп. 1-24.
27. Способ анализа движущейся суспензии твердых частиц в жидкой среде, причем указанный способ включает:
обеспечение течения суспензии с полностью развитой турбулентностью в вертикальной трубе таким образом, что текущая суспензия заполняет все поперечное сечение трубы;
предоставление прозрачного окна в стенке трубы, причем указанное окно находится заподлицо с внутренней частью трубы;
излучение света из источника света через окно на текущую суспензию внутри трубы в зоне контроля;
проведение множества отдельных измерений отдельных твердых частиц в текущей суспензии путем сбора света, возвращенного из зоны контроля; и
сопоставление результатов статистически значимого количества отдельных измерений с предоставлением характеристики текущей суспензии в целом,
причем указанный способ включает получение многоспектрального изображения, и определение по коэффициенту зеркального отражения от пузырьков спектральных интенсивностей источника света, которые служат в качестве эталонных спектральных интенсивностей, и вычисление относительного спектрального коэффициента диффузного отражения для отдельных частиц.
28. Способ по п. 27, отличающийся тем, что источник света включают в импульсном режиме в течение достаточно коротких периодов времени, чтобы расстояние перемещения частиц за указанный период времени было меньше максимального предполагаемого диаметра указанных частиц.
29. Способ по п. 27 или 28, отличающийся тем, что сбор света внедряют в течение коротких периодов времени, чтобы расстояние перемещения частиц за указанный период времени было меньше максимального предполагаемого диаметра указанных частиц.
30. Способ по любому из пп. 27-29, отличающийся тем, что источник света направляют на зону контроля под острым углом относительно оси сбора света.
31. Способ по любому из пп. 27-30, отличающийся тем, что множество источников света, каждый с разным диапазоном длин волн, используют для освещения зоны контроля, причем каждый из указанных источников света освещает зону контроля с разного направления, так что свет, излучаемый из разных источников света, перекрывается в зоне контроля.
32. Способ по любому из пп. 27-31, отличающийся тем, что источник света направляют через иммерсионное масло на прозрачное окно в стенке трубы.
33. Способ по любому из пп. 27-31, отличающийся тем, что источник света направляют через оптическую среду с высоким показателем преломления, причем указанную оптическую среду механически обрабатывают и полируют до такой формы, чтобы достичь плотного оптического контакта с прозрачным окном и с механически обработанной второй поверхностью, ортогональной направлению источника света.
34. Способ по любому из пп. 27-31, отличающийся тем, что каждый из источников света направляют через призму с одной поверхностью, которая находится в плотном оптическом контакте с прозрачным окном, и второй поверхностью, ортогональной направлению источника света.
35. Способ по любому из пп. 27-34, отличающийся тем, что свет собирают с помощью узла линзы и фокусируют на датчике двумерного изображения с достаточно малыми пикселями, чтобы различать отдельные частицы, при этом датчик двумерного изображения обеспечивает многоспектральный вывод.
36. Способ по любому из пп. 27-34, отличающийся тем, что включает сбор света с помощью узла линзы, и фокусировку на датчике одномерного гиперспектрального изображения с достаточно малыми пикселями, чтобы различать отдельные частицы, и построение двумерного гиперспектрального изображения путем записи большого количества штриховых изображений суспензии, движущейся мимо датчика, подобно формирователю изображений с веерным сканированием.
37. Способ по любому из пп. 27-36, отличающийся тем, что включает получение многоспектрального изображения и использование способов обработки цифровых изображений для идентификации спектральных интенсивностей отдельных частиц.
38. Способ по любому из пп. 27-37, отличающийся тем, что включает идентификацию материала каждой частицы согласно геометрическому расстоянию между относительным спектральным коэффициентом диффузного отражения и ближайшим относительным спектральным коэффициентом диффузного отражения эталонных материалов и сопоставление достаточно большого количества результатов со статистически значимым представлением материального состава содержания твердых частиц в массе суспензии.
39. Способ по любому из пп. 27-38, отличающийся тем, что включает вычисление суммы общей поверхности идентифицированных пузырьков, суммированной по большому количеству изображений, как доли суммы площадей поверхности всех изображений и использование результата в качестве монотонно возрастающего индикатора доли газа в суспензии.
40. Способ по любому из пп. 27-30, 32 и 33, отличающийся тем, что свет собирают с помощью узла линзы и направляют на спектрометр с цифровым выводом.
41. Способ по любому из пп. 27-29, 32, 33 и 40, отличающийся тем, что включает направление света из источника света и света, возвращенного из зоны контроля, соосно в противоположных направлениях и разделение их путем использования частично отражающего зеркала под острым углом к средней оси света.
42. Способ по п. 40 или 41, отличающийся тем, что включает съемку множества последовательных цифровых спектрограмм зоны контроля в текущей суспензии и анализ каждой цифровой спектрограммы с помощью хемометрических способов для идентификации наиболее вероятного материала, который находился в зоне контроля в течение времени, когда была снята спектрограмма, а затем классификацию результата как типа твердых частиц, пузырька газа или транспортирующей жидкости для достаточно большого количества измерений, чтобы создать статистически значимое представление состава массы суспензии.
43. Способ по любому из пп. 40-42, отличающийся тем, что вычисляют общую долю спектрограмм, классифицированных как твердые частицы, и результат затем служит в качестве монотонно возрастающего индикатора доли твердых частиц в суспензии.
44. Способ по любому из пп. 38, 39, 42 или 43, отличающийся тем, что включает компенсацию с помощью машинного обучения путем корректировки результатов на основании лабораторного анализа массовых образцов, взятых во время нескольких измерений, для компенсации возможных нелинейных эффектов и искажения представления при вычислении характеристики текущей суспензии в целом.
45. Способ по любому из пп. 40-42, отличающийся тем, что включает использование области длины волны, которая меньше длины волны первичного источника света в Стокс-анализаторе комбинационного рассеяния света, путем добавления длиннопроходного дихроичного зеркала с нижней критической длиной волны, которая ниже, чем у первичного источника света, в канал первичного источника света.
46. Способ по п. 45, отличающийся тем, что включает добавление линзовой камеры за указанным длиннопроходным дихроичным зеркалом, причем указанная линзовая камера выполнена с возможностью захвата изображения области анализа.
47. Способ по п. 45 или 46, отличающийся тем, что включает обеспечение поляризационного лучеделителя и вторичного коллимированного источника света, которые выполнены с возможностью излучения длин волн, которые включают длины волн, которые меньше, чем длины волн первичного источника света, для освещения области анализа.
48. Способ по п. 47, отличающийся тем, что вторичный источник света имеет геометрический фактор, который ниже, чем у первичного источника света, для увеличения размера его пятна в зоне контроля.
49. Способ по п. 47 или 48, отличающийся тем, что включает использование вторичного источника света со слегка расфокусированным коллиматором для увеличения размера его пятна в зоне контроля.
50. Способ по любому из пп. 27-49, отличающийся тем, что труба является прямой на длину, которая по меньшей мере в восемь раз превышает диаметр трубы.
51. Способ по любому из пп. 27-50, отличающийся тем, что суспензия течет вверх в трубе.
52. Способ по любому из пп. 27-51, отличающийся тем, что труба является прямой, гладкой и не имеет помех.
53. Способ по любому из пп. 27-52, отличающийся тем, что максимальные предполагаемые размеры твердых частиц в суспензии составляют менее 2 % от диаметра трубы.
54. Устройство для анализа движущейся суспензии твердых частиц в жидкой среде, причем указанное устройство содержит:
прозрачное окно, которое находится заподлицо с внутренней частью стенки вертикальной трубы;
источник света, выполненный с возможностью излучения света снаружи окна через окно на суспензию, текущую внутри трубы в зоне контроля;
измерительное устройство, расположенное на той же стороне движущейся суспензии, что и источник света, причем указанное измерительное устройство выполнено с возможностью проведения множества отдельных измерений света, возвращенного от отдельных твердых частиц в текущей суспензии, путем сбора многоспектрального изображения, возвращенного из зоны контроля; и
процессор, выполненный с возможностью сопоставления результатов статистически значимого количества отдельных измерений для предоставления характеристики текущей суспензии в целом путем определения по коэффициенту зеркального отражения от пузырьков спектральных интенсивностей источника света, которые служат в качестве эталонных спектральных интенсивностей, и вычисления относительного спектрального коэффициента диффузного отражения для отдельных частиц.
55. Устройство по п. 54, отличающееся тем, что предназначено для использования в способе по любому из пп. 27-53.
| US 20180134973 A1, 17.05.2018 | |||
| СПОСОБ ОПРЕДЕЛЕНИЯ ПАРАМЕТРОВ ЧАСТИЦ, ВЗВЕШЕННЫХ В ЖИДКОСТИ, ПО СПЕКТРАМ МАЛОУГЛОВОГО РАССЕЯНИЯ СВЕТА И УСТРОЙСТВО ДЛЯ ЕГО ОСУЩЕСТВЛЕНИЯ | 2006 |
|
RU2321840C1 |
| Устройство для измерения дисперсного состава частиц в потоке жидкости или газа | 1986 |
|
SU1718047A1 |
| CA 2912218 C, 27.02.2018. | |||
Авторы
Даты
2025-02-03—Публикация
2021-06-22—Подача