ОБЛАСТЬ ТЕХНИКИ
Настоящее техническое решение относится к области оборудования систем вентиляции, в частности к линейным щелевым диффузорам, встраиваемых в потолок, изготавливаемый из гипсокартона (ГКЛ) и металлического каркаса.
УРОВЕНЬ ТЕХНИКИ
Линейные щелевые диффузоры используются для монтажа в подвесные потолки в целях сокрытия каркаса вентиляционной решетки и обеспечения требуемого распределения воздушных потоков.
Из патента US 4316407 A (AIR FACTORS WEST, опубл. 23.02.1982) известна конструкция щелевого диффузора, в котором дефлектор представляет собой два элемента, которые перемещаются в горизонтальной плоскости по двум боковым направляющим профилям. Между элементами формируется область прохождения воздушных масс.
Недостатком данного решения является сложность регулировки дефлектора, а также недостаточная эффективность фиксации дефлекторов. Также данная конструкция диффузора не позволяет сформировать горизонтальную струю, поскольку раздача воздуха происходит с углом отклонения до 25° относительно плоскости, что является значительным отклонением от горизонтального распределения приточного воздуха, создавая при этом дополнительные акустические шумы при работе вентиляции.
Кроме того, при изменении размера щели происходит заужение живого сечения диффузора, что влияет на акустические характеристики диффузора и, как следствие, на акустический комфорт потребителя. При одном и том же уровне шума, для раздачи одного и того же количества воздуха длина диффузора с зауженным живым сечением должна быть значительно больше. Может оказаться, что расчетная длина такого щелевого диффузора превышает периметр помещения, и в этом случае использование таких щелевых диффузоров практически не представляется возможным.
СУЩНОСТЬ ИЗОБРЕТЕНИЯ
Заявленное устройство направлено на решение технической проблемы в части создания новой эффективной конструкции щелевого диффузора, обеспечивающего формирование разнонаправленного воздушного потока при условии сохранения живого сечения диффузора, что в свою очередь позволяет достичь корректного воздухораспределения, повысить производительность диффузора при любом направлении приточного воздуха - от вертикального (90° относительно плоскости потолка) до горизонтального потока (от 0° до 5,5° относительно плоскости потолка).
Техническим результатом является повышение производительности диффузора и эффективности распределения воздушных потоков, проходящих через диффузор, за счет подвижного дефлектора, перемещаемого в поперечной горизонтальной плоскости, фиксируемого пружинным элементом.
В рамках реализации заявленного изобретения предложена конструкция вентиляционного диффузора, который выполнен из двух металлических профилей, соединенных по меньшей мере одной перемычкой, при этом перемычка содержит отверстие, через которое к по меньшей мере одной перемычке крепится посредством пружинного фиксатора по меньшей мере один дефлектор воздушных потоков, выполненный с возможностью его поперечного перемещения в горизонтальной плоскости.
В одном примере реализации отверстие в перемычке выполняется овальной или эллиптической формы.
В другом примере реализации дефлектор воздушных потоков может выполняться из полого профиля, который имеет Т-образную форму со скруглениями и содержит выступ. В другом примере реализации перемычка выполняется из U-образного профиля и крепится к профилям с помощью крепежных элементов.
В другом примере реализации диффузор может содержать дополнительную по меньшей мере одну перемычку, размещенную над основной перемычкой.
В другом примере реализации на по меньшей мере одной дополнительной перемычке может размещаться по меньшей мере один рассекатель воздушных потоков.
В другом примере реализации рассекатель воздушных потоков расположен в одной плоскости с по меньшей мере одним дефлектором воздушных потоков.
В другом примере реализации рассекатель воздушных потоков неподвижно зафиксирован на дополнительной перемычке и может выполняться из полого профиля.
В другом примере реализации профиль, из которого выполнен рассекатель воздушных потоков, выполняется V-образной формы.
В другом примере реализации в профиле, из которого выполнен рассекатель воздушных потоков, могут располагаться каналы.
В другом примере реализации профили диффузора имеют полую конструкцию.
В другом примере реализации профили имеют пазы, выполненные в верхней части профилей.
В другом примере реализации в пазы установлен выравниватель воздушного потока, который может выполняться в виде решетки или сетки.
КРАТКОЕ ОПИСАНИЕ ЧЕРТЕЖЕЙ
На Фиг. 1А-Фиг. 1Б изображен основной пример конструкции диффузора.
На Фиг. 2 изображен пример конструкции диффузора с двумя дефлекторами воздушных потоков.
На Фиг. 3 изображен диффузор в разрезе с пружинным фиксатором.
На Фиг. 4А-Фиг. 4Б изображен пример конструкции диффузора с рассекателем воздушных потоков, размещенным ниже выравнивателя воздушных потоков.
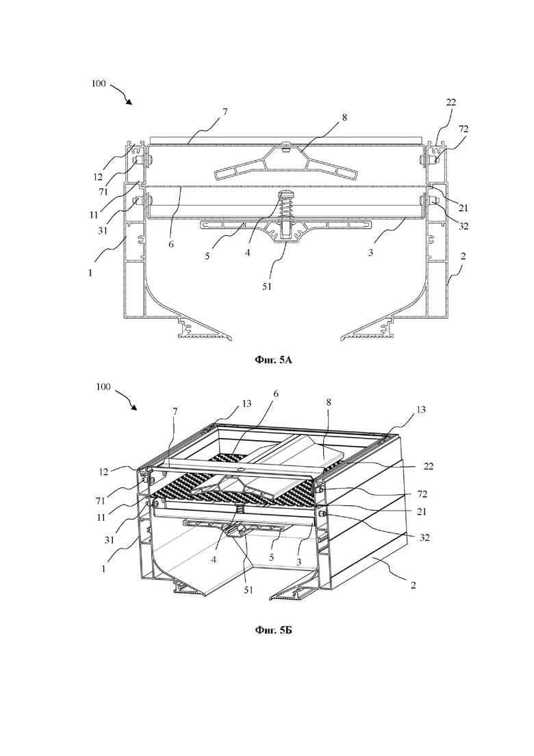
На Фиг. 5А-Фиг. 5Б изображен пример конструкции диффузора с рассекателем воздушных потоков, размещенным выше выравнивателя воздушных потоков.
На Фиг. 6 изображено моделирование отклонения воздушного потока при формировании горизонтальной струи при различных размерах щели диффузора.
На Фиг. 7А-Фиг. 7Б изображены размеры живого сечения диффузора при регулировке дефлектора.
ОСУЩЕСТВЛЕНИЕ ИЗОБРЕТЕНИЯ
На Фиг. 1А-Фиг. 1Б показан общий принцип заявленной конструкции диффузора (100). Вентиляционный диффузор (100) в общем случае выполняется из двух металлических профилей (1, 2).
Диффузор полностью окантовывается металлическими профилями с четырех сторон - два боковых (1, 2) и два торцевых, которые выполняют роль заглушек. Каждый из профилей представляет собой цельное изделие из металла. Использование торцевого профиля обеспечивает плотное примыкание навесного металлического каркаса и гипсокартона, а также более надежную фиксацию отделочного материала со всех четырех сторон диффузора.
Профили (1, 2) соединяются по меньшей мере одной перемычкой (3), в которой выполняется отверстие (41, см. Фиг. 2) овальной или эллиптической формы, через которое к перемычке (3) крепится посредством пружинного фиксатора (4) по меньшей мере один дефлектор (5) воздушных потоков, выполненный с возможностью его поперечного перемещения в горизонтальной плоскости.
В верхней части профилей (1, 2) выполняются пазы (11, 21), в которые устанавливается выравниватель (6) воздушного потока, выполняемый, как правило, в виде металлической решетки или сетки. Выравниватель (6) обеспечивает снижение скорости проходящих через диффузор потоков (6), что способствует более плавному истечению воздушных масс, проходящих через диффузор (100).
Также на верхней части профилей (1, 2) могут выполняться пазы (12, 22) для соединительных уголков (13), которые стыкуют боковые (1, 2) и торцевые профили. Данное решение добавляет жесткости конструкции и упрощает выравнивание и позиционирование профилей между собой при их сборке, повышая точность примыкания стыкуемых профилей друг к другу.
На Фиг. 2 показан пример выполнения диффузора (100) с двумя дефлекторами (5), при этом данный пример является лишь частным случаем выполнения конфигурации диффузора (100), не ограничивающим иные вариации его исполнения. В представленном примере в диффузоре (100) каждый из дефлекторов (5) закреплен на двух перемычках (3) через фиксаторы (4). При этом может выполняться закрепление дефлектора (5) как на одной, так и более чем на двух перемычках (3), что обусловлено необходимой длинной дефлектора (5) и самого диффузора (100).
Как показано на Фиг. 3, дефлектор (5) перемещается влево или вправо за счет конструкции пружинного фиксатора (4), который представляет собой крепежный элемент (например, болт или винт), содержащий пружину (44) и шайбы (42, 43). Шайбы (42, 43) размещаются по обе стороны перемычки (3), позволяя фиксатору (4) не проваливаться в отверстие (41) и обеспечивать перемещение дефлектора (5) в горизонтальной плоскости. Пружина (44) позволяет обеспечить надежную фиксацию дефлектора (5) в выбранной точке при его перемещении. На одной из сторон фиксатора (4) нанесена резьба, на которой размещается гайка (или может выполняться шляпка в случае применения винта), обеспечивающая удержание пружины (44). Такая конструкция крепления дефлектора (5) позволяет свободно и без лишний усилий регулировать направление воздушных потоков, проходящих через диффузор (100).
Регулировка дефлектора (5) осуществляется с помощью выступа (51), при взаимодействии с которым осуществляется его перемещение. Дефлектор выполняется из полого профиля, предпочтительно имеющего Т-образную форму, сформированную выступом (51) и дугообразной пластической проработкой профиля по бокам дефлектора (5) для обеспечения эффективного скольжения воздушных потоков.
Перемычка (3) представляет собой U-образный профиль, закрепляемый на профилях (1, 2) с помощью крепежных элементов (31, 32), которые могут представлять собой заклепки, саморезы, винты и т.п. Для позиционирования и точной установки перемычек (3) в профилях (1, 2) могут выполняться насечки. Перемычки повышают жесткость конструкции щелевого диффузора вне зависимости от его длины.
Подвижный дефлектор (5) воздушных потоков можно изготавливать и устанавливать сегментно по длине диффузора (100). Такая конструкция позволяет двигать его разнонаправленно, что позволяет формировать направление струи в обе стороны одновременно. Также конструкция диффузора (100) может предусматривать исполнение с тремя и более дефлекторами (5).
На Фиг. 4А-Фиг. 4Б представлен вариант исполнения конструкции диффузора (100) с дополнительным рассекателем (8) воздушных потоков. Рассекатель (8) выполняется предпочтительно из полого V-образного профиля и закрепляется на дополнительной перемычке (7), располагаемой выше основной перемычки (3). Дополнительная перемычка (7) выполняется конструктивно из U-образного профиля, который крепится посредством крепежных элементов (71, 72) к профилям (1, 2). Крепежные элементы (31, 32, 71, 72), как правило, являются идентичными.
Рассекатель (8) выполняет функцию распределения воздушных и обеспечивает дополнительное распределение воздушных масс внутри диффузора (100), что дополнительно повышает эффективность регулировки направления воздуха. Рассекатель (8) размещается в одной плоскости с дефлектором (5) и находится под выравнивателем (6).
На Фиг. 5А-Фиг. 5Б представлен вариант исполнения конструкции диффузора (100), при которой по сравнению с вариантом на Фиг. 4А-Фиг. 4Б рассекатель (8) размещается над выравнивателем (6), обеспечивая дополнительное распределение и торможение воздушных масс, проходящих через диффузор (100).
Представленные варианты исполнения диффузора (100), приведенные на Фиг. 4А-Фиг. 5Б, могут быть реализованы в исполнении, представленном на Фиг. 2, при котором диффузор содержит два и более дефлектора, над которыми может выполняться один или несколько рассекателей, в зависимости от размеров диффузора (100).
В каждом из вышеуказанных случаев рассекатель (8) неподвижно размещен на перемычке (7), закрепляемый с помощью одного или нескольких крепежных элементов. Рассекатель (8) может иметь различную форму и геометрия профиля, обеспечивая необходимую функцию в части разделения и распределения воздушных масс, проходящих далее к дефлектору (5).
Подвижный дефлектор (5) может выполняться индивидуальной формы, специально разработанной для формирования направления воздушных потоков от вертикального до горизонтального потока (от 0° до 5,5° относительно плоскости потолка в зависимости от ширины щели диффузора, см. Фиг. 6).
При любом положении дефлектора (5), при его перемещении для целей формирования горизонтальной струи на выходе из диффузора, сохраняется живое сечение диффузора (Фиг. 7А-Фиг. 7Б) и соответствует входному сечению 2L (ширина щели), что повышает производительность диффузора и акустический комфорт потребителя. В центральном положении дефлектор (5) отступает от его крайней точки с каждой стороны на ширину L от боковых профилей (1, 2). При любом его смещении для перекрытия одной стороны прохождения воздушных масс будет формироваться канал для перемещения воздушных масс, по ширине равный 2L, что по меньшей мере соответствует живому сечению диффузора.
Конструкция диффузора предусмотрена для монтажа под один и два слоя гипсокартона толщиной, предпочтительно, 12,5 мм. Дополнительно в нижней части профилей (1, 2) может выполняться фланец для нанесения финишной отделки. Глубина фланца составляет, предпочтительно, 2,3 мм. Фланец имеет углубления для лучшей адгезии финишного материала.
Таким образом, при реализации заявленной конструкции вентиляционного щелевого диффузора обеспечивается эффективное распределение воздушных потоков с сохранением живого сечения диффузора и объема подаваемого воздуха. Заявленная конструкция имеет большую производительность по сравнению с существующими аналогами и обеспечивает горизонтальное направление воздуха относительно плоскости с максимальным отклонением 5,5°. Конструкция предусматривает различные варианты монтажа и облегчает установку навесного потолка из металлических профилей и гипсокартона.
Техническое решение относится к области оборудования систем вентиляции, в частности к линейным щелевым диффузорам, встраиваемых в потолок, изготавливаемый из гипсокартона (ГКЛ) и металлического каркаса. Техническим результатом является повышение производительности диффузора и эффективности распределения воздушных потоков, проходящих через диффузор, за счет подвижного дефлектора, перемещаемого в поперечной горизонтальной плоскости, фиксируемого пружинным элементом. В рамках реализации заявленного изобретения предложена конструкция вентиляционного диффузора, который выполнен из двух металлических профилей, соединенных по меньшей мере одной перемычкой, при этом перемычка содержит отверстие, через которое к по меньшей мере одной перемычке крепится посредством пружинного фиксатора по меньшей мере один дефлектор воздушных потоков, выполненный с возможностью его поперечного перемещения в горизонтальной плоскости. 16 з.п. ф-лы, 11 ил.
1. Вентиляционный диффузор (100), выполненный из двух металлических профилей (1, 2), соединенных по меньшей мере одной перемычкой (3), при этом перемычка (3) содержит отверстие (41), через которое к по меньшей мере одной перемычке (3) крепится посредством пружинного фиксатора (4) по меньшей мере один дефлектор (5) воздушных потоков, выполненный с возможностью его поперечного перемещения в горизонтальной плоскости.
2. Диффузор по п.1, характеризующийся тем, что отверстие (41) имеет овальную или эллиптическую форму.
3. Диффузор по п.1, характеризующийся тем, что дефлектор (5) воздушных потоков выполнен из полого профиля.
4. Диффузор по п.3, характеризующийся тем, что профиль имеет Т-образную форму со скруглениями и содержит выступ (51).
5. Диффузор по п.1, характеризующийся тем, что перемычка (3) выполнена из U-образного профиля.
6. Диффузор по п.1, характеризующийся тем, что перемычка (3) крепится к профилям (1, 2) с помощью крепежных элементов (31, 32).
7. Диффузор по п.1, характеризующийся тем, что содержит дополнительную по меньшей мере одну перемычку (7), размещенную над перемычкой (3).
8. Диффузор по п.7, характеризующийся тем, что на по меньшей мере одной дополнительной перемычке (7) размещен по меньшей мере один рассекатель (8) воздушных потоков.
9. Диффузор по п.8, характеризующийся тем, что рассекатель (8) воздушных потоков расположен в одной плоскости с по меньшей мере одним дефлектором (5) воздушных потоков.
10. Диффузор по п.8, характеризующийся тем, что рассекатель (8) воздушных потоков неподвижно зафиксирован на дополнительной перемычке (7).
11. Диффузор по п.8, характеризующийся тем, что рассекатель (8) воздушных потоков выполнен из полого профиля.
12. Диффузор по п.11, характеризующийся тем, что профиль имеет V-образную форму.
13. Диффузор по п.11, характеризующийся тем, что в профиле выполнены каналы.
14. Диффузор по п.1, характеризующийся тем, что профили (1, 2) имеют полую конструкцию.
15. Диффузор по п.1, характеризующийся тем, что профили (1, 2) имеют пазы (11, 21), выполненные в верхней части профилей.
16. Диффузор по п.15, характеризующийся тем, что в пазы (11, 21) установлен выравниватель (6) воздушного потока.
17. Диффузор по п.16, характеризующийся тем, что выравниватель (6) воздушного потока выполнен в виде решетки или сетки.
| ПРОФИЛЬ ЛИНЕЙНОГО ЩЕЛЕВОГО ДИФФУЗОРА И ЛИНЕЙНЫЙ ЩЕЛЕВОЙ ДИФФУЗОР | 2023 |
|
RU2811217C1 |
| Линейный диффузор | 2023 |
|
RU2802561C1 |
| US 5215284 A1, 01.06.1993 | |||
| 0 |
|
SU212145A1 | |
| US 3308745 A, 14.03.1967 | |||
| US 6648752 B2, 18.11.2003 | |||
| US 3276348 A, 04.10.1966. | |||
Авторы
Даты
2025-02-03—Публикация
2024-07-18—Подача