УСТРОЙСТВО ДЛЯ ГЕНЕРИРОВАНИЯ АЭРОЗОЛЯ Российский патент 2025 года по МПК A24F40/50 

Описание патента на изобретение RU2834189C2

Область техники

[1] Один или несколько вариантов осуществления изобретения относятся к устройству для генерирования аэрозоля, генерирующему аэрозоль посредством ультразвуковых колебаний.

Предшествующий уровень техники

[2] В последнее время возросла потребность в альтернативах известным сгораемым сигаретам. Например, растет потребность в устройстве для генерирования аэрозоля, генерирующем аэрозоль за счет нагревания материала для генерирования аэрозоля, а не за счет горения в сигарете. В связи с этим активно проводились исследования сигарет нагревательного типа или устройств для генерирования аэрозоля нагревательного типа.

[3] Устройство для генерирования аэрозоля с использованием ультразвуковых колебаний согласно уровню техники генерирует аэрозоль путем тонкого расщепления сжиженного материала под действием ультразвуковых колебаний, когда вязкость сжиженного материала, соприкасающегося с источником ультразвуковых колебаний, уменьшается под действием ультразвуковых колебаний, генерируемых источником ультразвуковых колебаний, на который подают переменный ток. Для распыления сжиженного материала с помощью ультразвуковых колебаний необходимо повысить напряжение аккумулятора, вследствие чего из-за высокого напряжения в устройстве, используемом в схеме, может возникать сильный нагрев.

Сущность изобретения

Техническая задача

[4] Технической задачей, решаемой вариантами осуществления изобретения, является разработка устройства для генерирования аэрозоля с пониженным уровнем внутреннего нагрева.

[5] Технические недостатки, устраняемые посредством вариантов осуществления изобретения, не ограничиваются вышеописанными целями, и не упомянутые в данном описании цели будут очевидны специалистам в данной области техники из настоящего описания и прилагаемых чертежей.

Техническое решение

[6] Устройство для генерирования аэрозоля согласно вариантам осуществления изобретения содержит: корпус; первую печатную плату, расположенную вдоль одной поверхности корпуса; вторую печатную плату, которая расположена в корпусе и на которой установлен процессор, выполненный с возможностью генерирования управляющего сигнала, причем вторая печатная плата ориентирована в направлении, пересекающем направление одной поверхности корпуса.

Полезные эффекты изобретения

[7] Согласно вариантам осуществления изобретения количество печатных плат, помещенных в основной корпус, может быть увеличено до нескольких, и расположение различных модулей может быть оптимизировано благодаря увеличению количества печатных плат, что позволит предотвратить явление, при котором температура внутри устройства для генерирования аэрозоля поднимается до чрезвычайно высокого уровня, что может привести к неисправности устройства с низким тепловым сопротивлением.

[8] Полезные эффекты согласно одному из вариантов осуществления изобретения не ограничиваются описанными выше эффектами, и не упомянутые здесь эффекты будут очевидны специалисту в данной области техники из настоящего описания и прилагаемых чертежей.

Описание чертежей

[9] На ФИГ. 1 изображена блок-схема устройства для генерирования аэрозоля согласно одному из вариантов осуществления изобретения.

[10] На ФИГ. 2 изображена схема устройства для генерирования аэрозоля согласно одному из вариантов осуществления изобретения.

[11] На ФИГ. 3 изображен пример для описания температур основных устройств печатной платы, причем температуры постоянно повышаются, так как через устройство для генерирования аэрозоля непрерывно выполняются операции затяжки.

[12] На ФИГ. 4 изображен другой пример для описания температур основных устройств печатной платы, причем температуры постоянно повышаются, так как через устройство для генерирования аэрозоля непрерывно выполняются операции затяжки.

[13] На ФИГ. 5 схематично изображена внутренняя структура устройства для генерирования аэрозоля согласно вариантам осуществления изобретения.

[14] На ФИГ. 6 изображено расположение первой печатной платы и второй печатной платы.

[15] На ФИГ. 7 в деталях изображен кронштейн, показанный на ФИГ. 5.

[16] На ФИГ. 8 изображен пример датчика давления согласно вариантам осуществления изобретения.

Лучший вариант осуществления изобретения

[17] Устройство для генерирования аэрозоля согласно вариантам осуществления изобретения содержит: корпус; первую печатную плату, расположенную вдоль одной поверхности корпуса; вторую печатную плату, которая расположена в корпусе, на которой установлен процессор, выполненный с возможностью генерирования управляющего сигнала, и которая ориентирована в направлении, пересекающем направление одной поверхности корпуса.

Принцип изобретения

[18] Общие термины, использованные для описания различных вариантов осуществления изобретения и широко используемые в настоящее время, выбраны с учетом функции конструктивных элементов, примененных в различных вариантах осуществления настоящего изобретения. Тем не менее значения терминов могут быть изменены в соответствии с намерением, судебным прецедентом, появлением новых технологий и т.п. Кроме того, в некоторых случаях может быть применен обычно не используемый термин. Значение таких терминов подробно описаывется в соответствующей части описания настоящего изобретения. Следовательно, термины, использованные в различных вариантах осуществления настоящего изобретения, следует понимать согласно значениям и объяснениям, приведенным в описании настоящего изобретения.

[19] При этом, если прямо не указано обратное, слово «содержать» и его формы, такие как «содержит» или «содержащий», будет пониматься как подразумевающее включение указанных элементов в состав чего-либо, но не как исключение любых других элементов. Кроме того, термины, обозначающие «блок», «часть» и «модуль», представленные в описании изобретения, означают блоки для обработки по меньшей мере одной функции и операции и могут быть реализованы компонентами аппаратного или программного обеспечения, а также их комбинациями.

[20] Использованные здесь выражения, такие как «по меньшей мере один из», когда они предшествуют перечню элементов, определяют весь перечень элементов и не определяют отдельные элементы перечня. Например, выражение «по меньшей мере один из a, b и c» следует понимать как включение только a, только b, только c, a и b, a и c, b и c или a, b и c.

[21] Далее настоящее изобретение описано более подробно со ссылкой на прилагаемые чертежи, на которых иллюстративные варианты осуществления настоящего изобретения показаны таким образом, что специалист в данной области техники сможет легко понять настоящее изобретение. Тем не менее настоящее изобретение может быть реализовано во многих различных формах и не должно рассматриваться как ограниченное изложенными здесь вариантами осуществления изобретения.

[22] Термины, в частности, «первый» и «второй», могут использоваться для описания различных компонентов, не ограничивая тем не менее компоненты. Эти термины используются исключительно для отличия одного компонента от другого.

[23] Кроме того, некоторые компоненты на чертежах могут быть изображены с увеличением размеров или пропорций. Кроме того, компоненты, изображенные на одной фигуре, могут быть не показаны на другой фигуре.

[24] Кроме того, в настоящем описании под «продольным направлением» компонента понимают направление, в котором компонент проходит вдоль одной оси компонента, причем одна ось компонента может соответствовать направлению, в котором длина компонента больше, чем вдоль другой оси, пересекающей одну ось.

[25] По всему тексту под «затяжкой» понимают вдыхание пользователем, и вдыхание может относится к ситуации, в которой пользователь втягивает воздух в рот, носовую полость или легкие через рот или нос пользователя.

[26] Поскольку различные варианты осуществления изобретения, описанные в описании, классифицируются произвольно только для объяснения изобретения, варианты осуществления изобретения не могут быть интерпретированы как исключающие друг друга. Например, некоторые признаки, описанные в одном варианте осуществления изобретения, могут быть применены или реализованы в других вариантах осуществления изобретения. В настоящем описании форма единственного числа подразумевает форму множественного числа, если явно не указано иное.

[27] Ниже предложенное изобретение будет описано более полно со ссылкой на прилагаемые чертежи, на которых примеры вариантов осуществления настоящего изобретения изображены таким образом, чтобы специалисту в данной области техники было легко понять настоящее изобретение. Тем не менее настоящее изобретение может быть реализовано во многих различных формах и не должно рассматриваться как ограниченное изложенными здесь вариантами осуществления изобретения.

[28] На ФИГ. 1 изображена блок-схема устройства для генерирования аэрозоля согласно одному из вариантов осуществления изобретения.

[29] Как показано на ФИГ. 1, устройство 10000 для генерирования аэрозоля может содержать аккумулятор 11000, распылитель 12000, датчик 13000, пользовательский интерфейс 14000, память 15000 и процессор 16000. Тем не менее устройство для генерирования аэрозоля 10000 не ограничено вариантом осуществления изобретения, изображенным на ФИГ. 1. В зависимости от конструкции устройства 10000 для генерирования аэрозоля специалистам в данной области техники будет очевидно, что некоторые из аппаратных элементов, показанных на ФИГ. 1, могут быть опущены, или могут быть добавлены другие компоненты.

[30] В качестве примера можно привести устройство 10000 для генерирования аэрозоля, содержащее корпус, и в этом случае аппаратные элементы, входящие в состав устройства 10000 для генерирования аэрозоля, расположены в основном корпусе.

[31] В другом варианте осуществления изобретения устройство 10000 для генерирования аэрозоля может содержать основной корпус и картридж, и аппаратные элементы устройства 10000 для генерирования аэрозоля могут быть разделены и расположены в основном корпусе и картридже. В качестве альтернативы или дополнения по меньшей мере некоторые аппаратные элементы устройства 10000 для генерирования аэрозоля могут быть расположены как в основном корпусе, так и в картридже.

[32] Здесь и далее работа каждого элемента описана без пространственных ограничений на каждый элемент, входящий в состав устройства 10000 для генерирования аэрозоля.

[33] Аккумулятор 11000 обеспечивает питание, необходимое для работы устройства 10000 для генерирования аэрозоля. То есть аккумулятор 11000 может подавать питание для того, чтобы распылитель 12000 мог распылять материал для генерирования аэрозоля. Кроме того, аккумулятор 11000 может подавать питание для работы других аппаратных элементов устройства 10000 для генерирования аэрозоля, таких как датчик 13000, пользовательский интерфейс 14000, память 15000 и процессор 16000. Кроме того, аккумулятор 11000 может представлять собой перезаряжаемый аккумулятор или одноразовый аккумулятор.

[34] Например, аккумулятор 11000 может представлять собой никелевый аккумулятор (например, никель-металлогидридный аккумулятор, никель-кадмиевый аккумулятор) или литиевый аккумулятор (например, литий-кобальтовый аккумулятор, литий-фосфатный аккумулятор, литий-титанатный аккумулятор, литий-ионный аккумулятор или литий-полимерный аккумулятор). Тем не менее типы аккумуляторов 11000, используемых в устройстве 10000 для генерирования аэрозоля, не ограничиваются этими вариантами. Например, аккумулятор 11000 может представлять собой щелочной или марганцевый аккумулятор.

[35] Распылитель 12000 получает питание от аккумулятора 11000 под управлением процессора 16000. Распылитель 12000 может получать питание от аккумулятора 11000 и распылять материал для генерирования аэрозоля, хранящийся в устройстве 10000 для генерирования аэрозоля.

[36] Распылитель 12000 может быть размещен в основном корпусе устройства 10000 для генерирования аэрозоля. В альтернативном устройстве, в котором устройство 10000 для генерирования аэрозоля содержит основной корпус и картридж, распылитель 12000 может быть расположен в одном из картриджей и в основном корпусе или может проходить от основного корпуса к картриджу или наоборот. Если распылитель 12000 размещен в картридже, распылитель 12000 может получать питание от аккумулятора 11000, размещенного в основном корпусе и/или картридже. Кроме того, если распылитель 12000 разделен и расположен в основном корпусе и картридже, компоненты распылителя 12000, требующие питания, могут получать питание от аккумулятора 11000, расположенного в основном корпусе и/или картридже.

[37] Распылитель 12000 генерирует аэрозоль из материала для генерирования аэрозоля внутри картриджа. Под аэрозолем может пониматься суспензия, в которой жидкие и/или твердые мелкодисперсные частицы диспергированы в газе. Следовательно, аэрозоль, генерируемый распылителем 12000, может представлять собой смесь испаренных частиц материала для генерирования аэрозоля и воздуха. Например, распылитель 12000 может переводить материал для генерирования аэрозоля в газовую фазу путем испарения и/или сублимации. Распылитель 12000 может также генерировать аэрозоль путем диспергирования материала для генерирования аэрозоля в жидкой и/или твердой фазе.

[38] Например, распылитель 12000 может генерировать аэрозоль из материала для генерирования аэрозоля способом ультразвуковых колебаний. Под способом ультразвуковых колебаний может пониматься способ генерирования аэрозоля путем распыления материала для генерирования аэрозоля с помощью ультразвуковых колебаний, генерируемых источником колебаний.

[39] Хотя это не показано на ФИГ. 1, распылитель 12000 может дополнительно содержать нагреватель, способный путем генерирования тепла нагревать материал для генерирования аэрозоля. Материал для генерирования аэрозоля можно нагревать нагревателем, что позволяет генерировать аэрозоль.

[40] Нагреватель может быть изготовлен из любого подходящего электрорезистивного материала. Например, подходящий электрорезистивный материал может представлять собой металл или сплав металлов, в том числе титан, цирконий, тантал, платину, никель, кобальт, хром, гафний, ниобий, молибден, вольфрам, олово, галлий, марганец, железо, медь, нержавеющую сталь, нихром и т. п., а также другие металлы или сплавы. Кроме того, нагреватель может быть выполнен в виде металлической нагревательной проволоки, металлической нагревательной пластины, на которой размещена электропроводящая дорожка, или керамического нагревательного элемента и т. п., а также в виде иных элементов.

[41] Например, в одном из вариантов осуществления изобретения нагреватель может входить в состав картриджа 2000. Кроме того, картридж 2000 может содержать блок подачи жидкости и блок хранения жидкости, которые будут описаны ниже. Материал для генерирования аэрозоля, размещенный в блоке хранения жидкости, перемещают в блок подачи жидкости, и нагреватель может нагревать материал для генерирования аэрозоля, всасываемый блоком подачи жидкости, для генерирования аэрозоля. Например, нагреватель может быть намотан вокруг блока подачи жидкости или расположен рядом с блоком подачи жидкости.

[42] В другом примере устройство 10000 для генерирования аэрозоля может содержать пространство для размещения, в которое может быть помещена сигарета, и нагреватель может нагревать сигарету, вставленную в пространство для размещения устройства 10000 для генерирования аэрозоля. Так как сигарету размещают в пространстве для размещения устройства 10000 для генерирования аэрозоля, нагреватель может быть расположен внутри и/или снаружи сигареты. Таким образом, нагреватель может нагревать материал для генерирования аэрозоля в сигарете, генерируя аэрозоль.

[43] С другой стороны, нагреватель может представлять собой нагреватель индукционного типа. Нагреватель может содержать электропроводящую катушку для нагрева сигареты или картриджа индукционным способом, и сигарета или картридж может содержать токоприемник, который может нагреваться нагревателем индукционного типа.

[44] Устройство 10000 для генерирования аэрозоля может содержать по меньшей мере один датчик 13000. Результат, полученный по меньшей мере одним датчиком 13000, может быть передан в процессор 16000, и в зависимости от результата процессор 16000 может управлять устройством 10000 для генерирования аэрозоля для выполнения различных функций, таких как управление работой распылителя 12000, ограничение курения, определение наличия картриджа (или сигареты), отображение уведомления и т. п.

[45] Например, по меньшей мере один датчик 13000 может представлять собой датчик обнаружения затяжки. Датчик обнаружения затяжки может определять затяжку пользователя, основываясь на изменении скорости потока внешнего воздуха и/или изменении давления и/или обнаружении звука. Датчик обнаружения затяжки может определять время начала и время окончания затяжки, и процессор 16000 может определять длительность затяжки и период отсутствия затяжки в зависимости от обнаруженного времени начала и времени окончания затяжки.

[46] Кроме того, по меньшей мере один датчик 13000 может представлять собой датчик команды пользователя. Датчик команды пользователя может представлять собой устройство, способное принимать команду пользователя, такое как переключатель, кнопка или сенсорный датчик. Например, когда пользователь прикасается к заданной области, сформированной из металлического материала, происходит изменение емкости, и сенсорный датчик может представлять собой емкостной датчик, способный определять ввод пользователя путем обнаружения изменения емкости. Процессор 16000 может определить, имела ли место команда пользователя, путем сравнения значений емкости до и после ее изменения, полученных от емкостного датчика. Когда значение емкости до и после ее изменения превышает заданный порог, процессор 16000 может определить, что имела место команда пользователя.

[47] Кроме того, по меньшей мере один датчик 13000 может представлять собой датчик движения. Датчик движения позволяет получать информацию о перемещении устройства 10000 для генерирования аэрозоля, таком как наклон, скорость движения и ускорение устройства 10000 для генерирования аэрозоля. Например, датчик движения может получать информацию о состоянии движения устройства 10000 для генерирования аэрозоля, состоянии неподвижности устройства 10000 для генерирования аэрозоля, состоянии наклона устройства 10000 для генерирования аэрозоля на угол в пределах заданного диапазона для затяжки, и об угле наклона устройства 10000 для генерирования аэрозоля между каждым движением затяжки. Датчик движения может получать информацию о движении устройства 10000 для генерирования аэрозоля с использованием различных способов. Например, датчик движения может представлять собой датчик ускорения, позволяющий измерять ускорение в трех направлениях, то есть в направлениях по осям X, Y и Z, и гироскопический датчик, позволяющий измерять угловую скорость в трех направлениях.

[48] Кроме того, по меньшей мере один датчик 13000 может представлять собой датчик приближения. Под датчиком приближения понимают датчик, обнаруживающий приближающийся объект, наличие или расстояние до находящегося поблизости объекта без механического контакта, используя силу электромагнитного поля, инфракрасных лучей и т. п. Датчик приближения может определять, приближается ли пользователь к устройству 10000 для генерирования аэрозоля.

[49] Кроме того, по меньшей мере один датчик 13000 может представлять собой датчик изображения. Датчик изображения может содержать, например, камеру для получения изображения объекта. Датчик изображения может распознавать объект по изображению, полученному камерой. Процессор 16000 может анализировать изображение, полученное с помощью датчика изображения, чтобы определить, использует ли пользователь устройство 10000 для генерирования аэрозоля. Например, когда пользователь подносит устройство 10000 для генерирования аэрозоля к своим губам в целях использования устройства 10000 для генерирования аэрозоля, датчик изображения может получить изображение губ. Процессор 16000 может проанализировать полученное изображение и определить, что пользователь использует устройство 10000 для генерирования аэрозоля, когда полученное изображение определено как губы. На основании этого определения устройство 10000 для генерирования аэрозоля может заранее включить распылитель 12000 или предварительно нагреть нагреватель.

[50] Кроме того, по меньшей мере один датчик 13000 может представлять собой датчик отсоединения расходных материалов, способный обнаруживать установку или удаление расходных материалов (например, картриджа, сигареты и т. п.), которые могут использоваться в устройстве 10000 для генерирования аэрозоля. Например, датчик отсоединения расходных материалов может определять, находился ли расходный материал в контакте с устройством 10000 для генерирования аэрозоля, или определять, отсоединился ли расходный материал, с помощью датчика изображения. Кроме того, датчик отсоединения расходных материалов также может представлять собой датчик индуктивности, обнаруживающий изменение значения индуктивности катушки, которая может взаимодействовать с маркером расходного материала, или датчиком емкости, обнаруживающим изменение значения емкости конденсатора, который может взаимодействовать с маркером расходного материала.

[51] Кроме того, по меньшей мере один датчик 13000 может представлять собой датчик температуры. Датчик температуры может распознавать температуру, до которой нагревается нагреватель (или материал для генерирования аэрозоля) распылителя 12000. Устройство 10000 для генерирования аэрозоля может содержать датчик температуры для определения температуры нагревателя, или сам нагреватель может служить датчиком температуры. В качестве альтернативы или дополнения в состав устройства 10000 для генерирования аэрозоля может дополнительно входить отдельный датчик температуры, если сам нагреватель служит датчиком температуры. Кроме того, датчик температуры может определять температуру внутренних компонентов, таких как печатная плата и аккумулятор устройства 10000 для генерирования аэрозоля, а также нагревателя.

[52] Кроме того, по меньшей мере один датчик 13000 может представлять собой различные датчики, получающие информацию об окружающей среде устройства 10000 для генерирования аэрозоля. Например, по меньшей мере один датчик 13000 может представлять собой датчик температуры для измерения температуры окружающей среды, датчик влажности для измерения влажности окружающей среды и датчик атмосферного давления для измерения давления окружающей среды.

[53] Виды датчиков 13000, которые могут быть предусмотрены в устройстве 10000 для генерирования аэрозоля, не ограничиваются описанными выше; могут применяться и датчики других видов. Например, устройство 10000 для генерирования аэрозоля может содержать датчик отпечатков пальцев для получения информации об отпечатках пальцев пользователя в целях аутентификации и безопасности пользователя, датчик распознавания радужной оболочки для анализа рисунка радужной оболочки зрачка, датчик распознавания вен для определения величины инфракрасного поглощения восстановленного гемоглобина в венах по изображению ладони, датчик распознавания лиц, распознающий характерные элементы лица, такие как глаза, нос, рот и контуры лица, в двух- или трехмерном представлении, а также датчик радиочастотной идентификации (RFID).

[54] В устройстве 10000 для генерирования аэрозоля может быть выбран и реализован только один или некоторые из примеров различных датчиков 13000, перечисленных выше. Иными словами, устройство 10000 для генерирования аэрозоля может объединять и использовать информацию, полученную по меньшей мере от одного из перечисленных выше датчиков.

[55] Пользовательский интерфейс 14000 может предоставлять пользователю информацию о состоянии устройства 10000 для генерирования аэрозоля. Пользовательский интерфейс 14000 может содержать различные средства сопряжения, такие как дисплей или лампа для вывода визуальной информации, мотор для вывода тактильной информации, динамик для вывода звуковой информации, терминалы для обмена данными со средствами ввода-вывода (например, кнопкой или сенсорным экраном), которые принимают информацию от пользователя или выводят информацию пользователю, или для приема энергии зарядки, и модуль сопряжения для осуществления беспроводной связи с внешними устройствами (например, Wi-Fi, Wi-Fi direct, Bluetooth, Near-Field Communication (NFC) и т.д.).

[56] Тем не менее в устройстве 10000 для генерирования аэрозоля может быть выбран и реализован только один или некоторые из различных примеров пользовательского интерфейса 14000, представленных выше.

[57] Память 15000 представляет собой аппаратное обеспечение, хранящее различные типы данных, обрабатываемых в устройстве 10000 для генерирования аэрозоля, и может хранить подлежащие обработке данные и обрабатываемые процессором 16000 данные. Память 15000 может быть реализована в различных видах, в частности оперативное запоминающее устройство (RAM), включая динамическую память с произвольным доступом (DRAM) и статическую память с произвольным доступом (SRAM), постоянное запоминающее устройство (ROM), электрически стираемая программируемая память, доступная только для чтения (EEPROM).

[58] Память 15000 может хранить время работы устройства 10000 для генерирования аэрозоля, максимальное число затяжек, текущее число затяжек, по меньшей мере одну характеристику температуры, данные о привычных действиях пользователя при курении и т.д.

[59] Процессор 16000 управляет работой устройства 10000 для генерирования аэрозоля в целом. Процессор 16000 может быть реализован как массив из множества логических элементов или как комбинация микропроцессора общего назначения и памяти, в которой хранится программа, исполняемая в микропроцессоре. Кроме того, специалисту в данной области техники может быть понятно, что процессор 16000 может быть выполнен в виде аппаратного обеспечения другого типа.

[60] Процессор 16000 анализирует результат, полученный по меньшей мере одним датчиком 13000, и управляет выполняемыми впоследствии процессами.

[61] Процессор 16000 может управлять подачей питания на распылитель 12000, чтобы запустить или остановить распылитель 12000 на основании результата, полученного по меньшей мере от одного датчика 13000. Кроме того, процессор 16000 может управлять количеством питания, подаваемого на распылитель 12000, и временем подачи питания, чтобы распылитель 12000 мог генерировать соответствующее количество аэрозоля, на основании результата, полученного по меньшей мере от одного датчика 13000. Например, процессор 16000 может управлять электрической энергией (например, током или напряжением), подаваемой на источник колебаний, таким образом, чтобы источник колебаний распылителя 12000 генерировал колебания заданной частоты.

[62] В одном из вариантов осуществления изобретения процессор 16000 может запускать распылитель 12000 после получения команды пользователя устройством 10000 для генерирования аэрозоля. Кроме того, процессор 16000 может запускать распылитель 12000 после обнаружения затяжки, сделанной пользователем, с помощью датчика затяжки. Кроме того, после подсчета количества затяжек с помощью датчика обнаружения затяжек процессор 16000 может прекратить подачу питания на распылитель 12000, если количество затяжек достигло заданного числа.

[63] Процессор 16000 может управлять пользовательским интерфейсом 14000 на основании результата, полученного по меньшей мере одним датчиком 13000. Например, если после подсчета количества затяжек с помощью датчика обнаружения затяжек количество затяжек достигает заданного числа, процессор 16000 может использовать лампу и/или мотор и/или динамик для информирования пользователя о том, что работа устройства 10000 для генерирования аэрозоля скоро будет прекращена.

[64] С другой стороны, хотя это и не показано на ФИГ. 1, устройство 10000 для генерирования аэрозоля может входить в состав системы для генерирования аэрозоля вместе с отдельной подставкой. Например, подставку можно использовать для заряда аккумулятора 11000 устройства 10000 для генерирования аэрозоля. Например, устройство 10000, создающее аэрозоль, может получать питание от аккумулятора подставки для зарядки аккумулятора 11000 устройства 10000 для генерирования аэрозоля, когда оно помещено в пространство для размещения внутри подставки.

[65] Один или несколько вариантов осуществления изобретения могут быть также реализованы в форме носителя информации, содержащего инструкции, выполняемые компьютером, такие как программные модули, выполняемые компьютером. Машиночитаемый носитель может представлять собой любой доступный носитель, к которому может иметь доступ компьютер, и содержит как не сохраняющие информацию при выключении питания, так и сохраняющие информацию при выключении питания носители, и съемные и несъемные носители. Кроме того, машиночитаемый носитель может представлять собой как запоминающую среду компьютера, так и коммуникационную среду. Запоминающее устройство компьютера представляет собой энергозависимые и энергонезависимые носители, съемные и несъемные носители, реализуемые любым способом или методом хранения информации, такие как машиночитаемые инструкции, структуры данных, программные модули или другие данные. Коммуникационная среда может представлять собой машиночитаемые инструкции, структуры данных, другие данные в энергонезависимых сигналах данных, таких как программные модули.

[66] На ФИГ. 2 изображена схема, иллюстрирующая устройство для генерирования аэрозоля согласно одному из вариантов осуществления изобретения.

[67] Устройство 10000 для генерирования аэрозоля согласно одному из вариантов осуществления изобретения, изображенное на ФИГ. 2, содержит картридж 2000, содержащий материал для генерирования аэрозоля, и основной корпус 1000 для поддержки картриджа 2000.

[68] Картридж 2000 может быть соединен с основным корпусом 1000 в состоянии, в котором материал для генерирования аэрозоля находится внутри него. Например, часть картриджа 2000 может быть вставлена в основной корпус 1000, или часть основного корпуса 1000 может быть вставлена в картридж 2000, так что картридж 2000 может быть установлен на основной корпус 1000. В этом случае постоянное соединение основного корпуса 1000 с картриджем 2000 может быть реализовано способом защелкивания, винтового соединения, магнитного соединения, фрикционной посадки и т. п., но способ соединения основного корпуса 1000 с картриджем 2000 не ограничивается приведенным выше описанием.

[69] Картридж 2000 может содержать мундштук 2100. Мундштук 2100 может быть сформирован на стороне, противоположной части, соединенной с основным корпусом 1000, и может представлять собой часть, которую вводят в ротовую полость пользователя. Мундштук 2100 может содержать выпускное отверстие 2110 для выпуска аэрозоля, сгенерированного из материала для генерирования аэрозоля внутри картриджа 2000, наружу.

[70] Картридж 2000 может содержать материал для генерирования аэрозоля, находящийся, например, в жидком, твердом, газообразном или гелеобразном состоянии. Материал для генерирования аэрозоля может представлять собой жидкую композицию. Например, жидкая композиция может представлять собой жидкость с содержанием табачного материала, в который входит летучий компонент табачного ароматизатора, или жидкость с содержанием нетабачного материала.

[71] Жидкая композиция может содержать, например, воду, растворитель, этанол, растительный экстракт, пряности, ароматическое вещество, смесь витаминов или смесь вышеперечисленного. Пряности могут представлять собой ментол, перечную мяту, масло мяты кудрявой, различные ингредиенты с фруктовыми ароматами и т. п., а также другие пряности. Ароматические вещества могут представлять собой ингредиенты, способные обеспечить пользователю различные ароматы или вкусы. Витаминные смеси могут представлять собой смесь по меньшей мере одного из витаминов: A, B, С и E, а также другие витамины. Кроме того, жидкая композиция может содержать аэрозолеобразующий агент, такой как глицерин и пропиленгликоль.

[72] Например, жидкая композиция может содержать раствор глицерина и пропиленгликоля в любом массовом соотношении, к которому добавлены соли никотина. Жидкая композиция может содержать два или более типа солей никотина. Соли никотина могут быть образованы добавлением к никотину кислот, в том числе органических или неорганических кислот. Никотин может представлять собой никотин из природного источника или синтетический никотин и может иметь любую массовую концентрацию по отношению к общей массе жидкого состава.

[73] Кислота для образования солей никотина может быть надлежащим образом выбрана с учетом скорости абсорбции никотина в крови, рабочей температуры устройства 10000 для генерирования аэрозоля, ароматизатора или вкусовой добавки, растворимости и т. п. Например, кислота для образования солей никотина может представлять собой одну из кислот, выбранную из группы, состоящей из бензойной кислоты, молочной кислоты, салициловой кислоты, лауриновой кислоты, сорбиновой кислоты, левулиновой кислоты, пировиноградной кислоты, муравьиной кислоты, уксусной кислоты, пропионовой кислоты, масляной кислоты, валериановой кислоты, капроновой кислоты, каприловой кислоты, каприновой кислоты, лимонной кислоты, миристиновой кислоты, пальмитиновой кислоты, стеариновой кислоты, олеиновой кислоты, линолевой кислоты, линоленовой кислоты, фенилуксусной кислоты, винной кислоты, янтарной кислоты, фумаровой кислоты, глюконовой кислоты, сахарной кислоты, малоновой кислоты и яблочной кислоты, или смесь двух или более кислот, выбранных из данной группы, а также другие кислоты.

[74] Картридж 2000 может содержать блок хранения жидкости 2200, предназначенный для размещения материала для генерирования аэрозоля. Блок 2200 хранения жидкости, вмещающий материал для генерирования аэрозоля, может означать, что блок 2200 хранения жидкости выполняет функцию содержания материала для генерирования аэрозоля, например, контейнер, и блок 2200 хранения жидкости может содержать элемент, пропитывающий (или содержащий) материал для генерирования аэрозоля, например, губку, хлопок или ткань, или пористые керамические структуры.

[75] Материал для генерирования аэрозоля, хранящийся в накопителе 2000 жидкости, представляет собой жидкость. В одном из вариантов осуществления изобретения материал для генерирования аэрозоля может иметь форму геля, и в соответствии с фазой материала для генерирования аэрозоля накопитель 2000 жидкости может также называться накопителем.

[76] Устройство 10000 для генерирования аэрозоля может содержать распылитель, изменяющий состояние материала для генерирования аэрозоля внутри картриджа 2000 для генерирования аэрозоля.

[77] Например, распылитель устройства 10000 для генерирования аэрозоля может изменять состояние материала для генерирования аэрозоля с помощью способа ультразвуковых колебаний, причем происходит распыление материала для генерирования аэрозоля под действием ультразвуковых колебаний. Распылитель может содержать источник 1300 колебаний, генерирующий ультразвуковые колебания, блок 2400 подачи жидкости, абсорбирующий аэрозоль и поддерживающий абсорбированный аэрозоль в состоянии, оптимальном для преобразования в аэрозоль, и блок 2300 приема колебаний для генерирования аэрозоля путем передачи ультразвуковых колебаний на материал для генерирования аэрозоля в блоке подачи жидкости.

[78] Источник 1300 колебаний может генерировать колебания в течение короткого периода времени. Колебания, генерируемые источником 1300 колебаний, могут представлять собой ультразвуковые колебания, причем частота ультразвуковых колебаний может составлять, например, от 100 кГц до 3,5 МГц. Под действием короткопериодных колебаний, генерируемых источником 1300 колебаний, материал для генерирования аэрозоля может испаряться и/или распыляться с преобразованием в аэрозоль.

[79] Источник 1300 колебаний может содержать, например, пьезоэлектрическую керамику, представляющую собой функциональный материал, способный преобразовывать электрическое напряжение в механическое усилие путем генерирования электрического напряжения при приложении физической силы (давления) и генерирования колебаний (механическое усилие) при приложении электрического напряжения. Таким образом, колебания (физическая сила) генерируют с помощью электрического напряжения, прилагаемого к источнику 1300 колебаний, и такие небольшие физические колебания могут расщеплять материал для генерирования аэрозоля на мелкие частицы и распылять материал для генерирования аэрозоля с преобразованием в аэрозоль.

[80] Источник 1300 колебаний может быть электрически соединен с электрической цепью с помощью пружинного контакта или С-образного зажима. Соответственно, источник 1300 колебаний может генерировать колебания, получая ток или напряжение от пружинного контакта или С-образного зажима. Тем не менее тип элемента, подключаемого для подачи тока или напряжения на источник 1300 колебаний, не ограничивается приведенным выше описанием.

[81] Блок 2300 приема колебаний может принимать колебания, генерируемые источником 1300 колебаний, и преобразовывать материал для генерирования аэрозоля, передаваемый из блока 2200 хранения жидкости, в аэрозоль.

[82] Блок 2400 перемещения жидкости может перемещать жидкую композицию блока 2200 хранения жидкости на блок 2300 приема колебаний. Например, блок 2400 подачи жидкости может представлять собой фитиль, содержащий хлопковое волокно и/или керамическое волокно и/или стекловолокно и/или пористую керамику; возможны и другие варианты.

[83] В другом варианте осуществления изобретения устройство 2400 передачи жидкости может также называться частью передачи материала, если материал для генерирования аэрозоля не находится в жидком состоянии.

[84] Кроме того, распылитель может быть выполнен в виде блока приема колебаний в форме сетки или пластины, служащего для абсорбирования и поддержания материала для генерирования аэрозоля в состоянии, оптимальном для преобразования в аэрозоль без использования отдельного средства передачи жидкости, а также для генерирования аэрозоля путем передачи колебаний на материал для генерирования аэрозоля.

[85] Кроме того, в варианте осуществления изобретения, изображенном на фиг. 2, источник 1300 колебаний распылителя расположен в основном корпусе 1000, а блок 2300 приема колебаний и блок 2400 подачи жидкости - в картридже 2000, но изобретение не ограничивается этим вариантом.

[86] Например, картридж 2000 может содержать источник 1300 колебаний, блок 2300 приема колебаний и блок 2400 подачи жидкости, и когда часть картриджа 2000 вставлена в основной корпус 1000, основной корпус 1000 может подавать на картридж 2000 питание через клемму (не показанную на фигуре) или подавать на картридж 2000 сигнал, связанный с работой картриджа 2000 и позволяющий управлять работой источника 1300 колебаний.

[87] Кроме того, в одном из вариантов осуществления изобретения приемник 2300 колебаний может отсутствовать в устройстве 10000 для генерирования аэрозоля согласно некоторым вариантам осуществления изобретения. В этом случае картридж 2000 может содержать источник 1300 колебаний, накопитель 2200 жидкости и устройство 2400 передачи жидкости. Поскольку устройство 10000 для генерирования аэрозоля согласно описанному выше варианту осуществления изобретения может не содержать приемник 2300 колебаний, устройство 10000 для генерирования аэрозоля может отличаться от устройства 10000 для генерирования аэрозоля, изображенного на ФИГ. 2, и колебания, генерируемые источником 1300 колебаний, можно непосредственно передавать на материал для генерирования аэрозоля (жидкость) в устройстве 2400 передачи жидкости.

[88] Блок 2200 хранения жидкости в картридже 2000 по меньшей мере частично может содержать прозрачный материал, чтобы материал для генерирования аэрозоля, находящийся в картридже 2000, был виден снаружи. Мундштук 2100 и блок 2200 хранения жидкости могут быть полностью изготовлены из прозрачного пластика или стекла, и только часть блока 2200 хранения жидкости может быть изготовлена из прозрачного материала.

[89] Картридж 2000 устройства 10000 для генерирования аэрозоля может содержать канал 2500 для выпуска аэрозоля и канал 2600 для потока воздуха.

[90] Канал 2500 для выпуска аэрозоля может быть образован в блоке 2200 хранения жидкости и сообщаться с выпускным отверстием 2110 мундштука 2100. Таким образом, аэрозоль, генерируемый распылителем, может перемещаться по каналу 2500 для выпуска аэрозоля и поступать к пользователю через выпускное отверстие 2110 мундштука 2100.

[91] Канал 2600 для потока воздуха представляет собой канал, через который в устройство 10000 для генерирования аэрозоля может поступать внешний воздух. Внешний воздух, подаваемый через канал 2600, может поступать в канал 2500 для выпуска аэрозоля или в пространство, в котором генерируется аэрозоль. Соответственно, для генерирования аэрозоля вводимый внешний воздух может быть смешан с испаренными частицами материала для генерирования аэрозоля.

[92] Например, как показано на ФИГ. 2, канал 2600 для потока воздуха может быть сформирован таким образом, чтобы он окружал снаружи канал 2500 для выпуска аэрозоля. Поэтому канал 2500 для выпуска аэрозоля и канал 2600 для потока воздуха могут иметь форму двойной трубки, в которой канал 2500 для выпуска аэрозоля расположен внутри, а канал 2600 для потока воздуха - снаружи канала 2500 для выпуска аэрозоля. Таким образом, внешний воздух может поступать в направлении, противоположном направлению движения аэрозоля в канале 2500 для выпуска аэрозоля.

[93] Тем не менее структура канала 2600 для потока воздуха не ограничивается приведенным выше описанием. Например, канал для потока воздуха может представлять собой пространство, образованное между основным корпусом 1000 и картриджем 2000, когда основной корпус 1000 и картридж 2000 объединены и сообщаются с распылителем с возможностью передачи жидкости.

[94] В устройстве 10000 для генерирования аэрозоля согласно описанному выше варианту осуществления изобретения форма поперечного сечения в направлении, пересекающем продольное направление основного корпуса 1000 и картриджа 2000, может приблизительно представлять собой круг, овал, квадрат, прямоугольник или многоугольник различной формы. Тем не менее форма поперечного сечения устройства 10000 для генерирования аэрозоля не ограничивается приведенным выше описанием, и устройство 10000 для генерирования аэрозоля не обязательно ограничено прямолинейной структурой, ориентированной в продольном направлении. Например, устройство 10000 для генерирования аэрозоля может иметь обтекаемую форму сечения, чтобы пользователь мог легко держать его рукой, или может быть изогнуто под заданным углом в определенной области и вытянутой в длину, причем форма поперечного сечения устройства 10000 для генерирования аэрозоля может изменяться в продольном направлении.

[95] На ФИГ. 3 изображен пример для описания температур основных устройств печатной платы, причем температуры постоянно повышаются, так как через устройство для генерирования аэрозоля непрерывно выполняются операции затяжки.

[96] Точнее, на ФИГ. 3 схематично изображены некоторые компоненты устройства 300 для генерирования аэрозоля, в котором картридж 310 и основной корпус 330 соединены друг с другом. Устройство для генерирования аэрозоля согласно ФИГ. 3 содержит картридж 310 и основной корпус 330. Картридж 310 содержит первую часть 315 измерения температуры, а основной корпус 330 - вторую часть 331 измерения температуры и третью часть 333 измерения температуры. Считается, что устройство 300 для генерирования аэрозоля, картридж 310 и основной корпус 330 на ФИГ. 3 соответствуют устройству 10000 для генерирования аэрозоля, картриджу 2000 и основному корпусу 1000 на ФИГ. 2.

[97] На ФИГ. 3 первая часть 315 измерения температуры, вторая часть 331 измерения температуры и третья часть 333 измерения температуры однозначно обозначают места измерения температуры в устройстве 300 для генерирования аэрозоля и не обозначают конкретные модули, выполненные с возможностью отсоединения от устройства 300 для генерирования аэрозоля.

[98] Кроме того, конкретные модули могут быть расположены в частях 315, 331 и 333 измерения температуры с первой по третью. Например, если устройство 300 для генерирования аэрозоля представляет собой устройство для генерирования аэрозоля с ультразвуковыми колебаниями, приемник колебаний, выполненный с возможностью приема колебаний от источника ультразвуковых колебаний основного корпуса 330 и передачи колебаний на жидкую подложку, может быть расположен в первой части 315 измерения температуры, а вторая часть 331 измерения температуры и третья часть 333 измерения температуры могут соответствовать положениям на печатной плате, на которой установлен полевой транзистор, выполненный с возможностью исполнения функции переключателя для подачи питания.

[99] Точнее, первая часть 315 измерения температуры обозначает место, прилегающее к соединительному участку, на котором картридж 310 и основной корпус 330 соединены друг с другом. Когда пользователь включает устройство 300 для генерирования аэрозоля и продолжает совершать затяжки, температура первой части 315 измерения температуры может повыситься с 31,6°C до 108,0°C. В данном случае моментом окончания сеанса курения устройства 300 для генерирования аэрозоля может быть совершение 14 затяжек или истечение 4,30 мин после операции затяжки.

[100] Вторая и третья части 331 и 333 измерения температуры могут обозначать два места, смещенных в положительном направлении оси x от центра печатной платы, входящей в состав основного корпуса 330. Как показано на ФИГ. 3, если вторая часть 331 измерения температуры и третья часть 333 измерения температуры обозначены трехмерными пространственными координатами, то вторая и третья части 331 и 333 измерения температуры могут иметь одинаковые значения координат по оси x и различаться только значениями координат по оси y. Как описано выше, например, полевой транзистор, выполненный с возможностью исполнения функции переключения на основе электрического сигнала и участия в подаче питания, может быть расположен во второй и третьей частях 331 и 333 измерения температуры.

[101] Таблица 1

Температура 315 331 333 Количество операций затяжки Первая часть измерения температуры Вторая часть измерения температуры Третья часть измерения температуры 1 31,6 47,3 49,4 2 35,8 53,1 54,8 3 42,8 60,6 62,0 4 50,4 63,3 65,4 5 56,8 67,3 67,4 6 63,2 71,2 70,2 7 69,6 75,4 74,4 8 76,5 79,1 77,2 9 82,0 86,3 82,6 10 87,8 84,4 80,7 11 94,2 83,1 78,4 12 98,8 77,0 72,7 13 104,0 78,6 73,9 14 108,0 81,7 76,5

[102] В таблице 1 приведены значения температуры частей 315, 331 и 333 измерения температуры с первой по третью, причем значения температуры изменяются по мере непрерывного выполнения операций затяжки на ФИГ. 3. Согласно таблице 1, в первой части 315 измерения температуры температура может повышаться до 108°C по мере выполнения операций затяжки, во второй части 331 измерения температуры температура может повышаться до 86,3°C, а в третьей части 333 измерения температуры температура может повышаться до 82,6°C.

[103] Если интерпретировать таблицу 1, предполагая, что устройство 300 для генерирования аэрозоля представляет собой устройство для генерирования аэрозоля с ультразвуковыми колебаниями, скорость повышения температуры первой части 315 измерения температуры, в которой расположен приемник колебаний, выполненный с возможностью нагрева жидкой подложки картриджа 310 путем приема колебаний от источника ультразвуковых колебаний, будет наиболее высокой, а скорости повышения температуры второй части 331 измерения температуры и третьей части 333 измерения температуры, находящихся на относительно большом заданном расстоянии от места расположения источника ультразвуковых колебаний или приемника колебаний, будут относительно низкими.

[104] Кроме того, как следует из таблицы 1, вторая часть 331 измерения температуры и третья часть 333 измерения температуры удалены от первой части 315 измерения температуры на одинаковое расстояние по оси x. Тем не менее показано, что скорости повышения температуры второй и третьей частей 331 и 333 измерения температуры отличаются друг от друга вследствие влияния окружающих устройств, установленных на печатной плате основного корпуса 330.

[105] Среди датчиков (модулей), установленных на печатной плате устройства для генерирования аэрозоля или не установленных непосредственно на печатной плате и электрически соединенных с ней, может быть датчик (модуль), обнаруживающий неисправность при температуре около 100°C. Например, рекомендуемый температурный диапазон некоторых моделей датчиков давления, выполненных с возможностью определения изменения давления в устройстве, составляет от -40°C до 85°C, и такой датчик давления может выйти из строя, если температура внутри устройства 300 для генерирования аэрозоля превысит 85°C или приблизится к 85°C, как показано в таблице 1. Значения температуры и диапазон температур, описанные выше, даны для примера. Значения температуры и диапазон температур могут зависеть от типа используемого датчика или модели датчика и не ограничиваются заданным значением или диапазоном.

[106] На ФИГ. 4 изображен другой пример для описания температур основных устройств печатной платы, причем температуры постоянно повышаются, так как через устройство для генерирования аэрозоля непрерывно выполняются операции затяжки.

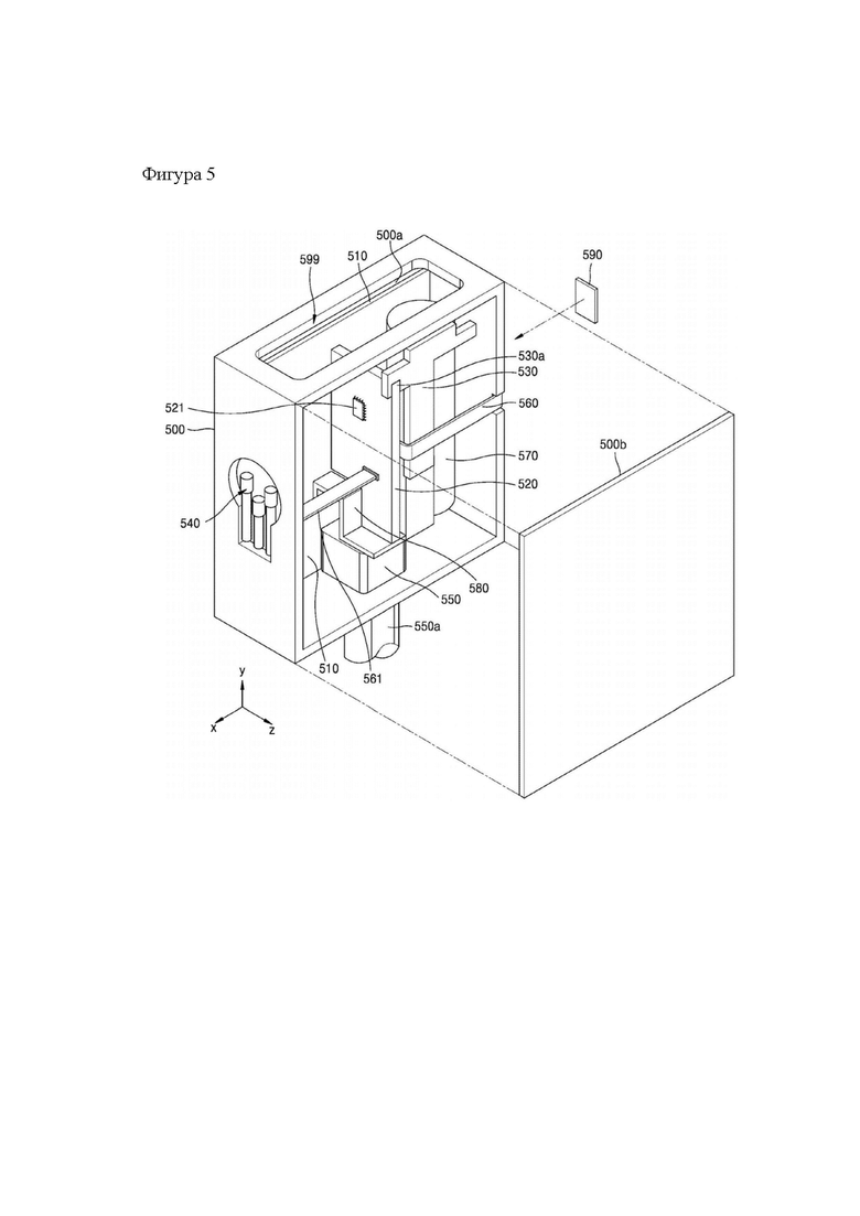
[107] Точнее, на ФИГ. 4 схематично изображены некоторые компоненты устройства 400 для генерирования аэрозоля, в котором картридж 410 и основной корпус 430 соединены друг с другом. Устройство 400 для генерирования аэрозоля согласно ФИГ. 4 содержит картридж 410 и основной корпус 430, а основной корпус 430 содержит четвертую часть 431 измерения температуры, пятую часть 433 измерения температуры и шестую часть 435 измерения температуры. Считается, что устройство 400 для генерирования аэрозоля, картридж 410 и основной корпус 430 на ФИГ. 4 соответствуют устройству 10000 для генерирования аэрозоля, картриджу 2000 и основному корпусу 1000 на ФИГ. 2.

[108] На ФИГ. 4 части 431, 433 и 435 измерения температуры с четвертой по шестую, как и части 315, 331 и 333 измерения температуры с первой по третью на ФИГ. 3, однозначно обозначают положения устройства 400 для генерирования аэрозоля, в которых измеряют температуру, и не обозначают конкретные модули, выполненные с возможностью отсоединения от устройства 400 для генерирования аэрозоля.

[109] Точнее, четвертая часть 431 измерения температуры обозначает место, смещенное в положительном направлении оси x от центра печатной платы, входящей в состав основного корпуса 430, пятая часть 433 измерения температуры обозначает центральное место основного корпуса 430, а шестая часть 435 измерения температуры обозначает место, смещенное в отрицательном направлении оси x от центра основного корпуса 430.

[110] Если устройство 400 для генерирования аэрозоля согласно ФИГ. 4 представляет собой устройство для генерирования аэрозоля с ультразвуковыми колебаниями, температура частей 431, 433 и 435 измерения температуры с четвертой по шестую может постоянно повышаться, поскольку суммарное время колебаний источника ультразвуковых колебаний увеличивается при повторных операциях затяжки.

[111] Таблица 2

Температура 431 433 435 Количество операций затяжки Четвертая часть измерения температуры Пятая часть измерения температуры Шестая часть измерения температуры 1 34,8 32,8 28,6 2 39,5 36,1 31,1 3 44,7 38,4 32,9 4 49,1 41,7 35,1 5 53,3 44,0 37,1 6 57,2 46,3 39,0 7 60,0 48,0 40,6 8 62,1 49,6 42,1 9 63,0 51,5 43,6 10 65,7 52,9 45,0 11 73,9 53,7 46,3 12 79,3 55,1 47,4 13 88,2 57,1 48,6 14 93,1 59,5 50,8

[112] В таблице 2 приведены значения температуры частей 413, 433 и 435 измерения температуры с четвертой по шестую, причем значения температуры изменяются по мере непрерывного выполнения операций затяжки на ФИГ. 4. Согласно таблице 2, в четвертой части 413 измерения температуры температура может повышаться до 93,1°C по мере выполнения операций затяжки, в пятой части 433 измерения температуры температура может повышаться до 59,5°C, а в шестой части 435 измерения температуры температура может повышаться до 50,8°C.

[113] Например, в пятой части 433 измерения температуры может быть установлен процессор, выполненный с возможностью управления различными модулями устройства 400 для генерирования аэрозоля. В другом примере, даже если датчик давления, имеющий рекомендуемый температурный диапазон, верхний предел которого равен 85 (рекомендуемый температурный диапазон описан в таблице 1), установлен в пятой части 433 измерения температуры и шестой части 435 измерения температуры, датчик давления может нормально работать независимо от количества операций затяжки.

[114] Таким образом, если интерпретировать таблицу 2, предполагая, что устройство 400 для генерирования аэрозоля представляет собой устройство для генерирования аэрозоля с ультразвуковыми колебаниями, скорость повышения температуры четвертой части 431 измерения температуры, расположенной наиболее близко к источнику ультразвуковых колебаний, генерирующему колебания заданной частоты, будет наиболее высокой, а скорости повышения температуры пятой части 433 измерения температуры и шестой части 435 измерения температуры, находящихся на относительно большом заданном расстоянии от места расположения источника ультразвуковых колебаний, будут относительно низкими. В частности, поскольку шестая часть 435 измерения температуры наиболее удалена от четвертой части 431 измерения температуры в отрицательном направлении оси x, повышение температуры шестой части 435 измерения температуры будет наименьшим по мере выполнения операций затяжки.

[115] При интерпретации ФИГ. 3 и 4 в совокупности видно, что скорость повышения температуры в зависимости от увеличения количества затяжек увеличивается по мере приближения положения в устройстве для генерирования аэрозоля с ультразвуковыми колебаниями к источнику ультразвуковых колебаний или приемнику колебаний, принимающему колебания от источника ультразвуковых колебаний. Например, скорость повышения температуры первой части 315 измерения температуры будет наибольшей, а скорость повышения температуры шестой части 435 измерения температуры - наименьшей.

[116] Кроме того, даже при одинаковом расстоянии от места возникновения колебаний скорость повышения температуры в этих положениях может различаться в зависимости от характеристик устройства, установленного в соответствующих положениях, или влияния других устройств, установленных на печатной плате. Например, выше со ссылкой на таблицу 1 указано, что хотя вторая и третья части 331 и 333 измерения температуры удалены от первой части 315 измерения температуры на одинаковое расстояние, скорость повышения температуры во второй и третьей частях различается.

[117] На основании описанных выше экспериментальных и эмпирических ресурсов в вариантах осуществления изобретения предложено устройство для генерирования аэрозоля, характеризующееся компоновкой, позволяющей нормально работать устройствам с рекомендуемым диапазоном температур, верхний предел которого составляет от 50°C до 100°C. Согласно вариантам осуществления изобретения, вероятность возникновения неисправностей из-за перегрева значительно снижена по сравнению с предыдущим устройством для генерирования аэрозоля, работающим с одной печатной платой, как описано со ссылкой на ФИГ. 3 и 4.

[118] На ФИГ. 5 схематично изображена внутренняя структура устройства для генерирования аэрозоля согласно вариантам осуществления изобретения.

[119] Устройство для генерирования аэрозоля согласно вариантам осуществления изобретения может содержать корпус 500, изображенный на ФИГ. 5, и картридж, которые соединены друг с другом. Картридж может быть соединен с концом корпуса 500 на ФИГ. 5 или, в одном из вариантов осуществления изобретения, может входить в состав корпуса 500 на ФИГ. 5. Например, на ФИГ. 5 в деталях показано устройство для генерирования аэрозоля без картриджа.

[120] Корпус 500 имеет внешнюю форму, позволяющую устанавливать различные модули внутри или снаружи корпуса 500. В корпусе 500 может быть выполнена полость, в которую могут быть установлены различные модули, необходимые для работы устройства для генерирования аэрозоля. В корпусе 500 может быть установлено не менее двух печатных плат.

[121] Первая печатная плата 510 может быть установлена на внутренней поверхности корпуса 500. Как показано на ФИГ. 5, первая печатная плата 510 может быть установлена на внутренней поверхности 500a корпуса 500, причем внутренняя поверхность 500a ориентирована параллельно плоскости, образованной осями x и y. На ФИГ. 5 внутренняя поверхность 500a корпуса 500 может соответствовать поверхности, обращенной к другой внутренней поверхности 500b корпуса 500, причем другая внутренняя поверхность 500b изображена в виде крышки корпуса 500.

[122] Вторая печатная плата 520 может быть установлена таким образом, чтобы она была ориентирована в направлении, пересекающем направление поверхности корпуса 500, на которой установлена первая печатная плата 510. Например, как показано на ФИГ. 5, вторая печатная плата 520 может быть установлена таким образом, чтобы она выступала в положительном направлении оси z, как направление, перпендикулярное поверхности корпуса 500, на которой установлена первая печатная плата 510. В одном из вариантов осуществления изобретения, если поверхность, на которой установлена первая печатная плата 510, представляет собой плоскость, ориентированную в направлении, отличающемся от направления плоскости на ФИГ. 5, направление ориентации второй печатной платы 520 может отличаться от направления, показанного на ФИГ. 5.

[123] На второй печатной плате 520 может быть установлен процессор 521, выполненный с возможностью генерирования управляющего сигнала и его передачи различным модулям в корпусе 500.

[124] Как показано на ФИГ. 5, при установке первой печатной платы 510 и второй печатной платы 520 во взаимно перпендикулярных направлениях эффекты кондуктивного, конвективного и лучистого тепловыделения в первой печатной плате 510 и второй печатной плате 520 могут не накапливаться экспоненциально, а распределяться, что предотвращает радикальное повышение температуры внутри корпуса 500 и температуры устройств, установленных на печатных платах в корпусе 500.

[125] Кроме того, путем соответствующего ограничения типов устройств, установленных на первой печатной плате 510 и второй печатной плате 520 в соответствии с характеристиками устройств, установленных на первой печатной плате 510 и второй печатной плате 520, или эффективного расположения различных модулей вокруг первой и второй печатных плат 510 и 520 можно предотвратить радикальное повышение температуры внутри корпуса 500 и температуры устройств, установленных на печатных платах в корпусе 500.

[126] Далее, кронштейн 530 может быть расположен в продольном направлении второй печатной платы 520 с опиранием на другую внутреннюю поверхность корпуса 500, что позволяет поддерживать расположение второй печатной платы 520 в корпусе 500.

[127] В данном случае поверхность, на которую опирается кронштейн, обозначает поверхность, отличающуюся от поверхности, на которой установлена первая печатная плата 510. Например, если корпус 500 имеет форму куба, поверхность, на которую опирается кронштейн 530, может представлять собой любую из оставшихся пяти поверхностей, кроме поверхности 500a, на которой установлена первая печатная плата 510.

[128] В одном из вариантов осуществления изобретения кронштейн 530 может содержать по меньшей мере один кронштейн. Кроме того, кронштейн 530 может содержать опору, соединенную с концом второй печатной платы 520, и в одном из вариантов осуществления изобретения опора может представлять собой часть, содержащую вогнутую часть, сформированную в кронштейне 530 или второй печатной плате 520. Вторая печатная плата 520 или кронштейн 530 может быть вставлен в вогнутую часть, и на ФИГ. 5 изображен пример, в котором вогнутая часть 530a входит в состав кронштейна 530, то есть конец второй печатной платы 520 соединен с вогнутой частью 530a. Хотя это не показано на ФИГ. 5, в одном из вариантов осуществления изобретения вогнутая часть может входить в состав второй печатной платы 520, и кронштейн 530 может быть соединен с вогнутой частью, сформированной во второй печатной плате 520. Вогнутая часть 530a, сформированная в кронштейне 530, описана со ссылкой на ФИГ. 7.

[129] Микрофон 540, чувствительный к движению воздуха, может быть установлен на внешней боковой поверхности корпуса 500 и может быть выполнен с возможностью распознавания изменения потока воздуха снаружи или внутри корпуса 500 и передачи результата распознавания на процессор второй печатной платы 520. Как показано на ФИГ. 5, микрофон 540, чувствительный к движению воздуха, может быть электрически соединен со второй печатной платой 520, находясь при этом на заданном расстоянии от второй печатной платы 520.

[130] На ФИГ. 5 показан разъем 561, электрически соединяющий микрофон 540, чувствительный к движению воздуха, со второй печатной платой 520. Тем не менее устройство, электрически соединяющее микрофон 540, чувствительный к движению воздуха, со второй печатной платой 520, не ограничивается этим вариантом. Соблюдение заданного расстояния между микрофоном 540, чувствительным к движению воздуха, и второй печатной платой 520 позволяет предотвратить нарушение работы микрофона 540, чувствительного к движению воздуха, под действием тепла, выделяемого второй печатной платой 520.

[131] В другом варианте осуществления изобретения, не показанном на ФИГ. 5, в корпусе 500 может быть установлена тепловая трубка из теплопроводного материала с находящимся в ней хладагентом. Тепловая трубка может быть реализована путем введения небольшого количества воды или хладагента на основе фреона в полую трубку, изготовленную из теплопроводящего материала и находящуюся в состоянии вакуума. Тепловая трубка может быть установлена между микрофоном 540, чувствительным к движению воздуха, и второй печатной платой 520 и препятствовать передаче тепла к микрофону 540, чувствительному к движению воздуха,.

[132] Зарядный модуль 550 может быть установлен на первой печатной плате 510 и может заряжать аккумулятор 570 корпуса 500. При подключении внешнего зарядного разъема 550a к зарядному модулю 550, зарядный модуль 550 может выполнять функцию зарядки аккумулятора 570, установленного в корпусе 500, причем зарядный разъем 550a может иметь один из различных типов, например, универсальной последовательной шины (USB), C, micro 5 и т. п. На ФИГ. 5 показано расположение аккумулятора 570 в одном из вариантов осуществления изобретения, и расположение корпуса 500, в который помещен аккумулятор 570, не ограничено определенным положением.

[133] В одном из вариантов осуществления изобретения, в котором устройство для генерирования аэрозоля согласно вариантам осуществления изобретения выполнено в виде устройства для генерирования аэрозоля с ультразвуковыми колебаниями, зарядный модуль 550 и процессор 521 могут быть расположены на первой печатной плате 510 и второй печатной плате 520, соответственно, и первая печатная плата 510 и вторая печатная плата 520 могут быть установлены перпендикулярно друг другу, что позволяет реализовать эффекты распределения тепла. В частности, описанные выше эффекты распределения тепла позволяют предотвратить повреждение источника ультразвуковых колебаний, получающего питание через пружинный контакт и генерирующего колебания, избыточным нагревом, воздействующим на источник ультразвуковых колебаний.

[134] Если корпус 500 содержит вводную часть 590, выполненную с возможностью приема пользовательского ввода, гибкая печатная плата 560 может электрически соединять вводную часть 590 со второй печатной платой 520. На ФИГ. 5 вводная часть 590 может быть установлена на поверхности, противоположной (или обращенной) к поверхности основного корпуса, на которой установлен микрофон 540, чувствительный к движению воздуха.

[135] Гибкая печатная плата 560 может электрически соединять вводную часть 590 со второй печатной платой 520, а также поддерживать стабильное положение кронштейна 530. То есть, поскольку кронштейн 530 служит для фиксации второй печатной платы 520, гибкая печатная плата 560, поддерживающая стабильность положения кронштейна 530, может косвенно способствовать стабильности положения второй печатной платы 520.

[136] Опора 580 подложки представляет собой элемент, выполненный с возможностью стабильной поддержки второй печатной платы 520, установленной в положительном направлении оси z на ФИГ. 5, и может иметь различные формы. Назначение опоры 580 подложки описано со ссылкой на ФИГ. 6.

[137] В боковой части корпуса 500 может быть выполнено отверстие 599. Хотя это не показано на ФИГ. 5, картридж, соединенный с корпусом 500, может быть соединен с корпусом 500 через отверстие 599 таким образом, чтобы реализовать электрическое соединение с процессором и аккумулятором в корпусе 500.

[138] На ФИГ. 6 изображено расположение первой печатной платы и второй печатной платы.

[139] На ФИГ. 6 детально описаны характеристики взаимного расположения первой печатной платы 510 и второй печатной платы 520, описанных со ссылкой на ФИГ. 5. Для удобства изложения некоторые модули, установленные в корпусе 500, опущены, и далее ФИГ. 6 будет описана со ссылкой на ФИГ. 5.

[140] Первая печатная плата 510 может быть установлена на внутренней поверхности 500а корпуса 500.

[141] Вторая печатная плата 520 может быть установлена таким образом, чтобы она была ориентирована (или выступала) в направлении, пересекающем направление поверхности корпуса 500, на которой установлена первая печатная плата 510. Например, как показано на ФИГ. 6, вторая печатная плата 520 может быть установлена таким образом, чтобы она была ориентирована в положительном направлении оси z, перпендикулярном плоскости, образованной осями x и y.

[142] На ФИГ. 6 первая печатная плата 510 и вторая печатная плата 520 изображены в физическом контакте друг с другом. Тем не менее, в одном из вариантов осуществления изобретения вторая печатная плата 520 может быть установлена на заданном расстоянии от первой печатной платы 510. Кроме того, на ФИГ. 6 изображен вариант осуществления изобретения, в котором вторая печатная плата 520 соприкасается с поверхностью 500b, обращенной к внутренней поверхности 500a корпуса 500. Тем не менее, в одном из вариантов осуществления изобретения вторая печатная плата 520 может не соприкасаться с поверхностью 500b, обращенной к внутренней поверхности 500a корпуса 500.

[143] На ФИГ. 6 кронштейн 530 может фиксировать конец второй печатной платы 520, установленной в положительном направлении оси z, перпендикулярном плоскости, образованной осями x и y, для повышения стабильности положения установленной второй печатной платы 520. Кронштейн 530 может содержать вогнутую часть для размещения конца второй печатной платы 620, и эта вогнутая часть описана ниже со ссылкой на ФИГ. 7.

[144] Опора 580 подложки представляет собой элемент для поддержки второй печатной платы 520, когда вторая печатная плата 520 установлена в направлении, перпендикулярном направлению установки первой печатной платы 510. В одном из вариантов осуществления изобретения подложка 580 может быть установлена на первой печатной плате 510 и электрически соединена с зарядным модулем 550.

[145] Хотя это не показано на ФИГ. 6, подложка 580 может дополнительно содержать клемму (гнездо), которая может быть электрически соединена с зарядным модулем 550 и может служить носителем, выполненным с возможностью передачи питания от зарядного модуля 550 на аккумулятор, находящийся в корпусе 500, для зарядки аккумулятора.

[146] Подложка 580 может быть установлена на первой печатной плате 510 для физической поддержки второй печатной платы 520 и одновременно служить многофункциональным элементом, будучи организационно соединенной с зарядным модулем 550 для участия в зарядке аккумулятора.

[147] На ФИГ. 7 в деталях изображен кронштейн, показанный на ФИГ. 5.

[148] На ФИГ. 7 для наглядности опущены компоненты различных модулей, входящих в состав корпуса 500 на ФИГ. 5, за исключением кронштейна 530 и гибкой печатной платы 560. Ниже будет описана ФИГ. 7 со ссылкой на ФИГ. 5.

[149] Кронштейн 530 может содержать вогнутую часть 530a, выполненную с возможностью эффективной поддержки конца второй печатной платы 520. Как показано на ФИГ. 5 и 7, вогнутая часть 530a может обозначать часть кронштейна 530, причем эта часть имеет вогнутую выемку для размещения по меньшей мере части конца второй печатной платы 520.

[150] В то время как первая печатная плата 510 установлена на поверхности корпуса 500 и, таким образом, стабильна, вторая печатная плата 520 установлена на некотором расстоянии в вертикальном направлении от поверхности корпуса 500, на которой установлена первая печатная плата 510, для обеспечения распределения тепла, и не закреплена на внутренней стенке корпуса 500. Таким образом, вторая печатная плата 520 относительно нестабильна по сравнению с первой печатной платой 510.

[151] Для повышения стабильности положения второй печатной платы 520 на первой печатной плате 510 может быть установлена опора 580 подложки, описанная со ссылкой на ФИГ. 6, или, в качестве другого способа, кронштейн 530 может дополнительно содержать вогнутую часть 530a. Вогнутая часть 530a может прилегать к концу второй печатной платы 520, чтобы свести к минимуму произвольное изменение состояния фиксации второй печатной платы 520.

[152] Кронштейн 530 может опираться на другую внутреннюю поверхность корпуса 500 посредством опоры 530b. Опора 530b кронштейна обозначает часть верхнего конца кронштейна 530, причем эта часть имеет заданную ширину. Таким образом, как показано на ФИГ. 6, чтобы кронштейн 530 опирался на другую внутреннюю поверхность корпуса 500, опора 530b кронштейна может иметь длину, имеющую заданное соотношение с длиной другой внутренней поверхности в направлении оси x. В данном случае другая внутренняя поверхность корпуса 500 обозначает поверхность, отличающуюся от внутренней поверхности 500a корпуса 500, на которой установлена первая печатная плата 510.

[153] Гибкая печатная плата 560 служит для электрического соединения вводной части 590, установленной снаружи корпуса 500, со второй печатной платой 520. Гибкая печатная плата 560 может соприкасаться по меньшей мере с частью кронштейна 530 и электрически соединять вводную часть 590 со второй печатной платой 520, как показано на ФИГ. 6 и 7.

[154] На ФИГ. 8 изображен пример датчика давления.

[155] Для удобства ФИГ. 8 будет описана со ссылкой на ФИГ. 5.

[156] Согласно вариантам осуществления изобретения корпус 500 может содержать микрофон 540, чувствительный к движению воздуха, для распознавания изменения потока воздуха, а также заменять микрофон 540, чувствительный к движению воздуха, или дополнительно содержать отдельный датчик давления независимо от наличия микрофона 540, чувствительного к движению воздуха. Датчик давления может распознавать изменение давления и передавать результат распознавания на процессор, установленный на второй печатной плате 520.

[157] Датчик давления имеет относительно более низкий верхний предел рекомендуемого температурного диапазона по сравнению с другими модулями и может работать, будучи установленным на первой печатной плате 510. В другом примере датчик 810 давления может содержать первую часть 811, содержащую один набор микросхем, и вторую часть 812, содержащую несколько пассивных устройств, причем первая часть 811 и вторая часть 812 могут работать, будучи установленными на разных печатных платах.

[158] В частности, на ФИГ. 8 изображен пример датчика 810 давления, содержащего первую часть 811 и вторую часть 812.

[159] На ФИГ. 8 датчик 810 давления может содержать первую часть 811, содержащую один набор микросхем (или систему на наборе микросхем (SoC)), и оставшуюся часть (вторую часть), за исключением первой части. Характеристики первой части 811 датчика 810 давления позволяют первой части 811 нормально работать при относительно низкой температуре. Вторая часть 812 содержит пассивные устройства, в том числе резистор, конденсатор и т. п., и имеет характеристики, позволяющие второй части 812 нормально работать при относительно более высокой температуре по сравнению с первой частью 811.

[160] Как показано на ФИГ. 8, первая часть 811 датчика 810 давления может быть установлена на первой печатной плате 510, а вторая часть 812 может быть установлена на второй печатной плате 520. Поскольку первая часть 811 датчика 810 давления, относительно чувствительная к нагреву, может быть установлена на первой печатной плате 510, а вторая часть 812 датчика 810 давления, обладающая высокой термостойкостью, может быть установлена на второй печатной плате 520, можно предотвратить выход из строя датчика 810 давления вследствие перегрева.

[161] Согласно вариантам осуществления изобретения количество печатных плат, помещенных в основной корпус, может быть увеличено до нескольких, и расположение различных модулей может быть оптимизировано благодаря увеличению количества печатных плат, что позволит предотвратить явление, при котором температура внутри устройства для генерирования аэрозоля поднимается до чрезвычайно высокого уровня, что может привести к неисправности устройства с низким тепловым сопротивлением.

[162] Специалисты в данной области техники, ознакомившиеся с данным вариантом осуществления, понимают, что он может быть реализован в измененной форме без отклонения от сущности изобретения. Поэтому варианты осуществления изобретения следует считать только иллюстрирующими сущность изобретения и не ограничивающими защищаемый объем изобретения. Объем настоящего изобретения описан в формуле изобретения, а не в предшествующем описании, и любые модификации, замены и усовершенствования вариантов осуществления описания должны считаться включенными в настоящее изобретение.

Похожие патенты RU2834189C2

название год авторы номер документа
КАРТРИДЖ И УСТРОЙСТВО ДЛЯ ГЕНЕРИРОВАНИЯ АЭРОЗОЛЯ, СОДЕРЖАЩЕЕ ТАКОЙ КАРТРИДЖ 2022
  • Ли, Вон Кён
  • Чон, Хон Чун
  • Чхве, Чже Сон
RU2817539C2
МОДУЛЬ ЦЕПИ ЗАЩИТЫ И УСТРОЙСТВО ДЛЯ ГЕНЕРИРОВАНИЯ АЭРОЗОЛЯ, СОДЕРЖАЩЕЕ ЕГО 2021
  • Хан, Дэнам
  • Чан, Соксу
  • Ли, Сынвон
  • Юн, Сонвук
  • Ким, Енхван
RU2794255C1
Устройство, генерирующее аэрозоль (варианты), способ управления устройством, генерирующим аэрозоль (варианты), и машиночитаемый записываемый носитель, на котором записана программа для выполнения способа управления устройством, генерирующим аэрозоль 2020
  • Чо, Бён Сон
  • Ли, Вон Кён
  • Ли, Чон Соп
  • Хан, Тэ Нам
RU2798247C2
УСТРОЙСТВО ДЛЯ ГЕНЕРИРОВАНИЯ АЭРОЗОЛЯ (ВАРИАНТЫ) 2022
  • Ким, Тон Сон
  • Ким, Хван
  • Ли, Сын Вон
  • Чан, Сок Су
  • Хан, Дэ Нам
RU2831406C2
УСТРОЙСТВО ДЛЯ ГЕНЕРИРОВАНИЯ АЭРОЗОЛЯ И СПОСОБ ЭКСПЛУАТАЦИИ ТАКОГО УСТРОЙСТВА 2022
  • Пак, Чуон
  • Ким, Тхэхон
  • Чжун, Хёнчжин
RU2838075C2
СИСТЕМА В КОМПЛЕКСЕ И УСТРОЙСТВО ДЛЯ ГЕНЕРИРОВАНИЯ АЭРОЗОЛЯ, СОДЕРЖАЩЕЕ ЕЕ 2021
  • Ли, Сын Вон
  • Ким, Ен Хван
  • Юн, Сон Ук
  • Чан, Сок Су
  • Хан, Дэ Нам
RU2822054C1
УСТРОЙСТВО ДЛЯ ГЕНЕРИРОВАНИЯ АЭРОЗОЛЯ 2022
  • Пак, Чуон
  • Ким, Минкю
  • Ли, Чжонсоб
  • Чо, Пюнсун
RU2822055C2
УСТРОЙСТВО ДЛЯ ГЕНЕРИРОВАНИЯ АЭРОЗОЛЯ 2023
  • Ким, Тхэ Хон
  • Пак, Чу Он
  • Юн, Сон Ук
  • Чон, Хён Чин
  • Хан, Чон Хо
RU2839920C2
ИЗДЕЛИЕ ДЛЯ ГЕНЕРИРОВАНИЯ АЭРОЗОЛЯ И СИСТЕМА ДЛЯ ГЕНЕРИРОВАНИЯ АЭРОЗОЛЯ 2022
  • Ки, Сон Чон
  • Ким, Юн Чун
  • Ли, Чон Тхэ
  • Чха, Сон Че
RU2820405C1
УСТРОЙСТВО ДЛЯ ГЕНЕРИРОВАНИЯ АЭРОЗОЛЯ И АЭРОЗОЛЬГЕНЕРИРУЮЩЕЕ ИЗДЕЛИЕ 2020
  • Ли, Сын Вон
  • Юн, Сон Ук
  • Хан, Дэ Нам
  • Ким, Хван
RU2789217C1

Иллюстрации к изобретению RU 2 834 189 C2

Реферат патента 2025 года УСТРОЙСТВО ДЛЯ ГЕНЕРИРОВАНИЯ АЭРОЗОЛЯ

Изобретение относится к устройству для генерирования аэрозоля. Устройство для генерирования аэрозоля содержит корпус, первую печатную плату, расположенную вдоль одной поверхности корпуса, и вторую печатную плату, которая расположена в корпусе и на которой установлен процессор, выполненный с возможностью генерирования управляющего сигнала. Вторая печатная плата ориентирована в направлении, пересекающем направление одной поверхности корпуса, и по меньшей мере один кронштейн, опирающийся на другую поверхность корпуса и поддерживающий расположение второй печатной платы, при этом по меньшей мере один кронштейн содержит опору, соединенную с концом второй печатной платы, при этом опора содержит вогнутую часть, сформированную в кронштейне или второй печатной плате, и вторая печатная плата или кронштейн вставлен в вогнутую часть. Обеспечивается устройство для генерирования аэрозоля с пониженным уровнем внутреннего нагрева, повышение стабильности положения второй печатной платы на первой печатной плате и сведение к минимуму произвольного изменения состояния фиксации второй печатной платы. 8 з.п. ф-лы, 8 ил., 2 табл.

Формула изобретения RU 2 834 189 C2

1. Устройство для генерирования аэрозоля, содержащее корпус, первую печатную плату, расположенную вдоль одной поверхности корпуса, и вторую печатную плату, которая расположена в корпусе и на которой установлен процессор, выполненный с возможностью генерирования управляющего сигнала, причем вторая печатная плата ориентирована в направлении, пересекающем направление одной поверхности корпуса, и по меньшей мере один кронштейн, опирающийся на другую поверхность корпуса и поддерживающий расположение второй печатной платы, при этом по меньшей мере один кронштейн содержит опору, соединенную с концом второй печатной платы, при этом опора содержит вогнутую часть, сформированную в кронштейне или второй печатной плате, и вторая печатная плата или кронштейн вставлен в вогнутую часть.

2. Устройство для генерирования аэрозоля по п. 1, в котором корпус дополнительно содержит вводную часть на внешней боковой поверхности, причем вводная часть выполнена с возможностью приема пользовательского ввода, в котором вводная часть электрически соединена со второй печатной платой посредством гибкой печатной платы, расположенной в корпусе.

3. Устройство для генерирования аэрозоля по п. 2, в котором гибкая печатная плата соприкасается по меньшей мере с частью кронштейна и электрически соединена со второй печатной платой.

4. Устройство для генерирования аэрозоля по п. 1, дополнительно содержащее микрофон, чувствительный к движению воздуха и расположенный в корпусе, при этом микрофон, чувствительный к движению воздуха, электрически соединен со второй печатной платой.

5. Устройство для генерирования аэрозоля по п. 1, в котором на первой печатной плате установлен зарядный модуль, выполненный с возможностью зарядки аккумулятора посредством внешнего питания.

6. Устройство для генерирования аэрозоля по п. 1, дополнительно содержащее датчик давления, установленный на первой печатной плате и выполненный с возможностью распознавания изменения давления.

7. Устройство для генерирования аэрозоля по п. 1, дополнительно содержащее датчик давления, отдельно установленный на первой печатной плате и второй печатной плате и выполненный с возможностью распознавания изменения давления, в котором датчик давления содержит первую часть, установленную на первой печатной плате и содержащую одну микросхему, и вторую часть, установленную на второй печатной плате и содержащую по меньшей мере одно пассивное устройство.

8. Устройство для генерирования аэрозоля по п. 1, дополнительно содержащее источник ультразвуковых колебаний, установленный в корпусе и выполненный с возможностью генерирования колебаний заданной частоты в соответствии с управляющим сигналом процессора, и картридж, соединенный с корпусом, в котором картридж содержит накопитель, выполненный с возможностью хранения материала для генерирования аэрозоля, и часть передачи материала, выполненную с возможностью абсорбирования материала для генерирования аэрозоля из накопителя и приема колебаний, генерируемых источником ультразвуковых колебаний, для преобразования материала для генерирования аэрозоля в аэрозоль.

9. Устройство для генерирования аэрозоля по п. 1, дополнительно содержащее соединенный с корпусом картридж, в котором картридж содержит источник ультразвуковых колебаний, установленный в картридже и выполненный с возможностью генерирования колебаний заданной частоты в соответствии с управляющим сигналом процессора, накопитель, выполненный с возможностью хранения материала для генерирования аэрозоля, и часть передачи материала, выполненную с возможностью абсорбирования материала для генерирования аэрозоля из накопителя и приема колебаний, генерируемых источником ультразвуковых колебаний, для преобразования материала для генерирования аэрозоля в аэрозоль.

Документы, цитированные в отчете о поиске Патент 2025 года RU2834189C2

US 20200359695 A1, 19.11.2020
US 20190191766 A1, 27.06.2019
KR 20130052119 A, 22.05.2013
ЭЛЕКТРОННОЕ УСТРОЙСТВО ДЛЯ ПОЛУЧЕНИЯ ПАРА 2018
  • Лорд Кристофер
RU2689514C1

RU 2 834 189 C2

Авторы

Ли, Вон Кён

Ким, Мин Кю

Ким, Чон О

Ли, Чжон Соп

Ли, Хён Сок

Чон, Хон Чун

Даты

2025-02-04Публикация

2022-08-04Подача