Область техники
[1] Один или несколько вариантов осуществления изобретения относятся к устройству для генерирования аэрозоля, в частности к устройству для генерирования аэрозоля, компоненты которого в минимальной степени деформируются под воздействием тепла.
Предшествующий уровень техники
[2] В последнее время растет спрос на технологии, которые могут заменить способ подачи аэрозоля путем сжигания обычной сигареты. Например, проведены исследования способа, в котором аэрозоль генерируют из жидкого или твердого материала для генерирования аэрозоля, или ароматизированный аэрозоль подают путем генерирования пара из жидкого материала для генерирования аэрозоля и пропускания сгенерированного пара через твердую ароматическую среду.
[3] В последнее время в замену способа, в котором аэрозоль подают путем сжигания сигареты, было предложено устройство для генерирования аэрозоля, в котором аэрозоль генерируют путем нагрева изделия для генерирования аэрозоля. Например, устройство для генерирования аэрозоля может генерировать аэрозоль путем нагрева жидкого или твердого материала для генерирования аэрозоля до заданной температуры посредством нагревателя.
[4] С помощью устройства для генерирования аэрозоля курение возможно без дополнительных принадлежностей, например, зажигалки, и повышается удобство курения за счет того, что пользователь может курить столько, сколько захочет. По этой причине в последнее время растет число различных исследований устройств для генерирования аэрозоля.
Сущность изобретения
Техническая задача
[5] Устройство для генерирования аэрозоля, предназначенное для генерирования аэрозоля путем генерирования тепла, содержит нагревательный элемент, генерирующий тепло. Воздух внутри устройства для генерирования аэрозоля может нагреваться нагревательным элементом. Тепло и давление нагретого воздуха могут деформировать другие компоненты устройства для генерирования аэрозоля. Поэтому необходима конструкция для эффективного отведения нагретого воздуха.
[6] В одном или нескольких вариантах осуществления изобретения предложено устройство для генерирования аэрозоля, имеющее усовершенствованную конструкцию для эффективного отведения воздуха из устройства для генерирования аэрозоля.
[7] Технические задачи настоящего изобретения не ограничены вышеприведенным описанием, и специалист в данной области техники сможет четко понять другие технические задачи на основании раскрытых ниже вариантов осуществления изобретения.
Техническое решение
[8] В одном или нескольких вариантах осуществления устройство для генерирования аэрозоля содержит корпус, содержащий пространство для размещения, предназначенное для размещения изделия для генерирования аэрозоля и выполненное с возможностью размещения по меньшей мере одного электронного компонента, нагреватель, расположенный в пространстве для размещения и выполненный с возможностью нагрева изделия для генерирования аэрозоля, размещенного в пространстве для размещения, картридж, соединенный с корпусом с возможностью разъединения и содержащий хранилище, выполненное с возможностью хранения материала для генерирования аэрозоля, и испаритель, выполненный с возможностью приема и нагрева материала для генерирования аэрозоля, причем корпус содержит вентиляционное отверстие, образованное между пространством для размещения и картриджем и выполненное с возможностью пропускания воздуха, нагретого теплом, генерируемым нагревателем или испарителем.
Полезные эффекты изобретения
[9] В устройстве для генерирования аэрозоля согласно одному или нескольким вариантам осуществления изобретения можно предотвратить деформацию компонентов устройства для генерирования аэрозоля под воздействием тепла.
[10] Кроме того, устройство для генерирования аэрозоля согласно одному или нескольким вариантам осуществления изобретения позволяет предотвратить запотевание оптического элемента под действием нагретого воздуха.
[11] Эффекты настоящего изобретения не ограничены раскрытыми выше эффектами, и неуказанные эффекты будут четко понятны специалисту в данной области техники из настоящего описания и приложенных чертежей.
Описание чертежей
[12] На ФИГ. 1 в аксонометрии изображено устройство для генерирования аэрозоля, в которое вставлено изделие для генерирования аэрозоля согласно одному из вариантов осуществления изобретения.
[13] На ФИГ. 2 схематично изображен внешний вид сбоку устройства для генерирования аэрозоля согласно одному из вариантов осуществления изобретения.
[14] На ФИГ. 3 в аксонометрии в увеличенном виде изображена верхняя часть устройства для генерирования аэрозоля, с которой снята крышка, согласно одному из вариантов осуществления изобретения.
[15] На ФИГ. 4 изображен разрез части устройства для генерирования аэрозоля, изображенного на ФИГ. 1.
[16] На ФИГ. 5 в аксонометрии изображен корпус устройства для генерирования аэрозоля согласно одному из вариантов осуществления изобретения.
[17] На ФИГ. 6 представлен вид в разрезе корпуса, изображенного на ФИГ. 5.
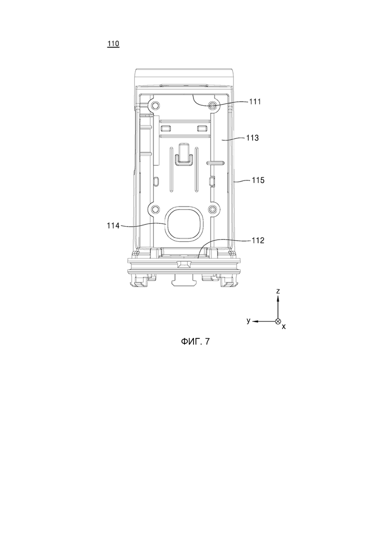
[18] На ФИГ. 7 изображен вид сбоку корпуса, изображенного на ФИГ. 5.
[19] На ФИГ. 8 в аксонометрии в увеличенном разрезе изображена верхняя часть устройства для генерирования аэрозоля, изображенного на ФИГ. 1.
[20] На ФИГ. 9 представлен вид в аксонометрии, где некоторые компоненты устройства для генерирования аэрозоля, изображенного на ФИГ. 3, отсутствуют.
[21] На ФИГ. 10 изображен разрез, демонстрирующий поток воздуха внутри устройства для генерирования аэрозоля, в которое вставлено изделие для генерирования аэрозоля, согласно одному из вариантов осуществления изобретения.
[22] На ФИГ. 11 изображен разрез, демонстрирующий поток воздуха, движущийся изнутри устройства для генерирования аэрозоля, в которое вставлено изделие для генерирования аэрозоля, наружу согласно одному из вариантов осуществления изобретения.
[23] На ФИГ. 12 изображена блок-схема устройства для генерирования аэрозоля согласно одному из вариантов осуществления изобретения.
Принцип изобретения
[24] В отношении терминов в различных вариантах осуществления изобретения, общие термины, широко используемые в настоящее время, выбирают с учетом функций структурных элементов в различных вариантах осуществления изобретения, раскрытых в настоящем описании. Тем не менее значения терминов могут быть изменены в соответствии с намерением, судебным прецедентом, появлением новых технологий и т. п. Кроме того, в некоторых случаях возможен произвольный выбор заявителем терминов в конкретных случаях. В таком случае значение термина будет подробно раскрыто в соответствующей части настоящего описания изобретения. Следовательно, термины, использованные при описании различных вариантов осуществления настоящего изобретения, следует понимать согласно значениям и объяснениям, приведенным в описании настоящего изобретения.
[25] При этом, если прямо не указано обратное, слово «содержать» и его формы, такие как «содержит» или «содержащий», будет пониматься как подразумевающее включение указанных элементов в состав чего-либо, но не как исключение любых других элементов. Кроме того, термины, обозначающие «блок», «часть» и «модуль», представленные в описании изобретения, означают блоки для обработки по меньшей мере одной функции и операции и могут быть реализованы компонентами аппаратного или программного обеспечения, а также их комбинациями.
[26] В данном случае, когда выражение типа «по меньшей мере один» стоит перед упорядоченными элементами, оно применяется ко всем элементам, а не к каждому упорядоченному элементу. Например, выражение «по меньшей мере одно из a, b и c» следует толковать как включающее a, b, c, или a и b, a и c, b и c, или a, b и c.
[27] В одном из вариантов осуществления изобретения устройство для генерирования аэрозоля может быть выполнено как устройство, генерирующее аэрозоль путем электрического нагрева сигареты, размещенной в его внутреннем пространстве.
[28] Устройство для генерирования аэрозоля может содержать нагреватель. В одном из вариантов осуществления изобретения нагреватель может представлять собой резистивный нагреватель. Например, нагреватель может содержать электропроводящую дорожку, и нагреватель может нагреваться, когда по электропроводящей дорожке протекает электрический ток.
[29] Нагреватель может содержать трубчатый нагревательный элемент, пластинчатый нагревательный элемент, игольчатый или стержневой нагревательный элемент и может нагревать внутреннюю или внешнюю часть сигареты в соответствии с формой нагревательного элемента.
[30] Сигарета может содержать табачный стержень и фильтрующий стержень. Табачный стержень может быть сформирован из листов, прядей и мелких кусочков, вырезанных из табачного листа. Кроме того, табачный стержень может быть окружен теплопроводящим материалом. Например, теплопроводящим материалом может служить металлическая фольга, например алюминиевая фольга, а также другие материалы.
[31] Фильтрующий стержень может содержать фильтр из ацетата целлюлозы. Фильтрующий стержень может содержать по меньшей мере один сегмент. Например, фильтрующий стержень может содержать первый сегмент, выполненный с возможностью охлаждения аэрозоля, и второй сегмент, выполненный с возможностью фильтрации определенного содержащегося в аэрозоле компонента.
[32] В другом варианте осуществления изобретения устройство для генерирования аэрозоля может представлять собой устройство, генерирующее аэрозоль с помощью картриджа, содержащего материал для генерирования аэрозоля.
[33] Устройство для генерирования аэрозоля может содержать картридж, содержащий материал для генерирования аэрозоля, и основную часть, поддерживающую картридж. Картридж может быть соединен с основной частью с возможностью разъединения, но возможны и другие варианты. Картридж может быть выполнен как единое целое с основной частью или собран с основной частью, и может быть закреплен на основной части таким образом, чтобы пользователь не мог отсоединить его от основной части. Картридж может быть установлен на основной части так, чтобы материал для генерирования аэрозоля находился внутри него. Тем не менее, настоящее изобретение этим не ограничено. Материал для генерирования аэрозоля может быть введен в картридж, когда картридж соединен с основной частью.
[34] Картридж может содержать материал для генерирования аэрозоля, находящийся, например, в жидком, твердом, газообразном или гелеобразном состоянии. Материал для генерирования аэрозоля может содержать жидкую композицию. Например, жидкая композиция может представлять собой жидкость с содержанием табачного материала, в который входит летучий компонент табачного ароматизатора или жидкость с содержанием нетабачного материала.
[35] Картридж может управляться электрическим сигналом или радиосигналом, переданным от основной части, для выполнения функции генерирования аэрозоля путем преобразования материала для генерирования аэрозоля внутри картриджа в газовую фазу. Аэрозоль может представлять собой газ, в котором испаренные частицы материала для генерирования аэрозоля смешаны с воздухом.
[36] В другом варианте осуществления изобретения устройство для генерирования аэрозоля может генерировать аэрозоль путем нагревания жидкой композиции, и сгенерированный аэрозоль может поступать к пользователю через сигарету. То есть, сгенерированный из жидкой композиции аэрозоль может перемещаться вдоль канала для потока воздуха в устройстве для генерирования аэрозоля, и канал для потока воздуха может быть выполнен с возможностью пропускания аэрозоля к пользователю через сигарету.
[37] В другом варианте осуществления изобретения устройство для генерирования аэрозоля может представлять собой устройство, генерирующее аэрозоль из материала для генерирования аэрозоля с применением способа ультразвуковых колебаний. В настоящее время под способом ультразвуковых колебаний может пониматься способ генерирования аэрозоля путем преобразования материала для генерирования аэрозоля в аэрозоль с помощью ультразвуковых колебаний, генерируемых источником колебаний.
[38] Устройство для генерирования аэрозоля может содержать источник колебаний и генерировать короткопериодные колебания с помощью источника колебаний для преобразования материала для генерирования аэрозоля в аэрозоль. Колебания, генерируемые источником колебаний, могут представлять собой ультразвуковые колебания, причем частотный диапазон ультразвуковых колебаний может составлять примерно от 100 кГц до 3,5 МГц; также возможны другие варианты.
[39] Устройство для генерирования аэрозоля может дополнительно содержать фитиль, впитывающий материал для генерирования аэрозоля. Например, фитиль может быть расположен так, чтобы окружать по меньшей мере один участок источника колебаний или контактировать по меньшей мере с одним участком источника колебаний.
[40] Когда на источник колебаний подают напряжение (например, переменное напряжение), источник колебаний может генерировать тепло и/или ультразвуковые колебания, и тепло и/или ультразвуковые колебания, генерируемые источником колебаний, могут быть переданы на впитанный фитилем материал для генерирования аэрозоля. Впитанный фитилем материал для генерирования аэрозоля может быть переведен в газовую фазу под воздействием передаваемого от источника колебаний тепла и/или ультразвуковых колебаний, что позволяет генерировать аэрозоль.
[41] Например, вязкость впитанного фитилем материала для генерирования аэрозоля может быть снижена под воздействием генерируемого источником колебаний тепла, и материал для генерирования аэрозоля с пониженной вязкостью может быть гранулирован под воздействием ультразвуковых колебаний, генерируемых источником колебаний, что позволяет генерировать аэрозоль; также возможны другие варианты.
[42] В другом варианте осуществления изобретения устройство для генерирования аэрозоля представляет собой устройство, генерирующее аэрозоль путем индукционного нагрева изделия для генерирования аэрозоля, размещенного в устройстве для генерирования аэрозоля.
[43] Устройство для генерирования аэрозоля может содержать токоприемник и катушку. В одном из вариантов осуществления изобретения катушка может воздействовать магнитным полем на токоприемник. Когда питание подают на катушку от устройства для генерирования аэрозоля, внутри катушки может быть сформировано магнитное поле. В одном из вариантов осуществления изобретения токоприемник может представлять собой магнитное тело, генерирующее тепло под воздействием внешнего магнитного поля. При размещении токоприемника внутри катушки и приложении к нему магнитного поля токоприемник выделяет тепло для нагрева изделия для генерирования аэрозоля. Кроме того, опционально, токоприемник может быть расположен внутри изделия для генерирования аэрозоля.
[44] В другом варианте осуществления изобретения устройство для генерирования аэрозоля может дополнительно содержать подставку.
[45] Устройство для генерирования аэрозоля может составлять единую систему вместе с отдельной подставкой. Например, подставку можно использовать для зарядки аккумулятора устройства для генерирования аэрозоля. В альтернативном варианте нагреватель может нагреваться при соединении подставки и устройства для генерирования аэрозоля друг с другом.
[46] Ниже предложенное изобретение будет раскрыто более полно со ссылкой на прилагаемые чертежи, на которых примерные варианты осуществления настоящего изобретения изображены таким образом, чтобы специалисту в данной области техники было легко реализовать настоящее изобретение. Настоящее изобретение может быть реализовано в формах, которые могут быть реализованы в устройствах для генерирования аэрозоля в соответствии с различными вариантами осуществления изобретения, раскрытыми выше, или может быть реализовано в различных формах и не ограничивается вариантами осуществления изобретения, описанными в настоящем документе.
[47] Ниже по тексту будут подробно раскрыты некоторые варианты осуществления настоящего изобретения со ссылкой на прилагаемые чертежи.
[48] На ФИГ. 1 в аксонометрии изображено устройство для генерирования аэрозоля, в которое вставлено изделие для генерирования аэрозоля согласно одному из вариантов осуществления изобретения.
[49] Как показано на ФИГ. 1, устройство 1 для генерирования аэрозоля согласно одному из вариантов осуществления изобретения может содержать крышку 10 и основную часть 11.
[50] Поскольку крышка 10 соединена с концевой частью основной части 11, основная часть 11 и крышка 10 могут определять внешнюю форму устройства 1 для генерирования аэрозоля.
[51] Крышка 10 может содержать проход 10h, через которое изделие 2 для генерирования аэрозоля может быть вставлено в верхнюю поверхность крышки 10.
[52] Крышка 10 может содержать заслонку 10c, позволяющую открывать и закрывать проход 10h. Заслонка 10c может быть расположена на верхней поверхности крышки 10 и сдвигаться скольжением для открывания и закрывания прохода 10h.
[53] Крышка 10 может содержать паз 10g скольжения на верхней поверхности крышки 10, причем паз 10g скольжения ориентирован в направлении сдвига скольжением заслонки 10c. Паз 10g скольжения может быть открытым, так что наружная часть крышки 10 может сообщаться с ее внутренней частью с возможностью передачи текучей среды.
[54] Когда заслонку 10c перемещают вдоль паза 10g для скольжения, расположенного на верхней поверхности крышки 10, проход 10h может быть открыт наружу. Таким образом, пользователь может вставить изделие 2 для генерирования аэрозоля в проход 10h. В данном случае изделие 2 для генерирования аэрозоля может служить примером твердого источника генерирования аэрозоля, используемого в устройстве 1 для генерирования аэрозоля.
[55] Основная часть 11 может формировать часть внешней формы устройства 1 для генерирования аэрозоля, вмещать и защищать его компоненты. Например, в основной части 11 может быть размещен аккумулятор (не показанный на фигуре), процессор (не показанный на фигуре) и/или нагреватель (не показанный на фигуре), но один или несколько вариантов осуществления изобретения не ограничиваются этим. Кроме того, основная часть 11 может вмещать изделие 2 для генерирования аэрозоля, вставленное через отверстие.
[56] Основная часть 11 и крышка 10 могут содержать полимерный материал, плохо передающий тепло, или металлический материал, покрытый теплоизоляционным материалом. Основная часть 11 и крышка 10 могут быть изготовлены, например, способом литья под давлением, способом трехмерной (3D) печати или способом сборки небольших компонентов, изготовленных способом литья под давлением.
[57] Между основной частью 11 и крышкой 10 может быть установлено поддерживающее устройство (не показанное на фигуре), предназначенное для поддержания состояния, в котором основная часть 11 соединена с крышкой 10. Поддерживающее устройство может содержать, например, выступы и пазы. Поскольку выступы остаются соединенными с пазами, можно сохранить соединение крышки 10 с основной частью 11. В одном из вариантов осуществления изобретения пользователь может отделить выступы от пазов, воспользовавшись кнопкой управления.
[58] Поддерживающее устройство может также содержать, например, магнит и металлический материал, притянутый к магниту. Если поддерживающее устройство содержит магнит, магнит может быть установлен на основной части 11 или крышке 10, и металлический материал, притянутый к магниту, может быть установлен на другой стороне. В альтернативном варианте магниты могут быть установлены как на основной части 11, так и на крышке 10.
[59] Компоненты устройства 1 для генерирования аэрозоля не ограничены вышеприведенным вариантом осуществления изобретения, и устройство 1 для генерирования аэрозоля согласно другому варианту осуществления изобретения может не содержать крышку 10.
[60] На ФИГ. 2 изображен покомпонентный вид сбоку, схематично иллюстрирующий внешний вид устройства для генерирования аэрозоля согласно одному из вариантов осуществления изобретения.
[61] Как показано на ФИГ. 2, устройство 1 для генерирования аэрозоля может содержать крышку 10, основную часть 11, корпус 110, кнопку 150 и картридж 200.
[62] Крышка 10 может быть отсоединена от основной части 11 и отделена от нее. Например, крышка 10 может быть отделена от основной части 11 в направлении +z. Когда крышка 10 отделена от основной части 11, корпус 110, кнопка 150 и картридж 200, расположенные в верхней части основной части 11, могут быть выставлены наружу.
[63] Корпус 110 может вмещать и защищать компоненты, расположенные в верхней части основной части 11. Согласно внутренней структуре корпуса 110, компоненты могут быть соответственно размещены в различных направлениях и расположены на различных участках корпуса 110.
[64] По меньшей мере, часть кнопки 150 может быть выведена наружу из корпуса 110, и в соответствии с командой пользователя кнопка 150 может разъединять соединение между корпусом 110 и картриджем 200. Например, когда пользователь воздействует на кнопку 150, картридж 200 может быть отделен от корпуса 110.
[65] Картридж 200 может хранить и нагревать материал для генерирования аэрозоля в целях генерирования аэрозоля. Картридж 200 может быть также соединен с одной стороной корпуса 100 с возможностью разъединения.
[66] В одном из вариантов осуществления изобретения картридж 200 может быть соединен с основной частью 11, содержащей процессор (не показанный на фигуре) и/или аккумулятор (не показанный на фигуре). Картридж 200 можно считать компонентом устройства для генерирования аэрозоля. Например, нагреватель (не показанный на фигуре), входящий в состав картриджа 200, может быть электрически соединен с основной частью 11 и получать питание от аккумулятора, причем процессор может регулировать подачу питания.
[67] То есть, по мере подачи питания на нагревательный элемент и управления устройством для генерирования аэрозоля, содержащем картридж 200, можно генерировать аэрозоль из материала для генерирования аэрозоля, хранящегося в картридже 200 в форме жидкости или геля.
[68] В другом варианте осуществления картридж 200 может быть соединен с основной частью 11, которая дополнительно содержит пространство для размещения (не показанное на фигуре), в котором размещено изделие для генерирования аэрозоля, и нагреватель (не показанный на фигуре) для нагрева изделия для генерирования аэрозоля, размещенного в пространстве для размещения.
[69] То есть устройство для генерирования аэрозоля, содержащее картридж 200, может генерировать аэрозоль путем нагрева не только материала для генерирования аэрозоля, хранящегося в картридже 200, но и вставленного изделия для генерирования аэрозоля. Соответственно, может быть реализовано гибридное устройство для генерирования аэрозоля.
[70] На ФИГ. 2 изображен картридж 200, соединенный с основной частью 11 со стороны ее боковой поверхности, однако способ соединения картриджа 200 и основной части 11 не ограничивается этим вариантом. Например, подобно крышке 10, картридж 200 может быть соединен с основной частью 11 путем перемещения в направлении -z из положения над основной частью 11.
[71] Здесь и далее для удобства описания будет предполагаться, что картридж 200 соединен с боковой поверхностью основной части 11.
[72] На ФИГ. 3 в аксонометрии в увеличенном виде изображена верхняя часть устройства для генерирования аэрозоля, с которой снята крышка, согласно одному из вариантов осуществления изобретения.
[73] Как показано на ФИГ. 3, устройство 1 для генерирования аэрозоля может содержать крышку 100, корпус 110, контейнер 120, нагреватель 130, уплотняющую часть 170 и картридж 200.
[74] Крышка 100 может быть расположена в верхней части корпуса 110 и накрывать расположенные на верхней части корпуса компоненты.
[75] Крышка 100 может быть соединена с верхней частью корпуса 110 с возможностью разъединения. Крышка 100 может содержать несколько выступов под ней, что позволяет закрепить крышку 100 на корпусе 110 при соединении с ним. Корпус 110 может содержать несколько пазов в верхней концевой части боковой стенки. Поскольку выступы остаются вставленными в пазы, можно сохранить соединение крышки 100 с корпусом 110.
[76] Крышка 100 может содержать отверстие 100h для введения, расположенное соосно с проходом (например, проходом 10h на ФИГ. 1) крышки (крышки 10 на ФИГ. 1) и позволяющее вводить изделие для генерирования аэрозоля в корпус 110. Изделие для генерирования аэрозоля может быть размещено в пространстве 110i для размещения путем прохождения через проход и отверстие 100h для введения.
[77] На ФИГ. 3 показано, что крышка 100 соприкасается и накрывает часть контейнера 120 и верхнюю поверхность уплотняющей части 170, тем не менее, компоненты, которые могут быть накрыты крышкой 100, не ограничиваются этим.
[78] Корпус 110 может содержать пространство 110i для размещения, предназначенное для размещения изделия для генерирования аэрозоля (не показанного на фигуре). В этом случае пространство 110i для размещения может представлять собой не только пространство, окруженное корпусом 110, но и пространство, окруженное контейнером 120, вставленным в корпус 110.
[79] Контейнер 120 может содержать пространство 110i для размещения, расположенное внутри корпуса 110 и вмещающее изделие для генерирования аэрозоля. Кроме того, в контейнере 120 может быть размещен нагреватель 130 и другие компоненты. Внутренняя стенка контейнера 120 может поддерживать нагреватель 130 и другие компоненты без возможности их перемещения.
[80] Нагреватель 130 может быть расположен внутри контейнера 120 и генерировать аэрозоль путем нагрева изделия для генерирования аэрозоля, размещенного в пространстве 110i для размещения. Нагреватель 130 может генерировать тепло, используя поступающее от аккумулятора (не показанного на фигуре) питание.
[81] На ФИГ. 3 показано, что нагреватель 130 расположен снаружи изделия для генерирования аэрозоля, размещенного в пространстве 110i для размещения, но один или несколько вариантов осуществления изобретения не ограничиваются этим. Например, нагреватель 130 может содержать цилиндрический нагревательный элемент, пластинчатый нагревательный элемент, игольчатый или стержневой нагревательный элемент и может нагревать внутреннюю или внешнюю часть изделия для генерирования аэрозоля в соответствии с формой нагревательного элемента.
[82] Уплотняющая часть 170 может быть расположена между крышкой 100 и корпусом 110 и накрывать, по меньшей мере, часть корпуса 110 и компоненты, расположенные на верхней части корпуса 110. Поэтому компоненты, расположенные на верхней части корпуса 110, могут быть дважды накрыты уплотняющей частью 170 и крышкой 100.
[83] На ФИГ. 3 показано, что уплотняющая часть 170 накрывает нижнее пространство крышки 100 в направлении оси х, тем не менее, направление, в котором крышка 100 накрывает и скрывает компоненты, не ограничивается этим вариантом.
[84] Пространство, в котором расположены электронные компоненты, должно быть герметизировано для предотвращения воздействия аэрозоля и жидкости, присутствующей внутри и снаружи устройства 1 для генерирования аэрозоля, на компоненты, расположенные на верхней части корпуса 110, в частности, электронные компоненты (не показанные на фигуре).
[85] В этом случае электронный компонент может представлять собой компонент с электрическим управлением и может содержать пассивный элемент, например, резистор или конденсатор, активный элемент, например, полупроводник, соединительный компонент, например, разъем, переключатель, электрический провод, печатную плату и т. п.
[86] Уплотняющая часть 170 может образовывать закрытое пространство вместе с другими компонентами, закрывающими вышеуказанные электронные компоненты и контактирующими с уплотняющей частью 170. Электронные компоненты могут быть расположены в закрытом пространстве.
[87] Кроме того, крышка 100 может быть соединена с корпусом 110, накрывать уплотняющую часть 170 и оказывать давление в направлении -z, в котором уплотняющая часть 170 обращена к нижней поверхности крышки 100. Это позволяет улучшить герметичность уплотняющей части 170.
[88] По завершении сборки компонентов устройства 1 для генерирования аэрозоля внутри устройства 1 для генерирования аэрозоля и в вышеописанном закрытом пространстве находится воздух.
[89] Воздух, находящийся в закрытом пространстве, в котором расположены электронные компоненты устройства 1 для генерирования аэрозоля, может не выводиться наружу вследствие плотного расположения или герметичной структуры компонентов и оставаться внутри.
[90] В этом случае тепло, регулярно генерируемое нагревателем 130 во время использования устройства 1 для генерирования аэрозоля, может нагревать воздух в закрытом пространстве.
[91] Тепло, генерируемое не только нагревателем 130, но и испарителем (не показанным на фигуре) для нагрева материала для генерирования аэрозоля, может влиять на нагрев воздуха в закрытом пространстве. В дальнейшем под «нагревательным элементом» могут совместно пониматься нагреватель 130 и испаритель для генерирования аэрозоля путем генерирования тепла.
[92] Когда воздух в закрытом пространстве, в котором расположены электронные компоненты устройства 1 для генерирования аэрозоля, нагревается теплом от нагревательного элемента, воздух, расширяющийся в результате нагрева, может толкать компоненты (например, электронные компоненты) наружу из устройства 1 для генерирования аэрозоля.
[93] Закрытое пространство может расширяться под действием тепла и давления нагретого воздуха, что может привести к деформации компонентов. Кроме того, на участках с низкой плотностью расположения или степенью герметизации компонентов возможно внезапное образование зазоров, обусловленных расширением воздуха. Аэрозоль, находящийся снаружи устройства для генерирования аэрозоля, может поступать внутрь устройства 1 для генерирования аэрозоля через зазоры.
[94] Капли могут образовываться по мере охлаждения аэрозоля, поступившего внутрь устройства 1 для генерирования аэрозоля, и образовавшиеся капли могут накапливаться внутри устройства 1 для генерирования аэрозоля. При многократном охлаждении и накоплении аэрозоль, поступающий внутрь устройства 1 для генерирования аэрозоля, и скопившиеся капли могут воздействовать на электронные компоненты, расположенные внутри устройства 1 для генерирования аэрозоля.
[95] В случае включения оптического элемента (например, линзы) в состав оптического датчика, например, внутренняя сторона оптического датчика может запотеть, и запотевание может ухудшить работу оптического датчика.
[96] Существует необходимость в отведении нагретого воздуха наружу для предотвращения деформации компонентов нагретым воздухом, вызывающим вышеуказанное явление, то есть «отрицательное влияние нагретого воздуха». Для выпуска нагретого нагревательным элементом воздуха наружу корпус 110 может содержать вентиляционное отверстие (не показанное на фигуре), через которое проходит нагретый воздух.
[97] Здесь и далее компоненты, расположенные на верхней части основной части, подробно раскрыты со ссылкой на ФИГ. 4.
[98] На ФИГ. 4 изображен разрез части устройства для генерирования аэрозоля, изображенного на ФИГ. 1, выполненный в направлении IV-IV.
[99] Как показано на ФИГ. 4, устройство 1 для генерирования аэрозоля может содержать крышку 100, корпус 110, контейнер 120, нагреватель 130, передаточный канал 140 и картридж 200. Картридж 200 может содержать боковую пластину 210, хранилище 220, испаритель 230 и выпускное отверстие 240.
[100] По меньшей мере один из компонентов устройства 1 для генерирования аэрозоля согласно одному из вариантов осуществления изобретения может соответствовать или быть аналогичен по меньшей мере одному из компонентов устройства 1 для генерирования аэрозоля, изображенного на ФИГ. 3; повторное описание будет опущено.
[101] Согласно внутренней конструкции компоненты могут быть соответственно размещены в различных направлениях и на различных участках корпуса 110.
[102] Корпус 110 может быть разделен на несколько участков. Участки корпуса 110 могут включать участок, на котором размещают электронные компоненты 60, участок, на котором размещают изделие для генерирования аэрозоля и контейнер 120, нагреватель 130, передаточный канал 140 и т. п., участок, на котором расположен картридж 200, и т. п. Каждый участок описан ниже со ссылкой на ФИГ. 5-7.
[103] Корпус 110 может содержать вентиляционное отверстие 110h для выпуска наружу воздуха, нагретого теплом, генерируемым нагревательным элементом 30.
[104] Вентиляционное отверстие 110h может быть расположено в подходящем месте корпуса 110, где велико «отрицательное влияние нагретого воздуха». Например, вентиляционное отверстие 110h может быть расположено в области концентрации электронных компонентов 60 внутри устройства 1 для генерирования аэрозоля.
[105] Кроме того, вентиляционное отверстие 110h может быть расположено в подходящем месте таким образом, чтобы нагретый воздух не скапливался внутри устройства 1 для генерирования аэрозоля и плавно проходил через вентиляционное отверстие 110h. Кроме того, вентиляционное отверстие 110h может быть расположено в подходящем месте, в котором аэрозоль из устройства 1 для генерирования аэрозоля не может попадать в устройство 1 для генерирования аэрозоля.
[106] С учетом вышеизложенных признаков вентиляционное отверстие 110h может быть расположено во внутренней части устройства 1 для генерирования аэрозоля, причем внутренняя часть устройства может быть накрыта другими компонентами. Вентиляционное отверстие 110h может не открываться наружу даже в том случае, если крышка (например, крышка 10 на ФИГ. 2) отделена от устройства 1 для генерирования аэрозоля.
[107] Передаточный канал 140 может быть расположен внутри контейнера 120, принимать аэрозоль, генерируемый из картриджа 200, и передавать аэрозоль в пространство 110i для размещения, в котором размещено изделие для генерирования аэрозоля (не показанное на фигуре).
[108] Аэрозоль, переданный в пространство 110i для размещения, может проходить через изделие для генерирования аэрозоля, вставленное в пространство 110i для размещения, и поступать к пользователю.
[109] Картридж 200 может содержать канал 200i для подачи воздуха, через который поступает внешний воздух, и может нагревать материал для генерирования аэрозоля, тем самым генерируя аэрозоль.
[110] Боковая пластина 210 может быть расположена рядом с хранилищем 220 картриджа 200, и канал 200i для подачи воздуха может быть расположен между боковой пластиной 210 и поверхностью хранилища 220. Канал 200i для подачи воздуха может подавать воздух из картриджа 200 в испаритель 230.
[111] Боковая пластина 210 и поверхность хранилища 220 могут содержать несколько выступов, выступающих в сторону канала 200i для подачи воздуха. Выступы могут предотвращать вывод капель, образующихся в испарителе 230, наружу через канал 200i для подачи воздуха.
[112] В хранилище 220 может храниться материал для генерирования аэрозоля. Материал для генерирования аэрозоля может представлять собой жидкость, содержащую материал, содержащий табак, в который входит летучий компонент табачного ароматизатора, или жидкость, содержащую нетабачный материал.
[113] Испаритель 230 может принимать материал для генерирования аэрозоля из хранилища 220 и нагревать материал для генерирования аэрозоля, что позволяет генерировать аэрозоль.
[114] В частности, испаритель 230 может содержать элемент подачи жидкости для поглощения материала для генерирования аэрозоля в хранилище 220 и его подачи в нагреватель, а также нагреватель для нагрева материала для генерирования аэрозоля, подаваемого элементом подачи жидкости.
[115] Испаритель 230 может быть соединен с каналом 200i для подачи воздуха и принимать из него воздух. В этом случае газ, сгенерированный из материала для генерирования аэрозоля, нагретого испарителем 230, может быть смешан с воздухом, что позволяет генерировать аэрозоль.
[116] Выпускное отверстие 240 может выпускать аэрозоль, генерируемый в испарителе 230, наружу из картриджа 200. Выпускное отверстие 240 может быть соединено с передаточным каналом 140. Аэрозоль, генерируемый внутри картриджа 200, может быть передан в изделие для генерирования аэрозоля, размещенное в пространстве 110i для размещения, через передаточный канал 140.
[117] Направление, в котором ориентировано выпускное отверстие 240, может пересекать направление введения изделия для генерирования аэрозоля. Передаточный канал 140 может быть изогнут или выполнен в форме «L» и ориентирован в направлении выпускного отверстия 240 и в направлении, в котором вставлено изделие для генерирования аэрозоля. Тем не менее, один или несколько вариантов осуществления не ограничиваются направлением выпускного отверстия и формой передаточного канала.
[118] Часть, в которой выпускное отверстие 240 соединено с передаточным каналом 140, может быть герметично закрыта. Поскольку выпускное отверстие 240 и передаточный канал 140 могут быть герметично соединены друг с другом, можно предотвратить утечку аэрозоля из передаточного канала 140 в то время, когда аэрозоль поступает из выпускного отверстия 240 в передаточный канал 140.
[119] Здесь и далее структура корпуса 110 и расположение вентиляционного отверстия 110h подробно раскрыты со ссылкой на ФИГ. 5-7.
[120] На ФИГ. 5-7 изображены схемы, иллюстрирующие корпус и вентиляционное отверстие в устройстве для генерирования аэрозоля согласно одному из вариантов осуществления изобретения.
[121] На ФИГ. 5 представлен вид в аксонометрии корпуса устройства для генерирования аэрозоля согласно одному из вариантов осуществления изобретения. На ФИГ. 6 представлен вид в разрезе корпуса, изображенного на ФИГ. 5, в направлении VI-VI. На ФИГ. 7 изображен вид сбоку корпуса, изображенного на ФИГ. 5, в направлении VII.
[122] Как показано на ФИГ. 5-7, корпус 110 может содержать верхнюю стенку 111, нижнюю стенку 112, перегородку 113, соединительный канал 114 и боковую стенку 115.
[123] Корпус 110 может вмещать компоненты, расположенные на верхней части основной части (например, основной части 11 на ФИГ. 2), или же компоненты могут быть расположены внутри верхней части основной части. Например, корпус 110 может вмещать по меньшей мере один компонент (например, электронный компонент 60 на ФИГ. 4).
[124] Корпус 110 может содержать первый участок A1, на котором размещен электронный компонент, второй участок A2, содержащий пространство 110i для размещения, в котором размещено изделие для генерирования аэрозоля, и нагреватель (например, нагреватель 130 на ФИГ. 4), и третий участок A3, на котором расположен картридж (например, картридж 200 на ФИГ. 4).
[125] В этом случае, поскольку первый участок A1 представляет собой область, в которой электронные компоненты могут быть плотно расположены и герметизированы уплотняющей частью (например, уплотняющей частью 170 на ФИГ. 3) и крышкой (например, крышкой 100 на ФИГ. 3), первый участок A1 может подвергаться сильному отрицательному влиянию нагретого воздуха. Поэтому корпус 110 может содержать вентиляционное отверстие 110h в части корпуса 110 на первом участке A1.
[126] Первый участок A1 может быть отделен от второго участка A2 уплотняющей частью (например, уплотняющей частью 170 на ФИГ. 3). Первый участок A1 может быть отделен от третьего участка A3 верхней стенкой 111. Второй участок A2 может быть отделен от третьего участка A3 перегородкой 113.
[127] Корпус 110 может содержать верхнюю стенку 111. Верхняя стенка 111 может проходить в первом направлении на первом участке A1, и по меньшей мере один электронный компонент 60 может быть расположен на верхней части верхней стенки 111 и, тем самым, размещен в верхней части корпуса 110. В этом случае под «первым направлением» может пониматься направление оси x. Вентиляционное отверстие 110h может быть расположено в части верхней стенки 111.
[128] Как показано на ФИГ. 5, верхняя стенка 111 может проходить только в направлении - x относительно перегородки 113. Верхний участок верхней стенки 111, проходящий в направлении -x относительно перегородки 113, может представлять собой первый участок A1. Нижний участок верхней стенки 111, проходящий в направлении -x относительно перегородки 113, может представлять собой третий участок A3.
[129] Вентиляционное отверстие 110h может быть расположено в части верхней стенки 111, расположенной между первым участком A1 и третьим участком A3. Вентиляционное отверстие 110h может быть открыто во втором направлении, пересекающем первое направление. В этом случае выражение «второй участок» может обозначать направление оси z.
[130] Участок в направлении +x относительно перегородки 113 может представлять собой второй участок A2.
[131] Корпус 110 может содержать пространство 110i для размещения, открытое во втором направлении и проходящее во втором направлении для размещения изделия для генерирования аэрозоля (не показанного на фигуре) на втором участке A2.
[132] Как показано на ФИГ. 5, пространство 110i для размещения может быть окружено перегородкой 113 и боковой стенкой 115 корпуса 110. Тем не менее, один или несколько вариантов осуществления не ограничиваются этим вариантом, и пространство для размещения может быть окружено контейнером (например, контейнером 120 на ФИГ. 3), помещенным в корпус 110.
[133] На втором участке A2 нагреватель может быть расположен снаружи изделия для генерирования аэрозоля, размещенного в пространстве 110i для размещения.
[134] Корпус 110 может содержать нижнюю стенку 112, обращенную к верхней стенке 111 и проходящую в первом направлении.
[135] Как показано на ФИГ. 5, нижняя стенка 112 может проходить в направлении +x и -x относительно перегородки 113. Нижняя стенка 112 может поддерживать корпус на втором участке A2. Нижняя стенка 112 может также поддерживать картридж на третьем участке A3.
[136] Картридж может быть вставлен между верхней стенкой 111 и нижней стенкой 112 и соединен с корпусом 110. Картридж, соединенный с корпусом 110, может закрывать третий участок A3.
[137] Корпус 110 может содержать перегородку 113. Как было описано выше, перегородка 113 может отделять второй участок, на котором расположено пространство для размещения, вмещающее изделие для генерирования аэрозоля, от третьего участка, на котором находится картридж 200.
[138] Перегородка 113 может быть обращена в первом направлении, ориентирована во втором направлении и расположена между верхней стенкой 111 и нижней стенкой 112.
[139] Третий участок A3 корпуса 110 может быть открыт от перегородки 113 в первом направлении. Как показано на ФИГ. 5, третий участок A3 может быть открыт от перегородки 113 в направлении -x, но один или несколько вариантов осуществления изобретения не ограничиваются этим.
[140] Вентиляционное отверстие 110h может быть расположено рядом с перегородкой 113 в части верхней стенки 111.
[141] Корпус 110 может содержать соединительный канал 114. Соединительный канал 114 может быть расположен в части перегородки 113 и соединять второй участок A2 с третьим участком A3.
[142] Часть передаточного канала (например, передаточного канала 140 на ФИГ. 4), расположенная на втором участке A2, и часть выпускного отверстия (например, выпускного отверстия 240 на ФИГ. 4) картриджа, расположенного на третьем участке A3, может быть вставлена в соединительный канал 114. Таким образом, часть передаточного канала и часть выпускного отверстия могут быть соединены друг с другом внутри соединительного канала 114, при этом часть, в которой часть передаточного канала соединена с частью выпускного отверстия, может быть герметично закрыта внутри соединительного канала 114.
[143] Корпус 110 может содержать боковую стенку 115. Боковая стенка 115 может быть ориентирована в окружном направлении корпуса 110 и образовывать, по меньшей мере, часть внешней формы корпуса 110.
[144] На третьем участке A3 часть боковой стенки 115 может быть открыта в первом направлении. Как показано на ФИГ. 5, часть боковой стенки 115 может быть открыта в направлении -x. Картридж может приближаться в направлении +x к корпусу 110 через открытую часть боковой стенки 115 и соединяться с ним.
[145] На третьем участке A3 боковая стенка 115 может содержать отверстие для кнопки, через которое кнопка (кнопка 150 на ФИГ. 2) выведена наружу.
[146] Боковая стенка 115 может окружать верхнюю часть верхней стенки 111. То есть верхняя концевая часть боковой стенки 115 может проходить в окружном направлении и окружать верхнюю часть верхней стенки 111. Верхняя концевая часть боковой стенки 115, окружающая верхнюю часть верхней стенки 111, может содержать несколько пазов. Когда выступы крышки вставлены в пазы, крышка может быть соединена с верхней частью корпуса 110.
[147] Кроме того, верхняя концевая часть боковой стенки 115, раскрытая выше, может окружать и стабильно поддерживать электронные компоненты 60, расположенные на верхней части верхней стенки 111.
[148] Первый участок A1 может представлять собой участок верхней части верхней стенки 111, проходящий в направлении -x относительно перегородки 113 и окруженный верхней концевой частью боковой стенки 115.
[149] Второй участок A2 может быть окружен боковой стенкой 115 и перегородкой 113. Второй участок A2 закрыт нижней стенкой 112 в направлении -z и открыт в направлении +z.
[150] Третий участок A3 может быть окружен частью боковой стенки 115 и перегородкой 113. Третий участок A3 может быть открыт в направлении -x и закрыт верхней стенкой 111 и нижней стенкой 112 в направлении оси z.
[151] Здесь и далее «участки и соответствующие компоненты, на которые отрицательно воздействует нагретый воздух» подробно раскрыты со ссылкой на ФИГ. 8 и 9.
[152] На ФИГ. 8 и 9 изображены схемы, иллюстрирующие участки, на которые отрицательно влияет нагретый воздух.
[153] На ФИГ. 8 в аксонометрии в увеличенном разрезе изображена верхняя часть устройства для генерирования аэрозоля, изображенного на ФИГ. 1. На ФИГ. 9 изображен вид в аксонометрии, на котором некоторые компоненты устройства для генерирования аэрозоля, изображенного на ФИГ. 3, отсутствуют.
[154] Как показано на ФИГ. 8 и 9, устройство 1 для генерирования аэрозоля может содержать корпус 110, нагревательный элемент 30, электронные компоненты 60, уплотняющую часть 170, часть 180 регулировки зазора и картридж 200. Ссылочные обозначения на ФИГ. 6 относятся к ссылочным обозначениям, отсутствующим на ФИГ. 8 и 9.
[155] Нагревательный элемент 30 может содержать нагреватель 130 и испаритель 230. Нагреватель 130 может нагревать материал для генерирования аэрозоля, размещенный в пространстве 110i для размещения, в целях генерирования аэрозоля. Испаритель 230 может принимать материал для генерирования аэрозоля из хранилища 220 и нагревать принятый материал для генерирования аэрозоля, тем самым генерируя аэрозоль.
[156] Нагреватель 130 может быть расположен внутри контейнера 120 и находиться на втором участке A2 вместе с контейнером 120. Испаритель 230 может быть расположен внутри картриджа 200 и находиться на третьем участке A3 вместе с картриджем 200.
[157] Как было описано выше, поскольку первый участок A1 представляет собой область плотного расположения электронных компонентов 60, герметизированную уплотняющей частью 170, крышкой 100 и т.п., нагретый воздух может существенно ухудшать состояние первого участка A1.
[158] Как показано на ФИГ. 5, так как первый участок A1 расположен ближе к нагревателю 130 на втором участке A2, чем к испарителю 230 на третьем участке A3, воздух на первом участке A1 может нагреваться преимущественно нагревателем 130. Тем не менее, расположение нагревателя 130 и испарителя 230 не ограничивается вышеприведенным раскрытием, и причины, по которым воздух в устройстве 1 для генерирования аэрозоля нагревается, могут зависеть от вариантов осуществления изобретения.
[159] Электронные компоненты 60, расположенные на первом участке A1, могут представлять собой оптический датчик 160 и печатную плату 161 для оптического датчика.
[160] Оптический датчик 160 может содержать оптический элемент, пропускающий свет, отраженный от изделия для генерирования аэрозоля, вставленного в пространство 110i для размещения на втором участке A2, и сенсорный блок для распознавания света.
[161] Например, оптический датчик 160 может представлять собой датчик цвета, предназначенный для распознавания цвета изделия для генерирования аэрозоля и предотвращения повторного использования изделия для генерирования аэрозоля. Кроме того, оптический датчик 160 может представлять собой датчик приближения для распознавания введения изделия для генерирования аэрозоля в пространство 110i для размещения на втором участке A2.
[162] Оптический датчик 160 может быть расположен на верхней поверхности верхней стенки 111 вместе с печатной платой 161 для оптического датчика.
[163] Вентиляционное отверстие 110h может быть расположено в верхней стенке 111 для предотвращения запотевания оптического элемента и может быть открыто в сторону оптического датчика 160.
[164] Как показано на ФИГ. 8 и 9, вентиляционное отверстие 110h в верхней стенке 111 может быть расположено под оптическим датчиком 160, но один или несколько вариантов осуществления изобретения не ограничиваются таким расположением вентиляционного отверстия 110h.
[165] Поскольку нагретый воздух не скапливается в верхнем пространстве верхней стенки 111 и движется через вентиляционное отверстие 110h, можно предотвратить запотевание оптического элемента.
[166] Электронные компоненты 60, расположенные на первом участке A1, могут содержать датчик 165 затяжки и печатную плату 166 для датчика затяжки. Датчик 165 затяжки может распознавать изменение давления в канале для потока воздуха, зависящее от затяжки пользователя.
[167] Датчик 165 затяжки может быть расположен на верхней поверхности верхней стенки 111 вместе с печатной платой 166 для датчика затяжки.
[168] Верхняя стенка 111 может содержать отверстие 111p затяжки, которое открыто в сторону датчика 165 затяжки, что позволяет воздуху поступать в датчик 165 затяжки. Отверстие 111p затяжки в верхней стенке 111 может быть расположено над каналом 200i для подачи воздуха, ориентированным в направлении оси z.
[169] Уплотняющая часть 170 может по меньшей мере частично накрывать корпус 110 на первом участке A1 и отделять первый участок A1 от второго участка A2. Как показано на ФИГ. 8, относительно поверхности уплотняющей части 170 в направлении оси x участок в направлении +x может быть вторым участком A2, в то время как участок в направлении -x может быть первым участком A1.
[170] Уплотняющая часть 170 может накрывать электронные компоненты 60, расположенные в верхней части корпуса 110, при этом накрывая корпус 110.
[171] Уплотняющая часть 170 может накрывать оптический датчик 160 и часть между изделием для генерирования аэрозоля, вставленным в пространство 110i для размещения в направлении оси х, и оптическим датчиком 160. При этом уплотняющая часть 170 может содержать прозрачный или полупрозрачный материал, через который может проходить свет. Таким образом, оптический датчик 160 может распознавать свет, отраженный от изделия для генерирования аэрозоля и проходящий через уплотняющую часть 170.
[172] Вентиляционное отверстие 110h может быть открыто в направлении к уплотняющей части 170 от корпуса 110. Как показано на ФИГ. 8, вентиляционное отверстие 110h в верхней стенке 111 может быть открыто в направлении оси z, то есть в направлении к уплотняющей части 170 от корпуса 110.
[173] Часть 180 регулировки зазора может быть расположена между корпусом 110 и электронным компонентом 60. Часть 180 регулировки зазора может вступать в контакт с корпусом 110 и электронным компонентом 60, устраняя зазор между ними.
[174] Как показано на ФИГ. 8, часть 180 регулировки зазора может быть расположена с возможностью размещения датчика 165 затяжки и, по меньшей мере, частично накрывать верхнюю поверхность верхней стенки 111. Часть 180 регулировки зазора может быть открыта в направлении отверстия 111p затяжки, в результате чего воздух, проходящий через отверстие 111p затяжки, может поступать в датчик 165 затяжки.
[175] Часть 180 регулировки зазора может по меньшей мере частично соприкасаться с уплотняющей частью 170. Как показано на ФИГ. 8, уплотняющая часть 170 может накрывать часть 180 регулировки зазора, соприкасаясь с верхней поверхностью верхней стенки 111. Между уплотняющей частью 170 и частью 180 регулировки зазора может быть образовано закрытое пространство, и электронные компоненты 60 могут быть расположены в закрытом пространстве.
[176] Часть 180 регулировки зазора, соприкасающаяся с верхней стенкой 111, может быть открыта, не накрывая вентиляционное отверстие 110h. Воздух в закрытом пространстве может проходить через открытую часть части 180 регулировки зазора и через вентиляционное отверстие 110h, расположенное в верхней стенке 111.
[177] Воздух, проходящий через вентиляционное отверстие 110h, необходимо выпускать наружу из устройства 1 для генерирования аэрозоля.
[178] Когда картридж 200 вставлен между верхней стенкой 111 и нижней стенкой 112 картриджа 200 и соединен с корпусом 110, между верхней стенкой 111 и картриджем 200 может быть образован зазор. В этом случае зазор может стать каналом, по которому движется воздух.
[179] То есть, между верхней стенкой 111 и картриджем 200 может быть образован канал 200e для выпуска воздуха, а вентиляционное отверстие 110h может быть соединено с возможностью передачи текучей среды с каналом 200e для выпуска воздуха.
[180] Здесь и далее «канал, по которому воздух, проходящий через вентиляционное отверстие 110h, выходит наружу», подробно раскрыт со ссылкой на ФИГ. 10 и 11.
[181] На ФИГ. 10 и 11 изображены схемы, иллюстрирующие канал, по которому воздух, проходящий через вентиляционное отверстие, выпускают наружу.
[182] На ФИГ. 10 изображен разрез, демонстрирующий поток воздуха внутри устройства для генерирования аэрозоля, в которое вставлено изделие для генерирования аэрозоля, согласно одному из вариантов осуществления изобретения. На ФИГ. 11 изображен разрез, демонстрирующий поток воздуха, движущийся изнутри устройства для генерирования аэрозоля, в которое вставлено изделие для генерирования аэрозоля, наружу согласно одному из вариантов осуществления изобретения.
[183] На ФИГ. 11 показано, что крышка 10 соединена с верхней частью устройства 1 для генерирования аэрозоля согласно ФИГ. 10. Хотя это не показано на ФИГ. 11, другие компоненты могут быть расположены между верхней частью устройства 1 для генерирования аэрозоля на ФИГ. 10 и крышкой 10.
[184] Здесь и далее повторные описания опущены, и ссылочные обозначения на ФИГ. 4 и 6 относятся к ссылочным обозначениям, не показанным на ФИГ. 10 и 11.
[185] Вентиляционное отверстие 110h может сообщаться с каналом 200e для выпуска воздуха с возможностью передачи текучей среды. Соответственно, первый канал P1 для потока воздуха может быть образован вентиляционным отверстием 110h и каналом 200e для выпуска воздуха.
[186] В направлении первого пути P1 для потока воздуха нагретый воздух на первом участке A1 может проходить через канал 200e для выпуска воздуха на третьем участке A3 через вентиляционное отверстие 110h и выходить наружу из корпуса 110.
[187] Напротив, относительно холодный воздух, выходящий наружу из корпуса 110, может поступать в канал 200e для выпуска воздуха и канал 200i подачи воздуха. Вдоль первого пути P1 для потока воздуха холодный воздух может проходить через вентиляционное отверстие 110h через канал 200e для выпуска воздуха, расположенный на третьем участке A3, и достигать первого участка A1.
[188] Таким образом, через первый путь P1 для потока воздуха нагретый воздух на первом участке A1 может быть отведен наружу из корпуса 110, и относительно холодный воздух снаружи корпуса 110 может поступать на первый участок A1. Соответственно, температура воздуха на первом участке A1 может снижаться.
[189] Отдельно от первого пути P1 для потока воздуха в устройстве 1 для генерирования аэрозоля может быть сформирован второй путь P2 для потока воздуха, по которому аэрозоли, генерируемые картриджем 200 и изделием 2 для генерирования аэрозоля, могут поступать к пользователю.
[190] Второй путь P2 для потока воздуха может представлять собой путьдля потока воздуха, по которому смесь первичного аэрозоля, генерируемого при нагревании материала для генерирования аэрозоля в картридже 200 испарителем 230, и вторичного аэрозоля, генерируемого при нагревании изделия 2 для генерирования аэрозоля нагревателем 130, поступает к пользователю для вдыхания.
[191] Как показано на ФИГ. 10, второй путь P2 для потока воздуха начинается от входа в канал 200i для подачи воздуха картриджа 200.
[192] Воздух снаружи корпуса 110 и картриджа 200 может поступать в канал 200i для подачи воздуха. Воздух может перемещаться вдоль канала 200i для подачи воздуха и достигать испарителя 230.
[193] Воздух, достигающий испарителя 230, может быть смешан с первичным аэрозолем и выходить наружу из картриджа 200, проходя через выпускное отверстие 240.
[194] Первичный аэрозоль, смешанный с воздухом, может поступать по передаточному каналу 140, соединенному с выпускным отверстием 240, в конец изделия 2 для генерирования аэрозоля, размещенного в пространстве 110i для размещения.
[195] В то время как первичный аэрозоль, смешанный с воздухом, проходит через изделие 2 для генерирования аэрозоля, вторичный аэрозоль может генерироваться из изделия 2 для генерирования аэрозоля. Таким образом, первичный аэрозоль, смешанный с воздухом, может быть смешан со вторичным аэрозолем при прохождении через изделие 2 для генерирования аэрозоля.
[196] Воздух, содержащий первичный и вторичный аэрозоль, может поступать в рот пользователя, являющийся конечным пунктом назначения второго пути P2 для потока воздуха.
[197] Второй путь P2 для потока воздуха может представлять собой канал, по которому движется воздух и аэрозоль, когда пользователь делает затяжку от изделия 2 для генерирования аэрозоля. Как показано на ФИГ. 10 и 11, второй путь P2 для потока воздуха формирует единый маршрут для потока воздуха. Тем не менее, направление движения воздуха и аэрозолей не ограничивается этим вариантом.
[198] Канал 200e для выпуска воздуха может быть выполнен в направлении, пересекающем канал 200i для подачи воздуха. В этом случае вход канала 200i для подачи воздуха может быть открыт в направлении верхней стенки 111, а канал 200e для выпуска воздуха может быть соединен с входом канала 200i для подачи воздуха.
[199] Соответственно, первый путь P1 для потока воздуха, проходящий через канал 200e для выпуска воздуха, и второй путь P2 для потока воздуха, сформированный вдоль канала 200i для подачи воздуха, могут пересекаться на входе в канал 200i для подачи воздуха.
[200] Поскольку первый путь P1 для потока воздуха и второй путь P2 для потока воздуха представляют собой каналы для подачи воздуха, сформированные внутри устройства 1 для генерирования аэрозоля, каждый канал для потока воздуха должен быть соединен с внешней стороной устройства 1 для генерирования аэрозоля.
[201] Как показано на ФИГ. 11, общий путь PC для потока воздуха может быть сформирован снаружи корпуса 110 и картриджа 200. Общий путь PC для потока воздуха может быть соединен с первым путем P1 для потока воздуха и вторым путем P2 для потока воздуха и сформирован на наружной стороне устройства 1 для генерирования аэрозоля.
[202] По общему пути PC для потока воздуха воздух из устройства 1 для генерирования аэрозоля может поступать в крышку 10 через паз скольжения (например, паз 10g скольжения на ФИГ. 1) крышки 10. Воздух может проходить через пространство между крышкой 10 и другими компонентами и достигать канала 200i для подачи воздуха и канала 200e для выпуска воздуха.
[203] По общему пути PC для потока воздуха воздух может двигаться в направлении, противоположном описанному выше направлению. То есть, воздух может двигаться из канала 200i для подачи воздуха и канала 200e для выпуска воздуха наружу из устройства 1 для генерирования аэрозоля.
[204] Тем не менее, когда пользователь держит изделие 2 для генерирования аэрозоля во рту и вдыхает воздух, может возникать разность давлений между давлением снаружи устройства 1 для генерирования аэрозоля и ртом пользователя. Вследствие разности давлений большая часть воздуха из устройства 1 для генерирования аэрозоля может поступать в рот пользователя.
[205] Как показано на ФИГ. 11, вход канала 200i для подачи воздуха может быть открыт в направлении верхней стенки 111, вследствие чего общий путь PC для потока воздуха может быть соединен с первым путем P1 для потока воздуха и вторым путем P2 для потока воздуха у входа в канал 200i для подачи воздуха.
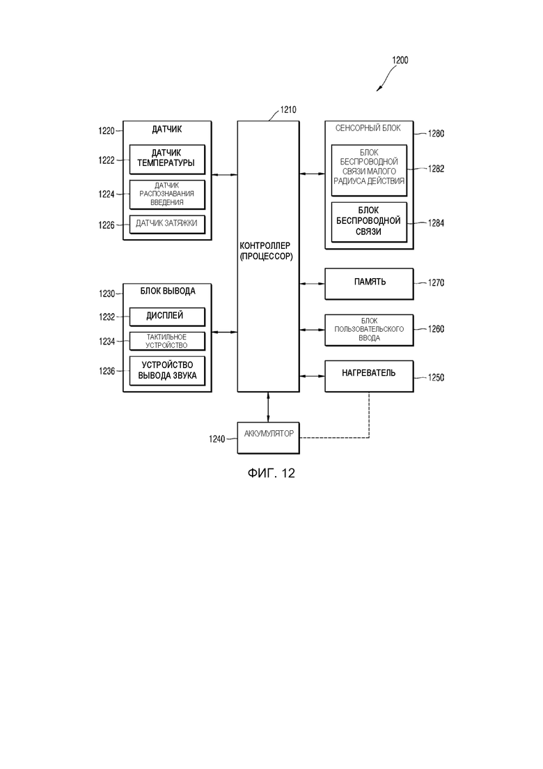
[206] Тем не менее, один или несколько вариантов осуществления изобретения не ограничиваются вышеописанным расположением входа канала для подачи воздуха. Например, вход канала для подачи воздуха может быть расположен в направлении, пересекающем боковую пластину 210, таким образом, канал для подачи воздуха может не соединяться с каналом для выпуска воздуха.
[207] В этом случае первый канал для потока воздуха, сформированный вдоль канала для выпуска воздуха, может не пересекать второй канал для потока воздуха, сформированный вдоль канала для подачи воздуха, и как первый, так и второй канал для потока воздуха могут быть соединены с общим путем PC для потока воздуха.
[208] Кроме того, воздух снаружи устройства 1 для генерирования аэрозоля может поступать через часть, в которой крышка 10 соединена с основной частью 11, и поступать в общий путь PC для потока воздуха, что не показано на ФИГ. 11.
[209] Поскольку первый путь P1 для потока воздуха и второй путь P2 для потока воздуха соединены с общим путем PC для потока воздуха, канал 200e для выпуска воздуха и канал 200i для подачи воздуха могут сообщаться с внешней средой устройства 1 для генерирования аэрозоля с возможностью передачи текучей среды.
[210] По второму пути P2 для потока воздуха и общему пути PC для потока воздуха воздух и/или аэрозоль могут поступать с наружной стороны устройства 1 для генерирования аэрозоля в рот пользователя.
[211] Через первый путь P1 для потока воздуха и общий путь PC для потока воздуха нагретый воздух на первом участке A1 может быть выпущен наружу из устройства 1 для генерирования аэрозоля, и относительно холодный воздух снаружи устройства 1 для генерирования аэрозоля может поступать на первый участок А1. Соответственно, температура воздуха на первом участке A1 может снижаться.
[212] Поскольку вентиляционное отверстие 110h обеспечивает передачу текучей среды между первым участком A1 и каналом 200е для выпуска воздуха, первый участок A1 может сообщаться с внешней средой устройства 1 для генерирования аэрозоля через вентиляционное отверстие 110h с возможностью передачи текучей среды. То есть, расположение вентиляционного отверстия 110h может уменьшить «отрицательное влияние нагретого воздуха» путем предотвращения «деформации компонентов нагретым воздухом».
[213] На ФИГ. 12 изображена блок-схема устройства 1200 для генерирования аэрозоля согласно одному из вариантов осуществления изобретения.
[214] Устройство 1200 для генерирования аэрозоля может содержать контроллер 1210, сенсорный блок 1220, блок 1230 вывода, аккумулятор 1240, нагреватель 1250, блок 1260 пользовательского ввода, память 1270 и блок 1280 связи. Тем не менее, внутренняя структура устройства 1200 для генерирования аэрозоля не ограничивается вариантами, показанными на ФИГ. 12. То есть специалисту в данной области техники очевидно, что некоторые из компонентов, показанных на ФИГ.12, могут отсутствовать, или новые компоненты могут быть добавлены в соответствии с конструктивным исполнением устройства 1200 для генерирования аэрозоля.
[215] Сенсорный блок 1220 может определять состояние устройства 1200 для генерирования аэрозоля и состояние среды вокруг устройства 1200 для генерирования аэрозоля, и передавать информацию от датчиков в контроллер 1210. На основании информации от датчиков контроллер 1210 может подавать на устройство 1200 для генерирования аэрозоля команды на выполнение различных функций, таких как управление работой нагревателя 1250, ограничение курения, распознавание введения изделия для генерирования аэрозоля (например, сигареты, картриджа и т.п.), отображение уведомления и т. п.
[216] Сенсорный блок 1220 может содержать датчик 1222 температуры и/или датчик распознавания введения и/или датчик 1226 затяжки, а также другие датчики.
[217] Датчик 1222 температуры может определять температуру, до которой нагрет нагреватель 1250 (или материал для генерирования аэрозоля). Устройство 1200 для генерирования аэрозоля может содержать отдельный датчик температуры для определения температуры нагревателя 1250, или сам нагреватель 1250 может служить датчиком температуры. В альтернативном варианте датчик 1222 температуры может быть расположен вокруг аккумулятора 1240 для контроля температуры аккумулятора 1240.
[218] Датчик 1224 распознавания введения может распознавать введение и/или извлечение изделия для генерирования аэрозоля. Например, датчик 1224 распознавания введения может представлять собой пленочный датчик и/или датчик давления и/или световой датчик и/или резистивный датчик и/или емкостной датчик и/или индуктивный датчик и/или инфракрасный датчик, и может распознавать изменение сигнала при введении и/или извлечении изделия для генерирования аэрозоля.
[219] Датчик 1226 затяжки может распознавать выполняемую пользователем затяжку на основании различных физических изменений на пути для потока воздуха или в канале для потока воздуха. Например, датчик 1226 затяжки может распознавать затяжку пользователя, основываясь на изменении любого из следующих параметров: температура, поток, напряжение и давление.
[220] Сенсорный блок 1220 может содержать, помимо указанных выше датчика 1222 температуры, датчика 1224 распознавания введения и датчика 1226 затяжки, датчик температуры/влажности и/или датчик атмосферного давления и/или магнитный датчик и/или датчик ускорения и/или гироскоп и/или датчик положения (например, глобальной системы позиционирования (GPS)) и/или датчик приближения и/или датчик красного, зеленого, синего (RGB) цвета (датчик освещенности). Поскольку назначение каждого датчика может быть интуитивно понятно из его названия специалисту в данной области техники, подробное раскрытие этого назначения в настоящем документе может быть опущено.
[221] Блок 1230 вывода может выводить информацию о состоянии устройства 1200 для генерирования аэрозоля и предоставлять ее пользователю. Блок 1230 вывода может содержать устройство 1232 отображения и/или тактильное устройство 1234 и/или устройство 1236 вывода звука, а также другие устройства. Если устройство 1232 отображения и сенсорная панель выполнены в виде слоистой структуры для формирования сенсорного экрана, устройство 1232 отображения можно использовать в качестве устройства ввода в дополнение к устройству вывода.
[222] Устройство 1232 отображения может визуально предоставлять пользователю информацию об устройстве 1200 для генерирования аэрозоля. Информация об устройстве 1200 для генерирования аэрозоля может содержать, например, состояние зарядки/разрядки аккумулятора 1240 устройства 1200 для генерирования аэрозоля, состояние предварительного нагрева нагревателя 1250, состояние введения/извлечения изделия для генерирования аэрозоля, состояние ограниченного использования (например, обнаружен нестандартный объект) устройства 1200 для генерирования аэрозоля и т.п., и устройство 1232 отображения может выводить информацию наружу. Устройство 1232 отображения может представлять собой, например, жидкокристаллический дисплей (LCD), дисплей на органических светодиодах (OLED) и т. п. Кроме того, устройство 1232 отображения может быть выполнено в виде устройства на светоизлучающих диодах (LED).
[223] Тактильное устройство 1234 может предоставлять пользователю информацию об устройстве 1200 для генерирования аэрозоля тактильным способом путем преобразования электрического сигнала в механический или электрический раздражитель. Тактильное устройство 1234 может содержать, например, мотор, пьезоэлектрический элемент или устройство электрической стимуляции.
[224] Устройство 1236 вывода звука может предоставлять пользователю информацию об устройстве 1200 для генерирования аэрозоля в звуковой форме. Например, устройство 1236 вывода звука может преобразовывать электрический сигнал в звуковой сигнал и выводить звуковой сигнал наружу.
[225] Аккумулятор 1240 может подавать питание, используемое для управления устройством 1200 для генерирования аэрозоля. Аккумулятор 1240 может подавать питание, позволяющее нагревать нагреватель 1250. Кроме того, аккумулятор 1240 может подавать питание, необходимое для работы других компонентов (например, сенсорного блока 1220, блока 1230 вывода, блока 1260 пользовательского ввода, памяти 1270 и блока 1280 связи), входящих в состав устройства 1200 для генерирования аэрозоля. Аккумулятор 1240 может представлять собой перезаряжаемый аккумулятор или одноразовый аккумулятор. Например, аккумулятор 1240 может представлять собой литий-полимерный (LiPoly) аккумулятор; также возможны другие варианты.
[226] Нагреватель 1250 может получать питание от аккумулятора 1240 для нагрева материала для генерирования аэрозоля. Хотя это не показано на ФИГ. 12, устройство 1200 для генерирования аэрозоля может дополнительно содержать схему преобразования питания (например, преобразователь постоянного тока (DC/DC)), которая преобразует питание аккумулятора 1240 и подает питание на нагреватель 1250. Кроме того, когда устройство 1200 для генерирования аэрозоля генерирует аэрозоль способом индукционного нагрева, устройство 1200 для генерирования аэрозоля может дополнительно содержать элемент постоянного/переменного тока, преобразующий постоянный ток аккумулятора 1240 в переменный ток.
[227] Контроллер 1210, сенсорный блок 1220, блок 1230 вывода, блок 1260 пользовательского ввода, память 1270 и блок 1280 связи могут получать необходимое для выполнения своих функций питание от аккумулятора 1240. Хотя это не показано на ФИГ. 12, устройство 1200 для генерирования аэрозоля может дополнительно содержать схему преобразования питания, например, схему с низким падением напряжения (LDO) или схему регулятора напряжения, которая преобразует питание аккумулятора 1240 для подачи питания на соответствующие компоненты.
[228] В одном из вариантов осуществления изобретения нагреватель 1250 может быть изготовлен из любого подходящего электрорезистивного материала. Например, подходящий электрорезистивный материал может представлять собой металл или сплав металлов, в том числе титан, цирконий, тантал, платину, никель, кобальт, хром, гафний, ниобий, молибден, вольфрам, олово, галлий, марганец, железо, медь, нержавеющую сталь, нихром и т. п., а также другие металлы или сплавы. Кроме того, нагреватель 1250 может быть выполнен в виде металлической проволоки, металлической пластины, на которой размещена электропроводящая дорожка, или керамического нагревающего элемента, а также в других вариантах.
[229] В другом варианте осуществления изобретения нагреватель 1250 может представлять собой нагреватель индукционного типа. Например, нагреватель 1250 может содержать токоприемник, нагревающий материал для генерирования аэрозоля путем генерирования тепла посредством магнитного поля, индуцированного катушкой.
[230] Блок 1260 пользовательского ввода может принимать информацию от пользователя или выводить информацию пользователю. Например, блок 1260 пользовательского ввода может содержать клавиатуру, купольный переключатель, сенсорную панель (например, контактно-емкостного типа, типа резистивной пленки, типа инфракрасного датчика, типа поверхностной ультразвуковой проводимости, типа измерения интегрального напряжения, типа пьезоэффекта и т.д.), поворотный переключатель, переключатель и т.п. Кроме того, хотя это не показано на ФИГ. 12, устройство 1200 для генерирования аэрозоля может дополнительно содержать интерфейс подключения, такой как интерфейс универсальной последовательной шины (USB), и может быть подключено к другому внешнему устройству через интерфейс подключения, такой как интерфейс USB, для передачи и приема информации или для зарядки аккумулятора 1240.
[231] Память 1270 представляет собой аппаратный компонент, хранящий различные типы данных, обрабатываемых в устройстве 1200 для генерирования аэрозоля, и может хранить подлежащие обработке данные и обрабатываемые контроллером 1210 данные. Память 1270 может представлять собой по меньшей мере один из следующих типов носителя информации: флэш-память, жесткий диск, мультимедийная микро-карта, карта (например, SD или XD), оперативная память (RAM), постоянная оперативная память (SRAM), постоянная память (ROM), электрически стираемая программируемая постоянная память (EEPROM), программируемая постоянная память (PROM), магнитная память, магнитный диск или оптический диск. Память 1270 может хранить время работы устройства 1200 для генерирования аэрозоля, максимальное число затяжек, текущее число затяжек, по меньшей мере один профиль температуры, данные о привычных действиях пользователя при курении и т. п.
[232] Блок 1280 связи может содержать по меньшей мере один компонент для связи с другим электронным устройством. Например, блок 1280 связи может содержать блок 1282 беспроводной связи малого радиуса действия и блок 1284 беспроводной связи.
[233] Блок 1282 беспроводной связи малого радиуса действия может представлять собой блок связи Bluetooth, блок связи Bluetooth с низким энергопотреблением (BLE), блок связи ближнего поля, блок связи WLAN (Wi-Fi), блок связи ZigBee, блок связи Ассоциации передачи данных в инфракрасном диапазоне (IrDA), блок связи Wi-Fi direct (WFD), сверхширокополосной блок связи (UWB) и блок связи Ant+, а также иные подобные устройства, но не ограничивается этими вариантами.
[234] Блок 1284 беспроводной связи может содержать коммуникатор сотовой сети, коммуникатор Интернета, коммуникатор компьютерной сети (например, локальной сети (LAN) или глобальной сети (WAN)), а также иные подобные устройства, но не ограничивается этими вариантами. Блок 1284 беспроводной связи может использовать информацию об абоненте (например, международный идентификатор мобильного абонента (IMSI)) для идентификации и аутентификации устройства 1200 для генерирования аэрозоля в сети связи.
[235] Контроллер 1210 может управлять операциями устройства 1200 для генерирования аэрозоля в целом. В одном из вариантов осуществления изобретения контроллер 1210 может содержать по меньшей мере один процессор. Процессор может быть реализован как массив из множества логических элементов или как комбинация микропроцессора общего назначения и памяти, в которой хранится программа, исполняемая в микропроцессоре. Специалисту в данной области техники будет понятно, что процессор может быть реализован с использованием других видов аппаратных средств.
[236] Контроллер 1210 может управлять температурой нагревателя 1250 путем управления подачей питания от аккумулятора 1240 на нагреватель 1250. Например, контроллер 1210 может управлять подачей питания путем управления переключением переключающего элемента между аккумулятором 1240 и нагревателем 1250. В другом примере схема прямого нагрева может управлять подачей питания на нагреватель 1250 в соответствии с управляющей командой от контроллера 1210.
[237] Контроллер 1210 может анализировать результат, полученный сенсорным блоком 1220, и управлять последующими процессами. Например, контроллер 1210 может управлять питанием, подаваемым на нагреватель 1250, для запуска или прекращения работы нагревателя 1250 на основании результата, полученного сенсорным блоком 1220. В другом примере контроллер 1210 на основании результата, полученного сенсорным блоком 1220, может управлять количеством питания, подаваемого на нагреватель 1250, и временем подачи питания, что позволяет нагревать нагреватель 1250 до определенной температуры или поддерживать его на соответствующем уровне температуры.
[238] Контроллер 1210 может управлять блоком 1230 вывода на основании результата, полученного сенсорным блоком 1220. Например, если количество затяжек, подсчитанное датчиком 1226 затяжки, достигает заданного количества, контроллер 1210 может сообщить пользователю, что работа устройства 1200 для генерирования аэрозоля скоро закончится, посредством устройства 1232 отображения и/или тактильного устройства 1234 и/или устройства 1236 вывода звука.
[239] Один вариант осуществления изобретения может быть также реализован в форме носителя информации, содержащего инструкции, выполняемые компьютером, такие как программные модули, выполняемые компьютером. Машиночитаемый записывающий носитель может представлять собой любой доступный носитель, к которому может иметь доступ компьютер, и содержит как не сохраняющие информацию при выключении питания, так и сохраняющие информацию при выключении питания носители, и съемные и несъемные носители. Кроме того, машиночитаемый носитель может содержать как запоминающую среду компьютера, так и коммуникационную среду. Запоминающая среда компьютера содержит все из не сохраняющих информацию при выключении питания и сохраняющих информацию при выключении питания носителей и съемных и несъемных носителей, реализуемых любым способом или методом хранения информации, такие как машиночитаемые инструкции, структуры данных, программные модули или другие данные. Коммуникационная среда обычно содержит машиночитаемые инструкции, структуры данных, другие данные в модулированных сигналах данных, таких как программные модули, или другие механизмы передачи, и содержит любые среды передачи информации.
[240] Раскрытия вышеизложенных вариантов осуществления представляют собой лишь примеры, и специалисту обычной квалификации в данной области техники будет понятно, что возможно внесение различных изменений и использование эквивалентов. Поэтому защищаемый объем изобретения должен определяться прилагаемой формулой изобретения, и все отличия в защищаемом объеме, эквивалентные раскрытым в пунктах формулы, будут интерпретированы как включаемые в защищаемый объем, определяемый формулой.
| название | год | авторы | номер документа |
|---|---|---|---|
| УСТРОЙСТВО ДЛЯ ГЕНЕРИРОВАНИЯ АЭРОЗОЛЯ | 2022 |
|
RU2837965C2 |
| УСТРОЙСТВО ДЛЯ ГЕНЕРИРОВАНИЯ АЭРОЗОЛЯ | 2022 |
|
RU2808407C1 |
| УСТРОЙСТВО ДЛЯ ГЕНЕРИРОВАНИЯ АЭРОЗОЛЯ (ВАРИАНТЫ) | 2022 |
|
RU2831726C2 |
| УСТРОЙСТВО ДЛЯ ГЕНЕРИРОВАНИЯ АЭРОЗОЛЯ | 2022 |
|
RU2822055C2 |
| УСТРОЙСТВО ДЛЯ ГЕНЕРИРОВАНИЯ АЭРОЗОЛЯ | 2022 |
|
RU2834189C2 |
| ИЗДЕЛИЕ ДЛЯ ГЕНЕРИРОВАНИЯ АЭРОЗОЛЯ, СИСТЕМА И СПОСОБ ИЗГОТОВЛЕНИЯ ИЗДЕЛИЯ ДЛЯ ГЕНЕРИРОВАНИЯ АЭРОЗОЛЯ | 2023 |
|
RU2815302C1 |
| КАРТРИДЖ И УСТРОЙСТВО ДЛЯ ГЕНЕРИРОВАНИЯ АЭРОЗОЛЯ, СОДЕРЖАЩЕЕ ТАКОЙ КАРТРИДЖ | 2022 |
|
RU2817539C2 |
| УСТРОЙСТВО ДЛЯ ГЕНЕРИРОВАНИЯ АЭРОЗОЛЯ (ВАРИАНТЫ) | 2022 |
|
RU2811532C1 |
| УСТРОЙСТВО ДЛЯ ГЕНЕРИРОВАНИЯ АЭРОЗОЛЯ (ВАРИАНТЫ) | 2022 |
|
RU2829096C2 |
| УСТРОЙСТВО ДЛЯ ГЕНЕРИРОВАНИЯ АЭРОЗОЛЯ И СПОСОБ ЭКСПЛУАТАЦИИ ТАКОГО УСТРОЙСТВА | 2022 |
|
RU2839913C2 |
Устройство для генерирования аэрозоля содержит корпус, содержащий пространство для размещения, предназначенное для размещения изделия для генерирования аэрозоля и выполненное с возможностью размещения по меньшей мере одного электронного компонента, нагреватель, расположенный в пространстве для размещения и выполненный с возможностью нагрева изделия для генерирования аэрозоля, помещенного в пространство для размещения, картридж, соединенный с корпусом с возможностью разъединения и содержащий хранилище, в котором хранят материал для генерирования аэрозоля, и испаритель, выполненный с возможностью приема и нагрева материала для генерирования аэрозоля, причем корпус содержит вентиляционное отверстие, образованное между пространством для размещения и картриджем и выполненное с возможностью пропускания воздуха, нагретого теплом, генерируемым нагревателем или испарителем. 14 з.п. ф-лы, 12 ил.
1. Устройство для генерирования аэрозоля, содержащее:
корпус, содержащий пространство для размещения, предназначенное для размещения изделия для генерирования аэрозоля и выполненное с возможностью размещения по меньшей мере одного электронного компонента;
нагреватель, расположенный в пространстве для размещения и выполненный с возможностью нагрева изделия для генерирования аэрозоля, размещенного в пространстве для размещения; и
картридж, соединенный с корпусом с возможностью разъединения и содержащий хранилище, выполненное с возможностью хранения материала для генерирования аэрозоля, и испаритель, выполненный с возможностью приема и нагрева материала для генерирования аэрозоля,
в котором корпус содержит вентиляционное отверстие, сформированное между пространством для размещения и картриджем и выполненное с возможностью пропускания воздуха, нагретого теплом, генерируемым нагревателем или испарителем.
2. Устройство для генерирования аэрозоля по п. 1, в котором корпус дополнительно содержит первый участок, на котором установлен электронный компонент, второй участок, содержащий пространство для размещения, и третий участок, на котором расположен картридж, и
вентиляционное отверстие расположено на первом участке.
3. Устройство для генерирования аэрозоля по п. 2, дополнительно содержащее уплотняющую часть, отделяющую первую участок от второго участка и охватывающую по меньшей мере часть корпуса и электронного компонента на первом участке,
в котором вентиляционное отверстие открыто в направлении к уплотняющей части от корпуса.
4. Устройство для генерирования аэрозоля по п. 2, в котором корпус дополнительно содержит перегородку, отделяющую второй участок от третьего участка, и
вентиляционное отверстие расположено рядом с перегородкой.
5. Устройство для генерирования аэрозоля по п. 2, в котором корпус дополнительно содержит верхнюю стенку, проходящую в первом направлении на первом участке и выполненную с возможностью размещения электронного компонента в верхней части корпуса, и
вентиляционное отверстие расположено в верхней стенке.
6. Устройство для генерирования аэрозоля по п. 5, в котором верхняя стенка отделяет первый участок от третьего участка, и
вентиляционное отверстие расположено в верхней стенке между первым участком и третьим участком.
7. Устройство для генерирования аэрозоля по п. 5, в котором пространство для размещения открыто во втором направлении, пересекающем первое направление, для размещения изделия для генерирования аэрозоля на втором участке и ориентировано во втором направлении.
8. Устройство для генерирования аэрозоля по п. 5, в котором вентиляционное отверстие открыто во втором направлении, пересекающем первое направление.
9. Устройство для генерирования аэрозоля по п. 5, в котором электронный компонент расположен на верхней поверхности верхней стенки и содержит оптический датчик, содержащий оптический элемент, выполненный с возможностью пропускания света, отраженного от изделия для генерирования аэрозоля, размещенного на втором участке, и сенсорный блок, выполненный с возможностью распознавания света, и
вентиляционное отверстие открыто в сторону оптического датчика с целью предотвращения запотевания оптического элемента.
10. Устройство для генерирования аэрозоля по п. 5, в котором корпус дополнительно содержит нижнюю стенку, обращенную к верхней стенке и ориентированную в первом направлении, и
картридж вставлен между верхней стенкой и нижней стенкой и закрывает третий участок.
11. Устройство для генерирования аэрозоля по п. 5, в котором между верхней стенкой и картриджем образован канал выпуска воздуха, когда картридж соединен с корпусом.
12. Устройство для генерирования аэрозоля по п. 11, в котором вентиляционное отверстие соединено с каналом для выпуска воздуха с возможностью передачи текучей среды, и сформирован первый канал для потока воздуха, проходящий через вентиляционное отверстие и канал для выпуска воздуха.
13. Устройство для генерирования аэрозоля по п. 12, в котором
картридж дополнительно содержит канал для подачи воздуха, выполненный с возможностью подачи воздуха к испарителю,
канал для выпуска воздуха выполнен в направлении, пересекающем канал для подачи воздуха, и
первый канал для потока воздуха пересекается со вторым каналом для потока воздуха, сформированным вдоль канала для подачи воздуха у входа в канал для подачи воздуха.
14. Устройство для генерирования аэрозоля по п. 13, в котором второй канал для потока воздуха содержит канал для потока воздуха, по которому проходит смесь первичного аэрозоля и вторичного аэрозоля для вдыхания пользователем, в котором первичный аэрозоль генерируется при нагревании материала для генерирования аэрозоля испарителем, и в котором вторичный аэрозоль генерируется по мере нагрева изделия для генерирования аэрозоля нагревателем.
15. Устройство для генерирования аэрозоля по п. 13, в котором первый канал для потока воздуха и второй канал для потока воздуха соединены с общим каналом для потока воздуха, сформированным снаружи корпуса и картриджа, и канал для выпуска воздуха и канал для подачи воздуха соединены с возможностью передачи текучей среды с внешней средой устройства для генерирования аэрозоля по общему каналу для потока воздуха.
| US 20210337872 A1, 04.11.2021 | |||
| WO 2021152138 A1, 05.08.2021 | |||
| EP 3801077 A1, 14.04.2021 | |||
| УСТРОЙСТВО ВЫРАБОТКИ АЭРОЗОЛЯ И ИЗДЕЛИЕ ДЛЯ ВЫРАБОТКИ АЭРОЗОЛЯ | 2017 |
|
RU2729529C1 |
Авторы
Даты
2025-05-14—Публикация
2023-06-27—Подача