СПОСОБ, АППАРАТУРА И СИСТЕМА ДЛЯ ПРОБУЖДЕНИЯ УСТРОЙСТВА ПЕРЕД АКТИВАЦИЕЙ УСТРОЙСТВА Российский патент 2025 года по МПК A24F40/50 

Описание патента на изобретение RU2834361C1

Область техники, к которой относится изобретение

Настоящее раскрытие относится к пробуждению устройства в ассоциативной связи с активацией и управлением устройством доставки аэрозоля, таким как устройство электронных систем доставки никотина ("ENDS"). Устройство доставки аэрозоля управляется посредством обмена данными с устройством на основе активации, после того как устройство пробуждено из режима или состояния экономии питания.

Уровень техники

Было предложено множество устройств на протяжении многих лет в качестве усовершенствований или альтернатив курительным изделиям, которые требуют сжигания табака для использования. Некоторые примерные альтернативы включают в себя устройства, в которых твердое или жидкое топливо сжигается для передачи тепла табаку или в которых используется химическая реакция для обеспечения такого источника тепла. В дополнительных примерах альтернатив используется электрическая энергия для нагрева табака и/или других материалов субстратов, генерирующих аэрозоль, например, описанных в патенте США № 9078473 на имя Worm и др., который включен в настоящее описание в качестве ссылки. Как правило, устройство, использующее электрическую энергию для нагрева табака или других веществ, может называться устройством доставки аэрозоля, и устройство электронных систем доставки никотина ("ENDS") является одним примером такого устройства.

Многие из этих устройств якобы были разработаны для обеспечения ощущений, связанных с курением сигареты, сигары или трубки, но без доставки значительных количеств продуктов неполного сгорания и пиролиза, возникающих в результате сжигания табака. С этой целью были предложены многочисленные альтернативные продукты для курения, генераторы аромата и лекарственные ингаляторы, которые используют электрическую энергию для испарения или нагрева летучего материала или пытаются вызвать ощущения курения сигареты, сигары или трубки без сжигания табака в значительной степени. См., например, различные альтернативные курительные изделия, устройства для доставки аэрозоля и источники тепла, изложенные в предшествующем уровне техники, описанном в патенте США № 8881737 на имя Collett и др., в публикации заявки на патент США № 2013/0255702 на имя Griffith Jr и др., в публикации заявки на патент США № 2014/0000638 на имя Sebastian и др., в публикации заявки на патент США № 2014/0096781 на имя Sears и др., в публикации заявки на патент США № 2014/0096782 на имя Ampolini и др., в публикации заявки на патент США № 2015/0059780 на имя Davis и др. и в заявке на патент США с серийным номером 15/222615 на имя Watson и др., поданной 28 июля 2016 года, все из которых включены в настоящий документ посредством ссылки. См. также, например, различные реализации продуктов и конфигураций нагрева, описанные в разделах "Уровень техники" патентов США № 5388594 на имя Counts и др. и 8079371 на имя Robinson и др., которые включены посредством ссылки.

Описанные выше курительные изделия могут подлежать определенным ограничениям, в том числе возрастным. В некоторых странах использование изделий, в том числе картриджей устройства ENDS, ограничено в зависимости от возраста пользователя. Для удовлетворения необходимости аутентификации устройства пользователем с верифицированным возрастом, может быть применено любое число способов аутентификации. Однако, многие из этих способов аутентификации могут полагаться на инициирование связи, которое может приводить в результате к истощению питания устройства ENDS во время ожидания аутентификации. По существу, может быть желательно вводить способы, чтобы обеспечивать возможность инициирования процесса аутентификации, после того как устройство было пробуждено.

Сущность изобретения

Настоящее раскрытие относится к управлению устройством доставки аэрозоля, включающим в себя устройство электронных систем доставки никотина ("ENDS"). ENDS или устройства доставки аэрозоля могут работать, когда разблокированы в ответ на аутентификацию после пробуждения из состояния малой мощности или сна посредством обнаружения события пробуждения. Аутентификация может сначала включать в себя верификацию возраста, прежде чем аутентификация обеспечивает возможность работы устройства. Аутентификация может включать в себя передачу управляющего сигнала устройству. Передача управляющего сигнала может включать в себя аудиосигнал, такой как тон аутентификации, который обнаруживается посредством микрофона или датчика давления на устройстве. Передача управляющего сигнала может включать в себя визуальный, оптический или световой сигнал, который обнаруживается посредством датчика света или фотодиода на устройстве. Звуковой или визуальный сигнал может быть отправлен хост-устройством (например, смартфоном) на основе телефонного вызова службы технической поддержки или быть из местоположения точки продажи.

В одном варианте осуществления предусмотрено устройство доставки аэрозоля. Устройство доставки аэрозоля может включать в себя перезаряжаемый источник питания, выполненный с возможностью обеспечивать питание для формирования аэрозоля, электронику устройства, выполненную с возможностью формировать аэрозоль в ответ на приложение питания от источника питания, и блокирующий узел, выполненный с возможностью выполнять либо одно, либо оба из предотвращения перезаряда источника питания и предотвращения приложения питания от источника питания к электронике устройства в заблокированном состоянии, и обеспечивать возможность перезаряда источника питания и приложения питания от источника питания к электронике устройства в разблокированном состоянии. Блокирующий узел может быть выполнен с возможностью обнаруживать событие пробуждения, в то время как блокирующий узел находится в заблокированном состоянии, пробуждать блокирующий узел в ответ на событие пробуждения, выполнять процесс аутентификации и, в ответ на завершение процесса аутентификации, переводить блокирующий узел между заблокированным состоянием и разблокированным состоянием.

В другом варианте осуществления может быть предусмотрен способ разблокирования устройства доставки аэрозоля из режима малой мощности или сна. Способ может включать в себя обнаружение события пробуждения, в то время как устройство доставки аэрозоля находится в заблокированном состоянии, в котором функция заряда или функция формирования аэрозоля не разрешена, пробуждение блокирующего узла устройства доставки аэрозоля из режима малой мощности или сна в ответ на обнаружение события пробуждения, выполнение процесса аутентификации посредством блокирующего узла и, в ответ на завершение процесса аутентификации, переход блокирующего узла в незапертое состояние, в котором функция заряда и функция формирования аэрозоля разрешены.

В еще одном варианте осуществления может быть предусмотрена система для активации заблокированного и упакованного компонента. Система может включать в себя устройство доставки аэрозоля и упаковочный узел, включающий в себя упаковку, ассоциированную с продажей устройства доставки аэрозоля. Устройство доставки аэрозоля может включать в себя перезаряжаемый источник питания, выполненный с возможностью обеспечивать питание для формирования аэрозоля, электронику устройства, выполненную с возможностью формировать аэрозоль в ответ на приложение питания от источника питания, и блокирующий узел, выполненный с возможностью выполнять либо одно, либо оба из предотвращения перезаряда источника питания и предотвращения приложения питания от источника питания к электронике устройства в заблокированном состоянии, и обеспечивать возможность перезаряда источника питания и приложения питания от источника питания к электронике устройства в разблокированном состоянии. Блокирующий узел может быть выполнен с возможностью выполнять пробуждение, аутентификацию и разблокировку устройства доставки аэрозоля. Блокирующий узел может также быть выполнен с возможностью взаимодействовать, или быть встроенным, в упаковку, так что удаление упаковки инициирует пробуждение устройства доставки аэрозоля.

Следует понимать, что это краткое изложение предоставлено просто для целей резюмирования некоторых примерных реализаций, чтобы обеспечить базовое понимание некоторых аспектов раскрытия изобретения. Соответственно, следует понимать, что описанные выше примерные реализации являются просто примерами и не должны толковаться как сужающие объем или сущность раскрытия каким-либо образом. Другие примерные реализации, аспекты и преимущества станут очевидными из следующего подробного описания, взятого вместе с прилагаемыми чертежами, которые иллюстрируют в качестве примера принципы некоторых описанных примерных реализаций.

Краткое описание чертежей

Описав таким образом аспекты раскрытия в вышеизложенных общих условиях, теперь будет сделана ссылка на сопроводительные чертежи, которые не обязательно выполнены в масштабе и на которых:

Фиг.1 иллюстрирует вид в перспективе устройства для доставки аэрозоля, содержащего картридж и управляющий элемент, которые соединены друг с другом, согласно примерной реализации настоящего раскрытия;

Фиг.2 - вид с частичным вырезом устройства для доставки аэрозоля по Фиг.1, в котором картридж и управляющий элемент отделены друг от друга в соответствии с примером реализации;

Фиг.3 и 4 иллюстрируют вид в перспективе устройства для доставки аэрозоля, содержащего управляющий элемент и элемент источника аэрозоля, которые соответственно соединены друг с другом и отделены друг от друга, согласно другому примеру реализации настоящего раскрытия;

На Фиг.5 и 6 показаны соответственно вид спереди и вид в разрезе устройства для доставки аэрозоля, показанного на Фиг.3 и 4, согласно примерной реализации;

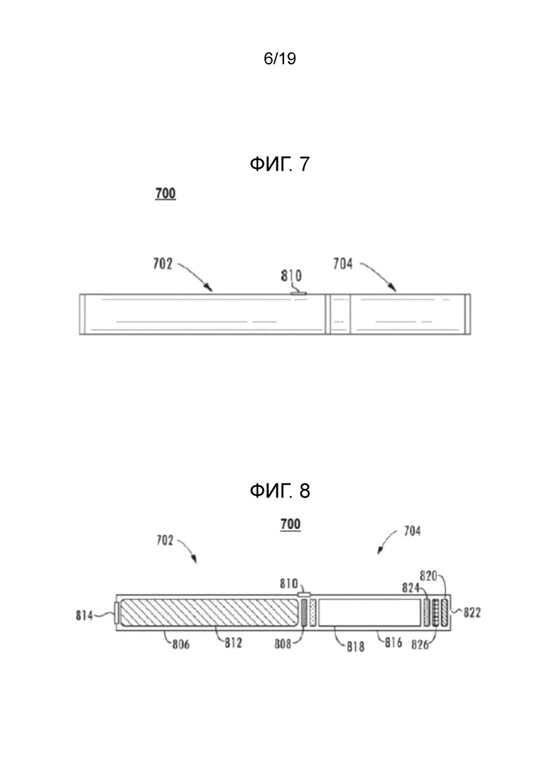
Фиг.7 и 8 иллюстрируют, соответственно, вид сбоку и вид с частичным разрезом устройства для доставки аэрозоля, включающего в себя картридж, соединенный с управляющим элементом, согласно примерным реализациям;

Фиг.9 иллюстрирует принципиальную схему устройства для доставки аэрозоля согласно различным примерным реализациям настоящего раскрытия;

Фиг.10 иллюстрирует принципиальную схему схемы преобразования сигнала согласно примерной реализации настоящего раскрытия;

Фиг.11 иллюстрирует схему примерной системы для функционального управления устройством;

Фиг.12 иллюстрирует примерный вариант осуществления схемы детектора сигнала;

Фиг.13 иллюстрирует примерные варианты осуществления управляющего сигнала;

Фиг.14 иллюстрирует примерные варианты осуществления аудиодетектора;

Фиг.15 иллюстрирует примерные варианты осуществления оптического детектора;

Фиг.16 иллюстрирует схему примерной системы для функционального управления устройством с помощью аудиосигнала;

Фиг.17 иллюстрирует схему примерной системы для функционального управления устройством с помощью оптического сигнала;

Фиг.18 является блок-схемой последовательности операций, иллюстрирующей один пример обработки управляющего сигнала в соответствии с примерным вариантом осуществления;

Фиг.19 является блок-схемой последовательности операций, иллюстрирующей один пример обработки аудиосигнала в соответствии с примерным вариантом осуществления;

Фиг.20 является блок-схемой последовательности операций, иллюстрирующей один пример аутентификации с помощью хост-устройства в соответствии с примерным вариантом осуществления;

Фиг.21 иллюстрирует примерный ключ аутентификации;

Фиг.22 иллюстрирует высокоуровневую блок-схему последовательности операций пробуждения и разблокировки устройства доставки аэрозоля в соответствии с примерным вариантом осуществления;

Фиг.23 иллюстрирует блок-схему различных компонентов устройства доставки аэрозоля, приспособленного для пробуждения перед разблокировкой для того, чтобы сохранять питание перед аутентификацией в соответствии с примерным вариантом осуществления;

Фиг.24 иллюстрирует блок-схему различных компонентов, задействованных в пробуждении устройства доставки аэрозоля в соответствии с примерным вариантом осуществления; и

Фиг.25 иллюстрирует блок-схему последовательности операций, показывающую операции, ассоциированные с пробуждением, аутентификацией и блокировкой/разблокировкой устройства доставки аэрозоля в соответствии с примерным вариантом осуществления.

Осуществление изобретения

Далее настоящее раскрытие будет описано более полно со ссылкой на его примерные реализации. Эти примерные реализации описаны так, чтобы это раскрытие было исчерпывающим и полным и полностью передавало объем раскрытия специалистам в данной области техники. Действительно, раскрытие может быть воплощено во многих различных формах и не должно толковаться как ограниченное реализациями, изложенными в данном документе; скорее, эти реализации представлены для того, чтобы это раскрытие удовлетворяло применимым юридическим требованиям. Как используется в описании и прилагаемой формуле изобретения, термины в форме единственного числа включают в себя также ссылки на термины в множественном числе, если контекст явно не диктует иное. Кроме того, хотя в данном документе может быть сделана ссылка на количественные меры, значения, геометрические отношения и т.п., если не указано иное, любой один или более, если не все, из них могут быть абсолютными или приблизительными для учета приемлемых изменений, которые могут иметь место, например, из-за технических допусков и т.п.

Как описано далее в данном документе, настоящее раскрытие относится к требованию аутентификации устройства с ограничением по возрасту, такого как устройство доставки аэрозоля или устройство электронных систем доставки никотина ("ENDS"). Аутентификация может включать в себя или требовать предварительной верификации возраста, так что устройство с ограничением по возрасту является нефункциональным для пользователя, который не верифицирован по возрасту. Аутентификация может включать в себя прием устройством с ограничением по возрасту управляющего сигнала для аутентификации устройства. Управляющий сигнал может включать в себя аудиосигналы и/или визуальные/оптические сигналы для аутентификации устройства.

Устройство доставки аэрозоля или ENDS являются примерами такого устройства, которое может быть ассоциировано с ограничением, таким как ограничение по возрасту. Другие примеры включают в себя устройства доставки для доставки каннабиноидов, таких как тетрагидроканнабинол (THC) и/или каннабидиол (CBD), растительное сырье, лекарственные и/или другие активные ингредиенты. Таким образом, будет понятно, что, в то время как устройство доставки аэрозоля или ENDS используется в качестве примерного применения различных вариантов осуществления на всем протяжении описания, этот пример предназначается быть неограничивающим, так что идеи изобретения, раскрытые в данном документе, могут быть использованы с устройствами, отличными от устройств доставки аэрозоля или ENDS, включающими в себя устройства доставки аэрозоля, которые могут быть использованы для доставки других лекарственных и/или активных ингредиентов пользователю или могут включать в себя бездымный табак или другие табачные изделия.

Аутентификация устройства посредством управляющего сигнала может быть в дополнение к, или может требоваться как необходимое условие, для того чтобы пользователь выполнил верификацию возраста. Пользователь, который не был верифицирован по возрасту, не может аутентифицировать устройство. Аутентификацию может быть необходимо выполнять периодически для использования изделия с ограничением по возрасту. Может быть система верификации возраста для подтверждения возраста пользователя и/или аутентификации правильного пользователя и/или устройства.

Функциональное управление и аутентификация могут быть применимы к любому устройству или веществу с возрастным ограничением, включающим в себя никотин, сигареты, алкоголь, тетрагидроканнабинол (THC), каннабидиол (CBD), масло CBD, каннабис/марихуану, ботанические препараты, лекарства и/или другие продукты с ограничениями по возрасту. Аутентификация может быть применимой к устройствам с ограничением по возрасту, отличным от устройства доставки аэрозоля. Аналогично, хотя возраст является одним примером ограничения для устройства, могут быть другие типы ограничений по устройству, которые верифицируются посредством аутентификации устройства.

Устройства доставки аэрозоля являются одним примером устройства, которое может быть ограничено, и аутентификация может осуществляться с помощью управляющего сигнала устройству. Устройства доставки аэрозоля дополнительно описываются относительно Фиг.1-10. В других примерах устройство может представлять собой устройство нагрева без горения, в котором в качестве расходного материала используется элемент источника аэрозоля, а не картридж. Устройства доставки аэрозоля могут быть выполнены с возможностью производства аэрозоля (вдыхаемого вещества) из композиции предшественника аэрозоля (иногда называемой носителем для вдыхаемого вещества). Композиция предшественника аэрозоля может включать в себя одно или более из твердого табачного материала, полутвердого табачного материала или жидкой композиции предшественника аэрозоля. В некоторых вариантах реализации устройства для доставки аэрозоля могут быть выполнены с возможностью нагревания и образования аэрозоля из жидкой композиции предшественника аэрозоля (например, жидкой композиции предшественника аэрозоля). Дополнительно или альтернативно, композиция предшественника аэрозоля может содержать одно или более веществ, упомянутых выше, включающих в себя, но не только, растительные вещества, лекарственные вещества, спирт, глицерин и может включать в себя никотин и/или другие активные ингредиенты, включающие в себя, но не только, растительные ингредиенты (например, лаванду, мяту перечную, ромашку, базилик, розмарин, тимьян, эвкалипт, имбирь, коноплю, женьшень, маку и травяные чаи), стимуляторы (например, кофеин и гуарану), аминокислоты (например, таурин, теанин, фенилаланин, тирозин и триптофан) и/или фармацевтические, нутрицевтические и медицинские ингредиенты (например, витамины, такие как B6, B12 и C и каннабиноиды, такие как тетрагидроканнабинол (THC) и каннабидиол (CBD)). Такие устройства для доставки аэрозолей могут включать в себя так называемые электронные сигареты. В других реализациях устройства для доставки аэрозоля могут содержать устройства нагрева без горения. В других реализациях устройства для доставки аэрозоля могут содержать устройства без нагрева и без горения.

Жидкая композиция предшественника аэрозоля, также называемая композицией предшественника пара или "электронная жидкость", особенно полезна для электронных сигарет и устройств без нагрева и без горения. Жидкая композиция предшественника аэрозоля может содержать множество компонентов, в том числе, например, многоатомный спирт (например, глицерин, пропиленгликоль или их смесь), никотин, табак, табачный экстракт и/или ароматизаторы. В некоторых примерах композиция предшественника аэрозоля содержит глицерин и никотин. В других примерах композиция может дополнительно или альтернативно включать в себя спирт, растительные ингредиенты (например, лаванду, мяту перечную, ромашку, базилик, розмарин, тимьян, эвкалипт, инжир, коноплю, женьшень, маку и травяные чаи), стимуляторы (например, кофеин и гуарану), аминокислоты (например, таурин, теанин, фенилаланин, тирозин и триптофан), фармацевтические, нутрацевтические и медицинские ингредиенты (например, витамины, такие как B6, B12 и C и каннабиноиды, такие как тетрагидроканнабинол (THC) и каннабидиол (CBD)), или другие активные ингредиенты или некоторое их сочетание.

Некоторые жидкие композиции предшественника аэрозоля, которые можно использовать в сочетании с различными реализациями, могут включать в себя одну или более кислот, таких как левулиновая кислота, янтарная кислота, молочная кислота, пировиноградная кислота, бензойная кислота, фумаровая кислота, их комбинации и тому подобное. Включение кислоты (кислот) в жидкие композиции предшественника аэрозоля, в том числе, никотина, может обеспечивать получение протонированной жидкой композиции предшественника аэрозоля, включающей в себя никотин в форме соли. Типичные типы компонентов и составов предшественников жидких аэрозолей изложены и охарактеризованы в патенте США № 7726320 на имя Robinson и др.; патенте США № 9254002 на имя Chong и др.; и публикациях заявок на патент США № 2013/0008457 на имя Zheng и др., 2015/0020823 на имя Lipowicz и др., и 2015/0020830 на имя Koller; а также публикации заявки на патент PCT № WO 2014/182736 на имя Bowen и др.; и патенте США № 8881737 на имя Collett и др., описания которых включены в настоящий документ посредством ссылки. Другие предшественники аэрозолей, которые можно использовать, включают в себя предшественники аэрозолей, которые были включены в любой из ряда типичных продуктов, указанных выше. Также желательны так называемые "дымовые соки" для электронных сигарет, которые поставляет Johnson Creek Enterprises LLC. Еще один пример композиций предшественников аэрозолей продается под торговыми марками BLACK NOTE, COSMIC FOG, THE MILKMAN E-LIQUID, FIVE PAWNS, THE VAPOR CHEF, VAPE WILD, BOOSTED, STEAM FACTORY, MECH SAUCE, CASEY JONES MAINLINE RESERVE, MIT , DR CRIMMY'S V-LIQUID, SMILEY E LIQUID, BEANTOWN VAPOR, CUTTWOOD, CYCLOPS VAPOR, SICBOY, GOOD LIFE VAPOR, TELEOS, PINUP VAPORS, SPACE JAM, MT BAKER VAPOR и JIMMY THE JUICE MAN. Реализации шипучих материалов можно использовать с предшественником аэрозоля, и они описаны в качестве примера в публикации заявки на патент США № 2012/0055494 на имя Hunt и др., которая включена в настоящее описание в качестве ссылки. Кроме того, использование шипучих материалов описано, например, в патенте США № 4639368 на имя Niazi и др.; патенте США № 5178878 на имя Wehling и др.; патенте США № 5223264 на имя Wehling и др.; патенте США № 6974590 на имя Pather и др.; патенте США № 7381667 на имя Bergquist и др.; патенте США № 8424541 на имя Crawford и др.; патенте США № 8627828 на имя Strickland и др.; и патенте США № 9307787 на имя Sun и др.; а также в публикации заявки на патент США № 2010/0018539 на имя Brinkley и др. и публикации заявки на патент РСТ № WO 97/06786 на имя Johnson и др., все из которых включены в настоящий документ посредством ссылки.

Типичные типы подложек, резервуаров или других компонентов для поддержки предшественника аэрозоля описаны в патенте США № 8528569 на имя Newton; публикации заявки на патент США № 2014/0261487 на имя Chapman и др.; публикации заявки на патент № 2015/0059780 на имя Davis и др.; и публикации заявки на патент США № 2015/0216232 на имя Bless и др., все из которых включены в настоящий документ посредством ссылки. Кроме того, различные впитывающие материалы, а также конфигурация и работа этих впитывающих материалов в определенных типах электронных сигарет изложены в патенте США № 8910640 на имя Sears и др., который включен в настоящее описание в качестве ссылки.

В других вариантах реализации устройства для доставки аэрозолей могут содержать устройства без нагрева и без горения, выполненные с возможностью нагревать твердую композицию предшественника аэрозоля (например, экструдированного табачного стержня) или полутвердую композицию предшественника аэрозоля (например, табачной пасты, содержащей глицерин). Композиция предшественника аэрозоля может включать в себя табакосодержащие гранулы, куски табака, табачные полоски, восстановленный табачный материал или их комбинации, и/или смесь тонкоизмельченного табака, табачного экстракта, высушенного распылением табачного экстракта или другой табачной формы, смешанной с необязательными неорганические материалы (такие как карбонат кальция), необязательные ароматизаторы и материалы, образующие аэрозоль, для образования по существу твердого или формуемого (например, экструдируемого) субстрата. Типичные типы твердых и полутвердых композиций и составов предшественников аэрозолей раскрыты в патенте США № 8424538 на имя Thomas и др.; патенте США № 8464726 на имя Sebastian и др.; публикации заявки на патент США № 2015/0083150 на имя Conner и др.; публикации заявки на патент США № 2015/0157052 на имя Ademe и др.; и публикации заявки на патент США № 2017/0000188 на имя Nordskog и др., все из которых включены в настоящий документ посредством ссылки. Другие репрезентативные типы твердых и полутвердых композиций и композиций предшественников аэрозолей включают в себя те, которые содержатся в элементах-источниках потребляемого аэрозоля NEOSTIKS™ для продукта GLO™ от British American Tobacco и в элементах-источниках потребляемого аэрозоля HEETS™ для продукта IQOS™ от Philip Morris International, Inc.

В различных вариантах реализации вдыхаемое вещество, в частности, может быть табачным компонентом или материалом, полученным из табака (т.е. материалом, который естественным образом содержится в табаке, который может быть выделен непосредственно из табака или получен синтетическим путем). Например, композиция предшественника аэрозоля может содержать экстракты табака или их фракции, объединенные с инертным субстратом. Композиция предшественника аэрозоля может дополнительно включать в себя несгоревший табак или композицию, содержащую несгоревший табак, которая при нагревании до температуры ниже температуры его горения выделяет вдыхаемое вещество. В некоторых вариантах реализации композиция предшественника аэрозоля может содержать табачные конденсаты или их фракции (т.е. конденсированные компоненты дыма, образующегося при сгорании табака, оставляющие ароматизаторы и, возможно, никотин).

В других реализациях бездымный табак и другие табачные изделия могут быть примерами товара с ограничением по возрасту, а не устройства для доставки аэрозоля или ENDS. Типичные товары бездымного табака, которые могут продаваться, могут включать в себя те, которые называются CAMEL Snus, CAMEL Orbs, CAMEL Strips и CAMEL Sticks от RJ Reynolds Tobacco Company; влажный табак GRIZZLY, влажный табак KODIAK, рассыпной табак LEVI GARRETT и рассыпной табак TAYLOR'S PRIDE от American Snuff Company, LLC; влажный нюхательный табак KAYAK и жевательный табак CHATTANOOGA CHEW от Swisher International, Inc.; жевательный табак REDMAN от Pinkerton Tobacco Co LP; Влажный табак COPENHAGEN, мешочки COPENHAGEN, SKOAL Bandits, мешочки SKOAL, RED SEAL длинный отруб и табачные пачки REVEL Mint от US Smokeless Tobacco Company; и MARLBORO Snus и Taboka от Philip Morris USA. Типичные типы нюхательных товаров, обычно называемые "снюс", могут производиться в Европе, особенно в Швеции, такими компаниями, как Swedish Match AB, Fiedler & Lundgren AB, Gustavus AB, Skandinavisk Tobakskompagni A/S и Rocker Production AB, или через них. Продукты снюса, ранее или доступные в настоящее время в США, продавались под торговыми наименованиями, такими как CAMEL Snus Frost, CAMEL Snus Original и CAMEL Snus Spice, CAMEL Snus Mint, CAMEL Snus Mellow, CAMEL Snus Winterchill и CAMEL Snus Robust от RJ Reynolds Tobacco Company. Бездымные табачные изделия расфасовывались в банки, "шайбы" или "горшки". Другие примеры товаров включают в себя никотиновые леденцы, такие как никотиновые леденцы REVEL (товар RJ Reynolds Vapor Company), и не содержащие табака никотиновые упакованные товары, такие как ZYN производства Swedish Match и LYFT.

Табачные материалы, используемые в настоящем описании, могут варьироваться и могут включать в себя, например, табак дымовой сушки, табак Берлей, восточный табак или табак Мэриленд, темный табак, темный обожженный табак и табаки Rustica, а также другие редкие или специальные табаки или их смеси. Табачные материалы также могут включать в себя так называемые "смешанные" формы и обработанные формы, такие как обработанные табачные стебли (например, нарезанные скрученные или нарезанные-воздушные стебли), увеличенный в объеме табак (например, воздушный табак, такой как расширенный табак с сухим льдом (DIET), предпочтительно в форме нарезанного наполнителя), восстановленные табаки (например, восстановленные табаки, произведенные с использованием процессов изготовления бумаги или литых листов). Различные репрезентативные типы табака, обработанные типы табака и типы табачных смесей изложены в патентах США №№ 4836224 на имя Lawson и др., 4924888 на имя Perfetti и др., 5056537 на имя Brown и др., 5159942 на имя Brinkley и др., 5220930 на имя Gentry, 5360023 на имя Blakley и др., 6701936 на имя Shafer и др., 7011096 на имя Li и др., 7017585 на имя Li и др. и 7025066 на имя Lawson и др.; в публикации заявки на патент США № 2004/0255965 на имя Perfetti и др.; публикации заявки на патент США № WO 02/37990 на имя Bereman; и Bombick и др., Fund Appl Toxicol., 39, p. 11-17 (1997), которые включены в настоящее описание в качестве ссылки. Дополнительные примеры табачных композиций, которые могут быть полезны в курительном устройстве, в том числе в соответствии с настоящим раскрытием, раскрыты в патенте США № 7726320 на имя Robinson и др., который включен сюда в качестве ссылки.

Кроме того, композиция предшественника аэрозоля может содержать инертный субстрат, содержащий ингаляционное вещество или его предшественник, интегрированное в него или иным образом нанесенное на него. Например, жидкость, содержащая вдыхаемое вещество, может быть нанесена на, абсорбирована на или адсорбирована в инертном субстрате, так что при приложении тепла вдыхаемое вещество высвобождается в форме, которая может быть извлечена из изделия по настоящему изобретению посредством приложения положительного или отрицательного давления. В некоторых аспектах композиция предшественника аэрозоля может включать в себя смесь насыщенных и ароматных табаков в форме нарезанного наполнителя. В другом аспекте композиция предшественника аэрозоля может содержать восстановленный табачный материал, такой как описанный в патенте США № 4807809 на имя Pryor и др.; патенте США № 4889143 на имя Pryor и др.; и патенте США № 5025814 на имя Raker, описания которых включены в настоящий документ посредством ссылки. Для получения дополнительной информации относительно подходящей композиции предшественника аэрозоля см. регистрационный номер заявки на патент США 15/916834 на имя Sur и др., поданной 9 марта 2018 года, которая включена в настоящий документ посредством ссылки.

Независимо от типа композиции предшественника аэрозоля, устройства для доставки аэрозоля могут включать в себя компонент образования аэрозоля, выполненный с возможностью образовывать аэрозоль из композиции предшественника аэрозоля. Например, в случае электронной сигареты или устройства нагрева без горения, производящий аэрозоль компонент может быть или включать в себя нагревательный элемент. В случае устройства без нагрева и без горения в некоторых примерах компонент образования аэрозоля может быть или включать в себя вибрирующую пьезоэлектрическую или пьезомагнитную сетку. Другими словами, может не быть нагревательного элемента для производства аэрозоля. Устройство доставки аэрозоля в некоторых вариантах осуществления может включать в себя комбинацию элементов для обеспечения компонента для производства аэрозоля, который может включать в себя как нагревательный элемент, так и дополнительный элемент, такой как вибрирующий компонент для производства аэрозоля (например, вибрирующий пьезокерамический и/или другой пьезоэлектрический или пьезомагнитный материал), которые взаимодействуют для производства аэрозоля из композиции предшественника аэрозоля.

Одним из примеров подходящего нагревательного элемента является индукционный нагреватель. Такие нагреватели часто содержат индукционный передатчик и индукционный приемник. Индукционный передатчик может включать в себя катушку, выполненную с возможностью создавать осциллирующее магнитное поле (например, магнитное поле, которое периодически изменяется со временем), когда через нее проходит переменный ток. Индукционный приемник может быть, по меньшей мере, частично расположен или приниматься внутри индукционного передатчика и может включать в себя проводящий материал (например, ферромагнитный материал или материал с алюминиевым покрытием). Пропуская переменный ток через индукционный передатчик, в индукционном приемнике могут генерироваться вихревые токи за счет индукции. Вихревые токи, протекающие через сопротивление материала, определяющего индукционный приемник, могут нагревать его за счет джоулева нагрева (т.е., за счет эффекта Джоуля). Индукционный приемник, который может представлять собой распылитель, может быть нагрет беспроводным образом для образования аэрозоля из композиции предшественника аэрозоля, расположенной рядом с индукционным приемником. Различные реализации устройства для доставки аэрозоля с индукционным нагревателем описаны в публикации заявки на патент США № 2017/0127722 на имя Davis и др.; публикации заявки на патент США № 2017/0202266 на имя Sur и др.; заявке на патент США с серийным номером 15/352153 на имя Sur и др., поданной 15 ноября 2016 г.; заявке на патент США с серийным номером 15/799365 на имя Sebastian и др., поданной 31 октября 2017 г.; и заявке на патент США с серийным номером 15/836086 на имя Sur, все из которых включены в настоящее описание в качестве ссылки.

В других реализациях, включающих в себя те, которые описаны здесь более конкретно, нагревательный элемент представляет собой токопроводящий нагреватель, например, в случае резистивного электрического нагревателя. Эти нагреватели могут быть выполнены с возможностью производить тепло, когда через них проходит электрический ток. В различных реализациях токопроводящий нагреватель может быть выполнен в различных формах, например, в форме фольги, пены, дисков, спиралей, волокон, проволоки, пленок, пряжи, полос, лент или цилиндров. Такие нагреватели часто содержат металлический материал и выполнены с возможностью вырабатывать тепло в результате электрического сопротивления, связанного с прохождением через него электрического тока. Такие резистивные нагреватели могут быть расположены рядом с композицией-предшественником аэрозоля и нагревать ее для образования аэрозоля. Множество проводящих подложек, которые могут быть использованы с настоящим раскрытием, описаны в цитируемой выше публикации заявки на патент США № 2013/0255702 на имя Griffith и др.

В некоторых реализациях устройства для доставки аэрозоля могут включать в себя управляющий элемент и картридж в случае так называемых электронных сигарет или устройств без нагрева и без горения, или управляющий элемент и элемент источника аэрозоля в случае устройств нагрева без горения. Картридж может быть одним из примеров расходных материалов для устройства, и ссылка на картридж может включать в себя другие расходные материалы. Другие примеры элемента источника аэрозоля могут включать в себя "стик", который может содержать табак, табачный экстракт, формирователь аэрозоля, никотин и/или другой активный ингредиент, который можно использовать в устройстве нагрева без горения. Например, элементы-источники потребляемых аэрозолей NEOSTIKS™ для продукта GLO™ от British American Tobacco и элементы-источники потребляемых аэрозолей HEETS™ для продукта IQOS™ от Philip Morris International, Inc. В случае электронных сигарет или устройств нагрева без горения, управляющий элемент может быть многоразовым, тогда как элемент картриджа/источника аэрозоля может быть выполнен для ограниченного числа применений и/или выполнен для одноразового использования. Различные механизмы могут соединять картридж/элемент источника аэрозоля с управляющим элементом для обеспечения резьбового зацепления, зацепления с прессовой посадкой, посадки с натягом, скользящей посадки, магнитного зацепления и т.п.

Управляющий элемент и картридж/элемент источника аэрозоля могут включать в себя отдельные соответствующие корпуса или внешние элементы, которые могут быть сформированы из любого из ряда различных материалов. Корпус может быть изготовлен из любого подходящего конструктивно прочного материала. В некоторых примерах корпус может быть выполнен из металла или сплава, такого как нержавеющая сталь, алюминий или тому подобное. Другие подходящие материалы включают в себя различные пластмассы (например, поликарбонат), металлическое покрытие поверх пластика, керамику и тому подобное.

Картридж (т.е. элемент источника аэрозоля) может включать в себя композицию предшественника аэрозоля. Для образования аэрозоля из композиции предшественника аэрозоля, компонент образования аэрозоля (например, нагревательный элемент, пьезоэлектрическая/пьезомагнитная сетка) может быть расположен в контакте с композицией предшественника аэрозоля или рядом с ней, например, поперек корпуса и картриджа или внутри управляющего элемента, в котором может быть расположен элемент источника аэрозоля. Управляющий элемент может включать в себя источник питания, который может быть перезаряжаемым или заменяемым, и, таким образом, управляющий элемент можно повторно использовать с несколькими картриджами/элементами источника аэрозоля.

Управляющий элемент может также включать в себя средства для активации устройства для доставки аэрозоля, такие как кнопка, сенсорная поверхность и т.п. для ручного управления устройством. Дополнительно или альтернативно, управляющий элемент может включать в себя датчик потока для обнаружения, когда пользователь затягивает картридж/элемент источника аэрозоля, чтобы тем самым активировать устройство для доставки аэрозоля. В некоторых вариантах осуществления управляющий элемент может включать в себя нагревательный элемент, а не находиться в расходном материале или картридже в других вариантах осуществления.

В различных вариантах реализации устройство для доставки аэрозоля согласно настоящему раскрытию может иметь множество общих форм, включающих в себя, но не ограничиваясь этим, общую форму, которая может быть определена как по существу стержнеобразная, по существу трубчатая или по существу цилиндрическая форма. В реализациях, показанных и описанных со ссылкой на прилагаемые чертежи, устройство для доставки аэрозоля имеет по существу круглое поперечное сечение; однако другие формы поперечного сечения (например, овал, квадрат, прямоугольник, треугольник и т.д.) также охватываются настоящим раскрытием. Такой язык, который описывает физическую форму изделия, может также применяться к его отдельным компонентам, включающих в себя управляющий элемент и картридж/элемент источника аэрозоля. В других реализациях управляющий элемент может принимать другую форму портативного устройства, например, форму небольшого ящика.

В более конкретных реализациях один или оба из управляющего элемента и картриджа/элемента источника аэрозоля могут называться одноразовыми или многоразовыми. Например, управляющий элемент может иметь источник питания, такой как сменная батарея или перезаряжаемая батарея, SSB, тонкопленочный SSB, конденсатор, фотогальванический, перезаряжаемый суперконденсатор, литий-ионный или гибридный литий-ионный суперконденсатор и т.п. Одним из примеров источника питания является перезаряжаемая литий-ионная батарея TKI-1550, производимая немецкой компанией Tadiran Batteries GmbH. В другом варианте осуществления полезным источником питания может быть никель-кадмиевый элемент N50-AAA CADNICA, производимый Sanyo Electric Company, Ltd, Япония. В других реализациях множество таких батарей, например, каждая на 1,2 В, может быть подключено последовательно. В некоторых реализациях источник питания выполнен с возможностью обеспечивать выходное напряжение. Источник питания может приводить в действие компонент образования аэрозоля, который способен производить аэрозоль из композиции предшественника аэрозоля. Источник питания может быть соединен с любым типом технологии подзарядки, например, с зарядным аксессуаром, как дополнительно обсуждается ниже.

Примеры источников питания описаны в патенте США № 9484155 на имя Peckerar и др.; и публикации заявки на патент США № 2017/0112191 на имя Sur и др., поданной 21 октября 2015 года, раскрытие которых включено в настоящий документ посредством ссылки. Другие примеры подходящего источника питания представлены в публикации заявки на патент США № 2014/0283855 на имя Hawes и др., публикации заявки на патент США № 2014/0014125 на имя Fernando и др., публикации заявки на патент США № 2013/0243410 на имя Nichols и др., публикации заявки на патент США № 2010/0313901 на имя Fernando и др. и патенте США № 9439454 на имя Fernando и др., все из которых включены в настоящий документ посредством ссылки. Что касается датчика потока, типичные компоненты регулирования тока и другие компоненты регулирования тока, включающие в себя различные микроконтроллеры, датчики и переключатели для устройств доставки аэрозоля, описаны в патенте США № 4735217 на имя Gerth и др.; патентах США 4922901, 4947874 и 4947875, все на имя Brooks и др.; патенте США № 5372148 на имя McCafferty и др.; патенте США № 6040560 на имя Fleischhauer и др.; патенте США № 7040314 на имя Nguyen и др.; патенте США № 8205622 на имя Pan; публикации заявки на патент США № 8881737 на имя Collet и др.; патенте США № 9423152 на имя Ampolini и др.; патенте США № 9439454 на имя Fernando и др.; и публикации заявки на патент США № 2015/0257445 на имя Генри и др., все из которых включены в настоящий документ посредством ссылки.

Дополнительные примеры компонентов, относящиеся к электронным изделиям для доставки аэрозолей и раскрывающие материалы или компоненты, которые могут быть использованы в настоящей статье, включают в себя патент США № 4735217 на имя Gerth и др.; патент США № 5249586 на имя Morgan и др.; патент США № 5666977 на имя Higgins и др.; патент США № 6053176 на имя Adams и др.; патент США № 6164287 на имя White; патент США № 6196218 на имя Voges; патент США № 6810883 на имя Felter и др.; патент США № 6854461 на имя Nichols; патент США № 7832410 на имя Hon; патент США № 7513253 на имя Kobayashi; патент США № 7896006 на имя Hamano; патент США № 6772756 на имя Shayan; патенты США № 8156944 и 8375957 на имя Hon; патент США № 8794231 на имя Thorens и др.; патент США № 8851083 на имя Oglesby и др.; патенты США № 8915254 и 8925555 на имя Monsees и др.; патент США № 9220302 на имя DePiano и др.; публикации заявки на патент США № 2006/0196518 и 2009/0188490 на имя Hon; публикация заявки на патент США № 2010/0024834 на имя Oglesby и др.; Публикация заявки на патент США № 2010/0307518 на имя Wang; публикация заявки на патент США № WO 2010/091593 на имя Hon; и публикация заявки на патент РСТ № WO 2013/089551 на имя Foo, каждая из которых включена в настоящий документ посредством ссылки. Кроме того, в публикации заявки на патент США № 2017/0099877 на имя Worm и др., описаны капсулы, которые могут быть включены в устройства для доставки аэрозоля, и конфигурации в форме брелока для устройств для доставки аэрозолей, и она включена в настоящее описание в качестве ссылки. Разнообразные материалы, раскрытые в вышеупомянутых документах, могут быть включены в настоящие устройства в различных реализациях, и все вышеизложенные описания включены в настоящее описание посредством ссылки.

Еще другие особенности, элементы управления или компоненты, которые могут быть включены в устройства для доставки аэрозолей по настоящему изобретению, описаны в патенте США № 5967148 на имя Harris и др.; патенте США № 5934289 на имя Watkins и др.; патенте США № 5954979 на имя Counts и др.; патенте США № 6040560 на имя Fleischhauer и др.; патенте США № 8365742 на имя Hon; патенте США № 8402976 на имя Fernando и др.; публикации заявки на патент США № 2005/0016550 на имя Katase; патенте США № 8689804 на имя Fernando и др.; публикации заявки на патент США № 2013/0192623 на имя Tucker и др.; патенте США № 9427022 на имя Leven и др.; публикации заявки на патент США № 2013/0180553 на имя Kim и др.; публикации заявки на патент США № 2014/0000638 на имя Sebastian и др.; публикации заявки на патент США № 2014/0261495 на имя Novak и др.; и патенте США № 9220302 на имя DePiano и др., все из которых включены в настоящее описание в качестве ссылки.

В другом аспекте настоящее раскрытие может быть направлено на комплекты, которые обеспечивают множество компонентов, как описано в данном документе. Например, комплект может содержать управляющий элемент с одним или более картриджами или элементами источника аэрозоля. Комплект может дополнительно включать в себя зарядный аксессуар, описанный ниже, вместе с одной или более батареями, и управляющий элемент с одним или более картриджами. Комплект может дополнительно содержать множество картриджей и одну или более батарей и/или зарядный аксессуар. В вышеупомянутых вариантах осуществления картриджи или управляющие элементы могут быть снабжены нагревательным элементом, включающим их. Комплекты по изобретению могут дополнительно включать в себя футляр (или другой компонент упаковки, переноски или хранения), в котором размещены один или более дополнительных компонентов комплекта. В качестве альтернативы, зарядный аксессуар может входить в состав одного из комплектов. Футляр может быть многоразовым жестким или мягким контейнером. Кроме того, футляр может быть просто коробкой или другой упаковочной структурой.

Фиг.1 и 2 иллюстрируют реализации устройства для доставки аэрозоля, включающего в себя управляющий элемент и картридж, в случае электронной сигареты. В этом отношении на Фиг.1 и 2 показано устройство 100 для доставки аэрозоля согласно примерному варианту осуществления настоящего раскрытия. Как указано, устройство для доставки аэрозоля может включать в себя управляющий элемент 102 (т.е., батарейный блок) и картридж 104. Как описано ниже, для работы устройства, например, когда установлен картридж 104, может потребоваться аутентификация наряду с верификацией возраста. Управляющий элемент и картридж могут быть постоянно или съемным образом выровнены в функциональном отношении. В этом отношении на Фиг.1 показан вид в перспективе устройства для доставки аэрозоля в соединенной конфигурации, тогда как на Фиг.2 показан вид сбоку с частичным вырезом устройства для доставки аэрозоля в разъединенной конфигурации. Устройство для доставки аэрозоля может быть, например, по существу стержневидным, по существу трубчатым или по существу цилиндрическим в некоторых вариантах реализации, когда управляющий элемент и картридж находятся в собранной конфигурации.

Управляющий элемент 102 и картридж 104 могут быть выполнены с возможностью зацепления друг с другом посредством множества соединений, таких как соединение с прессовой посадкой (или посадкой с натягом), резьбовое соединение, магнитное соединение и т.п. По существу, управляющий элемент может включать в себя первый зацепляющий элемент (например, соединитель), который приспособлен для зацепления второго зацепляющего элемента (например, соединителя) на картридже. Первый зацепляющий элемент и второй зацепляющий элемент могут быть двусторонними. В качестве примера, либо первый зацепляющий элемент, либо второй зацепляющий элемент может быть наружной резьбой, а другой - внутренней резьбой. В качестве дополнительного примера, либо первый зацепляющий элемент, либо второй зацепляющий элемент может быть магнитом, а другой может быть металлическим или согласующим магнитом. В конкретных реализациях зацепляющие элементы могут определяться непосредственно существующими компонентами управляющего элемента и картриджа. Например, корпус управляющего элемента может определять полость на своем конце, которая выполнена с возможностью принимать, по меньшей мере, фрагмент картриджа (например, резервуара для хранения или другого образующего оболочку элемента картриджа). В частности, резервуар для хранения картриджа может, по меньшей мере, частично входить в полость управляющего элемента, в то время как мундштук картриджа остается открытым вне полости управляющего элемента. Картридж может удерживаться внутри полости, образованной корпусом управляющего элемента, например, с помощью посадки с натягом (например, с помощью фиксаторов и/или других элементов, создающих зацепление с натягом между внешней поверхностью картриджа и внутренней поверхностью стенки, образующей полость управляющего элемента), посредством магнитного зацепления (например, посредством использования магнитов и/или магнитных металлов, расположенных внутри полости управляющего элемента и размещенных на картридже), или с помощью других подходящих технологий.

Как видно в разрезе, показанном на Фиг.2, каждый управляющий элемент 102 и картридж 104 включают в себя ряд соответствующих компонентов. Компоненты, показанные на Фиг.2, представляют собой компоненты, которые могут присутствовать в управляющем элементе и картридже, и не предназначены для ограничения объема компонентов, охватываемых настоящим раскрытием. В одном варианте осуществления управляющий элемент 102 может называться батарейным блоком. Как показано, например, управляющий элемент 102 может состоять из корпуса 206 (иногда называемого оболочкой управляющего элемента), который может включать в себя управляющий компонент 208 (например, схему обработки и т.д.), датчик 210 потока, источник 212 питания (например, батарея, суперконденсатор) и индикатор 214 (например, светодиод, светодиод на основе квантовых точек), и такие компоненты могут быть различным образом выстроены. Источник питания может быть перезаряжаемым, а управляющий компонент может включать в себя переключатель и схему обработки, соединенные с датчиком потока и переключателем. Схема обработки может быть выполнена с возможностью предотвращения доступа (блокировки) устройства в зависимости от статуса аутентификации или верификации возраста. В одном примере устройство может запускаться в заблокированном состоянии, в котором его использование запрещено, но оно будет пригодным для использования, как только устройство будет аутентифицировано после получения правильного управляющего сигнала на устройстве. Другими словами, по умолчанию устройство может быть заблокировано, а аутентификация (наряду с верификацией возраста) разблокирует устройство.

Картридж 104 может быть образован из корпуса 216 (иногда называемого оболочкой картриджа), охватывающего резервуар 218, выполненного с возможностью удержания композиции предшественника аэрозоля, и включающего в себя нагревательный элемент 220 (компонент образования аэрозоля). В различных конфигурациях эта конструкция может называться сосудом; и, соответственно, термины "картридж", "сосуд" и т.п. могут использоваться взаимозаменяемо для обозначения оболочки или другого корпуса, охватывающего резервуар для композиции предшественника аэрозоля и включающего в себя нагревательный элемент.

Как показано, в некоторых примерах, резервуар 218 может сообщаться с возможностью обмена текучей средой с элементом 222 переноса жидкости, приспособленным для впитывания или переноса иным образом композиции предшественника аэрозоля, хранящейся в корпусе резервуара, к нагревательному элементу 220. В некоторых примерах клапан может быть расположен между резервуаром и нагревательным элементом и выполнен с возможностью регулирования количества композиции предшественника аэрозоля, проходящей или доставленной из резервуара к нагревательному элементу.

Для формирования нагревательного элемента 220 могут использоваться различные примеры материалов, выполненных с возможностью вырабатывать тепло при пропускании через них электрического тока. Нагревательный элемент в этих примерах может быть резистивным нагревательным элементом, таким как проволочная катушка, микронагреватель и т.п. Примеры материалов, из которых может быть изготовлен нагревательный элемент, включают в себя кантал (FeCrAl), нихром, никель, нержавеющую сталь, оксид индия и олова, вольфрам, дисилицид молибдена (MoSi2), силицид молибдена (MoSi), дисилицид молибдена, легированный алюминием (Mo(Si,Al)2), титан, платину, серебро, палладий, сплавы серебра и палладия, графит и материалы на основе графита (например, пены и нити на основе углерода), проводящие чернила, кремнезем, легированный бором, и керамику (например, керамику с положительным или отрицательным температурным коэффициентом). Нагревательный элемент может быть резистивным нагревательным элементом или нагревательным элементом, выполненным с возможностью формирования тепла за счет индукции. Нагревательный элемент может быть покрыт теплопроводной керамикой, такой как нитрид алюминия, карбид кремния, оксид бериллия, оксид алюминия, нитрид кремния или их композиты. Примеры реализации нагревательных элементов, используемых в устройствах для доставки аэрозолей согласно настоящему раскрытию, дополнительно описаны ниже и могут быть включены в такие устройства, как описанные здесь.

В корпусе 216 может быть отверстие 224 (например, на конце мундштука), чтобы обеспечить выход сформированного аэрозоля из картриджа 104.

Картридж 104 также может включать в себя один или более электронных компонентов 226, которые могут включать в себя интегральную схему, компонент памяти (например, EEPROM, флэш-память), датчик и т.п. Электронные компоненты могут быть адаптированы для связи с управляющим компонентом 208 и/или с внешним устройством с помощью проводных или беспроводных средств. Электронные компоненты могут быть расположены в любом месте картриджа или его основания 228.

Хотя управляющий компонент 208 и датчик 210 потока показаны отдельно, понятно, что различные электронные компоненты, включающие в себя управляющий компонент и датчик потока, могут быть объединены на печатной плате (например, PCB), которая поддерживает и электрически соединяет электронные компоненты. Кроме того, печатная плата может быть расположена горизонтально относительно иллюстрации на Фиг.1, так что печатная плата может быть в продольном направлении параллельна центральной оси управляющего элемента. В некоторых примерах датчик воздушного потока может содержать свою собственную печатную плату или другой базовый элемент, к которому он может быть прикреплен. В некоторых примерах может использоваться гибкая печатная плата. Гибкая печатная плата может иметь множество форм, включающих в себя по существу трубчатые формы. В некоторых примерах гибкая печатная плата может быть объединена с подложкой нагревателя, наложена на нее или образовывать часть или всю подложку нагревателя.

Управляющий элемент 102 и картридж 104 могут включать в себя компоненты, приспособленные для облегчения взаимодействия посредством текучей среды между ними. Как проиллюстрировано на Фиг.2, управляющий элемент может включать в себя соединитель 230, имеющий в нем полость 232. Основание 228 картриджа может быть приспособлено для зацепления с соединителем и может включать в себя выступ 234, приспособленный для размещения внутри полости. Такое зацепление может способствовать стабильному соединению между управляющим элементом и картриджем, а также устанавливать электрическое соединение между источником 212 питания и управляющим компонентом 208 в управляющем элементе и нагревательным элементом 220 в картридже. Кроме того, корпус 206 может включать в себя воздухозаборник 236, который может быть вырезом в корпусе, где он соединяется с соединителем, что позволяет пропускать окружающий воздух вокруг соединителя и в корпус, где он затем проходит через полость 232 соединителя и в картридж через выступ 234.

Соединитель и основание, применимые в соответствии с настоящим раскрытием, описаны в публикации заявки на патент США № 2014/0261495 на имя Novak и др., которая включена в настоящее описание в качестве ссылки. Например, соединитель 230, показанный на Фиг.2, может определять внешнюю периферию 238, выполненную с возможностью сопряжения с внутренней периферией 240 основания 228. В одном примере внутренняя периферия основания может определять радиус, который по существу равен или немного больше радиуса внешней периферии соединителя. Кроме того, соединитель может образовывать один или более выступов 242 на внешней периферии, выполненных с возможностью зацепления с одним или более углублениями 244, образованными на внутренней периферии основания. Однако для соединения основания с соединителем могут использоваться различные другие примеры структур, форм и компонентов. В некоторых примерах соединение между основанием картриджа 104 и соединителем управляющего элемента 102 может быть по существу постоянным, тогда как в других примерах соединение между ними может быть разъединяемым, так что, например, управляющий элемент можно повторно использовать с одним или более дополнительными картриджами, которые могут быть одноразовыми и/или многоразовыми.

Резервуар 218, показанный на Фиг.2, может быть контейнером или волокнистым резервуаром, как здесь описано. Например, резервуар может содержать один или более слоев нетканых волокон, по существу сформированных в форме трубки, охватывающей внутреннюю часть корпуса 216, в этом примере. Композиция предшественник аэрозоля может оставаться в резервуаре. Жидкие компоненты, например, могут сорбционно удерживаться резервуаром. Резервуар может быть соединен с возможностью обмена текучей средой с элементом 222 переноса жидкости. Элемент переноса жидкости может переносить композицию предшественника аэрозоля, хранящуюся в резервуаре, за счет капиллярного действия - или через микронасос - к нагревательному элементу 220, который в этом примере представляет собой спираль из металлической проволоки. Таким образом, нагревательный элемент находится в системе нагрева с элементом переноса жидкости.

В некоторых примерах микрожидкостная микросхема может быть встроена в резервуар 218, и количество и/или масса композиции предшественника аэрозоля, доставляемой из резервуара, может контролироваться микронасосом, например насосом, основанным на технологии микроэлектромеханических систем (MEMS). Другие примерные реализации резервуаров и элементов переноса, используемых в устройствах для доставки аэрозолей в соответствии с настоящим раскрытием, дополнительно описаны здесь, и такие резервуары и/или элементы переноса могут быть включены в устройства, такие как описанные здесь. В частности, определенные комбинации нагревательных элементов и элементов переноса, как дополнительно описано здесь, могут быть включены в устройства, такие как описанные здесь.

При использовании, когда пользователь затягивает устройство 100 для доставки аэрозоля, воздушный поток обнаруживается датчиком 210 потока, и нагревательный элемент 220 активируется для испарения компонентов композиции предшественника аэрозоля. Втягивание мундштука устройства для доставки аэрозоля заставляет окружающий воздух поступать в воздухозаборник 236 и проходить через полость 232 в соединителе 230 и центральное отверстие в выступе 234 основания 228. В картридже 104 втянутый воздух объединяется с образовавшимся паром, чтобы образовывать аэрозоль. Аэрозоль отгоняется, отсасывается или иным образом отводится от нагревательного элемента и выходит из отверстия 224 в мундштуке устройства для доставки аэрозоля.

Для получения дополнительных подробностей относительно реализации устройства для доставки аэрозоля, включающего в себя управляющий элемент и картридж в случае электронной сигареты, см. процитированную выше заявку на патент США с серийным номером 15/836086 на имя Sur; и заявку на патент США с серийным номером 15/916834 на имя Sur и др.; а также заявку на патент США с серийным номером 15/916696 на имя Sur, поданную 9 марта 2018 года, которая также включена в настоящий документ посредством ссылки.

На Фиг.3-6 показаны реализации устройства для доставки аэрозоля, включающего в себя управляющий элемент и элемент источника аэрозоля, в случае устройства нагрева без горения. Более конкретно, Фиг.3 иллюстрирует устройство 300 для доставки аэрозоля согласно примерному варианту осуществления настоящего раскрытия. Устройство для доставки аэрозоля может включать в себя управляющий элемент 302 и элемент 304 источника аэрозоля. В различных реализациях элемент источника аэрозоля и управляющий элемент могут быть постоянно или с возможностью отсоединения выровнены в функциональном отношении. В этом отношении на Фиг.3 показано устройство для доставки аэрозоля в соединенной конфигурации, тогда как на Фиг.4 показано устройство для доставки аэрозоля в разъединенной конфигурации.

Как показано на Фиг.4, в различных реализациях настоящего раскрытия элемент 304 источника аэрозоля может содержать нагреваемый конец 406, который выполнен с возможностью вставления в управляющий элемент 302, и конец 408 для рта, на котором пользователь делает затяжку, чтобы создать аэрозоль. В различных реализациях, по меньшей мере, фрагмент нагреваемого конца может включать в себя композицию 410 предшественника аэрозоля.

В различных реализациях элемент 304 источника аэрозоля или его фрагмент могут быть обернуты материалом 412 внешней обертки, который может быть образован из любого материала, пригодного для обеспечения дополнительной структуры и/или поддержки элемента источника аэрозоля. В различных реализациях материал внешней обертки может содержать материал, который сопротивляется передаче тепла, который может включать в себя бумагу или другой волокнистый материал, такой как целлюлозный материал. Материал внешней обертки может также включать в себя, по меньшей мере, один наполнитель, внедренный или диспергированный в волокнистом материале. В различных вариантах реализации наполнитель может иметь форму нерастворимых в воде частиц. Кроме того, наполнитель может включать в себя неорганические компоненты. В различных реализациях внешняя обертка может быть образована из нескольких слоев, таких как нижележащий объемный слой и верхний слой, такой как обычная оберточная бумага для сигареты. Такие материалы могут включать в себя, например, легкие "тряпичные волокна", такие как лен, конопля, сизаль, рисовая солома и/или эспарто. Внешняя обертка может также включать в себя материал, обычно используемый в фильтрующем элементе обычной сигареты, такой как ацетат целлюлозы.

Кроме того, избыточная длина внешней обертки на мундштуке 408 элемента источника аэрозоля может просто отделять композицию предшественника аэрозоля 410 от рта потребителя или обеспечивать пространство для размещения фильтрующего материала, как описано ниже, или для воздействия на вытяжку на изделии или на характеристики потока пара или аэрозоля, покидающих устройство во время вытягивания. Дальнейшее обсуждение, касающееся конфигураций материалов внешней обертки, которые могут использоваться с настоящим раскрытием, можно найти в цитированном выше патенте США № 9078473 на имя Worm и др.

В различных вариантах реализации могут существовать другие компоненты между композицией 410 предшественника аэрозоля и мундштуком 408 элемента 304 источника аэрозоля, при этом мундштук может включать в себя фильтр 414, который может, например, быть изготовлен из ацетата целлюлозы или полипропиленового материала. Фильтр может дополнительно или альтернативно содержать нити табачного материала, как описано в патенте США № 5025814 на имя Raker и др., который полностью включен в настоящий документ посредством ссылки. В различных реализациях фильтр может увеличивать структурную целостность мундштука элемента источника аэрозоля и/или обеспечивать фильтрующую способность, если желательно, и/или обеспечивать сопротивление затягиванию. В некоторых вариантах реализации между композицией-предшественником аэрозоля и мундштуком может быть расположена одно из следующего или любая комбинация из следующего: воздушный зазор; материалы с фазовым переходом для охлаждающего воздуха; среда, выделяющая аромат; ионообменные волокна, способные к селективной химической адсорбции; частицы аэрогеля как фильтрующая среда; и другие подходящие материалы.

В различных реализациях настоящего раскрытия используется один или более проводящих нагревательных элементов для нагрева композиции 410 предшественника аэрозоля элемента 304 источника аэрозоля. В различных реализациях нагревательный элемент может быть выполнен в различных формах, например, в форме фольги, пены, сетки, полого шара, полушара, дисков, спиралей, волокон, проволоки, пленок, пряжи, полосок, лент или цилиндров. Такие нагревательные элементы часто содержат металлический материал и выполнены с возможностью выработки тепла в результате электрического сопротивления, связанного с прохождением через них электрического тока. Такие резистивные нагревательные элементы могут быть расположены в непосредственном контакте или в непосредственной близости от элемента источника аэрозоля и, в частности, композиции предшественника аэрозоля элемента источника аэрозоля. Нагревательный элемент может быть расположен в управляющем элементе и/или в элементе источника аэрозоля. В различных вариантах реализации композиция предшественника аэрозоля может включать в себя компоненты (т.е. теплопроводящие составляющие), которые встроены в или иным образом являются частью фрагмента подложки, который может служить или облегчать функцию нагревательного узла. Некоторые примеры различных нагревательных элементов и элементов описаны в патенте США № 9078473 на имя Worm и др.

Некоторые неограничивающие примеры различных конфигураций нагревательного элемента включают в себя конфигурации, в которых нагревательный элемент размещен рядом с элементом 304 источника аэрозоля. Например, в некоторых примерах, по меньшей мере, фрагмент нагревательного элемента может окружать, по меньшей мере, фрагмент элемента источника аэрозоля. В других примерах один или более нагревательных элементов могут быть расположены рядом с внешней стороной элемента источника аэрозоля, когда он вставлен в управляющий элемент 302. В других примерах, по меньшей мере, фрагмент нагревательного элемента может проникать, по меньшей мере, в фрагмент элемента источника аэрозоля (такого как, например, один или более выступов и/или игл, которые проникают в элемент источника аэрозоля), когда источник аэрозоля элемент вставлен в управляющий элемент. В некоторых случаях композиция предшественника аэрозоля может включать в себя структуру, находящуюся в контакте, или множество шариков или частиц, погруженных в композицию предшественника аэрозоля или иным образом являющуюся ее частью, которая может служить или облегчать функцию нагревательного элемента.

Фиг.5 иллюстрирует вид спереди устройства 300 для доставки аэрозоля согласно примерной реализации настоящего раскрытия, а Фиг.6 иллюстрирует вид в разрезе устройства для доставки аэрозоля по Фиг.5. В частности, управляющий элемент 302 изображенной реализации может содержать корпус 516, который включает в себя отверстие 518, образованное на его зацепляющем конце, датчик 520 потока (например, датчик затяжки или реле давления), управляющий компонент 522 (например, схему обработки и т.д.), источник 524 питания (например, батарею, суперконденсатор) и торцевую крышку, которая включает в себя индикатор 526 (например, светодиод). Источник питания может быть перезаряжаемым, а управляющий компонент может включать в себя переключатель и схему обработки, соединенные с датчиком потока и переключателем. Схема обработки может быть выполнена с возможностью предотвращать работу с переключателем, если верификация возраста не удалась, как дополнительно обсуждается ниже. По умолчанию устройство может находиться в состоянии, когда переключатель не соединен, и переключатель соединяется после аутентификации (которая может основываться на верификации).

В одной реализации индикатор 526 может содержать один или более светодиодов, светодиодов на основе квантовых точек и т.п. Индикатор может быть связан с управляющим компонентом 522 и загораться, например, когда пользователь тянет элемент 304 источника аэрозоля, когда он присоединен к управляющему элементу 302, как обнаружено датчиком 520 потока.

Управляющий элемент 302 изображенной реализации включает в себя один или более нагревательных узлов 528 (по отдельности или вместе называемых нагревательным узлом), выполненных с возможностью нагревать композицию 410 предшественника аэрозоля элемента 304 источника аэрозоля. Хотя нагревательный узел в различных реализациях настоящего раскрытия может принимать различные формы, в конкретной реализации, изображенной на Фиг.5 и 6, нагревательный узел содержит внешний цилиндр 530 и нагревательный элемент 532 (компонент образования аэрозоля), который в этой реализации содержит множество штырей нагревателя, которые отходят от приемного основания 534 (в различных конфигурациях нагревательный узел или, более конкретно, штыри нагревателя могут называться нагревателем). В изображенном варианте осуществления внешний цилиндр содержит вакуумную трубку с двойными стенками, сконструированную из нержавеющей стали, для поддержания тепла, выделяемого штырями нагревателя внутри внешнего цилиндра, и, более конкретно, поддержания тепла, выделяемого штырями нагревателя в композиции предшественника аэрозоля. В различных реализациях контакты нагревателя могут быть изготовлены из одного или более проводящих материалов, включающих в себя, помимо прочего, медь, алюминий, платину, золото, серебро, железо, сталь, латунь, бронзу, графит или любую их комбинацию.

Как проиллюстрировано, нагревательный узел 528 может проходить рядом с зацепляющимся концом корпуса 516 и может быть выполнен так, чтобы по существу окружать фрагмент нагреваемого конца 406 элемента 304 источника аэрозоля, который включает в себя композицию 410 предшественника аэрозоля. Таким образом, нагревательный узел может иметь в целом трубчатую конфигурацию. Как проиллюстрировано на Фиг.5 и 6, нагревательный элемент 532 (например, множество штырей нагревателя) окружен внешним цилиндром 530 для создания приемной камеры 536. Таким образом, в различных реализациях внешний цилиндр может содержать непроводящий изоляционный материал и/или конструкцию, включающую в себя, помимо прочего, изолирующий полимер (например, пластик или целлюлозу), стекло, резину, керамику, фарфор, вакуумную конструкцию с двойными стенками или любые их комбинации.

В некоторых вариантах реализации один или более фрагментов или компонентов нагревательного узла 528 могут быть объединены, упакованы и/или составлены как одно целое с композицией 410 предшественника аэрозоля (например, заключены в нее). Например, в некоторых вариантах реализации композиция предшественника аэрозоля может быть сформирована из материала, как описано выше, и может включать в себя один или более смешанных с ним проводящих материалов. В некоторых из этих реализаций контакты могут быть соединены непосредственно с композицией предшественника аэрозоля, так что, когда элемент источника аэрозоля вставляется в приемную камеру управляющего элемента, контакты устанавливают электрическое соединение с источником электрической энергии. В качестве альтернативы, контакты могут быть выполнены как одно целое с источником электрической энергии и могут проходить в приемную камеру, так что, когда элемент источника аэрозоля вставляется в приемную камеру управляющего элемента, контакты электрически соединяются с композицией предшественника аэрозоля. Из-за присутствия проводящего материала в композиции предшественника аэрозоля приложение энергии от источника электрической энергии к композиции предшественника аэрозоля позволяет протекать электрическому току и, таким образом, производить тепло от проводящего материала. Таким образом, в некоторых вариантах реализации нагревательный элемент может быть описан как неотъемлемая часть композиции предшественника аэрозоля. В качестве неограничивающего примера графит или другой подходящий проводящий материал может быть смешан, внедрен или иным образом присутствовать непосредственно на или внутри материала, образующего композицию предшественника аэрозоля, чтобы сделать нагревательный элемент неотъемлемым со средой.

Как отмечено выше, в проиллюстрированной реализации внешний цилиндр 530 также может служить для облегчения правильного позиционирования элемента 304 источника аэрозоля, когда элемент источника аэрозоля вставлен в корпус 516. В различных реализациях внешний цилиндр нагревательного узла 528 может входить в контакт с внутренней поверхностью корпуса для обеспечения выравнивания нагревательного узла относительно корпуса. Таким образом, в результате неподвижного соединения между нагревательным узлом продольная ось нагревательного узла может проходить по существу параллельно продольной оси корпуса. В частности, опорный цилиндр может проходить от отверстия 518 корпуса до приемного основания 534 для создания приемной камеры 536.

Нагреваемый конец 406 элемента 304 источника аэрозоля имеет размер и форму для вставки в управляющий элемент 302. В различных реализациях приемная камера 536 управляющего элемента может быть охарактеризована как определяемая стенкой с внутренней поверхностью и внешней поверхностью, причем внутренняя поверхность определяет внутренний объем приемной камеры. Например, в изображенных реализациях внешний цилиндр 530 определяет внутреннюю поверхность, определяющую внутренний объем приемной камеры. В проиллюстрированной реализации внутренний диаметр внешнего цилиндра может быть немного больше или приблизительно равен внешнему диаметру соответствующего элемента источника аэрозоля (например, для создания скользящей посадки), так что внешний цилиндр выполнен с возможностью направлять элемент источника аэрозоля в правильное положение (например, боковое положение) по отношению к управляющему элементу. Таким образом, наибольший внешний диаметр (или другой размер в зависимости от конкретной формы поперечного сечения реализаций) элемента источника аэрозоля может быть меньше внутреннего диаметра (или другого размера) на внутренней поверхности стенки открытого конца приемной камеры в управляющем элементе. В некоторых реализациях разница в соответствующих диаметрах может быть достаточно небольшой, так что элемент источника аэрозоля плотно входит в приемную камеру, а силы трения предотвращают перемещение элемента источника аэрозоля без приложения силы. С другой стороны, разница может быть достаточной, чтобы позволить элементу источника аэрозоля скользить в приемную камеру или из нее, не требуя чрезмерного усилия.

В проиллюстрированной реализации управляющий элемент 302 выполнен таким образом, что, когда элемент 304 источника аэрозоля вставляется в управляющий элемент, нагревательный элемент 532 (например, штыри нагревателя) расположен приблизительно в радиальном центре, по меньшей мере, фрагмента композиции 410 предшественника аэрозоля нагреваемого конца 406 элемента источника аэрозоля. Таким образом, при использовании в сочетании с твердой или полутвердой композицией предшественника аэрозоля стержни нагревателя могут находиться в прямом контакте с композицией предшественника аэрозоля. В других реализациях, например, при использовании в сочетании с экструдированной композицией предшественника аэрозоля, которая определяет трубчатую структуру, стержни нагревателя могут быть расположены внутри полости, определяемой внутренней поверхностью экструдированной трубчатой конструкции, и не будут контактировать с внутренней поверхностью экструдированной трубчатой конструкции.

Во время использования потребитель инициирует нагрев нагревательного узла 528 и, в частности, нагревательного элемента 532, который находится рядом с композицией предшественника аэрозоля 410 (или ее конкретным слоем). Нагревание композиции предшественника аэрозоля высвобождает вдыхаемое вещество внутри элемента 304 источника аэрозоля, чтобы получить вдыхаемое вещество. Когда потребитель вдыхает через мундштук 408 элемента источника аэрозоля, воздух втягивается в элемент источника аэрозоля через воздухозаборник 538, такой как отверстия или щели в управляющем элементе 302. Комбинация втягиваемого воздуха и выпущенного вдыхаемого вещества вдыхается потребителем, когда втягиваемые материалы выходят из мундштука элемента источника аэрозоля. В некоторых реализациях, чтобы инициировать нагрев, потребитель может вручную задействовать кнопку или аналогичный компонент, который заставляет нагревательный элемент нагревательного узла получать электрическую энергию от батареи или другого источника энергии. Электроэнергия может подаваться в течение заранее определенного периода времени или может управляться вручную.

В некоторых реализациях поток электрической энергии по существу не проходит между затяжками на устройстве 300 (хотя поток энергии может продолжаться, чтобы поддерживать базовую температуру выше, чем температура окружающей среды - например, температуру, которая способствует быстрому нагреву до температуры активного нагрева). Однако в изображенной реализации нагрев инициируется действием затяжки потребителя посредством использования одного или более датчиков, таких как датчик 520 потока. Как только затяжка будет прекращена, нагрев прекратится или уменьшится. Когда потребитель сделал достаточное количество затяжек, чтобы высвободить достаточное количество вдыхаемого вещества (например, количество, достаточное, чтобы соответствовать типичному курению), элемент 304 источника аэрозоля может быть удален из управляющего элемента 302 и выброшен. В некоторых реализациях могут использоваться дополнительные чувствительные элементы, такие как емкостные чувствительные элементы и другие датчики, как обсуждается в заявке на патент США № 15/707461 на имя Phillips и др., которая включена здесь в качестве ссылки.

В различных реализациях элемент 304 источника аэрозоля может быть сформирован из любого материала, подходящего для формирования и поддержания соответствующей конформации, такой как трубчатая форма, и для удержания в ней композиции 410 предшественника аэрозоля. В некоторых реализациях элемент источника аэрозоля может быть сформирован из одной стенки или, в других реализациях, из множества стенок и может быть сформирован из материала (натурального или синтетического), который является термостойким, чтобы сохранять свою структурную целостность - например, не ухудшаться - по крайней мере, при температуре, которая является температурой нагрева, обеспечиваемой электронагревательным элементом, как дополнительно обсуждается в данном документе. Хотя в некоторых реализациях может использоваться термостойкий полимер, в других реализациях элемент источника аэрозоля может быть сформирован из бумаги, такой как бумага, которая по существу имеет форму соломки. Как дополнительно обсуждается в данном документе, элемент источника аэрозоля может иметь один или более связанных с ним слоев, которые действуют, по существу, для предотвращения движения пара через него. В одном из примеров реализации слой алюминиевой фольги может быть наслоен на одной поверхности элемента источника аэрозоля. Также могут быть использованы керамические материалы. В дополнительных вариантах реализации может использоваться изолирующий материал, чтобы без необходимости не отводить тепло от композиции предшественника аэрозоля. Дополнительными примерами типов компонентов и материалов, которые могут использоваться для обеспечения функций, описанных выше, или использоваться в качестве альтернативы материалам и компонентам, указанным выше, могут быть те из типов, которые указаны в публикациях заявок на патент США №№ 2010/00186757 на имя Crooks и др. , 2010/00186757 на имя Crooks и др., и 2011/0041861 на имя Sebastian и др., все из которых включены в настоящий документ посредством ссылки.

В изображенной реализации управляющий элемент 302 включает в себя управляющий компонент 522, который управляет различными функциями устройства 300 для доставки аэрозоля, включающими в себя подачу питания на электрический нагревательный элемент 532. Например, управляющий компонент может включать в себя схему обработки (которая может быть подключена к дополнительным компонентам, как дополнительно описано в данном документе), которая подключена электропроводящими проводами (не показаны) к источнику 524 питания. В различных реализациях схема обработки может управлять тем, когда и как нагревательный узел 528, и в частности контактные штыри нагревателя, получают электрическую энергию для нагрева композиции 410 предшественника аэрозоля для высвобождения вдыхаемого вещества для вдыхания потребителем. В некоторых реализациях такое управление может активироваться датчиком 520 потока, как более подробно описано выше.

Как видно на Фиг.5 и 6, нагревательный узел 528 изображенного варианта реализации содержит внешний цилиндр 530 и нагревательный элемент 532 (например, множество штырей нагревателя), которые отходят от приемного основания 534. В некоторых вариантах реализации, таких как те, в которых композиция 410 предшественника аэрозоля содержит трубчатую структуру, стержни нагревателя могут быть выполнены с возможностью проходить в полость, ограниченную внутренней поверхностью композиции предшественника аэрозоля. В других реализациях, таких как изображенная реализация, в которой композиция предшественника аэрозоля содержит твердое или полутвердое вещество, множество стержней нагревателя выполнены так, чтобы проникать в композицию предшественника аэрозоля, содержащуюся в нагреваемом конце 406 элемента 304 источника аэрозоля, когда элемент источника аэрозоля вставлен в управляющий элемент 302. В таких реализациях один или более компонентов нагревательного узла, включающих в себя стержни нагревателя и/или приемное основание, могут быть изготовлены из антипригарного или устойчивого к прилипанию материала, например, произвольных алюминия, меди, нержавеющей стали, углеродистой стали и керамических материалов. В других реализациях один или более компонентов нагревательного узла, включающих в себя выступы нагревателя и/или принимающее основание, могут включать в себя антипригарное покрытие, включающее в себя, например, покрытие из политетрафторэтилена (ПТФЭ), такое как Teflon®, или другие покрытия, такие как устойчивое к прилипанию эмалевое покрытие, или керамическое покрытие, такое как Greblon® или Thermolon™, или керамическое покрытие, такое как Greblon® или Thermolon™.

Кроме того, хотя в изображенной реализации имеется несколько стержней 532 нагревателя, которые по существу равномерно распределены вокруг приемного основания 534, следует отметить, что в других реализациях может использоваться любое количество стержней нагревателя, в том числе всего один, с любой другой подходящей пространственной конфигурацией. Кроме того, в различных реализациях длина стержней нагревателя может изменяться. Например, в некоторых реализациях стержни нагревателя могут иметь небольшие выступы, в то время как в других реализациях стержни нагревателя могут выступать на любом участке длины приемной камеры 536, в том числе примерно до 25%, примерно до 50%, примерно до 75% и примерно до полной длины приемной камеры. В еще других реализациях нагревательный узел 528 может принимать другие конфигурации. Примеры других конфигураций нагревателя, которые могут быть адаптированы для использования в настоящем изобретении в соответствии с приведенным выше обсуждением, можно найти в патентах США № 5060671 на имя Counts и др., 5093894 на имя Deevi и др., 5224498 на имя Deevi и др., 5228460 на имя Sprinkel Jr, и др., 5322075 на имя Deevi и др., 5353813 на имя Deevi и др., 5468936 на имя Deevi и др., 5498850 на имя Das, 5659656 на имя Das, 5498855 на имя Deevi и др., 5530225 на имя Hajaligol, 5665262 на имя Hajaligol и др., 5565262 на имя Hajaligol и др. и патент США № 5591368 на имя Fleischhauer и др., которые включены в настоящее описание в качестве ссылки.

В различных реализациях управляющий элемент 302 может включать в себя воздухозаборник 538 (например, одно или более отверстий или щелей) для обеспечения доступа окружающего воздуха внутрь приемной камеры 536. Таким образом, в некоторых реализациях приемное основание 534 может также включать в себя воздухозаборник. Таким образом, в некоторых реализациях, когда потребитель затягивает мундштук элемента 304 источника аэрозоля, воздух может втягиваться через воздухозаборник управляющего элемента и приемное основание в приемную камеру, проходить в элемент источника аэрозоля и быть втянутым через композицию 410 предшественника аэрозоля элемента источника аэрозоля для вдыхания потребителем. В некоторых вариантах реализации втянутый воздух переносит вдыхаемое вещество через дополнительный фильтр 414 и выходит из отверстия на конце 408 мундштука элемента источника аэрозоля. Когда нагревательный элемент 532 расположен внутри композиции предшественника аэрозоля, стержни нагревателя могут активироваться для нагрева композиции предшественника аэрозоля и вызывать высвобождение вдыхаемого вещества через элемент источника аэрозоля.

Как описано выше со ссылкой на Фиг.5 и 6, в частности, в различных реализациях настоящего раскрытия используется токопроводящий нагреватель для нагрева композиции 410 предшественника аэрозоля. Как также указано выше, в различных других реализациях используется индукционный нагреватель для нагрева композиции предшественника аэрозоля. В некоторых из этих реализаций нагревательный узел 528 может быть выполнен как индукционный нагреватель, который содержит трансформатор с индукционным передатчиком и индукционным приемником. В реализациях, в которых нагревательный узел выполнен в виде индукционного нагревателя, внешний цилиндр 530 может быть выполнен в виде индукционного передатчика, а нагревательный элемент 532 (например, множество стержней нагревателя), который проходит от приемного основания 534, может быть выполнен как индукционный приемник. В различных реализациях один или оба из индукционного передатчика и индукционного приемника могут быть расположены в управляющем элементе 302 и/или в элементе 304 источника аэрозоля.

В различных реализациях внешний цилиндр 530 и нагревательный элемент 532 в качестве индукционного передатчика и индукционного приемника могут быть изготовлены из одного или более проводящих материалов, а в дополнительных реализациях индукционный приемник может быть изготовлен из ферромагнитного материала, включающего в себя, но не ограничиваясь этим, кобальт, железо, никель и их комбинации. В одном из примеров реализации материал фольги выполнен из проводящего материала, а стержни нагревателя выполнены из ферромагнитного материала. В различных реализациях приемное основание может быть выполнено из непроводящего и/или изолирующего материала.

Внешний цилиндр 530 в качестве индукционного передатчика может включать в себя наслаивание с использованием материала фольги, который окружает опорный цилиндр. В некоторых реализациях материал фольги может включать в себя напечатанную на нем электрическую дорожку, такую как, например, одна или более электрических дорожек, которые в некоторых реализациях могут образовывать спиральный узор катушки, когда материал фольги расположен вокруг нагревательного элемента 532 как индукционный приемник. Каждый из материала фольги и опорного цилиндра может иметь трубчатую конфигурацию. Опорный цилиндр может быть выполнен с возможностью поддерживать материал фольги таким образом, чтобы материал фольги не входил в контакт и, таким образом, не замыкался накоротко со стержнями нагревателя. Таким образом, опорный цилиндр может содержать непроводящий материал, который может быть по существу прозрачным для колеблющегося магнитного поля, создаваемого материалом фольги. В различных вариантах реализации материал фольги может быть погружен в опорный цилиндр или иным образом присоединен к нему. В проиллюстрированном варианте осуществления фольга входит в зацепление с внешней поверхностью опорного цилиндра; однако в других реализациях материал фольги может быть расположен на внутренней поверхности опорного цилиндра или полностью погружен в опорный цилиндр.

Материал фольги внешнего цилиндра 530 может быть выполнен с возможностью создания осциллирующего магнитного поля (например, магнитного поля, которое периодически изменяется со временем), когда через него проходит переменный ток. Стержни нагревателя нагревательного элемента 532 могут, по меньшей мере, частично располагаться или приниматься внутри внешнего цилиндра и включать в себя проводящий материал. Пропуская переменный ток через материал фольги, в контактных контактах нагревателя могут возникать вихревые токи за счет индукции. Вихревые токи, протекающие через сопротивление материала, определяющего стержни нагревателя, могут нагревать его за счет джоулева нагрева (т.е. за счет эффекта Джоуля). Стержни нагревателя можно нагревать по беспроводной связи для образования аэрозоля из композиции 410 предшественника аэрозоля, расположенной рядом со стержнями нагревателя.

Другие реализации устройства для доставки аэрозоля, управляющего элемента и элемента источника аэрозоля описаны в цитируемой выше заявке на патент США с серийным номером 15/916834 на имя Sur и др.; заявке на патент США с серийным номером 15/916696 на имя Sur; и заявке на патент США с серийным номером 15/836086 на имя Sur.

Фиг.7 и 8 иллюстрируют реализации устройства для доставки аэрозоля, включающего в себя управляющий элемент и картридж, в случае устройства без нагрева и без горения. В этом отношении на Фиг.7 показан вид сбоку устройства 700 для доставки аэрозоля, включающего в себя управляющий элемент 702 и картридж 704, согласно различным примерным реализациям настоящего раскрытия. В частности, на Фиг.7 показаны соединенные друг с другом управляющий элемент и картридж. Управляющий элемент и картридж могут быть выровнены с возможностью отсоединения в функциональном отношении.

На Фиг.8 более конкретно показано устройство 700 для доставки аэрозоля в соответствии с некоторыми примерными реализациями. Как видно на проиллюстрированном здесь виде в разрезе, снова устройство для доставки аэрозоля может содержать управляющий элемент 702 и картридж 704, каждый из которых включает в себя ряд соответствующих компонентов. Компоненты, показанные на Фиг.8, представляют собой компоненты, которые могут присутствовать в управляющем элементе и картридже, и не предназначены для ограничения объема компонентов, охватываемых настоящим раскрытием. Как показано, например, управляющий элемент может быть образован из корпуса или оболочки 806 управляющего элемента, которая может включать в себя управляющий компонент 808 (например, схему обработки и т.д.), устройство 810 ввода, источник 812 питания и индикатор 814 (например, светодиод, светодиод на основе квантовых точек), и такие компоненты могут быть различным образом выстроены. Здесь конкретный пример подходящего управляющего компонента включает в себя микроконтроллеры PIC16(L)F1713/6 от Microchip Technology Inc, которые описаны в Microchip Technology, Inc, AN2265, Vibrating Mesh Nebulizer Reference Design (2016), который включен в качестве ссылки.

Картридж 704 может быть сформирован из корпуса, иногда называемого оболочкой 816 картриджа, включающего в себя резервуар 818, выполненный с возможностью удерживать композицию предшественника аэрозоля, и включающего в себя сопло 820, имеющее пьезоэлектрическую/пьезомагнитную сетку (компонент образования аэрозоля). Подобно описанному выше, в различных конфигурациях эта конструкция может называться сосудом.

Резервуар 818, показанный на Фиг.8, может быть контейнером или волокнистым резервуаром, как здесь описано. Резервуар может сообщаться с возможностью обмена текучей средой с соплом 820 для переноса композиции предшественника аэрозоля, хранящейся в корпусе резервуара, к соплу. В оболочке 816 картриджа может быть отверстие 822 (например, на конце) для выхода образовавшегося аэрозоля из картриджа 704.

В некоторых примерах элемент переноса может быть расположен между резервуаром 818 и соплом 820 и выполнен с возможностью регулирования количества композиции предшественника аэрозоля, проходящей или подаваемой из резервуара в сопло. В некоторых примерах микрожидкостная микросхема может быть встроена в картридж 704, и количество и/или масса композиции предшественника аэрозоля, доставляемой из резервуара, может контролироваться одним или более микрожидкостными компонентами. Одним из примеров микрожидкостного компонента является микронасос 824, например, основанный на технологии микроэлектромеханических систем (MEMS). Примеры подходящих микронасосов включают в себя микронасос модели MDP2205 и другие от thinXXS Microtechnology AG, микронасосы модели mp5 и mp6 и другие от Bartels Mikrotechnik GmbH и пьезоэлектрические микронасосы от Takasago Fluidic Systems.

Как также показано, в некоторых примерах, микрофильтр 826 может быть расположен между микронасосом 824 и соплом 820 для фильтрации композиции предшественника аэрозоля, подаваемой в сопло. Как и микронасос, микрофильтр представляет собой микрожидкостный компонент. Примеры подходящих микрофильтров включают в себя проточные микрофильтры, изготовленные с использованием технологии "лаборатория на кристалле" (LOC).

При использовании, когда устройство 810 ввода обнаруживает ввод пользователя для активации устройства для доставки аэрозоля, пьезоэлектрическая/пьезомагнитная сетка активируется для вибрации и, таким образом, втягивания композиции предшественника аэрозоля через сетку. При этом образуются капли композиции предшественника аэрозоля, которые соединяются с воздухом с образованием аэрозоля. Аэрозоль взбивается, отсасывается или иным образом отводится от сетки и выходит из отверстия 822 в мундштуке устройства для доставки аэрозоля.

Устройство 700 для доставки аэрозоля может включать в себя устройство 810 ввода, такое как переключатель, датчик или детектор, для управления подачей электричества на пьезоэлектрическую/пьезомагнитную сетку сопла 820, когда желательно образование аэрозоля (например, при затягивании во время использования). Таким образом, например, обеспечивается характер или способ отключения питания сетки, когда устройство для доставки аэрозоля не задействуется во время использования, и для включения питания для приведения в действие или запуска образования и распределения аэрозоля из насадки во время затягивания. Дополнительные репрезентативные типы механизмов восприятия или обнаружения, их структура и конфигурация, их компоненты и общие способы их работы описаны выше и в патенте США № 5261424 на имя Sprinkel, Jr, патенте США № 5372148 на имя McCafferty и др., и в публикации заявки на патент РСТ № WO 2010/003480 на имя Flick, все из которых включены в настоящий документ посредством ссылки.

Для получения дополнительной информации относительно вышеупомянутых и других реализаций устройства для доставки аэрозоля в случае устройства без нагрева и без горения см. заявку на патент США с серийным номером 15/651548 на имя Sur, поданную 17 июля 2017 года, которая включена в настоящий документ по ссылке.

Как описано выше, устройство для доставки аэрозоля в примерных реализациях может включать в себя различные электронные компоненты в контексте электронной сигареты, устройства нагрева без горения или устройства без нагрева и без горения, или даже в случае устройства, которое включает в себя функциональные возможности одного или более из электронной сигареты, устройства нагрева без горения или устройства без нагрева и без горения. Фиг.9 иллюстрирует принципиальную схему устройства 900 для доставки аэрозоля, которое может быть или включать в себя функциональные возможности любого одного или более устройств 100, 300, 700 для доставки аэрозоля согласно различным примерным реализациям настоящего раскрытия.

Как показано на Фиг.9, устройство 900 для доставки аэрозоля включает в себя управляющий элемент 902 с источником 904 питания и управляющий компонент 906, который может соответствовать или включать в себя функциональные возможности соответствующих компонентов из управляющего элемента 102, 302, 702, источника 212, 524, 812 питания и управляющего компонента 208, 522, 808. Устройство для доставки аэрозоля также включает в себя компонент 916 образования аэрозоля, который может соответствовать или включать в себя функции нагревательного элемента 220, 532 или пьезоэлектрической/пьезомагнитной сетки сопла 820. Управляющий элемент 902 может включать в себя компонент 916 образования аэрозоля или выводы 918, выполненные с возможностью соединения компонента образования аэрозоля с управляющим элементом.

В некоторых реализациях управляющий элемент 902 включает в себя датчик 908, выполненный с возможностью измерения расхода воздуха. Датчик 908 может соответствовать или включать в себя функции датчика 210, 520 потока или устройства 810 ввода. В этих реализациях управляющий компонент 906 включает в себя переключатель 910, подключенный к источнику 904 питания и компоненту 916 образования аэрозоля и между ними. Управляющий компонент также включает в себя схему 912 обработки, связанную с датчиком и переключателем. Переключатель может быть переключателем на основе полевого транзистора на основе оксида металла и полупроводника (MOSFET). Датчик может быть подключен к межинтегральной схеме (I2C), Vcc и/или заземлению схемы обработки.

Датчик 908 может дополнительно включать в себя аудиодетектор 1402 или оптический детектор 1502, как показано и описано относительно Фиг.11-15. Датчик 908 может обнаруживать управляющий сигнал, который используется для аутентификации. После аутентификации переключатель 910 может срабатывать, чтобы обеспечивать возможность работы устройства. В некоторых реализациях схема 912 обработки выполнена с возможностью обрабатывать управляющий сигнал и определять, соответствует ли он корректному сигналу, сохраненному в микросхеме памяти. В других вариантах осуществления схема 912 обработки может быть выполнена с возможностью аутентифицировать и/или верифицировать возраст пользователя и выводить сигнал (как указано стрелкой 922), чтобы инструктировать переключателю 910 переключаемым образом соединять и отсоединять выходное напряжение от источника 904 питания с компонентом 916 образования аэрозоля, чтобы питать компонент образования аэрозоля в течение периода времени формирования аэрозоля или на основе использования (например, вставки картриджа, заряда устройства и т.д.). В некоторых реализациях схема 912 обработки выполнена с возможностью вывода сигнала широтно-импульсной модуляции (PWM). Рабочий цикл сигнала PWM можно регулировать, чтобы переключатель переключаемым образом соединял и отсоединял выходное напряжение к компоненту образования аэрозоля. Схема 912 обработки может включать в себя схему 1202 детектора сигнала, описанную относительно Фиг.12.

В некоторых реализациях управляющий компонент 906 дополнительно включает в себя схему 914 преобразования сигнала, связанную с датчиком 908 и схемой 912 обработки. Схема преобразования сигнала таких реализаций может быть выполнена с возможностью управления работой переключателя 910. Схема преобразования сигнала будет описана более подробно ниже со ссылкой на Фиг.10.

Хотя это не показано, схема 912 обработки и/или схема 914 преобразования сигнала могут быть связаны с зарядным аксессуаром или принимать управляющий сигнал, который используется для аутентификации или верификации. Управляющий сигнал может быть принят датчиком 908. Если управляющий сигнал принят и является правильным, тогда схема 912 обработки может включить переключатель 910, чтобы разрешить работу устройства доставки аэрозоля. В качестве альтернативы или в дополнение, если сигнал верификации не получен или неверен, тогда схема 912 обработки может отключить переключатель 910, чтобы предотвратить срабатывание устройства 900 доставки аэрозоля. Переключатель 910 может управляться посредством схемы 912 обработки, в т.ч. на основе обнаружения управляющего сигнала посредством датчика 908. Управляющий сигнал в датчике 908 может быть анализирован посредством схемы 912 обработки. Процесс верификации и аутентификации возраста может использоваться, чтобы определять, когда установлено соединение. Если пользователь не верифицирован или не аутентифицирован, переключатель может быть отключен, чтобы предотвратить подачу напряжения на компонент образования аэрозоля. В качестве альтернативы, если переключатель находится в отключенном состоянии, то, если пользователь не верифицирован или не аутентифицирован, переключатель останется в отключенном состоянии. Аналогичным образом, когда пользователь верифицирован или аутентифицирован, переключатель может установить соединение, чтобы ток мог протекать для использования устройства. Другими словами, когда пользователь верифицирован или аутентифицирован, разрешается подавать выходное напряжение на компонент образования аэрозоля.

Фиг.10 иллюстрирует принципиальную схему схемы 1000 преобразования сигнала, которая может соответствовать схеме 914 преобразования сигнала, согласно примерной реализации настоящего раскрытия. Как показано, в некоторых реализациях схема 1000 преобразования сигнала включает в себя микросхему 1001 преобразования сигнала и двунаправленный преобразователь 1002 уровня напряжения. Одним из примеров подходящей микросхемы формирования сигнала является модель ZAP 3456 от корпорации Zap-Tech. И одним из примеров подходящего двунаправленного преобразователя уровня напряжения является двунаправленный преобразователь уровня напряжения модели NVT 2003 от NXP Semiconductors.

В одном примере, как показано на Фиг.10, микросхема 1001 преобразования сигнала может быть подключена к двунаправленному преобразователю 1002 уровня напряжения, а двунаправленный преобразователь уровня напряжения может быть подключен к входу 5 В и заземлению схемы 912 обработки. Отметим, что значения (например, напряжение, сопротивления и емкость), показанные на Фиг.10, предназначены только для иллюстрации примера, и, если не указано иное, значения не следует рассматривать как ограничивающие в настоящем раскрытии.

Фиг.11 иллюстрирует схему примерной системы для функционального управления устройством. Фиг.11 иллюстрирует то, как устройство 1106 обменивается данными с системой 1102 верификации возраста через сеть 1103 и хост-устройство 1104, для того, чтобы верифицировать возраст пользователя, который может также быть использован, чтобы аутентифицировать устройство 1106 периодически. Система 1102 верификации возраста связывается с хост-устройством 1104 по сети 1103. Хотя не показано, система 1102 верификации возраста может быть соединена с устройством 1106 по сети 1103.

Устройство 1106 может быть устройством доставки аэрозоля, включающим в себя, например, устройство электронных систем доставки никотина ("ENDS") согласно различным вариантам осуществления, описанным выше. В одном варианте осуществления устройство 1106 может включать в себя аксессуар для зарядки, такой как аксессуар, описанный в заявке на патент США 16/415,460, озаглавленный "AUTHENTICATION AND AGE VERIFICATION FOR AN AEROSOL DELIVERY DEVICE" (номер документа 16004-54), который заявляет о приоритете Предварительной заявки США № 62/282 222 от 2 апреля 2019 г., полное раскрытие каждой из которых включено в настоящее описание посредством ссылки. Другие примерные зарядные устройства или зарядные аксессуары, которые могут использоваться в сочетании с различными вариантами осуществления, дополнительно описаны в публикации патента США № 2019/0089180 на имя Rajesh Sur; публикации патента США № 2015/0224268 на имя Henry и др.; патенте США № 10206431 на имя Sur и др.; каждый из которых включен сюда в качестве ссылки.

Как описано, система 1102 верификации возраста может не только верифицировать возраст (например, для продукта с ограничением по возрасту), но может также обеспечивать аутентификацию или идентификацию пользователя (например, для фактической покупки или для предотвращения кражи). Аутентификация и верификация возраста посредством системы 1102 верификации возраста дополнительно описывается в патентной заявке США № 16/415,460, озаглавленной "AUTHENTICATION AND AGE VERIFICATION FOR AN AEROSOL DELIVERY DEVICE", которая испрашивает преимущество по отношению к предварительной заявке США № 62/282,222 от 2 апреля 2019 года, полные раскрытия каждой из которых при этом содержатся по ссылке. Аутентификация, описанная ниже, может полагаться на верификацию возраста, выполняемую сначала, и на которую затем выполняется ссылка для последующей аутентификации с помощью управляющего сигнала 1105, отправленного устройству 1106. Однако могут быть и другие механизмы верификации, помимо возраста. Например, в некоторых вариантах осуществления идентификация пользователя может выполняться вместо верификации возраста. Картриджи или расходные материалы могут быть зарегистрированы как часть процесса верификации возраста или аутентификации, как описано в патентной заявке США № 16/415,444, озаглавленной "AGE VERIFICATION WITH REGISTERED CARTRIDGES FOR AN AEROSOL DELIVERY DEVICE", зарегистрированной 17 мая 2019 года, полное раскрытие которой включено в данный документ по ссылке. Патент США № 8689804, выданный Fernando et al., раскрывает системы идентификации для курительных устройств, описание которых включено в настоящий документ посредством ссылки.

Система 1102 верификации возраста может включать в себя базу данных, которая отслеживает пользователей вместе с возрастами, также как хранит запись об устройствах и компонентах (например, картриджах) вместе с разрешением. Она может быть зашифрована и/или использовать анонимные идентификаторы (например, числа, буквы или любые буквенно-цифровые идентификаторы) для каждого пользователя.

Первоначальная верификация возраста может происходить и храниться в базе данных, например, может поддерживаться в системе 1102 верификации возраста и/или иным образом быть доступной по сети 1103. В некоторых вариантах осуществления записи верификации возраста могут поддерживаться с использованием технологии цепочки блоков. Будущие запросы на верификацию возраста от этого пользователя могут быть подтверждены вызовом базы данных. В частности, как только возраст пользователя первоначально верифицирован, как подтверждено в базе данных системы верификации возраста, будущие верификации (т.е. "аутентификации") могут быть просто обращениями к этой базе данных для разблокировки устройства 1106. Другими словами, пользователь сначала выполняет верификацию возраста, а затем для последующего использования может потребоваться аутентификация без выполнения требований полной первоначальной верификации возраста. Частота, с которой устройство 1106 должно быть разблокировано или аутентифицировано, может варьироваться. Аналогичным образом, время, когда пользователю необходимо повторно подтвердить свой возраст, может варьироваться. Например, при каждой замене картриджа пользователю может потребоваться повторная верификация или повторная аутентификация. В некоторых вариантах осуществления повторная аутентификация может потребоваться после определенного количества затяжек от устройства 1106 или может быть основана на времени (например, один раз в час, день, неделю, месяц и т.д.). Онлайн-база данных может отслеживать запросы на аутентификацию и устанавливать ограничения для каждого пользователя. Это может предотвратить возможное мошенничество при разблокировке одним пользователем устройств других несовершеннолетних. Это также предотвратит повторное распространение разблокированных (т.е. верифицированных и аутентифицированных) устройств и/или аксессуаров. Разумные ограничения на количество устройств, зарядных устройств, расходных материалов и/или аутентификаций могут предотвратить это потенциальное мошенничество.

Профиль пользователя может быть сохранен (например, на устройстве 1106 или из приложения или программы на хост-устройстве 1104), который включает в себя верификацию возраста, как описано относительно Фиг.20. Приложение на хост-устройстве 1104 может осуществлять доступ к профилю пользователя по сети, такой как сеть 1103. После того как пользователь первоначально верифицировал возраст, который подтвержден в базе данных системы верификации возраста, профиль пользователя для этого пользователя может быть сформирован и сохранен, так что будущие верификации (т.е., "аутентификации") могут быть просто вызовами в эту базу данных. В одном варианте осуществления верификация возраста может быть необходимым условием для того, чтобы хост-устройство 1104 имело возможность формировать и обеспечивать управляющий сигнал 1105 устройству 1106.

Устройство 1104 хоста может быть любым вычислительным устройством, например смартфоном, планшетом или компьютером. Хост-устройство 1104 может связываться с или обеспечивать управляющий сигнал 1105 устройству 1106 для аутентификации. Как обсуждалось относительно Фиг.13-15, управляющий сигнал 1105 от хост-устройства 1104 к устройству 1106 может быть аудиосигналом или световым/оптическим сигналом. В некоторых вариантах осуществления главное устройство 1104 может напрямую подключаться к устройству 1106, например, для обеспечения питания или связи. Главное устройство 1104 может быть уже сконфигурировано для связи по сети, такой как сеть 1103, поэтому устройству 1106 может не потребоваться такой же уровень функциональных возможностей связи, поскольку главное устройство 1104 обеспечивает эту возможность. В одном варианте осуществления хост-устройство 1104, после обмена данными с системой 1102 верификации, может обеспечивать управляющий сигнал 1105, чтобы аутентифицировать и разблокировать устройство 1106.

Аутентификация может быть процессом верификации личности пользователя после того, как этот пользователь уже подтвердил свой возраст. Если пользователь не верифицирует свой возраст, процесс аутентификации завершится ошибкой. Как описано, процесс аутентификации может включать в себя прием устройством 1106 и аутентификацию управляющего сигнала 1105 для того, чтобы разблокировать устройство 1106. Процесс верификации возраста может происходить менее часто (например, при покупке устройства) по сравнению с процессом аутентификации, который может происходить на основе использования, например, на основе частоты затяжек, продолжительности затяжки, времени использования и/или каждый раз, когда картридж заменяется. В альтернативных примерах может быть более частый процесс аутентификации, который требуется. Сбой процесса аутентификации может привести к тому, что устройство 1106 не будет работать. Например, если управляющий сигнал 1105 не одобряется для использования с устройством 1106, тогда устройству 1106 может быть запрещено принимать электричество, необходимое для нагрева.

Система 1102 верификации возраста передает указание относительно того, имеет ли пользователь соответствующий возраст для использования конкретного изделия, такого как устройство доставки аэрозоля или устройство электронных систем доставки никотина ("ENDS"), включающее в себя устройство доставки аэрозоля, которые оба являются примерами устройства 1106. По меньшей мере, некоторые компоненты или отличительные признаки системы 1102 верификации возраста могут быть частью устройства 1106 или хост-устройства 1104. Например, обработка и определения от системы 1102 верификации возраста могут выполняться локально после осуществления доступа к удаленной базе данных. В альтернативном варианте осуществления система 1102 верификации возраста может быть расположена удаленно и быть доступной по сети, такой как сеть 1103.

Настоящее раскрытие предполагает машиночитаемый носитель, который включает в себя инструкции или принимает и выполняет инструкции в ответ на распространяемый сигнал, так что устройство, подключенное к сети, может передавать голос, видео, аудио, изображения или любые другие данные по сети. Устройство 1106, главное устройство 1104 или система 1102 верификации возраста могут передавать инструкции по сети через один или более портов связи. Порт связи может быть создан программно или может быть физическим соединением на оборудовании. Соединение с сетью может быть физическим соединением, таким как проводное соединение Ethernet, или может быть установлено по беспроводной связи, как описано ниже. Точно так же соединения с другими компонентами могут быть физическими соединениями или могут быть установлены беспроводным образом. Устройство 1106 или главное устройство 1104 может обмениваться данными через сеть, включающую в себя, помимо прочего, сеть 1103. Например, схема 1202 детектора сигнала (обсуждаемая относительно Фиг.12) может включать в себя функциональность сети для того, чтобы связываться с хост-устройством 1104 или системой 1102 верификации возраста. Эти компоненты могут включать в себя порты связи, выполненные с возможностью подключения к сети, такой как сеть 1103.

Сеть (например, сеть 1103) может соединять устройства, чтобы можно было обмениваться данными, например, между устройством 1106, главное устройством 1104 и/или системой 1102 верификации возраста, в том числе между другими беспроводными устройствами, подключенными через беспроводную сеть, например. Как описано, группа машин, хранящих данных, которые должны быть проанализированы, может быть соединена по одной или более сетям, таким как сеть 1103. Сеть может также включать в себя массовое запоминающее устройство, такое как сетевое устройство хранения данных (NAS), сеть хранения данных (SAN) или другие формы компьютерных или машиночитаемых носителей, например. Сеть может включать в себя Интернет, одну или более локальных сетей (LAN), одну или более глобальных сетей (WAN), соединения проводного типа, соединения беспроводного типа или любую их комбинацию. Точно так же подсети, например, которые могут использовать разные архитектуры или могут быть согласуемыми или совместимыми с разными протоколами, могут взаимодействовать в более крупной сети. Например, могут быть доступны различные типы устройств для обеспечения возможности взаимодействия для различных архитектур или протоколов. В качестве одного наглядного примера маршрутизатор может обеспечивать связь между отдельными и независимыми локальными сетями. Линия связи или канал может включать в себя, например, аналоговые телефонные линии, такие как витая пара, коаксиальный кабель, полные или частичные цифровые линии, включающие в себя линии типа T1, T2, T3 или T4, цифровые сети с интеграцией услуг (ISDN), цифровые абонентские линии (DSL), беспроводные линии связи, включающие в себя спутниковые линии связи, или другие линии связи или каналы, такие, которые могут быть известны специалистам в области техники. Кроме того, вычислительное устройство или другие связанные электронные устройства могут быть удаленно соединены с сетью, как, например, через телефонную линию или линию связи, например.

Беспроводная сеть может соединять устройства, такие как устройство 1106, устройство 1104 хоста и систему 1102 верификации возраста. Сеть 1103 может включать в себя беспроводную сеть и может использовать автономные специализированные сети, ячеистые сети, сети беспроводной LAN (WLAN), глобальную беспроводную сеть (WWAN), беспроводную городскую сеть (WMAN), сотовые сети или т.п. Беспроводная сеть может дополнительно включать в себя систему терминалов, шлюзов, маршрутизаторов и т.п., соединенных беспроводными радиоканалами и т.п., которые могут перемещаться свободно, случайным образом или произвольно организовываться, так что топология сети может меняться, иногда даже быстро. Беспроводная сеть может дополнительно использовать множество технологий доступа к сети, включающие в себя Long Term Evolution (LTE), WLAN, ячеистую сеть беспроводного маршрутизатора (WR) или сотовые технологии 2-го, 3-го или 4-го поколения (2G, 3G, 4G, 5G или будущие итерации) и т.п. Сеть может обеспечивать радиочастотную или беспроводную связь с помощью одной или более технологий доступа к сети, таких как глобальная система мобильной связи (GSM), универсальная система мобильной связи (UMTS), общие услуги пакетной радиосвязи (GPRS), среда GSM с расширенными данными (EDGE), 3GPP Long Term Evolution (LTE), LTE Advanced, широкополосный множественный доступ с кодовым разделением каналов (WCDMA), Bluetooth, 802.11b/g/n, Zigbee, Z Wave, IEEE 802.16 (например, WiMax) и/или другие WWAN/WMAN технологии и т.п., включающие в себя будущие итерации любой из вышеупомянутых технологий. Беспроводная сеть может включать в себя практически любой тип механизма беспроводной связи, с помощью которого сигналы могут передаваться между устройствами. В некоторых вариантах осуществления протоколы связи, перечисленные выше, могут использоваться для связи между устройством 1106 и устройством 1104 хоста, а затем устройство 1104 хоста связывается с системой 1102 верификации возраста через одни и те же или разные протоколы связи.

Пакеты сигналов, передаваемые через сеть, такую как сеть 1103 или сеть участвующих сетей цифровой связи, могут быть совместимы с одним или более протоколами или соответствовать им. Используемые форматы или протоколы сигнализации могут включать в себя, например, TCP/IP, UDP, DECnet, NetBEUI, IPX, Appletalk и т.п. Версии Интернет-протокола (IP) могут включать в себя IPv4 или IPv6. Интернет относится к децентрализованной глобальной сети сетей. Интернет включает в себя локальные сети (LAN), глобальные сети (WAN), беспроводные сети или общедоступные сети большой протяженности, которые, например, позволяют передавать пакеты сигналов между LAN. Пакеты сигналов могут передаваться между узлами сети, например, с одним или более сайтами, использующими адрес локальной сети. Пакет сигналов может, например, передаваться через Интернет с сайта пользователя через узел доступа, подключенный к Интернету. Аналогичным образом, пакет сигнала может быть направлен через сетевые узлы на целевой сайт, связанный с сетью, например, через узел доступа к сети. Пакет сигналов, передаваемый через Интернет, может, например, маршрутизироваться через путь шлюзов, серверов и т.д., которые могут направлять пакет сигнала в соответствии с целевым адресом и доступностью сетевого пути к целевому адресу. Эта передача пакета сигналов может быть применима к передаче данных между устройством 1106, хост-устройством 1104 и/или системой 1102 верификации возраста.

Устройство 1106 включает в себя детектор 1107 сигнала, который обнаруживает сигнал. Как показано, управляющий сигнал 1105 передается от хост-устройства 1104 детектору 1107 сигнала, но управляющий сигнал 1105 может приходить от источника, отличного от хост-устройства 1104, в т.ч. передаваться непосредственно по сети 1103 устройству 1106. Детектор 1107 сигнала может быть одним примером датчика 908, показанного на Фиг.9. Примерные детекторы 1107 сигнала описываются относительно Фиг.14-15.

Фиг.12 иллюстрирует вариант осуществления схемы 1202 детектора сигнала, которая может быть расположена на или соединена с детектором 1107 сигнала. Схема 1202 детектора сигнала может быть использована устройством 1106 для подтверждения того, что любой принятый управляющий сигнал 1105 является корректным для аутентификации. Схема 1202 детектора сигнала, в дополнение к приему и анализу управляющего сигнала 1105, может также работать, чтобы выполнять аутентификацию, или может также быть использована для первоначальной верификации возраста. Схема 1202 детектора сигнала может также называться схемой аутентификации и может включать в себя процессор 1204, память 1206, преобразователь 1207 и переключатель 1208.

Процессор 1204 в схеме 1202 детектора сигнала может быть одной или более микросхемами и может включать в себя центральный процессор (CPU), графический процессор (GPU), цифровой сигнальный процессор (DSP) или другой тип устройства обработки. Процессор 1204 может быть одним или более процессорами общего назначения, процессорами цифровых сигналов, специализированными интегральными схемами, программируемыми вентильными матрицами, серверами, сетями, цифровыми схемами, аналоговыми схемами, их комбинациями или другими известными в настоящее время или разработанными позже устройствами для анализа и обработки данных. Процессор 1204 может работать вместе с программой, такой как код, сгенерированный вручную (т.е. запрограммированный).

Процессор 1204 может быть связан с памятью 1206, или память 1206 может быть отдельным компонентом. Память 1206 может включать в себя, помимо прочего, машиночитаемые носители данных, такие как различные типы энергозависимых и энергонезависимых носителей данных, включающие в себя оперативную память, постоянную память, программируемую постоянную память, электрически программируемую постоянную память, электрически стираемую постоянную память, флэш-память, магнитную ленту или диск, оптические носители и тому подобное. Память 1206 может включать в себя оперативную память для процессора 1204. В качестве альтернативы, память 1206 может быть отдельной от процессора 1204, такой как кэш-память процессора, системная память или другая память. Память 1206 может быть внешним запоминающим устройством или базой данных для хранения записанных приложений или пользовательских данных. Примеры включают в себя жесткий диск, компакт-диск ("CD"), цифровой видеодиск ("DVD"), карту памяти, карту memory stick, дискету, запоминающее устройство с универсальной последовательной шиной ("USB") или любое другое устройство, предназначенное для хранения приложений или пользовательских данных, включающих в себя данные аутентификации или обнаружения сигнала. Память 1206 предназначена для хранения инструкций, выполняемых процессором 1204.

Функции, действия или задачи, иллюстрированные на чертежах или описываемые в данном документе, могут выполняться посредством запрограммированного процессора, исполняющего инструкции, сохраненные в памяти 1206. В частности, операция, обнаруживающая управляющий сигнал 1105 и определяющая то, может ли управляющий сигнал 1105 аутентифицировать устройство 1106, может выполняться процессором 1204 на основе инструкций из памяти 1206. В других вариантах осуществления аутентификация и/или верификация возраста, например, из системы 1102, может выполняться процессором 1204 на основе инструкций из памяти 1206. Функции, действия или задачи не зависят от конкретного типа набора инструкций, носителей хранения, процессора или стратегии обработки и могут быть выполнены посредством программного обеспечения, аппаратных средств, интегральных схем, микропрограммного обеспечения, микрокода и т.п., работающего отдельно или в сочетании. Аналогичным образом, стратегии обработки могут включать в себя многопроцессорность, многозадачность, параллельную обработку и т.п.

Процессор 1204 может быть выполнен с возможностью исполнять программное обеспечение, включающее в себя инструкции для приема/анализа управляющего сигнала 1105, аутентификации устройства 1106 и/или верификации возраста пользователя или для последующих операций аутентификации для системы 1102 верификации возраста. В частности, если процессор 1204 не может аутентифицировать управляющий сигнал 1105, тогда переключатель 1208 может быть активирован, чтобы препятствовать подаче питания, что останавливает или предотвращает работу устройства 1106. В частности, устройство 1106 может включать в себя аккумулятор для питания устройства, которое активируется, только когда устройство 1106 принимает аутентифицированный управляющий сигнал 1105. Другими словами, подача электроэнергии позволяется, если аутентификация из верификации возраста проходит. В качестве альтернативы, подача электроэнергии может быть остановлена, если аутентификация или верификация возраста не удается. В частности, электричество не подается устройству 1106, когда переключатель 1208 выключен. Переключатель 1208 может быть переключателем 910, описанным относительно Фиг.9. Хотя переключатель 1208 иллюстрируется как часть схемы 1202 детектора сигнала, он может быть отдельным компонентом на устройстве 1106 в альтернативных вариантах осуществления.

Схема 1202 детектора сигнала может включать в себя преобразователь 1207 для преобразования управляющего сигнала 1105. Преобразование управляющего сигнала 1105 может быть частью процесса аутентификации, посредством которого управляющий сигнал 1105 аутентифицируется. Преобразователь 1207 может быть различным в зависимости от типа управляющего сигнала 1105, как дополнительно описано ниже относительно Фиг.13-15.

Фиг.13 иллюстрирует варианты осуществления управляющего сигнала 1105. Управляющий сигнал 1105 предусмотрен для аутентификации устройства 1106. Управляющий сигнал 1105 может соответствовать серийному номеру устройства 1106 или компонента (например, картриджа) устройства. Для того, чтобы быть аутентифицированным, управляющий сигнал 1105 должен соответствовать серийному номеру. В альтернативных вариантах осуществления, вместо серийных номеров, может быть другой код идентификации или аутентификации для устройства 1106. Код может быть уникальным для каждого устройства 1106, для каждого пользователя, или для каждого типа устройства, в альтернативных вариантах осуществления. Система 1102 верификации возраста может включать в себя базу данных для хранения кодов или управляющих сигналов 1105, которые должны быть предоставлены для аутентификации. База данных может ассоциировать пользователя, профиль и/или устройство с конкретным кодом, который может разблокировать устройство 1106. В одном варианте осуществления база данных может быть децентрализованным сетевым хранилищем, использующим технологию цепочки блоков, как описано в патентной заявке США № 16/415,477, озаглавленной "DECENTRALIZED IDENTITY STORAGE FOR TOBACCO PRODUCTS", зарегистрированной 17 мая 2019 года, которая запрашивает приоритет по отношению к предварительной патентной заявке США № 62/838,272, зарегистрированной 24 апреля 2019 года, озаглавленной "DECENTRALIZED IDENTITY STORAGE FOR TOBACCO PRODUCTS", полные раскрытия каждой из которых содержатся по ссылке.

Управляющий сигнал 1105 может быть зашифрован, чтобы уменьшать вероятность взлома неверифицированным пользователем. В одном варианте осуществления серийному номеру устройства 1106 или другому идентификатору может быть случайным образом назначен хешированный код во время производства, который хранится в микросхеме памяти устройства 1106 (например, памяти 1206). Значения могут быть сохранены в базе данных, которая обновляется, и к которой осуществляется доступ для аутентификации. В варианте осуществления на Фиг.19 оператор службы поддержки может осуществлять доступ к этой базе данных. В этом варианте осуществления, когда оператор принимает вызов от устройства 1106 покупателя, чтобы разблокировать его устройство, оператор отыскивает серийный номер и передает назначенный хешированный код. В альтернативном варианте осуществления хост-устройство 1104 может осуществлять доступ к базе данных для отдельной записи, после того как пользователь был идентифицирован и/или верифицирован по возрасту. В другом примере шифрования серийные номера или идентификаторы могут использовать некоторый оператор кода, который преобразует все числа одинаковым способом. Например, заданная величина может быть добавлена к или вычтена из всех целых чисел серийного номера и буквенных символов серийного номера. В этом примере, когда заданной величиной является +5, идентификатор S189A4R зашифрованным становится X634F9W. Для дополнительной безопасности и сложности код может изменяться на основе даты/времени производства устройства 1106.

Устройство 1106 может быть продано в заблокированном положении, которое не позволяет устройству использоваться до аутентификации, которая может также включать в себя регистрацию с верификацией возраста. В одном варианте осуществления, киоски, которые размещаются в точке продажи для розничной торговли, могут делать более легким для потребителей регистрацию и верификацию по возрасту своего устройства во время покупки. После того как потребитель верифицировал возраст, периодическая аутентификация устройства используется для подтверждения потребителя. В других вариантах осуществления розничные продавцы могут также использоваться в процессе регистрации и верификации возраста, например, посредством сканирования идентификационной документации и инструктирования покупателя устройства предоставлять визуальные или звуковые входные данные, которые используются для аутентификации.

Устройство 1106 может включать в себя генератор псевдослучайных чисел, который синхронизируется с сетевой версией, такой как от системы 1102 верификации возраста или ассоциированная с оператором службы поддержки. Этот генератор чисел может быть скользящим и меняется после предварительно определенного интервала времени. Управляющий сигнал 1105 не нужно будет связывать с серийным номером устройства. Другие примерные формы шифрования могут включать в себя улучшенный стандарт шифрования (AES), стандарт тройного шифрования данных (3DES), методы Twofish или RSA, которые могут быть использованы для шифрования управляющего сигнала 1105, чтобы препятствовать неверифицированным пользователям в разблокировке устройства. Эти способы могут шифровать управляющий сигнал 105 перед его отправкой устройству 1106. Устройство 1106 может затем дешифровать сигнал с помощью назначенного ключа, который хранится в памяти 1206 устройства 1106.

Управляющий сигнал 1105 может быть одинаковым для каждого изготовленного устройства или может быть уникальным для пользователя, профиля или конкретного устройства. Во время процесса изготовления устройства программное обеспечение устройства может быть закодировано с помощью конкретной последовательности разблокировки (т.е., управляющего сигнала 1105, включающего в себя аудиосигнал 1302 и/или оптический сигнал 1304), который соответствует его серийному номеру или другому идентификатору. В одном примере управляющий сигнал 1105 может быть разблокирующей тональной последовательностью, которая является серийным номером устройства, транскрибированной в соответствии со схемой кодирования символов, такой как код Морзе или код для перестукивания.

Управляющий сигнал 1105 от хост-устройства 1104 к устройству 1106 может быть аудиосигналом 1302. Аудиосигнал 1302 может включать в себя тональную последовательность. Аудиосигнал 1302 или тональная последовательность может быть последовательностью импульсов, таких как длинный и короткий, которые аналогичны коду Морзе. В альтернативных вариантах осуществления различные типы последовательностей могут быть использованы, которые имеют увеличения и/или уменьшения по амплитуде и/или частоте. Серийный номер или идентификатор может быть преобразован в аутентификационный тон в системе 1102 верификации возраста или посредством программного обеспечения, используемого оператором (например, оператором службы поддержки). Это преобразование может происходить посредством программного обеспечения. Один пример такого программного обеспечения может включать в себя преобразование в код Морзе, такое как свободно распространяемое онлайн программное обеспечение по адресу https://morsecode.scphillips.com/translator.html. Преобразование серийного номера или идентификатора является преобразованием в последовательность точек и тире для примера кода Морзе. Соответственно, идентификатор S189A4R становится ... .---- ---.. ----. .- ....- .-. Этот сигнал кода Морзе может быть звуковым образом воспроизведен для устройства 1106, которое обнаруживает код с помощью детектора 1107 сигнала и преобразует код с помощью преобразователя 1207. Управляющий сигнал 1105 может ссылаться на преобразованный сигнал, который затем преобразуется обратно в идентификатор посредством устройства 1106.

Управляющий сигнал 1105 от хост-устройства 1104 к устройству 1106 может быть световым/оптическим/сканированным сигналом 1304, который может называться оптическим сигналом. Оптический сигнал 1304 может быть последовательностью световых импульсов или световой последовательностью. Связь с помощью оптического сигнала или источника света дополнительно описывается в заявке Великобритании № 1906243.9, озаглавленной "ELECTRONIC VAPOUR PROVISION SYSTEM WITH OPTICAL WIRELESS COMMUNICATIONS", зарегистрированной 5 марта 2019 года в Великобритании, которая при этом содержится по ссылке.

Фиг.14 иллюстрирует варианты осуществления аудиодетектора 1402. Аудиодетектор 1402 является одним вариантом осуществления детектора 1107 сигнала. Аудиодетектор 1402 может включать в себя датчик 1407 давления и/или микрофон 1408. В некоторых вариантах осуществления, в которых устройство является активируемым затяжкой устройством доставки аэрозоля, датчик 1407 давления может включать в себя существующий датчик давления в устройстве 1107 (например, датчик 908), который может быть использован для измерения изменений в давлении, например, когда пользователь делает затяжку или делает вдох на устройстве 1107, который активирует устройство 1107 (например, включает нагреватель). Может быть отдельный датчик давления, который измеряет вдох для активации устройства, или может быть всего лишь один датчик давления, который активирует устройство по вдоху и используется для обнаружения аудиосигнала 1302. Другими словами, датчик 1407 давления может быть одним и тем же датчиком, который используется для обнаружения затяжек и активации нагревателя, или вспомогательный датчик давления может быть использован только для аутентификации.

Датчик 1407 давления может быть выставлен на внешнюю поверхность устройства 1107, например, посредством диафрагмы, отверстия или канала для улучшения обнаружения аудиосигнала 1302. В варианте осуществления, когда аудиосигнал 1302 предоставляется работником службы поддержки (например, Фиг.19), работник службы поддержки может инструктировать покупателю устройства удерживать динамик телефона в правильном местоположении, например, у диафрагмы, отверстия или канала, на внешней поверхности устройства 1107, так что датчик 1407 давления находится в оптимальном местоположении, чтобы обнаруживать аудиосигнал 1302 (т.е., тон аутентификации). В других вариантах осуществления, когда аудиосигнал 1302 предоставляется приложением или программным обеспечением на хосте 1104 (например, вычислительном устройстве, мобильном телефоне, планшете и т.д.), приложение может инструктировать пользователю, как удерживать динамик смартфона в оптимальном местоположении относительно устройства 1107. Это гарантирует, что датчик 1407 давления может обнаруживать аудиосигнал 1302.

Аудиосигнал 1302 может называться тоном аутентификации и может быть низкочастотной волной давления. В одном варианте осуществления волна может быть на нижнем конце функциональности для основного динамика телефона, который используется в большинстве смартфонов или сотовых телефонов. В одном примере частота может быть около 10-20 Гц для того, чтобы датчик 1407 давления обнаружил тон с пониженным соотношением сигнал-шум.

Может быть множество различных вариантов осуществления датчика 1407 давления, который может обнаруживать аудиосигнал 1302. Одним примером является изолированный датчик дифференциального давления, который обеспечивает возможность сравнения изменений в окружающем давлении (вследствие давления или звуковых волн) со стандартным справочным давлением. Изолированный датчик дифференциального давления может обнаруживать звуковые волны, излучаемые из динамика. Альтернативно, датчик 1407 давления может быть неизолированным датчиком дифференциального давления, который включает в себя датчик потока, который сравнивает давление, создаваемое от потока текучей среды, проходящего по двум отверстиям различных диаметров. Неизолированный датчик дифференциального давления может быть необходимо разместить, чтобы лучше обнаруживать звуковые волны.

В другом варианте осуществления устройство 1107 может содержать микрофон 1408. Микрофон 1408 может быть приспособлен воспринимать более широкий диапазон тонов (например, неслышимых в дополнение к слышимым), тонов, которые могут издаваться динамиком сотового телефона, но он будет дополнительным компонентом. В частности, слышимые тона могут иметь частотный диапазон, который является слышимым для людей, в то время как тона могут дополнительно включать в себя более широкий диапазон, включающий в себя неслышимые тона. Микрофон 1408 может использоваться для обнаружения затяжек и активировать нагреватель, или может быть вспомогательный микрофон только для обнаружения аудиосигнала 1302 или тона аутентификации. В этом варианте осуществления частота может быть на верхнем конце функциональности смартфона, сотового телефона, планшета или других обычных динамиков, например, в диапазоне 20-25 кГц. Такая частота будет неслышимой для пользователя или покупателя устройства, в то же время все еще являясь обнаруживаемой посредством микрофона 1408. Микрофон 1408 может обнаруживать тона на основе предела своей функциональности, включающей в себя любые слышимые частоты в диапазоне примерно между 20 Гц и 20 кГц.

Может быть множество различных вариантов осуществления микрофона 1408, который может обнаруживать аудиосигнал 1302. Одним примером является электретный микрофон MEMS, который использует пленочную диафрагму на основе PTFE. Этот пример может иметь подходящий размер с долговечностью. В других примерах могут быть использованы другие электретные микрофоны. Кроме того, существуют другие микрофоны в семействе конденсаторных микрофонов. Другие примеры включают в себя кристалл или пьезомикрофон. Эти примеры могут обнаруживать шум или вибрации посредством твердых объектов и могут быть размещены внутри вплотную к внешней оболочке устройства, что может устранять необходимость в диафрагме, канале или отверстии, чтобы обеспечивать возможность звуковым волнам перемещаться внутрь устройства 1107.

Фиг.15 иллюстрирует варианты осуществления оптического детектора 1502. Оптический детектор 1502 является одним вариантом осуществления детектора 1107 сигнала. Оптический детектор 1502 может также называться визуальным детектором или детектором света. Оптический детектор 1502 может включать в себя датчик 1507 света, фотодиод 1508, считыватель 1509 и/или инфракрасный детектор 1510. Датчик 1507 света может включать в себя любые светозависимые резистивные элементы. Эти датчики могут изменять сопротивление вследствие наличия или отсутствия света. Это может потребовать протекание тока через резистивный элемент, когда оптический сигнал 1304 (т.е. световая последовательность аутентификации) передается. Фотодиод 1508 может включать в себя датчики, которые создают небольшой ток, когда подвергаются воздействию источника света. Он может действовать в качестве переключателя и может иметь быстрое время реакции.

Оптический детектор 1502 может включать в себя считыватель 1509, такой как камера, считыватель штрих-кода или другой детектор. В одном примере пользователь может захватывать изображение (например, с помощью хоста 1104, включающего в себя мобильное устройство или смартфон) уникального кода (например, штрих-кода), ассоциированного с конкретным устройством. В альтернативных примерах, считыватель 1509 может считывать штрих-код, радиочастотную (RF) идентификацию, связь по стандарту ближней радиосвязи (NFC), считыватель магнитной полосы, считыватель микросхемы (например, аналогичный считывателю кредитных карт), проводную связь или беспроводную связь. Примерные штрих-коды могут включать в себя любой тип сканируемого идентификатора, такой как универсальный код продукта (UPC), код матрицы данных и/или код быстрого ответа (QR). Код может включать в себя любые одномерные (1D) коды, двумерные (2D) коды, трехмерные (3D) коды или другие типы кодов. Примерные способы связи и аутентификации с помощью RFID описаны в патенте США № 10 015 987 на имя Генри и др. и в публикации патента США № 2017/0020191 на имя Лэмба и др., каждый из которых включен в настоящее описание посредством ссылки. Примерная связь и аутентификация с помощью NFC описаны в патенте США № 9864947 на имя Sur и др., который включен в настоящее описание посредством ссылки. Код, такой как штрих-код, может быть напечатан на упаковке изделия, на этикетке, на самом изделии, или на вставке в упаковке изделия. В одном варианте осуществления может быть уникальный штрих-код для каждого отдельного устройства. Приложение или веб-сайт, связанный со штрих-кодом, может использовать программное обеспечение для преобразования идентификационной информации, извлеченной из уникального штрих-кода в соответствующую световую последовательность аутентификации. Другими словами, сканирование штрих-кода может инициировать испускание оптического сигнала 1304 хостом 1104. Альтернативно, приложение или веб-сайт может отыскивать идентификационную информацию, извлеченную из уникального штрих-кода, в базе данных для определения соответствующего оптического сигнала 1304 для этого конкретного устройства 1106. В другом варианте осуществления устройство 1106 (или упаковка/вставки устройства 1106) может нести RFID-метку, которая может быть считана хостом 1104 (например, мобильным устройством или смартфоном), исполняющим приложение или приспособленным для осуществления доступа к веб-сайту. RFID-метка может нести уникальный идентификатор для устройства 1106, который может приводить в результате к формированию оптического сигнала 1304, который может аутентифицировать или разблокировать это конкретное устройство 1106.

Что касается примеров датчика оптического детектора 1502, диапазон длин волн света может быть приблизительно 400-700 нм. Оптический детектор 1502 может быть настроен принимать меньший диапазон длин волн, или какие-либо/все (т.е., белый свет). Как противоположность последовательности импульсов, оптический сигнал 1304 может включать в себя шаблон длин волн. В одном примере оптический сигнал 1304 может подниматься от 400 нм до 500 нм за 3 секунды, оставаться черным в течение 5 секунд, затем подниматься от 400 нм до 700 нм за 1 секунду. Это варьирование длины волны и времени может быть использовано для формирования уникальных оптических сигналов 1304. Другие шаблоны и разновидности длин волн могут быть использованы.

Когда хост 1104 является мобильным устройством или смартфоном, оптический сигнал 1304 может быть сформирован дисплеем (например, компоновка света/цвета на экране или импульсы от дисплея) или фотовспышкой (например, обращенной назад фотовспышкой на мобильном устройстве или другом вычислительном устройстве). Пример дисплея может включать в себя дисплей, являющийся, главным образом, черным, но включающий в себя фрагмент, который помещен рядом с оптическим детектором 1502 устройства 1106 для обнаружения каких-либо цветов/импульсов/шаблонов, которые показаны на экране дисплея. В примере хоста 1104, включающего в себя приложение фотовспышки, приложение может быть запрограммировано, чтобы инструктировать фотовспышке передавать свет согласно конкретному шаблону или последовательности, которая предоставляет оптический сигнал 1304. Интенсивность света может быть большей для фотовспышки, которая может снижать шанс потери сигнала во время передачи. Перед передачей оптического сигнала 1304 приложение может подсказывать пользователю позиционировать свое устройство в правильном местоположении, так что оптический детектор 1502 выравнивается с фотовспышкой на хосте 1104 или мобильном устройстве. Оптический детектор 1502 может включать в себя считыватель 1510 для сканирования QR или другого штрих-кода, который отображается в приложении или на веб-сайте, который соответствует верификации возраста с помощью системы 1102 верификации возраста. Считыватель 1510 таких вариантов осуществления сканирует этот QR-код, который обеспечивает возможность разблокирования устройства.

Датчик света на устройстве может быть инфракрасным (IR) датчиком 1510 в одном варианте осуществления. Хост 1104 может быть мобильным телефоном или другим устройством с включенной функцией IR, которое передает оптический сигнал 1304 посредством IR. В некоторых вариантах осуществления может быть сочетание видимого светового спектра и IR, которое может полагаться на различные оптические детекторы 1502 (например, световой датчик 1507 и IR 1510), или единственный датчик может измерять то и другое. Наличие сочетания оптических типов может предусматривать больший набор кодовых комбинаций для оптического сигнала 1304. Пользователь может иметь возможность видеть видимый световой спектр, в то время как IR может не быть обнаруживаемым, что может также улучшать безопасность, предотвращая воссоздание оптического сигнала. Что касается IR или невидимого сигнала, пользователь может быть снабжен указанием (например, импульсом видимого спектра) или подтверждением того, что оптический сигнал 1304 передается для управления/разблокировки устройства.

Фиг.16 иллюстрирует схему примерной системы для функционального управления устройством с помощью аудиосигнала. Аналогично Фиг.11, Фиг.16 иллюстрирует систему для обнаружения звука. Хост 1104 может осуществлять доступ к системе 1102 верификации возраста по сети 1103. После верификации хост 1104 может быть использован для аутентификации устройства 1106. В частности, хост 1104 может предоставлять аудиосигнал 1302 устройству 1106 для обнаружения аудиодетектором, таким как датчик 1407 давления и/или микрофон 1408. Аудиосигнал 1302 является управляющим сигналом или сигналом аутентификации для разблокировки устройства 1106. В других вариантах осуществления аудиосигнал 1302 может быть предоставлен посредством вызова службы поддержки вместо пользовательского смартфона или мобильного устройства. В таком варианте осуществления хост 1104 может рассматриваться как служба поддержки, к которой осуществляется доступ посредством аудиосвязи (например, VoIP или телефонного вызова).

Фиг.17 иллюстрирует схему примерной системы для функционального управления устройством с помощью оптического сигнала. Аналогично Фиг.11, Фиг.17 иллюстрирует систему для оптического/визуального обнаружения. Хост 1104 может осуществлять доступ к системе 1102 верификации возраста по сети 1103. После верификации хост 1104 может быть использован для аутентификации устройства 1106. В частности, хост 1104 может предоставлять оптический сигнал 1304 устройству 1106 для обнаружения посредством оптического детектора 1502. Оптический сигнал 1304 является управляющим сигналом или сигналом аутентификации для разблокировки устройства 1106. Примеры оптического детектора 1502 иллюстрируются и описываются относительно Фиг.15.

Фиг.18 является блок-схемой последовательности операций, иллюстрирующей один пример обработки управляющего сигнала. На этапе 1802 пользователь/потребитель покупает устройство, такое как устройство 1106. Покупка может быть осуществлена в режиме онлайн или лично в розничном магазине или киоске. Устройство может работать до тех пор, пока аутентификация не потребуется на этапе 1804. В одном варианте осуществления устройство может быть в заблокированном или нерабочем состоянии до тех пор, пока аутентификация не будет завершена. В другом варианте осуществления устройство 1106 может быть продано разблокированным для ограниченного использования (ограниченное время или ограниченное количество затяжек), после этого времени потребуется аутентификация. Аутентификация может сначала потребовать верификацию возраста как на этапе 1806, которая может быть выполнена посредством системы 1102 верификации возраста. Верификация возраста может происходить лишь однажды или может нуждаться в периодическом обновлении, тогда как аутентификация может требоваться более часто (например, каждый раз, когда картридж или другой элемент источника аэрозоля заменяется). Система 1102 верификации возраста обеспечивает функциональные возможности для верификации возраста пользователя. Верификация возраста может быть для конкретного пользователя, так что верификация применяется для нескольких устройств, используемых этим пользователем, но все же может потребовать аутентификации для каждого отдельного устройства. В некоторых вариантах осуществления для каждого устройства может потребоваться процесс верификации возраста в дополнение к последующим аутентификациям.

В качестве первоначальной верификации возраста система 1102 верификации возраста может потребовать некоторый документ идентификации для установления возраста пользователя. Например, водительские права или паспорт могут быть загружены, чтобы установить возраст пользователя. Изображение из этого документа может быть использовано для верификации будущего возраста посредством распознавания лица с использованием этого изображения. Технология распознавания лиц может анализировать два изображения, чтобы подтвердить соответствие личности, отклонить верификацию личности или пометить верификацию, чтобы запросить дополнительную идентификационную информацию. Эта верификация возраста может включать в себя сравнение этого изображения с живым собственным изображением ("селфи") или видео, которое пользователь снимает на свое мобильное устройство или веб-камеру. Это может предотвратить мошенничество, заключающееся в простом показе чьей-либо фотографии. В частности, это снижает потенциал для использования печатной фотографии, чтобы обмануть программное обеспечение распознавания лица (например, удерживание водительских прав близко к веб-камере). Собственное изображение, которое пользователь загружает, может также быть проверено на предмет живости посредством записи короткого видео, чтобы гарантировать, что кадры изменяются. В альтернативных вариантах осуществления этап верификации может включать в себя звуковой ввод от пользователя, такой как произнесение числа, последовательности или кода для верификации активности. Другие примеры верификации возраста могут включать в себя некоторую форму считывателя отпечатка пальцев для верификации пользователя, после того как этот пользователь был верифицирован по возрасту. В одном варианте осуществления хост 1104 может принимать отпечаток пальца как часть процесса верификации. Могут быть другие биометрические данные, которые используются для верификации пользователя, такие как ДНК, кровь или другие биологические индикаторы.

Устройство 1106 может требовать более частых аутентификаций, чтобы гарантировать, что устройство не верифицировано по возрасту и затем распространено другим пользователям. Аутентификация может включать в себя предоставление управляющего сигнала устройству 1106 как на этапе 1808. Как описано, управляющий сигнал может быть либо аудиосигналом 1302, либо оптическим сигналом 1304. Этот сигнал может происходить от хост-устройства 1104 или из другого источника (например, вызов службы поддержки). Управляющий сигнал принимается в устройстве 1106 на этапе 1810, и, если управляющий сигнал является корректным, тогда устройство аутентифицируется, и устройство может продолжать использоваться до тех пор, пока аутентификация не потребуется снова на этапе 1812. Если управляющий сигнал, принятый в устройстве 1106, не является корректным на этапе 1810, тогда устройство 1106 не аутентифицируется и будет оставаться заблокированным до тех пор, пока корректный управляющий сигнал аутентификации не будет отправлен на этапе 1808.

В некоторых вариантах осуществления аутентификация устройства посредством управляющего сигнала разблокирует устройство для конкретного пользователя, а будущие аутентификации, которые могут потребоваться снова, могут быть выполнены на самом устройстве 1106. Например, биометрический считыватель, считыватель отпечатка пальца или другие биологические индикаторы, описанные выше, могут быть использованы на устройстве для аутентификации. В этом отношении, в некоторых вариантах осуществления, устройство 1106 может быть привязано (например, после первоначальной аутентификации) к конкретной биометрической(им) информации пользователя, используемой для первоначальной аутентификации, чтобы препятствовать второму пользователю в использовании устройства 1106. Когда повторная аутентификация требуется в будущем, пользователь может разблокировать и/или продолжать использование устройства 1106, предоставляя биометрические данные пользователя для повторной аутентификации. В качестве дополнительного примера, пользователь может задавать код, такой как пин-код, который может быть введен через пользовательский интерфейс устройства 1106 (например, через сенсорный экран, кнопку ввода, конкретный шаблон затяжек, который может быть обеспечен посредством выполнения пользователем затяжки на устройстве, и т.д.) и/или через вычислительное устройство, которое может быть соединено с возможностью связи с устройством 1106, когда устройство 1106 первоначально аутентифицируется, и может позже вводить пин-код для повторной аутентификации пользователя, чтобы разблокировать и/или продолжать использование устройства 1106.

Фиг.19 является блок-схемой последовательности операций, иллюстрирующей один пример обработки аудиосигнала. Пример, показанный на Фиг.19, является использованием службы поддержки для верификации и аутентификации устройства 1106. В частности, пользователь может выполнять вызов по линии службы поддержки для верификации и/или аутентификации. На этапе 1902 пользователь вызывает службу поддержки для верификации возраста. Телефонный вызов службы поддержки может быть использован, чтобы подтверждать личность посредством предоставления или подтверждения пользовательской информации. Специалист службы поддержки принимает информацию о покупателе устройства, которая может включать в себя серийный номер устройства, дату покупки, номер водительского удостоверения, последние четыре цифры номера социального страхования или другую персональную информацию, которая может быть использована для верификации личности покупателя. В одном варианте осуществления служба поддержки может быть использована для подтверждения информации, предусмотренной в идентификационном документе, чтобы верифицировать возраст пользователя на этапе 1904. Оператор службы поддержки может затем передавать аудиосигнал 1302 для пользователя для предоставления устройству 1106. В частности, приемник телефона пользователя, который может быть хост-устройством 1104, имеет динамик, через который аудиосигнал 1302 и тон аутентификации передается на этапе 1906.

В некоторых вариантах осуществления телефонный вызов службы поддержки на этапе 1902, верификация службы поддержки на этапе 1904 и тон аутентификации на этапе 1906 могут все быть от различных устройств или от одного и того же устройства. Например, телефонный вызов для верификации на этапах 1902-1904 может быть выполнен с телефона, отличного от источника тона аутентификации. В частности, служба поддержки может отправлять или обеспечивать авторизацию для тона аутентификации, передаваемого с другого устройства или из другого источника по сравнению с телефонным вызовом службы поддержки. В одном примере тон авторизации может быть воспроизведен через приложение на телефоне (вместо его воспроизведения через динамик во время телефонного вызова) на основе верификации/аутентификации службой поддержки пользователя. В другом примере служба поддержки может отправлять однократно используемую ссылку на аудиофайл с тоном аутентификации, например, по электронной почте, через текстовое сообщение или уведомление. Ссылка может быть действительна только в течение ограниченного интервала времени, чтобы предотвращать обман.

Формирование тона может быть из программного обеспечения, которое может быть встроено в мобильное приложение или веб-приложение, которое покупатель устройства использует сам (например, через приложение с профилем на мобильном устройстве как на Фиг.20). Тон аутентификации будет формироваться и издаваться посредством компьютера пользователя, телефона или динамиков мобильного телефона и обнаруживаться аудиодетектором 1402 устройства 1106 как на этапе 1908. Если тон аутентификации является некорректным на этапе 1908, устройство будет оставаться заблокированным или неаутентифицированным и ожидать корректного тона аутентификации с этапа 1906. Если тон аутентификации является корректным, тогда устройство 1106 может использоваться до тех пор, пока аутентификация не потребуется вновь как на этапе 1910. В дополнение к процессу повторной аутентификации может быть требование о том, что покупатель устройства повторно верифицируется перед каждым использованием, каждым зарядом, после предварительно определенного интервала времени, после предварительно определенного количества секунд затяжки или затяжек, прежде предварительно определенного числа вставок картриджей или только единственной верификации после покупки устройства. В таких примерах, когда аутентификация требуется снова на этапе 1910, возраст пользователя может быть необходимо повторно верифицировать на этапе 1904 в дополнение к аутентификации на этапе 1906.

Фиг.20 является блок-схемой последовательности операций, иллюстрирующей один пример аутентификации с помощью хост-устройства. Вариант осуществления на Фиг.20 аутентифицирует устройство 1106 частично на основе профиля верифицированного по возрасту пользователя, которое тогда может быть доступно для аутентификации. На этапе 2002 устройство 1106 покупается пользователем. Пользователь предоставляет удостоверение личности для системы верификации возраста на этапе 2004. Как обсуждалось выше, идентификация может включать в себя информацию, которая используется для подтверждения личности пользователя и возраста. Эта информация может представлять собой показ идентификационного документа (например, водительских прав) розничному продавцу или сканирование идентификационного документа в киоске или на персональном устройстве пользователя, таком как компьютер или мобильное устройство. Пользователь может также использовать соединенную с Интернетом систему верификации возраста (компьютер, мобильный телефон и т.д.) для выгрузки своей идентификационной информации самостоятельно. После идентификации и верификации возраста пользователь может создавать пользовательский профиль с помощью системы 1102 верификации возраста на этапе 2006. Система 1102 верификации возраста может быть подключена по сети 1103, такой как Интернет, может требовать от пользователя создавать профиль в приложении или с помощью веб-приложения. Пользовательский профиль может храниться в базе данных для системы 1102 верификации возраста для быстрого доступа во время будущих запросов аутентификации. На основе запроса и подтверждения того, что пользователь (или пользовательский профиль) верифицирует возраст пользователя, хост-устройство 1104 может отправлять управляющий сигнал 1105 устройству 1106 как на этапе 2008. Управляющий сигнал 1105 может быть сохранен и ассоциирован с пользовательским профилем, сохраненным в базе данных. Альтернативно, может быть приложение, которое формирует корректный управляющий сигнал на основе информации, сохраненной в пользовательском профиле, включающей в себя информацию об устройстве 1106 (например, серийный номер). Управляющий сигнал 1105 может быть аудиосигналом 1302 или оптическим сигналом 1304, который передается хост-устройством 1104. Если управляющий сигнал является некорректным на этапе 2010, устройство 1106 не аутентифицируется и должно ожидать корректного управляющего сигнала. Если управляющий сигнал является корректным на этапе 2010, устройство 1106 может использоваться до тех пор, пока аутентификация не потребуется вновь на этапе 2012. Когда аутентификация вновь требуется, хост-устройство может вновь отправлять управляющий сигнал устройству на этапе 2008.

Фиг.21 иллюстрирует примерный ключ 2102 аутентификации. Ключ 2102 аутентификации может быть отправлен как часть упаковки с устройством. Ключ 2102 аутентификации может быть использован с оптическим сигналом 1304 посредством легкого выравнивания с оптическим детектором 1502 (например, датчиком 1507 света) на устройстве 1106 и загораживает количество света или загораживает некоторые участки света, которые являются различимыми посредством детектора или датчика. Ключ 2102 аутентификации может включать в себя поворотный механизм, который меняет интенсивность света, допущенного до детектора/датчика, или меняет участки света, который может проходить к детектору/датчику. В одном варианте осуществления диапазон чисел (например, от 0-12) перечисляется на окружности ключа. Когда поворотный механизм задействуется, числа могут также поворачиваться по сравнению со стрелкой, которая помогает пользователю устройства идентифицировать, на какое число установлен ключ. В этом варианте осуществления пользователь может разблокировать устройство 1106 без осуществления доступа к сети или Интернету. Как описано выше, пользователь может сначала выполнять верификацию возраста (например, пользователь вызывает службу поддержки, чтобы верифицировать возраст по телефону). После верификации возраста число или последовательность чисел может быть предоставлена для использования с ключом 2012 аутентификации. Числа или последовательность чисел существует для вращения ключа 2012 аутентификации. В одном варианте осуществления число или последовательность чисел может соответствовать серийному номеру устройства 1106. Соответствующая световая последовательность, сформированная от вращения пользователем ключа, может быть запрограммирована в память устройства 1106 (например, в память 1206), например, во время изготовления микросхемы. Это может обеспечивать возможность процессору (например, процессору 1204) сравнивать ожидаемое значение, сохраненное в памяти, с принятым значением от единственного или многократных поворотов ключа 2102 аутентификации и сравнивать их оба для определения аутентификации.

Как может быть понятно из описаний выше, процессы аутентификации могут быть применены с помощью любого из множества различных способов для того, чтобы разблокировать использование устройства 1106. Некоторые примеры этих различных способов представлены в патентной заявке США № 16/441,903, озаглавленной "FUNCTIONAL CONTROL AND AGE VERIFICATION OF ELECTRONIC DEVICES THROUGH SPEAKER COMMUNICATION", которая испрашивает преимущество по отношению к предварительной заявке США № 62/828,222 от 2 апреля 2019 года и патентной заявке США № 16/441,937, озаглавленной "FUNCTIONAL CONTROL AND AGE VERIFICATION OF ELECTRONIC DEVICES THROUGH VISUAL COMMUNICATION", которая испрашивает приоритет по отношению к предварительной заявке США № 62/828,222 от 2 апреля 2019 года, полные раскрытия каждой из которых при этом содержатся по ссылке. Многие из этих ссылочных документов применяет способы, которые подразумевают связь между устройством 1106 и другими компонентами или сетями. Чтобы быть подготовленным для задействования в такой связи и/или реагировать на такую связь, устройство 1106 может быть должно находиться в состоянии готовности (например, быть пробужденным), что обеспечивает возможность обнаружения попыток, выполняемых для связи с устройством 1106 в целях аутентификации. Однако, пребывание пробужденным или в таком состоянии готовности может истощать ресурсы (например, мощность аккумулятора) устройства 1106 и препятствовать аутентификации на основе недостаточной мощности. Это может негативно влиять на восприятие пользователем, и, следовательно, может быть желательным этого избегать.

Одним вариантом сохранения питания в устройстве 1106 может быть помещение компонентов устройства 1106 в режим малой мощности или сна. Процесс пробуждения может затем быть определен для того, чтобы пробуждать устройство 1106 из режима малой мощности или сна перед выполнением процесса аутентификации (который может быть любым из этих способов, описанных выше, или других подходящих способов аутентификации). Фиг.22 иллюстрирует блок-схему, показывающую общий процесс для пробуждения устройства 1106 в соответствии с примерным вариантом осуществления. В этом отношении, пользователь может первоначально покупать заблокированное устройство (например, устройство 1106) в операции 2200. В дополнение к блокировке, так что работа устройства 1106 не разрешается до тех пор, пока процесс аутентификации не будет завершен, чтобы разблокировать устройство, устройство 1106 (или, по меньшей мере, его различные компоненты) могут также быть в режиме малой мощности или сна. Далее в данном документе пользователь может пробуждать устройство в операции 2210. Однако, как отмечено ниже, конкретное местоположение пробуждения, ассоциированного с операцией 2210, может альтернативно быть в других позициях в этой блок-схеме последовательности операций. Посредством пробуждения устройства устройство 1106 (хотя все еще заблокировано) может быть пробуждено для того, чтобы выполнять процесс аутентификации, который может включать в себя любой подходящий процесс (не включающий в себя исключительно процессы, упомянутые выше). Пока устройство 1106 является пробужденным, пользователь может осуществлять доступ к системе верификации возраста для аутентификации в операции 2220. Таким образом, например, операции системы верификации возраста, описанные выше со ссылкой на Фиг.11-19, могут, следовательно, быть инициированы в операции 2220 (например, осуществление доступа к системе 1102 верификации возраста через хост 1104).

В операции 2230 определение может быть выполнено о том, был ли возраст (или личность) пользователя успешно верифицирован. В некоторых случаях, пользователь может предоставлять информацию, учетные данные и/или т.п. для установления или верификации возраста пользователя. Информация или учетные данные могут включать в себя представление идентификационных документов (например, страницу с фотографией в паспорте, водительские права и т.д.), способы идентификации, применяющие цепочку блоков (например, как обсуждается в патентной заявке США № 16/415,444, озаглавленной "AGE VERIFICATION WITH REGISTERED CARTRIDGES FOR AN AEROSOL DELIVERY DEVICE", зарегистрированной 17 мая 2019 года, полное раскрытие которой включено в данный документ по ссылке), распознавание лица или другие способы биометрической идентификации и/или т.п. Однако, в других случаях, пользователь может верифицировать свою личность посредством подтверждения того, что пользователь имеет или ассоциируется с идентификатором активной учетной записи, которая ранее прошла через процесс верификации возраста (например, предоставление кодов, серийных номеров или т.п., ассоциированных с идентификатором активной учетной записи). Если успешная верификация возраста не была выполнена, устройство 1106 может оставаться заблокированным в операции 2240. В некоторых случаях, устройство 1106 может переходить обратно в режим низкой мощности или сна, чтобы ожидать другой попытки пробуждения, прежде чем предоставлять возможность другой попытки верификации возраста или идентификации. Однако, в других случаях, пользователю может быть предоставлена возможность более одной попытки, чтобы завершить процесс (например, две, три или некоторое другое конкретное число разрешенных попыток). Если множество попыток совершения верификации возраста разрешено, пользователь может быть вовлечен в каждой из множества разрешенных попыток, прежде чем устройство 1106 либо перейдет обратно в режим малой мощности или сна, либо выполнит некоторую другую полезную функцию самоограничения.

Если возраст (или личность) успешно верифицирован, пользователь может предоставлять устройству и хосту идентификационную информацию в операции 2250. Например, пользователь может предоставлять серийный номер или другую идентификационную информацию, ассоциированную с устройством 1106, и может предоставлять номер телефона, адрес электронной почты или другую идентификационную информацию, ассоциированную с хостом 1104. После этого инициирование процесса аутентификации между устройством 1106 и хостом 1104 может быть инициировано в операции 2260. Процесс аутентификации может, например, включать в себя предоставление оптического или звукового разблокирующего сигнала от хоста 1104 устройству 1106, как описано выше. Как отмечено выше, в некоторых случаях, пробуждение устройства в операции 2210 может быть перемещено между операциями 2250 и 2260. В операции 2270 определение может быть выполнено относительно того, был ли процесс аутентификации успешно завершен. Если не завершен успешно, последовательность операций может возвращаться к операции 2240, и устройство 1106 может оставаться заблокированным, как описано выше. В этом отношении, устройство 1106 может переходить обратно в режим малой мощности или сна, чтобы ожидать другой попытки пробуждения, прежде чем предоставлять возможность другой попытки аутентификации. Однако, в других случаях, пользователю может быть предоставлена возможность более одной попытки, чтобы завершить процесс (например, две, три или некоторое другое конкретное число разрешенных попыток). Если множество попыток аутентификации разрешено, пользователь может быть вовлечен в каждой из множества разрешенных попыток, прежде чем устройство 1106 вернется к операции 2240 и либо перейдет обратно в режим малой мощности или сна, либо выполнит некоторую другую полезную функцию самоограничения. Однако, если процесс аутентификации успешно завершается, тогда устройство 1106 может быть разблокировано для использования в операции 2280. Устройство 1106 может оставаться разблокированным либо постоянно, либо до тех пор, пока оно не будет повторно заблокировано либо вручную, либо вследствие удовлетворения критериев блокировки.

Фиг.23 показывает функциональную блок-схему различных компонентов устройства 2300 (которое может быть примером устройства 1106), которое может применять общий способ, обсужденный выше со ссылкой на Фиг.22. В этом отношении, устройство 2300 может включать в себя аккумулятор 2302, который может быть выполнен с возможностью обеспечивать питание различным компонентам устройства 2300, включающим в себя электронику 2304 устройства, которая может работать для управления формированием аэрозоля посредством способов либо теплового формирования, либо нетеплового формирования (например, применение нагрева к раствору для формирования пара (например, в ответ на обнаружение события затяжки), как описано более подробно выше, или использование безнагревных механических технологий распыления, таких как вибрирующая сетка, и т.д.).

Аккумулятор 2302 может обеспечивать основное питание схеме 2306 регулирования напряжения и схеме 2208 переключения управления. В примерном варианте осуществления аккумулятор 2302 может быть перезаряжаемым. Таким образом, например, зарядное соединение 2310 может быть предусмотрено для приема питания от внешнего источника (например, электропитание от сети, зарядное устройство для аккумуляторной батареи и т.д.). Зарядное соединение 2310 может обеспечивать питание для IC (интегральной схемы) 2312 заряда и схемы 2314 наблюдения заряда, которые выполнены с возможностью управлять приложением питания к аккумулятору 2302 для безопасного заряда аккумулятора. В примерном варианте осуществления схема 2316 переключения заряда может быть предусмотрена между зарядным соединением 2310 и IC 2312 заряда.

Схема 2308 переключения управления может включать в себя один или более переключателей, которые функционируют, чтобы изолировать аккумулятор 2302 от электроники 2304 устройства, чтобы препятствовать работе устройства 2300 (например, для формирования пара). Альтернативно, схема 2308 переключения управления может работать, чтобы соединять основное электропитание от аккумулятора 2302 с электроникой 2304 устройства, чтобы обеспечивать возможность работы электроники 2304 устройства (например, для формирования пара в ответ на событие затяжки). Схема 2316 переключения заряда может включать в себя один или более переключателей, которые функционируют, чтобы изолировать зарядное соединение 2310 от IC 2312 заряда, чтобы препятствовать заряду аккумулятора 2302. Альтернативно, схема 2316 переключения заряда может быть задействована, чтобы обеспечивать возможность питания протекать от зарядного соединения 2310 к IC 2312 заряда и схеме 2314 монитора заряда, чтобы заряжать аккумулятор 2302. Конечно, хотя Фиг.23 показывает электропитание от схемы 2314 монитора заряда к аккумулятору 2302 как линию, отдельную от линии, обеспечивающей электропитание от аккумулятора 2302 к схеме 2306 регулирования напряжения и схеме 2308 переключения управления, в некоторых случаях, эти линии могут быть объединены в единую шину электропитания.

Схема 2306 регулирования напряжения может быть выполнена с возможностью обеспечивать электропитание различным компонентам блокирующего узла, как описано в данном документе. Подача электропитания к блокирующему узлу показана штриховыми линиями на Фиг.23. По существу, все компоненты, к которым штриховые линии протягиваются от схемы 2306 регулирования напряжения, могут считаться частью блокирующего узла устройства 2300. В этом примере блокирующий узел может включать в себя микроконтроллер (например, MCU 2320), диспетчер 2322 аутентификации и диспетчер 2324 пробуждения. Блокирующий узел может быть выполнен с возможностью обеспечивать различные управляющие или информационные сигналы (показанные пунктирными линиями на Фиг.23) для того, чтобы задействовать схему 2316 переключения заряда и схему 2308 переключения управления, чтобы управлять зарядом и работой устройства 2300, как описано в данном документе.

В примерном варианте осуществления MCU 2320 (или некоторый другой процессор, контроллер, и т.д.) может быть выполнен с возможностью управлять работой устройства 2300 относительно формирования пара и различных других функций (включающих в себя блокирующие функции). В некоторых случаях, управление функцией заряда может быть применено посредством сигнала 2330 управления зарядом, который может выдаваться посредством MCU 2320 для изменения положения схемы 2316 переключения заряда. В этом отношении, например, если сигнал 2330 управления зарядом размыкает схему 2316 переключения заряда, тогда путь электропитания для заряда аккумулятора 2302 может быть разомкнут или отрезан, и заряд аккумулятора 2302 может быть невозможным. Однако, если сигнал 2330 управления зарядом замыкает схему 2316 переключения заряда, тогда может быть предусмотрен путь для электропитания, чтобы заряжать аккумулятор 2302, , и заряд аккумулятора 2302 может выполняться от источника электропитания, присоединенного к зарядному соединению 2310. Поскольку схема 2316 переключения заряда управляет зарядом аккумулятора 2302, схема 2316 переключения заряда может также называться "зарядными переключателями".

Аналогично, управление функциями формирования пара может быть обеспечено посредством выдачи управляющего сигнала 2332 из MCU 2320 к схеме 2308 переключения управления. В этом отношении, например, если управляющий сигнал 2332 размыкает схему 2308 переключения управления, тогда путь электропитания от аккумулятора 2302 (или шины питания) к электронике 2304 устройства может быть разомкнут или отрезан, так что нагрев не может обеспечиваться для формирования пара. Однако, если управляющий сигнал 2332 замыкает схему 2308 переключателя управления, тогда может быть предусмотрен путь электропитания от аккумулятора 2302 (или шины питания) к электронике 2304 устройства, и формирование пара (например, в ответ на обнаружение затяжки или другим средством) может быть разрешено. Поскольку схема 2308 переключателя управления управляет приложением питания (например, напряжения) от аккумулятора 2302 к электронике 2304 устройства, схема 2308 переключателя управления может также называться "переключателями напряжения".

В примерном варианте осуществления MCU 2320 может быть выполнен с возможностью управлять переключателями напряжения и/или зарядными переключателями на основе различных управляющих сигналов (или триггеров), которые могут быть приняты в MCU 2320. MCU 2320 может быть инициирован посредством одного или множества различных событий или сигналов, некоторые из которых будут описаны более подробно ниже со ссылкой на Фиг.24 и 25. Однако, некоторые конкретные сигналы, которые могут индивидуально (или в сочетании) быть применены в различных примерных вариантах осуществления, также показаны на Фиг.23. В этом отношении, как показано на Фиг.23, диспетчер 2322 аутентификации может обеспечивать сигнал 2340 аутентификации в MCU 2320. В некоторых случаях, сигнал 2340 аутентификации может передаваться, только для того, чтобы указывать, что успешная аутентификация была выполнена диспетчером 2322 аутентификации. Однако, в других случаях, сигнал 2340 аутентификации может указывать как положительные, так и отрицательные результаты попытки аутентификации. Когда выдан (или когда положительный), сигнал 2340 аутентификации может быть использован для разблокировки устройства 2300 и замыкания переключателей напряжения и/или заряда, как описано более подробно ниже со ссылкой на Фиг.25. Когда не выдан (или когда отрицательный), переключатели напряжения и/или заряда могут поддерживаться разомкнутыми, чтобы предотвращать формирование пара и/или заряд, соответственно.

Другой управляющий сигнал, который может быть принят в MCU 2320 для оказания влияния на состояние устройства 2300, может быть сигналом 2342 пробуждения, который может быть предоставлен диспетчером 2324 пробуждения. В этом отношении, диспетчер 2324 пробуждения может быть выполнен с возможностью наблюдать за событиями пробуждения и передавать указание на различные компоненты блокирующего узла, который может в ином случае быть спящим или в режиме низкой мощности, чтобы пробуждаться и подготавливаться для попытки аутентификации. Таким образом, например, диспетчер 2322 аутентификации, диспетчер 2324 пробуждения и/или MCU 2320 могут быть спящими до тех пор, пока диспетчер 2324 пробуждения не обнаружит событие пробуждения и не выдаст сигнал 2342 пробуждения.

В некоторых случаях, диспетчер 2324 пробуждения может обнаруживать событие пробуждения непосредственно от зарядного соединения 2310, как показано посредством управляющего сигнала 2344. Например, присоединение зарядного соединения 2310 к внешнему источнику питания может инициировать формирование управляющего сигнала 2344 для диспетчера 2324 пробуждения. Далее в данном документе диспетчер 2324 пробуждения может выдавать сигнал 2342 пробуждения блокирующему узлу. Как альтернатива, управляющий сигнал 2346 может быть предоставлен в MCU 2320 (например, через электропитание от шины электропитания), так что в ответ на сигнал 2342 пробуждения MCU 2320 может обнаруживать, что достаточная мощность аккумулятора доступна для работы для процесса аутентификации без внешнего питания от зарядного соединения 2310.

Работа диспетчера 2324 пробуждения в соответствии с примерным вариантом осуществления будет теперь описана со ссылкой на Фиг.24. В этом отношении, диспетчер 2324 пробуждения может включать в себя или иначе быть определен посредством схемы обработки, выполненной с возможностью обнаружения события пробуждения для того, чтобы выдавать сигнал 2342 пробуждения в MCU 2320 в ответ на обнаружение события пробуждения. Когда MCU 2320 является MCU 2320 устройства 2300 (т.е., не MCU отдельной платы), MCU 2320 может первоначально поддерживаться в режиме ожидания, чтобы снижать потребление питания. Сигнал 2342 пробуждения может пробуждать MCU 2320 из режима ожидания, чтобы инициировать процесс аутентификации. В примерном варианте осуществления сигнал 2342 пробуждения может принимать форму прерывания, предусмотренного для того, чтобы пробуждать или иначе сигнализировать MCU 2320 (и другим компонентам блокирующего узла), что процесс аутентификации приближается. Прерывание может быть выдано в ответ на активацию актуатора (активатора) 2400. Соответственно, например, генератор 2410 прерываний может быть предусмотрен, чтобы принимать входной сигнал от актуатора 2400 для того, чтобы формировать прерывание в форме пробуждающего сигнала 2342, как показано на Фиг.24.

Актуатор 2400 может принимать ряд различных форм. Например, актуатор 2400 может быть кнопкой, переключателем, клавишей или другим функциональным элементом, который может быть задействован непосредственно или опосредованно пользователем. Например, актуатор 2400 может быть кнопкой, которая либо легко выставляется наружу, либо защищается, чтобы требовать намеренного усилия, чтобы раскрывать кнопку для приведения в действие. Если легко раскрывается, кнопка может быть либо многофункциональной кнопкой, которая задействуется отдельным образом (например, посредством удерживания в течение периода времени, либо посредством нажатия, чтобы вводить код). Однако, кнопка может также быть одноцелевой кнопкой, которая либо нажимается лишь один раз, чтобы привести в действие генератор 2410 прерываний, либо удерживается в течение периода или задействуется в режиме работы, который описан выше. Если кнопка защищена, пользователю может потребоваться использовать инструмент для доступа и приведения в действие кнопки. Например, кнопка может быть расположена внутри отверстия, и скрепка для бумаг или аналогичный инструмент может быть использован для приведения в действие кнопки. В качестве другого варианта, инструмент, который приводит в действие кнопку, может быть встроен в зарядное или заряжающее устройство. Например, кнопка может быть размещена в отверстии (как обсуждалось выше), и зарядное устройство может иметь выступающий шип, расположенный на нем и выполненный с возможностью взаимодействовать с кнопкой, когда зарядное устройство присоединено к зарядному соединению 2310. В таком примере выступающий шип может приводить в действие кнопку после установки зарядного устройства в зарядное соединение 2310, и управляющий сигнал 2344 может быть отправлен диспетчеру 2324 пробуждения. Альтернативно, управляющий сигнал 2344 может быть интерпретирован как установка зарядного устройства в зарядное соединение 2310, чтобы приводить в действие актуатор 2400 и инициировать генератор 2410 прерываний, чтобы формировать сигнал прерывания в качестве пробуждающего сигнала 2342.

В качестве другого примера, актуатор 2400 может приводиться в действие в ответ на удаление блокирующего устройства. Например, язычок 2420 может быть предусмотрен, чтобы блокировать срабатывание актуатора 2400 (например, вследствие смещающего узла, выполненного с возможностью нажимать кнопку, а в ином случае заблокированного посредством язычка 2420). В качестве еще одного варианта, язычок 2420 может блокировать протекание тока, и, когда удален, протекание тока в актуатор 2400 (или в сам MCU 2320 в форме управляющего сигнала 2346) может инструктировать возбуждение пробуждающего сигнала 2342 или иначе служить в качестве события пробуждения. В еще одном примере язычок 2420, или магнит, шип или другой инструмент может быть встроен в упаковку устройства 2300. В таком примере удаление устройства 2300 из упаковки может инициировать актуатор 2400, например, посредством удаления язычка 2420, или иначе активировать управляющий сигнал 2346, чтобы формировать событие пробуждения для блокирующего узла (например, MCU 2320 и/или другие компоненты блокирующего узла). В случаях, когда упаковка включает в себя магнит (или язычок 2420 осуществляется как магнит), перемещение язычка 2420 в ответ на удаление упаковки может изменять положение переключателя (тем самым, возбуждая актуатор 2400) или иначе инструктировать актуатору 2400 срабатывать без приложения физической силы к нему. По существу, некоторые варианты осуществления могут включать в себя систему, содержащую сочетание устройства доставки аэрозоля (например, устройства 2300) и автоматизированного пробуждающего узла в форме упаковки для устройства (например, представлен язычком 2420), когда удаление упаковки инициирует событие пробуждения.

В некоторых примерах актуатор 2400 может быть датчиком давления (или датчиком затяжки), так что обнаружение пользователя, либо дующего на актуатор 2400, либо выполняющего затяжку, может инструктировать формирование пробуждающего сигнала 2342. Актуатор 2400 может также быть осуществлен как или работать во взаимодействии с другими датчиками или компонентами в других альтернативных вариантах осуществления. Например, актуатор 2400 может быть осуществлен как, или иначе взаимодействовать с, акселерометром. Акселерометр может обнаруживать перемещения отдельного типа или характера, и актуатор 2400 может взаимодействовать с генератором 2410 прерываний, чтобы формировать пробуждающий сигнал 2342 соответственно. Позиционирование устройства в отдельной ориентации либо вообще, либо в течение заданного периода времени, может запускать актуатор 2400. Альтернативно или дополнительно, встряхивание, постукивание или иное обеспечение перемещения согласно обнаруживаемому шаблону может инструктировать актуатору 2400 приводить в действие генератор 2410 прерываний. В качестве еще одной альтернативы, датчик может обнаруживать изменения в токе, напряжении или сопротивлении, которые могут быть инициированы на основе вставки и/или удаления стыкуемого модуля (или специально выполненного стыкуемого модуля для испытания с заданным значением сопротивления, которое отличается от обычного стыкуемого модуля). В таком примере вставка стыкуемого модуля (или стыкуемого модуля для испытания) в устройство 2300 может инструктировать значимые изменения в токе или напряжении, обнаруживаемые вследствие сопротивления стыкуемого модуля (или стыкуемого модуля для испытания). Сами изменения, или изменения в заданном режиме работы, могут быть использованы для приведения в действие актуатора 2400.

Фиг.25 иллюстрирует блок-схему последовательности операций, объясняющую один пример, в котором компоненты на Фиг.23 и 24 могут взаимодействовать для пробуждения, аутентификации и блокировки/разблокировки устройства (например, устройство 1106 или устройство 2300). Как показано на Фиг.25, блокирующий узел может первоначально быть в режиме глубокого сна в операции 2500. В этом состоянии компоненты блокирующего узла могут быть в режиме минимальной мощности, и заблокированное состояние может применяться к блокирующему узлу, в котором переключатели напряжения и зарядные переключатели, каждый, являются разомкнутыми, чтобы предотвращать заряд и работу устройства 2300. В операции 2502 MCU 2320 (и/или весь блокирующий узел) может оставаться в режиме сна или режиме минимальной мощности, в то же время ожидая прерывания. Когда прерывание принимается, определение может быть выполнено в операции 2504 о том, произошло ли событие зарядного устройства (например, вставка зарядного устройства в зарядное соединение 2310 или предоставление управляющего сигнала 2346). Если событие зарядного устройства не произошло, тогда определение может быть выполнено о том, произошло ли событие пробуждения в операции 2506. Если событие пробуждения не обнаружено, тогда определение может быть выполнено о том, присоединено ли зарядное устройство в операции 2508. Если зарядное устройство не присоединено, тогда последовательность операций может возвращаться к операции 2502. Однако, если зарядное устройство присоединено, тогда последовательность операций может переходить к операции 2510, в которой выполняется определение о состоянии блокировки. Определение, относящееся к состоянию блокировки (т.е. операция 2510), также является результатом определения того, что событие зарядного устройства произошло в операции 2504. В этом отношении, если событие зарядного устройства обнаруживается в операции 2504, тогда очистка события заряда может быть проведена в операции 2512 перед переходом к операции 2510 для определения состояния блокировки. Независимо от того, достигает ли последовательность операций операции 2510 посредством обнаружения события зарядного устройства или нет, операция 2510 будет либо определять, что блокирующий узел (или, в общем, устройство 2300) является заблокированным или разблокированным.

Если состоянием блокировки является "разблокировано", тогда зарядные переключатели могут быть замкнуты для того, чтобы обеспечивать возможность заряда, и наблюдение за доставкой энергии может быть обеспечено в операции 2514. В этом отношении, обращаясь обратно к Фиг.23, операция 2514 может приводить в результате к выдаче сигнала 2330 управления зарядом, чтобы замыкать схему 2316 переключателя заряда. IC 2312 заряда и схема 2314 монитора заряда могут, следовательно, принимать электропитание от зарядного соединения 2310 через схему 2316 переключателя заряда. После этого последовательность операций может возвращаться к операции 2506, чтобы определять, обнаружено ли событие пробуждения.

Если состоянием блокировки является "заблокировано", тогда определение может быть выполнено в операции 2516 о том, был ли достигнут предел однократного заряда. Если предел однократного заряда не был достигнут, тогда последовательность операций может переходить к операции 2514 и, как упомянуто выше, зарядные переключатели могут быть замкнуты для того, чтобы обеспечивать возможность заряда, и наблюдение за доставкой энергии может быть обеспечено в операции 2514. Если, однако, предел однократного заряда был достигнут, тогда зарядные переключатели могут быть разомкнуты в операции 2518. Таким образом, например, операция 2518 может приводить в результате к выдаче сигнала 2330 управления зарядом, чтобы размыкать схему 2316 переключателя заряда. IC 2312 заряда и схема 2314 монитора заряда могут, следовательно, не принимать электропитание от зарядного соединения 2310 через схему 2316 переключателя заряда.

Возвращаясь к операции 2506, если событие пробуждения обнаружено, тогда операция сканирования может быть выполнена для кода аутентификации в операции 2520. Следует понимать, однако, что код аутентификации может также быть отсканирован следом, или как часть, операции верификации возраста/ID, также как в некоторых случаях. Операция сканирования может происходить автоматически (например, Bluetooth-спаривание, считывание RFID или NFC-метки или другие автоматизированные варианты сканирования). Однако, в других вариантах осуществления, пользователь может инициировать операцию 2520 и, в некоторых случаях, может предоставлять информацию, чтобы обеспечивать выполнение операции 2520. Сканирование кода может включать в себя аудиокод, оптический или визуальный код, или любой другой подходящий способ аутентификации (включающий в себя, но не только, способы, описанные в данном документе). Таким образом, например, способ аутентификации может включать в себя методы цепочки блоков, распознавание лиц или другие методы биометрической идентификации, предоставление доверенных учетных данных, таких как пин-код, серийный номер или т.п., которые могут быть предоставлены либо одновременно с процессом аутентификации, либо которые могли быть предварительно предоставлены, или другие подходящие способы.

Определение может быть выполнено в операции 2522 о том, является ли отсканированный код верифицированным или аутентифицированным. Если код не имеет аутентификации или верификации, определение может быть выполнено в операции 2524 о том, был ли превышен таймер пробуждения. В этом отношении, таймер пробуждения может запускаться, когда, в операции 2506, обнаруживается событие пробуждения. Пользователю может быть предоставлена возможность выполнять одну или более попыток аутентификации прежде истечения таймера пробуждения. Таким образом, если таймер пробуждения не истек, последовательность операций может возвращаться к операции 2520, и пользователю может быть предоставлена возможность попытаться выполнить другое сканирование кода аутентификации. В некоторых случаях, вместо, или в дополнение к таймеру, может быть подсчитано (и ограничено) количество попыток. Если таймер пробуждения истекает после неудачи верификации кода (или если число допустимых попыток превышено), тогда флаг события пробуждения может быть очищен в операции 2526, и последовательность операций может возвращаться к операции 2508.

Если код верифицирует или аутентифицирует реакцию на определение в операции 2522, флаг события пробуждения может быть очищен в операции 2528, прежде чем определение выполняется в операции 2530 о том, является ли верифицированный код кодом блокировки или кодом разблокировки. Если верифицированный код является кодом блокировки, тогда последовательность операций возвращается обратно к операции 2500, и состояние устанавливается в заблокированное, и переключатели напряжения и зарядные переключатели размыкаются. Если верифицированный код является кодом разблокировки, тогда последовательность операций переходит к операции 2532. В операции 2532 блокирующий узел может продолжать работать с минимальной мощностью, и блокированное состояние может изменяться в "разблокированное". Зарядные переключатели и переключатели напряжения могут быть замкнуты, и флаг однократного заряда (если применим) может также быть очищен. После этого последовательность операций может возвращаться к операции 2502, чтобы ожидать следующего прерывания.

Таким образом, в соответствии с примерным вариантом осуществления, представлено устройство доставки аэрозоля. Устройство может включать в себя перезаряжаемый источник питания, выполненный с возможностью обеспечивать питание для формирования аэрозоля, электронику устройства, выполненную с возможностью формировать аэрозоль в ответ на приложение питания от источника питания, и блокирующий узел, выполненный с возможностью выполнять либо одно, либо оба из предотвращения перезаряда источника питания и предотвращения приложения питания от источника питания к электронике устройства в заблокированном состоянии, и обеспечивать возможность перезаряда источника питания и приложения питания от источника питания к электронике устройства в разблокированном состоянии. Блокирующий узел может быть выполнен с возможностью выполнять различные операции, включающие в себя: 1) обнаружение события пробуждения, в то время как блокирующий узел находится в заблокированном состоянии, 2) пробуждение блокирующего узла в ответ на событие пробуждения, 3) выполнение процесса аутентификации и, в ответ на завершение процесса аутентификации, 4) переход блокирующего узла между заблокированным состоянием и разблокированным состоянием. Конечно, операции 1-4 могут быть выполнены в последовательном порядке, но такое упорядочивание не является фиксированным или не предполагает им быть. Таким образом, номера, назначенные в упорядочивании выше (и само упорядочивание в списке), не являются ограничивающими, и порядок, в котором операции выполняются, может быть изменен в различных примерных вариантах осуществления. Например, процесс аутентификации (операция 3) выше) может быть выполнен, и ключ разблокировки может быть предоставлен в результате. Затем устройство может быть пробуждено, и устройство может быть разблокировано с помощью ключа разблокировки. В этом примере, конкретным порядком будет 3), 1), 2), 4).

Вышеприведенное описание использования изделия(ий) может быть применено к различным примерным реализациям, описанным в данном документе, посредством незначительных модификаций, которые могут быть очевидны специалисту в данной области техники в свете дополнительного раскрытия, представленного в данном документе. Приведенное выше описание использования, однако, не предназначено для ограничения использования изделия, но приведено для соблюдения всех необходимых требований раскрытия настоящего раскрытия. Любой из элементов, показанных в изделии(ях), показанном на Фиг.1-25, или как иным образом описано выше, может быть включен в устройство для доставки аэрозоля в соответствии с настоящим раскрытием.

Многие модификации и другие реализации раскрытия, изложенного в данном документе, придут на ум специалистам в данной области техники, к которой относится это раскрытие, с учетом преимуществ идей, представленных в предшествующих описаниях и связанных чертежах. Следовательно, следует понимать, что раскрытие не должно ограничиваться конкретными раскрытыми реализациями, и что модификации и другие реализации предназначены для включения в объем прилагаемой формулы изобретения. Более того, хотя предшествующие описания и связанные чертежи описывают примерные реализации в контексте определенных примерных комбинаций элементов и/или функций, следует принимать во внимание, что различные комбинации элементов и/или функций могут быть представлены альтернативными реализациями без отклонения от объема прилагаемой формулы изобретения. В этом отношении, например, также рассматриваются комбинации элементов и/или функций отличные от тех, которые явно описаны выше, как может быть изложено в некоторых из прилагаемых пунктов формулы изобретения. Хотя конкретные термины используются в данном документе, они используются только в общем и описательном смысле, а не в целях ограничения.

Похожие патенты RU2834361C1

название год авторы номер документа
АУТЕНТИФИКАЦИЯ И ВЕРИФИКАЦИЯ ВОЗРАСТА ДЛЯ УСТРОЙСТВА ПОДАЧИ АЭРОЗОЛЯ 2020
  • Хаббард, Сойер
  • Джойс, Ли, Энн
  • Аллер, Джаред
  • Новак, Джейк
  • Догерти, Шон
RU2810880C2
СИСТЕМА ДОСТАВКИ АЭРОЗОЛЯ, СПОСОБ РЕГИСТРАЦИИ КАРТРИДЖЕЙ, ИСПОЛЬЗУЕМЫХ С УСТРОЙСТВОМ ДОСТАВКИ АЭРОЗОЛЯ, И УСТРОЙСТВО ДОСТАВКИ АЭРОЗОЛЯ 2020
  • Догерти, Шон
RU2830158C2
СИСТЕМА УПРАВЛЕНИЯ ДОСТАВКОЙ АЭРОЗОЛЯ С МЕТКОЙ БЕЗОПАСНОСТИ 2020
  • Лукан, Шон
  • Айрленд, Винсент
RU2833166C1
ФУНКЦИОНАЛЬНОЕ УПРАВЛЕНИЕ И ПРОВЕРКА ВОЗРАСТА ЭЛЕКТРОННЫМИ УСТРОЙСТВАМИ ПО ВИЗУАЛЬНОЙ СВЯЗИ 2020
  • Хаббард, Сойер
  • Лейес, Чарльз, А.
  • Айрлэнд, Винс
  • Догерти, Шон
  • Лукан, Шон
  • Аллер, Джаред
RU2804495C1
ДЕЦЕНТРАЛИЗОВАННОЕ ХРАНИЛИЩЕ ИДЕНТИФИКАЦИОННОЙ ИНФОРМАЦИИ ДЛЯ ТАБАЧНЫХ ИЗДЕЛИЙ 2020
  • Хаббард, Сойер
  • Аллер, Джаред
  • Сур, Раджеш
RU2833034C2
ДВУХПРОВОДНАЯ СИСТЕМА АУТЕНТИФИКАЦИИ ДЛЯ УСТРОЙСТВА ДОСТАВКИ АЭРОЗОЛЯ 2017
  • Роджерс, Джеймс В.
  • Филлипс, Перси
RU2743645C2
УСТРОЙСТВО ДОСТАВКИ АЭРОЗОЛЯ (ВАРИАНТЫ) И УПРАВЛЯЮЩИЙ КОРПУС ДЛЯ УСТРОЙСТВА ДОСТАВКИ АЭРОЗОЛЯ 2019
  • Сур, Раджеш
RU2813182C2
УПРАВЛЕНИЕ МОЩНОСТЬЮ ДЛЯ УСТРОЙСТВА ДОСТАВКИ АЭРОЗОЛЯ 2019
  • Новак, Iii, Чарльз Джейкоб
  • Догерти, Шон А.
  • Гэлловэй, Майкл Райан
  • Вуд, Джейсон Л.
  • Фергюсон, Мэттью
  • Карпентер, Остин
  • Лэмб, Уилсон Кристофер
  • Генри, Мл., Реймонд Чарльз
RU2816312C2
УПРАВЛЕНИЕ ТЕМПЕРАТУРОЙ В УСТРОЙСТВЕ ДОСТАВКИ АЭРОЗОЛЯ 2019
  • Новак, Iii, Чарльз Джейкоб
  • Догерти, Шон А.
  • Гэлловэй, Майкл Райан
  • Вуд, Джейсон Л.
  • Фрисби, Марк
  • Лэмб, Уилсон Кристофер
  • Генри, Мл., Реймонд Чарльз
  • Фындыклы, Нади
RU2827795C2
ФОТОДАТЧИК ДЛЯ ИЗМЕРЕНИЯ КОМПОЗИЦИИ ПРЕДШЕСТВЕННИКА АЭРОЗОЛЯ В УСТРОЙСТВЕ ДОСТАВКИ АЭРОЗОЛЯ 2017
  • Сур, Раджеш
  • Хант, Эрик Т.
  • Сирс, Стивен Б.
RU2753087C2

Иллюстрации к изобретению RU 2 834 361 C1

Реферат патента 2025 года СПОСОБ, АППАРАТУРА И СИСТЕМА ДЛЯ ПРОБУЖДЕНИЯ УСТРОЙСТВА ПЕРЕД АКТИВАЦИЕЙ УСТРОЙСТВА

Изобретение относится к процессам пробуждения устройства в ассоциативной связи с активацией и управлением устройством доставки аэрозоля, таким как устройство электронных систем доставки никотина ("ENDS"). Устройство доставки аэрозоля управляется посредством обмена данными с устройством на основе активации после того, как устройство пробуждено из режима или состояния экономии питания. Устройство доставки аэрозоля включает в себя перезаряжаемый источник питания, выполненный с возможностью обеспечивать питание для формирования аэрозоля, электронику устройства, выполненную с возможностью формировать аэрозоль в ответ на приложение питания от источника питания, и блокирующий узел, выполненный с возможностью выполнять либо одно, либо оба из предотвращения перезаряда источника питания, и предотвращения приложения питания от источника питания к электронике устройства в заблокированном состоянии, и обеспечивать возможность перезаряда источника питания и приложения питания от источника питания к электронике устройства в разблокированном состоянии. Блокирующий узел выполнен с возможностью обнаруживать событие пробуждения, в то время как блокирующий узел находится в заблокированном состоянии, пробуждать блокирующий узел в ответ на событие пробуждения, выполнять процесс аутентификации и, в ответ на завершение процесса аутентификации, переводить блокирующий узел между заблокированным состоянием и разблокированным состоянием. Технический результат - обеспечение возможности инициирования процесса аутентификации, не приводящего к истощению питания устройства ENDS во время ожидания аутентификации. 3 н. и 17 з.п. ф-лы, 25 ил.

Формула изобретения RU 2 834 361 C1

1. Устройство доставки аэрозоля, содержащее:

перезаряжаемый источник питания, выполненный с возможностью обеспечивать питание для формирования аэрозоля;

электронику устройства, выполненную с возможностью формировать аэрозоль в ответ на подачу питания от источника питания;

блокирующий узел, выполненный с возможностью выполнять либо одно, либо оба из предотвращения перезаряда источника питания и предотвращения подачи питания от источника питания на электронику устройства в заблокированном состоянии, и обеспечивать возможность перезаряда источника питания и подачи питания от источника питания на электронику устройства в разблокированном состоянии; и

активатор,

при этом блокирующий узел выполнен с возможностью:

обнаруживать событие пробуждения в то время, как блокирующий узел находится в заблокированном состоянии, причем событие пробуждения представляет собой активирование пользователем активатора,

пробуждать блокирующий узел в ответ на событие пробуждения,

выполнять процесс аутентификации и

в ответ на завершение процесса аутентификации переводить блокирующий узел между заблокированным состоянием и разблокированным состоянием.

2. Устройство доставки аэрозоля по п.1, в котором блокирующий узел содержит диспетчер пробуждения, выполненный с возможностью пробуждать блокирующий узел из режима малой мощности или сна в заблокированном состоянии в ответ на событие пробуждения.

3. Устройство доставки аэрозоля по п.2, в котором диспетчер пробуждения выполнен с возможностью обнаруживать событие пробуждения в ответ на работу активатора.

4. Устройство доставки аэрозоля по п.1, в котором активатор содержит кнопку или функциональный элемент, приводимый в действие пользователем согласно режиму приведения в действие или коду приведения в действие.

5. Устройство доставки аэрозоля по п.4, в котором активатор является защищенным и приводится в действие в ответ на инициированный пользователем контакт с помощью инструмента.

6. Устройство доставки аэрозоля по п.5, в котором инструмент встроен в зарядное устройство, выполненное с возможностью сопряжения с источником питания для перезаряда источника питания.

7. Устройство доставки аэрозоля по п.1, в котором активатор активируется в ответ на обнаружение позиции или шаблона перемещения устройства доставки аэрозоля.

8. Устройство доставки аэрозоля по п.1, в котором активатор выполнен с возможностью сопряжения с упаковкой, ассоциированной с продажей устройства доставки аэрозоля, при этом удаление упаковки активирует активатор.

9. Устройство доставки аэрозоля по п.1, в котором активатор выполнен с возможностью сопряжения с генератором прерываний, чтобы формировать прерывание, при этом микроконтроллер устройства доставки аэрозоля активируется из состояния ожидания в ответ на это прерывание.

10. Устройство доставки аэрозоля по п.1, в котором активатор активируется в ответ на удаление язычка из фрагмента устройства доставки аэрозоля.

11. Устройство доставки аэрозоля по п.2, в котором блокирующий узел содержит диспетчер аутентификации, выполненный с возможностью осуществлять процесс аутентификации в ответ на событие пробуждения, при этом процесс аутентификации содержит сканирование кода аутентификации и переход блокирующего узла в разблокированное состояние в ответ на верификацию кода аутентификации.

12. Устройство доставки аэрозоля по п.1, дополнительно содержащее либо одно, либо оба из:

схемы переключателя управления, функционирующей, чтобы замыкаться для обеспечения возможности подачи питания от источника питания на электронику устройства и размыкаться для предотвращения подачи питания от источника питания на электронику устройства, и

схемы переключателя заряда, функционирующей, чтобы замыкаться для обеспечения возможности перезаряда источника питания и размыкаться для предотвращения перезаряда источника питания.

13. Устройство доставки аэрозоля по п.12, в котором блокирующий узел выполнен с возможностью замыкать схему переключателя управления и схему переключателя заряда в ответ на переход в разблокированное состояние и размыкать схему переключателя управления и схему переключателя заряда в ответ на переход в заблокированное состояние.

14. Способ разблокировки устройства доставки аэрозоля, содержащий этапы, на которых:

обнаруживают событие пробуждения в то время, как устройство доставки аэрозоля находится в заблокированном состоянии, в котором функция заряда или функция формирования аэрозоля не разрешены, причем обнаружение события пробуждения содержит обнаружение выполняемой пользователем операции с активатором;

пробуждают блокирующий узел устройства доставки аэрозоля из режима малой мощности или сна в ответ на обнаружение события пробуждения;

выполняют процесс аутентификации через блокирующий узел; и

в ответ на завершение процесса аутентификации переводят блокирующий узел в разблокированное состояние, в котором функция заряда и функция формирования аэрозоля разрешены.

15. Способ по п.14, в котором пробуждение блокирующего узла содержит этапы, на которых пробуждают микроконтроллер устройства доставки аэрозоля из режима ожидания и пробуждают диспетчер аутентификации, чтобы выполнять процесс аутентификации.

16. Способ по п.14, в котором пробуждение блокирующего узла содержит пробуждение диспетчера аутентификации, чтобы выполнять процесс аутентификации.

17. Способ по п.16, в котором обнаружение срабатывания активатора содержит этап, на котором обнаруживают срабатывание кнопки или функционального элемента, приводимого в действие пользователем согласно режиму приведения в действие или коду приведения в действие.

18. Способ по п.17, в котором активатор является защищенным и приводится в действие в ответ на инициированный пользователем контакт с помощью инструмента, задействуемого пользователем или встроенного в зарядное устройство, выполненное с возможностью сопряжения с аккумулятором устройства доставки аэрозоля.

19. Способ по п.14, в котором выполнение процесса аутентификации содержит этап, на котором сканируют код аутентификации и переводят блокирующий узел в разблокированное состояние в ответ на верификацию кода аутентификации.

20. Система для активации заблокированного и упакованного компонента, содержащая:

устройство доставки аэрозоля и

упаковочный блок, содержащий упаковку, ассоциированную с продажей устройства доставки аэрозоля,

при этом устройство доставки аэрозоля содержит:

перезаряжаемый источник питания, выполненный с возможностью обеспечивать питание для формирования аэрозоля;

электронику устройства, выполненную с возможностью формировать аэрозоль в ответ на подачу питания от источника питания; и

блокирующий узел, выполненный с возможностью осуществлять либо одно, либо оба из предотвращения перезаряда источника питания и предотвращения подачи питания от источника питания на электронику устройства в заблокированном состоянии, и обеспечивать возможность перезаряда источника питания и подачи питания от источника питания на электронику устройства в разблокированном состоянии,

при этом блокирующий узел выполнен с возможностью осуществлять пробуждение, аутентификацию и разблокировку устройства доставки аэрозоля, и

при этом блокирующий узел выполнен с возможностью сопряжения с упаковкой, так что удаление упаковки инициирует пробуждение устройства доставки аэрозоля.

Документы, цитированные в отчете о поиске Патент 2025 года RU2834361C1

US 20200000143 A1, 02.01.2020
US 20150245656 A1, 03.09.2015
КОМПОЗИЦИЯ ЗАБЕЛИВАТЕЛЯ 2017
  • Лезер Мартин
  • Штудер Марианне
  • Пайп Кристофер Джеймс
  • Лоре Кристэль
  • Ре Кристоф
  • Ваксман Лусиле
  • Хайне Манюэль
  • Фрис Леннар
RU2756860C2
EP 3365051 B1, 20.11.2019
EP 3509449 A1, 17.07.2019
ИНГАЛЯЦИОННОЕ УСТРОЙСТВО С ФУНКЦИЕЙ ОПОЗНАВАНИЯ ПОЛЬЗОВАТЕЛЯ НА ОСНОВЕ МАНЕРЫ ОСУЩЕСТВЛЕНИЯ ИНГАЛЯЦИИ 2015
  • Торанс Мишель
RU2697610C2
РАЗРАБОТКА ПРИЛОЖЕНИЙ ДЛЯ СЕТИ С ЭЛЕКТРОННОЙ СИГАРЕТОЙ 2014
  • Джастер Бернард
  • Левиц Роберт
  • Леви Дорон
RU2680224C2

RU 2 834 361 C1

Авторы

Догерти, Шон

Лукан, Шон

Айрленд, Винсент

Даты

2025-02-06Публикация

2021-03-26Подача