Область техники
[0001] Настоящее раскрытие относится к присвоению уникальных серийных номеров картриджам для устройства электронных систем доставки никотина ("ENDS"), включающего в себя устройства доставки аэрозоля, такие как курительные изделия, которые производят аэрозоль. Серийные номера могут быть зарегистрированы для конкретного пользователя и обеспечивать функциональность для аутентификации пользователя, включающую в себя верификацию возраста.
Уровень техники
[0002] Многие устройства были предложены на протяжении многих лет в качестве усовершенствований или альтернатив курительным изделиям, которые требуют сжигания табака для использования. Некоторые примерные альтернативы включают в себя устройства, в которых твердое или жидкое топливо сжигается для передачи тепла табаку или в которых используется химическая реакция для обеспечения такого источника тепла. В дополнительных примерах альтернатив используется электрическая энергия для нагрева табака и/или других материалов субстратов, генерирующих аэрозоль, например, описанных в патенте США № 9078473 на имя Worm и др., который включен в настоящее описание в качестве ссылки. Обычно устройство, использующее электрическую энергию для нагревания табака или других веществ, может называться устройством электронных систем доставки никотина ("ENDS").
[0003] Многие из этих устройств намеренно были разработаны для обеспечения ощущений, связанных с курением сигареты, сигары или трубки, но без доставки значительных количеств продуктов неполного сгорания и пиролиза, возникающих в результате сжигания табака. С этой целью были предложены многочисленные альтернативные продукты для курения, генераторы аромата и лекарственные ингаляторы, которые используют электрическую энергию для испарения или нагрева летучего материала или пытаются вызвать ощущения курения сигареты, сигары или трубки без сжигания табака в значительной степени. См., например, различные альтернативные курительные изделия, устройства для доставки аэрозоля и источники тепла, изложенные в предшествующем уровне техники, описанном в патенте США № 8881737 на имя Collett и др., в публикации заявки на патент США № 2013/0255702 на имя Griffith Jr и др., в публикации заявки на патент США № 2014/0000638 на имя Sebastian и др., в публикации заявки на патент США № 2014/0096781 на имя Sears и др., в публикации заявки на патент США № 2014/0096782 на имя Ampolini и др., в публикации заявки на патент США № 2015/0059780 на имя Davis и др. и в заявке на патент США с серийным номером 15/222615 на имя Watson и др., поданной 28 июля 2016 года, все из которых включены в настоящий документ посредством ссылки. См. также, например, различные реализации продуктов и конфигураций нагрева, описанные в разделах "Уровень техники" патентов США № 5388594 на имя Counts и др. и 8079371 на имя Robinson и др., которые включены посредством ссылки.
[0004] Описанные выше курительные изделия могут подлежать определенным ограничениям, в том числе возрастным. В некоторых странах использование изделий, в том числе картриджей устройства ENDS, ограничено в зависимости от возраста пользователя. Может потребоваться улучшенный процесс покупки и использования картриджей идентифицированным пользователем с верифицированным возрастом. Сущность изобретения
[0005] Настоящее раскрытие относится к присвоению уникальных серийных номеров картриджам для устройства электронных систем доставки никотина ("ENDS"), которое может включать в себя устройства доставки аэрозоля, такие как курительные изделия, которые производят аэрозоль. ENDS или устройства доставки аэрозоля включают в себя сменный картридж, которому можно присвоить серийный номер. Серийный номер может использоваться для идентификации пользователя, отслеживания и верификации возраста. Устройства ENDS включают в себя устройства доставки аэрозоля, сконфигурированные для производства аэрозоля, которые могут называться электронными сигаретами, сигаретами (или устройствами) нагрева без горения или устройствами без нагрева и без горения. Хотя это описывается как применимое к картриджам для устройства ENDS, это всего лишь один пример процесса регистрации серийного номера, который можно использовать для идентификации, отслеживания и верификации возраста пользователя. Описанные ниже варианты осуществления могут применяться для однозначной идентификации компонентов, отличных от картриджей. Кроме того, варианты осуществления, описанные ниже, могут применяться к устройствам, отличным от устройств ENDS, например, к другим компонентам для любых устройств с возрастным ограничением. Настоящее раскрытие включает в себя, без ограничения, следующие примерные реализации.
[0006] В некоторых вариантах осуществления система содержит систему верификации возраста, сконфигурированную для верификации возраста пользователя, и содержит устройство доставки аэрозоля, которое подает аэрозоль пользователю и которое сконфигурировано для включения одного из множества расходных материалов, при этом каждый из расходных материалов имеет назначенный уникальный идентификатор, который используется для аутентификации пользователя путем сравнения уникального идентификатора с подтвержденным списком уникальных идентификаторов, связанных с пользователем. Для работы устройства доставки аэрозоля может потребоваться верификация возраста пользователя и аутентификация расходных материалов. Расходные материалы могут включать в себя композицию прекурсора аэрозоля и нагревательный элемент, сконфигурированный для нагрева композиции прекурсора аэрозоля до образования аэрозоля.
[0007] Устройство доставки аэрозоля может включать в себя батарейный блок, в том числе аккумулятор. Батарейный блок выполнен с возможностью соединения с одним из расходных материалов. Аккумулятор обеспечивает питание нагревательного элемента. Питание подается на нагревательный элемент, когда расходный материал аутентифицируется с помощью уникального идентификатора, подтвержденного для использования с устройством доставки аэрозоля.
[0008] Аутентификация включает в себя сравнение уникального идентификатора с подтвержденным списком уникальных идентификаторов для устройства доставки аэрозоля. Подтвержденный список включает в себя уникальные идентификаторы расходных материалов, приобретенных и зарегистрированных пользователем. Для аутентификации может потребоваться сначала верифицировать возраст пользователя. Аутентификация может требоваться каждый раз при замене или пополнении расходных материалов.
[0009] Система может включать в себя главное устройство, соединенное с устройством доставки аэрозоля и соединенное с системой верификации возраста. Главное устройство получает доступ к профилю пользователя, в котором хранится подтвержденный список уникальных идентификаторов. Профиль пользователя хранится в сети и доступен главному устройству. Главное устройство представляет собой мобильное устройство, а доступ к профилю пользователя осуществляется приложением на мобильном устройстве. Главное устройство обменивается данными с системой верификации возраста по сети.
[0010] В некоторых вариантах осуществления способ регистрации картриджей, используемых с устройством доставки аэрозоля, включает в себя прием верификации возраста пользователя устройства доставки аэрозоля, прием запроса на уникальный идентификатор, связанный, по меньшей мере, с одним из картриджей, добавление уникального идентификатора, по меньшей мере, для одного из картриджей в подтвержденный список для пользователя и прием запроса на сравнение уникального идентификатора одного из картриджей с подтвержденным списком. Этот картридж принимает питание от устройства доставки аэрозоля, когда уникальный идентификатор этого картриджа находится в подтвержденном списке.
[0011] Уникальные идентификаторы для каждого картриджа присваиваются при изготовлении и предоставляются после покупки. В подтвержденный список добавляются уникальные идентификаторы для каждого приобретенного картриджа. Уникальный идентификатор для каждого из использованных картриджей удаляется из подтвержденного списка. Запрос уникального идентификатора включает в себя сканирование пользователем штрихкода картриджа. Подтвержденный список является частью профиля пользователя, который также включает в себя верификацию возраста пользователя и хранится в сети. Верификация возраста включает в себя обмен данными по сети с системой верификации возраста для приема верификации возраста пользователя. Подтвержденный список может храниться в сети с использованием технологии блокчейн.
[0012] В некоторых вариантах осуществления устройство доставки аэрозоля включает в себя управляющий элемент, сконфигурированный для обеспечения питания для формирования аэрозоля, и включает в себя один из множества расходных материалов, который сконфигурирован для соединения с управляющим элементом для формирования аэрозоля. Каждому из расходных материалов присваивается уникальный идентификатор, который используется для аутентификации путем сравнения уникального идентификатора с подтвержденным списком уникальных идентификаторов. Для работы управляющего элемента может потребоваться верификация возраста и аутентификация. Подтвержденный список включает в себя уникальные идентификаторы расходных материалов, приобретенных и зарегистрированных для пользователя. Регистрация для пользователя включает в себя верификацию возраста. Эти и другие особенности, аспекты и преимущества настоящего раскрытия будут очевидны при прочтении следующего подробного описания вместе с прилагаемыми чертежами, которые кратко описаны ниже. Настоящее раскрытие включает в себя любую комбинацию из двух, трех, четырех или более признаков или элементов, изложенных в этом раскрытии, независимо от того, объединены ли такие особенности или элементы явно или иным образом изложены в конкретном примере реализации, описанном в данном документе. Это раскрытие предназначено для чтения в целом, так что любые отдельные признаки или элементы раскрытия в любом из его аспектов и примеров реализации должны рассматриваться как комбинируемые, если контекст раскрытия явно не диктует иное.
[0013] Следовательно, будет принято во внимание, что это краткое изложение предоставлено просто для целей резюмирования некоторых примерных реализаций, чтобы обеспечить базовое понимание некоторых аспектов раскрытия. Соответственно, будет принято во внимание, что описанные выше примерные реализации являются просто примерами и не должны толковаться как сужающие объем или сущность раскрытия каким-либо образом. Другие примерные реализации, аспекты и преимущества станут очевидными из следующего подробного описания, взятого вместе с прилагаемыми чертежами, которые иллюстрируют в качестве примера принципы некоторых описанных примерных реализаций.
Краткое описание чертежей
[0014] Описав таким образом аспекты раскрытия в вышеизложенных общих условиях, теперь будет сделана ссылка на сопроводительные чертежи, которые не обязательно выполнены в масштабе и на которых:
[0015] Фиг. 1 иллюстрирует вид в перспективе устройства для доставки аэрозоля, содержащего картридж и управляющий элемент, которые соединены друг с другом, согласно примерной реализации настоящего раскрытия;
[0016] Фиг. 2 - вид с частичным вырезом устройства для доставки аэрозоля по фиг. 1, в котором картридж и управляющий элемент отделены друг от друга в соответствии с примером реализации;
[0017] Фиг. 3 и 4 иллюстрируют вид в перспективе устройства для доставки аэрозоля, содержащего управляющий элемент и элемент источника аэрозоля, которые соответственно соединены друг с другом и отделены друг от друга, согласно другому примеру реализации настоящего раскрытия;
[0018] На фиг. 5 и 6 показаны соответственно вид спереди и вид в разрезе устройства для доставки аэрозоля, показанного на фиг. 3 и 4, согласно примерной реализации;
[0019] Фиг. 7 и 8 иллюстрируют, соответственно, вид сбоку и вид с частичным разрезом устройства для доставки аэрозоля, включающего в себя картридж, соединенный с управляющим элементом, согласно примерным реализациям;
[0020] Фиг. 9 иллюстрирует принципиальную схему устройства для доставки аэрозоля согласно различным примерным реализациям настоящего раскрытия; и
[0021] Фиг. 10 иллюстрирует принципиальную схему схемы преобразования сигнала согласно примерной реализации настоящего раскрытия.
[0022] Фиг. 11а, фиг. 11b и фиг. 11с иллюстрируют схемы примерной системы для аутентификации картриджа.
[0023] Фиг. 12 иллюстрирует присвоение картриджам уникальных идентификаторов.
[0024] Фиг. 13 иллюстрирует вариант осуществления схемы аутентификации.
[0025] Фиг. 14 - блок-схема последовательности операций, иллюстрирующая процесс регистрации картриджа.
[0026] Фиг. 15 - это блок-схема последовательности операций, иллюстрирующая процесс регистрации картриджа с верификацией пользователя при покупке.
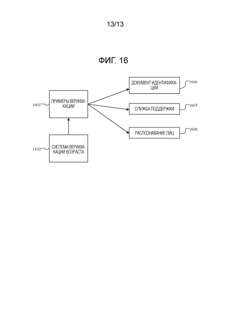
[0027] Фиг. 16 иллюстрирует примеры верификации из системы верификации возраста.
Подробное описание изобретения
[0028] Далее настоящее раскрытие будет описано более полно со ссылкой на его примерные реализации. Эти примерные реализации описаны так, чтобы это раскрытие было исчерпывающим и полным и полностью передавало объем раскрытия специалистам в данной области техники. Действительно, раскрытие может быть воплощено во многих различных формах и не должно толковаться как ограниченное реализациями, изложенными в данном документе; скорее, эти реализации предоставлены для того, чтобы это раскрытие удовлетворяло применимым юридическим требованиям. Как используется в описании и прилагаемой формуле изобретения, формы единственного числа включают в себя множественное число, если контекст явно не диктует иное. Кроме того, хотя в данном документе может быть сделана ссылка на количественные меры, значения, геометрические отношения и т.п., если не указано иное, любой один или более, если не все, из них могут быть абсолютными или приблизительными для учета приемлемых изменений, которые могут иметь место, например, из-за технических допусков и т.п.
[0029] Как описано ниже, настоящее раскрытие относится к идентификации и аутентификации пользователя и верификации возраста пользователя для использования устройства с возрастным ограничением, такого как устройство электронных систем доставки никотина ("ENDS"), которое может включать в себя устройства доставки аэрозоля. Устройство с возрастным ограничением может включать в себя компонент (например, картриджи в устройстве ENDS), который необходим для работы устройства с возрастным ограничением. Предоставляя уникальную идентификацию для этих компонентов (например, серийные номера для картриджей), устройство с возрастным ограничением может быть ограничено идентифицированным или аутентифицированным пользователем с верификацией возраста.
[0030] ENDS является одним из примеров такого устройства, которое может быть связано с ограничением, например, возрастным. Другие примеры включают в себя устройства для доставки тетрагидроканнабинола (THC), каннабидиола (CBD), растительных, лекарственных и/или других активных ингредиентов. Таким образом, будет принято во внимание, что хотя устройство ENDS, такое как устройство для доставки аэрозоля, используется в качестве примера применения различных вариантов осуществления повсюду, предполагается, что этот пример не является ограничивающим, так что концепции изобретения, раскрытые в данном документе, могут использоваться с устройствами, отличных от устройств ENDS, включающими в себя устройства для доставки аэрозолей, которые могут использоваться для доставки пользователю других лекарственных и/или активных ингредиентов или могут включать в себя бездымный табак или другие табачные изделия.
[0031] Присвоение уникального номера картриджу и привязка этого уникального номера к конкретному пользователю может упоминаться как регистрация картриджа. Связь с пользователем может быть дополнительной, или может потребоваться в качестве предварительного условия, для пользователя, выполняющего верификацию возраста. Пользователь, возраст которого не верифицирован, не может быть связан с картриджем и зарегистрирован. Регистрация картриджа может быть частью процесса аутентификации, в котором пользователь должен периодически аутентифицировать себя, чтобы использовать продукт с возрастным ограничением. Требование аутентификации предотвращает использование несовершеннолетними продукта с возрастным ограничением. Может существовать система верификации возраста для подтверждения возраста пользователя и/или подтверждения того, что серийные номера картриджей используются надлежащим пользователем и/или устройством.
[0032] Назначение уникального номера для верификации возраста может быть применимо к любому устройству или веществу с возрастным ограничением, включающим в себя никотин, сигареты, алкоголь, тетрагидроканнабинол (THC), каннабидиол (CBD), масло CBD, каннабис/марихуану, ботанические препараты, лекарства и/или другие продукты с ограничениями по возрасту. Регистрация серийного номера может быть применима к устройствам с возрастным ограничением, отличных от устройства доставки аэрозоля. Аналогичным образом, хотя возраст является одним из примеров ограничения, которое верифицирует аксессуар зарядного устройства, могут существовать другие типы ограничений для устройства, которые проверяются путем присвоения уникальных номеров, по меньшей мере, одному компоненту устройства.
[0033] Устройства доставки аэрозоля являются одним из примеров устройства, которое может быть ограничено, и аутентификации может способствовать присвоение серийных номеров, по меньшей мере, одному компоненту. Устройства доставки аэрозоля дополнительно описаны со ссылкой на фиг. 1-10, и картридж устройства доставки аэрозоля является компонентом, которому в одном примере присвоен уникальный идентификатор или серийный номер. В других примерах устройство может представлять собой устройство нагрева без горения, в котором в качестве расходного материала используется элемент источника аэрозоля, а не картридж. Устройства доставки аэрозоля могут быть сконфигурированы для производства аэрозоля (вдыхаемого вещества) из композиции прекурсора аэрозоля (иногда называемой носителем для вдыхаемого вещества). Композиция прекурсора аэрозоля может включать в себя одно или более из твердого табачного материала, полутвердого табачного материала или жидкой композиции прекурсора аэрозоля. В некоторых вариантах реализации устройства для доставки аэрозоля могут быть выполнены с возможностью нагревания и образования аэрозоля из жидкой композиции прекурсора аэрозоля (например, жидкой композиции прекурсора аэрозоля). Дополнительно или альтернативно композиция прекурсора аэрозоля может содержать одно или более веществ, упомянутых выше, включающих в себя, помимо прочего, растительные вещества, лекарственные вещества, спирт, глицерин, и может включать в себя никотин, тетрагидроканнабинол (THC), каннабидиол (CBD) или другие активные ингредиенты. Такие устройства для доставки аэрозолей могут включать в себя так называемые электронные сигареты. В других реализациях устройства для доставки аэрозоля могут содержать устройства нагрева без горения. В других реализациях устройства для доставки аэрозоля могут содержать устройства без нагрева и без горения.
[0034] Жидкая композиция прекурсора аэрозоля, также называемая композицией прекурсора пара или "электронная жидкость", особенно полезна для электронных сигарет и устройств без нагрева и без горения. Жидкая композиция прекурсора аэрозоля может содержать множество компонентов, в том числе, например, многоатомный спирт (например, глицерин, пропиленгликоль или их смесь), никотин, табак, табачный экстракт и/или ароматизаторы. В некоторых примерах композиция прекурсора аэрозоля содержит глицерин и никотин. В других примерах композиция может дополнительно или альтернативно включать в себя спирт, другие растительные вещества, другие лекарственные вещества или может включать в себя в себя тетрагидроканнабинол (THC), каннабидиол (CBD) или другие активные ингредиенты или некоторые их комбинации.
[0035] Некоторые жидкие композиции прекурсора аэрозоля, которые можно использовать в сочетании с различными реализациями, могут включать в себя одну или более кислот, таких как левулиновая кислота, янтарная кислота, молочная кислота, пировиноградная кислота, бензойная кислота, фумаровая кислота, их комбинации и тому подобное. Включение кислоты (кислот) в жидкие композиции прекурсора аэрозоля, в том числе, никотина, может обеспечивать получение протонированной жидкой композиции прекурсора аэрозоля, включающей в себя никотин в форме соли. Типичные типы компонентов и составов прекурсоров жидких аэрозолей изложены и охарактеризованы в патенте США № 7726320 на имя Robinson и др.; патенте США № 9254002 на имя Chong и др.; и публикациях заявок на патент США № 2013/0008457 на имя Zheng и др., 2015/0020823 на имя Lipowicz и др., и 2015/0020830 на имя Koller; а также публикации заявки на патент PCT № WO 2014/182736 на имя Bowen и др.; и патенте США № 8881737 на имя Collett и др., описания которых включены в настоящий документ посредством ссылки. Другие прекурсори аэрозолей, которые можно использовать, включают в себя прекурсори аэрозолей, которые были включены в любой из ряда типичных продуктов, указанных выше. Также желательны так называемые "дымовые соки" для электронных сигарет, которые поставляет Johnson Creek Enterprises LLC. Еще один пример композиций прекурсоров аэрозолей продается под торговыми марками BLACK NOTE, COSMIC FOG, THE MILKMAN E-LIQUID, FIVE PAWNS, THE VAPOR CHEF, VAPE WILD, BOOSTED, STEAM FACTORY, MECH SAUCE, CASEY JONES MAINLINE RESERVE, MIT , DR CRIMMY'S V-LIQUID, SMILEY E LIQUID, BEANTOWN VAPOR, CUTTWOOD, CYCLOPS VAPOR, SICBOY, GOOD LIFE VAPOR, TELEOS, PINUP VAPORS, SPACE JAM, MT BAKER VAPOR и JIMMY THE JUICE MAN. Реализации шипучих материалов можно использовать с прекурсором аэрозоля, и они описаны в качестве примера в публикации заявки на патент США № 2012/0055494 на имя Hunt и др., которая включена в настоящее описание в качестве ссылки. Кроме того, использование шипучих материалов описано, например, в патенте США № 4639368 на имя Niazi и др.; патенте США № 5178878 на имя Wehling и др.; патенте США № 5223264 на имя Wehling и др.; патенте США № 6974590 на имя Pather и др.; патенте США № 7381667 на имя Bergquist и др.; патенте США № 8424541 на имя Crawford и др.; патенте США № 8627828 на имя Strickland и др.; и патенте США № 9307787 на имя Sun и др.; а также в публикации заявки на патент США № 2010/0018539 на имя Brinkley и др. и публикации заявки на патент РСТ № WO 97/06786 на имя Johnson и др., все из которых включены в настоящий документ посредством ссылки.
[0036] Типичные типы подложек, резервуаров или других компонентов для поддержки прекурсора аэрозоля описаны в патенте США № 8528569 на имя Newton; публикации заявки на патент США № 2014/0261487 на имя Chapman и др.; публикации заявки на патент № 2015/0059780 на имя Davis и др.; и публикации заявки на патент США № 2015/0216232 на имя Bless и др., все из которых включены в настоящий документ посредством ссылки. Кроме того, различные впитывающие материалы, а также конфигурация и работа этих впитывающих материалов в определенных типах электронных сигарет изложены в патенте США № 8910640 на имя Sears и др., который включен в настоящее описание в качестве ссылки.
[0037] В других вариантах реализации устройства для доставки аэрозолей могут содержать устройства без нагрева и без горения, сконфигурированные для нагрева твердой композиции прекурсора аэрозоля (например, экструдированного табачного стержня) или полутвердой композиции прекурсора аэрозоля (например, табачной пасты, содержащей глицерин). Композиция прекурсора аэрозоля может включать в себя табакосодержащие гранулы, куски табака, табачные полоски, восстановленный табачный материал или их комбинации, и/или смесь тонкоизмельченного табака, табачного экстракта, высушенного распылением табачного экстракта или другой табачной формы, смешанной с необязательными неорганические материалы (такие как карбонат кальция), необязательные ароматизаторы и материалы, образующие аэрозоль, для образования по существу твердого или формуемого (например, экструдируемого) субстрата. Типичные типы твердых и полутвердых композиций и составов прекурсоров аэрозолей раскрыты в патенте США № 8424538 на имя Thomas и др.; патенте США № 8464726 на имя Sebastian и др.; публикации заявки на патент США № 2015/0083150 на имя Conner и др.; публикации заявки на патент США № 2015/0157052 на имя Ademe и др.; и публикации заявки на патент США № 2017/0000188 на имя Nordskog и др., все из которых включены в настоящий документ посредством ссылки. Другие репрезентативные типы твердых и полутвердых композиций и композиций прекурсоров аэрозолей включают в себя те, которые содержатся в элементах-источниках потребляемого аэрозоля NEOSTIKS ™ для продукта GLO ™ от British American Tobacco и в элементах-источниках потребляемого аэрозоля HEETS ™ для продукта IQOS ™ от Philip Morris International, Inc.
[0038] В различных вариантах реализации вдыхаемое вещество, в частности, может быть табачным компонентом или материалом, полученным из табака (т.е. материалом, который естественным образом содержится в табаке, который может быть выделен непосредственно из табака или получен синтетическим путем). Например, композиция прекурсора аэрозоля может содержать экстракты табака или их фракции, объединенные с инертным субстратом. Композиция прекурсора аэрозоля может дополнительно включать в себя несгоревший табак или композицию, содержащую несгоревший табак, которая при нагревании до температуры ниже температуры его горения выделяет вдыхаемое вещество. В некоторых вариантах реализации композиция прекурсора аэрозоля может содержать табачные конденсаты или их фракции (т.е. конденсированные компоненты дыма, образующегося при сгорании табака, оставляющие ароматизаторы и, возможно, никотин).
[0039] В других реализациях бездымный табак и другие табачные изделия могут быть примерами товара с ограничением по возрасту, а не устройства ENDS. Типичные товары бездымного табака, которые могут продаваться, могут включать в себя те, которые называются CAMEL Snus, CAMEL Orbs, CAMEL Strips и CAMEL Sticks от RJ Reynolds Tobacco Company; влажный табак GRIZZLY, влажный табак KODIAK, рассыпной табак LEVI GARRETT и рассыпной табак TAYLOR'S PRIDE от American Snuff Company, LLC; влажный нюхательный табак KAYAK и жевательный табак CHATTANOOGA CHEW от Swisher International, Inc.; жевательный табак REDMAN от Pinkerton Tobacco Co LP; Влажный табак COPENHAGEN, мешочки COPENHAGEN, SKOAL Bandits, мешочки SKOAL, RED SEAL длинный отруб и табачные пачки REVEL Mint от US Smokeless Tobacco Company; и MARLBORO Snus и Taboka от Philip Morris USA. Типичные типы нюхательных товаров, обычно называемые "снюс", могут производиться в Европе, особенно в Швеции, такими компаниями, как Swedish Match AB, Fiedler & Lundgren AB, Gustavus AB, Skandinavisk Tobakskompagni A/S и Rocker Production AB, или через них. Продукты снюса, ранее или доступные в настоящее время в США, продавались под торговыми наименованиями, такими как CAMEL Snus Frost, CAMEL Snus Original и CAMEL Snus Spice, CAMEL Snus Mint, CAMEL Snus Mellow, CAMEL Snus Winterchill и CAMEL Snus Robust от RJ Reynolds Tobacco Company. Бездымные табачные изделия расфасовывались в банки, "шайбы" или "горшки". Другие примеры товаров включают в себя никотиновые леденцы, такие как никотиновые леденцы REVEL (товар RJ Reynolds Vapor Company), и не содержащие табака никотиновые упакованные товары, такие как ZYN производства Swedish Match и LYFT.
[0040] Табачные материалы, используемые в настоящем описании, могут варьироваться и могут включать в себя, например, табак дымовой сушки, табак Берлей, восточный табак или табак Мэриленд, темный табак, темный обоженный табак и табаки Rustica, а также другие редкие или специальные табаки или их смеси. Табачные материалы также могут включать в себя так называемые "смешанные" формы и обработанные формы, такие как обработанные табачные стебли (например, нарезанные скрученные или нарезанные-воздушные стебли), увеличенный в объеме табак (например, воздушный табак, такой как расширенный табак с сухим льдом (DIET), предпочтительно в форме нарезанного наполнителя), восстановленные табаки (например, восстановленные табаки, произведенные с использованием процессов изготовления бумаги или литых листов). Различные репрезентативные типы табака, обработанные типы табака и типы табачных смесей изложены в патентах США №№ 4836224 на имя Lawson и др., 4924888 на имя Perfetti и др., 5056537 на имя Brown и др., 5159942 на имя Brinkley и др., 5220930 на имя Gentry, 5360023 на имя Blakley и др., 6701936 на имя Shafer и др., 7011096 на имя Li и др., 7017585 на имя Li и др. и 7025066 на имя Lawson и др.; в публикации заявки на патент США № 2004/0255965 на имя Perfetti и др.; публикации заявки на патент США № WO 02/37990 на имя Bereman; и Bombick и др., Fund Appl Toxicol., 39, p. 11-17 (1997), которые включены в настоящее описание в качестве ссылки. Дополнительные примеры табачных композиций, которые могут быть полезны в курительном устройстве, в том числе в соответствии с настоящим раскрытием, раскрыты в патенте США № 7726320 на имя Robinson и др., который включен сюда в качестве ссылки.
[0041] Кроме того, композиция прекурсора аэрозоля может содержать инертный субстрат, содержащий ингаляционное вещество или его прекурсор, интегрированное в него или иным образом нанесенное на него. Например, жидкость, содержащая вдыхаемое вещество, может быть нанесена на, абсорбирована на или адсорбирована в инертном субстрате, так что при приложении тепла вдыхаемое вещество высвобождается в форме, которая может быть извлечена из изделия по настоящему изобретению посредством приложения положительного или отрицательного давления. В некоторых аспектах композиция прекурсора аэрозоля может включать в себя смесь насыщенных и ароматных табаков в форме нарезанного наполнителя. В другом аспекте композиция прекурсора аэрозоля может содержать восстановленный табачный материал, такой как описанный в патенте США № 4807809 на имя Pryor и др.; патенте США № 4889143 на имя Pryor и др.; и патенте США № 5025814 на имя Raker, описания которых включены в настоящий документ посредством ссылки. Для получения дополнительной информации относительно подходящей композиции прекурсора аэрозоля см. регистрационный номер заявки на патент США 15/916834 на имя Sur и др., поданной 9 марта 2018 года, которая включена в настоящий документ посредством ссылки.
[0042] Независимо от типа композиции прекурсора аэрозоля, устройства для доставки аэрозоля могут включать в себя компонент образования аэрозоля, сконфигурированный для образования аэрозоля из композиции прекурсора аэрозоля. Например, в случае электронной сигареты или устройства нагрева без горения, производящий аэрозоль компонент может быть или включать в себя нагревательный элемент. В случае устройства без нагрева и без горения в некоторых примерах компонент образования аэрозоля может быть или включать в себя вибрирующую пьезоэлектрическую или пьезомагнитную сетку. Другими словами, может не быть нагревательного элемента для производства аэрозоля. Устройство доставки аэрозоля в некоторых вариантах осуществления может включать в себя комбинацию элементов для обеспечения компонента для производства аэрозоля, который может включать в себя как нагревательный элемент, так и дополнительный элемент, такой как вибрирующий компонент для производства аэрозоля (например, вибрирующий пьезокерамический и/или другой пьезоэлектрический или пьезомагнитный материал), которые взаимодействуют для производства аэрозоля из композиции прекурсора аэрозоля.
[0043] Одним из примеров подходящего нагревательного элемента является индукционный нагреватель. Такие нагреватели часто содержат индукционный передатчик и индукционный приемник. Индукционный передатчик может включать в себя катушку, сконфигурированную для создания осциллирующего магнитного поля (например, магнитного поля, которое периодически изменяется со временем), когда через нее проходит переменный ток. Индукционный приемник может быть, по меньшей мере, частично расположен или приниматься внутри индукционного передатчика и может включать в себя проводящий материал (например, ферромагнитный материал или материал с алюминиевым покрытием). Пропуская переменный ток через индукционный передатчик, в индукционном приемнике могут генерироваться вихревые токи за счет индукции. Вихревые токи, протекающие через сопротивление материала, определяющего индукционный приемник, могут нагревать его за счет джоулева нагрева (т.е., за счет эффекта Джоуля). Индукционный приемник, который может представлять собой распылитель, может быть нагрет беспроводным образом для образования аэрозоля из композиции прекурсора аэрозоля, расположенной рядом с индукционным приемником. Различные реализации устройства для доставки аэрозоля с индукционным нагревателем описаны в публикации заявки на патент США № 2017/0127722 на имя Davis и др.; публикации заявки на патент США № 2017/0202266 на имя Sur и др.; заявке на патент США с серийным номером 15/352153 на имя Sur и др., поданной 15 ноября 2016 г.; заявке на патент США с серийным номером 15/799365 на имя Sebastian и др, поданной 31 октября 2017 г.; и заявке на патент США с серийным номером 15/836086 на имя Sur, все из которых включены в настоящее описание в качестве ссылки.
[0044] В других реализациях, включающих в себя те, которые описаны здесь более конкретно, нагревательный элемент представляет собой токопроводящий нагреватель, например, в случае резистивного электрического нагревателя. Эти нагреватели могут быть сконфигурированы так, чтобы производить тепло, когда через них проходит электрический ток. В различных реализациях токопроводящий нагреватель может быть выполнен в различных формах, например в форме фольги, пены, дисков, спиралей, волокон, проволоки, пленок, пряжи, полос, лент или цилиндров. Такие нагреватели часто содержат металлический материал и сконфигурированы для выработки тепла в результате электрического сопротивления, связанного с прохождением через него электрического тока. Такие резистивные нагреватели могут быть расположены рядом с композицией-прекурсором аэрозоля и нагревать ее для образования аэрозоля. Множество проводящих подложек, которые могут быть использованы с настоящим раскрытием, описаны в цитируемой выше публикации заявки на патент США № 2013/0255702 на имя Griffith и др.
[0045] В некоторых реализациях устройства для доставки аэрозоля могут включать в себя управляющий элемент и картридж в случае так называемых электронных сигарет или устройств без нагрева и без горения, или управляющий элемент и элемент источника аэрозоля в случае устройств нагрева без горения. Картридж может быть одним из примеров расходных материалов для устройства, и ссылка на картридж может включать в себя другие расходные материалы. Другие примеры элемента источника аэрозоля могут включать в себя "стик", который может содержать табак, табачный экстракт, формирователь аэрозоля, никотин и/или другой активный ингредиент, который можно использовать в устройстве нагрева без горения. Например, элементы-источники потребляемых аэрозолей NEOSTIKS ™ для продукта GLO ™ от British American Tobacco и элементы-источники потребляемых аэрозолей HEETS ™ для продукта IQOS ™ от Philip Morris International, Inc.
[0046] В случае электронных сигарет или устройств нагрева без горения, управляющий элемент может быть многоразовым, тогда как элемент картриджа/источника аэрозоля может быть сконфигурирован для ограниченного числа применений и/или сконфигурирован для одноразового использования. Различные механизмы могут соединять картридж/элемент источника аэрозоля с управляющим элементом для обеспечения резьбового зацепления, зацепления с прессовой посадкой, посадки с натягом, скользящей посадки, магнитного зацепления и т.п.
[0047] Управляющий элемент и картридж/элемент источника аэрозоля могут включать в себя отдельные соответствующие корпуса или внешние элементы, которые могут быть сформированы из любого из ряда различных материалов. Корпус может быть изготовлен из любого подходящего конструктивно прочного материала. В некоторых примерах корпус может быть выполнен из металла или сплава, такого как нержавеющая сталь, алюминий или тому подобное. Другие подходящие материалы включают в себя различные пластмассы (например, поликарбонат), металлическое покрытие поверх пластика, керамику и тому подобное.
[0048] Картридж (например, элемент источника аэрозоля) может включать в себя композицию прекурсора аэрозоля. Для образования аэрозоля из композиции прекурсора аэрозоля, компонент образования аэрозоля (например, нагревательный элемент, пьезоэлектрическая/пьезомагнитная сетка) может быть расположен в контакте с композицией прекурсора аэрозоля или рядом с ней, например, поперек корпуса и картриджа или внутри управляющего элемента, в котором может быть расположен элемент источника аэрозоля. Управляющий элемент может включать в себя источник питания, который может быть перезаряжаемым или заменяемым, и, таким образом, управляющий элемент можно повторно использовать с несколькими картриджами/элементами источника аэрозоля.
[0049] Управляющий элемент может также включать в себя средства для активации устройства для доставки аэрозоля, такие как кнопка, сенсорная поверхность и т.п. для ручного управления устройством. Дополнительно или альтернативно, управляющий элемент может включать в себя датчик потока для обнаружения, когда пользователь затягивает картридж/элемент источника аэрозоля, чтобы тем самым активировать устройство для доставки аэрозоля. В некоторых вариантах осуществления управляющий элемент может включать в себя нагревательный элемент, а не находиться в расходном материале или картридже в других вариантах осуществления.
[0050] В различных вариантах реализации устройство для доставки аэрозоля согласно настоящему раскрытию может иметь множество общих форм, включающих в себя, но не ограничиваясь этим, общую форму, которая может быть определена как по существу стержнеобразная, по существу трубчатая или по существу цилиндрическая форма. В реализациях, показанных и описанных со ссылкой на прилагаемые чертежи, устройство для доставки аэрозоля имеет по существу круглое поперечное сечение; однако другие формы поперечного сечения (например, овал, квадрат, прямоугольник, треугольник и т.д.) также охватываются настоящим раскрытием. Такой язык, который описывает физическую форму изделия, может также применяться к его отдельным компонентам, включающих в себя управляющий элемент и картридж/элемент источника аэрозоля. В других реализациях управляющий элемент может принимать другую форму портативного устройства, например форму небольшой коробки.
[0051] В более конкретных реализациях один или оба из управляющего элемента и картриджа/элемента источника аэрозоля могут называться одноразовыми или многоразовыми. Например, управляющий элемент может иметь источник питания, такой как сменная батарея или перезаряжаемая батарея, SSB, тонкопленочный SSB, перезаряжаемый суперконденсатор, литий-ионный или гибридный литий-ионный суперконденсатор и т.п. Одним из примеров источника питания является перезаряжаемая литий-ионная батарея TKI-1550, производимая немецкой компанией Tadiran Batteries GmbH. В другом варианте осуществления полезным источником питания может быть никель-кадмиевый элемент N50-AAA CADNICA, производимый Sanyo Electric Company, Ltd, Япония. В других реализациях множество таких батарей, например, каждая на 1,2 В, может быть подключено последовательно. В некоторых реализациях источник питания сконфигурирован для обеспечения выходного напряжения. Источник питания может приводить в действие компонент образования аэрозоля, который способен производить аэрозоль из композиции прекурсора аэрозоля. Источник питания может быть соединен с любым типом технологии подзарядки, например с зарядным аксессуаром, как дополнительно обсуждается ниже.
[0052] Примеры источников питания описаны в патенте США № 9484155 на имя Peckerar и др.; и публикации заявки на патент США № 2017/0112191 на имя Sur и др., поданной 21 октября 2015 года, раскрытие которых включено в настоящий документ посредством ссылки. Другие примеры подходящего источника питания представлены в публикации заявки на патент США № 2014/0283855 на имя Hawes и др, публикации заявки на патент США № 2014/0014125 на имя Fernando и др, публикации заявки на патент США № 2013/0243410 на имя Nichols и др., публикации заявки на патент США № 2010/0313901 на имя Fernando и др. и патенте США № 9439454 на имя Fernando и др., все из которых включены в настоящий документ посредством ссылки. Что касается датчика потока, типичные компоненты регулирования тока и другие компоненты регулирования тока, включающие в себя различные микроконтроллеры, датчики и переключатели для устройств доставки аэрозоля, описаны в патенте США № 4735217 на имя Gerth и др.; патентах США 4922901, 4947874 и 4947875, все на имя Brooks и др.; патенте США № 5372148 на имя McCafferty и др.; патенте США № 6040560 на имя Fleischhauer и др.; патенте США № 7040314 на имя Nguyen и др.; патенте США № 8205622 на имя Pan; публикации заявки на патент США № 8881737 на имя Collet и др.; патенте США № 9423152 на имя Ampolini и др.; патенте США № 9439454 на имя Fernando и др.; и публикации заявки на патент США № 2015/0257445 на имя Генри и др., все из которых включены в настоящий документ посредством ссылки.
[0053] Дополнительные примеры компонентов, относящиеся к электронным изделиям для доставки аэрозолей и раскрывающие материалы или компоненты, которые могут быть использованы в настоящей статье, включают в себя патент США № 4735217 на имя Gerth и др.; патент США № 5249586 на имя Morgan и др.; патент США № 5666977 на имя Higgins и др.; патент США № 6053176 на имя Adams и др.; патент США № 6164287 на имя White; патент США № 6196218 на имя Voges; патент США № 6810883 на имя Felter и др.; патент США № 6854461 на имя Nichols; патент США № 7832410 на имя Hon; патент США № 7513253 на имя Kobayashi; патент США № 7896006 на имя Hamano; патент США № 6772756 на имя Shayan; патенты США № 8156944 и 8375957 на имя Hon; патент США № 8794231 на имя Thorens и др.; патент США № 8851083 на имя Oglesby и др.; патенты США № 8915254 и 8925555 на имя Monsees и др.; патент США № 9220302 на имя DePiano и др.; публикации заявки на патент США № 2006/0196518 и 2009/0188490 на имя Hon; публикация заявки на патент США № 2010/0024834 на имя Oglesby и др.; Публикация приложения US Pat № 2010/0307518 на имя Wang; публикация заявки на патент США № WO 2010/091593 на имя Hon; и публикация заявки на патент РСТ № WO 2013/089551 на имя Foo, каждая из которых включена в настоящий документ посредством ссылки. Кроме того, в публикации заявки на патент США № 2017/0099877 на имя Worm и др., описаны капсулы, которые могут быть включены в устройства для доставки аэрозоля, и конфигурации в форме брелока для устройств для доставки аэрозолей, и она включена в настоящее описание в качестве ссылки. Разнообразные материалы, раскрытые в вышеупомянутых документах, могут быть включены в настоящие устройства в различных реализациях, и все вышеизложенные описания включены в настоящее описание посредством ссылки.
[0054] Еще другие особенности, элементы управления или компоненты, которые могут быть включены в устройства для доставки аэрозолей по настоящему изобретению, описаны в патенте США № 5967148 на имя Harris и др.; патенте США № 5934289 на имя Watkins и др.; патенте США № 5954979 на имя Counts и др.; патенте США № 6040560 на имя Fleischhauer и др.; патенте США № 8365742 на имя Hon; патенте США № 8402976 на имя Fernando и др.; публикации заявки на патент США № 2005/0016550 на имя Katase; патенте США № 8689804 на имя Fernando и др.; публикации заявки на патент США № 2013/0192623 на имя Tucker и др.; патенте США № 9427022 на имя Leven и др.; публикации заявки на патент США № 2013/0180553 на имя Kim и др.; публикации заявки на патент США № 2014/0000638 на имя Sebastian и др.; публикации заявки на патент США № 2014/0261495 на имя Novak и др.; и патенте США № 9220302 на имя DePiano и др., все из которых включены в настоящее описание в качестве ссылки.
[0055] В другом аспекте настоящее раскрытие может быть направлено на комплекты, которые обеспечивают множество компонентов, как описано в данном документе. Например, комплект может содержать управляющий элемент с одним или более картриджами или элементами источника аэрозоля. Комплект может дополнительно включать в себя зарядный аксессуар, описанный ниже, вместе с одной или более батареями, и управляющий элемент с одним или более картриджами. Комплект может дополнительно включать в себя зарядный аксессуар, описанный ниже, и управляющий элемент с одним или более картриджами. Комплект может дополнительно включать в себя зарядный аксессуар, описанный ниже, вместе с одной или более батареями. В дополнительных вариантах осуществления комплект может содержать множество картриджей. Комплект может дополнительно содержать множество картриджей и одну или более батарей и/или зарядный аксессуар, описанный ниже. В вышеупомянутых вариантах осуществления картриджи или управляющие элементы могут быть снабжены нагревательным элементом, включающим их. Комплекты по изобретению могут дополнительно включать в себя футляр (или другой компонент упаковки, переноски или хранения), в котором размещены один или более дополнительных компонентов комплекта. В качестве альтернативы, зарядный аксессуар может входить в состав одного из комплектов. Футляр может быть многоразовым жестким или мягким контейнером. Кроме того, футляр может быть просто коробкой или другой упаковочной структурой.
[0056] Фиг. 1 и 2 иллюстрируют реализации устройства для доставки аэрозоля, включающего в себя управляющий элемент и картридж, в случае электронной сигареты. В этом отношении на фиг. 1 и 2 показано устройство 100 для доставки аэрозоля согласно примерному варианту осуществления настоящего раскрытия. Как указано, устройство для доставки аэрозоля может включать в себя управляющий элемент 102 и картридж 104. Как описано ниже, картридж 104 может быть компонентом, имеющим уникальный серийный номер, который используется для аутентификации пользователя и верификации возраста. Другие компоненты могут быть зарегистрированы с серийным номером, ограничивающим использование, но картридж - это пример, описанный ниже. Управляющий элемент и картридж могут быть постоянно или съемным образом выровнены в функциональном отношении. В этом отношении на фиг. 1 показан вид в перспективе устройства для доставки аэрозоля в соединенной конфигурации, тогда как на фиг. 2 показан вид сбоку с частичным вырезом устройства для доставки аэрозоля в разъединенной конфигурации. Устройство для доставки аэрозоля может быть, например, по существу стержневидным, по существу трубчатым или по существу цилиндрическим в некоторых вариантах реализации, когда управляющий элемент и картридж находятся в собранной конфигурации.
[0057] Управляющий элемент 102 и картридж 104 могут быть выполнены с возможностью зацепления друг с другом посредством множества соединений, таких как соединение с прессовой посадкой (или посадкой с натягом), резьбовое соединение, магнитное соединение и т.п. По существу, управляющий элемент может включать в себя первый зацепляющий элемент (например, соединитель), который приспособлен для зацепления второго зацепляющего элемента (например, соединителя) на картридже. Первый зацепляющий элемент и второй зацепляющий элемент могут быть двусторонними. В качестве примера, либо первый зацепляющий элемент, либо второй зацепляющий элемент может быть наружной резьбой, а другой - внутренней резьбой. В качестве дополнительного примера, либо первый зацепляющий элемент, либо второй зацепляющий элемент может быть магнитом, а другой может быть металлическим или согласующим магнитом. В конкретных реализациях зацепляющие элементы могут определяться непосредственно существующими компонентами управляющего элемента и картриджа. Например, корпус управляющего элемента может определять полость на своем конце, которая сконфигурирована для приема, по меньшей мере, фрагмента картриджа (например, резервуара для хранения или другого образующего оболочку элемента картриджа). В частности, резервуар для хранения картриджа может, по меньшей мере, частично входить в полость управляющего элемента, в то время как мундштук картриджа остается открытым вне полости управляющего элемента. Картридж может удерживаться внутри полости, образованной корпусом управляющего элемента, например, с помощью посадки с натягом (например, с помощью фиксаторов и/или других элементов, создающих зацепление с натягом между внешней поверхностью картриджа и внутренней поверхностью стенки, образующей полость управляющего элемента), посредством магнитного зацепления (например, посредством использования магнитов и/или магнитных металлов, расположенных внутри полости управляющего элемента и размещенных на картридже), или с помощью других подходящих технологий.
[0058] Как видно в разрезе, показанном на фиг. 2, каждый управляющий элемент 102 и картридж 104 включают в себя ряд соответствующих компонентов. Компоненты, показанные на фиг. 2, представляют собой компоненты, которые могут присутствовать в управляющем элементе и картридже, и не предназначены для ограничения объема компонентов, охватываемых настоящим раскрытием. Как показано, например, управляющий элемент 102 может состоять из корпуса 206 (иногда называемого оболочкой управляющего элемента), который может включать в себя управляющий компонент 208 (например, схему обработки и т.д.), датчик 210 потока, источник 212 питания (например, батарея, суперконденсатор) и индикатор 214 (например, светодиод, светодиод на основе квантовых точек), и такие компоненты могут быть различным образом выстроены. Источник питания может быть перезаряжаемым, а управляющий компонент может включать в себя переключатель и схему обработки, соединенные с датчиком потока и переключателем. Схема обработки может быть сконфигурирована для предотвращения доступа (блокировки) устройства в зависимости от статуса верификации возраста. В одном варианте осуществления управляющий элемент 102 может называться батарейным блоком.
[0059] Картридж 104 может быть образован из корпуса 216 (иногда называемого оболочкой картриджа), охватывающего резервуар 218, сконфигурированный для удержания композиции прекурсора аэрозоля, и включающего в себя нагревательный элемент 220 (компонент образования аэрозоля). В различных конфигурациях эта конструкция может называться сосудом; и, соответственно, термины "картридж", "сосуд" и т.п. могут использоваться взаимозаменяемо для обозначения оболочки или другого корпуса, охватывающего резервуар для композиции прекурсора аэрозоля и включающего в себя нагревательный элемент.
[0060] Как показано, в некоторых примерах, резервуар 218 может сообщаться с возможностью обмена текучей средой с элементом 222 переноса жидкости, приспособленным для впитывания или переноса иным образом композиции прекурсора аэрозоля, хранящейся в корпусе резервуара, к нагревательному элементу 220. В некоторых примерах клапан может быть расположен между резервуаром и нагревательным элементом и сконфигурирован для регулирования количества композиции прекурсора аэрозоля, проходящей или доставленной из резервуара к нагревательному элементу.
[0061] Для формирования нагревательного элемента 220 могут использоваться различные примеры материалов, сконфигурированных для выработки тепла при пропускании через них электрического тока. Нагревательный элемент в этих примерах может быть резистивным нагревательным элементом, таким как проволочная катушка, микронагреватель и т.п. Примеры материалов, из которых может быть изготовлен нагревательный элемент, включают в себя кантал (FeCrAl), нихром, никель, нержавеющую сталь, оксид индия и олова, вольфрам, дисилицид молибдена (MoSi2), силицид молибдена (MoSi), дисилицид молибдена, легированный алюминием (Mo(Si, Al)2), титан, платину, серебро, палладий, сплавы серебра и палладия, графит и материалы на основе графита (например, пены и нити на основе углерода), проводящие чернила, кремнезем, легированный бором, и керамику (например, керамику с положительным или отрицательным температурным коэффициентом). Нагревательный элемент может быть резистивным нагревательным элементом или нагревательным элементом, сконфигурированным для формирования тепла за счет индукции. Нагревательный элемент может быть покрыт теплопроводной керамикой, такой как нитрид алюминия, карбид кремния, оксид бериллия, оксид алюминия, нитрид кремния или их композиты. Примеры реализации нагревательных элементов, используемых в устройствах для доставки аэрозолей согласно настоящему раскрытию, дополнительно описаны ниже и могут быть включены в такие устройства, как описанные здесь.
[0062] В корпусе 216 может быть отверстие 224 (например, на конце мундштука), чтобы обеспечить выход сформированного аэрозоля из картриджа 104.
[0063] Картридж 104 также может включать в себя один или более электронных компонентов 226, которые могут включать в себя интегральную схему, компонент памяти (например, EEPROM, флэш-память), датчик и т.п. Электронные компоненты могут быть адаптированы для связи с управляющим компонентом 208 и/или с внешним устройством с помощью проводных или беспроводных средств. Электронные компоненты могут быть расположены в любом месте картриджа или его основания 228.
[0064] Хотя управляющий компонент 208 и датчик 210 потока показаны отдельно, понятно, что различные электронные компоненты, включающие в себя управляющий компонент и датчик потока, могут быть объединены на печатной плате (например, PCB), которая поддерживает и электрически соединяет электронные компоненты. Кроме того, печатная плата может быть расположена горизонтально относительно иллюстрации на фиг. 1, так что печатная плата может быть в продольном направлении параллельна центральной оси управляющего элемента. В некоторых примерах датчик воздушного потока может содержать свою собственную печатную плату или другой базовый элемент, к которому он может быть прикреплен. В некоторых примерах может использоваться гибкая печатная плата. Гибкая печатная плата может иметь множество форм, включающих в себя по существу трубчатые формы. В некоторых примерах гибкая печатная плата может быть объединена с подложкой нагревателя, наложена на нее или образовывать часть или всю подложку нагревателя.
[0065] Управляющий элемент 102 и картридж 104 могут включать в себя компоненты, приспособленные для облегчения взаимодействия посредством текучей среды между ними. Как проиллюстрировано на фиг. 2, управляющий элемент может включать в себя соединитель 230, имеющий в нем полость 232. Основание 228 картриджа может быть приспособлено для зацепления с соединителем и может включать в себя выступ 234, приспособленный для размещения внутри полости. Такое зацепление может способствовать стабильному соединению между управляющим элементом и картриджем, а также устанавливать электрическое соединение между источником 212 питания и управляющим компонентом 208 в управляющем элементе и нагревательным элементом 220 в картридже. Кроме того, корпус 206 может включать в себя воздухозаборник 236, который может быть вырезом в корпусе, где он соединяется с соединителем, что позволяет пропускать окружающий воздух вокруг соединителя и в корпус, где он затем проходит через полость 232 соединителя и в картридж через выступ 234.
[0066] Соединитель и основание, применимые в соответствии с настоящим раскрытием, описаны в публикации заявки на патент США № 2014/0261495 на имя Novak и др., которая включена в настоящее описание в качестве ссылки. Например, соединитель 230, показанный на фиг. 2, может определять внешнюю периферию 238, сконфигурированную для сопряжения с внутренней периферией 240 основания 228. В одном примере внутренняя периферия основания может определять радиус, который по существу равен или немного больше радиуса внешней периферии соединителя. Кроме того, соединитель может образовывать один или более выступов 242 на внешней периферии, сконфигурированных для зацепления с одним или более углублениями 244, образованными на внутренней периферии основания. Однако для соединения основания с соединителем могут использоваться различные другие примеры структур, форм и компонентов. В некоторых примерах соединение между основанием картриджа 104 и соединителем управляющего элемента 102 может быть по существу постоянным, тогда как в других примерах соединение между ними может быть разъединяемым, так что, например, управляющий элемент можно повторно использовать с одним или более дополнительными картриджами, которые могут быть одноразовыми и/или многоразовыми.
[0067] Резервуар 218, показанный на фиг. 2, может быть контейнером или волокнистым резервуаром, как здесь описано. Например, резервуар может содержать один или более слоев нетканых волокон, по существу сформированных в форме трубки, охватывающей внутреннюю часть корпуса 216, в этом примере. Композиция прекурсор аэрозоля может оставаться в резервуаре. Жидкие компоненты, например, могут сорбционно удерживаться резервуаром. Резервуар может быть соединен с возможностью обмена текучей средой с элементом 222 переноса жидкости. Элемент переноса жидкости может переносить композицию прекурсора аэрозоля, хранящуюся в резервуаре, за счет капиллярного действия - или через микронасос - к нагревательному элементу 220, который в этом примере представляет собой спираль из металлической проволоки. Таким образом, нагревательный элемент находится в системе нагрева с элементом переноса жидкости.
[0068] В некоторых примерах микрожидкостная микросхема может быть встроена в резервуар 218, и количество и/или масса композиции прекурсора аэрозоля, доставляемой из резервуара, может контролироваться микронасосом, например насосом, основанным на технологии микроэлектромеханических систем (MEMS). Другие примерные реализации резервуаров и элементов переноса, используемых в устройствах для доставки аэрозолей в соответствии с настоящим раскрытием, дополнительно описаны здесь, и такие резервуары и/или элементы переноса могут быть включены в устройства, такие как описанные здесь. В частности, определенные комбинации нагревательных элементов и элементов переноса, как дополнительно описано здесь, могут быть включены в устройства, такие как описанные здесь.
[0069] При использовании, когда пользователь затягивает устройство 100 для доставки аэрозоля, воздушный поток обнаруживается датчиком 210 потока, и нагревательный элемент 220 активируется для испарения компонентов композиции прекурсора аэрозоля. Втягивание мундштука устройства для доставки аэрозоля заставляет окружающий воздух поступать в воздухозаборник 236 и проходить через полость 232 в соединителе 230 и центральное отверстие в выступе 234 основания 228. В картридже 104 втянутый воздух объединяется с образовавшимся паром, чтобы образовывать аэрозоль. Аэрозоль отгоняется, отсасывается или иным образом отводится от нагревательного элемента и выходит из отверстия 224 в мундштуке устройства для доставки аэрозоля.
[0070] Для получения дополнительных подробностей относительно реализации устройства для доставки аэрозоля, включающего в себя управляющий элемент и картридж в случае электронной сигареты, см. процитированную выше заявку на патент США с серийным номером 15/836086 на имя Sur; и заявку на патент США с серийным номером 15/916834 на имя Sur и др.; а также заявку на патент США с серийным номером 15/916696 на имя Sur, поданную 9 марта 2018 года, которая также включена в настоящий документ посредством ссылки.
[0071] На фиг. 3-6 показаны реализации устройства для доставки аэрозоля, включающего в себя управляющий элемент и элемент источника аэрозоля, в случае устройства нагрева без горения. Более конкретно, фиг. 3 иллюстрирует устройство 300 для доставки аэрозоля согласно примерному варианту осуществления настоящего раскрытия. Устройство для доставки аэрозоля может включать в себя управляющий элемент 302 и элемент 304 источника аэрозоля. В различных реализациях элемент источника аэрозоля и управляющий элемент могут быть постоянно или с возможностью отсоединения выровнены в функциональном отношении. В этом отношении на фиг. 3 показано устройство для доставки аэрозоля в соединенной конфигурации, тогда как на фиг. 4 показано устройство для доставки аэрозоля в разъединенной конфигурации.
[0072] Как показано на фиг. 4, в различных реализациях настоящего раскрытия элемент 304 источника аэрозоля может содержать нагреваемый конец 406, который выполнен с возможностью вставления в управляющий элемент 302, и конец 408 для рта, на котором пользователь делает затяжку, чтобы создать аэрозоль. В различных реализациях, по меньшей мере, фрагмент нагреваемого конца может включать в себя композицию 410 прекурсора аэрозоля.
[0073] В различных реализациях элемент 304 источника аэрозоля или его фрагмент могут быть обернуты материалом 412 внешней обертки, который может быть образован из любого материала, пригодного для обеспечения дополнительной структуры и/или поддержки элемента источника аэрозоля. В различных реализациях материал внешней обертки может содержать материал, который сопротивляется передаче тепла, который может включать в себя бумагу или другой волокнистый материал, такой как целлюлозный материал. Материал внешней обертки может также включать в себя, по меньшей мере, один наполнитель, внедренный или диспергированный в волокнистом материале. В различных вариантах реализации наполнитель может иметь форму нерастворимых в воде частиц. Кроме того, наполнитель может включать в себя неорганические компоненты. В различных реализациях внешняя обертка может быть образована из нескольких слоев, таких как нижележащий объемный слой и верхний слой, такой как обычная оберточная бумага для сигареты. Такие материалы могут включать в себя, например, легкие "тряпичные волокна", такие как лен, конопля, сизаль, рисовая солома и/или эспарто. Внешняя обертка может также включать в себя материал, обычно используемый в фильтрующем элементе обычной сигареты, такой как ацетат целлюлозы.
[0074] Кроме того, избыточная длина внешней обертки на мундштуке 408 элемента источника аэрозоля может просто отделять композицию прекурсора аэрозоля 410 от рта потребителя или обеспечивать пространство для размещения фильтрующего материала, как описано ниже, или для воздействия на вытяжку на изделии или на характеристики потока пара или аэрозоля, покидающих устройство во время вытягивания. Дальнейшее обсуждение, касающееся конфигураций материалов внешней обертки, которые могут использоваться с настоящим раскрытием, можно найти в цитированном выше патенте США № 9078473 на имя Worm и др.
[0075] В различных вариантах реализации могут существовать другие компоненты между композицией 410 прекурсора аэрозоля и мундштуком 408 элемента 304 источника аэрозоля, при этом мундштук может включать в себя фильтр 414, который может, например, быть изготовлен из ацетата целлюлозы или полипропиленового материала. Фильтр может дополнительно или альтернативно содержать нити табачного материала, как описано в патенте США № 5025814 на имя Raker и др., который полностью включен в настоящий документ посредством ссылки. В различных реализациях фильтр может увеличивать структурную целостность мундштука элемента источника аэрозоля и/или обеспечивать фильтрующую способность, если желательно, и/или обеспечивать сопротивление затягиванию. В некоторых вариантах реализации между композицией-прекурсором аэрозоля и мундштуком может быть расположена одно из следующего или любая комбинация из следующего: воздушный зазор; материалы с фазовым переходом для охлаждающего воздуха; среда, выделяющая аромат; ионообменные волокна, способные к селективной химической адсорбции; частицы аэрогеля как фильтрующая среда; и другие подходящие материалы.
[0076] В различных реализациях настоящего раскрытия используется один или более проводящих нагревательных элементов для нагрева композиции 410 прекурсора аэрозоля элемента 304 источника аэрозоля. В различных реализациях нагревательный элемент может быть выполнен в различных формах, например в форме фольги, пены, сетки, полого шара, полушара, дисков, спиралей, волокон, проволоки, пленок, пряжи, полосок, лент или цилиндров. Такие нагревательные элементы часто содержат металлический материал и сконфигурированы для выработки тепла в результате электрического сопротивления, связанного с прохождением через них электрического тока. Такие резистивные нагревательные элементы могут быть расположены в непосредственном контакте или в непосредственной близости от элемента источника аэрозоля и, в частности, композиции прекурсора аэрозоля элемента источника аэрозоля. Нагревательный элемент может быть расположен в управляющем элементе и/или в элементе источника аэрозоля. В различных вариантах реализации композиция прекурсора аэрозоля может включать в себя компоненты (т.е. теплопроводящие составляющие), которые встроены в или иным образом являются частью фрагмента подложки, который может служить или облегчать функцию нагревательного узла. Некоторые примеры различных нагревательных элементов и элементов описаны в патенте США № 9078473 на имя Worm и др.
[0077] Некоторые неограничивающие примеры различных конфигураций нагревательного элемента включают в себя конфигурации, в которых нагревательный элемент размещен рядом с элементом 304 источника аэрозоля. Например, в некоторых примерах, по меньшей мере, фрагмент нагревательного элемента может окружать, по меньшей мере, фрагмент элемента источника аэрозоля. В других примерах один или более нагревательных элементов могут быть расположены рядом с внешней стороной элемента источника аэрозоля, когда он вставлен в управляющий элемент 302. В других примерах, по меньшей мере, фрагмент нагревательного элемента может проникать, по меньшей мере, в фрагмент элемента источника аэрозоля (такого как, например, один или более выступов и/или игл, которые проникают в элемент источника аэрозоля), когда источник аэрозоля элемент вставлен в управляющий элемент. В некоторых случаях композиция прекурсора аэрозоля может включать в себя структуру, находящуюся в контакте, или множество шариков или частиц, погруженных в композицию прекурсора аэрозоля или иным образом являющуюся ее частью, которая может служить или облегчать функцию нагревательного элемента.
[0078] Фиг. 5 иллюстрирует вид спереди устройства 300 для доставки аэрозоля согласно примерной реализации настоящего раскрытия, а фиг. 6 иллюстрирует вид в разрезе устройства для доставки аэрозоля по фиг. 5. В частности, управляющий элемент 302 изображенной реализации может содержать корпус 516, который включает в себя отверстие 518, образованное на его зацепляющем конце, датчик 520 потока (например, датчик затяжки или реле давления), управляющий компонент 522 (например, схему обработки и т.д.), источник 524 питания (например, батарею, суперконденсатор) и торцевую крышку, которая включает в себя индикатор 526 (например, светодиод). Источник питания может быть перезаряжаемым, а управляющий компонент может включать в себя переключатель и схему обработки, соединенные с датчиком потока и переключателем. Схема обработки может быть сконфигурирована для предотвращения работы с переключателем, если верификация возраста не удалась, как дополнительно обсуждается ниже.
[0079] В одной реализации индикатор 526 может содержать один или более светодиодов, светодиодов на основе квантовых точек и т.п. Индикатор может быть связан с управляющим компонентом 522 и загораться, например, когда пользователь тянет элемент 304 источника аэрозоля, когда он присоединен к управляющему элементу 302, как обнаружено датчиком 520 потока.
[0080] Управляющий элемент 302 изображенной реализации включает в себя один или более нагревательных узлов 528 (по отдельности или вместе называемых нагревательным узлом), сконфигурированных для нагрева композиции 410 прекурсора аэрозоля элемента 304 источника аэрозоля. Хотя нагревательный узел в различных реализациях настоящего раскрытия может принимать различные формы, в конкретной реализации, изображенной на фиг. 5 и 6, нагревательный узел содержит внешний цилиндр 530 и нагревательный элемент 532 (компонент образования аэрозоля), который в этой реализации содержит множество штырей нагревателя, которые отходят от приемного основания 534 (в различных конфигурациях нагревательный узел или, более конкретно, штыри нагревателя могут называться нагревателем). В изображенном варианте осуществления внешний цилиндр содержит вакуумную трубку с двойными стенками, сконструированную из нержавеющей стали, для поддержания тепла, выделяемого штырями нагревателя внутри внешнего цилиндра, и, более конкретно, поддержания тепла, выделяемого штырями нагревателя в композиции прекурсора аэрозоля. В различных реализациях контакты нагревателя могут быть изготовлены из одного или более проводящих материалов, включающих в себя, помимо прочего, медь, алюминий, платину, золото, серебро, железо, сталь, латунь, бронзу, графит или любую их комбинацию.
[0081] Как проиллюстрировано, нагревательный узел 528 может проходить рядом с зацепляющимся концом корпуса 516 и может быть сконфигурирован так, чтобы по существу окружать фрагмент нагреваемого конца 406 элемента 304 источника аэрозоля, который включает в себя композицию 410 прекурсора аэрозоля. Таким образом, нагревательный узел может иметь в целом трубчатую конфигурацию. Как проиллюстрировано на фиг. 5 и 6, нагревательный элемент 532 (например, множество штырей нагревателя) окружен внешним цилиндром 530 для создания приемной камеры 536. Таким образом, в различных реализациях внешний цилиндр может содержать непроводящий изоляционный материал и/или конструкцию, включающую в себя, помимо прочего, изолирующий полимер (например, пластик или целлюлозу), стекло, резину, керамику, фарфор, вакуумную конструкцию с двойными стенками или любые их комбинации.
[0082] В некоторых вариантах реализации один или более фрагментов или компонентов нагревательного узла 528 могут быть объединены, упакованы и/или составлены как одно целое с композицией 410 прекурсора аэрозоля (например, заключены в нее). Например, в некоторых вариантах реализации композиция прекурсора аэрозоля может быть сформирована из материала, как описано выше, и может включать в себя один или более смешанных с ним проводящих материалов. В некоторых из этих реализаций контакты могут быть соединены непосредственно с композицией прекурсора аэрозоля, так что, когда элемент источника аэрозоля вставляется в приемную камеру управляющего элемента, контакты устанавливают электрическое соединение с источником электрической энергии. В качестве альтернативы, контакты могут быть выполнены как одно целое с источником электрической энергии и могут проходить в приемную камеру, так что, когда элемент источника аэрозоля вставляется в приемную камеру управляющего элемента, контакты электрически соединяются с композицией прекурсора аэрозоля. Из-за присутствия проводящего материала в композиции прекурсора аэрозоля приложение энергии от источника электрической энергии к композиции прекурсора аэрозоля позволяет протекать электрическому току и, таким образом, производить тепло от проводящего материала. Таким образом, в некоторых вариантах реализации нагревательный элемент может быть описан как неотъемлемая часть композиции прекурсора аэрозоля. В качестве неограничивающего примера графит или другой подходящий проводящий материал может быть смешан, внедрен или иным образом присутствовать непосредственно на или внутри материала, образующего композицию прекурсора аэрозоля, чтобы сделать нагревательный элемент неотъемлемым со средой.
[0083] Как отмечено выше, в проиллюстрированной реализации внешний цилиндр 530 также может служить для облегчения правильного позиционирования элемента 304 источника аэрозоля, когда элемент источника аэрозоля вставлен в корпус 516. В различных реализациях внешний цилиндр нагревательного узла 528 может входить в контакт с внутренней поверхностью корпуса для обеспечения выравнивания нагревательного узла относительно корпуса. Таким образом, в результате неподвижного соединения между нагревательным узлом продольная ось нагревательного узла может проходить по существу параллельно продольной оси корпуса. В частности, опорный цилиндр может проходить от отверстия 518 корпуса до приемного основания 534 для создания приемной камеры 536.
[0084] Нагреваемый конец 406 элемента 304 источника аэрозоля имеет размер и форму для вставки в управляющий элемент 302. В различных реализациях приемная камера 536 управляющего элемента может быть охарактеризована как определяемая стенкой с внутренней поверхностью и внешней поверхностью, причем внутренняя поверхность определяет внутренний объем приемной камеры. Например, в изображенных реализациях внешний цилиндр 530 определяет внутреннюю поверхность, определяющую внутренний объем приемной камеры. В проиллюстрированной реализации внутренний диаметр внешнего цилиндра может быть немного больше или приблизительно равен внешнему диаметру соответствующего элемента источника аэрозоля (например, для создания скользящей посадки), так что внешний цилиндр сконфигурирован для направления элемента источника аэрозоля в правильное положение (например, боковое положение) по отношению к управляющему элементу. Таким образом, наибольший внешний диаметр (или другой размер в зависимости от конкретной формы поперечного сечения реализаций) элемента источника аэрозоля может быть меньше внутреннего диаметра (или другого размера) на внутренней поверхности стенки открытого конца приемной камеры в управляющем элементе. В некоторых реализациях разница в соответствующих диаметрах может быть достаточно небольшой, так что элемент источника аэрозоля плотно входит в приемную камеру, а силы трения предотвращают перемещение элемента источника аэрозоля без приложения силы. С другой стороны, разница может быть достаточной, чтобы позволить элементу источника аэрозоля скользить в приемную камеру или из нее, не требуя чрезмерного усилия.
[0085] В проиллюстрированной реализации управляющий элемент 302 сконфигурирован таким образом, что, когда элемент 304 источника аэрозоля вставляется в управляющий элемент, нагревательный элемент 532 (например, штыри нагревателя) расположен приблизительно в радиальном центре, по меньшей мере, фрагмента композиции 410 прекурсора аэрозоля нагреваемого конца 406 элемента источника аэрозоля. Таким образом, при использовании в сочетании с твердой или полутвердой композицией прекурсора аэрозоля стержни нагревателя могут находиться в прямом контакте с композицией прекурсора аэрозоля. В других реализациях, например, при использовании в сочетании с экструдированной композицией прекурсора аэрозоля, которая определяет трубчатую структуру, стержни нагревателя могут быть расположены внутри полости, определяемой внутренней поверхностью экструдированной трубчатой конструкции, и не будут контактировать с внутренней поверхностью экструдированной трубчатой конструкции.
[0086] Во время использования потребитель инициирует нагрев нагревательного узла 528 и, в частности, нагревательного элемента 532, который находится рядом с композицией прекурсора аэрозоля 410 (или ее конкретным слоем). Нагревание композиции прекурсора аэрозоля высвобождает вдыхаемое вещество внутри элемента 304 источника аэрозоля, чтобы получить вдыхаемое вещество. Когда потребитель вдыхает через мундштук 408 элемента источника аэрозоля, воздух втягивается в элемент источника аэрозоля через воздухозаборник 538, такой как отверстия или щели в управляющем элементе 302. Комбинация втягиваемого воздуха и выпущенного вдыхаемого вещества вдыхается потребителем, когда втягиваемые материалы выходят из мундштука элемента источника аэрозоля. В некоторых реализациях, чтобы инициировать нагрев, потребитель может вручную задействовать кнопку или аналогичный компонент, который заставляет нагревательный элемент нагревательного узла получать электрическую энергию от батареи или другого источника энергии. Электроэнергия может подаваться в течение заранее определенного периода времени или может управляться вручную.
[0087] В некоторых реализациях поток электрической энергии по существу не проходит между затяжками на устройстве 300 (хотя поток энергии может продолжаться, чтобы поддерживать базовую температуру выше, чем температура окружающей среды - например, температуру, которая способствует быстрому нагреву до температуры активного нагрева). Однако в изображенной реализации нагрев инициируется действием затяжки потребителя посредством использования одного или более датчиков, таких как датчик 520 потока. Как только затяжка будет прекращена, нагрев прекратится или уменьшится. Когда потребитель сделал достаточное количество затяжек, чтобы высвободить достаточное количество вдыхаемого вещества (например, количество, достаточное, чтобы соответствовать типичному курению), элемент 304 источника аэрозоля может быть удален из управляющего элемента 302 и выброшен. В некоторых реализациях могут использоваться дополнительные чувствительные элементы, такие как емкостные чувствительные элементы и другие датчики, как обсуждается в заявке на патент США № 15/707461 на имя Phillips и др., которая включена здесь в качестве ссылки.
[0088] В различных реализациях элемент 304 источника аэрозоля может быть сформирован из любого материала, подходящего для формирования и поддержания соответствующей конформации, такой как трубчатая форма, и для удержания в ней композиции 410 прекурсора аэрозоля. В некоторых реализациях элемент источника аэрозоля может быть сформирован из одной стенки или, в других реализациях, из множества стенок и может быть сформирован из материала (натурального или синтетического), который является термостойким, чтобы сохранять свою структурную целостность - например, не ухудшаться - по крайней мере, при температуре, которая является температурой нагрева, обеспечиваемой электронагревательным элементом, как дополнительно обсуждается в данном документе. Хотя в некоторых реализациях может использоваться термостойкий полимер, в других реализациях элемент источника аэрозоля может быть сформирован из бумаги, такой как бумага, которая по существу имеет форму соломки. Как дополнительно обсуждается в данном документе, элемент источника аэрозоля может иметь один или более связанных с ним слоев, которые действуют, по существу, для предотвращения движения пара через него. В одном из примеров реализации слой алюминиевой фольги может быть наслоен на одной поверхности элемента источника аэрозоля. Также могут быть использованы керамические материалы. В дополнительных вариантах реализации может использоваться изолирующий материал, чтобы без необходимости не отводить тепло от композиции прекурсора аэрозоля. Дополнительными примерами типов компонентов и материалов, которые могут использоваться для обеспечения функций, описанных выше, или использоваться в качестве альтернативы материалам и компонентам, указанным выше, могут быть те из типов, которые указаны в публикациях заявок на патент США №№ 2010/00186757 на имя Crooks и др. , 2010/00186757 на имя Crooks и др., и 2011/0041861 на имя Sebastian и др., все из которых включены в настоящий документ посредством ссылки.
[0089] В изображенной реализации управляющий элемент 302 включает в себя управляющий компонент 522, который управляет различными функциями устройства 300 для доставки аэрозоля, включающими в себя подачу питания на электрический нагревательный элемент 532. Например, управляющий компонент может включать в себя схему обработки (которая может быть подключена к дополнительным компонентам, как дополнительно описано в данном документе), которая подключена электропроводящими проводами (не показаны) к источнику 524 питания. В различных реализациях схема обработки может управлять тем, когда и как нагревательный узел 528, и в частности контактные штыри нагревателя, получают электрическую энергию для нагрева композиции 410 прекурсора аэрозоля для высвобождения вдыхаемого вещества для вдыхания потребителем. В некоторых реализациях такое управление может активироваться датчиком 520 потока, как более подробно описано выше.
[0090] Как видно на фиг. 5 и 6, нагревательный узел 528 изображенного варианта реализации содержит внешний цилиндр 530 и нагревательный элемент 532 (например, множество штырей нагревателя), которые отходят от приемного основания 534. В некоторых вариантах реализации, таких как те, в которых композиция 410 прекурсора аэрозоля содержит трубчатую структуру, стержни нагревателя могут быть выполнены с возможностью проходить в полость, ограниченную внутренней поверхностью композиции прекурсора аэрозоля. В других реализациях, таких как изображенная реализация, в которой композиция прекурсора аэрозоля содержит твердое или полутвердое вещество, множество стержней нагревателя сконфигурированы так, чтобы проникать в композицию прекурсора аэрозоля, содержащуюся в нагреваемом конце 406 элемента 304 источника аэрозоля, когда элемент источника аэрозоля вставлен в управляющий элемент 302. В таких реализациях один или более компонентов нагревательного узла, включающих в себя стержни нагревателя и/или приемное основание, могут быть изготовлены из антипригарного или устойчивого к прилипанию материала, например, произвольных алюминия, меди, нержавеющей стали, углеродистой стали и керамических материалов. В других реализациях один или более компонентов нагревательного узла, включающих в себя выступы нагревателя и/или принимающее основание, могут включать в себя антипригарное покрытие, включающее в себя, например, покрытие из политетрафторэтилена (ПТФЭ), такое как Teflon®, или другие покрытия, такие как устойчивое к прилипанию эмалевое покрытие, или керамическое покрытие, такое как Greblon® или Thermolon ™, или керамическое покрытие, такое как Greblon® или Thermolon ™.
[0091] Кроме того, хотя в изображенной реализации имеется несколько стержней 532 нагревателя, которые по существу равномерно распределены вокруг приемного основания 534, следует отметить, что в других реализациях может использоваться любое количество стержней нагревателя, в том числе всего один, с любой другой подходящей пространственной конфигурацией. Кроме того, в различных реализациях длина стержней нагревателя может изменяться. Например, в некоторых реализациях стержни нагревателя могут иметь небольшие выступы, в то время как в других реализациях стержни нагревателя могут выступать на любом участке длины приемной камеры 536, в том числе примерно до 25%, примерно до 50%, примерно до 75% и примерно до полной длины приемной камеры. В еще других реализациях нагревательный узел 528 может принимать другие конфигурации. Примеры других конфигураций нагревателя, которые могут быть адаптированы для использования в настоящем изобретении в соответствии с приведенным выше обсуждением, можно найти в патентах США № 5060671 на имя Counts и др., 5093894 на имя Deevi и др., 5224498 на имя Deevi и др., 5228460 на имя Sprinkel Jr, и др, 5322075 на имя Deevi и др, 5353813 на имя Deevi и др, 5468936 на имя Deevi и др, 5498850 на имя Das, 5659656 на имя Das, 5498855 на имя Deevi и др, 5530225 на имя Hajaligol, 5665262 на имя Hajaligol и др, 5565262 на имя Hajaligol и др и патент США № 5591368 на имя Fleischhauer и др., которые включены в настоящее описание в качестве ссылки.
[0092] В различных реализациях управляющий элемент 302 может включать в себя воздухозаборник 538 (например, одно или более отверстий или щелей) для обеспечения доступа окружающего воздуха внутрь приемной камеры 536. Таким образом, в некоторых реализациях приемное основание 534 может также включать в себя воздухозаборник. Таким образом, в некоторых реализациях, когда потребитель затягивает мундштук элемента 304 источника аэрозоля, воздух может втягиваться через воздухозаборник управляющего элемента и приемное основание в приемную камеру, проходить в элемент источника аэрозоля и быть втянутым через композицию 410 прекурсора аэрозоля элемента источника аэрозоля для вдыхания потребителем. В некоторых вариантах реализации втянутый воздух переносит вдыхаемое вещество через дополнительный фильтр 414 и выходит из отверстия на конце 408 мундштука элемента источника аэрозоля. Когда нагревательный элемент 532 расположен внутри композиции прекурсора аэрозоля, стержни нагревателя могут активироваться для нагрева композиции прекурсора аэрозоля и вызывать высвобождение вдыхаемого вещества через элемент источника аэрозоля.
[0093] Как описано выше со ссылкой на фиг. 5 и 6, в частности, в различных реализациях настоящего раскрытия используется токопроводящий нагреватель для нагрева композиции 410 прекурсора аэрозоля. Как также указано выше, в различных других реализациях используется индукционный нагреватель для нагрева композиции прекурсора аэрозоля. В некоторых из этих реализаций нагревательный узел 528 может быть сконфигурирован как индукционный нагреватель, который содержит трансформатор с индукционным передатчиком и индукционным приемником. В реализациях, в которых нагревательный узел выполнен в виде индукционного нагревателя, внешний цилиндр 530 может быть выполнен в виде индукционного передатчика, а нагревательный элемент 532 (например, множество стержней нагревателя), который проходит от приемного основания 534, может быть выполнен как индукционный приемник. В различных реализациях один или оба из индукционного передатчика и индукционного приемника могут быть расположены в управляющем элементе 302 и/или в элементе 304 источника аэрозоля.
[0094] В различных реализациях внешний цилиндр 530 и нагревательный элемент 532 в качестве индукционного передатчика и индукционного приемника могут быть изготовлены из одного или более проводящих материалов, а в дополнительных реализациях индукционный приемник может быть изготовлен из ферромагнитного материала, включающего в себя, но не ограничиваясь этим, кобальт, железо, никель и их комбинации. В одном из примеров реализации материал фольги выполнен из проводящего материала, а стержни нагревателя выполнены из ферромагнитного материала. В различных реализациях приемное основание может быть выполнено из непроводящего и/или изолирующего материала.
[0095] Внешний цилиндр 530 в качестве индукционного передатчика может включать в себя наслаивание с использованием материала фольги, который окружает опорный цилиндр. В некоторых реализациях материал фольги может включать в себя напечатанную на нем электрическую дорожку, такую как, например, одна или более электрических дорожек, которые в некоторых реализациях могут образовывать спиральный узор катушки, когда материал фольги расположен вокруг нагревательного элемента 532 как индукционный приемник. Каждый из материала фольги и опорного цилиндра может иметь трубчатую конфигурацию. Опорный цилиндр может быть сконфигурирован для поддержки материала фольги таким образом, чтобы материал фольги не входил в контакт и, таким образом, не замыкался накоротко со стержнями нагревателя. Таким образом, опорный цилиндр может содержать непроводящий материал, который может быть по существу прозрачным для колеблющегося магнитного поля, создаваемого материалом фольги. В различных вариантах реализации материал фольги может быть погружен в опорный цилиндр или иным образом присоединен к нему. В проиллюстрированном варианте осуществления фольга входит в зацепление с внешней поверхностью опорного цилиндра; однако в других реализациях материал фольги может быть расположен на внутренней поверхности опорного цилиндра или полностью погружен в опорный цилиндр.
[0096] Материал фольги внешнего цилиндра 530 может быть выполнен с возможностью создания осциллирующего магнитного поля (например, магнитного поля, которое периодически изменяется со временем), когда через него проходит переменный ток. Стержни нагревателя нагревательного элемента 532 могут, по меньшей мере, частично располагаться или приниматься внутри внешнего цилиндра и включать в себя проводящий материал. Пропуская переменный ток через материал фольги, в контактных контактах нагревателя могут возникать вихревые токи за счет индукции. Вихревые токи, протекающие через сопротивление материала, определяющего стержни нагревателя, могут нагревать его за счет джоулева нагрева (т.е. за счет эффекта Джоуля). Стержни нагревателя можно нагревать по беспроводной связи для образования аэрозоля из композиции 410 прекурсора аэрозоля, расположенной рядом со стержнями нагревателя.
[0097] Другие реализации устройства для доставки аэрозоля, управляющего элемента и элемента источника аэрозоля описаны в цитируемой выше заявке на патент США с серийным номером 15/916834 на имя Sur и др.; заявке на патент США с серийным номером 15/916696 на имя Sur; и заявке на патент США с серийным номером 15/836086 на имя Sur.
[0098] Фиг. 7 и 8 иллюстрируют реализации устройства для доставки аэрозоля, включающего в себя управляющий элемент и картридж, в случае устройства без нагрева и без горения. В этом отношении на фиг. 7 показан вид сбоку устройства 700 для доставки аэрозоля, включающего в себя управляющий элемент 702 и картридж 704, согласно различным примерным реализациям настоящего раскрытия. В частности, на фиг. 7 показаны соединенные друг с другом управляющий элемент и картридж. Управляющий элемент и картридж могут быть выровнены с возможностью отсоединения в функциональном отношении.
[0099] На фиг. 8 более конкретно показано устройство 700 для доставки аэрозоля в соответствии с некоторыми примерными реализациями. Как видно на проиллюстрированном здесь виде в разрезе, снова устройство для доставки аэрозоля может содержать управляющий элемент 702 и картридж 704, каждый из которых включает в себя ряд соответствующих компонентов. Компоненты, показанные на фиг. 8, представляют собой компоненты, которые могут присутствовать в управляющем элементе и картридже, и не предназначены для ограничения объема компонентов, охватываемых настоящим раскрытием. Как показано, например, управляющий элемент может быть образован из корпуса или оболочки 806 управляющего элемента, которая может включать в себя управляющий компонент 808 (например, схему обработки и т.д.), устройство 810 ввода, источник 812 питания и индикатор 814 (например, светодиод, светодиод на основе квантовых точек), и такие компоненты могут быть различным образом выстроены. Здесь конкретный пример подходящего управляющего компонента включает в себя микроконтроллеры PIC16(L)F1713/6 от Microchip Technology Inc, которые описаны в Microchip Technology, Inc, AN2265, Vibrating Mesh Nebulizer Reference Design (2016), который включен в качестве ссылки.
[00100] Картридж 704 может быть сформирован из корпуса, иногда называемого оболочкой 816 картриджа, включающего в себя резервуар 818, сконфигурированный для удержания композиции прекурсора аэрозоля, и включающего в себя сопло 820, имеющее пьезоэлектрическую/пьезомагнитную сетку (компонент образования аэрозоля). Подобно описанному выше, в различных конфигурациях эта конструкция может называться сосудом.
[00101] Резервуар 818, показанный на фиг. 8, может быть контейнером или волокнистым резервуаром, как здесь описано. Резервуар может сообщаться с возможностью обмена текучей средой с соплом 820 для переноса композиции прекурсора аэрозоля, хранящейся в корпусе резервуара, к соплу. В оболочке 816 картриджа может быть отверстие 822 (например, на конце) для выхода образовавшегося аэрозоля из картриджа 704.
[00102] В некоторых примерах элемент переноса может быть расположен между резервуаром 818 и соплом 820 и сконфигурирован для регулирования количества композиции прекурсора аэрозоля, проходящей или подаваемой из резервуара в сопло. В некоторых примерах микрожидкостная микросхема может быть встроена в картридж 704, и количество и/или масса композиции прекурсора аэрозоля, доставляемой из резервуара, может контролироваться одним или более микрожидкостными компонентами. Одним из примеров микрожидкостного компонента является микронасос 824, например, основанный на технологии микроэлектромеханических систем (MEMS). Примеры подходящих микронасосов включают в себя микронасос модели MDP2205 и другие от thinXXS Microtechnology AG, микронасосы модели mp5 и mp6 и другие от Bartels Mikrotechnik GmbH и пьезоэлектрические микронасосы от Takasago Fluidic Systems.
[00103] Как также показано, в некоторых примерах, микрофильтр 826 может быть расположен между микронасосом 824 и соплом 820 для фильтрации композиции прекурсора аэрозоля, подаваемой в сопло. Как и микронасос, микрофильтр представляет собой микрожидкостный компонент. Примеры подходящих микрофильтров включают в себя проточные микрофильтры, изготовленные с использованием технологии "лаборатория на кристалле" (LOC).
[00104] При использовании, когда устройство 810 ввода обнаруживает ввод пользователя для активации устройства для доставки аэрозоля, пьезоэлектрическая/пьезомагнитная сетка активируется для вибрации и, таким образом, втягивания композиции прекурсора аэрозоля через сетку. При этом образуются капли композиции прекурсора аэрозоля, которые соединяются с воздухом с образованием аэрозоля. Аэрозоль взбивается, отсасывается или иным образом отводится от сетки и выходит из отверстия 822 в мундштуке устройства для доставки аэрозоля.
[00105] Устройство 700 для доставки аэрозоля может включать в себя устройство 810 ввода, такое как переключатель, датчик или детектор, для управления подачей электрической мощности на пьезоэлектрическую/пьезомагнитную сетку сопла 820, когда желательно образование аэрозоля (например, при затягивании во время использования). Таким образом, например, предоставляется характер или способ отключения питания сетки, когда устройство для доставки аэрозоля не задействуется во время использования, и для включения питания для приведения в действие или запуска образования и распределения аэрозоля из насадки во время затягивания. Дополнительные репрезентативные типы механизмов восприятия или обнаружения, их структура и конфигурация, их компоненты и общие способы их работы описаны выше и в патенте США № 5261424 на имя Sprinkel, Jr, патенте США № 5372148 на имя McCafferty и др., и в публикации заявки на патент РСТ № WO 2010/003480 на имя Flick, все из которых включены в настоящий документ посредством ссылки.
[00106] Для получения дополнительной информации относительно вышеупомянутых и других реализаций устройства для доставки аэрозоля в случае устройства без нагрева и без горения см. заявку на патент США с серийным номером 15/651548 на имя Sur, поданную 17 июля 2017 года, которая включена в настоящий документ по ссылке.
[00107] Как описано выше, устройство для доставки аэрозоля в примерных реализациях может включать в себя различные электронные компоненты в контексте электронной сигареты, устройства нагрева без горения или устройства без нагрева и без горения, или даже в случае устройства, которое включает в себя функциональные возможности одного или более из электронной сигареты, устройства нагрева без горения или устройства без нагрева и без горения. Фиг. 9 иллюстрирует принципиальную схему устройства 900 для доставки аэрозоля, которое может быть или включать в себя функциональные возможности любого одного или более устройств 100, 300, 700 для доставки аэрозоля согласно различным примерным реализациям настоящего раскрытия.
[00108] Как показано на фиг. 9, устройство 900 для доставки аэрозоля включает в себя управляющий элемент 902 с источником 904 питания и управляющий компонент 906, который может соответствовать или включать в себя функциональные возможности соответствующих компонентов из управляющего элемента 102, 302, 702, источника 212, 524, 812 питания и управляющего компонента 208, 522, 808. Устройство для доставки аэрозоля также включает в себя компонент 916 образования аэрозоля, который может соответствовать или включать в себя функции нагревательного элемента 220, 532 или пьезоэлектрической/пьезомагнитной сетки сопла 820. Управляющий элемент 902 может включать в себя компонент 916 образования аэрозоля или выводы 918, сконфигурированные для соединения компонента образования аэрозоля с управляющим элементом.
[00109] В некоторых реализациях управляющий элемент 902 включает в себя датчик 908, сконфигурированный для измерения расхода воздуха. Датчик 908 может соответствовать или включать в себя функции датчика 210, 520 потока или устройства 810 ввода. В этих реализациях управляющий компонент 906 включает в себя переключатель 910, подключенный к источнику 904 питания и компоненту 916 образования аэрозоля и между ними. Управляющий компонент также включает в себя схему 912 обработки, связанную с датчиком и переключателем. Переключатель может быть переключателем на основе полевого транзистора на основе оксида металла и полупроводника (MOSFET). Датчик может быть подключен к межинтегральной схеме (I2C), Vcc и/или заземлению схемы обработки.
[00110] В некоторых реализациях схема 912 обработки сконфигурирована для верификации возраста пользователя и для вывода сигнала (как показано стрелкой 922), чтобы заставить переключатель 910 переключаемым образом соединять и отсоединять выходное напряжение от источника 904 питания к компоненту 916 образования аэрозоля для питания компонента образования аэрозоля в течение периода времени образования аэрозоля. В некоторых реализациях схема 912 обработки сконфигурирована для вывода сигнала широтно-импульсной модуляции (PWM). Рабочий цикл сигнала PWM можно регулировать, чтобы переключатель переключаемым образом соединял и отсоединял выходное напряжение к компоненту образования аэрозоля. Процесс верификации и аутентификации возраста может использоваться, чтобы определять, когда установлено соединение. Если пользователь не верифицирован или не аутентифицирован, переключатель может быть отключен, чтобы предотвратить подачу напряжения на компонент образования аэрозоля. В качестве альтернативы, если переключатель находится в отключенном состоянии, то, если пользователь не верифицирован или не аутентифицирован, переключатель останется в отключенном состоянии. Аналогичным образом, когда пользователь верифицирован или аутентифицирован, переключатель может установить соединение, чтобы ток мог протекать от зарядного аксессуара к устройству. Другими словами, когда пользователь верифицирован или аутентифицирован, разрешается подавать выходное напряжение на компонент образования аэрозоля.
[00111] Хотя это не показано, схема 912 обработки и/или схема 914 преобразования сигнала могут быть связаны или принимать сигнал для аутентификации или верификации на основе определения того, является ли присоединенный картридж зарегистрированным соответствующим образом. Если сигнал верификации или аутентификации принят и является правильным, тогда схема 912 обработки может включить переключатель 910, чтобы разрешить работу устройства доставки аэрозоля. В качестве альтернативы или в дополнение, если сигнал верификации не получен или неверен, тогда схема 912 обработки может отключить переключатель 910, чтобы предотвратить срабатывание устройства 900 доставки аэрозоля. Структура, работа и связь для регистрации серийного номера картриджа и верификации возраста дополнительно проиллюстрированы и описаны со ссылкой на фиг. 11-16. Патент США № 8689804, выданный Fernando et al., раскрывает системы идентификации для курительных устройств, описание которых включено в настоящий документ посредством ссылки. В некоторых реализациях управляющий компонент 906 дополнительно включает в себя схему 914 преобразования сигнала, связанную с датчиком 908 и схемой 912 обработки. Схема преобразования сигнала таких реализаций может быть сконфигурирована для управления работой переключателя 910. Схема преобразования сигнала будет описана более подробно ниже со ссылкой на фиг. 10.
[00112] Фиг. 10 иллюстрирует принципиальную схему схемы 1000 преобразования сигнала, которая может соответствовать схеме 914 преобразования сигнала, согласно примерной реализации настоящего раскрытия. Как показано, в некоторых реализациях схема 1000 преобразования сигнала включает в себя микросхему 1001 преобразования сигнала и двунаправленный преобразователь 1002 уровня напряжения. Одним из примеров подходящей микросхемы формирования сигнала является модель ZAP 3456 от корпорации Zap-Tech. И одним из примеров подходящего двунаправленного преобразователя уровня напряжения является двунаправленный преобразователь уровня напряжения модели NVT 2003 от NXP Semiconductors.
[00113] В одном примере, как показано на фиг. 10, микросхема 1001 преобразования сигнала может быть подключена к двунаправленному преобразователю 1002 уровня напряжения, а двунаправленный преобразователь уровня напряжения может быть подключен к входу 5 В и заземлению схемы 912 обработки. Обратим внимание, что значения (например, напряжение, сопротивление и емкость), показанные на фиг. 10, предназначены только для иллюстрации примера, и, если не указано иное, значения не следует рассматривать как ограничивающие в настоящем раскрытии.
[00114] Фиг. 11а, фиг. 11b и фиг. 11с иллюстрируют примерные схемы системы для регистрации картриджа. Фиг. 11а иллюстрирует, что устройство 1106 обменивается данными с системой 1102 верификации возраста для верификации возраста пользователя, которая также может использоваться для периодической аутентификации устройства 1106. Устройство 1106 может быть любым устройством электронных систем доставки никотина ("ENDS"), в том числе устройство для доставки аэрозоля, как описано выше. В одном варианте осуществления устройство 1106 может включать в себя аксессуар для зарядки, такой как аксессуар, описанный в заявке на патент США _, озаглавленный "AUTHENTICATION AND AGE VERIFICATION FOR AN AEROSOL DELIVERY DEVICE" (номер документа 16004-54), который заявляет о приоритете Предварительной заявки США № 62/282 222 от 2 апреля 2019 г., полное раскрытие каждой из которых включено в настоящее описание посредством ссылки. Другие примерные зарядные устройства или аксессуары для зарядки, которые могут использоваться в сочетании с различными вариантами осуществления, дополнительно описаны в публикации патента США № 2019/0089180 на имя Rajesh Sur; публикации патента США № 2015/0224268 на имя Генри и др.; патенте США № 10 206431 на имя Sur и др.; каждый из которых включен в данный документ в качестве ссылки.
[00115] Устройство 1106 включает в себя картридж 1108. Картридж 1108 может быть картриджем, описанным со ссылкой на фиг. 1-10 (например, картридж 104, элемент 304 источника аэрозоля, картридж 704 или компонент 916 производства аэрозоля). Картриджу или группе картриджей могут быть присвоены уникальные идентификаторы, которые используются для аутентификации и/или верификации возраста, например, как описано со ссылкой на фиг. 12. В других вариантах осуществления уникальный идентификатор может быть присвоен другим компонентам, кроме картриджа.
[00116] Как описано, система 1102 верификации возраста может не только верифицировать возраст (например, для продукта с ограничением по возрасту), но также может обеспечивать аутентификацию или идентификацию пользователя (например, для фактической покупки или для предотвращения кражи), которая основана на уникальных идентификаторах, присвоенных картриджам 1108 для устройства 1106. Описанная ниже аутентификация может полагаться на то, что сначала выполняется верификация возраста, а затем на нее ссылаются для последующей аутентификации с использованием уникальных идентификаторов. Однако могут быть и другие верификации проверки, помимо возраста. Например, в некоторых вариантах осуществления идентификация пользователя может выполняться вместо верификации возраста, и уникальные идентификаторы картриджа могут использоваться для идентификации пользователя. Уникальные идентификаторы могут быть уникальными только по отношению к определенному типу. Например, все расходные материалы могут иметь уникальные идентификаторы, и все картриджи могут иметь уникальные идентификаторы, но могут быть расходные материалы и картридж (т.е., отличающиеся типы), которые имеют один и тот же идентификатор. Другими словами, идентификаторы могут повторяться для различных продуктов и типов. В других вариантах осуществления уникальность может быть основана на конкретном вкусе/типе/размере/и т.д. продукта. Например, может быть много картриджей разных ароматов, и только в пределах этих ароматов идентификатор является уникальным.
[00117] Система 1102 верификации возраста может включать в себя базу данных, которая отслеживает пользователей вместе с возрастом, а также поддерживает запись уникальных идентификаторов для картриджей и того, какие устройства или пользователи подтверждены для этих картриджей. Он может быть зашифрован и/или использовать анонимные идентификаторы (например, числа, буквы или любые буквенно-цифровые идентификаторы) для каждого пользователя. Профиль пользователя может быть сохранен (например, на устройстве 1106 или из приложения или приложением на главном устройстве 1104), что включает в себя верификацию возраста, как описано со ссылкой на фиг. 16. Приложение на главном устройстве 1104 может получить доступ к профилю пользователя по сети. Как только возраст пользователя первоначально верифицирован, как подтверждено в базе данных системы верификации возраста, профиль пользователя для этого пользователя может быть сгенерирован и сохранен, так что будущие верификации (т.е. "аутентификации") могут быть просто обращениями к этой базе данных. Профиль пользователя может также включать в себя список устройств, связанных с конкретным пользователем, а также картриджей, которые также связаны с этим пользователем. Предполагая, что возраст пользователя верифицирован и пользователь аутентифицирован, зарегистрированные картриджи пользователя должны быть подтверждены для использования с устройствами этого пользователя. В одном примере каждый раз при замене картриджа пользователю может потребоваться аутентифицировать этот новый картридж, что включает в себя проверку профиля пользователя, чтобы подтвердить, что уникальный идентификатор, связанный с картриджем, подтвержден для этого пользователя. В некоторых вариантах осуществления повторная аутентификация картриджа может потребоваться после определенного количества затяжек от устройства 1106 или может быть основана на прохождении времени (например, один раз в час, день, неделю, месяц и т.д.). Онлайн-база данных может отслеживать запросы на аутентификацию и устанавливать ограничения для каждого пользователя. Это может предотвратить возможное мошенничество при разблокировке одним пользователем устройств других несовершеннолетних. Это также предотвратит повторное распространение зарегистрированных картриджей. Разумные ограничения на количество устройств, зарядных устройств и/или аутентификаций могут предотвратить это потенциальное мошенничество. Например, ограничение может составлять не более десяти картриджей в месяц.
[00118] Фиг. 11b иллюстрирует вариант осуществления с главным устройством 1104, соединенным с системой 1102 верификации возраста и устройством 1106. Главным устройством 1104 может быть любое вычислительное устройство, такое как смартфон, планшет или компьютер. Главное устройство 1104 может связываться с устройством 1106 или давать ему команду относительно того, подтвержден ли картридж 1108. Подтверждение картриджа может быть основано на уникальном идентификаторе, связанном с картриджем, который должным образом связан с аутентифицированным или подтвержденным по возрасту пользователем, как описано со ссылкой на фиг. 14-15. В некоторых вариантах осуществления главное устройство 1104 может напрямую подключаться к устройству 1106, например, для обеспечения питания или связи. Связь от устройства 1106 может осуществляться через главное устройство 1104 в одном варианте осуществления. Главное устройство 1104 может быть уже сконфигурировано для связи по сети, такой как сеть 1103, поэтому устройству 1106 может не потребоваться такой же уровень функциональных возможностей связи, поскольку главное устройство 1104 предоставляет эту возможность. В некоторых вариантах осуществления главное устройство 1104 после обмена данными с системой 1102 верификации возраста может предотвратить использование картриджа 1108 с устройством 1106.
[00119] Аутентификация может быть процессом верификации личности пользователя после того, как этот пользователь уже подтвердил свой возраст. Если пользователь не верифицирует свой возраст, процесс аутентификации завершится ошибкой. Как описано, процесс аутентификации может включать в себя подтверждение того, что картридж 1108 зарегистрирован для использования устройством 1106 на основе присвоения уникальных идентификаторов, таких как серийные номера, присвоенные картриджам. Процесс верификации возраста может происходить реже (например, при покупке устройства), чем процесс аутентификации, который может происходить каждый раз при замене картриджа. В альтернативных примерах может потребоваться более частый процесс аутентификации, который может включать в себя или не включать в себя уникальные идентификаторы, присвоенные картриджам. Этот процесс аутентификации может требоваться для каждого использования или может основываться на затяжках или времени затяжки. Сбой процесса аутентификации может привести к тому, что устройство 1106 не будет работать. Например, если уникальный идентификатор картриджа 1108 не подтвержден для использования с устройством 1106, то можно предотвратить прием картриджем 1108 электричества, необходимого для тепла.
[00120] Система 1102 верификации возраста обеспечивает индикацию того, является ли пользователь подходящего возраста для использования конкретного продукта, такого как устройство электронных систем доставки никотина ("ENDS"), включающее в себя устройство для доставки аэрозолей, оба из которых являются примерами устройства 1106. По меньшей мере, некоторые компоненты или особенности системы 1102 верификации возраста могут быть частью устройства 1106 или главного устройства 1104. Например, обработка и определения из системы 1102 верификации возраста могут выполняться локально после доступа к удаленной базе данных. В альтернативном варианте осуществления система 1102 верификации возраста может быть расположена удаленно и доступна по сети, как описано со ссылкой на фиг. 11c.
[00121] Фиг. 11c иллюстрирует вариант осуществления системы 1102 верификации возраста, подключенной через сеть 1103. Хотя на фиг. 11a показано, что устройство 1106 было связано с системой 1102 верификации возраста для аутентификации, а на фиг. 11b показано, что главное устройство 1104 было связано с системой 1102 верификации возраста для аутентификации, на фиг. 11c показан вариант осуществления, в котором система 1102 верификации возраста связана с главным устройством 1104 по сети 1103. Хотя это не показано, система 1102 верификации возраста может быть связана с устройством 1106 по сети 1103.
[00122] Настоящее раскрытие предполагает машиночитаемый носитель, который включает в себя инструкции или принимает и выполняет инструкции в ответ на распространяемый сигнал, так что устройство, подключенное к сети, может передавать голос, видео, аудио, изображения или любые другие данные по сети. Устройство 1106, главное устройство 1104 или система 1102 верификации возраста могут предоставлять инструкции по сети через один или более портов связи. Порт связи может быть создан программно или может быть физическим соединением на оборудовании. Соединение с сетью может быть физическим соединением, таким как проводное соединение Ethernet, или может быть установлено по беспроводной связи, как описано ниже. Точно так же соединения с другими компонентами могут быть физическими соединениями или могут быть установлены беспроводным образом. Устройство 1106 или главное устройство 1104 может обмениваться данными через сеть, включающую в себя, помимо прочего, сеть 1103. Например, схема 1302 аутентификации может включать в себя сетевые функции для связи с системой 1102 верификации возраста. Эти компоненты могут включать в себя порты связи, сконфигурированные для подключения к сети, такой как сеть 1103.
[00123] Сеть (например, сеть 1103) может соединять устройства, чтобы можно было обмениваться данными, например, между устройством 1106, главное устройством 1104 и/или системой 1102 верификации возраста, в том числе между другими беспроводными устройствами, подключенными через беспроводную сеть, например. Как описано, кластер машин, хранящих данные для анализа, может быть подключен через одну или несколько сетей, таких как сеть 1103. Сеть может также включать в себя запоминающее устройство большой емкости, такое как сетевое хранилище (NAS), сеть хранения данных (SAN) или, например, компьютерные или машиночитаемые носители других форм. Сеть может включать в себя Интернет, одну или более локальных сетей (LAN), одну или более глобальных сетей (WAN), соединения проводного типа, соединения беспроводного типа или любую их комбинацию. Точно так же подсети, например, которые могут использовать разные архитектуры или могут быть согласуемыми или совместимыми с разными протоколами, могут взаимодействовать в более крупной сети. Например, могут быть доступны различные типы устройств для обеспечения возможности взаимодействия для различных архитектур или протоколов. В качестве одного наглядного примера маршрутизатор может обеспечивать связь между отдельными и независимыми локальными сетями. Линия или канал связи может включать в себя, например, аналоговые телефонные линии, такие как витая пара проводов, коаксиальный кабель, полные или частичные цифровые линии, включающие в себя линии типа T1, T2, T3 или T4, цифровые сети с интеграцией услуг (ISDN), цифровые абонентские линии (DSL), беспроводные линии связи, включающие в себя спутниковые линии связи, или другие линии связи или каналы, такие как известные специалистам в данной области техники. Кроме того, вычислительное устройство или другие связанные электронные устройства могут быть удаленно подключены к сети, например, через телефонную линию или канал связи.
[00124] Беспроводная сеть может соединять устройства, такие как устройство 1106, главное устройство 1104 и система 1102 верификации возраста. Сеть 1103 может включать в себя беспроводную сеть и может использовать автономные специализированные сети, ячеистые сети, сети беспроводной LAN (WLAN), глобальную беспроводную сеть (WWAN), беспроводную городскую сеть (WMAN), сотовые сети или т.п. Беспроводная сеть может дополнительно включать в себя систему терминалов, шлюзов, маршрутизаторов и т.п., соединенных беспроводными радиоканалами и т.п., которые могут перемещаться свободно, случайным образом или произвольно организовываться, так что топология сети может меняться, иногда даже быстро. Беспроводная сеть может дополнительно использовать множество технологий доступа к сети, включающие в себя Long Term Evolution (LTE), WLAN, ячеистую сеть беспроводного маршрутизатора (WR) или сотовые технологии 2-го, 3-го или 4-го поколения (2G, 3G, 4G, 5G или будущие итерации) и т.п. Сеть может обеспечивать радиочастотную или беспроводную связь с помощью одной или более технологий доступа к сети, таких как глобальная система мобильной связи (GSM), универсальная система мобильной связи (UMTS), общие услуги пакетной радиосвязи (GPRS), среда GSM с расширенными данными (EDGE), 3GPP Long Term Evolution (LTE), LTE Advanced, широкополосный множественный доступ с кодовым разделением каналов (WCDMA), Bluetooth, 802.11b/g/n, Zigbee, Z Wave, IEEE 802.16 (например, WiMax) и/или другие WWAN/WMAN технологии и т.п., включающие в себя будущие итерации любой из вышеупомянутых технологий. Беспроводная сеть может включать в себя практически любой тип механизма беспроводной связи, с помощью которого сигналы могут передаваться между устройствами. В некоторых вариантах осуществления протоколы связи, перечисленные выше, могут использоваться для связи между устройством 1106 и главным устройством 1104, и главное устройство 1104, таким образом, связывается с системой 1102 верификации возраста через один и тот же или различные протоколы связи.
[00125] Пакеты сигналов, передаваемые через сеть, такую как сеть 1103 или сеть участвующих сетей цифровой связи, могут быть совместимы с одним или более протоколами или соответствовать им. Используемые форматы или протоколы сигнализации могут включать в себя, например, TCP/IP, UDP, DECnet, NetBEUI, IPX, Appletalk и т.п. Версии Интернет-протокола (IP) могут включать в себя IPv4 или IPv6. Интернет относится к децентрализованной глобальной сети сетей. Интернет включает в себя локальные сети (LAN), глобальные сети (WAN), беспроводные сети или общедоступные сети большой протяженности, которые, например, позволяют передавать пакеты сигналов между LAN. Пакеты сигналов могут передаваться между узлами сети, например, с одним или более сайтами, использующими адрес локальной сети. Пакет сигналов может, например, передаваться через Интернет с сайта пользователя через узел доступа, подключенный к Интернету. Аналогичным образом, пакет сигнала может быть направлен через сетевые узлы на целевой сайт, связанный с сетью, например, через узел доступа к сети. Пакет сигналов, передаваемый через Интернет, может, например, маршрутизироваться через путь шлюзов, серверов и т.д., которые могут направлять пакет сигнала в соответствии с целевым адресом и доступностью сетевого пути к целевому адресу. Эта пакетная передача сигналов может быть применима к передаче данных между устройством 1106, главным устройством 1104 и/или системой 1102 верификации возраста.
[00126] На фиг. 11c показано, что устройство 1106 может напрямую подключаться к сети, такой как сеть 1103. В качестве альтернативы устройство 1106 может рассматриваться как главное устройство 1104 или иметь функциональные возможности, предоставляемые главным устройством 1104. В частности, устройство 1106 может включать в себя сетевой интерфейс (примеры, описанные выше) и обеспечивать связь по сети 1103 с системой 1102 верификации возраста. В одном примере сетевой интерфейс может быть WPAN (например, Bluetooth), и в этом случае все еще может быть хост, или сетевой интерфейс может быть WLAN.
[00127] Фиг. 12 иллюстрирует присвоение картриджам уникальных идентификаторов. Устройство 1106 может иметь картридж 1108, необходимый для работы. Для устройства ENDS картридж может быть одноразовым и сменным. Соответственно, картриджи могут продаваться по отдельности или упаковками. Например, пользователь может приобрести пачку или упаковку из нескольких картриджей с разным вкусом или содержанием никотина. В одном варианте осуществления каждый картридж 1108 (помеченный как картридж 1, картридж 2,…, картридж n) может иметь уникальный идентификатор 1209. Уникальный идентификатор 1209 может быть серийным номером или другим уникальным представлением, которое отдельно идентифицирует каждый из n картриджей. На фиг. 12 показано, что существует уникальный серийный номер (серийный № 1, серийный № 2,…, серийный № n), связанный с каждым картриджем (картридж 1-n). В альтернативном примере каждая упаковка картриджей связана с уникальным идентификатором, так что все картриджи в одной упаковке будут связаны с этим уникальным идентификатором. После подтверждения уникального идентификатора упаковки для конкретного устройства или пользователя все картриджи из этой упаковке будут работать с этим устройством.
[00128] Уникальные идентификаторы или серийные номера могут быть присвоены картриджам в процессе производства. В другом примере дистрибьютор или другой субъект цепочки поставок может назначить картриджи. Картриджи, произведенные за рубежом, могли быть назначены по прибытии для распространения. Как описано в отношении фиг. 14-15, возраст пользователя должен быть верифицирован (например, фиг. 16), и при покупке или регистрации картриджей уникальные идентификаторы связаны с этим пользователем и его/ее устройством. В одном варианте осуществления каждый пользователь может иметь профиль пользователя, доступный по сети или хранящийся на вычислительном устройстве (например, мобильном устройстве или компьютере), который обновляется с помощью уникальных идентификаторов. В альтернативном примере устройство 1106 может хранить профиль пользователя или копию профиля пользователя, и пользователь аутентифицируется с помощью пароля, отпечатка пальца или распознавания лица с помощью устройства 1106. Картридж 1108 может не работать с устройством 1106, если в профиле пользователя картридж 1108 не указан как подтвержденный для этого устройства 1106.
[00129] Профиль пользователя может находиться на главном устройстве 1104 (например, храниться в памяти 1306 на фиг. 13) или доступен из системы 1102 верификации возраста по сети. Как описано со ссылкой на фиг. 14-15, уникальные идентификаторы картриджа связаны с профилем пользователя. В одном примере устройство 1106 может размыкать переключатель (например, 1308 на фиг. 13), который подает питание на картридж 1108 для работы. Без подтверждения картридж 1108 может не работать с конкретным устройством 1106.
[00130] Когда картридж 1108 подключен к устройству 1106, его уникальный идентификатор может быть отсканирован устройством 1106 или отправлен через вторичный вывод данных на интерфейсе картридж-устройство. В альтернативных примерах устройство 1106 может извлекать уникальный идентификатор из картриджа 1108 посредством оптического считывания штрихкода, радиочастотной (RF) идентификации, связи ближнего поля (NFC), считывания магнитных полос, считывателя чипов (например, аналогично устройству для чтения кредитных карт), проводной или беспроводной связи. Примерные штрихкоды могут включать в себя любой тип сканируемого идентификатора, такой как универсальный код продукта (UPC), код матрицы данных и/или код быстрого ответа (QR). Код может включать в себя любые одномерные (1D) коды, двумерные (2D) коды, трехмерные (3D) коды или другие типы кодов. Примерные способы связи и аутентификации с помощью RFID описаны в патенте США № 10 015 987 на имя Генри и др. и в публикации патента США № 2017/0020191 на имя Лэмба и др., каждый из которых включен в настоящее описание посредством ссылки. Примерная связь и аутентификация с помощью NFC описаны в патенте США № 9864947 на имя Sur и др., который включен в настоящее описание посредством ссылки. Другие примерные идентификаторы атрибутов дополнительно описаны в публикации патента США № 2019/0000144 на имя Bless и др., которая включена в настоящее описание посредством ссылки.
[00131] В альтернативном примере, если интерфейс устройство-картридж не имеет соединения для передачи данных для передачи уникального идентификатора картриджа 1108, уникальный идентификатор может быть передан устройству 1106 через подключение к источнику питания на основе предоставленного сигнала или пин-кода. Например, картридж 1108 может использовать питание от батареи устройства 1106 для отправки информации в память устройства 1106 (например, 1306 на фиг. 13). Устройство 1106 может сравнивать верифицированные уникальные идентификаторы с идентификаторами картриджа 1108, с которым оно обменивается данными. Если уникальные идентификаторы совпадают, переключатель (например, 1308 на фиг. 13) замыкается, позволяя току протекать от устройства 1106 к нагревателю внутри картриджа 1108. Если уникальные идентификаторы не совпадают, картридж 1108 отклоняется устройством 1106, и ток не может протекать. Когда картридж включает в себя метку, микросхему и т.п., несущие идентификатор, картридж может включать в себя активную метку/чип, пассивную метку/чип или их комбинацию. Активная метка может получать питание заранее (например, от внутренней батареи) и обмениваться данными автоматически, в отличие от пассивной метки, которая может не иметь внутреннего источника питания и должна быть активирована после сканирования устройством. В частности, наличие считывающего устройства обеспечивает питание пассивной метки, например, с помощью энергии активации магнитного поля. Даже если картридж не имеет внутреннего источника питания, может существовать активная метка, которая питается от батарейного блока.
[00132] В одном варианте осуществления устройство 1106 может быть или может включать в себя аксессуар для зарядки, как описано выше. В этом варианте осуществления аксессуар для зарядки может не обеспечивать питание устройства или картриджа, если уникальный идентификатор картриджа не подтвержден для этого устройства. Другими словами, уникальные идентификаторы картриджей могут использоваться аксессуаром зарядного устройства для верификации возраста или аутентификации, не предоставляя заряд устройству (или не разблокируя устройство), если уникальный идентификатор не подтвержден. В частности, хост может отправлять серийные номера приобретенных картриджей через контактный штифт передачи данных в аксессуаре зарядного устройства в память устройства.
[00133] Может существовать активный список подтвержденных картриджей/расходных материалов, который хранится и связан с пользователем (например, с профилем пользователя). В список также могут входить все устройства, приобретенные этим пользователем (например, с профилем пользователя). Список может быть таблицей или базой данных, которые хранятся локально или в сети ("в облаке"). В одном варианте осуществления хранилище профилей пользователей и/или активных списков может храниться в децентрализованном сетевом хранилище с использованием технологии блокчейн, как описано в заявке на патент США _________, озаглавленной "DECENTRALIZED IDENTITY STORAGE FOR TOBACCO PRODUCTS" (Документ 16004-56), который заявляет о приоритете предварительной заявки на патент США № 62/838272, поданной 24 апреля 2019 г., озаглавленной "DECENTRALIZED IDENTITY STORAGE FOR TOBACCO PRODUCTS", полное раскрытие каждой из которых включено посредством ссылки. Могут быть ограничения на количество активных устройств и/или количество активных картриджей, чтобы предотвратить совместное использование. Перечисленные картриджи могут работать только с перечисленными устройствами, а перечисленные устройства могут принимать только перечисленные картриджи. Активный список подтвержденных картриджей может обновляться каждый раз, когда пользователь покупает дополнительные картриджи, которые добавляются в список. Аналогичным образом, когда картридж был использован, уникальный идентификатор этого картриджа удаляется из активного списка. В одном варианте осуществления список может идентифицировать этот картридж как израсходованный. Устройство может определять конец срока службы картриджа и автоматически обновлять статус картриджа. Обнаружение или расчет окончания срока службы может основываться на количестве затяжек для каждого картриджа и может включать в себя вычисления средней длины затяжки и среднего количества затяжек за период для точного определения конца срока службы картриджа. В альтернативном варианте осуществления окончание срока службы может быть рассчитано/обнаружено на основе контроля/подсчета кулонов/энергии или на основе температуры устройства. Окончание срока службы можно оценить на основе использования энергии или температуры. Если картридж является повторно заправляемым, возможно, потребуется сравнивать его с активным списком каждый раз при его повторном заполнении, чтобы предотвратить совместное использование.
[00134] Фиг. 13 иллюстрирует вариант осуществления схемы 1302 аутентификации. Схема 1302 аутентификации может быть частью устройства 1106 или главного устройства 1104. Схема 1302 аутентификации может включать в себя функциональные возможности для выполнения аутентификации устройства 1106 и/или картриджа 1108 на основе уникального идентификатора, зарегистрированного в картридже 1108. Схема 1302 аутентификации может также включать в себя функцию верификации возраста, которая может выполняться отдельно от регистрации уникального идентификатора или может быть частью процесса регистрации. Схема 1302 аутентификации может включать в себя процессор 1304, память 1306 и переключатель 1308.
[00135] Процессор 1304 в схеме 1302 аутентификации может быть на одной или более микросхемах и может включать в себя центральный процессор (CPU), графический процессор (GPU), процессор цифровых сигналов (DSP) или другой тип устройства обработки. Процессор 1304 может быть одним или более процессорами общего назначения, процессорами цифровых сигналов, специализированными интегральными схемами, программируемыми вентильными матрицами, серверами, сетями, цифровыми схемами, аналоговыми схемами, их комбинациями или другими известными в настоящее время или разработанными позже устройствами для анализа и обработки данных. Процессор 1304 может работать вместе с программой, такой как код, сгенерированный вручную (т.е. запрограммированный).
[00136] Процессор 1304 может быть связан с памятью 1306, или память 1306 может быть отдельным компонентом. Память 1306 может включать в себя, помимо прочего, машиночитаемые носители данных, такие как различные типы энергозависимых и энергонезависимых носителей данных, включающие в себя оперативную память, постоянную память, программируемую постоянную память, электрически программируемую постоянную память, электрически стираемую постоянную память, флэш-память, магнитную ленту или диск, оптические носители и тому подобное. Память 1306 может включать в себя оперативную память для процессора 1304. В качестве альтернативы, память 1306 может быть отдельной от процессора 1304, такой как кэш-память процессора, системная память или другая память. Память 1306 может быть внешним запоминающим устройством или базой данных для хранения записанных приложений или пользовательских данных. Примеры включают в себя жесткий диск, компакт-диск ("CD"), цифровой видеодиск ("DVD"), карту памяти, карту memory stick, дискету, запоминающее устройство с универсальной последовательной шиной ("USB") или любое другое устройство, предназначенное для хранения приложений или пользовательских данных. Память 1306 предназначена для хранения инструкций, выполняемых процессором 1304.
[00137] Функции, действия или задачи, проиллюстрированные на чертежах или описанные здесь, могут выполняться запрограммированным процессором, выполняющим инструкции, хранящиеся в памяти 1306. В частности, работа системы 1102 верификации возраста или регистрации уникальных идентификаторов для картриджа 1108 может выполняться процессором 1304 на основе инструкций из памяти 1306. Функции, действия или задачи не зависят от конкретного типа набора инструкций, носителя информации, процессора или стратегии обработки и могут выполняться программным обеспечением, аппаратным обеспечением, интегральными схемами, микропрограммным обеспечением, микрокодом и т.п., работающими по отдельности или в комбинации. Аналогичным образом, стратегии обработки могут включать в себя многопроцессорность, многозадачность, параллельную обработку и т.п.
[00138] Процессор 1304 может быть сконфигурирован для выполнения программного обеспечения, включающего в себя инструкции для верификации возраста пользователя или для последующих операций аутентификации на основе уникального идентификатора, назначенного картриджу 1108 для системы 1102 верификации возраста. В частности, если процессор 1304 не может проверить возраст пользователя или устройство 1106 не было аутентифицировано (например, уникальный идентификатор, присвоенный картриджу 1108, не подтвержден для устройства 1106), то переключатель 1308 может быть активирован для предотвращения работы устройства 1106. В некоторых вариантах реализации переключатель 1308 может использоваться для подачи питания от устройства 1106 на картридж 1108. Этот переключатель 1308 может быть выключен по умолчанию, если проверка или аутентификация не подтверждены. Переключатель 1308 может управлять потоком электричества к картриджу 1108, так что поток электричества разрешается, если аутентификация из верификации возраста проходит. В качестве альтернативы, подача электроэнергии может быть остановлена, если аутентификация или верификация возраста не удается. Хотя переключатель 1308 показан как часть схемы 1302 аутентификации, в альтернативных вариантах осуществления он может быть отдельным компонентом.
[00139] Фиг. 14 - блок-схема последовательности операций, иллюстрирующая процесс регистрации картриджа. Пользователь устройства 1106 покупает картридж или упаковку картриджей на этапе 1402. Приобретаемые картриджи связаны с уникальными идентификаторами (либо уникальным идентификатором для каждого картриджа, либо одним уникальным идентификатором для всех картриджей в упаковке). Пользователю необходимо связать купленные картриджи с пользователем или устройствами пользователя. В одном варианте осуществления может быть сканируемый тег/код (например, любой из кодов или тегов, описанных выше) на упаковке, которую сканирует пользователь, который автоматически связывает серийные номера с пользователем. Для целей этого примера сканируемый тег/код может быть QR-кодом, и у пользователя может быть приложение или приложение на мобильном телефоне (например, главном устройстве 1104), которое связано с профилем пользователя и которое получает отсканированный QR-код или серийные номера (например, этап 1408). Затем приложение может связать серийные номера с пользователем и его устройствами. Возраст пользователя должен быть подтвержден на этапе 1406, что могло уже произойти, когда пользователь приобрел устройство 1106 или настроил профиль пользователя. Верификация 1406 возраста пользователя дополнительно описывается со ссылкой на фиг. 16. Для верифицированного пользователя серийные номера картриджей перечислены как подтвержденные для использования конкретным пользователем, устройством или устройствами на этапе 1408. Этот список подтвержденных картриджей предоставляется устройству 1106 или главному устройству 1104 на этапе 1410. После подключения картриджа 1108 к устройству 1106 устройство определяет серийный номер картриджа 1108 и сравнивает его с активным/подтвержденным списком на этапе 1412. Если серийный номер картриджа 1108 находится в активном/подтвержденном списке, то картридж 1108 будет работать с устройством 1106, как на этапе 1414. Если серийный номер картриджа 1108 отсутствует в активном/подтвержденном списке, то картридж 1108 будет отклонен устройством 1106, как на этапе 1416.
[00140] Фиг. 15 - это блок-схема последовательности операций, иллюстрирующая процесс регистрации картриджа с верификацией пользователя при покупке. Фиг. 15 аналогичен фиг. 14, за исключением того, что верификация возраста может происходить во время покупки на этапе 1502. При покупке в магазине или киоске пользователь может отсканировать свое удостоверение личности (например, водительские права или паспорт) для верификации возраста и отсканировать упаковку картриджа. Сканирование упаковки картриджей позволяет получить серийные номера, которые добавляются в подтвержденный список на этапе 1504. Другими словами, верификация возраста и регистрация серийного номера картриджа могут быть предоставлены во время покупки. В одном примере верификация возраста, необходимая для покупки, может использоваться как верификация возраста. Верификация возраста и серийные номера картриджей могут быть загружены автоматически. В другом примере для онлайн-покупки верификация возраста может выполняться во время покупки или как условие завершения покупки, и серийные номера картриджей, приобретенных онлайн, автоматически связываются (т.е., указаны как подтвержденные в активном списке) с верифицированным по возрасту пользователем и устройствами этого пользователя. После того, как картриджи добавлены в подтвержденный список и возраст пользователя верифицирован, оставшиеся этапы для фиг. 15 являются такими же, как этапы 1410-1416 на фиг. 14.
[00141] Фиг. 16 иллюстрирует примеры верификации из системы 1102 верификации возраста. Верификация возраста может храниться в профиле пользователя или быть связана с пользователем. Этот профиль пользователя и связь с пользователем также могут включать в себя устройства, принадлежащие этому пользователю, и уникальные идентификаторы картриджей, приобретенных этим пользователем. Процесс аутентификации для использования устройства с конкретным картриджем включает в себя сравнение уникального идентификатора для этого картриджа с подтвержденными картриджами, которые могут быть указаны в профиле пользователя или сохранены на главном устройстве. Чтобы выполнить аутентификацию картриджа, пользователю может потребоваться первая верификация возраста. Верификация возраста может выполняться только один раз или может нуждаться в периодическом обновлении, тогда как аутентификация может требоваться чаще (например, каждый раз при замене картриджа).
[00142] Система 1102 верификации возраста обеспечивает функциональные возможности для верификации возраста пользователя. Верификация возраста может быть для конкретного пользователя, так что верификация применяется для нескольких устройств, используемых этим пользователем, но все же может потребовать аутентификации для каждого отдельного устройства. В некоторых вариантах осуществления для каждого устройства может потребоваться процесс верификации возраста в дополнение к последующим аутентификациям. Примеры 1601 верификации являются примерами механизмов для верификации возраста пользователя. В качестве первоначальной верификации возраста система 1102 верификации возраста может потребовать некоторый документ 1606 идентификации для установления возраста пользователя. Например, водительские права или паспорт могут быть загружены, чтобы установить возраст пользователя. Изображение из этого документа может быть использовано для верификации будущего возраста посредством распознавания лица 1608 с использованием этого изображения. Технология распознавания лиц может анализировать два изображения, чтобы подтвердить соответствие личности, отклонить верификацию личности или пометить верификацию, чтобы запросить дополнительную идентификационную информацию. В альтернативных вариантах осуществления этап верификации может включать в себя звуковой ввод от пользователя, такой как произнесение числа, последовательности или кода для верификации активности. Другой пример 1601 верификации включает в себя телефонный звонок службы 1607 поддержки, в котором пользователь может подтвердить личность, предоставив или подтвердив информацию о пользователе. В одном варианте осуществления служба 1607 поддержки может использоваться для подтверждения информации, предоставленной в документе 1606 идентификации. Примеры, описанные здесь в отношении картриджей, могут быть применены к другим расходным материалам, таким как элементы источника аэрозоля, которые могут использоваться с устройствами, показанными на фиг. 3-6. Картридж может быть одним из примеров расходных материалов для устройства, и ссылка на картридж может включать в себя другие расходные материалы. Другие примеры элемента источника аэрозоля могут включать в себя "стик", который может содержать табак, табачный экстракт, формирователь аэрозоля, никотин и/или другой активный ингредиент, который можно использовать в устройстве нагрева без горения.
[00143] Вышеприведенное описание использования изделия(-ий) может быть применено к различным примерным реализациям, описанным в данном документе, посредством незначительных модификаций, которые могут быть очевидны специалисту в данной области техники в свете дополнительного раскрытия, представленного в данном документе. Приведенное выше описание использования, однако, не предназначено для ограничения использования изделия, но предоставлено для соблюдения всех необходимых требований раскрытия настоящего раскрытия. Любой из элементов, показанных в изделии(-ях), показанном на фиг. 1-16, или как иным образом описано выше, может быть включен в устройство для доставки аэрозоля в соответствии с настоящим раскрытием.
[00144] Многие модификации и другие реализации раскрытия, изложенного в данном документе, придут на ум специалистам в данной области техники, к которой относится это раскрытие, с учетом преимуществ идей, представленных в предшествующих описаниях и связанных чертежах. Следовательно, следует понимать, что раскрытие не должно ограничиваться конкретными раскрытыми реализациями, и что модификации и другие реализации предназначены для включения в объем прилагаемой формулы изобретения. Более того, хотя предшествующие описания и связанные чертежи описывают примерные реализации в контексте определенных примерных комбинаций элементов и/или функций, следует принимать во внимание, что различные комбинации элементов и/или функций могут быть предоставлены альтернативными реализациями без отклонения от объема прилагаемой формулы изобретения. В этом отношении, например, также рассматриваются различные комбинации элементов и/или функций, чем те, которые явно описаны выше, как может быть изложено в некоторых из прилагаемых пунктов формулы изобретения. Хотя конкретные термины используются в данном документе, они используются только в общем и описательном смысле, а не в целях ограничения.
Группа изобретений относится к системе доставки аэрозоля, способу регистрации картриджей, используемых с устройством доставки аэрозоля, и устройству доставки аэрозоля. Система доставки аэрозоля содержит систему верификации возраста, выполненную с возможностью верификации возраста пользователя, и устройство доставки аэрозоля, которое предоставляет аэрозоль пользователю и выполнено с возможностью содержания одного из множества расходных материалов. Каждому из расходных материалов назначен уникальный идентификатор, который используется для аутентификации одного из множества расходных материалов путем сравнения уникального идентификатора одного из множества расходных материалов с подтвержденным списком уникальных идентификаторов расходных материалов, связанных с пользователем. Для работы устройства доставки аэрозоля требуется, чтобы пользователь был верифицирован по возрасту, а расходные материалы были аутентифицированы. Обеспечивается точное идентифицирование пользователя по возрасту. 3 н. и 19 з.п. ф-лы, 18 ил.
1. Система доставки аэрозоля, содержащая систему верификации возраста, выполненную с возможностью верификации возраста пользователя, и устройство доставки аэрозоля, которое предоставляет аэрозоль пользователю и выполнено с возможностью содержания одного из множества расходных материалов, при этом каждому из расходных материалов назначен уникальный идентификатор, который используется для аутентификации одного из множества расходных материалов путем сравнения уникального идентификатора одного из множества расходных материалов с подтвержденным списком уникальных идентификаторов расходных материалов, связанных с пользователем, при этом дополнительно для работы устройства доставки аэрозоля требуется, чтобы пользователь был верифицирован по возрасту, а расходные материалы были аутентифицированы.
2. Система по п. 1, в которой каждый из расходных материалов содержит композицию прекурсора аэрозоля и нагревательный элемент, выполненный с возможностью нагрева композиции прекурсора аэрозоля до образования аэрозоля.
3. Система по п. 2, при этом устройство доставки аэрозоля дополнительно содержит батарейный блок, включающий в себя аккумулятор, батарейный блок выполнен с возможностью соединения с одним из расходных материалов.
4. Система по п. 3, при этом аккумулятор обеспечивает питание нагревательного элемента.
5. Система по п. 4, при этом питание подается на нагревательный элемент только тогда, когда один из множества расходных материалов аутентифицирован с помощью уникального идентификатора, подтвержденного для использования с устройством доставки аэрозоля.
6. Система по п. 1, при этом подтвержденный список содержит уникальные идентификаторы для расходных материалов, приобретенных пользователем и зарегистрированных для него.
7. Система по п. 1, при этом для аутентификации требуется, чтобы сначала был верифицирован возраст пользователя.
8. Система по п. 1, при этом аутентификация требуется каждый раз, когда расходный материал заменяется или пополняется.
9. Система по п. 1, дополнительно содержащая главное устройство, связанное с устройством доставки аэрозоля и связанное с системой верификации возраста, при этом главное устройство получает доступ к профилю пользователя для пользователя, который хранит подтвержденный список уникальных идентификаторов.
10. Система по п. 9, при этом профиль пользователя хранится в сети, и к нему осуществляется доступ с помощью главного устройства.
11. Система по п. 9, при этом главное устройство содержит мобильное устройство, и доступ к профилю пользователя осуществляется приложением на мобильном устройстве.
12. Система по п. 9, при этом главное устройство обменивается данными с системой верификации возраста по сети.
13. Способ регистрации картриджей, используемых с устройством доставки аэрозоля, способ содержит этапы, на которых: принимают верификацию возраста для пользователя устройства доставки аэрозоля; принимают запрос уникального идентификатора, связанного с одним из картриджей; добавляют уникальный идентификатор для одного из картриджей в подтвержденный список для пользователя; и принимают запрос на аутентификацию одного из картриджей путем сравнения уникального идентификатора указанного одного из картриджей с подтвержденным списком, при этом этот картридж получает питание от устройства доставки аэрозоля, когда уникальный идентификатор для этого картриджа находится в подтвержденном списке в связи с пользователем.
14. Способ по п. 13, при этом уникальные идентификаторы для каждого картриджа присваивают при изготовлении и предоставляют после покупки.
15. Способ по п. 14, при этом подтвержденный список обновляют уникальными идентификаторами для каждого приобретенного картриджа.
16. Способ по п. 13, при этом уникальный идентификатор для любых израсходованных картриджей удаляют из подтвержденного списка.
17. Способ по п. 13, при этом запрос для уникального идентификатора содержит сканирование пользователем штрихкода картриджа.
18. Способ по п. 13, при этом подтвержденный список является частью профиля пользователя, который также включает в себя верификацию возраста пользователя и хранится в сети.
19. Способ по п. 13, при этом верификация возраста дополнительно содержит этап, на котором осуществляют обмен данными по сети с системой верификации возраста для получения верификации возраста пользователя.
20. Способ по п. 13, при этом подтвержденный список хранится в сети с использованием технологии блокчейн.
21. Устройство доставки аэрозоля, содержащее управляющий элемент, выполненный с возможностью подачи питания для выработки аэрозоля, и один из множества расходных материалов, который выполнен с возможностью соединения с управляющим элементом для выработки аэрозоля, при этом каждому из расходных материалов назначен уникальный идентификатор, который используется для аутентификации путем сравнения уникального идентификатора расходного материала, установленного в управляющем элементе, с подтвержденным списком уникальных идентификаторов для пользователя устройства доставки аэрозоля, при этом дополнительно для работы управляющего элемента требуется верификация возраста пользователя и аутентификация до разрешения выработки аэрозоля из расходного материала.
22. Устройство по п. 21, при этом подтвержденный список содержит уникальные идентификаторы расходных материалов, приобретенных пользователем и зарегистрированных для него, при этом регистрация для пользователя включает в себя верификацию возраста.
| Способ получения цианистых соединений | 1924 |
|
SU2018A1 |
| Станок для придания концам круглых радиаторных трубок шестигранного сечения | 1924 |
|
SU2019A1 |
| Автомобиль-сани, движущиеся на полозьях посредством устанавливающихся по высоте колес с шинами | 1924 |
|
SU2017A1 |
| Способ получения цианистых соединений | 1924 |
|
SU2018A1 |
| УПРАВЛЯЮЩЕЕ НАГРЕВАНИЕМ УСТРОЙСТВО ДЛЯ ЭЛЕКТРОННОГО КУРИТЕЛЬНОГО ИЗДЕЛИЯ И ОТНОСЯЩИЕСЯ К НЕМУ СИСТЕМА И СПОСОБ | 2014 |
|
RU2647805C2 |
Авторы
Даты
2024-11-14—Публикация
2020-05-15—Подача