ФИЛЬТР-ПАКЕТ ДЛЯ ПОЛУЧЕНИЯ ЭКСТРАКТА НАПИТКА КАПЕЛЬНЫМ ПУТЕМ (ВАРИАНТЫ) Российский патент 2025 года по МПК A47J31/06 

Описание патента на изобретение RU2834431C2

Область техники

[0001] Настоящее изобретение относится к фильтр-пакету, закрепляемому на верхней части контейнера, например чашки, с тем, чтобы можно быть легко получать капельным путем такой экстракт, как кофе, черный чай, зеленый чай или лекарственное средство на основе трав.

Уровень техники

[0002] В качестве фильтр-пакета, позволяющего легко получать кофе, завариваемый капельным путем, обычно используют широко распространенный фильтр-пакет, включающий в себя корпус пакета, который выполнен из водопроницаемого фильтрующего полотна и открыт на своем верхнем конце, а также зацепы, которые изготовлены из тонкого пластинчатого материала и расположены на двух противоположных наружных поверхностях корпуса пакета, причем этот фильтр-пакет выполнен с возможностью зацепления за стенки отверстия чашки после оттягивания зацепов в противоположных направлениях (см. патентный документ 1). Корпус пакета такого фильтр-пакета имеет прямоугольную форму отверстия, если пара вертикальных линий сгиба, проходящих в вертикальном направлении, образована в верхних лентообразных частях соединения, которые изготовлены из тонкого пластинчатого материала и расположены вдоль верхней стороны корпуса пакета.

[0003] В другом случае, чтобы сделать форму отверстия корпуса пакета более круглой и тем самым увеличить площадь отверстия, было предложено формировать в верхних частях соединения, которые изготовлены из тонкого пластинчатого материала и расположены вдоль отверстия корпуса пакета, пару наклонных линий сгиба (см. патентный документ 2).

[0004] Кроме того, был предложен фильтр-пакет, имеющий корпус пакета, в котором запечатано экстрагируемое вещество, и также имеющий зацепляющие элементы, которые изготовлены из тонкого пластинчатого материала и расположены на двух противоположных наружных поверхностях корпуса пакета. В таком фильтр-пакете пара распечатывающих выступов, изготовленных из тонкого пластинчатого материала, выступает с противоположных участков верхнего края корпуса пакета, благодаря чему верхний край корпуса пакета можно легко открыть для экстракции (см. патентный документ 3).

Список ссылочных документов

Патентные документы

[0005] Патентный документ 1: Патент Японии №4079041

Патентный документ 2: Патент Японии №5858172

Патентный документ 3: Патент Японии №5817881

Сущность изобретения

Техническая проблема

[0006] В фильтр-пакете, описанном в патентном документе 2, пару наклонных линий сгиба, предусмотренных в верхних частях соединения, которые изготовлены из тонкого пластинчатого материала и расположены вдоль отверстия корпуса пакета, выгибают просто за счет оттягивания пары зацепов фильтр-пакета в противоположных направлениях. Благодаря паре зацепов, зацепляемых поверх чашки, корпус пакета открывается сам по себе, с образованием отверстия по существу восьмиугольной формы. Это обстоятельство может увеличить площадь отверстия по сравнению с прямоугольной формой отверстия. В таком случае пару наклонных линий сгиба предпочтительно выполнять так, чтобы их можно было легко сгибать. Для этой цели наклонные линии сгиба могут быть выполнены с перфорациями, и в этом случае желательно: чтобы длина перемычек между перфорациями была как можно более короткой по сравнению с длиной прорезей, чтобы количество перемычек было как можно меньше и чтобы верхние концы пары наклонных линий сгиба располагались как можно ближе к верхним сторонам верхних частей соединения.

[0007] Однако, если верхние концы пары наклонных линий сгиба и верхние стороны верхних частей соединения расположены максимально близко друг к другу, то верхние стороны верхних частей соединения могут рваться на верхних концах наклонных линий сгиба из-за невыверенного положения перфораций или аналогичных элементов. Если фильтр-пакет навешивать на чашку с помощью верхних сторон разорванных верхних частей соединения, то усилие, прилагаемое для растягивания корпуса пакета в противоположных направлениях, будет концентрироваться на этих разорванных областях. Такая концентрация усилия искажает форму отверстия корпуса пакета и затрудняет заливку горячей воды в фильтр-пакет.

[0008] С учетом вышеизложенного, задачей настоящего изобретения является создание фильтр-пакета, содержащего тонкие пластинчатые элементы, расположенные на двух соответствующих противоположных наружных поверхностях корпуса пакета фильтр-пакета, причем эти тонкие пластинчатые элементы содержат зацепы и верхние части соединения, проходящие вдоль верхней стороны корпуса пакета, при этом фильтр-пакет исключает разрыв верхних частей соединения, могущий возникнуть, когда зацепы тянут в противоположных направлениях и зацепляют фильтр-пакет поверх чашки, причем данный фильтр-пакет позволяет надежно увеличить площадь отверстия корпуса пакета, обеспечивает в предпочтительном случае легкое открывание корпуса пакета, когда экстрагируемое вещество запечатано в таком фильтр-пакете, а в более предпочтительном случае позволяет еще легче открывать корпус пакета по сравнению со случаем, в котором предусмотрены распечатывающие выступы, описанные в патентном документе 3.

Решение проблемы

[0009] Автор настоящего изобретения обнаружил нижеследующие обстоятельства и разработал настоящее изобретение: Предположим, что фильтр-пакет содержит тонкие пластинчатые элементы, расположенные на двух соответствующих противоположных наружных поверхностях корпуса пакета фильтр-пакета (далее также называемых передней и задней сторонами корпуса пакета), при этом указанные тонкие пластинчатые элементы включают в себя верхние части соединения, расположенные вдоль верхней стороны корпуса пакета, и зацепы, выполненные с возможностью оттягивания от корпуса пакета. Если в верхних частях соединения образованы наклонные линии сгиба, наклонно пересекающие срединную линию по ширине верхних частей соединения, то: (i) оттягивание в противоположных направлениях зацепов, предусмотренных на передней и задней сторонах корпуса пакета, скручивает верхние части соединения относительно наклонных линий сгиба; (ii) такое скручивание повышает жесткость верхних частей соединения, так что верхние части соединения округло сгибаются, принимая изогнутую форму; (iii) величина изгиба не сильно меняется и остается по существу постоянной независимо от изменения величины усилия, с которым оттягивают в противоположных направлениях зацепы на передней и задней сторонах корпуса пакета; и (iv) если наклонные линии сгиба отрегулированы по размеру и подобным параметрам таким образом, что отверстие корпуса пакета имеет форму правильного шестиугольника с закругленными углами, соответствующими наклонным линиям сгиба, когда фильтр-пакет нацеплен поверх чашки с небольшим диаметром отверстия, то даже если фильтр-пакет нацеплять поверх чашки с большим диаметром отверстия, зацепы можно будет оттягивать далеко от корпуса пакета, и отверстие корпуса пакета будет сохранять форму правильного шестиугольника с закругленными углами.

[0010] Более конкретно, в настоящем изобретении предложен фильтр-пакет, содержащий корпус пакета, выполненный из водопроницаемого фильтрующего полотна, и тонкие пластинчатые элементы, расположенные на двух противоположных наружных поверхностях корпуса пакета,

при этом на каждой из двух указанных противоположных наружных поверхностей корпуса пакета тонкий пластинчатый элемент содержит верхнюю часть соединения, прикрепленную к корпусу пакета вдоль его верхней стороны, центральную часть, прикрепленную к корпусу пакета на его нижней стороне относительно указанной верхней части соединения, и зацеп, выполненный непрерывным с центральной частью и расположенный с возможностью оттягивания от корпуса пакета,

причем указанная верхняя часть соединения имеет наклонную линию сгиба, наклонно пересекающую срединную линию по ширине верхней части соединения.

[0011] В настоящем изобретении также предложен вариант, при котором корпус пакета вышеупомянутого фильтр-пакета заполнен экстрагируемым веществом и запечатан.

[0012] В частном случае, предложен фильтр-пакет с распечатывающими выступами. Другими словами, у вышеупомянутого фильтр-пакета, корпус которого заполнен экстрагируемым веществом и запечатан, на верхней стороне корпуса сформирована легко разрываемая линия; и предусмотрена пара распечатывающих выступов, проходящих от верхних частей соединения на двух указанных противоположных наружных поверхностях корпуса пакета и выступающих с противоположных участков верхней стороны корпуса пакета.

[0013] Кроме того, предусмотрен вариант вышеупомянутого фильтр-пакета с распечатывающими выступами, в котором указанные распечатывающие выступы и корпус пакета соединены на пересечении между боковыми сторонами пары распечатывающих выступов и верхней стороной корпуса пакета в средних областях тонких пластинчатых элементов в направлении ширины.

[0014] Кроме того, предусмотрен вариант вышеупомянутого фильтр-пакета с распечатывающими выступами, в котором в средних областях верхних частей соединения выполнены разрезы в направлении ширины, причем эти разрезы образованы продолжением верхних сторон верхних частей соединения от места, где не проходят распечатывающие выступы, до основания распечатывающих выступов.

Полезные эффекты изобретения

[0015] Согласно настоящему изобретению, тонкие пластинчатые элементы на передней и задней сторонах корпуса пакета включают в себя верхние части соединения, расположенные вдоль верхней стороны корпуса пакета, причем эти верхние части соединения имеют наклонные линии сгиба, наклонно пересекающие срединную линию по ширине верхних частей соединения. Если корпус пакета открывают, потянув за зацепы на передней и задней сторонах корпуса пакета в противоположных направлениях, то средние области верхних частей соединения скручиваются относительно наклонных линий сгиба. Поскольку скручивание повышает жесткость верхних частей соединения, верхние части соединения отклоняются, округло изгибаясь. Величина изгиба практически не изменяется и остается по существу постоянной, даже если зацепы тянуть в противоположных направлениях с большим усилием. Таким образом, оттягивание зацепов на передней и задней сторонах корпуса пакета в противоположных направлениях придает боковым зонам передней и задней сторон корпуса пакета прямую форму, причем эти боковые зоны расположены между верхними частями соединения на передней и задней сторонах корпуса пакета. Если боковые зоны корпуса пакета и верхние части соединения отрегулированы по ширине таким образом, чтобы корпус пакета в это время имел форму отверстия в виде правильного шестиугольника, и величина изгиба отрегулирована за счет регулировки длины наклонных линий сгиба в направлении ширины корпуса пакета, угла наклонных линий сгиба относительно срединной линии по ширине корпуса пакета и других его свойств, то форма отверстия корпуса пакета, когда фильтр-пакет нацеплен поверх чашки, представляет собой форму правильного шестиугольника с закругленными углами, соответствующими наклонным линиям сгиба в верхних частях соединения, независимо от диаметра отверстия чашки. Этот эффект увеличивает площадь отверстия по сравнению со случаем, когда в верхних частях соединения образованы вертикальные линии сгиба, придающие отверстию прямоугольную форму.

[0016] Чтобы верхние части соединения округло изгибались в форму отверстия корпуса пакета, как описано выше, предпочтительно, чтобы верхние концы наклонных линий сгиба не были настолько близко расположенными к верхним сторонам верхних частей соединения, насколько это возможно. Это обстоятельство может снизить риск повреждения верхних сторон верхних частей соединения верхними концами наклонных линий сгиба, и площадь отверстия корпуса пакета может быть стабильно увеличена.

[0017] В одном из вариантов изобретения предусмотрены наклонная верхняя боковая часть верхней части соединения или наклонный разрез, проходящий от верхней стороны верхней части соединения вдоль верхнего конца наклонной линии сгиба, которые расположены на любой из левой и правой сторон от наклонной линии сгиба, а также предусмотрены наклонная нижняя боковая часть верхней части соединения или наклонный разрез, проходящий от нижней стороны верхней части соединения вдоль нижнего конца наклонной линии сгиба, которые расположены на другой из указанных левой и правой сторон от наклонной линии сгиба. В таком варианте скручивание относительно наклонной линии сгиба при открытии корпуса пакета становится сильнее, и из-за этого скручивание затрудняет сгибание верхней части соединения. Это обстоятельство увеличивает радиус кривизны верхних частей соединения, когда зацепы на передней и задней сторонах корпуса пакета оттягивают в противоположных направлениях, и отверстие корпуса пакета может быть выполнено более круглым по форме.

[0018] В варианте с распечатывающими выступами, в котором корпус пакета заполнен экстрагируемым веществом и запечатан, на верхней стороне корпуса пакета образована легко разламываемая линия, и предусмотрена пара распечатывающих выступов, проходящих от верхних частей соединения на передней и задней сторонах корпуса пакета и выступающих с противоположных участков верхней стороны корпуса пакета, корпус пакета может быть легко вскрыт при использовании фильтр-пакета для экстракции.

[0019] В таком случае, если распечатывающие выступы и корпус пакета соединены на пересечении между парой распечатывающих выступов и верхней стороной корпуса пакета, вскрытие путем оттягивания пары распечатывающих выступов в противоположных направлениях становится легче.

[0020] Если в средних областях верхних частей соединения выполнены разрезы в направлении ширины, причем эти разрезы образованы продолжением верхних сторон верхних частей соединения от места, где не проходят распечатывающие выступы, до основания распечатывающих выступов, указанные средние области верхних частей соединения могут быть округло отогнуты до формы отверстия корпуса пакета, так чтобы это отверстие имело форму шестиугольника с закругленными углами, как в случае, когда нет распечатывающих выступов, хотя длины верхних частей соединения в вертикальном направлении корпуса пакета, где расположены распечатывающие выступы, больше.

Краткое описание чертежей

[0021] На фиг. 1А представлен вид в плане фильтр-пакета 1А, соответствующего одному из вариантов изобретения.

На фиг. 1В представлен увеличенный вид зоны А фильтр-пакета 1А, соответствующего указанному варианту изобретения.

На фиг. 2 представлен развернутый вид фильтр-пакета 1А, соответствующего указанному варианту изобретения.

На фиг. 3 представлен развернутый вид модификации фильтр-пакета 1А', соответствующего одному из вариантов изобретения.

На фиг. 4 представлен вид в перспективе состояния, в котором фильтр-пакет 1А, соответствующий указанному варианту изобретения, открыт и нацеплен поверх чашки.

На фиг. 5А представлен вид сверху состояния, в котором фильтр-пакет 1А, соответствующий указанному варианту изобретения, открыт и нацеплен поверх чашки.

На фиг. 5В представлен вид сверху состояния, в котором фильтр-пакет 1А, соответствующий указанному варианту изобретения, открыт и нацеплен поверх чашки, характеризующейся большим диаметром отверстия.

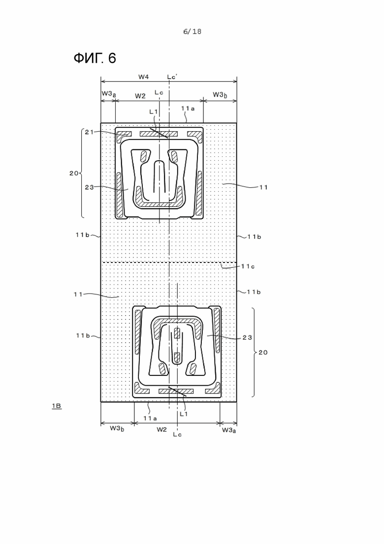
На фиг. 6 представлен развернутый вид фильтр-пакета 1В, соответствующего одному из вариантов изобретения, в котором нижние стороны двух противоположных поверхностей корпуса пакета соединены между собой.

На фиг. 7 представлен вид сверху состояния, в котором фильтр-пакет 1В, соответствующий указанному варианту изобретения, нацеплен поверх чашки.

На фиг. 8А представлен вид в плане фильтр-пакета 1С, соответствующего одному из вариантов изобретения.

На фиг. 8В представлен увеличенный вид зоны А фильтр-пакета 1С, соответствующего указанному варианту изобретения.

На фиг. 9 представлен вид в перспективе состояния, в котором фильтр-пакет 1С, соответствующий указанному варианту изобретения, открыт и нацеплен поверх чашки.

На фиг. 10 представлен вид сверху состояния, в котором фильтр-пакет 1С, соответствующий указанному варианту изобретения, открыт и нацеплен поверх чашки.

На фиг. 11А показан вид в плане фильтр-пакета 1D, соответствующего одному из вариантов изобретения.

На фиг. 11В показан увеличенный вид зоны А1 фильтр-пакета 1D, соответствующего указанному варианту изобретения.

На фиг. 12 показан вид сбоку фильтр-пакета 1D, соответствующего указанному варианту изобретения.

На фиг. 13А представлен развернутый вид фильтр-пакета 1D, соответствующего указанному варианту изобретения.

На фиг. 13В представлен увеличенный вид зоны А2 с развернутого вида фильтр-пакета 1D, соответствующего указанному варианту изобретения.

На фиг. 14 представлен вид в перспективе состояния, в котором фильтр-пакет 1D, соответствующий указанному варианту изобретения, открыт и нацеплен поверх чашки.

На фиг. 15 показан вид сверху состояния, в котором фильтр-пакет 1D, соответствующий указанному варианту изобретения, открыт и нацеплен поверх чашки.

На фиг. 16 представлен частичный увеличенный вид в плане фильтр-пакета 1Е, который представляет собой фильтр-пакет 1D, модифицированный в зоне А1 согласно одному из вариантов изобретения.

На фиг. 17 представлен частичный увеличенный вид в плане фильтр-пакета 1F, который представляет собой фильтр-пакет 1D, модифицированный в зоне А1 согласно одному из вариантов изобретения.

На фиг. 18 представлен частичный увеличенный вид в плане фильтр-пакета 1G, который представляет собой фильтр-пакет 1D, модифицированный в зоне А1 согласно одному из вариантов изобретения.

На фиг. 19 представлен частичный увеличенный вид в плане фильтр-пакета 1Н, который представляет собой фильтр-пакет 1D, модифицированный в зоне А1 согласно одному из вариантов изобретения.

На фиг. 20 представлен частичный увеличенный вид в плане фильтр-пакета 1I, который представляет собой фильтр-пакет 1D, модифицированный в зоне А1 согласно одному из вариантов изобретения.

На фиг. 21 представлен частичный увеличенный вид в плане фильтр-пакета 1J, который представляет собой фильтр-пакет 1D, модифицированный в зоне А1 согласно одному из вариантов изобретения.

На фиг. 22 показан вид в плане фильтр-пакета 1K, соответствующего еще одному варианту изобретения.

На фиг. 23 представлен вид в перспективе состояния, в котором фильтр-пакет 1K, соответствующий указанному варианту изобретения, нацеплен поверх чашки.

На фиг. 24 представлен вид в плане фильтр-пакета 1L, соответствующий еще одному варианту изобретения.

На фиг. 25 представлен вид в перспективе состояния, в котором зацеп фильтр-пакета 1L, соответствующего указанному варианту изобретения, оттянут.

На фиг. 26 показан вид в плане фильтр-пакета 1х, соответствующего сравнительному примеру.

На фиг. 27 показан вид сверху состояния, в котором фильтр-пакет 1х, соответствующий указанному сравнительному примеру, открыт и нацеплен поверх чашки.

Описание вариантов изобретения

[0022] Далее изобретение описано более подробно со ссылкой на чертежи. На чертежах одни и те же или эквивалентные компоненты обозначены одними и теми же номерами позиций.

[0023] Общая конфигурация фильтр-пакета:

На фиг.1А представлен вид в плане фильтр-пакета 1А, соответствующего одному из вариантов изобретения. Показанные на фиг. 1А зоны с косой штриховкой представляют собой зоны соединения водопроницаемого фильтрующего полотна 10 и тонкого пластинчатого элемента 20. Следует отметить, что эти зоны соединения не ограничены показанной конфигурацией. Зоны соединения обычно не видны снаружи из-за непрозрачности тонкого пластинчатого элемента 20.

На фиг. 1В изображен увеличенный вид зоны А, показанной на фиг. 1А. На фиг. 2 фильтр-пакет 1А представлен в развернутом виде. На фиг. 4 представлен вид в перспективе состояния, в котором фильтр-пакет 1А открыт и нацеплен поверх чашки 100. На фиг. 5А показан его вид сверху.

[0024] Данный фильтр-пакет 1А содержит корпус 11 пакета, изготовленный из водопроницаемого фильтрующего полотна 10, и тонкие пластинчатые элементы 20, которые изготовлены из тонкого пластинчатого материала и расположены на двух противоположных наружных поверхностях корпуса 11 пакета (т.е. на передней и задней сторонах корпуса 11 пакета).

[0025] Когда пользователь осуществляет экстракцию экстрагируемого вещества (например кофе) с помощью фильтр-пакета 1А, он помещает экстрагируемое вещество М в корпус 11 пакета (фиг. 5А). Таким образом, перед использованием в целях экстракции корпус 11 пакета представляет собой плоский пакет, который открыт с верхней стороны 11а и закрыт с трех сторон, включая обе боковые стороны 11b и нижнюю сторону 11 с (фиг. 1А).

[0026] В соответствии с настоящим изобретением, фильтр-пакет может представлять собой пакет с помещенным в него экстрагируемым веществом, т.е. пакет, у которого корпус 11 заполнен экстрагируемым веществом и запечатан. В таком случае в корпусе 11 пакета вдоль верхней стороны 11а корпуса 11, в котором запечатано экстрагируемое вещество, образована легко разрываемая линия (не показана), например, в виде набора раскрывающихся перфораций, так чтобы верхний конец корпуса 11 пакета мог быть легко открыт.

[0027] В заявленном фильтр-пакете 1А тонкие пластинчатые элементы 20 на передней и задней сторонах корпуса 11 пакета расположены симметрично относительно некоторой точки на развернутом виде, показанном на фиг. 2. Следует отметить, что в соответствии с изобретением тонкие пластинчатые элементы 20 на передней и задней сторонах корпуса 11 пакета могут быть расположены симметрично относительно линии, например, аналогично тому, как это показано на развернутом виде фильтр-пакета 1А' на фиг. 3.

[0028] Каждый из тонких пластинчатых элементов 20 на передней и задней сторонах корпуса 11 пакета включает в себя верхнюю часть 21 соединения, прикрепленную к корпусу 11 пакета вдоль верхней стороны 11а корпуса 11, центральную часть 22, прикрепленную к корпусу 11 пакета с нижней стороны 11с корпуса 11 относительно верхней части 21 соединения, и зацеп 23, выполненный непрерывным с центральной частью 22 и расположенный с возможностью оттягивания от корпуса 11 пакета. Зацеп 23 включает в себя лапку 24, непрерывную с центральной частью 22, и также включает в себя захват 25, непрерывный с лапкой 24.

[0029] Верхняя часть 21 соединения выполнена в форме ленты, по меньшей мере в средней части корпуса 11 пакета в направлении ширины, и имеет зону соединения с корпусом 11 пакета и, таким образом, прикреплена к корпусу 11 пакета. Как с левого, так и с правого концов верхней части 21 соединения расположены усиливающие части 28, непрерывно проходящие вниз вдоль боковых сторон 11b корпуса 11 пакета. Однако в настоящем изобретении усиливающие части 28 предусматривают при необходимости.

[0030] Чтобы облегчить изгибание верхней части 21 соединения для придания округлой формы отверстию корпуса 11 пакета, зоны соединения тонкого пластинчатого элемента 20 и корпуса 11 пакета в предпочтительном случае отсутствуют в местах, примыкающих к нижней стороне 21b верхней части 21 соединения в центре верхней части 21 соединения в направлении ширины. Если зацеп 23 был оттянут от корпуса 11 пакета, тонкий пластинчатый элемент 20 предпочтительно уже более не находится в положении, в котором он ранее примыкал к нижней стороне 21b в центре верхней части 21 соединения в направлении ширины (фиг. 4).

[0031] Указанная центральная часть 22 прикреплена к корпусу 11 пакета с нижней стороны корпуса 11 пакета относительно верхней части 21 соединения. Однако для целей фиксации необязательно предусматривать зону соединения между центральной частью 22 и корпусом 11 пакета. Центральная часть 22 может быть прикреплена к корпусу 11 пакета посредством первой центральной части соединения 26, непрерывной с центральной частью 22 на ее верхней стороне, и второй центральной части соединения 27, непрерывной с центральной частью 22 на ее нижней стороне, обе из которых включают в себя зону соединения с корпусом 11 пакета.

[0032] Лапка 24 проходит к верхней стороне корпуса пакета от центральной части 22 и может быть оттянута от корпуса 11 пакета, при этом торцевая сторона центральной части 22 действует в качестве фиксированного конца.

[0033] Участок лапки 24, расположенный ближе к центральной части 22, разветвляется на два, в результате чего образуются разветвленные лапки 24а и 24b, расположенные рядом на расстоянии друг от друга с проходящей между ними линией Lc, идущей по середине ширины верхней части 21 соединения. Указанные расположенные рядом участки соединяются вверху в соединительный участок 24 с лапки, который выполнен непрерывным с захватом 25. Зона между двумя лапками 24а и 24b служит в качестве первой центральной части 26 соединения, прикрепленной к корпусу 11 пакета. Вторая центральная часть 27 соединения сформирована как на левой, так и на правой стороне лапки 24.

[0034] На фиксированном конце каждой из лапок 24а и 24b воображаемая линия Lv, соединяющая нижние концы обеих боковых сторон оттягиваемой части лапки 24а или 24b, лежит наклонно относительно вертикального направления корпуса пакета. Если зацепы 23 на передней и задней сторонах корпуса 11 пакета оттянуть в противоположных направлениях и насадить фильтр-пакет 1А на чашку, то тонкие пластинчатые элементы 20 изогнутся у оснований лапок 24а и 24b под действием тянущего усилия. Такой изгиб у оснований не позволяет тянущему усилию действовать каким-либо иным образом, кроме как оттягивать переднюю и заднюю поверхность корпуса 11 пакета в противоположных направлениях, так чтобы корпус 11 пакета легко открывался.

[0035] Соединение лапок 24а и 24b вверху с соединительным участком 24 с лапки позволяет оттягивать две разветвленные лапки 24а и 24b от корпуса 11 пакета без перекручивания, благодаря чему зацепы 23 зацепляются поверх чашки в устойчивом состоянии.

[0036] Следует отметить, что один из технических результатов настоящего изобретения, согласно которому скручивание верхних частей 21 соединения относительно наклонных линий L1 сгиба может изгибать верхние части 21 соединения по существу на постоянную величину изгиба, даже если усилие оттягивания зацепов 23 на передней и задней сторонах корпуса 11 пакета в противоположных направлениях варьируется в зависимости от диаметра отверстия чашки, поверх которой зацеплен фильтр-пакет 1А, может быть достигнут путем конфигурирования лапки 24, как это описано в патентном документе 1, вместо разветвления лапки 24 на две.

[0037] Пара из левого участка и правого участка захвата 25 выполнена непрерывной с верхней частью лапки 24 и проходит от этой непрерывной части к нижней стороне корпуса 11 пакета снаружи от лапки 24, на расстоянии от лапки 24. Зона между захватом 25 и лапкой 24 служит в качестве второй центральной части 27 соединения, прикрепленной к корпусу 11 пакета. Пара левого и правого захватов 25 соединены снизу посредством соединительного участка 25а.

[0038] Данный фильтр-пакет 1А характеризуется тем, что верхняя часть 21 соединения имеет наклонную линию L1 сгиба, наклонно пересекающую срединную линию Lc по ширине W2 верхней части 21 соединения.

[0039] Наклонная линия L1 сгиба может быть выполнена в виде разреза, перфораций, неполного разреза, рифления и т.д. Из перечисленного в качестве наклонной линии L1 сгиба предпочтительно использовать разрез, поскольку он способствует эффекту округлого изгибания середины верхней части 21 соединения.

В настоящем варианте изобретения срединная линия Lc по ширине верхней части 21 соединения соответствует срединной линии Lc' по ширине корпуса 11 пакета.

[0040] Если одновременно оттянуть зацепы 23 на передней и задней сторонах корпуса 11 пакета и потянуть их в противоположных направлениях, чтобы раскрыть корпус 11 пакета с его верхней стороны 11а, то зацепы 23 можно зацепить на чашку 100, как показано на фиг. 4. В таком случае, даже если чашка 100 имеет небольшой диаметр отверстия, верхние части 21 соединения скручиваются относительно наклонных линий L1 сгиба, в результате чего верхние части 21 соединения округло изгибаются под углом γ на величину изгиба δ, как на виде сверху, показанном на фиг. 5А, поскольку зацепы 23 на передней и задней сторонах корпуса 11 пакета оттянуты в противоположных направлениях. Как будет описано ниже, угол γ и величина изгиба δ определяются: углом θ, который образует наклонная линия L1 сгиба относительно срединной линии Lc по ширине верхней части 21 соединения, длиной W1 наклонной линии L1 сгиба в направлении ширины корпуса 11 пакета, шириной W2 верхней части 21 соединения, твердостью и толщиной тонкого пластинчатого элемента 20 и т.д. Например, угол γ может быть задан равным 120°. В данном случае, если боковые зоны 11s корпуса 11 пакета, расположенные между верхними частями 21 соединения на передней и задней сторонах корпуса 11 пакета, имеют прямую форму, как показано на фиг. 5А, то отверстие корпуса 11 пакета будет иметь по существу форму правильного шестиугольника.

[0041] Если чашка 100 имеет большой диаметр отверстия, то зацепы 23 на передней и задней сторонах корпуса 11 пакета оттягивают в противоположных направлениях с большим усилием. Однако, поскольку верхние части 21 соединения скручиваются относительно наклонных линий L1 сгиба, угол γ и величина изгиба δ, обусловленные изгибом верхних частей 21 соединения, сильно не изменяются. Между тем, угол оттягивания зацепов 23 относительно корпуса 11 пакета (угол, который образуют лапки 24 зацепов 23, оттянутые от корпуса 11 пакета, относительно корпуса 11 пакета) легко увеличивается по мере оттягивания зацепов 23 в противоположных направлениях с большой силой. Таким образом, угол γ и величина изгиба δ при открытии корпуса 11 пакета сохраняются, и форма отверстия корпуса 11 пакета также сохраняется по существу правильной шестиугольной, если фильтр-пакет 1А зацеплен поверх чашки 100', имеющей большой диаметр отверстия, как показано на фиг. 5В.

Таким образом, этот фильтр-пакет 1А может сохранять форму отверстия корпуса 11 пакета по существу правильной шестиугольной независимо от диаметра отверстия чашки 100.

[0042] Чтобы облегчить оттягивание лапок 24 от корпуса 11 пакета путем вытягивания зацепов 23, зоны В1 и В2 соединения между тонким пластинчатым элементом 20 и корпусом 11 пакета предпочтительно расположены чуть ниже наклонной линии L1 сгиба (фиг. 1А).

[0043] Возьмем для сравнительного примера фильтр-пакет 1х, показанный на фиг. 26, в котором, подобно фильтр-пакету, описанному в патентном документе 1, верхняя часть 21 соединения включает в себя пару вертикальных линий Lx сгиба, проходящих в вертикальном направлении корпуса 11 пакета и расположенных симметрично относительно срединной линии Lc' по ширине корпуса 11 пакета. Если фильтр-пакет 1х зацеплен поверх чашки 100, а зацепы 23 на передней и задней сторонах корпуса 11 пакета оттянуты в противоположных направлениях, так что боковые зоны 11s корпуса 11 пакета, расположенные между верхними частями 21 соединения на передней и задней сторонах корпуса 11 пакета, становятся прямыми по форме, то корпус 11 пакета будет иметь прямоугольную форму отверстия, как показано на фиг. 27. Прямоугольник, обозначенный на фиг. 5А двойной пунктирной линией, иллюстрирует форму отверстия фильтр-пакета 1х в указанном сравнительном примере. Возьмем в качестве сравнительного примера фильтр-пакет (не показан), в котором, вместо наклонной линии L1 сгиба, в центре верхней части 21 соединения предусмотрена единственная вертикальная линия сгиба, проходящая в вертикальном направлении корпуса пакета. В этом случае средняя область верхней части 21 соединения легко резко изгибается вдоль вертикальной линии сгиба. Если зацепы 23 на передней и задней сторонах корпуса 11 пакета потянуть в противоположных направлениях, средние области верхних частей соединения будут изгибаться под острым углом, и отверстие корпуса пакета примет форму приплюснутого шестиугольника, как показано пунктирной линией на фиг. 5А. На фиг. 5А периметр прямоугольника, обозначенного двойной пунктирной линией, и периметр приплюснутого шестиугольника, обозначенного пунктирной линией, равны периметру шестиугольника с закругленными углами фильтр-пакета 1А, обозначенного сплошной линией. Таким образом, можно видеть, что фильтр-пакет 1А, соответствующий данному варианту изобретения, имеет увеличенную площадь отверстия и в него легко наливать горячую воду по сравнению с фильтр-пакетами из сравнительных примеров.

[0044] В заявленном фильтр-пакете, для предотвращения разрыва верхней части 21 соединения по обоим концам наклонной линии L1 сгиба, наклонная линия L1 сгиба предпочтительно не достигает ни верхней стороны 21а, ни нижней стороны 21b верхней части 21 соединения, как показано на фиг. 1В. В частности, если наклонная линия L1 сгиба образована разрезом, то она в предпочтительном случае не достигает ни верхней, ни нижней сторон 21а и 21b верхней части 21 соединения.

[0045] Ввиду того, что наклонная линия сгиба L1 обеспечивает эффект, согласно которому отверстие корпуса 11 пакета приобретает форму шестиугольника с закругленными углами, угол θ, который образует наклонная линия L1 сгиба относительно срединной линии Lc по ширине верхней части 21 соединения, предпочтительно составляет от 48° до 74°. Длина W1 наклонной линии L1 сгиба в направлении ширины корпуса 11 пакета может быть задана соответствующим образом в зависимости от твердости и толщины тонкого пластинчатого элемента 20 и т.д. При нормальных обстоятельствах длина W1 предпочтительно составляет от 15% до 30% ширины той части тонкого пластинчатого элемента 20, которая не должна оттягиваться от корпуса 11 пакета (в настоящем варианте изобретения это ширина W2 верхней части соединения).

[0046] Кроме того, чтобы форма отверстия корпуса 11 пакета лучше соответствовала правильному шестиугольнику, ширина W2 верхней части 21 соединения предпочтительно составляет от 54% до 80% ширины W4 корпуса 11 пакета. В таком случае расстояние W3a между верхней частью 21 соединения и боковой стороной 11b корпуса пакета на одной из левой или правой сторон корпуса 11 пакета и расстояние W3b между верхней частью 21 соединения и боковой стороной 11b корпуса пакета на другой стороне предпочтительно равны. Такое задание расстояний позволяет формировать корпус 11 пакета в виде колонны без скручивания между нижней плоскостью и отверстием, и по существу правильная шестиугольная форма отверстия корпуса 11 пакета становится симметричной относительно нижней стороны 11с корпуса 11 пакета (фиг. 5А).

[0047] Однако, подобно фильтр-пакету 1В, показанному в развернутом виде на фиг. 6, вышеупомянутый фильтр-пакет 1А может быть модифицирован таким образом, чтобы расстояния W3a и W3b между верхней частью 21 соединения и боковыми сторонами 11b корпуса 11 пакета как с левой, так и с правой сторон корпуса 11 пакета отличались друг от друга. На фиг. 7 сверху проиллюстрирован случай, когда такой фильтр-пакет 1В зацеплен поверх чашки 100. Как показано на этом виде сверху, отверстие корпуса 11 пакета может иметь форму по существу правильного шестиугольника с закругленными углами при задании суммы расстояний W3a и W3b (W3a+W3b) равной от 20% до 46% ширины W4 корпуса 11 пакета. Поскольку расстояния W3a и W3b выбраны отличными друг от друга, форма отверстия несимметрична относительно нижней стороны 11с корпуса 11 пакета, и дно и отверстие корпуса 11 пакета скручены.

[0048] Корпус пакета:

Корпус 11 пакета выполнен из водопроницаемого фильтрующего полотна.

Например, для формирования корпуса 11 пакета могут быть использованы различные водопроницаемые фильтрующие полотна, которые можно заполнять заданным количеством экстрагируемого вещества, например, молотого кофе, чайных листьев и лекарственного средства на основе трав, из которых экстрагируемое вещество выделяется при заливке горячей воды. Известные примеры типичных экссудационных полотен включают тканый или нетканый материал из единичного или композитного волокна из синтетических волокон, таких как полиэстер, нейлон, полиэтилен, полипропилен и винилон, полусинтетические волокна, такие как вискоза, и натуральные волокна, такие как козо (бумажная шелковица) и мицумата (восточный бумажный кустарник), смешанные бумаги, изготовленные из манильской конопли, древесной массы, полипропиленовых волокон и т.п., а также бумага, такая как бумага-основа для чайных пакетиков. Хотя в настоящем изобретении можно использовать указанные полотна, в предпочтительном случае водопроницаемое фильтрующее полотно содержит биоразлагаемые волокна, ввиду возможности утилизации фильтр-пакета после использования. Примеры биоразлагаемых волокон включают полилактат, полибутиленсукцинат и полиэтиленсукцинат. Чтобы обеспечить соответствующий эффект пропаривания молотого кофе во время капельного литья, пористость слоев волокон предпочтительно регулируется при изготовлении водопроницаемого фильтрующего полотна из таких волокнистых материалов, так что слой, который должен находиться в непосредственном контакте с молотым кофе, является "разреженным", а слой, который не должен находиться в непосредственном контакте с молотым кофе, является "плотным", образуя разреженно-плотную слоистую структуру. Кроме того, эту пористость предпочтительно регулируют таким образом, чтобы слой, находящийся в непосредственном контакте с молотым кофе, имел высокое содержание гидрофобных волокон, а слой, не находящийся в непосредственном контакте с молотым кофе, имел низкое содержание гидрофобных волокон (патент Японии №3674486).

[0049] В случае фильтр-пакета 1А, показанного на фиг. 1А, корпус 11 пакета представляет собой плоский запечатанный по трем сторонам пакет, прямоугольный в плане и имеющий две противоположные поверхности. В случае фильтр-пакета, в котором экстрагируемое вещество (например, молотый кофе, чайные листья и лекарственное средство на основе трав) засыпано в корпус 11 пакета и запечатано в нем, на верхней стороне 11а корпуса 11 пакета или вблизи нее может быть сформирована направляющая линия для распечатывания, проходящая вдоль верхней стороны 11а. Направляющая линия для распечатывания представлена перфорацией, слабой спайкой или чем-то подобным. В целях обеспечения простоты вскрытия, перфорация в предпочтительном случае представляет собой микроперфорацию. Слабую спайку регулируют в аспекте прочности спайки таким образом, чтобы спаянная часть не отслаивалась непреднамеренно под действием усилий, отличных от усилий операции открывания, но легко отслаивалась, если потянуть в противоположных направлениях зацепы 23, расположенные на передней и задней сторонах корпуса 11 пакета. В настоящем изобретении дно и боковые стороны корпуса 11 пакета могут быть соответствующим образом упрочнены.

[0050] Чистые размеры в плоскости корпуса 11 пакета можно задавать в зависимости от размера чашек или контейнеров, на которые предполагается зацеплять фильтр-пакет. Например, размеры в плоскости могут быть скорректированы до величин, пригодных для использования с доступными на рынке кофейными чашками.

[0051] Тонкий пластинчатый элемент:

Тонкие пластинчатые элементы 20 можно получать штамповкой из тонкого пластинчатого материала, такого как картон и пластиковый лист. Ввиду возможности утилизации фильтр-пакета 1А после использования тонкий пластинчатый материал предпочтительно изготавливать из биоразлагаемого материала, такого как полилактат, полибутиленсукцинат и полиэтиленсукцинат.

[0052] Модификации фильтр-пакета:

Заявленный фильтр-пакет может быть модифицирован различным образом. Например, фильтр-пакет 1С, показанный на фиг. 8А, составлен из корпуса 11 пакета и тонких пластинчатых элементов 20 аналогично вышеупомянутому фильтр-пакету 1А. Однако, как показано на фиг. 8В, верхняя сторона 21а верхней части 21 соединения включает в себя наклонную верхнюю боковую часть 21р, образованную справа от наклонной линии L1 сгиба и проходящую вдоль верхнего конца наклонной линии L1 сгиба на расстоянии от нее. Нижняя сторона 21b верхней части 21 соединения включает в себя наклонную нижнюю боковую часть 21q, образованную слева от наклонной линии L1 сгиба и проходящую вдоль нижнего конца наклонной линии L1 сгиба на расстоянии от нее. Поскольку верхняя часть 21 соединения включает в себя наклонную верхнюю боковую часть 21р на верхней стороне 21а с одной из левой и правой сторон от наклонной линии L1 сгиба и наклонную нижнюю боковую часть 21q на нижней стороне 21b с другой из левой и правой сторон от наклонной линии L1 сгиба, то верхняя часть 21 соединения, вероятно, будет сильнее скручиваться относительно наклонной линии L1 сгиба и будет устойчивой в этой скрученной форме. Если фильтр-пакет 1С зацеплен поверх чашки 100, в то время как зацепы 23 на передней и задней сторонах корпуса 11 пакета оттянуты в противоположных направлениях, как показано на фиг. 9, то происходит сильное скручивание относительно наклонных линий L1 сгиба. Из-за указанного скручивания верхние части 21 соединения изгибаются с большим радиусом кривизны, чем в случае, когда в верхних частях 21 соединения предусмотрены только наклонные линии L1 сгиба, и открытое состояние корпуса пакета будет устойчивым в этом изогнутом состоянии. В результате, отверстие фильтр-пакета 1С имеет более округлую форму, как показано на фиг. 10. При выпрямлении боковых зон 11s корпуса 11 пакета с учетом диаметра отверстия чашки 100, отверстие приобретает форму правильного шестиугольника с закругленными углами, приближающуюся к круглой форме.

[0053] Если верхние части 21 соединения не имеют наклонных верхних боковых частей 21р или наклонных нижних боковых частей 21q, как в вышеупомянутом фильтр-пакете 1А, то усилие, действующее на верхние части 21 соединения, когда зацепы 23 на передней и задней сторонах корпуса 11 пакета оттягивают в противоположных направлениях, имеет тенденцию концентрироваться в узких зонах между верхними концами наклонных линий L1 сгиба и верхними сторонами 21а верхних частей соединения и узкими зонами между нижними концами наклонных линий L1 сгиба и нижними сторонами 21b верхних частей соединения. Если наклонная верхняя боковая часть 21р расположена с одной из левой и правой сторон верхней части 21 соединения, а наклонная нижняя боковая часть 21q расположена с другой сторон из указанных сторон, как в фильтр-пакете 1С, показанном на фиг. 8А, то усилие, действующее на верхние части 21 соединения, когда зацепы 23 на передней и задней сторонах корпуса 11 пакета оттягивают в противоположных направлениях, распределяется по более широким зонам. Такое распределение может снизить вероятность разрыва верхних частей 21 соединения вблизи верхних концов или вблизи нижних концов наклонных линий L1 сгиба, даже если зацепы 23 на передней и задней сторонах корпуса 11 пакета оттягивают в противоположных направлениях с большим усилием.

[0054] Фильтр-пакет 1D, показанный на фиг. 11А, состоит из корпуса 11 пакета и тонких пластинчатых элементов 20, аналогично вышеупомянутым фильтр-пакетам 1А-1С. Экстрагируемое вещество запечатано в корпусе 11 пакета, причем верхняя сторона 11а корпуса 11 пакета представляет собой складывающийся гребень водопроницаемого фильтрующего полотна. Вдоль этого гребня образована легко разрываемая линия 11р, представленная перфорацией или чем-то подобным. Фильтр-пакет 1D представляет собой фильтр-пакет с распечатывающими выступами, в котором предусмотрена пара распечатывающих выступов 30, проходящих от верхних частей 21 соединения на передней и задней сторонах корпуса 11 пакета и выступающих с противоположных участков верхней стороны 11а корпуса 11 пакета.

[0055] На фиг. 11В представлен частично увеличенный вид, соответствующий фиг. 11А. На фиг. 13А представлен развернутый вид фильтр-пакета 1D, в котором складывающийся гребень, образующий верхнюю сторону 11а корпуса 11 пакета фильтр-пакета 1D, снабженную распечатывающими выступами, расправлен до плоского состояния. На фиг. 13В приведен его частичный увеличенный вид. В этом варианте заявленного фильтр-пакета, оснащенного парой распечатывающих выступов, пара тонких пластинчатых элементов 20 на передней и задней сторонах корпуса 11 пакета предпочтительно расположена симметрично относительно точки, как на развернутом виде, показанном на фиг. 13А. На этом развернутом виде пара тонких пластинчатых элементов 20 на передней и задней сторонах соприкасаются друг с другом без зазора между ними, а пара распечатывающих выступов 30 расположены с чередованием и не перекрываются. Такая конструкция позволяет уменьшить количество обрезков, образующихся при штамповке, если пару тонких пластинчатых элементов 20 на передней и задней сторонах изготавливают штамповкой.

[0056] Пересечение Р боковых сторон 30а пары распечатывающих выступов 30 с верхней стороной 11а корпуса 11 пакета приходится на срединную линию Lc по ширине верхних частей 21 соединения. Распечатывающие выступы 30 и корпус 11 пакета соединены в зоне В3 соединения на пересечении Р. Зона В3 соединения расположена поперек распечатывающих выступов 30 на передней и задней сторонах корпуса 11 пакета. На каждой из передней и задней сторон корпуса 11 пакета зона В3 соединения расположена так, чтобы не пересекать срединную линию Lc по ширине верхних частей 21 соединения (фиг. 13В).

[0057] Поскольку распечатывающие выступы 30 и корпус 11 пакета соединены в этой зоне В3 соединения, усилие, направленное на оттягивание пары распечатывающих выступов 30 в противоположных направлениях при открывании корпуса 11 пакета, эффективно воздействует на пересечение Р. Разрыв начинается с легко разрываемой линии, расположенной на пересечении Р, в результате чего корпус 11 пакета можно легко распечатать и открыть.

[0058] Кроме того, фильтр-пакет 1D имеет разрезы 21t, образованные продолжением в направлении ширины верхних сторон 21а верхних частей 21 соединения от места, где не проходят распечатывающие выступы 30, до основания распечатывающих выступов 30 в средних областях верхних частей 21 соединения. Разрезы 21t проходят в направлении ширины верхних частей 21 соединения над наклонными линиями L1 сгиба за срединную линию Lc по ширине верхних частей 21 соединения. Как показано на фиг. 12, если при вскрытии корпуса 11 пакета тянуть распечатывающие выступы 30 на передней и задней сторонах корпуса 11 пакета в противоположных направлениях, то усилия F, направленные на оттягивание распечатывающих выступов 30, воздействуют на вышеупомянутое пересечение Р по принципу рычага, причем разрезы 21t выступают в качестве точек опоры, и пара распечатывающих выступов 30 будет отгибаться в противоположных направлениях, как показано пунктирными линиями. Таким образом, наличие разрезов 21t может дополнительно облегчить вскрытие корпуса 11 пакета.

[0059] Затем зацепы 23, предусмотренные на передней и задней сторонах корпуса 11 пакета, оттягивают в противоположных направлениях, и фильтр-пакет 1D зацепляют на чашке 100, как показано на фиг. 14. Отверстие корпуса 11 пакета приобретает по существу ту же форму шестиугольника с закругленными углами, что и у вышеупомянутого фильтр-пакета 1С, не имеющего распечатывающих выступов, хотя зоны верхних частей 21 соединения, где расположены распечатывающие выступы 30, имеют большую длину в вертикальном направлении корпуса пакета. Более конкретно, в случае такого фильтр-пакета 1D, распечатывающие выступы 30, проходящие от верхних частей 21 соединения на передней и задней сторонах корпуса 11 пакета, выступают с противоположных участков верхней стороны 11а корпуса 11 пакета, и основания распечатывающих выступов 30 пересекают срединную линию Lc по ширине верхних частей 21 соединения. Верхние части 21 соединения и распечатывающие выступы 30 разделены разрезами 21t, и зона В3 соединения сформирована таким образом, чтобы не пересекать срединную линию Lc по ширине верхних частей 21 соединения. Таким образом, при навешивании фильтр-пакета 1D на чашку 100 концы 30b распечатывающих выступов 30, расположенные над разрезами 21t, поднимаются от поверхностей корпуса 11 пакета, как показано на фиг. 14, в результате чего эти концы 30b с меньшей вероятностью повлияют на форму отверстия корпуса пакета. Соответственно, можно предотвратить искажение формы отверстия корпуса пакета за счет того, что распечатывающих выступов 30 проходят от верхних частей 21 соединения.

[0060] С одной из левой и правой сторон каждой наклонной линии L1 сгиба предусмотрен наклонный разрез 21r на расстоянии от наклонной линии L1 сгиба, который проходит вдоль верхнего конца наклонной линии L1 сгиба и непрерывно связан с разрезом 21. С другой из указанных левой и правой сторон наклонной линии L1 сгиба предусмотрена наклонная нижняя боковая часть 21q на расстоянии от наклонной линии L1 сгиба, которая проходит вдоль нижнего конца наклонной линии L1 сгиба и расположена на нижней стороне 21b верхней части 21 соединения. Таким образом, как и в вышеупомянутом фильтр-пакете 1С, верхние части 21 соединения сильно скручиваются относительно наклонных линий L1 сгиба, и такое скрученное состояние поддерживается стабильным. Таким образом, верхние части 21 соединения закругляются с большим радиусом кривизны. Как показано на фиг. 15, форму отверстия можно, в результате, сделать близкой к правильному шестиугольнику с закругленными углами.

[0061] В настоящем варианте изобретения разрезы 1t выполнены прямолинейными в направлении ширины корпуса пакета. Однако это условие не является обязательным. Например, разрезы 21t могут быть выполнены наклонными в направлении ширины корпуса 11 пакета.

[0062] В настоящем изобретении вышеупомянутая зона А1 (фиг. 11В) фильтр-пакета 1D может быть модифицирована подобно фильтр-пакету 1Е, показанному на фиг. 16. В этом фильтр-пакете 1Е верхний конец наклонного разреза 21r в правой верхней стороне наклонной линии L1 сгиба выполнен непрерывным с разрезом 21t.

[0063] Вышеупомянутая зона А1 может быть модифицирована, как в фильтр-пакете 1F, показанном на фиг. 17. В этом фильтр-пакете 1F верхняя часть 21 соединения имеет наклонный разрез 21r на верхней левой стороне наклонной линии L1 сгиба и наклонную нижнюю боковую часть 21q в правой нижней стороне наклонной линии L1 сгиба.

[0064] Вышеупомянутая зона А1 может быть модифицирована, как в фильтр-пакете 1G, показанном на фиг. 18. В этом фильтр-пакете 1G верхняя часть 21 соединения имеет наклонный разрез 21r на верхней левой стороне наклонной линии L1 сгиба и наклонный разрез 21s на правой нижней стороне наклонной линии L1 сгиба. Косой разрез 21s сформирован вдоль нижнего конца наклонной линии L1 сгиба на расстоянии от наклонной линии L1 сгиба.

[0065] Из вышеупомянутых фильтр-пакетов 1D, 1Е, 1F и 1G предпочтительными являются фильтр-пакеты 1D, 1Е и 1F, поскольку отверстие корпуса 11 пакета может быть легко изогнуто более округло в верхних частях 21 соединения с более высокой надежностью. При этом особенно предпочтительным является фильтр-пакет 1D.

[0066] Зона А1 вышеупомянутого фильтр-пакета 1D может быть модифицирована, как в фильтр-пакете 1Н, показанном на фиг. 19. В этом фильтр-пакете 1Н наклонная линия L1 сгиба наклонена в обратном направлении относительно срединной линии Lc по сравнению с фильтр-пакетом 1D, показанном на фиг. 11В. Над верхним концом наклонной линии L1 сгиба не образован распечатывающий выступ 30, а над нижним концом наклонной линии L1 сгиба образован распечатывающий выступ 30. В верхней левой части наклонной линии L1 сгиба предусмотрен наклонный разрез 21r, а в правой нижней части наклонной линии L1 сгиба предусмотрена наклонная нижняя боковая часть 21q.

[0067] Зона А1 вышеупомянутого фильтр-пакета 1D может быть модифицирована, как в фильтр-пакете 1I, показанном на фиг.20. В этом фильтр-пакете 1I наклонная линия L1 сгиба наклонена в обратном направлении относительно срединной линии Lc по сравнению с фильтр-пакетом 1D, показанном на фиг. 11В. В верхней правой части наклонной линии L1 сгиба предусмотрен наклонный разрез 21r, а в левой нижней части наклонной линии L1 сгиба предусмотрена наклонная нижняя боковая часть 21q.

[0068] Вышеупомянутая зона А1 может быть модифицирована, как в фильтр-пакете 1J, показанном на фиг. 21. В этом фильтр-пакете 1J наклонная линия L1 сгиба наклонена в обратном направлении относительно срединной линии Lc по сравнению с фильтр-пакетом 1 D, показанном на фиг. 11В. В верхней левой части наклонной линии L1 сгиба предусмотрена наклонная верхняя боковая часть 21р, а в левой нижней части наклонной линии L1 сгиба предусмотрена наклонная нижняя боковая часть 21q. При использовании этого фильтр-пакета 1J, если складывающийся гребень, образующий верхнюю сторону 11а корпуса 11 пакета, расправить до плоского состояния, то тонкие пластинчатые элементы на передней и задней сторонах корпуса пакета будут расположены симметрично относительно пересечения Р между боковыми сторонами распечатывающих выступов 30 и верхней стороной 11а корпуса 11 пакета. Пара распечатывающих выступов 30 сформирована на противолежащих участках таким образом, что они не перекрывают друг друга, но соприкасаются друг с другом без зазора.

[0069] Как обсуждалось в случае с фильтр-пакетами 1Н, 1I и 1J, распечатывающие выступы 30 могут быть сформированы не над верхними концами наклонных линий L1 сгиба, а над нижними концами наклонных линий L1 сгиба.

[0070] Зацепы заявленного фильтр-пакета могут быть сконфигурированы различными способами при условии, что верхние части соединения имеют наклонные линии L1 сгиба, пересекающие срединную линию по ширине верхних частей соединения. Например, фильтр-пакет 1K, показанный на фиг. 22, сконфигурирован таким образом, что верхняя часть 21 соединения каждого из тонких пластинчатых элементов 20 на передней и задней сторонах корпуса 11 пакета имеет наклонную линию L1 сгиба, разрез 211 и наклонный разрез 21r, подобно фильтр-пакету 1D, показанному на фиг. 11А. Нижняя сторона 21b верхней части соединения имеет наклонные нижние боковые части 21q.

[0071] Кроме того, на верхней стороне 11а корпуса 11 пакета сформирована легко разрываемая линия, такая как линия, выполненная из перфораций. В результате, верхнюю сторону 11а корпуса пакета легко открыть, если оттягивать в противоположных направлениях распечатывающие выступы 30 на передней и задней сторонах корпуса пакета.

[0072] Однако зацепы 23 фильтр-пакета 1K оттягивают в направлениях, отличных от направлений зацепов 23 фильтр-пакета 1D. Поскольку зацепы 23 фильтр-пакета 1K подлежит оттягивать от боковых сторон 11b корпуса 11 пакета как шарнирные створки относительно линий L2 сгиба с центральной частью 22 в качестве фиксированного конца, то они расположены по бокам симметрично относительно срединной линии Lc по ширине верхних частей 21 соединения. Зацепы 23 этого фильтр-пакета 1K имеют зацепляющие выемки 29, раскрытые в направлении нижней стороны корпуса пакета. Снаружи выемок 29, в направлении ширины корпуса пакета, расположены захваты 25. Захваты 25 можно зацеплять за стенку отверстия чашки 100, как показано на фиг. 23.

[0073] Фильтр-пакет 1L, показанный на фиг. 24, сконфигурирован таким образом, что каждый из тонких пластинчатых элементов 20 на передней и задней сторонах корпуса пакета имеет только один зацеп 23, который можно оттягивать подобно шарнирной створке с любой из левой и правой сторон относительно срединной линии Lc по ширине верхней части 21 соединения. Как показано на фиг. 25, этот зацеп 23 оттягивают от корпуса 11 пакета, а срединная линия Lc действует в качестве фиксированного конца.

[0074] Подобно фильтр-пакету 1D, показанному на фиг. 11А, верхнюю сторону 11а корпуса пакета этого фильтр-пакета 1L также легко открывать, если оттягивать в противоположных направлениях распечатывающие выступы 30, предусмотренные на передней и задней сторонах корпуса пакета.

[0075] Согласно настоящему изобретению вышеупомянутые модифицированные части можно комбинировать соответствующим образом.

Подобно фильтр-пакетам, описанным в патентных документах 2 и 3, заявленный фильтр-пакет может быть изготовлен промышленным способом с использованием полотна для изготовления фильтр-па кета, которое представляет собой длинное водопроницаемое фильтрующее полотно, к которому на заданных расстояниях прикреплены тонкие пластинчатые элементы заданной формы.

Список позиций

[0076] 1А, 1В, 1С, 1D, 1Е, 1F, 1G, 1Н, 1I, 1J, 1K, 1L фильтр-пакет

10 водопроницаемое фильтрующее полотно

11 корпус пакета

11а верхняя сторона

11b боковая сторона

11с нижняя сторона

11р легко разрываемая линия

11с боковая зона

20 тонкий пластинчатый элемент

21 верхняя часть соединения

21а верхняя сторона верхней части соединения

21b нижняя сторона верхней части соединения

21р наклонная верхняя боковая часть

21q наклонная нижняя боковая часть

21r наклонный разрез

21s наклонный разрез

21t разрез

22 центральная часть

23 зацеп

24 лапка

24а, 24b разветвленная лапка

24с соединительный участок лапки

25 захват

25а соединительный участок

26 первая центральная часть соединения

27 вторая центральная часть соединения

28 усиливающая часть

29 зацепляющая выемка

30 распечатывающий выступ

30а боковая сторона распечатывающего выступа в средней области тонкого пластинчатого элемента в направлении ширины

30b конец распечатывающего выступа

100 чашка

В1, В2, В3 зона соединения

Lc срединная линия по ширине верхней части соединения

Lc' срединная линия по ширине корпуса пакета

L1 наклонная линия сгиба

L2 линия сгиба

Lv воображаемая линия

Lx вертикальная линия сгиба

М экстрагируемое вещество

Р пересечение боковой стороны распечатывающего выступа с верхней стороной корпуса пакета

θ угол, который образует наклонная линия L1 сгиба относительно срединной линии Lc по ширине корпуса пакета

W1 длина наклонной линии сгиба в направлении ширины корпуса пакета

W2 ширина верхней части соединения

W3a,W3b расстояние между верхней частью соединения и боковой стороной корпуса пакета

W4 ширина корпуса пакета

Похожие патенты RU2834431C2

название год авторы номер документа
ЭКСТРАКЦИОННЫЙ ПАКЕТИК 2020
  • Оомори, Сигеки
  • Абэ, Юмико
  • Утихара, Мамору
  • Саитох, Мицунори
RU2780387C1
Экстракционный пакет 2020
  • Ишида Такаши
  • Сайто Митсунори
RU2802464C2
ЭКСТРАКЦИОННЫЙ ПАКЕТИК 2021
  • Мураока, Синья
  • Хаями, Рёсуке
RU2824897C2
Пакетик капельного типа 2013
  • Сайто Митсунори
  • Мияваки Акико
RU2648203C2
Пакетик капельного типа 2013
  • Мияваки Акико
  • Сайто Митсунори
RU2638508C2
ЖЕСТКАЯ УПАКОВКА 2013
  • Кокубун Ясуси
  • Сакаи Кодзи
RU2571356C1
РУЧКА ДЛЯ УСТАНОВКИ В ОТВЕРСТИИ 2005
  • Рамсауер Дитер
RU2395660C2
СПОСОБ ИЗГОТОВЛЕНИЯ ШТАМПОВАННОГО КОМПОНЕНТА, ШТАМПОВАННЫЙ КОМПОНЕНТ И УСТРОЙСТВО ДЛЯ ОБРАБОТКИ ДАВЛЕНИЕМ 2016
  • Кубо, Масахиро
  • Йосида, Хироси
  • Мияги, Такаси
  • Судзуки, Тосия
  • Накадзава, Йосиаки
RU2684802C1
УПАКОВОЧНАЯ ЕМКОСТЬ 2012
  • Кокубун Ясуси
  • Хаяси Хидео
RU2580504C2
КОРОБКА И УПАКОВКА, СОДЕРЖАЩАЯ КОРОБКУ, ПОМЕЩЕННУЮ МЕЖДУ ЧЕТЫРЬМЯ СТАКАНЧИКАМИ 2013
  • Юй Бо
RU2606573C2

Иллюстрации к изобретению RU 2 834 431 C2

Реферат патента 2025 года ФИЛЬТР-ПАКЕТ ДЛЯ ПОЛУЧЕНИЯ ЭКСТРАКТА НАПИТКА КАПЕЛЬНЫМ ПУТЕМ (ВАРИАНТЫ)

Группа изобретений относится к получению экстрактов напитков капельным путем. Устройство содержит корпус из водопроницаемого фильтрующего полотна и тонкие пластинчатые элементы, расположенные на двух противоположных наружных поверхностях корпуса пакета. На каждой из двух указанных противоположных наружных поверхностей корпуса пакета тонкий пластинчатый элемент содержит верхнюю часть соединения, прикрепленную к корпусу пакета вдоль его верхней стороны, центральную часть, прикрепленную к корпусу пакета с его нижней стороны относительно указанной верхней части соединения, и зацеп, выполненный непрерывным с центральной частью и расположенный с возможностью оттягивания от корпуса пакета. Верхняя часть соединения имеет наклонную линию сгиба, наклонно пересекающую срединную линию по ширине верхней части соединения. Исключается разрыв верхних частей соединения при зацеплении устройства на чашку, увеличивается площадь отверстия корпуса пакета, обеспечивается легкое открывание корпуса, когда экстрагируемое вещество запечатано в таком фильтр-пакете. 2 н. и 8 з.п. ф-лы, 32 ил.

Формула изобретения RU 2 834 431 C2

1. Фильтр-пакет для получения экстракта напитка капельным путем, содержащий корпус пакета, выполненный из водопроницаемого фильтрующего полотна, и тонкие пластинчатые элементы, расположенные на двух противоположных наружных поверхностях корпуса пакета,

при этом на каждой из двух указанных противоположных наружных поверхностей корпуса пакета тонкий пластинчатый элемент содержит верхнюю часть соединения, прикрепленную к корпусу пакета вдоль его верхней стороны, центральную часть, прикрепленную к корпусу пакета с его нижней стороны относительно указанной верхней части соединения, и зацеп, выполненный непрерывным с центральной частью и расположенный с возможностью оттягивания от корпуса пакета,

причем указанная верхняя часть соединения имеет наклонную линию сгиба, наклонно пересекающую срединную линию по ширине верхней части соединения.

2. Фильтр-пакет по п. 1, в котором указанная наклонная линия сгиба не достигает верхней и нижней сторон верхней части соединения.

3. Фильтр-пакет по п. 2, в котором указанная наклонная линия сгиба представляет собой разрез.

4. Фильтр-пакет по любому из пп. 1-3, в котором предусмотрены наклонная верхняя боковая часть верхней части соединения или наклонный разрез, проходящий от верхней стороны верхней части соединения вдоль верхнего конца наклонной линии сгиба, которые расположены на любой из левой и правой сторон от наклонной линии сгиба, а также предусмотрены наклонная нижняя боковая часть верхней части соединения или наклонный разрез, проходящий от нижней стороны верхней части соединения вдоль нижнего конца наклонной линии сгиба, которые расположены на другой из указанных левой и правой сторон от наклонной линии сгиба.

5. Фильтр-пакет по любому из пп. 1-4, в котором:

на каждой из двух противоположных наружных поверхностей корпуса пакета указанный зацеп включает в себя лапку, выполненную непрерывной с центральной частью, и захват, выполненный непрерывным с лапкой;

причем лапка проходит к верхней стороне корпуса пакета от центральной части и может быть оттянута от корпуса пакета так, что торцевая сторона центральной части действует в качестве фиксированного конца;

при этом указанный захват выполнен непрерывным с верхней частью лапки и проходит от непрерывной части лапки к нижней стороне корпуса пакета.

6. Фильтр-пакет по п. 5, в котором:

на каждой из двух противоположных наружных поверхностей корпуса пакета лапка имеет участки, которые расположены рядом на расстоянии друг от друга с проходящей между ними срединной линией по ширине верхней части соединения, при этом указанные расположенные рядом участки соединены вверху в соединительный участок, выполненный непрерывным с захватом.

7. Фильтр-пакет для получения экстракта напитка капельным путем, содержащий корпус пакета, выполненный из водопроницаемого фильтрующего полотна, и тонкие пластинчатые элементы, расположенные на двух противоположных наружных поверхностях корпуса пакета, при этом на каждой из двух указанных противоположных наружных поверхностей корпуса пакета тонкий пластинчатый элемент содержит верхнюю часть соединения, прикрепленную к корпусу пакета вдоль его верхней стороны, центральную часть, прикрепленную к корпусу пакета с его нижней стороны относительно указанной верхней части соединения, и зацеп, выполненный непрерывным с центральной частью и расположенный с возможностью оттягивания от корпуса пакета, причем указанная верхняя часть соединения имеет наклонную линию сгиба, наклонно пересекающую срединную линию по ширине верхней части соединения, при этом указанный корпус заполнен экстрагируемым веществом и запечатан.

8. Фильтр-пакет по п. 7, в котором на верхней стороне корпуса пакета образована легко разламываемая линия, при этом предусмотрена пара распечатывающих выступов, проходящих от верхних частей соединения на двух указанных противоположных наружных поверхностях корпуса пакета и выступающих с противоположных участков верхней стороны корпуса пакета.

9. Фильтр-пакет по п. 8, в котором указанные распечатывающие выступы и корпус пакета соединены на пересечении между боковыми сторонами пары распечатывающих выступов и верхней стороной корпуса пакета в средних областях тонких пластинчатых элементов в направлении ширины.

10. Фильтр-пакет по п. 8 или 9, в котором в средних областях верхних частей соединения выполнены разрезы в направлении ширины, причем эти разрезы образованы продолжением верхних сторон верхних частей соединения от места, где не проходят распечатывающие выступы, до основания распечатывающих выступов.

Документы, цитированные в отчете о поиске Патент 2025 года RU2834431C2

WO 2014092122 A1, 19.06.2014
Пакетик капельного типа 2013
  • Сайто Митсунори
  • Мияваки Акико
RU2648203C2
Пакетик капельного типа 2013
  • Мияваки Акико
  • Сайто Митсунори
RU2638508C2
СПОСОБ ИНДИВИДУАЛЬНОЙ ПАССИВНОЙ ДОЗИМЕТРИИ ДИМЕТИЛДИСУЛЬФИДА В ВОЗДУХЕ РАБОЧИХ ЗОН 2005
  • Рябченкова Антонина Васильевна
RU2281492C1
JP 2019160052 A, 11.03.2021
JP 6750662 B2, 02.09.2020
JP 2020025855 A, 20.02.2020.

RU 2 834 431 C2

Авторы

Саито, Мицунори

Даты

2025-02-10Публикация

2021-07-21Подача