УСТРОЙСТВО ДЛЯ ГЕНЕРИРОВАНИЯ АЭРОЗОЛЯ И СПОСОБ ЕГО ЭКСПЛУАТАЦИИ Российский патент 2025 года по МПК A24F40/20 A24F40/50 A24F40/60 

Описание патента на изобретение RU2834874C2

【Область техники】

[1] Настоящее изобретение относится к устройству для генерирования аэрозоля и способу эксплуатации такого устройства.

【Уровень техники】

[2] Устройство для генерирования аэрозоля представляет собой устройство, извлекающее определенные компоненты из среды или вещества путем образования аэрозоля. Среда может содержать многокомпонентное вещество. Вещество, содержащееся в среде, может представлять собой многокомпонентное вкусо-ароматизирующее вещество. Например, вещество, содержащееся в среде, может содержать никотиновый компонент, растительный компонент и/или кофейный компонент. В последнее время проводятся различные исследования устройств для генерирования аэрозоля.

【Сущность изобретения】

【Техническая задача】

[3] Задачей настоящего изобретения является устранение вышеупомянутых и других недостатков.

[4] Другой задачей настоящего изобретения является разработка устройства для генерирования аэрозоля, позволяющего интуитивно переключать экран, отображаемый на дисплее, и способа эксплуатации такого устройства.

[5] Еще одной задачей настоящего изобретения является разработка устройства для генерирования аэрозоля, способного предоставлять пользователю информацию об остаточной емкости аккумулятора различными способами, и способа эксплуатации такого устройства.

[6] Еще одной задачей настоящего изобретения является разработка устройства для генерирования аэрозоля, способного информировать пользователя о количестве доступных для использования стиков на основании остаточной емкости аккумулятора, и способа эксплуатации такого устройства.

[7] Еще одной задачей настоящего изобретения является разработка устройства для генерирования аэрозоля, способного различными способами изменять настройки, связанные с потреблением энергии, чтобы пользователь мог использовать желаемое им количество стиков, и способа эксплуатации такого устройства.

【Техническое решение】

[8] Согласно одному из аспектов настоящего изобретения устройство для генерирования аэрозоля содержит: корпус, содержащий пространство для введения, в которое вставляют стик; аккумулятор; дисплей; и контроллер, причем контроллер выполнен с возможностью: вычисления на основании того, что остаточная емкость аккумулятора меньше предварительно заданной емкости, количества стиков, соответствующего остаточной емкости; и вывода вычисленного количества стиков на дисплей.

[9] Согласно другому аспекту настоящего изобретения предложен способ эксплуатации устройства для генерирования аэрозоля. Способ может содержать: вычисление количества стиков, соответствующего остаточной емкости, на основании того, что остаточная емкость аккумулятора устройства для генерирования аэрозоля меньше предварительно заданной емкости; и вывод вычисленного количества стиков на дисплей устройства для генерирования аэрозоля.

【Полезные эффекты изобретения】

[10] По меньшей мере в одном из вариантов осуществления настоящего изобретения экран, отображаемый на дисплее, можно переключать интуитивно.

[11] По меньшей мере в одном из вариантов осуществления настоящего изобретения информация об остаточной емкости аккумулятора может быть предоставлена пользователю различными способами.

[12] По меньшей мере в одном из вариантов осуществления настоящего изобретения пользователь может получать информацию о количестве доступных для использования стиков на основании остаточной емкости аккумулятора.

[13] По меньшей мере в одном из вариантов осуществления настоящего изобретения настройки, связанные с потреблением энергии, можно изменять таким образом, чтобы пользователь мог использовать желаемое им количество стиков.

[14] Дополнительные варианты осуществления настоящего изобретения станут очевидными из следующего подробного описания. Тем не менее, поскольку специалистам в данной области техники будут несомненно понятны различные изменения и модификации в рамках сущности и объема настоящего изобретения, следует понимать, что подробное раскрытие и конкретные варианты осуществления изобретения, такие как предпочтительные варианты осуществления настоящего изобретения, приведены только в качестве примера.

【Описание чертежей】

[15] Вышеприведенные и другие задачи, признаки и другие преимущества настоящего изобретения будут более понятны из приведенного ниже подробного описания со ссылкой на прилагаемые чертежи, на которых изображено:

[16] на ФИГ. 1 – блок-схема устройства для генерирования аэрозоля согласно одному из вариантов осуществления настоящего изобретения;

[17] на ФИГ. 2—4 – виды, иллюстрирующие устройство для генерирования аэрозоля согласно вариантам осуществления настоящего изобретения;

[18] на ФИГ. 5 и 6 – виды, иллюстрирующие стик согласно вариантам осуществления настоящего изобретения;

[19] на ФИГ. 7 – схема способа эксплуатации устройства для генерирования аэрозоля согласно одному из вариантов осуществления настоящего изобретения;

[20] на ФИГ. 8A—14D – схемы, иллюстрирующие работу устройства для генерирования аэрозоля согласно одному из вариантов осуществления настоящего изобретения.

【Лучший вариант осуществления изобретения】

[21] Варианты осуществления настоящего изобретения подробно раскрыты ниже со ссылкой на прилагаемые чертежи. Одни и те же или подобные элементы обозначены одними и теми же ссылочными позициями, даже если они изображены на разных чертежах, и их избыточные описания будут опущены.

[22] В последующем описании в отношении составляющих элементов, используемых в последующем описании, термины «модуль» и «блок» используются только с точки зрения облегчения описания. Термины «модуль» и «блок» не имеют взаимно различающихся значений или функций.

[23] Кроме того, в последующем описании вариантов осуществления изобретения в настоящем документе подробное раскрытие известных функций и конфигураций, являющихся частью настоящего описания, будет опущено, если это может сделать предмет раскрытых вариантов осуществления изобретения неясным. Кроме того, прилагаемые чертежи предоставлены только для лучшего понимания раскрытых вариантов осуществления изобретения, и не предназначены для ограничения раскрытых технических идей. Следовательно, следует понимать, что прилагаемые чертежи включают все модификации, эквиваленты и замены в пределах объема и сущности настоящего изобретения.

[24] Следует понимать, что термины «первый», «второй» и т. п. могут использоваться в настоящем документе для описания различных компонентов. Тем не менее, эти компоненты не должны ограничиваться указанными терминами. Эти термины используются исключительно для отличения одного компонента от другого.

[25] Следует понимать, что когда компонент упоминается как «соединенный с» или «связанный с» другим компонентом, он может быть непосредственно соединен или связан с другим компонентом. Тем не менее, следует понимать, что могут иметься промежуточные компоненты. С другой стороны, когда компонент упоминается как «непосредственно соединенный с» или «непосредственно связанный с» другим компонентом, промежуточные компоненты отсутствуют.

[26] Форма единственного числа подразумевает как единственное, так и множественное число существительных, за исключением случаев, когда контекстом явно определено иное.

[27] На ФИГ. 1 изображена блок-схема устройства для генерирования аэрозоля согласно одному из вариантов осуществления настоящего изобретения.

[28] Как показано на ФИГ. 1, устройство 10 для генерирования аэрозоля может содержать интерфейс 11 обмена данными, интерфейс 12 ввода/вывода, модуль 13 для генерирования аэрозоля, память 14, сенсорный модуль 15, аккумулятор 16 и/или контроллер 17.

[29] В одном из вариантов осуществления изобретения устройство 10 для генерирования аэрозоля может содержать только основную часть. В этом случае компоненты, входящие в состав устройства 10 для генерирования аэрозоля, могут быть расположены в основной части. В другом варианте осуществления изобретения устройство 10 для генерирования аэрозоля может содержать картридж, который содержит вещество для генерирования аэрозоля, и основную часть. В этом случае компоненты, входящие в состав устройства 10 для генерирования аэрозоля, могут быть расположены по меньшей мере в основной части и/или картридже.

[30] Интерфейс 11 обмена данными может содержать по меньшей мере один модуль обмена данными для связи с внешним устройством и/или сетью. Например, интерфейс 11 обмена данными может содержать модуль обмена данными для проводной связи, такой как универсальная последовательная шина (USB). Например, интерфейс 11 обмена данными может содержать модуль обмена данными для беспроводной связи, такой как Wireless Fidelity (Wi-Fi), Bluetooth, Bluetooth с низким энергопотреблением (BLE), ZigBee или связь ближнего поля (NFC).

[31] Устройство 12 ввода/вывода может содержать устройство ввода (не показано) для приема команды от пользователя и/или устройство вывода (не показано) для вывода информации для пользователя. Например, устройство ввода может содержать сенсорную панель, физическую кнопку, микрофон и т. п. Например, устройство вывода может содержать устройство отображения для вывода визуальной информации, такое как дисплей или светодиод (LED), аудиоустройство для вывода звуковой информации, такое как динамик или зуммер, мотор для вывода тактильной информации, такой как тактильный эффект и т. п.

[32] Устройство 12 ввода/вывода может передавать данные, соответствующие команде, введенной пользователем через устройство ввода, к другому компоненту (или другим компонентам) устройства 100 для генерирования аэрозоля. Устройство 12 ввода/вывода может выводить информацию, соответствующую данным, полученным от другого компонента (или других компонентов) устройства 10 для генерирования аэрозоля через устройство вывода.

[33] Модуль 13 для генерирования аэрозоля может генерировать аэрозоль из вещества для генерирования аэрозоля. В данном случае вещество для генерирования аэрозоля может представлять собой вещество в жидком состоянии, твердом состоянии или гелеобразном состоянии, способное генерировать аэрозоль, или комбинацию двух или более веществ для генерирования аэрозоля.

[34] В одном из вариантов осуществления изобретения жидкое вещество для генерирования аэрозоля может представлять собой жидкость, в состав которой входит табакосодержащий материал с летучим вкусо-ароматическим табачным компонентом. В другом варианте осуществления изобретения жидкое вещество для генерирования аэрозоля может представлять собой жидкость, содержащую нетабачный материал. Например, жидкое вещество для генерирования аэрозоля может содержать воду, растворители, никотин, растительные экстракты, ароматизаторы, вкусо-ароматические вещества, витаминные смеси и т. п.

[35] Твердое вещество для генерирования аэрозоля может содержать твердый материал на основании табачного сырья, такого как восстановленный табачный лист, измельченный табак или гранулированный табак. Кроме того, твердое вещество для генерирования аэрозоля может содержать твердый материал, содержащий вещество для регулирования вкуса и вкусо-ароматизирующий материал. Примеры веществ для регулирования вкуса могут содержать карбонат кальция, бикарбонат натрия, оксид кальция и т. д. Например, вкусо-ароматизирующий материал может содержать природный материал, такой как растительные гранулы, или может содержать такой материал, как диоксид кремния, цеолит или декстрин, который содержит ароматический ингредиент.

[36] Кроме того, вещество для генерирования аэрозоля может дополнительно содержать вещество для формирования аэрозоля, такое как глицерин или пропиленгликоль.

[37] Модуль 13 для генерирования аэрозоля может содержать по меньшей мере один нагреватель (не показан).

[38] Модуль 13 для генерирования аэрозоля может содержать электрорезистивный нагреватель. Например, электрорезистивный нагреватель может содержать по меньшей мере одну электропроводящую дорожку. Электрорезистивный нагреватель может нагреваться за счет прохождения тока через электропроводящую дорожку. В этот момент вещество для генерирования аэрозоля может быть нагрето посредством электрорезистивного нагревателя.

[39] Электропроводящая дорожка может содержать электрорезистивный материал. В одном примере электропроводящая дорожка может быть выполнена из металлического материала. В другом примере электропроводящая дорожка может быть выполнена из керамического материала, углерода, металлического сплава или композита из керамического материала и металла.

[40] Электрорезистивный нагреватель может содержать электропроводящую дорожку, имеющую любую из различных форм. Например, электропроводящая дорожка может иметь любую из следующих форм: труба, пластина, игла, стержень и обмотка.

[41] Модуль 13 для генерирования аэрозоля может содержать нагреватель, использующий способ индукционного нагрева. Например, индукционный нагреватель может содержать электропроводящую обмотку. Индукционный нагреватель может генерировать переменное магнитное поле, которое периодически изменяет направление, путем регулирования тока, проходящего через электропроводящую обмотку. В тот момент, когда переменное электромагнитное поле воздействует на магнитное тело, в магнитном теле могут происходить потери энергии из-за потерь на вихревые токи и гистерезис. Кроме того, потерянная энергия может выделяться в виде тепловой энергии. Соответственно, вещество для генерирования аэрозоля, расположенное рядом с магнитным телом, может нагреваться. В настоящем документе объект, который генерирует тепло вследствие действия магнитного поля, может называться токоприемником.

[42] Между тем, модуль 13 для генерирования аэрозоля может генерировать ультразвуковые колебания, чтобы таким образом генерировать аэрозоль из вещества для генерирования аэрозоля.

[43] Устройство 10 для генерирования аэрозоля может называться картомайзером, атомайзером или испарителем.

[44] В памяти 14 могут храниться программы для обработки и управления каждым сигналом в контроллере 17. В памяти 14 могут храниться обработанные данные и данные, подлежащие обработке.

[45] Например, в памяти 14 могут храниться приложения, предназначенные для выполнения различных задач, которые могут обрабатываться контроллером 17. Память 14 может выборочно предоставлять некоторые из сохраненных приложений в ответ на запрос от контроллера 17.

[46] Например, в памяти 14 могут храниться данные о времени работы устройства 100 для генерирования аэрозоля, максимальном количестве затяжек, текущем количестве затяжек, количестве использований аккумулятора 16, по меньшей мере одном профиле температуры, паттерне вдыханий пользователя и данные о зарядке/разрядке. В настоящем документе «затяжка» означает вдыхание пользователем. «Вдыхание» означает действие пользователя по всасыванию воздуха или других веществ в полость рта, носа или легкие пользователя через рот или нос пользователя.

[47] Память 14 может содержать по меньшей мере одно из следующих устройств: энергозависимую память (например, динамическую оперативную память (DRAM), статическую оперативную память (SRAM) или синхронную динамическую оперативную память (SDRAM)), энергонезависимую память (например, флэш-память), накопитель на жестком диске (HDD) или твердотельный накопитель (SSD).

[48] Сенсорный модуль 15 может содержать по меньшей мере один датчик.

[49] Например, сенсорный модуль 15 может содержать датчик для распознавания затяжки (далее «датчик затяжки»). В этом случае датчик затяжки может быть реализован как датчик приближения, например, ИК-датчик, датчик давления, гироскопический датчик, датчик ускорения, датчик магнитного поля и т. п.

[50] Например, сенсорный модуль 15 может содержать датчик для распознавания затяжки (далее «датчик затяжки»). В этом случае датчик затяжки может быть выполнен в виде датчика давления, гироскопического датчика, датчика ускорения, датчика электромагнитного поля и т. п.

[51] Например, сенсорный модуль 15 может содержать датчик для измерения температуры нагревателя, входящего в состав модуля 13 для генерирования аэрозоля, и температуры вещества для генерирования аэрозоля (далее «датчик температуры»). В этом случае нагреватель, входящий в состав модуля 13 для генерирования аэрозоля, также может служить датчиком температуры. Например, электрорезистивный материал нагревателя может представлять собой материал, имеющий предварительно заданный температурный коэффициент сопротивления. Сенсорный модуль 15 может измерять сопротивление нагревателя, которое изменяется в зависимости от температуры, чтобы таким образом измерять температуру нагревателя.

[52] Например, если основная часть устройства 10 для генерирования аэрозоля выполнена таким образом, что в нее можно вставлять стик, сенсорный модуль 15 может содержать датчик для распознавания введения стика (далее «датчик распознавания стика»).

[53] Например, если устройство 10 для генерирования аэрозоля содержит картридж, сенсорный модуль 15 может содержать датчик для распознавания установки/демонтажа картриджа, а также положения картриджа (далее именуемый «датчик распознавания картриджа»).

[54] В этом случае датчик распознавания стика и/или датчик распознавания картриджа может быть выполнен в виде индуктивного датчика, емкостного датчика, датчика сопротивления или датчика на эффекте Холла (или интегральной схемы на эффекте Холла) с использованием эффекта Холла.

[55] Например, сенсорный модуль 15 может содержать датчик напряжения для измерения напряжения, приложенного к компоненту (например, аккумулятору 16), предусмотренному в устройстве 10 для генерирования аэрозоля, и/или датчик тока для измерения тока.

[56] Аккумулятор 16 может подавать электропитание, используемое для работы устройства 10 для генерирования аэрозоля, под управлением контроллера 17. Аккумулятор 16 может подавать электропитание к другим компонентам, предусмотренным в устройстве 100 для генерирования аэрозоля. Например, аккумулятор 16 может подавать питание к модулю обмена данными, входящему в интерфейс 11 обмена данными, устройству вывода, входящему в состав интерфейса 12 ввода/вывода, и нагревателю, входящему в состав модуля 13 для генерирования аэрозоля.

[57] Аккумулятор 16 может представлять собой перезаряжаемый аккумулятор или одноразовый аккумулятор. Например, аккумулятор 16 может представлять собой литий-ионный (Li-ion) или литий-полимерный (Li-polymer) аккумулятор. Тем не менее, настоящее изобретение не ограничено этим вариантом. Например, когда аккумулятор 16 представляет собой перезаряжаемый аккумулятор, скорость заряда (C-rate) аккумулятора 16 может составлять 10C, а скорость разряда (C-rate) может составлять от 10C до 20C. Тем не менее, настоящее изобретение не ограничено этим вариантом. Кроме того, для стабильного использования аккумулятор 16 может быть выполнен таким образом, чтобы 80 % и более от общей емкости могло быть обеспечено даже после 2000 циклов зарядки/разрядки.

[58] Устройство 10 для генерирования аэрозоля может дополнительно содержать модуль схемы защиты (PCM) (не показан), который представляет собой схему защиты аккумулятора 16. Модуль схемы защиты (PCM) может быть расположен рядом с верхней поверхностью аккумулятора 16. Например, чтобы предотвратить избыточную зарядку и чрезмерную разрядку аккумулятора 16, модуль схемы защиты (PCM) может отключать электрическую цепь к аккумулятору 16 при возникновении короткого замыкания в цепи, подключенной к аккумулятору 16, когда избыточное напряжение подается на аккумулятор 16, или когда через аккумулятор 16 протекает избыточный ток.

[59] Устройство 10 для генерирования аэрозоля может дополнительно содержать зарядную клемму, на которую подают электропитание извне. Например, зарядная клемма может быть сформирована на одной стороне основной части устройства 100 для генерирования аэрозоля. Устройство 10 для генерирования аэрозоля может заряжать аккумулятор 16 электропитанием, поступающим через зарядную клемму. В этом случае зарядная клемма может быть выполнена в виде проводной клеммы USB-связи, пружинного контакта и т. п.

[60] Устройство 10 для генерирования аэрозоля может дополнительно содержать клемму питания (не показан), через который подают электропитание извне. Например, линия питания может быть соединена с клеммой питания, расположенной на одной стороне основной части устройства 100 для генерирования аэрозоля. Устройство 10 для генерирования аэрозоля может использовать электропитание, подаваемое по линии питания, соединенной с клеммой питания, для зарядки аккумулятора 16. В этом случае клемма питания может быть проводной клеммой для USB связи.

[61] Устройство 10 для генерирования аэрозоля может по беспроводной сети получать электропитание извне через интерфейс 11 обмена данными. Например, устройство 10 для генерирования аэрозоля может получать электропитание по беспроводной связи, с использованием антенны, входящей в состав модуля обмена данными, для беспроводной связи. Устройство 10 для генерирования аэрозоля может заряжать аккумулятор 16 с помощью электропитания, подаваемого по беспроводной сети.

[62] Контроллер 17 может управлять работой устройства 100 для генерирования аэрозоля в целом. Контроллер 17 может быть связан с каждым из компонентов, предусмотренных в устройстве 100 для генерирования аэрозоля. Контроллер 17 может передавать и/или принимать сигнал к каждому из компонентов и/или от него, тем самым управляя работой каждого из компонентов в целом.

[63] Контроллер 17 может содержать по меньшей мере один процессор. Контроллер 17 может управлять работой устройства 10 для генерирования аэрозоля в целом с помощью встроенного в него процессора. В данном случае процессор может быть обычным процессором, таким как центральный процессор (CPU). Несомненно, процессор может быть специализированным устройством, таким как специализированная интегральная микросхема (ASIC), или может быть любым другим процессором на основании аппаратного обеспечения.

[64] Контроллер 17 может выполнять любую из множества функций устройства 100 для генерирования аэрозоля. Например, контроллер 17 может выполнять любую из множества функций устройства 10 для генерирования аэрозоля (например, функцию предварительного нагрева, функцию нагрева, функцию зарядки и функцию очистки) в соответствии с состоянием каждого из компонентов, предусмотренных в устройстве 10 для генерирования аэрозоля, и командой пользователя, полученной через интерфейс 12 ввода/вывода.

[65] Контроллер 17 может управлять работой каждого из компонентов, предусмотренных в устройстве 10 для генерирования аэрозоля, на основании данных, хранящихся в памяти 14. Например, контроллер 17 может управлять подачей предварительно заданного количества электропитания от аккумулятора 16 к модулю 13 для генерирования аэрозоля в течение предварительно заданного времени на основании данных о профиле температуры, профиле электропитания и паттерне вдыханий пользователя, хранящихся в памяти 14.

[66] Контроллер 17 может определять наличие или отсутствие затяжки с помощью датчика затяжки, входящего в состав сенсорного модуля 15. Например, контроллер 17 может отслеживать изменение температуры, изменение расхода, изменение давления и изменение напряжения в устройстве 10 для генерирования аэрозоля на основании значений, полученных датчиком затяжки. Контроллер 17 может определять наличие или отсутствие затяжки на основании значения, полученного датчиком затяжки.

[67] Контроллер 17 может управлять работой каждого из компонентов, предусмотренных в устройстве 10 для генерирования аэрозоля, в соответствии с наличием или отсутствием затяжки и/или количеством затяжек. Например, контроллер 17 может осуществлять управление таким образом, чтобы температура нагревателя изменялась или поддерживалась в соответствии с профилем температуры, хранящимся в памяти 14.

[68] Контроллер 17 может осуществлять управление таким образом, чтобы подача электропитания к нагревателю прерывалась в соответствии с предварительно заданным условием. Например, контроллер 17 может осуществлять управление таким образом, что подача электропитания к нагревателю прерывается при извлечении стика, при демонтаже картриджа, когда количество затяжек достигает предварительно заданного максимального количества затяжек, когда затяжка не распознается в течение предварительно заданного периода времени или дольше, или когда оставшаяся емкость аккумулятора 16 меньше предварительно заданного значения.

[69] Контроллер 17 может вычислять оставшуюся емкость по отношению к полной емкости аккумулятора 16. Например, контроллер 17 может вычислять оставшуюся емкость аккумулятора 16 на основании значений, измеренных датчиком напряжения и/или датчиком тока, входящих в состав сенсорного модуля 15.

[70] Контроллер 17 может осуществлять управление таким образом, чтобы электропитание поступало на нагреватель посредством широтно-импульсной модуляции (ШИМ) и/или пропорционально-интегрально-дифференциального (ПИД) регулирования.

[71] Например, контроллер 17 может осуществлять управление таким образом, чтобы импульс тока, имеющий предварительно заданную частоту и предварительно заданный коэффициент заполнения, поступал на нагреватель посредством способа ШИМ. В этом случае контроллер 17 может управлять количеством электропитания, поступающего к нагревателю, путем регулирования частоты и коэффициента заполнения импульса тока.

[72] Например, контроллер 17 может определять целевую температуру, подлежащую регулированию, на основании профиля температуры. В этом случае контроллер 17 может управлять количеством электропитания, поступающего на нагреватель, посредством ПИД-регулирования, которое представляет собой способ управления с обратной связью с использованием значения разности между температурой нагревателя и целевой температурой, значения, полученного путем интегрирования значения разности по времени, и значения, полученного путем дифференцирования значения разности по времени.

[73] Хотя способы ШИМ и ПИД описаны в качестве примеров способов управления подачей электропитания на нагреватель, настоящее изобретение не ограничивается ими, и может использовать любой из различных способов регулирования, например, пропорционально-интегральный (ПИ) или пропорционально-дифференциальный (ПД) способ.

[74] Между тем, контроллер 17 может осуществлять управление таким образом, чтобы подача электропитания к нагревателю прерывалась в соответствии с предварительно заданным условием. Например, когда функцию очистки для очистки пространства, в которое вставлен стик, выбирают в ответ на команду, введенную пользователем через интерфейс 12 ввода/вывода, контроллер 17 может осуществлять управление таким образом, чтобы обеспечить подачу предварительно заданного количества электропитания к нагревателю.

[75] На ФИГ. 2-4 изображены виды, иллюстрирующие устройство для генерирования аэрозоля согласно вариантам осуществления настоящего изобретения.

[76] В соответствии с различными вариантами осуществления настоящего изобретения устройство 10 для генерирования аэрозоля может содержать основную часть 100 и/или картридж 200.

[77] Как показано на ФИГ. 2, устройство 10 для генерирования аэрозоля в соответствии с одним из вариантов осуществления изобретения может содержать основную часть 100, который выполнен таким образом, чтобы стик 20 можно было вставить во внутреннее пространство, образованное корпусом 101.

[78] Стик 20 может быть подобен обычной сигарете сгораемого типа. Например, стик 20 может содержать первую часть, содержащую материал для генерирования аэрозоля, и вторую часть, содержащую фильтр или иной подобный элемент. В альтернативном варианте материал для генерирования аэрозоля может быть расположен во второй части стика 20. Например, вкусо-ароматизирующее вещество в форме гранул или капсул может быть введено во вторую часть.

[79] Первая часть может быть полностью вставлена в пространство для введения устройства 10 для генерирования аэрозоля, и вторая часть может быть выведена наружу. В альтернативном варианте только один участок первой части может быть вставлен в пространство для введения устройства 10 для генерирования аэрозоля, или же может быть вставлен участок первой части и участок второй части. В этом случае аэрозоль может быть сгенерирован, когда наружный воздух проходит через первую часть, после чего сгенерированный аэрозоль может быть доставлен в рот пользователя через вторую часть.

[80] Основная часть 100 может быть выполнена таким образом, чтобы наружный воздух поступал в основную часть 100 в состоянии, в котором в нее вставлен стик 20. В этом случае наружный воздух, поступающий в основную часть 100, может поступать в рот пользователя через стик 20.

[81] Нагреватель может быть расположен в основной части 100 в положении, соответствующем положению, в котором стик 20 вставлен в основную часть 100. Хотя на чертежах показано, что нагреватель представляет собой электропроводящий нагреватель 110, содержащий электропроводящую дорожку игольчатой формы, настоящее изобретение не ограничивается этим вариантом.

[82] Нагреватель может нагревать внутреннюю и/или наружную часть стика 20 с помощью электроэнергии, подаваемой от аккумулятора 16. Аэрозоль может быть сгенерирован из нагретого стика 20. В это время пользователь может удерживать один конец стика 20 во рту, чтобы вдыхать аэрозоль, содержащий табачный материал.

[83] Между тем, контроллер 17 может осуществлять управление таким образом, чтобы электропитание поступало к нагревателю в состоянии, в котором стик 20 не вставлен в основную часть в соответствии с предварительно заданным условием. Например, когда функцию очистки для очистки пространства, в которое вставлен стик 20, выбирают в ответ на команду, введенную пользователем через интерфейс 12 ввода/вывода, контроллер 17 может осуществлять управление таким образом, чтобы обеспечить подачу предварительно заданного количества электропитания к нагревателю.

[84] Контроллер 17 может отслеживать количество затяжек на основании значения, измеренного датчиком затяжки с момента времени, когда стик 20 был вставлен в основную часть.

[85] Когда стик 20 вынут из основной части, контроллер 17 может инициализировать текущее количество затяжек, сохраненное в памяти 14.

[86] Как показано на ФИГ. 3, устройство 10 для генерирования аэрозоля согласно одному из вариантов осуществления изобретения может содержать основную часть 100 и картридж 200. Основная часть 100 может поддерживать картридж 200, и картридж 200 может содержать вещество для генерирования аэрозоля.

[87] Согласно одному из вариантов осуществления изобретения картридж 200 может быть разъемно установлен на основной части 100. Согласно другому варианту осуществления изобретения картридж 200 может быть выполнен как одно целое с основной частью 100. Например, картридж 200 может быть установлен на основной части 100 таким образом, чтобы по меньшей мере часть картриджа 200 входила в пространство для введения, образованное корпусом 101 основной части 100.

[88] Основная часть 100 может иметь такую конструкцию, чтобы наружный воздух мог поступать в основную часть 100 в состоянии, в котором в нее вставлен картридж 200. В этом случае наружный воздух, поступающий в основную часть 100, может поступать в рот пользователя через картридж 200.

[89] Контроллер 17 может определять, находится ли картридж 200 в установленном или демонтированном состоянии, используя датчик распознавания картриджа, входящий в состав сенсорного модуля 15. Например, датчик распознавания картриджа может передавать импульсный ток через первую клемму, соединенную с картриджем 200. В этом случае контроллер 17 может определять, находится ли картридж 200 в соединенном состоянии, основываясь на том, принимается ли импульсный ток через вторую клемму.

[90] Картридж 200 может содержать нагреватель 210, выполненный с возможностью нагревания вещества для генерирования аэрозоля, и/или резервуар 220, выполненный с возможностью содержания вещества для генерирования аэрозоля. Например, элемент для доставки жидкости, пропитанный (содержащий) веществом для генерирования аэрозоля, может быть расположен внутри резервуара 220. Электропроводящая дорожка нагревателя 210 может быть выполнена в виде структуры, которая обвита вокруг элемента для доставки жидкости. В этом случае, когда элемент для доставки жидкости нагревают нагревателем 210, может быть сгенерирован аэрозоль. Элемент для доставки жидкости может содержать фитиль, выполненный, например, из хлопкового волокна, керамического волокна, стеклянного волокна или пористого керамического материала.

[91] Картридж 200 может содержать пространство 230 для введения, выполненное с возможностью введения в него стика 20. Например, картридж 200 может содержать пространство для введения, образованное внутренней стенкой, проходящей в окружном направлении в направлении, в котором вставлен стик 20. В этом случае пространство для введения может быть образовано путем открытия внутренней стороны внутренней стенки вверх и вниз. Стик 20 может быть вставлен в пространство для введения, образованное внутренней стенкой.

[92] Пространство для введения, в которое вставляют стик 20, может быть выполнено в форме, соответствующей форме части стика 20, вставленной в пространство для введения. Например, если стик 20 имеет цилиндрическую форму, пространство для введения может иметь цилиндрическую форму.

[93] Когда стик 20 вставлен в пространство для введения, внешняя поверхность стика 20 может быть окружена внутренней стенкой и соприкасаться с внутренней стенкой.

[94] Часть стика 20 может быть вставлена в пространство для введения, и оставшаяся часть стика 20 может быть выведена наружу.

[95] Пользователь может вдыхать аэрозоль, прикусывая один конец стика 20 ртом. Аэрозоль, генерируемый нагревателем 210, может проходить через стик 20 и поступать в рот пользователя. В это время, когда аэрозоль проходит через стик 20, материал, содержащийся в стике 20, может быть добавлен к аэрозолю. Аэрозоль, полученный из материала, может поступать в полость рта пользователя через один конец стика 20.

[96] Как показано на ФИГ. 4, устройство 10 для генерирования аэрозоля согласно одному из вариантов осуществления изобретения может содержать основную часть 100, поддерживающую картридж 200, и картридж 200, содержащий вещество для генерирования аэрозоля. Основная часть 100 может быть выполнена таким образом, чтобы стик 20 можно было вставить в пространство 1300 для введения внутри корпуса.

[97] Устройство 10 для генерирования аэрозоля может содержать первый нагреватель для нагревания вещества для генерирования аэрозоля, содержащегося в картридже 200. Например, когда пользователь держит один конец стика 20 во рту для вдыхания аэрозоля, аэрозоль, генерируемый первым нагревателем, может проходить через стик 20. В это время, когда аэрозоль проходит через стик 20, к аэрозолю может быть добавлен ароматизатор. Аэрозоль, содержащий ароматизатор, может быть втянут в полость рта пользователя через один конец стика 20.

[98] В альтернативном варианте в соответствии с другим вариантом осуществления изобретения, устройство 10 для генерирования аэрозоля может содержать первый нагреватель для нагревания вещества для генерирования аэрозоля, содержащегося в картридже 200, и второй нагреватель для нагревания стика 20, вставленного в основную часть 100. Например, устройство 10 для генерирования аэрозоля может генерировать аэрозоль путем нагревания вещества для генерирования аэрозоля, содержащегося в картридже 200, и стика 20, с использованием первого нагревателя и второго нагревателя, соответственно.

[99] На ФИГ. 5 и 6 изображен стик согласно вариантам осуществления настоящего изобретения.

[100] Как показано на ФИГ. 5, стик 20 может содержать табачный стержень 21 и фильтрующий стержень 22. Первая часть, раскрытая выше со ссылкой на ФИГ. 2, может содержать табачный стержень. Вторая часть, раскрытая выше со ссылкой на ФИГ. 2, может содержать фильтрующий стержень 22.

[101] На ФИГ. 5 показано, что фильтрующий стержень 22 содержит один сегмент. Тем не менее, исполнение фильтрующего стержня 22 не ограничивается данным вариантом. Другими словами, фильтрующий стержень 22 может содержать несколько сегментов. Например, фильтрующий стержень 22 может содержать первый сегмент, выполненный с возможностью охлаждения аэрозоля, и второй сегмент, выполненный с возможностью фильтрации определенного компонента, содержащегося в аэрозоле. Кроме того, при необходимости фильтрующий стержень 22 может дополнительно содержать по меньшей мере один сегмент, выполненный с возможностью осуществления других функций.

[102] Диаметр стика 20 может составлять от 5 до 9 мм, а его длина может составлять примерно 48 мм, но варианты осуществления изобретения не ограничиваются этим вариантом. Например, длина табачного стержня 21 может составлять примерно 12 мм, длина первого сегмента фильтрующего стержня 22 может составлять примерно 10 мм, длина второго сегмента фильтрующего стержня 22 может составлять примерно 14 мм, а длина третьего сегмента фильтрующего стержня 22 может составлять примерно 12 мм, но варианты осуществления изобретения не ограничиваются этим вариантом.

[103] Стик 20 может быть обернут, по меньшей мере, одной оберткой 24. Обертка 24 может иметь по меньшей мере одно отверстие, через которое может поступать наружный воздух или выходить внутренний воздух. Например, стик 20 может быть обернут одной оберткой 24. В другом примере стик 20 может быть обернут по меньшей мере двумя обертками 24. Например, табачный стержень 21 может быть обернут первой оберткой 241. Например, фильтрующий стержень 22 может быть обернут обертками 242, 243, 244. Табачный стержень 21 и фильтрующий стержень 22, обернутые обертками, могут быть объединены. Стик 20 может быть повторно обернут единственной оберткой 245. Если табачный стержень 21 и фильтрующий стержень 22 содержат несколько сегментов, каждый сегмент может быть обернут обертками 242, 243, 244. Весь стик 20, состоящий из нескольких сегментов, обернутых обертками, может быть повторно обернут другой оберткой.

[104] Первая обертка 241 и вторая обертка 242 могут быть изготовлены из оберточной бумаги общего назначения для фильтров. Например, первая обертка 241 и вторая обертка 242 могут быть выполнены из пористой или непористой оберточной бумаги. Кроме того, первая обертка 241 и вторая обертка 242 могут быть выполнены из маслостойкого бумажного листа и алюминиевого многослойного упаковочного материала.

[105] Третья обертка 243 может быть изготовлена из жесткой оберточной бумаги. Например, плотность материала третьей обертки 243 может составлять, в частности, от 88 г/м2 до 96 г/м2. Например, плотность материала третьей обертки 243 может составлять, в частности, от 90 г/м2 до 94 г/м2. Кроме того, общая толщина третьей обертки 243 может составлять от 1200 мкм до 1300 мкм. Например, общая толщина третьей обертки 243 может составлять 125 мкм.

[106] Четвертая обертка 244 может быть изготовлена из маслостойкой жесткой оберточной бумаги. Например, плотность материала четвертой обертки 244 может составлять примерно от 88 г/м2 до 96 г/м2. Например, плотность материала четвертой обертки 244 может составлять, в частности, от 90 г/м2 до 94 г/м2. Таким образом, общая толщина четвертой обертки 244 может составлять от 1200 до 1300 мкм. Например, общая толщина четвертой обертки 244 может составлять 125 мкм.

[107] Пятая обертка 245 может быть изготовлена из стерилизованной бумаги (MFW). В данном случае под MFW понимают бумагу, специально изготовленную с приданием прочности на растяжение, водостойкости, гладкости и других подобных свойств, причем эти свойства улучшены по сравнению с обычной бумагой. Например, плотность материала пятой обертки 245 может составлять, в частности, от 57 г/м2 до 63 г/м2. Например, плотность пятой обертки 245 может составлять примерно 60 г/м2. Таким образом, общая толщина пятой обертки 245 может составлять от 64 до 70 мкм. Например, общая толщина пятой обертки 245 может составлять 67 мкм.

[108] В состав пятой обертки 245 может входить предварительно заданный материал. Здесь примером предварительно заданного материала может быть кремний; также возможны другие варианты. Например, кремний обладает такими характеристиками, как термостойкость с небольшими изменениями, обусловленными температурой, стойкостью к окислению, стойкостью к различным химическим веществам, водоотталкивающими свойствами, диэлектрическими свойствами и т. д. Тем не менее, любой материал, кроме кремния, может быть нанесен (или из него может быть сделано покрытие) на пятую обертку 245 без ограничения при условии, что этот материал обладает вышеупомянутыми характеристиками.

[109] Пятая обертка 245 может предотвращать горение стика 20. Например, когда табачный стержень 21 нагревают нагревателем 110, существует вероятность загорания стика 20. Точнее говоря, когда температура возрастает до температуры, превышающей точку воспламенения любого из материалов, входящих в состав табачного стержня 21, стик 20 может загореться. Даже в этом случае можно предотвратить горение стика 20, поскольку пятая обертка 245 содержит негорючий материал.

[110] Кроме того, пятая обертка 245 может предотвращать загрязнение устройства 100 для генерирования аэрозоля веществами, образуемыми стиком 20. В результате затяжки пользователя в стике 20 могут быть образованы жидкие вещества. Например, когда аэрозоль, образуемый стиком 20, охлажден наружным воздухом, могут быть образованы жидкие материалы (например, влага и т. д.). Пятая обертка 245, обернутая вокруг стика 20, позволяет предотвратить утечку жидких материалов, образующихся в стике 20, из стика 20.

[111] Табачный стержень 21 может содержать материал для генерирования аэрозоля. Например, материал для генерирования аэрозоля может содержать по меньшей мере один из следующих компонентов: глицерин, пропиленгликоль, этиленгликоль, дипропиленгликоль, диэтиленгликоль, триэтиленгликоль, тетраэтиленгликоль и олеиловый спирт, а также другие компоненты. Кроме того, табачный стержень 21 может содержать иные добавки, в частности, ароматизаторы, увлажняющее вещество и/или органическую кислоту. Также табачный стержень 21 может содержать вкусо-ароматизированную жидкость, в частности, ментол или увлажнитель, впрыснутые в табачный стержень 21.

[112] Табачный стержень 21 может быть изготовлен в различных формах. Например, табачный стержень 21 может быть сформирован в виде листа или пряди. Кроме того, табачный стержень 21 может быть сформирован в виде трубочного табака, состоящего из крошечных кусочков, вырезанных из табачного листа. Кроме того, табачный стержень 21 может быть окружен теплопроводящим материалом. Например, теплопроводящий материал может представлять собой, помимо прочего, металлическую фольгу, такую как, например, алюминиевая фольга. Например, теплопроводящий материал, окружающий табачный стержень 21, может равномерно распределять тепло, передаваемое табачному стержню 21, что позволяет увеличить теплопроводность в отношении табачного стержня, и улучшить вкусовые качества табака. Кроме того, теплопроводящий материал, окружающий табачный стержень 21, может служить токоприемником, нагреваемым индукционным нагревателем. В этом случае, хотя это не показано на чертежах, табачный стержень 21 может содержать дополнительный токоприемник наряду с теплопроводным материалом, окружающим табачный стержень 21.

[113] Фильтрующий стержень 22 может содержать фильтр из ацетата целлюлозы. Фильтрующий стержень 22 может иметь любую форму. Например, фильтрующий стержень 22 может иметь форму полого цилиндра или полой трубки. Кроме того, фильтрующий стержень 22 может содержать стержень с выемкой. Если фильтрующий стержень 22 содержит несколько сегментов, по меньшей мере один из нескольких сегментов может иметь отличающуюся форму.

[114] Первый сегмент фильтрующего стержня 22 может представлять собой фильтр из ацетата целлюлозы. Например, первый сегмент может быть выполнен в форме трубки с полой внутренней частью. Первый сегмент может предотвращать выталкивание внутреннего материала табачного стержня 21, когда нагреватель 110 вставляют в табачный стержень 21, а также может охлаждать аэрозоль. Диаметр полости первого сегмента может составлять от 2 до 4,5 мм; также возможны другие варианты.

[115] Первый сегмент может иметь подходящую длину в диапазоне от 4 до 30 мм; также возможны другие варианты. Например, длина первого сегмента может составлять 10 мм; также возможны другие варианты.

[116] Второй сегмент фильтрующего стержня 22 охлаждает аэрозоль, генерируемый нагревателем 110, нагревающим табачный стержень 21. Таким образом, пользователь может вдыхать аэрозоль, охлажденный до соответствующей температуры.

[117] Длина или диаметр второго сегмента может отличаться в зависимости от формы стика 20. Например, длина второго сегмента может составлять от 7 до 20 мм. Предпочтительно длина второго сегмента может составлять примерно 14 мм; также возможны другие варианты.

[118] Второй сегмент может быть изготовлен путем сплетения полимерного волокна. В этом случае на волокно, сформированное из полимера, также может быть нанесена вкусо-ароматизирующая жидкость. В альтернативном варианте второй сегмент может быть изготовлен путем сплетения дополнительного волокна, покрытого вкусо-ароматизирующей жидкостью, и волокна, сформированного из полимера. В альтернативном варианте второй сегмент может быть изготовлен из гофрированного полимерного листа.

[119] Например, полимер может быть выбран из группы, в которую входит полиэтилен (ПЭ), полипропилен (ПП), поливинилхлорид (ПВХ), полиэтилентерефталат (ПЭТ), полилактид (ПЛА), ацетат целлюлозы (ЦА) и алюминиевая фольга.

[120] Так как второй сегмент образован сплетенным полимерным волокном или гофрированным полимерным листом, то второй сегмент может содержать один или несколько каналов, ориентированных в продольном направлении. В данном случае под каналом понимают проход, по которому протекает газ (например, воздух или аэрозоль).

[121] Например, второй сегмент, изготовленный из гофрированного полимерного листа, может быть сформирован из материала толщиной примерно от 5 до 300 мкм, например, примерно от 10 до 250 мкм. Кроме того, общая площадь поверхности второго сегмента может составлять примерно от 300 мм2/мм до 1000 мм2/мм. Кроме того, элемент охлаждения аэрозоля может быть сформирован из материала с удельной площадью поверхности примерно от 10 мм2/мг до 100 мм2/мг.

[122] Второй сегмент может содержать нить, содержащую летучий вкусо-ароматический ингредиент. В данном случае летучим вкусо-ароматическим ингредиентом может быть, в частности, ментол. Например, нить может быть заполнена достаточным количеством ментола, чтобы обеспечить содержание ментола во втором сегменте 1,5 мг и более.

[123] Третий сегмент фильтрующего стержня 22 может представлять собой фильтр из ацетата целлюлозы. Длина третьего сегмента может составлять от 4 до 20 мм. Например, длина третьего сегмента может составлять примерно 12 мм, но также возможны и другие варианты.

[124] Фильтрующий стержень 22 может быть изготовлен с возможностью получения вкусов и ароматов. Например, вкусо-ароматизирующая жидкость может быть впрыснута в фильтрующий стержень 22. Например, дополнительные волокна, покрытые вкусо-ароматизирующей жидкостью, могут быть вставлены в фильтрующий стержень 22.

[125] Кроме того, фильтрующий стержень 22 может содержать по меньшей мере одну капсулу 23. В данном случае капсула 23 может генерировать вкус и аромат. Капсула 23 может генерировать аэрозоль. Например, капсула 23 может иметь конфигурацию, в которой жидкость, содержащая вкусо-ароматизирующий материал, обернута пленкой. Капсула 23 может иметь форму сферы или цилиндра, но также возможны и другие варианты.

[126] Как показано на ФИГ. 6, стик 30 может дополнительно содержать переднюю заглушку 33. Передняя заглушка 33 может быть расположена на стороне табачного стержня 31, противоположной фильтрующему стержню 32. Передняя заглушка 33 может препятствовать отсоединению табачного стержня 31 и попаданию сжиженного аэрозоля в устройство 10 для генерирования аэрозоля из табачного стержня 31 во время курения.

[127] Фильтрующий стержень 32 может содержать первый сегмент 321 и второй сегмент 322. Первый сегмент 321 может соответствовать первому сегменту фильтрующего стержня 22 на ФИГ. 4. Сегмент 322 может соответствовать третьему сегменту фильтрующего стержня 22 на ФИГ. 4.

[128] Диаметр и общая длина стика 30 могут соответствовать диаметру и общей длине стика 20 на ФИГ. 4. Например, длина передней заглушки 33 может составлять примерно 7 мм, длина табачного стержня 31 — примерно 15 мм, длина первого сегмента 321 — примерно 12 мм, а длина второго сегмента 322 — примерно 14 мм, но варианты осуществления изобретения не ограничиваются этим вариантом.

[129] Стик 30 может быть обернут, по меньшей мере, одной оберткой 35. Обертка 35 может иметь по меньшей мере одно отверстие, через которое может поступать наружный воздух или выходить внутренний воздух. Например, передняя заглушка 33 может быть обернута в первую обертку 351, табачный стержень 31 — во вторую обертку 352, первый сегмент 321 — в третью обертку 353, а второй сегмент 322 — в четвертую обертку 354. Кроме того, весь стик 30 может быть повторно обернут пятой оберткой 355.

[130] Кроме того, пятая обертка 355 может иметь по меньшей мере одну перфорацию 36. Например, перфорация 36 может быть выполнена, в частности, в области пятой обертки 355, окружающей табачный стержень 31. Например, перфорация 36 может служить для передачи тепла, генерируемого нагревателем 210, показанным на ФИГ. 3, в табачный стержень 31.

[131] Также второй сегмент 322 может содержать по меньшей мере одну капсулу 34. В данном случае капсула 34 может генерировать вкус и аромат. Капсула 34 может генерировать аэрозоль. Например, капсула 34 может иметь конфигурацию, в которой жидкость, содержащая вкусо-ароматизирующий материал, обернута пленкой. Капсула 34 может иметь форму сферы или цилиндра, но также возможны и другие варианты.

[132] Первая обертка 351 может быть изготовлена путем комбинирования оберточной бумаги общего назначения для фильтров и металлической фольги, например, алюминиевой фольги. Например, общая толщина первой обертки 351 может составлять от 45 до 55 мкм. Например, общая толщина первой обертки 351 может составлять 50,3 мкм. Кроме того, толщина металлической фольги первой обертки 351 может составлять от 6 до 7 мкм. Например, толщина металлической фольги первой обертки 351 может составлять 6,3 мкм. Кроме того, плотность материала первой обертки 351 может составлять от 50 г/м2 до 55 г/м2. Например, плотность первой обертки 351 может составлять 53 г/м2.

[133] Вторая обертка 352 и третья обертка 353 могут быть изготовлены из оберточной бумаги общего назначения для фильтров. Например, вторая обертка 352 и третья обертка 353 могут быть изготовлены из пористой или непористой оберточной бумаги.

[134] Например, пористость второй обертки 352 может составлять 35 000 УЕ; также возможны другие варианты. Кроме того, толщина второй обертки 352 может составлять от 70 до 80 мкм. Например, толщина второй обертки 352 может составлять 78 мкм. Плотность материала второй обертки 352 может составлять от 20 г/м2 до 25 г/м2. Например, плотность второй обертки 352 может составлять 23,5 г/м2.

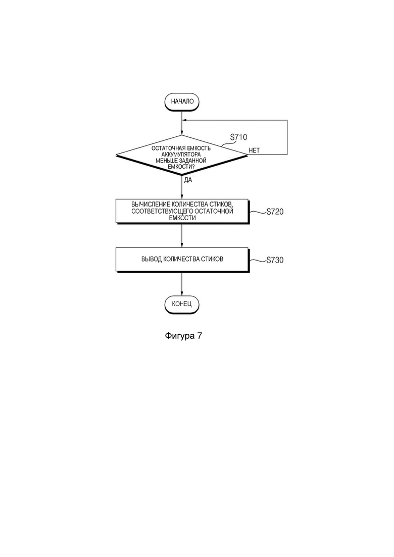
[135] Например, пористость третьей обертки 353 может составлять 24 000 УЕ; также возможны другие варианты. Кроме того, толщина третьей обертки 353 может составлять примерно от 60 до 70 мкм. Например, толщина третьей обертки 353 может составлять 68 УЕ. Плотность третьей обертки 353 может составлять примерно от 20 г/м2 до 25 г/м2. Например, плотность третьей обертки 353 может составлять 21 г/м2.

[136] Четвертая обертка 354 может быть сформирована из ламинированной полилактидом бумаги. В данном случае под ламинированной полилактидом бумагой понимают трехслойную бумагу, содержащую бумажный слой, слой полилактида и бумажный слой. Например, толщина четвертой обертки 354 может составлять от 100 до 1200 мкм. Например, толщина четвертой обертки 354 может составлять 110 мкм. Кроме того, плотность четвертой обертки 354 может составлять от 80 г/м2 до 100 г/м2. Например, плотность четвертой обертки 354 может составлять 88 г/м2.

[137] Пятая обертка 355 может быть изготовлена из стерилизованной бумаги (MFW). В данном случае под стерилизованной бумагой (MFW) понимается бумага, специально изготовленная для повышения прочности на разрыв, водостойкости, гладкости и т. п. по сравнению с обычной бумагой. Например, плотность материала пятой обертки 355 может составлять от 57 г/м2 до 63 г/м2. Например, плотность пятой обертки 355 может составлять 60 г/м2. Кроме того, толщина пятой обертки 355 может составлять от 64 до 70 мкм. Например, толщина пятой обертки 355 может составлять 67 мкм.

[138] Пятая обертка 355 может содержать добавленный к ней предварительно заданный материал. Примером материала может служить кремний, но возможны и другие материалы. Кремний обладает такими характеристиками, как термостойкость, устойчивость к температурным режимам, стойкость к окислению, стойкость к воздействию различных химических веществ, водоотталкивающие свойства, диэлектрические свойства и др. Помимо кремния, на пятую обертку 355 могут быть нанесены (или покрыты) любые другие материалы, обладающие раскрытыми выше характеристиками, без ограничений.

[139] Передняя заглушка 33 может быть изготовлена из ацетата целлюлозы. Например, передняя заглушка 33 может быть сформирована посредством добавления пластификатора (например, триацетина) в волокно ацетата целлюлозы. Моноденье нитей, составляющих волокно ацетата целлюлозы, может составлять от 1,0 до 10,0. Например, моноденье нитей, составляющих волокно ацетата целлюлозы, может составлять от 4,0 до 6,0. Моноденье нитей передней заглушки 33 может составлять 5,0. Кроме того, сечение нитей передней заглушки 33 может иметь Y-образную форму. Более предпочтительно, общий денье передней заглушки 33 может составлять от 20 000 до 30 000. Например, общий денье передней заглушки 33 может составлять от 25 000 до 30 000. Например, общий денье передней заглушки 33 может составлять 28000.

[140] Кроме того, при необходимости передняя заглушка 33 может содержать по меньшей мере один канал. Поперечное сечение канала может иметь различные формы.

[141] Табачный стержень 31 может соответствовать табачному стержню 21, раскрытому выше со ссылкой на ФИГ. 4. Таким образом, здесь и далее подробное описание табачного стержня 31 будет опущено.

[142] Первый сегмент 321 может быть изготовлен из ацетата целлюлозы. Например, первый сегмент 321 может быть выполнен в форме трубки с полой внутренней частью. Например, первый сегмент 321 может быть изготовлен путем добавления пластификатора (например, триацетина) в волокно ацетата целлюлозы. Например, моноденье и общий денье первого сегмента 321 могут совпадать с моноденье и общим денье передней заглушки 33.

[143] Второй сегмент 322 может быть изготовлен из ацетата целлюлозы. Моноденье нити второго сегмента 322 может составлять от 1,0 до 10,0. Например, моноденье нитей второго сегмента 322 может составлять примерно от 8,0 до 10,0. Например, моноденье нити второго сегмента 322 может составлять 9,0. Кроме того, поперечный разрез нити второго сегмента 322 может иметь Y-образную форму. Общий денье второго сегмента 322 может составлять от 20 000 до 30 000. Например, общий денье второго сегмента 322 может составлять 25 000.

[144] На ФИГ. 7 изображена блок-схема способа эксплуатации устройства для генерирования аэрозоля согласно одному из вариантов осуществления настоящего изобретения.

[145] Как показано на ФИГ. 7, на этапе S710 устройство 10 для генерирования аэрозоля может определить, меньше ли остаточная емкость аккумулятора 16 предварительно заданной емкости. В данном случае под предварительно заданной емкостью может пониматься емкость, установленная в качестве эталона для информирования пользователя об остаточной емкости аккумулятора 16. Например, предварительно заданная емкость может соответствовать 30% от максимальной емкости аккумулятора 16.

[146] Если остаточная емкость аккумулятора 16 больше или равна предварительно заданной емкости, устройство 10 для генерирования аэрозоля может продолжать отслеживать, не оказалась ли остаточная емкость аккумулятора 16 меньше предварительно заданной емкости. В этом случае устройство 10 для генерирования аэрозоля может выводить информацию об остаточной емкости аккумулятора 16 на дисплей. Например, устройство 10 для генерирования аэрозоля может выводить на дисплей главный экран, содержащий индикатор, показывающий остаточную емкость аккумулятора 16.

[147] Как показано на ФИГ. 8А, в одном из вариантов осуществления настоящего изобретения пространство для введения, в которое вставляют сигарету 20, может быть предусмотрено в верхнем конце корпуса 201 устройства 10 для генерирования аэрозоля.

[148] Пространство для введения может быть утоплено в корпус 201 на предварительно заданную глубину, чтобы в него можно было вставить по меньшей мере часть сигареты 20. Глубина пространства для введения может соответствовать длине секции или части сигареты 20, содержащей вещество для генерирования аэрозоля. Например, если устройство 10 для генерирования аэрозоля представляет собой устройство, способное использовать сигарету 20 на ФИГ. 5, глубина пространства для введения может соответствовать длине табачного стержня 21 сигареты 20.

[149] Аккумулятор 16, печатная плата 810, нагреватель и тому подобное могут быть расположены в корпусе 201 устройства 10 для генерирования аэрозоля.

[150] Каждый из компонентов, входящих в состав устройства 10 для генерирования аэрозоля, может быть установлен на одной и/или другой поверхности печатной платы 810. Компоненты, установленные на печатной плате 810, могут передавать или принимать сигналы друг другу или друг от друга через слой межсоединений печатной платы 810. Например, по меньшей мере, один модуль обмена данными, входящий в интерфейс 11 обмена данными, по меньшей мере один датчик, входящий в сенсорный модуль 15, контроллер 17 и тому подобное могут быть установлены на печатной плате 810.

[151] Печатная плата 810 может быть расположена рядом с аккумулятором 16. Например, печатная плата 810 может быть расположена таким образом, чтобы одна ее поверхность была обращена к аккумулятору 16.

[152] На одной поверхности печатной платы 810 может быть установлен датчик температуры. Датчик температуры может быть выполнен в виде термистора, сопротивление которого изменяется в зависимости от температуры, или в виде другого устройства. Например, датчик температуры может содержать термистор с отрицательным температурным коэффициентом, сопротивление которого уменьшается при повышении температуры.

[153] Контроллер 17 может определять температуру аккумулятора 16 на основании показаний датчика температуры. Например, контроллер 17 может определить, что показания датчика температуры соответствуют температуре аккумулятора 16. Например, контроллер 17 может определить результат компенсации показаний датчика температуры в соответствии с предварительно заданным опорным значением, в качестве температуры аккумулятора 16.

[154] Дисплей 820 может быть расположен на одной стороне корпуса 201. Дисплей 820 может отображать экран на основании сигнала, переданного от контроллера 17.

[155] Клемма 830 питания может быть расположена на одной стороне корпуса 201 устройства 10 для генерирования аэрозоля. Клемма 830 питания может представлять собой проводную клемму для проводной связи, например, USB.

[156] Схема подачи питания (не показана) может быть расположена между аккумулятором 16 и клеммой 830 питания. Схема подачи питания может передавать питание извне на аккумулятор 16 через клемму 830 питания.

[157] Линия 835 питания для подачи питания может быть подключена к клемме 830 питания. Например, клемма 830 питания может быть соединена с разъемом линии 835 питания.

[158] Контроллер 17 может определить, подключена ли линия 835 питания к клемме 830 питания. Например, контроллер 17 может определить, подключена ли линия 835 питания к клемме 830 питания, на основании сигнала, генерируемого в ответ на соединение клеммы 830 питания с линией 835 питания.

[159] Когда линия 835 питания подключена к клемме 830 питания, контроллер 17 может инициировать зарядку аккумулятора 16. Когда линия 835 питания подключена к клемме 830 питания, контроллер 17 может управлять работой каждого из компонентов устройства 10 для генерирования аэрозоля таким образом, чтобы питание, подаваемое по линии 835 питания, передавалось на аккумулятор 16. Например, когда линия 835 питания подключена к клемме 830 питания при вставленной в корпус 201 сигарете 20, контроллер 17 может прервать подачу питания на модуль 130 для генерирования аэрозоля и инициировать зарядку аккумулятора 16.

[160] В корпусе 101 может быть размещен по меньшей мере один мотор 840, создающий вибрацию для формирования тактильного эффекта. Мотор 840 может быть установлен на другой поверхности печатной платы 810. Например, мотор 840 может быть выполнен в виде линейного привода или иного подобного устройства; также возможны другие варианты.

[161] Конструкция устройства 10 для генерирования аэрозоля не ограничена конструкцией, показанной на ФИГ. 8A, и в зависимости от варианта осуществления изобретения расположение аккумулятора 16, печатной платы 810, дисплея 820, клеммы 830 питания и мотора 840 может изменяться.

[162] Как показано на ФИГ. 8B, дисплей 820 может содержать защитное стекло 821, панель 823 дисплея и/или сенсорную панель 825.

[163] Защитное стекло 821 вместе с корпусом 201 может определять внешний вид устройства 10 для генерирования аэрозоля. Защитное стекло 821 может соприкасаться с частью тела пользователя. Защитное стекло 821 может защищать панель 823 дисплея и/или сенсорную панель 825 от внешних воздействий.

[164] Панель 823 дисплея может быть расположена в направлении от защитного стекла 821 к внутренней части корпуса 201. Например, панель 823 дисплея может быть расположена параллельно защитному стеклу 821.

[165] Панель 823 дисплея может отображать изображение. Панель 823 дисплея может выводить изображение на основании сигнала, передаваемого контроллером 17. Например, панель 823 дисплея может быть реализована в виде жидкокристаллического дисплея (LCD), панели на органических светодиодах (OLED) и т.п.; также возможны другие варианты.

[166] Сенсорная панель 825 может быть направлена от защитного стекла 821 к внутренней части корпуса 201. Например, сенсорная панель 825 может быть расположена параллельно защитному стеклу 821 и панели 823 дисплея.

[167] Сенсорная панель 825 может распознавать прикосновение, соответствующее контакту с объектом. Например, сенсорная панель 825 может распознавать прикосновение, соответствующее прикосновению части тела пользователя.

[168] Сенсорная панель 825 может содержать по меньшей мере один сенсорный датчик для распознавания прикосновения. Сенсорный датчик может представлять собой, например, емкостной сенсорный датчик, резистивный сенсорный датчик, сенсорный датчик на поверхностных акустических волнах и инфракрасный сенсорный датчик; также возможны другие варианты.

[169] Несколько сенсорных датчиков, входящих в состав сенсорной панели 825, могут получать управляющий сигнал в соответствии с предварительно заданным периодом. Например, несколько сенсорных датчиков, входящих в состав сенсорной панели 825, могут получать управляющий сигнал в соответствии с предварительно заданным периодом. На основании управляющего сигнала несколько сенсорных датчиков могут выдавать электрический сигнал, соответствующий состоянию (например, давление, магнитное поле, емкость и количество света).

[170] Контроллер 17 может определить, получен ли сенсорный ввод, отслеживая выходной сигнал, поступающий с сенсорной панели 825. Контроллер 17 может выполнять определение сенсорного ввода на основании выходного сигнала, поступающего с сенсорной панели 825. Например, контроллер 17 может выполнять определение координат сенсорного ввода, области (или региона) касания, однократного касания, многократного касания, интенсивности касания и т.п. Например, контроллер 17 может выполнить определение длительного сенсорного ввода, представляющего собой касание, распознаваемое в течение предварительно заданного или более длительного времени, короткого сенсорного ввода, представляющего собой касание, распознаваемое в течение периода длительностью меньше предварительно заданного времени, и сенсорное пролистывание (или смахивание), при котором положение сенсорного ввода постоянно изменяется в определенном направлении.

[171] При этом панель 823 дисплея и сенсорная панель 825 могут быть выполнены как единая панель. Например, сенсорная панель 825 может быть вставлена в панель 823 дисплея (по типу «на камере» или «в камере»). Например, сенсорная панель 825 может быть добавлена к панели 823 дисплея (по типу «навесного устройства»).

[172] Как показано на ФИГ. 9, устройство 10 для генерирования аэрозоля может выводить главный экран 900 на дисплей 820. Например, когда дисплей 820 включают из выключенного состояния, на дисплее 820 может отображаться главный экран 900.

[173] Главный экран 900 может содержать по меньшей мере один индикатор. Например, главный экран 900 может содержать индикатор 910, указывающий рабочее состояние устройства 10 для генерирования аэрозоля, индикатор 920, указывающий состояние связи, индикатор 930, указывающий остаточную емкость аккумулятора 16, и индикатор 940, указывающий текущее время.

[174] В состоянии, в котором экран отображается на дисплее 820, устройство 10 для генерирования аэрозоля может изменить экран, отображаемый на дисплее 820, в ответ на сенсорный ввод на дисплее 820.

[175] Как показано на ФИГ. 10A и 10B, при получении сенсорного ввода 1001 в виде смахивания влево (или в левом направлении) во время отображения главного экрана 900 на дисплее 820 устройство 10 для генерирования аэрозоля может переключить главный экран 900, отображаемый на дисплее 820, на экран 1010 приложений.

[176] В одном из вариантов осуществления изобретения, при принятии короткого сенсорного ввода 1002 в виде прикосновения к области правого края главного экрана 900 во время отображения главного экрана 900 устройство 10 для генерирования аэрозоля может переключить главный экран 900, отображаемый на дисплее 820, на экран 1010 приложений.

[177] Экран 1010 приложений может содержать по меньшей мере один объект, соответствующий приложениям, установленным в устройстве 10 для генерирования аэрозоля. В этом случае, когда пользователь касается и выбирает любой из объектов, содержащихся на экране 1010 приложений, устройство 10 для генерирования аэрозоля может выполнить приложение, соответствующее выбранному объекту.

[178] Между тем, как показано на ФИГ. 11A и 11C, при получении сенсорного ввода 1101 в виде смахивания вправо (или в правом направлении) во время отображения главного экрана 900 устройство 10 для генерирования аэрозоля может переключить главный экран 900, отображаемый на дисплее 820, на экран 1110 настроек.

[179] В одном из вариантов осуществления изобретения, при принятии короткого сенсорного ввода 1102 в виде прикосновения к области левого края главного экрана 900 во время отображения главного экрана 900 устройство 10 для генерирования аэрозоля может переключить главный экран 900, отображаемый на дисплее 820, на экран 1110 настроек.

[180] Экран 1110 настроек может содержать по меньшей мере один объект (далее «объект настройки»), соответствующий элементам настройки, связанным с эксплуатацией, функциональностью, состоянием устройства 10 для генерирования аэрозоля.

[181] При этом, при наличии нескольких объектов настройки, не все из нескольких объектов настройки могут быть отображены на экране, отображаемом на дисплее 820. В этом случае при получении сенсорного ввода 1103 в виде смахивания вверх (или в направлении вверх) во время отображения экрана 1110 настроек устройство 10 для генерирования аэрозоля может изменять объекты настроек, отображаемые на экране 1110 настроек, в соответствии с порядком объектов настроек.

[182] Как показано на ФИГ. 7, если остаточная емкость аккумулятора 16 меньше предварительно заданной емкости, устройство 10 для генерирования аэрозоля на этапе S720 может вычислить количество стиков 20, соответствующее остаточной емкости аккумулятора 16.

[183] В одном из вариантов осуществления изобретения устройство 10 для генерирования аэрозоля может вычислить количество стиков 20, соответствующее остаточной емкости аккумулятора 16, на основании количества питания, подаваемого на нагреватель, и количества питания, подаваемого на иные компоненты, кроме нагревателя.

[184] При этом количество питания, подаваемого на нагреватель, может соответствовать количеству питания, подаваемого на нагреватель в то время, когда пользователь использует или раскуривает один стик 20 в соответствии с предварительно заданным количеством затяжек (например, 14 затяжек). Количество питания, подаваемого на иные компоненты, кроме нагревателя, может соответствовать количеству питания, подаваемого на такие компоненты как дисплей 820 на основании текущих настроек в то время, когда пользователь использует или раскуривает один стик 20 в соответствии с предварительно заданным количеством затяжек (например, 14 затяжек).

[185] При этом, при изменении настроек, связанных с эксплуатацией, функциональностью и состоянием устройства 10 для генерирования аэрозоля, количество питания, подаваемого на нагреватель, и/или количество питания, подаваемого на иные компоненты, кроме нагревателя, может быть изменено. Например, при изменении настройки, связанной с количеством распыления, устройство 10 для генерирования аэрозоля может изменять количество питания, подаваемого на нагреватель. Например, при изменении настройки, связанной с выводом информации на дисплей 820, устройство 10 для генерирования аэрозоля может изменять количество питания, подаваемого на иные компоненты, кроме нагревателя.

[186] На этапе S730 устройство 10 для генерирования аэрозоля может выводить на дисплей 820 количество стиков 20, соответствующее остаточной емкости аккумулятора 16. Например, когда дисплей 820 находится в выключенном состоянии, устройство 10 для генерирования аэрозоля может включить дисплей 920, чтобы вывести количество стиков 20, соответствующее остаточной емкости аккумулятора 16.

[187] Как показано на ФИГ. 12, устройство 10 для генерирования аэрозоля может выводить на дисплей 820 экран 1200 уведомлений, на котором отображается количество стиков 20, соответствующее остаточной емкости аккумулятора 16.

[188] Экран 1200 уведомлений может содержать объект 1210, соответствующий количеству стиков 20, доступных пользователю для использования, на основании остаточной емкости аккумулятора 16.

[189] Как показано на ФИГ. 13A-13D, если во время отображения экрана 1110 настроек получен короткий сенсорный ввод 1301 в виде прикосновения к объекту настройки, соответствующему дисплею 820, устройство 10 для генерирования аэрозоля может выводить на дисплей 820 первый экран 1300 для определения настроек, связанных с дисплеем 820.

[190] Первый экран 1300 может содержать пользовательский интерфейс для изменения настроек, связанных с дисплеем 820. Например, первый экран 1300 может содержать объект 1310, соответствующий яркости дисплея 820, объект 1320, соответствующий времени отображения дисплея 820 (т.е. тайм-аут экрана), и иные объекты.

[191] Если во время отображения первого экрана 1300 будет принят короткий сенсорный ввод 1302 в виде прикосновения к объекту 1310, соответствующему яркости дисплея 820, устройство 10 для генерирования аэрозоля может определять значение яркости, соответствующее положению короткого сенсорного ввода 1302.

[192] На основании значения яркости, соответствующего положению короткого сенсорного ввода 1302, устройство 10 для генерирования аэрозоля может изменять количество питания, подаваемого на иные компоненты, кроме нагревателя. Например, если значение яркости дисплея 820 уменьшается в ответ на короткий сенсорный ввод 1302, количество питания, подаваемого на иные компоненты, кроме нагревателя, может уменьшаться. По мере уменьшения количества питания, подаваемого на иные компоненты, кроме нагревателя, количество стиков 20, соответствующее остаточной емкости аккумулятора 16, может увеличиваться.

[193] При принятии короткого сенсорного ввода 1303 в виде прикосновения к объекту 1330 для завершения отображения первого экрана 1300 во время отображения первого экрана 1300 устройство 10 для генерирования аэрозоля может изменять экран, отображаемый на дисплее 820.

[194] В этом случае, если количество стиков 20, соответствующее остаточной емкости аккумулятора 16, будет изменено вследствие изменения элемента настройки устройства 10 для генерирования аэрозоля, устройство 10 для генерирования аэрозоля может снова вывести экран 1200 уведомлений на дисплей 820. Например, если количество стиков 20, соответствующее остаточной емкости аккумулятора 16, будет изменено вследствие уменьшения яркости дисплея 820, устройство 10 для генерирования аэрозоля может переключить экран, отображаемый на дисплее 820, с первого экрана 1300 на экран 1200 уведомлений.

[195] При этом, если количество стиков 20, соответствующее остаточной емкости аккумулятора 16, остается неизменным даже после изменения элемента настройки устройства 10 для генерирования аэрозоля, устройство 10 для генерирования аэрозоля может переключить экран, отображаемый на дисплее 820, с первого экрана 1300 на экран 1110 настроек.

[196] Как показано на ФИГ. 14A—14D, экран 1200 уведомлений может дополнительно содержать объект 1220, соответствующий изменению количества стиков 20 в соответствии с остаточной емкостью аккумулятора 16.

[197] Если во время отображения экрана 1200 уведомлений будет принят короткий сенсорный ввод 1401 в виде прикосновения к объекту 1220, относящемуся к изменению количества стиков 20 в соответствии с остаточной емкостью аккумулятора 16, устройство 10 для генерирования аэрозоля может выводить на дисплей 820 второй экран 1400 для изменения количества стиков 20 в соответствии с остаточной емкостью аккумулятора 16.

[198] Второй экран 1400 может содержать пользовательский интерфейс для изменения количества стиков 20 в соответствии с остаточной емкостью аккумулятора 16. Например, второй экран 1400 может содержать по меньшей мере один объект 1410, соответствующий количеству стиков 20.

[199] В этом случае допустимый диапазон изменения количества стиков 20 может быть определен на основании степени или объема изменения количества питания, подаваемого на иные компоненты, кроме нагревателя, в связи с изменением элемента настройки устройства 10 для генерирования аэрозоля.

[200] Если во время отображения второго экрана 1400 будет принят короткий сенсорный ввод 1402 в виде прикосновения к любой из секций объекта 1410, соответствующего количеству стиков 20, устройство 10 для генерирования аэрозоля может определить количество стиков 20, соответствующее положению короткого сенсорного ввода 1402.

[201] На основании количества стиков 20, соответствующего положению короткого сенсорного ввода 1402, устройство 10 для генерирования аэрозоля может изменять количество питания, подаваемого на иные компоненты, кроме нагревателя. Например, если количество стиков 20 увеличивается в ответ на короткий сенсорный ввод 1402, количество питания, подаваемого на иные компоненты, кроме нагревателя, может уменьшаться. По мере уменьшения количества питания, подаваемого на иные компоненты, кроме нагревателя, значение яркости и/или время вывода изображения на дисплей 820 может уменьшаться.

[202] При принятии короткого сенсорного ввода 1403 в виде прикосновения к объекту 1430 для завершения отображения второго экрана 1400 во время отображения второго экрана 1400 устройство 10 для генерирования аэрозоля может переключать экран, отображаемый на дисплее 820, на экран 1200 уведомлений.

[203] Как раскрыто выше, по меньшей мере в одном из вариантов осуществления настоящего изобретения экран, отображаемый на дисплее 820, можно переключать интуитивно.

[204] По меньшей мере в одном из вариантов осуществления настоящего изобретения информация об остаточной емкости аккумулятора 16 может быть предоставлена пользователю различными способами.

[205] По меньшей мере в одном из вариантов осуществления настоящего изобретения пользователь может получать информацию о количестве доступных для использования стиков на основании остаточной емкости аккумулятора 16.

[206] По меньшей мере в одном из вариантов осуществления настоящего изобретения настройки, связанные с потреблением энергии, можно изменять таким образом, чтобы пользователь мог использовать желаемое им количество стиков.

[207] Как показано на ФИГ. 1—14D, устройство 10 для генерирования аэрозоля в соответствии с одним из аспектов настоящего изобретения может содержать: корпус 201, содержащий пространство для введения, в которое вставляют стик 20; аккумулятор 16; дисплей 820; и контроллер 17. Контроллер 17 может быть выполнен с возможностью: вычисления на основании того, что остаточная емкость аккумулятора 16 меньше предварительно заданной емкости, количества стиков 20, соответствующего остаточной емкости; и вывода вычисленного количества стиков 20 на дисплей 820.

[208] Согласно другому аспекту настоящего изобретения, контроллер 17 может быть выполнен с возможностью повторного вычисления количества стиков 20, соответствующего остаточной емкости, в соответствии с изменением настройки, связанной с использованием питания в аккумуляторе 16.

[209] Согласно другому аспекту настоящего изобретения, контроллер 17 может быть выполнен с возможностью повторного вычисления количества стиков 20, соответствующего остаточной емкости, на основании изменения яркости экрана, отображаемого на дисплее 820, и/или времени отображения экрана.

[210] Согласно другому аспекту настоящего изобретения устройство 10 для генерирования аэрозоля может дополнительно содержать устройство 825 ввода, выполненное с возможностью принятия ввода пользователя. Контроллер 17 может быть выполнен с возможностью: вывода на дисплей 820 пользовательского интерфейса, связанного с изменением количества стиков 20; и изменения настройки, связанной с выводом на дисплей 820, в ответ на получение ввода об изменении количества стиков 20 через устройство 825 ввода.

[211] Согласно другому аспекту настоящего изобретения, контроллер 17 может быть выполнен с возможностью вывода уменьшенного количества стиков 20 на дисплей 820 на основании уменьшения количества стиков 20 в соответствии с остаточной емкостью.

[212] Согласно другому аспекту настоящего изобретения, контроллер 17 может быть выполнен с возможностью вычисления количества стиков 20, соответствующего остаточной емкости, в соответствии с остаточной емкостью и количеством питания, потребляемого при использовании одного стика 20.

[213] Способ эксплуатации устройства 10 для генерирования аэрозоля согласно одному из аспектов настоящего изобретения может содержать: вычисление количества стиков 20, соответствующего остаточной емкости, на основании того, что остаточная емкость аккумулятора 16 устройства 10 для генерирования аэрозоля меньше предварительно заданной емкости; и вывод вычисленного количества стиков 20 на дисплей 820 устройства 10 для генерирования аэрозоля.

[214] Согласно другому аспекту настоящего изобретения, способ может дополнительно содержать повторное вычисление количества стиков 20, соответствующего остаточной емкости, в соответствии с изменением настройки, связанной с использованием питания в аккумуляторе 16.

[215] Согласно другому аспекту настоящего изобретения, способ может дополнительно содержать повторное вычисление количества стиков 20, соответствующего остаточной емкости, на основании изменения яркости экрана, отображаемого на дисплее 820, и/или времени отображения экрана.

[216] Согласно другому аспекту настоящего изобретения, способ может дополнительно содержать вывод на дисплей 820 пользовательского интерфейса, связанного с изменением количества стиков 20; и этап изменения настройки, связанной с выводом на дисплей 820, в ответ на получение ввода об изменении количества стиков 20 через устройство 825 ввода устройства 10 для генерирования аэрозоля.

[217] Согласно другому аспекту настоящего изобретения, способ может дополнительно содержать вывод уменьшенного количества стиков 20 на дисплей 820 на основании уменьшения количества стиков 20 в соответствии с остаточной емкостью.

[218] Согласно другому аспекту настоящего изобретения, вычисление количества стиков 20 в соответствии с остаточной емкостью может предусматривать вычисление количества стиков 20, соответствующего остаточной емкости, на основании остаточной емкости и количества питания, потребляемого при использовании одного стика 20.

[219] Некоторые варианты осуществления или другие варианты осуществления изобретения, раскрытые выше, не являются взаимоисключающими или отличными друг от друга. Любые или все элементы вариантов осуществления раскрытого выше изобретения могут быть объединены с другими или объединены друг с другом по конфигурации или функции.

[220] Например, конфигурация «А», раскрытая в одном варианте осуществления изобретения и чертежах, и конфигурация «В», раскрытая в другом варианте осуществления изобретения и чертежах, могут быть объединены друг с другом. А именно, хотя комбинация между конфигурациями прямо не раскрыта, комбинация возможна, за исключением случая, когда раскрыто, что комбинация невозможна.

Хотя варианты осуществления изобретения были раскрыты со ссылкой на ряд иллюстративных вариантов осуществления изобретения, следует понимать, что специалисты в данной области техники могут разработать множество других модификаций и вариантов осуществления изобретения, которые будут подпадать под действие принципов настоящего изобретения. В частности, возможны различные варианты и изменения составных частей и/или компоновок рассматриваемого комбинированного устройства в пределах объема раскрытия, чертежей и прилагаемой формулы изобретения. Помимо вариантов и изменений составных частей и/или компоновок, специалистам в данной области техники также будут очевидны альтернативные варианты использования.

Похожие патенты RU2834874C2

название год авторы номер документа
УСТРОЙСТВО ДЛЯ ГЕНЕРИРОВАНИЯ АЭРОЗОЛЯ 2022
  • Чжун, Хёнчжин
  • Ким, Тхэхон
  • Пак, Чуон
  • Хан, Чжунхо
RU2831258C2
УСТРОЙСТВО ДЛЯ ГЕНЕРИРОВАНИЯ АЭРОЗОЛЯ И СПОСОБ ЭКСПЛУАТАЦИИ ТАКОГО УСТРОЙСТВА 2022
  • Чюн, Хюнчин
  • Пак, Чуон
  • Ким, Тэхун
  • Хан, Чунхо
RU2839913C2
СПОСОБ И УСТРОЙСТВО ОБРАБОТКИ ВВОДА ПОЛЬЗОВАТЕЛЯ ВО ВРЕМЯ ЗАРЯДКИ АККУМУЛЯТОРА 2022
  • Ким, Хван
  • Ким, Тон Сон
  • Лим, Хониль
  • Чан, Сок Су
RU2826304C2
СПОСОБ И УСТРОЙСТВО ДЛЯ ГЕНЕРИРОВАНИЯ АЭРОЗОЛЯ НА ОСНОВАНИИ ТИПА СИГАРЕТЫ 2022
  • Ким, Хван
  • Ким, Тон Сон
  • Лим, Хониль
  • Чан, Сок Су
RU2831457C2
УСТРОЙСТВО ДЛЯ ГЕНЕРИРОВАНИЯ АЭРОЗОЛЯ И СПОСОБ ЭКСПЛУАТАЦИИ ТАКОГО УСТРОЙСТВА 2022
  • Чо, Пюсун
  • Пак, Сангю
  • Ли, Чжонсуб
RU2831262C2
СПОСОБ И УСТРОЙСТВО РАЗБЛОКИРОВКИ НА ОСНОВАНИИ ВВОДА ПОЛЬЗОВАТЕЛЯ 2022
  • Ким, Хван
  • Ким, Тон Сон
  • Лим, Хониль
  • Чан, Сок Су
RU2827757C2
УСТРОЙСТВО ДЛЯ ГЕНЕРИРОВАНИЯ АЭРОЗОЛЯ 2022
  • Ким, Хван
  • Ким, Тон Сон
  • Лим, Хониль
  • Чан, Сок Су
RU2820134C2
УСТРОЙСТВО ДЛЯ ГЕНЕРИРОВАНИЯ АЭРОЗОЛЯ 2022
  • Ким, Тон Сон
  • Ким, Хван
  • Лим, Хониль
  • Чан, Сок Су
RU2831858C2
УСТРОЙСТВО ДЛЯ ГЕНЕРИРОВАНИЯ АЭРОЗОЛЯ И КОРПУС УСТРОЙСТВА ДЛЯ ГЕНЕРИРОВАНИЯ АЭРОЗОЛЯ 2022
  • Ким, Тон Сон
  • Ким, Хван
  • Лим, Хониль
  • Чан, Сок Су
RU2829721C2
УСТРОЙСТВО ДЛЯ ГЕНЕРИРОВАНИЯ АЭРОЗОЛЯ И СПОСОБ ЭКСПЛУАТАЦИИ ТАКОГО УСТРОЙСТВА 2022
  • Пак, Чуон
  • Ким, Тхэхон
  • Чжун, Хёнчжин
RU2838075C2

Иллюстрации к изобретению RU 2 834 874 C2

Реферат патента 2025 года УСТРОЙСТВО ДЛЯ ГЕНЕРИРОВАНИЯ АЭРОЗОЛЯ И СПОСОБ ЕГО ЭКСПЛУАТАЦИИ

Предложенная группа изобретений относится к устройству для генерирования аэрозоля и способу эксплуатации такого устройства. Устройство для генерирования аэрозоля содержит корпус, содержащий пространство для введения, выполненное с возможностью введения в него стика для генерирования аэрозоля, аккумулятор, дисплей и контроллер, выполненный с возможностью вычисления, на основании того, что остаточная емкость аккумулятора меньше предварительно заданной емкости, количества стиков, соответствующего остаточной емкости, и вывода вычисленного количества стиков на дисплей. Технический результат – обеспечение информирования пользователя об остаточной емкости аккумулятора и о количестве доступных для использования стиков на основании остаточной емкости аккумулятора, а также обеспечение изменения настроек, связанных с потреблением энергии. 2 н. и 10 з.п. ф-лы, 14 ил.

Формула изобретения RU 2 834 874 C2

1. Устройство для генерирования аэрозоля, содержащее:

корпус, содержащий пространство для введения, выполненное с возможностью введения в него стика для генерирования аэрозоля;

аккумулятор;

дисплей и

контроллер, выполненный с возможностью:

вычисления, на основании того, что остаточная емкость аккумулятора меньше предварительно заданной емкости, количества стиков, соответствующего остаточной емкости, и

вывода вычисленного количества стиков на дисплей.

2. Устройство для генерирования аэрозоля по п. 1, в котором контроллер дополнительно выполнен с возможностью повторного вычисления количества стиков, соответствующего остаточной емкости, на основании изменения настройки, связанной с использованием питания аккумулятора устройства для генерирования аэрозоля.

3. Устройство для генерирования аэрозоля по п. 1, в котором контроллер дополнительно выполнен с возможностью повторного вычисления количества стиков, соответствующего остаточной емкости, на основании изменения яркости дисплея и/или времени отображения дисплея.

4. Устройство для генерирования аэрозоля по п. 1, дополнительно содержащее устройство ввода, выполненное с возможностью получения ввода пользователя,

в котором контроллер дополнительно выполнен с возможностью:

вывода на дисплей пользовательского интерфейса для изменения количества стиков; и

изменения настройки, связанной с выводом информации на дисплей, в ответ на получение ввода, изменяющего количество стиков, через устройство ввода.

5. Устройство для генерирования аэрозоля по п. 1, в котором контроллер дополнительно выполнен с возможностью вывода на дисплей измененного количества стиков в ответ на изменение количества стиков, соответствующего остаточной емкости.

6. Устройство для генерирования аэрозоля по п. 1, в котором количество стиков, соответствующее остаточной емкости, вычисляют на основании остаточной емкости аккумулятора и количества питания, потребляемого при использовании одного стика.

7. Способ эксплуатации устройства для генерирования аэрозоля, выполненного с возможностью размещения в нем стика для генерирования аэрозоля, содержащий:

вычисление, на основании того, что остаточная емкость аккумулятора устройства для генерирования аэрозоля меньше предварительно заданной емкости, количества стиков, соответствующего остаточной емкости; и

вывод вычисленного количества стиков на дисплей устройства для генерирования аэрозоля.

8. Способ по п. 7, дополнительно содержащий повторное вычисление количества стиков, соответствующего остаточной емкости, на основании изменения настройки, связанной с использованием питания аккумулятора устройства для генерирования аэрозоля.

9. Способ по п. 7, дополнительно содержащий повторное вычисление количества стиков, соответствующего остаточной емкости, на основании изменения яркости дисплея и/или времени отображения.

10. Способ по п. 7, дополнительно содержащий:

вывод на дисплей пользовательского интерфейса для изменения количества стиков; и

изменение настройки, связанной с выводом информации на дисплей, в ответ на получение через устройство ввода устройства для генерирования аэрозоля ввода, изменяющего количество стиков.

11. Способ по п. 7, дополнительно содержащий вывод на дисплей измененного количества стиков в ответ на изменение количества стиков, соответствующего остаточной емкости.

12. Способ по п. 7, в котором количество стиков, соответствующее остаточной емкости, вычисляют на основании остаточной емкости аккумулятора и количества питания, потребляемого при использовании одного стика.

Документы, цитированные в отчете о поиске Патент 2025 года RU2834874C2

KR 20190130914 A, 25.11.2019
УСТРОЙСТВО ДЛЯ ГЕНЕРИРОВАНИЯ АЭРОЗОЛЯ И СПОСОБ УПРАВЛЕНИЯ ТАКИМ УСТРОЙСТВОМ 2018
  • Лим Хен Иль
RU2738546C2
РАЗРАБОТКА ПРИЛОЖЕНИЙ ДЛЯ СЕТИ С ЭЛЕКТРОННОЙ СИГАРЕТОЙ 2014
  • Джастер Бернард
  • Левиц Роберт
  • Леви Дорон
RU2680224C2
ОБРАЗУЮЩЕЕ АЭРОЗОЛЬ УСТРОЙСТВО С ИНДИКАЦИЕЙ СОСТОЯНИЯ БАТАРЕИ 2015
  • Фарин Робин
  • Талон Паскаль
  • Колирис Ангелос
RU2676994C2
KR 20210042756 A, 20.04.2021.

RU 2 834 874 C2

Авторы

Ким,

Ким, Тонсун

Им, Хониль

Чан, Соксу

Даты

2025-02-14Публикация

2022-12-06Подача