Область техники
Один или несколько вариантов осуществления изобретения относятся к устройству для генерирования аэрозоля, выполненному с возможностью вывода уведомления пользователю на основании данных о времени нагрева, и к способу эксплуатации такого устройства.
Предшествующий уровень техники
В последнее время возросла потребность в альтернативных способах преодоления недостатков обычных сигарет. Например, растет потребность в системе для генерирования аэрозоля посредством нагревания сигарет или материала для генерирования аэрозоля с использованием устройства для генерирования аэрозоля вместо сжигания сигарет.
В частности, устройство для генерирования аэрозоля может содержать отдельный аккумулятор, причем аккумулятор может представлять собой перезаряжаемый аккумуляторный элемент. Когда пользователь курит, используя устройство для генерирования аэрозоля, аккумулятор устройства для генерирования аэрозоля может постепенно разряжаться, что приводит к уменьшению времени работы устройства для генерирования аэрозоля.
Сущность изобретения
Техническая задача
В обычных устройствах для генерирования аэрозоля светодиодный индикатор состояния светится различными цветами в зависимости от оставшегося заряда аккумулятора, или оставшаяся энергия аккумулятора отображается на дисплее для уведомления пользователя и зарядки устройства для генерирования аэрозоля. Тем не менее, при несвоевременной зарядке аккумулятор может полностью разрядиться, что может негативно сказаться на сроке его службы.
Соответственно, в одном или нескольких вариантах осуществления изобретения устройство для генерирования аэрозоля выполнено с возможностью прогнозирования надлежащего времени зарядки на основании данных о времени нагрева установленного в нем нагревателя и вывода уведомления пользователю в прогнозируемое время.
Технические задачи, решаемые вариантами осуществления настоящего изобретения, не ограничиваются вышеупомянутыми задачами, и неупомянутые технические задачи могут быть очевидны специалисту в области техники, к которой относятся варианты осуществления, из описания и сопроводительных чертежей.
Техническое решение
В одном из вариантов осуществления изобретения устройство для генерирования аэрозоля содержит нагреватель, выполненный с возможностью нагрева по меньшей мере части изделия для генерирования аэрозоля, память, пользовательский интерфейс, выполненный с возможностью вывода уведомления пользователю, процессор, выполненный с возможностью получения данных о времени нагрева нагревателя, когда накопленное число операций нагрева нагревателя больше или равно пороговому значению, а также сохранения полученных данных в памяти и вывода уведомления через пользовательский интерфейс в зависимости от выполнения заданного условия относительно данных о времени нагрева.
Согласно одному из вариантов осуществления изобретения, способ эксплуатации устройства для генерирования аэрозоля предусматривает получение данных о времени нагрева нагревателя и сохранение полученных данных в памяти, когда накопленное число операций нагрева нагревателя больше или равно пороговому значению, а также вывод уведомления через пользовательский интерфейс в зависимости от выполнения заданного условия относительно данных о времени нагрева.
Полезные эффекты изобретения
Согласно одному или нескольким вариантам осуществления изобретения, предусмотрена возможность прогнозирования и уведомления пользователя о надлежащем времени зарядки аккумулятора устройства для генерирования аэрозоля в соответствии с интервалом курения пользователя.
Согласно одному или нескольким вариантам осуществления изобретения можно продлить срок службы аккумулятора при правильной зарядке аккумулятора устройства для генерирования аэрозоля.
Тем не менее, полезные эффекты согласно одному из вариантов осуществления изобретения не ограничиваются раскрытыми выше эффектами, и не упомянутые здесь эффекты будут очевидны специалисту в данной области техники из настоящего описания и прилагаемых чертежей.
Описание чертежей
На ФИГ. 1 изображена принципиальная схема устройства для генерирования аэрозоля согласно одному из вариантов осуществления изобретения.
На ФИГ. 2 изображена блок-схема процесса получения данных и вывода уведомления устройством для генерирования аэрозоля согласно одному из вариантов осуществления изобретения.
На ФИГ. 3 изображена блок-схема процесса получения данных о времени нагрева устройством для генерирования аэрозоля согласно одному из вариантов осуществления изобретения.
На ФИГ. 4 показан пример данных, хранящихся в памяти устройства для генерирования аэрозоля согласно одному из вариантов осуществления изобретения.
На ФИГ. 5 изображена блок-схема процесса вывода уведомления устройством для генерирования аэрозоля согласно одному из вариантов осуществления изобретения.
На ФИГ. 6A показан пример данных, хранящихся в памяти устройства для генерирования аэрозоля согласно одному из вариантов осуществления изобретения.
На ФИГ. 6В показано первое состояние пользовательского интерфейса, отображаемое на дисплее устройства для генерирования аэрозоля согласно одному из вариантов осуществления изобретения.
На ФИГ. 7A показан пример данных, хранящихся в памяти устройства для генерирования аэрозоля согласно одному из вариантов осуществления изобретения.
На ФИГ. 7В показано второе состояние пользовательского интерфейса, отображаемое на дисплее устройства для генерирования аэрозоля согласно одному из вариантов осуществления изобретения.
На ФИГ. 8 изображена принципиальная схема устройства для генерирования аэрозоля согласно другому варианту осуществления изобретения.
Лучший вариант осуществления изобретения
В отношении терминов в различных вариантах осуществления изобретения, общие термины, широко используемые в настоящее время, выбирают с учетом функций структурных элементов в различных вариантах настоящего описания изобретения. Тем не менее значения терминов могут быть изменены в соответствии с намерением, судебным прецедентом, появлением новых технологий и т. п. Кроме того, в некоторых случаях возможен произвольный выбор заявителем терминов в конкретных случаях. В таком случае значение термина будет подробно раскрыто в соответствующей части настоящего описания изобретения. Следовательно, термины, использованные в различных вариантах осуществления настоящего изобретения, следует понимать согласно значениям и объяснениям, приведенным в раскрытии настоящего изобретения.
При этом, если прямо не указано обратное, слово «содержать» и его формы, такие как «содержит» или «содержащий», будет пониматься как подразумевающее включение указанных элементов в состав чего-либо, но не как исключение любых других элементов. Кроме того, термины, обозначающие «блок», «часть» и «модуль», представленные в раскрытии изобретения, означают блоки для обработки по меньшей мере одной функции и операции и могут быть реализованы компонентами аппаратного или программного обеспечения, а также их комбинациями.
В данном случае, когда выражение типа «по меньшей мере один» стоит перед упорядоченными элементами, оно изменяет все элементы, а не каждый упорядоченный элемент. Например, выражение «по меньшей мере одно из a, b и c» следует толковать как включающее a, b, c, или a и b, a и c, b и c, или a, b и c.
В одном из вариантов осуществления изобретения устройство для генерирования аэрозоля может быть выполнено как устройство, генерирующее аэрозоль путем электрического нагрева сигареты, размещенной в его внутреннем пространстве.
Устройство для генерирования аэрозоля может содержать нагреватель. В одном из вариантов осуществления изобретения нагреватель может представлять собой электрорезистивный нагреватель. Например, нагреватель может содержать электропроводящую дорожку, и нагреватель может нагреваться, когда по электропроводящей дорожке протекает электрический ток.
Нагреватель может содержать трубчатый нагревательный элемент, пластинчатый нагревательный элемент, игольчатый или стержневой нагревательный элемент и может нагревать внутреннюю или внешнюю часть сигареты в соответствии с формой нагревательного элемента.
Сигарета может содержать табачный стержень и фильтрующий стержень. Табачный стержень может быть сформирован в виде листов, нитей и мелких кусочков, вырезанных из табачного листа. Кроме того, табачный стержень может быть окружен теплопроводящим материалом. Например, теплопроводящим материалом может служить металлическая фольга, например алюминиевая фольга, а также другие материалы.
Фильтрующий стержень может содержать фильтр из ацетата целлюлозы. Фильтрующий стержень может содержать по меньшей мере один сегмент. Например, фильтрующий стержень может содержать первый сегмент, выполненный с возможностью охлаждения аэрозоля, и второй сегмент, выполненный с возможностью фильтрации определенного содержащегося в аэрозоле компонента.
В другом варианте осуществления изобретения устройство для генерирования аэрозоля может представлять собой устройство, генерирующее аэрозоль с помощью картриджа, содержащего материал для генерирования аэрозоля.
Устройство для генерирования аэрозоля может содержать картридж, содержащий материал для генерирования аэрозоля, и основной корпус, поддерживающий картридж. Картридж может быть соединен с основным корпусом с возможностью разъединения, но возможны и другие варианты. Картридж может быть выполнен как единое целое с основным корпусом или собран с основным корпусом, и может быть закреплен на основном корпусе таким образом, чтобы пользователь не мог отсоединить его от основного корпуса. Картридж может быть установлен на основном корпусе так, чтобы материал для генерирования аэрозоля находился внутри него. Тем не менее, настоящее изобретение этим не ограничено. Материал для генерирования аэрозоля может быть введен в картридж, когда картридж соединен с основным корпусом.
Картридж может содержать материал для генерирования аэрозоля, находящийся, в одном из различных состояний, например, в жидком, твердом, газообразном или гелеобразном состоянии. Материал для генерирования аэрозоля может представлять собой жидкую композицию. Например, жидкая композиция может представлять собой жидкость с содержанием табачного материала, в который входит летучий компонент табачного вкусо-ароматизатора или жидкость с содержанием нетабачного материала.
Картридж может управляться электрическим сигналом или радиосигналом, переданным от главного корпуса, для выполнения функции генерирования аэрозоля путем преобразования фазы материала для генерирования аэрозоля внутри картриджа в газовую фазу. Аэрозоль может представлять собой газ, в котором испаренные частицы, генерируемые материалом для генерирования аэрозоля, смешаны с воздухом.
В другом варианте осуществления изобретения устройство для генерирования аэрозоля может генерировать аэрозоль путем нагревания жидкой композиции, и сгенерированный аэрозоль может поступать к пользователю через сигарету. То есть, сгенерированный из жидкой композиции аэрозоль может перемещаться вдоль канала для потока воздуха в устройстве для генерирования аэрозоля, и канал для потока воздуха может быть выполнен с возможностью пропускания к пользователю аэрозоля, проходящего через сигарету.
В другом варианте осуществления изобретения устройство для генерирования аэрозоля может представлять собой устройство, генерирующее аэрозоль из материала для генерирования аэрозоля с применением способа ультразвуковых колебаний. В настоящее время под способом ультразвуковых колебаний может пониматься способ генерирования аэрозоля путем преобразования материала для генерирования аэрозоля в аэрозоль с помощью ультразвуковых колебаний, генерируемых источником колебаний.
Устройство для генерирования аэрозоля может содержать источник колебаний и генерировать короткопериодные колебания с помощью источника колебаний для преобразования материала для генерирования аэрозоля в аэрозоль. Колебания, генерируемые источником колебаний, могут представлять собой ультразвуковые колебания, причем частотный диапазон ультразвуковых колебаний может составлять примерно от 100 кГц до 3,5 МГц; также возможны другие варианты.
Устройство для генерирования аэрозоля может дополнительно содержать фитиль, впитывающий материал для генерирования аэрозоля. Например, фитиль может быть размещен с возможностью окружения по меньшей мере одной области источника колебаний или с возможностью контакта по меньшей мере с одной областью источника колебаний.
Когда на источник колебаний подают напряжение (например, переменное напряжение), источник колебаний может генерировать тепло и/или ультразвуковые колебания, и тепло и/или ультразвуковые колебания, генерируемые источником колебаний, могут быть переданы на впитанный фитилем материал для генерирования аэрозоля. Впитанный фитилем материал для генерирования аэрозоля может быть превращен в газовую фазу под воздействием передаваемого от источника колебаний тепла и/или ультразвуковых колебаний, что позволяет генерировать аэрозоль.
Например, вязкость впитанного фитилем материала для генерирования аэрозоля может быть снижена под воздействием генерируемого источником колебаний тепла, и материал для генерирования аэрозоля с пониженной вязкостью может быть гранулирован под воздействием ультразвуковых колебаний, генерируемых источником колебаний, что позволяет генерировать аэрозоль; также возможны другие варианты.
В другом варианте осуществления изобретения устройство для генерирования аэрозоля представляет собой устройство, генерирующее аэрозоль путем индукционного нагрева изделия для генерирования аэрозоля, размещенного в устройстве для генерирования аэрозоля.
Устройство для генерирования аэрозоля может содержать токоприемник и катушку. В одном из вариантов осуществления изобретения катушка может прилагать магнитное поле к токоприемнику. Когда питание подают на катушку от устройства для генерирования аэрозоля, внутри катушки может быть сформировано магнитное поле. В одном из вариантов осуществления изобретения токоприемник может представлять собой магнитное тело, генерирующее тепло под воздействием внешнего магнитного поля. При размещении токоприемника внутри катушки и приложении к нему магнитного поля токоприемник выделяет тепло для нагрева изделия для генерирования аэрозоля. Кроме того, опционально, токоприемник может быть расположен внутри изделия для генерирования аэрозоля.
В другом варианте осуществления изобретения устройство для генерирования аэрозоля может дополнительно содержать подставку.
Устройство для генерирования аэрозоля может формировать единую систему вместе с отдельной подставкой. Например, подставку можно использовать для зарядки аккумулятора устройства для генерирования аэрозоля. В альтернативном варианте нагреватель может нагреваться при соединении подставки и устройства для генерирования аэрозоля друг с другом.
Ниже предложенное изобретение будет раскрыто более полно со ссылкой на сопроводительные чертежи, на которых примеры вариантов осуществления настоящего изобретения изображены таким образом, чтобы специалисту в данной области техники было легко разобраться в настоящем изобретении. Настоящее изобретение может быть реализовано в формах, которые могут быть реализованы в устройствах для генерирования аэрозоля в соответствии с различными вариантами осуществления изобретения, раскрытыми выше, или может быть реализовано в различных формах и не ограничивается вариантами осуществления изобретения, описанными в настоящем документе.
Ниже по тексту будут подробно раскрыты некоторые варианты осуществления настоящего изобретения со ссылкой на прилагаемые чертежи.
На ФИГ. 1 изображена принципиальная схема устройства для генерирования аэрозоля согласно одному из вариантов осуществления изобретения.
Как показано на ФИГ. 1, устройство 100 для генерирования аэрозоля может содержать процессор 110, нагреватель 120, память 130 и пользовательский интерфейс 140. Тем не менее, внутренние аппаратные компоненты устройства 100 для генерирования аэрозоля не ограничиваются компонентами, изображенными на ФИГ. 1. Специалисту в данной области техники очевидно, что в данном варианте осуществления изобретения некоторые из компонентов, показанных на ФИГ. 1, могут отсутствовать, или новые компоненты могут быть добавлены в соответствии с конструктивным исполнением устройства 100 для генерирования аэрозоля.
Далее будет раскрыта работа каждого из компонентов без ограничения расположения каждого компонента, входящего в состав устройства 100 для генерирования аэрозоля.
В одном из вариантов осуществления изобретения нагреватель 120 может нагревать изделие для генерирования аэрозоля, вставленное в устройство 100 для генерирования аэрозоля. Например, нагреватель 120 может получать питание от аккумулятора (не показанного на фигуре) по команде процессора 110 и нагревать по меньшей мере часть изделия для генерирования аэрозоля с помощью полученного питания для генерирования аэрозоля.
В одном из вариантов осуществления изобретения память 130 может хранить различные данные, обработанные в устройстве 100 для генерирования аэрозоля. Например, память 130 может хранить данные, обработанные или подлежащие обработке процессором 110. Память 130 может представлять собой различные типы запоминающих устройств, которые помимо прочего могут содержать оперативное запоминающее устройство (RAM), например, динамическую оперативную память (DRAM), статическую оперативную память (SRAM) и т. д.; постоянное запоминающее устройство (ROM); электрически стираемое программируемое постоянное запоминающее устройство (EEPROM) и т. п.
В одном из вариантов осуществления изобретения память 130 может хранить данные о времени нагрева нагревателя 120. Например, данные о времени нагрева нагревателя 120 могут содержать средний интервал нагрева нагревателя 120 и время последнего нагрева нагревателя 120. В данном описании под «средним интервалом нагрева» понимают средний интервал между окончанием нагрева нагревателем 120 (т.е. моментом прекращения подачи питания от аккумулятора к нагревателю 120) и повторным запуском нагрева нагревателем 120 (т.е. моментом начала подачи питания от аккумулятора к нагревателю 120). Кроме того, под «временем последнего нагрева» понимают самый поздний из моментов времени, в который был начат нагрев нагревателем 120 (т.е. самый поздний момент начала подачи питания от аккумулятора к нагревателю 120).
В одном из вариантов осуществления изобретения процессор 110 управляет общими операциями устройства 100 для генерирования аэрозоля.
В одном из вариантов осуществления изобретения процессор 110 может получать данные по меньшей мере от одного компонента устройства 100 для генерирования аэрозоля и управлять последующими процессами. Например, процессор 110 может получать данные по меньшей мере от одного датчика (например, датчика, выполненного с возможностью распознавания введения изделия для генерирования аэрозоля) и управлять подачей питания на нагреватель 120 для запуска или прекращения работы нагревателя 120.
В одном из вариантов осуществления изобретения процессор 110 выполнен с возможностью хранения в памяти 130 данных, полученных от компонентов, входящих в состав устройства 100 для генерирования аэрозоля. Например, когда накопленное число операций нагрева нагревателя 120 удовлетворяет определенному условию, процессор 110 может получить данные о нагреве нагревателя 120 от нагревателя 120 и сохранить полученные данные в памяти 130. Подробное описание будет представлено ниже со ссылкой на ФИГ. 2.
В одном из вариантов осуществления изобретения процессор 110 может инициализировать по меньшей мере часть данных, хранящихся в памяти 130, на основании опорной единицы времени. Например, процессор 110 может инициализировать данные о нагреве нагревателя 120, хранящиеся в памяти 130, на основании опорной единицы времени, равной 24 часам (т.е. 1 дню).
В одном из вариантов осуществления изобретения процессор 110 может выводить наружу (например, пользователю) информацию о состоянии устройства 100 для генерирования аэрозоля через пользовательский интерфейс 140. Например, пользовательский интерфейс 140 может содержать различные интерфейсные устройства, такие как экран или лампа для выведения визуальной информации, мотор для вывода тактильной информации, динамик для вывода звуковой информации, интерфейсные устройства ввода/вывода (I/O) (например, кнопку или сенсорный экран) для приема команд пользователя или вывода информации пользователю, и т. п.
В одном из вариантов осуществления изобретения процессор 110 может выводить уведомление через пользовательский интерфейс 140, когда полученные от компонентов устройства 100 для генерирования аэрозоля данные удовлетворяют определенному условию. Например, когда данные о нагреве нагревателя 120 удовлетворяют определенному условию, процессор 110 может выводить уведомление через пользовательский интерфейс 140. Подробное описание будет представлено ниже со ссылкой на ФИГ. 2.
На ФИГ. 2 изображена блок-схема процесса получения данных и вывода уведомления устройством для генерирования аэрозоля согласно одному из вариантов осуществления изобретения.
Как показано на ФИГ. 2, на этапе 201, когда накопленное число операций нагрева нагревателя (например, нагревателя 120 на ФИГ. 1) больше или равно пороговому значению, процессор (например, процессор 110 на ФИГ. 1) может получать данные о времени нагрева нагревателя 120 и сохранять полученные данные в памяти (например, памяти 130 на ФИГ. 1).
В данном описании под «накопленным числом операций нагрева» нагревателя понимают количество операций нагрева нагревателя 120, подсчитанное после последнего прекращения зарядки устройства для генерирования аэрозоля (например, устройства 100 для генерирования аэрозоля на ФИГ. 1) Например, если пользователь пять раз совершит операцию курения с использованием устройства 100 для генерирования аэрозоля после завершения зарядки устройства 100 для генерирования аэрозоля, накопленное число операций нагрева нагревателя 120 может быть равно 5. Каждая операция курения может содержать несколько последовательных затяжек.
Например, пороговое значение накопленного числа операций нагрева нагревателя 120 может быть установлено равным 10. В этом случае, когда накопленное число операций нагрева нагревателя 120 равно 8, процессор 110 может не получать отдельно данные о времени нагрева нагревателя 120. Тем не менее, когда накопленное число операций нагрева нагревателя 120 станет равно 11, процессор 110 может получить данные о времени нагрева нагревателя 120 и сохранить полученные данные в памяти 130.
В одном из вариантов осуществления изобретения, когда накопленное число операций нагрева нагревателя 120 превышает пороговое значение, процессор 110 может получить средний интервал нагрева нагревателя 120 и время последнего нагрева нагревателя 120. Средний интервал нагрева нагревателя 120 может относиться к среднему значению нескольких интервалов нагрева, соответствующему накопленному числу операций нагрева, без учета максимального и минимального интервалов. Кроме того, средний интервал нагрева нагревателя 120 может быть получен посредством операции вычисления процессора 110. Поскольку нагреватель 120 может выполнять операцию вычисления, когда накопленное число операций нагрева нагревателя 120 превышает пороговое значение, можно уменьшить вычислительную нагрузку и повысить эффективность энергопотребления.
Согласно одному из вариантов осуществления изобретения, на этапе 203 процессор 110 может вывести уведомление через пользовательский интерфейс (например, пользовательский интерфейс 140 на ФИГ. 1) на основании того, выполняется ли предварительно заданное условие относительно данных о времени нагрева нагревателя 120.
В одном из вариантов осуществления изобретения предварительно заданное условие относительно данных о времени нагрева нагревателя 120 может содержать условие, касающееся среднего интервала нагрева нагревателя 120. Например, условие, касающееся среднего интервала нагрева нагревателя 120, может быть выполнено, когда средний интервал нагрева, рассчитанный на этапе 201, меньше предварительно заданного времени (например, 240 минут). Предварительно заданное время может быть установлено производителем или пользователем. Кроме того, предварительно заданное время может быть установлено автоматически на основании интервала курения пользователя.
В другом варианте осуществления изобретения, перед определением выполнения предварительно заданного условия относительно данных о времени нагрева нагревателя 120, процессор 110 может сначала определить, выполнено ли условие относительно данных, хранящихся в памяти 130. Например, условие относительно данных, хранящихся в памяти 130, выполняется, если среди значений флагов данных в журнале значение флага первых данных относительно накопленного числа операций нагрева нагревателя 120 равно «1», а значение флага вторых данных относительно уведомления равно «0». Если значение флага первых данных равно «1», накопленное число операций нагрева нагревателя 120 больше или равно пороговому значению. Также, если значение флага вторых данных равно 0, уведомление через пользовательский интерфейс 140 не выводится. Тем не менее, такой способ выражения данных не ограничивается указанным способом и может быть изменен различным образом в соответствии с конструктивным исполнением.
В одном из вариантов осуществления изобретения, когда данные о времени нагрева нагревателя 120 удовлетворяют предварительно заданному условию, процессор 110 может выводить уведомление через пользовательский интерфейс 140. Через пользовательский интерфейс 140 может быть выведено уведомление о зарядке аккумулятора в устройстве 100 для генерирования аэрозоля. Например, когда данные о времени нагрева нагревателя 120 удовлетворяют предварительно заданному условию, процессор 110 может изменить значение флага вторых данных относительно уведомления, хранящегося в памяти 130, с «0» на «1». Поскольку значение флага вторых данных изменяется на «1», процессор 110 может выводить уведомление через пользовательский интерфейс 140.
На ФИГ. 3 изображена блок-схема процесса получения данных о времени нагрева устройством для генерирования аэрозоля согласно одному из вариантов осуществления изобретения. ФИГ. 3 представляет собой блок-схему, детально описывающую этап 201 на ФИГ. 2.
Как показано на ФИГ. 3, при подаче питания на нагреватель (например, нагреватель 120 на ФИГ. 1) по истечении порогового времени со времени последнего нагрева нагревателя 120, на этапе 201a процессор (например, процессор 110 на ФИГ. 1) может получить накопленное число операций нагрева нагревателя 120.
Например, если пороговое время составляет 10 минут, и питание подают на нагреватель 120 по истечении порогового времени в 10 минут с момента последнего начала нагрева нагревателя 120, процессор 110 может добавить 1 к накопленному числу операций нагрева нагревателя 120. Под пороговым временем понимают максимальный интервал времени, который процессор 110 регистрирует как непрерывное курение. Поровое время может быть установлено производителем или пользователем. Кроме того, предварительно заданное время может быть установлено автоматически на основании цикла курения пользователя. То есть процессор 110 может засчитывать операцию нагрева нагревателя 120 вследствие непрерывного курения пользователя в счет накопленного числа операций нагрева нагревателя 120.
В одном из вариантов осуществления изобретения на этапе 201b, если накопленное число операций нагрева нагревателя 120 равно или превышает пороговое значение, процессор 110 может рассчитать средний интервал нагрева нагревателя 120 и обновить время последнего нагрева нагревателя 120.
Например, если пороговое значение равно «10», и накопленное число операций нагрева нагревателя 120 равно «11», процессор 110 может рассчитать средний интервал нагрева нагревателя 120. Процессор 110 может рассчитать средний интервал нагрева из 10 интервалов нагрева, включая время (Т1) между окончанием первого нагрева и началом второго нагрева, время (Т2) между окончанием второго нагрева и началом третьего нагрева, время (Т3) между окончанием третьего нагрева и началом четвертого нагрева и время (Т10) между окончанием десятого нагрева и началом последнего одиннадцатого нагрева. В одном из вариантов осуществления изобретения процессор 110 может рассчитывать средний интервал нагрева для восьми из десяти интервалов нагрева, исключая максимальное и минимальное значения. В этом случае достоверность среднего значения интервалов нагрева нагревателя 120 может быть повышена.
Более того, например, если пороговое значение равно «10», а накопленное число операций нагрева нагревателя 120 равно «11», процессор 110 может обновить время последнего нагрева нагревателя 120. В данном случае обновленное время последнего нагрева может относиться к моменту начала одиннадцатого нагрева нагревателя 120.
Согласно одному из вариантов осуществления изобретения, на этапе 201c процессор 110 может сохранить в память (например, в память 130 на ФИГ. 1) данные о времени нагрева, включая рассчитанный средний интервал нагрева и обновленное время последнего нагрева.
В одном из вариантов осуществления изобретения процессор 110 может хранить данные о времени нагрева в регистре данных памяти 130. Регистр данных памяти 130 может представлять собой регистр, запоминающий данные, которые будут использоваться в последующих вычислениях. Например, процессор 110 может задать параметр среднего интервала нагрева как «INTERVAL_AVG» и сохранить «INTERVAL_AVG = 120 мин» относительно рассчитанного среднего интервала нагрева в регистре данных памяти 130. Кроме того, процессор 110 может задать параметр времени последнего нагрева как «FINAL_HEAT» и сохранить «FINAL_HEAT = 11:30:01» относительно обновленного времени последнего нагрева в регистре данных памяти 130.
Согласно варианту осуществления изобретения на этапе 201d процессор 110 может установить значение флага первых данных, которые представляют собой данные о накопленном числе нагревов нагревателя 120, на «1», и значение флага вторых данных, которые представляют собой данные о выводе уведомления через пользовательский интерфейс (например, пользовательский интерфейс 140 на ФИГ. 1), на «0».
На ФИГ. 4 показан пример данных, хранящихся в памяти устройства для генерирования аэрозоля согласно одному из вариантов осуществления изобретения. На ФИГ. 4 показан формат базы данных журнала выполнения процессора (например, процессора 110 на ФИГ. 10) в устройстве для генерирования аэрозоля (например, в устройстве 100 для генерирования аэрозоля на ФИГ. 1). Тем не менее, изобретения этим не ограничивается.
Как показано на ФИГ. 4, журнал 400 выполнения процессора 110 может содержать номер 405 записи, дату 410, идентификатор (ID) 415 компонента, имя 420 действия компонента и параметр 425. Тем не менее, здесь приведен только пример варианта осуществления изобретения, и журнал 400 выполнения может содержать различные поля в объеме, очевидном для специалиста в данной области.
В одном из вариантов осуществления изобретения данные 1 журнала (т.е. данные с номером записи 1) могут быть данными, свидетельствующими о начале подачи питания на нагреватель (например, нагреватель 120 на ФИГ. 1), а данные 2 журнала могут быть данными, свидетельствующими о прекращении подачи питания на нагреватель 120. Идентификатор нагревателя 120, являющегося компонентом устройства 100 для генерирования аэрозоля, может быть равен 1. Например, процессор 110 может зарегистрировать начало подачи питания на нагреватель 120 от аккумулятора как «2021. 11. 27. 09:00:00» и сохранить данные 1 журнала в память (например, память 130 на ФИГ. 1). Затем процессор 110 может зарегистрировать прекращение подачи питания на нагреватель 120 от аккумулятора как «2021. 11. 27. 09:03:24» и сохранить данные 2 журнала в памяти 130. Более того, процессор 110 может определить, что время последнего нагрева, в которое начата подача питания на нагреватель 120 от аккумулятора, зарегистрировано как «2021. 11. 27. 09:00:00».
В одном из вариантов осуществления изобретения данные 3 журнала могут представлять собой данные, представляющие обнаружение введения сигареты (т.е. изделия для генерирования аэрозоля) в устройство 100 для генерирования аэрозоля. Идентификатор датчика распознавания сигареты (не показанного на фигуре), который является компонентом устройства 100 для генерирования аэрозоля, может быть равен 2. Например, процессор 110 может зарегистрировать введение сигареты через датчик распознавания сигареты как «"2021. 11. 27. 11:30:00» и сохранить данные 3 журнала в памяти 130.
В одном из вариантов осуществления изобретения данные 4 журнала могут представлять собой данные, представляющие начало подачи питания на нагреватель 120. Процессор 110 может зарегистрировать начало подачи питания на нагреватель 120 от аккумулятора как «2021. 11. 27. 11:30:01». Кроме того, процессор 110 может зарегистрировать подачу питания на нагреватель 120 по истечении порогового времени 10 минут с момента последнего нагрева как «2021. 11. 27. 09:00:00». Соответственно, процессор 110 может прибавить 1 к накопленному числу операций нагрева и получить обновленное накопленное число операций нагрева (т.е. 11) нагревателя 120. Затем процессор 110 может сохранить «ACCUMULATED_HEAT = 11» в качестве параметра для накопленного числа операций нагрева нагревателя 120 в памяти 130.
В одном из вариантов осуществления изобретения данные 5 журнала могут представлять собой данные, представляющие сохранение данных о времени нагрева нагревателя 120. Идентификатор памяти 130, являющийся компонентом устройства 100 для генерирования аэрозоля, может быть равен 3. Например, в «2021. 11. 27. 11:30:02» процессор 110 может вычислить средний интервал нагрева нагревателя 120, обновить время последнего нагрева нагревателя 120 и сохранить его в памяти 130. Например, процессор 110 может сохранить «INTERVAL_AVG = 120 мин» в качестве параметра среднего интервала нагрева нагревателя 120 и «FINAL_HEAT = 11: 30:01» в качестве параметра времени последнего нагрева нагревателя 120 в памяти 130.
В одном из вариантов осуществления изобретения данные 6 журнала могут представлять собой данные, представляющие установку и сохранение значения флага данных процессором 110. Например, процессор 110 может установить значение флага первых данных, представляющих собой данные о накопленном числе нагревов нагревателя 120, на «1», и значение флага вторых данных, представляющих собой данные о выводе уведомления через пользовательский интерфейс (например, через пользовательский интерфейс 140 на ФИГ. 1), на «0». Когда пороговое значение накопленного числа операций нагрева нагревателя 120 равно «10», а накопленное число операций нагрева равно «11», процессор 110 может сохранить «COUNT_10_FLAG = 1» в качестве параметра для первого флага данных в памяти 130. Кроме того, поскольку через пользовательский интерфейс 140 уведомление выведено не было, процессор 110 может сохранить «NOTI_FLAG = 0» в качестве параметра для флага вторых данных в памяти 130.
На ФИГ. 5 изображена блок-схема процесса вывода уведомления устройством для генерирования аэрозоля согласно одному из вариантов осуществления изобретения. ФИГ. 5 представляет собой блок-схему, детально описывающую этап 203 на ФИГ. 2.
Как показано на ФИГ. 5, на этапе 203a процессор (например, процессор 110 на ФИГ. 1) может определить, меньше ли средний интервал нагревателя (например, нагревателя 120 на ФИГ. 1) предварительно заданного времени. Например, если предварительно заданное время составляет 240 минут (т.е. 4 часа), а средний интервал нагрева нагревателя 120, рассчитанный на этапе 201b на ФИГ. 3, составляет 120 минут (т.е. 2 часа) (т.е. когда пользователь курит со средним интервалом 2 часа), процессор 110 может определить, что средний интервал нагрева нагревателя 120 меньше предварительно заданного времени.
В одном из вариантов осуществления изобретения, если будет определено, что средний интервал нагревателя 120 меньше предварительно заданного времени, процессор 110 может получить текущее время через модуль часов реального времени (RTC) на этапе 203b. Например, процессор 110 через модуль RTC может получить текущее время как «2021. 11. 27. 15:00:02».
В одном из вариантов осуществления изобретения процессор 110 может сравнить время, полученное в результате сложения времени последнего нагрева нагревателя 120 и среднего интервала нагрева нагревателя 120, с текущим временем, полученным через модуль RTC на этапе 203c. Например, если время последнего нагрева нагревателя 120, обновленного на этапе 201b на ФИГ. 3, зарегистрировано как «2021. 11. 27. 11:30:01», а средний интервал нагрева нагревателя 120 составляет 120 минут, процессор 110 процессор может рассчитать результат как «2021. 11. 27. 13:30:01» путем сложения времени последнего нагрева нагревателя 120 и среднего интервала нагрева нагревателя 120.
В одном из вариантов осуществления изобретения, когда будет определено, что полученное в результате сложения времени последнего нагрева нагревателя 120 и среднего интервала нагрева нагревателя 120 время (например, «2021. 11. 27. 13:30:01») предшествует текущему времени (например, «2021. 11. 27. 15:00:02»), процессор 110 может изменить значение флага вторых данных на «1» и вывести уведомление через пользовательский интерфейс (например, пользовательский интерфейс 140 на ФИГ. 1) на этапе 203d.
С другой стороны, если будет определено, что время, полученное в результате сложения времени последнего нагрева нагревателя 120 и среднего интервала нагрева нагревателя 120, наступит после текущего времени, процессор 110 может вернуться к этапу 203а и повторить последующие этапы.
В одном из вариантов осуществления изобретения, если средний интервал нагрева нагревателя 120 определен как больший или равный предварительно заданному времени, процессор 110 может определить, прошло ли предварительно заданное время с момента последнего нагрева нагревателя 120, на этапе 203e. Например, если предварительно заданное время составляет 240 минут (т.е. 4 часа), а средний интервал нагрева нагревателя 120 составляет 270 минут (т.е. 4,5 часа) (т.е, если пользователь курит в среднем через 4 часа 30 минут), процессор 110 может определить, прошло ли 4 часа со времени последнего нагрева «2021. 11. 27. 11:30:01».
В одном из вариантов осуществления изобретения, если будет определено, что с момента последнего нагрева нагревателя 120 истекло предварительно заданное время, процессор 110 может инициализировать хранящиеся в памяти 130 данные о времени нагрева нагревателя 120 на этапе 203f. То есть, когда пользователь курит с частотой ниже предварительно заданного времени, процессор 110 может не выводить отдельное уведомление о зарядке аккумулятора, а инициализировать хранящиеся в памяти 130 данные о времени нагрева нагревателя 120.
С другой стороны, если будет определено, что с момента последнего нагрева нагревателя 120 предварительно заданное время не истекло, процессор 110 может вернуться к этапу 203а и повторить последующие этапы.
На ФИГ. 6A показан пример данных, хранящихся в памяти устройства для генерирования аэрозоля согласно одному из вариантов осуществления изобретения. На ФИГ. 6В показано первое состояние пользовательского интерфейса, отображаемое на дисплее D устройства для генерирования аэрозоля согласно одному из вариантов осуществления изобретения.
Как показано на ФИГ. 6А, журнал 600 выполнения процессора может содержать номер 605 записи, дату 610, идентификатор (ID) 615 компонента, название 620 функции компонента и параметр 625. Тем не менее, здесь приведен только пример варианта осуществления изобретения, и журнал 600 выполнения может содержать различные поля в объеме, очевидном для специалиста в данной области.
В одном из вариантов осуществления изобретения данные 15 журнала могут представлять собой данные об отсутствии подачи питания на аккумулятор. Идентификатор (ID) аккумулятора (не показанного на фигуре), который является компонентом устройства для генерирования аэрозоля (например, устройства для генерирования аэрозоля 100 на ФИГ. 1), может иметь номер 4. Например, процессор (например, процессор 110 на ФИГ. 1) может обнаружить, что на аккумулятор не подается питание через клеммы приема зарядного тока, и может сохранить данные 15 журнала в памяти (например, памяти 130 на ФИГ. 1).
В одном из вариантов осуществления изобретения данные 16 журнала могут представлять собой данные, указывающие на получение результата сравнения среднего интервала нагревателя 120 с предварительно заданным временем. Например, процессор 110 может сравнить «120 мин», то есть значение параметра «INTERVAL_AVG» (среднее число нагрева) с «240 мин», то есть значением параметра «INTERVAL_SET» (предварительно заданное время). Кроме того, процессор 110 может определить, что средний интервал нагрева нагревателя 120 меньше предварительно заданного времени.
В одном из вариантов осуществления изобретения данные 17 журнала могут представлять собой данные о том, что текущее время получено с помощью модуля RTC. Идентификатор модуля RTC, который является компонентом устройства 100 для генерирования аэрозоля, может быть равен 5. Например, процессор 110 может получить «RTC_TIME = 15:00:02» в качестве параметра текущего времени от модуля RTC.
В одном из вариантов осуществления изобретения данные 18 журнала могут представлять собой данные результата сравнения времени, полученного при сложении последнего времени нагрева нагревателя 120 и среднего интервала нагрева нагревателя 120, с текущим временем. Например, процессор 110 может прибавить «FINAL_HEAT = 11:30:01», то есть время последнего нагрева нагревателя 120, к «INTERVAL_AVG = 120 мин», то есть среднему интервалу нагрева нагревателя 120, и получить «ESTIMATED_TIME = 13:30:01» в качестве параметра расчетного времени курения. Кроме того, процессор 110 может сравнить «13:30:01», то есть значение параметра «ESTIMATED_TIME», представляющего собой параметр расчетного времени курения, с «15:00:02», то есть с параметром текущего времени. В результате процессор 110 может определить, что расчетное время курения предшествует текущему времени.
В одном из вариантов осуществления изобретения данные 19 журнала могут представлять собой данные о том, что значение флага хранящихся в памяти 130 данных изменено процессором 110, и уведомление выведено. Например, если будет определено, что расчетное время курения предшествует текущему времени, процессор 110 может изменить значение флага вторых данных, представляющих собой данные об выводе уведомления через пользовательский интерфейс (например, пользовательский интерфейс 140 на ФИГ. 1), на «1». Процессор 110 может сохранить «NOTI_FLAG = 1» в качестве параметра для флага вторых данных в памяти 130 и вывести уведомление через пользовательский интерфейс 140.
Как показано на ФИГ. 6B, окно пользовательского интерфейса (UI), выводимое на дисплей D устройства 100 для генерирования аэрозоля, может содержать по меньшей мере одно из следующего: расчетное число операций нагрева, расчетное время использования и оставшийся заряд аккумулятора. Расчетное число операций нагрева и расчетное время использования могут означать расчетное оставшееся количество операций курения и расчетное оставшееся время нагрева сигареты, соответственно, с учетом интервала курения пользователя. Например, в выводимом через дисплей D окне пользовательского интерфейса может отображаться информация о том, что расчетное число операций нагрева составляет 2,5, а расчетное время нагрева составляет 10 минут.
Кроме того, окно пользовательского интерфейса может содержать область 630, отображающую оставшийся заряд аккумулятора. Например, область 630 может содержать предупреждающую пиктограмму, указывающую на необходимость зарядки устройства 100 для генерирования аэрозоля, а также оставшийся заряд аккумулятора и/или другие пиктограммы.
На ФИГ. 7A показан пример данных, хранящихся в памяти устройства для генерирования аэрозоля согласно одному из вариантов осуществления изобретения. На ФИГ. 7В показано второе состояние пользовательского интерфейса, отображаемое на дисплее D устройства для генерирования аэрозоля в соответствии с вариантом осуществления изобретения.
Как показано на ФИГ. 7А, журнал 700 выполнения процессора может содержать номер 705 записи, дату 710, идентификатор (ID) 715 компонента, название 720 функции компонента и параметр 725. Тем не менее, здесь приведен только пример варианта осуществления изобретения, и журнал 700 выполнения может содержать различные поля в объеме, очевидном для специалиста в данной области.
В одном из вариантов осуществления изобретения данные 15 журнала могут представлять собой данные об отсутствии подачи питания на аккумулятор. Идентификатор (ID) аккумулятора (не показанного на фигуре), который является компонентом устройства для генерирования аэрозоля (например, устройства для генерирования аэрозоля 100 на ФИГ. 1), может иметь номер 4. Например, процессор (например, процессор 110 на ФИГ. 1) может обнаружить, что на аккумулятор не подается питание через клеммы приема зарядного тока, и может сохранить данные 15 журнала в памяти (например, памяти 130 на ФИГ. 1).
В одном из вариантов осуществления изобретения данные 16 журнала могут представлять собой данные, указывающие на получение результата сравнения среднего интервала нагревателя 120 с предварительно заданным временем. Например, процессор 110 может сравнить «250 мин», то есть значение параметра «INTERVAL_AVG» (среднее число нагрева) с «240 мин», то есть значением параметра «INTERVAL_SET» (предварительно заданное время). В результате процессор 110 может определить, что средний интервал нагрева нагревателя 120 больше предварительно заданного времени.
В одном из вариантов осуществления изобретения данные 17 журнала могут представлять собой данные об определении истечения предварительно заданного времени с момента последнего нагрева нагревателя 120. Например, процессор 110 может определить, истекло ли время «INTERVAL_SET = 240 мин», т.е. предварительно заданное время, с момента «FINAL_HEAT = 11:30:01», т.е. времени последнего нагрева нагревателя 120.
В одном из вариантов осуществления изобретения данные 18 журнала могут представлять собой данные об инициализации данных о времени нагрева нагревателя 120. Например, если будет определено, что предварительно заданное время (например, 240 минут) с момента последнего нагрева нагревателя 120 истекло, процессор 110 может инициализировать данные о времени нагрева нагревателя 120.
Как показано на ФИГ. 7B, окно пользовательского интерфейса (UI), выводимое на дисплей D устройства 100 для генерирования аэрозоля, может содержать по меньшей одно из следующего: число операций нагрева и оставшийся заряд аккумулятора. Число операций нагрева может означать расчетное оставшееся число операций нагрева сигареты с учетом текущего заряда аккумулятора. Например, в выводимом через дисплей D окне пользовательского интерфейса может отображаться информация о том, что текущий заряд аккумулятора составляет 85%, а оставшееся число операций нагрева по оставшемуся заряду аккумулятора составляет 12.
То есть окно пользовательского интерфейса на ФИГ. 7В может отличаться от окна пользовательского интерфейса на ФИГ. 6В тем, что в окне пользовательского интерфейса на ФИГ. 7В отображаются данные, которые не отражают цикл курения пользователя. Тем не менее, это приведено только в качестве примера варианта осуществления изобретения, и в окне пользовательского интерфейса на ФИГ. 7В могут также отображаться данные, отражающие цикл курения пользователя.
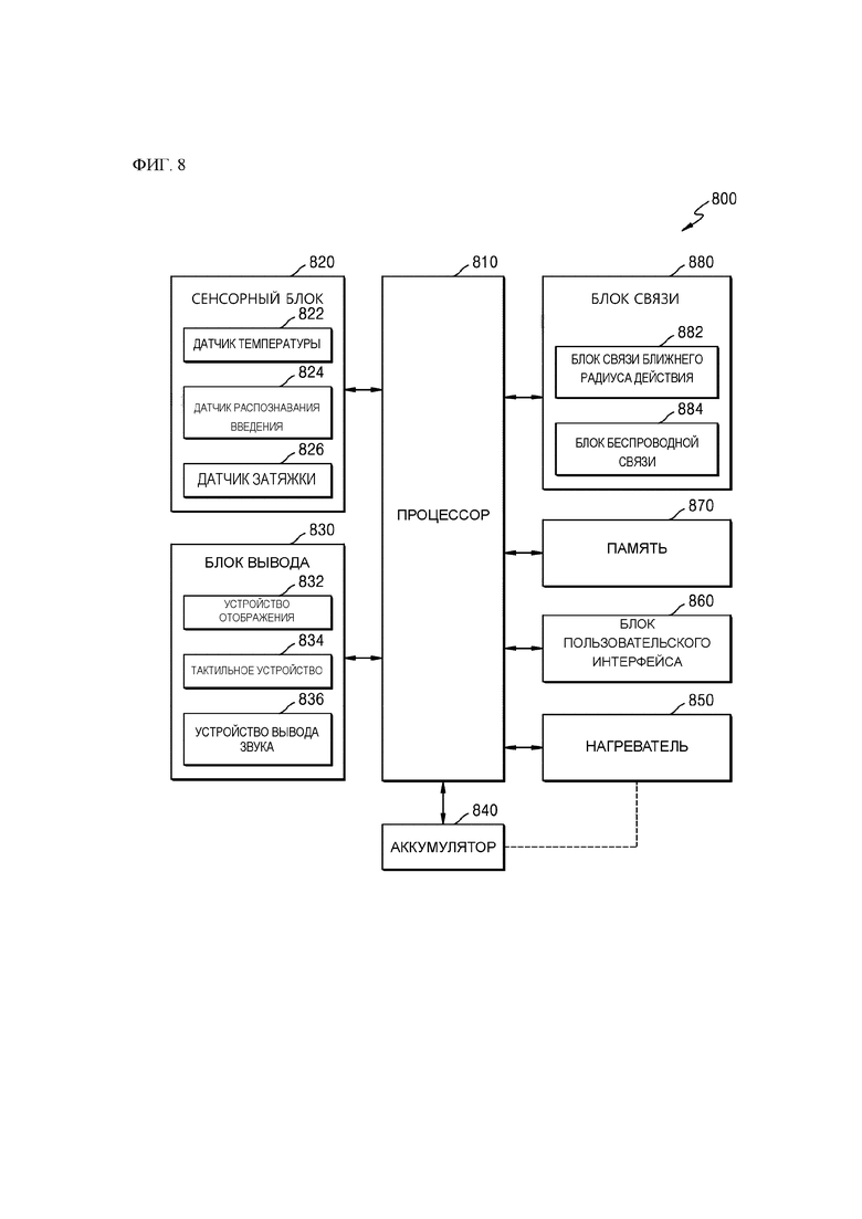
На ФИГ. 8 изображена принципиальная схема устройства 800 для генерирования аэрозоля согласно другому варианту осуществления изобретения.
Устройство 800 для генерирования аэрозоля может содержать контроллер 810, сенсорный блок 820, блок 830 вывода, аккумулятор 840, нагреватель 850, блок 860 пользовательского ввода, память 870 и блок 880 связи. Тем не менее, внутренняя структура устройства 800 для генерирования аэрозоля не ограничивается показанными на ФИГ. 8 вариантами. То есть специалисту в данной области техники очевидно, что некоторые из показанных на ФИГ. 8 компонентов могут отсутствовать, или новые компоненты могут быть добавлены в соответствии с конструктивным исполнением устройства 800 для генерирования аэрозоля.
Сенсорный блок 820 может определять состояние устройства 800 для генерирования аэрозоля и состояние среды вокруг устройства 800 для генерирования аэрозоля, и передавать полученную информацию в контроллер 810. На основании полученной информации контроллер 810 может управлять устройством 800 для генерирования аэрозоля, чтобы выполнялись различные функции, такие как управление работой нагревателя 850, ограничение курения, распознавание введения изделия для генерирования аэрозоля (например, сигареты, картриджа и т.п.), отображение уведомления и т. п.
Сенсорный блок 820 может содержать по меньшей мере одно из следующего: датчик 822 температуры, датчик распознавания введения и датчик 826 затяжки, а также другие датчики.
Датчик 822 температуры может определять температуру, до которой нагрет нагреватель 850 (или материал для генерирования аэрозоля). Устройство 800 для генерирования аэрозоля может содержать отдельный датчик температуры для определения температуры нагревателя 850, или сам нагреватель 850 может служить датчиком температуры. В альтернативном варианте датчик 822 температуры может быть размещен вокруг аккумулятора 840 для контроля температуры аккумулятора 840.
Датчик 824 распознавания введения может распознавать введение и/или извлечение изделия для генерирования аэрозоля. Например, датчик 824 распознавания введения может представлять собой по меньшей мере одно из следующего: пленочный датчик, датчик давления, оптический датчик, резистивный датчик, емкостной датчик, индуктивный датчик и инфракрасный датчик, и может распознавать изменение сигнала при введении и/или извлечении изделия для генерирования аэрозоля.
Датчик 826 затяжки может распознавать выполняемую пользователем затяжку на основании различных физических изменений на пути для потока воздуха или в канале для потока воздуха. Например, датчик 826 затяжки может распознавать затяжку пользователя, основываясь на изменении любого из следующих параметров: температура, расход, напряжение и давление.
Сенсорный блок 820 может содержать, помимо указанных выше датчика 822 температуры, датчика 824 распознавания введения и датчика 826 затяжки, по меньше мере одно из следующего: датчик температуры/влажности, датчик атмосферного давления, магнитный датчик, датчик ускорения, гироскоп, датчик положения (например, глобальной системы позиционирования (GPS)), датчик приближения и датчик красного, зеленого, синего (RGB) цвета (датчик освещенности). Поскольку назначение каждого датчика может быть интуитивно понятно из его названия специалисту в данной области техники, подробное раскрытие этого назначения в настоящем документе может быть опущено.
Блок 830 вывода может выводить информацию о состоянии устройства 800 для генерирования аэрозоля и предоставлять ее пользователю. Блок 830 вывода может содержать по меньше мере одно из следующего: устройство 832 отображения, тактильное устройство 834, устройство 836 вывода звука, а также другие устройства. Если устройство 832 отображения и сенсорная панель выполнены в виде слоистой структуры для формирования сенсорного экрана, устройство 832 отображения можно использовать в качестве вводного устройства в дополнение к устройству вывода.
Устройство 832 отображения может визуально предоставлять пользователю информацию об устройстве 800 для генерирования аэрозоля. Информация об устройстве 800 для генерирования аэрозоля может содержать, например, состояние зарядки/разрядки аккумулятора 840 устройства 800 для генерирования аэрозоля, состояние предварительного нагрева нагревателя 850, состояние введения/извлечения изделия для генерирования аэрозоля, состояние ограниченного использования (например, обнаружен аномальный объект) устройства 800 для генерирования аэрозоля и т.п., и устройство 832 отображения может выводить информацию наружу. Устройство 832 отображения может представлять собой, например, жидкокристаллический дисплей (LCD), дисплей на органических светодиодах (OLED) и т. п. Кроме того, устройство 832 отображения может быть выполнено в виде устройства на светоизлучающих диодах (СИД).
Тактильное устройство 834 может предоставлять пользователю информацию об устройстве 800 для генерирования аэрозоля тактильным способом путем преобразования электрического сигнала в механический или электрический раздражитель. Тактильное устройство 834 может представлять собой, например, мотор, пьезоэлектрический элемент или устройство электрической стимуляции.
Устройство 836 вывода звука может предоставлять пользователю информацию об устройстве 800 для генерирования аэрозоля в звуковой форме. Например, устройство 836 вывода звука может преобразовывать электрический сигнал в звуковой сигнал и выводить звуковой сигнал наружу.
Аккумулятор 840 может подавать питание, используемое для управления устройством 800 для генерирования аэрозоля. Например, аккумулятор 840 может подавать питание, позволяющее нагревать нагреватель 850. Кроме того, аккумулятор 840 может подавать питание, необходимое для работы других компонентов (например, сенсорного блока 820, блока 830 вывода, блока 860 пользовательского ввода, памяти 870 и блока 880 связи), входящих в состав устройства 800 для генерирования аэрозоля. Аккумулятор 840 может представлять собой перезаряжаемый аккумулятор или одноразовый аккумулятор. Например, аккумулятор 840 может представлять собой литий-полимерный (LiPoly) аккумулятор; также возможны другие варианты.
Нагреватель 850 может получать питание от аккумулятора 840 для нагрева материала для генерирования аэрозоля. Хотя на ФИГ. 8 это не показано, устройство 800 для генерирования аэрозоля может дополнительно содержать схему преобразования энергии (например, преобразователь постоянного тока (DC) в постоянный ток (DC/DC)), которая преобразует питание аккумулятора 840 и подает его на нагреватель 850. Кроме того, когда устройство 800 для генерирования аэрозоля генерирует аэрозоль способом индукционного нагрева, устройство 800 для генерирования аэрозоля может дополнительно содержать элемент постоянного/переменного тока, преобразующий постоянный ток аккумулятора 840 в переменный ток.
Контроллер 810, сенсорный блок 820, блок 830 вывода, блок 860 пользовательского ввода, память 870 и блок 880 связи могут получать необходимое для выполнения своих функций питание от аккумулятора 840. Хотя это не показано на ФИГ. 8, устройство 800 для генерирования аэрозоля может дополнительно содержать схему преобразования питания, преобразующую питание аккумулятора 840 для подачи питания на соответствующие компоненты, например, схему с низким падением напряжения (LDO) или схему регулятора напряжения.
В одном из вариантов осуществления изобретения нагреватель 850 может быть изготовлен из любого подходящего электрорезистивного материала. Например, подходящий электрорезистивный материал может представлять собой металл или сплав металлов, в том числе титан, цирконий, тантал, платину, никель, кобальт, хром, гафний, ниобий, молибден, вольфрам, олово, галлий, марганец, железо, медь, нержавеющую сталь, нихром и т. п., а также другие металлы или сплавы. Кроме того, нагреватель 850 может быть выполнен в виде металлической проволоки, металлической пластины, на которой размещена электропроводящая дорожка, или керамического нагревающего элемента, а также в других вариантах.
В другом варианте осуществления изобретения нагреватель 850 может представлять собой нагреватель индукционного типа. Например, нагреватель 850 может содержать токоприемник, нагревающий материал для генерирования аэрозоля путем генерирования тепла посредством магнитного поля, индуцированного катушкой.
Блок 860 пользовательского ввода может принимать информацию от пользователя или выводить информацию пользователю. Например, блок 860 пользовательского ввода может содержать, в частности, клавиатуру, купольный переключатель, сенсорную панель (например, контактно-емкостного типа, типа резистивной пленки, типа инфракрасного датчика, типа поверхностной ультразвуковой проводимости, типа измерения интегрального напряжения, типа пьезоэффекта и т.д.), колесо переключения, переключатель и т.п. Кроме того, хотя это и не показано на ФИГ. 8, устройство 800 для генерирования аэрозоля может дополнительно содержать интерфейс подключения, например интерфейс универсальной последовательной шины (USB), и может быть подключено к другому внешнему устройству через интерфейс подключения, например USB, для передачи и приема информации или зарядки аккумулятора 840.
Память 870 представляет собой компонент аппаратного обеспечения, хранящий различные типы данных, обрабатываемых в устройстве 800 для генерирования аэрозоля, и может хранить подлежащие обработке данные и обрабатываемые контроллером 810 данные. Память 870 может представлять собой по меньшей мере один из следующих типов носителя информации: флэш-память, жесткий диск, мультимедийная микро-карта, карта (например, SD или XD), оперативная память (RAM), постоянная оперативная память (SRAM), постоянная память (ROM), энергонезависимая память (EEPROM), программируемая постоянная память (PROM), магнитная память, магнитный диск или оптический диск. Память 870 может хранить время работы устройства 800 для генерирования аэрозоля, максимальное число затяжек, текущее число затяжек, по меньшей мере один профиль температуры, данные о привычных действиях пользователя при курении и т. п.
Блок 880 связи может содержать по меньшей мере один компонент для связи с другим электронным устройством. Например, блок 880 связи может содержать блок 882 беспроводной связи малого радиуса действия и блок 884 беспроводной связи.
Блок 882 беспроводной связи малого радиуса действия может представлять собой блок связи Bluetooth, блок связи Bluetooth low energy (BLE), блок связи ближнего поля, блок связи WLAN (Wi-Fi), блок связи ZigBee, блок связи IrDA, блок связи Wi-Fi direct (WFD), сверхширокополосной блок связи (UWB) и блок связи Ant+, а также иные подобные устройства, но не ограничивается этими вариантами.
Блок 884 беспроводной связи может представлять собой коммуникатор сотовой сети, коммуникатор Интернета, коммуникатор компьютерной сети (например, локальной сети (LAN) или глобальной сети (WAN)), а также иные подобные устройства, но не ограничивается этими вариантами. Блок 884 беспроводной связи может использовать информацию об абоненте (например, международный идентификатор мобильного абонента (IMSI)) для идентификации и аутентификации устройства 800 для генерирования аэрозоля в сети связи.
Контроллер 810 может управлять всеми операциями устройства 800 для генерирования аэрозоля. В одном из вариантов осуществления изобретения контроллер 810 может содержать по меньшей мере один процессор. Процессор может быть реализован как массив из множества логических элементов или как комбинация микропроцессора общего назначения и памяти, в которой хранится программа, исполняемая в микропроцессоре. Специалисту в данной области техники будет понятно, что процессор может быть реализован с использованием других видов аппаратных средств.
Контроллер 810 может управлять температурой нагревателя 850 путем управления подачей питания от аккумулятора 840 на нагреватель 850. Например, контроллер 810 может управлять подачей питания путем управления переключением переключающего элемента между аккумулятором 840 и нагревателем 850. В другом примере схема прямого нагрева может управлять подачей питания на нагреватель 850 в соответствии с управляющей командой от контроллера 810.
Контроллер 810 может анализировать результат, полученный сенсорным блоком 820, и управлять последующими процессами. Например, контроллер 810 может управлять питанием, подаваемым на нагреватель 850, для запуска или прекращения работы нагревателя 850 на основании результата, полученного сенсорным блоком 820. В другом примере контроллер 810 на основании результата, полученного сенсорным блоком 820, может управлять количеством питания, подаваемого на нагреватель 850, и временем подачи питания, что позволяет нагревать нагреватель 850 до определенной температуры или поддерживать его на соответствующем уровне температуры.
Контроллер 810 может управлять блоком 830 вывода на основании результата, полученного сенсорным блоком 820. Например, если количество затяжек, подсчитанное датчиком 826 затяжки, достигает предварительно заданного количества, контроллер 810 может сообщить пользователю, что работа устройства 800 для генерирования аэрозоля скоро закончится, посредством устройства 832 отображения и/или тактильного устройства 834 и/или устройства 836 вывода звука.
Один вариант осуществления изобретения может быть также реализован в форме носителя информации, содержащего инструкции, выполняемые компьютером, такие как программные модули, выполняемые компьютером. Машиночитаемый записывающий носитель может представлять собой любой доступный носитель, к которому может иметь доступ компьютер, и содержит как не сохраняющие информацию при выключении питания, так и сохраняющие информацию при выключении питания носители, и съемные и несъемные носители. Кроме того, машиночитаемый носитель может содержать как запоминающую среду компьютера, так и коммуникационную среду. Запоминающая среда компьютера содержит все из не сохраняющих информацию при выключении питания и сохраняющих информацию при выключении питания носителей, и съемных и несъемных носителей, реализуемых любым способом или методом хранения информации, такие как машиночитаемые инструкции, структуры данных, программные модули или другие данные. Коммуникационная среда обычно содержит машиночитаемые инструкции, структуры данных, другие данные в модулированных сигналах данных, таких как программные модули, или другие механизмы передачи, и содержит любые среды передачи информации.
Раскрытия вышеизложенных вариантов осуществления представляют собой лишь примеры, и специалисту обычной квалификации в данной области техники будет понятно, что возможно внесение различных изменений и использование эквивалентов. Поэтому защищаемый объем изобретения должен определяться прилагаемой формулой изобретения, и все отличия в защищаемом объеме, эквивалентные раскрытым в пунктах формулы, будут интерпретированы как включаемые в защищаемый объем, определяемый формулой.
| название | год | авторы | номер документа |
|---|---|---|---|
| СПОСОБ И УСТРОЙСТВО РАЗБЛОКИРОВКИ НА ОСНОВАНИИ ВВОДА ПОЛЬЗОВАТЕЛЯ | 2022 |
|
RU2827757C2 |
| СПОСОБ И УСТРОЙСТВО ДЛЯ ГЕНЕРИРОВАНИЯ АЭРОЗОЛЯ НА ОСНОВАНИИ ТИПА СИГАРЕТЫ | 2022 |
|
RU2831457C2 |
| СИСТЕМА ДЛЯ ГЕНЕРИРОВАНИЯ АЭРОЗОЛЯ ДЛЯ УПРАВЛЕНИЯ МОЩНОСТЬЮ НАГРЕВАТЕЛЯ | 2022 |
|
RU2831489C2 |
| СПОСОБ И УСТРОЙСТВО ОБРАБОТКИ ВВОДА ПОЛЬЗОВАТЕЛЯ ВО ВРЕМЯ ЗАРЯДКИ АККУМУЛЯТОРА | 2022 |
|
RU2826304C2 |
| УСТРОЙСТВО ДЛЯ ГЕНЕРИРОВАНИЯ АЭРОЗОЛЯ | 2022 |
|
RU2834334C2 |
| УСТРОЙСТВО ДЛЯ ГЕНЕРИРОВАНИЯ АЭРОЗОЛЯ | 2023 |
|
RU2827973C2 |
| УСТРОЙСТВО ДЛЯ ГЕНЕРИРОВАНИЯ АЭРОЗОЛЯ | 2022 |
|
RU2833148C2 |
| УСТРОЙСТВО ДЛЯ ГЕНЕРИРОВАНИЯ АЭРОЗОЛЯ, СОДЕРЖАЩЕЕ КАНАЛ ДЛЯ ПОТОКА ВОЗДУХА | 2022 |
|
RU2831743C2 |
| УСТРОЙСТВО ДЛЯ ГЕНЕРИРОВАНИЯ АЭРОЗОЛЯ И СПОСОБ ЕГО ЭКСПЛУАТАЦИИ | 2022 |
|
RU2834874C2 |
| УСТРОЙСТВО ДЛЯ ГЕНЕРИРОВАНИЯ АЭРОЗОЛЯ, СПОСОБ УПРАВЛЕНИЯ УСТРОЙСТВОМ ДЛЯ ГЕНЕРИРОВАНИЯ АЭРОЗОЛЯ И МАШИНОЧИТАЕМЫЙ НОСИТЕЛЬ ИНФОРМАЦИИ | 2024 |
|
RU2840254C2 |
Группа изобретений относится к табачной промышленности, в частности к системам, имитирующим процесс табакокурения. Устройство для генерирования аэрозоля содержит нагреватель, выполненный с возможностью нагрева по меньшей мере части изделия для генерирования аэрозоля, процессор, память, пользовательский интерфейс, выполненный с возможностью вывода уведомления пользователю. Процессор выполнен с возможностью получения данных о времени нагрева нагревателя, когда накопленное число операций нагрева превышает или равно пороговому значению. Процессор выполнен с возможностью хранения полученных данных в памяти и вывода уведомления через пользовательский интерфейс на основании того, выполнено ли предварительно заданное условие, касающееся данных о времени нагрева. Для осуществления способа эксплуатации устройства для генерирования аэрозоля получают данные о времени нагрева нагревателя и сохраняют полученные данные в памяти, если накопленное число операций нагрева превышает или равно пороговому значению. Выводят уведомление через пользовательский интерфейс на основании выполнения предварительно заданного условия, касающегося данных о времени нагрева. Достигается технический результат – уведомление пользователя о надлежащем времени зарядки аккумулятора устройства для генерирования аэрозоля в соответствии с интервалом курения пользователя. 2 н. и 13 з.п. ф-лы, 10 ил.
1. Устройство для генерирования аэрозоля, содержащее:
нагреватель, выполненный с возможностью нагрева по меньшей мере части изделия для генерирования аэрозоля;
память;
пользовательский интерфейс, выполненный с возможностью вывода уведомления пользователю; и
процессор, выполненный с возможностью:
получения данных о времени нагрева нагревателя, когда накопленное число операций нагрева превышает или равно пороговому значению, и хранения полученных данных в памяти; и
вывода уведомления через пользовательский интерфейс на основании того, выполнено ли предварительно заданное условие, касающееся данных о времени нагрева.
2. Устройство для генерирования аэрозоля по п. 1, в котором процессор дополнительно выполнен с возможностью установки значения флага первых данных о накопленном числе операций нагрева нагревателем на «1» после получения данных о времени нагрева и установки значения флага вторых данных, представляющих собой данные о выводе уведомления через пользовательский интерфейс, на «0».
3. Устройство для генерирования аэрозоля по п. 1, дополнительно содержащее аккумулятор, выполненный с возможностью подачи питания на нагреватель,
в котором процессор дополнительно выполнен с возможностью увеличения накопленного числа операций нагрева нагревателя, когда аккумулятор начинает подачу питания на нагреватель по истечении порогового времени со времени последнего нагрева нагревателя.
4. Устройство для генерирования аэрозоля по п. 1, в котором процессор дополнительно выполнен с возможностью расчета среднего интервала между концом предыдущего и началом следующего нагрева, когда накопленное число операций нагрева нагревателя равно или превышает пороговое значение, а также запуска следующей операции нагрева нагревателя, обновления времени последнего нагрева нагревателя и сохранения данных о времени нагрева, включая средний интервал нагрева и обновленное время последнего нагрева в памяти.
5. Устройство для генерирования аэрозоля по п. 4, дополнительно содержащее модуль часов реального времени (RTC),
в котором процессор дополнительно выполнен с возможностью приема текущего времени через модуль RTC, когда рассчитанный средний интервал нагрева меньше предварительно заданного времени, и изменения значения флага вторых данных, представляющих собой данные о выводе уведомления через пользовательский интерфейс, на «1», если расчетное время курения, полученное путем прибавления рассчитанного среднего интервала нагрева ко времени последнего нагрева нагревателя, предшествует текущему времени.
6. Устройство для генерирования аэрозоля по п. 5, в котором процессор дополнительно выполнен с возможностью вывода уведомления на основании изменения значения флага вторых данных и
в котором уведомление содержит по меньшей мере одно из следующего: оставшееся число операций нагрева, расчетное оставшееся время работы и оставшийся заряд аккумулятора.
7. Устройство для генерирования аэрозоля по п. 4, в котором процессор дополнительно выполнен с возможностью инициализации хранящихся в памяти данных о времени нагрева, если рассчитанный средний интервал нагрева превышает или равен предварительно заданному времени и истекло предварительно заданное время со времени последнего нагрева нагревателя.
8. Устройство для генерирования аэрозоля по п. 1, в котором процессор дополнительно выполнен с возможностью инициализации хранящихся в памяти данных о времени нагрева нагревателя на основании опорной единицы времени.
9. Способ эксплуатации устройства для генерирования аэрозоля, содержащий следующие этапы:
получение данных о времени нагрева нагревателя и сохранение полученных данных в памяти, если накопленное число операций нагрева превышает или равно пороговому значению; и
вывод уведомления через пользовательский интерфейс на основании выполнения предварительно заданного условия, касающегося данных о времени нагрева.
10. Способ эксплуатации по п. 9, дополнительно содержащий этап установки значения флага первых данных о накопленном числе операций нагрева нагревателя на «1», после получения данных о времени нагрева, и установку значения флага вторых данных, представляющих собой данные о выводе уведомления через пользовательский интерфейс, на «0».
11. Способ эксплуатации по п. 9, дополнительно содержащий этап увеличения накопленного числа операций нагрева, когда аккумулятор начинает подавать питание на нагреватель по истечении порогового времени со времени последнего нагрева нагревателя.
12. Способ эксплуатации по п. 9, дополнительно содержащий:
этап расчета среднего интервала нагрева между концом предыдущего нагрева нагревателя и началом последующего нагрева нагревателя, если накопленное число операций нагрева нагревателя больше или равно пороговому значению, а также запуска следующего нагрева нагревателя и обновления времени последнего нагрева нагревателя; и
этап сохранения в памяти данных о времени нагрева, включая рассчитанный средний интервал нагрева и обновленное время последнего нагрева.
13. Способ эксплуатации по п. 12, содержащий:
этап получения текущего времени через модуль RTC, если рассчитанный средний интервал нагрева меньше предварительно заданного времени; и
этап изменения значения флага вторых данных, представляющих собой данные о выводе уведомления через пользовательский интерфейс, на «1», если расчетное время курения, полученное путем прибавления рассчитанного среднего интервала нагрева ко времени последнего нагрева нагревателя, предшествует текущему времени.
14. Способ эксплуатации по п. 13, дополнительно содержащий этап вывода уведомления на основании изменения значения флага вторых данных,
в котором уведомление содержит по меньшей мере одно из следующего: оставшееся число операций нагрева, расчетное оставшееся время работы и оставшийся заряд аккумулятора.
15. Способ эксплуатации по п. 12, дополнительно содержащий этап инициализации хранящихся в памяти данных о времени нагрева и вывода уведомления о расчетном оставшемся числе операций нагрева и/или расчетном оставшемся времени использования, если рассчитанный средний интервал нагрева больше или равен предварительно заданному времени и предварительно заданное время со времени последнего нагрева нагревателя истекло.
Авторы
Даты
2025-02-19—Публикация
2022-12-01—Подача