Область техники, к которой относится настоящее изобретение
Настоящее изобретение относится к области противопожарной техники. В частности, оно относится к устройствам для пожаротушения.
Предшествующий уровень техники настоящего изобретения
Пожары могут наносить значительный материальный и человеческий ущерб вне зависимости от того, происходят ли они в городской или незаселенной местности.
Оборудование и человеческие ресурсы, которые мобилизуются для борьбы с пожарами, обычно выбираются в зависимости от масштабов пожара и особенностей местности, на которой он происходят.
Известен широкий спектр оборудования для пожаротушения, начиная с самых простых пенных или порошковых огнетушителей и заканчивая пожарными автоцистернами и противопожарными летательными аппаратами.
Как описано в документе US-6786382, также известно средство для пожаротушения, которое состоит из разрушаемого контейнера в виде сферы, выполненной из вспененного жесткопластичного материала с низкой плотностью (например, пенополистирола), диаметр которой лежит в пределах от около десяти сантиметров до нескольких десятков сантиметров, и в которой располагается диспергируемый химический продукт, активируемый в случае воздействия огня, и пиротехнический детонатор, связанный с предохранителем.
При «активном» подходе было бы интересно бросить это средство для пожаротушения прямо в огонь с тем, чтобы его предохранитель воспламенился, обеспечивая активацию детонатора, за которой последует разрушение контейнера и распыление диспергируемого химического продукта.
Однако с течением времени указанные средства для пожаротушения оказываются недостаточно эффективными при таком подходе, в частности, в зависимости от места локализации пожара, подлежащего тушению, или от конфигурации места пожара.
В соответствии с практическими рекомендациями эти средства для пожаротушения должны оставаться в огне в течение достаточно длительного времени (по меньшей мере, несколько секунд) с тем, чтобы их предохранитель воспламенился, и произошла активация детонатора, что обеспечило бы высвобождение диспергируемого химического продукта.
Однако вследствие инерции и траектории его движения средство для пожаротушения, вероятнее всего, выйдет из зоны горения еще до того, как его предохранитель успеет зафиксировать огонь.
Это имеет место, например, в тех случаях, когда средство для пожаротушения выскакивает из зоны огня, если данный участок местности характеризуется пологостью, или если скорость его выброса не была адаптирована под такие условия.
Соответственно, существует потребность в усовершенствовании этих средств для пожаротушения с тем, чтобы можно было использовать такой «активный» подход.
Краткое раскрытие настоящего изобретения
Таким образом, настоящим изобретением предложено устройство для пожаротушения, совершенствующее/улучшающее средства для пожаротушения, в частности, в соответствии с документом US-6786382, которое особым образом адаптировано под использование такого активного подхода (когда оно вбрасывается/выбрасывается непосредственно в огонь).
В частности, настоящим изобретением предложено устройство для пожаротушения, содержащее:
- корпус (именуемый также капсулой или оболочкой), предпочтительно хрупкий, который определяет границы внутренней полости, в пределах которой располагается, по меньшей мере, одно диспергируемое огнетушащее вещество; и
- пиротехническое средство, пригодное для инициирования взрыва, вызывающего разрыв указанного корпуса и распыление указанного огнетушащего вещества.
Пиротехническое средство содержит:
- по меньшей мере, один заряд взрывчатого вещества, порождающий указанный взрыв; и
- детонатор, вызывающий указанный взрыв указанного, по меньшей мере, одного заряда взрывчатого вещества.
Согласно настоящему изобретению указанный детонатор содержит:
- запальное устройство, выполненное с возможностью вызова указанного взрыва, по меньшей мере, одного заряда взрывчатого вещества, находясь в активном состоянии; и
- датчик ударов, выполненный с возможностью детектирования механического удара, воспринимаемого указанным устройством, и перевода указанного запального устройства в указанное активное состояние после детектирования указанного механического удара.
Следовательно, на практике устройство согласно настоящему изобретению может вбрасываться непосредственно в огонь, и может высвобождать свое огнетушащее вещество в этом огне (или даже в непосредственно близости от него или над ним), благодаря наличию в нем системы, срабатывающей под воздействием удара.
Фактически, как только вброшенное устройство ударяется о поверхность (в качестве преимущества - в пределах огня), его датчик ударов детектирует механический удар и переводит запальное устройство (мгновенно или даже с задержкой времени) в активное состояние.
Запальное устройство, находясь в активном состоянии, инициирует (мгновенно) взрыв указанного, по меньшей мере, одного заряда взрывчатого вещества, а также разрыв указанного корпуса и распыление указанного огнетушащего вещества.
Следовательно, такое устройство согласно настоящему изобретению больше не нуждается в определенном времени воздействия огня, которое необходимо при использовании устройств для пожаротушения предшествующего уровня техники.
В целом, указанный датчик ударов согласно настоящему изобретению обеспечивает преимущество, состоящее в том, что он содержит подвижную часть, выполненную с возможностью перемещения между следующими двумя положениями:
- исходным положением, в котором запальное устройство находится в неактивном состоянии; и
- конечным положением, в котором запальное устройство находится в активном состоянии;
при этом указанная подвижная часть взаимодействует со следующими элементами:
- упругим элементом возврата в направлении указанного конечного положения; и
- фиксирующим приспособлением, выполненным с возможностью удержания указанной подвижной части в указанном исходном положении и высвобождения указанной подвижной части после указанного механического удара.
Согласно одному из предпочтительных вариантов осуществления настоящего изобретения фиксирующее приспособление содержит металлическую часть, например, шарик, зажатый между подвижной частью и опорной частью.
При этом предусмотрено, что после механического удара металлическая часть должна быть выдавлена (вытолкнута) из места своего расположения/исходного положения (благодаря инерции своего движения, что является преимуществом).
Перемещение этой металлической части высвобождает подвижную часть, которая переводится из своего исходного положения в свое конечное положение под действием упругого элемента возврата.
По-прежнему, в целом и согласно одному из конкретных вариантов осуществления настоящего изобретения запальное устройство представляет собой электрическое запальное устройство, которое называется также запалом. Датчик ударов состоит из электрического модуля, соединенного с указанным электрическим запальным устройством.
В предпочтительном варианте электрический модуль содержит:
- источник электропитания; и
- переключатель, который интегрирует указанную подвижную часть;
при этом указанная подвижная часть выполнена с возможностью перемещения между следующими двумя положениями:
- исходным положением, в котором переключатель находится в разомкнутом состоянии; и
- конечным положением, в котором переключатель находится в замкнутом состоянии.
Электрическое запальное устройство обеспечивает преимущество, состоящее в том, что оно содержит головку капсюля-воспламенителя, которая взаимодействует, по меньшей мере, с одним указанным зарядом взрывчатого вещества:
- опосредованно через пиротехнический предохранитель, который соединяет между собой указанную головку капсюля-воспламенителя и указанный, по меньшей мере, один заряд взрывчатого вещества; или
- напрямую в пределах указанного, по меньшей мере, одного заряда взрывчатого вещества.
В предпочтительном варианте детонатор содержит индикатор состояния, в частности, выполненный с возможностью индицирования активированного состояния датчика ударов (выбираемый, например, из числа акустических, визуальных и прочих средств).
Согласно другому конкретному варианту осуществления настоящего изобретения запальное устройство представляет собой механическое запальное устройство.
В этом случае механическое запальное устройство обеспечивает преимущество, состоящее в том, что оно содержит:
- ударник, образующий указанную подвижную часть;
- капсюль-воспламенитель, который должен пробиваться указанным ударником, когда последний переключается из указанного исходного положения в указанное конечное положение; и
- по меньшей мере, один предохранитель, который должен воспламеняться указанным капсюлем-воспламенителем, и который доходит до указанного, по меньшей мере, одного заряда взрывчатого вещества.
Кроме того, при определенных обстоятельствах фиксирующее приспособление предпочтительно встраивается между ударником и капсюлем-воспламенителем.
К прочим особенностям продукта согласно настоящему изобретения, которые не носят ограничительного характера, и которые обеспечивают определенные преимущества, относятся признаки, описанные ниже:
- датчик ударов является внешним по отношению к указанной внутренней полости, располагаясь на поверхности корпуса или на удалении от корпуса, или же он интегрирован во внутреннюю полость; при этом обеспечивается преимущество, состоящее в том, что датчик ударов размещается на поверхности указанного корпуса с использованием съемных крепежных средств, например, клейких лент или деталей, которые вводятся в указанный корпус; причем в предпочтительном варианте используется дополнительная прокладка, образующая «целевую метку» и дополнительно облегчающая позиционирование головки капсюля-воспламенителя таким образом, чтобы она была обращена в сторону пиротехнического предохранителя;
- датчик ударов заключен в оболочку, которая обеспечивает преимущество, состоящее в том, что она может иметь форму сферического колпачка или сферы;
- корпус представляет собой сферический корпус, например, выполненный, по меньшей мере, из одного пластического материала;
- указанный детонатор содержит капсюль-воспламенитель, который должен быть отрегулирован таким образом, чтобы обеспечивать возможность переключения указанного запального устройства в указанное активное состояние после детектирования указанного механического удара.
Настоящее изобретение также относится к системе пожаротушения, причем указанная система включает в себя:
- по меньшей мере, одно устройство согласно настоящему изобретению; и
- по меньшей мере, один летательный аппарат, в качестве преимущества -беспилотный летательный аппарат, содержащий, по меньшей мере, один модуль сброса, выполненный с возможностью размещения в нем указанного, по меньшей мере, одного устройства для сброса указанного, по меньшей мере, одного устройства на место пожара.
Настоящее изобретение также относится к способу пожаротушения, причем указанный способ предусматривает стадию сброса, по меньшей мере, одного устройства согласно настоящему изобретению, предпочтительно с летательного аппарата, предпочтительно с беспилотного летательного аппарата, таким образом, чтобы указанный, по меньшей мере, один заряд взрывчатого вещества был активирован, когда указанное устройство ударяется о поверхность после его сброса.
Настоящее изобретение также относится к детонатору для устройства согласно заявленному изобретению, который содержит:
- запальное устройство, выполненное с возможностью вызова указанного взрыва указанного, по меньшей мере, одного заряда взрывчатого вещества, когда оно находится в активном состоянии; и
- датчик ударов, выполненный с возможностью детектирования механического удара, воспринимаемого указанным устройством, и переведения указанного запального устройства в указанное активное состояние после детектирования указанного механического удара.
Разумеется, различные признаки, альтернативные решения и варианты осуществления настоящего изобретения могут быть связаны друг с другом в соответствии с различными комбинациями, если только они не являются взаимно несовместимыми или взаимоисключающими.
Краткое описание фигур
Более того, различные прочие признаки настоящего изобретения станут очевидными из прилагаемого описания, увязанного с чертежами, на которых проиллюстрированы варианты осуществления заявленного изобретения, не носящие ограничительного характера, и где:
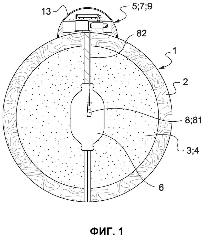
На фиг. 1 схематически показано поперечное сечение устройства для пожаротушения согласно настоящему изобретению, содержащего электрический детонатор, который снабжен датчиком ударов, образованным внешним электрическим модулем и прикрепленным к корпусу, и внутренним электрическим запальным устройством;
На фиг. 2 представлено схематическое перспективное изображение варианта осуществления настоящего изобретения, показанного на фиг. 1, на котором датчик ударов отделен от корпуса;
На фиг. 3 представлено схематическое изображение, иллюстрирующее компоненты датчика ударов, показанного на фиг. 1;
На фиг. 4 представлено схематическое покомпонентное изображение датчика ударов, показанного на фиг. 3;
На фиг. 5 представлен схематический вид в поперечном разрезе, иллюстрирующий альтернативный вариант осуществления электрического детонатора, показанного на фиг. 1;
На фиг. 6 представлен схематический детализированный вид электрического детонатора, показанного на фиг. 5;
На фиг. 7 представлена электрическая схема электрического детонатора, показанного на фиг. 1-6;
На фиг. 8 представлено схематическое изображение в частично разобранном виде другого альтернативного варианта осуществления устройства для пожаротушения, где электрический детонатор снабжен внешним электрическим запальным устройством;
На фиг. 9 представлено схематическое и детализированное изображение с частным разрезом устройства для пожаротушения, показанного на фиг. 8, где проиллюстрирована сборка предохранителя с электрическим запальным устройством;
На фиг. 10 также представлено схематическое изображение одного из альтернативных вариантов осуществления устройства для пожаротушения, где компоненты электрического детонатора собраны внутри корпуса;
На фиг. 11 представлено схематическое изображение, где показаны компоненты механического детонатора;
На фиг. 12 представлено схематическое изображение в поперечном разрезе, которое иллюстрирует детонатор, показанный на фиг. 11, размещенный на корпусе (показан частично);
На фиг. 13 представлено схематическое перспективное изображение механического детонатора, показанного на фиг. 11;
На фиг. 14 представлено схематическое изображение в поперечном разрезе, которое иллюстрирует детонатор, показанный на фиг. 11, со снятым капсюлем-воспламенителем;
На фиг. 15 представлено частичное изображение в поперечном разрезе одного из альтернативных вариантов сборки компонентов детонатора на корпусе;
На фиг. 16 представлено схематическое перспективное изображение детонатора, показанного на фиг. 15;
На фиг. 17 представлено схематическое изображение в поперечном разрезе (с двумя выносками), где показано устройство, датчик ударов которого располагается на удалении от корпуса;
На фиг. 18 представлено схематическое перспективное изображение системы для пожаротушения, содержащей, по меньшей мере, одно устройство согласно настоящему изобретению (в укрупненном виде) и летательный аппарат типа беспилотного летательного аппарата;
На фиг. 19 представлено схематическое покомпонентное изображение, иллюстрирующее один из вариантов осуществления датчика ударов, показанного на фиг. 8 или 9, который монтируется на поверхности, и где предусмотрена непрямая схема подсоединения головки капсюля-воспламенителя;
На фиг. 20 представлено схематическое изображение в частичном разрезе датчика ударов, показанного на фиг. 19;
На фиг. 21 представлено схематическое и частичное изображение, иллюстрирующее один из альтернативных вариантов осуществления устройства для пожаротушения, в котором компоненты детонатора частично собраны внутри корпуса;
На фиг. 22 представлено схематическое и частичное изображение летательного аппарата типа беспилотного летательного аппарата, показанного на фиг. 18, где показано средство активации, выполненное с возможностью управления капсюлем-воспламенителем, которым снабжено устройство согласно настоящему изобретению;
На фиг. 23 представлено схематическое и частичное изображение летательного аппарата типа беспилотного летательного аппарата, показанного на фиг. 18, где проиллюстрирован один из вариантов осуществления его модуля сброса.
Следует отметить, что показанные на этих фигурах конструктивные и/или функциональные элементы, общие для разных альтернативных решений, обозначены одними и теми же номерами позиций.
На фиг. 1-17 и 19-21 показаны устройства для пожаротушения согласно настоящему изобретению.
Подробное раскрытие настоящего изобретения
В общем, устройство 1 содержит:
- корпус 2, который определяет границы внутренней полости 3, в которой располагается, по меньшей мере, одно диспергируемое огнетушащее вещество 4; и
- пиротехническое средство 5, пригодное для инициирования взрыва, вызывающего разрыв указанного корпуса 2 и распыление указанного огнетушащего вещества 4.
Таким образом, корпус 2 обеспечивает преимущество, состоящее в том, что он представляет собой хрупкий корпус, также называемый «разрушаемым», который выполнен с возможностью разрушения взрывом, инициируемым пиротехническим средством 5, обеспечивая при этом возможность сопротивления механической ударной нагрузке согласно описанию, представленному ниже по тексту настоящего документа.
В данном случае корпус 2 обеспечивает преимущество, состоящее в том, что он имеет форму сферы (сферическую форму).
Этот корпус 2 также обеспечивает преимущество, состоящее в том, что он выполнен из пластичного материала, предпочтительно из жестко пластичного материала с низкой плотностью, например, вспененного, например, из пенополистирола.
Этот корпус 2 также обеспечивает преимущество, состоящее в том, что он заключен в защитную полимерную пленку.
Этот корпус 2 также обеспечивает преимущество, состоящее в том, что его наружный диаметр составляет около десяти сантиметров или несколько десятков сантиметров.
Указанное, по меньшей мере, одно диспергируемое огнетушащее вещество 4 предпочтительно состоит из диспергируемого химического продукта, активного в отношении огня, который обеспечивает преимущество, состоящее в том, что является порошкообразным.
Указанное, по меньшей мере, одно диспергируемое огнетушащее вещество 4 обеспечивает преимущество, состоящее в том, что оно выбирается из числа порошковых пожарогасящих веществ, которые по существу состоят из нетоксичных неорганических солей, смешанных с гидрофобными и антиспекающими агентами, а также различных добавок (стеаратов, кремнийорганических полимеров, крахмала, инертных компонентов и т.п.), облегчающих их текучесть.
Основой таких порошков может служить бикарбонат натрия или калия, или фосфат и/или сульфат аммония (предпочтительно фосфат аммония).
Пиротехническое средство 5 содержит:
- по меньшей мере, один заряд 6 взрывчатого вещества (также именуемый «пиротехническим зарядом»), порождающий взрыв, способный инициировать разрыв указанного корпуса 2 и распыление указанного диспергируемого огнетушащего вещества 4; и
- детонатор 7, вызывающий взрыв указанного, по меньшей мере, одного заряда 6 взрывчатого вещества.
Указанный, по меньшей мере, один заряд 6 взрывчатого вещества обеспечивает преимущество, состоящее в том, что он встроен во внутреннюю полость 3, предпочтительно располагаясь по центру последней.
Указанный, по меньшей мере, один заряд 6 взрывчатого вещества обеспечивает преимущество, состоящее в том, что он встроен, по меньшей мере, в одно огнетушащее вещество 4. Иначе говоря, указанный, по меньшей мере, один заряд 6 взрывчатого вещества обеспечивает преимущество, состоящее в том, что он охватывается указанным, по меньшей мере, одним огнетушащим веществом 4 (или утоплен в нем).
Указанный, по меньшей мере, один заряд 6 взрывчатого вещества выбирается, например, из числа дымных порохов для фейерверков (легковоспламеняющихся смесей серы, нитрата калия (калийной селитры) и древесного угля в варианте, обеспечивающем преимущество), в частности, из числа взрывных зарядов.
Указанный, по меньшей мере, один заряд 6 взрывчатого вещества обеспечивает преимущество, состоящее в том, что он содержится в корпусе, который может быть выполнен из самых разных материалов (папье-маше, ткани, пластмассы и пр.).
Детонатор 7, образующий в данном случае систему, срабатывающую под воздействием удара, содержит:
- запальное устройство 8, выполненное с возможностью инициирования указанного взрыва указанного, по меньшей мере, одного заряда 6 взрывчатого вещества, находясь в активном состоянии;
- датчик 9 ударов, выполненный с возможностью перевода этого запального устройства 8 в указанное активное состояние после детектирования механического удара;
- предпочтительно индикатор 10 состояния (показанный на фиг. 7, 8 и 19-21), выполненный, в частности, с возможностью индицирования/оповещения об активированном состоянии датчика 9 ударов; и
- предпочтительно капсюль-воспламенитель 11, который должен быть отрегулирован таким образом, чтобы он мог предотвращать/обеспечивать возможность переключения запального устройства 8 в активное состояние после детектирования механического удара датчиком 9 ударов.
Запальное устройство 8 обеспечивает преимущество, состоящее в том, что оно включает в себя средство, выполненное с возможностью инициирования воспламенения указанного, по меньшей мере, одного заряда 6 взрывчатого вещества.
Такое запальное устройство 8 обеспечивает преимущество, состоящее в том, что оно выбирается из числа пиротехнических детонаторов. Оно представляет собой, как это будет описано ниже в привязке к различным фигурам, электрическое запальное устройство или механическое запальное устройство, что является определенным преимуществом.
Такое запальное устройство 8, соответственно, характеризуется двумя состояниями:
- исходным и инертным неактивным состоянием, в котором не инициируется указанный взрыв указанного, по меньшей мере, одного заряда 6 взрывчатого вещества; и
- конечным активным состоянием, в котором инициируется взрыв указанного, по меньшей мере, одного заряда 6 взрывчатого вещества.
Это запальное устройство 8 может обеспечить преимущество, состоящее в том, что оно имеет две основные схемы расположения относительно указанного, по меньшей мере, одного заряда 6 взрывчатого вещества:
- «прямую» схему расположения (в частности, показанную на фиг. 1), в которой запальное устройство 8 располагается непосредственно в пределах указанного, по меньшей мере, одного заряда 6 взрывчатого вещества; или
- «непрямую» схему расположения (в частности, показанную на фиг. 8, 9, 19 или 20), в которой запальное устройство 8 соединено с указанным, по меньшей мере, одним зарядом 6 взрывчатого вещества через пиротехнический предохранитель 89.
Указанный пиротехнический предохранитель 89 обеспечивает преимущество, состоящее в том, что он отходит от указанного, по меньшей мере, одного заряда 8 взрывчатого вещества и выходит на наружную поверхность корпуса 2.
Этот пиротехнический предохранитель 89 может содержать кольцевой участок 891 (виден на фиг. 8), который проходит по окружности наружной поверхности корпуса 2 и в поперечной плоскости корпуса 2.
Такой пиротехнический предохранитель 89 может представлять интерес при рассмотрении возможности пассивного использования устройства 1, входящего в соприкосновение с огнем, помимо его активного использования (при сбросе на целевую поверхность).
Кроме того, датчик 9 ударов выполнен с возможностью - с одной стороны, детектирования механического удара, воспринимаемого указанным устройством 1, и - с другой стороны - перевода указанного запального устройства 8 в указанное активное состояние после детектирования указанного механического удара.
В качестве преимущества термин «механический удар» включает в себя сверхвысокую амплитуду колебаний, обусловленную соударением/столкновением устройства 1 с воспринимающей поверхностью или целевой поверхностью. Такой механический удар также соответствует скачкообразному изменению скорости устройства 1, находящегося в движении.
В качестве примера, не носящего ограничительного характера, такой механический удар соответствует удару устройства 1, которое сбрасывается с высоты, составляющей, по меньшей мере, 0,5 метра (или даже, по меньшей мере, 1 метр или даже, по меньшей мере, 1,5 метра), о жесткую воспринимающую поверхность.
Датчик 9 ударов обеспечивает преимущество, состоящее в том, что он характеризуется двумя состояниями:
- исходным отключенным состоянием, в котором запальное устройство 8 также остается в неактивном состоянии; и
- конечным активированным состоянием, в котором датчик 9 ударов переводит запальное устройство 8 в его активное состояние, рассчитанное на вызов взрыва указанного, по меньшей мере, одного заряда 6 взрывчатого вещества.
Для этого, как показано, например, на фиг. 7 и 11, достижение датчиком 9 ударов этих состояний эффективно обеспечивается за счет перемещения подвижной части 91.
Таким образом, датчик 9 ударов обеспечивает преимущество, состоящее в том, что он содержит подвижную часть 91, которая выполнена с возможностью перемещения между двумя положениями:
- исходным положением (сплошная линия на фиг. 7, 11, 20 и 21), соответствующим отключенному состоянию датчика 9 ударов, в котором запальное устройство 8 находится в неактивном состоянии; и
- конечным положением (прерывистая линия на фиг. 7 и 11), соответствующим активированному состоянию датчика 9 ударов, в котором запальное устройство 8 находится в активном состоянии.
Для этого подвижная часть 91 характеризуется наличием, по меньшей мере, одного участка с одной степенью свободы, в качестве преимущества со степенью свободы вращения вокруг оси 9Г вращения (см. фиг. 3, 7 и 11) или со степенью свободы поступательного перемещения.
Для реализации своей функции подвижная часть 91 эффективно взаимодействует со следующими элементами:
- упругим элементом 92 возврата, предназначенным для упругого возврата в конечное положение; и
- фиксирующим приспособлением 93, выполненным с возможностью удержания подвижной части 91 в ее исходном положении и высвобождения подвижной части 91 после указанного механического удара.
Упругий элемент 92 возврата обеспечивает преимущество, которое заключается в том, что он представляет собой механическое средство, например, пружину, выполненную с возможностью принудительного перемещения подвижной части 91 из ее исходного положения в ее конечное положение.
Фиксирующее приспособление 93 обеспечивает преимущество, состоящее в том, что оно должно быть разрушено или деформировано после механического удара.
В данном случае фиксирующее приспособление 93 содержит, по меньшей мере, одну металлическую часть 931, например, металлический шарик 931, который должен выдавливаться (выталкиваться) из места своего расположения/исходного положения (благодаря инерции своего движения), когда датчик 9 ударов ударяется о воспринимающую поверхность или сталкивается с ней.
Как было указано выше, металлическая часть 931 должна выдавливаться (выталкиваться) из места своего расположения/исходного положения после удара о жесткую воспринимающую поверхность устройства 1, которое сбрасывается с высоты, составляющей, по меньшей мере, 0,5 метра (или даже, по меньшей мере, 1 метр или даже, по меньшей мере, 1,5 метра).
В контексте настоящего документа металлическая часть 931 эффективно зажата (прямо или опосредованно) между подвижной частью 91, находящейся в исходном положении, и опорной частью 94.
После механического удара перемещение указанной, по меньшей мере, одной металлической части 931 высвобождает подвижную часть 91, которая переводится из своего исходного положения в свое конечное положение под действием упругого элемента 92 возврата.
В общем, датчик 9 ударов (или даже запальное устройство 8 в целом или частично) может обеспечивать преимущество, состоящее в том, что он может располагаться в разных местах описываемого устройства 1:
- датчик 9 ударов может располагаться извне указанной внутренней полости 3, например, или на поверхности корпуса 2, что также называется «наружным монтажом» (например, см. фиг. 1), или на удалении от корпуса 2 (см. фиг. 17); или
- датчик 9 ударов может быть интегрирован, полностью или частично, во внутреннюю полость 3 (например, см. фиг. 10 и 21).
Таким образом, датчик 9 ударов может быть приставлен к поверхности указанного корпуса 2 (смонтирован снаружи) с помощью съемных крепежных средств 12, например:
- клейких лент 121 (см. фиг. 13); или
- деталей 122, которые вводятся в указанный корпус 2 (см. фиг. 15 и 16).
Вводимые детали 122 состоят, например, из стержней, которые заканчиваются сцепными ребрами.
Датчик 9 ударов, располагающийся на удалении от корпуса 2 (см. фиг. 17), обладает интересной особенностью, заключающейся в том, что он может коснуться целевой поверхности до ее касания корпусом 2 (при сбросе устройства 1 с датчиком 9 ударов, подвешенным к его нижней части). В этом случае взрыв произойдет высоко над поверхностью земли, что также улучшает распыление указанного, по меньшей мере, одного огнетушащего вещества 4.
В общем, датчик 9 ударов (или даже запальное устройство 8 в целом или частично) защищен охватывающей его оболочкой 13.
Оболочка 13 может быть выполнена, например, из жесткопластичного материала, устойчивого к указанным механическим ударам, что является определенным преимуществом.
Оболочка 13 обеспечивает преимущество, состоящее в том, что ее форма может быть выбрана из числа таких вариантов, как:
- сферический колпачок 131 (в частности, как это показано на фиг. 1 и 2), особенно в случае монтажа на поверхности корпуса 2 (с вогнутой нижней поверхностью 132, плотно прилегающей к корпусу 2, что является определенным преимуществом); и
- сфера (в частности, как это показано на фиг. 17), особенно в случае монтажа на удалении от корпуса 2.
Таким образом, индикатор 10 состояния выполнен с возможностью индицирования/оповещения об активированном состоянии датчика 9 ударов.
Этот индикатор 10 состояния выбирается, например, из числа звуковых индикаторов (представляя собой, например, гудок или зуммер) и/или световых индикаторов (представляя собой, например, светодиод или LED).
Такой индикатор 10 состояния полезен, в частности, для предотвращения соединения датчика 9 ударов, находящегося в активированном состоянии, с запальным устройством 8, что несет риск его непреднамеренного переключения в активное состояние.
В альтернативном варианте или дополнительно такой индикатор 10 состояния предназначен для испускания сигнала сразу же после удара, инициирующего переключение датчика 9 ударов в активированное состояние, причем он характеризуется наличием средства задержки (например, электронного средства задержки) времени срабатывания запального устройства 8 для предупреждения окружающих о предстоящем взрыве, за которым последует распыление указанного огнетушащего вещества 4.
В другом альтернативном варианте или дополнительно индикатор 10 состояния обеспечивает локализацию запального устройства 8 после взрыва, например, для восстановления источника 95 электропитания (например, аккумулятора или гальванического элемента).
Элемент 11 капсюля-воспламенителя эффективно взаимодействует с подвижной частью 91, потенциально через фиксирующее приспособление 93 таким образом, чтобы запирать/удерживать эту подвижную часть 91 в ее исходном положении в случае механического удара (перед использованием, например, во время транспортировки).
Элемент 11 капсюля-воспламенителя, например, в виде чеки обеспечивает преимущество, состоящее в том, что он может быть извлечен/разрушен с тем, чтобы запальное устройство 8 могло перейти в активное состояние после детектирования механического удара.
В предпочтительном варианте к этому элементу 11 капсюля-воспламенителя (снабженному наружным участком для захвата) обеспечивается доступ через оболочку 13 (сферический колпачок 131, что является определенным преимуществом) для его извлечения/разрушения.
На практике и обычно элемент 11 капсюля-воспламенителя извлекается в случае возникновения такой необходимости.
Устройство 1 может быть перемещено (брошено, сброшено с высоты, подано или перемещено иным образом) в огонь, подлежащий тушению, таким образом, чтобы оно оказалось на целевой поверхности.
После удара о целевую поверхность датчик 9 ударов переходит из своего исходного состояния покоя в свое конечное активированное состояние.
Для этого, в контексте настоящего документа, подвижная часть 91 переводится из своего исходного положения (сплошная линия на фиг. 7 и 11) в свое конечное положение (прерывистая линия на фиг. 7 и 11).
Это смещение обеспечивается в данном случае упругим элементом 92 возврата после разрушения фиксирующего приспособления 93.
После этого датчик 9 ударов, находящийся в активированном состоянии, переводит (немедленно или с задержкой времени) запальное устройство 8 в его активное состояние, что инициирует взрыв указанного, по меньшей мере, одного заряда 6 взрывчатого вещества и распыление указанного, по меньшей мере, одного огнетушащего вещества 4.
Это распыление обеспечивает преимущество, состоящее в том, что оно образует облако огнетушащего вещества 4, что создает эффект мгновенного тушения пожара в трех измерениях.
Кроме того, согласно настоящему изобретению устройство 1 может характеризоваться разными вариантами своего осуществления.
Первая группа вариантов его осуществления согласно настоящему изобретению проиллюстрирована на фиг. 1-10 и 19-21.
В этих первых вариантах своего осуществления каждое устройство 1 содержит запальное устройство 8, которое представляет собой электрическое запальное устройство 8, также называемое запалом или электрическим запалом.
Обычно такой запал 8 обеспечивает возможность мгновенного воспламенения через линию электропитания.
Запал 8 обычно состоит из короткозамкнутого сопротивления, которое входит в контакт с шариком пиротехнической смеси.
Как показано на фиг. 7, запал 8 состоит из головки 81 капсюля-воспламенителя (например, содержащего гремучую ртуть), приваренной к двойному проводу 82. При коротком замыкании двойного провода 82 головка 81 капсюля-воспламенителя нагревается за счет эффекта Джоуля и достигает температуры самовоспламенения.
Головка 81 капсюля-воспламенителя может характеризоваться разными схемами расположения, обеспечивающими ее взаимодействие, по меньшей мере, с указанным одним зарядом 6 взрывчатого вещества:
- «прямой» схемой расположения, в которой головка 81 капсюля-воспламенителя располагается непосредственно в пределах указанного, по меньшей мере, одного заряда 6 взрывчатого вещества (см. фиг. 1, 5, 10 или 21); или
- «непрямой» схемой расположения, в которой головка 81 капсюля-воспламенителя взаимодействует с пиротехническим предохранителем 89, который соединяет указанную головку 81 капсюля-воспламенителя с указанным, по меньшей мере, одним зарядом 6 взрывчатого вещества (см. фиг. 8, 9, 19 и 20).
При «прямом» монтаже согласно первому варианту осуществления, который проиллюстрирован на фиг. 2, двойной провод 82 проходит радиально через корпус 2 и полость 3 таким образом, что он заканчивается внешним электрическим соединителем 83, соединяющим его с датчиком 9 ударов, снабженным стыкуемым электрическим соединителем 99.
Кроме того, при «прямом» монтаже согласно второму варианту осуществления, который проиллюстрирован на фиг. 5 и 6, двойной провод 82 проходит радиально через корпус 2 и полость 3 по всей длине трубки 84, которая отходит от датчика 9 ударов.
Эта трубка 84 характеризуется наличием наконечника 84а, эффективно заостренного для облегчения его введения, который снабжен окошком 85, в котором располагается головка 81 капсюля-воспламенителя.
Этот наконечник 84а должен быть размещен в пределах указанного, по меньшей мере, одного заряда 6 взрывчатого вещества, что эффективно обеспечивается путем его вдавливания в этот заряд. Пламя, создаваемое головкой 81 капсюля-воспламенителя, должно выходить через окошко 85.
При «непрямом» монтаже головка 81 капсюля-воспламенителя эффективно прикреплена к кольцевому участку 891 пиротехнического предохранителя 89.
Фиксация обеспечивается, например, посредством клейкого элемента 811 (например, клейкой прокладки), как это показано, к примеру, на фиг. 8.
В качестве альтернативы вогнутая нижняя поверхность 132 содержит отверстие 1321, в котором располагается головка 81 капсюля-воспламенителя (см. фиг. 19 и 20). Головка 81 капсюля-воспламенителя эффективно прикреплена к кольцевому участку 891 пиротехнического предохранителя. Фиксация головки 81 капсюля-воспламенителя на пиротехническом предохранителе 89 эффективно обеспечивается за счет установки запального устройства 8 на корпусе 2.
В этом случае обеспечивается преимущество, состоящее в том, что используется дополнительная прокладка 15, образующая «целевую метку» и дополнительно облегчающая позиционирование головки 81 капсюля-воспламенителя таким образом, чтобы она была обращена в сторону пиротехнического предохранителя 89.
Эта дополнительная прокладка 15 эффективно размещается между корпусом 2 и запальным устройством 8.
Дополнительная прокладка 15 обеспечивает преимущество, состоящее в том, что она выполнена из клейкой полимерной пленки.
Дополнительная прокладка 15, имеющая коронообразную форму, обеспечивает преимущество, состоящее в том, что она содержит:
- внутреннюю кромку 151, определяющую границы сквозного отверстия, которое выполнено таким образом, чтобы оно было обращено в сторону головки 81 капсюля-воспламенителя и пиротехнического предохранителя 89;
- нижнюю кромку 152, предпочтительно клейкую, которая плотно прилегает к корпусу 2;
- верхнюю кромку 153, предназначенную для приема вогнутой нижней поверхности 132 оболочки 13; и
- наружную кромку 154.
Для надлежащего позиционирования запального устройства 8 верхняя кромка 153 обеспечивает преимущество, состоящее в том, что она содержит метку, соответствующую контуру вогнутой нижней поверхности 132 оболочки 13. В качестве альтернативы контур наружной кромки 154 соответствует контуру вогнутой нижней поверхности 132 оболочки 13.
На практике дополнительная прокладка 15 прикреплена к корпусу 2 таким образом, что ее внутренняя кромка 151 охватывает часть пиротехнического предохранителя 89. Соответственно, запальное устройство 8 надлежащим образом располагается на корпусе 2, что обусловлено наличием дополнительной прокладки 15. Для этого, в зависимости от конкретной ситуации, клейкий элемент 811 на вогнутой нижней поверхности 132 оболочки 13 приклеивается к верхней кромке 153 дополнительной прокладки 15.
В этих первых вариантах своего осуществления датчик 9 ударов обеспечивает преимущество, состоящее в том, что он состоит из электрического модуля, соединенного с электрическим запальным устройством 8.
Под «электрическим модулем» понимается оборудование, содержащее электрическую цепь, которая представляет собой совокупность электрических и/или электронных компонентов.
В контексте настоящего документа, как это схематически показано на фиг. 7, 19 и 20, электрический модуль 9 обеспечивает преимущество, состоящее в том, что он содержит:
- источник 95 электропитания, например, аккумулятор или гальванический элемент, эффективно сопряженный с изоляционной пластиной 951, предназначенной для съема с целью инициирования подачи электропитания; и
- переключатель 96, который объединен с подвижной частью 91.
Этот электрический модуль 9 должен быть электрически соединен с электрическим запальным устройством 8.
Таким образом, подвижная часть 91 выполнена с возможностью перемещения между двумя положениями:
- исходным положением (сплошная линия), с ограничением движения, в котором переключатель 96 находится в разомкнутом состоянии, и на запальное устройство 8 не подается питание от источника 95 электропитания; и
- конечным положением (прерывистая линия), без движения, в котором переключатель 96 находится в замкнутом состоянии, и на запальное устройство 8 подается питание от источника 95 электропитания.
В исходном положении или исходном состоянии металлическая часть 931 (в данном случае шарик 931) зажата, с одной стороны, между подвижной частью 91 переключателя 96, в исходном положении и в разомкнутом состоянии, и, с другой стороны, лицевой стороной опорной части 94.
В альтернативном варианте (не показан) вместо подвижной части 91 электрический модуль 9 может содержать датчик типа акселерометра, предпочтительно акселерометра без сервоуправления, который выбирается из числа датчиков, перечисленных ниже, что обеспечивает определенное преимущество:
- пьезоэлектрический детекторный акселерометр;
- пьезорезистивный детекторный акселерометр;
- емкостный детекторный акселерометр.
В этом случае электрический модуль 9 также обеспечивает преимущество, состоящее в том, что он содержит:
- источник 95 электропитания, например, аккумулятор или гальванический элемент; и
- средство управления (например, микроконтроллер), взаимодействующее с датчиком типа акселерометра.
Индикатор 10 состояния обеспечивает преимущество, состоящее в том, что он выполнен с возможностью испускания сигнала (звукового, визуального или иного), когда датчик 9 ударов находится в активированном состоянии.
Указанный электрический модуль 9 интегрирует для этой цели, например, звуковые средства (гудок), визуальные средства (LED) и прочие средства.
Индикатор 10 состояния, в зависимости от конкретной ситуации, выполнен с возможностью испускания сигнала, когда подвижная часть 91 находится в своем конечном положении (переключатель 96 находится в замкнутом состоянии).
Таким образом, этот индикатор 10 состояния выполнен с возможностью предотвращения соединения датчика 9 ударов, находящегося в активированном состоянии, с запальным устройством 8, что несет риск его мгновенного переключения в активное состояние.
В альтернативном варианте или дополнительно при наличии временной задержки такой индикатор 10 состояния после удара может выдать соответствующий сигнал для предупреждения операторов о предстоящем взрыве, инициирующем распыление указанного огнетушащего вещества 4.
В альтернативном варианте или дополнительно индикатор 10 состояния может быть также полезен для локализации и восстановления запального устройства 8 после взрыва.
В контексте настоящего документа элемент 11 капсюля-воспламенителя состоит из чеки 111, которая проходит, в зависимости от конкретной ситуации, через металлическую часть 931 или даже опорную часть 94, например, таким образом, что она проходит между опорной частью 94 и подвижной частью 91.
Следовательно, в этой первой группе возможны самые разные конфигурации, которые проиллюстрированы на следующих фигурах:
- на фиг. 1 и 2, с одной стороны, и на фиг. 5 и 6, с другой стороны, представлен датчик 9 ударов, внешний по отношению к указанной внутренней полости 3, располагающийся на поверхности корпуса 2, с головкой 81 капсюля-воспламенителя (внутренней), расположенной непосредственно внутри указанного, по меньшей мере, одного заряда 6 взрывчатого вещества;
- на фиг. 8, 9, 19 и 20 представлен датчик 9 ударов, внешний по отношению к указанной внутренней полости 3, располагающийся на поверхности корпуса 2, с наружной головкой капсюля-воспламенителя, которая взаимодействует с пиротехническим предохранителем 89;
- на фиг. 10 и 21 представлен датчик 9 ударов, внутренний по отношению к указанной внутренней полости 3, с головкой 81 капсюля-воспламенителя (внутренней), расположенной непосредственно внутри указанного, по меньшей мере, одного заряда 6 взрывчатого вещества;
- на фиг. 17 представлен датчик 9 ударов, внешний по отношению к указанной внутренней полости 3, располагающийся на удалении от корпуса 2, с головкой 81 капсюля-воспламенителя (внутренней), расположенной непосредственно внутри указанного, по меньшей мере, одного заряда 6 взрывчатого вещества; при этом датчик 9 ударов прикреплен к корпусу 2, в данном случае через гибкую связь, например, образованную двойным проводом 82.
В частности, на фиг. 10 представлен датчик 9 ударов, полностью внутренний по отношению к указанной внутренней полости 3, с головкой 81 капсюля-воспламенителя (внутренней), расположенной непосредственно внутри указанного, по меньшей мере, одного заряда 6 взрывчатого вещества.
На фиг. 21 представлен датчик 9 ударов, частично внутренний по отношению к указанной внутренней полости 3 (часть ее оболочки 13 доступна через корпус 2), с головкой 81 капсюля-воспламенителя (внутренней), расположенной непосредственно внутри указанного, по меньшей мере, одного заряда 6 взрывчатого вещества.
Как показано на фиг. 21, оболочка 13 обеспечивает преимущество, состоящее в том, что она включает в себя сферический колпачок 131, который образует непрерывную часть корпуса 2 устройства 1 (радиус сферического колпачка 131 идентичен радиусу корпуса 2).
В этом варианте своего осуществления корпус 2 обеспечивает преимущество, состоящее в том, что он содержит сквозное отверстие, выполненное с возможностью вставки через него (предпочтительно с зазором) датчика 9 ударов. Таким образом, это сквозное отверстие эффективно закрыто надставленным датчиком 9 ударов.
Корпус 2 обеспечивает преимущество, состоящее в том, что он содержит второе сквозное отверстие, облегчающее заполнение корпуса 2 огнетушащим веществом 4. Это второе сквозное отверстие должно быть закрыто после заполнения, например, пробкой из полистирола.
Для этого корпус 2 обеспечивает преимущество, состоящее в том, что он содержит два полукорпуса (или полуоболочки или полусферы), которые идентичны друг другу, причем каждый из них содержит сквозное отверстие (на его верхней части, что является определенным преимуществом).
Эти два полукорпуса должны быть собраны воедино, образуя корпус 2 устройства 1.
На практике в этих двух вариантах осуществления предусмотрено, что после соударения металлическая часть 931 может быть, в зависимости от конкретной ситуации, выбита из своего исходного положения.
Таким образом, подвижная часть 91 может переместиться из своего исходного положения (сплошная линия), в котором переключатель 96 находится в разомкнутом состоянии, в свое конечное нерабочее положение (прерывистая линия), в котором переключатель 96 находится в замкнутом состоянии.
В качестве альтернативы и в зависимости от конкретной ситуации механический удар детектируется акселерометром.
Затем активированный датчик 9 ударов переводит запальное устройство 8 в его активное состояние: двойной провод 82 замыкается накоротко таким образом, что головка 81 капсюля-воспламенителя нагревается за счет эффекта Джоуля и достигает температуры самовоспламенения.
Головка 81 капсюля-воспламенителя инициирует взрыв указанного, по меньшей мере, одного заряда 6 взрывчатого вещества и распыление указанного, по меньшей мере, одного огнетушащего вещества 4:
- напрямую, когда головка 81 капсюля-воспламенителя расположена непосредственно в пределах указанного, по меньшей мере, одного заряда 6 взрывчатого вещества (см. фиг. 1, 5, 10 или 21); или
- опосредованно, когда головка 81 капсюля-воспламенителя взаимодействует с пиротехническим предохранителем 89, который соединяет между собой головку 81 капсюля-воспламенителя и указанный, по меньшей мере, один заряд 6 взрывчатого вещества (см. фиг. 8, 9, 19 или 20).
Вторая группа вариантов осуществления устройства согласно настоящему изобретению проиллюстрирована на фиг. 11-14.
В этих вторых вариантах своего осуществления устройство 1 содержит запальное устройство 8, которое представляет собой механическое запальное устройство 8.
Например, как это показано на фиг. 11, механическое запальное устройство 8 содержит:
- ударник 91, образующий подвижную часть 91;
- капсюль-воспламенитель 97, который должен пробиваться ударником 91, когда последний переключается из указанного исходного положения в указанное конечное положение (под действием упругого элемента 92 возврата); и
- по меньшей мере, один предохранитель 98, который должен воспламеняться капсюлем-воспламенителем 97, и который доходит до указанного, по меньшей мере, одного заряда 6 взрывчатого вещества (через указанный пиротехнический предохранитель 89, что является определенным преимуществом).
Предохранитель 98 обеспечивает преимущество, состоящее в том, что он располагается под запальным устройством 8 таким образом, что описанный выше пиротехнический предохранитель 89 должен закрываться спиральной частью. Эта особая форма предохранителя 98 предназначена для оптимизации пиротехнического предохранителя 89.
В контексте настоящего изобретения фиксирующее приспособление 93 предпочтительно встроено между ударником 91 и капсюлем-воспламенителем 97. Фиксирующее приспособление 93 в данном случае содержит:
- описанную выше металлическую часть 931; и
- подвижный упор 932, взаимодействующий с упругим элементом 933 возврата.
Упор 932 выполнен с возможностью, с одной стороны, прижатия металлической части 931 к опорной части 94 и, с другой стороны, удержания подвижной части 91 в ее исходном положении.
Упор 932 может перемещаться между двумя крайними положениями, в данном случае - вдоль оси 932' перемещения, а именно между:
- выдвинутым положением (см. фиг. 11), которое фиксируется металлической частью 931, и в котором указанный упор 932 перекрывает траекторию движения подвижной части 91 с целью удержания последней в ее исходном положении; и
- убранным положением, которое достигается после выброса металлической части 931 и под действием упругого элемента 933 возврата, и в котором указанный упор 932 освобождает траекторию движения подвижной части 91 (ударника), чтобы обеспечить возможность ее переключения в конечное положение.
Таким образом, в выдвинутом положении металлическая часть 931 оказывается зажатой между упором 932 (в выдвинутом положении) и опорной частью 94.
Элемент 11 капсюля-воспламенителя в данном случае содержит:
- ударник 111, который проходит через металлическую часть 931 таким образом, что он оказывается между опорной частью 94 и подвижным упором 932; и
- пластину 112, образующую защитный экран, помещенный перед капсюлем-воспламенителем 97 и расположенный на траектории движения подвижной части 91.
И в данном случае также возможны разные схемы расположения (не носящие ограничительного характера).
На фиг. 11-16 представлен датчик 9 ударов, внешний по отношению к указанной внутренней полости 3 и располагающийся на поверхности корпуса 2, взаимодействующей с пиротехническим предохранителем 89.
В качестве альтернативного варианта, не носящего ограничительного характера, датчик 9 ударов также может быть внутренним по отношению к указанной внутренней полости 3.
На практике в этих вторых вариантах осуществления предусмотрено, что после соударения металлическая часть 931 выбивается из своего исходного положения.
После удаления металлической части 931 и под действием упругого элемента 933 возврата упор 932 переводится в свое убранное положение таким образом, что он не перекрывает траекторию движения подвижной части 91, что обеспечивает возможность ее переключения в конечное положение.
Таким образом, подвижная часть 91 может переместиться из своего исходного положения (сплошная линия) в свое конечное нерабочее положение (прерывистая линия), в котором она ударяет капсюль-воспламенитель 97, воспламеняющий предохранитель 98, что инициирует взрыв заряда 6 взрывчатого вещества (в данном случае через пиротехнический предохранитель 89).
Устройство 1 согласно настоящему изобретению обеспечивает преимущество, состоящее в том, что оно интегрировано в систему 20 пожаротушения (фиг. 18, 22 и 23).
Такая система 20 содержит:
- по меньшей мере, одно устройство 1 согласно настоящему изобретению; и
- по меньшей мере, один летательный аппарат 21, в качестве преимущества -беспилотный летательный аппарат.
Указанный, по меньшей мере, один летательный аппарат 21 содержит, по меньшей мере, один модуль 22 сброса, выполненный с возможностью приема, по меньшей мере, одного устройства 1 согласно настоящему изобретению и сброса указанного, по меньшей мере, одного устройства 1 в огонь.
Модуль 22 сброса обеспечивает преимущество, состоящее в том, что с этой целью для него предусмотрено два положения:
- транспортное положение (закрытое) для хранения, по меньшей мере, одного устройства 1; и
- положение сброса (открытое) для сброса, по меньшей мере, одного устройства 1.
Такой модуль 22 сброса содержит, например, корпус 221, сопряженный с подвижным запирающим приспособлением 222 (см. фиг. 18 и 23).
Переключение между этими двумя положениями осуществляется, например, дистанционно оператором.
Согласно одному из вариантов осуществления настоящего изобретения, который проиллюстрирован на фиг. 23, подвижное запирающее приспособление 222 содержит, например, запирающий элемент 2221 (например, планку), который проходит через нижнее отверстие корпуса 211 таким образом, что устройство 1 удерживается в транспортном положении.
Этот запирающий элемент 2221 взаимодействует с приводным механизмом 2222 (например, серводвигателем) для регулирования положения запирающего элемента 2221, выбираемого между транспортным положением (см. фиг. 23) и положением сброса (не показано).
В данном случае планка 2221 характеризуется наличием:
- неподвижного конца, прикрепленного к раме летательного аппарата 21; и
- подвижного конца, взаимодействующего с приводным механизмом 2222.
Согласно одному из вариантов осуществления настоящего изобретения, обеспечивающему преимущество, указанный, по меньшей мере, один летательный аппарат 21 также включает в себя средство 23 активации, предусмотренное для управления элементом 11 капсюля-воспламенителя устройства 1 согласно настоящему изобретению перед сбросом последнего (см. фиг. 22).
Средство 23 активации содержит, например, приводной механизм 231 (например, серводвигатель), который соединен с элементом 11 капсюля-воспламенителя через связующий элемент 232.
В качестве преимущества средство 23 активации выполнено с возможностью удаления/разрушения элемента 11 капсюля-воспламенителя непосредственно перед срабатыванием модуля 22 сброса, что позволяет переключить запальное устройство 8 в активное состояние после детектирования механического удара.
На практике такая система 20 позволяет реализовать способ пожаротушения.
Этот способ предусматривает стадию сброса, по меньшей мере, одного устройства 1 согласно настоящему изобретению с летательного аппарата 21, который в качестве преимущества находится над местом пожара, который должен быть потушен.
Для этого, по меньшей мере, один модуль 22 сброса переводится из транспортного положения в положение его сброса.
Как было указано выше, когда после сброса устройство 1 ударяется о поверхность, срабатывает (мгновенно) указанный, по меньшей мере, один заряд 6 взрывчатого вещества, что инициирует (немедленное) распыление указанного, по меньшей мере, одного огнетушащего вещества 4.
Разумеется, в заявленное изобретение могут быть внесены различные модификации, входящие в объем прилагаемой формулы.
| название | год | авторы | номер документа |
|---|---|---|---|
| АВТОМАТИЧЕСКИЙ ОГНЕТУШИТЕЛЬ ИМПУЛЬСНОГО ДЕЙСТВИЯ | 1993 |
|
RU2064803C1 |
| ОГНЕТУШИТЕЛЬ | 1993 |
|
RU2078601C1 |
| СПОСОБ ПОЖАРОТУШЕНИЯ | 2020 |
|
RU2742430C1 |
| СИСТЕМА ОБЪЕМНОГО ПОЖАРОТУШЕНИЯ И УСТРОЙСТВО ПОЖАРОТУШЕНИЯ | 1997 |
|
RU2116091C1 |
| СПОСОБ ТУШЕНИЯ ОЧАГА ПОЖАРА ЗАБРАСЫВАНИЕМ ОГНЕТУШАЩЕГО СРЕДСТВА В ОЧАГ ПОЖАРА (ВАРИАНТЫ) | 2023 |
|
RU2816303C1 |
| Ручная граната нелетального действия | 2023 |
|
RU2814677C1 |
| Огнегасящий снаряд | 2020 |
|
RU2740594C1 |
| СПОСОБ ПОЖАРОТУШЕНИЯ (ЕГО ВАРИАНТ), УСТРОЙСТВО ДЛЯ ЕГО ОСУЩЕСТВЛЕНИЯ (ЕГО ВАРИАНТЫ) И СИСТЕМА ПОЖАРОТУШЕНИЯ | 1997 |
|
RU2118551C1 |
| ДЕТОНИРУЮЩЕЕ УСТРОЙСТВО МЕХАНИЧЕСКОГО ВЗРЫВАТЕЛЯ | 1999 |
|
RU2153147C1 |
| АВТОНОМНОЕ УСТРОЙСТВО ПОЖАРОТУШЕНИЯ | 2016 |
|
RU2617624C1 |
Группа изобретений относится к области пожаротушения, а именно к устройству для пожаротушения, к системе пожаротушения, содержащей такое устройство, к способу пожаротушения, предусматривающему стадию сброса по меньшей мере одного указанного устройства пожаротушения, и к детонатору для устройства для пожаротушения. При этом устройство для пожаротушения содержит корпус, который определяет границы внутренней полости, в которой располагается по меньшей мере одно диспергируемое огнетушащее вещество; и пиротехническое средство, пригодное для инициирования взрыва, вызывающего разрыв указанного корпуса и распыление указанного диспергируемого огнетушащего вещества; при этом указанное пиротехническое средство содержит: по меньшей мере один заряд взрывчатого вещества, порождающий указанный взрыв; и детонатор, вызывающий указанный взрыв указанного по меньшей мере одного заряда взрывчатого вещества. При этом указанный детонатор содержит: запальное устройство, выполненное с возможностью инициирования указанного взрыва, указанного по меньшей мере одного заряда взрывчатого вещества, находясь в активном состоянии; и датчик ударов, выполненный с возможностью детектирования механического удара, воспринимаемого указанным устройством для пожаротушения, и перевода указанного запального устройства в указанное активное состояние после детектирования указанного механического удара. При этом запальное устройство представляет собой электрическое запальное устройство и датчик ударов представляет собой электрический модуль, соединенный с указанным электрическим запальным устройством, электрический модуль содержит: датчик типа акселерометра, источник электропитания и средство управления, взаимодействующее с датчиком типа акселерометра, и электрическое запальное устройство включает в себя головку капсюля-воспламенителя, которая взаимодействует с указанным по меньшей мере одним зарядом взрывчатого вещества опосредованно через пиротехнический предохранитель, который соединяет между собой указанную головку капсюля-воспламенителя и указанный по меньшей мере один заряд взрывчатого вещества, или напрямую в пределах указанного по меньшей мере одного заряда взрывчатого вещества. 3 н. и 4 з.п. ф-лы, 23 ил.
1. Устройство (1) для пожаротушения, содержащее:
- корпус (2), который определяет границы внутренней полости (3), в которой располагается по меньшей мере одно диспергируемое огнетушащее вещество (4); и
- пиротехническое средство (5), пригодное для инициирования взрыва, вызывающего разрыв указанного корпуса (2) и распыление указанного диспергируемого огнетушащего вещества (4);
при этом указанное пиротехническое средство (5) содержит:
- по меньшей мере один заряд (6) взрывчатого вещества, порождающий указанный взрыв; и
- детонатор (7), вызывающий указанный взрыв указанного по меньшей мере одного заряда (6) взрывчатого вещества;
при этом указанный детонатор (7) содержит:
- запальное устройство (8), выполненное с возможностью инициирования указанного взрыва указанного по меньшей мере одного заряда (6) взрывчатого вещества, находясь в активном состоянии; и
- датчик (9) ударов, выполненный с возможностью детектирования механического удара, воспринимаемого указанным устройством (1) для пожаротушения, и перевода указанного запального устройства (8) в указанное активное состояние после детектирования указанного механического удара,
отличающееся тем, что запальное устройство (8) представляет собой электрическое запальное устройство (8) и датчик (9) ударов представляет собой электрический модуль (9), соединенный с указанным электрическим запальным устройством (8), электрический модуль (9) содержит:
- датчик типа акселерометра,
- источник (95) электропитания, и
- средство управления, взаимодействующее с датчиком типа акселерометра, и электрическое запальное устройство (8) включает в себя головку (81) капсюля-воспламенителя, которая взаимодействует с указанным по меньшей мере одним зарядом (6) взрывчатого вещества:
- опосредованно через пиротехнический предохранитель (89), который соединяет между собой указанную головку (81) капсюля-воспламенителя и указанный по меньшей мере один заряд (6) взрывчатого вещества, или
- напрямую в пределах указанного по меньшей мере одного заряда (6) взрывчатого вещества.
2. Устройство (1) для пожаротушения по п. 1, в котором детонатор (7) содержит индикатор (10) состояния, выполненный с возможностью индицирования активированного состояния датчика (9) ударов.
3. Устройство (1) для пожаротушения по п. 1, в котором датчик (9) ударов выполнен:
- внешним по отношению к указанной внутренней полости (3), располагаясь на поверхности корпуса (2) или на удалении от корпуса (2); или
- внутренним по отношению к указанной внутренней полости (3).
4. Устройство (1) для пожаротушения по п. 1, в котором указанный детонатор (7) содержит элемент (11) капсюля-воспламенителя, который должен быть отрегулирован таким образом, чтобы обеспечивать возможность переключения указанного запального устройства (8) в указанное активное состояние после детектирования указанного механического удара.
5. Система пожаротушения, содержащая:
- по меньшей мере одно устройство (1) для пожаротушения по любому из предшествующих пп. 1-4; и
- по меньшей мере один летательный аппарат (21), содержащий по меньшей мере один модуль (22) сброса, выполненный с возможностью размещения в нем указанного по меньшей мере одного устройства (1) для пожаротушения для сброса указанного по меньшей мере одного устройства (1) для пожаротушения на место пожара.
6. Способ пожаротушения, предусматривающий стадию сброса по меньшей мере одного устройства (1) для пожаротушения по любому из предшествующих пп. 1-4 с летательного аппарата (21) таким образом, чтобы по меньшей мере один заряд (6) взрывчатого вещества активировался, когда указанное устройство (1) для пожаротушения ударяется о поверхность после его сброса.
7. Детонатор (7) для устройства (1) для пожаротушения по любому из предшествующих пп. 1-4, содержащий:
- запальное устройство (8), выполненное с возможностью вызова взрыва по меньшей мере одного заряда (6) взрывчатого вещества, находясь в активном состоянии; и
- датчик (9) ударов, выполненный с возможностью детектирования механического удара, воспринимаемого указанным устройством (1) для пожаротушения, и перевода указанного запального устройства (8) в указанное активное состояние после детектирования указанного механического удара,
отличающийся тем, что запальное устройство (8) представляет собой электрическое запальное устройство (8), и датчик (9) ударов представляет собой электрический модуль (9), соединенный с указанным электрическим запальным устройством (8),
электрический модуль (9) содержит:
- датчик типа акселерометра,
- источник (95) электропитания, и
- средство управления, взаимодействующее с датчиком типа акселерометра, и электрическое запальное устройство (8) включает в себя головку (81) капсюля-воспламенителя, которая взаимодействует с указанным по меньшей мере одним зарядом (6) взрывчатого вещества:
- опосредованно через пиротехнический предохранитель (89), который соединяет между собой указанную головку (81) капсюля-воспламенителя и указанный по меньшей мере один заряд (6) взрывчатого вещества, или
- напрямую в пределах указанного по меньшей мере одного заряда (6) взрывчатого вещества.
| US 4964469 A1, 23.10.1990 | |||
| СПОСОБ ЛОКАЛИЗАЦИИ И/ИЛИ ТУШЕНИЯ ПОЖАРОВ И УСТРОЙСТВО ДЛЯ ЕГО РЕАЛИЗАЦИИ | 1997 |
|
RU2111032C1 |
| CN 207734492 U, 17.08.2018 | |||
| УСТРОЙСТВО ДЛЯ ТУШЕНИЯ ЛЕСНЫХ ПОЖАРОВ | 2013 |
|
RU2536240C1 |
| Пресс для изготовления труб с внутренними продольными ребрами | 1957 |
|
SU111005A1 |
| СПОСОБ ОБРАБОТКИ ИЗДЕЛИЙ СЛОЖНОЙ КОНФИГУРАЦИИ ИЗ ДИСПЕРСИОННО-ТВЕРДЕЮЩИХ СПЛАВОВ НА НИКЕЛЕВОЙ ОСНОВЕ | 2005 |
|
RU2288295C1 |
| US 5050683 A1, 24.09.1991 | |||
| US 6796382 B2, 28.09.2004 | |||
| ПОРОШКОВЫЙ ОГНЕТУШИТЕЛЬ | 1995 |
|
RU2082472C1 |
| Перекатывающаяся диафрагма | 1974 |
|
SU572571A1 |
| Устройство для охлаждения и газирования воды | 1957 |
|
SU113155A1 |
Авторы
Даты
2025-02-25—Публикация
2021-03-25—Подача