КОМБАЙН СВЕКЛОУБОРОЧНЫЙ Российский патент 2025 года по МПК A01D25/04 A01D33/08 A01B61/04 

Описание патента на изобретение RU2835638C1

Область техники, к которой относится изобретение

Заявленное изобретение относится к сельскохозяйственному машиностроению, а именно к прицепному свеклоуборочному комбайну, который позволяет собирать корнеплоды с любой глубины при сохранении высокого качества очистки в любых погодных условиях и на любых типах почв.

Уровень техники

Из уровня техники известен свеклоуборочный комбайн, который содержит раму, установленные на ней рабочие органы, в том числе ботворез, шнек для удаления ботвы, дообрезчик, копачи, валкоукладчик и битер для передачи свеклы от копачей к валкоукладчику. На раме установлены кронштейны для навески комбайна на энергетическое средство. Комбайн также содержит передние и задние опорные колеса. Комбайн снабжен ботвопроводом, установленным между ботворезом и шнеком, для удаления ботвы (BY 17186 C1, опубл. 30.06.2013).

Из документа US 2944611 A, опубл. 12.07.1960, известен свеклоуборочный комбайн, содержащий очиститель от грязи и комков земли, в котором передняя часть комбайна может находиться примерно на нужной высоте по отношению к тягачу свеклоуборочного комбайна.

Из документа JP H11225526 A, опубл. 24.08.1999, известен двухрядный свеклоуборочный комбайн под передней частью рамы установлен верхний транспортёр для буксировки трактором, а над нижним транспортёром для копания гребней установлен подрамник, таким образом, что его задняя торцевая часть прикреплена к обеим сторонам средней части нижней конвейерной рамы и может быть вертикально выдвинута вперед под действием гидравлики.

Из документа US 2015149051 A1, опубл. 28.05.2015, известен свеклоуборочный комбайн, буксируемый трактором и укладывающий собранную сахарную свеклу через конвейерную стрелу в бункер грузовика или прицепа. Оператор управляет различными операциями комбайна с помощью электронных и гидравлических линий управления или беспроводными средствами из кабины трактора. Комбайн, трактор и бункер перемещаются в общем направлении движения по полю культур, подлежащих уборке. Урожай, собранный уборочным узлом, таким как ряд колес копателя, затем подается на приемный узел, такой как узел захватного ролика.

Раскрытие сущности изобретения

Задачей заявленного изобретения является расширение арсенала известных комбайнов свеклоуборочных.

Технический результат заключается в реализации назначения комбайна свеклоуборочного.

Технический результат достигается при реализации комбайна свеклоуборочного, прицепного типа, буксируемого трактором и укладывающего собранную свеклу через конвейерную стрелу в кузов грузового автомобиля или прицеп трактора для дальнейшей транспортировки, содержащего копир, сцепку, накопительный бункер, вертикальный транспортёр, левый и правый борта, опорную стойку, гидравлический бак, задние колеса и раму с рабочими органами, такими как:

- битерный вал с лопастями, предназначенными для подачи корнеплодов свеклы с дисковых копачей на транспортёр-очиститель, при этом лопасти выполнены регулируемыми за счет перемещения кронштейнов вдоль битерного вала относительно друг друга;

- копачи выполнены дисковыми с резиновыми амортизаторами, для перемещения вверх при ударе о каменистую почву, копачи выполнены с возможностью регулировки их зазора защемления за счет применения шайбы, а ступица копача установлена на двух конических подшипниках, при этом корпус ступицы с внутренней стороны закрыт манжетой, с наружной стороны - металлической крышкой с уплотнительным резиновым кольцом;

- два очистителя: транспортёр-очиститель и шнековый очиститель, привод которых осуществляется через одноступенчатый конический редуктор;

при этом транспортёр-очиститель, состоит из нескольких параллельных рядов крючковых цепей, а шнековый очиститель, состоит из гладких и шнековых вальцов, гладкие вальцы выполнены с возможностью регулировки по вертикали при помощи болтов с проушиной и горизонтали путем перемещения опор по продольным пазам, а шнековые вальцы выполнены с возможностью установки на приводные шкивы большего и меньшего диаметра, причем приводные шкивы шнековых вальцов устанавливаются в подвижную раму при помощи цанговых зажимов, а для возможности выравнивания горизонтального положения комбайна задние стойки комбайна выполнены регулируемыми по вертикали.

В частном случае выполнения ступицы задних колес комбайна свеклоуборочного установлены на двух конических подшипниках.

Копачи выполнены с возможностью регулировки захвата земли, для этого на них при помощи болтов крепят дополнительные стальные накладки.

Комбайн свеклоуборочный содержит гидроавтомат вождения по рядкам.

Прицепное устройство должно выдерживать вертикальную нагрузку 3600 кг.

Регулировка по вертикали задних стоек осуществляется за счет крепежных отверстий стоек, расположенных на разной высоте.

Краткое описание чертежей

Заявленное изобретение поясняется представленными чертежами, где на фиг. 1, 2 представлен общий вид комбайна свеклоуборочного; на фиг. 3 представлена рама комбайна свеклоуборочного с рабочими органами; на фиг. 4 представлен битерный вал с лопастями и кронштейнами; на фиг. 5, 6 представлены копачи в сборе; на фиг. 7 представлен вид копачей в разрезе, с конструктивным выполнением ступицы; на фиг. 8 представлены копачи с шайбой; на фиг. 9 представлены копачи с прокладкой; на фиг. 10 представлен транспортёр-очиститель; на фиг. 11 представлены очистители: транспортёр-очиститель и шнековый очиститель; на фиг. 12 представлена рама с элементами регулировки шнекового очистителя; на фиг. 13, 14 представлен одноступенчатый конический редуктор в разрезе, на фиг. 15 представлен цанговый зажим, приводного шкива шнекового вальца, на фиг. 16 представлен разрез ступицы задних колес комбайна; на фиг. 17 представлены накладки для копачей.

Осуществление изобретения

Конструкция комбайна свеклоуборочного позволяет оператору наблюдать за копачами или шнековым очистителем, не выходя из кабины комбайна.

Хранение и эффективность переработки собранной свеклы, за счет получения чистой свеклы играет очень важную роль в процессе сбора урожая. Для этого в заявленном комбайне свеклоуборочном используется крючковая цепь транспортёра очистителя, которая устанавливается на комбайн, легко регулируется в зависимости от степени загрязнения свеклы.

Комбайн свеклоуборочный (фиг. 1, 2), прицепного типа, содержит копач 1 и раму 2 с рабочими органами, копир 3, задние колеса 4, сцепку 5, накопительный бункер 6, вертикальный транспортёр 7, левый и правый борта 8, гидравлический бак 9 копа, опорную стойку 10.

На раме 2 (фиг. 3) расположены рабочие органы, такие как битерный вал 11 с лопастями 12, очистители: транспортёр-очиститель 13 и шнековый очиститель 14, копачи 1.

С целью повышения прочности рама 2 комбайна изготовляется из стали 09Г2С. Элементы комбайна, выполненные из стали 09Г2С, отлично переносят повышенные нагрузки как силовые, так и механические, в том числе резкие перепады температуры. Допустимый диапазон от минус 70°С до плюс 45°С.

Битерный вал 11 (фиг. 4) выполнен с лопастями 12 и кронштейнами 16, предназначенными для подачи корнеплодов свеклы с копачей на транспортёр-очиститель 13. Лопасти 12 выполнены регулируемыми за счет перемещения кронштейнов вдоль битерного вала 11 относительно друг друга, а именно кронштейны 16 раздвигаются или сдвигаются относительно друг друга. Битерный вал 11 выполнен со шпонкой 17, предназначенной для крепления в раме 2.

Лопасти 12 подают корнеплоды свеклы с копачей 1 на транспортёр-очиститель 13.

Лопасти 12 следует опустить вниз между копачами 1 настолько, чтобы они перемещали корнеплоды на цепь. Битерный вал 11 с лопастями 12 перемещается по вертикали путем вращения гаек, которые крепят битерный вал 11 к раме 2.

Комбайн свеклоуборочный оборудован копачами 1 (фиг. 5) как со стальными распорными трубками 18 (на чертеже не показаны), которые надежно удерживают копач в положении, обеспечивающем копку при обычных почвенных условиях, так и дополнительным резиновым демпфером 19 для использования на каменистом грунте. Резиновый демпфер 19 сжимается, когда колёса ударяются о большой камень, и позволяет узлу перемещаться вверх, минимизируют повреждение колеса.

Копачи в сборе (фиг. 6) содержат угольник крепления 20, в котором установлена ось 21 для крепления подвески 22. Между угольником крепления 20 и подвеской 22 установлен демпфер 19. Демпфер 19 является сборным и представляет собой буфер 23, расположенный между крышками 24 демпфера соединенными болтом 25. На подвеске 22 установлены диски копачей 26 со ступицами 27 и ромашками копачей 28, закрепленных посредством гаек 29 и болтов 30. Дополнительно в креплении между болтом 30 и гайкой 29 могут быть использованы шайбы (на чертеже не показаны).

Ступица 27 (фиг. 7) посажена на ось 29 посредством конических подшипников 30, 31. Корпус ступицы с внутренней стороны закрыт манжетой 32, а с наружной металлической крышкой 33 с уплотнительными кольцами 34, 35. Данная конструкция минимизирует вероятность попадания внутрь ступицы пыли и влаги, что в совокупности с высокой грузоподъемностью конических подшипников, значительно повышает срок службы узла. В ступице 27 установлена масленка, что позволяет осуществлять смазку ступицы без ее разборки.

Глубина копки варьируется в зависимости от состояния почвы и размеров культуры. 76 мм - это приемлемая глубина. Необходимую глубину копки лучше всего определять путём проверки глубины в нескольких местах после уборки 30 метров. Хотя 76 мм - это начальная глубина, следует применять ту наименьшую из возможных глубину, при которой копачи выкапывают весь корнеплод. Более мелкая копка также продлевает срок службы комбайна.

Зазор зоны защемления должен быть отрегулирован так, чтобы сделать возможной наиболее мелкую копку. Регулировки зоны защемления выполняются путём добавления или снятия шайб 36 (фиг. 8).

Положение зоны защемления можно регулировать прокладкой 37 на стойке копачей, например, в условиях влажной почвы зону защемления следует сместить вперед путём добавления прокладок 37 на стойке, при сухой почве, если хвосты корнеплодов обламываются, зону защемления следует сместить назад, сняв прокладки 37 со стойки копачей (фиг. 9).

Для того чтобы копачи 1 захватывали больше земли, на них при помощи болтов можно прикрепить дополнительные накладки - ромашки копачей 28 (фиг. 6). Это помогает снизить повреждаемость корнеплодов при очень сухой почве и потерю мелких корнеплодов, которые выпадают между спицами дисков. Накладки изготавливаются из стали 35.

Транспортёр-очиститель 13 состоит из нескольких параллельных рядов крючковых цепей 38 (фиг. 10). Транспортёр-очиститель - это первая система, которая удаляет с корнеплодов грязь, комья земли и мусор.

Шнековый очиститель 14 (фиг. 3), выполняет на свеклоуборочном комбайне большую часть работы по очистке корнеплодов. Снабженные спиралью шнековые вальцы 39 с силой толкают корнеплоды, которые постоянно подпрыгивают, переворачиваются, так что весь корнеплод очищается. Шнековые вальцы 39 (фиг. 11) также тщательно удаляют грязь и разбивают комки земли. Гладкие вальцы 40 вращаются быстрее, чем шнековые вальцы 39 и измельчают грязь от корнеплодов и всякий мусор. Более быстрое вращение гладких вальцов 40 осуществляется за счет разного диаметра приводных шкивов, а именно за счет меньшего диаметра приводных шкивов.

Каждый снабженный спиралью шнековый валец 39 направляет корнеплоды свеклы к середине и к хвостовой части комбайна. Спираль 41, приваренная к вальцам, толкает корнеплоды, чтобы те постоянно двигались на шнековом очистителе 14 (фиг. 3). Таким образом, полностью используются возможности площади очистки, которая составляет 3,25 кв. м у 6-рядного комбайна.

Снабженные спиралью 41 шнековые вальцы 39 направляют корнеплоды свеклы к середине и назад, а затем сбрасывают их на задний транспортёр-очиститель. Зазор между вальцами регулируется в зависимости от условий. Гладкие вальцы 40 закреплены на пружинах, чтобы камни, которые попадают на очиститель, могли свободно проваливаться наружу.

Шнековый очиститель 14 имеет несколько регулировок (фиг. 12), которые позволяют оптимизировать процесс очистки и минимизировать повреждение корнеплодов. Можно изменять наклон шнекового очистителя 14 вверх или вниз, при помощи болтов с проушинами 42, 43, и тем самым увеличивать или уменьшать время очистки. Гладкие вальцы 40 можно регулировать по вертикали А, В, чтобы изменить время нахождения корнеплодов на шнековом очистителе 14, при помощи болтов с проушиной 44, 45 и горизонтали Б путем перемещения опор 46 по продольным пазам и крепления в нужном положении фиксирующим элементом 47. Их также можно двигать вперёд или назад для увеличения или уменьшения количества грязи, удаляемой в процессе очистки.

Заводская частота вращения вальцов 39, 40 шнекового очистителя составляет 550 об/мин. В наличии имеется приводной шкив большего диаметра, которых позволяет увеличить частоту вращения до 600 об/мин, если в условиях сырых почв на вальцах скапливается грязь. Также имеется и меньший шкив, предназначенный для снижения частоты вращения до 500 об/мин, что позволяет уменьшить повреждение корнеплодов в случае сухих почв.

Для достижения максимальной эффективности очистки в шнековом очистителе 14, рабочая частота вращения вала отбора мощности (далее - ВОМ) всегда должна составлять 1000 об/мин.

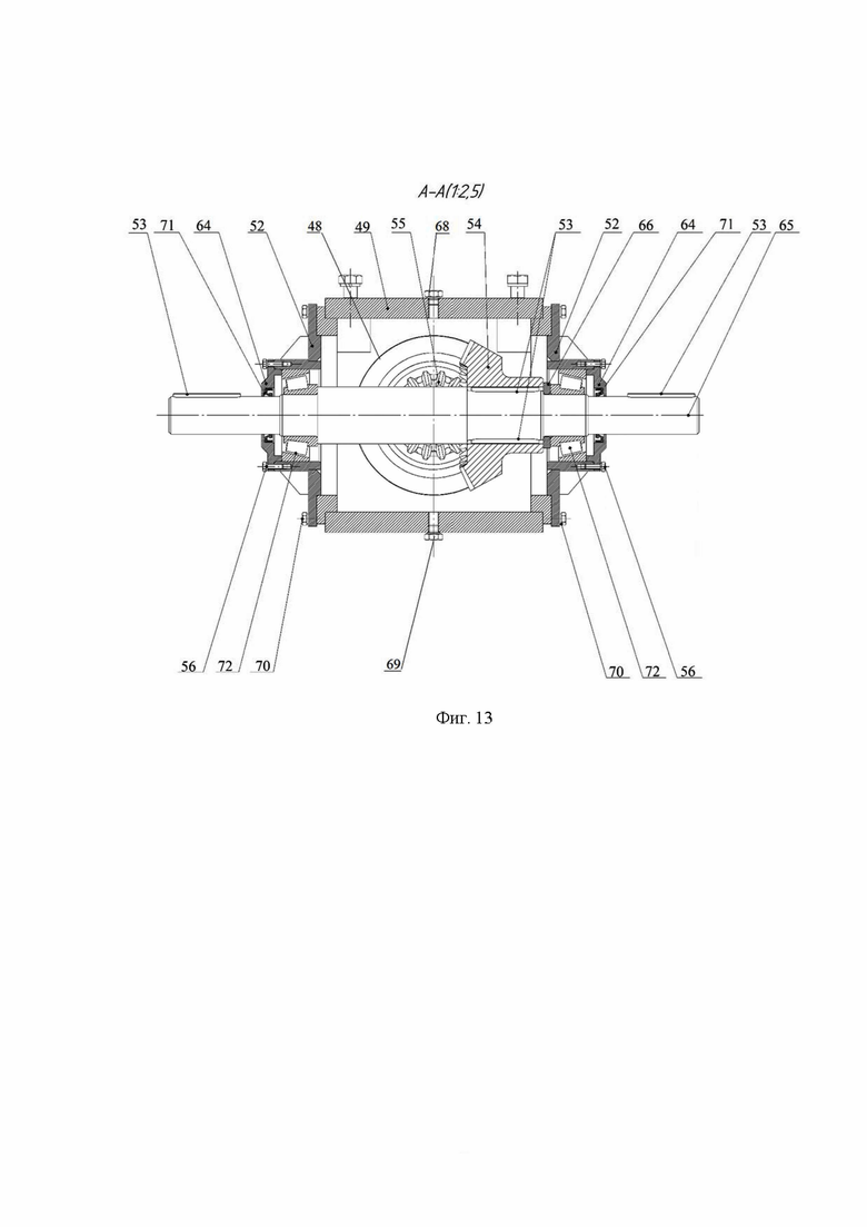
Привод транспортёра-очистителя 13 и шнекового очистителя 14 осуществляется через одноступенчатый конический редуктор 48 (фиг. 13, 14) и привод гидронасоса. Основная функция конического редуктора 48 заключается в изменении скорости передачи, и направления вращательного движения от ВОМ к очистителям 13, 14 за счет использования шестерен с разным количеством зубьев.

Одноступенчатый конический редуктор отличается:

• компактными размерами;

• простотой установки за счет небольшой массы;

• возможностью работы с различными уровнями и видами нагрузки;

• надежностью корпуса (изготавливается из стали 09Г2С).

Одноступенчатый конический редуктор включает корпус редуктора 49, выполненный из стали 09Г2С; корпус приводного вала 50, корпус вала гидронасоса 51; корпус подшипника ведомого вала 52; шпонка 53; колесо коническое 54; шестерня коническая 55; шайба 56; гайка 57; кольцо регулировочное 58; вал приводной 59; вал приводной гидронасоса 60; кольцо 61; крышка корпуса приводного вала 62; крышка корпуса вала гидронасоса 63; крышка 64; ведомый вал 65; кольцо дистанционное 66; втулка переходная 67; пробка верхняя 68, пробка сливная 69; болт 70, манжета 71; подшипник 72; гидронасос 73.

Приводные шкивы шнековых вальцов 39 устанавливаются в раму 2 при помощи цанговых зажимов. Цанговый зажим (фиг. 15) упрощает и ускоряет как сборку очистителей, так и их ремонт в полевых условиях. Зажим выполнен из пружинной стали 65Г. Для предотвращения самопроизвольного откручивания предусмотрена контргайка. Цанговый зажим содержит втулку цангового зажима 74; лепесток цанги зажимной 75; гайку накидную цанги зажимной 76; фланец присоединительный цанги 77; контргайку цанги зажимной 78.

Для работы в режиме минимальной мощности требуются следующие условия: мощность трактора 170 л.с./127 кВт для КС6 и 250 л.с./186,5 кВт для КС12. Масса трактора не менее 10000 кг для КС6 и не менее 17000 кг для КС12 (допускается использование дополнительных грузов, заполнение колес водой).

Прицепное устройство, выполненное в виде сцепки 5 должно выдерживать вертикальную нагрузку 3600 кг.

Если трактор оснащен 2-скоростным ВОМ, частоту вращения следует установить на 1000 об/мин.

Рабочая скорость свеклоуборочного комбайна должна составлять 5-8 км/час. Изменение скорости может сказаться на работе комбайна и потребовать дополнительных эксплуатационных регулировок.

По выезде в поле, перед началом копки свеклы, следует выполнить следующие действия:

1. Поднимите стрелу.

2. Установите стрелу на желаемой высоте, вставив стопорные штифты в одно из 3-х отверстий на поддерживающих стойках.

3. Опустите стрелу на штифты, чтобы снизить нагрузку на гидроцилиндры.

4. Переставьте селекторный переключатель в положение «элеватор».

Чтобы уборочный комбайн работал с оптимальной производительностью, в процессе уборки он должен сохранять горизонтальное положение слева направо и спереди назад. Для выравнивания комбайна свеклоуборочного задние стойки 10 регулируются по вертикали, за счет отверстий для крепления стоек, расположенных на разной высоте.

Ступицы 79 задних колес (фиг. 16) комбайна свеклоуборочного установлены на двух конических подшипниках 91. Главным достоинством конических подшипников является их способность выдерживать высокие нагрузки при одновременно малом трении. Это позволяет им обеспечивать плавную и надежную работу ступиц 79 задних колес даже при больших перегрузках. Благодаря этим свойствам конические подшипники обеспечивают долгий срок службы и надежность работы всей конструкции.

Ступица 79 задних колес включают ось колеса в сборе 80; кронштейн 81; крышку 82; кольцо 83; шайбы 84; гайки 85; чистик колес 86; болты 87; уплотнительное кольцо 88; манжеты 89; масленку 90; конические подшипники 91; шплинт 92; кольцо 93 (фиг. 16).

Другим важным преимуществом конических подшипников 91 является их возможность самоустанавливания. Это означает, что подшипники могут легко компенсировать любые незначительные отклонения в конструкции ступицы 79 или неравномерности распределения нагрузки. Это позволяет узлу работать более стабильно и эффективно.

Корпус ступицы 79 аналогично ступице копача 27 с внутренней стороны закрыт манжетой 89, с наружной стороны – металлической крышкой 82 с уплотнительным резиновым кольцом 88. Данная конструкция минимизирует вероятность попадания внутрь ступицы 79 пыли и влаги, что вкупе с высокой грузоподъемностью конических подшипников 91, значительно повышает срок службы узла. Дополнительно в металлической крышке установлена масленка 90, что позволяет осуществлять смазку ступицы без ее разборки.

Для того чтобы копачи 1 захватывали больше земли, на них при помощи болтов можно прикрепить дополнительные накладки (фиг. 17). Это помогает снизить повреждаемость корнеплодов при очень сухой почве и потерю мелких корнеплодов, которые выпадают между спицами дисков. Накладки содержат ступицу 94 и спицы 95 изготавливаются из стали 35.

На свеклоуборочных комбайнах установлен гидроавтомат вождения по рядкам. Это устройство автоматически направляет стойки копачей по рядкам убираемой свеклы. Копиры автомата вождения (А) должны быть отрегулированы так, чтобы зона контакта копира с почвой составляла 125 мм.

Далее корнеплоды попадают на задние вертикальные цепи, которые поднимают корнеплоды свеклы от шнекового очистителя в бункер, также называются задним очистителем. Внутренняя цепь обычно движется быстрее внешней, что создаёт условия для дополнительной очистки.

После заполнения бункера корнеплодами, они по стреле передаются в кузов грузового автомобиля или прицеп трактора для дальнейшей транспортировки.

Применяемая система очистки корнеплодов более эффективна по сравнению с роторной системой очистки аналога, а также меньше повреждает свеклу в процессе очистки.

На свеклоуборочных комбайнах установлен гидроавтомат вождения по рядкам. Это устройство автоматически направляет стойки копачей по рядкам убираемой свеклы, что минимизирует повреждение корнеплодов в процессе выкапывания.

Похожие патенты RU2835638C1

название год авторы номер документа
УСТРОЙСТВО ДЛЯ УДАЛЕНИЯ БОТВЫ КОРНЕПЛОДОВ НА КОРНЮ, ПРЕДПОЧТИТЕЛЬНО МОРКОВИ 2004
  • Колесников Ю.А.
  • Салдаев А.М.
  • Абидулин А.Н.
RU2266634C1
МНОГОРЯДНАЯ КОРНЕПЛОДОУБОРОЧНАЯ МАШИНА (ВАРИАНТЫ) 2010
  • Черняков Юрий Феликсович
RU2447639C1
Машина для уборки корнеплодов 1979
  • Вирджил Дин Хавердинк
  • Фред Конда Лайвсей
  • Джон Эдвард Мост
  • Генри Джеймс Ландри
SU1253420A3
КОРНЕКЛУБНЕУБОРОЧНЫЙ КОМБАЙН 2007
  • Мартынов Владимир Михайлович
  • Юхин Геннадий Петрович
  • Калимуллин Азамат Минигалеевич
  • Катков Алексей Анатольевич
RU2338365C1
Свеклоуборочный комбайн 1985
  • Шабельник Борис Петрович
  • Серебряков Игорь Николаевич
  • Татьянко Николай Васильевич
  • Покуса Алексей Александрович
  • Полупанов Виктор Николаевич
  • Мартынов Владимир Михайлович
  • Кузьминов Вадим Георгиевич
  • Долбиев Иван Серафимович
  • Масло Иван Павлович
  • Завгородний Анатолий Федорович
  • Петров Геннадий Дмитриевич
  • Бандура Алексей Иванович
SU1306505A1
КОМБАЙН ДЛЯ УБОРКИ КОРНЕКЛУБНЕПЛОДОВ 2004
  • Мартынов Владимир Михайлович
  • Юхин Геннадий Петрович
  • Калимуллин Азамат Минигалеевич
  • Катков Алексей Анатольевич
RU2272394C1
Шнековый валец очистителя корнеплодов от примесей 1986
  • Булгаков Владимир Михайлович
  • Васьков Василий Иванович
  • Староминский Александр Семенович
  • Булгакова Людмила Михайловна
SU1386085A1
Свеклоуборочная машина 1984
  • Конрад Хендлмайер
SU1443787A3
Картофелеуборочный комбайн 2015
  • Абезин Валентин Германович
  • Скрипкин Дмитрий Владимирович
  • Русяева Екатерина Тахировна
RU2609969C1
КОРНЕУБОРОЧНАЯ МАШИНА 2010
  • Жуков Константин Васильевич
  • Семыкин Владимир Анатольевич
  • Башкирев Анатолий Петрович
  • Климов Николай Семенович
  • Колбин Александр Андреевич
RU2447644C1

Иллюстрации к изобретению RU 2 835 638 C1

Реферат патента 2025 года КОМБАЙН СВЕКЛОУБОРОЧНЫЙ

Изобретение относится к сельскому хозяйству. Комбайн свеклоуборочный выполнен с возможностью буксировки трактором и укладывания собранной свеклы через конвейерную стрелу в кузов грузового автомобиля или прицеп трактора для дальнейшей транспортировки. Комбайн свеклоуборочный содержит копир, сцепку, накопительный бункер, вертикальный транспортёр, левый и правый борта, опорную стойку, гидравлический бак, задние колеса и раму с рабочими органами, такими как: битерный вал с лопастями, предназначенными для подачи корнеплодов свеклы с дисковых копачей на транспортёр-очиститель и выполненными регулируемыми за счет перемещения кронштейнов вдоль битерного вала относительно друг друга; копачи, выполненные дисковыми с резиновыми амортизаторами для перемещения вверх при ударе о каменистую почву и с возможностью регулировки их зазора защемления за счет применения шайбы, а ступица копача установлена на двух конических подшипниках, корпус ступицы с внутренней стороны закрыт манжетой, с наружной стороны - металлической крышкой с уплотнительным резиновым кольцом; два очистителя: транспортёр-очиститель и шнековый очиститель, привод которых осуществляется через одноступенчатый конический редуктор. Транспортёр-очиститель состоит из параллельных рядов крючковых цепей, а шнековый очиститель состоит из гладких и шнековых вальцов. Гладкие вальцы выполнены с возможностью регулировки по вертикали при помощи болтов с проушиной и горизонтали путем перемещения опор по продольным пазам. Шнековые вальцы выполнены с возможностью установки на приводные шкивы большего и меньшего диаметра. Приводные шкивы шнековых вальцов устанавливаются в подвижную раму при помощи цанговых зажимов, каждый из которых содержит втулку цангового зажима, лепесток, гайку накидную, фланец присоединительный и контргайку для предотвращения самопроизвольного откручивания. Для возможности выравнивания горизонтального положения комбайна задние стойки комбайна выполнены регулируемыми по вертикали. Обеспечивается реализация назначения комбайна свеклоуборочного. 5 з.п. ф-лы, 17 ил.

Формула изобретения RU 2 835 638 C1

1. Комбайн свеклоуборочный, буксируемый трактором и укладывающий собранную свеклу через конвейерную стрелу в кузов грузового автомобиля или прицеп трактора для дальнейшей транспортировки, содержащий копир, сцепку, накопительный бункер, вертикальный транспортёр, левый и правый борта, опорную стойку, гидравлический бак, задние колеса и раму с рабочими органами, такими как:

- битерный вал с лопастями, предназначенными для подачи корнеплодов свеклы с дисковых копачей на транспортёр-очиститель, при этом лопасти выполнены регулируемыми за счет перемещения кронштейнов вдоль битерного вала относительно друг друга;

- копачи, выполненные дисковыми с резиновыми амортизаторами для перемещения вверх при ударе о каменистую почву, причем копачи выполнены с возможностью регулировки их зазора защемления за счет применения шайбы, а ступица копача установлена на двух конических подшипниках, при этом корпус ступицы с внутренней стороны закрыт манжетой, с наружной стороны - металлической крышкой с уплотнительным резиновым кольцом;

- два очистителя: транспортёр-очиститель и шнековый очиститель, привод которых осуществляется через одноступенчатый конический редуктор;

при этом транспортёр-очиститель состоит из параллельных рядов крючковых цепей, а шнековый очиститель, состоит из гладких и шнековых вальцов, гладкие вальцы выполнены с возможностью регулировки по вертикали при помощи болтов с проушиной и горизонтали путем перемещения опор по продольным пазам, а шнековые вальцы выполнены с возможностью установки на приводные шкивы большего и меньшего диаметра, причем приводные шкивы шнековых вальцов устанавливаются в подвижную раму при помощи цанговых зажимов, каждый из которых содержит втулку цангового зажима, лепесток, гайку накидную, фланец присоединительный и контргайку для предотвращения самопроизвольного откручивания, а для возможности выравнивания горизонтального положения комбайна задние стойки комбайна выполнены регулируемыми по вертикали.

2. Комбайн по п.1, отличающийся тем, что ступицы задних колес комбайна свеклоуборочного установлены на двух конических подшипниках.

3. Комбайн по п.1, отличающийся тем, что копачи выполнены с возможностью регулировки захвата земли за счет дополнительных стальных накладок, которые крепят при помощи болтов.

4. Комбайн по п.1, отличающийся тем, что содержит гидроавтомат вождения по рядкам.

5. Комбайн по п.1, отличающийся тем, что сцепка должна выдерживать вертикальную нагрузку 3600 кг.

6. Комбайн по п.1, отличающийся тем, что регулировка по вертикали задних стоек осуществляется за счет крепежных отверстий стоек, расположенных на разной высоте.

Документы, цитированные в отчете о поиске Патент 2025 года RU2835638C1

Способ регенерирования сульфо-кислот, употребленных при гидролизе жиров 1924
  • Петров Г.С.
SU2021A1
Способ регенерирования сульфо-кислот, употребленных при гидролизе жиров 1924
  • Петров Г.С.
SU2021A1
Способ комбайновой уборки корнеплодов 1987
  • Черняков Феликс Аронович
  • Дудка Виктор Васильевич
  • Долбиев Иван Серафимович
SU1457840A1
US 5611292 A, 18.03.1997
Способ регенерирования сульфо-кислот, употребленных при гидролизе жиров 1924
  • Петров Г.С.
SU2021A1

RU 2 835 638 C1

Авторы

Хиникадзе Тенгиз Анзориевич

Даты

2025-03-03Публикация

2024-09-03Подача