ОБЛАСТЬ ТЕХНИКИ
[0001] Настоящее изобретение относится к средствам обмена данными для систем сигнализации на аэродроме. В частности, настоящее изобретение относится к цифровой трансформации систем аэродромной сигнализации и наблюдения.
УРОВЕНЬ ТЕХНИКИ
[0002] На аэродромах имеется большое количество устройств сигнализации, таких как осветительные устройства, которые могут быть расположены, в частности, на перронах, пандусах, рулежных дорожках или взлетно-посадочных полосах или вблизи них, или, например, на зданиях, таких как ангары, на башне управления воздушным движением (УВД) или на других объектах. Устройства сигнализации могут также включать в себя, например, радиолокационные устройства или радиомаяки.
[0003] Системы аэродромной сигнализации, содержащие блок управления и центральный блок обмена данными, способные осуществлять обмен данными с множеством устройств сигнализации, известны из EP 1523864 и EP 1606785. Устройства сигнализации соединены с блоком управления и центральным блоком обмена данными по линии подачи питания. Обмен данными между центральным блоком обмена данными и устройствами сигнализации осуществляется по линии подачи питания посредством методики мультиплексирования с ортогональным частотным разделением (OFDM), в которой поток данных разделяют по ряду узкополосных каналов в ограниченном диапазоне частот для уменьшения помех и перекрестных помех. Устройства сигнализации содержат на своем конце адресуемое шлюзовое устройство обмена данными, выполненное с возможностью обмена данными с центральным блоком обмена данными. Передача данных посредством линии подачи питания может включать в себя команды управления работой устройств сигнализации и может включать в себя данные измерений, регистрируемые датчиками, расположенными вблизи устройств сигнализации.
[0004] Вдоль линии подачи питания на каждом узле размещены гальванические изолирующие трансформаторы с устройством сигнализации. Шлюзовые устройства обмена данными расположены на вторичной стороне трансформаторов, на стороне устройства сигнализации. Поскольку эти трансформаторы обычно ослабляют высокочастотные сигналы, необходимо использовать специальные трансформаторы, позволяющие проходить высокочастотным сигналам, что увеличивает затраты на установку. Тем не менее, используемые полосы частот, как правило, ограничены приблизительно 190 кГц, что ограничивает полосу пропускания данных.
[0005] Большинство устройств аэродромной сигнализации, в частности, аэродромное наземное освещение (AGL), выполнены в виде последовательных цепей. Такая топология дополнительно ограничивает объем информации, которая может быть передана через схему для мониторинга условий работы системы сигнализации. Полоса пропускания не позволяет передавать дополнительную информацию, полученную от различных датчиков, или исторические данные, хранящиеся на устройстве. Кроме того, по соображениям безопасности информация о состоянии обычно хранится централизованно в системе сигнализации с ограниченным доступом для обслуживающего персонала.
РАСКРЫТИЕ СУЩНОСТИ ИЗОБРЕТЕНИЯ
[0006] Таким образом, в области техники существует потребность в экономичном создании сети распределенных датчиков на аэродроме для повышения безопасности. В данной области техники существует потребность в создании системы аэродромной сигнализации, позволяющей передавать и собирать больший объем информации для улучшения управления и обслуживания системы. В данной области техники также существует потребность в создании систем аэродромной сигнализации, позволяющих упростить и ускорить техническое обслуживание и мониторинг.
[0007] Согласно первому аспекту, таким образом, предложена система аэродромной сигнализации как изложено в настоящем описании и в прилагаемой формуле изобретения. Описанная здесь система аэродромной сигнализации содержит множество блоков сигнализации, каждый из которых содержит по меньшей мере одно устройство аэродромной сигнализации, и центральный блок обмена данными, выполненный с возможностью обмена данными с множеством блоков сигнализации. Множество блоков сигнализации и, возможно, центральный блок обмена данными содержат устройство беспроводного обмена данными, выполненное с возможностью сотового обмена данными измерений в отношении одного или более из: состояние окружающей среды, метеорологическое состояние, присутствие (постороннего) объекта, перемещение (постороннего) объекта и состояние статуса, относящееся к соответствующему блоку сигнализации, отличное от состояния статуса соответствующего по меньшей мере одного устройства сигнализации, и, возможно, дополнительных данных, представляющих состояние системы аэродромной сигнализации по меньшей мере одного устройства аэродромной сигнализации или сигналы управления работой системы аэродромной сигнализации. Данные измерений регистрируются одним или более датчиковыми устройствами, встроенными в блоки сигнализации. Устройство беспроводного обмена данными может обмениваться данными или взаимодействовать с устройством обмена данными для обмена данными по линии подачи питания, по которой по меньшей мере одно устройство аэродромной сигнализации снабжается электроэнергией.
[0008] Таким образом, в соответствии с настоящим изобретением, сеть распределенных по аэродрому датчиков может быть получена путем включения датчиковых устройств в блоки сигнализации. Датчиковые устройства осуществляют обмен данными с устройствами беспроводного обмена данными, предусмотренными в световых модулях, выполненных с возможностью передачи данных, собранных распределенными датчиками, по сотовой сети. Таким образом, настоящее изобретение позволяет создавать распределенные датчиковые сети для восприятия различных условий, как снаружи, так и внутри корпуса блока сигнализации. Эти условия предпочтительно не связаны с рабочим состоянием самого устройства сигнализации. Напротив, данные измерений, полученные от этих датчиковых устройств, служат для улучшения управления воздушным движением и охраны и безопасности аэродрома путем создания распределенной системы датчиков, которые расположены в положениях, имеющих отношение к движению на аэродроме, и которые собирают огромное количество данных в некооперативном порядке: метеорологические условия, которые могут варьироваться от места к месту на аэродроме, условия окружающей среды, условия безопасности ограждения блока сигнализации (попадание воды, разбитое окно, чрезмерная вибрация и т. д.) и некооперативное детектирование движения на аэродроме, усиливающее существующие системы управления движением. Возможность сотового обмена данными позволяет одновременно передавать огромное количество данных, регистрируемых различными датчиковыми устройствами на аэродроме.
[0009] Согласно второму аспекту, таким образом, предложен блок аэродромной сигнализации как изложено в настоящем описании и в прилагаемой формуле изобретения. 0001 Множество таких блоков сигнализации позволяет создать систему аэродромной сигнализации по первому аспекту.
[00010] Согласно третьему аспекту настоящего изобретения предложен блок управления для системы аэродромной сигнализации и система управления для системы аэродромной сигнализации. Блок управления предпочтительно содержится в системе аэродромной сигнализации по первому аспекту. Система управления предпочтительно реализована в системе аэродромной сигнализации по первому аспекту.
[00011] В соответствии с четвертым аспектом настоящего изобретения предложен способ эксплуатации системы аэродромной сигнализации, такой как система аэродромной сигнализации по первому аспекту.
КРАТКОЕ ОПИСАНИЕ ФИГУР
[00012] Аспекты изобретения ниже описаны более подробно со ссылкой на прилагаемые чертежи, на которых одни и те же номера позиций иллюстрируют одни и те же признаки и на которых:
[00013] фиг.1 представляет схему системы сигнализации для аэродрома в соответствии с описанными здесь аспектами;
[00014] фиг.2 представляет схему первого блока сигнализации, используемого в системе сигнализации с фиг.1;
[00015] фиг.3 представляет схему второго блока сигнализации, который может быть использован в системе сигнализации с фиг.1;
[00016] фиг.4 представляет схему третьего блока сигнализации для использования в системе сигнализации с фиг.1;
[00017] фиг.5 представляет схему четвертого блока сигнализации для использования в системе сигнализации с фиг.1;
[00018] фиг.6 представляет схему системы сигнализации с фиг.1 с возможностью сотовой передачи данных на облачную сеть.
ОСУЩЕСТВЛЕНИЕ ИЗОБРЕТЕНИЯ
[00019] Как показано на фиг.1, система 100 сигнализации для аэродрома, такого как аэропорт, содержит блок 110 управления и множество блоков 2 сигнализации. Блок управления содержит устройство 1 подачи питания, такое как регулятор постоянного тока (CCR), или распределенную параллельную систему подачи питания. Блоки 2 сигнализации соединены с устройством 1 подачи питания через линию 3 подачи питания. Линия 3 подачи питания образует последовательную цепь питания, к которой последовательно подключены блоки 2 сигнализации. Однако линия 3 подачи питания также может образовывать параллельную цепь питания с параллельно соединенными блоками 2 сигнализации.
[00020] Блоки 2 сигнализации содержат одно или более устройств сигнализации и одно или более датчиковых устройств. Устройства сигнализации могут относиться к осветительным устройствам, таким как устройства воздушного наземного освещения (AGL), как определено в Приложении 14 ИКАО (Международной организации гражданской авиации). Устройства сигнализации в альтернативном варианта или дополнительно могут относиться к устройствам визуального наведения, таким как стоп-бары и световые знаки летного поля. Датчиковые устройства могут относиться к датчикам, подходящим для использования на аэродромной площадке, таким как датчики направления, датчики обнаружения и классификации летательных аппаратов, датчики крутящего момента (например, для измерения или мониторинга крутящего момента, прикладываемого болтом) и датчики вибрации. Датчиковые устройства в альтернативном варианте или дополнительно могут относиться, например, к устройствам для обнаружения направления и интенсивности ветра и их сигнализации, а также к другим типам устройств обнаружения и сигнализации для метеорологических или экологических данных, таких как температура, влажность и условия освещения. Устройства сигнализации в альтернативном варианте или дополнительно могут относиться к датчикам для обнаружения газа и/или воды в кабельных каналах, а также к устройствам визуального обнаружения, таким как видеокамеры, для мониторинга зоны взлетно-посадочной полосы, зоны рулежной дорожки, перрона и любой другой области аэродрома или летного поля. Будет уместно отметить, что все вышеперечисленные датчики относятся к некооперативным датчикам. В частности, эти датчики не взаимодействуют с летательным аппаратом или транспортным средством, проходящим мимо, например, они не приспособлены для перехвата сигналов, излучаемых такими летательными аппаратами или транспортными средствами, для осуществления обнаружения.
[00021] Блок 110 управления системы 100 аэродромной сигнализации дополнительно содержит центральный блок 4 обмена данными. Центральный блок 4 обмена данными предпочтительно имеет петлевое соединение с линией 3 подачи питания. Таким образом, блоки 2 сигнализации подсоединены через одну и ту же линию 3 подачи питания как к устройству 1 источника питания, так и к центральному блоку 4 обмена данными.
[00022] Центральный блок 4 обмена данными соединен, например, посредством сети 5 обмена данными, с главным блоком 6 управления, который может быть предусмотрен вблизи центрального блока 4 обмена данными или удаленно. Центральный блок 4 обмена данными может принимать от главного блока 6 управления данные уставки, которые он пересылает на блоки 2 сигнализации. Дополнительно центральный блок 4 обмена данными может получать от блоков 2 сигнализации отчеты о статусе, которые он передает на главный блок 6 управления. Главный блок 6 управления, таким образом, выполнен с возможностью работы в качестве системы управления аэродромом, как описано, например, в DE 101 04 950 A1, DE 199 49 737 A1 или EP 0 883 873 B1.
[00023] Как показано на фиг.2, каждый блок 2 сигнализации содержит базовый корпус 7, в котором расположено одно или множество устройств сигнализации, таких как осветительное устройство 9, одно или более датчиковых устройств 10, как описано выше, и локальный блок 12 управления. В базовом корпусе 7 предусмотрены соединительные клеммы 8 для соединения одного или более устройств 9, 10 сигнализации с линией 3 подачи питания. Дополнительно может быть предусмотрено переключающее устройство 11. Осветительное устройство 9 может содержать один или множество источников света. Переключающее устройство 11 выполнено с возможностью управления работой осветительного устройства 9 и/или любого другого переключаемого датчикового устройства 10, расположенного в базовом корпусе 7. Переключающее устройство 11 и локальный блок 12 управления соединены с соединительными клеммами 8.
[00024] Как показано на фиг.1, трансформатор 13 подключен к соединительным клеммам 8. 0002 Трансформатор 13 делает возможным соединение блоков 2 сигнализации с линией 3 подачи питания, с обеспечением гальванической изоляции. Соединение может быть реализовано с помощью ответвительных линий 3', которые могут иметь длину линии до 200 м, предпочтительно 100 м или менее. В альтернативном варианте трансформатор подсоединен ниже по потоку от соединительных клемм 8, например, между соединительными клеммами 8 и переключающим устройством 11 и/или локальным блоком 12 управления. Трансформатор 13 может быть предусмотрен снаружи или внутри базового корпуса 7.
[00025] Согласно одному аспекту центральный блок 4 обмена данными содержит первое шлюзовое устройство 41 обмена данными, подключенное к радиоантенне 42. 0003 Первое шлюзовое устройство 41 обмена данными выполнено с возможностью сотового обмена данными посредством антенны 42. Сотовый обмен данными может осуществляться первым шлюзовым устройством 41 в соответствии с любым подходящим протоколом беспроводного обмена данными для сотовой радиосвязи, например, на основе мультиплексирования с ортогональным частотным разделением каналов (OFDM), такого как 4G, 5G и т.д. Центральный блок 4 обмена данными может в дополнительном или альтернативном варианте содержать второе шлюзовое устройство 43 обмена данными, выполненное с возможностью проводного обмена данными. В частности, второе шлюзовое устройство 43 обмена данными соединено с линией 3 подачи питания и выполнено с возможностью наложения сигнала обмена данными на сигнал питания (напряжение и/или ток) посредством линии 3 подачи питания.
[00026] Как показано на фиг.2, локальный блок 12 управления содержит устройство 16 обработки, такое как микропроцессор, и третье шлюзовое устройство 18 обмена данными, подключенное к радиоантенне 19.Третье шлюзовое устройство 18 обмена данными выполнено с возможностью сотового обмена данными посредством антенны 19. Сотовый обмен данными может осуществляться третьим шлюзовым устройством 18 в соответствии с любым подходящим протоколом беспроводного обмена данными для сотовой радиосвязи, например, на основе мультиплексирования с ортогональным частотным разделением каналов (OFDM), такого как 4G, 5G и т.д. Дополнительно, или в качестве альтернативы, локальный блок 12 управления содержит четвертое шлюзовое устройство 17 обмена данными, выполненное с возможностью проводного обмена данными, в частности, посредством линии 3 подачи питания. Третье шлюзовое устройство 18 обмена данными и четвертое шлюзовое устройство 17 обмена данными функционально подключены к устройству 16 обработки.
[00027] Согласно одному аспекту первое и третье шлюзовые устройства 41 и 18 обмена данными выполнены с возможностью осуществлять обмен данными с другом либо в одном направлении, либо в двух направлениях посредством соответствующих антенн 42 и 19. Второе и четвертое шлюзовые устройства 43 и 17 обмена данными выполнены с возможностью осуществлять обмен данными друг с другом, либо однонаправленно, либо двунаправленно, предпочтительно посредством линии 3 подачи питания.
[00028] Центральный блок 4 обмена данными выполнен с возможностью передачи сигналов S управления на локальный блок 12 управления каждого блока 2 сигнализации. Передача сигналов S управления может осуществляться различными способами. Согласно первой возможности, как можно видеть из фиг.1 и 2, сигналы S управления передаются в виде сигнала 21 сообщения по линии 3 подачи питания. В частности, сигналы S накладываются на сигнал напряжения или переменного тока (50 Гц или 60 Гц), подаваемый посредством линии 3 подачи питания для подачи питания на устройства 9, 10 сигнализации. В качестве примера, сигнал S может быть наложен в виде сигнала OFDM, как описано выше, который может содержать один или более неперекрывающихся узкополосных частотных каналов, предпочтительно в диапазоне частот от 20 до 190 кГц. Частотные каналы могут быть параметризованы вторым или четвертым шлюзовыми устройствами обмена данными. В альтернативном варианте сигнал S может быть наложен путем синхронизации временного интервала и использования управляемого высокого импеданса на вторичной стороне трансформаторов 13 для передачи импульсов, содержащихся в импульсных сигналах, как описано в WO 95/24820. Следует понимать, что в описанных здесь системах могут быть использованы и альтернативные технологии обмена данными по линии подачи питания, известные в данной области техники, в частности, схемы частотной модуляции для обмена данными, такие как сигналы частотной манипуляции (FSK), передаваемые по линии подачи питания.
[00029] Сигналы S управления передаются вторым шлюзовым устройством 43 в виде наложенного сигнала 21 сообщения по линии 3 подачи питания и принимаются четвертым шлюзовым устройством 17 обмена данными. Каждое четвертое шлюзовое устройство 17 обмена данными блоков 2 сигнализации может быть отдельно адресовано вторым шлюзовым устройством 43 обмена данными для приема выделенного сигнала S управления. Сигналы S управления, принятые четвертым шлюзовым устройством 17, передаются на устройство 16 обработки, которое выполнено с возможностью обработки сигналов S управления, например, для рабочего переключающего устройства 11 и/или одного или более устройств 9, 10 сигнализации. Подходящими примерами команд управления являются ВКЛЮЧЕНИЕ или ВЫКЛЮЧЕНИЕ осветительного устройства 9, управление интенсивностью света осветительного устройства 9, запрос датчикового устройства 10.
[00030] Согласно второй возможности, сигналы S управления передаются в виде беспроводного сигнала между центральным блоком 4 обмена данными и блоками 2 сигнализации. С этой целью сигналы S управления передаются первым шлюзовым устройством 41 обмена данными посредством антенны 42 и принимаются третьим шлюзовым устройством 18 обмена данными блока 2 сигнализации посредством антенны 19. Как уже указывалось выше, беспроводной обмен данными между антенной 42 и антенной 19 может осуществляться в соответствии с любым подходящим протоколом сотовой радиосвязи, таким как 5G, в частности, в критически важной сотовой частной сети.
[00031] Центральный блок 4 обмена данными может быть выполнен с возможностью выбора подходящего маршрута передачи для сигналов S управления, то есть по проводному (устройства 43/17) или беспроводному (устройства 41/18) маршруту. В качестве примера, центральный блок 4 обмена данными может быть выполнен с возможностью выбора маршрута передачи на основе типа сигнала S управления, например, сигналов управления, относящихся к работе осветительного устройства 9, отправленных по линии 3 подачи питания, тогда как сигналы управления, относящиеся к работе датчиковых устройств 10, отправляются беспроводным образом.
[00032] Любое из шлюзовых устройств 41 и 18 обмена данными может быть выполнено в виде базовой станции для установки сети сотового обмена данными, по которой данные могут передаваться посредством шлюзовых устройств 41, 18 обмена данными и соответствующих антенн 42 и 19. В качестве альтернативы или дополнительно предусмотрено внешнее или удаленное устройство, сконфигурированное как базовая станции для установки этой сети сотового обмена данными. Шлюзовые устройства 41, 18 обмена данными предпочтительно действуют как приемопередатчики в сотовой сети. Сеть сотового обмена данными предпочтительно представляет собой частную сотовую сеть, такую как частная сотовая сеть 5G, в частности, сконфигурированную для обмена критически важными данными. В настоящем изобретении термин «5G» может относиться к любой технологии радиодоступа, работающей в соответствии со стандартом Международной мобильной электросвязи-2020 (IMT-2020), выпущенным Сектором радиосвязи (МСЭ-R) Международного союза электросвязи (МСЭ), и/или в соответствии с любой из технологий радиодоступа 5G, изложенных консорциумом 3GPP (Проект партнерства3-го поколения), таких как, но не ограничиваясь ими, 5G NR (New Radio), LTE-M (Machine Type communication) и NB-IoT (Narrowband Internet-of-Things). В контексте настоящего изобретения термин «5G» может дополнительно относиться к любой дополнительно развивающейся технологии сотового обмена данными, такой как 6G и 6GE, и которая предпочтительно позволяет создавать частные, то есть непубличные сети сотовой радиосвязи, в частности, для критически важного обмена данными.
[00033] Как показано на фиг.2, датчиковое устройство 10 может содержать первый датчик 14 и/или второй датчик 15. Посредством первого датчика 14 может быть определено внутреннее состояние осветительного устройства 9 (сигнализации) и передано на локальный блок 12 управления. Например, посредством первого датчика 14 можно определить, протекает ли электрический ток через осветительное устройство 9, или же осветительное устройство 9 излучает свет, и, возможно, с какой интенсивностью света. Блок 16 обработки может принимать сигнал R измерения от первого датчика и определять, например, в сочетании с (известным) состоянием переключения коммутационного устройства 11, является ли осветительное устройство 9 неисправным. Соответствующее мониторинговое сообщение M (например, включено/выключено/мигает /неисправно) опционально может быть передано локальным блоком 12 управления посредством третьего шлюзового устройства 18 (беспроводным образом посредством антенны 19) или посредством четвертого шлюзового устройства 17 (например, в виде сигнала OFDM) на центральный блок 4 обмена данными.
[00034] Второй датчик 15 выполнен с возможностью обнаружения состояния, которое преобладает в окружающей среде за пределами блока 2 сигнализации или базового корпуса 7, например, погодных условий (температура, влажность) или условий окружающей среды (интенсивность окружающего света, днем или ночью), или обнаружения объектов, проходящих мимо, таких как летательные аппараты или транспортные средства, несовместимым образом. Второй датчик может быть выполнен, например, в виде датчика магнитного поля. Наличие или отсутствие объекта 20 может быть обнаружено с помощью датчиков 15 магнитного поля, в частности, если блок 2 сигнализации установлен на взлетной полосе, посадочной полосе или рулежной дорожке аэродрома. Это применимо, в частности, когда объект 20 представляет собой металлический объект, например, летательный аппарат 20 или механическое транспортное средство. Когда два вторых датчика 15 расположены на расстоянии друг от друга вдоль направления движения (либо в одном и том же блоке 2 сигнализации, либо в двух разных блоках 2 сигнализации), также может быть определена скорость объекта 20. В альтернативном варианте второй датчик 15 может быть выполнен в виде радиолокационного датчика, например, микроволнового приемопередатчика. В другом примере второй датчик 15 может быть выполнен с возможностью обнаружения метеорологической или экологической характеристики. Метеорологическими или экологическими характеристиками могут быть, например, температура, скорость ветра, осадки (например, дождь, снег) или условия видимости (например, день/ночь/туман).
[00035] Другие характеристики, в качестве альтернативы или дополнительно, могут быть обнаружены с помощью датчикового устройства 10 или 15.Примерами таких характеристик являются вибрации, (внешний) шум, влажность воздуха или грунта, фотометрические характеристики и внутренние состояния или условия работы блока 2 сигнализации, отличные от состояний или условий работы, относящихся к осветительному устройству 9 (сигнализации), причем последнее регистрируется первым датчиком 14. Для этой цели можно использовать любой подходящий датчик. Некоторые примеры второго датчика 15 могут быть выполнены с возможностью мониторинга рабочего состояния базового корпуса 7 и/или любой другой конструкции, связанной с блоком 2 сигнализации, отличным от осветительного устройства (сигнализации) 2, например, датчики крутящего момента, определяющие крутящий момент, прикладываемый, например, болтом и/или датчиками для обнаружения газа и/или воды, например, для мониторинга условий герметизации базового корпуса 7, таких как разбитое окно или ослабленная крышка. Кроме того, обнаружение объектов и их идентификация также могут осуществляться с помощью некооперативных датчиков, отличных от радиолокационных датчиков или датчиков магнитного поля. Например, могут быть использованы оптические датчики (например, камеры), с помощью которых может быть обнаружено не только присутствие объекта, но и его форма и/или движение и направление движения.
[00036] Сигнал R, генерируемый вторым датчиком 15, может быть передан на локальный блок 12 управления, с обработкой устройством 16 обработки для определения из него полезного сигнала N. Полезный сигнал N может быть передан локальным блоком 12 управления посредством третьего шлюзового устройства 18 обмена данными (беспроводным образом посредством антенна 19) или посредством четвертого шлюзового устройства 17 обмена данными (например, в виде сигнала OFDM) на центральный блок 4 обмена данными.
[00037] Если блоки 2 сигнализации работают на основе синхронизации на общей временной основе, также возможно передавать посредством сигнала N соответствующее время обнаружения на центральный блок 4 обмена данными. С этой целью сигнал синхронизации времени предпочтительно принимать посредством антенны 19 и третьего шлюзового устройства 18 обмена данными, например, в критически важной частной сети сотовой радиосвязи.
[00038] Локальный блок 12 управления может быть дополнительно выполнен с возможностью передачи центральному блоку 4 обмена данными запроса на передачу сигнала, например, в форме ИК запроса на прерывание. Это может быть реализовано либо посредством четвертого шлюзового устройства 17 обмена данными в виде наложенного сигнала 21 сообщения по линии 3 подачи питания, либо беспроводным образом - если применимо в соответствии с используемым протоколом обмена данными - посредством третьего шлюзового устройства 18 обмена данными. Если, например, один из локальных блоков 12 управления замечает дефект в осветительном устройстве 9, он может отправить ИК-запрос на передачу сигнала в центральный блок 4 обмена данными, позволяя центральному блоку 4 обмена данными целенаправленно обращаться к локальному блоку 12 управления, от которого исходит ИК-запрос на передачу сигнала. ИК-запрос передачи сигнала может содержать, помимо идентификатора блока 2 сигнализации (локального блока 12 управления), код, из которого центральный блок 4 обмена данными может распознавать тип сигналов, подлежащих передаче. Например, различные коды могут быть использованы для распознавания объекта 20, для изменения метеорологической идентификационной характеристики или для изменения внутреннего состояния блока аэродромной сигнализации (например, неисправность осветительного устройства 9).
[00039] В альтернативном варианте локальные блоки 12 управления могут подавать не только ИК-запрос на прерывание, но вместе с ним и сам полезный сигнал N на центральный блок 4 обмена данными. Однако такой тип передачи требует некоторой формы коллизионного мониторинга, как известно в данной области техники.
[00040] Следует понимать, что проводной обмен данными посредством второго и четвертого шлюзовых устройств 43, 17 обмена данными может проходить через другие кабели, отличные от линии подачи питания, например, через специальные кабели передачи данных, такие как оптические волокна, если таковые имеются.
[00041] Уместно отметить, что базовый корпус 7 может содержать множество пар соединительных клемм 8, соединенных с одним или более отдельными устройствами сигнализации. Пары соединительных клемм 8 могут быть подключены к отдельным трансформаторам 13. Базовый корпус 7, следовательно, может относиться к различным типам монтажных кожухов, таким как подземный колодец, люк или подземное или приподнятое основание.
[00042] В общем случае трансформаторы 13 оптимизированы для частот передачи электроэнергии, но не для частот передачи сигнала данных. Поэтому они могут значительно ослаблять передаваемые сигналы данных S, M, N, IR. Чтобы избежать таких проблем, можно использовать специальные трансформаторы с пониженными характеристиками демпфирования высокой частоты, но за счет увеличения стоимости. Дополнительно, или в качестве альтернативы, второе и четвертое шлюзовые устройства 43, 17 обмена данными предпочтительно содержат повторители для формирования и усиления сигнала и средства для измерения силы приема и качества сигналов S, M, N, IR, передаваемых по линии 3 подачи питания в виде наложенных сигналов сообщений. Сила и качество приема также предпочтительно передаются по линии 3 подачи питания на центральный блок 4 обмена данными. Это предпочтительно позволяет центральному блоку 4 обмена данными мониторировать состояние всей системы обмена данными. Посредством оценки передаваемой информации о качестве передачи и уровне сигнала центральный блок 4 обмена данными, следовательно, имеет преимущественную возможность конфигурировать систему обмена данными для каждой отдельной операции передачи. В частности, центральный блок 4 обмена данными может посредством передачи соответствующих сигналов S управления определять, какое из четвертых шлюзовых устройств 17 обмена данными должно выполнять функции ретранслятора в каждом случае, а какое нет. Таким образом, постоянно обеспечивается адекватное качество передачи в системе обмена данными. При этом необходимые для этого энергозатраты, а также поведение при перекрестных помехах и фоновый шум могут быть оптимизированы за счет динамической адаптации проводной сети обмена данными.
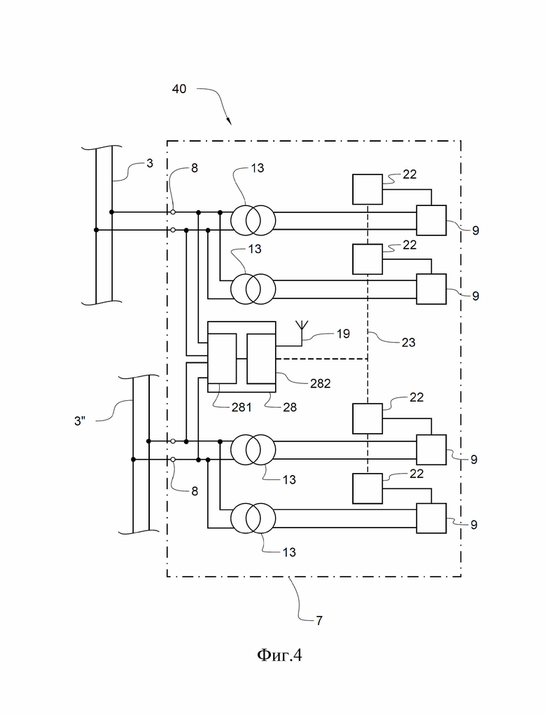
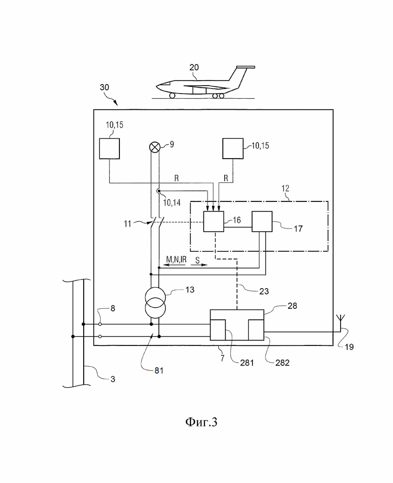
[00043] Как показано на фиг.3, альтернативный вариант осуществления блока 30 сигнализации отличается от блока 2 сигнализации с фиг.2 тем, что он содержит пятое шлюзовое устройство 28 обмена данными для сотового обмена данными, которое соединено с линией 3 подачи питания посредством узла 81 соединения выше по потоку от трансформатора 13. Пятое шлюзовое устройство 28 обмена данными содержит модуль 281 обмена данными линии подачи питания, позволяющий передавать и/или принимать сигналы по линии 3 подачи питания, возможно аналогично четвертому шлюзовому устройству 17обмена данными, и модуль 282 сотового обмена данными для беспроводного (сотового) обмена сигналами посредством антенны 19. Пятое шлюзовое устройство 28 обмена данными может быть выполнено с возможностью беспроводной передачи посредством антенны 19 через сеть сотового обмена данными любых сигналов данных, принятых по линии 3 подачи питания, или подачи на линию 3 подачи питания любого сигнала данных, принятого посредством антенны 19.
[00044] Пятое шлюзовое устройство 28 обмена данными может быть подключено к локальному блоку 12 управления для передачи данных посредством (проводной) линии 23 обмена данными. В этом случае пятое шлюзовое устройство 28 обмена данными может заменить либо одно из третьего и четвертого шлюзовых устройств 18 и 17 обмена данными, либо оба, которые, следовательно, могут отсутствовать в локальном блоке 12 управления. В примере с фиг.3 предусмотрено четвертое шлюзовое устройство 17 обмена данными, тогда как третье шлюзовое устройство 18 обмена данными не предусмотрено.
[00045] Одним из преимуществ пятого шлюзового устройства 28 обмена данными является то, что оно позволяет обеспечить прямой интерфейс между обменом данными линии подачи питания и сетью сотового обмена данными, в обход трансформатора 13. Следовательно, модуль 281 обмена данными линии передачи гораздо меньше страдает от гашения сигнала трансформатором 13. В результате можно использовать более дешевые трансформаторы 13 и/или отказаться от повторителей или формирователей сигналов, с получением более экономичных шлюзовых устройств обмена данными. При этом сетевые протоколы обмена данными, реализованные для обмена данными линии подачи питания могут иметь некоторое сходство с протоколами обмена данными сотовой сети, используемыми для беспроводной передачи посредством антенны 19, например, OFDM. Обеспечение прямого обмена данными между модулями 281 и 282 обмена данными позволяет упростить преобразование сигнала между обменом данными линии подачи питания и беспроводным (сотовым) обменом данными.
[00046] Антенна 19, подключенная к шлюзовому устройству 18, 28, 58 или 68 обмена данными, по обстоятельствам, предпочтительно выполнена с возможностью излучать и/или принимать радиосигналы в диапазоне частот, определенном используемым протоколом сотового обмена данными (сотовой сетью), например, 5G. Как показано на фиг.2 и 3, антенна 19 предпочтительно расположена снаружи базового корпуса 7 для оптимального приема и/или передачи. В альтернативном варианте антенна 19 может быть расположена внутри базового корпуса 7 или встроена в тело базового корпуса 7. В этих последних случаях базовый корпус 7 предпочтительно выполнен из материала, прозрачного для радиоволн, в частности, в диапазоне частот, используемом антенной 19, такого как непроводящий материал, композитный материал или оба.
[00047] Показанное на фиг.4 пятое шлюзовое устройство 28 обмена данными особенно полезно в более крупных колодцевых установках 40, в которых расположено множество устройств 9 сигнализации, например, относящихся к одной и той же или различным цепям аэродромной сигнализации, и каждое из которых снабжено отдельным трансформатором 13 и локальным блоком 22 управления. В этом случае может быть экономичным предусмотреть только одно шлюзовое устройство 28 обмена данными с возможностью обмена данными с линиями 3, 3” подачи питания каждой из различных цепей сигнализации. Пятое шлюзовое устройство 28 обмена данными может быть функционально подключено к каждому из локальных блоков 22 управления через (проводную) линию 23 обмена данными. В этом случае пятое шлюзовое устройство 28 обмена данными может заменять одно или оба из третьего и четвертого шлюзовых устройств 18, 17 обмена данными локальных блоков 22 управления. Следовательно, локальные блоки 22 управления не обязательно должны содержать одно или оба из третьего и четвертого шлюзовых устройств 18 и 17 обмена данными.
[00048] В качестве альтернативы, пятое шлюзовое устройство 28 обмена данными может обмениваться данными с четвертыми шлюзовыми устройствами 17 обмена данными локальных блоков 22 управления различных устройств сигнализации посредством модуля 281 обмена данными линии подачи питания. Это можно реализовать с помощью сигналов сообщений, отправленных по линиям 3, 3” подачи питания (с наложением на сигналы питания). В этом случае можно обойтись без линии 23 обмена данными. Модуль 281 обмена данными линии подачи питания соединен с модулем 282 обмена данными для приема и/или передачи любых сигналов данных через сотовую сеть. Таким образом, модуль 282 сотового обмена данными может работать в качестве шлюзового устройства сотового обмена данными для локальных блоков 22 управления, которые не нуждаются в снабжении третьим шлюзовым устройством 18 обмена данными.
[00049] Как показано на фиг.5, еще один вариант осуществления блока 50 сигнализации отличается от блока 2 сигнализации с фиг.2 тем, что одно или более устройств 14, 15 сигнализации содержат свое собственное отдельное шлюзовое устройство 58, 68 сотового обмена данными, непосредственно к ним подключенное. В качестве примера, датчиковое устройство 14 (сигнализации) содержит выделенное шлюзовое устройство 58 сотового обмена данными и соответствующую антенну 19. Датчиковое устройство 15 (сигнализации) содержит выделенное шлюзовое устройство 68 сотового обмена данными и соответствующую антенну 19. Шлюзовые устройства 58, 68 обмена данными могут быть или не быть функционально соединены с локальным блоком 12 управления, то есть может быть возможен или невозможен прямой обмен данными между локальным блоком 12 управления и шлюзовыми устройствами 58, 68 сотового обмена данными.
[00050] Шлюзовые устройства 58, 68 сотового обмена данными могут быть выполнены с возможностью приема сигналов измерения и/или мониторинга от устройств 14, 15 сигнализации, к которым они подключены, и беспроводной передачи сигналов измерения и/или мониторинга посредством их соответствующих антенн 19 по сотовой сети. Местный блок 12 управления может в этом случае по-прежнему содержать третье шлюзовое устройство 18 обмена данными, например, для сотового обмена сигналами, в частности сигналами S управления, относящимися к работе или мониторингу осветительного устройства 9. В качестве альтернативы, шлюзовое устройство сотового обмена данными (не показано) может быть непосредственно подключено к осветительному устройству 9, которое может быть или не быть функционально соединено с обрабатывающим устройством 16. Такой тип установки может быть особенно полезен в случае модернизации существующих установок или когда дополнительные устройства сигнализации, такие как датчики или осветительные устройства, добавляются к блоку 50 сигнализации и для которых не существует протокола обмена данными по линии 3 подачи питания.
[00051] Следует понимать, что некоторые датчиковые устройства, такие как датчики 15, расположенные внутри блока 2, 30, 40, 50 сигнализации, могут быть снабжены собственными источниками питания. В качестве альтернативы, датчиковые устройства могут получать питание от линии 3 подачи питания.
[00052] Как показано на фиг.6, любое из шлюзовых устройств 41, 18, 282, 58, 68 сотового обмена данных, описанных ранее, предпочтительно выполнено с возможностью обмена данных с облачной сетью 200 через сотовую сеть 180. Облачная сеть 200 содержит систему 201 хранения данных, которая может хранить данные в отношении одного или более устройств 9, 10 сигнализации и/или блока 1 подачи питания системы 100 сигнализации. Такие данные передаются одним или более из различных шлюзовых устройств сотового обмена данными, описанных выше, по сотовой сети 180 и могут содержать идентификационные данные, данные мониторинга и/или операционные данные, возможно, вместе с соответствующими метками времени.
[00053] В качестве примера, первое шлюзовое устройство 41 обмена данными может быть выполнено с возможностью беспроводной передачи через сотовую сеть 180 данных мониторинга в отношении блока 1 подачи питания или всей системы сигнализации, например, измерений импеданса трансформатора, на облачную сеть 200. Шлюзовые устройства 18, 28, 58, 68 обмена данными могут быть выполнены с возможностью беспроводной передачи через сотовую сеть 180 данных мониторинга в отношении осветительного устройства 9 и/или данных измерений от одного или более датчиковых устройств 10 в облачную сеть 200. Таким образом, возможность сотового обмена данными центрального блока обмена данными и/или блоков сигнализации позволяет передавать увеличенный объем данных. Следовательно, описанные здесь системы позволяют собирать дополнительные данные в отношении работы и состояния системы 100 сигнализации по сравнению с системами предшествующего уровня техники. Эти данные преимущественно используются для улучшения технического обслуживания системы сигнализации и/или для обеспечения улучшенной осведомленности, касающейся неисправности или дефекта системы сигнализации.
[00054] Система 201 хранения данных может быть удаленной системой, например, где данные хранятся в облачной системе. В этом случае часть или все данные, переданные от шлюзовых устройств обмена данными системы сигнализации в облачную сеть 200, также могут храниться локально, например, в системе хранения данных, связанной с главным блоком 6 управления. Следовательно, данные, передаваемые в облачную сеть 200 и/или хранящиеся в ней, могут быть избыточными. В качестве альтернативы система 201 хранения данных может представлять собой локальную систему, например, расположенную в башне УВД или на аэродромном поле, и может быть связана или не связана с главным блоком 6 управления.
[00055] Пользовательский интерфейс 300, такой как компьютер, карманный планшет или мобильное устройство, предпочтительно с возможностями обмена данными по сотовой сети, используемый операторами технического обслуживания, может связываться (по беспроводной сети, по сотовой сети 180) с облачной сетью 200 для доступа к данным, относящимся к системе 100 сигнализации, хранящимся в системе 201 хранения данных. Это позволяет операторам по техническому обслуживанию легче получать доступ к данным, относящимся к техническому обслуживанию системы 100 сигнализации, даже из удаленных мест.
[00056] Следует понимать, что описанные здесь шлюзовые устройства сотового обмена данными могут иметь любую одну или обе из возможностей сотового обмена данными, описанных выше со ссылкой на фиг.1 и фиг.6.
[00057] Предпочтительно локальный блок 12 управления или пятое шлюзовое устройство 28 обмена данными могут быть выполнены с возможностью действовать в качестве моста обмена данными между проводным (линия подачи питания) обменом данными и сетью сотового обмена данными. В качестве примера, сигналы 21 сообщений, передаваемые по линии 3 подачи питания, могут быть приняты шлюзовым четвертым устройством 17 обмена данными или модулем 281 обмена данными и, после соответствующего преобразования (например, устройством 16 обработки), переданы соответственно третьему шлюзовому устройству 18 обмена данными или модулю 282 сотового обмена данными для беспроводной передачи, или наоборот. В частности, некоторые блоки 2 сигнализации могут действовать в качестве узлов обмена данными, где данные собираются от ближних блоков сигнализации и передаются между проводной сетью обмена данными (линия 3 подачи питания) и сетью сотового обмена данными. Это также позволяет устранить необходимость в повторителях сигнала и усилителях на линии 3 подачи питания.
[00058] Варианты осуществления настоящего изобретения определены следующими пронумерованными пунктами:
Система (100) аэродромной сигнализации, содержащая:
множество блоков (2, 30, 40, 50) сигнализации, каждый из которых содержит по меньшей мере одно устройство (9) аэродромной сигнализации,
блок (1, 6) управления, выполненный с возможностью управления работы множества блоков (2, 30, 40, 50) сигнализации,
центральный блок (4) обмена данными, функционально соединенный с блоком управления и выполненный с возможностью обмена (S) данными с множеством блоков (2, 30, 40, 50) сигнализации,
отличающаяся тем, что один или более из центрального блока (4) обмена данными и множества блоков (2, 30, 40, 50) сигнализации содержит устройство (18, 28, 58, 68) беспроводного обмена данными, выполненное с возможностью беспроводного обмена данными.
Система аэродромной сигнализации по пункту А1, содержащая источник (1) подачи питания и линию (3) подачи питания, соединяющую источник питания с множеством блоков (2, 30, 40, 50) сигнализации.
Система аэродромной сигнализации по предыдущему пункту, в которой множество блоков (2, 30, 40, 50) сигнализации содержат каждый первое устройство (17, 281) обмена данными, подключенное к линии подачи питания, и в которой центральный блок (4) обмена данными подключен к линии (3) подачи питания и выполнен с возможностью обмена данными с первыми устройствами (17, 281) обмена данных через линию питания.
Система аэродромной сигнализации по предыдущему пункту, в которой первые устройства (17, 281) обмена данными выполнены с возможностью управления по меньшей мере одним устройством (9, 10) аэродромной сигнализации соответствующего блока (2, 30, 40, 50) сигнализации.
Система аэродромной сигнализации по любому из предыдущих пунктов, в которой центральный блок (4) обмена данными содержит первое устройство (41) беспроводного обмена данными.
Система аэродромной сигнализации по предыдущему пункту, в которой центральный блок (4) обмена данными выполнен с возможностью приема данных от одного или более из множества блоков (2, 30, 40, 50) сигнализации и/или блока (6) управления и передачи по меньшей мере части данных посредством первого устройства (41) беспроводного обмена данными на удаленную систему (201) хранения данных.
Система аэродромной сигнализации по предыдущему пункту, содержащая локальную систему хранения данных, при этом центральный блок (4) обмена данными выполнен с возможностью передачи по меньшей мере части данных на локальную систему хранения данных в дополнение к беспроводной передаче на удаленную систему (201) хранения данных.
Система аэродромной сигнализации по пункту А6 или А7, в которой данные содержат данные для мониторинга рабочего статуса одного или более из блока (6) управления и множества блоков (2, 30, 40, 50) сигнализации, предпочтительно при этом данные содержат идентификационные данные соответствующего блока сигнализации или блока управления.
Система аэродромной сигнализации по любому из предшествующих пунктов, в которой каждый из множества блоков (2, 30, 40, 50) сигнализации содержит второе устройство (18, 28) беспроводного обмена данными для беспроводного обмена данными.
Система аэродромной сигнализации по предыдущему пункту, в которой каждый из блоков (2, 30, 40, 50) сигнализации содержит по меньшей мере один датчик (10) для регистрации данных измерений в отношении одного или более из: состояние соответствующего устройства сигнализации, состояние окружающей среды и наличие постороннего объекта, и в которой по меньшей мере один датчик (10) выполнен с возможностью передачи данных измерений на второе устройство беспроводного обмена данными.
Система аэродромной сигнализации по пункту A9 или A10, в которой второе устройство (18, 28) беспроводного обмена данными выполнено с возможностью приема первых данных от соответствующего блока (2, 30, 40, 50) сигнализации и/или данных измерений от по меньшей мере одного датчика и передачи первых данных и/или измерений посредством второго устройства (18, 28) беспроводного обмена данными.
Система аэродромной сигнализации по любому из пунктов A9 - A11 в сочетании с пунктом 5, в которой центральный блок (4) обмена данными выполнен с возможностью беспроводного обмена данными с множеством блоков (2, 30, 40, 50) сигнализации посредством первого устройства (41) беспроводного обмена данными и второго устройства (18, 28) беспроводного обмена данными.
Система аэродромной сигнализации по любому из пунктов А9-А12, содержащая источник (1) подачи питания и линию (3) подачи питания, соединяющую источник питания с множеством блоков (2, 30, 40, 50) сигнализации, причем каждый из множества блоков сигнализации содержит первое шлюзовое устройство (17), подключенное к линии (3) подачи питания, при этом центральный блок (4) обмена данными содержит второе шлюзовое устройство (43), подключенное к линии (3) подачи питания, причем второе шлюзовое устройство выполнено с возможностью обмена данными с первыми шлюзовыми устройствами через линию питания.
Система аэродромной сигнализации по пункту А13, в которой центральный блок (4) обмена данными выполнен с возможностью обмена данными с множеством блоков (2, 30, 40, 50) сигнализации селективно посредством первого и второго устройств беспроводного обмена данными и посредством линии подачи питания.
Система аэродромной сигнализации по любому из предшествующих пунктов, в которой (первое и/или второе) устройство беспроводного обмена данными выполнено с возможностью приема и/или передачи в соответствии с протоколом беспроводного сотового обмена данными, предпочтительно устройство беспроводного обмена данными выполнено с возможностью приема и/или передачи радиосигналов 5G.
Система аэродромной сигнализации по любому предыдущему пункту, в которой устройство (9) аэродромной сигнализации представляет собой аэродромное наземное освещение, аэродромный знак, аэродромный заградительный огонь или аэродромное датчиковое устройство (14, 15).
Блок (2, 30, 40, 50) аэродромной сигнализации, содержащий:
кожух (7),
соединительную клемму (8) для соединения с линией (3) подачи питания,
по меньшей мере одно устройство (9, 10) аэродромной сигнализации,
электрический трансформатор (13), подключенный между соединительной клеммой (8) и устройством (9, 10) аэродромной сигнализации,
отличающийся тем, что блок аэродромной сигнализации содержит первое устройство (18, 28, 58, 68) обмена данными, подключенное к по меньшей мере одному устройству (9, 10) аэродромной сигнализации, при этом первое устройство обмена данными выполнено с возможностью беспроводного обмена данными.
Аэродромный блок сигнализации по предыдущему пункту, в котором первое устройство обмена данными выполнено с возможностью беспроводного приема команд (S) управления работой по меньшей мере одного устройства (9, 10) аэродромной сигнализации.
Блок аэродромной сигнализации по любому из двух предшествующих пунктов, содержащий по меньшей мере один датчик (14, 15) для измерения данных (R), представляющих состояние или событие внутри или снаружи оболочки (7), при этом по меньшей мере один датчик (14, 15) выполнен с возможностью передачи данных (R) первому устройству (18, 28, 58, 68) обмена данными.
Блок аэродромной сигнализации по любому из пунктов A17-A19, в котором первое устройство (18, 28, 58, 68) обмена данными выполнено с возможностью приема первых данных, представляющих рабочий статус, от по меньшей мере одного устройства (9, 10) аэродромной сигнализации и/или приема данных измерений от по меньшей мере одного датчика (14, 15) и передачи первых данных и/или данных измерений через сеть беспроводного обмена данными.
Блок аэродромной сигнализации по любому из пунктов A17-A20, содержащий второе устройство (17, 281) обмена данными, подключенное к соединительной клемме (8), при этом второе устройство обмена данными выполнено с возможностью обмена данными посредством линии (3) подачи питания, в частности, для приема команд (S) управления работой устройства (9, 10) аэродромной сигнализации.
Аэродромный блок сигнализации по предыдущему пункту, в котором второе устройство (281) обмена данными соединено с линией (3) подачи питания на узле соединения между соединительными клеммами (8) и электрическим трансформатором (13), при этом первое устройство (282) обмена данными и второе устройство (281) обмена данными выполнены с возможностью взаимного обмена сигналами данных.
Блок аэродромной сигнализации по любому из пунктов A17-A22, содержащий радиоантенну (19), функционально подключенную к первому устройству (18, 28, 58, 68) обмена данными, в частности, для сотового обмена данными.
Блок аэродромной сигнализации по предыдущему пункту, в котором радиоантенна (19) расположена снаружи кожуха (7).
Блок аэродромной сигнализации по пункту А23, в котором радиоантенна (19) расположена внутри кожуха (7).
Блок аэродромной сигнализации по пункту A25, в котором кожух выполнен из материала, по существу прозрачного для радиоволн, в частности, композитного материала, в частности, армированного волокном композитного материала.
Блок управления для системы аэродромной сигнализации, содержащий:
блок (1) подачи питания, выполненный с возможностью питания по меньшей мере одного устройства (9, 10) аэродромной сигнализации системы аэродромной сигнализации электроэнергией посредством линии (3) подачи питания,
центральный блок (4) обмена данными для передачи сигналов (S) управления на по меньшей мере одно устройство аэродромной сигнализации,
отличающийся тем, что центральный блок (4) обмена данными содержит первое устройство (41) обмена данными, выполненное с возможностью беспроводного обмена данными.
Блок управления по предыдущему пункту, в котором центральный блок (4) обмена данными выполнен с возможностью передачи первых данных, представляющих состояние блока (1) подачи питания, на первое устройство (41) обмена данными для их беспроводной передачи.
Блок управления по любому из двух предшествующих пунктов, содержащий второе устройство (43) обмена данными, выполненное с возможностью обмена данными с по меньшей мере одним устройством сигнализации по линии (3) подачи питания, в частности, для передачи сигналов (S) управления работой по меньшей мере одного устройства (9, 10) сигнализации и/или для приема вторых данных, представляющих состояние по меньшей мере одного устройства (9, 10) сигнализации.
Блок управления по любому из пунктов A27-A29, в котором центральный блок (4) обмена данными выполнен с возможностью приема вторых данных, представляющих состояние системы аэродромной сигнализации, и передачи вторых данных на первое устройство (41) обмена данными для их беспроводной передачи.
Блок управления по любому из пунктов A27-A30, в котором первое устройство (41) обмена данными содержит радиоантенну (42), в частности, для сотового обмена данными.
Система управления для системы аэродромной сигнализации, содержащая блок управления по пункту A30 и дополнительно содержащая систему (201) хранения данных, причем первое устройство (41) обмена данными выполнено с возможностью беспроводной передачи вторых данных на систему хранения данных.
Способ работы системы аэродромной сигнализации, причем система аэродромной сигнализации содержит блок управления и множество блоков сигнализации, каждый из которых снабжен по меньшей мере одним устройством аэродромной сигнализации, причем способ содержит:
сбор данных рабочего статуса от по меньшей мере одного устройства сигнализации, и
беспроводную передачу собранных данных рабочего статуса на систему удаленного хранения данных.
Способ по предыдущему пункту, в котором собранные данные рабочего статуса извлекают из системы удаленного хранения данных с помощью пользовательского интерфейса, предпочтительно портативного пользовательского интерфейса.
Способ по любому из двух предшествующих пунктов, в котором собранные данные рабочего статуса передаются посредством беспроводной сотовой сети обмена данными, предпочтительно, в котором собранные данные рабочего статусе извлекают из системы удаленного хранения данных посредством беспроводной сотовой сети обмена данными.
Способ по любому из пунктов A33 - A35, содержащий отправление рабочих команд на блоки сигнализации для работы по меньшей мере одного устройства сигнализации, причем рабочие команды отправляют посредством обмена данными линии подачи питания и/или посредством беспроводной передачи.
Система (100) аэродромной сигнализации, содержащая:
множество блоков (2, 30, 40, 50) сигнализации, каждый из которых содержит по меньшей мере одно устройство (9, 10) аэродромной сигнализации,
блок (1, 6) управления, выполненный с возможностью управления работой множества блоков (2, 30, 40, 50) сигнализации,
центральный блок (4) обмена данными, функционально соединенный с блоком управления и выполненный с возможностью обмена (S) данными с множеством блоков (2, 30, 40, 50) сигнализации,
отличающаяся тем, что один или более из центрального блока (4) обмена данными и множества блоков (2, 30, 40, 50) сигнализации содержит устройство (18, 282, 41, 58, 68) беспроводного обмена данными, выполненное с возможностью сотового обмена данными.
Система аэродромной сигнализации по пункту B1, содержащая источник (1) подачи питания и линию (3) подачи питания, соединяющую источник питания с множеством блоков (2, 30, 40, 50) сигнализации.
Система аэродромной сигнализации по предыдущему пункту, в которой каждый из множества блоков (2, 30, 40, 50) сигнализации содержит первое устройство (17, 281) обмена данными, подключенное к линии подачи питания, причем центральный блок (4) обмена данными подключен к линии (3) подачи питания и выполнен с возможностью обмена данными с первыми устройствами (17, 281) обмена данными посредством линии подачи питания, предпочтительно при этом первые устройства (17, 281) обмена данными выполнены с возможностью управления по меньшей мере одним устройством (9, 10) аэродромной сигнализации соответствующего блока (2, 30, 40, 50) сигнализации.
Система аэродромной сигнализации по любому из предшествующих пунктов, в которой центральный блок (4) обмена данными содержит первое одно устройство (41) беспроводного обмена данными.
Система аэродромной сигнализации по предыдущему пункту, в которой центральный блок (4) обмена данными выполнен с возможностью приема первых данных от одного или более из множества блоков (2, 30, 40, 50) сигнализации и/или блока (6) управления и передачи по меньшей мере части данных посредством первого устройства (41) беспроводного обмена данными посредством сотовой сети (180) на удаленную систему (201) хранения данных.
Система аэродромной сигнализации по пункт B5, в которой первые данные содержат данные для мониторинга рабочего статуса одного или более из блока (6) управления и множества блоков (2, 30, 40, 50) сигнализации, предпочтительно при этом первые данные содержат идентификационные данные соответствующего блока сигнализации или блока управления.
Система аэродромной сигнализации по любому из предшествующих пунктов, в которой каждый из множества блоков (2, 30, 40, 50) сигнализации содержит второе одно устройство (18, 28) беспроводного обмена данными, выполненное с возможностью сотового обмена данными.
Система аэродромной сигнализации по предыдущему пункту, в которой каждый из множества блоков (2, 30, 40, 50) содержит по меньшей мере одно датчиковое устройство (15) для регистрации данных измерений в отношении одного или более из: состояние окружающей среды, метеорологическое состояние и присутствия постороннего объекта, при этом по меньшей мере одно датчиковое устройство (15) выполнено с возможностью передачи данных измерений на второе устройство беспроводного обмена данными для передачи посредством сотовой сети (180).
Система аэродромной сигнализации по пункту B7 или B8, в сочетании с пунктом 5, в которой центральный блок (4) обмена данными выполнен с возможностью беспроводного обмена данными с множеством блоков (2, 30, 40, 50) сигнализации посредством первого устройства (41) беспроводного обмена данными и второго устройства (18, 28) беспроводного обмена данными по сотовой сети (180).
Система аэродромной сигнализации по любому из пунктов B7-B9, содержащая источник (1) подачи питания и линию (3) подачи питания, соединяющую источник электропитания с множеством блоков (2, 30, 40, 50) сигнализации, причем каждый из множества блоков сигнализации содержит первое шлюзовое устройство (17), подключенное к линии (3) подачи питания, при этом центральный блок (4) обмена данными содержит второе шлюзовое устройство (43), подключенное к линии (3) подачи питания, причем второе шлюзовое устройство выполнено с возможностью обмена данными с первыми шлюзовыми устройствами через линию подачи питания.
Система аэродромной сигнализации по предыдущему пункту, в которой центральный блок (4) обмена данными выполнен с возможностью обмена данными с множеством блоков (2, 30, 40, 50) сигнализации селективно посредством первого и второго устройств беспроводного обмена данными по сотовой сети (180) и посредством линии (3) подачи питания.
Система аэродромной сигнализации по любому из предшествующих пунктов, в которой устройство беспроводного обмена данными выполнено с возможностью приема и/или передачи радиосигналов 5G.
Система аэродромной сигнализации по любому из предшествующих пунктов, в которой устройство (9) аэродромной сигнализации содержит осветительное устройство.
Система аэродромной сигнализации по предыдущему пункту, в которой устройство (9) аэродромной сигнализации представляет собой аэродромное наземное освещение, аэродромный знак или аэродромный заградительный огонь.
Блок (2, 30, 40, 50) аэродромной сигнализации, содержащий:
кожух (7),
соединительную клемму (8) для соединения с линией (3) подачи питания,
по меньшей мере одно устройство (9, 10) аэродромной сигнализации,
электрический трансформатор (13), подключенный между соединительной клеммой (8) и устройством (9, 10) аэродромной сигнализации,
отличающийся тем, что блок аэродромной сигнализации содержит первое устройство (18, 28, 58, 68) обмена данными, подключенное к по меньшей мере одному устройству (9, 10) аэродромной сигнализации, при этом первое устройство обмена данными выполнено с возможностью сотового обмена данными.
Аэродромный блок сигнализации по предыдущему пункту, в котором первое устройство обмена данными выполнено с возможностью беспроводного приема команд (S) управления работой по меньшей мере одного устройства (9, 10) аэродромной сигнализации.
Блок аэродромной сигнализации по любому из двух предшествующих пунктов, содержащий по меньшей мере один датчик (14, 15) для измерения данных (R), представляющих состояние или событие внутри или снаружи оболочки (7), при этом по меньшей мере один датчик (14, 15) выполнен с возможностью передачи данных (R) на первое устройство (18, 28, 58, 68) обмена данными.
Блок аэродромной сигнализации по пункту B17, в котором первое устройство (18, 28, 58, 68) обмена данными выполнено с возможностью приема первых данных, представляющих рабочий статус, от по меньшей мере одного устройства (9, 10) аэродромной сигнализации и/или приема данных измерений от по меньшей мере одного датчика (14, 15) и передачи первых данных и/или данных измерений посредством сотовой сети (180).
Блок аэродромной сигнализации по любому из пунктов B15-B18, дополнительно содержащий второе устройство (17, 281) обмена данными, подключенное к соединительной клемме (8), при этом второе устройство обмена данными выполнено с возможностью обмена данными посредством линии (3) подачи питания, в частности, для приема команд (S) управления работой устройства (9, 10) аэродромной сигнализации.
Блок аэродромной сигнализации по предыдущему пункту, в котором второе устройство (281) обмена данными соединено с линией (3) подачи питания на узле (81) соединения выше по потоку от электрического трансформатора (13), при этом первое устройство (282) обмена данными и второе устройство (281) обмена данными выполнены с возможностью взаимного обмена сигналами данных.
Блок аэродромной сигнализации по любому из пунктов B15-B20, содержащий радиоантенну (19) для сотового обмена данными, функционально подключенную к первому устройству (18, 282, 58, 68) обмена данными.
Блок аэродромной сигнализации по предыдущему пункту, в котором радиоантенна (19) расположена снаружи кожуха (7).
Блок аэродромной сигнализации по пункту B21, в котором радиоантенна (19) расположена внутри кожуха (7).
Блок аэродромной сигнализации по пункту B23, в котором кожух содержит материал, по существу прозрачный для радиоволн, в частности, композитный материал, в частности, армированный волокном композитный материал.
Блок (110) управления для аэродромной системы сигнализации, причем блок управления содержит:
блок (1) подачи питания, выполненный с возможностью питания по меньшей мере одного устройства (9, 10) аэродромной сигнализации системы аэродромной сигнализации электроэнергией посредством линии (3) подачи питания,
центральный блок (4) обмена данными для передачи сигналов (S) управления на по меньшей мере одно устройство аэродромной сигнализации,
отличающийся тем, что центральный блок (4) обмена данными содержит первое устройство (41) обмена данными, выполненное с возможностью сотового обмена данными.
Блок управления по предыдущему пункту, в котором центральный блок (4) обмена данными выполнен с возможностью передачи первых данных, представляющих состояние блока (1) подачи питания, на первое устройство (41) обмена данными для их беспроводной передачи посредством сотовой сети (180).
Блок управления по любому из двух предшествующих пунктов, дополнительно содержащий второе устройство (43) обмена данными, выполненное с возможностью обмена данными с по меньшей мере одним устройством сигнализации посредством линии (3) подачи питания, в частности, для передачи сигналов (S) управления работой по меньшей мере одного устройства (9, 10) сигнализации и/или для приема вторых данных, представляющих состояние по меньшей мере одного устройства (9, 10) сигнализации.
Блок управления по любому из пунктов B25-B27, в котором первое устройство (41) обмена данными содержит радиоантенну (42) для сотового обмена данными.
Блок управления по любому из пунктов B25-B28, в котором центральный блок (4) обмена данными выполнен с возможностью приема вторых данных, представляющих состояние системы аэродромной сигнализации, и передачи вторых данных на первое устройство (41) обмена данными для их беспроводной передачи.
Система управления для аэродромной системы сигнализации, содержащая блок управления по пункту B29 и дополнительно содержащая систему (201) хранения данных и мобильный пользовательский интерфейс (300), причем первое устройство (41) обмена данными выполнено с возможностью беспроводной передачи вторых данных на систему хранения данных по сотовой сети (180), при этом мобильный пользовательский интерфейс (300) выполнен с возможностью доступа ко вторым данным, хранящимся в системе (201) хранения данных, посредством сотовой сети (180).
Способ работы системы (100) аэродромной сигнализации, причем система аэродромной сигнализации содержит блок (110) управления и множество блоков (2) сигнализации, каждый из которых снабжен по меньшей мере одним устройством (9) аэродромной сигнализации, причем способ содержит:
сбор данных рабочего статуса от по меньшей мере одного устройства сигнализации, и
беспроводную передачу собранных данных рабочего статуса на систему (201) удаленного хранения данных по сотовой сети (180).
Способ по предыдущему пункту, в котором собранные данные рабочего статуса извлекают из системы удаленного хранения данных с помощью пользовательского интерфейса, предпочтительно портативного пользовательского интерфейса посредством сотовой сети (180).
Способ по пункту B31 или B32, содержащий отправление рабочих команд на блоки (2) сигнализации для работы по меньшей мере одного устройства сигнализации, причем рабочие команды отправляют посредством обмена данными линии питании и/или посредством беспроводного обмена данными по сотовой сети.
| название | год | авторы | номер документа |
|---|---|---|---|
| АВТОМАТИЗИРОВАННАЯ СИСТЕМА МОНИТОРИНГА ПЕРЕВОЗОК ГРУЗОВ ЖЕЛЕЗНОДОРОЖНЫМ ТРАНСПОРТОМ | 2010 |
|
RU2466460C2 |
| ЗАВИСЯЩИЕ ОТ ЯЗЫКА ОПРЕДЕЛЕНИЕ ПОЛОЖЕНИЯ И СИГНАЛИЗАЦИЯ | 2011 |
|
RU2587990C2 |
| УСТРОЙСТВО И СПОСОБ ПЕРЕДАЧИ ДАННЫХ ЭКСТРЕННОГО ВЫЗОВА В СЕТЯХ БЕСПРОВОДНОЙ СВЯЗИ | 2010 |
|
RU2504111C2 |
| СИСТЕМА РАДИОСВЯЗИ | 1995 |
|
RU2146429C1 |
| МНОГОФУНКЦИОНАЛЬНЫЙ МОБИЛЬНЫЙ КОМПЛЕКС ОБЕСПЕЧЕНИЯ ПОТРЕБИТЕЛЕЙ МОНИТОРИНГОВОЙ ИНФОРМАЦИЕЙ (МКОПМИ) | 2011 |
|
RU2475968C1 |
| СИСТЕМА ОХРАННОЙ СИГНАЛИЗАЦИИ С ВОЗМОЖНОСТЬЮ БЕСПРОВОДНОГО ДИСТАНЦИОННОГО УПРАВЛЕНИЯ СРЕДСТВАМИ ОБНАРУЖЕНИЯ | 2015 |
|
RU2614565C2 |
| БЕСПРОВОДНОЕ УСТРОЙСТВО ЗАГРУЗКИ КОНТЕНТА ДЛЯ РАЗВЛЕКАТЕЛЬНОЙ СИСТЕМЫ | 2016 |
|
RU2708640C2 |
| БЕСПРОВОДНАЯ ДАТЧИКОВАЯ СИСТЕМА И СПОСОБ ЕЕ ИСПОЛЬЗОВАНИЯ | 2014 |
|
RU2686805C2 |
| ДЕЦЕНТРАЛИЗАЦИЯ ФУНКЦИОНАЛЬНЫХ ВОЗМОЖНОСТЕЙ БАЗОВОЙ СЕТИ | 2009 |
|
RU2480928C2 |
| СПОСОБ И СИСТЕМА, ПРЕДНАЗНАЧЕННЫЕ ДЛЯ УСТАНОВЛЕНИЯ СОЕДИНЕНИЯ ЧЕРЕЗ СЕТЬ ДОСТУПА | 2003 |
|
RU2304856C2 |
Группа изобретений относится к системе, способу и блоку аэродромной сигнализации, системе управления для системы аэродромной сигнализации. Система аэродромной сигнализации содержит множество блоков сигнализации, центральный блок обмена данными. Блок аэродромной сигнализации содержит кожух, соединительную клемму для соединения с линией подачи питания, электрический трансформатор, по меньшей мере одно датчиковое устройство для регистрации данных окружающей среды, устройство беспроводного обмена данными. Система управления содержит систему аэродромной сигнализации и систему хранения данных. Способ заключается в сборе данных и беспроводной передачи их в систему хранения. Обеспечивается повышение безопасности на аэродроме за счет возможности собирать и быстро передавать большой объем информации при мониторинге ситуации на аэродроме. 4 н. и 24 з.п. ф-лы, 6 ил.
1. Система (100) аэродромной сигнализации, содержащая:
множество блоков (2, 30, 40, 50) сигнализации, каждый из которых содержит по меньшей мере одно устройство (9) аэродромной сигнализации,
блок (1, 6) управления, выполненный с возможностью управления работой множества блоков (2, 30, 40, 50) сигнализации,
центральный блок (4) обмена данными, функционально соединенный с блоком управления и выполненный с возможностью обмена данными (S) с множеством блоков (2, 30, 40, 50) сигнализации,
причем каждый из множества блоков (2, 30, 40, 50) сигнализации содержит по меньшей мере одно датчиковое устройство (15), выполненное с возможностью регистрации данных измерений в отношении одного или более из: состояние окружающей среды, метеорологическое состояние, присутствие объекта, перемещение объекта и состояние статуса, относящееся к соответствующему блоку сигнализации, отличное от состояния статуса соответствующего по меньшей мере одного устройства сигнализации,
причем каждый из множества блоков (2, 30, 40, 50) сигнализации содержит первое устройство (18, 282, 41, 58, 68) беспроводного обмена данными, выполненное с возможностью сотового обмена данными,
при этом по меньшей мере одно датчиковое устройство (15) выполнено с возможностью передачи данных измерений на первое устройство беспроводного обмена данными для передачи через сотовую сеть (180).
2. Система аэродромной сигнализации по п. 1, в которой центральный блок (4) обмена данными содержит второе устройство (41) беспроводного обмена данными, выполненное с возможностью сотового обмена данными.
3. Система аэродромной сигнализации по п. 2, в которой центральный блок (4) обмена данными выполнен с возможностью приема первых данных от одного или более из множества блоков (2, 30, 40, 50) сигнализации и/или блока (6) управления и передачи по меньшей мере части первых данных посредством второго устройства (41) беспроводного обмена данными по сотовой сети (180) на удаленную систему (201) хранения данных.
4. Система аэродромной сигнализации по п. 3, в которой первые данные содержат данные для мониторинга рабочего статуса одного или более из блока (6) управления и множества блоков (2, 30, 40, 50) сигнализации, предпочтительно при этом первые данные содержат идентификационные данные соответствующего блока сигнализации или блока управления.
5. Система аэродромной сигнализации по п. 3 или 4, в которой центральный блок (4) обмена данными выполнен с возможностью беспроводного обмена данными с множеством блоков (2, 30, 40, 50) сигнализации посредством первого устройства (41) беспроводного обмена данными и второго устройства (18, 28) беспроводного обмена данными по сотовой сети (180).
6. Система аэродромной сигнализации по любому из предыдущих пунктов, содержащая источник (1) подачи питания и линию (3) подачи питания, соединяющую источник питания с множеством блоков (2, 30, 40, 50) сигнализации.
7. Система аэродромной сигнализации по п. 6, в которой каждый из множества блоков сигнализации содержит первое шлюзовое устройство (17), подключенное к линии (3) подачи питания, при этом центральный блок (4) обмена данными содержит второе шлюзовое устройство (43), подключенное к линии (3) подачи питания, причем второе шлюзовое устройство выполнено с возможностью обмена данными с первыми шлюзовыми устройствами посредством линии подачи питания.
8. Система аэродромной сигнализации по предыдущему пункту, в которой центральный блок (4) обмена данными выполнен с возможностью обмена данными с множеством блоков (2, 30, 40, 50) сигнализации селективно посредством первого и второго устройств беспроводного обмена данными и посредством линии (3) подачи питания.
9. Система аэродромной сигнализации по любому из предыдущих пунктов, в которой первое беспроводное устройство обмена данными и опционально второе беспроводное устройство обмена данными выполнены с возможностью приема и/или передачи радиосигналов 5G.
10. Система аэродромной сигнализации по любому из предыдущих пунктов, в которой сотовая сеть (180) представляет собой частную сотовую сеть.
11. Система аэродромной сигнализации по любому из предыдущих пунктов, в которой устройство (9) аэродромной сигнализации содержит осветительное устройство.
12. Система аэродромной сигнализации по предыдущему пункту, в которой устройство (9) аэродромной сигнализации представляет собой аэродромное наземное освещение, аэродромный знак, аэродромный заградительный огонь или аэродромное устройство визуального сопровождения.
13. Блок (2, 30, 40, 50) аэродромной сигнализации, содержащий:
кожух (7),
соединительную клемму (8) для соединения с линией (3) подачи питания,
по меньшей мере одно устройство (9) аэродромной сигнализации,
электрический трансформатор (13), подключенный между соединительной клеммой (8) и устройством (9) аэродромной сигнализации,
по меньшей мере один датчик (15) для регистрации данных (R) измерений, представляющих одно или более из: состояние окружающей среды, метеорологическое состояние, наличие объекта, движение объекта и статус состояния, относящийся к соответствующему блоку сигнализации, отличный от статуса состояния соответствующего по меньшей мере одного устройства сигнализации,
отличающийся тем, что блок аэродромной сигнализации содержит первое устройство (18, 28, 58, 68) беспроводного обмена данными, выполненное с возможностью сотового обмена данными,
причем по меньшей мере один датчик (15) выполнен с возможностью передачи данных (R) измерений на первое устройство (18, 28, 58, 68) беспроводного обмена данными.
14. Блок аэродромной сигнализации по предыдущему пункту, в котором первое устройство беспроводного обмена данными выполнено с возможностью беспроводного приема команд (S) управления работой по меньшей мере одного устройства (9, 10) аэродромной сигнализации.
15. Блок аэродромной сигнализации по п. 13 или 14, в котором первое устройство (18, 28, 58, 68) беспроводного обмена данными выполнено с возможностью приема первых данных, представляющих рабочее состояние, от по меньшей мере одного устройства (9, 10) аэродромной сигнализации и передачи первых данных и/или данных измерений посредством сотовой сети (180).
16. Блок аэродромной сигнализации по любому из пп. 13-15, дополнительно содержащий второе устройство (17, 281) обмена данными, подключенное к соединительной клемме (8), причем второе устройство обмена данными выполнено с возможностью обмена данными посредством линии (3) подачи питания, в частности, для приема команд (S) управления работой устройства (9) аэродромной сигнализации.
17. Блок аэродромной сигнализации по предыдущему пункту, в котором второе устройство (281) обмена данными соединено с линией (3) подачи питания на узле (81) соединения выше по потоку от электрического трансформатора (13), причем первое устройство (282) обмена данными и второе устройство (281) обмена данными выполнены с возможностью взаимного обмена сигналами данных.
18. Блок аэродромной сигнализации по любому из пп. 13-17, содержащий радиоантенну (19) для сотового обмена данными, функционально подключенную к первому устройству (18, 282, 58, 68) обмена данными.
19. Блок аэродромной сигнализации по предыдущему пункту, в котором радиоантенна (19) расположена снаружи кожуха (7).
20. Блок аэродромной сигнализации по п. 18, в котором радиоантенна (19) расположена внутри кожуха (7).
21. Блок аэродромной сигнализации по п. 20, в котором кожух содержит материал, по существу прозрачный для радиоволн, в частности композитный материал, в частности армированный волокном композитный материал.
22. Система управления для системы аэродромной сигнализации, содержащая систему аэродромной сигнализации по любому из пп. 1-12 и дополнительно содержащая систему (201) хранения данных, причем первое устройство (18, 28, 58, 68) беспроводного обмена данными выполнено с возможностью беспроводной передачи данных измерений на систему хранения данных по сотовой сети (180).
23. Система управления по п. 22, в которой центральный блок (4) обмена данными содержит второе устройство (41) беспроводного обмена данными, причем центральный блок (4) обмена данными выполнен с возможностью приема первых данных от одного или более из множества блоков (2, 30, 40, 50) сигнализации и/или блока (6) управления и передачи по меньшей мере части первых данных посредством второго устройства (41) беспроводного обмена данными по сотовой сети (180) на систему (201) хранения данных.
24. Система управления по п. 22 или 23, дополнительно содержащая мобильный пользовательский интерфейс (300), причем мобильный пользовательский интерфейс (300) выполнен с возможностью доступа к данным измерений и/или первым данным, хранящимся в системе (201) хранения данных, через сотовую сеть (180).
25. Способ работы системы (100) аэродромной сигнализации, причем система аэродромной сигнализации содержит блок (110) управления и множество блоков (2) сигнализации, каждый из которых снабжен по меньшей мере одним устройством (9) аэродромной сигнализации и по меньшей мере одним датчиковым устройством (15), регистрирующим данные измерений в отношении одного или более из: состояние окружающей среды, метеорологическое состояние, присутствие объекта, движение объекта и состояние статуса, относящееся к соответствующему блоку сигнализации, отличному от состояния статуса соответствующего по меньшей мере одного устройства сигнализации, причем способ содержит:
сбор данных измерений от по меньшей мере одного датчика и
беспроводную передачу собранных данных измерений на систему (201) удаленного хранения данных по сотовой сети (180).
26. Способ по п. 25, дополнительно содержащий сбор данных рабочего статуса от по меньшей мере одного устройства сигнализации и беспроводную передачу собранных данных рабочего статуса на систему (201) удаленного хранения данных по сотовой сети (180).
27. Способ по предыдущему пункту, в котором собранные данные рабочего статуса извлекают из системы (201) удаленного хранения данных с помощью пользовательского интерфейса, предпочтительно портативного пользовательского интерфейса, посредством сотовой сети (180).
28. Способ по любому из пп. 25-27, содержащий отправление рабочих команд на блоки (2) сигнализации для работы по меньшей мере одного устройства сигнализации, причем рабочие команды отправляют посредством обмена данными линии подачи питания и/или посредством беспроводной передачи по сотовой сети (180).
| CN 101261760 B, 21.04.2010 | |||
| US 20150296600 A1, 15.10.2015 | |||
| Реверсивная муфта | 1983 |
|
SU1606785A1 |
| US 8174408 B2, 08.05.2012 | |||
| CN 205451341 U, 10.08.2016 | |||
| МНОГОФУНКЦИОНАЛЬНЫЙ МОБИЛЬНЫЙ КОМПЛЕКС ОБЕСПЕЧЕНИЯ ПОТРЕБИТЕЛЕЙ МОНИТОРИНГОВОЙ ИНФОРМАЦИЕЙ (МКОПМИ) | 2011 |
|
RU2475968C1 |
Авторы
Даты
2025-03-03—Публикация
2021-12-16—Подача