Перекрестная ссылка на родственную заявку
Настоящая заявка испрашивает приоритет в отношении китайской патентной заявки № 202310845902.4, поданной 10 июля 2023 г., все содержание которой включено сюда посредством ссылки.
Область техники, к которой относится изобретение
Настоящее раскрытие относится к технической области формирования изображения и, в частности, к узлу инициирования, адаптеру, картриджу, узлу картриджей и к способу обнаружения.
Уровень техники
С развитием технологии формирования изображений для печати, устройства формирования изображения, такие как принтеры, копировальные устройства, факсы, текстовые процессоры и т. д., получили широкое распространение. Для удобства устройства формирования изображения обычно снабжаются расходными материалами, которые удобны для их замены пользователями. Например, расходный картридж, содержащий материалы для печатания (такие как чернила, тонер и т. д.), упоминается как картридж (такой как картридж с чернилами, картридж с тонером, цилиндр с тонером и т. д.). Когда материал для печатания в картридже израсходован, пользователь должен только заменить картридж и устройство формирования изображения может продолжать использоваться.
Устройство, формирующее цветное изображение, содержит множество картриджей, содержащих тонеры основных цветов, и узел формирования изображения соответствующий основным цветам, располагается в устройстве формирования цветного изображения. Картридж предоставляет тонер в форме картриджа соответствующему устройству формирования цветного изображения. Узел формирования изображения содержит фоточувствительный барабан, зарядный узел и проявочный узел. Зарядный узел может делать поверхность фоточувствительного барабана равномерно заряженной. Таким образом, на равномерно заряженную поверхность фоточувствительного барабана переносится электростатическое скрытое изображение и электростатическое скрытое изображение проявляется проявочным узлом и тонером. Накладывая тонеры нескольких основных цветов, может быть получено множество цветов, формируя, таким образом, цветное изображение. В качестве примера, устройство формирования цветного изображения содержит картриджи, в которых присутствуют желтый (Y), пурпурный (M), синий (C) и черный (K) тонеры, соответственно. Согласно картриджам, полости для размещения, в которых размещаются картриджи соответствующих цветов, обеспечиваются в устройстве формирования изображения. Должно быть понятно, что желтый, пурпурный, синий и черный картриджи устанавливаются по порядку в желтой, пурпурной, синей и черной полостях для размещения, соответственно.
Чтобы сократить затраты, картриджи, соответствующие различным цветам, обычно устанавливаются в одинаковую конструкцию стандартизированным способом. Поэтому, когда пользователь устанавливает много картриджей разных цветов, порядок установки может быть перепутан. Например, может оказаться, что пурпурный картридж устанавливается в полость для размещения синего картриджа; а синий картридж устанавливается в полость для размещения пурпурного картриджа. В этом случае, к синему узлу получения изображения будет подаваться пурпурный тонер. Синий тонер будет подаваться пурпурному узлу получения изображения, что приводит в результате к ухудшению проявления или к ухудшению качества изображения, влияя, тем самым, на опыт восприятия пользователем.
Кроме того, картридж может быть не установлен должным образом из-за избыточной длины узла получения изображения. Когда картридж не устанавливается должным образом, тонер в картридже не может нормально подаваться узлу получения изображения, что также приведет к ухудшению проявления или ухудшению качества изображения, влияя, тем самым, на опыт восприятия пользователем.
Сущность изобретения
Один из подходов настоящего раскрытия представляет узел инициирования электрического сигнала. Узел инициирования электрического сигнала устанавливается на компоновочный узел картриджа. Картридж с возможностью снятия располагается на основном корпусе устройства формирования изображения. Устройство формирования изображения имеет полость для размещения, проводящий блок, блок совпадения и блок ответа на электрический сигнал. Компоновочный узел выполнен с возможностью взаимодействия с блоком совпадения, позволяющим устанавливать картридж в заданное положение в полости для размещения. Узел инициирования электрического сигнала выполнен с возможностью электрического соединения с проводящим блоком и инициирования блока ответа на электрический сигнал для получения заданного ответного сигнала, когда узел инициирования электрического сигнала устанавливается на компоновочный узел картриджа и картридж устанавливается в заданное положение в полости для размещения.
Один из подходов настоящего раскрытия представляет адаптер, устанавливаемый на картридже. Картридж с возможностью его снятия располагается на основном корпусе устройства формирования изображения. Устройство формирования изображения имеет полость для размещения, проводящий блок, блок совпадения и блок ответа на электрический сигнал. Адаптер имеет компоновочный узел и узел инициирования электрического сигнала. Картридж имеет установочную часть для установки компоновочного узла. Компоновочный узел выполнен с возможностью сопряжения с блоком совпадения. Картридж устанавливается в заданное место в полости для размещения. Узел инициирования электрического сигнала выполнен с возможностью электрического соединения с проводящим блоком и инициирования блока ответа на электрический сигнал для получения заданного ответного сигнала, когда узел инициирования электрического сигнала и компоновочный узел устанавливаются на картридж, а также, когда картридж устанавливается в заданное положение в полости для размещения. Заданный ответный сигнал выполнен с возможностью определения, удовлетворяет ли установка картриджа предъявляемым требованиям.
Один из подходов настоящего раскрытия представляет картридж, с возможностью снятия расположенный на основном корпусе устройства формирования изображения. Устройство формирования изображения имеет полость для размещения, проводящий блок, блок совпадения и блок ответа на электрический сигнал. Картридж имеет компоновочный узел и узел инициирования электрического сигнала. Компоновочный узел располагается на корпусе и выполнен с возможностью взаимодействия с блоком совпадения в полости для размещения при установке картриджа в заданное положение в полости для размещения. Узел инициирования электрического сигнала располагается на компоновочном узле. Узел инициирования электрического сигнала выполнен с возможностью электрического соединения с проводящим блоком и инициирования блока ответа на электрический сигнал для получения заданного ответного сигнала, когда картридж устанавливается в заданное положение в полости для размещения. Заданный ответный сигнал выполнен с возможностью определения, удовлетворяет ли установка картриджа предъявляемым требованиям.
Один из подходов настоящего раскрытия представляет узел картриджей, с возможностью снятия образом устанавливаемый на основной корпус устройства формирования изображения. Узел картриджей содержит множество картриджей. Устройство формирования изображения имеет полость для размещения, проводящий блок, блок совпадения и блок ответа на электрический сигнал. Картридж из числа множества картриджей имеет компоновочный узел и узел инициирования электрического сигнала. Компоновочный узел располагается на корпусе и выполнен с возможностью взаимодействия с блоком совпадения в полости для размещения при установке картриджа в заданное место в полости для размещения. Узел инициирования электрического сигнала располагается на компоновочном узле. Узел инициирования электрического сигнала выполнен с возможностью электрического соединения с проводящим блоком и инициирования блока ответа на электрический сигнал, чтобы получить заданный ответный сигнал, когда картридж установлен в заданном месте в полости для размещения. Заданный ответный сигнал выполнен с возможностью определения, удовлетворяет ли установка картриджа предъявленным требованиям.
Другой подход настоящего раскрытия представляет способ обнаружения, применяемый к устройству формирования изображения. Картридж устанавливается на устройство формирования изображения и картридж с возможностью его снятия располагается на основном корпусе устройства формирования изображения. Устройство формирования изображения имеет полость для размещения, проводящий блок, блок совпадения и блок инициирования ответа на электрический сигнал. Картридж имеет компоновочный узел и узел инициирования электрического сигнала. Компоновочный узел располагается на корпусе и выполнен с возможностью взаимодействия с блоком совпадения в полости для размещения при установке картриджа в заданном месте в полости для размещения. Узел инициирования электрического сигнала располагается на компоновочном узле. Узел инициирования электрического сигнала выполнен с возможностью электрического соединения с проводящим блоком и инициирования блока ответа на электрический сигнал, чтобы получить заданный ответный сигнал, когда картридж установлен в заданное место в полости для размещения. Заданный ответный сигнал выполнен с возможностью определения, удовлетворяет ли установка картриджа предъявляемым требованиям. Способ обнаружения содержит получение заданного ответного сигнала, соответствующего картриджу, и определение на основе заданного ответного сигнала, удовлетворяет ли установка картриджа предъявляемым требованиям.
Краткое описание чертежей
Чтобы лучше представить варианты осуществления настоящего раскрытия или технические решения, ниже будет описано краткое введение к чертежам для представления вариантов осуществления или технических решений. Очевидно, что чертежи в последующем описании являются лишь некоторыми вариантами осуществления настоящего раскрытия. Специалисты в данной области техники, не прилагая творческих усилий, могут получить и другие чертежи, основанные на этих чертежах.
Фиг. 1 – структурная блок-схема устройства формирования изображения, соответствующая различным вариантам осуществления настоящего раскрытия.
Фиг. 2 – локальная структура основного корпуса устройства формирования изображения, соответствующая различным вариантам осуществления настоящего раскрытия.
Фиг. 3 – структурная схема картриджа, соответствующая различным вариантам осуществления настоящего раскрытия.
Фиг. 4 - структурная схема листового металлического компонента, соответствующая различным вариантам осуществления настоящего раскрытия.
Фиг. 5 – структурная блок-схема другого устройства формирования изображения, соответствующая различным вариантам осуществления настоящего раскрытия.
Фиг. 6 – структурная блок-схема другого устройства формирования изображения, соответствующая различным вариантам осуществления настоящего раскрытия.
Фиг. 7 - структурная блок-схема другого устройства формирования изображения, соответствующая различным вариантам осуществления настоящего раскрытия.
Фиг. 8 – структурная схема проводящего блока, соответствующая различным вариантам осуществления настоящего раскрытия.
Фиг. 9 - структурная схема другого проводящего блока, соответствующая различным вариантам осуществления настоящего раскрытия.
Фиг. 10 - структурная схема картриджа, сопрягающегося с проводящим блоком, показанным на фиг. 8 и фиг. 9, соответствующая различным вариантам осуществления настоящего раскрытия.
Фиг. 11 - структурная схема другого проводящего блока, соответствующая различным вариантам осуществления настоящего раскрытия.
Фиг. 12 – локальная структура картриджа, сопрягающегося с проводящим блоком на фиг. 11, соответствующая различным вариантам осуществления настоящего раскрытия.
Фиг. 13 - структурная блок-схема другого устройства формирования изображения, соответствующая различным вариантам осуществления настоящего раскрытия.
Фиг. 14A-14C – схематичное представление процесса вставки картриджа в полость для размещения, соответствующее различным вариантам осуществления настоящего раскрытия.
Фиг. 15 – блок-схема последовательности выполнения операций способа обнаружения, соответствующая различным вариантам осуществления настоящего раскрытия.
Фиг. 16 - структурная блок-схема адаптера, соответствующая различным вариантам осуществления настоящего раскрытия.
Фиг. 17 - структурная блок-схема картриджа, соответствующая различным вариантам осуществления настоящего раскрытия.
Фиг. 18 – структурная блок-схема другого картриджа, соответствующая различным вариантам осуществления настоящего раскрытия.
Фиг. 19 – структурная блок-схема другого картриджа, соответствующая различным вариантам осуществления настоящего раскрытия.
Фиг. 20 – структурная блок-схема узла картриджей, соответствующая различным вариантам осуществления настоящего раскрытия.
Фиг. 21 - структурная блок-схема другого устройства формирования изображения, соответствующая различным вариантам осуществления настоящего раскрытия.
Фиг. 22 - структурная блок-схема другого устройства формирования изображения, соответствующая различным вариантам осуществления настоящего раскрытия.
Фиг. 23 - структурная блок-схема другого устройства формирования изображения, соответствующая различным вариантам осуществления настоящего раскрытия.
Фиг. 24 - структурная блок-схема другого устройства формирования изображения, соответствующая различным вариантам осуществления настоящего раскрытия.
Фиг. 25 - структурная схема другого устройства формирования изображения, соответствующая различным вариантам осуществления настоящего раскрытия.
Описание вариантов осуществления
Чтобы лучше представить технические решения настоящего раскрытия, ниже варианты осуществления настоящего раскрытия описываются подробно со ссылкой на сопроводительные чертежи.
Заметим, что описанные варианты осуществления являются только частью вариантов осуществления настоящего раскрытия, а не всеми вариантами осуществления. Основываясь на вариантах осуществления настоящего раскрытия, другие варианты осуществления, полученные специалистами в данной области техники без каких-либо творческих усилий, находятся в рамках объема защиты настоящего раскрытия.
Термины, используемые в вариантах осуществления настоящего раскрытия, служат только для цели описания конкретных вариантов осуществления и не предназначены ограничивать настоящее раскрытие. Формы единственного числа, используемые в вариантах осуществления настоящего раскрытия и в формуле изобретения, также предназначены содержать формы множественного числа, если контекст явно не указывает других значений.
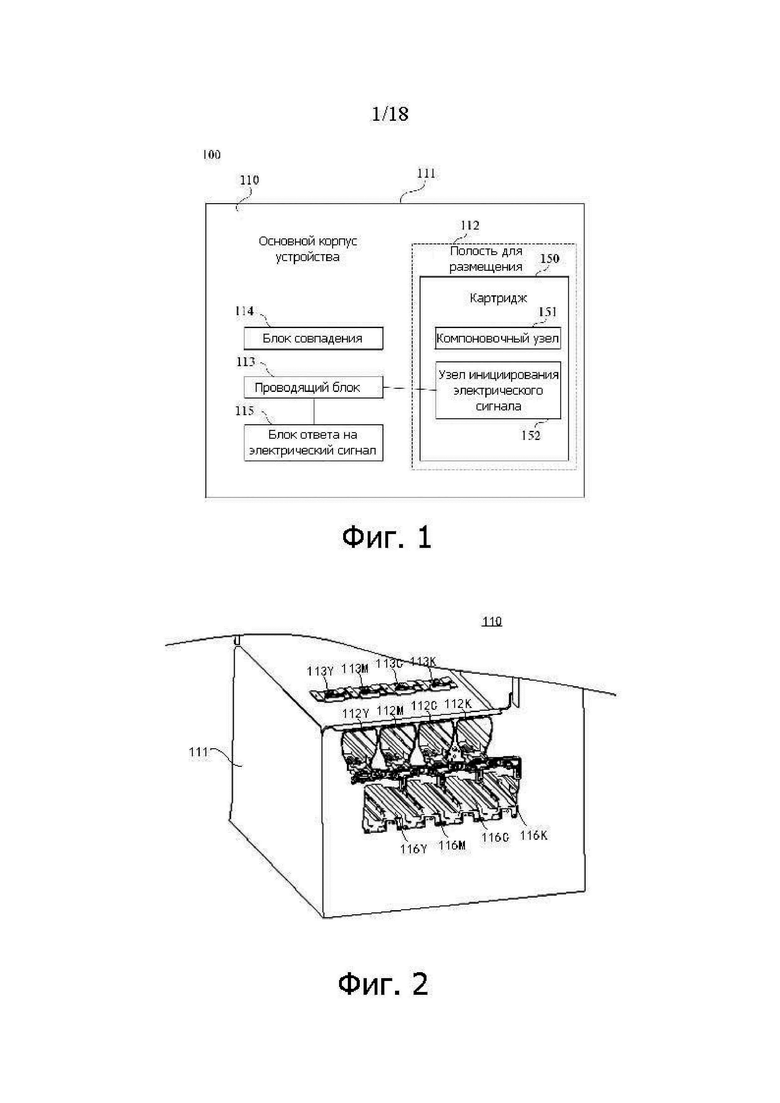
На фиг. 1 представлена структурная блок-схема устройства формирования изображения, соответствующая вариантам осуществления настоящего раскрытия. Как показано на фиг. 1, устройство 100 формирования изображения содержит основной корпус 110 устройства формирования изображения (в других частях настоящего раскрытия основной корпус 110 устройства формирования изображения может также упоминаться как "основная часть") и картридж 150. Например, картридж 150 может быть картриджем с чернилами, картриджем с тонером, цилиндром с тонером и т. д.
Основной корпус 110 устройства формирования изображения содержит раму 111 и полость 112 для размещения. Полость 112 для размещения используется, чтобы размещать в ней картридж 150. Блок 114 совпадения обеспечивается на раме 111. Компоновочный узел 151, сопрягающийся с блоком 114 совпадения, обеспечивается на картридже 150. Компоновочный узел 151 сопрягается с блоком 114 совпадения, так чтобы картридж 150 мог устанавливаться в заданное положение в полости 112 для размещения. Кроме того, проводящий блок 113 и блок 115 ответа на электрический сигнал также обеспечиваются на раме 111. Блок 115 ответа на электрический сигнал в настоящем раскрытии электрически соединяется с проводящим блоком 113 и устройством управления основного корпуса 110 устройства формирования изображения, соответственно. Блок 152 инициирования электрического сигнала, сопрягающийся с проводящим блоком 113, обеспечивается на картридже 150. Когда картридж 150 устанавливается в заданное положение в полости 112 для размещения, узел 152 инициирования электрического сигнала электрически соединяется с проводящим блоком 113 и инициирует блок 115 ответа на электрический сигнал для получения заданного ответного сигнала. Заданный ответный сигнал используется для определения, удовлетворяет ли установка картриджа 150 предъявляемым требованиям, то есть, для определения, установлен ли картридж 150 на место.
В настоящем раскрытии, когда картридж 150 устанавливается в заданное положение в полости 112 для размещения, картридж 150 устанавливается в основном корпусе 110 устройства формирования изображения и может нормально выполнять операции формирования изображения, такие как обычная печать и обычная подача тонера.
В одной из реализаций заданный ответный сигнал является сигналом высокого уровня (например, сигналом с напряжением 3,3 В). Конкретно, когда картридж 150 устанавливается в заданное положение в полости 112 для размещения, узел 152 инициирования электрического сигнала электрически соединяется с проводящим блоком 113 и инициирует блок 115 ответа на электрический сигнал, чтобы получить сигнал высокого уровня. Соответственно сигналу высокого уровня, может быть определено, удовлетворяет ли установка картриджа 150 предъявляемым требованиям, то есть, установлен ли он на место. Напротив, если блок 115 ответа на электрический сигнал получает сигнал низкого уровня, это означает, что установка картриджа 150 не удовлетворяет предъявляемым требованиям, то есть, картридж не установлен на место.
Точно также, заданный ответный сигнал может также быть сигналом низкого уровня (например, сигналом с напряжением 0 В). Конкретно, когда картридж 150 установлен в заданное положение в полости 112 для размещения, узел 152 инициирования электрического сигнала электрически соединяется с проводящим блоком 113 и инициирует блок 115 ответа на электрический сигнал, чтобы получить сигнал низкого уровня. Согласно сигналу низкого уровня, может быть определено, удовлетворяет ли установка картриджа 150 предъявляемым требованиям, то есть, установлен ли он на место. Напротив, если блок 115 ответа на электрический сигнал получает сигнал высокого уровня, это означает, что установка картриджа 150 не удовлетворяет предъявляемым требованиям, то есть, картридж не установлен на место.
В вариантах осуществления настоящего раскрытия узел 152 инициирования электрического сигнала может определить, удовлетворяет ли установка картриджа 150 предъявляемым требованиям, используя заданный ответный сигнал. Это может помочь избежать сценария ухудшения проявления или ухудшения качества изображения, вызванных неправильной установкой картриджа 150.
Чтобы лучше передать идею, техническое решение описывается ниже в качестве примера в сочетании с конкретной структурой устройства 100 формирования изображения.
На фиг. 2 показана локальная структурная схема основного корпуса устройства формирования изображения, представленная в вариантах осуществления настоящего раскрытия. На фиг. 3 показана структурная схема картриджа, представленная в вариантах осуществления настоящего раскрытия. Как показано на фиг. 2 и 3, основной корпус 110 устройства формирования изображения содержит раму 111 и полости 112Y~K для размещения. Полости 112Y~K для размещения соответствуют конструкции картриджей 150Y~K (конкретно, это может быть цилиндр с тонером), так чтобы картриджи 150Y~K могли быть установлены в заданные положения в полостях 112Y~K для размещения. Кроме того, на раме 111 обеспечиваются проводящие блоки 113Y~K, а узлы 152Y~K инициирования электрического сигнала, сопрягающиеся с проводящими блоками 113Y~K, обеспечиваются на картриджах 150Y~K. Когда картриджи 150Y~K устанавливаются в заданные положения в полостях 112Y~K для размещения, узлы 152Y~K инициирования электрического сигнала электрически соединяются с проводящими блоками 113Y~K и инициируют блок 115 ответа на электрический сигнал (не показан на чертеже фигуре), чтобы получить заданный ответный сигнал. Заданный ответный сигнал используется для определения, удовлетворяет ли установка картриджей 150Y~K предъявляемым требованиям.
Как показано на фиг. 2 и 4, в одной из реализаций рама 111 содержит листовой металлический компонент и проводящие блоки 113Y~K располагаются на листовом металлическом компоненте. Когда листовой металлический компонент закрепляется над полостями 112Y~K для размещения, один конец проводящих блоков 113Y~K выступает в полости 112Y~K для размещения. Другой конец проходит через листовой металлический компонент, чтобы электрически соединиться с другими функциональными блоками (например, с блоком 115 ответа на электрический сигнал) устройства 100 формирования изображения. Кроме того, полости 116Y~K для размещения узлов получения изображения также обеспечиваются на основном корпусе 110 устройства формирования изображения. Конструкция полостей 116Y~K для размещения узлов получения изображения согласуется с узлом получения изображения (не показан на чертеже), так чтобы узел получения изображения мог устанавливаться в заданное положение в полости 116 для размещения узла получения изображения.
Следует заметить, что основной корпус 110 устройства формирования изображения и картриджи 150Y~K, показанные на фиг. 2-4, соответствуют устройству 100 формирования цветного изображения. Поэтому основной корпус 110 устройства формирования изображения содержит множество полостей 112Y~K для размещения и множество картриджей 150Y~K, соответствующих множеству полостей 112Y~K для размещения. Чтобы избежать перепутывания, когда пользователь устанавливает множество картриджей 150Y~K во множество полостей 112Y~K для размещения, полости 112Y~K для размещения различаются и различные картриджи 150Y~K устанавливаются по-разному. Таким образом, пользователь может устанавливать картриджи 150Y~K только в заранее определенные полости 112Y~K для размещения, что будет ниже описано подробно.
На фиг. 5 показана структурная блок-схема другого устройства формирования изображения, представленного в вариантах осуществления настоящего раскрытия. Как показано на фиг. 5, основанном на фиг. 1, в вариантах осуществления настоящего раскрытия проводящий блок 113 дополнительно содержит первый проводящий компонент 1131 и второй проводящий компонент 1132. Когда картридж 150 не установлен в заданное положение в полости 112 для размещения, первый проводящий компонент 1131 и второй проводящий компонент 1132 электрически изолированы. Электрическая изоляция здесь может пониматься так, что первый проводящий компонент 1131 и второй проводящий компонент 1132 изолированы друг от друга, то есть, не имеют никакого электрического соединения. Когда картридж 150 установлен в заданное положение в полости 112 для размещения, узел 152 инициирования электрического сигнала электрически соединяется с первым проводящим компонентом 1131 и вторым проводящим компонентом 1132, соответственно (как показано в состоянии на фиг. 5), инициируя, таким образом, блок 115 ответа на электрический сигнал, чтобы получить заданный ответный сигнал.
Как пример, первый проводящий компонент 1131 подключается к напряжению 0 В, второй проводящий компонент 1132 подключается к напряжению 3,3 В и блок 115 ответа на электрический сигнал электрически соединяется с первым проводящим компонентом 1131. Следует понимать, что когда картридж 150 не установлен в заданное положение в полости 112 для размещения, первый проводящий компонент 1131 и второй проводящий компонент 1132 электрически изолированы. Блок 115 ответа на электрический сигнал принимает напряжение 0 В. Когда картридж 150 установлен заданное положение в полости 112 для размещения, узел 152 инициирования электрического сигнала электрически соединяется с первым проводящим компонентом 1131 и вторым проводящим компонентом 1132, соответственно, делая, таким образом, первый проводящий компонент 1131 и второй проводящий компонент 1132 электрически соединенными. Блок 115 ответа на электрический сигнал принимает напряжение 3,3 В. Основываясь на изменении напряжения, можно определить, установлен ли картридж 150 в заданное положение в полости 112 для размещения.
Точно также, если первый проводящий компонент, 1131 подключается к напряжению 3,3 В и второй проводящий компонент 1132 подключается к напряжению 0 В, блок 115 ответа на электрический сигнал электрически соединяется с первым проводящим компонентом 1131. Следует понимать, что когда картридж 150 не установлен в заданное положение в полости 112 для размещения, первый проводящий компонент 1131 и второй проводящий компонент 1132 электрически изолированы. Блок 115 ответа на электрический сигнал принимает напряжение 3,3 В. Когда картридж 150 установлен в заданное положение в полости 112 для размещения, узел 152 инициирования электрического сигнала электрически соединяется с первым проводящим компонентом 1131 и вторым проводящим компонентом 1132, соответственно, делая, таким образом, первый проводящий компонент 1131 и второй проводящий компонент 1132 электрически соединенными. Блок 115 ответа на электрический сигнал принимает напряжение 0 В. Основываясь на изменении напряжения, может быть определено, установлен ли картридж 150 в заданное положение в полости 112 для размещения.
В вариантах осуществления настоящего раскрытия электрическое соединение в выражении “узел 152 инициирования электрического сигнала электрически соединяется с первым проводящим компонентом 1131 и вторым проводящим компонентом 1132, соответственно,” может означать контактное электрическое соединение или бесконтактное электрическое соединение. Например, бесконтактное электрическое соединение может быть получено посредством принципа электромагнитного преобразования и т. д. и варианты осуществления настоящего раскрытия это не ограничивают.
В одной из реализаций рама 111 содержит верхнюю пластину и боковую пластину, располагающиеся по соседству. Первый проводящий компонент 1131 и второй проводящий компонент 1132 располагаются на верхней пластине, а блок 115 ответа на электрический сигнал располагается на боковой пластине.
Как показано на фиг. 6, основанном на фиг. 5, варианты осуществления настоящего раскрытия дополнительно описывают, что первый проводящий компонент 1131 и второй проводящий компонент 1132 располагаются на верхней пластине рамы 111. Первый проводящий компонент 1131 электрически соединяется с источником питания основного корпуса 110 устройства формирования изображения через подтягивающий резистор, а второй проводящий компонент 1132 заземляется. Блок 115 ответа на электрический сигнал располагается на боковой пластине. Блок 115 ответа на электрический сигнал электрически соединяется с первым проводящим компонентом 1131. Блок 115 ответа на электрический сигнал также электрически соединяется с источником питания основного корпуса 110 устройства формирования изображения через подтягивающий резистор, получая сигнал высокого уровня (например, сигнал напряжения 3,3 В) в качестве заданного ответного сигнала. Конкретно, когда картридж 150 установлен в заданное положение в полости 112 для размещения, узел 152 инициирования электрического сигнала электрически соединяется с первым проводящим компонентом 1131 и вторым проводящим компонентом 1132. Узел 152 инициирования электрического сигнала электрически соединяется с первым проводящим компонентом 1131 и вторым проводящим компонентом 1132, чтобы сформировать короткое замыкание. Затем, подтягивающий резистор заземляется, чтобы сформировать сигнал низкого уровня. Таким образом, блок 115 ответа на электрический сигнал получает сигнал низкого уровня. Это может указывать, что установка картриджа 150 удовлетворяет предъявляемым требованиям, то есть, он установлен на место.
Точно также, в других вариантах осуществления, второй проводящий компонент 1132 основного корпуса 110 устройства формирования изображения может также электрически соединяться с блоком источника питания через подтягивающий резистор. Первый проводящий компонент 1131 заземляется. Таким образом, когда узел 152 инициирования электрического сигнала электрически соединяется с первым проводящим компонентом 1131 и вторым проводящим компонентом 1132, блок ответа на электрический сигнал получает сигнал высокого уровня. Таким образом, можно определить, что установка картриджа 150 удовлетворяет предъявляемым требованиям, то есть, картридж установлен на место.
На фиг. 7 показана структурная блок-схема другого устройства формирования изображения, представленного в вариантах осуществления настоящего раскрытия. Как показано на фиг. 7, основанном на фиг. 5, узел 152 инициирования электрического сигнала в вариантах осуществления настоящего раскрытия дополнительно содержит первый проводящий лист 1521 и второй проводящий лист 1522. Первый проводящий лист 1521 и второй проводящий лист 1522 электрически соединяются. Когда картридж 150 установлен в заданное положение в полости 112 для размещения, первый проводящий лист 1521 электрически соединяется с первым проводящим компонентом 1131, и второй проводящий лист 1522 электрически соединяется со вторым проводящим компонентом 1132. Таким образом, первый проводящий компонент 1131 электрически соединяется со вторым проводящим компонентом 1132, инициируя, тем самым, блок 115 ответа на электрический сигнал, чтобы получить заданный ответный сигнал.
В вариантах осуществления настоящего раскрытия электрическое соединение в выражении “первый проводящий лист 1521 электрически соединяется с первым проводящим компонентом 1131, и второй проводящий лист 1522 электрически соединяется со вторым проводящим компонентом 1132” может означать контактное электрическое соединение или бесконтактное электрическое соединение. Например, бесконтактное электрическое соединение может быть достигнуто посредством принципа электромагнитного преобразования и т. д. и варианты осуществления настоящего раскрытия это не ограничивают.
В одной из реализаций, первый проводящий компонент 1131 и второй проводящий компонент 1132 соответственно содержат металлический проводящий лист или множество металлических проводящих листов, электрически соединенных друг с другом. Дополнительно, когда первый проводящий компонент 1131 и второй проводящий компонент 1132 соответственно являются двумя металлическими проводящими листами и электрически соединены друг с другом, два металлических проводящих листа после контакта образуют V-образную форму. Альтернативно, форма первого проводящего компонента 1131 и второго проводящего компонента 1132 может быть правильной формой или неправильной формой, что не ограничивается в вариантах осуществления настоящего раскрытия.
В одной из реализаций первый проводящий лист 1521 и второй проводящий лист 1522 соответственно содержат один металлический проводящий лист или множество металлических проводящих листов, электрически соединенных друг с другом. Дополнительно, когда первый проводящий лист 1521 и второй проводящий лист 1522 соответственно являются двумя металлическими проводящими листами, электрически соединенными друг с другом, два металлических проводящих листа после контакта образуют V-образную форму. Альтернативно, форма первого проводящего компонента 1521 и второго проводящего компонента 1522 может быть правильной формой или неправильной формой. Варианты осуществления настоящего раскрытия это не ограничивают.
Проводящий блок 113 и узел 152 инициирования электрического сигнала, которые сопрягаются друг с другому в вышеупомянутом техническом решении, являются примером, описанным ниже в сочетании с конкретной структурой устройства 100 формирования изображения.
На фиг. 8 и 9 схематично показана структурная схема проводящего блока, представленного в вариантах осуществления настоящего раскрытия. На фиг. 10 схематично представлена структурная схема картриджа 150, представленного в вариантах осуществления настоящего раскрытия, согласующегося с проводящим блоком 113, показанным на фиг. 8 и 9. Как показано на фиг. 8-10, в вариантах осуществления настоящего раскрытия проводящий блок 113 содержит скобу 1130 проводящего блока. Первый проводящий компонент 1131 и второй проводящий компонент 1132, которые электрически изолированы, устанавливаются на скобе проводящего блока 1130. Первый проводящий компонент 1131 и второй проводящий компонент 1132 располагаются вдоль направления влево-вправо (ориентация, показанная на чертеже) на скобе проводящего блока 1130. Узел 152 инициирования электрического сигнала содержит первый проводящий лист 1521 и второй проводящий лист 1522, которые электрически соединяются, и первый проводящий лист 1521 и второй проводящий лист 1522 располагаются вдоль направления влево-вправо в картридже 150. Когда картридж 150 установлен в заданное положение в полости 112 для размещения, первый проводящий лист 1521 электрически соединяется с первым проводящим компонентом 1131, и второй проводящий лист 1522 электрически соединяется со вторым проводящим компонентом 1132. Таким образом, первый проводящий компонент 1131 электрически соединяется со вторым проводящим компонентом 1132, тем самым инициируя блок 115 ответа на электрический сигнал, чтобы получить заданный ответный сигнал. На фиг. 11 схематично приведена структурная схема другого проводящего блока 113, представленного в вариантах осуществления настоящего раскрытия. На фиг. 12 схематично приведена локальная структурная схема картриджа 150, представленного в вариантах осуществления настоящего раскрытия, сопрягающаяся с проводящим блоком 113, показанным на фиг. 11. Как показано на фиг. 11 и 12, в варианте осуществления настоящего раскрытия проводящий блок 113 содержит скобу проводящего блока 1130. На скобе 1130 проводящего блока находятся электрически изолированные первый проводящий компонент 1131 и второй проводящий компонент 1132. Кроме того, первый проводящий компонент 1131 и второй проводящий компонент 1132 располагаются на скобе 1130 проводящего блока вдоль направления вверх-вниз (ориентация, показанная на чертеже). Узел 152 инициирования электрического сигнала содержит первый проводящий лист 1521 и второй проводящий лист 1522, которые электрически соединяются. Первый проводящий лист 1521 и второй проводящий лист 1522 располагаются в направлении вверх-вниз на картридже 150. Когда картридж 150 установлен в заданное положение в полости 112 для размещения, первый проводящий лист 1521 электрически соединяется с первым проводящим компонентом 1131, а второй проводящий лист 1522 электрически соединяется со вторым проводящим компонентом 1132. Таким образом, первый проводящий компонент 1131 электрически соединяется со вторым проводящим компонентом 1132, тем самым инициируя блок 115 ответа на электрический сигнал, чтобы получить заданный ответный сигнал.
Следует заметить, что фиг. 8-12 являются только примерными иллюстрациями конкретных структур проводящего блока 113 и узла 152 инициирования электрического сигнала в вариантах осуществления настоящего раскрытия, и не должны использоваться в качестве ограничения объема защиты настоящего раскрытия. Специалисты в данной области техники должны понимать, что проводящий блок 113 и узел 152 инициирования электрического сигнала могут также обладать другими формами или структурами. Однако, если встречается условие "когда картридж 150 устанавливается в заданное положение в полости 112 для размещения, узел 152 инициирования электрического сигнала электрически соединяется с проводящим блоком 113 и инициирует блок 115 ответа на электрический сигнал, чтобы получить заданный ответный сигнал”, оно должно попадать в рамки объема защиты настоящего раскрытия.
В одной из реализаций компоновочный узел 151 на картридже 150 и блок 114 совпадения на основном корпусе 110 устройства формирования изображения могут использовать взаимно согласованные конструкции выступа и канавки. Например, на фиг. 8-10, компоновочный узел 151 на картридже 150 содержит два первых выступа 1511. Первый проводящий лист 1521 и второй проводящий лист 1522 соответственно устанавливаются на двух первых выступах 1511. Соответственно, блок 114 совпадения на основном корпусе 110 устройства формирования изображения содержит две первые канавки 1141, соответствующие двум первым выступам 1511. Первый проводящий компонент 1131 и второй проводящий компонент 1132 соответственно располагаются на двух первых канавках 1141. Посредством сопряжения между первой канавкой 1141 и первым выступом 1511 картридж 150 может быть установлен в заданное положение в полости 112 для размещения. После того, как картридж 150 установлен в заданное положение в полости 112 для размещения, первый проводящий лист 1521 электрически соединяется с первым проводящим компонентом 1131 и второй проводящий лист 1522 электрически соединяется со вторым проводящим компонентом 1132. Таким образом, первый проводящий компонент 1131 электрически соединяется со вторым проводящим компонентом 1132, инициируя, таким образом, блок 115 ответа на электрический сигнал, чтобы получить заданный ответный сигнал.
Основываясь на том же самом принципе, компоновочный узел 151 на картридже 150 может также быть расположен как вторая канавка. Блок 114 совпадения на основном корпусе 110 устройства формирования изображения может быть расположен как второй выступ. Посредством сопряжения второй канавки и второго выступа, картридж 150 может быть установлен в заданное положение в полости 112 для размещения. За конкретным содержанием можно обратиться к описанию вышеупомянутого варианта осуществления, которое здесь повторяться не будет.
На фиг. 13 показана структурная блок-схема другого устройства формирования изображения, представленного в вариантах осуществления настоящего раскрытия. Как показано на фиг. 13, основанном на фиг. 1, в вариантах осуществления настоящего раскрытия на раме 111 дополнительно обеспечивается защитный компонент 117. Защитный компонент 117 используется, чтобы закрывать, по меньшей мере, участок проводящего блока 113, когда картридж 150 не установлен в заданное положение в полости 112 для размещения. Это защищает проводящий блок 113 и предотвращает повреждение проводящего блока 113 внешней силой. Дополнительно, чтобы улучшить защитный эффект защитного компонента 117 на проводящем блоке 113, когда картридж 150 не установлен в заданное положение в полости 112 для размещения, защитный компонент 117 может закрывать всю область проводящего блока 113, чтобы достигнуть всесторонней защиты проводящего блока 113.
Соответствуя защитному компоненту 117, на картридже 150 также обеспечивается открывающий компонент 153. Когда картридж 150 устанавливается в заданное положение в полости 112 для размещения, открывающий компонент 153 может инициировать защитный компонент 117, чтобы освободить крышку проводящего блока 113. Это заставляет узел 152 инициирования электрического сигнала соединиться с проводящим блоком 113, инициируя блок 115 ответа на электрический сигнал для получения заданного ответного сигнала.
Продолжим обращаться к фиг. 8 и 9. В вариантах осуществления настоящего раскрытия защитный компонент 117 содержит блокирующий компонент и упругий компонент 1173 (например, пружину). Блокирующий компонент содержит блокирующую часть 1571 и согласующую часть 1172. Блокирующая часть 1571 используется для закрывания, по меньшей мере, участка проводящего блока 113 под действием силы упругости упругого компонента 1173, когда картридж 150 не установлен в заданное положение в полости 112 для размещения.
Конкретно, один конец упругого компонента 1173 контактирует со скобой 1130 проводящего блока. Другой конец упругого компонента 1173 контактирует с блокирующим компонентом. Когда на упругий компонент 1173 не действуют никакие дополнительные внешние силы, под действием силы упругости упругого компонента 1173 упругий компонент 1173 закрывает, по меньшей мере, участок проводящего блока 113. В вариантах осуществления настоящего раскрытия, поскольку проводящий блок 113 содержит два проводящих компонента (первый проводящий компонент 1131 и второй проводящий компонент 1132), блокирующий компонент содержит две блокирующие части 1571, чтобы закрыть первый проводящий компонент 1131 и второй проводящий компонент 1132, соответственно, как показано в состоянии, показанном на фиг. 8.
Продолжим обращаться далее к фиг. 10, который соответствует защитному компоненту 117 на фиг. 8 и 9. В вариантах осуществления настоящего раскрытия открывающий компонент 153 содержит нажимную часть 1531. Нажимная часть 1531 сопрягается с согласующей частью 1172. Когда картридж 150 устанавливается в заданное положение в полости 112 для размещения, нажимная часть 1531 может толкать согласующую часть 1172, приводя в движение блокирующую часть 1571 для ее перемещения. Таким образом, блокирующая часть 1571 освобождает крышку проводящего блока 113.
Конкретно, нажимная часть 1531 может быть наклонным ребром, расположенным на корпусе 1500 картриджа 150. Во время процесса вставки картриджа 150 в полость 112 для размещения, ширина наклонного ребра постепенно увеличивается, тем самым образом продвигая согласующую часть 1172. Это дополнительно сжимает упругий компонент 1173 и приводит в движение блокирующую часть 1571, чтобы постепенно освобождать крышку на проводящем блоке 113.
Для простоты понимания процесса движение нажимной части 1531 и согласующей части 1172, сопряженных друг с другом, описывается ниже со ссылкой на сопроводительные чертежи.
На фиг. 14A-14C схематично показан процесс вставки картриджа в полость для размещения, представленный вариантами осуществления настоящего раскрытия. В состоянии, показанном на фиг. 14A, картридж 150 был только что вставлен в полость 112 для размещения, нажимная часть 1531 еще не продвинула согласующую часть 1172 и блокирующая часть 1571 закрывает первый проводящий компонент 1131 и второй проводящий компонент 1132. По мере того, как картридж 150 далее вставляется в полость 112 для размещения, нажимная часть 1531 продвигает согласующую часть 1172 для движения вправо (ориентация, показанная на фиг. 14A-14C), тем самым приводя в движение блокирующую часть 1571 для перемещения вправо. Частичные области первого проводящего компонента 1131 и второго проводящего компонента 1132 открываются, как показано в состоянии на фиг. 14B. По мере того, как картридж 150 далее вставляется в полость 112 для размещения, нажимная часть 1531 продолжает продвигать согласующую часть 1172 для движения вправо, тем самым приводя в движение блокирующую часть 1571 для продолжения перемещения вправо. Первый проводящий компонент 1131 и второй проводящий компонент 1132 полностью открываются. Одновременно, первый проводящий лист 1521 и второй проводящий лист 1522 находятся, соответственно, в контакте с первым проводящим компонентом 1131 и вторым проводящим компонентом 1132 для электрического соединения, как показано в состоянии на фиг. 14C.
Продолжая обращаться к фиг. 10, в одной из реализаций на верхней поверхности картриджа 150 обеспечивается третья канавка 154. Компоновочный узел 151 и нажимная часть 1531 располагаются в третьей канавке 154. Располагая компоновочный узел 151 и нажимную часть 1531 в канавке, емкость картриджа 150 может быть увеличена. С другой стороны, можно препятствовать повреждению компоновочного узла 151 из-за столкновений с другими компонентами, когда он открыт наружу.
Продолжая обращаться к фиг. 10, картридж 150 в вариантах осуществления настоящего раскрытия дополнительно содержит устройство 22 хранения, которое используется для хранения информации о тонере в картридже 150. Устройство 22 хранения может быть микросхемой картриджа и устройство 22 хранения содержит подложку 221 и множество связных выводов 222, расположенных на подложке. Картридж 150 дополнительно снабжен скобой 26, которая располагается на корпусе 1500 картриджа 150. Ширина скобы 26 меньше, чем ширина картриджа 150. Дополнительно указывается, что ширина скобы 26 меньше, чем ширина верхней поверхности картриджа 150. Скоба 26 используется для установки устройства 22 хранения. Один конец устройства 22 хранения крепится к скобе винтами или заклепками, а другой конец устройства 22 хранения крепится защелкиванием, так чтобы устройство 22 хранения было прикреплено к верхней части корпуса 1500. Дополнительно, положение установки устройства 22 хранения находится ниже, чем третья канавка 154, или положение установки устройства 22 хранения находится заподлицо с нижней поверхностью третьей канавки 154. То есть, относительно нижней поверхности третьей канавки 154 первый проводящий лист 1521 и второй проводящий лист 1522 выступают больше из нижней поверхности третьей канавки 154 чем связной вывод 222, избегая царапин на связном выводе 222 во время установки картриджа 150.
Продолжая обращаться к фиг. 2-4, в вариантах осуществления настоящего раскрытия основной корпус 110 устройства формирования изображения содержит четыре полости Y~K 112 для размещения. Четыре полости Y~K 112 для размещения соответственно используются для размещения четырех картриджей 150Y~K, соответствующих разным цветам. Для удобства объяснения четыре полости 112 Y~K для размещения соответственно упоминаются как “желтая полость Y 112 для размещения”, “пурпурная полость M 112 для размещения”, “синяя полость C 112 для размещения” и “черная полость K 112 для размещения”. Эти четыре картриджа 150Y~K соответственно упоминаются как “желтый картридж 150Y”, “пурпурный картридж 150M”, “синий картридж 150C” и “черный картридж 150K”. Следует понимать, что полости 112 Y~K для размещения взаимно однозначно соответствуют картриджам 150Y~K. При использовании желтый картридж 150Y, пурпурный картридж 150M, синий картридж 150C и черный картридж 150K необходимо устанавливать в желтую полость 112Y для размещения, пурпурную полость 112М для размещения, синюю полость 112С для размещения и в черную полость 112K для размещения, соответственно, в таком порядке.
Кроме того, на основном корпусе 110 устройства формирования изображения обеспечиваются четыре полости 116Y-K для размещения узлов получения изображения. Четыре полости 116Y-K для размещения узлов получения изображения используются, чтобы разместить четыре узла получения изображения, соответствующие различным цветам. Конкретно, четыре полости 116Y-K для размещения узлов получения изображения являются, соответственно, желтой полостью 116Y для размещения узла получения изображения, пурпурной полостью 116М для размещения узла получения изображения, синей полостью 116С для размещения узла получения изображения и черной полостью 116K для размещения узла получения изображения. Четыре полости 116Y-K для размещения узлов получения изображения соответственно используются, чтобы разместить желтый узел получения изображения, пурпурный узел получения изображения, синий узел получения изображения и черный узел получения изображения.
Понятно, что если картриджи 150Y~K имеют различные цвета и узлы получения изображения имеют различные цвета, они должны устанавливаться в правильные полости 112Y-K для размещения. В процессе выполнения операции формирования изображения тонер в картриджах 150Y~K будет подаваться к узлам получения изображения соответствующего цвета, выполняя, таким образом, операцию формирования изображения. Однако, чтобы уменьшить затраты, картриджи 150Y~K, соответствующие различным цветам, обычно устанавливаются в одну и ту же конструкцию, соответствующую стандартизированному способу обработки. Поэтому, когда пользователь устанавливает картриджи 150Y~K различных цветов, порядок установки может быть перепутан. Например, пурпурный картридж 150M может быть установлен в синюю полость 112С для размещения, а синий картридж 150C может быть установлен в пурпурную полость 112М для размещения. В этом случае, пурпурный тонер будет подаваться синему узлу получения изображения, синий тонер будет подаваться пурпурному узлу получения изображения, приводя в результате к ухудшению проявления или к ухудшению качества изображения и влияя на опыт пользователя.
Чтобы решать проблему, в одной из реализаций, когда в основной корпус 110 устройства формирования изображения необходимо установить много картриджей 150, компоновочные узлы 151 и нажимные части 1531 множества картриджей 150 располагаются на картриджах 150 в разных местах. Соответственно, блоки 114 совпадения и согласующие части 1172 во многочисленных полостях 112 для размещения располагаются в разных местах на основном корпусе 110 устройства формирования изображения. Такое расположение может гарантировать, что каждый картридж 150 может быть установлен только в определенной полости 112 для размещения. Это позволяет избежать беспорядка при установке картриджей 150 различных цветов, результатом которого является ухудшение проявления или ухудшение качества изображения.
Кроме того, когда много картриджей 150 должны быть установлены на основном корпусе 110 устройства формирования изображения, соответствующий узел 152 инициирования электрического сигнала обеспечивается на каждом картридже 150 и соответствующий проводящий блок 113 обеспечиваются в каждой полости 112 для размещения, как показано на фиг. 2-4. Для конкретного описания узла 152 инициирования электрического сигнала и проводящего блока 113 обращайтесь к описанию упомянутого выше варианта осуществления и оно здесь повторяться не будет.
На фиг. 15 показана блок-схема последовательности выполнения операций способа обнаружения, представленного в вариантах осуществления настоящего раскрытия. Способ может быть применен к устройству 100 формирования изображения, на который установлен картридж 150, описанный в вышеупомянутом варианте осуществления, как показано на фиг. 15. Способ, главным образом, содержит следующие этапы.
Этап S1401: Получают заданный ответный сигнал, соответствующий картриджу 150.
В конкретной реализации, когда множество картриджей 150 устанавливаются на устройство 100 формирования изображения, соответственно может быть получен заданный ответный сигнал, соответствующий каждому картриджу 150. Например, когда устройство 100 формирования изображения устанавливается с желтым картриджем 150Y, пурпурным картриджем 150M, синим картриджем 150C и черным картриджем 150K, соответственно, соответственно получают заданные ответные сигналы, соответствующие желтому картриджу 150Y, пурпурному картриджу 150M, синему картриджу 150C и черному картриджу 150K.
Кроме того, когда на устройстве 100 формирования изображения устанавливается множество картриджей 150, заданные ответные сигналы, соответствующие различным картриджам 150, могут быть одинаковыми или отличающимися и варианты осуществления настоящего раскрытия это не ограничивают. Конечно, в некоторых вариантах осуществления заданные ответные сигналы, соответствующие различным картриджам 150, являются одинаковыми, чтобы понизить сложность аппаратного обеспечения или программного обеспечения.
Этап S1402: Основываясь на заданном ответном сигнале, определяют, удовлетворяет ли установка картриджа 150 предъявляемым требованиям.
В конкретной реализации можно определить, принимается ли заданный ответный сигнал. Если заданный ответный сигнал принимается, принимается решение, что установка картриджа 150 удовлетворяет предъявляемым требованиям. Если заданный ответный сигнал не принимается, принимается решение, что установка картриджа 150 не удовлетворяет предъявляемым требованиям.
Кроме того, когда в устройство 100 формирования изображения устанавливается множество картриджей 150, можно определить, удовлетворяет ли установка картриджа 150 предъявляемым требованиям, основываясь на заданном ответном сигнале, соответствующем каждому картриджу 150. В качестве примера, когда в устройство 100 формирования изображения устанавливается желтый картридж 150Y, пурпурный картридж 150M, синий картридж 150C и черный картридж 150K, соответственно, можно определить, удовлетворяют ли желтый картридж 150Y, пурпурный картридж 150M, синий картридж 150C и черный картридж 150K предъявляемым требованиям, основываясь на заданных ответных сигналах, соответствующих желтому картриджу 150Y, пурпурному картриджу 150M, синему картриджу 150C и черному картриджу 150K.
В вариантах осуществления настоящего раскрытия заданный ответный сигнал используется для определения, удовлетворяет ли установка картриджа 150 предъявляемым требованиям, чтобы таким образом избежать проблемы ухудшения проявления или ухудшения качества изображения, вызванных неправильной установкой картриджа 150.
В одной из реализаций, когда определено, что установка картриджа 150 не удовлетворяет предъявляемым требованиям, сигнал подсказки, указывающий, что установка картриджа 150 является неправильной, выводится, чтобы подсказать пользователю, что установка картриджа 150 является неправильной. Таким образом, пользователь может исправить неправильную установку картриджа 150. В конкретной реализации сигнал подсказки может быть видеосигналом, аудиосигналом или световым индикатором неисправности и т. д., что не ограничивается в вариантах осуществления настоящего раскрытия.
Кроме того, когда в устройство 100 формирования изображения устанавливается много картриджей 150, сигнал подсказки, соответствующий каждому картриджу 150, может различаться, чтобы пользователь мог отличить, какой картридж 150 функционирует неправильно.
Варианты осуществления настоящего раскрытия также представляют адаптер.
На фиг. 16 показана структурная блок-схема адаптера, представленного в вариантах осуществления настоящего раскрытия. Как показано на фиг. 16, адаптер содержит компоновочный узел 151 и узел 152 инициирования электрического сигнала, представленные в приведенном выше варианте осуществления.
Конкретно, адаптер может быть установлен на картридже 150 и картридж 150 с возможностью снятия располагается на основном корпусе 110 устройства формирования изображения. Устройство 100 формирования изображения содержит полость 112 для размещения, проводящий блок 113, блок 114 совпадения и блок 115 ответа на электрический сигнал. Адаптер содержит компоновочный узел 151 и узел 152 инициирования электрического сигнала. Картридж 150 содержит установочную часть для установки компоновочного узла 151 и компоновочный узел 151 используется для сопряжения с блоком 114 совпадения. Таким образом, картридж 150 может устанавливаться в заданное положение в полости 112 для размещения. Узел 152 инициирования электрического сигнала используется для электрического соединения с проводящим блоком 113, когда узел 152 инициирования электрического сигнала и компоновочный узел 151 устанавливаются на картридже 150, а также, когда картридж 150 устанавливается в заданное положение в полости 112 для размещения, и для инициирования блока 115 ответа на электрический сигнал, чтобы получить заданный ответный сигнал. Заданный ответный сигнал используется для определения, удовлетворяет ли установка картриджа 150 предъявляемым требованиям.
В одном из случаев реализации заданный ответный сигнал является сигналом высокого уровня или сигналом низкого уровня.
В одной из реализаций проводящий блок 113 содержит первый проводящий компонент 1131 и второй проводящий компонент 1132. Когда картридж 150 не установлен в заданное положение в полости 112 для размещения, первый проводящий компонент 1131 и второй проводящий компонент, 1132 электрически изолированы друг от друга. Когда картридж 150 устанавливается с узлом 152 инициирования электрического сигнала и компоновочным узлом 151, а также, когда картридж 150 устанавливается в заданное положение в полости 112 для размещения, узел 152 инициирования электрического сигнала электрически соединяется с первым проводящим компонентом 1131 и вторым проводящим компонентом 1132, соответственно, чтобы инициировать блок 115 ответа на электрический сигнал для получения заданного ответного сигнала.
В одной из возможных реализаций, когда картридж 150 устанавливается с узлом 152 инициирования электрического сигнала и компоновочным узлом 151, а также, когда картридж 150 устанавливается в заданное положение в полости 112 для размещения, узел 152 инициирования электрического сигнала контактирует и электрически соединяется с первый проводящим компонентом 1131 и вторым проводящим компонентом 1132, соответственно, инициируя блок 115 ответа на электрический сигнал для получения заданного ответного сигнала.
В одной из реализаций узел 152 инициирования электрического сигнала содержит первый проводящий лист 1521 и второй проводящий лист 1522. Первый проводящий лист 1521 и второй проводящий лист 1522 электрически соединяются. Когда картридж 150 устанавливается с узлом 152 инициирования электрического сигнала и компоновочным узлом 151, а также, когда картридж 150 устанавливается в заданное положение в полости 112 для размещения, первый проводящий лист 1521 используется для электрического соединения с первым проводящим компонентом 1131, а второй проводящий лист 1522 используется для электрического соединения со вторым проводящим компонентом 1132. Таким образом, первый проводящий компонент 1131 электрически соединяется со вторым проводящим компонентом 1132, тем самым инициируя блок 115 ответа на электрический сигнал для получения заданного ответного сигнала.
В одной из реализаций узел 152 инициирования электрического сигнала содержит первый проводящий лист 1521 и второй проводящий лист 1522. Первый проводящий лист 1521 и второй проводящий лист 1522 электрически соединяются. Когда картридж 150 устанавливается с узлом 152 инициирования электрического сигнала и компоновочным узлом 151, а также, когда картридж 150 устанавливается в заданное положение в полости 112 для размещения, первый проводящий лист 1521 используется, чтобы войти в контакт и электрически соединиться с первым проводящим компонентом 1131, а второй проводящий лист 1522 используется, чтобы войти в контакт и электрически соединиться со вторым проводящим компонентом 1132. Таким образом, первый проводящий компонент 1131 электрически соединяется со вторым проводящим компонентом 1132, тем самым инициируя блок 115 ответа на электрический сигнал для получения заданного ответного сигнала.
В одной из реализаций первый проводящий лист 1521 и второй проводящий лист 1522 содержат один металлический проводящий лист или множество металлических проводящих листов, электрически соединенных друг с другом.
Заметим, что конкретное содержание вариантов осуществления настоящего раскрытия можно найти в описании представленных выше вариантов осуществления и здесь повторяться не будет.
В соответствии с вариантом осуществления, варианты осуществления настоящего раскрытия дополнительно представляют картридж 150.
На фиг. 17 показана структурная блок-схема картриджа, представленная в вариантах осуществления настоящего раскрытия. Как показано на фиг. 17, картридж 150 содержит корпус 1500, на котором обеспечивается первая установочная конструкция 1551. Первая установочная конструкция 1551 используется для установки компоновочного узла 151, показанного в приведенном выше варианте осуществления.
Заметим, что конкретное содержание вариантов осуществления настоящего раскрытия можно найти в описании представленных выше вариантов осуществления и здесь повторяться не будет.
В соответствии с приведенным выше вариантом осуществления, варианты осуществления настоящего раскрытия также представляют другой картридж 150.
На фиг. 18 приведена структурная блок-схема другого картриджа, представленного в вариантах осуществления настоящего раскрытия. Как показано на фиг. 18, картридж 150 содержит корпус 1500, компоновочный узел 151 и вторую установочную конструкцию 1552. Компоновочный узел 151 располагается на корпусе 1500 и используется для сопряжения блока 114 совпадения в полости 112 для размещения устройства 100 формирования изображения. Таким образом, картридж 150 может быть установлен в заданное положение в полости 112 для размещения. Вторая установочная конструкция 1552 используется для установки узла 152 инициирования электрического сигнала, описанного в представленном выше варианте осуществления.
Заметим, что конкретное содержание вариантов осуществления настоящего раскрытия можно найти в описании представленных выше вариантов осуществления и здесь повторяться не будет.
В соответствии с представленным выше вариантом осуществления, варианты осуществления настоящего раскрытия также представляют другой картридж 150.
На фиг. 19 приведена структурная блок-схема другого картриджа, представленного в вариантах осуществления настоящего раскрытия. Картридж 150 с возможностью снятия устанавливается на основном корпусе 110 устройства формирования изображения. Устройство 100 формирования изображения содержит полость 112 для размещения, проводящий блок 113, блок 114 совпадения и блок 115 ответа на электрический сигнал.
Как показано на фиг. 19, картридж 150 содержит компоновочный узел 151, который располагается на корпусе 1500. Компоновочный узел 151 используется для сопряжения блока 114 совпадения в полости 112 для размещения, так чтобы картридж 150 мог быть установлен в заданное положение в полости 112 для размещения. Узел 152 инициирования электрического сигнала, который располагается на компоновочном узле 151, используется для электрического соединения с проводящим блоком 113 и для инициирования блока 115 ответа на электрический сигнал для получения заданного ответного сигнала, когда картридж 150 установлен в заданное положение в полости 112 для размещения. Заданный ответный сигнал используется для определения, удовлетворяет ли установка картриджа 150 предъявляемым требованиям.
В одном из способов реализации заданный ответный сигнал является сигналом высокого уровня или сигналом низкого уровня.
В одной из реализаций проводящий блок 113 содержит первый проводящий компонент 1131 и второй проводящий компонент 1132. Когда картридж 150 не установлен в заданное положение в полости 112 для размещения, первый проводящий компонент 1131 и второй проводящий компонент 1132 электрически изолированы друг от друга.
Когда картридж 150 устанавливается в заданное положение в полости 112 для размещения, узел 152 инициирования электрического сигнала электрически соединяется с первым проводящим компонентом 1131 и вторым проводящим компонентом 1132, соответственно, инициируя блок 115 ответа на электрический сигнал для получения заданного ответного сигнала.
В одной из реализаций, когда картридж 150 установлен в заданное положение в полости 112 для размещения, узел 152 инициирования электрического сигнала контактирует и электрически соединяется с первым проводящим компонентом 1131 и вторым проводящим компонентом 1132, соответственно, инициируя блок 115 ответа на электрический сигнал для получения заданного ответного сигнала.
В одной из реализаций узел 152 инициирования электрического сигнала содержит первый проводящий лист 1521 и второй проводящий лист 1522. Первый проводящий лист 1521 и второй проводящий лист 1522 электрически соединяются. Когда картридж 150 устанавливается в заданное положение в полости 112 для размещения, первый проводящий лист 1521 используется для электрического соединения с первым проводящим компонентом 1131, а второй проводящий лист 1522 используется для электрического соединения со вторым проводящим компонентом 1132. Таким образом, первый проводящий компонент 1131 электрически соединяется со вторым проводящим компонентом 1132, тем самым инициируя блок 115 ответа на электрический сигнал для получения заданного ответного сигнала.
В одной из реализаций узел 152 инициирования электрического сигнала содержит первый проводящий лист 1521 и второй проводящий лист 1522. Первый проводящий лист 1521 и второй проводящий лист 1522 электрически соединяются. Когда картридж 150 установлен в заданное положение в полости 112 для размещения, первый проводящий лист 1521 используется, чтобы войти в контакт и электрически соединиться с первым проводящим компонентом 1131, а второй проводящий лист 1522 используется, чтобы войти в контакт и электрически соединиться со вторым проводящим компонентом 1132. Таким образом, первый проводящий компонент 1131 электрически соединяется со вторым проводящим компонентом 1132, тем самым инициируя блок 115 ответа на электрический сигнал для получения заданного ответного сигнала.
В одной из реализаций первый проводящий лист 1521 и второй проводящий лист 1522 содержат один металлический проводящий лист или множество металлических проводящих листов, электрически соединенных друг с другом.
В одной из реализаций компоновочный узел 151 является первым выступом 1511, блок 114 совпадения является первой канавкой 1141, сопрягающейся с первым выступом 1511, и блок инициирования сигнала располагается на первом выступе 1511. Альтернативно, компоновочный узел 151 является второй канавкой, блок 114 совпадения является вторым выступом, сопрягающимся со второй канавкой, и блок инициирования сигнала располагается во второй канавке.
В одной из реализаций защитный компонент 117 дополнительно обеспечивается в полости 112 для размещения. Защитный компонент 117 используется для закрывания, по меньшей мере, участка проводящего блока 113, чтобы защитить проводящий блок 113, когда картридж 150 не установлен в заданное положение в полости 112 для размещения. Открывающий компонент 153 также обеспечивается на корпусе 1500 картриджа 150. Открывающий компонент 153 используется для инициирования защитного компонента 117, чтобы освобождать крышку проводящего блока 113, когда картридж 150 установлен в заданное положение в полости 112 для размещения.
В одной из реализаций защитный компонент 117 содержит блокирующий компонент и упругий компонент 1173. Блокирующий компонент содержит блокирующую часть 1571 и согласующую часть 1172. Блокирующая часть 1571 используется для закрывания, по меньшей мере, участка проводящего блока 113 под действием силы упругости упругого компонента 1173, когда картридж 150 не установлен в заданное положение в полости 112 для размещения. Открывающий компонент 153 содержит нажимную часть 1531, которая сопрягается с совпадающей частью 1172. Нажимная часть 1531 используется для толкания совпадающей части 1172, когда картридж 150 устанавливается в заданное положение в полости 112 для размещения, таким образом приводя в движение блокирующую часть 1571 для ее перемещения. Таким образом, блокирующая часть 1571 освобождает крышку на проводящем блоке 113.
В одной из реализаций картридж 150 содержит верхнюю поверхность. Верхняя поверхность снабжена третьей канавкой 154 для размещения компоновочного узла 151 и нажимной части 1531.
Заметим, что конкретное содержание вариантов осуществления настоящего раскрытия можно найти в описании представленных выше вариантов осуществления и здесь повторяться не будет.
Варианты осуществления настоящего раскрытия также представляют узел картриджей.
На фиг. 20 показана структурная блок-схема узла картриджей, представленного в вариантах осуществления настоящего раскрытия. Как показано на фиг. 20, узел картриджей содержит множество картриджей 150.
В одной из реализаций, когда узел картриджей устанавливается на основном корпусе 110 устройства формирования изображения, множество картриджей 150 располагаются друг за другом. Компоновочные узлы 151 и нажимные части 1531 множества картриджей 150 располагаются в различных местах на множестве картриджей 150.
Кроме того, на основном корпусе 110 устройства формирования изображения обеспечиваются четыре полости 116Y~K для размещения узлов получения изображения. Четыре полости 116Y~K для размещения узлов получения изображения используются для размещения четырех узлов получения изображения, соответствующих различным цветам. Конкретно, четырьмя полостями 116Y~K для размещения узлов получения изображения являются, соответственно, желтая полость 116Y для размещения узла получения изображения, пурпурная полость 116М для размещения узла получения изображения, синяя полость 116С для размещения узла получения изображения и черная полость 116K для размещения узла получения изображения. Четыре полости 116Y~K для размещения узлов получения изображения соответственно используются, чтобы разместить желтый узел получения изображения, пурпурный узел получения изображения, синий узел получения изображения и черный узел получения изображения. Конкретно, каждый из узлов 116Y~K получения изображения содержит фоточувствительный барабан, чистящее лезвие, разрядник, зарядный компонент и проявочный компонент. Зарядный компонент может сделать поверхность фоточувствительного барабана равномерно заряженной. Экспозиционный компонент подставляет и сканирует фоточувствительный барабан посредством лазера, так чтобы равномерно заряженная поверхность фоточувствительного барабана несла на себе электростатическое скрытое изображение. Электростатическое скрытое изображение проявляется проявочным компонентом и тонером, а затем переносится на промежуточную транспортную ленту. После того, как перенос завершен, чистящее лезвие удаляет тонер, остающийся на поверхности фоточувствительного барабана. Разрядник снимает заряд, остающийся на фоточувствительном барабане, делая фоточувствительный барабан готовым к следующему получению изображения.
Заметим, что в типе картриджа, показанном в вариантах осуществления настоящего раскрытия, фоточувствительный барабан, зарядный валик и проявочное устройство, хранящее тонер, интегрируются, чтобы образовать картридж. Картридж выполнен с возможностью его снятия с основного корпуса 110 устройства 100 формирования изображения. Дополнительно, хотя картридж описывается выше как пример, настоящее раскрытие его не ограничивает. Например, его можно использовать как проявочный картридж, содержащий тонер и проявочное устройство, но не фоточувствительный барабан. Альтернативно, он может использовать цилиндр с тонером, который не содержит валик. В некоторых вариантах осуществления можно использовать картридж с фоточувствительным барабаном, который не содержит проявочное устройство, но интегрирует в себе фоточувствительный барабан и зарядный валик.
Заметим, что конкретное содержание вариантов осуществления настоящего раскрытия можно найти в описании вышеупомянутых вариантов осуществления и оно здесь повторяться не будет.
В соответствии с описанным выше вариантом осуществления, варианты осуществления настоящего раскрытия дополнительно представляют другое устройство 100 формирования изображения.
На фиг. 21 показана структурная блок-схема другого устройства формирования изображения, представленного в вариантах осуществления настоящего раскрытия. Как показано на фиг. 21, устройство 100 формирования изображения содержит основной корпус 10 устройства формирования изображения и картридж 150, описанный в представленном выше варианте осуществления.
Заметим, что конкретное содержание вариантов осуществления настоящего раскрытия можно найти в описании вышеупомянутых вариантов осуществления и оно здесь повторяться не будет.
В соответствии с упомянутым выше вариантом осуществления, варианты осуществления настоящего раскрытия дополнительно представляют другое устройство 100 формирования изображения.
На фиг. 22 представлена структурная блок-схема другого устройства формирования изображения, представленного в вариантах осуществления настоящего раскрытия. Как показано на фиг. 22, устройство 100 формирования изображения содержит основной корпус 110 устройства формирования изображения и узел картриджей, описанные в упомянутом выше варианте осуществления.
Заметим, что конкретное содержание вариантов осуществления настоящего раскрытия можно найти в описании вышеупомянутых вариантов осуществления и оно здесь повторяться не будет.
В соответствии с упомянутым выше вариантом осуществления, варианты осуществления настоящего раскрытия дополнительно представляют другое устройство 100 формирования изображения.
На фиг. 23 приведена блок-схема другого устройства формирования изображения, представленного в вариантах осуществления настоящего раскрытия. Как показано на фиг. 23, устройство 100 формирования изображения содержит основной корпус 110 устройства формирования изображения. Основной корпус 110 устройства формирования изображения содержит раму 111 и полость 112 для размещения. Полость 112 для размещения используется для размещения картриджа 150. Полость 112 для размещения снабжена блоком 114 совпадения. Блок 114 совпадения снабжен первым проводящим компонентом 1131 и вторым проводящим компонентом 1132. Основной корпус 110 устройства формирования изображения содержит блок 115 ответа на электрический сигнал. Блок 115 ответа на электрический сигнал электрически соединяется с первым проводящим компонентом 1131. Блок 115 ответа на электрический сигнал используется для получения заданного ответного сигнала, когда картридж 150 установлен в заданное положение в полости 112 для размещения, и определения, удовлетворяет ли установка картриджа 150 предъявляемым требованиям, основываясь на заданном ответном сигнале.
В одной из реализаций, когда картридж 150 не установлен в заданное положение в полости 112 для размещения, первый проводящий компонент 1131 и второй проводящий компонент 1132 находятся в электрически изолированном состоянии. Когда картридж 150 установлен в заданное положение в полости 112 для размещения, первый проводящий компонент 1131 и второй проводящий компонент, 1132 находятся в электрически соединенном состоянии и блок 115 ответа на электрический сигнал используется для получения заданного ответного сигнала и определения, удовлетворяет ли установка картриджа 150 предъявляемым требованиям, основываясь на заданном ответном сигнале.
В одной из реализаций рама 111 содержит верхнюю пластину и боковую пластину, расположенные рядом. Первый проводящий компонент 1131 и второй проводящий компонент 1132 располагаются на верхней пластине, а блок 115 ответа на электрический сигнал располагается на боковой пластине.
В одной из реализаций в полости 112 для размещения дополнительно обеспечивается защитный компонент 117. Защитный компонент 117 содержит блокирующий компонент. Блокирующий компонент содержит блокирующую часть 1571 и согласующую часть 1172. Блокирующая часть 1571 используется для закрывания, по меньшей мере, части первого проводящего компонента 1131 и второго проводящего компонента 1132, когда картридж 150 не установлен в заданное положение в полости 112 для размещения. Согласующая часть 1172 используется для ее продвижения нажимом нажимной части 1531 на картридж 150, когда картридж 150 установлен в заданное положение в полости 112 для размещения. Она приводит в движение блокирующую часть 1571 для перемещения таким образом, чтобы блокирующая часть 1571 открылась.
В одной из реализаций защитный компонент 117 также содержит упругий компонент 1173. Когда картридж 150 устанавливается в заданное положение в полости 112 для размещения, упругий компонент 1173 сжимается во время перемещения блокирующей части 1571. Когда картридж 150 извлекается из полости 112 для размещения, блокирующая часть движется при действии силы упругости в положение закрывания, по меньшей мере, части первого проводящего компонента 1131 и второго проводящего компонента 1132.
Заметим, что конкретное содержание вариантов осуществления настоящего раскрытия можно найти в описании вышеупомянутых вариантов осуществления и оно здесь повторяться не будет.
В соответствии с упомянутым выше вариантом осуществления, варианты осуществления настоящего раскрытия дополнительно представляют другое устройство 100 формирования изображения.
На фиг. 24 приведена структурная блок-схема другого устройства формирования изображения, представленного в вариантах осуществления настоящего раскрытия. Как показано на фиг. 24, устройство 100 формирования изображения содержит блок 115 ответа на электрический сигнал. Блок 115 ответа на электрический сигнал используется для выполнения способа обнаружения, описанного в приведенном выше варианте осуществления способа.
Заметим, что конкретное содержание вариантов осуществления настоящего раскрытия можно найти в описании вышеупомянутых вариантов осуществления и оно здесь повторяться не будет.
Для простоты понимания, устройство формирования изображения является примерным, описанным ниже в сочетании с конкретной структурой устройства формирования изображения.
На фиг. 25 схематично приведена структурная схема другого устройства формирования изображения, представленного в вариантах осуществления настоящего раскрытия. Как показано на фиг. 25, устройство 100 формирования изображения представлено с четырьмя картриджами 6Y, 6M, 6C и 6K, чтобы формировать желтое, пурпурное, синее и черное изображения с помощью тонера (называемые изображениями Y, М, C и K, формируемыми с помощью тонера). Картриджи используют тонеры Y, М, C и K, имеющие отличные друг от друга цвета, в качестве подложек для формирования изображения, но все четыре картриджа имеют одинаковую конструкцию и могут заменяться на новые картриджи при пополнении тонера. Картридж 6Y, который получает изображение с помощью тонера Y, рассматривается в качестве репрезентативного примера всех четырех картриджей. Как показано на фиг. 25, картридж 6Y содержит фотопроводник 1Y в форме барабана, устройство 2Y очистки барабана, разрядник (не показан), зарядное устройство 4Y и проявочное устройство 5Y. Картридж 6Y с возможностью снятия устанавливается на основном корпусе устройства 100 формирования изображения и эти части могут заменяться в любое время. Зарядное устройство 4Y равномерно заряжает поверхность фотопроводника 1Y, вращающегося блоком привода в направлении по часовой стрелке (не показан). Экспозиционное сканирование выполняется лазерным светом L и, таким образом, на поверхность равномерно заряженного фотопроводника 1Y переносится электростатическое скрытое изображение. Электростатическое скрытое изображение Y проявляется проявочным устройством 5Y, использующим тонер Y для изображения Y. Кроме того, промежуточный перенос выполняется на промежуточной транспортной ленте 8. После проведения промежуточного процесса переноса устройство 2Y чистки барабана удаляет тонер, остающийся на поверхности фотопроводника 1Y. Кроме того, разрядник снимает остаточный заряд фотопроводника 1Y после очистки. Поверхность фотопроводника 1Y инициализируется разрядом, подготавливая его к следующему получению изображения. Точно также, в других картриджах 6M, 6C и 6K изображения, полученные тонером М, C и K аналогично формируются на фотопроводниках 1M, 1C и 1K и промежуточный перенос выполняется на промежуточной транспортной ленте 8. Экспонирующее устройство 7 находится в нижней части каждого картриджа 6Y, 6M, 6C и 6K, как показано на фиг. 25. Экспонирующее устройство 7, служащее в качестве блока формирования скрытого изображения, облучает каждый фотопроводник в картриджах 6Y, 6M, 6C и 6K с помощью лазерного света L, испускаемого на основе информации об изображении. Выполняется экспонирование каждого фотопроводника с помощью лазерного света L. В отношении экспозиции, электростатические скрытые изображения Y, М, C и K формируются на фотопроводниках 1Y, 1M, 1C и 1K. Кроме того, экспонирующее устройство 7 облучает фотопроводник через две или более оптических линзы и отражающее зеркало, сканируя лазерный свет (L), излучаемый источником света, многоугольным зеркалом, вращающимся приводным двигателем вращения. Блок подачи бумаги содержит кассету 26 приема бумаги. Блок подачи бумаги обеспечивается в нижней части экспозиционного устройства 7. Валик 27 подачи бумаги и пара 28 натяжных роликов обеспечиваются в кассете приема бумаги. В кассете 26 приема бумаги размещается большое количество листов Р офисной бумаги и валик 27 подачи бумаги контактирует с листом Р офисной бумаги, лежащим сверху большой пачки офисной бумаги. Когда валик 27 подачи бумаги вращается против часовой стрелки благодаря блоку привода (не показан), верхний лист Р офисной бумаги транспортируется в положение между роликами пары 28 натяжных роликов. Хотя пара 28 натяжных роликов выполняет вращательный привод роликов, чтобы захватить лист Р офисной бумаги, вращательный привод сразу останавливается. Лист Р офисной бумаги в соответствующее время передается во вторичную область захвата переноса парой 28 натяжных роликов. В блоке подачи бумаги сочетание валика 27 подачи бумаги и пары 28 натяжных роликов (синхронизированная пара роликов) используется, образуя блок транспортирования. Блок транспортирования передает лист Р офисной бумаги от кассеты 26 приема бумаги ко вторичной области захвата переноса. Промежуточный блок 15 переноса для выполнения промежуточной передачи изображения, используя круговую промежуточную транспортную ленту 8 (промежуточный носитель переноса) обеспечивается на верхней части каждого из картриджей 6Y, 6M, 6C и 6K. Промежуточный блок 15 переноса снабжен четырьмя первичными роликами 9Y, 9M, 9C и 9K смещения переноса, чистящим устройством 10 и промежуточной транспортной лентой 8. Кроме того, промежуточный блок 15 переноса содержит вторичный ролик 12 поддержки переноса, ролик 13 поддержки очистки, ролик натяжения и т. д. Круговой перенос выполняется вращательным приводом по меньшей мере одного из этих трех роликов по мере того, как промежуточная транспортная лента 8 вращается против часовой стрелки. Таким образом, первичные ролики 9Y, 9M, 9C, 9K смещения помещают промежуточную транспортную ленту 8, выполняющую круговой перенос, между фотопроводниками 1Y, 1M, 1C и 1K. Это, соответственно, формирует первичные области захвата переноса. При этом переносе тонер прижимает компонент смещения переноса с противоположной полярностью (например, положительной) к задней стороне (внутренняя поверхность кольца) промежуточной транспортной ленты 8. Все ролики, кроме первичных роликов 9Y, 9M, 9C, 9K смещения переноса, электрически заземляются. При круговом переносе промежуточная транспортная лента 8 подвергается процессу поочередного прохождения через первичные ниппели Y, М, C, K переноса, и изображения Y, М, C, K, полученные с фотопроводников 1Y, 1M, 1C, 1K с помощью тонера, накладываются, являясь первично перенесенными. Поэтому, изображение, полученное с помощью тонера четырех наложенных цветов (называемое четырехцветным изображением тонера), формируется на промежуточной транспортной ленте 8. С помощью кругового переноса промежуточная транспортная лента 8 подвергается процессу прохождения через первичные ниппели Y, М, C, K переноса один за другим и изображения Y, М, C, K, полученные с помощью тонера с фотопроводников 1Y, 1M, 1C и 1 K накладываются, являясь первично наложенными. Поэтому, изображение тонера четырех цветов (называемое четырехцветным изображением, полученным с помощью тонера) формируется на промежуточной транспортной ленте 8. Во вторичных ниппелях переноса оно вставляется между промежуточной транспортной лентой 8 и вторичным транспортирующим роликом 19, где лист Р офисной бумаги передается по поверхности в прямом направлении и вышеупомянутая пара 28 примыкающих роликов передает его в противоположном направлении. Когда лист Р офисной бумаги, посланный от вторичных ниппелей переноса, проходит между валиками закрепляющего устройства 20, четырехцветное изображение, полученное с помощью тонера на поверхности бумаги, закрепляется нагреванием и давлением. В дальнейшем, лист Р офисной бумаги передается через пару роликов 29 вывода и выводится наружу из устройства формирования изображения. Укладочная часть 30 обеспечивается на верхней поверхности основного корпуса устройства формирования изображения. Лист Р офисной бумаги, выведенный из пары 29 роликов вывода наружу устройства формирования изображения, укладывается один за другим в стопку на укладочной части 30.
В соответствии с описанными выше вариантами осуществления, вариант осуществления настоящего раскрытия дополнительно представляет компьютерный программный продукт, содержащий исполняемые команды. Когда исполняемые команды выполняются на компьютере, компьютер выполняет некоторые или все этапы вариантов осуществления способа.
Специалисты в данной области техники должны ясно понимать, что для удобства и краткости описания, некоторые рабочие процессы систем, устройств и блоков, описанные выше, могут относиться к соответствующим процессам в вариантах осуществления способа и не будут здесь повторяться.
В некоторых вариантах осуществления, если какая-либо функция реализуется в форме функционального программного блока и продается или используется в качестве независимого продукта, она может храниться на считываемом компьютером носителе. Основываясь на этом понимании, техническое решение настоящего раскрытия существенно или частично способствует предшествующему уровню техники или часть технического решения может быть реализована в форме программного продукта. Компьютерный программный продукт сохраняется на носителе запоминающего устройства, содержащем множество команд, позволяющих компьютерному устройству (которое может быть персональным компьютером, сервером или сетевым устройством и т. д.) выполнять все или часть этапов способа, описанного в каждом варианте осуществления настоящего раскрытия. Носитель запоминающего устройства содержит: внешний накопитель, подключаемый через разъем USB (U диск), мобильный жесткий диск, постоянное запоминающее устройство (ROM), оперативную память (RAM), диск или оптический диск и другие носители, которые могут хранить управляющие программы.
Изобретение относится к области формирования изображений. Узел инициирования электрического сигнала устанавливается на компоновочном узле картриджа. Картридж с возможностью снятия располагается на основном корпусе устройства формирования изображения. Устройство формирования изображения имеет полость для размещения, проводящий блок, блок совпадения и блок ответа на электрический сигнал. Компоновочный узел выполнен с возможностью сопряжения с блоком совпадения при установке картриджа в заданное положение в полости для размещения. Узел инициирования электрического сигнала выполнен с возможностью электрического соединения с проводящим блоком и инициирования блока ответа на электрический сигнал для получения заданного ответного сигнала, когда узел инициирования электрического сигнала установлен на компоновочном узле картриджа и картридж установлен в заданное положение в полости для размещения. Заданный ответный сигнал выполнен с возможностью определения, удовлетворяет ли установка картриджа предъявляемым требованиям. Технический результат – улучшение проявления и качества изображения с одновременным отсутствием путаницы при установке картриджей. 4 н. и 16 з.п. ф-лы, 27 ил.
1. Адаптер, установленный на картридже (150), в котором
картридж (150) располагается с возможностью его снятия на основном корпусе (110) устройства (100) формирования изображения; устройство (100) формирования изображения содержит полость (112) для размещения, проводящий блок (113), блок (114) совпадения и блок (115) ответа на электрический сигнал;
и адаптер содержит узел (152) инициирования электрического сигнала;
узел (152) инициирования электрического сигнала выполнен с возможностью электрического соединения с проводящим блоком (113) и инициирует блок (115) ответа на электрический сигнал, чтобы получать заданный ответный сигнал, когда узел (152) инициирования электрического сигнала устанавливается на картридже (150) и картридж (150) устанавливается в заданное положение в полости (112) для размещения; и заданный ответный сигнал выполнен с возможностью определения, удовлетворяет ли установка картриджа (150) предъявляемым требованиям.
2. Адаптер по п. 1, в котором адаптер содержит компоновочный узел (151), компоновочный узел (151) выполнен с возможностью взаимодействия с блоком (114) для установки картриджа (150) в заданное положение в полости (112) для размещения; или
картридж (150) содержит компоновочный узел (151) и узел (152) инициирования сигнала устанавливается на компоновочном узле (151) картриджа (150).
3. Адаптер по п. 1, в котором заданный ответный сигнал является сигналом высокого уровня или сигналом низкого уровня.
4. Адаптер по п. 1, в котором
проводящий блок (113) содержит первый проводящий компонент (1131) и второй проводящий компонент (1132); и, когда картридж (150) не установлен в заданное положение в полости (112) для размещения, первый проводящий компонент (1131) и второй проводящий компонент (1132) электрически изолируются друг от друга; и,
когда узел (152) инициирования сигнала устанавливается на картридж (150) и картридж (150) установлен в заданное положение в полости (112) для размещения, узел (152) инициирования сигнала электрически соединяется с первым проводящим компонентом (1131) и вторым проводящим компонентом (1132), соответственно, инициируя блок (115) ответа на электрический сигнал, чтобы получить заданный ответный сигнал.
5. Адаптер по п. 3, в котором узел (152) инициирования электрического сигнала содержит первый проводящий лист (1521) и второй проводящий лист (1522); первый проводящий лист (1521) и второй проводящий лист (1522) электрически соединяются; когда узел (152) инициирования сигнала устанавливается на картридж (150) и картридж (150) устанавливается в заданное положение в полости (112) для размещения, первый проводящий лист (1521) выполнен с возможностью электрического соединения с первым проводящим компонентом (1131) и второй проводящий лист (1522) выполнен с возможностью электрического соединения с вторым проводящим компонентом (1132); и первый проводящий компонент (1131) электрически соединяется с вторым проводящим компонентом (1132), инициируя блок (115) ответа на электрический сигнал для получения заданного ответного сигнала.
6. Адаптер по любому из пп. 1-5, в котором каждый первый проводящий лист (1521) и второй проводящий лист (1522) содержат металлический проводящий лист или множество металлических проводящих листов, электрически соединенных друг с другом.
7. Картридж (150), расположенный с возможностью снятия на основном корпусе (110) устройства (100) формирования изображения, в котором устройство (100) формирования изображения содержит полость (112) для размещения, проводящий блок (113), блок (114) совпадения и блок (115) ответа на электрический сигнал; и
картридж (150) содержит:
компоновочный узел (151), расположенный на корпусе (1500) и выполненный с возможностью взаимодействия с блоком (114) совпадения в полости (112) для размещения при установке картриджа (150) в заданное положение в полости (112) для размещения; и
узел (152) инициирования электрического сигнала (152), расположенный на компоновочном узле (151); узел (152) инициирования сигнала, выполненный с возможностью электрического соединения с проводящим блоком (113) и инициирования блока (115) ответа на электрический сигнал, чтобы получить заданный ответный сигнал, когда картридж (150) установлен в заданное положение в полости размещения (112); и заданный ответный сигнал, выполненный с возможностью определения, удовлетворяет ли установка картриджа (150) предъявляемым требованиям.
8. Картридж (150) по п. 7, в котором заданный ответный сигнал является сигналом высокого уровня или сигналом низкого уровня.
9. Картридж (150) по п. 7, в котором
проводящий блок (113) содержит первый проводящий компонент (1131) и второй проводящий компонент (1132); и, когда картридж (150) не установлен в заданное положение в полости (112) для размещения, первый проводящий компонент (1131) и второй проводящий компонент (1132) электрически изолируются друг от друга; и,
когда картридж (150) установлен в заданное положение в полости (112) для размещения, узел (152) инициирования электрического сигнала электрически соединяется с первым проводящим компонентом (1131) и вторым проводящим компонентом (1132) соответственно, инициируя блок (115) ответа на электрический сигнал для получения заданного ответного сигнала.
10. Картридж (150) по п. 9, в котором
узел (152) инициирования электрического сигнала содержит первый проводящий лист (1521) и второй проводящий лист (1522); первый проводящий лист (1521) и второй проводящий лист (1522) электрически соединяются; когда картридж (150) устанавливается в заданное положение в полости (112) для размещения, первый проводящий лист (1521) выполнен с возможностью электрического соединения с первым проводящим компонентом (1131) и второй проводящий лист (1522) выполнен с возможностью электрического соединения с вторым проводящим компонентом (1132); и первый проводящий компонент (1131) электрически соединяется с вторым проводящим компонентом (1132), инициируя блок (115) ответа на электрический сигнал для получения заданного ответного сигнала.
11. Картридж (150) по любому из пп. 7-10, в котором каждый первый проводящий лист (1521) и второй проводящий лист (1522) содержат металлический проводящий лист или множество металлических проводящих листов, электрически соединенных друг с другом.
12. Картридж (150) по п. 7, в котором
компоновочный узел (151) является первым выступом (1511); блок (114) совпадения является первой канавкой (1141), сопрягающейся с первым выступом (1511); и узел (152) инициирования электрического сигнала располагается на первом выступе (1511); или
компоновочный узел (151) является второй канавкой; блок (114) совпадения является вторым выступом, сопрягающимся с второй канавкой; и узел инициирования электрического сигнала располагается во второй канавке.
13. Картридж (150) по п. 7, в котором
защитный компонент (117) дополнительно обеспечивается в полости (112) для размещения; защитный компонент (117) выполнен с возможностью закрывания, по меньшей мере, участка проводящего блока (113), чтобы защитить проводящий блок (113), когда картридж (150) не установлен в заданное положение в полости (112) для размещения; и
открывающий компонент (153) также обеспечивается на корпусе (1500) картриджа (150); открывающий компонент (153) выполнен с возможностью инициирования защитного компонента (117), чтобы освободить крышку проводящего блока (113), когда картридж (150) устанавливается в заданное положение в полости (112) для размещения.
14. Картридж (150) по п. 13, в котором
защитный компонент (117) содержит блокирующий компонент и упругий компонент (1173); блокирующий компонент содержит блокирующую часть (1571) и согласующую часть (1172); блокирующая часть (1571) выполнена с возможностью закрывания, по меньшей мере, участка проводящего блока (113) под действием силы упругости упругого компонента (1173), когда картридж (150) не установлен в заданное положение в полости (112) для размещения; и
открывающий компонент (153) содержит нажимную часть (1531); нажимная часть (1531) сопрягается с согласующей частью (1172); нажимная часть (1531) выполнена с возможностью нажатия на согласующую часть (1172), чтобы приводить в движение блокирующую часть (1571) для ее перемещения, когда картридж (150) устанавливается в заданное положение в полости (112) для размещения; и блокирующая часть (1571) открывает крышку проводящего блока (113).
15. Картридж (150) по п. 14, дополнительно содержащий верхнюю поверхность, в котором верхняя поверхность снабжена третьей канавкой (154) для размещения компоновочного узла (151) и нажимной части (1531).
16. Устройство (100) формирования изображения, в котором устройство формирования изображения содержит основной корпус (110), основной корпус (110) устройства (100) формирования изображения содержит раму (111) и полость (112) для размещения; полость (112) для размещения используется для размещения в ней картриджа, полость (112) для размещения снабжена блоком (114) совпадения, блок (114) совпадения снабжен первым проводящим компонентом (1131) и вторым проводящим компонентом (1132), блок (115) ответа на электрический сигнал, блок (115) ответа на электрический сигнал электрически соединяется с первым проводящим компонентом (1131), блок (115) ответа на электрический сигнал используется для получения заданного ответного сигнала, когда картридж (150) устанавливается в заданное положение в полости (112) для размещения, и для определения, удовлетворяет ли установка картриджа (150) предъявляемым требованиям, основываясь на заданном ответном сигнале.
17. Устройство (100) формирования изображения по п. 16, в котором, когда картридж (150) не установлен в заданное положение в полости (112) для размещения, первый проводящий компонент (1131) и второй проводящий компонент (1132) электрически изолированы друг от друга, а когда картридж (150) установлен в заданное положение в полости (112) для размещения, первый проводящий компонент (1131) и второй проводящий компонент (1132) электрически соединяются друг с другом и блок (115) ответа на электрический сигнал используется для получения заданного ответного сигнала и определения, удовлетворяет ли установка картриджа (150) предъявляемым требованиям, основываясь на заданном ответном сигнале.
18. Устройство (100) формирования изображения по п. 16, в котором рама (111) содержит верхнюю пластину и боковую пластину, располагающиеся рядом, первый проводящий компонент (1131) и второй проводящий компонент (1132) располагаются на верхней пластине, а блок (115) ответа на электрический сигнал располагается на боковой пластине.
19. Устройство (100) формирования изображения по п. 16, в котором защитный компонент (117) дополнительно располагается в полости (112) для размещения, защитный компонент (117) содержит блокирующий компонент, блокирующий компонент содержит блокирующую часть (1571) и согласующую часть (1172), блокирующий узел (1571) используется для закрывания, по меньшей мере, участка первого проводящего компонента (1131) и второго проводящего компонента (1132), когда картридж (150) не установлен в заданное положение в полости (112) для размещения, согласующая часть (1172) используется для толкания нажимной части (1531) на картридж (150), а когда картридж (150) установлен в заданное положение в полости (112) для размещения, согласующая часть (1172) приводит в движение блокирующую часть (1571), чтобы блокирующая часть (1571) открывалась;
защитный компонент (117) также содержит упругий компонент (1173), когда картридж (150) устанавливается в заданное положение в полости (112) для размещения, упругий компонент (1173) сжимается во время перемещения блокирующей части (1571), когда картридж (150) извлекается из полости (112) для размещения, блокирующая часть (1571) перемещается под действием силы упругости в положение, закрывающее, по меньшей мере, участок первого проводящего компонента (1131) и второго проводящего компонента (1132).
20. Способ обнаружения, применяемый к устройству (100) формирования изображения, в котором картридж (150) устанавливается в устройстве (100) формирования изображения и картридж (150) располагается с возможностью его снятия на основном корпусе (110) устройства (100) формирования изображения; устройство (100) формирования изображения содержит полость (112) для размещения, проводящий блок (113), блок (114) совпадения и блок (115) ответа на электрический сигнал;
картридж (150) содержит:
компоновочный узел (151), расположенный на корпусе (1500) и выполненный с возможностью взаимодействия с блоком (114) совпадения в полости (112) для размещения при установке картриджа (150) в заданное положение в полости (112) для размещения; и
узел (152) инициирования электрического сигнала, расположенный на компоновочном узле (151); узел (152) инициирования электрического сигнала выполнен с возможностью электрического соединения с проводящим блоком (113) и инициирования блока (115) ответа на электрический сигнал для получения заданного ответного сигнала, когда картридж (150) устанавливается в заданное положение в полости (112) для размещения; и заданный ответный сигнал выполнен с возможностью определения, удовлетворяет ли установка картриджа (150) предъявляемым требованиям; и
способ обнаружения, содержащий этапы, на которых:
(S1401) получают заданный ответный сигнал, соответствующий картриджу (150); и
(S1402) определяют, удовлетворяет ли установка картриджа (150) предъявляемым требованиям, основываясь на заданном ответном сигнале.
| US 20170185030 A1, 29.06.2017 | |||
| CN 1702573 A, 30.11.2005 | |||
| CN 113093492 A, 09.07.2021 | |||
| US 20100054823 A1, 04.03.2010. |
Авторы
Даты
2025-03-11—Публикация
2024-07-09—Подача