СПОСОБ ВОЗВЕДЕНИЯ МОНОЛИТНЫХ И СБОРНО-МОНОЛИТНЫХ КАРКАСОВ Российский патент 2025 года по МПК E04B1/20 

Описание патента на изобретение RU2836225C1

Изобретение относится к области строительства и может быть использовано при возведении монолитных и сборно-монолитных каркасов многоэтажных зданий.

Уровень техники

Известен способ возведения каркаса здания (Проектирование объектов в сборно-монолитном каркасе ППБ "Сарет". Архитектура и строительство России, 1992, N 4, с. 30-32), заключающийся в установке сборных длинномерных колонн с оголенными участками в уровне этажных перекрытий, монтаже сборных ригелей, опирающихся на временные подпорки, с выпусками арматуры по концам, укладке на них плит перекрытия и дальнейшем бетонировании стыков колонна - ригель и перекрытия. Недостатками данного способа возведения каркаса здания являются большое количество сборных железобетонных элементов каркаса (колонны, ригели, плиты перекрытий) ведет к увеличенному расходу арматуры, рассчитанной на монтажные и транспортные нагрузки, особенно в оголенных участках колонн. Опирание ригелей до замоноличивания производится на большое количество подпорок, т.е. не используется несущая способность самих смонтированных колонн в качестве остова для временного закрепления ригелей. Кроме того, не используется несущая способность опалубки в виду недостаточной жесткости и прочности ее конструкции. В связи с этим способ возведения характеризуется низкой производительностью, поскольку необходимо выжидать определенный период времени, прежде чем бетонная смесь в опалубке затвердеет. Только после этого можно демонтировать опалубку и производить следующие строительные работы: устанавливать ригеля или плиты межэтажного перекрытия.

Известно техническое решение по патенту RU 2032047 C1, E04G 21/00 (1995.01), Е04В 1/35 (1995.01), опубликован: 27.03.1995 г., по которому СПОСОБ ВОЗВЕДЕНИЯ КАРКАСА ЗДАНИЯ, заключающийся в поэтажном устройстве перекрытия из плит на колоннах здания, отличающийся тем, что перед устройством перекрытия монтируют армокаркасы колонн с выпусками арматуры, выступающими над перекрытием, затем заключают их в опалубку на высоту, соответствующую нижнему уровню перекрытия, и заливают опалубку бетоном, причем после набора прочности бетона опалубку демонтируют и на колоннах вдоль одних осей колонн заподлицо с верхом колонн и между ними монтируют имитирующие ригеля фермы, на которые укладывают многопустотные плиты, предварительно установив в глубине пустот заглушки, затем вдоль осей колонн, параллельных уложенным плитам, под плитами устанавливают щиты и по периметру перекрытия бортоснастку высотой, соответствующей высоте перекрытия, затем образовавшиеся полости по осям колонн заливают бетоном, выдерживают его до набора проектной прочности, после чего производят демонтаж бортоснастки, щитов и ферм. Недостатками данного способа возведения каркаса здания являются: большое количество сборных железобетонных элементов каркаса (колонны, ригели, плиты перекрытий). Опирание ригелей до замоноличивания производится на большое количество подпорок, что ведет к большим трудозатратам на установку, т.е. не используется несущая способность самих смонтированных колонн в качестве остова для временного закрепления ригелей. Кроме того, не используется несущая способность опалубки в виду недостаточной жесткости и прочности ее конструкции, поэтому необходимо выжидать определенный период времени, прежде чем бетонная смесь в опалубке затвердеет. Только после этого можно демонтировать опалубку и производить следующие строительные работы: устанавливать ригеля или плиты межэтажного перекрытия, что ведет к низкой производительности известного способа.

Известно техническое решение по патенту US 4987719 А, 29.01.1991, Е04В 1/16, по которому СПОСОБ ВОЗВЕДЕНИЯ МОНОЛИТНЫХ СТЕН включает установку жестких каркасов из профилей, к которым крепится вертикально опалубка на саморезах, далее производят послойное нанесение бетона на поверхность опалубки. К недостаткам известного способа относится то, что он требует использования дорогостоящего оборудования для напыления бетона. Кроме того, этот способ предъявляет повышенные требования к составу бетона, что удорожает приготовление бетонной смеси, этот способ является металлоемким и дорогостоящим, т.к. требует использование специальных стальных холодногнутых профилей, а сборка каркаса из указанных профилей повышает трудоемкость способа. Также к недостаткам относится низкая производительность, поскольку при применении этого способа необходимо выжидать определенный период времени, прежде чем бетонная смесь в опалубке затвердеет, кроме того, много времени отнимает сборка конструкции опалубки колонны, а также последующий ее демонтаж.

Известно техническое решение по патенту RU 2206673 С2 Е04В 1/16 (2000.01), опубликованный 20.06.2003 г., по которому СПОСОБ ВОЗВЕДЕНИЯ МОНОЛИТНЫХ КАРКАСОВ, включающий установку арматуры каркасов колонн, монтаж арматурных каркасов и сеток стен, установку опалубки, затем бетонирование колонн и стен, далее установку опалубки под плиту перекрытия, отличающийся тем, что бетонирование колонн и стен производят до низа плиты перекрытия, при этом арматуру колонн и стен устанавливают выступающей над уровнем верха плиты перекрытия на величину необходимого нахлеста, армирование плиты перекрытия производят по капительной, межколонной и пролетной зонам, причем в капительной зоне укладывают арматуру в верхней зоне плиты, при этом в капительной зоне устанавливают пространственный арматурный каркас, обеспечивающий прочность плиты на опоре и поддержку верхней арматуры в проектном положении, в пролетной зоне укладывают арматуру в нижней зоне плиты, в межколонной зоне - вдоль зоны по нижней части плиты, а поперек зоны - по верхней части, при этом половина ширины капительной зоны равна четверти расстояния между колоннами, что соответствует эпюре усилий в плите и приводит к экономии арматуры, при этом отверстия в пролетной зоне плиты выполняют без устройства подкрепляющих балок, а отверстия в капительной и межколонной зонах выполняют без устройства подкрепляющих балок при условии, что край отверстия находится в данной зоне на расстоянии не более 1/8 ширины капительной зоны или 1/4 ширины межколонной зоны; в противном случае устанавливают подкрепляющие балки, а в местах стыков взаимно перпендикулярных стен, бетонируемых не одновременно, устанавливают закладные детали, заанкеренные в ранее бетонируемой стене, при этом арматурные выпуски для связи с арматурой примыкающей стены устанавливают на шарнирах на закладных деталях, размещают в плоскости ранее бетонируемой стены, что не мешает установке опалубки в месте стыка стен, а при установке арматуры примыкающей стены арматурные выпуски поворачивают на угол 90° в плоскости примыкающей стены и стыкуют с арматурой примыкающей стены, затем осуществляют установку опалубки и бетонирования примыкающей стены. Недостаток: большое количество ответственных стыков, сварочных работ, большой объем работ по замоноличиванию стыков колонн, плит. Кроме того, недостатком является низкая производительность, поскольку при применении этого способа необходимо выжидать определенный период времени, прежде чем бетонная смесь в опалубке затвердеет, кроме того, много времени отнимает сборка конструкции опалубки колонны, а также последующий ее демонтаж.

Известно техническое решение по патенту RU 2318099 C1 Е04В 1/20 (2006.01), опубл.: 27.02.2008 г., СБОРНО-МОНОЛИТНЫЙ КАРКАС МНОГОЭТАЖНОГО ЗДАНИЯ И СПОСОБ ЕГО ВОЗВЕДЕНИЯ, по которому Способ возведения сборно-монолитного каркаса многоэтажного здания, включающий поэтажный монтаж бесконсольных железобетонных колонн по разбивочным осям, размещение в пролетах между последними установленных на опорных стойках монтажных мостиков для установки предварительно изготовленных опорных элементов несущих сборно-монолитных поперечных ригелей обвязки бесконсольных колонн и опалубки для формирования железобетонных монолитных распорных продольных связевых ригелей обвязки, укладку на опорные части несущих сборно-монолитных поперечных ригелей в проектное положение для образования дисков поэтажного перекрытия многопустотных железобетонных плит, установку арматуры ригелей, одновременную укладку высокопрочного бетона по всему межэтажному перекрытию с формированием продольных распорных и несущих сборно-монолитных поперечных ригелей и замоноличенных с ними в единое целое посредством бетонных продольных швов, образующих диски ячеек поэтажного перекрытия смежных и опертых на каждый упомянутый ранее несущий сборно-монолитный поперечный ригель смежных многопустотных железобетонных плит, выдержку уложенного высокопрочного бетона, распалубку поэтажного перекрытия после набора последним проектной прочности и перестановку монтажных мостиков на готовое распалубленное поэтажное перекрытие для их последующего использования при возведении следующего очередного поэтажного перекрытия, отличающийся тем, что формирование каждого несущего сборно-монолитного поперечного ригеля обвязки производят в два этапа, на первом из которых устанавливают в проектное положение с опиранием на стойки монтажных мостиков их опорные элементы, в качестве которых используют предварительно изготовленную и перекрывающую поперечный пролет между смежными бесконсольными колоннами преднапряженную вибропрессованную железобетонную балку с симметричными ее продольной оси боковыми ступенчатыми выступами, образующую днище несъемной опалубки верхней монолитной части этого поперечного ригеля, а на втором этапе осуществляют образование вертикальных стенок указанной несъемной опалубки и имеющих с ней общую рабочую полость ложа бетонных продольных швов и углублений для поперечных армированных шпоночных выступов верхней монолитной части поперечного ригеля обвязки. Недостаток: низкая производительность, поскольку при применении этой опалубки необходимо выжидать определенный период времени, прежде чем бетонная смесь в опалубке затвердеет, кроме того, много времени отнимает сборка конструкции опалубки колонны, а также последующий ее демонтаж.

Известно техническое решение по патенту RU 2137886 C1 Е04В 1/18 (1995.01), E04G 21/14 (1995.01), опубликован: 20.09.1999 г., по которому СПОСОБ ВОЗВЕДЕНИЯ МНОГОЭТАЖНОГО КАРКАСНОГО ЗДАНИЯ включает бетонирование колонн и перекрытия в опалубке каждого этажа с образованием в перекрытии открытых каналов во взаимно перпендикулярных направлениях для размещения предварительно напряженной арматуры путем установки в опалубку каналообразователей. Открытые каналы перекрытия выполняют переменной глубины с уклоном к центру каждого пролета каркаса до величины, равной толщине перекрытия. После твердения бетона снимают опалубку и удаляют каналообразователи, которые устанавливают для бетонирования следующего этажа каркаса. В открытые каналы вдоль граней колонн в соответствии с эпюрой изгибающих моментов размещают предварительно напряженную арматуру, натягивают гидродомкратами и фиксируют на торцах перекрытий по периметру каркаса здания. Затем осуществляют омоноличивание открытых каналов перекрытия. Недостаток: низкая производительность, поскольку при применении этого способа необходимо выжидать определенный период времени, прежде чем бетонная смесь в опалубке затвердеет, кроме того, много времени отнимает сборка конструкции опалубки колонны, а также последующий ее демонтаж.

Таким образом, из уровня техники известны различные способы возведения монолитных и сборно-монолитных каркасов многоэтажного здания, заключающихся в установке сборных длинномерных колонн с оголенными участками в уровне этажных перекрытий, монтаже сборных ригелей, опирающихся на временные подпорки, с выпусками арматуры по концам, укладке на них плит перекрытия и дальнейшем бетонировании стыков колонна - ригель и перекрытия, которые отличаются друг от друга способами бетонирования колонн и перекрытий в опалубке каждого этажа, конструкцией и размерами опалубки, вариантами сборки, конструкцией фиксирующих механизмов и приспособлений и так далее.

Общий недостаток аналогов - низкая производительность, поскольку необходимо выжидать определенный период времени, прежде чем бетонная смесь в опалубке затвердеет, кроме того, много времени отнимает сборка конструкции опалубки колонны, а также последующий ее демонтаж. Поэтому строительство здания, особенно многоэтажного, где каждый этаж заливается бетоном не ранее, чем наберет необходимую твердость заливка нижнего этажа, затягивается на большой период времени.

Недостатки известных технических решений устраняет заявляемое изобретение.

В основе заявляемого способа возведения монолитных и сборно-монолитных каркасов заложена классическая рамно-связевая система монолитных колонн, сборных ригелей и перекрытий из многопустотных преднапряженных плит. Сборно-монолитный каркас состоит из колонн, объединенных обвязкой с несущими сборными ригелями, на которые установлены плиты перекрытия. Существенное отличие заявляемого способа в том, что в нем используется разборная несущая опалубка, которая на время отверждения бетонной смеси выполняет роль несущих элементов каркаса (колонн или стен), то есть принимает на себя вес вышестоящего этажа (этажей).

Цель изобретения заключается в предложении способа возведения монолитных и сборно-монолитных каркасов, повышающем производительность за счет использования разборной несущей опалубки, которая на время отверждения бетонной смеси выполняет роль несущих элементов каркаса (колонн или стен), то есть принимает на себя вес вышестоящего этажа (этажей). При этом достигается снижение трудоемкости изготовления каркаса, значительное сокращение сроков его возведения и повышение качества строительных работ. В технологии по заявляемому способу сочетаются высокая прочность монолитного каркаса и высокая скорость возведения, присущая сборным каркасам.

Задачей изобретения является способ возведения монолитных и сборно-монолитных каркасов с использованием опалубки для несущих колонн и стен повышенной прочности, которая бы являлась временно несущей на период времени, пока бетонная смесь не наберет необходимую прочность. То есть, монтаж ригелей и плит межэтажного перекрытия производится непосредственно на опалубку, не дожидаясь отверждения бетонной смеси внутри опалубки. Таким образом, в заявляемом способе опалубка (далее, несущая опалубка) на время отверждения и набора прочности бетонной смеси, выполняет роль несущей колонны или стены, значительно сокращая сроки строительства и повышая производительность.

Сущность изобретения

Способ возведения многоэтажного каркасного здания включает бетонирование монолитных несущих колонн и монтаж сборно-монолитного перекрытия каждого этажа. Способ отличается тем, что используется разборная опалубка, являющаяся временно несущей на период времени, пока бетонная смесь не наберет необходимую прочность. То есть, монтаж ригелей и плит межэтажного перекрытия производится непосредственно на опалубку, не дожидаясь отверждения бетонной смеси внутри опалубки. Таким образом опалубка, на время отверждения и набора прочности бетонной смеси, выполняет роль несущей колонны или стены.

Возводят каркас здания следующим образом.

На монтажном горизонте предыдущего этажа монтируют армокаркасы колонн. Арматурные каркасы можно собирать непосредственно на месте или использовать готовые (предварительно собранные) армокаркасы, соединяя их подходящим способом (сваркой, с помощью муфт и т.д.) с выпусками арматуры из тела колонны предыдущего этажа или фундамента. Использование готовых армокаркасов также сокращает время выполнения работ.

Вокруг армокаркаса монтируют сборную несущую опалубку колонн. Собирают (с помощью болтов) нижнюю секцию несущей опалубки и устанавливают вокруг арматурного каркаса будущей колонны. Затем собирают в прямоугольник в плане (частный случай: квадрат) среднюю секцию и устанавливают ее на нижнюю. Нижняя и средняя секции скручивают между собой болтами. На горизонтальной поверхности, например, на полу, собирают в прямоугольник (квадрат) верхнюю секцию и с помощью крана устанавливают сверху на среднюю секцию. Верхняя секция также прикручивается болтами к средней секции. Все три секции фиксируются с помощью болтов боковыми балками, обеспечивая тем самым дополнительную жесткость и прочность всей конструкции, а также правильное положение всех частей несущей опалубки относительно друг друга. Затем устанавливают регулируемые подкосы и с их помощью устанавливают и фиксируют собранную несущую опалубку в вертикальном положении.

Затем после монтажа несущей опалубки производят монтаж ж/б ригелей. Сборные ригели укладываются на верхние полки несущей опалубки. Для сопряжения с армокаркасом колонны ригели имеют выпуски арматуры. Сборные предварительно напряженные ригели сечением, например, от 200×200 мм и более, служат ребрами сборно-монолитного перекрытия, с которым сопрягаются выпусками арматуры. Для придания жесткости узлу соединения ригеля с колонной через тело колонны пропускают дополнительные арматурные стержни. Замоноличивание узла сопряжения колонна-ригель производят позже, одновременно с заливкой несущей колонны. Возможно применение любых типовых ригелей, но предпочтительнее использовать ригели и плиты перекрытия с выпусками арматуры. Выпуски арматуры позволяют увеличить прочность монолитной части каркаса. Также применяют специальные для данной технологии ригели П-образной формы со встроенным, выступающим арматурным каркасом. Применение таких ригелей позволяет еще больше увеличить объем и прочность монолитной части, а соответственно и всего каркаса в целом.

Затем на ригели монтируют многопустотные плиты перекрытия. Плиты могут быть любыми стандартными. А также, что более предпочтительно, иметь с торцов выпуски арматуры. После монтажа плит формируют практически готовое перекрытие следующего этажа. Возможно использовать плиты перекрытия и других типов. Боковые и торцовые стенки плит перекрытия, находящихся внутри здания, выполняют роль опалубки, в которую укладывают бетонная смесь. У плит, находящихся у наружных стен здания, необходимо установить дополнительную легкую опалубку, которая может быть выполнена из листового железа 3-5 мм, многослойной фанеры или пиломатериала. Если данный этаж не последний, то также у колонн, находящихся у наружных стен здания, необходимо на опалубку предыдущего этажа установить несущие межэтажные вставки, иначе не будет полноценной опоры для опалубки следующего этажа. Несущая вставка имеет схожую конструкцию с несущей опалубкой колонны, выполнена или в виде плоского щита для колонн, находящихся на наружных стенах, или Г-образной формы для колонн, находящихся на наружных углах здания. Высота вставок равна высоте ригеля и уложенной на него плиты перекрытия. Несущую межэтажную вставку устанавливают на верхнюю полку опалубки предыдущего этажа и крепят к ней болтами. Впоследствии на нее устанавливают несущую опалубку колонны следующего этажа, которую также крепят к вставке болтами.

Затем с этого перекрытия (без применения средств подмащивания) производят заливку бетонной смеси в несущую опалубку колонны и последующее вибрирование. Заливку бетонной смеси по высоте производят по уровню до верха плит перекрытия. Тем самым одновременно происходит и замоноличивание узла сопряжения колонна-ригель. Одновременно с этим производят бетонирование зазоров между плитами перекрытия в местах опирания на ригель (узел плита-ригель). В результате увеличивается общее замоноличивание каркаса, тем самым каркас здания по прочности приближается к полностью монолитному каркасу. Для уменьшения «зажатости» опалубки для более легкого ее демонтажа, а также для предотвращения появления трещин применяют безусадочный бетон.

Для несущей опалубки стены используют дополнительные блоки опалубки в зависимости от необходимой длины стены; каждый блок опалубки стены состоит из трех секций, как и несущая опалубка колонн, блоки соединяют между собой и с угловыми деталями жестким разборным соединением с помощью болтов. Для предотвращения распирания бетонной смесью между блоками опалубки устанавливают металлические распорные трубки, внутри которых имеются стягивающие шпильки с гайками.

После замоноличивания, так как несущая опалубка на время выполняет роль несущих колонн, то есть принимает на себя вес ригелей и плит перекрытия, не дожидаясь набора бетоном необходимой прочности, производят работы по монтажу следующего этажа: монтаж армокаркаса колонн, опалубки, ригелей и т.д., что в итоге уменьшит время на возведение каркаса здания.

Затем демонтаж опалубки колонн предыдущего этажа (этажей) производят после достижения бетоном необходимой прочности. Все время до этого, несущая опалубка принимает на себя нагрузку (вес) вышестоящего этажа или этажей. Демонтаж производят следующим образом: демонтируют (убирают) регулируемые подкосы, затем демонтируют (откручивают) боковые балки, затем откручивают болты, удерживающие среднюю секцию в собранном положении, а также болты, соединяющие среднюю секцию с верхней и нижней секциями. Средняя секция состоит из деталей, выполненных в виде горизонтально ориентированной пирамиды с вертикальным сечением в виде трапеции, узкая часть которой направлена к центральной вертикальной оси колонны, и крепежных элементов (болтов), соединяющих детали, и выполняет роль «замка» конструкции несущей опалубки. В разобранном виде каждая отдельная деталь средней секции свободно достается наружу. Демонтируя среднюю секцию, устраняют «зажатость» всей конструкции несущей опалубки, и остальные секции уже свободно демонтируют. Сначала раскручивают и убирают нижнюю секцию. Затем ослабляют соединения верхней секции. Придерживая, ее опускают вниз горизонтальную поверхность (на пол) и затем на удобной для работы высоте, окончательно разбирают и демонтируют. В дальнейшем, если монтаж всех этажей здания еще не закончен, детали несущей опалубки краном поднимают на верхний готовый этаж и снова монтируют.

Основные преимущества используемой в способе несущей опалубки.

Во-первых, более высокая механическая жесткость и прочность конструкции, так как необходимо выдерживать не только давление бетонной смеси внутри несущей опалубки, но и вес уложенных на верх несущей опалубки ригелей и плит перекрытия следующего этажа (этажей). Для увеличения несущей способности несущую опалубку выполняют полностью из металла (железо). Боковые ребра жесткости в отличие от типовой опалубки расположены преимущественно вертикально и выполнены из профильной трубы квадратного или прямоугольного сечения с более толстой стенкой, например, более 5 мм. Как вариант, несущую опалубку для колонны квадратного сечения выполняют в виде двух Г-образных деталей, соединяющихся между собой в квадрат жестким разъемным соединением, например, с помощью болтов.

Во-вторых, возможность демонтажа несущей опалубки, находящейся под давлением (весом) вышестоящих этажей. После отверждения до нужного значения бетона внутри несущей опалубки, то есть набора необходимой прочности несущей колонны, опалубку необходимо демонтировать. Но так как на опалубку уложены перекрытия следующего этажа, то она находится в «зажатом» положении и демонтировать типовую опалубку не представляется возможным. Поэтому несущая опалубка в собранном виде представляет собой не единый по всей высоте элемент (например, как у типовой), а разделена на три секции: нижняя, средняя и верхняя. Нижняя секция состоит из двух Г-образных частей, соединенных с помощью болтов в прямоугольник в плане (частный случай: квадрат). Нижняя полка нижней секции горизонтальная, ее устанавливают на монтажную поверхность. Верхняя полка нижней секции выполнена под уклоном к центральной оси несущей опалубки. Верхняя секция имеет практически такую же конструкцию как и нижняя, только перевернута на 180 градусов, является зеркальным отображением, то есть верхняя полка верхней секции горизонтальная, на нее производят опирание ригелей или плит перекрытия, а нижняя полка верхней секции выполнена под уклоном к центральной оси несущей опалубки. Средняя секция выполняет роль своего рода «замка» и состоит из отдельных четырех деталей одинаковой формы, которые собирают с помощью крепежных элементов (болтов) в прямоугольник в плане (частный случай: квадрат). Верхняя и нижняя полки каждой детали средней секции встречно наклонены, таким образом, что поверхности детали образуют в вертикальном сечении трапецию, узкая часть которой направлена к центральной оси колонны. Среднюю секцию в собранном виде устанавливают между верхней и нижней секциями. Для примера: если высота будущей колонны должна быть 3 м, то верхняя и нижняя секции имеют высоту по 1,4 м, а средняя секция (вставка) 0,2 м по наружной стороне. Как вариант, каждая деталь средняя секция может быть выполнена в виде полнотелой цельнометаллической детали с вертикальным сечением в виде трапеции, узкая часть которой направлена к центральной оси колонны, а широкая наружная сторона высотой 20-50 мм. В этом случае все три секции несущей опалубки скрепляют болтами с конусными шайбами. При демонтаже откручивают болты, удерживающие среднюю секцию в собранном положении, а также болты, соединяющие среднюю секцию с верхней и нижней секциями. Так как средняя секция имеет вертикальное сечение в виде трапеции, узкая часть которой направлена к центральной оси колонны, то в разобранном виде каждая отдельная деталь средней секции легко освобождается и достается наружу. Убрав среднюю секцию, устраняют «зажатость» всей конструкции несущей опалубки и остальные секции свободно демонтируют.

Для строительства несущих стен изготавливают несущую опалубку для несущих стен, которая отличается от несущей опалубки колонн квадратного или прямоугольного сечения тем, что добавляются дополнительные блоки. Количество их выбирают в зависимости от необходимой длины стены. Блоки соединяются между собой и с угловыми деталями с помощью болтов. Каждый блок несущей опалубки стены состоит из трех секций, как и блоки несущей опалубки колонн. При сборке несущей опалубки стены для предотвращения распирания бетонной смесью между блоками несущей опалубки стен дополнительно устанавливаются металлические распорные трубки, внутри которых ставятся стягивающие шпильки с гайками. При разборке несущей опалубки стены после отверждения бетонной смеси сначала откручивают гайки на стягивающих шпильках. Шпильки достают. Дальше несущую опалубку разбирают в том же порядке, как и несущая опалубка колонн. Распорные трубки остаются в теле стены или после демонтажа несущей опалубки выбиваются и используются повторно. Для более легкого демонтажа трубку можно выполнить в виде небольшого конуса, то есть наружный диаметр трубки с одной стороны больше чем с другой на несколько миллиметров.

Технический результат - повышение производительности возведения монолитных и сборно-монолитных каркасов за счет повышенной прочности и жесткости несущей опалубки, позволяющей на время отверждения и набора прочности бетонной смеси, выполнять роль несущей колонны или стены.

Технический результат достигается способом возведения монолитных и сборно-монолитных каркасов, заключающимся в поэтажном устройстве перекрытия из плит на колоннах здания, при котором перед устройством перекрытия монтируют армокаркасы колонн с выпусками арматуры, выступающими над перекрытием, затем заключают их в опалубку на высоту, соответствующую нижнему уровню перекрытия, и заливают опалубку бетоном, отличающийся тем, что вокруг армокаркаса колонн монтируют сборную несущую опалубку колонн, содержащую три секции: верхнюю, среднюю и нижнюю; несущую опалубку изготавливают полностью из металла; каждая секция состоит из деталей, в собранном виде образующих прямоугольник в плане, при этом собирают нижнюю секцию и устанавливают вокруг арматурного каркаса будущей колонны, затем собирают среднюю секцию и укладывают на нижнюю, затем нижнюю и среднюю секцию скрепляют между собой жестким разъемным соединением, затем на горизонтальной поверхности собирают верхнюю секцию и устанавливают на среднюю секцию, верхнюю секцию также прикрепляют жестким разъемным соединением к средней секции; нижняя полка верхней секции и верхняя полка нижней секции выполнены с встречным уклоном к центру колонны, при этом среднюю секцию несущей опалубки в собранном виде устанавливают с функцией «замка» между верхней и нижней секцией, верхняя и нижняя полки средней секции встречно наклонены, образуя вертикальное сечение каждой детали в виде трапеции, узкая сторона которой направлена к центру колонны; затем все три секции фиксируют жестким разъемным соединением при помощи болтов с боковыми балками;

затем устанавливают регулируемые подкосы и с их помощью фиксируют собранную несущую опалубку в вертикальном положении; затем на готовые колонны монтируют ригели и плиты перекрытия, для этого сборные ригели укладывают на верхние полки несущей опалубки, на ригели монтируют многопустотные плиты перекрытия, имеющие с торцов выпуски арматуры;

затем межэтажную несущую вставку с высотой равной высоте ригеля и уложенной на него плиты перекрытия устанавливают на верхнюю полку несущей опалубки колонн наружных стен предыдущего этажа и крепят к ней жестким разъемным соединением, впоследствии на нее устанавливают опалубку колонны следующего этажа, которую также крепят к межэтажной несущей вставке жестким разъемным соединением;

затем с перекрытия без применения средств подмащивания производят заливку бетонной смеси в опалубку колонны и последующее вибрирование, заливку бетонной смеси по высоте производят по уровню до верха плит перекрытия, тем самым одновременно производят замоноличивание узла сопряжения колонна-ригель и бетонирование зазоров между плитами перекрытия в местах опирания на ригель;

затем после монтажа плит формируют готовое перекрытие следующего этажа, после замоноличивания, так как несущая опалубка временно выполняет роль несущих колонн, то есть принимает на себя вес ригелей и плит перекрытия, не дожидаясь набора бетоном необходимой прочности, производят работы по монтажу следующего этажа;

затем производят демонтаж несущей опалубки следующим образом: демонтируют регулируемые подкосы, затем демонтируют боковые балки, затем разбирают среднюю секцию, а также соединения, скрепляющие среднюю секцию с верхней и нижней секциями, и демонтируют среднюю секцию, после этого разбирают нижнюю секцию, затем ослабляют соединения верхней секции, опускают вниз на горизонтальную поверхность и разбирают и демонтируют, после чего детали секций несущей опалубки поднимают на верхний готовый этаж и снова монтируют.

Для несущей опалубки стены используют дополнительные блоки опалубки в зависимости от необходимой длины стены; каждый блок опалубки стены состоит из трех секций, как и несущая опалубка колонн, блоки соединяют между собой и с угловыми деталями жестким разъемным соединением с помощью болтов. Между блоками опалубки стен устанавливают металлические распорные трубки, внутри которых имеются стягивающие шпильки с гайками.

Как частный случай, детали средней секции несущей опалубки выполняют полыми каркасными из металлических пластин, верхняя и нижняя полки каждой детали средней секции встречно наклонены и образуют в вертикальном сечении детали трапецию, узкая сторона которой направлена к центру колонны. Другой частный случай, что детали средней секции несущей опалубки выполняют полнотелыми цельнометаллическими со сквозными отверстиями под крепежные элементы, верхняя и нижняя полки каждой детали средней секции встречно наклонены и образуют в вертикальном сечении детали трапецию, узкая сторона которой направлена к центру колонны, затем все три секции скрепляют жестким разъемным соединением при помощи болтов с конусными шайбами.

Несущую межэтажную вставку выполняют в виде плоского щита для колонн находящихся на наружных стенах. Как частный случай, что несущая межэтажная вставка выполнена Г-образной формы в плане для колонн находящихся на наружных углах здания.

Для придания жесткости узлу соединения ригеля с колонной через тело колонны пропускают дополнительные арматурные стержни. Замоноличивание узла сопряжения колонна-ригель производят одновременно с заливкой несущей колонны.

Для сопряжения с армокаркасом колонны ригели имеют выпуски арматуры; при этом сборные предварительно напряженные ригели служат ребрами сборно-монолитного перекрытия, с которым сопрягаются выпусками арматуры.

Как частный случай, применяют ригели П-образной формы со встроенным выступающим арматурным каркасом для увеличения объема и прочности монолитной части, а соответственно и всего каркаса в целом.

Для уменьшения «зажатости» опалубки для более легкого ее демонтажа, а также для предотвращения появления трещин применяют безусадочный бетон.

Сущность заявляемого изобретения поясняют изображения на фиг. 1-16.

Фиг. 1. Варианты типовой опалубки.

Фиг. 2. Вид сбоку опалубки в собранном виде.

Фиг. 3. Верхняя секция, вид сверху.

Фиг. 4. Средняя секция, вид сверху.

Фиг. 5. Верхняя секция, разрез А-А.

Фиг. 6. Средняя секция, разрез Б-Б. (а) - каркасная, (б) – цельнометаллическая.

Фиг. 7. Несущая опалубка в собранном виде, разрез В-В Фиг.

Фиг. 8. Несущая опалубка в собранном виде, разрез Г-Г.

Фиг. 9. Средняя секция цельнометаллическая, разрез В-В.

Фиг. 10. Несущая опалубка в собранном виде с ригелями и плитами перекрытия.

Фиг. 11. Монтаж ригелей на несущую опалубку.

Фиг. 12. Монтаж плит перекрытия.

Фиг. 13. Монолитная часть перекрытия.

Фиг. 14. Монтаж опалубки следующего этажа.

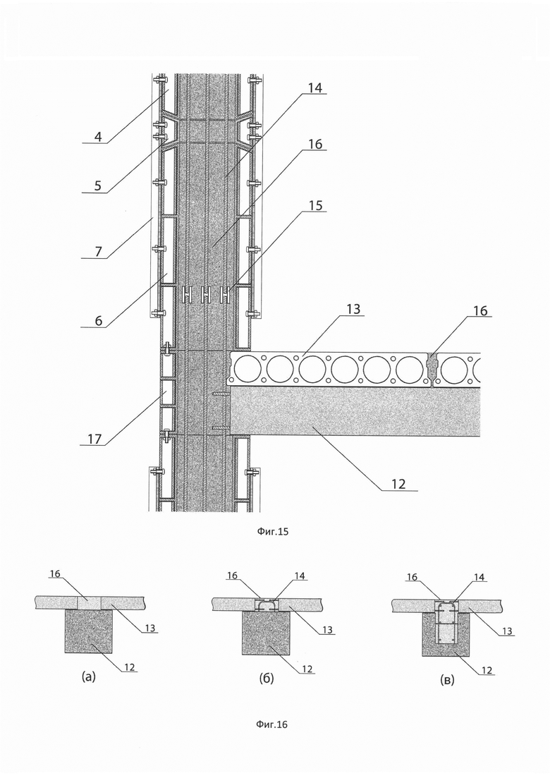
Фиг. 15. Несущая межэтажная вставка.

Фиг. 16. Варианты ригелей (а) - типовые ригель и плита; (б) - ригель и плита с выпусками арматуры; (в) - П-образный ригель с арматурным каркасом.

Фиг. 17. Несущая опалубка колонны с опалубкой монолитной плиты перекрытия.

Фиг. 18. Усиливающая вставка для монолитной плиты перекрытия.

Фиг. 19. Верхняя секция несущей опалубки колонны прямоугольного сечения.

Фиг. 20. Верхняя секция несущей опалубки несущей стены.

Где 1 - вертикальное ребро жесткости;

2 - горизонтальное ребро жесткости;

3 - регулируемый подкос;

4 - верхняя секция несущей опалубки;

5 - средняя секция несущей опалубки;

6 - нижняя секция несущей опалубки;

7 - боковая балка;

8 - болт соединительный;

9 - деталь средней секции сварная (каркасная);

10 - деталь средняя секции полнотелая цельнометаллическая;

11 - шайба конусная;

12 - ж/б ригель;

13 - многопустотная плита перекрытия;

14 - арматура;

15 - соединительная муфта для арматуры;

16 - бетонная смесь;

17 - несущая межэтажная вставка;

18 - легкая опалубка;

19 - арматурный каркас колонны;

20 - усиливающая вставка для монолитной плиты перекрытия;

21 - щит опалубки плиты перекрытия;

22 - несущая балка;

23 - телескопическая монтажная стойка;

24 - блок опалубки для стен;

25 - распорная трубка;

26 - стягивающая шпилька.

Пример осуществления

Возводят каркас здания следующим образом.

1. Монтаж арматурного каркаса колонн. На монтажном горизонте предыдущего этажа монтируют арматурные каркасы (армокаркасы) колонн 19. Арматурные каркасы 19 можно собирать непосредственно на месте или использовать готовые (предварительно собранные) армокаркасы 19, соединяя их подходящим способом (сваркой, с помощью соединительных муфт 15 и т.д.) с выпусками арматуры 14 из тела колонны предыдущего этажа или фундамента. Использование готовых армокаркасов 19 сокращает время выполнения работ.

2. Монтаж несущей опалубки. Вокруг армокаркаса 19 монтируют сборную несущую опалубку колонн. Собирают (скручивают болтами 8) нижнюю секцию 6 и устанавливают на нужное место (вокруг арматурного каркаса 19 будущей колонны). Собирают в прямоугольник в плане (частный случай: квадрат) среднюю секцию 5 и укладывают на нижнюю секцию 6. Нижняя 6 и средняя 5 секции несущей опалубки соединяют между собой болтами 8. На полу собирают в прямоугольник в плане (или квадрат) верхнюю секцию 4 и с помощью подъемно-транспортного устройства (например, крана) устанавливают на среднюю секцию 5. Верхнюю секцию 4 также прикручивают болтами 8 к средней секции 5. Все три секции несущей опалубки фиксируют с помощью болтов 8 боковыми балками 7, обеспечивая тем самым дополнительную жесткость и прочность всей конструкции, а также нужное положение всех частей опалубки относительно друг друга. Устанавливают регулируемые подкосы 3 и с их помощью устанавливают и фиксируют собранную опалубку в вертикальном положении. (Как частный случай, при классической технологии после монтажа опалубки производят бетонирование колонн; выжидают время необходимое для отверждения бетонной смеси, например, несколько дней, и производят демонтаж опалубки, затем на готовые колонны монтируют ригели и плиты перекрытия.)

3. Монтаж ж/б ригелей. По заявляемому способу после монтажа опалубки производят монтаж ж/б ригелей 12. Сборные ж/б ригели 12 укладывают на верхние полки несущей опалубки. Для сопряжения с армокаркасом колонны 19 ж/б ригели 12 имеют выпуски арматуры 14. Сборные, предварительно напряженные, ж/б ригели сечением от 200×200 мм и более служат ребрами сборно-монолитного перекрытия, с которым сопрягаются выпусками арматуры 14. Для придания жесткости узлу соединения ж/б ригели 12 с колонной через тело колонны пропускают дополнительные арматурные стержни. Замоноличивание узла сопряжения колонна - ж/б ригель 12 производят позже, одновременно с заливкой несущей колонны. Возможно применение любых типовых ригелей (а) Фиг. 16. Однако предпочтительнее использовать ж/б ригели 12 и плиты перекрытия 13 с выпусками арматуры (б) Фиг. 16. Выпуски арматуры 14 позволяют увеличить прочность монолитной части каркаса. Также подходят для данной технологии ригели П-образной формы со встроенным, выступающим арматурным каркасом (в) Фиг. 16. Применение таких ригелей позволяет еще больше увеличить объем и прочность монолитной части, а соответственно и всего каркаса в целом.

4. Монтаж плит перекрытия и дополнительной опалубки. На ж/б ригели 12 монтируют многопустотные плиты перекрытия 13. Плиты 13 могут быть любыми стандартными, а также, что предпочтительно, иметь с торцов выпуски арматуры. После монтажа плит 13 формируют практически готовое перекрытие следующего этажа. Боковые и торцовые стенки плит перекрытия, находящихся внутри здания, выполняют роль опалубки, в которую укладывается бетонная смесь. У плит, находящихся у наружных стен здания, необходимо установить дополнительную легкую опалубку 18, которая может быть выполнена из листового железа толщиной 3-5 мм, многослойной фанеры или пиломатериала. Если данный этаж не последний, то также у колонн, находящихся у наружных стен здания необходимо на опалубку предыдущего этажа установить несущие межэтажные вставки 17, иначе не будет полноценной опоры для опалубки следующего этажа, так как опалубка следующего этажа устанавливается на плиты перекрытия предыдущего этажа, а у наружных стен, с наружной стороны здания нет плит перекрытия и опалубке с наружной стороны здания не на что опираться. Несущая межэтажная вставка 17 имеет конструкцию, аналогичную несущей опалубке колонны, изготовлена из профильной трубы квадратного или прямоугольного сечения, как и остальные детали опалубки со стенкой толщиной не менее 5 мм, выполнена в виде плоского щита для колонн, находящихся на наружных стенах, или Г-образной формы для колонн находящихся на наружных углах здания. Высота несущих межэтажных вставок 17 равна сумме высоты ж/б ригеля 12 и высоты уложенной на него плиты перекрытия 13. Несущую межэтажную вставку 17 устанавливают на верхнюю полку опалубки предыдущего этажа и крепят к ней болтами 8. Впоследствии на нее устанавливают опалубку колонны следующего этажа, которую также крепят к несущей межэтажной вставке 17 болтами 8.

5. Укладка бетонной смеси. С этого перекрытия (без применения средств подмащивания) производят заливку бетонной смеси 16 в опалубку колонны и последующее вибрирование. Заливку бетонной смеси по высоте производят по уровню до верха плит перекрытия, тем самым одновременно происходит и замоноличивание узла сопряжения колонна-ригель. Одновременно с этим производят бетонирование зазоров между плитами перекрытия в местах опирания на ж/б ригель (узел плита-ригель). В результате увеличивается общее замоноличивание каркаса, тем самым каркас здания по прочности приближается к полностью монолитному каркасу. Для уменьшения «зажатости» опалубки для более легкого ее демонтажа, а также для предотвращения появления трещин применяют безусадочный бетон. Безусадочным называют бетон, который приобретает повышенную прочность за счет особых добавок и становится менее подверженным деформации. Элементы каркаса из такой смеси не дают усадки, а срок их службы продлевается до 50 и более лет. Безусадочным бетон становится благодаря суперпластификаторам и некоторым видам заполнителя. Дополнительно материал приобретает реопластичность - высокий показатель пластичности при небольшом содержании воды, что облегчает его укладку.

6. Монтажные работы следующего этажа. После замоноличивания, так как данная опалубка на время выполняет роль несущих колонн, то есть принимает на себя вес ригелей и плит перекрытия, не дожидаясь набора бетоном необходимой прочности, возможно производить работы по монтажу следующего этажа, включающем монтаж армокаркаса колонн, опалубки, ригелей и т.д., что в итоге потребует гораздо меньше времени на возведение каркаса здания.

7. Опалубка для несущих стен. Отличается от опалубки колонн квадратного или прямоугольного сечения тем, что добавляются дополнительные блоки: (Фиг. 20) блок опалубки для стен 24. Количество их выбирают в зависимости от необходимой длины стены. Блоки опалубки для стен 24 соединяют между собой и с угловыми деталями с помощью болтов 8. Каждый блок опалубки для стен 24 состоит из трех секций, как и несущая опалубка колонн. При сборке опалубки для несущей стены для предотвращения распирания бетонной смесью между блоками опалубки стен 24 дополнительно устанавливают металлические распорные трубки 25, внутри которых устанавливают стягивающие шпильки 26 с гайками. При разборке опалубки после отверждения бетонной смеси сначала откручивают гайки на стягивающих шпильках 26, шпильки достают. Дальше опалубка стены разбирается в том же порядке, как и несущая опалубка колонн. Распорные трубки 25 оставляют в теле стены или после демонтажа опалубки выбивают и используют повторно.

8. Демонтаж опалубки. Демонтаж опалубки колонн предыдущего этажа (этажей) производится после достижения бетоном необходимой прочности. До этого, все это время несущая опалубка принимает на себя нагрузку (вес) вышестоящего этажа или этажей. Демонтаж производят следующим образом: демонтируют (убирают) регулируемые подкосы, затем демонтируют (откручивают) боковые балки. Затем откручивают болты, удерживающие среднюю секцию 5 несущей опалубки в собранном положении, а также болты, соединяющие среднюю секцию 5 с верхней 4 и нижней 6 секциями. Так как средняя секция 5 имеет вертикальное сечение в виде трапеции, узкая часть которой направлена к центру конструкции, то в разобранном виде каждая отдельная деталь средней секции 5 свободно достается наружу. Убрав среднюю секцию 5, устраняем «зажатость» всей конструкции опалубки и остальные секции свободно демонтируются. Сначала раскручивают и убирают нижнюю секцию 6. Затем ослабляют соединения верхней секции 4. Придерживая, ее опускают вниз (на пол) и затем на полу, на удобной для работы высоте, окончательно разбирают и демонтируют. В дальнейшем, если монтаж всех этажей здания еще не закончен, детали опалубки краном поднимают на верхний готовый этаж и снова монтируют.

Прочие работы. Остальные элементы здания: фундамент, наружные стены, перегородки, кровля и т.д. могут быть различной (типовой) конструкции, подходящие для конкретного здания.

9. Монолитный каркас. Вместо готовых ригелей и плит перекрытия возможно применять монолитное перекрытие. В этом случае после монтажа несущей опалубки монтируют опалубку для монолитной плиты перекрытия. Опалубка состоит из плоского щита опалубки плиты перекрытия 21, как правило из ламинированной многослойной фанеры, несущих балок 22, и поддерживающих телескопических монтажных стоек 23. Сверху щита опалубки монтируется арматурный каркас. Каркас возможно монтировать непосредственно на месте или применять готовый в виде секций, которые соединяются между собой. Арматурный каркас плиты перекрытия пересекается с армокаркасом колонны. На верхнюю полку опалубки колонны устанавливают усиливающие вставки для монолитной плиты перекрытия 20. Они могут быть выполнены из металлической толстостенной трубы, уголка или другого металлопроката. Количество усиливающих вставок для монолитной плиты перекрытия 20 может быть различным, достигающим в итоге необходимую прочность. Для устойчивости усиливающие вставки для монолитной плиты перекрытия 20 соединяются между собой арматурой 14 или другим способом. Также, чтобы усиливающая вставка для монолитной плиты перекрытия 20 не сместилась во время заливки бетонной смеси, ее соединяют сваркой арматуры 14 с армокаркасом колонны 19 или перекрытия. Усиливающая вставка для монолитной плиты перекрытия 20 остается в монолитной плите перекрытия. Она необходима, чтобы можно было монтировать опалубку колонны следующего этажа, не дожидаясь набора бетоном полной прочности. Укладку бетонной смеси 16 в опалубку перекрытия производят одновременно с заливкой колонн. При этом получается полностью монолитный каркас. Через 1-3 дня после отверждения монолитной плиты перекрытия по ней возможно перемещаться и монтировать опалубку следующего этажа, при этом опалубка колонн и плиты перекрытия остаются. Демонтаж опалубок колонн и плит перекрытия нижестоящих этажей производят после достижения необходимой прочности бетонной смеси. В варианте способа с монолитным каркасом увеличивается общее время, затраченное на возведение каркаса по сравнению с монолитно-сборным. Но все же будет меньшим по сравнению с классической технологией монолитного каркаса с применением типовой (не несущей) опалубки, то есть производительность повышается.

Повышение степени технологичности в изготовлении каркасов зданий по заявляемому способу заключается в том, что рабочие стыки колонн устраивают на уровне плит перекрытия, что облегчает установку опалубки. Нет необходимости использовать средства подмащивания, не тратится время на их монтаж и демонтаж. Меньше времени расходуется на сборку-разборку несущей опалубки в виду ее оптимальной конструкции по сравнению с опалубкой из отдельных щитов, повышается производительность из-за исключения длительных простоев в работе в ожидании набора прочности бетона в опалубке колонн.

Похожие патенты RU2836225C1

название год авторы номер документа
ОПАЛУБКА ДЛЯ НЕСУЩИХ КОЛОНН 2024
  • Галак Андрей Васильевич
RU2841113C1
СПОСОБ УСКОРЕННОГО ВОЗВЕДЕНИЯ ЗДАНИЯ МЕТОДОМ ОТВЕРТОЧНОЙ СБОРКИ И ЗДАНИЕ ИЗ ФАСАДНЫХ ПАНЕЛЕЙ С ДЕКОРАТИВНОЙ НАРУЖНОЙ ОТДЕЛКОЙ И МЕТАЛЛИЧЕСКИМ КАРКАСОМ 2016
  • Семенов Дахир Курманбиевич
RU2633602C1
СБОРНО-МОНОЛИТНЫЙ КАРКАС ЗДАНИЯ 2011
  • Гуров Евгений Петрович
RU2453662C1
СПОСОБ ВОЗВЕДЕНИЯ МОНОЛИТНО-КАРКАСНОГО ЗДАНИЯ С ДЕКОРАТИВНОЙ НАРУЖНОЙ ОТДЕЛКОЙ 2009
  • Семенов Дахир Курманбиевич
RU2421580C1
СИСТЕМА СБОРНО-МОНОЛИТНОГО ДОМОСТРОЕНИЯ 2008
  • Тиховский Николай Павлович
RU2376424C1
СПОСОБ ВОЗВЕДЕНИЯ МОНОЛИТНЫХ КОНСТРУКЦИЙ ЗДАНИЙ И НЕСЪЁМНАЯ УНИВЕРСАЛЬНАЯ МОДУЛЬНАЯ ОПАЛУБОЧНАЯ СИСТЕМА 2014
  • Анпилов Сергей Михайлович
  • Анпилов Михаил Сергеевич
RU2552506C1
СБОРНО-МОНОЛИТНЫЙ ЖЕЛЕЗОБЕТОННЫЙ КАРКАС МНОГОЭТАЖНОГО ЗДАНИЯ "КАЗАНЬ-XXIв" 2004
  • Мустафин Ильяс Исмагилович
RU2281362C1
СБОРНО-МОНОЛИТНЫЙ КАРКАС МНОГОЭТАЖНОГО ЗДАНИЯ И СПОСОБ ЕГО ВОЗВЕДЕНИЯ 2007
  • Кучихин Сергей Николаевич
  • Вигдорчин Роман Исаакович
RU2318099C1
СПОСОБ ВОЗВЕДЕНИЯ КАРКАСА МНОГОЭТАЖНОГО ЗДАНИЯ 2007
  • Бикбау Марсель Янович
  • Бикбау Ян Марсельевич
RU2338843C1
МНОГОЭТАЖНОЕ ЗДАНИЕ КАРКАСНО-СТЕНОВОЙ КОНСТРУКТИВНОЙ СИСТЕМЫ ИЗ СБОРНО-МОНОЛИТНОГО ЖЕЛЕЗОБЕТОНА 2010
  • Прытков Виктор Тимофеевич
  • Морсков Константин Алексеевич
  • Иванов Александр Борисович
RU2441965C1

Иллюстрации к изобретению RU 2 836 225 C1

Реферат патента 2025 года СПОСОБ ВОЗВЕДЕНИЯ МОНОЛИТНЫХ И СБОРНО-МОНОЛИТНЫХ КАРКАСОВ

Изобретение относится к области строительства и может быть использовано при возведении монолитных и сборно-монолитных каркасов многоэтажных зданий. Способ заключается в поэтажном устройстве перекрытия из плит на колоннах здания, при котором вокруг армокаркаса колонн монтируют сборную несущую опалубку колонн, содержащую три секции: верхнюю, среднюю и нижнюю; несущую опалубку изготавливают полностью из металла; каждая секция состоит из деталей, в собранном виде образующих прямоугольник в плане, при этом собирают поочередно все три секции, начиная с нижней, и устанавливают вокруг арматурного каркаса будущей колонны, среднюю секцию несущей опалубки в собранном виде устанавливают с функцией «замка» между верхней и нижней секцией, верхняя и нижняя полки средней секции встречно наклонены, образуя вертикальное сечение каждой детали в виде трапеции, узкая сторона которой направлена к центру колонны; затем все три секции фиксируют жестким разъемным соединением при помощи болтов с боковыми балками. Затем с помощью регулируемых подкосов фиксируют собранную несущую опалубку в вертикальном положении; затем на готовые колонны монтируют ригели и плиты перекрытия, для этого сборные ригели укладывают на верхние полки несущей опалубки, на ригели монтируют многопустотные плиты перекрытия, имеющие с торцов выпуски арматуры; затем межэтажную несущую вставку с высотой, равной высоте ригеля и уложенной на него плиты перекрытия, устанавливают на верхнюю полку несущей опалубки колонн наружных стен предыдущего этажа и крепят к ней жестким разъемным соединением, впоследствии на нее устанавливают опалубку колонны следующего этажа, которую также крепят к межэтажной несущей вставке жестким разъемным соединением; затем с перекрытия производят заливку бетонной смеси в опалубку колонны и последующее вибрирование, затем после монтажа плит формируют перекрытие следующего этажа, после замоноличивания, поскольку несущая опалубка выполняет роль несущих колонн, производят работы по монтажу следующего этажа; затем производят демонтаж несущей опалубки, после чего детали секций несущей опалубки поднимают на верхний готовый этаж и снова монтируют. Технический результат - повышение производительности возведения монолитных и сборно-монолитных каркасов за счет повышенной прочности и жесткости несущей опалубки. 11 з.п. ф-лы, 20 ил.

Формула изобретения RU 2 836 225 C1

1. Способ возведения монолитных и сборно-монолитных каркасов, заключающийся в поэтажном устройстве перекрытия из плит на колоннах здания, при котором перед устройством перекрытия монтируют армокаркасы колонн с выпусками арматуры, выступающими над перекрытием, затем заключают их в опалубку на высоту, соответствующую нижнему уровню перекрытия, и заливают опалубку бетоном,

отличающийся тем, что вокруг армокаркаса колонн монтируют сборную несущую опалубку колонн, содержащую три секции: верхнюю, среднюю и нижнюю; несущую опалубку изготавливают полностью из металла; каждая секция состоит из деталей, в собранном виде образующих прямоугольник в плане, при этом собирают нижнюю секцию и устанавливают вокруг арматурного каркаса будущей колонны, затем собирают среднюю секцию и укладывают на нижнюю, затем нижнюю и среднюю секцию скрепляют между собой жестким разъемным соединением, затем на горизонтальной поверхности собирают верхнюю секцию и устанавливают на среднюю секцию, верхнюю секцию также прикрепляют жестким разъемным соединением к средней секции; нижняя полка верхней секции и верхняя полка нижней секции выполнены с встречным уклоном к центру колонны, при этом среднюю секцию несущей опалубки в собранном виде устанавливают с функцией «замка» между верхней и нижней секцией, верхняя и нижняя полки средней секции встречно наклонены, образуя вертикальное сечение каждой детали в виде трапеции, узкая сторона которой направлена к центру колонны; затем все три секции фиксируют жестким разъемным соединением при помощи болтов с боковыми балками;

затем устанавливают регулируемые подкосы и с их помощью фиксируют собранную несущую опалубку в вертикальном положении; затем на готовые колонны монтируют ригели и плиты перекрытия, для этого сборные ригели укладывают на верхние полки несущей опалубки, на ригели монтируют многопустотные плиты перекрытия, имеющие с торцов выпуски арматуры;

затем межэтажную несущую вставку с высотой равной высоте ригеля и уложенной на него плиты перекрытия устанавливают на верхнюю полку несущей опалубки колонн наружных стен предыдущего этажа и крепят к ней жестким разъемным соединением, впоследствии на нее устанавливают опалубку колонны следующего этажа, которую также крепят к межэтажной несущей вставке жестким разъемным соединением;

затем с перекрытия без применения средств подмащивания производят заливку бетонной смеси в опалубку колонны и последующее вибрирование, заливку бетонной смеси по высоте производят по уровню до верха плит перекрытия, тем самым одновременно производят замоноличивание узла сопряжения колонна-ригель и бетонирование зазоров между плитами перекрытия в местах опирания на ригель;

затем после монтажа плит формируют перекрытие следующего этажа, после замоноличивания, поскольку несущая опалубка выполняет роль несущих колонн, производят работы по монтажу следующего этажа;

затем производят демонтаж несущей опалубки следующим образом: демонтируют регулируемые подкосы, затем демонтируют боковые балки, затем разбирают среднюю секцию, а также соединения, скрепляющие среднюю секцию с верхней и нижней секциями, и демонтируют среднюю секцию, после этого разбирают нижнюю секцию, затем ослабляют соединения верхней секции, опускают вниз на горизонтальную поверхность и демонтируют, после чего детали секций несущей опалубки поднимают на верхний готовый этаж и снова монтируют.

2. Способ возведения монолитных и сборно-монолитных каркасов по п. 1, отличающийся тем, что для несущей опалубки стены используют дополнительные блоки опалубки в зависимости от необходимой длины стены; каждый блок опалубки стены состоит из трех секций, как и несущая опалубка колонн, блоки соединяют между собой и с угловыми деталями жестким разъемным соединением с помощью болтов.

3. Способ возведения монолитных и сборно-монолитных каркасов по п. 1, отличающийся тем, что между блоками опалубки стен устанавливают металлические распорные трубки, внутри которых имеются стягивающие шпильки с гайками.

4. Способ возведения монолитных и сборно-монолитных каркасов по п. 1, отличающийся тем, что детали средней секции несущей опалубки выполняют полыми каркасными из металлических пластин, верхняя и нижняя полки каждой детали средней секции встречно наклонены и образуют в вертикальном сечении детали трапецию, узкая сторона которой направлена к центру колонны.

5. Способ возведения монолитных и сборно-монолитных каркасов по п. 1, отличающийся тем, что детали средней секции несущей опалубки выполняют полнотелыми цельнометаллическими со сквозными отверстиями под крепежные элементы, верхняя и нижняя полки каждой детали средней секции встречно наклонены и образуют в вертикальном сечении детали трапецию, узкая сторона которой направлена к центру колонны, затем все три секции скрепляют жестким разъемным соединением при помощи болтов с конусными шайбами.

6. Способ возведения монолитных и сборно-монолитных каркасов по п. 1, отличающийся тем, что несущую межэтажную вставку выполняют в виде плоского щита для колонн находящихся на наружных стенах.

7. Способ возведения монолитных и сборно-монолитных каркасов по п. 1, отличающийся тем, что несущая межэтажная вставка выполнена Г-образной формы в плане для колонн, находящихся на наружных углах здания.

8. Способ возведения монолитных и сборно-монолитных каркасов по п. 1, отличающийся тем, что для придания жесткости узлу соединения ригеля с колонной через тело колонны пропускают дополнительные арматурные стержни.

9. Способ возведения монолитных и сборно-монолитных каркасов по п. 1, отличающийся тем, что замоноличивание узла сопряжения колонна-ригель производят одновременно с заливкой несущей колонны.

10. Способ возведения монолитных и сборно-монолитных каркасов по п. 1, отличающийся тем, что для сопряжения с армокаркасом колонны ригели имеют выпуски арматуры; при этом сборные предварительно напряженные ригели служат ребрами сборно-монолитного перекрытия, с которым сопрягаются выпусками арматуры.

11. Способ возведения монолитных и сборно-монолитных каркасов по п. 1, отличающийся тем, что применяют ригели П-образной формы со встроенным выступающим арматурным каркасом для увеличения объема и прочности монолитной части.

12. Способ возведения монолитных и сборно-монолитных каркасов по п. 1, отличающийся тем, что для уменьшения «зажатости» опалубки для более легкого ее демонтажа, а также для предотвращения появления трещин применяют безусадочный бетон.

Документы, цитированные в отчете о поиске Патент 2025 года RU2836225C1

СПОСОБ ВОЗВЕДЕНИЯ МОНОЛИТНЫХ КАРКАСОВ 1999
  • Латкин А.А.
RU2206673C2
Способ возведения зданий со сборно-монолитным каркасом 1983
  • Атанесян Вальтер Ашотович
  • Агалян Армен Фрейдонович
SU1263793A1
US 4987719 A1, 29.01.1991
Учебное пособие для радиального измерения углов 1934
  • Левитон Н.А.
SU41752A1
ОПАЛУБКА ДЛЯ ВОЗВЕДЕНИЯ МОНОЛИТНЫХ СООРУЖЕНИЙ 1996
  • Черных А.Г.
RU2157878C2
US 20220341194 A1, 27.10.2022
ОПАЛУБКА ДЛЯ ВОЗВЕДЕНИЯ КОЛОННЫ 0
SU179458A1
ОПАЛУБКА ДЛЯ КОЛОНН 2000
  • Ксаммар Бове Педро
RU2258122C2

RU 2 836 225 C1

Авторы

Галак Андрей Васильевич

Даты

2025-03-11Публикация

2024-06-24Подача