[Область техники]
[1] Настоящее изобретение относится к картриджу и устройству для генерирования аэрозоля, содержащему такой картридж.
[Предшествующий уровень техники]
Устройство для генерирования аэрозоля представляет собой устройство, извлекающее определенные компоненты из среды или вещества путем образования аэрозоля. Среда может содержать различные вещества. Вещество, содержащееся в среде, может представлять собой многокомпонентное ароматизирующее вещество. Например, вещество, содержащееся в среде, может содержать никотиновый компонент, растительный компонент и/или кофейный компонент. В последнее время проводятся различные исследования устройств для генерирования аэрозоля.
В патенте KR 10-2019-0051787 A описан картридж, содержащий картридж для жидкости, включающий резервуар, в котором хранится жидкий материал, распылительное пространство, включающее отверстия для потока и первый путь воздушного потока, фитиль, расположенный в распылительном пространстве, и катушку, намотанную на фитиль.
[Сущность изобретения]
[Техническая задача]
[2] Задачей настоящего изобретения является устранение вышеупомянутых и других недостатков.
[3] Другой задачей настоящего изобретения является уменьшение сопротивления потоку, возникающему при прохождении воздуха через картридж.
[4] Следующей задачей настоящего изобретения является обеспечение равномерного смешивания генерируемого в картридже аэрозоля с воздухом или равномерного распределения генерируемого в картридже аэрозоля в воздухе.
[5] Следующей задачей настоящего изобретения является предотвращение образования завихрения при прохождении воздуха через картридж.
[6] Следующей задачей настоящего изобретения является увеличение количества или плотности аэрозоля во вдыхаемом воздухе.
[Техническое решение]
[7] Согласно одному из аспектов изобретения, раскрытых в настоящей заявке, картридж содержит: Картридж, содержащий: первую камеру, выполненную с возможностью хранения жидкости; вторую камеру, содержащую впускное и выпускное отверстия; фитиль, расположенный во второй камере с возможностью сообщения с первой камерой; и нагреватель, выполненный с возможностью нагревания фитиля, причем вторая камера содержит криволинейную поверхность, образующую по меньшей мере часть камеры между впускным отверстием и выпускным отверстием.
[Полезные эффекты изобретения]
[8] По меньшей мере в одном из вариантов осуществления настоящего изобретения можно уменьшить сопротивление потоку, возникающее при прохождении воздуха через картридж.
[9] По меньшей мере в одном из вариантов осуществления настоящего изобретения можно предотвратить образование завихрения, когда воздух проходит через картридж.
[10] По меньшей мере в одном из вариантов осуществления настоящего изобретения аэрозоль, генерируемый в картридже, может быть равномерно смешан с воздухом или распределен в воздухе.
[11] По меньшей мере в одном из вариантов осуществления настоящего изобретения можно увеличить количество или плотность аэрозоля во вдыхаемом воздухе.
[12] Дополнительные варианты осуществления настоящего изобретения станут очевидными из следующего подробного раскрытия. Тем не менее, следует понимать, что подробное раскрытие и конкретные варианты осуществления изобретения, такие как предпочтительные варианты осуществления настоящего изобретения, приведены только в качестве примера, поскольку специалистам в данной области техники могут быть несомненно понятны различные изменения и модификации в рамках сущности и объема настоящего изобретения.
[Описание чертежей]
[13] На ФИГ. 1-24 изображены виды, иллюстрирующие примеры устройства для генерирования аэрозоля согласно вариантам осуществления настоящего изобретения.
[Принцип изобретения]
[14] Далее приведено подробное описание в соответствии с иллюстративными вариантами осуществления настоящего изобретения, раскрытыми в настоящем документе, со ссылкой на прилагаемые чертежи. Для краткости описания со ссылкой на чертежи одинаковые или эквивалентные компоненты имеют одинаковые или сходные ссылочные обозначения, описание которых не будет повторяться.
[15] В нижеследующем описании такие термины, как «модуль» и «блок» могут использоваться для обозначения элементов или компонентов. Использование таких терминов в настоящем документе предназначено лишь для облегчения описания характеристик, и эти термины не имеют какого-либо специального значения или функции.
[16] В настоящем описании те сведения, которые хорошо известны специалистам в соответствующей области техники, обычно опущены для краткости. Прилагаемые чертежи используются для облегчения понимания технической идеи настоящего изобретения, и следует понимать, что идея настоящего изобретения не ограничивается прилагаемыми чертежами. Идею настоящего изобретения следует интерпретировать как охватывающую любые изменения, эквиваленты и заменители, помимо прилагаемых чертежей.
[17] Следует понимать, что хотя термины «первый», «второй» и т. д. могут использоваться для описания различных элементов, описываемые элементы не могут ограничиваться этими терминами. Эти термины используются исключительно для отличения одного элемента от другого.
[18] Следует понимать, что когда элемент упоминается как «соединенный с» другим элементом, могут присутствовать промежуточные элементы. Напротив, следует понимать, что когда элемент упоминается как «непосредственно связанный с» другим элементом, промежуточные элементы отсутствуют.
[19] Представление в единственном числе должно включать представление во множественном числе, если контекст явно не указывает иное.
[20] В нижеследующем описании направление оси z, показанное в системе координат, может называться «направлением вверх», а направление, противоположное направлению оси z, может называться «направлением вниз». Направление оси x, показанное в системе координат, может называться «направлением назад», а направление, противоположное направлению оси x, может называться «направлением вперед». Направление оси y, показанное в системе координат, может называться «направлением вправо», а направление, противоположное направлению оси y, может называться «направлением влево».
[21] Как показано на ФИГ. 1, устройство 100 для генерирования аэрозоля может содержать по меньшей мере один аккумулятор 10 и/или контроллер 20, и/или нагреватель 30, и/или картридж 40. По меньшей мере один аккумулятор 10 и/или контроллер 20 и/или нагреватель 30 может быть расположен в корпусе 110 устройства 100 для генерирования аэрозоля. Картридж 40 может быть соединен с одной стороной корпуса 110 с возможностью разъединения.
[22] В корпусе 110 может быть предусмотрено пространство 50 для введения, в которое вставляют стик 200. Пространство 50 для введения может быть открытым наружу и иметь длинную или удлиненную форму. Нагреватель 30 может быть расположен вокруг пространства 50 для введения. Картридж 40 и пространство 50 для введения могут быть расположены параллельно друг другу и обращены друг к другу. Внутренняя структура устройства 100 для генерирования аэрозоля не ограничена внутренней структурой, изображенной на ФИГ. 1. Стик 200 может выступать наружу из корпуса 110 при введении в пространство 50 для введения. Пользователь может выполнять акт вдыхания, удерживая стик 200 во рту.
[23] Аккумулятор 10 может подавать питание для обеспечения работы по меньшей мере контроллера 20 и/или нагревателя 30 и/или картриджа 40. Аккумулятор 10 может подавать питание для работы дисплея, датчика, двигателя и тому подобного, установленных в устройстве 100 для генерирования аэрозоля.
[24] Контроллер 20 может управлять работой устройства 100 для генерирования аэрозоля в целом. Контроллер 20 может управлять работой по меньшей мере одного аккумулятора 10 и/или нагревателя 20 и/или картриджа 40. Контроллер 20 может управлять работой дисплея, датчика, двигателя и тому подобного, установленных в устройстве 100 для генерирования аэрозоля. Контроллер 20 может проверять состояние каждого компонента устройства 100 для генерирования аэрозоля, чтобы определить, находится ли устройство 100 для генерирования аэрозоля в рабочем состоянии.
[25] Нагреватель 30 может вырабатывать тепло, используя поступающее от аккумулятора 10 питание. Нагреватель 30 может нагревать стик 200, вставленный в устройство 100 для генерирования аэрозоля.
[26] Картридж 40 может генерировать аэрозоль. Аэрозоль, сгенерированный картриджем 40, может поступать к пользователю через стик 200, вставленный в устройство 100 для генерирования аэрозоля.
[27] Как показано на ФИГ. 2, картридж 40 может содержать первый контейнер 41 и второй контейнер 42. Второй контейнер 42 может быть соединен с нижней стороной первого контейнера 41. Одна сторона картриджа 40 может быть открыта, образуя впускное отверстие 414 картриджа. Одна сторона первого контейнера 41 может быть открыта, образуя впускное отверстие 414 картриджа. Одна сторона второго контейнера 42 может быть открыта, образуя впускное отверстие 414 картриджа. Впускное отверстие 414 картриджа может сообщаться с внешней средой. Воздух снаружи картриджа 40 может поступать через впускное отверстие 414 картриджа вовнутрь картриджа 40.
[28] Как показано на ФИГ. 3, первый контейнер 41 может содержать первую камеру C1. В первой камере C1 может храниться жидкость. Верхний конец первого контейнера 41 может быть открыт, образуя впускное отверстие 414 картриджа.
[29] Второй контейнер 42 может содержать вторую камеру C2. Вторая камера C2 может быть отделена от первой камеры C1. Вторая камера C2 может быть расположена ниже первой камеры C1.
[30] Фитиль 61 может быть установлен во второй камере C2. Фитиль 61 может быть соединен с первой камерой C1. Жидкость, хранящаяся в первой камере C1, может поступать на фитиль 61 из первой камеры C1.
[31] Нагреватель 62 может быть установлен во второй камере C2. Нагреватель 62 может быть намотан вокруг фитиля 61. Нагреватель 62 может нагревать фитиль 61. Когда нагреватель 62 нагревает фитиль 61, пропитанный жидкостью, рядом с фитилем 61 во второй камере C2 может образовываться аэрозоль.
[32] Одна сторона (или первая сторона) второй камеры C2 может быть открыта, образуя впускное отверстие 542 камеры. Другая сторона (или вторая сторона) второй камеры C2 может быть открыта, образуя выпускное отверстие 543 камеры. Впускное отверстие 542 камеры может сообщаться со второй камерой C2. Выпускное отверстие 543 камеры может сообщаться со второй камерой C2. Впускное отверстие 542 камеры и выпускное отверстие 543 камеры могут быть расположены друг напротив друга относительно второй камеры C2. Впускное отверстие 542 камеры и выпускное отверстие 543 камеры могут быть расположены друг напротив друга относительно фитиля 61. Впускное отверстие 542 камеры может также называться впускным отверстием 542. Выпускное отверстие 543 камеры может также называться выпускным отверстием 543.
[33] Впускной канал 541 может быть образован между впускным отверстием 542 камеры и впускным отверстием 414 картриджа. Впускной канал 541 может соединять впускное отверстие 542 камеры и впускное отверстие 414 картриджа. Впускной канал 541 может проходить вниз от впускного отверстия 414 картриджа к впускному отверстию 542 камеры и иметь удлиненную форму. Впускной канал 541 может быть отделен от первой камеры C1. Впускной канал 541 может быть отделен от второй камеры C2. Впускной канал 541 может быть расположен параллельно первой камере C1. Впускной канал 541 может быть изогнут в направлении впускного отверстия 542 камеры вблизи впускного отверстия 542 камеры, тем самым сообщаясь с впускным отверстием 542 камеры.
[34] Второй контейнер 42 может быть открыт, образуя выпускной канал 544. Выпускной канал 544 может сообщаться с выпускным отверстием 543 камеры. Выпускной канал 544 может сообщаться с внешней стороной картриджа 40. Выпускной канал 544 может быть открыт в направлении «вперед-назад». Выпускной канал 544 может быть ориентирован в направлении «вперед-назад» и иметь удлиненную форму. Передняя сторона второго контейнера 42 может выступать вперед, образуя выпускной патрубок 512. Выпускной канал 544 может быть сформирован в выпускном патрубке 512 и окружен выпускным патрубком 512.
[35] Воздух снаружи картриджа 40 может последовательно проходить через впускное отверстие 414 картриджа, впускной канал 541 и впускное отверстие 542 камеры, и поступать во вторую камеру C2. Воздух, поступающий во вторую камеру C2, может последовательно проходить через выпускное отверстие 543 камеры и выпускной канал 544, выходя наружу из картриджа 40. Аэрозоль во взвешенном состоянии может содержаться в воздухе, поступающем во вторую камеру C2.
[36] Как показано на ФИГ. 4 и 5, впускное отверстие 542 камеры может быть открыто в направлении «вперед-назад». Впускное отверстие 542 камеры может быть открыто в направлении фитиля 61. Выпускное отверстие 543 камеры может быть открыто в направлении «вперед-назад». Выпускное отверстие 543 камеры может быть открыто в направлении фитиля 61. Фитиль 61 может быть расположен между впускным отверстием 542 камеры и выпускным отверстием 543 камеры. Впускное отверстие 542 камеры и выпускное отверстие 543 камеры могут быть расположены параллельно находящемуся между ними фитилю 61 и могут быть обращены друг к другу.
[37] Фитиль 61 может быть ориентирован в направлении «влево-вправо» и иметь удлиненную форму. Фитиль 61 может быть ориентирован в длину в направлении, пересекающем направление, в котором открыто впускное отверстие 542 камеры. Фитиль 61 может быть ориентирован в длину в направлении, пересекающем направление, в котором открыто выпускное отверстие 543 камеры. Фитиль 61 может иметь форму удлиненного цилиндра. Фитиль 61 может иметь круглое поперечное сечение.
[38] Осевая линия L может быть определена как воображаемая линия, соединяющая центр впускного отверстия 542 камеры и центр выпускного отверстия 543 камеры. Осевая линия L может проходить от впускного отверстия 542 камеры до выпускного отверстия 543 камеры. Фитиль 61 может перекрывать осевую линию L. Фитиль 61 может быть ориентирован в длину в направлении, пересекающем продольное направление осевой линии L. Центр фитиля 61 может совпадать с осевой линией L или примыкать к осевой линии L.
[39] Ширина W2 впускного отверстия 542 камеры в направлении «влево-вправо» может превышать ширину W1 впускного отверстия 542 камеры в направлении «вверх-вниз». Диаметр впускного отверстия 542 камеры может быть больше в продольном направлении фитиля 61. Ширина W4 выпускного отверстия 543 камеры в направлении «влево-вправо» может превышать ширину W3 выпускного отверстия 543 камеры в направлении «вверх-вниз». Диаметр выпускного отверстия 543 камеры может быть больше в продольном направлении фитиля 61. Впускное отверстие 542 камеры и/или выпускное отверстие 543 камеры может быть открыто и вытянуто в продольном направлении фитиля 61.
[40] Ширина W1 впускного отверстия 542 камеры в направлении «вверх-вниз» может быть равна или близка к ширине W3 выпускного отверстия 543 камеры в направлении «вверх-вниз». Ширина W2 впускного отверстия 542 камеры в направлении «влево-вправо» может быть равна или близка к ширине W4 выпускного отверстия 543 камеры в направлении влево-вправо.
[41] Ширина W0 фитиля 61 может быть равна или близка к ширине W1 впускного отверстия 542 камеры в направлении «вверх-вниз». Ширина W0 фитиля 61 может быть равна или близка к ширине W3 выпускного отверстия 543 камеры в направлении «вверх-вниз».
[42] Вторая камера C2 по меньшей мере на одной стороне может иметь криволинейную поверхность, имеющую криволинейную форму. Криволинейная поверхность может по меньшей мере частично покрывать или окружать вторую камеру C2. Криволинейная поверхность может определять по меньшей мере часть внешней формы второй камеры C2.
[43] Вторая камера C2 может иметь криволинейную поверхность 52 впуска. Криволинейная поверхность 52 впуска может быть сформирована вокруг впускного отверстия 542 камеры и иметь криволинейную форму. Криволинейная поверхность 52 впуска может покрывать одну сторону (или первую сторону) второй камеры C2 на периферии впускного отверстия 542 камеры. Задний конец криволинейной поверхности 52 впуска может быть соединен с окружностью впускного отверстия 542 камеры. Криволинейная поверхность 52 впуска может быть ориентирована наружу от окружности впускного отверстия 542 камеры в направлении вперед. Криволинейная поверхность 52 впуска может иметь форму чаши, охватывающей заднее пространство фитиля 61. Криволинейная поверхность 52 впуска может покрывать заднюю сторону фитиля 61. Криволинейная поверхность 52 впуска может быть выполнена в виде непрерывной поверхности.
[44] Вторая камера C2 может иметь криволинейную поверхность 53 выпуска. Криволинейная поверхность 53 выпуска может быть сформирована вокруг выпускного отверстия 543 камеры и иметь криволинейную форму. Криволинейная поверхность 53 выпуска может покрывать другую сторону (или вторую сторону) второй камеры C2 на периферии выпускного отверстия 543 камеры. Передний конец криволинейной поверхности 53 выпуска может быть соединен с окружностью выпускного отверстия 543 камеры. Криволинейная поверхность 53 выпуска может быть ориентирована наружу от окружности выпускного отверстия 543 камеры в направлении назад. Криволинейная поверхность 53 выпуска может иметь форму чаши, охватывающей переднее пространство фитиля 61. Криволинейная поверхность 53 выпуска может покрывать переднюю сторону фитиля 61. Криволинейная поверхность 53 выпуска может быть выполнена в виде непрерывной поверхности.
[45] Вторая камера C2 может иметь соединительную поверхность 55. Соединительная поверхность 55 может быть образована между передним концом криволинейной поверхности 52 впуска и задним концом криволинейной поверхности 53 выпуска. Соединительная поверхность 55 может соединять передний конец криволинейной поверхности 52 впуска и задний конец криволинейной поверхности 53 выпуска. Соединительная поверхность 55 может определять периметр верхней, нижней, левой и правой плоскостей второй камеры C2. Соединительная поверхность 55 может быть ориентирована в направлении «вперед-назад». Соединительная поверхность 55 может не иметь кривизны или иметь очень малую кривизну.
[46] Вторая камера C2 может быть окружена криволинейной поверхностью 52 впуска, криволинейной поверхностью 53 выпуска и соединительной поверхностью 55. Задняя часть второй камеры C2 может быть покрыта криволинейной поверхностью 52 впуска. Передняя часть второй камеры C2 может быть покрыта криволинейной поверхностью 53 выпуска. Соединительная поверхность 55 может покрывать области вблизи верхней и нижней сторон фитиля 61. Соединительная поверхность 55 может покрывать области вблизи левой и правой сторон фитиля 61.
[47] Впускной канал 541 может сообщаться с впускным отверстием 542 камеры. Впускной канал 541 может быть ориентирован в направлении, пересекающем направление, в котором открыто впускное отверстие 542 камеры. Впускной канал 541 может быть ориентирован и вытянут в направлении «вверх-вниз» и изгибаться в направлении впускного отверстия 542 камеры вблизи впускного отверстия 542 камеры. Поверхность 511 впускного канала может окружать впускной канал 541. Поверхность 511 впускного канала может быть изогнута для соединения с окружностью впускного отверстия 542 камеры и криволинейной поверхностью 52 впуска.
[48] Криволинейная поверхность 513 канала может быть сформирована на участке, в котором поверхность 511 впускного канала изгибается. Криволинейная поверхность 513 канала может быть соединена с криволинейной поверхностью 52 впуска.
[49] Криволинейная поверхность 52 впуска может быть неразрывно соединена с поверхностью 511 впускного канала. Криволинейная поверхность 52 впуска и поверхность 511 впускного канала могут образовывать непрерывную поверхность. Криволинейная поверхность 53 выпуска может быть неразрывно соединена с внутренней поверхностью выпускного отверстия 512. Криволинейная поверхность 53 выпуска и внутренняя поверхность выпускного отверстия 512 могут образовывать непрерывную поверхность. Внутренняя поверхность выпускного отверстия 512 может называться поверхностью 512 выпускного канала.
[50] Как показано на ФИГ. 6 и 7, криволинейная поверхность 52 впуска может содержать первую криволинейную поверхность 521 впуска и вторую криволинейную поверхность 522 впуска.
[51] Первая криволинейная поверхность 521 впуска может окружать окружность впускного отверстия 542 камеры. Первая криволинейная поверхность 521 впуска может проходить по окружности впускного отверстия 542 камеры. Впускное отверстие 542 камеры может быть образовано на внутренней стороне первой криволинейной поверхности 521 впуска. Задний конец первой криволинейной поверхности 521 впуска может быть соединен с поверхностью 511 впускного канала. Задний конец первой криволинейной поверхности 521 впуска может быть соединен с криволинейной поверхностью 513 канала.
[52] Первая криволинейная поверхность 521 впуска может расширяться, вследствие чего окружность впускного отверстия 542 камеры постепенно увеличивается в направлении от задней части к передней части впускного отверстия 542 камеры. Первая криволинейная поверхность 521 впуска может иметь форму конуса. Первая криволинейная поверхность 521 впуска может иметь криволинейную форму. Центр кривизны первой криволинейной поверхности 521 впуска может быть расположен снаружи впускного отверстия 542 камеры и/или второй камеры C2. Первая криволинейная поверхность 521 впуска может выступать внутрь этого отверстия, в частности, быть изогнута или закруглена вовнутрь. Первая криволинейная поверхность 521 впуска может иметь форму раструба.
[53] Задний конец второй криволинейной поверхности 522 впуска может быть соединен с передним концом первой криволинейной поверхности 521 впуска. Вторая криволинейная поверхность 522 впуска может образовывать непрерывную поверхность с первой криволинейной поверхностью 521 впуска. Точка перегиба и/или поверхность перегиба может быть образована между второй криволинейной поверхностью 522 впуска и первой криволинейной поверхностью 521 впуска. Передний конец второй криволинейной поверхности 522 впуска может быть соединен с задним концом соединительной поверхности 55.
[54] Вторая криволинейная поверхность 522 впуска может расширяться таким образом, чтобы вторая камера C2 постепенно увеличивалась от переднего конца первой криволинейной поверхности 521 впуска в направлении вперед. Вторая криволинейная поверхность 522 впуска может иметь форму конуса. Вторая криволинейная поверхность 522 впуска может иметь криволинейную форму. Центр кривизны второй криволинейной поверхности 522 впуска может быть расположен внутри второй камеры C2. Вторая криволинейная поверхность 522 впуска может выступать наружу из второй камеры, в частности, быть изогнутой или закругляться наружу. Центр кривизны второй криволинейной поверхности 522 впуска может находиться рядом с фитилем 61 или в пределах фитиля 61.
[55] Криволинейная поверхность 513 канала может плавно направлять поток воздуха к впускному отверстию 542 камеры и второй камере C2, что соответствует направлению потока, одновременно уменьшая сопротивление потоку. Воздух может поступать из впускного канала 541 во впускное отверстие 542 камеры и во вторую камеру C2. Воздух, проходящий через впускной канал 541, может быть направлен к впускному отверстию 542 камеры и второй камере C2 вдоль поверхности 511 впускного канала и криволинейной поверхности 513 канала.
[56] Это может привести к уменьшению сопротивления потоку воздуха из впускного канала 541 во впускное отверстие 542 камеры и потерь потока воздуха.
[57] Первая криволинейная поверхность 521 впуска может плавно направлять воздух для его распространения вокруг фитиля 61, одновременно уменьшая сопротивление потоку. Воздух, проходящий через впускное отверстие 542 камеры, от впускного отверстия 542 камеры к фитилю 61, может распространяться вокруг впускного отверстия 542 камеры вдоль первой криволинейной поверхности 521 впуска.
[58] Вторая криволинейная поверхность 522 впуска может плавно направлять воздух вокруг фитиля 61, одновременно уменьшая сопротивление потоку. Воздух, поступающий из впускного отверстия 542 камеры, может проходить между фитилем 61 и второй криволинейной поверхностью 522 впуска вдоль второй криволинейной поверхности 522 впуска. Вторая криволинейная поверхность 522 впуска может позволять потоку воздуха, выпускаемому и распространяющемуся из впускного отверстия 542 камеры, сходиться или собираться в направлении потока. Вторая криволинейная поверхность 522 впуска может предотвращать снижение эффективности потока или образование завихрения, вызванного резким или внезапным изменением направления потока воздуха, проходящего из впускного отверстия 542 камеры в сторону фитиля 61.
[59] Соответственно, можно повысить эффективность диффузии или распределения потока воздуха, проходящего из впускного отверстия 542 камеры во вторую камеру C2. Кроме того, можно повысить эффективность распределения воздуха вокруг фитиля 61. Кроме того, можно предотвратить образование завихрения вблизи фитиля 61 или угла второй камеры C2. Кроме того, аэрозоль может более равномерно смешиваться с воздухом или распределяться в нем. Кроме того, можно увеличить количество аэрозоля в воздухе.
[60] Как показано на ФИГ. 6 и 8, криволинейная поверхность 53 выпуска может содержать первую криволинейную поверхность 531 выпуска и вторую криволинейную поверхность 532 выпуска.
[61] Первая криволинейная поверхность 531 выпуска может окружать окружность выпускного отверстия 543 камеры. Первая криволинейная поверхность 531 выпуска может проходить по окружности выпускного отверстия 543 камеры. Выпускное отверстие 543 камеры может быть образовано на внутренней стороне первой криволинейной поверхности 531 выпуска. Передний конец первой криволинейной поверхности 531 выпуска может быть соединен с поверхностью 512 выпускного канала.
[62] Первая криволинейная поверхность 531 выпуска может расширяться таким образом, что окружность выпускного отверстия 543 камеры постепенно увеличивается в направлении от передней части выпускного отверстия 543 камеры к задней части этого отверстия. Первая криволинейная поверхность 531 выпуска может постепенно уменьшаться в направлении от задней части выпускного отверстия 543 камеры к передней части этого отверстия. Первая криволинейная поверхность 531 выпуска может иметь форму конуса. Первая криволинейная поверхность 531 выпуска может иметь криволинейную форму. Центр кривизны первой криволинейной поверхности 531 выпуска может быть расположен снаружи выпускного отверстия 543 камеры и/или второй камеры C2. Первая криволинейная поверхность 531 выпуска может выступать внутрь этого отверстия, в частности, быть изогнута или закруглена вовнутрь. Первая криволинейная поверхность 531 выпуска может иметь форму раструба.
[63] Передний конец второй криволинейной поверхности 532 выпуска может быть соединен с задним концом первой криволинейной поверхности 531 выпуска. Вторая криволинейная поверхность 532 выпуска может постепенно уменьшаться в направлении передней части второй камеры C2. Вторая криволинейная поверхность 532 выпуска может образовывать непрерывную поверхность с первой криволинейной поверхностью 531 выпуска. Между второй криволинейной поверхностью 532 выпуска и первой криволинейной поверхностью 531 выпуска может быть образована точка перегиба и/или поверхность перегиба. Задний конец второй криволинейной поверхности 532 выпуска может быть соединен с передним концом соединительной поверхности 55.
[64] Вторая криволинейная поверхность 532 выпуска может расширяться таким образом, чтобы вторая камера C2 постепенно увеличивалась от заднего конца первой криволинейной поверхности 531 выпуска в направлении назад. Вторая криволинейная поверхность 532 выпуска может иметь форму конуса. Вторая криволинейная поверхность 532 выпуска может иметь криволинейную форму. Центр кривизны второй криволинейной поверхности 532 выпуска может быть расположен внутри второй камеры C2. Вторая криволинейная поверхность 532 выпуска может выступать наружу из второй камеры, в частности, быть изогнутой или закругляться наружу. Центр кривизны второй криволинейной поверхности 532 выпуска может находиться рядом с фитилем 61 или в пределах фитиля 61.
[65] Вторая криволинейная поверхность 532 выпуска может плавно направлять воздух вокруг фитиля 61 к выпускному отверстию 543 камеры, одновременно уменьшая сопротивление потоку. Воздух, проходящий вокруг фитиля 61, может проходить между фитилем 61 и второй криволинейной поверхностью 532 выпуска вдоль второй криволинейной поверхности 532 выпуска. Вторая криволинейная поверхность 532 выпуска может позволять воздуху, проходящему вокруг фитиля 61, собираться вблизи выпускного отверстия 543 камеры, что соответствует направлению потока. Вторая криволинейная поверхность 532 выпуска может предотвращать снижение эффективности потока или образование завихрения, вызванного резким или внезапным изменением направления потока воздуха из области вблизи фитиля 61 к выпускному отверстию 543 камеры.
[66] Первая криволинейная поверхность 531 выпуска может плавно направлять воздух к выпускному отверстию 543 камеры из области фитиля 61, одновременно уменьшая сопротивление потоку. Воздух, проходящий вокруг фитиля 61, может собираться внутри выпускного отверстия 543 камеры вдоль первой криволинейной поверхности 531 выпуска. Первая криволинейная поверхность 531 выпуска может предотвращать снижение эффективности потока или образование завихрения, вызванного внезапным изменением направления потока воздуха из области выпускного отверстия 543 камеры в выпускное отверстие 543 камеры, или сопротивлением, обусловленным столкновениями (молекул) воздуха, собранного в выпускном отверстии 543 камеры.
[67] Соответственно, можно увеличить эффективность потока воздуха, проходящего из второй камеры C2 или области вблизи фитиля 61 к выпускному отверстию 543 камеры. Кроме того, можно предотвратить образование завихрения вблизи фитиля 61 или угла второй камеры C2. Кроме того, аэрозоль может более равномерно смешиваться с воздухом или распределяться в нем. Кроме того, можно увеличить количество аэрозоля в воздухе.
[68] Как показано на ФИГ. 4 и 9, фитиль 61 может быть ориентирован в направлении, пересекающем осевую линию L, и иметь удлиненную форму. Фитиль 61 может быть расположен перпендикулярно осевой линии L. Фитиль 61 может быть расположен между впускным отверстием 542 камеры и выпускным отверстием 543 камеры таким образом, чтобы он был ориентирован в направлении «влево-вправо».
[69] Впускное отверстие 542 камеры может быть открыто в направлении «вперед-назад» в направлении фитиля 61. Впускное отверстие 542 камеры может быть открыто в направлении, пересекающем продольное направление фитиля 61. Впускное отверстие 542 камеры может иметь бóльшую ширину (W2) в продольном направлении фитиля 61. Ширина W2 впускного отверстия 542 камеры в направлении «влево-вправо» может превышать ширину W1 впускного отверстия 542 камеры в направлении «вверх-вниз».
[70] Выпускное отверстие 543 камеры может быть открыто в направлении «вперед-назад» в направлении фитиля 61. Выпускное отверстие 543 камеры может быть открыто в направлении, пересекающем продольное направление фитиля 61. Выпускное отверстие 543 камеры может иметь бóльшую ширину (W4) в продольном направлении фитиля 61. Ширина W4 выпускного отверстия 543 камеры в направлении «влево-вправо» может превышать ширину W3 выпускного отверстия 543 камеры в направлении «вверх-вниз».
[71] Криволинейная поверхность 52 впуска может постепенно увеличиваться от впускного отверстия 542 камеры к области вблизи обоих концов фитиля 61, расположенного во второй камере C2. Первая криволинейная поверхность 521 впуска может быть выполнена таким образом, чтобы ширина в левом и правом направлении постепенно увеличивалась от заднего конца к переднему концу впускного отверстия 542 камеры. Вторая криволинейная поверхность 532 выпуска может иметь ширину, постепенно увеличивающуюся от впускного отверстия 542 камеры к области вблизи обоих концов фитиля 61.
[72] Соответственно, воздух, поступающий во вторую камеру C2 из впускного отверстия 542 камеры, может равномерно распределяться в направлении фитиля 61, имеющего удлиненную форму. Кроме того, можно уменьшить сопротивление потоку воздуха, проходящему от впускного отверстия 542 камеры к области обоих концов фитиля 61, и предотвратить образование завихрения, что позволит увеличить эффективность потока. Кроме того, можно увеличить количество аэрозоля в воздухе.
[73] Криволинейная поверхность 53 выпуска может постепенно уменьшаться от области обоих концов фитиля 61, расположенного во второй камере C2, к выпускному отверстию 543 камеры. Первая криволинейная поверхность 531 выпуска может быть выполнена таким образом, чтобы ширина в направлении «влево-вправо» постепенно уменьшалась от заднего конца к переднему концу выпускного отверстия 543 камеры. Вторая криволинейная поверхность 532 выпуска может иметь ширину, постепенно уменьшающуюся от области вблизи обоих концов фитиля 61 к выпускному отверстию 543 камеры.
[74] Соответственно, воздух, проходящий из второй камеры C2 к выпускному отверстию 543 камеры, может равномерно собираться от фитиля 61, имеющего удлиненную форму. Кроме того, можно уменьшить сопротивление потоку воздуха, проходящему от области вблизи обоих концов фитиля 61 к выпускному отверстию 543 камеры, и предотвратить образование завихрения, что позволит увеличить эффективность потока. Кроме того, можно увеличить количество аэрозоля в воздухе.
[75] Как показано на ФИГ. 10-13, криволинейная поверхность может покрывать только часть второй камеры C2. На периферии выпускного отверстия 543 камеры может быть сформирована криволинейная поверхность, и периферия впускного отверстия 542 камеры может быть покрыта плоской поверхностью 56. Криволинейная поверхность может быть сформирована на нижней периферии выпускного отверстия 543 камеры, остальная часть может быть покрыта плоской поверхностью 56. Криволинейная поверхность может быть сформирована на верхней периферии выпускного отверстия 543 камеры, остальная часть может быть покрыта плоской поверхностью 56.
[76] На периферии впускного отверстия 542 камеры может быть сформирована криволинейная поверхность, и периферия выпускного отверстия 543 камеры может быть покрыта плоской поверхностью 56. Криволинейная поверхность может быть сформирована на нижней периферии впускного отверстия 542 камеры, остальная часть может быть покрыта плоской поверхностью 56. Криволинейная поверхность может быть сформирована на верхней периферии впускного отверстия 542 камеры, остальная часть может быть покрыта плоской поверхностью 56.
[77] Криволинейная поверхность может покрывать любую из сторон второй камеры C2, остальная часть может быть покрыта плоской поверхностью 56. Положение криволинейной поверхности не ограничивается раскрытыми выше вариантами осуществления изобретения. Плоская поверхность 56 может быть полностью плоской или преимущественно плоской.
[78] Как показано на ФИГ. 14, вторая камера C2 может иметь сферическую форму. Вторая криволинейная поверхность 522 впуска и вторая криволинейная поверхность 532 выпуска могут быть соединены друг с другом. Кривизна второй криволинейной поверхности 522 впуска может быть такой же или близкой к кривизне второй криволинейной поверхности 532 выпуска. Центр кривизны второй криволинейной поверхности 522 впуска может совпадать с центром кривизны второй криволинейной поверхности 532 выпуска или находиться рядом с ним. Центр кривизны второй криволинейной поверхности 522 впуска и центр кривизны второй криволинейной поверхности 532 выпуска могут совпадать с центром фитиля 61 или находиться рядом с ним.
[79] Это позволяет предотвратить завихрение, вызванное потоком воздуха, во второй камере C2. Кроме того, можно уменьшить сопротивление потоку воздуха, проходящему вокруг фитиля 61, что позволит увеличить эффективность потока. Кроме того, можно увеличить количество аэрозоля в воздухе.
[80] Как показано на ФИГ. 15, вторая камера C2 может иметь форму эллипсоида. Вторая криволинейная поверхность 522 впуска и вторая криволинейная поверхность 532 выпуска могут быть соединены друг с другом. Вторая криволинейная поверхность 522 впуска и вторая криволинейная поверхность 532 выпуска могут быть выпуклыми наружу от второй камеры C2. Длина D1 второй камеры C2 в направлении «вперед-назад» может превышать длину D2 второй камеры C2 в направлении «вверх-вниз». Вторая камера C2 может иметь бóльшую длину в направлении от впускного отверстия 542 камеры к выпускному отверстию 543 камеры. Вторая камера C2 может иметь бóльшую длину в направлении потока воздуха. Верхний и нижний концы второй камеры C2 могут быть расположены ближе к фитилю 61.
[81] Соответственно, можно улучшить прямолинейность потока воздуха, проходящего через вторую камеру C2. В результате можно уменьшить снижение эффективности потока воздуха, обусловленное изменением пути или маршрута. Кроме того, воздух может проходить ближе к фитилю 61 во второй камере C2, и количество или плотность аэрозоля в воздухе может быть увеличена.
[82] Как показано на ФИГ. 16, криволинейная поверхность 513 канала и нижняя часть второй криволинейной поверхности 522 впуска могут быть соединены друг с другом в единое целое. Криволинейная поверхность 513 канала и нижняя часть второй криволинейной поверхности 522 впуска могут образовывать непрерывную поверхность. Криволинейная поверхность 513 канала и вторая криволинейная поверхность 522 впуска могут быть выпуклыми наружу от второй камеры C2. Кривизна криволинейной поверхности 513 канала и кривизна нижней части второй криволинейной поверхности 522 впуска, соединенной с криволинейной поверхностью 513 канала, могут совпадать друг с другом. Кривизна нижней части второй камеры C2 может быть меньше кривизны верхней части второй камеры C2. Между второй криволинейной поверхностью 513 канала и второй криволинейной поверхностью 522 впуска может отсутствовать точка перегиба и/или поверхность перегиба.
[83] Соответственно, можно предотвратить завихрение воздуха, поступающего через впускное отверстие 542 камеры во вторую камеру C2 из впускного канала 541, и улучшить прямолинейность потока. Кроме того, поскольку воздух не сталкивается со стенкой, сформированной вблизи впускного отверстия 542 камеры, можно уменьшить сопротивление потоку, что позволит повысить эффективность потока воздуха.
[84] Как показано на ФИГ. 17, первая криволинейная поверхность 521 впуска может отсутствовать. Первая криволинейная поверхность 531 выпуска может отсутствовать. Задняя сторона второй камеры C2 на периферии впускного отверстия 542 камеры может быть покрыта второй криволинейной поверхностью 522 впуска. Передняя сторона второй камеры C2 на периферии выпускного отверстия 543 камеры может быть покрыта второй криволинейной поверхностью 532 выпуска.
[85] Как показано на ФИГ. 18, ширина первой криволинейной поверхности 521 впуска может постепенно увеличиваться от заднего конца к переднему концу впускного отверстия 542 камеры. Ширина W1 заднего конца первой криволинейной поверхности 521 впуска может быть равна или близка к ширине W0 фитиля 61. Ширина W10 переднего конца первой криволинейной поверхности 521 впуска может превышать ширину W0 фитиля 61. Передний конец первой криволинейной поверхности 521 впуска может быть соединен с задним концом соединительной поверхности 55. Первая криволинейная поверхность 521 впуска может иметь форму раструба, постепенно расширяющегося в направлении фитиля 61.
[86] Ширина первой криволинейной поверхности 531 выпуска может постепенно уменьшаться от заднего конца к переднему концу выпускного отверстия 543 камеры. Ширина W3 переднего конца первой криволинейной поверхности 531 выпуска может быть равна или близка к ширине W0 фитиля 61. Ширина W30 заднего конца первой криволинейной поверхности 531 выпуска может превышать ширину W0 фитиля 61. Задний конец первой криволинейной поверхности 531 выпуска может быть соединен с передним концом соединительной поверхности 55. Первая криволинейная поверхность 531 выпуска может иметь форму раструба, постепенно расширяющегося в направлении фитиля 61.
[87] Как показано на ФИГ. 19, вокруг впускного отверстия 542 камеры может быть сформирована наклонная поверхность 523 впуска. Наклонная поверхность 523 впуска может постепенно увеличиваться в направлении вперед. Наклонная поверхность 523 впуска может постепенно увеличиваться в направлении фитиля 61. Наклонная поверхность 523 впуска может быть наклонена наружу в сторону фитиля 61. Наклонная поверхность 523 впуска может иметь форму усеченного конуса, например, усеченного конуса круглого или эллиптического сечения. Наклонная поверхность 523 впуска может не иметь кривизны. Наклонная поверхность 523 впуска может быть образована между первой криволинейной поверхностью 521 впуска и второй криволинейной поверхностью 522 впуска. Наклонная поверхность 523 впуска может соединять первую криволинейную поверхность 521 впуска и вторую криволинейную поверхность 522 впуска.
[88] Наклонная поверхность 533 выпуска может быть сформирована вокруг выпускного отверстия 543 камеры. Наклонная поверхность 533 выпуска может постепенно уменьшаться в направлении вперед. Наклонная поверхность 533 выпуска может постепенно увеличиваться в направлении фитиля 61. Наклонная поверхность 533 выпуска может быть наклонена наружу в сторону фитиля 61. Наклонная поверхность 533 выпуска может иметь форму усеченного конуса, например, усеченного конуса круглого или эллиптического сечения. Наклонная поверхность 533 выпуска может не иметь кривизны. Наклонная поверхность 533 выпуска может быть образована между первой криволинейной поверхностью 531 выпуска и второй криволинейной поверхностью 532 выпуска. Наклонная поверхность 533 выпуска может соединять первую криволинейную поверхность 531 выпуска и вторую криволинейную поверхность 532 выпуска.
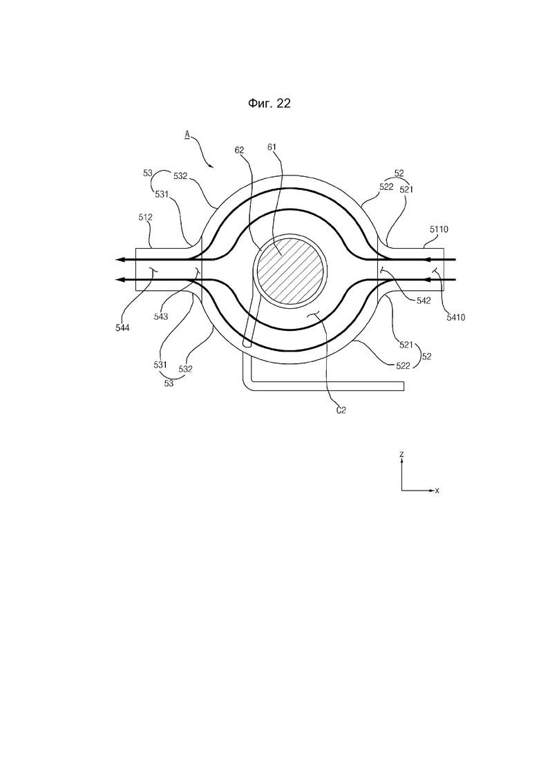
[89] Как показано на ФИГ. 20-23, одна сторона второго контейнера 42 может быть открыта, что позволяет впускному каналу 5410 сообщаться с внешней стороной картриджа 40. Впускной канал 5410 может сообщаться с задним концом впускного отверстия 542 камеры. Впускной канал 5410 может не быть изогнутым. Впускной канал 5410 может быть открыт в направлении «вперед-назад». Впускной канал 5410 может быть ориентирован в направлении «вперед-назад» и иметь удлиненную форму. Впускной канал 5410 может быть параллелен выпускному каналу 544. Впускной канал 5410 и выпускной канал 544 могут быть обращены друг к другу.
[90] Соответственно, можно уменьшить длину пути потока от внешней стороны картриджа 40 до второй камеры C2 и силу вдыхания, необходимую пользователю для вдыхания воздуха. Кроме того, при движении воздуха из впускного канала 5410 во впускное отверстие 542 камеры можно исключить завихрение воздуха и улучшить прямолинейность потока воздуха в картридже 40, что позволит увеличить эффективность потока.
[91] Как показано на ФИГ. 24, перегородка 58 может быть установлена во впускном отверстии 542 камеры. Перегородка 58 может быть установлена между второй камерой C2 и впускным каналом 541. Перегородка 58 может содержать множество отверстий. Перегородка 58 может блокировать впускное отверстие 542 камеры, но множество отверстий перегородки 58 могут обеспечивать сообщение второй камеры C2 и впускного канала 541 друг с другом. Перегородка 58 может иметь форму перфорированной пластины или сетки. Воздух может поступать через перегородку 58 во вторую камеру C2 из впускного канала 541. Перегородка 58 может обеспечивать постоянную скорость потока воздуха, поступающего во вторую камеру C2.
[92] Соответственно, воздух может равномерно распределяться во вторую камеру C2 и область вокруг фитиля 61 из впускного отверстия 542 камеры. Кроме того, можно увеличить количество или плотность аэрозоля в воздухе.
[93] Как показано на ФИГ. 1-24, в одном из аспектов настоящего изобретения предложен картридж 40, содержащий: первую камеру C1, в которой хранится жидкость; вторую камеру C2, содержащую впускное отверстие 542 и выпускное отверстие 543; фитиль 61, расположенный во второй камере C2 и соединенный с первой камерой C1; и нагреватель 62, выполненный с возможностью нагревания фитиля 61, причем вторая камера C2 содержит криволинейную поверхность, образующую по меньшей мере часть камеры между впускным отверстием 542 и выпускным отверстием 543.
[94] Согласно другому аспекту настоящего изобретения, вторая камера C2 может содержать криволинейную поверхность 53 выпуска, определяющую форму второй камеры C2 на периферии выпускного отверстия 543 и имеющую криволинейную форму.
[95] Согласно другому аспекту настоящего изобретения, криволинейная поверхность 53 выпуска может содержать первую криволинейную поверхность 531 выпуска, окружающую выпускное отверстие 543, центр кривизны которой расположен снаружи второй камеры C2, причем окружность первой криволинейной поверхности 531 выпуска постепенно уменьшается наружу от внутренней части второй камеры C2.
[96] Согласно другому аспекту настоящего изобретения, первая криволинейная поверхность 531 выпуска может иметь форму раструба.
[97] Согласно другому аспекту настоящего изобретения, криволинейная поверхность 53 выпуска может содержать вторую криволинейную поверхность 532 выпуска, изогнутую наружу, причем окружность второй криволинейной поверхности 532 выпуска постепенно уменьшается в направлении выпускного отверстия 543.
[98] Согласно другому аспекту настоящего изобретения, криволинейная поверхность 53 выпуска может содержать: первую криволинейную поверхность 531 выпуска, окружающую выпускное отверстие 543 и имеющую центр кривизны, расположенный снаружи второй камеры C2, причем окружность первой криволинейной поверхности 531 выпуска постепенно уменьшается наружу от внутренней части выпускного отверстия 543; и вторую криволинейную поверхность 532 выпуска, изогнутую наружу, причем окружность второй криволинейной поверхности 532 выпуска постепенно уменьшается в сторону выпускного отверстия 543, причем вторая криволинейная поверхность 532 выпуска и первая криволинейная поверхность 531 выпуска примыкают друг к другу, образуя непрерывную поверхность.
[99] Согласно другому аспекту настоящего изобретения, вторая камера C2 может содержать криволинейную поверхность 52 впуска, определяющую форму второй камеры C2 на периферии впускного отверстия 542 и имеющую криволинейную форму.
[100] Согласно другому аспекту настоящего изобретения, криволинейная поверхность 52 впуска может содержать первую криволинейную поверхность 521 впуска, окружающую впускное отверстие 542, центр кривизны которой расположен снаружи второй камеры C2, причем окружность первой криволинейной поверхности 521 впуска постепенно увеличивается вовнутрь от внешней части второй камеры C2.
[101] Согласно другому аспекту настоящего изобретения, первая криволинейная поверхность 521 впуска может иметь форму раструба.
[102] Согласно другому аспекту настоящего изобретения, криволинейная поверхность 52 впуска может содержать вторую криволинейную поверхность 522 впуска, изогнутую наружу, причем окружность второй криволинейной поверхности 522 впуска постепенно увеличивается в направлении от впускного отверстия 542 ко второй камере C2.
[103] Согласно другому аспекту настоящего изобретения, криволинейная поверхность 52 впуска может содержать: первую криволинейную поверхность 521 впуска, окружающую впускное отверстие 542 и имеющую центр кривизны, расположенный снаружи второй камеры C2, причем окружность первой криволинейной поверхности 521 впуска постепенно увеличивается вовнутрь от наружной части второй камеры C2; и вторую криволинейную поверхность 522 впуска, изогнутую наружу, причем окружность второй криволинейной поверхности 522 впуска постепенно увеличивается от впускного отверстия 542 в направлении второй камеры C2, причем вторая криволинейная поверхность 522 впуска и первая криволинейная поверхность 521 впуска примыкают друг к другу, образуя непрерывную поверхность.
[104] Согласно другому аспекту настоящего изобретения фитиль 61 может быть расположен между впускным отверстием 542 и выпускным отверстием 543 таким образом, чтобы он проходил в одну сторону. Впускное отверстие 532 может быть обращено к фитилю 61 в направлении, пересекающем продольное направление фитиля 61, и диаметр впускного отверстия вдоль первой оси в продольном направлении фитиля 61 превышает его диаметр вдоль второй оси, перпендикулярной первой оси.
[105] Согласно другому аспекту настоящего изобретения, выпускное отверстие 543 может быть обращено к фитилю 61 в направлении, пересекающем продольное направление фитиля 61, и диаметр впускного отверстия вдоль первой оси в продольном направлении фитиля 61 превышает его диаметр вдоль второй оси, перпендикулярной первой оси.
[106] Согласно другому аспекту настоящего изобретения, вторая камера C2 может содержать криволинейную поверхность 52 впуска, окружность которой постепенно увеличивается от впускного отверстия 542 в направлении фитиля 61 и определяет форму части второй камеры C2.
[107] Согласно другому аспекту настоящего изобретения, вторая камера C2 может содержать криволинейную поверхность 53 выпуска, окружность которой постепенно уменьшается в направлении выпускного отверстия 543 от фитиля и определяет форму части второй камеры C2.
[108] Согласно другому аспекту настоящего изобретения вторая камера C2 может иметь сферическую форму.
[109] Согласно другому аспекту настоящего изобретения, вторая камера C2 может иметь эллипсоидную форму с продольной осью, проходящей от впускного отверстия 542 к выпускному отверстию 543.
[110] Согласно другому аспекту настоящего изобретения, картридж 40 может дополнительно содержать: впускной канал 541, проходящий в направлении криволинейной поверхности канала, ведущей к впускному отверстию 542.
[111] Согласно другому аспекту настоящего изобретения, вторая камера C2 может содержать вторую криволинейную поверхность 522 впуска, непрерывно образованную криволинейной поверхностью канала и определяющую форму части второй камеры C2, прилегающей к впускному отверстию 542, причем вторая криволинейная поверхность 522 впуска имеет центр кривизны, расположенный внутри второй камеры C2.
[112] Согласно другому аспекту настоящего изобретения, впускное отверстие 542 и выпускное отверстие 543 могут быть расположены друг напротив друга относительно фитиля. Картридж 40 может дополнительно содержать впускной канал 541, выполненный с возможностью пропускания наружного газа.
[113] Согласно другому аспекту настоящего изобретения, картридж 40 может дополнительно содержать перегородку 58, установленную во впускном отверстии 542 и содержащую множество отверстий.
[114] Согласно другому аспекту настоящего изобретения, картридж 40 может содержать: первую камеру C1, в которой хранится жидкость; вторую камеру C2, содержащую впускное отверстие 542 и выпускное отверстие 543; фитиль 61, расположенный во второй камере C2 и сообщающийся с первой камерой C1; и нагреватель 62, выполненный с возможностью нагревания фитиля 61, причем вторая камера C2 содержит поверхность, постепенно уменьшающуюся от области вблизи фитиля 61 к впускному отверстию 542 и/или выпускному отверстию 543, причем поверхность определяет форму части второй камеры С2.
[115] Некоторые варианты осуществления или другие варианты осуществления изобретения, раскрытые выше, не являются взаимоисключающими или отличными друг от друга. Любые или все элементы вариантов осуществления раскрытого выше изобретения могут быть объединены с другими или объединены друг с другом по конфигурации или функции.
[116] Например, конфигурация «А», раскрытая в одном варианте осуществления изобретения и/или на чертежах, может быть объединена с конфигурацией «В», раскрытой в другом варианте осуществления изобретения и/или на чертежах. А именно, хотя комбинация между конфигурациями прямо не раскрыта, комбинация возможна, за исключением случая, когда раскрыто, что комбинация невозможна.
[117] Хотя варианты осуществления изобретения были раскрыты со ссылкой на ряд иллюстративных вариантов осуществления изобретения, следует понимать, что специалисты в данной области техники могут разработать множество других модификаций и вариантов осуществления изобретения, которые будут подпадать под действие принципов настоящего изобретения. В частности, возможны различные варианты и изменения составных частей и/или компоновок рассматриваемого комбинированного устройства в пределах объема раскрытия, чертежей и прилагаемой формулы изобретения. Помимо вариантов и изменений составных частей и/или компоновок, специалистам в данной области техники также будут очевидны альтернативные варианты использования.
| название | год | авторы | номер документа |
|---|---|---|---|
| КОЛЛЕКТОР ВЫХЛОПНЫХ ГАЗОВ С КРИВОЛИНЕЙНОЙ БОКОВОЙ ПАНЕЛЬЮ | 2014 |
|
RU2678786C2 |
| СПОСОБ ГЕНЕРИРОВАНИЯ АЭРОЗОЛЯ И СИСТЕМА, ГЕНЕРИРУЮЩАЯ АЭРОЗОЛЬ | 2019 |
|
RU2802359C2 |
| УСТРОЙСТВО ДЛЯ ГЕНЕРИРОВАНИЯ АЭРОЗОЛЯ (ВАРИАНТЫ) | 2022 |
|
RU2811532C1 |
| УСТРОЙСТВО ДЛЯ ГЕНЕРИРОВАНИЯ АЭРОЗОЛЯ | 2022 |
|
RU2830156C2 |
| ДВИГАТЕЛЬ ВНУТРЕННЕГО СГОРАНИЯ И СПОСОБ УПРАВЛЕНИЯ ДВИГАТЕЛЕМ ВНУТРЕННЕГО СГОРАНИЯ | 2017 |
|
RU2649412C1 |
| МИКСЕР ДЛЯ СМЕШИВАНИЯ ПО МЕНЬШЕЙ МЕРЕ ДВУХ ТЕКУЧИХ КОМПОНЕНТОВ И ВЫДАЧНОЕ УСТРОЙСТВО | 2012 |
|
RU2582397C2 |
| УСТРОЙСТВО ДЛЯ ГЕНЕРИРОВАНИЯ АЭРОЗОЛЯ | 2022 |
|
RU2812794C1 |
| СИСТЕМА ПРЕДОСТАВЛЕНИЯ АЭРОЗОЛЯ | 2020 |
|
RU2806181C2 |
| УСТРОЙСТВО ДЛЯ ПОДАЧИ АЭРОЗОЛЯ С НАГРЕВОМ ИЗЛУЧЕНИЕМ | 2016 |
|
RU2741928C2 |
| КАРТРИДЖ ДЛЯ ИСПАРИТЕЛЬНОГО УСТРОЙСТВА | 2019 |
|
RU2816648C2 |
Изобретение относится к табачной промышленности, в частности к устройствам, имитирующим процесс табакокурения. Картридж для устройства для генерирования аэрозоля содержит первую камеру, выполненную с возможностью хранения жидкости, вторую камеру, содержащую впускное отверстие и выпускное отверстие. Фитиль расположен во второй камере, сообщающейся с первой камерой. Нагреватель выполнен с возможностью нагревания фитиля. Вторая камера содержит криволинейную поверхность выпуска, определяющую вторую камеру на периферии выпускного отверстия и имеющую криволинейную форму, и/или криволинейную поверхность впуска, определяющую форму второй камеры на периферии впускного отверстия и имеющую криволинейную форму. Достигается технический результат – уменьшение сопротивления потоку, возникающему при прохождении воздуха через картридж, равномерность смешивания генерируемого в картридже аэрозоля, предотвращение образования завихрения при прохождении воздуха через картридж, а также увеличение количества или плотности аэрозоля во вдыхаемом воздухе. 12 з.п. ф-лы, 24 ил.
1. Картридж для устройства для генерирования аэрозоля, содержащий:
первую камеру, выполненную с возможностью хранения жидкости;
вторую камеру, содержащую впускное отверстие и выпускное отверстие;
фитиль, расположенный во второй камере и сообщающийся с первой камерой; и
нагреватель, выполненный с возможностью нагревания фитиля,
в котором вторая камера содержит криволинейную поверхность выпуска, определяющую вторую камеру на периферии выпускного отверстия и имеющую криволинейную форму, и/или криволинейную поверхность впуска, определяющую форму второй камеры на периферии впускного отверстия и имеющую криволинейную форму.
2. Картридж по п. 1, в котором криволинейная поверхность выпуска содержит первую криволинейную поверхность выпуска, окружающую выпускное отверстие и имеющую центр кривизны, расположенный снаружи второй камеры, и в котором окружность первой криволинейной поверхности выпуска постепенно уменьшается наружу от внутренней части второй камеры.
3. Картридж по п. 2, в котором первая криволинейная поверхность выпуска имеет форму раструба.
4. Картридж по п. 1, в котором криволинейная поверхность выпуска содержит вторую криволинейную поверхность выпуска, изогнутую наружу, и в котором окружность второй криволинейной поверхности выпуска постепенно уменьшается в направлении выпускного отверстия.
5. Картридж по п. 1, в котором криволинейная поверхность выпуска содержит:
первую криволинейную поверхность выпуска, окружающую выпускное отверстие и имеющую центр кривизны, расположенный снаружи второй камеры, причем окружность первой криволинейной поверхности выпуска постепенно уменьшается наружу от внутренней части выпускного отверстия; и
вторую криволинейную поверхность выпуска, изогнутую наружу, причем окружность второй криволинейной поверхности выпуска постепенно уменьшается в сторону выпускного отверстия,
в котором вторая криволинейная поверхность выпуска и первая криволинейная поверхность выпуска примыкают друг к другу, образуя непрерывную поверхность.
6. Картридж по п. 1, в котором криволинейная поверхность впуска содержит первую криволинейную поверхность впуска, окружающую впускное отверстие и имеющую центр кривизны, расположенный снаружи второй камеры, и в котором окружность первой криволинейной поверхности впуска постепенно увеличивается вовнутрь от внешней части второй камеры.
7. Картридж по п. 6, в котором первая криволинейная поверхность впуска имеет форму раструба.
8. Картридж по п. 1, в котором криволинейная поверхность впуска содержит вторую криволинейную поверхность впуска, изогнутую наружу, в котором окружность второй криволинейной поверхности впуска постепенно увеличивается в направлении от впускного отверстия ко второй камере.
9. Картридж по п. 1, в котором криволинейная поверхность впуска содержит:
первую криволинейную поверхность впуска, окружающую впускное отверстие и имеющую центр кривизны, расположенный снаружи второй камеры, и в котором окружность первой криволинейной поверхности впуска постепенно увеличивается вовнутрь от внешней части второй камеры; и
вторую криволинейную поверхность впуска, изогнутую наружу, в котором окружность второй криволинейной поверхности впуска постепенно увеличивается от впускного отверстия ко второй камере,
в котором вторая криволинейная поверхность впуска и первая криволинейная поверхность впуска примыкают друг к другу, образуя непрерывную поверхность.
10. Картридж по п. 1, в котором фитиль расположен между впускным отверстием и выпускным отверстием и проходит в одну сторону,
в котором впускное отверстие и/или выпускное отверстие обращено к фитилю в направлении, пересекающем продольное направление фитиля, и
в котором диаметр впускного отверстия и/или выпускного отверстия вдоль первой оси в продольном направлении фитиля превышает его диаметр вдоль второй оси, перпендикулярной первой оси.
11. Картридж по п. 10, в котором криволинейная поверхность впуска имеет окружность, которая постепенно увеличивается от впускного отверстия к фитилю, причем криволинейная поверхность впуска определяет форму части второй камеры.
12. Картридж по п. 10, в котором криволинейная поверхность выпуска имеет окружность, которая постепенно уменьшается к выпускному отверстию от фитиля, причем криволинейная поверхность выпуска определяет форму части второй камеры.
13. Картридж по п. 1, дополнительно содержащий перегородку, установленную во впускном отверстии и содержащую множество отверстий.
| Печь-кухня, могущая работать, как самостоятельно, так и в комбинации с разного рода нагревательными приборами | 1921 |
|
SU10A1 |
| Способ восстановления спиралей из вольфрамовой проволоки для электрических ламп накаливания, наполненных газом | 1924 |
|
SU2020A1 |
| СИСТЕМЫ ДОСТАВКИ АЭРОЗОЛЯ И СООТВЕТСТВУЮЩИЕ СПОСОБЫ | 2016 |
|
RU2738578C2 |
| УЗЕЛ КАРТРИДЖА СО СДВИЖНЫМ КОРПУСОМ КАРТРИДЖА | 2017 |
|
RU2729735C2 |
| НАГРЕВАТЕЛЬ В СБОРЕ ДЛЯ СИСТЕМЫ, ГЕНЕРИРУЮЩЕЙ АЭРОЗОЛЬ | 2016 |
|
RU2746843C2 |
| СПОСОБ ВУЛКАНИЗАЦИИ НАРУЖНОГО РЕЗИНОВОГО СЛОЯ МЕТАЛЛИЧЕСКИХ ВАЛОВ | 1933 |
|
SU32720A1 |
| СИСТЕМА, ГЕНЕРИРУЮЩАЯ АЭРОЗОЛЬ, СОДЕРЖАЩАЯ МОДУЛЬНУЮ СБОРКУ | 2017 |
|
RU2753686C2 |
Авторы
Даты
2025-03-11—Публикация
2022-08-16—Подача