ОБЛАСТЬ ТЕХНИКИ
[0001] Настоящее изобретение относится, в общем, к технической области беспроводной связи, а более конкретно к способу и устройству для мониторинга пейджинга, устройству связи и носителю данных.
УРОВЕНЬ ИЗОБРЕТЕНИЯ
[0002] В технике связи терминал может принимать во внимание услуги, которые имеют определенные требования к энергопотреблению и задержке. В каждом цикле расширенного прерывистого приема (enhanced discontinuous reception, eDRX) терминал принимает данные нисходящей линии связи только в пределах установленного окна времени пейджинга (paging time window, PTW), а в остальное время терминал находится в спящем состоянии и не принимает данные нисходящей линии связи. Способ eDRX позволяет достичь баланса между задержкой и энергопотреблением в услугах нисходящей линии связи.
[0003] В предшествующем уровне техники терминал может перемещаться между разными сотами, и существуют соты, которые не поддерживают eDRX. Когда терминал перемещается в соту, которая не поддерживает eDRX, может произойти сбой мониторинга пейджинга, что приведет к низкой надежности беспроводной связи.
СУЩНОСТЬ ИЗОБРЕТЕНИЯ
[0004] Варианты осуществления настоящего изобретения предлагают способ и устройство для мониторинга пейджинга, устройство связи и носитель данных.
[0005] Согласно первому аспекту вариантов осуществления настоящего изобретения предложен способ мониторинга пейджинга, который выполняется терминалом и включает в себя: определение, в соответствии с результатом определения того, поддерживает ли сота, в которой находится терминал в неподключенном состоянии управления ресурсами (radio resource control, RRC), расширенный прерывистый прием (eDRX) в неподключенном состоянии RRC, цикла пейджинга для терминала в неподключенном состоянии RRC для выполнения мониторинга пейджинга в соте. Терминал предварительно сконфигурирован спараметром eDRX для выполнения мониторинга пейджинга на основе eDRX в неподключенном состоянии RRC.
[0006] В варианте осуществления определение, в соответствии с результатом определения того, поддерживает ли сота, в которой находится терминал в неподключенном состоянии управления радиоресурсами (RRC), расширенный прерывистый прием (eDRX) в неподключенном состоянии RRC, цикла пейджинга для терминала в неподключенном состоянии RRC для выполнения мониторинга пейджинга в соте включает в себя:
[0007] в ответ на определение того, что сота, в которой находится терминал, поддерживает eDRX в неподключенном состоянии RRC, определение того, что цикл пейджинга представляет собой цикл, указанный параметром eDRX; или
[0008] в ответ на определение того, что сота, в которой находится терминал, не поддерживает eDRX в неподключенном состоянии RRC, определение того, что цикл пейджинга является заранее заданным циклом.
[0009] В варианте осуществления, в ответ на определение того, что сота, в которой находится терминал, не поддерживает eDRX в неактивном состоянии RRC, окно времени пейджинга (PTW) в неактивном состоянии RRC, указанное параметром eDRX, становится недействительным; и/или
[0010] в ответ на определение того, что сота, в которой находится терминал, не поддерживает eDRX в неактивном состоянии RRC, цикл eDRX в неактивном состоянии RRC, указанный параметром eDRX, становится недействительным.
[0011] В варианте осуществления, в ответ на определение того, что сота, в которой находится терминал, не поддерживает eDRX в состоянии бездействия RRC, PTW в состоянии бездействия RRC, указанное параметром eDRX, становится недействительным; и/или
[0012] в ответ на определение того, что сота, в которой находится терминал, не поддерживает eDRX в состоянии бездействия RRC, цикл eDRX в состоянии бездействия RRC, указанный параметром eDRX, становится недействительным; и/или
[0013] в ответ на определение того, что сота, в которой находится терминал, не поддерживает eDRX в состоянии бездействия RRC, PTW в неактивном состоянии RRC, указанное параметром eDRX, становится недействительным; и/или
[0014] в ответ на определение того, что сота, в которой находится терминал, не поддерживает eDRX в состоянии бездействия RRC, цикл eDRX в неактивном состоянии RRC, указанный параметром eDRX, становится недействительным.
[0015] В варианте осуществления способ дополнительно включает в себя: в ответ на определение того, что сота, в которой находится терминал, не поддерживает eDRX в неподключенном состоянии RRC, определение заранее заданного цикла в соответствии с циклом, указанным параметром eDRX.
[0016] В варианте осуществления определение заранее заданного цикла в соответствии с циклом, указанным параметром eDRX, включает в себя:
[0017] в ответ на то, что цикл, указанный параметром eDRX в неактивном состоянии RRC, больше или равен первому пороговому значению цикла, определение заранее заданного цикла в неактивном состоянии RRC в соответствии с циклом пейджинга радиодоступа, сконфигурированным сетью; или
[0018] в ответ на то, что цикл, указанный параметром eDRX в неактивном состоянии RRC, меньше или равен первому пороговому значению цикла, определение заранее заданного цикла в неактивном состоянии RRC в соответствии с циклом пейджинга радиодоступа по умолчанию.
[0019] В варианте осуществления сота представляет собой соту, не поддерживающую eDRX в неактивном состоянии RRC; и в ответ на то, что цикл, указанный параметром eDRX в неактивном состоянии RRC, меньше или равен первому пороговому значению цикла, определение заранее заданного цикла в неактивном состоянии RRC в соответствии с циклом пейджинга радиодоступа по умолчанию включает в себя:
[0020] в ответ на то, что цикл, указанный параметром eDRX в состоянии бездействия RRC, сконфигурированный для терминала, меньше или равен второму пороговому значению цикла, и цикл, указанный параметром eDRX в неактивном состоянии RRC, меньше или равен первому пороговому значению цикла, определение заранее заданного цикла в соответствии с циклом eDRX в состоянии бездействия и/или циклом пейджинга радиодоступа по умолчанию; или
[0021] в ответ на то, что цикл, указанный параметром eDRX в состоянии бездействия RRC, сконфигурированный для терминала в неактивном состоянии RRC, который большеили равен второму пороговому значению цикла, и цикл, указанный параметром eDRX в неактивном состоянии RRC, меньше или равен первому пороговому значению цикла, определение заранее заданного цикла в соответствии с зависящим от терминала значением DRX, циклом пейджинга по умолчанию и/или циклом пейджинга радиодоступа по умолчанию.
[0022] В варианте осуществления, в котором сота представляет собой соту, не поддерживающую eDRX в неактивном состоянии RRC; и в ответ на то, что цикл, указанный параметром eDRX в неактивном состоянии RRC, больше или равен первому пороговому значению цикла, определение заранее заданного цикла в неактивном состоянии RRC в соответствии с циклом пейджинга радиодоступа, сконфигурированным сетью, включает в себя:
[0023] в ответ на то, что цикл, указанный параметром eDRX в состоянии бездействия RRC, сконфигурированный для терминала в неактивном состоянии RRC, больше или равен второму пороговому значению цикла, и цикл, указанный параметром eDRX в неактивном состоянии RRC, больше или равен первому пороговому значению цикла, определение заранее заданного цикла в соответствии с зависящим от терминала значением DRX, циклом пейджинга по умолчанию и/или циклом пейджинга радиодоступа, сконфигурированным сетью.
[0024] В варианте осуществления сота представляет собой соту, не поддерживающую eDRX в состоянии бездействия RRC; и в ответ на то, что цикл, указанный параметром eDRX в неактивном состоянии RRC, меньше или равен первому пороговому значению цикла, определение заранее заданного цикла в неактивном состоянии RRC в соответствии с циклом пейджинга радиодоступа по умолчанию включает в себя:
[0025] в ответ на то, что терминал в неактивном состоянии RRC сконфигурирован таким образом, что цикл, указанный параметром eDRX в состоянии бездействия RRC, меньше или равен второму пороговому значению цикла, и цикл, указанный параметром eDRX в неактивном состоянии RRC, меньше или равен первому пороговому значению цикла, определение заранее заданного цикла в соответствии с зависящим от терминала значением DRX, циклом пейджинга по умолчанию и/или циклом пейджинга радиодоступа по умолчанию; или
[0026] в ответ на то, что цикл, указанный параметром eDRX в состоянии бездействия RRC, сконфигурированным для терминала в неактивном состоянии RRC, больше или равен второму пороговому значению цикла, и цикл, указанный параметром eDRX в неактивном состоянии RRC, меньше или равен первому пороговому значению цикла, определение заранее заданного цикла в соответствии с зависящим от терминала значением DRX, циклом пейджинга по умолчанию и/или циклом пейджинга радиодоступа по умолчанию.
[0027] В варианте осуществления сота представляет собой соту, не поддерживающую eDRX в состоянии бездействия RRC; и в ответ на то, что цикл, указанный параметром eDRX в неактивном состоянии RRC, больше или равен первому пороговому значению цикла, определение заранее заданного цикла в неактивном состоянии RRC в соответствии с циклом пейджинга радиодоступа, сконфигурированным сетью, включает в себя:
[0028] в ответ на то, что цикл, указанный параметром eDRX в состоянии бездействия RRC, сконфигурированный для терминала в неактивном состоянии RRC, больше или равен второму пороговому значению цикла, и цикл, указанный параметром eDRX в неактивном состоянии RRC, больше или равен первому пороговому значению цикла, определение заранее заданного цикла в соответствии с зависящим от терминала значением DRX, циклом пейджинга по умолчанию и/или циклом пейджинга радиодоступа, сконфигурированным сетью.
[0029] В варианте осуществления определение заранее заданного цикла в соответствии с циклом, указанным параметром eDRX, включает в себя:
[0030] в ответ на то, что терминал в неактивном состоянии RRC сконфигурирован только с параметром eDRX в состоянии бездействия RRC, и цикл, указанный параметром eDRX в состоянии бездействия RRC, меньше или равен второму пороговому значению цикла, определение заранее заданного цикла в соответствии с зависящим от терминала значением DRX, циклом пейджинга по умолчанию и/или циклом пейджинга радиодоступа, сконфигурированным сетью; или
[0031] в ответ на то, что терминал в состоянии бездействия RRC сконфигурирован только с параметром eDRX в состоянии бездействия RRC, и цикл, указанный параметром eDRX в состоянии бездействия RRC, меньше или равен второму пороговому значениюцикла, определение заранее заданного цикла в соответствии с зависящим от терминала значением DRX, и/или циклом пейджинга по умолчанию; или
[0032] в ответ на то, что терминал в неактивном состоянии RRC сконфигурирован только с параметром eDRX в состоянии бездействия RRC, и цикл, указанный параметром eDRX в состоянии бездействия RRC, больше или равен второму пороговому значению цикла, определение заранее заданного цикла в соответствии с зависящим от терминала значением DRX, циклом пейджинга по умолчанию и/или циклом пейджинга радиодоступа, сконфигурированным сетью; или
[0033] в ответ на то, что терминал в состоянии бездействия RRC сконфигурирован только с параметром eDRX в состоянии бездействия RRC, и цикл, указанный параметром eDRX в состоянии бездействия RRC, больше или равен второму пороговому значению цикла, определение заранее заданного цикла в соответствии с зависящим от терминала значением DRX, и/или циклом пейджинга по умолчанию.
[0034] Согласно второму аспекту вариантов осуществления настоящего изобретения предложено устройство для мониторинга пейджинга, которое включает в себя модуль определения. Модуль определения выполнен с возможностью определения, в соответствии с результатом определения того, поддерживает ли сота, в которой находится терминал в неподключенном состоянии управления радиоресурсами (RRC), улучшенный прерывистый прием (eDRX) в неподключенном состоянии RRC, цикла пейджинга для терминала в неподключенном состоянии RRC для выполнения мониторинга пейджинга в соте. Терминал предварительно сконфигурирован с параметром eDRX для выполнения мониторинга пейджинга на основе eDRX в неподключенном состоянии RRC.
[0035] Согласно третьему аспекту вариантов осуществления настоящего изобретения предложено устройство связи, которое включает в себя: процессор и память для хранения инструкций, исполняемых процессором. Процессор выполнен с возможностью реализации способа, описанного в любом варианте осуществления настоящего изобретения, путем выполнения исполняемых инструкций.
[0036] Согласно четвертому аспекту вариантов осуществления настоящего изобретения предложен компьютерный носитель данных, на котором хранятсяисполняемые компьютером программы, которые при исполнении процессором позволяют реализовать способ, описанный в любом варианте осуществления настоящего изобретения
[0037] В вариантах осуществления настоящего изобретения, в соответствии с результатом определения того, поддерживает ли сота, в которой находится терминал в неподключенном состоянии управления радиоресурсами (RRC), улучшенный прерывистый прием (eDRX) в неподключенном состоянии RRC, цикл пейджинга определяется для терминала в неподключенном состоянии RRC для выполнения мониторинга пейджинга в соте, и терминал предварительно сконфигурирован с параметром eDRX для выполнения мониторинга пейджинга на основе eDRX в неподключенном состоянии RRC. При этом цикл пейджинга для терминала в неподключенном состоянии RRC для выполнения мониторинга пейджинга в соте может быть определен в соответствии с результатом определения того, поддерживает ли сота eDRX в неподключенном состоянии RRC, так что цикл пейджинга может быть адаптирован к результату определения, что может уменьшить сбой мониторинга пейджинга, когда сота не поддерживает eDRX в неподключенном состоянии RRC, и повысить надежность связи беспроводной сети по сравнению со способом, при котором мониторинг пейджинга всегда выполняется с использованием параметра eDRX независимо от того, в какую соту перемещается терминал. КРАТКОЕ ОПИСАНИЕ ЧЕРТЕЖЕЙ
[0038] Фиг. 1 представляет собой схему системы беспроводной связи согласно иллюстративному варианту осуществления.
[0039] Фиг. 2 представляет собой схематическую блок-схему способа мониторинга пейджинга согласно иллюстративному варианту осуществления.
[0040] Фиг. 3 представляет собой схематическую блок-схему способа мониторинга пейджинга согласно иллюстративному варианту осуществления.
[0041] Фиг. 4 представляет собой схематическую блок-схему способа мониторинга пейджинга согласно иллюстративному варианту осуществления.
[0042] Фиг. 5 представляет собой схематическую блок-схему способа мониторинга пейджинга согласно иллюстративному варианту осуществления.
[0043] Фиг. 6 представляет собой схематическую блок-схему способа мониторинга пейджинга согласно иллюстративному варианту осуществления.
[0044] Фиг. 7 представляет собой схематическую блок-схему способа мониторинга пейджинга согласно иллюстративному варианту осуществления.
[0045] Фиг. 8 представляет собой схематическую блок-схему способа мониторинга пейджинга согласно иллюстративному варианту осуществления.
[0046] Фиг. 9 представляет собой схематическую блок-схему способа мониторинга пейджинга согласно иллюстративному варианту осуществления.
[0047] Фиг. 10 представляет собой схематическую блок-схему способа мониторинга пейджинга согласно иллюстративному варианту осуществления.
[0048] Фиг. 11 представляет собой схематическую блок-схему способа мониторинга пейджинга согласно иллюстративному варианту осуществления.
[0049] Фиг. 12 представляет собой схематическую блок-схему способа мониторинга пейджинга согласно иллюстративному варианту осуществления.
[0050] Фиг. 13 представляет собой принципиальную схему устройства для мониторинга пейджинга согласно иллюстративному варианту осуществления.
[0051] Фиг. 14 представляет собой принципиальную схему терминала согласно иллюстративному варианту осуществления.
[0052] Фиг. 15 представляет собой блок-схему базовой станции согласно иллюстративному варианту осуществления.
ПОДРОБНОЕ ОПИСАНИЕ
[0053] Теперь будет сделана подробная ссылка на иллюстративные варианты осуществления, примеры которых проиллюстрированы на прилагаемых чертежах. Следующее описание относится к прилагаемым чертежам, на которых одинаковые номера на разных чертежах обозначают одни и те же или подобные элементы, если не указано иное. Реализации, изложенные в последующем описании иллюстративных вариантов реализации, не представляют все реализации, соответствующие вариантам осуществления настоящего изобретения. Вместо этого они являются просто примерами устройств и способов, соответствующих некоторым аспектам настоящего изобретения, изложенным в прилагаемой формуле изобретения.
[0054] Термины, используемые в вариантах осуществления настоящего изобретения, предназначены только для целей описания конкретных вариантов осуществления, но недолжны рассматриваться как ограничивающие настоящее изобретение. При использовании в вариантах осуществления настоящего изобретения и прилагаемой формуле изобретения, признаки в единственном числе включают в себя формы множественного числа, если в контексте явно не указано иное. Следует также понимать, что термин «и/или», используемый в настоящем документе, представляет и содержит любые или все возможные комбинации одного или нескольких связанных перечисленных элементов.
[0055] Следует понимать, что хотя такие термины, как «первый», «второй» и «третий», могут использоваться в вариантах осуществления настоящего изобретения для описания различной информации, эта информация не должна ограничиваться этими терминами. Эти термины используются только для различения однотипной информации друг от друга. Например, первая информация также может называться второй информацией, и аналогичным образом вторая информация может также называться первой информацией в рамках вариантов осуществления настоящего изобретения. В настоящем документе термин «если» может быть истолкован как означающий «когда», или «после», или «в ответ на определение» в зависимости от контекста.
[0056] В целях краткости и простоты понимания термины «больше» или «меньше» используются при этом для обозначения соотношения размеров. Однако специалисту в данной области техники может быть понятно, что термин «больше чем» также охватывает значение «больше или равно», а термин «меньше чем» также охватывает значение «меньше или равно».
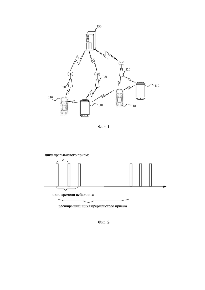
[0057] Ссылаясь на фиг. 1, на которой показана схема системы беспроводной связи согласно вариантам осуществления настоящего изобретения. Как показано на фиг. 1, система беспроводной связи представляет собой систему связи, основанную на технологии мобильной связи, и может включать в себя несколько пользовательских устройств 110 и несколько базовых станций 120.
[0058] Пользовательское оборудование 110 может представлять собой устройство, которое обеспечивает возможность соединения голоса и/или данных для пользователя. Пользовательское оборудование 110 может связываться с одной или более базовыми сетями через сеть радиодоступа (RAN). Пользовательское оборудование 110 может быть пользовательским оборудованием Интернета вещей, таким как измерительное устройство, мобильный телефон и компьютер с пользовательским оборудованием Интернета вещей. Например, пользовательское оборудование 110 может быть стационарным, портативным, карманным, наладонным, встроенным компьютером или устройством, установленным на транспортном средстве, таким как станция (station, STA), абонентский аппарат, абонентская станция, мобильная станция, мобильный телефон, удаленная станция, точка доступа, удаленный терминал, терминал доступа, пользовательский терминал, пользовательский агент, пользовательское устройство или пользовательское оборудование. Альтернативно, пользовательское оборудование 110 может представлять собой устройство беспилотного летательного аппарата. Альтернативно, пользовательское оборудование 110 может быть установленным на транспортном средстве устройством, например, установленным на транспортном средстве компьютером с функцией беспроводной связи, или беспроводным пользовательским оборудованием, внешне соединенным с водительским компьютером. Альтернативно, пользовательское оборудование 110 может представлять собой придорожное устройство, такое как уличный фонарь, сигнальный фонарь или другие придорожные устройства с функцией беспроводной связи.
[0059] Базовая станция 120 может быть сетевым устройством в системе беспроводной связи. Система беспроводной связи может представлять собой систему мобильной связи четвертого поколения (4G), также называемую системой долгосрочного развития (long term evolution, LTE). Альтернативно, система беспроводной связи может представлять собой систему 5G, также называемую новой радиосистемой или системой 5GNR. Альтернативно, система беспроводной связи может представлять собой систему следующего поколения относительно системы 5G. Сеть доступа в системе 5G может называться сетью радиодоступа нового поколения (new generation-radio access network, NG-RAN).
[0060] Базовая станция 120 может быть усовершенствованной базовой станцией (evolved base station, eNB), используемой в системе 4G. Альтернативно, базовая станция 120 может быть централизованной базовой станцией с распределенной архитектурой (centralized distributed architecture base station, gNB), используемой в системе 5G. Когда базовая станция 120 использует централизованную распределенную архитектуру, она обычно включает в себя центральный блок (central unit, CU) и по меньшей мере два распределенных блока (distributed unit, DU). В центральном блоке предусмотрен стекпротоколов уровня протокола конвергенции пакетных данных (packet data convergence protocol, PDCP), уровня управления радиоканалом (radio link control, RLC) и уровня управления доступом к среде передачи (media access control, MAC). В распределенном блоке предусмотрен стек протоколов физических (physical, PHY) уровней. Конкретная реализация базовой станции 120 не ограничена вариантами осуществления настоящего изобретения.
[0061] Беспроводное соединение может быть установлено между базовой станцией 120 и пользовательским оборудованием ПО через беспроводную радиосвязь. В различных вариантах осуществления беспроводная радиосвязь представляет собой беспроводную радиосвязь, основанную на стандарте технологии сетей мобильной связи четвертого поколения (4G). Альтернативно, беспроводная радиосвязь представляет собой беспроводную радиосвязь, основанную на стандарте технологии сетей мобильной связи 5-го поколения (5G). Например, беспроводное радио - это новое радио. Альтернативно, беспроводная радиосвязь также может представлять собой беспроводную радиосвязь на основе стандарта технологии сетей мобильной связи следующего поколения относительно 5G.
[0062] В некоторых вариантах осуществления сквозное (end to end, Е2Е) соединение также может быть установлено между множеством устройств пользовательского оборудования ПО, например, связью между транспортными средствами (vehicle to vehicle, V2 V), связью между транспортными средствами и инфраструктурой (vehicle to infrastructure, V2I) и связью между транспортными средствами и пешеходами (vehicle to pedestrian, V2P) в связи транспортного средства со всеми (vehicle to everything, V2X).
[0063] При этом вышеупомянутое пользовательское оборудование можно рассматривать как терминальное устройство в следующих вариантах осуществления.
[0064] В некоторых вариантах осуществления вышеуказанная система беспроводной связи может дополнительно включать в себя устройство 130 управления сетью.
[0065] Несколько базовых станций 120 подключены к устройству 130 управления сетью соответственно. Устройство 130 управления сетью может быть устройством базовой сети (core network device) в системе беспроводной связи, например, устройство 130 управления сетью может быть объектом управления мобильностью (mobility management entity, ММЕ) в развитом пакетном ядре (evolved packet core, ЕРС). Альтернативно, устройством управления сетью могут быть другие устройства базовой сети, такие как обслуживающий шлюз (serving gateway, SGW), шлюз общедоступной сети передачи данных (public data network gateway, PGW), функция политики и правил начисления платы (policy and charging rules function, PCRF) или домашний абонентский сервер (home subscriber server, HSS). Форма реализации устройства 130 управления сетью не ограничена вариантами осуществления настоящего изобретения.
[0066] Чтобы облегчить понимание специалистам в данной области техники, настоящее изобретение перечисляет множество реализаций, чтобы ясно иллюстрировать технические решения вариантов осуществления настоящего изобретения. Конечно, специалисты в данной области техники могут понять, что каждый из множества вариантов осуществления, представленных в настоящем изобретения, может быть выполнен отдельно или в сочетании со способом, описанным в любых других вариантах осуществления настоящего изобретения, или может дополнительно выполняться вместе с некоторыми способами, в предшествующем уровне техники, которые не ограничены настоящим изобретением.
[0067] Чтобы лучше понять технические решения, раскрытые в вариантах осуществления настоящего изобретения, описаны сценарии применения мониторинга пейджинга.
[0068] В варианте осуществления на фиг. 2, окно времени пейджинга (PTW) устанавливается в каждом цикле eDRX. В PTW терминал контролирует канал пейджинга в соответствии с циклом DRX (при этом, поскольку время цикла DRX короткое, можно считать, что терминал не находится в спящем состоянии и данные всегда доступны), чтобы получить данные нисходящей линии связи, а терминал все остальное время находится в спящем состоянии. При этом для мониторинга пейджинга на базе eDRX можно считать, что данные доступны в любое время, но с большой задержкой. При этом задержка зависит от конфигурации цикла eDRX, поэтому баланс между низким энергопотреблением и задержкой может быть достигнут путем конфигурации цикла eDRX.
[0069] В варианте осуществления между терминалом и базовой сетью необходимо согласовать по меньшей мере один из следующих параметров:
[0070] 1. TeDRX,H: цикл eDRX; и
[0071] 2. L: длина окна PTW;
[0072] При этом, ссылаясь на фиг. 3, процесс согласования между терминалом и базовой сетью может включать в себя этапы a-d.
[0073] На этапе а базовая станция отправляет сообщение, указывающее разрешенный параметр eDRX и зависящий от соты параметр DRX, на терминал (сообщение может быть системным сообщением).
[0074] На этапе b терминал отправляет сообщение, указывающее зависящий от терминала параметр DRX и предпочтительный параметр DRX, в устройство базовой сети через базовую станцию.
[0075] На этапе с устройство базовой сети отправляет сообщение, указывающее параметр конфигурации eDRX, на терминал через базовую станцию.
[0076] На этапе d устройство базовой сети осуществляет поиск терминала на основе параметра конфигурации eDRX.
[0077] При этом процесс согласования может выполняться между терминалом и базовой сетью посредством сообщения уровня без доступа, и процесс согласования полностью прозрачен для базовой станции.
[0078] В варианте осуществления сценария неактивное состояние управления радиоресурсами (RRC) вводится в новую радиосвязь (NR). В таком случае терминалу необходимо не только принять пейджинговое сообщение из базовой сети, но также необходимо принять пейджинговое сообщение из сети радиодоступа. В варианте осуществления сеть радиодоступа будет выделять терминалу более короткий цикл eDRX в неактивном состоянии RRC. В варианте осуществления сеть радиодоступа также будет выделять терминалу длину окна PTW. При этом начальная точка окна PTW может быть такой же, как начальная точка окна PTW, выделенная устройством базовой сети.
[0079] В варианте осуществления устройство базовой сети и базовая станция выделяют терминалу два набора параметров eDRX (при этом каждый набор параметров eDRX может включать в себя цикл eDRX и параметр PTW), т.е. параметры eDRX в состоянии бездействия RRC и параметры eDRX в неактивном состоянии RRC соответственно. В варианте осуществления, только когда параметры eDRX в состоянии бездействия RRC сконфигурированы, базовая станция может выделить параметры eDRX внеактивном состоянии RRC. При этом базовая станция может явно указать терминалу, поддерживается или нет eDRX в неактивном состоянии RRC или eDRX в состоянии бездействия RRC. При этом указание может передаваться в системном сообщении. При этом явное указание может относиться к тому, что сообщение индикации содержит информационное поле, указывающее, поддерживается или нет eDRX в неактивном состоянии RRC или eDRX в состоянии бездействия RRC.
[0080] В варианте осуществления цикл eDRX может быть больше или равен 2,56 с. Например, цикл eDRX может составлять 2,56 с, 5,12 с, 10,24 с или более 10,24 с и т.д.
[0081] В варианте осуществления, в конфигурации сценария без eDRX (при этом сценарий без eDRX может быть сценарием DRX), поведение мониторинга терминала для DRX может быть следующим.
[0082] Для пользователя в состоянии бездействия RRC Т=min{зависящее от UE значение DRX, цикл пейджинга по умолчанию}, где зависящее от UE значение DRX является опциональным; при этом зависящее от UE значение DRX представляет собой зависящее от терминала значение DRX; цикл пейджинга по умолчанию является циклом пейджинга по умолчанию. Следует отметить, что если сеть не предоставляет зависящее от UE значение DRX, Т=min{зависящее otUE значение DRX, цикл пейджинга по умолчанию}=цикл пейджинга по умолчанию.
[0083] Для пользователя в неактивном состоянии RRC Т=min{зависящее от UE значение DRX, цикл пейджинга по умолчанию, цикл пейджинга RAN}, где зависящее otUE значение DRX является опциональным. Зависящее otUE значение DRX представляет собой специфичное для конкретного терминала значение DRX; цикл пейджинга по умолчанию является циклом пейджинга по умолчанию; и цикл пейджинга RAN представляет собой цикл пейджинга сети радиодоступа. Следует отметить, что если сеть не предоставляет зависящее от UE значение DRX, Т=min{зависящее от UE значение DRX, цикл пейджинга по умолчанию, цикл пейджинга RAN}=min{цикл пейджинга по умолчанию, цикл пейджинга RAN}. Если сеть также не предоставляет цикл пейджинга RAN, формула принимает вид Т=цикл пейджинга по умолчанию.
[0084] Как показано на фиг. 4, варианты осуществления настоящего изобретения предлагают способ мониторинга пейджинга. Способ выполняется терминалом и включает в себя следующий этап.
[0085] На этапе 41, в соответствии с результатом определения того, поддерживает ли сота, в которой находится терминал в неподключенном состоянии управления радиоресурсами (RRC), улучшенный прерывистый прием (eDRX) в неподключенном состоянии RRC, определяется цикл пейджинга для терминала в неподключенном состоянии RRC для выполнения мониторинга пейджинга в соте.
[0086] Терминал предварительно сконфигурирован с параметром eDRX для выполнения мониторинга пейджинга на основе eDRX в неподключенном состоянии RRC.
[0087] При этом терминал может быть, помимо прочего, мобильным телефоном, планшетным компьютером, носимым устройством, автомобильным терминалом, придорожным устройством (road side unit, RSU), терминалом умного дома, промышленным измерительным устройством и/или медицинским устройством и т.д. Например, терминал «умного дома» может включать в себя камеру, устройство измерения температуры, устройство измерения яркости и т.п.
[0088] При этом базовая станция, задействованная в настоящем изобретении, может представлять собой базовую станцию любого типа, например, базовую станцию сети мобильной связи третьего поколения (3G), базовую станцию сети мобильной связи четвертого поколения (4G), базовые станции сети мобильной связи пятого поколения (5G) или другие развитые базовые станции.
[0089] При этом устройство базовой сети, задействованное в настоящем изобретении, может быть объектом унифицированного управления данными (unified data management, UDM), объектом управления доступом и функцией управления мобильностью (mobility management function, AMF) или тому подобным.
[0090] В вариантах осуществления настоящего изобретения терминал в неподключенном состоянии RRC может быть терминалом в других состояниях, кроме подключенного состояния RRC (RRC CONNECTED), например терминалом в неактивном состоянии RRC (RRCINACTIVE) или терминалом в состоянии бездействия RRC (RRC IDLE).
[0091] В варианте осуществления сеть может предварительно сконфигурировать для терминала параметр eDRX для выполнения мониторинга пейджинга на основе eDRX в неподключенном состоянии RRC, или терминал может определить параметр eDRX в соответствии с протоколом связи, или может быть принят любой другой возможный способ, который позволяет терминалу определять параметр eDRX. В вариантах осуществления настоящего изобретения все эти способы могут называться «терминал предварительно сконфигурирован с параметром eDRX». Следует отметить, что также возможно определить только способ, при котором сеть может заранее сконфигурировать параметр eDRX для терминала. В ответ на то, что терминал может определить параметр eDRX для выполнения мониторинга пейджинга на основе eDRX в неподключенном состоянии RRC, цикл пейджинга для терминала в неподключенном состоянии RRC для выполнения мониторинга пейджинга в соте определяется согласно результату определения того, поддерживает ли сота, в которой находится терминал в неподключенном состоянии управления радиоресурсами (RRC), улучшенный прерывистый прием (eDRX) в неподключенном состоянии RRC. При этом параметр eDRX включает в себя по меньшей мере одно из: цикла eDRX и PTW. При этом параметр eDRX может быть параметром для выполнения eDRX в состоянии бездействия RRC или параметром для выполнения eDRX в неактивном состоянии RRC.
[0092] В варианте осуществления сетевая сторона может указать, поддерживает ли сота, в которой находится терминал, eDRX в неподключенном состоянии RRC или нет, посредством системного сообщения. При этом поддержка eDRX в неподключенном состоянии RRC может означать поддержку eDRX в состоянии бездействия RRC и/или в неактивном состоянии RRC. Отсутствие поддержки eDRX в неподключенном состоянии RRC может означать неподдержку eDRX в состоянии бездействия RRC и/или в неактивном состоянии RRC. Следует отметить, что поддержка eDRX в неподключенном состоянии RRC может определяться в соответствии со свойством аппаратного обеспечения базовой станции соты, принятым параметром конфигурации или сценарием запуска, который при этом не ограничивается.
[0093] В варианте осуществления сеть может предварительно сконфигурировать для терминала параметр eDRX для выполнения мониторинга пейджинга на основе eDRX всостоянии бездействия RRC и в неактивном состоянии RRC, или терминал может определить параметр eDRX в соответствии с протоколом связи или может быть принят любой другой возможный способ, который позволяет терминалу определять параметр eDRX. В вариантах осуществления настоящего изобретения все эти способы могут называться «терминал предварительно сконфигурирован с параметром eDRX». Следует отметить, что также возможно определить только способ, при котором сеть может заранее сконфигурировать параметр eDRX для терминала. В ответ на то, что терминал может определить параметр eDRX для выполнения мониторинга пейджинга на основе eDRX в состоянии бездействия RRC и в неактивном состоянии RRC, цикл пейджинга для терминала в состоянии бездействия RRC для выполнения мониторинга пейджинга в соте определяется в соответствии с результатом определения того, поддерживает ли сота, в которой находится терминал в состоянии бездействия RRC, улучшенный прерывистый прием (eDRX) в состоянии бездействия RRC.
[0094] В варианте осуществления сеть может предварительно сконфигурировать для терминала параметр eDRX для выполнения мониторинга пейджинга на основе eDRX в состоянии бездействия RRC и в неактивном состоянии RRC, или терминал может определить параметр eDRX в соответствии с протоколом связи, или может быть принят любой другой возможный способ, который позволяет терминалу определять параметр eDRX. В вариантах осуществления настоящего изобретения все эти способы могут называться «терминал предварительно сконфигурирован с параметром eDRX». Следует отметить, что также возможно определить только способ, при котором сеть может заранее сконфигурировать параметр eDRX для терминала. В ответ на то, что терминал может определить параметр eDRX для выполнения мониторинга пейджинга на основе eDRX в состоянии бездействия RRC и в неактивном состоянии RRC, цикл пейджинга для терминала в неактивном состоянии RRC для выполнения мониторинга пейджинга в соте определяется в соответствии с результатом определения того, поддерживает ли сота, в которой находится терминал в неактивном состоянии RRC, улучшенный прерывистый прием (eDRX) в неактивном состоянии RRC.
[0095] В варианте осуществления сеть может предварительно сконфигурировать для терминала параметр eDRX для выполнения мониторинга пейджинга на основе eDRX всостоянии бездействия RRC, или терминал может определить параметр eDRX в соответствии с протоколом связи, или может быть принят любой другой возможный способ, который позволяет терминалу определять параметр eDRX. В вариантах осуществления настоящего изобретения все эти способы могут называться «терминал предварительно сконфигурирован с параметром eDRX». Следует отметить, что также возможно определить только способ, при котором сеть может заранее сконфигурировать параметр eDRX для терминала. В ответ на то, что терминал предварительно сконфигурирован с параметром eDRX для выполнения мониторинга пейджинга на основе eDRX в состоянии бездействия RRC, цикл пейджинга для терминала в состоянии бездействия RRC для выполнения мониторинга пейджинга в соте определяется в соответствии с результатом определения того, поддерживает ли сота, в которой находится терминал в состоянии бездействия RRC, улучшенный прерывистый прием (eDRX) в состоянии бездействия RRC.
[0096] В варианте осуществления сеть может предварительно сконфигурировать для терминала параметр eDRX для выполнения мониторинга пейджинга на основе eDRX в неактивном состоянии RRC, или терминал может определить параметр eDRX в соответствии с протоколом связи, или может быть принят любой другой возможный способ, который позволяет терминалу определять параметр eDRX. В вариантах осуществления настоящего изобретения все эти способы могут называться «терминал предварительно сконфигурирован с параметром eDRX». Следует отметить, что также возможно определить только способ, при котором сеть может заранее сконфигурировать параметр eDRX для терминала. В ответ на то, что терминал предварительно сконфигурирован с параметром eDRX для выполнения мониторинга пейджинга на основе eDRX в неактивном состоянии RRC, цикл пейджинга для терминала в неактивном состоянии RRC для выполнения мониторинга пейджинга в соте определяется в соответствии с результатом определения того, поддерживает ли сота, в которой находится терминал в неактивном состоянии RRC, улучшенный прерывистый прием (eDRX) в неактивном состоянии RRC.
[0097] В варианте осуществления сеть может предварительно сконфигурировать для терминала параметр eDRX для выполнения мониторинга пейджинга на основе eDRX в неподключенном состоянии RRC, или терминал может определить параметр eDRX в соответствии с протоколом связи, или может быть принят любой другой возможный способ, который позволяет терминалу определять параметр eDRX. В вариантах осуществления настоящего изобретения все эти способы могут называться «терминал предварительно сконфигурирован с параметром eDRX». Следует отметить, что также возможно определить только способ, при котором сеть может заранее сконфигурировать параметр eDRX для терминала. В ответ на результат определения, указывающий, что сота поддерживает eDRX в неподключенном состоянии RRC, цикл пейджинга определяется как цикл, указанный параметром eDRX. То есть, когда сота поддерживает eDRX в неподключенном состоянии RRC, терминал может выполнять мониторинг пейджинга на основе цикла пейджинга, указанного параметром eDRX. В другом варианте осуществления, в ответ на результат определения, указывающий, что сота не поддерживает eDRX в неподключенном состоянии RRC, цикл пейджинга определяется как заранее заданный цикл. При этом заранее заданный цикл может быть циклом, определенным согласно циклу пейджинга радиодоступа, сконфигурированному сетью, или циклу пейджинга радиодоступа по умолчанию. То есть, когда сота не поддерживает eDRX в неподключенном состоянии RRC, терминал больше не выполняет мониторинг пейджинга на основе цикла, указанного параметром eDRX, а использует заранее заданный цикл для выполнения мониторинга пейджинга.
[0098] В вариантах осуществления настоящего изобретения, в соответствии с результатом определения того, поддерживает ли сота, в которой находится терминал в неподключенном состоянии управления радиоресурсами (RRC), улучшенный прерывистый прием (eDRX) в неподключенном состоянии RRC, цикл пейджинга для терминала в неподключенном состоянии RRC определяется возможность выполнения мониторинга пейджинга в соте, и терминал предварительно конфигурируется с параметром eDRX для выполнения мониторинга пейджинга на основе eDRX в неподключенном состоянии RRC. При этом цикл пейджинга для терминала в неподключенном состоянии RRC для выполнения мониторинга пейджинга в соте может быть определен в соответствии с результатом определения того, поддерживает ли сота eDRX в неподключенном состоянии RRC, так что цикл пейджинга может быть адаптирован к результату определения, что может уменьшить сбой мониторинга пейджинга, когда сота не поддерживает eDRX в неподключенном состоянии RRC, и повысить надежность связи беспроводной сети посравнению со способом, при котором мониторинг пейджинга всегда выполняется с использованием параметра eDRX независимо от того, в какую соту перемещается терминал.
[0099] Следует отметить, что приведенные выше решения проиллюстрированы со ссылкой на соту, в которой находится терминал, но это не единственный сценарий, к которому применимы варианты осуществления настоящего изобретения. Терминал также может определять параметр, связанный с мониторингом пейджинга, во время передачи обслуживания на основе того же технического решения. Например, что касается передачи обслуживания соты, терминал может определить до, во время или после передачи обслуживания соты, поддерживает ли сота, подлежащая передаче обслуживания, eDRX в неподключенном состоянии RRC, чтобы соответствующим образом выполнить мониторинг пейджинга. Конечно, что касается передачи обслуживания соты, терминал может делать выбор на основе того же технического решения. Например, терминал может определить перед выполнением передачи обслуживания соты или во время передачи обслуживания соты, поддерживает ли сота-кандидат, подлежащая передаче, eDRX в неподключенном состоянии RRC, чтобы определить соту, подлежащую передаче обслуживания, в соответствии с результатом определения и другие соответствующие параметры, если они присутствуют. Следует отметить, что приведенные выше выражения также применимы к каждому варианту осуществления настоящего изобретения и не будут повторяться в дальнейшем из-за ограниченности места.
[00100] Следует отметить, что специалисты в данной области техники могут понять, что каждый из способов согласно вариантам осуществления настоящего изобретения может быть реализован отдельно или вместе с некоторыми другими способами, как описано в вариантах осуществления настоящего изобретения или в предшествующем уровне техники.
[00101] Как показано на фиг. 5, варианты осуществления настоящего изобретения предлагают способ мониторинга пейджинга, который выполняется терминалом и включает в себя следующий этап.
[00102] На этапе 51, в ответ на определение того, что сота, в которой находится терминал, поддерживает eDRX в неподключенном состоянии RRC, цикл пейджинга определяется как цикл, указанный параметром eDRX; или
[00103] в ответ на определение того, что сота, в которой находится терминал, не поддерживает eDRX в неподключенном состоянии RRC, цикл пейджинга определяется как заранее заданный цикл.
[00104] Следует отметить, что терминал, определяющий, поддерживает ли сота, в которой находится терминал, eDRX в неподключенном состоянии RRC, включает в себя то, что терминал в неподключенном состоянии RRC определяет, что сота, в которой находится терминал, поддерживает eDRX в неподключенном состоянии RRC; или терминал в неподключенном состоянии RRC определяет, что сота, в которой находится терминал, не поддерживает eDRX в неподключенном состоянии RRC. В варианте осуществления сетевая сторона может указать, поддерживает ли сота, в которой находится терминал, eDRX в неподключенном состоянии RRC, посредством системного сообщения. В этом случае терминал может определить, поддерживает ли сота, в которой находится терминал, eDRX в неподключенном состоянии RRC, согласно указанию системного сообщения.
[00105] Следует отметить, что этап, выполняемый для определения того, что сота, в которой находится терминал, поддерживает eDRX в неподключенном состоянии RRC, является независимым этапом; в то же время этап, выполняемый для определения того, что сота, в которой находится терминал, не поддерживает eDRX в неподключенном состоянии RRC, также является независимым этапом. При этом эти два этапа могут выполняться независимо или вместе. При этом операция определения того, поддерживает ли сота eDRX в неподключенном состоянии RRC, может отличаться от операции определения того, поддерживает ли сота eDRX.
[00106] При этом в ответ на определение того, что сота, в которой находится терминал, поддерживает eDRX в неподключенном состоянии RRC, цикл пейджинга определяется как цикл, указанный параметром eDRX. При этом, поскольку сота поддерживает eDRX в неподключенном состоянии RRC, цикл, указанный параметром eDRX, может быть непосредственно использован для выполнения мониторинга пейджинга.
[00107] При этом, в ответ на определение того, что сота, в которой находится терминал, не поддерживает eDRX в неподключенном состоянии RRC, цикл пейджинга определяется как заранее заданный цикл. Поскольку сота не поддерживает eDRX в неподключенном состоянии RRC, выполнение мониторинга пейджинга с использованием eDRX внеподключенном состоянии RRC приведет к сбою мониторинга пейджинга. Следовательно, цикл, указанный параметром eDRX, не будет использоваться для выполнения мониторинга пейджинга, вместо этого мониторинг пейджинга выполняется с использованием заранее заданного цикла.
[00108] В варианте осуществления, в ответ на определение того, что сота, в которой находится терминал, не поддерживает eDRX в неподключенном состоянии RRC, мониторинг пейджинга может выполняться на основе заранее заданного цикла, определенного согласно циклу пейджинга радиодоступа, сконфигурированному сетью. В качестве альтернативы, в ответ на результат определения, указывающий, что сота не поддерживает eDRX в неподключенном состоянии RRC, мониторинг пейджинга может выполняться на основе заранее заданного цикла, определенного в соответствии с циклом пейджинга радиодоступа по умолчанию, сконфигурированным сетью. При этом цикл пейджинга радиодоступа по умолчанию может быть указан протоколом или сконфигурирован сетью. Циклом пейджинга радиодоступа по умолчанию может быть цикл eDRX в неактивном состоянии RRC или цикл пейджинга радиодоступа, сконфигурированный сетью. Другой пример: протокол предусматривает, что цикл пейджинга радиодоступа по умолчанию составляет 2,56 с. При этом цикл пейджинга радиодоступа по умолчанию, сконфигурированный сетью, может использоваться, когда eDRX становится недействительным в неактивном состоянии RRC или когда eDRX больше не поддерживается в неактивном состоянии RRC.
[00109] Следует отметить, что специалисты в данной области техники могут понять, что каждый из способов согласно вариантам осуществления настоящего изобретения может быть реализован отдельно или вместе с некоторыми другими способами, как описано в вариантах осуществления настоящего изобретения или в предшествующем уровне техники.
[00110] В варианте осуществления, в ответ на определение того, что сота, в которой находится терминал, не поддерживает eDRX в неактивном состоянии RRC, окно времени пейджинга (PTW) в неактивном состоянии RRC, указанное параметром eDRX, становится недействительным.
[00111] При этом аннулирование PTW в неактивном состоянии RRC может означать, что терминал больше не использует PTW для выполнения мониторинга пейджинга внеактивном состоянии RRC. В варианте осуществления сохраненный параметр PTW в неактивном состоянии RRC может быть удален.
[00112] В варианте осуществления, в ответ на определение того, что сота, в которой находится терминал, не поддерживает eDRX в неактивном состоянии RRC, цикл eDRX в неактивном состоянии RRC, указанный параметром eDRX, становится недействительны.
[00113] При этом аннулирование цикла eDRX в неактивном состоянии RRC может означать, что терминал больше не использует цикл eDRX для выполнения мониторинга пейджинга в неактивном состоянии RRC. В варианте осуществления цикл eDRX в сохраненном неактивном состоянии RRC может быть удален. При этом, после того как цикл eDRX в неактивном состоянии RRC становится недействительным, необходимо использовать заранее заданный цикл для выполнения мониторинга пейджинга. При этом заранее заданный цикл может быть определен согласно циклу пейджинга радиодоступа, сконфигурированному сетью, или циклу пейджинга радиодоступа по умолчанию.
[00114] В варианте осуществления, в ответ на определение того, что сота, в которой находится терминал, не поддерживает eDRX в неактивном состоянии RRC, окно времени пейджинга (PTW) в неактивном состоянии RRC и цикл eDRX в неактивном состоянии RRC, указанные параметром eDRX, оба становятся недействительными.
[00115] В варианте осуществления, в ответ на определение того, что сота, в которой находится терминал, не поддерживает eDRX в состоянии бездействия RRC, PTW в состоянии бездействия RRC, указанное параметром eDRX, становится недействительным.
[00116] При этом аннулирование PTW в состоянии бездействия RRC может означать, что терминал больше не использует PTW для выполнения мониторинга пейджинга в состоянии бездействия RRC. В варианте осуществления сохраненный параметр PTW в состоянии бездействия RRC может быть удален.
[00117] В варианте осуществления, в ответ на определение того, что сота, в которой находится терминал, не поддерживает eDRX в состоянии бездействия RRC, цикл eDRX в состоянии бездействия RRC, указанный параметром eDRX, становится недействительным.
[00118] При этом аннулирование цикла eDRX в состоянии бездействия RRC может означать, что терминал больше не использует цикл eDRX для выполнения мониторинга пейджинга в состоянии бездействия RRC. В варианте осуществления цикл eDRX всохраненном состоянии бездействия RRC может быть удален. При этом после того как цикл eDRX в состоянии бездействия RRC становится недействительным, необходимо использовать заранее заданный цикл для выполнения мониторинга пейджинга. При этом заранее заданный цикл может быть определен согласно циклу пейджинга радиодоступа, сконфигурированному сетью, или циклу пейджинга радиодоступа по умолчанию.
[00119] В варианте осуществления, в ответ на определение того, что сота, в которой находится терминал, не поддерживает eDRX в состоянии бездействия RRC, PTW в неактивном состоянии RRC, указанное параметром eDRX, становится недействительным.
[00120] Следует отметить, что в ответ на определение того, что сота не поддерживает eDRX в состоянии бездействия RRC, сота также не поддерживает eDRX в неактивном состоянии RRC. При этом аннулирование PTW в неактивном состоянии RRC может означать, что терминал больше не использует PTW для выполнения мониторинга пейджинга в неактивном состоянии RRC. В варианте осуществления сохраненный параметр PTW в неактивном состоянии RRC может быть удален.
[00121] В варианте осуществления, в ответ на определение того, что сота, в которой находится терминал, не поддерживает eDRX в состоянии бездействия RRC, цикл eDRX в неактивном состоянии RRC, указанный параметром eDRX, становится недействительным.
[00122] Следует отметить, что в ответ на определение того, что сота не поддерживает eDRX в состоянии бездействия RRC, сота также не поддерживает eDRX в неактивном состоянии RRC. При этом аннулирование цикла eDRX в неактивном состоянии RRC может означать, что терминал больше не использует цикл eDRX для выполнения мониторинга пейджинга в неактивном состоянии RRC. В варианте осуществления цикл eDRX в сохраненном неактивном состоянии RRC может быть удален. При этом, после того как цикл eDRX в неактивном состоянии RRC становится недействительным, необходимо использовать заранее заданный цикл для выполнения мониторинга пейджинга. При этом заранее заданный цикл может быть определен согласно циклу пейджинга радиодоступа, сконфигурированному сетью, или циклу пейджинга радиодоступа по умолчанию.
[00123] Как показано на фиг. 6, варианты осуществления настоящего изобретения предлагают способ мониторинга пейджинга, который выполняется терминалом и включает в себя следующий этап.
[00124] На этапе 61, в ответ на определение того, что сота, в которой находится терминал, не поддерживает eDRX в неподключенном состоянии RRC, заранее заданный цикл определяется в соответствии с циклом, указанным параметром eDRX; и терминал выполняет мониторинг пейджинга согласно заранее заданному циклу; или
[00125] в ответ на определение того, что сота, в которой находится терминал, не поддерживает eDRX в неподключенном состоянии RRC, и цикл, указанный параметром eDRX в неактивном состоянии RRC, меньше или равен первому пороговому значению цикла, заранее заданный цикл в неактивном состоянии RRC определяется в соответствии с циклом пейджинга радиодоступа по умолчанию; и терминал выполняет мониторинг пейджинга в соответствии с заранее заданным циклом; или
[00126] в ответ на определение того, что сота, в которой находится терминал, не поддерживает eDRX в неподключенном состоянии RRC, и цикл, указанный параметром eDRX в неактивном состоянии RRC, больше или равен первому пороговому значению цикла, заранее заданный цикл в неактивном состоянии RRC определяется в соответствии с циклом пейджинга радиодоступа, сконфигурированным сетью; и терминал выполняет мониторинг пейджинга в соответствии с заранее заданным циклом.
[00127] Следует отметить, что специалисты в данной области техники могут понять, что каждый из способов согласно вариантам осуществления настоящего изобретения может быть реализован отдельно или вместе с некоторыми другими способами, как описано в вариантах осуществления настоящего изобретения или в предшествующем уровне техники.
[00128] Как показано на фиг. 7, варианты осуществления настоящего изобретения предлагают способ мониторинга пейджинга, который выполняется терминалом и включает в себя следующий этап.
[00129] На этапе 71, в ответ на то, что цикл, указанный параметром eDRX в неактивном состоянии RRC, больше или равен первому пороговому значению цикла, заранее заданный цикл в неактивном состоянии RRC определяется в соответствии с циклом пейджинга радиодоступа, сконфигурированным сетью; или
[00130] в ответ на то, что цикл, указанный параметром eDRX в неактивном состоянии RRC, меньше или равен первому пороговому значению цикла, заранее заданный цикл внеактивном состоянии RRC определяется в соответствии с циклом пейджинга радиодоступа по умолчанию.
[00131] Для конкретной реализации этапа 71 можно обратиться к описанию этапа 61, который не будет здесь подробно описываться.
[00132] Следует отметить, что специалисты в данной области техники могут понять, что каждый из способов согласно вариантам осуществления настоящего изобретения может быть реализован отдельно или вместе с некоторыми другими способами, как описано в вариантах осуществления настоящего изобретения или в предшествующем уровне техники.
[00133] Как показано на фиг.8, варианты осуществления настоящего изобретения предлагают способ мониторинга пейджинга, который выполняется терминалом и включает в себя следующий этап.
[00134] На этапе 81, в ответ на то, что цикл, указанный параметром eDRX в состоянии бездействия RRC, сконфигурированный для терминала, меньше или равен второму пороговому значению цикла, и цикл, указанный параметром eDRX в неактивном состоянии RRC, меньше или равен первому пороговому значению цикла, заранее заданный цикл определяется в соответствии с циклом eDRX в состоянии бездействия и/или циклом пейджинга радиодоступа по умолчанию; или
[00135] в ответ на то, что цикл, указанный параметром eDRX в состоянии бездействия RRC, сконфигурированный для терминала в неактивном состоянии RRC, больше или равен второму пороговому значению цикла, и цикл, указанный параметром eDRX в неактивном состоянии RRC, меньше или равен первому пороговому значению цикла, заранее заданный цикл определяется в соответствии с зависящим от терминала значением DRX, циклом пейджинга по умолчанию и/или циклом пейджинга радиодоступа по умолчанию.
[00136] В варианте осуществления, в ответ на то, что цикл, указанный параметром eDRX в состоянии бездействия RRC, сконфигурированный для терминала, меньше или равен значению а (здесь значение а может составлять 10,24 с), и цикл, указанный параметром eDRX в неактивном состоянии RRC, меньше или равен значению b (здесь значение b может составлять 10,24 с), когда терминал перемещается в соту, которая не поддерживает eDRX в неактивном состоянии RRC, мониторинг пейджинга выполняется согласно заранее заданному циклу Т, где Т=min{цикл eDRX в состоянии бездействия, циклпейджинга радиодоступа по умолчанию}. Здесь цикл пейджинга радиодоступа по умолчанию может быть сконфигурирован сетью или указан в заранее заданном протоколе. В качестве варианта осуществления протокол предусматривает, что значение цикла пейджинга радиодоступа по умолчанию составляет 2,56 с. В качестве варианта осуществления цикл пейджинга радиодоступа по умолчанию, указанный в протоколе, представляет собой цикл, указанный параметром eDRX в неактивном состоянии RRC, и в это время цикл меньше или равен значению b (здесь значение b может составлять 10,24 с).
[00137] В варианте осуществления, в ответ на то, что цикл, указанный параметром eDRX в состоянии бездействия RRC, сконфигурированный для терминала в неактивном состоянии RRC, больше или равен значению а (здесь значение а может составлять 10,24 с), и цикл, указанный параметром eDRX в неактивном состоянии RRC, меньше или равен значению b (здесь значение b может составлять 10,24 с), когда терминал перемещается в соту, которая не поддерживает eDRX в неактивном состоянии RRC, мониторинг пейджинга выполняется в соответствии с заранее заданным циклом Т в пределах окна PTW, где Т=min {зависящее от терминала значение DRX, цикл пейджинга по умолчанию, цикл пейджинга радиодоступа по умолчанию}. Здесь мониторинг пейджинга может выполняться в соответствии с циклом пейджинга радиодоступа по умолчанию вне окна PTW. Здесь цикл пейджинга радиодоступа по умолчанию может быть сконфигурирован сетью или указан в заранее заданном протоколе. В качестве варианта осуществления протокол предусматривает, что значение цикла пейджинга радиодоступа по умолчанию составляет 2,56 с. В качестве варианта осуществления цикл пейджинга радиодоступа по умолчанию, указанный в протоколе, представляет собой цикл, указанный параметром eDRX в неактивном состоянии RRC, и в это время цикл меньше или равен значению b (здесь значение b может составлять 10,24 с).
[00138] Следует отметить, что специалисты в данной области техники могут понять, что в приведенных выше решениях некоторые параметры в части формулы Т могут не конфигурироваться, но являются опциональными параметрами.
[00139] Следует отметить, что специалисты в данной области техники могут понять, что каждый из способов согласно вариантам осуществления настоящего изобретения можетбыть реализован отдельно или вместе с некоторыми другими способами, как описано в вариантах осуществления настоящего изобретения или в предшествующем уровне техники
[00140] Как показано на фиг. 9, варианты осуществления настоящего изобретения предлагают способ мониторинга пейджинга, который выполняется терминалом и включает в себя следующий этап.
[00141] На этапе 91, в ответ на то, что цикл, указанный параметром eDRX в состоянии бездействия RRC, сконфигурированный для терминала в неактивном состоянии RRC, больше или равен второму пороговому значению цикла, и цикл, указанный параметром eDRX в неактивном состоянии RRC, больше или равен первому пороговому значению цикла, заранее заданный цикл определяется в соответствии с зависящим от терминала значением DRX, циклом пейджинга по умолчанию и/или циклом пейджинга радиодоступа, сконфигурированным сетью.
[00142] В варианте осуществления, в ответ на то, что цикл, указанный параметром цикла eDRX в состоянии бездействия RRC, сконфигурированный для терминала в неактивном состоянии RRC, больше или равен значению а (здесь значение а может составлять 10,24 с)), и цикл eDRX в неактивном состоянии RRC больше или равен значению b (здесь значение b может составлять 10,24 с), когда терминал перемещается в соту, которая не поддерживает eDRX в неактивном состоянии RRC, цикл eDRX в неактивном состоянии RRC больше не будет действовать, и PTW, сконфигурированное с помощью eDRX в неактивном состоянии RRC, больше не будет действовать. При этом в окне PTW мониторинг пейджинга будет выполняться в соответствии с Т, где Т=min {зависящее от терминала значение DRX, цикл пейджинга по умолчанию, цикл радиопейджинга, сконфигурированный сетью}. Здесь, за пределами OKHaPTW, мониторинг пейджинга будет осуществляться в соответствии с циклом радиопейджинга, сконфигурированным сетью. Следует отметить, что специалисты в данной области техники могут понять, что в приведенных выше решениях некоторые параметры в части Т формулы могут не конфигурироваться, но являются опциональными параметрами
[00143] Следует отметить, что специалисты в данной области техники могут понять, что каждый из способов согласно вариантам осуществления настоящего изобретения можетбыть реализован отдельно или вместе с некоторыми другими способами, как описано в вариантах осуществления настоящего изобретения или в предшествующем уровне техники
[00144] Как показано на фиг. 10, варианты осуществления настоящего изобретения предлагают способ мониторинга пейджинга, который выполняется терминалом и включает в себя следующий этап.
[00145] На этапе 101, в ответ на то, что терминал в неактивном состоянии RRC сконфигурирован таким образом, что цикл, указанный параметром eDRX в состоянии бездействия RRC, меньше или равен второму пороговому значению цикла, и цикл, указанный параметром eDRX в неактивном состоянии RRC, меньше или равен первому пороговому значению цикла, заранее заданный цикл определяется в соответствии с зависящим от терминала значением DRX, циклом пейджинга по умолчанию и/или циклом пейджинга радиодоступа по умолчанию; или
[00146] в ответ на то, что цикл, указанный параметром eDRX в состоянии бездействия RRC, сконфигурированный для терминала в неактивном состоянии RRC, больше или равен второму пороговому значению цикла, и цикл, указанный параметром eDRX в неактивном состоянии RRC, меньше или равен первому пороговому значению цикла, заранее заданный цикл определяется в соответствии с зависящим от терминала значением DRX, циклом пейджинга по умолчанию и/или циклом пейджинга радиодоступа по умолчанию.
[00147] В варианте осуществления, в ответ на то, что цикл, указанный параметром eDRX в состоянии бездействия RRC, сконфигурированный для терминала в неактивном состоянии RRC, меньше или равен значению а (здесь значение а может составлять 10,24 с), и цикл, указанный параметром eDRX в неактивном состоянии RRC, меньше или равен значению b (здесь значение b может составлять 10,24 с), когда терминал перемещается в соту, которая не поддерживает eDRX в состоянии бездействия RRC, мониторинг пейджинга выполняется в соответствии с заранее заданным циклом Т, где Т=min {зависящее от терминала значение DRX, цикл пейджинга по умолчанию, цикл пейджинга радиодоступа по умолчанию}, где цикл радиопейджинга по умолчанию может быть сконфигурирован сетью или указан по заранее заданному протоколу. Это также может быть цикл eDRX в неактивном состоянии RRC.
[00148] В варианте осуществления, в ответ на то, что цикл, указанный параметром eDRX в состоянии бездействия RRC, сконфигурированный для терминала в неактивном состоянии RRC, больше или равен значению а (здесь значение а может составлять 10,24 с), и цикл, указанный параметром eDRX в неактивном состоянии RRC, меньше или равен значению b (здесь значение b может составлять 10,24 с), когда терминал перемещается в соту, которая не поддерживает eDRX в состоянии бездействия RRC, PTW для eDRX в состоянии бездействия RRC становится недействительным, и мониторинг пейджинга выполняется в соответствии с заранее заданным циклом Т, где Т=min {зависящее от терминала значение DRX, цикл пейджинга по умолчанию, цикл пейджинга радиодоступа по умолчанию}, где цикл пейджинга радиодоступа по умолчанию может быть сконфигурирован сетью или указан в заранее заданном протоколе, и цикл пейджинга радиодоступа по умолчанию может быть циклом eDRX в неактивном состоянии RRC. Следует отметить, что специалисты в данной области техники могут понять, что в приведенных выше решениях некоторые параметры в части Т формулы могут не конфигурироваться, но являются опциональными параметрами.
[00149] Следует отметить, что специалисты в данной области техники могут понять, что каждый из способов согласно вариантам осуществления настоящего изобретения может быть реализован отдельно или вместе с некоторыми другими способами, как описано в вариантах осуществления настоящего изобретения или в предшествующем уровне техники.
[00150] Как показано на фиг. 11, варианты осуществления настоящего изобретения предлагают способ мониторинга пейджинга, который выполняется терминалом и включает в себя следующий этап.
[00151] На этапе 111, в ответ на то, что цикл, указанный параметром eDRX в состоянии бездействия RRC, сконфигурированный для терминала в неактивном состоянии RRC, больше или равен второму пороговому значению цикла, и цикл, указанный параметром eDRX в неактивном состоянии RRC, больше или равен первому пороговому значению цикла, заранее заданный цикл определяется в соответствии с зависящим от терминала значением DRX, циклом пейджинга по умолчанию и/или циклом пейджинга радиодоступа, сконфигурированным сетью.
[00152] В варианте осуществления, в ответ на то, что цикл, указанный параметром eDRX в состоянии бездействия RRC, сконфигурированный для терминала в неактивном состоянии RRC, больше или равен значению а (здесь значение а может составлять 10,24 с), и цикл, указанный параметром eDRX в неактивном состоянии RRC, больше или равен значению b (здесь значение b может составлять 10,24 с), когда терминал перемещается в соту, которая не поддерживает eDRX в состоянии бездействия RRC, PTW для eDRX в состоянии бездействия RRC и PTW для eDRX в неактивном состоянии RRC становятся недействительными, мониторинг пейджинга выполняется в соответствии с заранее заданным циклом Т, где Т=min{зависящее от терминала значение DRX, цикл пейджинга по умолчанию, цикл пейджинга радиодоступа, сконфигурированный сетью}. Следует отметить, что специалисты в данной области техники могут понять, что некоторые параметры в части Т формулы могут не конфигурироваться, но являются опциональными параметрами.
[00153] Следует отметить, что специалисты в данной области техники могут понять, что каждый из способов согласно вариантам осуществления настоящего изобретения может быть реализован отдельно или вместе с некоторыми другими способами, как описано в вариантах осуществления настоящего изобретения или в предшествующем уровне техники.
[00154] Как показано на фиг. 12, варианты осуществления настоящего изобретения предоставляют способ мониторинга пейджинга, который выполняется терминалом и включает в себя следующий этап.
[00155] На этапе 121, в ответ на то, что терминал в неактивном состоянии RRC сконфигурирован только с параметром eDRX в состоянии бездействия RRC, и цикл, указанный параметром eDRX в состоянии бездействия RRC, меньше или равен второму пороговому значению цикла, заранее заданный цикл определяется в соответствии с зависящим от терминала значением DRX, циклом пейджинга по умолчанию и/или циклом пейджинга радиодоступа, сконфигурированным сетью; или
[00156] в ответ на то, что терминал в состоянии бездействия RRC сконфигурирован только с параметром eDRX в состоянии бездействия RRC, и цикл, указанный параметром eDRX в состоянии бездействия RRC, меньше или равен второму пороговому значениюцикла, заранее заданный цикл определяется в соответствии с зависящим от терминала значением DRX, и/или циклом пейджинга по умолчанию; или
[00157] в ответ на то, что терминал в неактивном состоянии RRC сконфигурирован только с параметром eDRX в состоянии бездействия RRC, и цикл, указанный параметром eDRX в состоянии бездействия RRC, больше или равен второму пороговому значению цикла, заранее заданный цикл определяется в соответствии с зависящим от терминала значением DRX, циклом пейджинга по умолчанию и/или циклом пейджинга радиодоступа, сконфигурированным сетью; или
[00158] в ответ на то, что терминал в состоянии бездействия RRC сконфигурирован только с параметром eDRX в состоянии бездействия RRC, и цикл, указанный параметром eDRX в состоянии бездействия RRC, больше или равен второму пороговому значению цикла, заранее заданный цикл определяется в соответствии с зависящим от терминала значением DRX, и/или циклом пейджинга по умолчанию.
[00159] В варианте осуществления, в ответ на то, что терминал в неактивном состоянии RRC сконфигурирован только с параметром eDRX в состоянии бездействия RRC, и цикл, указанный параметром eDRX в состоянии бездействия RRC, меньше или равен значению а (здесь значение а может составлять 10,24 с), когда терминал перемещается в соту, которая не поддерживает eDRX в состоянии бездействия RRC, мониторинг пейджинга выполняется согласно заранее заданному циклу Т, где Т=min{зависящее от терминала значение DRX, цикл пейджинга по умолчанию, цикл пейджинга радиодоступа, сконфигурированный сетью}, где зависящее от терминала значение DRX является опциональным.
[00160] В варианте осуществления, в ответ на то, что терминал в состоянии бездействия RRC сконфигурирован только с параметром eDRX в состоянии бездействия RRC, и цикл, указанный параметром eDRX в состоянии бездействия RRC, меньше или равен значению а (здесь значение а может составлять 10,24 с), когда терминал перемещается в соту, которая не поддерживает eDRX в состоянии бездействия RRC, мониторинг пейджинга выполняется согласно заданному циклу Т, где Т=min{зависящее от терминала значение DRX, цикл пейджинга по умолчанию}, где зависящее от терминала значение DRX, является опциональным.
[00161] В варианте осуществления, в ответ на то, что терминал в неактивном состоянии RRC сконфигурирован только с параметром eDRX в состоянии бездействия RRC, и цикл, указанный параметром eDRX в состоянии бездействия RRC, больше или равен значению а (здесь значение а может составлять 10,24 с), когда терминал перемещается в соту, которая не поддерживает eDRX в состоянии бездействия RRC, PTW для eDRX в состоянии бездействия RRC становится недействительным, и мониторинг пейджинга. выполняется в соответствии с заранее заданным циклом Т, где Т=min {зависящее от терминала значение DRX, цикл пейджинга по умолчанию, цикл пейджинга радиодоступа, сконфигурированный сетью}, где зависящее от терминала значение DRX, является опциональным.
[00162] В варианте осуществления, в ответ на то, что терминал в состоянии бездействия RRC сконфигурирован только с параметром eDRX в состоянии бездействия RRC, и цикл, указанный параметром eDRX в состоянии бездействия RRC, больше или равен значению а (здесь значение а может составлять 10,24 с), когда терминал перемещается в соту, которая не поддерживает eDRX в состоянии бездействия RRC, PTW для eDRX в состоянии бездействия RRC становится недействительным, и терминал выполняет мониторинг пейджинга в соответствии с заранее заданным циклом Т, где Т=min {зависящее от терминала значение DRX, цикл пейджинга по умолчанию}, где зависящее от терминала значение DRX является опциональным.
[00163] Следует отметить, что специалисты в данной области техники могут понять, что каждый из способов согласно вариантам осуществления настоящего изобретения может быть реализован отдельно или вместе с некоторыми другими способами, как описано в вариантах осуществления настоящего изобретения или в предшествующем уровне техники.
[00164] Как показано на фиг.13, варианты осуществления настоящего изобретения предлагают устройство для мониторинга пейджинга. Устройство включает в себя модуль 131 определения.
[00165] Модуль 131 определения выполнен с возможностью определения, в соответствии с результатом определения того, поддерживает ли сота, в которой находится терминал в неподключенном состоянии управления радиоресурсами (RRC), расширенный прерывистый прием (eDRX) в неподключенном состоянии RRC, цикла пейджинга длятерминала в неподключенном состоянии RRC для выполнения мониторинга пейджинга в соте.
[00166] Терминал предварительно сконфигурирован с параметром eDRX для выполнения мониторинга пейджинга на основе eDRX в неподключенном состоянии RRC
[00167] В варианте осуществления модуль 131 определения дополнительно выполнен с возможностью:
[00168] в ответ на определение того, что сота, в которой находится терминал, поддерживает eDRX в неподключенном состоянии RRC, определения, что цикл пейджинга представляет собой цикл, указанный параметром eDRX; или
[00169] в ответ на определение того, что сота, в которой находится терминал, не поддерживает eDRX в неподключенном состоянии RRC, определения, что цикл пейджинга является заранее заданным циклом.
[00170] В варианте осуществления модуль 131 определения дополнительно выполнен таким образом, что в ответ на определение того, что сота, в которой находится терминал, не поддерживает eDRX в неактивном состоянии RRC, окно времени пейджинга (PTW) в неактивном состоянии RRC, указанное параметром eDRX, становится недействительным; и/или
[00171] в ответ на определение того, что сота, в которой находится терминал, не поддерживает eDRX в неактивном состоянии RRC, цикл eDRX в неактивном состоянии RRC, указанный параметром eDRX, становится недействительным.
[00172] В варианте осуществления модуль 131 определения дополнительно выполнен таким образом, что в ответ на определение того, что сота, в которой находится терминал, не поддерживает eDRX в состоянии бездействия RRC, PTW в состоянии бездействия RRC, указанное параметром eDRX, становится недействительным; и/или
[00173] в ответ на определение того, что сота, в которой находится терминал, не поддерживает eDRX в состоянии бездействия RRC, цикл eDRX в состоянии бездействия RRC, указанный параметром eDRX, становится недействительным; и/или
[00174] в ответ на определение того, что сота, в которой находится терминал, не поддерживает eDRX в состоянии бездействия RRC, PTW в неактивном состоянии RRC, указанное параметром eDRX, становится недействительным; и/или
[00175] в ответ на определение того, что сота, в которой находится терминал, не поддерживает eDRX в состоянии бездействия RRC, цикл eDRX в неактивном состоянии RRC, указанный параметром eDRX, становится недействительным.
[00176] В варианте осуществления модуль 131 определения дополнительно выполнен с возможностью: в ответ на определение того, что сота, в которой находится терминал, не поддерживает eDRX в неподключенном состоянии RRC, определения заранее заданного цикла в соответствии с циклом, указанным параметром eDRX.
[00177] В варианте осуществления модуль определения дополнительно выполнен с возможностью:
[00178] в ответ на то, что цикл, указанный параметром eDRX в неактивном состоянии RRC, больше или равен первому пороговому значению цикла, определения заранее заданного цикла в неактивном состоянии RRC в соответствии с циклом пейджинга радиодоступа, сконфигурированным сетью; или
[00179] в ответ на то, что цикл, указанный параметром eDRX в неактивном состоянии RRC, меньше или равен первому пороговому значению цикла, определения заранее заданного цикла в неактивном состоянии RRC в соответствии с циклом пейджинга радиодоступа по умолчанию.
[00180] В варианте осуществления модуль 131 определения дополнительно выполнен с возможностью:
[00181] в ответ на то, что цикл, указанный параметром eDRX в состоянии бездействия RRC, сконфигурированный для терминала, меньше или равен второму пороговому значению цикла, и цикл, указанный параметром eDRX в неактивном состоянии RRC, меньше или равен первому пороговому значению цикла, определения заранее заданного цикла в соответствии с циклом eDRX в состоянии бездействия и/или циклом пейджинга радиодоступа по умолчанию; или
[00182] в ответ на то, что цикл, указанный параметром eDRX в состоянии бездействия RRC, сконфигурированный для терминала в неактивном состоянии RRC, больше или равен второму пороговому значению цикла, и цикл, указанный параметром eDRX в неактивном состоянии RRC состояние, меньшее или равен первому пороговому значению цикла, определения заранее заданного цикла в соответствии с зависящим от терминала значением DRX, циклом пейджинга по умолчанию и/или циклом пейджинга радиодоступа по умолчанию.
[00183] В варианте осуществления модуль 131 определения дополнительно выполнен с возможностью: в ответ на то, что цикл, указанный параметром eDRX в состоянии бездействия RRC, сконфигурированный для терминала в неактивном состоянии RRC, больше или равен второму пороговому значению цикла, и цикл, указанный параметром eDRX в неактивном состоянии RRC, больше или равен первому пороговому значению цикла, определения заранее заданного цикла в соответствии с зависящим от терминала значением DRX, циклом пейджинга по умолчанию и/или циклом пейджинга радиодоступа, сконфигурированным сетью.
[00184] В варианте осуществления модуль 131 определения дополнительно выполнен с возможностью:
[00185] в ответ на то, что терминал в неактивном состоянии RRC конфигурируется таким образом, что цикл, указанный параметром eDRX в состоянии бездействия RRC, меньше или равен второму пороговому значению цикла, и цикл, указанный параметром eDRX в неактивном состоянии RRC, меньше или равен первому пороговому значению цикла, определения заранее заданного цикла в соответствии с зависящим от терминала значением DRX, циклом пейджинга по умолчанию и/или циклом пейджинга радиодоступа по умолчанию; или
[00186] в ответ на то, что цикл, указанный параметром eDRX в состоянии бездействия RRC, сконфигурированный для терминала в неактивном состоянии RRC, больше или равен второму пороговому значению цикла, и цикл, указанный параметром eDRX в неактивном состоянии RRC, меньше или равен первому пороговому значению цикла, определения заранее заданного цикла в соответствии с зависящим от терминала значением DRX, циклом пейджинга по умолчанию и/или циклом пейджинга радиодоступа по умолчанию.
[00187] В варианте осуществления модуль 131 определения дополнительно выполнен с возможностью: в ответ на то, что цикл, указанный параметром eDRX в состоянии бездействия RRC, сконфигурированный для терминала в неактивном состоянии RRC, больше или равен второму пороговому значению цикла, и цикл, указанный параметром eDRX в неактивном состоянии RRC, больше или равен первому пороговому значениюцикла, определения заранее заданного цикла в соответствии с зависящим от терминала значением DRX, циклом пейджинга по умолчанию и/или циклом пейджинга радиодоступа, сконфигурированным сетью.
[00188] В варианте осуществления модуль 131 определения дополнительно выполнен с возможностью:
[00189] в ответ на то, что терминал в неактивном состоянии RRC сконфигурирован только с параметром eDRX в состоянии бездействия RRC, и цикл, указанный параметром eDRX в состоянии бездействия RRC, меньше или равен второму пороговому значению цикла, определения заранее заданного цикла в соответствии с зависящим от терминала значением DRX, циклом пейджинга по умолчанию и/или циклом пейджинга радиодоступа, сконфигурированным сетью; или
[00190] в ответ на то, что терминал в состоянии бездействия RRC сконфигурирован только с параметром eDRX в состоянии бездействия RRC, и цикл, указанный параметром eDRX в состоянии бездействия RRC, меньше или равен второму пороговому значению цикла, определения заранее заданного цикла в соответствии с зависящим от терминала значением DRX, и/или циклом пейджинга по умолчанию; или
[00191] в ответ на то, что терминал в неактивном состоянии RRC сконфигурирован только с параметром eDRX в состоянии бездействия RRC, и цикл, указанный параметром eDRX в состоянии бездействия RRC, больше или равен второму пороговому значению цикла, определения заранее заданного цикла в соответствии с зависящим от терминала значением DRX, циклом пейджинга по умолчанию и/или циклом пейджинга радиодоступа, сконфигурированным сетью; или
[00192] в ответ на то, что терминал в состоянии бездействия RRC сконфигурирован только с параметром eDRX в состоянии бездействия RRC, и цикл, указанный параметром eDRX в состоянии бездействия RRC, больше или равен второму пороговому значению цикла, определения заранее заданного цикла в соответствии с зависящим от терминала значением DRX, и/или циклом пейджинга по умолчанию.
[00193] Следует отметить, что специалисты в данной области техники могут понять, что каждый из способов согласно вариантам осуществления настоящего изобретения можетбыть реализован отдельно или вместе с некоторыми другими способами, как описано в вариантах осуществления настоящего изобретения или в предшествующем уровне техники.
[00194] Варианты осуществления настоящего изобретения предлагают устройство связи, которое включает в себя: процессор и память для хранения инструкций, исполняемых процессором. Процессор выполнен с возможностью реализации способа, описанного в любом варианте осуществления настоящего изобретения, путем выполнения исполняемых инструкций.
[00195] Процессор может включать в себя различные типы носителей данных, которые представляют собой энергонезависимые компьютерные носители данных, которые могут продолжать запоминать информацию, хранящуюся в них, когда устройство связи выключено.
[00196] Процессор может быть подключен к памяти через шину или тому подобное, чтобы читать исполняемые программы, хранящиеся в памяти.
[00197] Варианты осуществления настоящего изобретения дополнительно предлагают компьютерный носитель данных, на котором хранятся исполняемые компьютером программы, которые при исполнении процессором позволяют реализовать способ, описанный в любом варианте осуществления настоящего изобретения.
[00198] Что касается устройства в вышеупомянутых вариантах осуществления, конкретные способы выполнения операций отдельными модулями в нем были подробно описаны в вариантах осуществления, касающихся способов, которые не будут подробно описаны в настоящем документе.
[00199] Как показано на фиг. 14, вариант осуществления настоящего изобретения предлагают структуру терминала.
[00200] Ссылаясь на терминал 800, показанный на фиг. 14, варианты осуществления настоящего изобретения предлагают терминал 800, и терминал 800 может быть мобильным телефоном, компьютером, терминалом цифрового вещания, устройством обмена сообщениями, игровой консолью, планшетным устройством, медицинским устройством, фитнес-устройством, персональным цифровым помощником и т.п.
[00201] Ссылаясь на фиг. 14, терминал 800 может включать в себя один или несколько из следующих компонентов: компонент 802 обработки, память 804, компонент 806 питания, мультимедийный компонент 808, аудиокомпонент 810, интерфейс 812 ввода/вывода (I/O), измерительный компонент 814 и компонент 816 связи.
[00202] Компонент 802 обработки обычно управляет общими операциями терминала 800, такими как операции, связанные с отображением, телефонными вызовами, передачей данных, операциями камеры и операциями записи. Компонент 802 обработки может включать в себя один или несколько процессоров 820 для выполнения инструкций для выполнения всех или некоторых этапов вышеописанных способов. Более того, компонент 802 обработки может включать в себя один или несколько модулей, которые облегчают взаимодействие между компонентом 802 обработки и другими компонентами. Например, компонент 802 обработки может включать в себя мультимедийный модуль для облегчения взаимодействия между мультимедийным компонентом 808 и компонентом 802 обработки.
[00203] Память 804 выполнена с возможностью хранения различных типов данных для поддержки работы терминала 800. Примеры таких данных включают в себя инструкции для любых приложений или способов, работающих на терминале 800, контактные данные, данные телефонной книги, сообщения, изображения, видео и т.д. Память 804 может быть реализована с использованием любого типа энергозависимых или энергонезависимых запоминающих устройств или их комбинации, таких как статическое оперативное запоминающее устройство (static random access memory, SRAM), электрически стираемое программируемое постоянное запоминающее устройство (electrically erasable programmable read-only memory, EEPROM), стираемое программируемое постоянное запоминающее устройство (erasable programmable read-only memory, EPROM), программируемое постоянное запоминающее устройство (programmable read-only memory, PROM), постоянное запоминающее устройство (read-only memory, ROM), магнитная память, флэш-память, магнитный или оптический диск.
[00204] Компонент 806 питания обеспечивает питание различных компонентов терминала 800. Компонент 806 питания может включать в себя систему управления питанием, один или более источников питания и любые другие компоненты, связанные с генерацией, управлением и распределением мощности в терминале 800.
[00205] Мультимедийный компонент 808 включает в себя экран, обеспечивающий интерфейс вывода между терминалом 800 и пользователем. В некоторых вариантахосуществления экран может включать в себя жидкокристаллический дисплей (liquid crystal display, LCD) и сенсорную панель (touch panel, TP). Если экран включает в себя сенсорную панель, экран может быть реализован как сенсорный экран для приема входных сигналов от пользователя. Сенсорная панель включает в себя один или несколько сенсорных датчиков для распознавания прикосновений, движений и жестов на сенсорной панели. Датчики касания могут не только воспринимать границу действия касания или проведения, но также воспринимать период времени и давление, связанные с действием касания или проведения. В некоторых вариантах осуществления мультимедийный компонент 808 включает в себя переднюю камеру и/или заднюю камеру. Передняя камера и/или задняя камера могут принимать внешние мультимедийные данные, когда терминал 800 находится в рабочем режиме, таком как режим фотосъемки или режим видео. Каждая из передней камеры и задней камеры может представлять собой систему с фиксированными оптическими объективами или иметь возможность фокусировки и оптического масштабирования.
[00206] Аудиокомпонент 810 выполнен с возможностью вывода и/или ввода аудиосигналов. Например, аудиокомпонент 810 включает в себя микрофон, выполненный с возможностью приема внешнего аудиосигнала, когда терминал 800 находится в рабочем режиме, таком как режим вызова, режим записи и режим распознавания голоса. Принятый аудиосигнал может быть дополнительно сохранен в памяти 804 или передан через компонент 816 связи. В некоторых вариантах осуществления аудиокомпонент 810 дополнительно включает в себя динамик для вывода аудиосигналов.
[00207] Интерфейс 812 ввода-вывода обеспечивает интерфейс между компонентом 802 обработки и модулями периферийного интерфейса, такими как клавиатуры, колесики управления, кнопки и т.п. Кнопки могут включать в себя, помимо прочего, кнопку «Домой», кнопку громкости, кнопку запуска и кнопку блокировки.
[00208] Измерительный компонент 814 включает в себя один или более датчиков для обеспечения оценки состояния различных аспектов терминала 800. Например, измерительный компонент 814 может обнаруживать открытое/закрытое состояние терминала 800, относительное расположение компонентов, например, дисплея и клавиатуры терминала 800, изменение положения терминала 800 или компонента терминала 800, наличие или отсутствие контакта пользователя с терминалом 800, ориентация илиускорение/замедление терминала 800 и изменение температуры терминала 800. Измерительный компонент 814 может включать в себя датчик приближения, выполненный с возможностью обнаружения присутствия близлежащих объектов без какого-либо физического контакта. Измерительный компонент 814 может дополнительно включать в себя датчик освещенности, такой как датчик изображения на структуре КМОП (CMOS) или приборе с зарядовой связью (CCD), для использования в приложениях формирования изображений. В некоторых вариантах осуществления измерительный компонент 814 может дополнительно включать в себя датчик акселерометра, датчик гироскопа, магнитный датчик, датчик давления или датчик температуры.
[00209] Компонент 816 связи выполнен с возможностью облегчения связи, проводной или беспроводной, между терминалом 800 и другими устройствами. Терминал 800 может получить доступ к беспроводной сети на основе стандарта связи, такого как Wi-Fi, 2G или 3G, или их комбинации. В иллюстративном варианте осуществления компонент 816 связи принимает широковещательный сигнал или информацию, связанную с широковещательной передачей, от внешней системы управления широковещательной передачей через широковещательный канал. В иллюстративном варианте осуществления компонент 816 связи дополнительно включает в себя модуль ближней бесконтактной связи (near field communication, NFC) для облегчения связи на малом расстоянии. Например, модуль NFC может быть реализован на основе технологии радиочастотной идентификации (radio frequency identification, RFID), технологии инфракрасной ассоциации данных (infrared data association, IrDA), сверхширокополосной технологии (ultra-wideband, UWB), технологии Bluetooth (ВТ) и других технологий.
[00210] В иллюстративном варианте осуществления терминал 800 может быть реализован с помощью одной или более специализированных интегральных схем (application specific integrated circuit, ASIC), процессоров цифровых сигналов (digital signal processor, DSP), устройств цифровой обработки сигналов (digital signal processing device, DSPD), программируемых логических устройств (programmable logic device, PLD), программируемых пользователем вентильных матриц (field programmable gate array, FPGA), контроллеров, микроконтроллеров, микропроцессоров или других электронных элементов для выполнения вышеуказанных способов.
[00211] В иллюстративном варианте осуществления также предложен энергонезависимый машиночитаемый носитель данных, включающий в себя инструкции, такие как входящие в состав памяти 804, исполняемые процессором 820 в терминале 800, для выполнения вышеупомянутых способов. Например, энергонезависимый машиночитаемый носитель информации может представлять собой ПЗУ (ROM), оперативное запоминающее устройство (ОЗУ, random access memory, RAM), CD-ROM, магнитную ленту, дискету, оптическое устройство хранения данных и т.п.
[00212] Как показано на фиг. 15 вариант осуществления настоящего изобретения показывает структуру базовой станции. Например, базовая станция 900 может быть предоставлена как сетевое устройство. Ссылаясь на фиг. 15, базовая станция 900 включает в себя компонент 922 обработки, который дополнительно включает в себя один или несколько процессоров, и ресурс памяти, представленный памятью 932, для хранения инструкций, исполняемых компонентом 922 обработки, таких как прикладные программы. Прикладная программа, хранящаяся в памяти 932, может включать в себя один или несколько модулей, каждый из которых соответствует набору инструкций. Кроме того, компонент 922 обработки сконфигурирован для выполнения инструкций, чтобы выполнять любой из вышеупомянутых способов, применяемых к базовой станции.
[00213] Базовая станция 900 может дополнительно включать в себя компонент 926 питания, сконфигурированный для выполнения управления питанием базовой станции 900, проводной или беспроводной сетевой интерфейс 950, выполненный с возможностью подключения базовой станции 900 к сети, и интерфейс 958 ввода-вывода (I/О). Базовая станция 900 может работать на основе операционной системы, хранящейся в памяти 932, такой как Windows ServerTM, Mac OS XTM, UnixTM, LinuxTM, FreeBSDTM и т.п.
[00214] Другие варианты осуществления настоящего изобретения будут очевидны специалистам в данной области техники из рассмотрения описания и практики применения раскрытого здесь изобретения. Настоящее изобретение предназначено для охвата любых изменений, применений или адаптаций изобретения, следующих его общим принципам, включая такие отклонения от настоящего описания, которые входят в известную или обычную практику в данной области техники. Предполагается, что описание и примерырассматриваются только как иллюстративные, при этом истинный объем и суть изобретения указываются в следующей формуле изобретения.
[00215] Следует понимать, что настоящее изобретение не ограничивается точной конструкцией, которая была описана выше и проиллюстрирована на прилагаемых чертежах, и что различные модификации и изменения могут быть сделаны в рамках его объема. Предполагается, что объем изобретения ограничивается только прилагаемой формулой изобретения.
 
		
		 
		
		 
		
		 
		
		 
		
		 
		
		 
		
         
         
            Изобретение относится к технической области беспроводной связи. Технический результат изобретения заключается в повышении надежности беспроводной связи. Для этого в  способе мониторинга пейджинга, выполняемом терминалом, который в неактивном состоянии управления радиоресурсами (RRC) конфигурирован по меньшей мере с одним из параметра улучшенного прерывистого приема (eDRX), конфигурированного базовой станцией, или параметра eDRX, конфигурированного базовой сетью, в ответ на определение того, что сота, в которой находится терминал в неактивном состоянии RRC, не использует eDRX в неактивном состоянии RRC, параметр eDRX, конфигурированный базовой станцией, становится недействительным. 3 н. и 9 з.п. ф-лы, 15 ил.
1. Способ мониторинга пейджинга, выполняемый терминалом, при этом терминал в неактивном состоянии управления радиоресурсами (RRC) конфигурирован по меньшей мере с одним из параметра улучшенного прерывистого приема (eDRX), конфигурированного базовой станцией, или параметра eDRX, конфигурированного базовой сетью, при этом указанный способ включает в себя:
в ответ на определение того, что сота, в которой находится терминал в неактивном состоянии RRC, не использует eDRX в неактивном состоянии RRC, параметр eDRX, конфигурированный базовой станцией, становится недействительным.
2. Способ по п.1, дополнительно включающий в себя:
в ответ на определение того, что сота, в которой находится терминал в неактивном состоянии RRC, не использует eDRX в неактивном состоянии RRC, определение заранее заданного цикла в качестве цикла пейджинга для терминала для выполнения мониторинга пейджинга в соте.
3. Способ по п.1 или 2, в котором дополнительно:
в ответ на то, что цикл, указанный параметром eDRX, конфигурированным базовой сетью и конфигурированным для терминала в неактивном состоянии RRC, меньше или равен второму пороговому значению цикла, и цикл, указанный параметром eDRX, конфигурированным базовой станцией и конфигурированным для терминала в неактивном состоянии RRC, меньше или равен первому пороговому значению цикла, и когда терминал перемещается в соту, которая не использует eDRX в неактивном состоянии RRC, цикл, указанный параметром eDRX, конфигурированным базовой станцией, становится недействительным, и осуществляется выполнение мониторинга пейджинга в соответствии с заранее заданным циклом, при этом упомянутый заранее заданный цикл является минимальным значением цикла, указанного параметром eDRX, конфигурированным базовой сетью, и циклом пейджинга радиодоступа, конфигурированным базовой станцией; или
в ответ на то, что цикл, указанный параметром eDRX, конфигурированным базовой сетью и конфигурированным для терминала в неактивном состоянии RRC, больше или равен второму пороговому значению цикла, и цикл, указанный параметром eDRX, конфигурированным базовой станцией и конфигурированным для терминала в неактивном состоянии RRC, больше, меньше или равен первому пороговому значению цикла, и когда терминал перемещается в соту, которая не использует eDRX в неактивном состоянии RRC, цикл, указанный параметром eDRX, конфигурированным базовой станцией, становится недействительным, и осуществляется выполнение мониторинга пейджинга в соответствии с заранее заданным циклом в пределах окна времени пейджинга (PTW), или осуществляется выполнение мониторинга пейджинга в соответствии с циклом пейджинга радиодоступа, конфигурированным базовой станцией за пределами PTW, при этом упомянутый заранее заданный цикл является минимальным значением из зависящего от терминала значения DRX, цикла пейджинга по умолчанию и цикла пейджинга радиодоступа, конфигурированного базовой станцией.
4. Способ по любому из пп.1-3, в котором дополнительно:
в ответ на определение того, что сота, в которой находится терминал в неактивном состоянии RRC, не использует eDRX в неактивном состоянии RRC, окно времени пейджинга (PTW) в неактивном состоянии RRC, указанное параметром eDRX, конфигурированным базовой станцией, становится недействительным; и/или
в ответ на определение того, что сота, в которой находится терминал в неактивном состоянии RRC, не использует eDRX в неактивном состоянии RRC, цикл eDRX в неактивном состоянии RRC, указанным параметром eDRX, конфигурированным базовой станцией, становится недействительным, и/или
в ответ на определение того, что сота, в которой находится терминал в неактивном состоянии RRC, не использует eDRX в состоянии бездействия RRC, PTW в состоянии бездействия RRC, указанном параметром eDRX, конфигурированным базовой сетью, становится недействительным, и/или
в ответ на определение того, что сота, в которой находится терминал в неактивном состоянии RRC, не использует eDRX в состоянии бездействия RRC, цикл eDRX в состоянии бездействия RRC, указанном параметром eDRX, конфигурированным базовой сетью, становится недействительным, и/или
в ответ на определение того, что сота, в которой находится терминал в неактивном состоянии RRC, не использует eDRX в состоянии бездействия RRC, PTW в неактивном состоянии RRC, указанном параметром eDRX, конфигурированным базовой станцией, становится недействительным, и/или
в ответ на определение того, что сота, в которой находится терминал в неактивном состоянии RRC, не использует eDRX в состоянии бездействия RRC, цикл eDRX в неактивном состоянии RRC, указанном параметром eDRX, конфигурированным базовой станцией, становится недействительным.
5. Способ по п.2, в котором определение заранее заданного цикла включает в себя:
в ответ на то, что цикл, указанный параметром eDRX, конфигурированным базовой станцией, больше или равен первому пороговому значению, определение заранее заданного цикла в неактивном состоянии RRC в соответствии с циклом пейджинга радиодоступа, сконфигурированным базовой станцией; или
в ответ на то, что цикл, указанный параметром eDRX, конфигурированным базовой станцией, меньше или равен первому пороговому значению, определение заранее заданного цикла в неактивном состоянии RRC в соответствии с циклом пейджинга радиодоступа по умолчанию.
6. Способ по п.5, в котором сота не использует eDRX в неактивном состоянии RRC; и
определение заранее заданного цикла в неактивном состоянии RRC в соответствии с циклом пейджинга радиодоступа по умолчанию в ответ на то, что цикл, указанный параметром eDRX, конфигурированным базовой станций, меньше или равен пороговому значению цикла, включает в себя:
в ответ на то, что цикл, указанный параметром eDRX, конфигурированным базовой сетью и конфигурированным для терминала в неактивном состоянии RRC, меньше или равен второму пороговому значению цикла, и цикл, указанный параметром eDRX, конфигурированным базовой станцией и конфигурированным для терминала в неактивном состоянии RRC, меньше или равен первому пороговому значению цикла, определение заранее заданного цикла в соответствии с циклом, указанным параметром eDRX, конфигурированным базовой сетью, и/или циклом пейджинга радиодоступа, конфигурированным базовой станцией; или
в ответ на то, что цикл, указанный параметром eDRX, конфигурированным базовой сетью и конфигурированным для терминала в неактивном состоянии RRC, больше или равен второму пороговому значению цикла, и цикл, указанный параметром eDRX, конфигурированным базовой станцией и конфигурированным для терминала в неактивном состоянии RRC, меньше или равен первому пороговому значению цикла, определение заранее заданного цикла в соответствии с зависящим от терминала значением DRX, циклом пейджинга по умолчанию и/или циклом пейджинга радиодоступа, конфигурированным базовой станцией.
7. Способ по п.5, в котором сота не использует eDRX в неактивном состоянии RRC; и
определение заранее заданного цикла в неактивном состоянии RRC в соответствии с циклом пейджинга радиодоступа, конфигурированным базовой станцией в ответ на то, что цикл, указанный параметром eDRX, конфигурированным базовой станцией, больше или равен пороговому значению цикла, включает в себя:
в ответ на то, что цикл, указанный параметром eDRX, конфигурированным базовой сетью и конфигурированным для терминала в неактивном состоянии RRC, больше или равен пороговому значению цикла, и цикл, указанный параметром eDRX, конфигурированным базовой станцией и конфигурированным для терминала в неактивном состоянии RRC, больше или равен пороговому значению цикла, определение заранее заданного цикла в соответствии с зависящим от терминала значением DRX, циклом пейджинга по умолчанию и/или циклом пейджинга радиодоступа, конфигурированным базовой станцией.
8. Способ по п.5, в котором сота не использует eDRX в состоянии бездействия RRC; и
определение заранее заданного цикла в неактивном состоянии RRC в соответствии с циклом пейджинга радиодоступа по умолчанию в ответ на то, что цикл, указанный параметром eDRX, конфигурированным базовой станцией, меньше или равен пороговому значению цикла, включает в себя:
в ответ на то, что цикл, указанный параметром eDRX, конфигурированным базовой сетью и конфигурированным для терминала в неактивном состоянии RRC, меньше или равен второму пороговому значению цикла, и цикл, указанный параметром eDRX, конфигурированным базовой станцией и конфигурированным для терминала в неактивном состоянии RRC, меньше или равен первому пороговому значению цикла, определение заранее заданного цикла в соответствии с зависящим от терминала значением DRX, циклом пейджинга по умолчанию и/или циклом пейджинга радиодоступа, конфигурированным базовой станцией; или
в ответ на то, что цикл, указанный параметром eDRX, конфигурированным базовой сетью и конфигурированным для терминала в неактивном состоянии RRC, больше или равен второму пороговому значению цикла, и цикл, указанный параметром eDRX, конфигурированным базовой станцией и конфигурированным для терминала в неактивном состоянии RRC, меньше или равен пороговому значению цикла, определение заранее заданного цикла в соответствии с зависящим от терминала значением DRX, циклом пейджинга по умолчанию и/или циклом пейджинга радиодоступа, конфигурированным базовой станцией.
9. Способ по п.5, в котором сота не использует eDRX в состоянии бездействия RRC; и определение заранее заданного цикла в неактивном состоянии RRC в соответствии с циклом пейджинга радиодоступа, сконфигурированным сетью в ответ на то, что цикл, указанный параметром eDRX, конфигурированным базовой станцией, больше или равен пороговому значению цикла, включает в себя:
в ответ на то, что цикл, указанный параметром eDRX, конфигурированным базовой сетью и конфигурированным для терминала в неактивном состоянии RRC, больше или равен второму пороговому значению цикла, и цикл, указанный параметром eDRX, конфигурированным базовой станцией, больше или равен первому пороговому значению цикла, определение заранее заданного цикла в соответствии с зависящим от терминала значением DRX, циклом пейджинга по умолчанию и/или циклом пейджинга радиодоступа, сконфигурированным базовой станцией.
10. Способ по п.2, в котором определение заранее заданного цикла в качестве цикла пейджинга для терминала для выполнения мониторинга пейджинга в соте, включает в себя:
в ответ на то, что терминал в неактивном состоянии RRC сконфигурирован только с параметром eDRX, конфигурированным базовой сетью, и цикл, указанный параметром eDRX, конфигурированным базовой сетью, меньше или равен второму пороговому значению цикла, определение заранее заданного цикла в соответствии с зависящим от терминала значением DRX, циклом пейджинга по умолчанию и/или циклом пейджинга радиодоступа, сконфигурированным базовой станцией;
в ответ на то, что терминал в состоянии бездействия RRC сконфигурирован только с параметром eDRX, конфигурированным базовой сетью, и цикл, указанный параметром eDRX, конфигурированным базовой сетью, меньше или равен второму пороговому значению цикла, определение заранее заданного цикла в соответствии с зависящим от терминала значением DRX, и/или циклом пейджинга по умолчанию;
в ответ на то, что терминал в неактивном состоянии RRC сконфигурирован только с параметром eDRX, конфигурированным базовой сетью, и цикл, указанный параметром eDRX, конфигурированным базовой сетью больше или равен второму пороговому значению цикла, определение заранее заданного цикла в соответствии с зависящим от терминала значением DRX, циклом пейджинга по умолчанию и/или циклом пейджинга радиодоступа, сконфигурированным базовой станцией; или
в ответ на то, что терминал в состоянии бездействия RRC сконфигурирован только с параметром eDRX, конфигурированным базовой сетью, и цикл, указанный параметром eDRX, конфигурированным базовой сетью, больше или равен второму пороговому значению цикла, определение заранее заданного цикла в соответствии с зависящим от терминала значением DRX и/или циклом пейджинга по умолчанию.
11. Устройство связи, содержащее:
память; и
процессор, подключенный к памяти и выполненный с возможностью реализации способа по любому из пп.1-10 путем выполнения исполняемых компьютером инструкций, хранящихся в памяти.
12. Компьютерный носитель информации, на котором хранятся исполняемые компьютером инструкции, которые при исполнении процессором заставляют процессор выполнять способ по любому из пп.1-10.
| US 2019223147 A1, 18.07.2019 | |||
| WO 2020118726 A1, 18.06.2020 | |||
| CN 112788618 A, 11.05.2021 | |||
| CN 107404771 A, 28.11.2017 | |||
| РАСШИРЕНИЕ ПЕЙДЖИНГА ДЛЯ ГЛОБАЛЬНОЙ СИСТЕМЫ (EC-GSM) МОБИЛЬНОЙ СВЯЗИ C РАСШИРЕННЫМ ПОКРЫТИЕМ | 2018 | 
 | RU2704743C2 | 
Авторы
Даты
2025-03-18—Публикация
2021-09-06—Подача