[0001] Настоящая заявка испрашивает преимущество по предварительной заявке на патент США 63/128,658, поданной 21 декабря 2020 г., полное содержание которой настоящим включено посредством ссылки.
ОБЛАСТЬ ТЕХНИКИ
[0002] Данное изобретение относится к модульной системе для строительства приподнятых дорожек.
УРОВЕНЬ ТЕХНИКИ
[0003] Дорожки, такие как тротуары, могут быть временно закрыты во время строительства по разным причинам. Одна из причин может состоять в том, что для материалов, используемых для строительства дорожек, требуется время отверждения, когда дорожку нельзя использовать сразу.
СУЩНОСТЬ ИЗОБРЕТЕНИЯ
[0004] Подъемный разделитель дорожки для транспортировки (TPES), описанный в данном изобретении, может быть размещен вдоль строящейся дорожки в той же вертикальной плоскости, что и дорожка, чтобы позволить участникам дорожного движения, передвигающимся пешком или на велосипедах, скутерах, инвалидных колясках или других типах микромобильных устройств, использовать дорожку, не мешая строительным работам и не повреждая материалы пути.
[0005] В одном примере модульная система для строительства приподнятой дорожки содержит первый участок дорожки, содержащий первую часть приподнятой платформы; первые краевые опоры, выполненные с возможностью несения нагрузки первой части приподнятой платформы, при этом первые краевые опоры выполнены с возможностью контакта с поверхностью земли и создания разделения уровней между поверхностью земли и нижней стороной первой части приподнятой платформы; и первое соединение. Модульная система также содержит второй участок дорожки, содержащий: вторую часть приподнятой платформы; вторые краевые опоры, выполненные с возможностью несения нагрузки второй части приподнятой платформы, при этом вторые краевые опоры выполнены с возможностью контакта с поверхностью земли и создания разделения уровней между поверхностью земли и нижней стороной второй части приподнятой платформы; и второе соединение, выполненное с возможностью прикрепления к первому соединению для ограничения движения второго участка дорожки относительно первого участка дорожки.
[0006] Детали одного или более примеров изложены в прилагаемых графических материалах и описании ниже. Другие признаки, объекты и преимущества будут очевидны из описания, графических материалов и формулы изобретения.
КРАТКОЕ ОПИСАНИЕ ГРАФИЧЕСКИХ МАТЕРИАЛОВ
[0007] На Фиг. 1а проиллюстрированы обычные условия, когда секцию тротуара удаляют с целью восстановления секции. На Фиг. 1а также проиллюстрирован существующий участок земли, прилегающий к тротуару.
[0008] На Фиг. 1b проиллюстрировано размещение типовых участков наклонной поверхности для въезда.
[0009] На Фиг. 1с проиллюстрировано размещение типового первого стандартного участка.
[0010] На Фиг. 1d проиллюстрировано размещение оставшихся типовых стандартных участков и типовых участков наклонной поверхности для съезда для завершения системы подъемного разделителя дорожки для транспортировки (TPES).
[0011] На Фиг. 1е проиллюстрированы приспособления для условий со значительной нелинейной горизонтальной геометрией с использованием радиального участка.
[0012] На Фиг. 2а-1 проиллюстрирован вид в перспективе типового конечного участка наклонной поверхности для въезда.
[0013] На Фиг. 2а-2 проиллюстрирован вид в перспективе типового конечного участка наклонной поверхности для съезда.
[0014] На Фиг. 2а-3 проиллюстрирован вид в перспективе нижней стороны и противоположного конца типового конечного участка наклонной поверхности для въезда, показанного на Фиг. 2а-1.
[0015] На Фиг. 2b-1 проиллюстрирован вид в перспективе типового переходного участка наклонной поверхности для въезда.
[0016] На Фиг. 2b-2 проиллюстрирован вид в перспективе типового переходного участка наклонной поверхности для съезда.
[0017] На Фиг. 2b-3 проиллюстрирован вид в перспективе нижней стороны и противоположного конца типового переходного участка наклонной поверхности для въезда, показанного на Фиг. 2b-1.
[0018] На Фиг. 3а проиллюстрирован вид в перспективе типового стандартного участка.
[0019] На Фиг. 3b проиллюстрирован вид сверху типового стандартного участка, показанного на Фиг. 3а.
[0020] На Фиг. 3с проиллюстрирован вид в поперечном сечении типового стандартного участка, показанного на Фиг. 3а.
[0021] На Фиг. 3d проиллюстрирован вид в перспективе нижней стороны и противоположного конца типового стандартного участка, показанного на Фиг. 3а.
[0022] На Фиг. 4 проиллюстрирован вид в перспективе типового радиального участка, позволяющего пути следовать значительной нелинейной горизонтальной геометрии.
[0023] На Фиг. 5а проиллюстрированы вид в перспективе и вид в поперечном сечении стандартной секции настила.
[0024] На Фиг. 5b проиллюстрированы вид в перспективе и вид в поперечном сечении конечной секции настила наклонной поверхности.
[0025] На Фиг. 5с проиллюстрированы вид в перспективе и вид в поперечном сечении посадочной секции настила наклонной поверхности.
[0026] На Фиг. 6а проиллюстрированы виды в перспективе и виды в поперечном сечении охватывающего соединения настила, охватываемого соединения настила и переходника соединения.
[0027] На Фиг. с 6b-1 по 6b-3 проиллюстрированы типовые конфигурации щитов настила, соединений и переходников соединения для создания составного настила для различных типов участков.
[0028] На Фиг. с 6с-1 по 6с-4 проиллюстрированы типовые диапазоны движения типового закругленного зубчатого соединения для приспособления к вертикальным отклонениям между участками.
[0029] На Фиг. 6d проиллюстрирован типовой диапазон движения типового закругленного зубчатого соединения для приспособления к небольшим горизонтальным отклонениям между участками.
[0030] На Фиг. 7 проиллюстрирован пример дренажной системы настила, показывающий типовые дренажные щели настила и типовые водоотводные отверстия.
[0031] На Фиг. 8 проиллюстрирована собранную систему направляющих.
[0032] На Фиг. 9а-9с проиллюстрирован пример закругленного чередующегося зубчатого соединения.
ПОДРОБНОЕ ОПИСАНИЕ
[0033] В соответствии с существующей практикой во время закрытия дорожек пользователей обычно направляют в обход или на другие дорожки. При ограниченном праве прохода или проезда пользователей могут часто существенно направлять в обход до такой степени, что они выбирают более короткие и менее безопасные маршруты, которые не предназначены для использования. В настоящее время нет доступного варианта, позволяющего пользователям двигаться по приподнятой дорожке непосредственно над существующей дорожкой, при этом обеспечивающего выполнение строительных работ. В данном изобретении описана система, которая может быть полезной в плане стоимости проекта, мобильности пользователей и безопасности пользователей.
[0034] Описанный в данном документе подъемный разделитель дорожки для транспортировки (TPES) может быть реализован многими различными способами в зависимости от типа пути, материалов, используемых для изготовления TPES, и инструментальных возможностей изготовителя. Один конкретный вариант реализации показан на фигурах, но должно быть очевидно, что другие варианты реализации также входят в объем данного изобретения. Ниже приведено подробное описание типового варианта реализации TPES.
[0035] На фигурах проиллюстрировано одно конкретное применение TPES, показывающее, как различные секции могут быть собраны для обеспечения дорожки над существующим бетонным тротуаром, когда секцию тротуара удаляют для восстановления. Хотя конкретно упоминается использование для строительства бетонных тротуаров, как дополнительно обсуждается ниже, использование TPES не ограничивается вариантами применения для строительства тротуаров. Однако предполагается, что TPES, описанную в данном изобретении, можно использовать для обеспечения дорожек на других типах временных или постоянных общественных или частных объектов, подвергаемых другим условиям разрушения, таким как работа коммунальных служб и затопляемые зоны, или для обеспечения дорожек там, где желательно, чтобы существующая земля оставалась нетронутой под дорожкой. Система также может быть выполнена с возможностью обеспечения для пользователя возможности создания новой дорожки через зоны строительства или вокруг них. Также предполагается, что TPES может быть дополнена опорными балками или подпорками под системой, чтобы перекрывать препятствия, такие как канавы, для обеспечения доступного моста с дорожками в постоянных или временных условиях.
[0036] Безопасность участников дорожного движения, таких как пешеходы и велосипедисты, является одним из главных приоритетов транспортных агентств по всему миру. Тротуары и пути общего пользования используются в транспортной системе для обеспечения таких способов передвижения, как ходьба или езда на велосипедах, скутерах, инвалидных колясках или других типах микромобильных устройств. В соответствии с требованиями Закона о защите прав граждан США с ограниченными возможностями (ADA) транспортные агентства должны обеспечивать аналогичные средства во время строительных работ, чтобы дать возможность американцам с ограниченными возможностями безопасно передвигаться по строительным зонам и вокруг них. Из-за ограниченного права прохода или проезда часто во время строительных работ бывает сложно найти место для того, чтобы проложить альтернативные пути для этих способов передвижения.
[0037] Когда дорожку строят или восстанавливают, некоторые материалы для дорожного покрытия должны отверждаться в течение некоторого периода, прежде чем дорожка будет открыта для движения. Хотя фактическое активное время строительства может быть относительно коротким, эти дорожки часто должны быть закрыты на гораздо более длительный срок, чтобы обеспечить отверждение указанных материалов. В настоящее время участников дорожного движения необходимо направлять в обход или на альтернативные пути, для чего понадобятся временные пути и знаки, что, вероятно, потребует от пользователя больше времени для ориентировки. Многие пользователи, которые сталкиваются с такими условиями, выбирают свои собственные, менее безопасные маршруты к своим местам назначения. Хотя законы требуют, чтобы эти пути оставались открытыми, в настоящее время нет надлежащего способа гарантировать, что эти пути останутся открытыми, что может быть практически достигнуто при ограниченном праве прохода или проезда и финансировании. В настоящее время нет доступного варианта, позволяющего пользователям двигаться по модульной приподнятой дорожке непосредственно над существующей дорожкой. Часто владельцы объекта, такие как государственные и местные транспортные агентства, допускают исключения, чтобы оставить дорожки открытыми, потому что в настоящее время нет практически осуществимой альтернативы. Система TPES по данному изобретению потенциально способствует соблюдению применимых федеральных законов. Таким образом, система по данному изобретению может быть полезной в плане стоимости проекта, мобильности пользователей и безопасности пользователей.
[0038] Модульная система для строительства приподнятой дорожки, как описано в данном документе, может обеспечить способ поддержания доступной дорожки вдоль той же центральной линии дорожки под системой, не нарушая существующую дорожку или поверхность. То есть в некоторых случаях использования вместо перенаправления дорожного движения, например, пешеходного или велосипедного движения, в то время как существующая дорожка находится в стадии строительства, модульная система, описанная в данном документе, может обеспечить движение по тому же маршруту, не допуская при этом повреждения пешеходами или легковыми транспортными средствами существующей дорожки. Описанную в данном документе модульную систему можно просто и быстро устанавливать, она может быть переносной, пригодной к штабелированию и многоразовому использованию. Пользуясь описанной в данном документе модульной системой, пешеходы могут использовать пространство с тем же правом обхода, что и в случае существующей дорожки, в то время как часть этой существующей дорожки временно недоступна, например, из-за ремонта. Кроме того, модульная система в данном документе может не нарушать часть существующей дорожки и может даже защищать неотвержденные материалы для дорожного покрытия, такие как бетон, от повреждений или граффити. Как более подробно объяснено ниже, модульная система, описанная в данном документе, может дополнительно содержать элементы, предотвращающие попадание внешней влаги, такой как дождь, на существующую дорожку, в то же время обеспечивая надлежащие условия для ускорения отверждения.
[0039] Модульная система для строительства приподнятой дорожки, как описано в данном документе, может содержать отверстия по бокам, обеспечивающие поток воздуха, испарение воды и рассеивание тепла. Модульная система для строительства приподнятой дорожки, описанная в данном документе, может также защищать существующую дорожку, например, защищая дорожку от дождя и солнца, защищая дорожку от граффити или других актов вандализма, а также предотвращая повреждение защитных покрытий для выдерживания бетона или других материалов.
[0040] На Фиг. 1а проиллюстрированы обычные условия, при которых секцию 103 тротуара 101 удаляют с целью восстановления ранее удаленной секции 103. Эти условия демонстрируют существующий участок земли 102, прилегающий к тротуару.
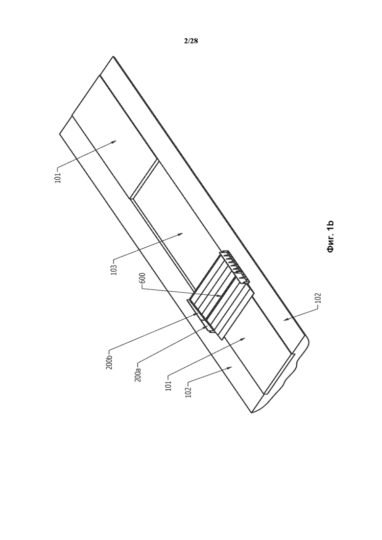
[0041] На Фиг. 1b проиллюстрировано размещение конечного участка 200а наклонной поверхности для въезда и переходного участка 200b наклонной поверхности для въезда. В примере на Фиг. 1b показано, что конечный участок 200а наклонной поверхности для въезда и переходный участок 200b наклонной поверхности для въезда соединены соединением 600, но в других примерах эти два участка могут быть соединены каким-либо другим образом или могут быть реализованы как единый участок. Кроме того, в некоторых примерах в системе может быть использовано более одного переходного участка.
[0042] На Фиг. 1с проиллюстрировано размещение первого стандартного участка 300. Участки соединены соединением 600, но в других примерах эти участки могут быть соединены каким-либо другим образом или могут быть реализованы в виде объединенного участка.
[0043] На Фиг. 1d проиллюстрировано размещение дополнительных стандартных участков 300 и переходного участка 201b наклонной поверхности для съезда и конечного участка 201а наклонной поверхности для съезда для завершения TPES. Участки соединены соединением 600. Следует понимать, что термины «наклонная поверхности для въезда» и ««наклонная поверхности для съезда» используются в данном документе для облегчения описания системы TPES. Предполагается, что участки 200а и 200b наклонной поверхности для въезда и участки 201а и 201b наклонной поверхности для съезда можно использовать как для входа, так и для выхода из системы TPES. В некоторых вариантах реализации участки наклонной поверхности для въезда и участки наклонной поверхности для съезда могут быть по существу идентичными, в то время как в других вариантах реализации участки наклонной поверхности для въезда и участки наклонной поверхности для съезда могут иметь некоторые различия, такие как разное расположение или разная ориентация различных соединителей и т.п.
[0044] Любой или все участки 200а, 200b, 201а, 201b или 300 могут быть соединены с помощью комбинации любого типа болта и гайки, такой как типовой винтовой болт 104 и винтовая гайка 105, как проиллюстрировано в выноске А. Любой или все участки могут быть соединены с несущей поверхностью (например, частью существующей земли 102) с помощью анкеров 309. Поверхность настила всех участков может иметь сопротивление скольжению, если это требуется для варианта применения, что может быть достигнуто различными способами в зависимости от материалов и процессов, используемых для изготовления. Одним из вариантов реализации включения сопротивления скольжению поверхности настила является накатка на поверхности настила, которая содержит заостренные профили, выступающие из поверхности настила, которые имеют насечки поперек заостренных выступающих профилей, как будет более подробно обсуждаться со ссылкой на Фиг. 5а, 5b и 5с. Еще один вариант реализации обеспечения сопротивления скольжению поверхности настила заключается во включении покрытия настила, состоящего из смеси полимера и песка, для получения требуемого коэффициента трения. Еще один вариант реализации полимерной конструкции заключается во включении шероховатой поверхности настила в пресс-форму участка для получения требуемого коэффициента трения. Еще один вариант реализации алюминиевой конструкции заключается в пескоструйной обработке поверхности настила после изготовления для получения требуемого коэффициента трения. Предполагается, что существует множество других решений для обеспечения сопротивления скольжению, таких как применение препятствующей скольжению ленты. Любая из этих поверхностей может быть окрашена, чтобы выделить дорожку для лиц с нарушением зрения.
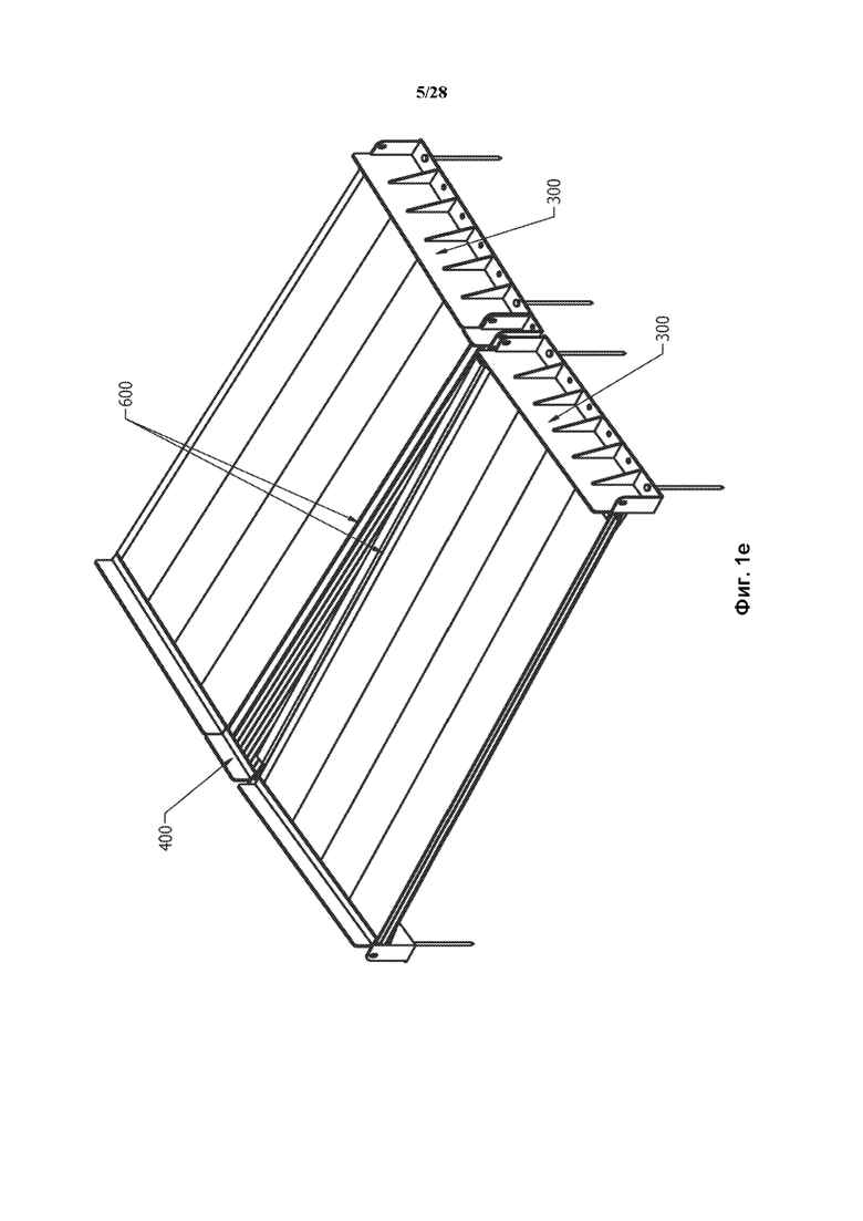
[0045] На Фиг. 1е проиллюстрирован типовой метод обеспечения приспособления к условиям с нелинейной горизонтальной геометрией. Предполагается, что другие методы, такие как регулируемые, веерные участки или участки складного типа, также можно использовать для приспособления к различным геометрическим условиям. На Фиг. 1е показан радиальный участок 400, размещенный между двумя стандартными участками 300 для приспособления к изменению горизонтального выравнивания. Участки соединены соединением 600. Радиальные участки могут быть пропорционально распределены для создания различных степеней кривизны дорожки и обеспечения горизонтальной геометрии поворота как влево, так и вправо.
[0046] На Фиг. 2а-1 проиллюстрирован вид в перспективе конечного участка 200а наклонной поверхности для въезда. Настил может иметь наклон, чтобы соответствовать стандартам ADA для бордюрных наклонных поверхностей. Детали поверхности не проиллюстрированы на этой фигуре для ясности. Типовую обработку для достижения сопротивления скольжению можно увидеть на Фиг. 5а, 5b и 5с, описывающих секции настила. Настил содержит стандартные секции 501 настила, посадочную секцию 503 настила наклонной поверхности, конечную секцию 502 настила наклонной поверхности и охватывающее закругленное зубчатое соединение (FRFJ) 601. Посадочная секция настила наклонной поверхности может быть выполнена с возможностью опоры на поверхность с разделением уровней. Посадочная секция 503 настила наклонной поверхности может состоять из нескольких подсекций, необходимых для приспособления к различным разделениям уровней наклонной поверхности. Конечная секция 502 настила наклонной поверхности переходит от поверхности настила к поверхности с разделением уровней. Стандартные секции 501 настила поддерживаются вертикальными стенными опорами, содержащими опорные механизмы, такие как типовой опорный швеллер 312 настила. Край 201 конечной секции настила наклонной поверхности может быть скошенным или закругленным в соответствии со стандартами ADA. FRFJ 601 может быть выполнено с возможностью приспособления к соединению с прилегающими участками, такими как переходный участок 200b наклонной поверхности для въезда, при этом передавая вертикальную нагрузку через соединение и допуская вертикальные отклонения и небольшие горизонтальные отклонения между участками для приспособления к изменениям вертикальной и горизонтальной геометрии дорожки. Бордюр 304 расположен с каждой стороны пути для соответствия стандартам ADA, обеспечения обнаруживаемых краев и предотвращения отклонения с дорожки пользователей в инвалидных колясках или других устройствах. Каждый бордюр 304 содержит соединительный фланец 305 для приспособления к различным способам соединения и подъемным устройствам, если необходимо. Внешние ребра жесткости 306 обеспечивают распределение нагрузки и придают жесткость вертикальным стенным опорам 310 и нижним фланцам 311. Бордюр 304 и вертикальные стенные опоры 310 могут содержать один и тот же элемент, как показано в этом примере. Анкерные отверстия 308 могут быть разнесены вдоль нижнего фланца 311 для обеспечения анкеров 309 через необходимые интервалы. Могут быть обеспечены несколько анкерных отверстий 308, позволяющих варьировать размещение анкеров 309 во избежание проблем с анкерным креплением, таких как служебные проходные коробки.
[0047] Хотя на этих фигурах анкеры 309 показаны в виде стержней, которые должны быть вбиты в поверхность, можно использовать другие типы анкеров, такие как винты, дюбели, скобы, болты с квадратной головкой под ключ, штифты или другие устройства.
[0048] На Фиг. 2а-2 проиллюстрирован вид в перспективе конечного участка 201а наклонной поверхности для съезда. Настил может иметь наклон, чтобы соответствовать стандартам ADA для бордюрных наклонных поверхностей. Противоскользящая поверхность не показана на этой фигуре для ясности. Типовую обработку для достижения сопротивления скольжению можно увидеть на Фиг. 5а, 5b и 5с, описывающих секции настила. Настил содержит стандартные секции 501 настила, переходник 603 соединения, посадочную секцию 503 настила наклонной поверхности, конечную секцию 502 настила наклонной поверхности и охватываемое закругленное зубчатое соединение (MRFJ) 602. Переходник 603 соединения обеспечивает преобразование охватываемых соединителей в охватывающие соединители таким образом, что два охватывающих элемента могут быть соединены через переходник 603 соединения. Посадочная секция настила наклонной поверхности может быть выполнена с возможностью опоры на поверхность с разделением уровней. Посадочная секция 503 настила наклонной поверхности может состоять из нескольких подсекций, необходимых для приспособления к различным разделениям уровней наклонной поверхности. Конечная секция 502 настила наклонной поверхности переходит из поверхности настила в поверхность с разделением уровней. Стандартные секции 501 настила поддерживаются вертикальными стенными опорами, содержащими опорные механизмы, такие как типовой опорный швеллер 312 настила. Край 201 конечной секции настила наклонной поверхности может быть скошенным или закругленным в соответствии со стандартами ADA. MRFJ 602 может быть выполнено с возможностью приспособления к соединению с прилегающими участками, такими как переходный участок 201b наклонной поверхности для въезда, при этом передавая вертикальную нагрузку через соединение и допуская вертикальные отклонения между участками для приспособления к изменениям вертикальной геометрии дорожки. Бордюр 304 расположен с каждой стороны пути для соответствия стандартам ADA, обеспечения обнаруживаемых краев и предотвращения отклонения с дорожки пользователей в инвалидных колясках или других устройствах. Каждый бордюр 304 содержит соединительный фланец 305 для приспособления к различным способам соединения и подъемным устройствам, если необходимо. Внешние ребра жесткости 306 обеспечивают распределение нагрузки и придают жесткость вертикальным стенным опорам 310 и нижним фланцам 311. Бордюр 304 и вертикальные стенные опоры 310 могут содержать один и тот же элемент, как показано в этом примере. Анкерные отверстия 308 могут быть разнесены вдоль нижнего фланца 311 для обеспечения анкеров 309 через необходимые интервалы. Могут быть обеспечены несколько анкерных отверстий 308, чтобы можно было варьировать размещение анкеров 309 во избежание проблем с анкерным креплением, таких как служебные проходные коробки.
[0049] На Фиг. 2а-3 проиллюстрирован вид в перспективе нижней стороны и противоположного конца типового конечного участка наклонной поверхности для въезда, показанного на Фиг. 2а-1.
[0050] На Фиг. 2b-1 проиллюстрирован вид в перспективе переходного участка 200b наклонной поверхности для въезда. Этот участок может быть аналогичным стандартному участку 300, за исключением того, что опорный швеллер 312 настила имеет уклон для перехода от стандартного участка 300 к конечному участку 200а наклонной поверхности для въезда.
[0051] На Фиг. 2b-2 проиллюстрирован вид в перспективе переходного участка 20lb наклонной поверхности для съезда. Этот участок может быть аналогичным переходному участку 200b наклонной поверхности для въезда, за исключением того, что опорный швеллер 312 настила имеет наклон в обратном направлении, как переходный участок 200b наклонной поверхности для въезда, для перехода от стандартного участка 300 к конечному участку 201а наклонной поверхности для съезда.
[0052] На Фиг. 2b-3 проиллюстрирован вид в перспективе нижней стороны и противоположного конца типового переходного участка наклонной поверхности для въезда, показанного на Фиг. 2b-1.
[0053] На Фиг. 3а проиллюстрирован вид в перспективе стандартного участка 300. Детали противоскользящей поверхности не показаны на этой фигуре для ясности. Типовую обработку для достижения сопротивления скольжению можно увидеть на Фиг. 5а, 5b и 5с, представляющих секции настила. Охватываемое закругленное зубчатое соединение (MRFJ) 602 приспособлено к соединению с прилегающими участками, при этом передавая вертикальную нагрузку через соединение и допуская вертикальные отклонения между участками для приспособления к изменениям вертикальной геометрии дорожки. Охватывающее закругленное зубчатое соединение (FRFJ) 601 приспособлено к соединению с прилегающими участками, при этом передавая вертикальную нагрузку через соединение и допуская вертикальные отклонения и незначительные горизонтальные отклонения между участками для приспособления к изменениям вертикальной геометрии дорожки. Комбинация MRFJ 602 и FRFJ 601 иллюстрирует один вариант реализации соединения 600, как проиллюстрировано на Фиг. 1b-1е. Бордюр 304 расположен с каждой стороны пути для соответствия стандартам ADA, обеспечения обнаруживаемых краев и предотвращения отклонения с дорожки пользователей в инвалидных колясках или других устройствах. Каждый бордюр 304 содержит соединительный фланец 305 для приспособления к различным способам соединения и подъемным устройствам, если необходимо. Внешние ребра жесткости 306 обеспечивают распределение нагрузки и придают жесткость вертикальным стенным опорам 310 и нижним фланцам 311 конструкции. Бордюр 304 и вертикальные стенные опоры 310 могут содержать один и тот же элемент, как показано в этом примере. Анкерные отверстия 308 разнесены вдоль нижнего фланца 311 для обеспечения анкеров 309 через необходимые интервалы. Обеспечены несколько анкерных отверстий 308, позволяющих варьировать размещение анкеров 309 во избежание проблем с анкерным креплением, таких как служебные проходные коробки.
[0054] В дополнение к стандартным участкам также могут быть t-образные участки или х-образные участки для приспособления к пересекающимся дорожкам. В то время как прямой стандартный участок на Фиг. За состоит из двух соединительных поверхностей, t-образный участок может иметь три соединительных поверхности, а х-образный участок может иметь четыре соединительные поверхности, состоящие из FRFJ 501, MRFJ 502 и охватываемого соединительного элемента 401 настила, как показано на Фиг. 4.
[0055] На Фиг. 3b проиллюстрирован вид сверху стандартного участка 300.
[0056] На Фиг. 3с проиллюстрирован вид в поперечном сечении стандартного участка 300. Этот вид иллюстрирует степень разделения уровней между землей и настилом. Нижние фланцы 311 могут опираться на мощеные поверхности, грунтовые поверхности, балки или крепежные приспособления.
[0057] На Фиг. 3d проиллюстрирован вид в перспективе нижней стороны стандартного участка 300.
[0058] На Фиг. 4 проиллюстрирован вид в перспективе типового радиального участка 400. Эти участки могут быть зафиксированы под определенными радиальными углами для приспособления к общим изменениям условий горизонтальной геометрии. Радиальные углы и формы могут изменяться по мере необходимости для достижения требуемой горизонтальной геометрии дорожки. FRFJ 601 приспособлено к соединению с прилегающими участками, при этом передавая вертикальную нагрузку через соединение и допуская вертикальные отклонения и небольшие горизонтальные отклонения между участками для приспособления к изменениям вертикальной геометрии дорожки. Охватываемый соединительный элемент 401 настила может соединяться со скошенной секцией 504 настила. Скошенная секция 504 настила может содержать стандартную секцию 501 настила, как показано ниже на Фиг. 5а, которая была срезана вдоль плоскости 505 среза под конкретным углом для достижения требуемого радиального угла. Охватываемый соединительный элемент 401 настила приспособлен к соединению с прилегающими участками, при этом передавая вертикальную нагрузку через соединение и допуская вертикальные отклонения между участками для приспособления к изменениям вертикальной геометрии дорожки. Бордюры 402 и 403 радиальных участков и связанные с ними компоненты могут быть сконфигурированы аналогично стандартному участку 300. Например, в бордюрах радиальных участков можно использовать тот же соединительный фланец 305, внешние ребра жесткости 306, вертикальные стенные опоры 310, нижние фланцы 311, анкерные отверстия 308 и анкеры 309, что и в стандартном участке 300.
[0059] На Фиг. 5а проиллюстрированы вид в перспективе и вид в поперечном сечении типовой стандартной секции 501 настила. Стандартная секция настила может содержать тонкостенный конструкционный материал 506 с пустотами 507 настила. Верхняя часть поверхности 508 настила может содержать выступающие профили 509 для обеспечения сопротивления скольжению в продольном направлении дорожки. Выступающие профили 509 могут содержать поперечные прорези, не превышающие глубину выступающих профилей, для обеспечения сопротивления скольжению в поперечном направлении дорожки. Верхняя часть поверхности 508 настила может содержать отверстия, такие как щелевые отверстия 510, для дренажа настила. Для получения более подробной информации о транспортировке воды см. Фиг. 7. Стандартная секция 501 настила может содержать охватывающее соединение 511 секции настила и охватываемое соединение 512 секции настила для обеспечения взаимного соединения с рядом из стандартной секции 501 настила, посадочной секции 503 настила наклонной поверхности, FRFJ 601, MRFJ 602 или переходника 603 соединения.
[0060] На Фиг. 5b проиллюстрированы вид в перспективе и вид в поперечном сечении типовой конечной секции 502 настила наклонной поверхности. Конечная секция 502 настила наклонной поверхности может содержать тонкостенный конструкционный материал 514 с пустотами 515 настила. Верхняя часть поверхности 516 настила может содержать выступающие профили 517 для обеспечения сопротивления скольжению в продольном направлении дорожки. Выступающие профили 517 могут содержать поперечные прорези, не превышающие глубину выступающих профилей, для обеспечения сопротивления скольжению в поперечном направлении дорожки. Конечная секция 502 настила наклонной поверхности может содержать радиальный или скошенный конец 518 для обеспечения перехода к поверхности дорожного покрытия с разделением уровней и охватываемое соединение 519 секции настила для обеспечения взаимного соединения с посадочной секцией 503 настила наклонной поверхности. Нижняя часть поверхности 520 настила конечной секции 502 настила наклонной поверхности может опираться на поверхность с разделением уровней или поверхность дорожного покрытия и может быть не параллельной верхней части поверхности 516 настила.
[0061] На Фиг. 5 с проиллюстрированы вид в перспективе и вид в поперечном сечении типовой посадочной секции 503 настила наклонной поверхности. Посадочная секция 503 настила наклонной поверхности может содержать тонкостенный конструкционный материал 521 с пустотами 522 настила. Верхняя часть поверхности 523 настила может содержать выступающие профили 524 для обеспечения сопротивления скольжению в продольном направлении дорожки. Выступающие профили 524 могут содержать поперечные прорези, не превышающие глубину выступающих профилей, для обеспечения сопротивления скольжению в поперечном направлении дорожки. Посадочная секция 503 настила наклонной поверхности может содержать охватываемое соединение 525 секции настила для обеспечения взаимного соединения со стандартной секцией 501 настила, FRFJ 601, MRFJ 602 или переходником 603 соединения. Посадочная секция 503 настила наклонной поверхности может содержать охватывающее соединение 526 секции настила для обеспечения взаимного соединения с конечной секцией 502 настила наклонной поверхности. Нижняя часть поверхности 527 настила посадочной секции 503 настила наклонной поверхности может опираться на поверхность с разделением уровней или поверхность дорожного покрытия и может быть не параллельной верхней части поверхности 523 настила.
[0062] На Фиг. 6а проиллюстрированы виды в перспективе и виды в поперечном сечении охватывающего закругленного зубчатого соединения (FRFJ) 601, охватываемого закругленного зубчатого соединения (MRFJ) 602 и переходника 603 соединения. Комбинация MRFJ 602 и FRFJ 601 иллюстрирует один вариант реализации соединения 600. Охватывающее закругленное зубчатое соединение (FRFJ) 601, охватываемое закругленное зубчатое соединение (MRFJ) 602 и переходник 603 соединения в совокупности представляют собой один типовой вариант реализации соединения 600, описанного выше.
[0063] На Фиг. с 6b-1 по 6b-3 проиллюстрированы типовые конфигурации различных частей, используемых для создания настила каждого типа участка. Конфигурация, проиллюстрированная на Фиг. 6b-1, содержит конечную секцию 502 настила наклонной поверхности, посадочную секцию 503 настила наклонной поверхности, несколько стандартных секций 501 настила и FRFJ 601, которые можно использовать для настила типового конечного участка 200а наклонной поверхности для въезда. Конфигурация, проиллюстрированная на Фиг. 6b-2, содержит MRFJ 602, несколько стандартных секций 501 настила и FRFJ 601, которые можно использовать для настила типового стандартного участка 300, типового переходного участка 200b наклонной поверхности для въезда или типового переходного участка 201b наклонной поверхности для съезда. Конфигурация, проиллюстрированная на Фиг. 6b-3, содержит конечную секцию 502 настила наклонной поверхности, посадочную секцию 503 настила наклонной поверхности, переходник 603 соединения, несколько стандартных секций 501 настила и MRFJ 602, которые можно использовать для настила конечного участка 201а наклонной поверхности для съезда.
[0064] На Фиг. с 6с-1 по 6с-4 проиллюстрированы примеры вертикального отклонения между участками, которые могут быть компенсированы FRFJ 601 и MRFJ 602. На Фиг. 6с-1 показана высота двух типовых стандартных участков 300, соответствующих вертикальной геометрии профиля дорожки. На Фиг. 6с-2, 6с-3 и 6с-4 показаны примеры того, как FRFJ 601 и MRFJ 602 подходят друг к другу, чтобы обеспечить диапазон отклонения как в положительном, так и в отрицательном направлениях отклонения.
[0065] На Фиг. 6d проиллюстрировано типовое небольшое горизонтальное отклонение между участками, которое может быть компенсировано взаимодействием между FRFJ 601 и MRFJ 602. Нижняя сторона двух типовых стандартных участков 300 показана в соответствии с небольшой горизонтальной геометрией профиля дорожки. Взаимодействие между FRFJ 601 и MRFJ 602 позволяет стороне В 604 соединения быть полностью зацепленной с небольшим зазором или без него, тогда как сторона А 604 соединения может быть разделена расстоянием, чтобы создать укороченную небольшую горизонтальную кривую к дорожке одновременно с любым вертикальным отклонением дорожки. Эти отклонения могут быть компенсированы при сохранении ограничения относительного вертикального перемещения между участками.
[0066] На Фиг. 7 проиллюстрирован пример дренажной системы настила, показывающий пустоты 501b настила, действующие как дренажные камеры настила в стандартной секции 501 настила. Вид в перспективе стандартного участка 300 показан в разрезе поперек дорожки для открытия в ином случае скрытой дренажной камеры настила. Стандартная секция 501 настила может содержать дренажные щели 701 настила, позволяющие воде стекать в пустоты 50lb настила. Пустоты 501b настила могут содержать водоотводные отверстия 702, позволяющие воде выходить из пустот 50lb настила на каждом конце стандартной секции 501 настила непосредственно перед опорным швеллером 312 настила, или водоотводные отверстия 703 могут быть включены в опорный швеллер 312 настила и вертикальные стенные опоры 310, чтобы позволить воде выходить на внешнюю сторону системы, что сохраняет нижнюю часть дорожки сухой. Вода может течь через дренажные щели 701 настила в пустоты 501b настила, а затем через пустоты 501b настила к водоотводным отверстиям 702 или 703 с обеих сторон дорожки.
[0067] На Фиг. 8 проиллюстрирован пример модульной системы направляющей 800. В этом примере стандартные участки 300 используются для демонстрации одного варианта реализации системы направляющей 800. Вертикальные стенные опоры 310 стандартных участков 300 могут содержать опоры 801 направляющей для приема вертикальных лап направляющей 800. Эти секции направляющей 800 могут быть размещены по мере необходимости.
[0068] На Фиг. 9а-9с проиллюстрировано закругленное чередующееся зубчатое соединение. Закругленное чередующееся зубчатое соединение состоит из сопряжения переднего закругленного чередующегося зубчатого соединения (FRAFJ) 901 и заднего закругленного чередующегося зубчатого соединения (BRAFJ) 902. Размер, расстояние, количество, ориентация и форма компонентов FRAFJ 901 и компонентов BRAFJ 902 могут различаться. Могут потребоваться изменения в зависимости от используемых материалов, производственных процессов, условий нагрузки, соединительных отверстий и требуемого диапазона перемещения в любом направлении. Сопряжение FRAFJ 901 и BRAFJ 902 обеспечивает следование участков нелинейной вертикальной геометрии дорожки, при этом сохраняя контакт для передачи нагрузки через участки и поддержания относительного вертикального и горизонтального выравнивания с прилегающими участками. Закругленные зубчатые формы могут быть изменены для обеспечения следования участков небольшой нелинейной горизонтальной геометрии. На Фиг. 9а проиллюстрирован вид в перспективе двух стандартных участков 300 с изменением вертикального выравнивания в месте соединения 600. На Фиг. 9b проиллюстрирован вид в вертикальном разрезе того, что показано на Фиг. 9а. Выноска Е показывает вид в увеличенном масштабе соединения 600. Каждый участок может содержать одно FRAFJ 901 и одно BRAFJ 902 на противоположных концах в направлении дорожки. На Фиг. 9с проиллюстрированы два прилегающих изолированных компонента FRAFJ 901 и BRAFJ 902. Три закругленных зуба FRAFJ 901 сопрягаются с одним закругленным зубом BRAFJ 902. Один закругленный зуб FRAFJ 901 сопряжен с тремя закругленными зубьями BRAFJ 902. Расположение закругленных зубьев чередуется таким образом вдоль соединительной поверхности каждого прилегающего участка с образованием закругленного чередующегося зубчатого соединения. FRAFJ 901 и BRAFJ 902 в совокупности представляют собой один типовой вариант реализации соединения 600, описанного выше.
[0069] В соответствии с методами, описанными выше, модульная система для строительства приподнятой дорожки может, например, содержать первый участок дорожки и второй участок дорожки. Модульная система может также содержать дополнительные участки дорожки, как описано выше. Первый и второй участки дорожки могут, например, представлять собой любой из конечного участка 200а наклонной поверхности для въезда, переходного участка 200b наклонной поверхности для въезда, переходного участка 201b наклонной поверхности для въезда, стандартного участка 300 или радиального участка 400. Любой или оба из первого участка дорожки и второго участка дорожки могут содержать часть приподнятой платформы. Верхняя сторона части приподнятой платформы, такая как верхняя сторона стандартной секции 501 настила, конечной секции 502 настила наклонной поверхности или переходной секции 503 настила наклонной поверхности, может быть выполнена с возможностью движения пешеходов или легковых транспортных средств. Верхние стороны участков дорожки могут быть достаточно выровнены для образования непрерывной дорожки.
[0070] Первый и второй участки дорожки могут дополнительно содержать краевые опоры, выполненные с возможностью несения нагрузки частей приподнятой платформы и контакта с поверхностью земли для создания разделения уровней между поверхностью земли и нижней стороной первой части приподнятой платформы. Краевые опоры могут содержать отверстия, такие как вентиляционные каналы или проемы, выполненные с возможностью пропускания потока воздуха между поверхностью земли и нижней стороной частей приподнятой платформы. Краевые опоры могут быть выполнены с возможностью охвата конструкции, такой как тротуар, встроенная в землю служебная коробка, отверстие или любая другая подобная конструкция, таким образом, что нижняя сторона части приподнятой платформы не контактирует с конструкцией.
[0071] Каждый из первого и второго участков дорожки может также содержать соединения, такие как FRFJ 601 и MRFJ 602, выполненные с возможностью прикрепления друг к другу для ограничения движения второго участка дорожки относительно первого участка дорожки. Соединения также могут, например, передавать часть нагрузки второй части приподнятой платформы на первый участок дорожки или наоборот. Соединения могут быть выполнены с возможностью размещения второй приподнятой платформы относительно первого участка дорожки, а сочленение соединений может позволить участкам дорожки создать дорожку, которая приблизительно следует требуемой горизонтальной геометрии дорожки и вертикальному уклону профиля земли.
[0072] Соединение может, например, включать в себя охватываемые и охватывающие закругленные зубчатые соединения, выполненные с возможностью ограничения относительного перемещения между участками, при этом позволяя участкам следовать горизонтальной геометрии и вертикальному уклону профиля земли. Соединение первого участка дорожки может, например, сопрягаться с соединением второго участка дорожки.
[0073] В некоторых примерах краевые опоры могут содержать фланцы с анкерными отверстиями, выполненными с возможностью приема анкеров. Наземные анкеры могут ограничивать разделение между участками дорожки и обеспечивать краевые опоры.
[0074] Каждый участок дорожки может также содержать запирающие конструкции для крепления участков дорожки друг к другу. Каждая запирающая конструкция может содержать соединительный фланец 312, выполненный с возможностью приема соединителя, такого как винтовой болт 104 и винтовая гайка 105. Соединитель может создавать силу сжатия между участками дорожки и ограничивать разделение между участками дорожки. Запирающие конструкции могут не требоваться для всех случаев использования. Например, в некоторых случаях использования анкеры, такие как анкеры 309, могут в достаточной степени ограничивать это перемещение участков дорожки таким образом, что не требуется дополнительное запирание. Однако в некоторых случаях использования, например, когда нельзя использовать наземные анкеры или когда грунт мягкий и не обеспечивает достаточную жесткость, дополнительные запирающие конструкции могут придать системе дополнительную устойчивость. Соединитель может иметь полную или частичную резьбу по длине и содержать концевой элемент. Концевой элемент может, например, представлять собой резьбовую гайку для крепления соединения.
[0075] Участки дорожки могут содержать отверстия на верхней стороне приподнятых платформ для обеспечения попадания воды в одну или более камер, которые могут отводить воду к одному или более дренажным отверстиям. Если участки дорожки покрывают тротуар, например, камера и дренажные отверстия (например, водоотводные отверстия) могут направлять воду к внешним краевым опорам и, следовательно, не поверх тротуара.
[0076] Одна или более камер могут быть расположены под верхней стороной приподнятых платформ, а дренажные отверстия (например, водоотводные отверстия) могут быть выполнены с возможностью выпуска воды на внешнюю сторону вблизи краевых опор.
[0077] В некоторых случаях направляющая может быть присоединена, например прикреплена, к приподнятым платформам.
[0078] Участки дорожки могут быть изготовлены из различных материалов, включая, без ограничений, полимерные материалы, полимеры, армированные стекловолокном, полимеры, армированные углеродным волокном, полимеры, армированные базальтовым волокном, материалы из черных металлов и алюминиевые материалы.
[0079] Следующие пронумерованные пункты иллюстрируют один или более аспектов устройств и методов, описанных в настоящем раскрытии.
[0080] Пункт 1. Модульная система для строительства приподнятой дорожки, содержащая: первый участок дорожки, содержащий: первую часть приподнятой платформы; первые краевые опоры, выполненные с возможностью несения нагрузки первой части приподнятой платформы, при этом первые краевые опоры выполнены с возможностью контакта с поверхностью земли и создания разделения уровней между поверхностью земли и нижней стороной первой части приподнятой платформы; первое соединение; и второй участок дорожки, содержащий: вторую часть приподнятой платформы; вторые краевые опоры, выполненные с возможностью несения нагрузки второй части приподнятой платформы, при этом вторые краевые опоры выполнены с возможностью контакта с поверхностью земли и создания разделения уровней между поверхностью земли и нижней стороной второй части приподнятой платформы; второе соединение, выполненное с возможностью прикрепления к первому соединению для ограничения движения второго участка дорожки относительно первого участка дорожки.
[0081] Пункт 2. Система по п. 1, отличающаяся тем, что первые краевые опоры содержат первые отверстия, выполненные с возможностью пропускания потока воздуха между поверхностью земли и нижней стороной первой части приподнятой платформы.
[0082] Пункт 3. Система по п. 1, отличающаяся тем, что вторые краевые опоры выполнены с возможностью охвата конструкции под нижней стороной второй части приподнятой платформы без контакта с конструкцией.
[0083] Пункт 4. Система по п. 1, отличающаяся тем, что второе соединение выполнено с возможностью передачи части нагрузки второй части приподнятой платформы первому участку дорожки.
[0084] Пункт 5. Система по п. 1, дополнительно содержащая: третий участок дорожки, содержащий: третью часть приподнятой платформы; третьи краевые опоры, выполненные с возможностью несения нагрузки третьей части приподнятой платформы, при этом третьи краевые опоры выполнены с возможностью контакта с поверхностью земли и создания разделения уровней между поверхностью земли и нижней стороной третьей части приподнятой платформы; третье соединение, выполненное с возможностью прикрепления ко второму участку дорожки для ограничения движения третьего участка дорожки относительно второго участка дорожки.
[0085] Пункт 6. Система по п. 5, отличающаяся тем, что верхняя сторона первой части приподнятой платформы, верхняя сторона второй части приподнятой платформы и верхняя сторона третьей части приподнятой платформы образуют непрерывную дорожку.
[0086] Пункт 7. Система по п. 6, отличающаяся тем, что первая сторона третьей приподнятой платформы длиннее второй стороны третьей приподнятой платформы таким образом, что третья приподнятая платформа приводит к тому, что непрерывная дорожка не является прямой.
[0087] Пункт 8. Система по п. 7, отличающаяся тем, что первая сторона третьей приподнятой платформы длиннее второй стороны третьей приподнятой платформы таким образом, что третья приподнятая платформа приводит к искривлению непрерывной дорожки.
[0088] Пункт 9. Система по п. 5, отличающаяся тем, что верхняя сторона первой части приподнятой платформы наклонена к поверхности земли; верхняя сторона второй части приподнятой платформы приблизительно параллельна поверхности земли; и верхняя сторона третьей части приподнятой платформы наклонена к поверхности земли.
[0089] Пункт 10. Система по п. 1, отличающаяся тем, что верхняя сторона первой части приподнятой платформы расположена под углом относительно поверхности земли.
[0090] Пункт 11. Система по п. 1, отличающаяся тем, что второй участок дорожки дополнительно содержит: отверстия на верхней стороне первой приподнятой платформы, при этом отверстия выполнены с возможностью пропускания воды в камеру, по которой вода поступает к одному или более дренажным отверстиям.
[0091] Пункт 12. Система по п. 11, отличающаяся тем, что камера расположена под верхней стороной первой приподнятой платформы, а одно или более водоотводных отверстий выполнены с возможностью выпуска воды на внешнюю сторону вторых краевых опор.
[0092] Пункт 13. Система по п. 1, отличающаяся тем, что дренажный канал соединения участка улавливает воду, проникающую в соединение, и переносит и выпускает воду на внешнюю сторону дорожки.
[0093] Пункт 14. Система по п. 1, отличающаяся тем, что первый участок дорожки содержит первый заключенный в корпус полый канал, а вторая запирающая конструкция содержит второй заключенный в корпус полый канал, при этом первый заключенный в корпус полый канал и второй заключенный в корпус полый канал выполнены с возможностью приема гибкого соединителя.
[0094] Пункт 15. Система по п. 14, отличающаяся тем, что первая запирающая конструкция содержит первый заключенный в корпус полый канал, а вторая запирающая конструкция содержит второй заключенный в корпус полый канал, при этом первый заключенный в корпус полый канал и второй заключенный в корпус полый канал выполнены с возможностью приема гибкого соединителя.
[0095] Пункт 16. Система по п. 15, отличающаяся тем, что гибкий соединитель создает усилие сжатия между первым участком дорожки и вторым участком дорожки.
[0096] Пункт 17. Система по п. 15, отличающаяся тем, что гибкий соединитель ограничивает разделение между первым участком дорожки и вторым участком дорожки.
[0097] Пункт 18. Система по любому из пп. 15-17, отличающаяся тем, что гибкий соединитель имеет полную или частичную резьбу по длине и содержит концевой элемент.
[0098] Пункт 19. Система по п. 18, отличающаяся тем, что концевые элементы содержат резьбовую гайку для закрепления соединения.
[0099] Пункт 20. Система по п. 14, отличающаяся тем, что первая запирающая конструкция содержит первый нижний фланец, содержащий анкерные отверстия, а вторая запирающая конструкция содержит второй нижний фланец, содержащий анкерные отверстия, при этом первый нижний фланец содержит анкерные отверстия, а второй нижний фланец содержит анкерные отверстия, выполненные с возможностью приема анкеров.
[0100] Пункт 21. Система по п. 1, дополнительно содержащая наземные анкеры, которые ограничивают разделение между первым участком дорожки и вторым участком дорожки и обеспечивают боковое ограничение для первой и второй краевых опор.
[0101] Пункт 22. Система по п. 1, отличающаяся тем, что второе соединение выполнено с возможностью обеспечения размещения второй приподнятой платформы относительно первого участка дорожки с созданием дорожки, которая следует вертикальному уклону профиля земли.
[0102] Пункт 23. Система по п. 1, отличающаяся тем, что материалы первого участка дорожки и второго участка дорожки содержат одно или более из полимерного материала, армирующего стекловолокна, армирующего углеродного волокна, армирующего базальтового волокна, материала черного металла или материала алюминия.
[0103] Пункт 24. Система по п. 1, дополнительно содержащая: направляющую, соединенную с первой и второй приподнятыми платформами.
[0104] Пункт 25. Система по п. 24, отличающаяся тем, что направляющая прикреплена к по меньшей мере одной из первой или второй приподнятых платформ.
[0105] Пункт 26. Система по п. 1, отличающаяся тем, что первое соединение содержит полусферические цилиндрические шпильки, расположенные в чередующемся порядке для ограничения относительного перемещения между первым участком дорожки и вторым участком дорожки.
[0106] Пункт 27. Система по п. 26, отличающаяся тем, что первое соединение первого участка дорожки сопрягается со вторым соединением второго участка дорожки.
[0107] Пункт 28. Система по п. 27, отличающаяся тем, что, когда первое соединение сопряжено со вторым соединением, первое и второе соединения позволяют первым участкам дорожки и второму участку дорожки следовать вертикальному уклону профиля земли.
[0108] Пункт 29. Система по любому из пп. 26-28, отличающаяся тем, что расположение полусферических цилиндрических шпилек чередуется в рядах из 3 шпилек и 1 шпильки.
[0109] Пункт 30. Система по любому из пп. 26-29, отличающаяся тем, что расположение полусферических цилиндрических шпилек первого соединения первого участка дорожки находится напротив первого соединения второго участка дорожки.
[0110] Пункт 31. Система по любому из пп. 26-30, отличающаяся тем, что ряд полусферических цилиндрических шпилек выровнен по вертикали таким образом, что либо две из конфигурации 3 шпилек, либо конфигурация 1 шпильки расположены заподлицо с верхней частью настила.
[0111] Пункт 32. Система по п. 31, отличающаяся тем, что полусферическая часть шпильки имеет радиус, равный длине цилиндрической части шпильки.
[0112] Пункт 33. Система по пп. 1-32, отличающаяся тем, что система выполнена с возможностью функционирования в качестве опалубки для строительства материала для дорожного покрытия дорожки во время эксплуатации TPES.
[0113] Пункт 34. Система по пп. 1-33, отличающаяся тем, что система содержит разравнивающие рейки для отделки материала для дорожного покрытия дорожки во время эксплуатации TPES.
[0114] Пункт 35. Система по пп. 1-34, отличающаяся тем, что система включает транспортировку материала для обеспечения размещения материала для дорожного покрытия дорожки во время эксплуатации TPES.
[0115] Были описаны различные примеры. Эти и другие примеры входят в объем следующей формулы изобретения.
Модульная система для строительства приподнятой дорожки для транспортировки пассажиров и микромобильных устройств содержит первый участок дорожки, содержащий первую часть приподнятой платформы; первые краевые опоры для несения нагрузки первой части приподнятой платформы, при этом первые краевые опоры контактируют с поверхностью земли и создают разделение уровней между поверхностью земли и нижней стороной первой части приподнятой платформы; и первое соединение, которое расположено вдоль края первой части приподнятой платформы. Модульная система также содержит второй участок дорожки, содержащий вторую часть приподнятой платформы; вторые краевые опоры для несения нагрузки второй части приподнятой платформы, при этом вторые краевые опоры контактируют с поверхностью земли и создают разделение уровней между поверхностью земли и нижней стороной второй части приподнятой платформы; и второе соединение, расположенное вдоль края второй части приподнятой платформы для прикрепления к первому соединению и ограничения движения второго участка дорожки относительно первого участка дорожки. 29 з.п. ф-лы, 9 ил.
1. Модульная система для строительства приподнятой дорожки для транспортировки пешеходов и микромобильных устройств, содержащая:
первый участок дорожки, содержащий:
первую часть приподнятой платформы;
первые краевые опоры, выполненные с возможностью несения нагрузки первой части приподнятой платформы, при этом первые краевые опоры выполнены с возможностью контакта с поверхностью земли и создания разделения уровней между поверхностью земли и нижней стороной первой части приподнятой платформы;
первое соединение, которое расположено вдоль края первой части приподнятой платформы; и
второй участок дорожки, содержащий:
вторую часть приподнятой платформы;
вторые краевые опоры, выполненные с возможностью несения нагрузки второй части приподнятой платформы, при этом вторые краевые опоры выполнены с возможностью контакта с поверхностью земли и создания разделения уровней между поверхностью земли и нижней стороной второй части приподнятой платформы;
второе соединение, которое расположено вдоль края второй части приподнятой платформы, выполненное с возможностью прикрепления к первому соединению и ограничения движения второго участка дорожки относительно первого участка дорожки.
2. Система по п. 1, отличающаяся тем, что первые краевые опоры содержат первые отверстия, выполненные с возможностью пропускания потока воздуха между поверхностью земли и нижней стороной первой части приподнятой платформы.
3. Система по п. 1, отличающаяся тем, что вторые краевые опоры выполнены с возможностью охвата объекта, расположенного под нижней стороной второй части приподнятой платформы, причем указанный охват выполнен таким образом, что объект не контактирует с нижней стороной второй части приподнятой платформы.
4. Система по п. 1, отличающаяся тем, что второе соединение выполнено с возможностью передачи части нагрузки второй части приподнятой платформы первому участку дорожки.
5. Система по п. 1, дополнительно содержащая:
третий участок дорожки, содержащий:
третью часть приподнятой платформы;
третьи краевые опоры, выполненные с возможностью несения нагрузки третьей части приподнятой платформы, при этом третьи краевые опоры выполнены с возможностью контакта с поверхностью земли и создания разделения уровней между поверхностью земли и нижней стороной третьей части приподнятой платформы;
третье соединение, которое расположено вдоль края третьей части приподнятой платформы, выполненное с возможностью прикрепления ко второму участку дорожки и ограничения движения третьего участка дорожки относительно второго участка дорожки.
6. Система по п. 5, отличающаяся тем, что верхняя сторона первой части приподнятой платформы, верхняя сторона второй части приподнятой платформы и верхняя сторона третьей части приподнятой платформы образуют непрерывную дорожку.
7. Система по п. 6, отличающаяся тем, что первая сторона третьей приподнятой платформы длиннее второй стороны третьей приподнятой платформы таким образом, что третья приподнятая платформа приводит к тому, что непрерывная дорожка не является прямой.
8. Система по п. 7, отличающаяся тем, что первая сторона третьей приподнятой платформы длиннее второй стороны третьей приподнятой платформы таким образом, что третья приподнятая платформа приводит к искривлению непрерывной дорожки.
9. Система по п. 5, отличающаяся тем, что:
верхняя сторона первой части приподнятой платформы наклонена к поверхности земли;
верхняя сторона второй части приподнятой платформы приблизительно параллельна поверхности земли; и
верхняя сторона третьей части приподнятой платформы наклонена к поверхности земли.
10. Система по п. 1, отличающаяся тем, что верхняя сторона первой части приподнятой платформы расположена под углом относительно поверхности земли.
11. Система по п. 1, отличающаяся тем, что второй участок дорожки дополнительно содержит: отверстия на верхней стороне первой приподнятой платформы, при этом отверстия выполнены с возможностью пропускания воды в камеру, по которой вода поступает к одному или более дренажным отверстиям.
12. Система по п. 11, отличающаяся тем, что камера расположена под верхней стороной первой приподнятой платформы, а одно или более водоотводных отверстий выполнены с возможностью выпуска воды на внешнюю или внутреннюю сторону вторых краевых опор.
13. Система по п. 1, отличающаяся тем, что первое и второе соединения выполнены с возможностью улавливания проникающей в них воды, ее переноса и выпуска на внешнюю или внутреннюю сторону дорожки.
14. Система по п. 1, отличающаяся тем, что первый участок дорожки содержит первую запирающую конструкцию, а второй участок дорожки содержит вторую запирающую конструкцию, при этом первая запирающая конструкция выполнена с возможностью прикрепления первой запирающей конструкции ко второй запирающей конструкции.
15. Система по п. 14, отличающаяся тем, что первая запирающая конструкция содержит первый заключенный в корпус полый канал, а вторая запирающая конструкция содержит второй заключенный в корпус полый канал, при этом первый заключенный в корпус полый канал и второй заключенный в корпус полый канал выполнены с возможностью приема соединителя.
16. Система по п. 15, отличающаяся тем, что соединитель создает усилие сжатия между первым участком дорожки и вторым участком дорожки и ограничивает разделение между первым участком дорожки и вторым участком дорожки.
17. Система по п. 15, отличающаяся тем, что соединитель имеет полную или частичную резьбу по длине и содержит концевой элемент, содержащий резьбовую гайку для закрепления соединения.
18. Система по п. 14, отличающаяся тем, что первая запирающая конструкция содержит первый нижний фланец, содержащий анкерные отверстия, а вторая запирающая конструкция содержит второй нижний фланец, содержащий анкерные отверстия, при этом первый нижний фланец содержит анкерные отверстия, а второй нижний фланец содержит анкерные отверстия, выполненные с возможностью приема анкеров.
19. Система по п. 1, дополнительно содержащая наземные анкеры, которые ограничивают разделение между первым участком дорожки и вторым участком дорожки и обеспечивают боковое ограничение для первой и второй краевых опор.
20. Система по п. 1, отличающаяся тем, что второе соединение выполнено с возможностью обеспечения размещения второй приподнятой платформы относительно первого участка дорожки с созданием дорожки, которая следует вертикальному уклону профиля земли.
21. Система по п. 1, отличающаяся тем, что материалы первого участка дорожки и второго участка дорожки содержат одно или более из полимерного материала, полимера, армированного стекловолокном, полимера, армированного углеродным волокном, полимера, армированного базальтовым волокном, материала из черных металлов и алюминиевых материалов.
22. Система по п. 1, дополнительно содержащая:
направляющую, соединенную с первой и второй приподнятыми платформами.
23. Система по п. 22, отличающаяся тем, что направляющая прикреплена к по меньшей мере одной из первой или второй приподнятых платформ.
24. Система по п. 1, отличающаяся тем, что первый участок дорожки содержит несколько подучастков, допускающих изменение наклонов наклонной поверхности и длин участков наклонной поверхности.
25. Система по п. 1, отличающаяся тем, что первое соединение содержит закругленный охватываемый зуб, проходящий вдоль сопрягающегося края первой части приподнятой платформы для ограничения относительного перемещения между первым участком дорожки и вторым участком дорожки.
26. Система по п. 1, отличающаяся тем, что второе соединение содержит закругленную охватывающую щель, проходящую вдоль сопрягающегося края второй части приподнятой платформы для ограничения относительного перемещения между вторым участком дорожки и первым участком дорожки.
27. Система по п. 26, отличающаяся тем, что первое соединение первого участка дорожки выполнено с возможностью сопряжения со вторым соединением второго участка дорожки.
28. Система по п. 27, отличающаяся тем, что, когда первое соединение сопряжено со вторым соединением, первое и второе соединения позволяют первым участкам дорожки и второму участку дорожки следовать вертикальному уклону профиля земли.
29. Система по п. 28, отличающаяся тем, что первое соединение и второе соединение могут быть выровнены для создания горизонтального отклонения дорожки одновременно с вертикальным отклонением.
30. Система по п. 29, отличающаяся тем, что первое и второе соединения выполнены с возможностью ограничения относительного диапазона движения.
| US 3811147 A1, 21.05.1974 | |||
| US 5846020 A1, 08.12.1998 | |||
| US 7160055 B2, 09.01.2007 | |||
| US 7334963 B2, 26.02.2008 | |||
| US 5042957 A1, 27.08.1991 | |||
| US 5311629 A1, 17.05.1994 | |||
| СПОСОБ И УСТАНОВКА ДЛЯ СООРУЖЕНИЯ СКОРОСТНОЙ АВТОМОБИЛЬНОЙ ДОРОГИ И СКОРОСТНАЯ АВТОМОБИЛЬНАЯ ДОРОГА | 2001 |
|
RU2181396C1 |
Авторы
Даты
2025-03-19—Публикация
2021-11-17—Подача