ДИСПЕНСЕР ПИТЬЕВОЙ ВОДЫ Российский патент 2025 года по МПК B67D3/00 

Описание патента на изобретение RU2836786C2

ОБЛАСТЬ ТЕХНИКИ

Изобретение относится к диспенсерам питьевой воды и, в частности, к диспенсерам питьевой воды, подключаемым к внешнему источнику воды и снабженным устройством дезинфекции диспенсера с помощью горячей воды.

ИЗВЕСТНЫЙ УРОВЕНЬ ТЕХНИКИ

Диспенсеры питьевой воды, подключаемые к внешнему источнику, известны. Если внешним источником воды является водопровод, такие диспенсеры могут содержать дополнительную систему очистки водопроводной воды, например угольные фильтры. Обычно такие диспенсеры также содержат устройства для охлаждения и нагревания воды.

При этом вода из внешнего источника подается в холодный танк, а затем из холодного танка поступает в горячий танк, который располагается ниже холодного танка. Такая схема удобна тем, что вода вытекает из диспенсера под действием сил гравитации и давление в выходных кранах горячей и холодной воды одинаковое.

Диспенсеры питьевой воды, подключаемые к внешнему источнику, требуют регулярной дезинфекции, для удаления микробиологического загрязнения внутри диспенсера, которое возникает естественным путем, особенно, если система очистки водопроводной воды удаляет из водопроводной воды хлор. Дезинфекция может осуществляться химическими средствами, озоном и высокой температурой. Известно использование горячей воды для дезинфекции диспенсера, когда горячая вода подается из горячего танка, с помощью насоса, в холодный танк для его дезинфекции.

Известен диспенсер горячей и холодной воды KR 101358073 B1, который содержит бак для холодной воды, бак для горячей воды, расположенный ниже бака для холодной воды, соединительный трубопровод, соединяющий бак для холодной воды с баком для горячей воды; насос, расположенный в соединительном трубопроводе и перекачивающий воду из бака для горячей воды в бак для холодной воды; сливной трубопровод для слива в канализацию воды из бака для холодной воды; и контрольное устройство, которое сливает горячую воду из бака для холодной воды по окончании процесса дезинфекции бака для холодной воды.

В процессе дезинфекции, горячая вода поступает из бака для горячей воды в бак для холодной воды через соединительный трубопровод с помощью установленного в соединительном трубопроводе насоса и возвращается обратно в бак для горячей воды через тот же трубопровод под действием силы тяжести при выключении насоса. Недостатком такого диспенсера, является то, что горячей водой обрабатывается только бак для холодной воды, а входной трубопровод, по которому осуществляется подача водопроводной воды в бак для холодной воды, и выходной трубопровод по которому осуществляется выдача холодной воды потребителю остаются необработанными. Также недостатком является то, что требуется слив воды в канализацию из холодного танка перед началом дезинфекции и после окончания дезинфекции.

Известен диспенсер KR 101818711 B1, который содержит бак для холодной воды, бак для горячей воды, расположенный ниже бака для холодной воды, соединительный трубопровод, соединяющий бак для холодной воды с баком для горячей воды; сливной трубопровод для слива в канализацию воды из бака для холодной воды; выходной трубопровод, по которому осуществляется выдача холодной воды потребителю через установленный в выходном трубопроводе первый клапан-соленоид, дополнительный трубопровод, соединяющий бак для горячей воды и первый клапан-соленоид, при этом дополнительный трубопровод снабжен циркуляционным насосом и вторым клапаном-соленоидом для подключения к первому клапану-соленоиду.

В процессе дезинфекции горячая вода под действием циркуляционного насоса поступает из бака для горячей воды через дополнительный трубопровод, первый и второй клапаны-соленоиды и выходной трубопровод для холодной воды в бак для холодной воды, и возвращается обратно в бак для горячей воды через соединительный трубопровод под действием силы тяжести. Недостатком такого диспенсера, является то, что обрабатывается только бак для холодной воды и выходной трубопровод для холодной воды, а входной трубопровод, по которому осуществляется подача водопроводной воды в бак для холодной воды остается необработанным. Другим недостатком является усложнение конструкции диспенсера за счет введения дополнительного трубопровода и дополнительного клапана-соленоида для обеспечения циркуляции горячей воды в режиме дезинфекции диспенсера.

Еще одним недостатком является то, что при дезинфекции диспенсера остается необработанным выходной трубопровод и выход для горячей воды и, что при длительных перерывах в работе диспенсера, из-за застоя воды, будет иметь неблагоприятные микробиологические последствия.

Задачами изобретения является улучшение работы системы дезинфекции диспенсера, более полная обработка диспенсера горячей водой, а также упрощение конструкции диспенсера и повышение ее надежности.

СУЩНОСТЬ ИЗОБРЕТЕНИЯ

Технический результат достигается в диспенсере питьевой воды содержащем входной трубопровод для подключения к внешнему источнику воды; входной клапан-соленоид, установленный во входном трубопроводе; бак для холодной воды, снабженный охлаждающим устройством; бак для горячей воды, снабженный нагревателем, и установленный ниже бака для холодной воды; выходной трубопровод для холодной воды, соединяющий бак для холодной воды с выходом для холодной воды; выходной трубопровод для горячей воды, соединяющий бак для горячей воды с выходом для горячей воды; первый трубопровод, соединяющий входной трубопровод с баком для холодной воды; и циркуляционный насос для обеспечения циркуляции горячей воды в режиме дезинфекции. При этом первый трубопровод соединяется с баком для холодной воды через установленную в баке для холодной воды вертикальную трубку с открытым верхним концом, нижний конец которой соединен с первым трубопроводом, а диспенсер дополнительно содержит второй трубопровод, соединяющий входной трубопровод с баком для горячей воды; циркуляционный трубопровод, соединяющих выходной трубопровод для горячей воды с выходным трубопроводом для холодной воды; обратный клапан, установленный в циркуляционном трубопроводе, пропускающий воду из выходного трубопровода для горячей воды в выходной трубопровод для холодной воды и не пропускающий воду в обратном направлении.

Такая конструкция диспенсера, в частности такой способ подачи воды в баки для холодной и горячей воды, позволяют обеспечить, простоту конструкции диспенсера, и простоту переключения диспенсера в режим дезинфекции. Для перехода диспенсера из дежурного режима готовности выдачи воды (stand-by) в режим дезинфекции достаточно отключить охлаждающее устройство и включить циркуляционный насос, при этом дополнительная коммутация трубопроводов не требуется.

Предпочтительно, циркуляционный насос установлен во втором трубопроводе. Установка циркуляционного насоса во втором трубопроводе на входе в бак для горячей воды позволяет в режиме дезинфекции улучшить тепловой режим работы насоса (температура воды 70 градусов Цельсия) по сравнению с вариантом размещения насоса на выходе из горячего танка (температура воды 95-100 градусов Цельсия). А установка насоса во первом трубопроводе нежелательна, так как в процессе эксплуатации диспенсера насос расположенный в первом трубопроводе будет являться возможным местом развития микробиологического загрязнения.

Предпочтительно диспенсер содержит выходной клапан-соленоид для холодной воды, установленный в выходном трубопроводе для холодной воды и выходной клапан-соленоид для горячей воды, установленный в выходном трубопроводе для горячей воды. Наличие выходных клапанов-соленоидов позволяет легко управлять работой диспенсера с помощью внутреннего контроллера.

Удобно снабдить диспенсер пароотводной трубкой соединяющей верхнюю часть бака для горячей воды и верхнюю часть бака для холодной воды для отвода избыточного пара, образующегося при нагревании воды в баке для горячей воды. При этом желательно в пароотводной трубке установить дополнительный клапан-соленоид для закрытия пароотводной трубки в режиме дезинфекции диспенсера. Закрытие пароотводной трубки позволяет увеличить давление в баке для горячей воды и тем самым увеличить поток горячей воды через обратный клапан. Не допуская при этом протекания горячей воды через пароотводную трубку в бак для холодной воды.

Также предлагается и способ дезинфекции диспенсера. При дезинфекции диспенсера, во-первых, выключается охлаждающее устройство бака для холодной воды, а во-вторых, включается циркуляционный насос, обеспечивающий циркуляцию горячей воды из бака для горячей воды, через выходной трубопровод для горячей воды, через обратный клапан, через выходной трубопровод для холодной воды в бак для холодной воды и из бака для холодной воды через установленную в баке для холодной воды вертикальную трубку, через первый входной трубопровод, второй входной трубопровод и циркуляционный насос обратно в бак для горячей воды. В результате вся циркулирующая вода нагревается до заданной температуры для дезинфекции. Циркуляция горячей воды через трубопроводы и бак для холодной воды приводит к очищению как бака для холодной воды, так и трубопроводов от микробиологических загрязнений.

КРАТКОЕ ОПИСАНИЕ ЧЕРТЕЖЕЙ

На Фиг. 1 изображен пример реализации диспенсера.

На Фиг. 2 изображен вариант реализации диспенсера.

На Фиг. 3 показано подключение циркуляционного трубопровода.

ОПИСАНИЕ ПРИМЕРА РЕАЛИЗАЦИИ

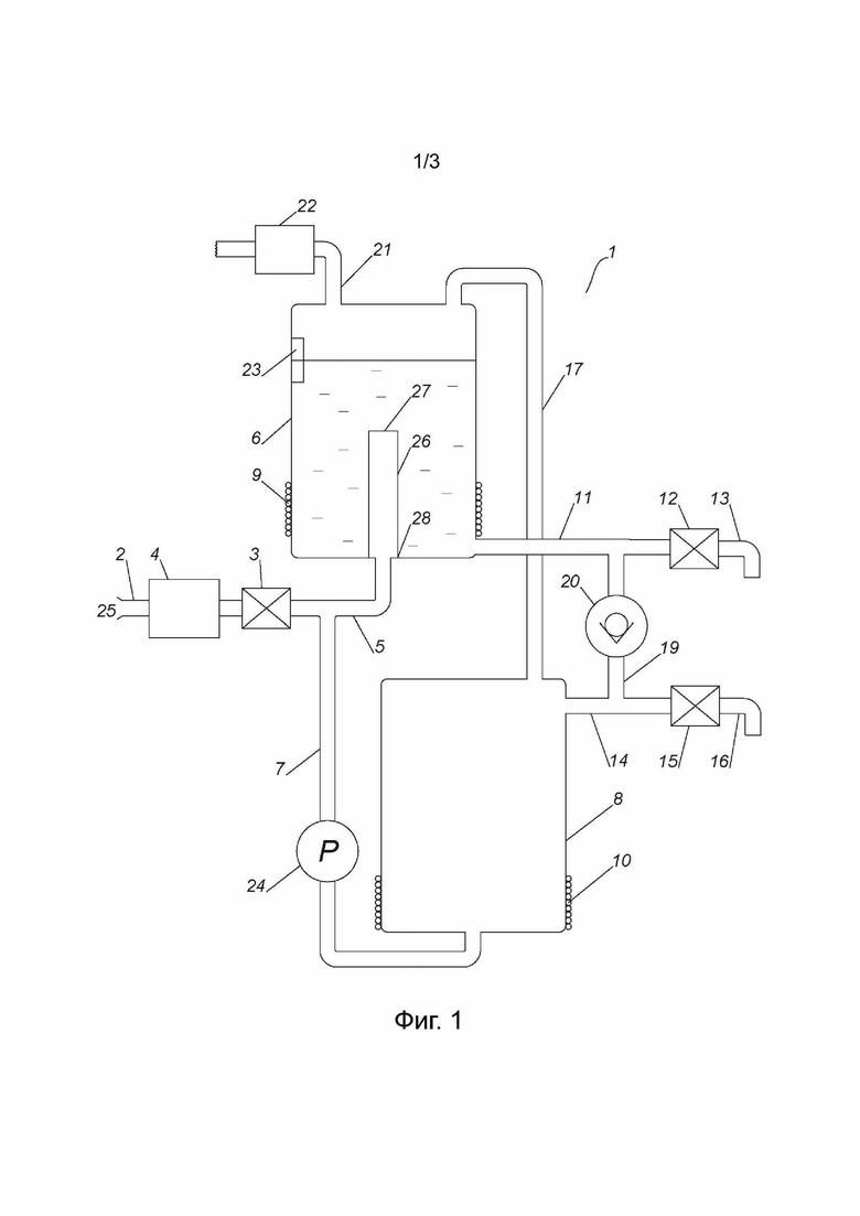
На Фиг. 1 приведено схематичное изображение диспенсера питьевой воды. Диспенсер 1 подключается к внешнему источнику воды 25, например водопроводу, через главный входной трубопровод 2. Внешним источником может быть любой источник из которого вода поступает под давлением, водопровод, резервуар с насосом, насос качающий воду из скважины, система очистки водопроводной воды и т.п.Во входном трубопроводе 2 установлен входной клапан-соленоид 3. При необходимости во входном трубопроводе 2 может быть установлен фильтр 4 для дополнительной очистки поступающей в диспенсер 1 воды. Фильтр 4 устанавливается перед входным клапаном-соленоидом 3. После входного клапана-соленоида 3, входной трубопровод 2, через первый трубопровод 5, соединяется с баком для холодной воды 6, а через второй трубопровод 7, в котором установлен циркуляционный насос 24, с баком для горячей воды 8. Бак для холодной воды 6 подключен к первому трубопроводу 5 через расположенную в баке для холодной воды 6 вертикальную трубку 26, нижний конец 28 которой соединен с первым трубопроводом 5, а верхний открытый конец 27 располагается на заданной высоте от дна бака 6, ниже заданного уровня воды в баке 6.

Подача воды в бак для холодной воды 6 снизу позволяет упростить конструкцию диспенсера и обеспечить дезинфекцию горячей водой трубопровода, по которому в бак 6 подается вода. При этом, во-первых, подача воды через вертикальную трубку 26 обеспечивает подачу неохлажденной воды из водопровода в верхнюю часть бака 6. Во-вторых, в режиме выдачи горячей воды, при слабом давлении воды во входном трубопроводе 2, поступающая из бака для холодной воды 5 в бак для горячей воды 8 будет забираться из верней части бака 6, где вода менее холодная. И в-третьих, в режиме дезинфекции втекание горячей воды через выходной трубопровод 11, а вытекание через верхний открытый конец 27 вертикальной трубки 26 обеспечивает перемешивание горячей воды в баке 6, что улучшает его дезинфекцию.

Бак для холодной воды 6 снабжен охлаждающим устройством 9, а бак для горячей воды снабжен нагревателем 10. Бак для холодной воды 6 через выходной трубопровод для холодной воды 11, и через выходной клапан-соленоид для холодной воды 12, подключен к выходу для холодной воды 13. Соответственно, бак для горячей воды 8 через выходной трубопровод для горячей воды 14, и через выходной клапан-соленоид для горячей воды 15 подключен к выходу для горячей воды 16. Бак для горячей воды 8 через пароотводную трубку 17 соединен с баком для холодной воды 6. Выходной трубопровод для горячей воды 14 через циркуляционный трубопровод 19 соединен с выходным трубопроводом для холодной воды 11. В циркуляционном трубопроводе 19 установлен обратный клапан 20, пропускающий, при определенном давлении, воду из выходного трубопровода для горячей воды 14 в выходной трубопровод для холодной воды 11 и не пропускающий воду в обратном направлении, т.е. из трубопровода для холодной воды 11 в трубопровод для горячей воды 14. Для обеспечения циркуляции горячей воды в режиме дезинфекции диспенсера во втором трубопроводе 7 перед баком для горячей воды 8 установлен циркуляционный насос 24.

Бак для холодной воды 6 через воздушный канал 21 соединен с окружающим воздушным пространством. В воздушном канале 21 установлен воздушный фильтр 22. Фильтр 22 может быть дополнительно снабжен устройством стерилизации поступающего в диспенсер наружного воздуха. Бак для холодной воды 6 также снабжен датчиком уровня воды 23.

Бак для горячей воды 8 установлен ниже бака для холодной воды 6. Бак для горячей воды 8 через пароотводную трубку 17 соединен с баком для холодной воды 6. При работе диспенсера бак для горячей воды 8 полностью заполнен водой, в в баке для холодной воды 6 нижняя часть бака 6 заполнена водой, а в верхней части бака 6 находится воздух. Таким образом, избыточный пар, возникающий при нагревании воды в баке для горячей воды 8, через пароотводную трубку 17 отводится в воздушное пространство бака для холодной воды 6. А возникающее избыточное давление воздуха в баке для холодной воды 6 отводится в наружный воздух через воздушный канал 21.

Входной клапан-соленоид 3, выходной клапан-соленоид для холодной воды 12 и выходной клапан-соленоид для горячей воды 15 нормально-закрытые.

Диспенсер работает следующим образом. После подключения диспенсера 1 через входной трубопровод 2 к источнику воды 25 и включения диспенсера 1, открывается входной клапан-соленоид 3, при этом выходной клапан-соленоид для холодной воды 12 и выходной клапан-соленоид для горячей воды 15 закрыты. Вода от внешнего источника 25 поступает в диспенсер 1 и, после входного клапана-соленоида 3, через второй трубопровод 7 поступает в бак для горячей воды 8, а через первый трубопровод 5 и вертикальную трубку 26 в бак для холодной воды 6. Вытесняемый под давлением воды воздух из бака для горячей воды 8 через пароотводную трубку 17 попадает в воздушное пространство бака для холодной воды 6, и оттуда через воздушный канал 21 наружу. Вода от внешнего источника 25 одновременно поступает в оба бака 6 и 8, но так как бак для горячей воды 8 расположен ниже бака для холодной воды 6, он заполняется первым. По достижении уровня воды в баке для холодной воды 6 заданного уровня, определяемого датчиком уровня воды 23, входной клапан-соленоид 3 закрывается. После этого, вода в баке для холодной воды 6, с помощью охлаждающего устройства 9, охлаждается до заданной температуры, а вода в баке для горячей воды 8, с помощью нагревателя 10, нагревается до заданной температуры. По достижении заданных температур холодной и горячей воды, диспенсер готов к работе и переходит в режим ожидания (stand-by).

При выдаче холодной воды, открывается выходной клапан-соленоид для холодной воды 12 и вода из бака для холодной воды 6 через выходной трубопровод для холодной воды 11 поступает на выход для холодной воды 13. Когда уровень воды в баке для холодной воды 6 падает ниже установленного значения, определяемого датчиком уровня воды 23, открывается входной клапан-соленоид 3 и вода от внешнего источника 25 через первый трубопровод 5, через вертикальную трубку 26 поступает в бак для холодной воды 6, заполняя его до установленного значения уровня воды.

При выдаче горячей воды открывается выходной клапан-соленоид для горячей воды 15, одновременно с ним открывается входной клапан-соленоид 3, вода от внешнего источника 25, через второй трубопровод 7, поступает в бак для горячей воды 8, и, под давлением поступающей воды, вода из бака для горячей воды 8 через выходной трубопровод для горячей воды 14 поступает на выход для горячей воды 16. В случае если давления воды от внешнего источника 25 недостаточно для обеспечения потока вытекающей из диспенсера 1 горячей воды, вода из бака для холодной воды 6 также будет поступать в бак для горячей воды 8 через вертикальную трубку 26, первый трубопровод 5 и второй трубопровод 7 тем самым, обеспечивая необходимый поток вытекающей горячей воды.

При падении давления воды от внешнего источника 25 бак для холодной воды 6, который находится выше бака для горячей воды 8, играет роль водонапорной башни, поддерживая в баке для горячей воды 8 требуемое давление. Что позволяет обеспечить требуемый поток воды на выходе для горячей воды 16.

Для того чтобы в режиме выдачи горячей воды, при нормальном давлении воды поступающей из внешнего источника 25, вода не попадала в бак для холодной воды 6, диаметр первого трубопровода 5 выполнен несколько меньше, чем диаметр второго трубопровода 7. Также возможно установить в первом трубопроводе 5 дополнительный нормально-открытый клапан-соленоид 29, как показано в варианте диспенсера изображенном на Фиг. 2, который будет закрываться в режиме выдаче горячей воды при нормальном давлении от внешнего источника 25, и открываться в этом режиме только при падении давления от внешнего источника 25.

Режим дезинфекции. В этом режиме нормально-закрытые клапаны-соленоиды: входной клапан-соленоид 3, выходной клапан-соленоид для холодной воды 12 и выходной клапан-соленоид для горячей воды 14 остаются закрытыми. Охлаждающее устройство 9 выключается. Включается расположенный во входном трубопроводе для горячей воды 7 циркуляционный насос 24 перекачивая воду из бака для холодной воды 6 в бак для горячей воды 8, откуда вода, под давлением созданным насосом 24, поступает в выходной трубопровод для горячей воды 14, затем через циркуляционный трубопровод 19 с обратным клапаном 20 в выходной трубопровод для холодной воды 11, затем в бак для холодной воды 6, и через вертикальную трубку 26, первый трубопровод 5 и второй трубопровод 7 вода возвращается к насосу 24. Циркулирующая в диспенсере 1 вода, проходя через бак для горячей воды 8, нагревается с помощью нагревателя 10. После того, как вода нагреется до заданной температуры, циркуляция горячей воды продолжается в течение заданного времени. Время циркуляции и температура воды определяются в зависимости от условий эксплуатации диспенсера 1. Например, циркуляция нагретой до 67-80 градусов Цельсия воды в течение одного-двух часов может проводиться один раз в неделю для поддержания микробиологической чистоты в постоянно работающем диспенсере 1. Также возможны дополнительные включения режима дезинфекции после длительных перерывов в работе диспенсера.

Для контроля процесса дезинфекции диспенсер может быть снабжен одним или несколькими датчиками температуры.

На Фиг. 2 показан еще один вариант исполнения диспенсера. Этот вариант отличается от варианта, изображенного на Фиг. 1, во-первых, наличием дополнительного нормально-открытого клапана-соленоида 18 в пароотводной трубке 17. Дополнительный нормально-открытый клапан-соленоид 18 в пароотводной трубке 17 закрывается в режиме дезинфекции диспенсера. Закрытие пароотводной трубки 17 в режиме дезинфекции диспенсера позволяет увеличить давление в баке для горячей воды 8 и тем самым увеличить поток горячей воды через обратный клапан 20, не допуская при этом протекания горячей воды через пароотводную трубку 17. Повышенное давление воды в режиме дезинфекции также позволяет снизить требования к точности срабатывания обратного клапана 20.

Другим отличием диспенсера изображенного на Фиг. 2 является наличие дополнительного клапана-соленоида 29 в первом трубопроводе 5. Клапан-соленоид 29 нормально открытый, и может закрываться в режиме набора из диспенсера горячей воды, что может быть полезным при чрезмерно высоком давлении воды во входном трубопроводе. Наличие такого клапана, позволяет даже при отсутствии средств регулировки входного давления избежать попадания воды в бак для холодной воды, во время набора из диспенсера горячей воды.

В показанных на Фиг. 1 и 2 реализациях диспенсера обратный клапан 20 установлен в циркуляционном трубопроводе 19 соединяющем выходные трубопроводы для горячей и холодной воды 11 и 14. Специалисту должно быть понятно, что в случае, когда выходные трубопроводы 11 и 14 расположены близко друг к другу, циркуляционный трубопровод 19 может быть очень коротким или его роль могут выполнять фланцы обратного клапана.

На Фиг. 3 показан вариант исполнения подключения циркуляционного трубопровода 19 к одному из выходных трубопроводов, в данном случае к выходному трубопроводу для холодной воды 11. Желательно, чтобы циркуляционный трубопровод 19 соединялся с выходным трубопроводом 11 как можно ближе к выходному клапану 12. Тогда, в режиме дезинфекции, горячая вода их бака для горячей воды 8, протекая через выходной трубопровод 11, будет нагревать воду во входном канале 31 клапана-соленоида 12 и через него и воду во внутренней камере 30 выходного клапана-соленоида 12. Таким образом, дезинфицируя и внутреннее пространство клапана-соленоида 12. При этом, если выход для воды 13 и корпус клапана-соленоида выполнены из материала с высокой теплопроводностью, например из металла, то и выход для воды 13 будет дезинфицирован.

Таким образом, в предлагаемом диспенсере осуществляется полная дезинфекция водного тракта диспенсера. Дезинфекция всего водного тракта от входного клапана-соленоида 3 вплоть до выходных клапанов-соленоидов 12 и 15 осуществляется без существенного усложнения конструкции диспенсера. При такой конфигурации диспенсера 1, для дезинфекции вводятся только два элемента: обратный клапан 20 и циркуляционный насос 24 и, при необходимости, дополнительный клапан-соленоид 18 в пароотводной трубке 17.

СПИСОК ОБОЗНАЧЕНИЙ

1 диспенсер

2 входной трубопровод

3 входной клапан-соленоид

4 фильтр

5 первый трубопровод

6 бак для холодной воды

7 второй трубопровод

8 бак для горячей воды

9 охлаждающее устройство

10 нагреватель

11 выходной трубопровод для холодной воды

12 выходной клапан-соленоид для холодной воды

13 выход для холодной воды

14 выходной трубопровод для горячей воды

15 выходной клапан-соленоид для горячей воды

16 выход для горячей воды

17 пароотводная трубка

18 клапан-соленоид в пароотводной трубке

19 циркуляционный трубопровод

20 обратный клапан

21 воздушный канал

22 воздушный фильтр

23 датчик уровня воды

24 циркуляционный насос

25 внешний источник воды

26 вертикальная трубка

27 верхний открытый конец

28 нижний конец

29 клапан-соленоид в первом трубопроводе

30 внутренняя камера выходного клапана-соленоида

31 входной канал выходного клапана-соленоида.

Похожие патенты RU2836786C2

название год авторы номер документа
ДИСПЕНСЕР ПИТЬЕВОЙ ВОДЫ С УСТРОЙСТВОМ УЛЬТРАФИОЛЕТОВОЙ ДЕЗИНФЕКЦИИ 2021
  • Павлов, Андрей
  • Павловс, Артурс
RU2831793C2
Система водоснабжения железнодорожных пассажирских вагонов питьевой водой 2019
  • Кикнадзе Николай Джемалович
RU2719044C1
ДИСПЕНСЕР ДЛЯ ГОРЯЧЕЙ И ХОЛОДНОЙ ВОДЫ 2011
  • Чои Санг Пил
RU2498757C2
АВТОМАТИЗИРОВАННЫЙ РЕПРОЦЕССОР ЭНДОСКОПА 2008
  • Уилльямс Хэл
  • Фан Янь
  • Джексон Ричард
RU2486919C2
ТЕРМОДИНАМИЧЕСКИЙ КОТЕЛ НА CO2 И ТЕПЛОВОЙ КОМПРЕССОР 2018
  • Жоффрой, Жан-Марк
RU2757310C2
СИСТЕМА ДЛЯ ПОДДЕРЖАНИЯ ГОТОВНОСТИ К ЗАПУСКУ ДВИГАТЕЛЯ ВНУТРЕННЕГО СГОРАНИЯ ТЕПЛОВОЗА 2013
  • Рачков Станислав Робертович
  • Руденко Владимир Федорович
  • Добашин Сергей Анатольевич
  • Оленцов Александр Анатольевич
  • Бучкин Евгений Владимирович
  • Воронова Марина Анатольевна
  • Троицкий Анатолий Пантелеевич
  • Мохов Николай Федорович
RU2530965C1
ТЕПЛОВОЙ ПУНКТ С ДОПОЛНИТЕЛЬНЫМИ ПОМЕЩЕНИЯМИ 2017
  • Конфедератов Виктор Сергеевич
RU2647774C1
ХОЛОДИЛЬНИК-ЭКОНОМАЙЗЕР 2007
  • Вязовик Альберт Петрович
  • Вязовик Владислав Альбертович
  • Тютюнников Анатолий Иванович
RU2371643C2
Энергосберегающая система утилизации тепловой энергии в животноводческом помещении 2021
  • Трунов Станислав Семенович
  • Тихомиров Дмитрий Анатольевич
  • Кузьмичев Алексей Васильевич
  • Хименко Алексей Викторович
  • Ламонов Николай Григорьевич
RU2770346C1
ДОЗИРУЮЩЕЕ УСТРОЙСТВО ДЛЯ НАПИТКОВ С СИСТЕМОЙ ГАЗИРОВАНИЯ 2013
  • Уайлдер Хаим
  • Кристал Эял
  • Мерон Мордешай
  • Гордон Бенни
  • Эял Эхуд
RU2629868C2

Иллюстрации к изобретению RU 2 836 786 C2

Реферат патента 2025 года ДИСПЕНСЕР ПИТЬЕВОЙ ВОДЫ

Предложенная группа изобретений относится к диспенсерам питьевой воды и, в частности, к диспенсерам питьевой воды, подключаемым к внешнему источнику воды и снабженным устройством дезинфекции диспенсера с помощью горячей воды. Диспенсер питьевой воды (1) содержит входной трубопровод (2) для подключения к внешнему источнику воды (25), входной клапан-соленоид (3), установленный во входном трубопроводе (2), бак для холодной воды (6), снабженный охлаждающим устройством (9), бак для горячей воды (8), снабженный нагревателем (10) и установленный ниже бака для холодной воды (6), выходной трубопровод для холодной воды (11), соединяющий бак для холодной воды (6) с выходом для холодной воды (13), выходной трубопровод для горячей воды (14), соединяющий бак для горячей воды (8) с выходом для горячей воды (16), первый трубопровод (5), соединяющий входной трубопровод (2) с баком для холодной воды (6), циркуляционный насос (24) для обеспечения циркуляции горячей воды в режиме дезинфекции. Диспенсер (1) снабжен циркуляционным трубопроводом (19), соединяющим выходной трубопровод для горячей воды (14) с выходным трубопроводом для холодной воды (11), обратным клапаном (20), установленным в циркуляционном трубопроводе (19), пропускающим воду из выходного трубопровода для горячей воды (14) в выходной трубопровод для холодной воды (11) и не пропускающим воду в обратном направлении, одним или несколькими датчиками температуры для контроля температуры горячей воды. Первый трубопровод (5) соединяется с баком для холодной воды (6) через установленную в баке для холодной воды (6) вертикальную трубку (26) с открытым верхним концом (27), нижний конец которой (28) соединен с первым трубопроводом (5). Диспенсер (1) дополнительно содержит второй трубопровод (7), соединяющий входной трубопровод (2) с баком для горячей воды (8). Заявленный диспенсер подвергают дезинфекции, включающей выключение охлаждающего устройства (9), включение циркуляционного насоса (24) для перекачивания воды из бака для холодной воды в бак для горячей воды, нагревание воды в баке для горячей воды с помощью нагревателя (10), контроль температуры горячей воды и отключения нагревателя (10) по достижении температуры горячей воды заданного значения, циркуляцию горячей воды в диспенсере. Технический результат - улучшение работы системы дезинфекции диспенсера, более полная обработка диспенсера горячей водой, а также упрощение конструкции диспенсера и повышение ее надежности. 2 н. и 8 з.п. ф-лы, 3 ил.

Формула изобретения RU 2 836 786 C2

1. Диспенсер питьевой воды (1), содержащий:

входной трубопровод (2) для подключения к внешнему источнику воды (25); входной клапан-соленоид (3), установленный во входном трубопроводе (2); бак для холодной воды (6), снабженный охлаждающим устройством (9); бак для горячей воды (8), снабженный нагревателем (10) и установленный ниже бака для холодной воды (6);

выходной трубопровод для холодной воды (11), соединяющий бак для холодной воды (6) с выходом для холодной воды (13);

выходной трубопровод для горячей воды (14), соединяющий бак для горячей воды (8) с выходом для горячей воды (16);

первый трубопровод (5), соединяющий входной трубопровод (2) с баком для холодной воды (6);

циркуляционный насос (24) для обеспечения циркуляции горячей воды в режиме дезинфекции, отличающийся тем, что

диспенсер (1) снабжен циркуляционным трубопроводом (19), соединяющим выходной трубопровод для горячей воды (14) с выходным трубопроводом для холодной воды (11); обратным клапаном (20), установленным в циркуляционном трубопроводе (19), пропускающим воду из выходного трубопровода для горячей воды (14) в выходной трубопровод для холодной воды (11) и не пропускающим воду в обратном направлении, одним или несколькими датчиками температуры для контроля температуры горячей воды, при этом первый трубопровод (5) соединяется с баком для холодной воды (6) через установленную в баке для холодной воды (6) вертикальную трубку (26) с открытым верхним концом (27), нижний конец которой (28) соединен с первым трубопроводом (5), а диспенсер (1) дополнительно содержит второй трубопровод (7), соединяющий входной трубопровод (2) с баком для горячей воды (8).

2. Диспенсер по п. 1, в котором циркуляционный насос (24) установлен во втором трубопроводе (7).

3. Диспенсер по одному из пп. 1, 2, содержащий пароотводную трубку (17), соединяющую верхнюю часть бака для горячей воды (8) с верхней частью бака для холодной воды (6).

4. Диспенсер по п. 3, содержащий клапан-соленоид (18), установленный в пароотводной трубке (17).

5. Диспенсер по одному из предыдущих пунктов, адаптированный для подключения к водопроводу.

6. Диспенсер по п. 5, содержащий фильтр для воды (4), установленный во входном трубопроводе (2) перед входным клапаном-соленоидом (3).

7. Диспенсер по одному из предыдущих пунктов, содержащий дополнительный клапан-соленоид (29), установленный в первом трубопроводе (5).

8. Диспенсер по одному из предыдущих пунктов, содержащий выходной соленоид для холодной воды (12), установленный в выходном трубопроводе для холодной воды (11), и выходной соленоид для горячей воды (15), установленный в выходном трубопроводе для горячей воды (14).

9. Диспенсер по п. 8, в котором циркуляционный трубопровод (19) с обратным клапаном (2) установлен перед выходным клапаном-соленоидом для холодной воды (12) и перед выходным клапаном-соленоидом для горячей воды (15).

10. Способ дезинфекции диспенсера по одному из предыдущих пунктов, содержащий шаги:

выключение охлаждающего устройства (9),

включение циркуляционного насоса (24) для перекачивания воды из бака для холодной воды в бак для горячей воды,

нагревание воды в баке для горячей воды с помощью нагревателя (10), контроль температуры горячей воды и отключения нагревателя (10) по достижении температуры горячей воды заданного значения, циркуляция горячей воды в диспенсере.

Документы, цитированные в отчете о поиске Патент 2025 года RU2836786C2

KR 101358073 B1, 04.02.2014
Станок для обрезки кромок панелей дисковыми фрезами 1961
  • Гончаров М.М.
  • Рубинович Б.Х.
  • Тевс Н.Г.
  • Шульга Ю.И.
SU144698A1
Способ получения двузамещенных оловоорганических ацетиленов 1961
  • Гусева И.С.
  • Комаров Н.В.
  • Шостаковский М.Ф.
SU148409A1
CN 1248219 A, 22.03.2000
EP 2913295 A1, 02.09.2015
US 2015068983 A1, 12.03.2015.

RU 2 836 786 C2

Авторы

Павлов, Андрей

Павловс, Артурс

Даты

2025-03-21Публикация

2022-06-27Подача