Изобретение относится к средствам поражения, предназначенным для применения с малых, в т.ч. беспилотных, воздушных аэродинамических носителей, а конкретно к боевым частям осколочно-фугасных авиабомб.
Уровень данной области техники характеризует осколочно-фугасная авиабомба, описанная в патенте № RU 2365868 от 07.05.2008, МПК: F42B 25/00. Осколочно-фугасная авиабомба (ОФА), содержащая взрывательное устройство, корпус, включающий оболочку с готовыми поражающими элементами (ГПЭ), заряд взрывчатого вещества (ВВ) со средством инициирования и стабилизатор с тормозным устройством, при этом оболочка корпуса выполнена в виде двух коаксиально расположенных цилиндров, между которыми размещены стальные шарики двух диаметров, свободное пространство между которыми заполнено легкоплавким твердым углеводородом, а средство инициирования заряда ВВ размещено вдоль продольной оси авиабомбы и выполнено в виде металлического стакана, в полости которого размещены дополнительный детонатор, пересекающий радиальную плоскость, проходящую через центр масс оболочки с ГПЭ, и две шашки ВВ, разнесенные вдоль продольной оси стакана и связанные детонационным зарядом. При изготовлении боевой части свободное пространство между ГПЭ заполнено термопластическим материалом,
В боевой части ОФА по патенту № RU 2656258 от 13.03.2017, МПК F42B 12/20, F42B 12/32, F42B 30/10 при изготовлении боевой части поражающие элементы могут быть соединены между собой перемычкой из основного материала.
При создании боевой части ОФА по патенту № RU 2185593 от 10.11.2000 г. МПК F42B 12/32 используют блок готовых поражающих элементов, выполненный в виде набора цилиндрических втулок из полимерного материала, например полиэтилена, внутри которых размещены готовые поражающие элементы,
Создание блока готовых поражающих элементов в виде набора цилиндрических втулок из полимерного материала, внутри которых размещены готовые поражающие элементы, и снабжения заряда взрывчатого вещества цилиндрической металлической оболочкой с доньями позволяет снизить трудоемкость изготовления втулок и их запрессовки между корпусом и оболочкой заряда при сборке боевой части путем уменьшения габаритов и массы втулок, незначительного влияния погрешностей их изготовления (овальности, непрямолинейности) на сборку, повысить технологичность путем заполнения взрывчатого вещества непосредственно в оболочку с доньями, увеличить скорость разлета готовых поражающих элементов за счет более полного использования энергии взрыва и равномерного воздействия импульса на ГПЭ.
Недостатками известного решения является невозможность использования для заполнения оболочки прессуемых бризантных веществ, обладающих лучшими характеристиками по сравнению с литьевыми, и относительная нетехнологичность схем, использующих ГПЭ, ввиду наличия множества отдельных деталей, требующих сборки.
Основной задачей, на решение которой направлено настоящее изобретение, является повышение технологичности сборки конструкции боевой части средства поражения для БПЛА, а, следовательно, уменьшение себестоимости изготовления конечного изделия, при сохранении характеристик и обеспечении возможности легкого масштабирования могущества осколочного действия.
Реализуется поставленная задача путем модернизации конструкции несущего корпуса боевой части и усовершенствования процесса снаряжения его взрывчатым веществом, а именно в способе изготовления боевой части осколочно-фугасной авиабомбы, состоящей из корпуса, выполненной в виде трубы с нарезами (проточками) заданной величины, блока вкладных шашек разрывного заряда, состоящего из одной шашки с очком под капсюль-детонатор и одной или нескольких цилиндрических шашек, втулки. Перед установкой шашек в корпус на заданную конструктивно глубину впрессовывается переходная втулка, необходимая для присоединения к боевой части взрывателя, и устанавливается шашка с очком под капсюль-детонатор через картонное кольцо, на уже установленную шашку располагают поочередно дополнительные единицы шашек, после чего контролируют величину утопания нижней поверхности шашки от торца нижней части корпуса и устанавливают набор уплотнительных элементов соответствующей толщины, в результате чего после установки вворачиваемого дна происходит поджим уплотнительных элементов и набора шашек соответственно.
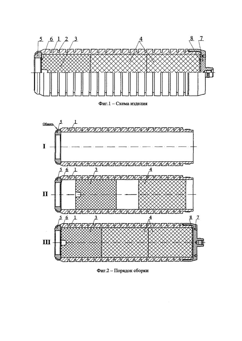
Изобретение поясняется чертежом, где на фиг. 1 представлена схема изделия - боевой части ОФА, а на фиг. 2 - последовательность этапов сборки боевой части.
Боевая часть ОФА, дающая возможность получить требуемый результат, состоит из корпуса 1, выполненного в виде трубы с нарезами (проточками) 2 заданной величины, блока вкладных шашек разрывного заряда, состоящего из одной шашки с очком под капсюль-детонатор 3 и одной или нескольких цилиндрических шашек 4, переходной втулки 5, картонного кольца 6, вворачиваемого дна 7 и уплотнительных элементов 8.
В качестве наполнения рассматриваются шашки бризантного взрывчатого вещества, при этом, установка набора шашек производится в следующем порядке (фиг. 2):
Перед установкой шашек (этап I) в корпус 1 на заданную конструктивно глубину впрессовывается переходная втулка 5, необходимая для присоединения к боевой части взрывателя.
Установка шашки с очком под капсюль-детонатор 3 производится через картонное кольцо 6 (этап II). На уже установленную шашку устанавливаются поочередно дополнительные единицы шашек 4. После установки набора шашек (этап III) контролируется величина утопания нижней поверхности шашки от торца нижней части корпуса 1 и устанавливается набор уплотнительных элементов 8 соответствующей толщины.
После установки вворачиваемого дна 7 происходит поджим уплотнительных элементов 8 и набора шашек соответственно.
Данное техническое решение по шашечному снаряжению корпуса позволяет выдерживать в строгих диапазонах величину зазора между головным взрывателем и шашкой взрывчатого вещества в условиях серийного производства, не руководствуясь при этом количеством шашек и уровнем размерного допуска на их длину. Помимо прочего, техническое решение позволяет применять для изготовления корпуса полые трубы необходимого диаметра и исключить из технологического процесса такие трудоемкие операции, как расточка внутреннего диаметра стакана
На наружной поверхности стенки стального осколочного корпуса 1 нанесены локализаторы дробления в виде кольцевых проточек прямоугольного профиля.
Таким образом, вследствие применения боевой части определенной конструкции и особого порядка снаряжения корпуса взрывчатым веществом повышается технологичность изготовления авиабомб и упрощается масштабирование их могущества.
| название | год | авторы | номер документа |
|---|---|---|---|
| ОСКОЛОЧНО-ФУГАСНАЯ АВИАБОМБА | 2024 |
|
RU2837484C1 |
| ОСКОЛОЧНО-ФУГАСНАЯ АВИАБОМБА | 2024 |
|
RU2833988C1 |
| Осколочно-фугасный боеприпас | 2017 |
|
RU2679830C1 |
| ПРОТИВОПЕХОТНЫЙ ОСКОЛОЧНЫЙ БОЕПРИПАС | 2009 |
|
RU2408837C1 |
| ОСКОЛОЧНО-ФУГАСНЫЙ БОЕПРИПАС | 2010 |
|
RU2464523C2 |
| ОСКОЛОЧНО-ФУГАСНАЯ АВИАБОМБА | 2008 |
|
RU2365868C1 |
| ОСКОЛОЧНО-ФУГАСНАЯ АВИАЦИОННАЯ БОМБА | 2006 |
|
RU2314483C1 |
| РАЗРЫВНОЙ ЗАРЯД ОБЫЧНЫХ СРЕДСТВ ПОРАЖЕНИЯ И БОЕПРИПАСОВ ОСНОВНОГО НАЗНАЧЕНИЯ | 2014 |
|
RU2590803C1 |
| ОСКОЛОЧНО-ПУЧКОВАЯ АВИАЦИОННАЯ БОМБА "КЕСОВА ГОРА" | 2007 |
|
RU2363925C1 |
| УПРАВЛЯЕМЫЙ РЕАКТИВНЫЙ СНАРЯД | 2010 |
|
RU2439473C1 |
Изобретение относится к способу изготовления боевой части осколочно-фугасной авиабомбы. Техническим результатом является повышение технологичности сборки конструкции боевой части средства поражения для БПЛА и обеспечение возможности легкого масштабирования могущества осколочного действия. Способ включает изготовление боевой части осколочно-фугасной авиабомбы, состоящей из корпуса, выполненного в виде трубы с проточками заданной величины. Также авиабомба включает блок вкладных шашек разрывного заряда, состоящий из одной шашки с очком под капсюль-детонатор и одной или нескольких цилиндрических шашек, и втулки. Перед установкой шашек в корпус на заданную конструктивно глубину впрессовывается переходная втулка, необходимая для присоединения к боевой части взрывателя. Также устанавливают шашку с очком под капсюль-детонатор через картонное кольцо. На уже установленную шашку располагают поочередно дополнительные единицы шашек. После чего контролируют величину утопания нижней поверхности шашки от торца нижней части корпуса и устанавливают набор уплотнительных элементов соответствующей толщины. В результате чего после установки вворачиваемого дна происходит поджим уплотнительных элементов и набора шашек соответственно. 2 ил.
Способ изготовления боевой части осколочно-фугасной авиабомбы, состоящей из корпуса, выполненного в виде трубы с проточками заданной величины, блока вкладных шашек разрывного заряда, состоящего из одной шашки с очком под капсюль-детонатор и одной или нескольких цилиндрических шашек, втулки, отличающийся тем, что перед установкой шашек в корпус на заданную конструктивно глубину впрессовывается переходная втулка, необходимая для присоединения к боевой части взрывателя, и устанавливается шашка с очком под капсюль-детонатор через картонное кольцо, на уже установленную шашку располагают поочередно дополнительные единицы шашек, после чего контролируют величину утопания нижней поверхности шашки от торца нижней части корпуса и устанавливают набор уплотнительных элементов соответствующей толщины, в результате чего после установки вворачиваемого дна происходит поджим уплотнительных элементов и набора шашек соответственно.
| ПРОТИВОТАНКОВАЯ АВИАЦИОННАЯ БОМБА С ТАНДЕМНЫМ КУМУЛЯТИВНЫМ ЗАРЯДОМ И ОСКОЛОЧНЫМ КОРПУСОМ | 2011 |
|
RU2508521C2 |
| ВЫСТРЕЛ ДЛЯ ПОДСТВОЛЬНОГО ГРАНАТОМЕТА | 2007 |
|
RU2347176C2 |
| ОСКОЛОЧНО-ФУГАСНАЯ БОЕВАЯ ЧАСТЬ | 2000 |
|
RU2185593C1 |
| ОСКОЛОЧНО-ФУГАСНАЯ АВИАЦИОННАЯ БОМБА | 2006 |
|
RU2314483C1 |
| Осколочная боевая часть | 2017 |
|
RU2658691C1 |
| Гидравлический демпфер | 1956 |
|
SU108741A1 |
Авторы
Даты
2025-03-26—Публикация
2024-02-28—Подача