Область техники, к которой относится изобретение
Изобретение относится к основным элементам электрического оборудования, а именно к устройству защиты от тепловой перегрузки для защиты электрического компонента указанному устройству защиты от тепловой перегрузки, имеющему коммутационный элемент для короткого замыкания точек соединения компонента или для разъединения электропроводящего соединения между.
Предохранитель предназначен для использования в УЗИПах для сигнальных электрических цепей и выполняет функции защиты в схемах с быстродействующими, но маломощными радиокомпонентами, и содержит исполнительное устройство для переключения коммутационного элемента в соответствующее положение короткого замыкания или отключения, а также срабатывающий элемент, который приводит в действие исполнительное устройство на термочувствительной основе.
Уровень техники
Из уровня техники известен предохранитель, содержащий пружину, изготовленную из проводящего металлического материала и удерживаемую в напряжении за счет пайки контактных частей на печатной плате. Контактная часть освобождается от контакта с поляризационной дорожкой платы путем снятия напряжения пружины при повышении температуры выше температуры плавления припоя, чтобы прервать электрическое соединение на дорожке (см. FR2914108 A1, опубл. 26.09.2008).
Из документа US 9083174 B2, опубл. 01.08.2013, известно устройство защиты от тепловой перегрузки для защиты электрического компонента, в частности электронного компонента, причем устройство защиты от перегрузки имеет блок короткого замыкания для короткого замыкания соединений компонента и исполнительный элемент, приводящий в действие блок короткого замыкания с учетом температуры. В устройстве защиты предусмотрен блок короткого замыкания, который прикреплен к опоре тракта цепи по меньшей мере в одной области и опирается по меньшей мере в другой зоне на компоненте, расположенном на опоре тракта цепи через блок привода и/или по меньшей мере на одном из трактов цепи контакт с одним из соединений, подлежащих короткому замыканию.
Наиболее близким аналогом выбран предохранитель для электрической цепи, содержащий два контактных плеча, каждое из которых имеет, по меньшей мере, один соединительный штифт для вставки в отверстие печатной платы, и пружину, которая соединяет два контактных плеча электропроводящим способом. В соответствии с настоящим описанием предусмотрено, что пружина закреплена по меньшей мере на одном из двух контактных рычагов с помощью крепежного средства, которое теряет свою прочность при температуре срабатывания взрывателя, причем предохранитель формируется таким образом, что путем вставки соединительных штифтов в отверстия печатной платы, Пружина нагружается таким образом, что пружина под действием силы пружины отрывается хотя бы от одного контактного рычага, как только крепежное средство теряет свою прочность из-за перегрева. Кроме того, описана печатная плата, содержащая такой предохранитель (см. US 2016049275 A1, 18.02.2016).
Раскрытие сущности изобретения
Задачей заявленного изобретения является расширение арсенала известных предохранителей для защиты от тепловой перегрузки.
Технический результат заключается в реализации назначения предохранителя металлического для устройств защиты импульсных перенапряжений.
Заявленный технический результат обеспечивается предохранителем металлическим для устройств защиты импульсных перенапряжений, выполненным в виде П–образного металлического коммутационного элемента для разъединения электропроводящего соединения, содержащий две контактные ножки, выполненные с возможностью припоя посредством низкотемпературного припоя контактных ножек к контактной площадке печатной платы таким образом, чтобы контактные ножки коммутационного элемента были за пределами контактных точек маломощного компонента защитный цепи, установленного на печатной плате, а в верней части коммутационного элемента расположен пружинный контакт, при этом в случае тепловой перегрузки коммутационный элемент замыкает контактные точки подключения маломощного компонента защитный цепи, путем отделения одной контактной ножки от площадки печатной платы при плавлении низкотемпературного припоя и последующего ее контакта с токоведущим элементом, для создания шунтирующей цепи.
Краткое описание чертежей
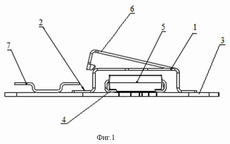
Заявленное изобретение поясняется представленными чертежами, на фиг.1 представлена деталировка заявленного предохранителя металлического для устройств защиты импульсных перенапряжений, где:
1 – металлический коммутационный элемент;
2 – контактные ножки металлического коммутационного элемента
3 – печатная плата
4 – контактные точки маломощного компонента защиты цепи
5 – маломощный компонент защиты цепи
6 – пружинный контакт
7 – токоведущий элемент
На фиг.2 представлена принципиальная схема.
Осуществление изобретения
Предохранитель металлический для устройств защиты импульсных перенапряжений, содержащий П–образный металлический коммутационный элемент 1 для разъединения электропроводящего соединения. Контактные ножки 2 металлический коммутационного элемента 1 припаивается посредством низкотемпературного припоя к контактной площадке печатной платы 3. При этом металлический коммутационный элемент 1 припаивается к печатной плате 3 таким образом, чтобы контактные ножки коммутационного элемента 1 были за пределами контактных точек 4 маломощного компонента защитный цепи 5, установленного на печатной плате 3, т.е. маломощный компонент 4 защитной цепи с контактными точками 4 с находится под коммутационным элементом 1.
В верней части коммутационного элемента 1 расположен пружинный контакт 6.
Предохранитель металлический для устройств защиты импульсных перенапряжений, выполненный в виде металлического коммутационного элемента 1 припаивается на печатную плату 3 и в случае прохождения по защищаемой цепи импульса большой мощности, превышающего возможности маломощных элементов защиты цепи 5 (диодов-супрессоров, варисторов), а также в случае, когда к УЗИП прикладывается длительное напряжение, превышающее максимальное допустимое значение, вызывая значительный ток утечки в диоде-супрессоре, предохранитель срабатывает и шунтирует маломощных элементов защиты цепи 5 (радиокомпонент). Таким образом он гарантирует замыкание сигнальной цепи на землю и защиту чувствительного потребителя в конце цепи.
Принцип действия основан на использовании для поверхностного монтажа на печатную плату 3 припоев с различной температурой плавления. В качестве припоя для контактной площадки, к которой припаян металлический коммутационный элемент 1, используется специально подобранный низкотемпературный припой. В случае протекания в цепи повышенных токов, происходит разогрев радиокомпонента и контактной площадки, в результате чего припой плавится и коммутационный элемент 1 отделяется от площадки (фиг. 1), оторвавшись от контактной площадки упирается в токоведущий элемент 7, обеспечивающий создание шунтирующей цепи (Принципиальная схема 1 - фиг. 2).
 
		
         
         
            Изобретение относится к устройству защиты от тепловой перегрузки. Технический результат заключается в реализации назначения предохранителя металлического для устройств защиты импульсных перенапряжений. Для этого предохранитель содержит П–образный металлический коммутационный элемент для разъединения электропроводящего соединения, выполненный с возможностью припоя посредством низкотемпературного припоя контактных ножек к контактной площадке печатной платы таким образом, чтобы контактные ножки коммутационного элемента были за пределами контактных точек маломощного компонента защитный цепи, установленного на печатной плате, а в верней части коммутационного элемента расположен пружинный контакт, при этом в случае тепловой перегрузки коммутационный элемент замыкает контактные точки подключения маломощного компонента защитный цепи, путем отделения одной контактной ножки от площадки печатной платы при плавлении низкотемпературного припоя и последующего ее контакта с токоведущим элементом, для создания шунтирующей цепи. 2 ил.
Предохранитель металлический для устройств защиты импульсных перенапряжений, выполненный в виде П–образного металлического коммутационного элемента для разъединения электропроводящего соединения, содержащий две контактные ножки, выполненные с возможностью припоя посредством низкотемпературного припоя их к контактной площадке печатной платы таким образом, чтобы контактные ножки коммутационного элемента были за пределами контактных точек маломощного компонента защитный цепи, установленного на печатной плате, а в верней части коммутационного элемента расположен пружинный контакт, при этом в случае тепловой перегрузки коммутационный элемент замыкает контактные точки подключения маломощного компонента защитный цепи, путем отделения одной контактной ножки от площадки печатной платы при плавлении низкотемпературного припоя и последующего ее контакта с токоведущим элементом, для создания шунтирующей цепи.
| US 9083174 B2, 14.07.2015 | |||
| CN 106796859 A, 31.05.2017 | |||
| US 20160049275 A1, 18.02.2016 | |||
| ТОКОВЫЙ ПРЕДОХРАНИТЕЛЬ С ДОПОЛНИТЕЛЬНЫМ МЕХАНИЧЕСКИМ РАЗМЫКАТЕЛЕМ ПРЕДПОЧТИТЕЛЬНО В ВИДЕ УДАРНИКА ДЛЯ ИСПОЛЬЗОВАНИЯ В УСТРОЙСТВАХ ЗАЩИТЫ ОТ ПЕРЕНАПРЯЖЕНИЯ | 2007 | 
 | RU2407127C2 | 
| СПОСОБ ПРИГОТОВЛЕНИЯ ТЕСТА | 0 | 
 | SU210060A1 | 
Авторы
Даты
2025-03-28—Публикация
2024-10-01—Подача